JP2005299850A - 一体型複管 - Google Patents

一体型複管 Download PDF

Info

Publication number
JP2005299850A
JP2005299850A JP2004119204A JP2004119204A JP2005299850A JP 2005299850 A JP2005299850 A JP 2005299850A JP 2004119204 A JP2004119204 A JP 2004119204A JP 2004119204 A JP2004119204 A JP 2004119204A JP 2005299850 A JP2005299850 A JP 2005299850A
Authority
JP
Japan
Prior art keywords
pipe
double
tube
integrated
bodies
Prior art date
Legal status (The legal status is an assumption and is not a legal conclusion. Google has not performed a legal analysis and makes no representation as to the accuracy of the status listed.)
Pending
Application number
JP2004119204A
Other languages
English (en)
Inventor
Hiromi Takasaki
浩美 高崎
Toshisada Kujirai
利定 鯨井
Yoshikazu Takamatsu
由和 高松
Current Assignee (The listed assignees may be inaccurate. Google has not performed a legal analysis and makes no representation or warranty as to the accuracy of the list.)
Marelli Corp
Original Assignee
Calsonic Kansei Corp
Priority date (The priority date is an assumption and is not a legal conclusion. Google has not performed a legal analysis and makes no representation as to the accuracy of the date listed.)
Filing date
Publication date
Application filed by Calsonic Kansei Corp filed Critical Calsonic Kansei Corp
Priority to JP2004119204A priority Critical patent/JP2005299850A/ja
Publication of JP2005299850A publication Critical patent/JP2005299850A/ja
Pending legal-status Critical Current

Links

Images

Classifications

    • BPERFORMING OPERATIONS; TRANSPORTING
    • B21MECHANICAL METAL-WORKING WITHOUT ESSENTIALLY REMOVING MATERIAL; PUNCHING METAL
    • B21CMANUFACTURE OF METAL SHEETS, WIRE, RODS, TUBES, PROFILES OR LIKE SEMI-MANUFACTURED PRODUCTS OTHERWISE THAN BY ROLLING; AUXILIARY OPERATIONS USED IN CONNECTION WITH METAL-WORKING WITHOUT ESSENTIALLY REMOVING MATERIAL
    • B21C23/00Extruding metal; Impact extrusion
    • B21C23/02Making uncoated products
    • B21C23/04Making uncoated products by direct extrusion
    • B21C23/08Making wire, rods or tubes
    • BPERFORMING OPERATIONS; TRANSPORTING
    • B21MECHANICAL METAL-WORKING WITHOUT ESSENTIALLY REMOVING MATERIAL; PUNCHING METAL
    • B21CMANUFACTURE OF METAL SHEETS, WIRE, RODS, TUBES, PROFILES OR LIKE SEMI-MANUFACTURED PRODUCTS OTHERWISE THAN BY ROLLING; AUXILIARY OPERATIONS USED IN CONNECTION WITH METAL-WORKING WITHOUT ESSENTIALLY REMOVING MATERIAL
    • B21C35/00Removing work or waste from extruding presses; Drawing-off extruded work; Cleaning dies, ducts, containers, or mandrels for metal extruding
    • B21C35/02Removing or drawing-off work
    • B21C35/023Work treatment directly following extrusion, e.g. further deformation or surface treatment 
    • BPERFORMING OPERATIONS; TRANSPORTING
    • B21MECHANICAL METAL-WORKING WITHOUT ESSENTIALLY REMOVING MATERIAL; PUNCHING METAL
    • B21CMANUFACTURE OF METAL SHEETS, WIRE, RODS, TUBES, PROFILES OR LIKE SEMI-MANUFACTURED PRODUCTS OTHERWISE THAN BY ROLLING; AUXILIARY OPERATIONS USED IN CONNECTION WITH METAL-WORKING WITHOUT ESSENTIALLY REMOVING MATERIAL
    • B21C35/00Removing work or waste from extruding presses; Drawing-off extruded work; Cleaning dies, ducts, containers, or mandrels for metal extruding
    • B21C35/02Removing or drawing-off work
    • B21C35/023Work treatment directly following extrusion, e.g. further deformation or surface treatment 
    • B21C35/026Removing sections from the extruded work, e.g. removing a strip to create an open profile
    • BPERFORMING OPERATIONS; TRANSPORTING
    • B21MECHANICAL METAL-WORKING WITHOUT ESSENTIALLY REMOVING MATERIAL; PUNCHING METAL
    • B21CMANUFACTURE OF METAL SHEETS, WIRE, RODS, TUBES, PROFILES OR LIKE SEMI-MANUFACTURED PRODUCTS OTHERWISE THAN BY ROLLING; AUXILIARY OPERATIONS USED IN CONNECTION WITH METAL-WORKING WITHOUT ESSENTIALLY REMOVING MATERIAL
    • B21C37/00Manufacture of metal sheets, rods, wire, tubes, profiles or like semi-manufactured products, not otherwise provided for; Manufacture of tubes of special shape
    • B21C37/06Manufacture of metal sheets, rods, wire, tubes, profiles or like semi-manufactured products, not otherwise provided for; Manufacture of tubes of special shape of tubes or metal hoses; Combined procedures for making tubes, e.g. for making multi-wall tubes
    • B21C37/15Making tubes of special shape; Making tube fittings
    • B21C37/28Making tube fittings for connecting pipes, e.g. U-pieces
    • B21C37/29Making branched pieces, e.g. T-pieces

Landscapes

  • Engineering & Computer Science (AREA)
  • Mechanical Engineering (AREA)
  • Branch Pipes, Bends, And The Like (AREA)
  • Rigid Pipes And Flexible Pipes (AREA)
  • Extrusion Of Metal (AREA)

Abstract

【課題】並列に配された複数の管体を備えながらも、配管端末部を接続する際の分岐加工コストを低く抑えることができる一体型複管の提供を図る。
【解決手段】一体型複管10は、各々が管壁を独立させ且つ互いに他の管壁の外側に位置するように並列に配された管体11,12と、隣接する管体を連結するリブ18と、を備え、押出加工または引抜加工により一様な断面の一体成形品として形成されている。
【選択図】図1

Description

本発明は、複数の管体を集合させてリブで一体化した一体型複管に関するものである。
例えば、車両用空調装置では、冷媒や温媒などの供給配管・帰還配管を並列に配置することがよくある(例えば、特許文献1参照)。このような並列に複数の配管を配置する場合、例えば、特許文献2に開示されるような二重管を用いると、配管レイアウトを簡素化できるので、好ましいとされている。
特開平7−101222 米国特許6009908号明細書
しかしながら、このような外管内に内管を貫通させた二重管では、端末部において内側流路と外側流路とを分岐するために、分岐用のコネクタ部材(特許文献2中符号24で示す部材)を二重管の端末部に接続する必要があり、どうしても分岐部の加工コストが高くなりがちであった。
本発明は、上記事情を考慮し、並列に配された複数の管体を備えながらも、配管端末部を接続する際の分岐加工コストがかからない一体型複管を提供することを目的とする。
請求項1の発明は、各々が管壁を独立させ且つ互いに他の管壁の外側に位置するように並列に配置された管体と、隣接する管体を連結するリブとを備え、押出加工または引抜加工により一様な断面の一体成形品として形成されてなることを特徴とする。
請求項2の発明は、請求項1に記載の一体型複管であって、前記各管体の断面が、円を複数に分割した際の各扇形(半円も含む)となるように形成されており、全管体を、隣接するもの同士の平面壁の間に隙間をあけた状態で前記円内に集合させてなることを特徴とする。
請求項1の発明によれば、並列に配置した複数の管体をリブで一体化した押出加工または引抜加工により製造される複管であるので、1本の配管のように取り扱うことができ、配管レイアウトの簡素化が図れる。また、端末加工の際には、リブを切断することによって簡単に管体を分離できるので、分岐コネクタが不要となり分岐加工コストが低減される。
請求項2の発明によれば、各管体の断面を扇形に形成して円内に集合させて外観を円形管の体裁に見せているので、1本の円管のように取り扱うことができる。しかも、外周側の壁が集まることで円筒壁を形成するので、曲げ加工する際に角形管のような特定方向に対する脆弱性が生じることがなく曲げ加工しやすい。また、隣接する管体の平面壁の間に隙間を設けているので、各管体内を流れる流体間の管壁を通しての熱伝導を抑制することができる。
以下、本発明の実施形態を図面を参照して説明する。
図1は第1実施形態の一体型複管10を示す斜視図である。この一体型複管10は、押出加工または引抜加工により一様な断面の一体成形管として形成されおり、各々が管壁を独立させ且つ互いに他の管壁の外側に位置するように並列に配置された2つの管体11、12と、隣接する管体11、12を連結するリブ18と、を備えている。
各管体11、12の断面はそれぞれ半円状に形成されている。また、複管10は、2つの管体11、12を平面壁の間に隙間17をあけた状態で、元の円内に集合させたような形態をなしている。リブ18は、両管体11、12の平面壁の幅方向の両端同士を繋ぐように配置されている。これによりリブ18は両管体11、12の円弧壁に連続した位置にある。
このように並列に配置した2つの管体11、12をリブ18で一体化し、押出加工または引抜加工により製造してあるので、1本の配管のように取り扱うことができ、配管レイアウトの簡素化が図れる。
また、端末加工の際には、図2(a)、(b)に示すように切断治具Kでリブ18を切断することによって簡単に管体11、12を分離することができるので、内管と外管よりなる二重管のように分岐コネクタを使用する必要がなく、分岐加工コストを低減できる。分岐した管体11、12の端末が半円状のままでは不都合の場合は、(c)に示すように端末部を円形管状に成形し直せばよい。
図3は各実施形態の複管の断面の例を示す。
(a)〜(c)は各管体の断面が半円(1/2円)の場合の例、(d)〜(f)は各管体の断面が1/4円の場合の例を示す。
(a)の実施形態の複管10は、上述した例と同じ断面のものである。
(b)の実施形態の複管20は、2つの断面半円状の管体21、22の平面壁同士を繋ぐリブ28の位置を、(a)のように外周側ではなく、それより少し中心寄りに設定した断面のものである。これにより2つのリブ28の間の隙間27aと、2つのリブ28の各外側の隙間27bと、ができる。
(c)の実施形態の複管30は、2つの断面半円状の管体31、32の平面壁同士を繋ぐリブ38の位置を、円の中心部に設定した断面のものである。これにより、リブ38の両側に2つの隙間37ができる。
(d)の実施形態の複管40は、各管体41〜44の断面を円を4分割した際の各1/4円の扇形となるように形成し、全管体41〜44を、隣接するもの同士の平面壁の間に隙間47をあけた状態で円内に集合させてなるものである。この場合、隙間47は十字状をなし、リブ48の位置は外周端に設定されている。
(e)の実施形態の複管50は、4つの管体51〜54の平面壁同士を繋ぐリブ58の位置を、(d)のように外周端ではなくそれより少し中心寄りに設定した断面のものである。これにより、各リブ58の内側に十字の隙間57aができ、各リブ58の外側にスリット状の隙間57bができる。
(f)の実施形態の複管60は、4つの管体61〜64の平面壁同士を繋ぐリブ68の位置を、円の中心部に十文字に設定した断面のものである。これにより、リブ68の外側に4つの隙間67ができる。
いずれの実施形態の場合も、リブ18、28、38、48、58、68を切断することにより、容易に管体11,12、21,22、31,32、41〜44、51〜54、61〜64を分離することができる。従って、分岐加工コストがかからない。
図3は上述した複管の使用場所の例を示す図で、車両100の平面レイアウトを概略的に示している。
図において、101はエンジンルーム、102は車室である。エンジンルーム101内にはエンジン105が配置され、エンジン105の前方にラジエータ106が配置されている。エンジン105とラジエータ106は、冷却水配管107、108で繋がれ、エンジン105とラジエータ106間に冷却水が強制循環されるようになっている。
車室102側には、前席用の温風吹出ユニット110と後席用の温風吹出ユニット120とが設けられている。各温風吹出ユニット110、120は、ファン113、123からの風を車室102内に吹き出すダクト111、121内にヒータコア112、122を配設したもので、ヒータコア112、133にエンジンを冷却して得た温水(温媒)を循環させることにより、車室102内に温風を吹き出すことができるようになっている。
従って、各ヒータコア112、122には、エンジンの冷却水配管107、108から分岐した往管131、133と復管132、134が接続されている。
前席用の温風吹出ユニット110の場合は、往管131と復管132の長さが短くて済むが、後席用の温風吹出ユニット120の場合は、往管133と復管134の長さが長くなる。そこで、この長く配管する必要のある部分に、本発明の実施形態の一体型複管150が使われている。このように複管150を利用することにより、配管レイアウトの簡素化が図れる。
図4は同部分の具体的な配管例を示している。
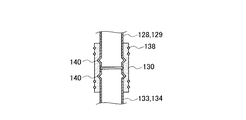
ヒータコア122の入口管128に、往管133として複管150(10)の中の一方の管体11を接続し、出口管129に、復管134として複管150(10)の中の他方の管体12を接続している。このように管体11、12を別々の配管に接続するために、複管10の端末を上述の手順で分岐加工し、図6に示すようにゴムホース130とクランプ138を用いて入口管128と出口管129に接続している。この際、接続すべき管の端部に抜け止め用の膨出部140を形成するのがよい。
本発明の実施形態の一体型複管10の斜視図である。 (a)〜(c)は同実施形態の複管10の端末加工の仕方を示す図である。 (a)〜(f)は本発明の各実施形態の複管の断面を示す図である。 本発明の実施形態の複管の使用箇所の例を示す図である。 同実施形態の具体的な使用例を示す斜視図である。 図5のVI部の断面図である。
符号の説明
10、20、30、40、50、60、150…一体型複管
11,12、21,22、31,32、41〜44、51〜54、61〜64…管体
17、27a,27b、37、47、57a,57b、67…隙間
18、28、38、48、58、68…リブ

Claims (2)

  1. 各々が管壁を独立させ且つ互いに他の管壁の外側に位置するように並列に配置された管体(11,12、21,22、31,32、41〜44、51〜54、61〜64)と、隣接する管体(11,12、21,22、31,32、41〜44、51〜54、61〜64)を連結するリブ(18、28、38、48、58、68)とを備え、押出加工または引抜加工により一様な断面の一体成形品として形成されてなることを特徴とする一体型複管(10、20、30、40、50、60)。
  2. 請求項1に記載の一体型複管であって、
    前記各管体(11,12、21,22、31,32、41〜44、51〜54、61〜64)の断面が、円を複数に分割した際の各扇形となるように形成されており、全管体(11,12、21,22、31,32、41〜44、51〜54、61〜64)を、隣接するもの同士の平面壁の間に隙間(17、27a,27b、37、47、57a,57b、67)をあけた状態で、前記円内に集合させてなることを特徴とする一体型複管(10、20、30、40、50、60)。
JP2004119204A 2004-04-14 2004-04-14 一体型複管 Pending JP2005299850A (ja)

Priority Applications (1)

Application Number Priority Date Filing Date Title
JP2004119204A JP2005299850A (ja) 2004-04-14 2004-04-14 一体型複管

Applications Claiming Priority (1)

Application Number Priority Date Filing Date Title
JP2004119204A JP2005299850A (ja) 2004-04-14 2004-04-14 一体型複管

Publications (1)

Publication Number Publication Date
JP2005299850A true JP2005299850A (ja) 2005-10-27

Family

ID=35331618

Family Applications (1)

Application Number Title Priority Date Filing Date
JP2004119204A Pending JP2005299850A (ja) 2004-04-14 2004-04-14 一体型複管

Country Status (1)

Country Link
JP (1) JP2005299850A (ja)

Cited By (4)

* Cited by examiner, † Cited by third party
Publication number Priority date Publication date Assignee Title
CN102072598A (zh) * 2011-01-21 2011-05-25 海尔集团公司 回气管组件及其制作方法
CN105127238A (zh) * 2015-10-19 2015-12-09 河北欧通有色金属制品有限公司 一种d型铜管的加工方法及d型铜管
CN108398024A (zh) * 2018-05-28 2018-08-14 安徽诚铭热能技术有限公司 一种烧结点火炉用风幕隔离装置
WO2022168534A1 (ja) * 2021-02-05 2022-08-11 日本サーモスタット株式会社 車両の冷却回路用配管、及びこれを用いた冷却回路

Cited By (6)

* Cited by examiner, † Cited by third party
Publication number Priority date Publication date Assignee Title
CN102072598A (zh) * 2011-01-21 2011-05-25 海尔集团公司 回气管组件及其制作方法
CN102072598B (zh) * 2011-01-21 2016-03-30 海尔集团公司 回气管组件及其制作方法
CN105127238A (zh) * 2015-10-19 2015-12-09 河北欧通有色金属制品有限公司 一种d型铜管的加工方法及d型铜管
CN105127238B (zh) * 2015-10-19 2017-07-28 河北欧通有色金属制品有限公司 一种d型铜管的加工方法
CN108398024A (zh) * 2018-05-28 2018-08-14 安徽诚铭热能技术有限公司 一种烧结点火炉用风幕隔离装置
WO2022168534A1 (ja) * 2021-02-05 2022-08-11 日本サーモスタット株式会社 車両の冷却回路用配管、及びこれを用いた冷却回路

Similar Documents

Publication Publication Date Title
CN100567875C (zh) 轴向热交换器
JP3803282B2 (ja) 二次冷媒式空気調和機
US6957694B2 (en) Core structure of integral heat-exchanger
CA2954152A1 (en) Heat exchanger coil for a recreational vehicle
WO2013168526A1 (ja) 熱交換器および車両用空調装置
CN103119387A (zh) 包括独立热交换回路的微通道热交换器和方法
JP5706665B2 (ja) 熱交換器の補強構造
CN108700330A (zh) 用于穿过空气处理单元的板的管的紧固系统,以及包括这种系统的空气处理单元
JP5709733B2 (ja) 二重管
JP2005299850A (ja) 一体型複管
JP2005214545A (ja) 熱交換器
JP2001133187A (ja) 複式熱交換器
JP2006250521A (ja) 熱交換器用放熱フィン及び熱交換器
JP3664783B2 (ja) 凝縮器
JP5706666B2 (ja) 熱交換器の補強構造
JP6111024B2 (ja) 熱交換器
JPH06257975A (ja) 熱交換装置およびその放熱体
KR101362222B1 (ko) 열교환기
JP3658801B2 (ja) 複式熱交換器
ATE330197T1 (de) Kühleranordnung
CN213984664U (zh) 换热组件
KR100602438B1 (ko) 이중관 및 이를 이용한 환기장치
JP3203014B2 (ja) 熱交換器
JPH10153393A (ja) 熱交換器用扁平伝熱管
JP2006189249A (ja) 二重管熱交換器