JP2005299523A - 風力発電装置 - Google Patents

風力発電装置 Download PDF

Info

Publication number
JP2005299523A
JP2005299523A JP2004117523A JP2004117523A JP2005299523A JP 2005299523 A JP2005299523 A JP 2005299523A JP 2004117523 A JP2004117523 A JP 2004117523A JP 2004117523 A JP2004117523 A JP 2004117523A JP 2005299523 A JP2005299523 A JP 2005299523A
Authority
JP
Japan
Prior art keywords
fixed
rotating shaft
wind
side mounting
mounting bars
Prior art date
Legal status (The legal status is an assumption and is not a legal conclusion. Google has not performed a legal analysis and makes no representation as to the accuracy of the status listed.)
Granted
Application number
JP2004117523A
Other languages
English (en)
Other versions
JP4509633B2 (ja
Inventor
Hideo Iwami
秀雄 岩見
Current Assignee (The listed assignees may be inaccurate. Google has not performed a legal analysis and makes no representation or warranty as to the accuracy of the list.)
NAIGAI SPECIAL ENG CO Ltd
Original Assignee
NAIGAI SPECIAL ENG CO Ltd
Priority date (The priority date is an assumption and is not a legal conclusion. Google has not performed a legal analysis and makes no representation as to the accuracy of the date listed.)
Filing date
Publication date
Application filed by NAIGAI SPECIAL ENG CO Ltd filed Critical NAIGAI SPECIAL ENG CO Ltd
Priority to JP2004117523A priority Critical patent/JP4509633B2/ja
Publication of JP2005299523A publication Critical patent/JP2005299523A/ja
Application granted granted Critical
Publication of JP4509633B2 publication Critical patent/JP4509633B2/ja
Anticipated expiration legal-status Critical
Expired - Fee Related legal-status Critical Current

Links

Images

Classifications

    • YGENERAL TAGGING OF NEW TECHNOLOGICAL DEVELOPMENTS; GENERAL TAGGING OF CROSS-SECTIONAL TECHNOLOGIES SPANNING OVER SEVERAL SECTIONS OF THE IPC; TECHNICAL SUBJECTS COVERED BY FORMER USPC CROSS-REFERENCE ART COLLECTIONS [XRACs] AND DIGESTS
    • Y02TECHNOLOGIES OR APPLICATIONS FOR MITIGATION OR ADAPTATION AGAINST CLIMATE CHANGE
    • Y02EREDUCTION OF GREENHOUSE GAS [GHG] EMISSIONS, RELATED TO ENERGY GENERATION, TRANSMISSION OR DISTRIBUTION
    • Y02E10/00Energy generation through renewable energy sources
    • Y02E10/70Wind energy
    • Y02E10/72Wind turbines with rotation axis in wind direction

Landscapes

  • Wind Motors (AREA)
  • Control Of Eletrric Generators (AREA)

Abstract

【課題】 極めて簡易な構成で、風力が変化してもほぼ一定の電気エネルギが効率的に得られ、強風による羽根の破損も防止できる装置を提供する。
【解決手段】 保持台板26上に支持された水平回転軸10、水平回転軸に取着された翼車12、発電機36、伝動機構38〜44および方向舵50を備える。翼車12を、水平回転軸10に固着された固定カラー14、固定カラーに放射状に固着された複数本の風上側取付棒18、水平回転軸に対し摺動自在に取着された可動カラー16、可動カラーに放射状に、風上側取付棒と角度位置をずらして固着された複数本の風下側取付棒20、風上側取付棒と風下側取付棒との間に張設された複数枚の羽根22、および、風力が大きいほど風上側取付棒から風下側取付棒が離間しかつ風上側取付棒と風下側取付棒との角度位置のずれが小さくなるように可動カラーを移動および回動させる機構を備えて構成した。
【選択図】 図1

Description

この発明は、風の力により翼車を回転させて、その回転のエネルギを電気エネルギに変換する風力発電装置に関する。
この種の風力発電装置としては、従来から様々な種類のものが考案され、各種型式のものが提案され製作されている。それらのうち、作動時に風の方向に沿う水平回転軸を持つ水平軸型の風力発電装置は、一般に、2〜4枚程度の羽根を有するプロペラ(翼車)を水平回転軸に固着し、水平回転軸を回転自在に軸受によって支持するとともに、水平回転軸の回転のエネルギが発電機によって電気エネルギに変換されるようにし、軸受および発電機を保持した保持部材(ケーシング)を鉛直軸周りに回転自在に支柱上に支持し、プロペラが固着された水平回転軸が常に風向に沿うようにする機構を備えて構成されている(例えば、特許文献1参照。)。
特開2002−295362号公報(第3−5頁、図1A、B、C、図2−4)
従来の風力発電装置のうちの多くのものは、風の力を如何に効率良く電気エネルギに変換するか、といった観点から開発されている。また、従来の風力発電装置では、金属やプラスチック材料などで形成された羽根の角度を調節することにより、風力(風速)の変化に対してプロペラの回転数をほぼ一定にする、といった工夫もなされている。さらに、強風による羽根の破損を防止するような安全機構についても、種々検討されている。しかしながら、従来のそれらの機構は、複雑化したものが多い。また、従来の風力発電装置では、羽根などが破損すると、その修理に手間と時間がかかり、修理費用も高くなる、といった問題点がある。
この発明は、以上のような事情に鑑みてなされたものであり、極めて簡易な構成でありながら、風力が変化してもほぼ一定の電気エネルギが効率的に得られ、強風による羽根の破損も防止することができ、例え羽根などが破損したとしても、その修理が簡単で費用も余りかからない風力発電装置を提供することを目的とする。
請求項1に係る発明は、保持部材に水平姿勢でかつ回転自在に支持された回転軸と、この回転軸に取着され風の力を受けて回転軸と一体的に回転する翼車と、回転のエネルギを電気エネルギに変換する発電機と、前記回転軸の回転動力を前記発電機の回転子に伝達する伝動機構と、前記回転軸を風向に沿わせるように水平面内で回動させる向き調整機構と、を備えた風力発電装置において、前記翼車を、前記回転軸に固着された固定部材と、この固定部材に放射状にかつ円周方向に等配されて固着された複数本の風上側取付棒と、前記回転軸の、前記固定部材の後方側に、固定部材と間隔を設け回転軸に対して摺動自在に取着された可動部材と、この可動部材に放射状にかつ円周方向に等配され、前記各風上側取付棒にそれぞれ対応するようにかつ風上側取付棒と角度位置をずらして固着された、風上側取付棒と同数本の風下側取付棒と、前記各風上側取付棒と前記各風下側取付棒との間にそれぞれ張設された複数枚の羽根と、これらの羽根が受ける風力が大きいほど前記風上側取付棒から前記風下側取付棒が離間するようにかつ風上側取付棒とそれに対応する風下側取付棒との角度位置のずれが小さくなるように、前記回転軸に対し前記可動部材を移動および回動させる回転数自動調整機構と、を備えて構成したことを特徴とする。
請求項2に係る発明は、請求項1記載の風力発電装置において、前記回転数自動調整機構が、前記回転軸の外周面に、回転軸の軸線方向に沿いながら捩れるように穿設された案内溝と、前記可動部材に固着され先端部が前記案内溝に対し摺動自在に嵌合した係合ピンと、前記可動部材を前記固定部材に対して接近させるように付勢する弾発手段と、により構成されたことを特徴とする。
請求項1に係る発明の風力発電装置においては、風力が大きくなると、翼車の風上側取付棒と風下側取付棒との間に張設された羽根の受ける力が大きくなり、その力によって可動部材が、回転軸に固着された固定部材から遠ざかるように回転軸に対し移動しつつ回転軸の軸心線周りに回動する。これにより、風上側取付棒から風下側取付棒が離間するとともに風上側取付棒とそれに対応する風下側取付棒との角度位置のずれが小さくなって、風の進行方向から見える羽根の見掛け上の面積が小さくなる。この結果、風から羽根の受ける力が小さくなる。このため、風力が大きくなっても、翼車の回転数、したがって回転軸の回転数の増大が抑えられる。そして、風力の大きさに応じて可動部材の移動距離および回動角度が変化し、風の進行方向から見える羽根の見掛け上の面積が変化するので、風力が変化しても、回転軸の回転数の変動が抑えられる。また、回転軸の回転数の増大が抑えられるので、強風による羽根の破損が防止される。
したがって、請求項1に係る発明の風力発電装置を使用すると、風力が変化してもほぼ一定の電気エネルギを効率的に得ることができ、強風による羽根の破損も防止することができる。そして、この風力発電装置は、極めて簡易な構成を有しており、例え羽根などが破損したとしても、その修理が簡単で費用も余りかからない。
請求項2に係る発明の風力発電装置では、風力が大きくなって羽根の受ける力が大きくなると、可動部材は、弾発手段の弾発力に抗し、可動部材に固着された係合ピンの先端部が回転軸の案内溝に対し摺動しつつ案内溝により案内されて、回転軸に固着された固定部材から遠ざかるように回転軸に対し移動しつつ、回転軸の軸心線周りに回動する。これにより、風上側取付棒から風下側取付棒が離間するとともに風上側取付棒とそれに対応する風下側取付棒との角度位置のずれが小さくなって、風の進行方向から見える羽根の見掛け上の面積が小さくなる。一方、風力が小さくなって羽根の受ける力が小さくなると、可動部材は、弾発手段の付勢力が羽根の受ける力に打ち克ち、係合ピンの先端部が回転軸の案内溝に対し摺動しつつ案内溝により案内されて、固定部材に近づくように回転軸に対し移動しつつ、回転軸の軸心線周りに、前記とは逆の方向に回動する。これにより、風上側取付棒から風下側取付棒が接近するとともに風上側取付棒とそれに対応する風下側取付棒との角度位置のずれが大きくなって、風の進行方向から見える羽根の見掛け上の面積が大きくなる。
したがって、請求項2に係る発明の風力発電装置では、極めて簡易な構成により、風力の変化に伴う回転軸の回転数の変動を抑えることができ、また、回転軸の回転数の増大を抑えて、強風による羽根の破損を防止することができる。
以下、この発明の最良の実施形態について図面を参照しながら説明する。
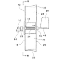
図1ないし図6は、この発明の実施形態の1例を示し、図1は、風力発電装置の側面図であり、図2は、図1のII−II矢視断面図であり、図3は、図1のIII−III矢視断面図である。また、図4は、図1に示した装置の一部を拡大した部分断面図であり、図5は、図1に示した装置の一部を拡大した側面図であり、図6は、図5のVI−VI矢視断面図である。
この風力発電装置は、作動時に風の方向に沿う水平回転軸10を備えた水平軸型の装置であって、水平回転軸10に翼車12が取着されており、翼車12は、風を受けて水平回転軸10と一体的に回転するようになっている。この翼車12は、水平回転軸10に固着された固定カラー14、および、水平回転軸10の、固定カラー14の後方側に、固定カラー14と間隔を設けて取着された可動カラー16を備え、可動カラー16は、水平回転軸10に対して摺動自在に保持されている。固定カラー14および可動カラー16はそれぞれ、図2に示すように、取付け用のリブ14a、16aおよびホイール14b、16bを具備している。そして、固定カラー14には、複数本、図示例では4本の風上側取付棒18が放射状にかつ円周方向に等配されて固着されている。また、可動カラー16にも、風上側取付棒18と同数本、図示例では4本の風下側取付棒20が放射状にかつ円周方向に等配されて固着されている。各風上側取付棒18と各風下側取付棒20とは、それぞれ互いに対応するようにかつ角度位置をずらして配置されている。そして、対応する風上側取付棒18と風下側取付棒20との間に羽根22が張設されている。羽根22は、例えば防水加工が施されたポリエステル、ポリビニルアセタール等の布帛で製作される。また、固定カラー14と可動カラー16との間には、水平回転軸10の外周側に巻回された引っ張りコイルばね24が介装され、引っ張りコイルばね24の両端部が固定カラー14および可動カラー16にそれぞれ固着されている。したがって、可動カラー16および風下側取付棒20は、引っ張りコイルばね24の弾発力により固定カラー14および風上側取付棒18に対して接近するように付勢される。
水平回転軸10は、保持台板26の上面に固設された一対の軸受28、28によって回転自在に支持され、保持台板26により軸受28を介して片持ち式に水平姿勢で保持されている。保持台板26は、下面側には回転支軸30が一体的に垂設されており、回転支軸30は、支柱32の軸心部に形設された支持孔34に回動自在に嵌挿されている。そして、保持台板26は、支柱32の上端部に水平姿勢で保持され、鉛直軸周りに自由回転するようになっている。
保持台板26上には、回転のエネルギを電気エネルギに変換する発電機36、および、回転動力を伝達するためのギヤボックス38がそれぞれ固設されており、発電機36の回転子とギヤボックス38の出力軸とが連結されている。また、水平回転軸10に大径プーリ40が一体的に固着され、ギヤボックス38の入力軸に小径プーリ42が一体的に固着されていて、両プーリ40、42間にベルト44が掛け回されている。なお、図1に二点鎖線で示すように、保持台板26の上面側はカバー46で覆蓋され、保持台板26とカバー46からなるケーシング内に軸受28、発電機36、ギヤボックス38などが収納される。
水平回転軸10は、図4に示すように中空となっており、その軸心部に固定桿48が挿通されていて、水平回転軸10の後端面から突き出た固定桿48の後端部に方向舵50が固着されている。また、水平回転軸10の前端面から突き出た固定桿48の前端部は、保持台板26の上面に固設されたブラケット52に固着されており、固定桿48は保持台板26に対して固定されている。したがって、固定桿48に固着された方向舵50の作用により、水平回転軸10を風向に沿わせるように、保持台板26と固定桿48とは一体となって水平面内で回動するようになっている。また、水平回転軸10の前・後両端部(図4には前端部だけを示している)には、軸受54がそれぞれ取着されており、その軸受54を介して水平回転軸10と固定桿48とが連接している。したがって、固定桿48に対して水平回転軸10の回転動作が許容されるとともに、水平回転軸10に固定桿48が支持されている。
水平回転軸10の後端付近の外周面には、図5に示すように、水平回転軸10の軸線方向に沿いながら軸心線周りに捩れるように案内溝56が穿設されている。また、図6に示すように、可動カラー16に係合ピン58が固着されており、その係合ピン58の先端部が水平回転軸10の案内溝56に対し摺動自在に嵌合している。このような構造により、可動カラー16は、その係合ピン58の先端部が水平回転軸10の案内溝56に対し摺動しつつ案内溝56により案内されて、水平回転軸10に固着された固定カラー14から遠ざかるように水平回転軸10に対し移動しつつ水平回転軸10の軸心線周りに回動し、また、固定カラー14に近づくように水平回転軸10に対し移動しつつ水平回転軸10の軸心線周りにかつ前記とは逆の方向に回動するようになっている。
次に、上記したような構成を備えた風力発電装置における動作について説明する。
この風力発電装置の設置場所において風が吹くと、方向舵50の作用により、保持台板26が支柱32に対して水平面内で回動し、水平回転軸10の軸線方向を風の流れに沿わせ翼車12の前面側が風上に向いた姿勢となる。そして、風力が小さいときは、図1に示すように、翼車12の風上側取付棒18と風下側取付棒20との間の距離が最小となり、図2に示すように、風上側から翼車12を見たときの羽根22の見掛け上の面積が最大となる。このため、翼車12の羽根22は、風から最大限の力を受けることとなる。このとき、引っ張りコイルばね24には特に負荷はかからない。そして、風の力によって翼車12が水平回転軸10と共に回転し、その回転動力が大径プーリ40、ベルト44、小径プーリ42およびギヤボックス38を経て発電機36の回転子に伝達され、発電機36により回転のエネルギが電気エネルギに変換されて電力が発生する。得られた電力は、例えば、バッテリに一時的に蓄えられ、インバータを介して60Hzまたは50Hzの周波数および100Vの電圧に変換されて一般家庭で使用されたり、インバータを介し回生インバータを通じて電力会社へ供給されたりする。
一方、風力が大きくなると、翼車12の羽根22の受ける力が大きくなり、風下側取付棒20が一体的に固着された可動カラー16は、引っ張りコイルばね24の弾発力(引っ張り力)に抗し、係合ピン58の先端部が水平回転軸10の案内溝56に対し摺動しつつ案内溝56により案内されて、固定カラー14から遠ざかるように移動しつつ、水平回転軸10の軸心線周りに回動する。これにより、図7に示すように、翼車12の風上側取付棒18と風下側取付棒20との間の距離が大きくなり、図8(図7のVIII−VIII矢視断面図)に示すように、風上側取付棒18と風下側取付棒20との角度位置のずれが小さくなって、風上側から翼車12を見たときの羽根22の見掛け上の面積が小さくなる。このため、翼車12の羽根22が風から受ける力が低減することとなる。そして、翼車12の羽根22が受ける風の力と引っ張りコイルばね24の引っ張り力とが均衡した状態となる位置に可動カラー16が保持される。このように、風力が大きいときには、翼車12の羽根22が風から受ける力を低減させるように動作するため、風力が大きくなっても、翼車12の回転数、したがって水平回転軸10の回転数の増大が抑えられる。そして、風力の大きさに応じて可動カラー16の移動距離および回動角度が変化し、風の進行方向から見える翼車12の羽根22の見掛け上の面積が変化するので、風力が変化しても、水平回転軸10の回転数の変動が抑えられる。また、水平回転軸10の回転数の増大が抑えられるので、強風によって羽根22が破損される、といったことが防止される。
そして、風力が次第に小さくなって翼車12の羽根22の受ける力が次第に小さくなると、可動カラー16は、引っ張りコイルばね24の付勢力により、係合ピン58の先端部が水平回転軸10の案内溝56に対し摺動しつつ案内溝56により案内されて、固定カラー14に近づくように移動しつつ、水平回転軸10の軸心線周りに、前記とは逆の方向に回動する。これにより、図1に示すように、翼車12の風上側取付棒18と風下側取付棒20との間の距離が小さくなり、図2に示すように、風上側取付棒18と風下側取付棒20との角度位置のずれが大きくなって、風上側から翼車12を見たときの羽根22の見掛け上の面積が大きくなる。このため、翼車12の羽根22は、風の力を効率良く受けることとなり、翼車12は一定以上の回転数で回転する。
なお、上記した実施形態では、翼車12の羽根22が受ける風の力と引っ張りコイルばね24の引っ張り力とを均衡させることにより、風上側から翼車12を見たときの羽根22の見掛け上の面積が風力の大きさに応じて自動的に調整されるようにし、風力が変化しても水平回転軸10および翼車12の回転数がほぼ一定となるような構成としたが、風上側から翼車12を見たときの羽根22の見掛け上の面積を自動的に調整する機構としては、上記実施形態のものに限定されず、例えば、翼車12の羽根22が受ける風の力と水平回転軸10の回転による遠心力とを均衡させることを利用したものであってもよい。また、水平回転軸10の回転動力を発電機36に伝達する伝動機構や方向舵の機構、発電機36、軸受28などを収納するケーシングの構造、ケーシングの鉛直軸周りの自由回転機構なども、上記した実施形態のものに限定されない。
この発明の実施形態の1例を示し、風力発電装置の側面図である。 図1のII−II矢視断面図である。 図1のIII−III矢視断面図である。 図1に示した装置の一部を拡大した部分断面図である。 図1に示した装置の一部を拡大した側面図である。 図5のVI−VI矢視断面図である。 図1に示した装置の一部を示す側面図であって、風力が大きいときの翼車の状態を説明するための図である。 図7のVIII−VIII矢視断面図である。
符号の説明
10 水平回転軸
12 翼車
14 固定カラー
16 可動カラー
18 風上側取付棒
20 風下側取付棒
22 羽根
24 引っ張りコイルばね
26 保持台板
28 軸受
30 回転支軸
32 支柱
34 支持孔
36 発電機
38 ギヤボックス
40、42 プーリ
44 ベルト
48 固定桿
50 方向舵
52 ブラケット
56 案内溝
58 係合ピン

Claims (2)

  1. 保持部材に水平姿勢でかつ回転自在に支持された回転軸と、
    この回転軸に取着され風の力を受けて回転軸と一体的に回転する翼車と、
    回転のエネルギを電気エネルギに変換する発電機と、
    前記回転軸の回転動力を前記発電機の回転子に伝達する伝動機構と、
    前記回転軸を風向に沿わせるように水平面内で回動させる向き調整機構と、
    を備えた風力発電装置において、
    前記翼車を、
    前記回転軸に固着された固定部材と、
    この固定部材に放射状にかつ円周方向に等配されて固着された複数本の風上側取付棒と、
    前記回転軸の、前記固定部材の後方側に、固定部材と間隔を設け回転軸に対して摺動自在に取着された可動部材と、
    この可動部材に放射状にかつ円周方向に等配され、前記各風上側取付棒にそれぞれ対応するようにかつ風上側取付棒と角度位置をずらして固着された、風上側取付棒と同数本の風下側取付棒と、
    前記各風上側取付棒と前記各風下側取付棒との間にそれぞれ張設された複数枚の羽根と、
    これらの羽根が受ける風力が大きいほど前記風上側取付棒から前記風下側取付棒が離間するようにかつ風上側取付棒とそれに対応する風下側取付棒との角度位置のずれが小さくなるように、前記回転軸に対し前記可動部材を移動および回動させる回転数自動調整機構と、
    を備えて構成したことを特徴とする風力発電装置。
  2. 前記回転数自動調整機構が、
    前記回転軸の外周面に、回転軸の軸線方向に沿いながら捩れるように穿設された案内溝と、
    前記可動部材に固着され先端部が前記案内溝に対し摺動自在に嵌合した係合ピンと、
    前記可動部材を前記固定部材に対して接近させるように付勢する弾発手段と、
    により構成された請求項1記載の風力発電装置。
JP2004117523A 2004-04-13 2004-04-13 風力発電装置 Expired - Fee Related JP4509633B2 (ja)

Priority Applications (1)

Application Number Priority Date Filing Date Title
JP2004117523A JP4509633B2 (ja) 2004-04-13 2004-04-13 風力発電装置

Applications Claiming Priority (1)

Application Number Priority Date Filing Date Title
JP2004117523A JP4509633B2 (ja) 2004-04-13 2004-04-13 風力発電装置

Publications (2)

Publication Number Publication Date
JP2005299523A true JP2005299523A (ja) 2005-10-27
JP4509633B2 JP4509633B2 (ja) 2010-07-21

Family

ID=35331373

Family Applications (1)

Application Number Title Priority Date Filing Date
JP2004117523A Expired - Fee Related JP4509633B2 (ja) 2004-04-13 2004-04-13 風力発電装置

Country Status (1)

Country Link
JP (1) JP4509633B2 (ja)

Cited By (3)

* Cited by examiner, † Cited by third party
Publication number Priority date Publication date Assignee Title
WO2009011506A1 (en) * 2007-07-16 2009-01-22 Young Jae Shin Wind power station using induction apparatus
CN113074088A (zh) * 2021-05-20 2021-07-06 广州赛特新能源科技发展有限公司 一种小型风力发电机
CN116819112A (zh) * 2023-08-29 2023-09-29 贝克曼沃玛金属技术(青岛)有限公司 一种风力发电机组风向标方位调整设备

Citations (7)

* Cited by examiner, † Cited by third party
Publication number Priority date Publication date Assignee Title
JPS298608B1 (ja) * 1952-06-30 1954-12-27
JPS50142935U (ja) * 1974-05-14 1975-11-26
JPS5697579U (ja) * 1979-12-25 1981-08-01
JPS57131873A (en) * 1981-02-06 1982-08-14 Teruo Honami Liquid energy converting mechanism
JPH06200863A (ja) * 1993-01-06 1994-07-19 Hideki Sato 風圧感応式風車羽
JP2005009415A (ja) * 2003-06-19 2005-01-13 Suiden Co Ltd 風力発電用風車の回転自動調整装置
JP2005061291A (ja) * 2003-08-11 2005-03-10 Kunio Miyazaki 風力発電装置における風車構造

Patent Citations (7)

* Cited by examiner, † Cited by third party
Publication number Priority date Publication date Assignee Title
JPS298608B1 (ja) * 1952-06-30 1954-12-27
JPS50142935U (ja) * 1974-05-14 1975-11-26
JPS5697579U (ja) * 1979-12-25 1981-08-01
JPS57131873A (en) * 1981-02-06 1982-08-14 Teruo Honami Liquid energy converting mechanism
JPH06200863A (ja) * 1993-01-06 1994-07-19 Hideki Sato 風圧感応式風車羽
JP2005009415A (ja) * 2003-06-19 2005-01-13 Suiden Co Ltd 風力発電用風車の回転自動調整装置
JP2005061291A (ja) * 2003-08-11 2005-03-10 Kunio Miyazaki 風力発電装置における風車構造

Cited By (5)

* Cited by examiner, † Cited by third party
Publication number Priority date Publication date Assignee Title
WO2009011506A1 (en) * 2007-07-16 2009-01-22 Young Jae Shin Wind power station using induction apparatus
CN113074088A (zh) * 2021-05-20 2021-07-06 广州赛特新能源科技发展有限公司 一种小型风力发电机
CN113074088B (zh) * 2021-05-20 2022-05-24 广州赛特新能源科技发展有限公司 一种小型风力发电机
CN116819112A (zh) * 2023-08-29 2023-09-29 贝克曼沃玛金属技术(青岛)有限公司 一种风力发电机组风向标方位调整设备
CN116819112B (zh) * 2023-08-29 2023-11-14 贝克曼沃玛金属技术(青岛)有限公司 一种风力发电机组风向标方位调整设备

Also Published As

Publication number Publication date
JP4509633B2 (ja) 2010-07-21

Similar Documents

Publication Publication Date Title
KR100870634B1 (ko) 풍력 발전기
JP4125284B2 (ja) 多重回転翼を備えた風力発電機
US20090015017A1 (en) Wind powered electricity generating system
JP2005517123A (ja) 風力発電装置
EP2661553B1 (en) A direct drive generator
JP2004060646A (ja) 風車の起動風速低減装置
JP2006037753A (ja) 風力発電用風車
JP4509633B2 (ja) 風力発電装置
JP4387726B2 (ja) 全風向用風力発電装置
CN112780498A (zh) 后伞式架构弹簧变距风叶轮线圈转子磁钢定子风车发电机
JP2015071980A (ja) 縦軸型風車および縦軸型風車発電機
WO2009082186A1 (fr) Installation éolienne
JP2019089388A (ja) 発電用飛行体
JP6315971B2 (ja) 風力発電装置
JP2010261344A (ja) 風力発電機
JP2009281228A (ja) 風力発電装置
JP2005256605A (ja) 風力発電装置
US20130028737A1 (en) Adjustable wind turbine generating device
WO2011058970A1 (ja) 風力発電装置
JP4269040B2 (ja) 風力発電装置
KR102692921B1 (ko) 블레이드 접이형 풍력 발전기
CN114109720A (zh) 一种水平轴风力机风轮增功提效装置
KR102776635B1 (ko) 낮은 풍속에도 발전이 가능한 풍력발전기
EP2809947B1 (en) A wind turbine with a pitch regulation and furling out of wind
CN114072576A (zh) 路灯用风力发电装置

Legal Events

Date Code Title Description
A621 Written request for application examination

Free format text: JAPANESE INTERMEDIATE CODE: A621

Effective date: 20070406

A977 Report on retrieval

Free format text: JAPANESE INTERMEDIATE CODE: A971007

Effective date: 20100122

A131 Notification of reasons for refusal

Free format text: JAPANESE INTERMEDIATE CODE: A131

Effective date: 20100209

A521 Written amendment

Free format text: JAPANESE INTERMEDIATE CODE: A523

Effective date: 20100226

TRDD Decision of grant or rejection written
A01 Written decision to grant a patent or to grant a registration (utility model)

Free format text: JAPANESE INTERMEDIATE CODE: A01

Effective date: 20100406

A01 Written decision to grant a patent or to grant a registration (utility model)

Free format text: JAPANESE INTERMEDIATE CODE: A01

A61 First payment of annual fees (during grant procedure)

Free format text: JAPANESE INTERMEDIATE CODE: A61

Effective date: 20100428

FPAY Renewal fee payment (event date is renewal date of database)

Free format text: PAYMENT UNTIL: 20130514

Year of fee payment: 3

R150 Certificate of patent or registration of utility model

Ref document number: 4509633

Country of ref document: JP

Free format text: JAPANESE INTERMEDIATE CODE: R150

Free format text: JAPANESE INTERMEDIATE CODE: R150

FPAY Renewal fee payment (event date is renewal date of database)

Free format text: PAYMENT UNTIL: 20130514

Year of fee payment: 3

FPAY Renewal fee payment (event date is renewal date of database)

Free format text: PAYMENT UNTIL: 20160514

Year of fee payment: 6

R250 Receipt of annual fees

Free format text: JAPANESE INTERMEDIATE CODE: R250

R250 Receipt of annual fees

Free format text: JAPANESE INTERMEDIATE CODE: R250

R250 Receipt of annual fees

Free format text: JAPANESE INTERMEDIATE CODE: R250

R250 Receipt of annual fees

Free format text: JAPANESE INTERMEDIATE CODE: R250

LAPS Cancellation because of no payment of annual fees