JP2005299023A - 衣服および衣服に用いる肩布 - Google Patents
衣服および衣服に用いる肩布 Download PDFInfo
- Publication number
- JP2005299023A JP2005299023A JP2004118021A JP2004118021A JP2005299023A JP 2005299023 A JP2005299023 A JP 2005299023A JP 2004118021 A JP2004118021 A JP 2004118021A JP 2004118021 A JP2004118021 A JP 2004118021A JP 2005299023 A JP2005299023 A JP 2005299023A
- Authority
- JP
- Japan
- Prior art keywords
- shoulder
- cloth
- desired number
- garment
- shoulder cloth
- Prior art date
- Legal status (The legal status is an assumption and is not a legal conclusion. Google has not performed a legal analysis and makes no representation as to the accuracy of the status listed.)
- Pending
Links
Images
Landscapes
- Outerwear In General, And Traditional Japanese Garments (AREA)
- Details Of Garments (AREA)
Abstract
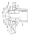
【解決手段】本発明は、上端に首ぐり2を有する前身頃3,3′および後身頃4,4′とよりなる衣服1であり、一端を首ぐりの頸側部位a,a′に対応する部分に設けられた肩K,K′を覆う肩布部5,5′と、左右の袖部6,6′とを備え、(イ)肩布部5,5′が、頸側部位a,a′から肩先点部位a,a′までの間と、胸幅部位cから背幅部位dまでの間とで規定される領域T,T′に設けられ、(ロ)肩布部に、肩切り替え手段9によって形成された凸の曲面部7が表面に設けられ、該曲面部の裏面には空隙部8が設けられ、(ハ)肩布部が、被着時に頸側部位付近を支点部pとして肩K,K′から浮き上がった状態に装用される。
【選択図】図1
Description
上端に首ぐりを有する前身頃および後身頃とよりなる衣服であって、一端を前記首ぐりの頸側部位に対応する部分に設けられた肩を覆う肩布部と、該肩布部に配設される袖部とを備える衣服において、
(イ)前記肩布部が、前記頸側部位から肩先点部位にまでの間と、胸幅部位から背幅部位までの間とによって規定される領域に設けられ、
(ロ)前記肩布部に、肩切り替え手段によって形成された凸の曲面部が表面に設けられるとともに、該曲面部の裏面には空隙部が設けられ、
(ハ)そして、前記肩布部が、被着時に前記頸側部位付近を支点部として被着者の肩から浮き上がった状態に装用されるようにした。
前記肩布部に続いて配設される袖部が、ラグラン袖であることを特徴とした。
前記肩布部に続いて配設される袖部が、袖ぐりを介して設けられるセットイン袖であることを特徴とした。
前記肩切り替え手段が、切込みによってダーツを設けて形成されるものであるか、または折込みを設けることによって形成されるタックであることを特徴とした。
前記胸幅部位に位置する前縁と前記背幅部位に位置する後縁とに長手方向に交叉する所望本数の切込みによってダーツを設けて形成されるか、または、所望本数の折込みによってタックを設けて形成されることを特徴とした。
前記頸側部位に長手方向へ所望本数の切込みによってダーツを設けて形成されるか、または、所望本数の折込みによってタックを設けて形成されることを特徴とした。
前記肩切り替え手段が、後身頃に一体に形成される前記肩布部の長手方向に交叉する所望本数の切込みによってダーツを設けて形成されるか、または、所望本数の折込みによってタックを設けて形成されるとともに、袖ぐり部には後身頃の中心線に向かう所望本数の切込みによってダーツを設けて形成されるか、または、所望本数の折込みによってタックを設けて形成されることを特徴としたことを特徴とした。
前記肩切り替え手段が、前記肩布部を後身頃に対する肩ヨークとして形成し、該肩ヨークの肩山の縁部には長手方向に交叉する所望本数の切込みによってダーツを設けて形成されるか、または、所望本数の折込みによってタックを設けて形成されることを特徴とした。
前記肩切り替え手段が、前身頃および後身頃と、該前身頃と該後身頃との対向面の何れか一側に胸幅部位と背幅部位との間の領域を幅方向に占める肩布構成部材を突設するとともに、前記対向面の何れか他側には前記肩布構成部材を取付可能に該肩布構成部材よりも僅かに幅狭の肩ぐり凹部を凹設した、ことを特徴とした。
上端に首ぐりを有する前身頃および後身頃とよりなる衣服であって、一端を前記首ぐりの頸側部位に対応する部分に設けられた肩を覆う肩布部と、該肩布部に配設される袖部とを備える衣服に用いる肩布おいて、
(イ)肩布部が、前記頸側部位から肩先点部位までの間と、胸幅部位から背幅部位との間によって規定される領域に設けられ、
(ロ)前記肩布部に、肩切り替え手段によって形成された凸の曲面部が表面に設けられるとともに、該曲面部の裏面には空隙部が設けられ、
(ハ)そして、前記肩布部が、被着時に前記頸側部位付近を支点部として被着者の肩から浮き上がった状態に装用されるようにしたことを特徴とした。
前記肩布部に続いて配設される袖部が、ラグラン袖であることを特徴とした。
前記肩布部に続いて配設される袖部が、袖ぐりを介して設けられるセットイン袖であることを特徴とした。
前記肩切り替え手段が、前記胸幅部位に位置する前縁と前記背幅部位に位置する後縁とに長手方向に交叉する所望本数の切込みによってダーツを設けて形成されるか、または、所望本数の折込みによってタックを設けて形成されることを特徴とした。
前記肩切り替え手段が、後身頃に一体に形成される前記肩布部の長手方向に交叉する所望本数の切込みによってダーツを設けて形成されるか、または、所望本数の折込みによってタックを設けて形成されるとともに、袖ぐり部には後身頃の中心線に向かう所望本数の切込みによってダーツを設けて形成されるかまたは所望本数の折込みによってタックを設けて形成されることを特徴とした。
前記肩切り替え手段が、後身頃に一体に形成される前記肩布部の長手方向に交叉する所望本数の切込みによってダーツを設けて形成されるか、または、所望本数の折込みによってタックを設けて形成されるとともに、袖ぐり部には後身頃の中心線に向かう所望本数の切込みによってダーツを設けて形成されるか、または、所望本数の折込みによってタックを設けて形成されることを特徴とした。
前記肩切り替え手段が、前記肩布部を後身頃に対する肩ヨークとして形成し、該肩ヨークの肩山の縁部には長手方向に交叉する所望本数の切込みによってダーツを設けて形成されるか、または、所望本数の折込みによってタックを設けて形成されることを特徴とした。
前記肩切り替え手段が、前身頃および後身頃と、該前身頃と該後身頃との対向面の何れか一側に胸幅部位と背幅部位との間の領域を幅方向に占める肩布構成部材を突設するとともに、前記対向面の何れか他側には前記肩布構成部材を取付可能に該肩布構成部材よりも僅かに幅狭の肩ぐり凹部を凹設した、ことを特徴とした。
前記肩布構成部材が、袖部の前記前身頃および前記後身頃に対する対向端に設けられた、ことを特徴とした。
(イ)前記肩布部5,5′が、前記頸側部位a,a′から肩先点部位b,b′にまでの間と、胸幅部位cから背幅部位dの間とによって規定される領域T,T′に設けられ、
(ロ)前記肩布部5,5′に、肩切り替え手段9によって形成された凸の曲面部7が表面に設けられるとともに、該曲面部7の裏面には空隙部8が設けられ、
(ハ)そして、前記肩布部5,5′が、被着時に前記頸側部位a,a′付近を支点部pとして被着者の肩K,K′から浮き上がった状態に装用されるようにしている。
2 首ぐり
3 前身頃
3′ 前身頃
4 後身頃
4′ 後身頃
5 肩布部
5′ 肩布部
6 袖部
6′ 袖部
7 曲面部
8 空隙部
9 肩切り替え手段
10 前縁
10′ 前縁
11 後縁
11′ 前縁
12 切込み
13 ダーツ
A ラグラン袖
A1 ラグラン袖
A′ ラグラン袖
B セットイン袖
I 長手方向
K 肩
K′ 肩
T 領域
T′ 領域
W 幅方向
a 頸側部位
a′ 頸側部位
b 肩先点部位
b′ 肩先点部位
c 胸幅部位
d 背幅部位
e 袖口
e′ 袖口
Claims (18)
- 上端に首ぐりを有する前身頃および後身頃とよりなる衣服であって、一端を前記首ぐりの頸側部位に対応する部分に設けられた肩を覆う肩布部と、該肩布部に配設される袖部とを備える衣服において、
(イ)前記肩布部が、前記頸側部位から肩先点部位にまでの間と、胸幅部位から背幅部位との間とによって規定される領域に設けられ、
(ロ)前記肩布部に、肩切り替え手段によって形成された凸の曲面部を表面に設けるとともに、該曲面部の裏面には空隙部が設けられ、
(ハ)そして、前記肩布部が、被着時に前記頸側部位付近を支点部として被着者の肩から浮き上がった状態に装用されるようにした
ことを特徴とした衣服。 - 前記肩布部に続いて配設される袖部が、ラグラン袖であることを特徴とした請求項1に記載の衣服。
- 前記肩布部に続いて配設される袖部が、袖ぐりを介して設けられるセットイン袖であることを特徴とした請求項1に記載の衣服。
- 前記肩切り替え手段が、切込みによってダーツを設けて形成されるものであるか、または折込みを設けることによって形成されるタックであることを特徴とした請求項1,2,3の何れかに記載の衣服。
- 前記肩切り替え手段が、前記胸幅部位に位置する前縁と前記背幅部位に位置する後縁とに長手方向に交叉する所望本数の切込みによってダーツを設けて形成されるか、または、所望本数の折込みによってタックを設けて形成されることを特徴とした請求項1,2,4に記載の衣服。
- 前記肩切り替え手段が、前記頸側部位に長手方向へ所望本数の切込みによってダーツを設けて形成されるか、または、所望本数の折込みによってタックを設けて形成されることを特徴とした請求項1,2,4に記載の衣服。
- 前記肩切り替え手段が、後身頃に一体に形成される前記肩布部の長手方向に交叉する所望本数の切込みによってダーツを設けて形成されるか、または、所望本数の折込みによってタックを設けて形成されるとともに、袖ぐり部には後身頃の中心線に向かう所望本数の切込みによってダーツを設けて形成されるか、または、所望本数の折込みによってタックを設けて形成されることを特徴とした請求項1,3,4に記載の衣服。
- 前記肩切り替え手段が、前記肩布部を後身頃に対する肩ヨークとして形成し、該肩ヨークの肩山の縁部には長手方向に交叉する所望本数の切込みによってダーツを設けて形成されるか、または、所望本数の折込みによってタックを設けて形成されることを特徴とした請求項1,3,4に記載の衣服。
- 前記肩切り替え手段が、前身頃および後身頃と、該前身頃と該後身頃との対向面の何れか一側に胸幅部位と背幅部位との間の領域を幅方向に占める肩布構成部材を突設するとともに、前記対向面の何れか他側には前記肩布構成部材を取付可能に該肩布構成部材よりも僅かに幅狭の肩ぐり凹部を凹設した、ことを特徴とする請求項1,3,4に記載の衣服。
- 上端に首ぐりを有する前身頃および後身頃とよりなる衣服であって、一端を前記首ぐりの頸側部位に対応する部分に設けられた肩を覆う肩布部と、該肩布部に配設される袖部とを備える衣服に用いる肩布おいて、
(イ)肩布部が、前記頸側部位から肩先点部位までの間と、胸幅部位から背幅部位との間によって規定される領域に設けられ、
(ロ)前記肩布部に、肩切り替え手段によって形成された凸の曲面部が表面に設けられるとともに、該曲面部の裏面には空隙部が設けられ、
(ハ)そして、前記肩布部が、被着時に前記頸側部位付近を支点部として被着者の肩から浮き上がった状態に装用されるようにしたことを特徴とした衣服に用いる肩布。 - 前記肩布部に続いて配設される袖部が、ラグラン袖であることを特徴とした請求項10に記載の衣服に用いる肩布。
- 前記肩布部に続いて配設される袖部が、袖ぐりを介して設けられるセットイン袖であることを特徴とした請求項10に記載の衣服に用いる肩布。
- 前記肩切り替え手段が、前記胸幅部位に位置する前縁と前記背幅部位に位置する後縁とに長手方向に交叉する所望本数の切込みによってダーツを設けて形成されるか、または、所望本数の折込みによってタックを設けて形成されることを特徴とした請求項10,11に記載の衣服に用いる肩布。
- 前記肩切り替え手段が、前記頸側部位に長手方向へ所望本数の切込みによってダーツを設けて形成されるか、または、所望本数の折込みによってタックを設けて形成されることを特徴とした請求項10,11に記載の衣服に用いる肩布。
- 前記肩切り替え手段が、後身頃に一体に形成される前記肩布部の長手方向に交叉する所望本数の切込みによってダーツを設けて形成されるか、または、所望本数の折込みによってタックを設けて形成されるとともに、袖ぐり部には後身頃の中心線に向かう所望本数の切込みによってダーツを設けて形成されるか、または、所望本数の折込みによってタックを設けて形成されることを特徴とした請求項10,12に記載の衣服に用いる肩布。
- 前記肩切り替え手段が、前記肩布部を後身頃に対する肩ヨークとして形成し、該肩ヨークの肩山の縁部には長手方向に交叉する所望本数の切込みによってダーツを設けて形成されるか、または、所望本数の折込みによってタックを設けて形成されることを特徴とした請求項10,12に記載の衣服に用いる肩布。
- 前記肩切り替え手段が、前身頃および後身頃と、該前身頃と該後身頃との対向面の何れか一側に胸幅部位と背幅部位との間の領域を幅方向に占める肩布構成部材を突設するとともに、前記対向面の何れか他側には前記肩布構成部材を取付可能に該肩布構成部材よりも僅かに幅狭の肩ぐり凹部を凹設した、ことを特徴とする請求項10,12に記載の衣服に用いる肩布。
- 前記肩布構成部材が、袖部の前記前身頃および前記後身頃に対する対向端に設けられたことを特徴とする請求項16に記載の衣服に用いる肩布。
Priority Applications (1)
| Application Number | Priority Date | Filing Date | Title |
|---|---|---|---|
| JP2004118021A JP2005299023A (ja) | 2004-04-13 | 2004-04-13 | 衣服および衣服に用いる肩布 |
Applications Claiming Priority (1)
| Application Number | Priority Date | Filing Date | Title |
|---|---|---|---|
| JP2004118021A JP2005299023A (ja) | 2004-04-13 | 2004-04-13 | 衣服および衣服に用いる肩布 |
Publications (1)
| Publication Number | Publication Date |
|---|---|
| JP2005299023A true JP2005299023A (ja) | 2005-10-27 |
Family
ID=35330920
Family Applications (1)
| Application Number | Title | Priority Date | Filing Date |
|---|---|---|---|
| JP2004118021A Pending JP2005299023A (ja) | 2004-04-13 | 2004-04-13 | 衣服および衣服に用いる肩布 |
Country Status (1)
| Country | Link |
|---|---|
| JP (1) | JP2005299023A (ja) |
Cited By (8)
| Publication number | Priority date | Publication date | Assignee | Title |
|---|---|---|---|---|
| JP2007254925A (ja) * | 2006-03-24 | 2007-10-04 | Aitosu Kk | ブルゾン型上着 |
| WO2009125487A1 (ja) * | 2008-04-10 | 2009-10-15 | 株式会社アシックス | 上衣 |
| CN101623128A (zh) * | 2008-07-09 | 2010-01-13 | 株式会社岛野 | 上衣 |
| JP2010275662A (ja) * | 2009-05-29 | 2010-12-09 | Phoenix:Kk | 衣服、その上パターンおよび下パターン |
| CN102318912A (zh) * | 2011-09-17 | 2012-01-18 | 德州学院 | 个性女式休闲衫的制作方法 |
| JP6696662B1 (ja) * | 2019-02-18 | 2020-05-20 | トラタニ株式会社 | 衣料の上半身部 |
| JP2023128841A (ja) * | 2022-03-04 | 2023-09-14 | 株式会社ナカヒロ | ファン装着可能な衣服、ファン付き衣服およびファン装着可能な衣服の製造方法 |
| WO2025022468A1 (en) | 2023-07-25 | 2025-01-30 | Jan Davidsson | Garment with increased flexilbe movement of limbs |
Citations (5)
| Publication number | Priority date | Publication date | Assignee | Title |
|---|---|---|---|---|
| JPS488410U (ja) * | 1971-06-10 | 1973-01-30 | ||
| JPS6052918U (ja) * | 1983-09-20 | 1985-04-13 | ヒットユニオン株式会社 | 上衣 |
| JPS6173606U (ja) * | 1984-10-16 | 1986-05-19 | ||
| JPH01183504A (ja) * | 1988-01-12 | 1989-07-21 | Mitsuru Ito | 上着 |
| JP3062097U (ja) * | 1999-03-11 | 1999-09-28 | 株式会社ワコール | 袖部を有する衣類 |
-
2004
- 2004-04-13 JP JP2004118021A patent/JP2005299023A/ja active Pending
Patent Citations (5)
| Publication number | Priority date | Publication date | Assignee | Title |
|---|---|---|---|---|
| JPS488410U (ja) * | 1971-06-10 | 1973-01-30 | ||
| JPS6052918U (ja) * | 1983-09-20 | 1985-04-13 | ヒットユニオン株式会社 | 上衣 |
| JPS6173606U (ja) * | 1984-10-16 | 1986-05-19 | ||
| JPH01183504A (ja) * | 1988-01-12 | 1989-07-21 | Mitsuru Ito | 上着 |
| JP3062097U (ja) * | 1999-03-11 | 1999-09-28 | 株式会社ワコール | 袖部を有する衣類 |
Cited By (13)
| Publication number | Priority date | Publication date | Assignee | Title |
|---|---|---|---|---|
| JP2007254925A (ja) * | 2006-03-24 | 2007-10-04 | Aitosu Kk | ブルゾン型上着 |
| JP5066254B2 (ja) * | 2008-04-10 | 2012-11-07 | 株式会社アシックス | 上衣 |
| WO2009125487A1 (ja) * | 2008-04-10 | 2009-10-15 | 株式会社アシックス | 上衣 |
| US9402426B2 (en) | 2008-04-10 | 2016-08-02 | Asics Corporation | Upper garment |
| CN101623128A (zh) * | 2008-07-09 | 2010-01-13 | 株式会社岛野 | 上衣 |
| JP2010275662A (ja) * | 2009-05-29 | 2010-12-09 | Phoenix:Kk | 衣服、その上パターンおよび下パターン |
| CN102318912A (zh) * | 2011-09-17 | 2012-01-18 | 德州学院 | 个性女式休闲衫的制作方法 |
| JP6696662B1 (ja) * | 2019-02-18 | 2020-05-20 | トラタニ株式会社 | 衣料の上半身部 |
| WO2020170292A1 (ja) * | 2019-02-18 | 2020-08-27 | トラタニ株式会社 | 衣料の上半身部 |
| US11950649B2 (en) | 2019-02-18 | 2024-04-09 | Toratani Co., Ltd. | Upper body of garment |
| JP2023128841A (ja) * | 2022-03-04 | 2023-09-14 | 株式会社ナカヒロ | ファン装着可能な衣服、ファン付き衣服およびファン装着可能な衣服の製造方法 |
| JP7584465B2 (ja) | 2022-03-04 | 2024-11-15 | 株式会社ナカヒロ | ファン装着可能な衣服、ファン付き衣服およびファン装着可能な衣服の製造方法 |
| WO2025022468A1 (en) | 2023-07-25 | 2025-01-30 | Jan Davidsson | Garment with increased flexilbe movement of limbs |
Similar Documents
| Publication | Publication Date | Title |
|---|---|---|
| US9603400B2 (en) | Golf shirt with improved fit and contrast | |
| CN104470389B (zh) | 具有缝合部的稳定性增强的短裤 | |
| CN101754698B (zh) | 运动用的附设裤裆的衣服 | |
| EP3329791B1 (en) | Knitted band with integrated ventilation | |
| WO2013111660A1 (ja) | 衣服 | |
| JP2007303024A (ja) | 自転車搭乗用衣服 | |
| US11234467B1 (en) | Tuck no tuck apparel | |
| JP3630224B2 (ja) | 腰裏構造 | |
| JP2010255137A (ja) | カット・アンド・ソーンによるニットシャツ | |
| JP2005299023A (ja) | 衣服および衣服に用いる肩布 | |
| JP4580116B2 (ja) | スタンドカラー型衿を備えた衣類 | |
| JP2014029040A (ja) | 上衣 | |
| JP6530476B1 (ja) | 股下寸法を調整可能な衣服 | |
| JP6467228B2 (ja) | フードの構造体 | |
| CN110074479B (zh) | 滑爽型色纺女士居家服套装 | |
| JP3062695U (ja) | 動作適応可能な衣服 | |
| JP4214355B2 (ja) | 運動用シャツ | |
| JP6181562B2 (ja) | 下半身用衣類 | |
| JP6674082B2 (ja) | 衣類 | |
| CN210184538U (zh) | 凉感运动袜 | |
| JP2005256209A (ja) | 肌着用編地およびそれを用いた肌着 | |
| JP3203905U (ja) | 下衣部 | |
| JP3015505U (ja) | スキー用ズボン | |
| KR20240158458A (ko) | 조임 강도 조절이 가능한 웨빙 스트랩 | |
| JP3199637U (ja) | 上衣 |
Legal Events
| Date | Code | Title | Description |
|---|---|---|---|
| A711 | Notification of change in applicant |
Free format text: JAPANESE INTERMEDIATE CODE: A712 Effective date: 20050714 |
|
| A621 | Written request for application examination |
Free format text: JAPANESE INTERMEDIATE CODE: A621 Effective date: 20050926 |
|
| A977 | Report on retrieval |
Free format text: JAPANESE INTERMEDIATE CODE: A971007 Effective date: 20070518 |
|
| A131 | Notification of reasons for refusal |
Free format text: JAPANESE INTERMEDIATE CODE: A131 Effective date: 20070529 |
|
| A02 | Decision of refusal |
Free format text: JAPANESE INTERMEDIATE CODE: A02 Effective date: 20071002 |
