JP2005297150A - 微小流路構造体及びそれを用いた液滴生成方法 - Google Patents

微小流路構造体及びそれを用いた液滴生成方法 Download PDF

Info

Publication number
JP2005297150A
JP2005297150A JP2004118970A JP2004118970A JP2005297150A JP 2005297150 A JP2005297150 A JP 2005297150A JP 2004118970 A JP2004118970 A JP 2004118970A JP 2004118970 A JP2004118970 A JP 2004118970A JP 2005297150 A JP2005297150 A JP 2005297150A
Authority
JP
Japan
Prior art keywords
flow path
channel
liquid
fluid
droplets
Prior art date
Legal status (The legal status is an assumption and is not a legal conclusion. Google has not performed a legal analysis and makes no representation as to the accuracy of the status listed.)
Granted
Application number
JP2004118970A
Other languages
English (en)
Other versions
JP4547967B2 (ja
Inventor
Tatsu Futami
達 二見
Keiichiro Nishizawa
恵一郎 西澤
Current Assignee (The listed assignees may be inaccurate. Google has not performed a legal analysis and makes no representation or warranty as to the accuracy of the list.)
Tosoh Corp
Original Assignee
Tosoh Corp
Priority date (The priority date is an assumption and is not a legal conclusion. Google has not performed a legal analysis and makes no representation as to the accuracy of the date listed.)
Filing date
Publication date
Application filed by Tosoh Corp filed Critical Tosoh Corp
Priority to JP2004118970A priority Critical patent/JP4547967B2/ja
Publication of JP2005297150A publication Critical patent/JP2005297150A/ja
Application granted granted Critical
Publication of JP4547967B2 publication Critical patent/JP4547967B2/ja
Anticipated expiration legal-status Critical
Expired - Fee Related legal-status Critical Current

Links

Images

Landscapes

  • Micromachines (AREA)

Abstract

【課題】微小流路内で平均粒径が10μm未満であり、さらに粒径分散度が10%未満の均一粒径の微小液滴を、工業的規模となる大量に生成することを可能とする微小流路構造体及びそれを用いた液滴生成方法を提供する。
【解決の手段】少なくとも一つの基板上に形成された第1の流路、第2の流路及び第3の流路を有する微小流路構造体であって、第1の流路は第1の流体導入口及び第1の流体排出口と連通しており、第2の流路は第2の流体導入口及び第2の流体排出口と連通しており、第3の流路は前記第1の流路と前記第2の流路と連通すると共に、第3の流路内の第2の流路側において流路が1以上の仕切り壁で分割されていることを特徴とする微小流路構造体及びそれを利用した液滴生成方法を用いる。
【選択図】なし


Description

本発明は、分取・分離用カラム充填剤に用いられる微小粒子や医薬品、含酵素カプセル、化粧品、香料、表示・記録材料、接着剤、農薬等に利用されるマイクロカプセルに用いられる微小粒子などの製造用として好適に用いられる微小流路構造体及びそれを用いた微小な液滴生成方法に関する。
近年、数cm角のガラス基板上に長さが数cm程度で、幅と深さがサブμmから数百μmの微小流路を有する微小流路構造体を用い、流体を微小流路へ導入することにより微小粒子の生成を行う研究が注目されている。微小粒子を生成する手段の一つとして、界面張力の異なる2種類の流体を、前記2種類の流体の交差部が存在する流路に導入し、一方の流体によりもう一方の流体をせん断することにより微小粒子を生成することができることが報告されている(例えば、特許文献1参照)。なおここでいう微小粒子とは、固体状の微小粒子の他にも微小液滴や微小液滴の表面だけが硬化した微小粒子(以下、「半硬化」という。)や、非常に粘性が高い半固体状の微小粒子も含む。
例えば、特許文献1に示されている手法は図1に示すように、基板(1)に連続相導入口(2)、連続相を導入する流路(以下、連続相導入流路(3)という)、分散相導入口(4)、分散相を導入する流路(以下、分散相導入流路(5)という)、連続相中に微小粒子化した分散相を排出する流路(以下、排出流路(7)という)及び排出口(8)を有したT字型の流路を有し、基板の流路面側にカバー体を接合した微小流路構造体であり、マイクロチャンネル中を流れる連続相に対し、分散相を前記連続相の流れに交差する向きで分散相供給口より排出し、前記連続相のせん断力によって、前記分散相の供給チャンネルの幅より径の小さい微小液滴を得ている。なお、図1の流路の一部断面図を図2に示した。ここで特許文献1には、連続相導入流路の幅及び分散相導入流路の幅は100μmであり、連続相導入流路の深さ及び分散相導入流路の深さは100μmと記載されている。なお、以下では、導入された連続相と分散相とが交差する部分を交差部(6)という。 特許文献1に記載された手法を用い分散相と連続相の流速を制御して送液を行うと、数μm〜数百μmの微小液滴の生成が可能であり、分散相及び連続相の流量を制御することで生成する微小液滴の粒径を制御することが可能であることが記載されている。得られた微小液滴の粒径としては、特許文献1では分散相の送液圧を2.45kPaに固定し、連続相の送液圧を4.85〜5.03kPaに変化させることで5〜25μmの粒径の微小液滴を得ていることが示されている。
しかしながら、流体のせん断力を用いて粒径が10μm未満であり、かつ粒径分散度が良い液滴を生成することは一般的に非常に難しい。ここで、粒径分散度とは、粒径の標準偏差を粒径の平均値(以下、平均粒径という。)で割った値であると定義し、本発明において粒径分散度が良いとは、粒径分散度が10%未満であることを意味する。
また、微小液滴を生成する別の手段として、2本の流路(以下、流路A、流路Bとする)に挟まれた、前記2本の流路と連通する微小空間に、一方の流路Aから液滴化したい流体を送液し、毛細管現象により前記微小空間に流体を引き込んだ後、流路Aに残留する流体を取り除き、前記微小空間の容積に応じた体積の液滴を生成することが試みられている(例えば、特許文献2参照)。
特許文献2に示されている手法は図3に示すように、それぞれ所定の方向に延長される第1の流路A(9)ならびに第2の流路B(10)と、流路Aならびに流路Bのそれぞれの流路壁において開口して流路Aと流路Bとを連結する流路Aならびに流路Bの太さより細い第3の流路C(11)とを有し、流路Aに導入された液体が、流路Aの流路壁において開口する流路Cの開口部を介して毛細管現象により流路C内に引き込まれた後、流路Aに残留する前記液体を取り除き、前記流路Cの容積に応じた体積の液滴を生成し流路Bに送り出している。
前述した特許文献2では、流路Cの容積が実質的にnL(×10−9リットル:ナノリットル)オーダーであり、実施例にも5nLのグルコース水溶液の液滴を生成している。これは粒径に換算すると約200μm程度となる。さらに平均粒径の小さい液滴を生成するには、流路Cの容積を小さくする必要があり、流路Cの容積を0.5pL(×10−12リットル:ピコリットル)未満とすれば平均粒径が10μm未満の液滴を生成することが計算上可能である。しかしながら、0.5pLの断面積は、0.5pLの立方体を仮定した場合約8μmとなる。この態様で液滴を生成した場合、液滴生成速度が遅いという問題がある。以下にその理由を記述する。
一般に空間を流れる流体の圧力損失(ΔP[Pa])は、以下に示す(式1)のハーゲン・ポアズイユの式に従う。
ΔP=32μLv/R (式1)
μ[Pa・s]は流体の粘性係数、L[m]は流路長、v[m/s]は流体の線速度、R[m]は流路を円筒管とした場合の流路の直径である。従って、直径R[m]、長さL[m]の円筒管に線速度v[m/s]で送液するときの力F[N]は以下の(式2)で示される。
=ΔP・πR/4=8πμLv (式2)
一方、毛細管現象で流体が引き込まれる力F[N]は一般に(式3)で示される。
=πRTcosθ (式3)
T[F/m]は流体の表面張力、R[m]は流路を円筒管とした場合の流路の直径である。
毛細管現象により流体が流路Cに入りこむためには、毛細管現象で流体が引き込まれる力Fが圧力損失による力Fより大きいことが条件であるので、F>Fである必要があることから(式4)の関係が成り立つ。
πRTcosθ>8πμLv (式4)
(式4)を変形して、
vL/R<Tcosθ/8μ (式5)
となる。ここで、ガラス流路に対して水を流路Cに送り込むことを考えると、水の粘性係数μは1[mPa・s]、表面張力Tは26.2[mN/m]、ガラスとの接触角θは0[度]として計算すると、
v<3.275R/L (式6)
となる。
今、平均粒径約60μm程度の液滴を生成する場合を考える。この場合、流路Cの体積は、内径Rが50μm、流路長Lが50μmの円筒状の体積に相当する。ガラス流路に対して水を流路Cに送り込む条件は(式6)を満たす必要があるから、RとLを代入すると線速度vは3.275m/s未満である必要がある。ここで、内径R[m]、の円筒状の流路を線速度v[m/s]で流す時の送液速度u[L/分]との関係は以下の(式7)で示される。
u=60π(R/2)・v・10 (式7)
従って、上記の線速度3.275m/s未満の時の送液速度uは385μL/分未満となる。
一般に実際の生産量としては、年間約1万Lの液滴をスラリーとして得る場合が考えられる(以下、本発明においては、年間1万Lの液滴を含んだスラリーを生産する程度の能力を大量生産と定義することとする。)。また、マイクロリアクターの特徴として、同じ流路の本数を増やせば液滴の単位時間あたりの生産能力を向上させることができるナンバリングアップという概念が提唱されている。しかしながら、実際にマイクロリアクターを大量生産用にナンバリングアップした報告は本発明者らが実施した例(例えば非特許文献1参照)以外にはほとんど無い。非特許文献1で示されているように、例えば直径130mmの微小流路基板に微小流路を放射状に配置した場合は10〜100本本程度、またその基板を積層した場合も5枚〜10枚程度、その積層したマイクロリアクターを並列に設置したとしても5〜10程度の並列が現時点での実績であり、流路の本数としては最大で1万本程度が現時点での現実的なナンバリングアップと想定できる。前述したマイクロリアクターによる大量生産システムを用いて、実稼動日数を210日、1日8時間送液したとして、年間1万Lの液滴のスラリーを生産するためには、1本の流路から10μL/分以上の液滴をスラリーとして排出する能力が必要となる。
従って平均粒径約60μm程度の液滴を生成する場合の送液速度は385μL/分未満であるため、十分に上記量産条件を満たすことがわかる。
一方、平均粒径約4μm程度の液滴を生成する場合を考える。この場合、流路Cの体積は、内径Rが5μm、流路長Lが5μmの円筒状の体積に相当する。ガラス流路に対して水を流路Cに送り込む条件は(式6)を満たす必要があるから、線速度vは、3.275m/s未満である必要があり、(式7)からこのときの送液速度uは3.86μL/分未満である必要がある。前述したマイクロリアクターによる大量生産システムで年間1万Lの液滴のスラリーを生産するには、10μL/分以上の送液速度が必要であるため、この条件では想定目標の1/3未満しか生産できないことがわかる。実際、特許文献2の例では液滴を生成する原料を連続的に流す態様ではなく、液滴の原料となる液体を流したあと、液体を流路Cのみに蓄えるために流路Aから液滴の原料となる液体を排除し、さらに流路Cに蓄えられた液体を流路Bに排出するために流路Aに流体を送液する手段を伴っており、実質的には3.86μL/分の数分の1〜数十分の1の送液速度となり、想定目標の1/10〜1/30程度以下の生産能力となる。従って、特許文献2の方法では、平均粒径が数μm程度で分散度が10%未満の液滴を生成することが可能ではあるが、その生成速度が遅いために、実用的な工業的規模に相当する年間1万Lの生産に適用することは非常に困難であった。
国際公開WO02/068104パンフレット
特開2002−357616 A.Kawai、T.Futamiら著、「MASS−PRODUCTION SYSTEM OF NEARLY MONODISPERSE DIAMETER GELPARTICLES USING DROPLETS FORMATION IN A MICROCHANNEL」, Proceedings of the μ−TAS 2002 Symposium,2002年発行,368−370頁
以上のように前述したように流体のせん断力や毛細管現象により微小液滴を生成する従来の技術では、平均粒径が10μm未満であり、かつ粒径分散度が10%未満の均一粒径の液滴を大量に生成することは非常に困難であった。
本発明は、上記課題鑑みてなされたもので、微小流路内で平均粒径が10μm未満であり、さらに粒径分散度が10%未満の均一粒径の微小液滴を、工業的規模となる大量に生成することを可能とする微小流路構造体及びそれを用いた液滴生成方法を提供することにある。
本発明は、上記課題を解決する手段として、少なくとも一つの基板上に形成された第1の流路、第2の流路及び第3の流路を有する微小流路構造体であって、第1の流路は第1の流体導入口及び第1の流体排出口と連通しており、第2の流路は第2の流体導入口及び第2の流体排出口と連通しており、第3の流路は前記第1の流路と前記第2の流路と連通すると共に、第3の流路内の第2の流路側において流路が1以上の仕切り壁で分割されている微小流路構造体を用い、前記第1の流路に導入された液体が、前記第1の流路の流路壁において開口する前記第3の流路の開口部を介して前記第3の流路内に送り込み、前記液体を送りこんだ後、前記第1の流路に残留する前記液体を取り除き、前記第3の流路の容積に応じた体積の液体を蓄え、前記蓄えた液体を前記仕切り壁を通過させることにより分割して液滴を生成し、前記第2の流路に前記液滴を送り出すことによる液滴生成方法を提供することで、上記の従来技術による課題を解決することができ、遂に本発明を完成することができた。以下、本発明を詳細に説明する。
本発明の微小流路構造体は、少なくとも一つの基板上に形成された第1の流路、第2の流路及び第3の流路を有する微小流路構造体であって、第1の流路は第1の流体導入口及び第1の流体排出口と連通しており、第2の流路は第2の流体導入口及び第2の流体排出口と連通しており、第3の流路は前記第1の流路と前記第2の流路と連通すると共に、第3の流路内の第2の流路側において流路が1以上の仕切り壁で分割されている微小流路構造体である。
前記仕切り壁の幅は特に制限はないが、前記第3の流路において導入される液体等の流体を2以上分割でき、一般的なフォトリソグラフィーとドライエッチングあるいはウェットエッチングで加工できる程度の幅が好ましい。さらには仕切り壁の幅は仕切り壁と仕切り壁の間隔よりも大きい方がより好ましい。これは、仕切り壁と仕切り壁の間から出てきた隣の液滴同士が合一することなく第2の流路に速やかに排出させるためである。また、前記仕切り壁の長さには特に制限は無いが、前記第3の流路の前記第1の流路の連通部から前記第2の流路の連通部まで連続していていることが第3の流路に蓄えた液体を確実に分割することができるのでより好ましい。また、仕切り壁の高さも特に制限はないが、流路C内の液体を確実に分割するためには、流路の深さと同じ高さであることが好ましい。
本発明の液滴生成方法は、前述した微小流路構造体を用いて、前記第1の流路に液体を導入し、前記第1の流路の流路壁において開口する前記第3の流路の開口部を介して前記第3の流路内に液体を送りこみ、前記液体を送りこんだ後、前記第1の流路に残留する前記液体を取り除き、前記第3の流路の容積に応じた体積の液体を蓄え、前記蓄えた液体を前記仕切り壁を通過させることにより分割して液滴を生成し前記第2の流路に前記液滴を送り出す液滴生成方法である。このようにすることで、流路Cの実質的体積をV[m]とし、仕切り壁で区切られた数をNとすると、V/N[m]の体積の液滴がN個同時に生成可能となる。当然仕切り壁の数が多いほど平均粒径の小さい液滴が大量に生成される。
また本発明の微小流路構造体は、前記第3の流路の仕切り壁により分割された1分割分の実質的容量が0.5[pL]未満になるように前記第3の流路を仕切り壁により、複数かつ均等に分割することにより、平均粒径が10μm未満であり、かつ粒径分散度が10%未満の非常に均一な微小液滴を生成することが可能となる。
例えば、第3の流路を幅100μm、深さ1μm、長さ50μmとし、仕切り壁は流路Cの流路B側の開口部近傍において、長さ1μ、仕切り壁の幅5μm、仕切り壁と仕切り壁の間隔5μmとして、流路Cの幅方向に10等分した仕切り壁を形成する。この場合、流路Cの体積は約5[pL]であり、この体積を10等分に分割した平均粒径9.8μm液滴を10個生成することができる。また、フォトリソグラフィーとドライエッチングあるいはウェットエッチングによる流路の製作精度は、一般に±5μm以内であるので、10%未満の粒径分散度である均一な粒径の液滴を生成することができる。
なお、ここで述べる流路とは、特に断りが無い限り微小流路を意味している。一般的に微小流路とは、流路の幅が1μm〜500μm、好ましくは5μm〜200μmであり、流路の深さは0.1μm〜200μm、好ましくは1μm〜50μmであり、流路の長さは、1μm〜50cm、好ましくは10μm〜5cmの流路を意味する。しかしながら、本発明における流路は、上記大きさの微小流路であってもよいが、特に上記範囲になければいけないということでもない。
また本発明の微小流路構造体は、前記第1の流路と前記第2の流路の流路壁の親媒性が、前記第3の流路の流路の流路壁との親媒性と異なる微小流路構造体である。
例えば、前記第1の流路と前記第2の流路の流路壁を疎水性とし、前記第3の流路の流路壁を親水性とすることにより、親水性の液滴を第3の流路に滞留させ、親水性の液滴を生成することがより容易になる。また逆に前記第1の流路と前記第2の流路の流路壁を親水性とし、前記第3の流路の流路壁を疎水性とすることにより、親水性の液滴を第3の流路に滞留させ、疎水性の液滴を生成することがより容易になる。
また本発明の液滴生成方法は、前記第3の流路の蓄えた液体を、前記仕切り壁を通過させることにより分割して液滴を生成し前記第2の流路に前記液滴を送り出す手段が、前記第1の流路に残留する前記液体を取り除くために前記第1の流路に送りこまれた流体の圧力による液滴生成方法である。このようにすることで、液滴の原料となる液体とそれを排除する流体を交互に送り込むことで、連続して液滴を生成することが可能となる。
ここで、液滴の原料となる液体を排除する流体が気体の場合は液滴と同時に気泡が流路Bに発生し、この気泡の影響で流路Bに排出された液滴が合一したり分割することで均一な粒径を維持することができなくなるため、液体であることがより好ましい。また、液滴の原料となる液体を排除する流体は、液体であれば特に制限はないが、排除用の液体自体が液滴とならないように前記第2の流路に送液している液体と同じ液体であることがより好ましい。
また本発明の微小流路構造体は、前記第3の流路の前記仕切り壁で区切られた部分の各々の容積が、実質的に等しいことを特徴とする微小流路構造体であり、このようにすることで、仕切り壁で分割した液滴の体積を正確に規定することが可能となり、平均粒径の分散度が10%未満の非常に均一な粒径の液滴を生成することが可能となる。ここで、各々の容積が実質的に等しいとは、各々の容積の差が±5%未満であることを意味する。
また本発明の微小流路構造体は、前述した第1の流路と第2の流路と第3の流路を1組とした流路が平面的あるいは立体的に複数存在する微小流路構造体であり、また、前記第1の流路と前記第2の流路がすべて連通しており、前記第1の流路に連通した前記第1の流体導入口及び前記第1の流体排出口と、前記第2の流路に連通した前記第2の流体導入口及び前記第2の流体排出口が各々1つずつ備えられていても良い。このようにすることで、大量の液滴を生成することが可能となる。以下では図を用いてさらに本発明を詳細に説明する。
図4には本発明の微小流路構造を説明するための概念図が示されており、図5〜図8は図4の所定の個所の断面図が示されている。また、図9〜図12には本発明の原理を説明する概念図が示されている。なお、この例では流路の内壁は親水性であり、親水性の液滴、例えば水の液滴を生成する場合を想定している。
図9〜図12に示すように、第1の流路として流路A(9)、第2の流路として流路B(10)、第3の流路として流路C(11)の3本の流路が、2本の流路A、流路Bの間に流路Cを橋渡しするような構造を有している。流路Cが流路Aと流路Bとを連結しており、流路Cの流路B側の開口部B(15)には、仕切り壁(16)が備えられている。なおこの場合、流路Cの流路A側の開口部A(14)の断面積は流路Aの開口部A近傍の断面積よりも小さいことが好ましい。
このようにすることで、流路Cの毛管引力が流路Aの毛管引力よりも大きいため、液体Aが流路Aから流路Cに入りこみやすくなり、逆に流路Cから流路Aに出にくくなる。また、一般的に平均粒径が10μm未満の液滴を生成する場合は、仕切り壁と仕切り壁の間隔により形成される断面積は、流路Bの断面積よりも小さいため、開口部Bでの端面における流路Cの毛管引力が流路Bの毛管引力よりも大きいため、流路C内に入り込んだ液体Aは、流路B内に入り込むことはない。
そして図10に示すように、流路A内に残留する液体Aを、例えば、流路Aに別の液体B(26)を適切な送液圧で送液し、液体Aを流路A内から取り除く。液体Bが適切な送液圧であれば、図11に示すように流路C内の液体Aは、流路C内に留まる。その結果、流路C内の液体Aの両端面たる端面A(25)と端面B(26)とが、流路Cの開口部A(14)ならびに開口部B(15)に位置するようになり、3本の流路A、流路B、流路Cのうちの流路C内のみに液体が瞬間的に残留する。その後、適切な送液圧で液体Bを流路Aに送液することにより、図12に示すように流路Cに蓄えた液体Aを仕切り壁(16)を通過させ実質的に等しい体積に分割することにより液滴(27)を生成し流路Bに液滴を送り出す。
また、本発明は流路A及び流路Bの親媒性と流路Cの親媒性とが互いに異なるように構成することがさらに好ましい。
流路Cの内壁のみを親水性にする場合は、微小流路基板をガラスなどの親水性の材料で微小流路基板を作製し、流路A及び流路Bにシランカップリング剤をトルエン等に溶解させた疎水化溶液を送液すれば良い。この場合、疎水化溶液に対しては、流路Aの断面積よりも流路Cの流路A側の開口部の断面積を小さくし、流路Bの断面積よりも流路Cの流路B側の開口部近傍に備えられた仕切り壁の断面積を除いた部分の断面積が小さいため、流路Cには負の毛細管現象が流路A、流路Bよりもより大きく働くので流路Cに疎水化溶液が入り込むことは無い。このようにすることで、流路A及び流路Bの内壁を疎水性にし、流路Cの内壁を親水性にすることが可能となる。
また、また流路Cの内壁のみを疎水性にする場合は、微小流路基板を耐溶剤性が比較的高いポリエーテルイミドやポリアセタール、ナイロン等の疎水性の樹脂で微小流路基板を作製し、流路A及び流路Bに無電解メッキ溶液を送液しPdやNiなどの金属で内壁を修飾すれば良い。この場合、無電解メッキ溶液に対しては、流路Aの断面積よりも流路Cの流路A側の開口部の断面積を小さくし、流路Bの断面積よりも流路Cの流路B側の開口部近傍に備えられた仕切り壁の断面積を除いた部分の断面積が小さいため、流路Cには負の毛細管現象が流路A、流路Bよりもより大きく働くので流路Cに無電解メッキ溶液が入り込むことは無い。このようにすることで、流路A及び流路Bの内壁を親水性にし、流路Cの内壁を疎水性にすることが可能となる。
なお、本発明では流路A、流路Bの親媒性と流路Cの親媒性を異ならせる方法は上記方法に限定されるものではない。
以上のように、微小流路構造体を構成している微小流路を有する微小流路基板は、例えばガラスや石英、セラミック、シリコン、あるいは金属や樹脂等の基板材料を、機械加工やレーザー加工、エッチングなどにより直接加工することによって製作できる。また、基板材料がセラミックや樹脂の場合は、流路形状を有する金属等の鋳型を用いて成形することで製作することもできる。なお一般的に、前記微小流路基板は、流体導入口、流体排出口、および各微小流路の排出口に対応する位置に直径数mm程度の小穴を設けたカバー体と積層一体化させた微小流路構造体として使用する。カバー体と微小流路基板の接合方法としては、基板材料がセラミックスや金属の場合は、ハンダ付けや接着剤を用いたり、基板材料がガラスや石英、樹脂の場合は、百度〜千数百度の高温下で荷重をかけて熱接合させたり、基板材料がシリコンの場合は洗浄により表面を活性化させて常温で接合させるなどそれぞれの基板材料に適した接合方法が用いられる。
本発明の微小流路構造体は、少なくとも一つの基板上に形成された第1の流路、第2の流路及び第3の流路を有する微小流路構造体であって、第1の流路は第1の流体導入口及び第1の流体排出口と連通しており、第2の流路は第2の流体導入口及び第2の流体排出口と連通しており、第3の流路は前記第1の流路と前記第2の流路と連通すると共に、第3の流路内の第2の流路側において流路が1以上の仕切り壁で分割されており、この構造体を利用した本発明の液滴生成方法は、第1の流路に液体を導入し、第1の流路の流路壁において開口する第3の流路の開口部を介して第3の流路内に液体を送りこみ、液体を送りこんだ後、第1の流路に残留する液体を取り除き、第3の流路の容積に応じた体積の液体を蓄え、蓄えた液体を仕切り壁を通過させることにより分割して液滴を生成し第2の流路に液滴を送り出す方法である。このような微小流路構造体とそれを用いた液滴生成方法により、平均粒径10μm未満の粒径分散度が10%未満の均一な液滴を大量に生成することが可能となる。
また本発明の微小流路構造体は、第3の流路の仕切り壁により分割された1分割分の実質的容量が0.5[pL]未満である微小流路構造体であり、第3の流路に備えられた仕切り壁で第3の流路の体積に蓄えられた液体を0.5[pL]未満の体積に複数かつ均等に分割することで平均粒径が10μm未満であり、かつ粒径分散度が10%未満の非常に均一な微小液滴を大量に生成することが可能となる。
また本発明の液滴生成方法は、第1の流路に導入された液体を、第1の流路の流路壁において開口する第3の流路の開口部を介して第3の流路内に適切な送液圧により送り込み、一時的に第3の流路に液体を蓄え、第1の流路に別の液体を適切な送液圧により送液し、その送液圧により第3の流路の蓄えた液体を前記仕切り壁を通過させることにより分割して液滴を生成し第2の流路に液滴を送り出す液滴生成方法である。このようにすることで、液滴の原料となる液体とそれを排除する流体を交互に送り込み、連続して液滴を生成することが可能となる。
また、第1の流路及び第2の流路の流路壁を親水性とし、第3の流路の流路壁を疎水性とすることにより、疎水性の液滴を第3の流路に滞留させ、疎水性の液滴を生成することがより容易になる。また逆に第1の流路及び第2の流路の流路壁を疎水性とし、前記第3の流路の流路壁を親水性とすることにより、親水性の液滴を第3の流路に滞留させ、親水性の液滴を生成することがより容易になる。
また本発明の微小流路構造体は、第3の流路内の仕切り壁で区切られた部分の容積の各々が、実質的に等しい。このようにすることで、仕切り壁で分割した液滴の体積を正確に規定することが可能となり、平均粒径の分散度が10%未満の非常に均一な粒径の液滴を生成することが可能となる。
また本発明の微小流路構造体は、前述した第1の流路と第2の流路と第3の流路を1組とした流路が平面的あるいは立体的に複数存在する微小流路構造体であり、また、第1の流路と第2の流路がすべて連通しており、第1の流路に連通した第1の流体導入口及び第1の流体排出口と、第2の流路に連通した第2の流体導入口及び第2の流体排出口が各々1つずつ備えられていても良い。このようにすることで、大量の液滴を生成することが可能となる。
以下に本発明の実施の形態の一例について説明する。なお本発明は、以下の実施の形態のみに限定されるものではなく、発明の要旨を逸脱しない範囲で、任意に変更が可能であることは言うまでもない。
(実施例)
本発明の実施例における液滴生成用微小流路基板の概略図を図13に示す。微小流路は70mm×20mm×1t(厚さ)のパイレックス(登録商標)ガラス上に、流路A(9)、流路B(10)、及び流路C(11)を形成した。流路Aと流路Bは一般的なフォトリソグラフィーとウエットエッチングにより形成した。流路Aの流路幅は500μm、流路深さは50μm、流路長は3cmである。また、流路Bの流路幅は300μm、流路深さは50μm、流路長は3cmである。流路Cは、流路Aと連通する開口部の幅が100μm、流路Bと連通する開口部の幅が500μm、長さは50μm、深さを1μmとした。また、図14は、図13のF部の一部分を拡大した図である。図14に示すように流路Bと連通する開口部近傍に幅5.2μm、長さ10μmの仕切り壁(16)を4.8μm間隔で開口部方向に等間隔に49個備えた。以上の流路形状から、この実施例の場合の流路Cの実質的容量は約15pLである。
次に図13に示すように流路A用の流体導入口A(28)と流体排出口A(29)、流路B用の流体導入口B(30)と流体排出口B(31)を所定の位置に直径1mmの貫通孔を形成した70mm×20mm×1t(厚さ)のパイレックス(登録商標)ガラスのカバー体(32)を微小流路基板(33)に一般的な熱接合により接合し、図15に示すような微小流路構造体(34)を製作した。
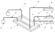
次に図16に示すように微小流路構造体(34)の流路A用の流体導入口A(28)と流体排出口A(29)、流路B用の流体導入口B(30)と流体排出口B(31)に流体を導入、排出できるように、テフロン(登録商標)製のチューブ(36)を接続した。テフロン(登録商標)製のチューブは外径0.9mm、内径200μm、長さ20cmである。流路A用の流体導入口側のテフロン(登録商標)チューブには、セレクター(37)を設けて、分散相(38)の入ったシリンジポンプA(40)と連続相(39)の入ったシリンジポンプB(41)を接続し、分散相と連続相を交互に切り替えて流せるようにした。流路B用の流体導入口側のテフロン(登録商標)チューブには、連続相(39)の入ったシリンジポンプC(42)を接続した。
なお、実際の液滴生成の前に、流路Aと流路Bを以下の手順で疎水処理した。まず、飽和KOHエタノール溶液を0.4mL/時間の送液速度で20分間流し、エタノールで同じ送液速度で15分間洗浄した後、トルエンを同じ送液速度で15分間流した。次にトルエンに体積比10%のオクタデシルトリクロロシランを混ぜた疎水化溶液を送液速度0.4mL/時間で3時間流した。最後にヘキサンを用いて、送液速度0.4mL/時間で15分間流し洗浄した。
実際の液滴を生成する際には、連続相に体積比3%のポリビニルアルコール水溶液を用い,分散相にモノマー(スチレン)、ジビニルベンゼン、酢酸ブチル及び過酸化ベンゾイルの混合溶液を用いた。
図17に示すよう流路B(10)には5μL/分の送液速度で連続相(39)を流しつづけた。流路A(9)にはにまず分散相(38)を5μL/分の送液速度で導入した。分散相は流路Aの流路壁(22)において開口する流路C(11)の開口部A(14)を介して開口部Aから流路C内に導入され、流路Aの断面積よりも流路Cの断面積が小さいことによる流路Cの毛管引力により、流路Cに導入された分散相は、流路Aに逆流することは無かった。また、流路Cの反対側の流路端、即ち、流路Bの流路壁(23)において開口している流路Cの開口部B(15)まで到達した分散相は、流路C内の仕切り壁による毛細管引力によってせき止められ、流路B内に入り込むことはなく流路C内のみに分散相が残留した。
そして図18〜図20に示すように、流路Aから連続相(39)を2MPaの送液圧で流すことで流路A内に残留する分散相(38)を取り除くと同時に、流路Cに蓄えた分散相(38)を49個の仕切り壁を通過させ50個に分割することにより液滴(27)を生成し流路B(10)に生成した液滴を送り出し、この操作を10回繰り返した。
生成された液滴をサンプル瓶(35)で回収し、顕微鏡で100個の液滴を観察したところ、平均粒径が8.9μm、粒径分散度が7.5%の微小液滴を生成することができた。
液滴を生成するためのT字型の流路の概念図(平面図)である。 T字型の流路のA−A’断面拡大図である。 微小空間の容積に応じた体積の液滴を生成する流路の概念図(平面図)である。 本発明の微小流路構造を説明するための概念図(平面図)である。 図4におけるB−B’断面拡大図である。 図4におけるC−C’断面拡大図である。 図4におけるD−D’断面拡大図である。 図4におけるE−E’断面拡大図である。 本発明の原理を説明する第1の概念図(平面図)である。 本発明の原理を説明する第2の概念図(平面図)である。 本発明の原理を説明する第3の概念図(平面図)である。 本発明の原理を説明する第4の概念図(平面図)である。 本発明の実施例における液滴生成用微小流路基板の概略図(斜視図)である。 図13のF部の一部分を拡大した斜視図である。 本発明の実施例における微小流路構造体の概略図(斜視図)である。 本発明の実施例における実験形態の概念図(斜視図)である。 本発明の実施例を説明する第1の概念図(平面図)である。 本発明の実施例を説明する第2の概念図(平面図)である。 本発明の実施例を説明する第3の概念図(平面図)である。 本発明の実施例を説明する第4の概念図(平面図)である。
符号の説明
1:基板
2:連続相導入口
3:連続相導入流路
4:分散相導入口
5:分散相導入流路
6:交差部
7:排出流路
8:排出口
9:流路A
10:流路B
11:流路C
12:開口部近傍A
13:開口部近傍B
14:開口部A
15:開口部B
16:仕切り壁
17:断面積S1
18:断面積S2
19:断面積S3
20:断面積S4
21:液体A
22:流路Aの流路壁
23:流路Bの流路壁
24:液体B
25:端面A
26:端面B
27:液滴
28:流体導入口A
29:流体排出口A
30:流体導入口B
31:流体排出口B
32:カバー体
33:微小流路基板
34:微小流路構造体
35:サンプル瓶
36:チューブ
37:セレクタ
38:分散相
39:連続相
40:シリンジポンプA
41:シリンジポンプB
42:シリンジポンプC

Claims (9)

  1. 少なくとも一つの基板上に形成された第1の流路、第2の流路及び第3の流路を有する微小流路構造体であって、第1の流路は第1の流体導入口及び第1の流体排出口と連通しており、第2の流路は第2の流体導入口及び第2の流体排出口と連通しており、第3の流路は前記第1の流路と前記第2の流路と連通すると共に、第3の流路内の第2の流路側において流路が1以上の仕切り壁で分割されていることを特徴とする微小流路構造体。
  2. 前記第3の流路の前記仕切り壁で区切られた部分の容積の各々が、実質的に等しいことを特徴とする請求項1に記載の微小流路構造体。
  3. 前記第3の流路の仕切り壁により分割された1分割分の液滴の実質的容量が0.5×10−12リットル[pL]未満であることを特徴とする請求項1又は請求項2記載の微小流路構造体。
  4. 前記第1の流路と前記第2の流路の流路壁の親媒性が、前記第3の流路の流路壁の親媒性と異なることを特徴とする請求項1〜3いずれかに記載の微小流路構造体。
  5. 請求項1〜4記載のいずれかに記載の流路が平面的あるいは立体的に複数存在することを特徴とする微小流路構造体。
  6. 請求項1〜4記載のいずれかに記載の流路が平面的あるいは立体的に複数存在し、前記第1の流路と前記第2の流路がすべて連通しており、前記第1の流路に連通した前記第1の流体導入口及び前記第1の流体排出口と、前記第2の流路に連通した前記第2の流体導入口及び前記第2の流体排出口が各々1つずつ備えられたことを特徴とする微小流路構造体。
  7. 前記第1の流路に導入された液体が、前記第1の流路の流路壁において開口する前記第3の流路の開口部を介して前記第3の流路内に送りこむ手段を有し、前記液体を送りこんだ後、前記第1の流路に残留する前記液体を取り除き、前記第3の流路の容積に応じた体積の液体を蓄え、前記蓄えた液体を前記仕切り壁を通過させることにより分割して液滴を生成し前記第2の流路に前記液滴を送り出す手段を有することを特徴とする請求項1〜6いずれかに記載の微小流路構造体を用いた液滴生成方法。
  8. 前記第1の流路に導入された液体が、前記第1の流路の流路壁において開口する前記第3の流路の開口部を介して前記第3の流路内に送りこむ手段が、流体の圧力によることを特徴とする請求項7記載の液滴生成方法。
  9. 前記第3の流路の蓄えた液体を前記仕切り壁を通過させることにより分割して液滴を生成し前記第2の流路に前記液滴を送り出す手段が、前記第1の流路に残留する前記液体を取り除くために前記第1の流路に送りこまれた流体の圧力によることを特徴とする請求項7又は請求項8記載の液滴生成方法。

JP2004118970A 2004-04-14 2004-04-14 微小流路構造体及びそれを用いた液滴生成方法 Expired - Fee Related JP4547967B2 (ja)

Priority Applications (1)

Application Number Priority Date Filing Date Title
JP2004118970A JP4547967B2 (ja) 2004-04-14 2004-04-14 微小流路構造体及びそれを用いた液滴生成方法

Applications Claiming Priority (1)

Application Number Priority Date Filing Date Title
JP2004118970A JP4547967B2 (ja) 2004-04-14 2004-04-14 微小流路構造体及びそれを用いた液滴生成方法

Publications (2)

Publication Number Publication Date
JP2005297150A true JP2005297150A (ja) 2005-10-27
JP4547967B2 JP4547967B2 (ja) 2010-09-22

Family

ID=35329313

Family Applications (1)

Application Number Title Priority Date Filing Date
JP2004118970A Expired - Fee Related JP4547967B2 (ja) 2004-04-14 2004-04-14 微小流路構造体及びそれを用いた液滴生成方法

Country Status (1)

Country Link
JP (1) JP4547967B2 (ja)

Cited By (3)

* Cited by examiner, † Cited by third party
Publication number Priority date Publication date Assignee Title
WO2009088021A1 (ja) * 2008-01-08 2009-07-16 Nippon Telegraph And Telephone Corporation キャピラリーポンプユニット及びフローセル
CN114558627A (zh) * 2020-11-27 2022-05-31 京东方科技集团股份有限公司 一种微流控芯片
CN115254222A (zh) * 2022-07-19 2022-11-01 天津大学 基于非对称并行微通道制备单分散非牛顿流体液滴的方法

Citations (4)

* Cited by examiner, † Cited by third party
Publication number Priority date Publication date Assignee Title
JPH0433931U (ja) * 1990-07-13 1992-03-19
JPH05179004A (ja) * 1991-12-26 1993-07-20 Kobe Steel Ltd 均一な液滴群の製造方法
JP2002357616A (ja) * 2001-05-31 2002-12-13 Inst Of Physical & Chemical Res 微量液体制御機構
JP2004163104A (ja) * 2001-10-18 2004-06-10 Aida Eng Ltd 微量液体秤取構造及び該構造を有するマイクロチップ

Patent Citations (4)

* Cited by examiner, † Cited by third party
Publication number Priority date Publication date Assignee Title
JPH0433931U (ja) * 1990-07-13 1992-03-19
JPH05179004A (ja) * 1991-12-26 1993-07-20 Kobe Steel Ltd 均一な液滴群の製造方法
JP2002357616A (ja) * 2001-05-31 2002-12-13 Inst Of Physical & Chemical Res 微量液体制御機構
JP2004163104A (ja) * 2001-10-18 2004-06-10 Aida Eng Ltd 微量液体秤取構造及び該構造を有するマイクロチップ

Cited By (7)

* Cited by examiner, † Cited by third party
Publication number Priority date Publication date Assignee Title
WO2009088021A1 (ja) * 2008-01-08 2009-07-16 Nippon Telegraph And Telephone Corporation キャピラリーポンプユニット及びフローセル
JPWO2009088021A1 (ja) * 2008-01-08 2011-05-26 日本電信電話株式会社 キャピラリーポンプユニット及びフローセル
US8398936B2 (en) 2008-01-08 2013-03-19 Nippon Telegraph And Telephone Corporation Capillary pump unit and flow cell
CN114558627A (zh) * 2020-11-27 2022-05-31 京东方科技集团股份有限公司 一种微流控芯片
CN114558627B (zh) * 2020-11-27 2024-03-19 京东方科技集团股份有限公司 一种微流控芯片
CN115254222A (zh) * 2022-07-19 2022-11-01 天津大学 基于非对称并行微通道制备单分散非牛顿流体液滴的方法
CN115254222B (zh) * 2022-07-19 2023-11-07 天津大学 基于非对称并行微通道制备单分散非牛顿流体液滴的方法

Also Published As

Publication number Publication date
JP4547967B2 (ja) 2010-09-22

Similar Documents

Publication Publication Date Title
CN101224402B (zh) 微小流路结构及采用它的微小颗粒制造方法
EP1510251B1 (en) Process and apparatus for producing microcapsules
JP4193561B2 (ja) 微小流路構造体、これを用いた微小粒子製造方法及び微小流路構造体による溶媒抽出方法
US8563325B1 (en) Coaxial microreactor for particle synthesis
JP4042683B2 (ja) 微小流路構造体及びこれを用いた微小粒子製造方法
EP1741482B1 (en) Process and apparatus for producing microcapsules
CN106140340A (zh) 基于流动聚焦型微通道合成微乳液滴的微流控芯片
CN102059162A (zh) 微流体器件
JP5470642B2 (ja) 微小液滴調製装置
CN104084247A (zh) 基于t形微通道的弹性壁面微流控芯片
CN104525286A (zh) 基于t型通道实现液滴同步融合的微流控芯片
WO2019168130A1 (ja) マイクロ液滴・気泡生成デバイス
JP5076742B2 (ja) 微小流路構造体およびそれを用いた微小粒子製造方法
JP4186637B2 (ja) 粒子製造方法及びそのための微小流路構造体
JP4639624B2 (ja) 微小流路構造体
JP4547967B2 (ja) 微小流路構造体及びそれを用いた液滴生成方法
JP2009166039A (ja) 微粒子製造装置
JP7390078B2 (ja) マイクロ液滴・気泡生成デバイス
JP4470640B2 (ja) 微粒子製造方法及びそのための微小流路構造体
JP4306243B2 (ja) 粒子製造方法
JP5625900B2 (ja) 微小流路構造体およびそれを用いた微小粒子の製造方法
JP4752173B2 (ja) 微小流路構造体
JP2007044692A (ja) ダブルエマルション・マイクロカプセル生成装置
JP2006055770A (ja) 微小流路構造体
JP4352890B2 (ja) 微粒子製造装置及びこれを利用した微粒子の製造方法

Legal Events

Date Code Title Description
A621 Written request for application examination

Free format text: JAPANESE INTERMEDIATE CODE: A621

Effective date: 20070316

A977 Report on retrieval

Free format text: JAPANESE INTERMEDIATE CODE: A971007

Effective date: 20091210

A131 Notification of reasons for refusal

Free format text: JAPANESE INTERMEDIATE CODE: A131

Effective date: 20091222

A521 Written amendment

Free format text: JAPANESE INTERMEDIATE CODE: A523

Effective date: 20100219

TRDD Decision of grant or rejection written
A01 Written decision to grant a patent or to grant a registration (utility model)

Free format text: JAPANESE INTERMEDIATE CODE: A01

Effective date: 20100615

A01 Written decision to grant a patent or to grant a registration (utility model)

Free format text: JAPANESE INTERMEDIATE CODE: A01

A61 First payment of annual fees (during grant procedure)

Free format text: JAPANESE INTERMEDIATE CODE: A61

Effective date: 20100628

FPAY Renewal fee payment (prs date is renewal date of database)

Free format text: PAYMENT UNTIL: 20130716

Year of fee payment: 3

LAPS Cancellation because of no payment of annual fees