JP2005297057A - 鋳物の砂落し装置 - Google Patents

鋳物の砂落し装置 Download PDF

Info

Publication number
JP2005297057A
JP2005297057A JP2004142911A JP2004142911A JP2005297057A JP 2005297057 A JP2005297057 A JP 2005297057A JP 2004142911 A JP2004142911 A JP 2004142911A JP 2004142911 A JP2004142911 A JP 2004142911A JP 2005297057 A JP2005297057 A JP 2005297057A
Authority
JP
Japan
Prior art keywords
leaf spring
casting
electromagnet
transmission member
striking piece
Prior art date
Legal status (The legal status is an assumption and is not a legal conclusion. Google has not performed a legal analysis and makes no representation as to the accuracy of the status listed.)
Granted
Application number
JP2004142911A
Other languages
English (en)
Other versions
JP4314616B2 (ja
Inventor
Yoshitaka Aoyama
好高 青山
Shoji Aoyama
省司 青山
Current Assignee (The listed assignees may be inaccurate. Google has not performed a legal analysis and makes no representation or warranty as to the accuracy of the list.)
Individual
Original Assignee
Individual
Priority date (The priority date is an assumption and is not a legal conclusion. Google has not performed a legal analysis and makes no representation as to the accuracy of the date listed.)
Filing date
Publication date
Application filed by Individual filed Critical Individual
Priority to JP2004142911A priority Critical patent/JP4314616B2/ja
Publication of JP2005297057A publication Critical patent/JP2005297057A/ja
Application granted granted Critical
Publication of JP4314616B2 publication Critical patent/JP4314616B2/ja
Anticipated expiration legal-status Critical
Expired - Fee Related legal-status Critical Current

Links

Images

Landscapes

  • Reciprocating, Oscillating Or Vibrating Motors (AREA)
  • Apparatuses For Generation Of Mechanical Vibrations (AREA)

Abstract

【課題】 鋳物の砂落し装置の耐久性を高め、適正な叩き振動の運動エネルギーを鋳物に対して付与する。
【解決手段】 板ばね12の固定部14と離隔箇所15との間に、板ばね12にねじり方向の撓み変形ができる部分を構成し、この離隔箇所15に伝動部材20が結合されている。そして、電磁石6によって板ばね12に吸引と非吸引を付与することにより、伝動部材20に大きくて速度の速い揺動運動を起こさせて、打撃片25による強力な打撃を鋳物3に与える。こうすることにより、鋳物3の砂が容易に崩壊する。
【選択図】 図1

Description

本発明は、鋳物の砂を確実に崩壊させて鋳物から排除することができる鋳物の砂落し装置に関するものである。
アルミニウム等の軽金属や鋳鉄の鋳物の表面に付着している鋳砂、あるいは中子を形成している鋳砂を除去することが行われている。特に、中子を崩壊させて外部に排出するためには、鋳物の外表面を叩くことが行われている。
特許第3128735号公報
例えば、内燃機関のシリンダヘッドは燃料噴射装置を装備したり、燃焼室の形状を種々選定して燃焼性を向上させるために、鋳物自体の内部形状が複雑になってきている。このような場合、中子の形状も複雑であるとともに崩壊させにくくなっている。そこで、鋳物に対する叩き振動の運動エネルギーを大きくするために、大型のハンマーが用いられるのであるが、叩き振動のエネルギーが過大になり、鋳物が破損する恐れがある。また、ハンマー自体の耐久性も低下してしまうという問題がある。さらに、電動モータを起振源にする方法も試みられているが、やはり耐久性に難がある。
本発明は、上記の問題を解決するために提供されたもので、砂落し装置の耐久性を高め、適正な叩き振動の運動エネルギーを鋳物に対して付与することが目的とされている。
請求項1記載の本発明による鋳物の砂落し装置は、板ばねが、装置本体の静止部材に固定部において固定され、前記固定部とこの固定部から所定長さ離隔した板ばねの離隔箇所までの間の板ばねが弾性変形部とされ、長尺な形状の伝動部材が取り付け部を介して前記離隔箇所に取り付けられ、前記伝動部材の先端部に鋳物を打撃する打撃片が設けられ、前記板ばねの弾性変形部に撓み振動を付与する電磁石が設けられ、前記電磁石が板ばねを吸引および非吸引の動作をすることにより、伝動部材が揺動運動をして板ばねの弾性変形部が固定部に対してねじれ変形を行い、前記伝動部材の揺動運動により打撃片が鋳物を打撃するように構成したことを特徴とする。
前記電磁石に通電すると、板ばねが吸引されて弾性変形部が撓み、打撃片が鋳物を勢い良く叩く。つぎに、この叩き現象の直前または同時に電磁石への通電を停止する。上記のように、板ばねが吸引されて撓むときには、伝動部材もともに移動して先端部に固定した打撃片が鋳物を叩く。電磁石への通電を停止すると、板ばねの撓み反力と打撃片が鋳物から弾性的に跳ね返されることにより、伝動部材は揺動運動をする。したがって、電磁石への通電と通電停止を反復することにより、伝動部材は揺動運動を連続的に行い打撃片の叩き動作が連続的に得られる。このように、伝動部材が揺動運動をすることにより、板ばねは弾性変形部が固定部に対してねじり方向の撓み変形となる。すなわち、一方向にねじられて打撃片が鋳物を叩き、今度は、このねじり運動のばね反力や打撃片が鋳物から弾性的に跳ね返されることにより、伝動部材は反対方向に大きく揺動する。この揺動位置が最大になるのと同時またはその直前で再び電磁石に通電されると、打撃片は鋳物から最も離れた箇所から勢い良く鋳物に衝突する。このような電磁石による板ばねの吸引と吸引解除を繰り返すことにより、打撃片に十分な運動エネルギーを付与することができて、固形状になっている鋳物砂、特に、中子の崩壊が進行する。上記の伝動部材の揺動動作においては、打撃片の質量によって慣性力が生じて鋳物に対して強い叩き現象がえられる。
電磁石への通電を停止したり通電を再開するタイミングを上述のように選定することにより、板ばねの固有振動数に合致した電磁石の吸引サイクルが選定できるので、板ばねの振幅を大きくすることができ、しかも、電磁石の吸引出力を少量化して電気エネルギーの消費を節減することができる。さらに、電磁石を用いるものであるから、電磁石の吸引出力を自由に制御することができ、打撃片の鋳物に対する打撃力を適正化して、鋳物が破損するようなことを回避できる。さらに、板ばね,打撃片,電磁石等によって装置が構成されているので、回転部分や摺動部分あるいは潤滑油を供給する部分がなく、砂埃の多い鋳造工場において装置の維持管理面で好適である。そして、基本的には電磁石と板ばねと打撃片との組み合わせであるから、構造が簡素化されて高い耐久性が確保できる。また、上記のような基本的な組み合わせであるから、装置の設置スペ−スが少なくなり、コンパクトな装置で狭い場所で動作させることが可能となる。
請求項2に記載の発明は、前記板ばねは細長い形状とされ、板ばねの長手方向に対してほぼ直交する向きに伝動部材が配置されている請求項1記載の鋳物の砂落し装置である。上記離隔箇所がねじられると、そのねじり方向の変位が伝動部材の揺動方向と一致し、電磁石で板ばねを吸引と非吸引とすることにより、それにともなって伝動部材が叩き方向に正確に揺動し、確実な叩き動作が得られる。換言すると、板ばねが一種のねじり軸のような役割を果たして、伝動部材に所定方向の揺動運動を正確に行わせることができる。
請求項3に記載の発明は、前記板ばねの両端部が前記固定部とされ、両固定部間の板ばねが弾性変形部とされている請求項1または請求項2に記載の鋳物の砂落し装置である。したがって、板ばねが両端部で固定されているので、離隔箇所に取り付けられた伝動部材の打撃片は板ばねの安定したねじり変形により、鋳物の所定箇所を規則正しく正確に打撃することができる。すなわち、鋳物を叩く箇所は鋳物の形状に応じて適正な箇所を叩かねばならず、叩く箇所が不適性であると、鋳物が破損したり中子が十分に崩壊できなくて砂の排出が完全に達成されないことになる。また、板ばねは両端固定であるから、高い耐久性がえられる。
請求項4に記載の発明は、制御ウエイトが、前記取り付け部を間にして打撃片とは反対側の伝動部材上に取り付けられている請求項1〜請求項3のいずれか1つに記載の鋳物の砂落し装置である。このような構成により、制御ウエイトの質量が板ばねの撓みに加算されるので、板ばねのねじれ振幅を大きくすることができ、また、制御ウエイトの質量を調節することにより、打撃片の打撃力を最適値に設定することができる。さらに、取り付け部と制御ウエイトとの距離を調節して、伝動部材の打撃片側に作用する慣性力を調節して、最適の鋳物叩きが実施できる。
請求項5記載の発明は、前記取り付け部と板ばねの離隔箇所と電磁石とが、電磁石の吸引方向で見てほぼ一直線上に配列されている請求項1〜請求項4のいずれか1つに記載の鋳物の砂落し装置である。このような構成により、電磁石による板ばねの撓み変位が前記取り付け部を介して忠実に伝動部材に伝えられ、伝動部材を経由した打撃片の叩き動作が確実にえられる。
請求項6記載の発明は、前記板ばね,電磁石,打撃片等と、鋳物との相対位置が不変のまま鋳物が傾斜できるように構成されている請求項1〜請求項5のいずれか1つに記載の鋳物の砂落し装置である。このような構成により、鋳物内で崩壊した中子砂は鋳物を傾斜させることによりほぼ完全に排出することができる。また、傾斜させながら打撃片で叩き動作を継続することができるので、中子の崩壊と排出が同時に行えて、装置の動作効率が向上する。
つぎに、本発明の鋳物の砂落し装置の最良の実施形態を説明する。
図1から図5は、本発明の鋳物の砂落し装置の第1の実施例を示す。
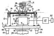
図1は、鋳物の砂落し装置の全体を示す側面図である。板厚の大きな四角い鋼製の板材で作られた支持部材1上に固定具2によって鋳物3が固定されている。この鋳物3は内燃機関のシリンダヘッドであり、内部にウオータジャケット等の中空部を形成するための中子4が配置されている。また、鋳物3には機能上の開口5がウオータジャケットの上側や横側に設けられている。
支持部材1には電磁石6が配置されている。この電磁石6は、支持部材1に固定されている支持板7に取り付けら、鉄芯8とその周囲に巻き付けられた励磁コイル9から構成されている。
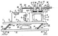
図2に示すように、支持部材1の左右に支持壁部材10,11が取り付けられている。この支持壁部材10,11は肉厚の大きな鋼製の板材で作られ、その下部が支持部材1に溶接されている。そして、攴持壁部材10,11の間に前記電磁石6が配置されている。支持壁部材10,11の上部を架橋した状態で2本の板ばね12が配置されている。各板ばね12は、それらの両端部が支持壁部材10,11の上端部に固定ボルト13で固定されている。この固定されている箇所が固定部14である。
前記固定部14から所定距離離隔した板ばね12上の箇所が離隔箇所15とされ、図2に示すように、板ばね12の両端が支持壁部材10,11に固定されている場合には、離隔箇所15は板ばね12の左右長さ方向の中央部に配置されている。なお、板ばね12は、薄いばね鋼板を複数枚積層したもので、図1および図2あるいは図5(A)に示すように、幅の狭い短冊状の形状とされている。
板ばね12の下側で鉄芯8に対応する被吸引片16と、板ばね12の上側に配置されている基板17とにより、板ばね12の離隔箇所15付近をを挟み付け、結合ボルト18で基板17,板ばね12,被吸引片16が一体化されている。被吸引片16と鉄芯8との間には吸引に必要な隙間が設定されている。
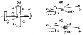
前記基板17には、基板17と一体化されている取り付け部19が設けられている。この取り付け部19は、長尺な形状の伝動部材20を板ばね12と一体化する。伝動部材20は、断面円形の真っ直ぐな棒材で構成されており、取り付け部19の結合ブロック21に伝動部材20が貫通する支持孔22があけられ、この支持孔22に達するスリット23を固定ボルト24で締め付けて、結合ブロック21と伝動部材20との一体化が行われるようになっている。したがって、固定ボルト24をゆるめて伝動部材20を移動させて、後述の打撃片25の位置を自由に変更することができ、最適の打撃箇所を求めることができる。前記取り付け部19と板ばね12の離隔箇所15と電磁石6とが、電磁石6の吸引方向で見てほぼ一直線上に配置されている。
長尺な伝動部材20は、板ばね12と直角に食い違って交差している。すなわち、平面的に見ると図5(A)に示すように、固定部14間に架設された板ばね12に対して伝動部材20が直交している。
伝動部材20は、鋳物3の方へ伸ばされていて、その先端部に鋳物3を叩く打撃片25が取り付けられている。また、前記取り付け部19を間にして打撃片25とは反対側の伝動部材20上に制御ウエイトWが取り付けられている。この制御ウエイトWは、図3に示すように、その中央部を伝動部材20が貫通し、制御ウエイトWにねじ込んだ固定ボルト26で伝動部材20に一体化されている。したがって、固定ボルト26をゆるめて制御ウエイトWの位置を自由に変更することができる。このような位置変更により、伝動部材20に作用する制御ウエイトWの慣性力を調整して、鋳物3にとって最適な打撃片25の衝撃力を求めることができる。
図4は、伝動部材20の先端部に配置された打撃片25の具体的な構造を示す正面図である。伝動部材20の端部に支持板27が溶接され、この支持板27に支持ブロック28が溶接されている。そして、2本の打撃片25が支持ブロック28に溶接されている。
以上の説明において、板ばね12が2本平行に並べられている例を示したが、これを1本にしたり3本にしたりすることができる。また、板ばね12は両端部が固定部14とされているが、これを片持ち式にすることもできる。片持ち式の場合には、板ばねの自由端が前記離隔箇所15となる。
図1に示すように、打撃片25の先端部と鋳物3の表面との間の隙間は、被吸引片16と鉄芯8との間の隙間とほぼ同じか、あるいは後者の隙間の方が大きく設定されている。
図2に示すように、本装置の動作を制御するための制御装置29が設けられ、30は操作入力装置である。制御装置29は、前記電磁石6の励磁コイル9に対する電流,電圧,通電タイミング,通電時間,通電サイクル等を制御する。また、鋳物工場の作業者が操作入力装置30を操作して、上記の電流,電圧,通電タイミング,通電時間,通電サイクル等を所要の値に設定する。これらの制御装置29や操作入力装置30は、一般的に使用されているものでよい。この実施例では、上記サイクル(打撃回数)は、3000〜7000回/分である。
図1に示すように、支持部材1の下側に基礎部材31が配置されている。この基礎部材31は厚さの大きな四角い板状部材で構成され、支持部材1と基礎部材31との間に振動手段32が設けられている。この振動手段32は、支持部材1に周波数の大きな振動を付与して中子4の崩壊を促進するものであり、さらに、崩壊して鋳物3から支持部材1上に分散した砂を所定の方向に移動させるものである。
斜め方向に傾斜させて配置した支持板ばね33は、図1や図2から明らかなように、合計4本設置されている。各支持板ばね33の下端は結合ブラケット34を介して基礎部材31に結合され、上端は結合ブラケット34を介して支持部材1の下面に結合されている。この結合ブラケット34は、詳細な構造は図示していないが、ブロック状の鉄片を基礎部材31や支持部材1に溶接し、ボルトを用いて支持板ばね33をこの鉄片に結合したものである。
支持部材1を下方に引き下げるために、電磁石35が基礎部材31上に設置してあり、その鉄芯36と支持部材1に固定された被吸引片37との間に所定の隙間が設定してある。この電磁石35による吸引と非吸引とが反復されると、支持部材1は振動し、支持板ばね33が傾斜していることにより、支持部材1上の砂が一方向に移動する。
基礎部材31の四隅近くには、傾斜付与手段38が配置されている。この手段38は、支持部材1を所定の方向に傾斜させて鋳物3の中子4を崩壊しやすくしたり支持部材1上の砂を傾斜の低い方へ移動させたり、あるいは開口5から崩壊した鋳物砂を鋳物3から排出するために配置されている。具体的な機構としては種々なものが採用できるが、この例では油圧シリンダを基礎部材31の四隅に配置し、各油圧シリンダの出力ストロ−クを加減して基礎部材31の傾斜方向や傾斜角度を設定するようになっている。このような傾斜制御を上記制御装置29の出力信号で行うようにすることができる。
上記第1の実施例の動作を説明する。
電磁石6によって被吸引片16が引き下げられると、打撃片25が鋳物3の表面に衝突するので、その衝撃反力で伝動部材20が取り付け部19付近を中心にして時計方向に揺動する。この揺動によって板ばね12の離隔箇所15付近も時計方向にねじれ撓みが行われ、打撃片25は鋳物3から離れた状態になる。このねじれ撓みの反力で、今度は、図5(B)に示すように、板ばね12の離隔箇所15付近が反時計方向に変位するので、これによって揺動した伝動部材20の打撃片25が鋳物3を強力に叩くことになる。その後、同図(B)に示した打撃時の反力により同図(C)に示すような位置に伝動部材20が揺動する。このような一連の伝動部材20の揺動が、電磁石6の吸引時には鋳物3を打撃し非吸引時には鋳物3から打撃片25が離れるという動作が、電磁石6の吸引と非吸引に同期して行われる。このような反復動作で、連続的な叩き振動が得られる。
前記叩き振動の周波数は、電磁石35の吸引と非吸引の反復周波数よりも低く設定してある。こうすることによって、支持部材1の微振動に対して電磁石35の周波数よりも低い周波数の打撃片25による打撃が相乗的に行われて、中子4の崩壊性が向上する。打撃片25の打撃周波数を低く設定することにより、伝動部材20の揺動角度を大きくすることができ、質量のある打撃片25を高速で鋳物に衝突させることができて、打撃片25の運号エネルギーを一層大きくすることができる。そして、制御ウエイトWの慣性力が伝動部材20の揺動に加算されるので、打撃片25の振幅が大きくなり叩き運動エネルギーが一層強化される。すなわち、支持部材1に付与される微振動と、打撃片25による打撃とが相乗して、鋳物3内の中子4の崩壊性が一層良好なものとなる。
前記電磁石6に通電すると、板ばね12が吸引されて固定部14と離隔箇所15間の弾性変形部が撓み、打撃片25が鋳物3を勢い良く叩く。つぎに、この叩き現象の直前または同時に電磁石6への通電を停止する。上記のように、板ばね12が吸引されて撓むときには、伝動部材20もともに移動して先端部に固定した打撃片25が鋳物3を叩く。電磁石6への通電を停止すると、板ばね12の撓み反力と打撃片25が鋳物3から弾性的に跳ね返されることにより、伝動部材20は揺動運動をする。したがって、電磁石6への通電と通電停止を反復することにより、伝動部材20は揺動運動を連続的に行い打撃片25の叩き動作が連続的に得られる。このように、伝動部材20が揺動運動をすることにより、板ばね12は弾性変形部が固定部14に対してねじり方向の撓み変形となる。すなわち、一方向にねじられて打撃片25が鋳物3を叩き、今度は、このねじり運動のばね反力や打撃片25が鋳物3から弾性的に跳ね返されることにより、伝動部材20は反対方向に大きく揺動する。この揺動位置が最大になるのと同時またはその直前で再び電磁石6に通電されると、打撃片25は鋳物3から最も離れた箇所から勢い良く鋳物3に衝突する。このような電磁石6による板ばね12の吸引と吸引解除を繰り返すことにより、打撃片12に十分な運動エネルギーを付与することができて、固形状になっている鋳物砂、特に、中子4の崩壊が進行する。上記の伝動部材20の揺動動作においては、打撃片25の質量によって慣性力が生じて鋳物3に対して強い叩き現象がえられる。
電磁石6への通電を停止したり通電を再開するタイミングを上述のように選定することにより、板ばね12の固有振動数に合致した電磁石6の吸引サイクルが選定できるので、板ばね12の振幅を大きくすることができ、しかも、電磁石6の吸引出力を少量化して電気エネルギーの消費を節減することができる。さらに、電磁石6を用いるものであるから、電磁石6の吸引出力を自由に制御することができ、打撃片25の鋳物3に対する打撃力を適正化して、鋳物3が破損するようなことを回避できる。さらに、板ばね12,打撃片25,電磁石6等によって装置が構成されているので、回転部分や摺動部分あるいは潤滑油を供給する部分がなく、砂埃の多い鋳造工場において装置の維持管理面で好適である。そして、基本的には電磁石6と板ばね12と打撃片25との組み合わせであるから、構造が簡素化されて高い耐久性が確保できる。また、上記のような基本的な組み合わせであるから、装置の設置スペ−スが少なくなり、コンパクトな装置で狭い場所で動作させることが可能となる。
前記板ばね12は細長い形状とされ、板ばね12の長手方向に対してほぼ直交する向きに伝動部材20が配置されている。したがって、上記離隔箇所15がねじられると、そのねじり方向の変位が伝動部材20の揺動方向と一致し、電磁石6で板ばね12を吸引と非吸引とすることにより、それにともなって伝動部材20が叩き方向に正確に揺動し、確実な叩き動作が得られる。換言すると、板ばね12が一種のねじり軸のような役割を果たして、伝動部材20に所定方向の揺動運動を正確に行わせることができる。
前記板12ばねの両端部が前記固定部14とされ、両固定部14間の板ばねが弾性変形部とされている。したがって、板ばね12が両端部で固定されているので、離隔箇所15の上下位置が変化することがなく、離隔箇所15に取り付けられた伝動部材20の打撃片25は板ばね12の安定したねじり変形により、鋳物3の所定箇所を規則正しく正確に打撃することができる。すなわち、鋳物3を叩く箇所は鋳物3の形状に応じて適正な箇所を叩かねばならず、叩く箇所が不適性であると、鋳物3が破損したり中子4が十分に崩壊できなくて砂の排出が完全に達成されないことになる。また、板ばね12は両端固定であるから、高い耐久性がえられる。
制御ウエイトWが、前記取り付け部19を間にして打撃片25とは反対側の伝動部材20上に取り付けられている。このような構成により、制御ウエイトWの質量が板ばね12の撓みに加算されるので、板ばね12のねじれ振幅を大きくすることができ、また、制御ウエイトWの質量を調節することにより、打撃片25の打撃力を最適値に設定することができる。さらに、取り付け部19と制御ウエイトWとの距離を調節して、伝動部材20の打撃片25側に作用する慣性力を調節して、最適の鋳物叩きが実施できる。
前記取り付け部19と板ばね12の離隔箇所15と電磁石6とが、電磁石6の吸引方向で見てほぼ一直線上に配列されている。このような構成により、電磁石6による板ばね12のねじり撓み変位が前記取り付け部19を介して忠実に伝動部材20に伝えられ、伝動部材20を経由した打撃片25の叩き動作が確実にえられる。
前記板ばね12,電磁石6,打撃片25等と、鋳物3との相対位置が不変のまま鋳物3が傾斜できるように構成されている。このような構成により、鋳物3内で崩壊した中子砂は鋳物3を傾斜させることによりほぼ完全に排出することができる。また、傾斜させながら打撃片25で叩き動作を継続することができるので、中子4の崩壊と排出が同時に行えて、装置の動作効率が向上する。
振動手段32によって支持部材1が微振動をするので、鋳物3の中子4はこの微振動によって崩壊しやすい形状の部分が崩壊する。そして、打撃片25による運動エネルギーの高い衝撃が鋳物3に付与されるので、このような衝撃で崩壊しやすい中子4の部分が崩壊する。このように、2種類の振動系によって効果的な中子4の崩壊が促進される。
図6は、本発明の鋳物の砂落し装置の第2の実施例を示す。
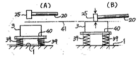
この実施例は、鋳物3と支持部材1との間にばね部材39を配置したものである。そのために、鋳物3を四角い形状の補助台40上に載せて固定し、補助台40の四隅の近くに圧縮コイルスプリングで形成されたばね部材39が配置されている。それ以外の構成は、先の実施例と同じである。
同図(A)は、本装置が動作しないで静止している状態であり、打撃片25と鋳物3との間には空間が存在している。この空間の中央部を示すために仮想線41が図示されている。ここで上述のように電磁石6が起動されて打撃片25が鋳物3を打撃すると、同図(B)の矢線で示すように、打撃片25の下降とばね部材39による鋳物3の上昇とが同期することにより、鋳物3に付与される衝撃エネルギーを一層強力なものとして、中子4に対する衝撃を大きくして良好な中子の崩壊が得られる。このような同期的な動作を得るために、鋳物3の質量や電磁石6の振動数、伝動部材20自体の撓み状態、制御ウエイトWの質量、ばね部材39のばね定数の選定等を総合的に見て、各部の値を設定する。それ以外の作用効果は先の実施例と同じである。
板ばねと電磁石と打撃片が主たる構成であり、構造が簡素化されて耐久性が高くなり、幅広い産業分野で活用できる。
本発明装置の側面図である。 本発明装置の断面図である。 制御ウエイトの側面図である。 打撃片の設置構造を示す正面図である。 打撃片の動作状態を示す簡略的な平面図と側面図である。 鋳物を弾性的に支持した簡略的な側面図である。
符号の説明
1 支持部材
3 鋳物
4 中子
6 電磁石
12 板ばね
14 固定部
15 離隔箇所
19 取り付け部
20 伝動部材
25 打撃片
W 制御ウエイト
31 基礎部材
38 傾斜付与手段

Claims (6)

  1. 板ばねが、装置本体の静止部材に固定部において固定され、前記固定部とこの固定部から所定長さ離隔した板ばねの離隔箇所までの間の板ばねが弾性変形部とされ、長尺な形状の伝動部材が取り付け部を介して前記離隔箇所に取り付けられ、前記伝動部材の先端部に鋳物を打撃する打撃片が設けられ、前記板ばねの弾性変形部に撓み振動を付与する電磁石が設けられ、前記電磁石が板ばねを吸引および非吸引の動作をすることにより、伝動部材が揺動運動をして板ばねの弾性変形部が固定部に対してねじれ変形を行い、前記伝動部材の揺動運動により打撃片が鋳物を打撃するように構成したことを特徴とする鋳物の砂落し装置。
  2. 前記板ばねは細長い形状とされ、板ばねの長手方向に対してほぼ直交する向きに伝動部材が配置されている請求項1記載の鋳物の砂落し装置。
  3. 前記板ばねの両端部が前記固定部とされ、両固定部間の板ばねが弾性変形部とされている請求項1または請求項2に記載の鋳物の砂落し装置。
  4. 制御ウエイトが、前記取り付け部を間にして打撃片とは反対側の伝動部材上に取り付けられている請求項1〜請求項3のいずれか1つに記載の鋳物の砂落し装置。
  5. 前記取り付け部と板ばねの離隔箇所と電磁石とが、電磁石の吸引方向で見てほぼ一直線上に配列されている請求項1〜請求項4のいずれか1つに記載の鋳物の砂落し装置。
  6. 前記板ばね,電磁石,打撃片等と、鋳物との相対位置が不変のまま鋳物が傾斜できるように構成されている請求項1〜請求項5のいずれか1つに記載の鋳物の砂落し装置。
JP2004142911A 2004-04-10 2004-04-10 鋳物の砂落し装置 Expired - Fee Related JP4314616B2 (ja)

Priority Applications (1)

Application Number Priority Date Filing Date Title
JP2004142911A JP4314616B2 (ja) 2004-04-10 2004-04-10 鋳物の砂落し装置

Applications Claiming Priority (1)

Application Number Priority Date Filing Date Title
JP2004142911A JP4314616B2 (ja) 2004-04-10 2004-04-10 鋳物の砂落し装置

Publications (2)

Publication Number Publication Date
JP2005297057A true JP2005297057A (ja) 2005-10-27
JP4314616B2 JP4314616B2 (ja) 2009-08-19

Family

ID=35329234

Family Applications (1)

Application Number Title Priority Date Filing Date
JP2004142911A Expired - Fee Related JP4314616B2 (ja) 2004-04-10 2004-04-10 鋳物の砂落し装置

Country Status (1)

Country Link
JP (1) JP4314616B2 (ja)

Cited By (11)

* Cited by examiner, † Cited by third party
Publication number Priority date Publication date Assignee Title
JP2010064082A (ja) * 2008-09-09 2010-03-25 Sintokogio Ltd 鋳物の中子砂落し装置
JP2017192949A (ja) * 2016-04-18 2017-10-26 株式会社ヨーマー 中子砂除去装置
CN111375747A (zh) * 2018-12-28 2020-07-07 北京天哲消失模铸造技术有限公司 底卸砂落砂系统
JP2020157312A (ja) * 2019-03-25 2020-10-01 株式会社全晴 鋳砂落とし装置
CN112276051A (zh) * 2020-11-03 2021-01-29 安徽全柴天和机械有限公司 一种消失模铸造砂箱底部卸砂组件
CN114670126A (zh) * 2022-04-15 2022-06-28 河南工程学院 适合生产线的细长离心铸管抛丸砂清除装置及方法
CN114833732A (zh) * 2022-04-15 2022-08-02 河南工程学院 离心铸管抛丸砂振动清除装置及清除系统
CN116274883A (zh) * 2023-05-17 2023-06-23 山西中设华晋铸造有限公司 一种用于车辆履带的合金钢铸造方法
CN117798786A (zh) * 2024-03-01 2024-04-02 三明市南益机械设备有限公司 一种铸件表面处理装置
CN118492341A (zh) * 2024-07-17 2024-08-16 福建三闽电子信息科技有限公司 一种砂型铸造落砂加工型砂处理系统
JP2024172455A (ja) * 2023-05-31 2024-12-12 株式会社五十鈴製作所 中子除去装置

Cited By (18)

* Cited by examiner, † Cited by third party
Publication number Priority date Publication date Assignee Title
JP2010064082A (ja) * 2008-09-09 2010-03-25 Sintokogio Ltd 鋳物の中子砂落し装置
JP2017192949A (ja) * 2016-04-18 2017-10-26 株式会社ヨーマー 中子砂除去装置
CN111375747A (zh) * 2018-12-28 2020-07-07 北京天哲消失模铸造技术有限公司 底卸砂落砂系统
CN111375747B (zh) * 2018-12-28 2024-05-24 北京天哲消失模铸造技术有限公司 底卸砂落砂系统
JP2020157312A (ja) * 2019-03-25 2020-10-01 株式会社全晴 鋳砂落とし装置
JP7311087B2 (ja) 2019-03-25 2023-07-19 株式会社全晴 鋳砂落とし装置
CN112276051A (zh) * 2020-11-03 2021-01-29 安徽全柴天和机械有限公司 一种消失模铸造砂箱底部卸砂组件
CN112276051B (zh) * 2020-11-03 2022-04-05 安徽全柴天和机械有限公司 一种消失模铸造砂箱底部卸砂组件
CN114670126B (zh) * 2022-04-15 2023-04-14 河南工程学院 适合生产线的细长离心铸管抛丸砂清除装置及方法
CN114833732A (zh) * 2022-04-15 2022-08-02 河南工程学院 离心铸管抛丸砂振动清除装置及清除系统
CN114670126A (zh) * 2022-04-15 2022-06-28 河南工程学院 适合生产线的细长离心铸管抛丸砂清除装置及方法
CN116274883A (zh) * 2023-05-17 2023-06-23 山西中设华晋铸造有限公司 一种用于车辆履带的合金钢铸造方法
CN116274883B (zh) * 2023-05-17 2023-08-04 山西中设华晋铸造有限公司 一种用于车辆履带的合金钢铸造方法
JP2024172455A (ja) * 2023-05-31 2024-12-12 株式会社五十鈴製作所 中子除去装置
JP7802442B2 (ja) 2023-05-31 2026-01-20 株式会社五十鈴製作所 中子除去装置
CN117798786A (zh) * 2024-03-01 2024-04-02 三明市南益机械设备有限公司 一种铸件表面处理装置
CN117798786B (zh) * 2024-03-01 2024-05-28 三明市南益机械设备有限公司 一种铸件表面处理装置
CN118492341A (zh) * 2024-07-17 2024-08-16 福建三闽电子信息科技有限公司 一种砂型铸造落砂加工型砂处理系统

Also Published As

Publication number Publication date
JP4314616B2 (ja) 2009-08-19

Similar Documents

Publication Publication Date Title
JP4314616B2 (ja) 鋳物の砂落し装置
JPWO2004082870A1 (ja) 鋳物の砂落し装置
JPS5815269B2 (ja) 衝撃力発生装置
US6644382B1 (en) Casting sand shake-out method and its apparatus
GB2348839A (en) Casting sand shake-out
JP4314615B2 (ja) 鋳物の砂落し装置
JP2006515806A (ja) 自動中子抜きシステムおよび中子抜き装置
US4722386A (en) Casting core shakeout
JP2000343206A (ja) 鋳物の砂落し方法とその装置
JP2006505728A5 (ja)
JPH11226724A (ja) 鋳物の砂落し方法とその装置
JP2020157312A (ja) 鋳砂落とし装置
WO2011122994A1 (ru) Способ гравирования и устройство для его осуществления
US7459010B2 (en) Method and apparatus for the acceleration of an electromagnetic rapper
US1490476A (en) Chime striking action
JP2003305560A (ja) 鋳物の砂落し方法とその装置
KR20220076274A (ko) 응력제거용 가진장치
JP3154178B2 (ja) 鋳物の砂落し方法とその装置
JP2002309575A (ja) 杭打抜機
GB2385549A (en) Casting sand shake-out apparatus
RU15092U1 (ru) Устройство для разборки распылителя форсунки
JPH02124283A (ja) 衝撃工具
JP3962854B2 (ja) ワークの付着物分離装置
CN222158716U (zh) 一种用于卷钉加工设备上的轨道振动器
JP2000176631A (ja) 鋳造品の砂落し装置

Legal Events

Date Code Title Description
A621 Written request for application examination

Free format text: JAPANESE INTERMEDIATE CODE: A621

Effective date: 20060228

A977 Report on retrieval

Free format text: JAPANESE INTERMEDIATE CODE: A971007

Effective date: 20061011

A131 Notification of reasons for refusal

Free format text: JAPANESE INTERMEDIATE CODE: A131

Effective date: 20081216

A521 Written amendment

Free format text: JAPANESE INTERMEDIATE CODE: A523

Effective date: 20090209

TRDD Decision of grant or rejection written
A01 Written decision to grant a patent or to grant a registration (utility model)

Free format text: JAPANESE INTERMEDIATE CODE: A01

Effective date: 20090414

A01 Written decision to grant a patent or to grant a registration (utility model)

Free format text: JAPANESE INTERMEDIATE CODE: A01

A61 First payment of annual fees (during grant procedure)

Free format text: JAPANESE INTERMEDIATE CODE: A61

Effective date: 20090508

R150 Certificate of patent or registration of utility model

Free format text: JAPANESE INTERMEDIATE CODE: R150

FPAY Renewal fee payment (event date is renewal date of database)

Free format text: PAYMENT UNTIL: 20180529

Year of fee payment: 9

LAPS Cancellation because of no payment of annual fees