JP2005296665A - 薬物溶出式の医療装置における酸化を防ぎ薬物の劣化を減少するための酸化防止剤の使用 - Google Patents

薬物溶出式の医療装置における酸化を防ぎ薬物の劣化を減少するための酸化防止剤の使用 Download PDF

Info

Publication number
JP2005296665A
JP2005296665A JP2005116114A JP2005116114A JP2005296665A JP 2005296665 A JP2005296665 A JP 2005296665A JP 2005116114 A JP2005116114 A JP 2005116114A JP 2005116114 A JP2005116114 A JP 2005116114A JP 2005296665 A JP2005296665 A JP 2005296665A
Authority
JP
Japan
Prior art keywords
drug
rapamycin
medical device
certain
stent
Prior art date
Legal status (The legal status is an assumption and is not a legal conclusion. Google has not performed a legal analysis and makes no representation as to the accuracy of the status listed.)
Granted
Application number
JP2005116114A
Other languages
English (en)
Other versions
JP4832787B2 (ja
Inventor
Roy R Fennimore Jr
ロイ・アール・フェニモア・ジュニア
Current Assignee (The listed assignees may be inaccurate. Google has not performed a legal analysis and makes no representation or warranty as to the accuracy of the list.)
Cordis Corp
Original Assignee
Cordis Corp
Priority date (The priority date is an assumption and is not a legal conclusion. Google has not performed a legal analysis and makes no representation as to the accuracy of the date listed.)
Filing date
Publication date
Family has litigation
First worldwide family litigation filed litigation Critical https://patents.darts-ip.com/?family=34940819&utm_source=google_patent&utm_medium=platform_link&utm_campaign=public_patent_search&patent=JP2005296665(A) "Global patent litigation dataset” by Darts-ip is licensed under a Creative Commons Attribution 4.0 International License.
Application filed by Cordis Corp filed Critical Cordis Corp
Publication of JP2005296665A publication Critical patent/JP2005296665A/ja
Application granted granted Critical
Publication of JP4832787B2 publication Critical patent/JP4832787B2/ja
Anticipated expiration legal-status Critical
Expired - Fee Related legal-status Critical Current

Links

Images

Classifications

    • AHUMAN NECESSITIES
    • A61MEDICAL OR VETERINARY SCIENCE; HYGIENE
    • A61LMETHODS OR APPARATUS FOR STERILISING MATERIALS OR OBJECTS IN GENERAL; DISINFECTION, STERILISATION OR DEODORISATION OF AIR; CHEMICAL ASPECTS OF BANDAGES, DRESSINGS, ABSORBENT PADS OR SURGICAL ARTICLES; MATERIALS FOR BANDAGES, DRESSINGS, ABSORBENT PADS OR SURGICAL ARTICLES
    • A61L31/00Materials for other surgical articles, e.g. stents, stent-grafts, shunts, surgical drapes, guide wires, materials for adhesion prevention, occluding devices, surgical gloves, tissue fixation devices
    • A61L31/14Materials characterised by their function or physical properties, e.g. injectable or lubricating compositions, shape-memory materials, surface modified materials
    • A61L31/16Biologically active materials, e.g. therapeutic substances
    • AHUMAN NECESSITIES
    • A61MEDICAL OR VETERINARY SCIENCE; HYGIENE
    • A61FFILTERS IMPLANTABLE INTO BLOOD VESSELS; PROSTHESES; DEVICES PROVIDING PATENCY TO, OR PREVENTING COLLAPSING OF, TUBULAR STRUCTURES OF THE BODY, e.g. STENTS; ORTHOPAEDIC, NURSING OR CONTRACEPTIVE DEVICES; FOMENTATION; TREATMENT OR PROTECTION OF EYES OR EARS; BANDAGES, DRESSINGS OR ABSORBENT PADS; FIRST-AID KITS
    • A61F2/00Filters implantable into blood vessels; Prostheses, i.e. artificial substitutes or replacements for parts of the body; Appliances for connecting them with the body; Devices providing patency to, or preventing collapsing of, tubular structures of the body, e.g. stents
    • A61F2/95Instruments specially adapted for placement or removal of stents or stent-grafts
    • A61F2/954Instruments specially adapted for placement or removal of stents or stent-grafts for placing stents or stent-grafts in a bifurcation
    • AHUMAN NECESSITIES
    • A61MEDICAL OR VETERINARY SCIENCE; HYGIENE
    • A61LMETHODS OR APPARATUS FOR STERILISING MATERIALS OR OBJECTS IN GENERAL; DISINFECTION, STERILISATION OR DEODORISATION OF AIR; CHEMICAL ASPECTS OF BANDAGES, DRESSINGS, ABSORBENT PADS OR SURGICAL ARTICLES; MATERIALS FOR BANDAGES, DRESSINGS, ABSORBENT PADS OR SURGICAL ARTICLES
    • A61L31/00Materials for other surgical articles, e.g. stents, stent-grafts, shunts, surgical drapes, guide wires, materials for adhesion prevention, occluding devices, surgical gloves, tissue fixation devices
    • A61L31/14Materials characterised by their function or physical properties, e.g. injectable or lubricating compositions, shape-memory materials, surface modified materials
    • A61L31/143Stabilizers
    • AHUMAN NECESSITIES
    • A61MEDICAL OR VETERINARY SCIENCE; HYGIENE
    • A61FFILTERS IMPLANTABLE INTO BLOOD VESSELS; PROSTHESES; DEVICES PROVIDING PATENCY TO, OR PREVENTING COLLAPSING OF, TUBULAR STRUCTURES OF THE BODY, e.g. STENTS; ORTHOPAEDIC, NURSING OR CONTRACEPTIVE DEVICES; FOMENTATION; TREATMENT OR PROTECTION OF EYES OR EARS; BANDAGES, DRESSINGS OR ABSORBENT PADS; FIRST-AID KITS
    • A61F2/00Filters implantable into blood vessels; Prostheses, i.e. artificial substitutes or replacements for parts of the body; Appliances for connecting them with the body; Devices providing patency to, or preventing collapsing of, tubular structures of the body, e.g. stents
    • A61F2/02Prostheses implantable into the body
    • A61F2/04Hollow or tubular parts of organs, e.g. bladders, tracheae, bronchi or bile ducts
    • A61F2/06Blood vessels
    • A61F2/07Stent-grafts
    • AHUMAN NECESSITIES
    • A61MEDICAL OR VETERINARY SCIENCE; HYGIENE
    • A61FFILTERS IMPLANTABLE INTO BLOOD VESSELS; PROSTHESES; DEVICES PROVIDING PATENCY TO, OR PREVENTING COLLAPSING OF, TUBULAR STRUCTURES OF THE BODY, e.g. STENTS; ORTHOPAEDIC, NURSING OR CONTRACEPTIVE DEVICES; FOMENTATION; TREATMENT OR PROTECTION OF EYES OR EARS; BANDAGES, DRESSINGS OR ABSORBENT PADS; FIRST-AID KITS
    • A61F2/00Filters implantable into blood vessels; Prostheses, i.e. artificial substitutes or replacements for parts of the body; Appliances for connecting them with the body; Devices providing patency to, or preventing collapsing of, tubular structures of the body, e.g. stents
    • A61F2/82Devices providing patency to, or preventing collapsing of, tubular structures of the body, e.g. stents
    • A61F2/86Stents in a form characterised by the wire-like elements; Stents in the form characterised by a net-like or mesh-like structure
    • A61F2/90Stents in a form characterised by the wire-like elements; Stents in the form characterised by a net-like or mesh-like structure characterised by a net-like or mesh-like structure
    • A61F2/91Stents in a form characterised by the wire-like elements; Stents in the form characterised by a net-like or mesh-like structure characterised by a net-like or mesh-like structure made from perforated sheets or tubes, e.g. perforated by laser cuts or etched holes
    • AHUMAN NECESSITIES
    • A61MEDICAL OR VETERINARY SCIENCE; HYGIENE
    • A61FFILTERS IMPLANTABLE INTO BLOOD VESSELS; PROSTHESES; DEVICES PROVIDING PATENCY TO, OR PREVENTING COLLAPSING OF, TUBULAR STRUCTURES OF THE BODY, e.g. STENTS; ORTHOPAEDIC, NURSING OR CONTRACEPTIVE DEVICES; FOMENTATION; TREATMENT OR PROTECTION OF EYES OR EARS; BANDAGES, DRESSINGS OR ABSORBENT PADS; FIRST-AID KITS
    • A61F2/00Filters implantable into blood vessels; Prostheses, i.e. artificial substitutes or replacements for parts of the body; Appliances for connecting them with the body; Devices providing patency to, or preventing collapsing of, tubular structures of the body, e.g. stents
    • A61F2/95Instruments specially adapted for placement or removal of stents or stent-grafts
    • A61F2/962Instruments specially adapted for placement or removal of stents or stent-grafts having an outer sleeve
    • A61F2/966Instruments specially adapted for placement or removal of stents or stent-grafts having an outer sleeve with relative longitudinal movement between outer sleeve and prosthesis, e.g. using a push rod
    • AHUMAN NECESSITIES
    • A61MEDICAL OR VETERINARY SCIENCE; HYGIENE
    • A61FFILTERS IMPLANTABLE INTO BLOOD VESSELS; PROSTHESES; DEVICES PROVIDING PATENCY TO, OR PREVENTING COLLAPSING OF, TUBULAR STRUCTURES OF THE BODY, e.g. STENTS; ORTHOPAEDIC, NURSING OR CONTRACEPTIVE DEVICES; FOMENTATION; TREATMENT OR PROTECTION OF EYES OR EARS; BANDAGES, DRESSINGS OR ABSORBENT PADS; FIRST-AID KITS
    • A61F2/00Filters implantable into blood vessels; Prostheses, i.e. artificial substitutes or replacements for parts of the body; Appliances for connecting them with the body; Devices providing patency to, or preventing collapsing of, tubular structures of the body, e.g. stents
    • A61F2/02Prostheses implantable into the body
    • A61F2/04Hollow or tubular parts of organs, e.g. bladders, tracheae, bronchi or bile ducts
    • A61F2/06Blood vessels
    • A61F2002/065Y-shaped blood vessels
    • A61F2002/067Y-shaped blood vessels modular
    • AHUMAN NECESSITIES
    • A61MEDICAL OR VETERINARY SCIENCE; HYGIENE
    • A61FFILTERS IMPLANTABLE INTO BLOOD VESSELS; PROSTHESES; DEVICES PROVIDING PATENCY TO, OR PREVENTING COLLAPSING OF, TUBULAR STRUCTURES OF THE BODY, e.g. STENTS; ORTHOPAEDIC, NURSING OR CONTRACEPTIVE DEVICES; FOMENTATION; TREATMENT OR PROTECTION OF EYES OR EARS; BANDAGES, DRESSINGS OR ABSORBENT PADS; FIRST-AID KITS
    • A61F2/00Filters implantable into blood vessels; Prostheses, i.e. artificial substitutes or replacements for parts of the body; Appliances for connecting them with the body; Devices providing patency to, or preventing collapsing of, tubular structures of the body, e.g. stents
    • A61F2/02Prostheses implantable into the body
    • A61F2/04Hollow or tubular parts of organs, e.g. bladders, tracheae, bronchi or bile ducts
    • A61F2/06Blood vessels
    • A61F2/07Stent-grafts
    • A61F2002/077Stent-grafts having means to fill the space between stent-graft and aneurysm wall, e.g. a sleeve
    • AHUMAN NECESSITIES
    • A61MEDICAL OR VETERINARY SCIENCE; HYGIENE
    • A61FFILTERS IMPLANTABLE INTO BLOOD VESSELS; PROSTHESES; DEVICES PROVIDING PATENCY TO, OR PREVENTING COLLAPSING OF, TUBULAR STRUCTURES OF THE BODY, e.g. STENTS; ORTHOPAEDIC, NURSING OR CONTRACEPTIVE DEVICES; FOMENTATION; TREATMENT OR PROTECTION OF EYES OR EARS; BANDAGES, DRESSINGS OR ABSORBENT PADS; FIRST-AID KITS
    • A61F2250/00Special features of prostheses classified in groups A61F2/00 - A61F2/26 or A61F2/82 or A61F9/00 or A61F11/00 or subgroups thereof
    • A61F2250/0058Additional features; Implant or prostheses properties not otherwise provided for
    • A61F2250/0067Means for introducing or releasing pharmaceutical products into the body
    • AHUMAN NECESSITIES
    • A61MEDICAL OR VETERINARY SCIENCE; HYGIENE
    • A61LMETHODS OR APPARATUS FOR STERILISING MATERIALS OR OBJECTS IN GENERAL; DISINFECTION, STERILISATION OR DEODORISATION OF AIR; CHEMICAL ASPECTS OF BANDAGES, DRESSINGS, ABSORBENT PADS OR SURGICAL ARTICLES; MATERIALS FOR BANDAGES, DRESSINGS, ABSORBENT PADS OR SURGICAL ARTICLES
    • A61L2300/00Biologically active materials used in bandages, wound dressings, absorbent pads or medical devices
    • A61L2300/40Biologically active materials used in bandages, wound dressings, absorbent pads or medical devices characterised by a specific therapeutic activity or mode of action
    • A61L2300/416Anti-neoplastic or anti-proliferative or anti-restenosis or anti-angiogenic agents, e.g. paclitaxel, sirolimus
    • BPERFORMING OPERATIONS; TRANSPORTING
    • B23MACHINE TOOLS; METAL-WORKING NOT OTHERWISE PROVIDED FOR
    • B23KSOLDERING OR UNSOLDERING; WELDING; CLADDING OR PLATING BY SOLDERING OR WELDING; CUTTING BY APPLYING HEAT LOCALLY, e.g. FLAME CUTTING; WORKING BY LASER BEAM
    • B23K2103/00Materials to be soldered, welded or cut
    • B23K2103/30Organic materials
    • B23K2103/42Plastics other than composite materials
    • BPERFORMING OPERATIONS; TRANSPORTING
    • B23MACHINE TOOLS; METAL-WORKING NOT OTHERWISE PROVIDED FOR
    • B23KSOLDERING OR UNSOLDERING; WELDING; CLADDING OR PLATING BY SOLDERING OR WELDING; CUTTING BY APPLYING HEAT LOCALLY, e.g. FLAME CUTTING; WORKING BY LASER BEAM
    • B23K2103/00Materials to be soldered, welded or cut
    • B23K2103/50Inorganic materials other than metals or composite materials

Landscapes

  • Health & Medical Sciences (AREA)
  • Life Sciences & Earth Sciences (AREA)
  • Engineering & Computer Science (AREA)
  • Biomedical Technology (AREA)
  • Veterinary Medicine (AREA)
  • Heart & Thoracic Surgery (AREA)
  • Vascular Medicine (AREA)
  • Animal Behavior & Ethology (AREA)
  • General Health & Medical Sciences (AREA)
  • Public Health (AREA)
  • Epidemiology (AREA)
  • Surgery (AREA)
  • Transplantation (AREA)
  • Oral & Maxillofacial Surgery (AREA)
  • Cardiology (AREA)
  • Chemical & Material Sciences (AREA)
  • Medicinal Chemistry (AREA)
  • Molecular Biology (AREA)
  • Media Introduction/Drainage Providing Device (AREA)
  • Materials For Medical Uses (AREA)
  • Acyclic And Carbocyclic Compounds In Medicinal Compositions (AREA)
  • Medicines Containing Material From Animals Or Micro-Organisms (AREA)

Abstract

【課題】生体への導入における生物学的反応を最少または実質的に無くすために被覆された移植用医療装置を提供する。
【解決手段】治療用の種々の薬物、薬剤または配合物を生体適合性の材料と共に混合して医療装置に固定することができる。これらの治療用の薬物等は、血液の凝固物の形成を含む治癒を促進するために利用でき、脆弱性のプラークを含む特定の病気を治療するために利用することも可能である。たとえば医療装置としてステントに抗凝固剤を塗布する例をあげることができる。また、これらの治療用の薬剤をある病気の、特定の部位に配給することもできる。種々のポリマーの組み合わせにより薬剤等の溶出速度を制御または調整できる。また、これらの場合において、種々の酸化防止剤が酸化を防止し、薬物等の劣化を減少させるために利用されている。
【選択図】図1

Description

本発明は脈管の病気の予防および治療のための薬物/薬物の種々の組み合わせ物の局所的な投与に関連しており、特に、傷害により生じる脈管の病気の予防および治療のための薬物/薬物の種々の組み合わせ物の局所的な配給のための内腔内医療装置および当該内腔内医療装置において上記の薬物/薬物の種々の組み合わせ物を保持するための、ならびに、当該医療装置に対する損傷を防ぐための方法および装置に関連している。本発明はまた病気を治療および予防して生体への医療装置の導入に対する一定の生物学的な生体反応を最少にするか実質的に無くすためにその装置に固定されている種々の薬物、薬剤および/または配合物を有する種々のステント、移植片、吻合装置、脈管周囲ラップ、縫合糸およびステープルを含む医療装置に関連している。加えて、上記の種々の薬物、薬剤および/または配合物は治癒および内皮化を促進するために利用可能である。本発明はまた種々の移植可能な医療装置からの種々の薬物、薬剤および/または配合物の溶出速度を制御するための被膜に関連している。さらに、本発明は脈管の病気を治療するための種々の薬物の一定領域に及ぶ配給のための種々の薬物および薬物配給システムならびにこれらの薬物の液体配合物に関連している。本発明はまた脆弱性のプラークを治療するために医療装置に固定されている種々の薬物、薬剤および/または配合物を有する医療装置にも関連している。さらに、本発明は酸化により生じる種々の薬物の劣化を減少するための種々の薬剤に関連している。
多くの個人は心臓およびその他の主要な器官において多くある種々の血管の一定の進行性の閉塞により生じる循環系の病気に罹っている。これらの個人における血管のさらに深刻な閉塞は多くの場合に高血圧、虚血性の傷害、発作、または心筋梗塞を引き起こす。冠動脈の血流を制限または閉塞するアテローム性硬化症の病巣は虚血性の心臓病の主因である。これに対して、経皮経内腔式の冠動脈血管形成術は一定の動脈の中を通る血流を増加することを目的としている一定の医療処置である。さらに、この経皮経内腔式の冠動脈血管形成術は冠動脈血管狭窄のための主要な治療である。すなわち、この処置の使用の増加は冠動脈バイパス術に比べた場合のその比較的に高い成功率およびその最小限の侵襲性を起因としていると考えられる。しかしながら、この経皮経内腔式の冠動脈形成術に付随する一定の制限はその処置の直後に生じる可能性のある血管の急な閉鎖およびその処置に続いて徐々に生じる再狭窄である。加えて、この再狭窄は伏在静脈のバイパス移植を受けている患者における一定の慢性の問題である。上記のような急性の閉塞のメカニズムは幾つかの要因を含むと考えられ、結果的に動脈の閉塞を伴う脈管の反跳および/または新しく開口した血管の損傷部分の長さに沿う血小板およびフィブリンの堆積により生じる可能性がある。
経皮経内腔式の冠動脈形成術の後における再狭窄は脈管の傷害により始まる比較的に漸進的な過程である。血栓症、炎症、増殖因子およびサイトカインの放出、細胞増殖、細胞移動および細胞外基質の合成を含む多数の過程がそれぞれ上記のような再狭窄の過程の原因になっている。
再狭窄の正確なメカニズムは完全には理解されていないが、このような再狭窄の過程における全般的な種々の態様が認識されつつある。正常な動脈壁部内において、平滑筋細胞は1日あたりにほぼ0.1パーセント(%)よりも低い一定の低速度で増殖する。また、種々の脈管壁部内における平滑筋細胞は80乃至90%の細胞質の容積が収縮性の組織により占められていることにより特徴付けられる一定の収縮性の表現型で存在している。この場合に、小胞体、ゴルジ体、および遊離のリボソームは少量であり、核周囲領域内に存在している。また、細胞外基質は平滑筋細胞を囲っていて、ヘパリン様グリコシルアミノグリカンに富んでおり、これらは平滑筋細胞をその収縮性の表現型の状態に維持するために作用すると考えられている(キャンベル(Campbell)およびキャンベル(Campbell),1985年)。
血管形成術中における一定の冠動脈内バルーン・カテーテルの圧力による拡張時に、その血管壁部内の平滑筋細胞が損傷して、一定の血栓および炎症性の応答が開始する。血小板、侵襲性のマクロファージおよび/または白血球から放出されるか、平滑筋細胞自体から直接的に放出される血小板由来増殖因子、塩基性線維芽細胞増殖因子、表皮増殖因子、トロンビン等のような種々の細胞由来型の増殖因子は内側平滑筋細胞における一定の増殖性および移動性の応答を誘発する。これらの細胞はその収縮性の表現型からわずかな量の収縮性のフィラメントの束および多量の粗面の小胞体、ゴルジ体および遊離のリボソームにより特徴付けられる一定の合成的な表現型への変化を生じる。このような増殖/移動は通常的に傷害後の1日乃至2日以内に始まり、その数日後に最高になる(キャンベル(Campbell)およびキャンベル(Campbell),1987年、クロウズ(Clowes)およびシュワルツ(Schwartz),1985年)。
種々の娘細胞が動脈平滑筋の内膜層に移動して、増殖しながら相当量の細胞外基質タンパク質を分泌し続ける。このような増殖、移動および細胞外基質の合成は損傷を受けた内皮層が修復されるまで続き、この修復時点において、通常的に傷害後の7日乃至14日以内に、その増殖はその内膜内において減速する。このようにして新たに形成された組織はネオ内膜(新内膜)と呼ばれる。その後の3ヶ月乃至6ヶ月にわたり生じる付加的な血管の狭窄化は主として陰性または狭窄性の再造形による。
局所的な狭窄および移動と同時に、炎症性の細胞が血管の傷害部位に付着する。傷害後の3日乃至7日以内に、これらの炎症性の細胞は血管壁のさらに深い層まで移動する。バルーンによる傷害またはステントの移植のいずれかを採用している種々の動物体モデルにおいて、上記のような炎症性の細胞は少なくとも30日間にわたり一定の血管の傷害部位に付着し続ける可能性がある(タナカ(Tanaka)他,1993年、エデルマン(Edelman)他,1998年)。従って、このような炎症性の細胞が存在していると、再狭窄における急性の状態と慢性の状態の両方の起因になる可能性がある。
多くの物質が再狭窄において推測される抗増殖作用について調査されており、種々の実験動物モデルにおいてある程度の活性を示している。種々の動物モデルにおける内膜の過形成の程度を有効に軽減することを示している一部の物質はヘパリンおよびヘパリン・フラグメント(クロウズ,A.W.(Clowes, A.W.)およびカルノブスキー,M.(Karnovsky, M.),ネイチャー(Nature),265巻,p.25−26,1977年、ガイトン,J.R.(Guyton, J.R.)他,サーキュレーション・リサーチ(Circ. Res.),46巻,p.625−634,1980年、クロウズ,A.W.(Clowes, A.W.)およびクロウズ,M.M.(Clowes, M.M.),ラボラトリー・インベスティゲーション(Lab. Invest.),52巻,p.611−616,1985年、クロウズ,A.W.(Clowes, A.W.)およびクロウズ,M.M.(Clowes, M.M.),サーキュレーション・リサーチ(Circ. Res.),58巻,p.839−845,1986年、マジェスキー(Majesky)他,サーキュレーション・リサーチ(Circ. Res.),61巻,p.296−300,1987年、スノー(Snow)他,アメリカン・ジャーナル・オブ・パソロジー(Am. J. Pathol.),137巻,p.313−330,1990年、オカダ,T.(Okada, T.)他,ニューロサージェリー(Neurosurgery),25巻,p.92−98,1989年)、コルヒチン(クーリエ,J.W.(Currier, J.W.)他,サーキュレーション(Circ.),80巻,p.11−66,1989年)、タクソール(ソロット,S.J.(Sollot, S.J.)他,ジャーナル・オブ・クリニカル・インベスティゲーション(J. Clin. Invest.),95巻,p.1869−1876,1995年)、アンギオテンシン変換酵素(ACE)阻害薬(パウエル,J.S.(Powell, J.S.)他,サイエンス(Science),245巻,p.186−188,1989年)、アンギオペプチン(ランデルガン,C.F.(Lundergan, C.F.)他,アメリカン・ジャーナル・オブ・カージオロジー(Am. J. Cardiol.),17巻(増刊B),p.132B−136B,1991年)、シクロスポリンA(ジョナッソン,L.(Jonasson, L.)他,プロシーデイング・ナチュラル・アカデミック・ソサイエテイ(Proc. Natl. Acad. Sci.),85巻,p.2303,1988年)、ヤギ−アンチ−ラビットPDGF抗体(フェルンス,G.A.A.(Ferns, G.A.A.)他,サイエンス,253巻,p.1129−1132,1991年)、テルビナフィン(ネメセック,G.M.(Nemecek, G.M.)他,ジャーナル・オブ・ファーマコロジー・エクスペリメンタル.セラピー(J. Pharmacol. Exp. Thera.),248巻,p.1167−1174,1989年)、トラピジル(リウ,M.W.(Liu, M.W.)他,サーキュレーション(Circ.),81巻,p.1089−1093,1990年)、トラニラスト(フクヤマ,J.(Fukuyama, J.)他,ユーロピアン・ジャーナル・オブ・ファーマコロジー(Eur. J. Pharmacol.),318巻,p.327−332,1996年)、インターフェロン−ガンマ(ハンソン,G.K.(Hansson, G.K.)およびホルム,J.(Holm, J.),サーキュレーション(Circ.),84巻,p.1266−1272,1991年)、ラパマイシン(マークス,S.O.(Marx, S.O.)他,サーキュレーション・リサーチ(Circ. Res.),76巻,p.412−417,1995年)、ステロイド(コルバーン,M.D.(Colburn, M.D.)他,ジャーナル・オブ・バスキュラー・サージェリー(J. Vas. Surg.),15巻,p.510−518,1992年)、(さらに、これについてはバーク,B.C.(Berk, B. C.)他,ジャーナル・オブ・アメリカン・コル・カージオロジー(J. Am. Coll. Cardiol.),17巻,p.111B−117B,1991年も参照されたい)、電離放射線(ウエインバーガー,J.(Weinberger, J.)他,インターナショナル・ジャーナル・オブ・ラディオロジカル・オンコロジカル・バイオロジカル・フィジオロジー(Int. J. Rad. Onc. Biol. Phys.),36巻,p.767−775,1996年)、融合トキシン(ファーブ,A.(Farb, A.)他,サーキュレーション・リサーチ(Circ. Res.),80巻,p.542−550,1997年)、アンチセンス・オリジオヌクレオチド(シモンズ,M.(Simons, M.)他,ネイチャー(Nature),359巻,p.67−70,1992年)および遺伝子ベクター(チャン,M.W.(Chang, M.W.)他,ジャーナル・オブ・クリニカル・インベスティゲーション(J. Clin. Invest.),96巻,p.2260−2268,1995年)を含む。生体外(イン・ビトロ)における平滑筋細胞に対する抗増殖作用は上記の物質の多くにおいて示されており、これらは、ヘパリン、ヘパリン共役物質、タクソール、トラニラスト、コルヒチン、ACE阻害薬、融合トキシン、アンチセンス・オリジオヌクレオチド、ラパマイシンおよび電離放射線を含む。従って、平滑筋細胞阻害の種々のメカニズムを伴う薬物は内膜の過形成を減少する点において治療的有用性を有すると考えられる。
しかしながら、種々の動物体モデルとは対照的に、人間の血管形成術の患者における全身系的な薬理学的手段による再狭窄の防止の試みはこれまでに成功には程遠いものであった。アスピリン−ジピリダモール、チクロピジン、抗血液凝固剤療法(急性のヘパリン、慢性のワルファリン、ヒルジン、ヒルログ)、トロンボキサン受容体拮抗物質、あるいはステロイドは再狭窄の予防にいずれも有効ではなかったが、血小板抑制物質は血管形成術後における急性の再閉塞の防止に効果的であった(マック(Mak)およびトポル(Topol),1997年、ラング(Lang)他,1991年、ポプマ(Popma)他,1991年)。また、血小板GPIIb/IIIa受容体である、拮抗物質のレオプロ(Reopro)(登録商標)は依然として研究中であるが、このレオプロ(Reopro)(登録商標)は血管形成術およびステント処理の後における再狭窄の軽減において明らかな結果を示していない。さらに、再狭窄の防止において有効性を示していない他の物質として、カルシウム・チャネル拮抗薬、プロスタサイクリン・ミメティック薬、アンギオテンシン変換酵素阻害薬、セロトニン受容体拮抗薬、および抗増殖剤が含まれる。しかしながら、これらの薬物は全身系的に投与する必要があり、治療において有効な投薬量を達成することが可能でない場合があり、抗増殖(または、抗再狭窄)に対応する濃度がこれら薬物の既知の毒性濃度を超える可能性があるので、平滑筋阻害を生じさせるために十分な量に到達し得ない場合が有り得る(マック(Mak)およびトポル(Topol),1997年、ラング(Lang)他,1991年、ポプマ(Popma)他,1991年)。
種々の食用魚油サプリメントまたはコレステロール低下剤を利用して再狭窄を防止する有効性を調べている別の臨床的な試行が競合的なまたは否定的な結果を示すことが確かめられており、これらの薬理学的な物質はいずれも依然として血管形成術後の再狭窄を防止することにおいて臨床的に利用可能な段階ではない(マック(Mak)およびトポル(Topol),1997年、フランクリン(Franklin)およびファクソン(Faxon),1993年、セリュイズ,P.W.(Serruys, P.W.)他,1993年)。最近の観察結果の示唆するところによれば、抗脂質剤/酸化防止剤のプロブコールが再狭窄の防止において有効であると思われるが、この作用は確認の必要がある(タージフ(Tardif)他,1997年、ヨコイ(Yokoi)他,1997年)。このプロブコールは米国では現在において使用が認可されておらず、緊急の血管形成術において30日間の予備治療期間においてその使用を避ける必要があると考えられている。さらに、電離放射線の適用はステントを伴う患者における血管形成術後の再狭窄の軽減または防止において相当な有望性を示している(テイルスタイン(Teirstein)他,1997年)。しかしながら、現在においては、再狭窄の最も有効な治療は血管形成術、アテレクトミーまたは冠動脈バイパス移植術を繰り返すことであり、この理由は、血管形成術後の再狭窄の防止のために使用するための食品医薬品局の認可を有する治療物質が現在において全く存在していないからである。
全身系的な薬理学的療法とは異なり、ステントは再狭窄を相当に軽減することにおいて有用であることが立証されている。一般的に、ステントはバルーン拡張型のスロット付きの金属チューブ(通常的に、ステンレス・スチールであるがこれに限定されない)であり、これらは血管形成術が施された冠動脈の内腔内において拡張されると、その動脈壁部に対する剛性の支持骨格構造の形成により構造的な支持を行なう。この支持構造は血管の内腔を開存状態に維持することに役に立つ。例えば、2回の無作為的に行なわれた臨床試行において、種々のステントは最小の内腔の直径を増大すると共に6ヶ月目における再狭窄の発生率をゼロにしたわけではないが減少したことにより、経皮経内腔式の冠動脈形成術後における血管造影による有効性を高めている(セリュイズ(Serruys)他,1994年、フィッシュマン(Fishman)他,1994年)。
加えて、ステントのヘパリン被膜はステント移植後における亜急性の血栓症を減少するという付加的な利点を有すると思われる(セリュイズ(Serruys)他,1996年)。従って、ステントによる狭窄した冠動脈の持続された機械的な拡張は再狭窄の防止の一定の方法を提供することが示されており、ヘパリンによるステントの被覆は種々の薬物を損傷した組織部位に局所的に配給することの実行可能性および臨床的な有用性の両方を立証している。
上述のように、ヘパリンを被覆したステントを用いることは局所的な薬剤配給の実行可能性および臨床上の有用性を立証しているが、このような特定の薬物または薬物の組み合わせ物を局所配給装置に固定する様式はこの種の治療の効能において一定の役割を果たす必要がある。例えば、薬物/薬物の組み合わせ物を局所配給装置に固定するために用いる方法および材料はその薬物/薬物の組み合わせ物の作用に対して干渉してはならない。さらに、これらの利用する方法および材料は生体適合性である必要があり、配給中および一定時間の期間にわたり一定の薬物/薬物の組み合わせ物をその局所配給装置に保持する必要がある。例えば、局所配給装置の配給中におけるその薬物/薬物の組み合わせ物の脱落は潜在的にその装置の能力不全を生じる可能性がある。
従って、例えば、アテローム硬化症、または、機械的に誘発する、例えば、経皮経内腔式の冠動脈形成術のいずれかにより生物学的に誘発する内膜の肥厚化を生じる脈管の損傷の防止および治療のための薬物/薬物の組み合わせ物および関連の局所配給装置に対する要望が存在している。加えて、配給および位置決め中に薬物/薬物の組み合わせ物を局所配給装置において保持すること、および一定時間の期間にわたり治療的投薬量で薬物/薬物の組み合わせ物を放出することを確実に行なうことに対する要望が存在している。
内膜の肥厚化を引き起こす傷害の防止および治療のための種々のステント被膜および配合物が提案されている。これらの被膜はそれ自体でステントが損傷した内腔壁に与える刺激を減少することができ、それゆえ、血栓症または再狭窄への傾向を低下することができる。あるいは、上記の被膜は平滑筋組織の増殖または再狭窄を減少する医薬品/治療薬または薬物を一定の内腔に配給することも可能である。この薬剤配給のメカニズムは一定のバルクポリマーまたはそのポリマーの構造中に形成されている細孔による薬剤の拡散、あるいは、生体分解性の被膜の浸食により行われる。
ステント用の被膜として種々の生体吸収性で生体安定性の配合物が報告されている。これらの配合物は一般に、医薬品/治療薬または薬物、例えば、ラパマイシン、タクソール等を包み込むか、このような物質を一定の表面、例えば、ヘパリン被覆型のステントに結合する種々のポリマー被膜であった。さらに、これらの被膜は浸漬法、吹き付け法またはスピン・コート法を含むがこれらに限定されない多くの方法でステントに塗布される。
種々のステント用の被膜として報告されている生体安定性の材料の一例はポリフルオロ・ホモポリマーである。ポリテトラフルオロエチレン(PTFE)ホモポリマーは長年にわたり移植材料として用いられている。これらのホモポリマーは一定の温度においてはいずれの溶剤にも溶解せず、それゆえ、上記装置の重要な特徴部分(例えば、ステントにおけるスロット部分)を維持しながら小形の各種医療装置に塗布することが困難である。
ポリフッ化ビニリデンのホモポリマーにより作成されていて、放出するための医薬品/治療薬または薬物を含有している被膜を伴う種々のステントがこれまでに提案されている。しかしながら、大抵の結晶質ポリフルオロ・ホモポリマーと同様に、これらの被膜は、これらをそのポリマーの融点に相当する比較的に高い温度にしない場合には、種々の表面上に高品質なフィルムまたは皮膜として塗布することが困難である。
キャンベル(Campbell)およびキャンベル(Campbell),1985年 キャンベル(Campbell)およびキャンベル(Campbell),1987年 クロウズ(Clowes)およびシュワルツ(Schwarts),1985年 タナカ(Tanaka)他,1993年 エデルマン(Edelman)他,1998年 クロウズ,A.W.(Clowes, A.W.)およびカルノブスキー,M(Karnovsky, M),ネイチャー(Nature),265巻,p.25−26,1977年 ガイトン,J.R.(Guyton, J.R.)他、サーキュレーション・リサーチ(Circ. Res.),46巻,p.625−634,1980年 クロウズ,A.W.(Clowes, A.W.)およびクロウズ,M.M.(Clowes, M.M.)、ラボラトリー・インベスティゲーション(Lab. Invest.),52巻,p.611−616,1985年 クロウズ,A.W.(Clowes, A.W.)およびクロウズ,M.M.(Clowes, M.M.),サーキュレーション・リサーチ(Circ. Res.),58巻,p.839−845,1986年 マジェスキー(Majesky),サーキュレーション・リサーチ(Circ. Res.),61巻,p.296−300,1987年 スノー(Snow)他,アメリカン・ジャーナル・オブ・パソロジー(Am. J. Pathol.),137巻,p.313−330,1990年 オカダ,T(Okada, T),ニューロサージェリー(Neurosurgery),25巻,p.92−98,1989年 クーリエ,J.W.(Currier, J.W.)他,サーキュレーション(Circ.),80巻,p.11−66,1989年 ソロット,S.J.(Sollot, S.J.)他,ジャーナル・オブ・クリニカル・インベスティゲーション(J. Clin. Invest.),95巻,p.1869−1876,1995年 パウエル,J.S.(Powell, J.S.)他,サイエンス(Science),245巻,p.186−188,1989年 ランデルガン,C.F.(Lundergan, C.F.)他,アメリカン・ジャーナル・オブ・カージオロジー(Am. J. Cardiol.),17巻(増刊B),p.132B−136B,1991年 ジョナッソン,L.(Jonasson, L.)他,プロシーディング・ナチュラル・アカデミック・ソサイエテイ(Proc. Natl. Acad. Sci.),85巻,p.2303,1988年 ファーンズ,G.A.A(Ferns, G.A.A.)他,サイエンス(Science),253巻,p.1129−1132,1991年 ネメセック,G.M.(Nemecek, G.M.)他,ジャーナル・オブ・ファーマコロジカル・エクスペリメンタル・セラピー(J. Pharmacol. Exp. Thera.),248巻,p.1167−1174,1989年 リウ,M.W.(Liu, M.W.)他,サーキュレーション(Circ.),81巻,p.1089−1093,1990年 フクヤマ,J.(Fukuyama, J.)他,ヨーロピアン・ジャーナル・オブ・ファーマコロジー(Eur. J. Parmacol. ),318巻,p.327−332,1996年 ハンソン,G.K.(Hansson, G.K.)およびホルム,J.(Holm, J.),サーキュレーション(Circ.),84巻,p.1266−1272,1991年 マークス,S.O.(Marx, S.O.)他,サーキュレーション・リサーチ(Circ. Res.),76巻,p.412−417,1995年 コルバーン,M.D.(Colburn, M.D.)他,ジャーナル・オブ・バスキュラー・サージェリー(J. Vasc. Surg.),15巻,p.510〜518,1992年 バーク,B.C.(Berk, B.C.)他,ジャーナル・オブ・アメリカン・コル・カージオロジー(J. Am. Coll. Cardiol.),17巻,p.111B−117B,1991年 ウエインバーガー,J.(Weinberger, J.)他,インターナショナル・ジャーナル・オブ・ラディオロジカル・オンコロジカル・バイオロジカル・フィジオロジー(Int. J. Rad. Onc. Biol. Phys.),36巻,p.767−775,1996年 ファーブ,A.(Farb, A.)他,サーキュレーション・リサーチ(Circ. Res.),80巻,p.542−550,1997年 シモンズ,M.(Simons, M.)他,ネイチャー(Nature),359巻,p.67−70,1992年 チャン,M.W.(Chang, M.W.)他,ジャーナル・オブ・クリニカル・インベスティゲーション(J. Clin. Invest.),96巻,p.2260−2268,1995年 マック(Mak)およびトポル(Topol),1997年 ラング(Lang)他,1991年 ポプマ(Popma)他,1991年 フランクリン(Franklin)およびファクソン(Faxon),1993年 セリュイズ,P.W.(Serruys, P.W>)他,1993年 タージフ(Tardif)他,1997年 ヨコイ(Yokoi)他,1997年 テイルスタイン(Teirstein)他,1997年 セリュイズ(Serruys)他,1994年 フィッシュマン(Fischman)他,1994年 セリュイズ(Serruys)他,1996年
血栓症、再狭窄またはその他の有害な反応を軽減し、このような作用を達成するために種々の医薬品または治療薬または薬物の使用を含むことができるが必ずしもこれを必要とせず、種々の被覆型装置が比較的に低い最高温度にかけられる時でも、これらの装置において使用することに有効である物理的および機械的な諸特性を有することのできる移植可能な種々の医療装置のための被膜を開発することが有利であると考えられる。また、病気を治療し、医療装置の移植に対する生体反応を最少にするか実質的に無くす種々の薬物、薬剤および/または配合物との組み合わせにおける移植可能な医療装置を開発することも有利であると考えられる。さらに、特定の状況において、傷の治癒および医療装置における内皮化を助長する種々の薬物、薬剤および/または配合物との組み合わせにおける移植可能な医療装置を開発することも有利であると考えられる。
また、上記の被膜または医療装置自体に悪影響を及ぼすことなく種々の被覆型の移植可能な医療装置の配給を行なう配給装置を開発することも有利であると考えられる。加えて、このような配給装置は上記医療装置を一定の標的領域内に容易に且つ正確に位置決めするための一定の手段を医者に必然的に提供する。
また、上記の移植可能な医療装置からの種々の薬物、薬剤および/または配合物の溶出速度の正確な制御を可能にする移植可能な医療装置のための被膜を開発することも有利であると考えられる。
また、細胞増殖に影響を及ぼす異なる分子レベルのメカニズムを通して作用する1種類以上の薬剤の放出を行なう配給装置を開発することも有利であると考えられる。
また、アテローム硬化症のプラークを治療するための1種類以上の薬剤の一定領域に及ぶ投与を行なう配給装置を開発することも有利であると考えられる。
さらに、種々の薬物の効力および配給能力を高めるためのこれらの薬物の種々の液体配合物を開発することが有利であると考えられる。具体的に言えば、相当量の種々の界面活性剤、補助溶媒およびこれらの類似物の補助を伴わずに非水溶性または親油性の種々の薬物の液体溶液の投与形態を形成することは困難である。
相当に重要な別の種類の脈管の病気はアテローム硬化症である。このアテローム硬化症は種々の動脈の一定の肥厚化および硬化であり、一般に、例えば、コレステロール、炎症性の細胞、細胞廃産物、カルシウムおよび動脈の内皮または内膜の中の他の種々の物質等の脂肪性の物質の進行性の蓄積により生じると考えられる。これらの刺激性の物質の蓄積はさらにその影響を受けている動脈の壁部内の細胞を刺激して一定の病巣の増大化を引き起こす細胞のさらなる蓄積を生じる付加的な物質を生成する。このような蓄積物または病巣が一般にプラークと呼ばれている。
最近の研究はアテローム硬化症の理解の仕方を変え始めており、依然として十分に治療されていない別の主要な脈管の問題を発見している。種々の科学者が少なくとも一部の冠動脈の病気が一定の炎症性の過程であり、この場合に、炎症がプラークを不安定にして崩壊させると理論付けている。このような炎症したプラークはアテローム硬化症の脆弱性のプラークとして知られている。
上記脆弱性のプラークは平滑筋細胞の薄い層により被覆されている一定の脂質に富むコアまたは芯により構成されている。これらの脆弱性のプラークは崩壊および浸食しやすく、その薄い細胞の層が崩壊または潰瘍化する場合に相当な梗塞部分を生じる可能性がある。すなわち、これらの炎症性の細胞が侵食または崩壊すると、その脂質のコアが血流に露出して、その動脈内に血栓を形成する。さらに、これらの血栓は速やかに成長してその動脈を遮断するか、分離して下流側に移動して塞栓症の状況、不安定なアンギナ、心筋梗塞、および/または突然死を引き起こす可能性がある。実際に、一部の最近の研究はプラークの崩壊が全体の致命的な心筋梗塞の60乃至70%の起因になる可能性があると提唱している。このような脆弱性のプラークさらに詳細な説明については、例えば、キャンベル(Campbell)に発行されている米国特許第5,924,997号、およびキャンベル(Campbell)他に発行されている米国特許第6,245,026号を参照されたい。
アテローム硬化症を検出するために用いられている初期の方法は心臓病患者における脆弱性プラークを可視化および確認するための診断用の道具に欠けていた。しかしながら、冠動脈の中の脆弱性プラークの位置を確認するための新しい診断用の技法は開発中である。これらの新しい装置は洗練された磁気共鳴画像処理(MRI)、炎症性の過程が熱を発生することを前提として動脈壁部の温度を測定する熱センサー、弾性センサー、脈管内超音波、光結合断層撮影(OCT)、造影剤、および近赤外および赤外光を含む。しかしながら、これらの脆弱性プラークの病巣を発見した後に如何にこれらを治療するかが現在において明らかでない。
バルーン式血管形成およびその後の従来のステント処理の使用による脆弱性プラークの治療は十分な結果を提供するには至らないと考えられる。すなわち、バルーン式血管形成はそれ自体で脆弱性のプラークを崩壊して下層の組織細胞、コラーゲンまたは損傷した内皮を血流に曝す可能性がある。この状況は最終的にその血管を部分的にまたは完全に閉塞する可能性のある一定の血栓または血液凝固物の形成を生じる。加えて、裸のまたは無被覆型のステントは脆弱性プラークの上に一定の保護用の被覆を形成する新内膜の過形成を誘発するが、元の脆弱性プラークよりも患者に対してさらに危険になる可能性のある主要な問題として再狭窄が残る。
従って、脆弱性プラークおよび関連の脈管の病気を効果的に治療する一定の薬物溶出式のステントまたはその他の医療装置を開発することが有利であると考えられる。
薬物の劣化の比較的に一般的な様式の一例は酸化を含む。酸化防止剤は有利ラジカルに対して安全に相互作用して生体分子の損傷の前にこれらの高度に反応性のラジカルにより生じる潜在的な連鎖反応を停止する種々の分子である。換言すれば、酸化防止剤は本質的に種々の分子またはこれらの分子の一部分を損傷する前に遊離ラジカルを不活性にする分子である。従って、酸化防止剤は薬物の劣化を防止または実質的に減少するための薬物配合物中において利用できる。さらに具体的に言えば、酸化防止剤はステント等のような種々の薬物溶出式の移植可能な医療装置を被覆するために利用される酸素に影響を受けやすい薬物および/または薬物/ポリマーの溶液、ならびに、酸化を防ぎ薬物の劣化を減少するための種々の注入可能な薬物の溶液に添加できる。このような酸化による劣化の減少は種々の薬物または薬物被覆型の製品の保存寿命を延長する。
従って、薬物の劣化を実質的に遅らせると考えられる一定の薬物および酸化防止剤の組み合わせ物を開発することが有利であると考えられる。
本発明の種々の薬物溶出式の医療装置における酸化を防止して薬物の劣化を減少するための酸化防止剤の使用は上記において簡単に説明されている種々の不都合を解消するための一定の手段を提供している。
第1の態様において、本発明は一定の薬物溶出式の医療装置に関連している。この薬物溶出式の医療装置は一定の移植可能な内腔内構造、一定の薬剤として活性な物質、および一定の安定化剤を備えている。さらに、この薬剤として活性な物質は、治療用の用量で、上記移植可能な内腔内構造の少なくとも一部分に固定されている。また、上記安定化剤は酸化による上記薬剤として活性な物質の劣化を実質的に妨げるためにその薬剤として活性な物質と共に混合されている。
また、別の態様によれば、本発明は一定の薬物溶出式の医療装置に関連している。この薬物溶出式の医療装置は一定の移植可能な内腔内構造、一定の高分子の溶液、一定の薬剤として活性な物質、および一定の安定化剤を備えている。さらに、この薬剤として活性な物質は、治療用の用量で、上記高分子の溶液の中に混合されており、この結果として得られる混合物が上記移植可能な内腔内構造の少なくとも一部分に固定されている。また、上記安定化剤は酸化による上記薬剤として活性な物質の劣化を実質的に妨げるために上記の結果として得られる混合物の中に混合されている。
さらに別の態様によれば、本発明は一定の薬物溶出式の装置に関連している。この薬物溶出式の医療装置は一定の移植可能な内腔内構造、一定の高分子の溶液、一定の薬剤として活性な物質、および一定の安定化剤を備えている。さらに、この薬剤として活性な物質は、治療用の用量で、上記高分子の溶液の中に混合されており、この結果として得られる混合物が上記移植可能な内腔内構造の少なくとも一部分に固定されている。また、上記安定化剤は酸化による上記薬剤として活性な物質の劣化を実質的に妨げるために上記の結果として得られる混合物の中に混合されている。さらに、この安定化剤は上記薬剤として活性な物質のすぐ近くに存在するように上記の結果として得られる混合物の中に混合されている。
さらに別の態様によれば、本発明は一定の薬物溶出式の装置に関連している。この薬物溶出式の医療装置は一定のステント、一定の生体適合性の高分子の溶液、ラパマイシン、および一定の酸化防止剤を備えている。さらに、上記ラパマイシンは、治療用の用量で、上記高分子の溶液の中に混合されており、この結果として得られる混合物が上記ステントの少なくとも一部分に固定されている。また、上記酸化防止剤は上記ラパマイシンの劣化を防ぐために上記の結果として得られる混合物の中に混合されている。
種々の薬物、薬剤および/または配合物の組み合わせ物が種々の状況を治療するために利用できる。例えば、ラパマイシンおよびトリコスタチンAを利用することにより脈管の傷害後の再狭窄を治療または予防できる。これらのラパマイシンおよびトリコスタチンAは細胞増殖に影響を及ぼす異なる分子レベルのメカニズムを通してそれぞれ作用するので、これらの物質が、一定の薬物溶出式のステントにおいて組み合わされる場合に、異なる多数のメカニズムにより平滑筋の増殖および免疫細胞の増殖(炎症性の細胞の増殖)のダウンレギュレーションを行なうことにより互いの抗再狭窄性の活性を増強することが可能になる。このようなトリコスタチンAによるシロリムスの抗増殖性の活性の増強は血管再生およびその他の脈管の外科処置中における脈管の傷害後の抗再狭窄性の効力の一定の向上およびその抗再狭窄性の作用を達成するためのいずれかの物質の必要とされる量における一定の減少と考えることができる。
上記トリコスタチンAは人間の冠動脈平滑筋の細胞増殖の完全なおよび有効な遮断による局所的な脈管への適用(例えば、ステントまたはカテーテルに基づく配給)により新内膜の形成を遮断することができる。上記のシロリムスおよびトリコスタチンA(およびその薬理学的な種類の範囲内における別の物質)の組み合わせ物はラパマイシン単独よりも再狭窄/新内膜の肥圧化に対してさらに有効であると考えられる一定の新規な治療の組み合わせ物を代表している。さらに、上記の組み合わせ物の異なる用量はラパマイシンおよびトリコスタチンAの単純な添加物の作用よりも高い新内膜増殖の抑制における種々の有益性を生じることができる。また、このラパマイシンおよびトリコスタチンAの組み合わせ物は脆弱性のアテローム硬化症プラーク等のような別の種々の心臓病に対して有効であると考えられる。
別の例示的な実施形態において、ラパマイシンはミコフェノール酸との組み合わせにおいて利用可能である。これらのラパマイシンおよびミコフェノール酸は細胞周期の異なる段階において細胞増殖に影響を及ぼす異なる分子レベルのメカニズムを通してそれぞれ作用するので、これらの物質が、一定の薬物溶出式のステントにおいて組み合わされる場合に、異なる多数のメカニズムにより平滑筋の増殖および免疫細胞の増殖のダウンレギュレーションを行なうことにより互いの抗再狭窄性の活性を増強することが可能になる。
さらに別の代替的で例示的な実施形態において、ラパマイシンはクラドリビンとの組み合わせにおいて利用可能である。これらのラパマイシンおよびクラドリビンは細胞周期の異なる段階において細胞増殖に影響を及ぼす異なる分子レベルのメカニズムを通してそれぞれ作用するので、これらの物質が、一定の薬物溶出方式のステントまたは本明細書において定められているような別の医療装置において組み合わされる場合に、異なる多数のメカニズムにより平滑筋の増殖および免疫細胞の増殖のダウンレギュレーションにより互いの抗再狭窄性の活性を増強することが可能になる。本質的に、上記のラパマイシンおよびクラドリビンの組み合わせ物はいずれかの物質の単独またはこれら2種類の物質の作用の単純な合計よりもさらに高い効力になり得る一定の治療用の組み合わせ物を代表している。加えて、上記の組み合わせ物の異なる用量により、ラパマイシンまたはクラドリビンの単独よりもさらに高い新内膜の増殖の抑制と言う利得を生じることができる。
さらに別の代替的で例示的な実施形態において、ラパマイシンはトポテカンまたはイリノテカン、カンプトセシン、カンプトサルおよびDX−8951fを含む別のトポイソメラーゼI抑制因子との組み合わせにおいて利用可能である。これらのラパマイシンおよびトポテカンは細胞周期の異なる段階において細胞増殖に影響を及ぼす異なる分子レベルのメカニズムを通してそれぞれ作用するので、これらの物質が、一定の薬物溶出方式のステントまたは本明細書において定められているような別の医療装置において組み合わされる場合に、異なる多数のメカニズムにより平滑筋細胞および免疫細胞の増殖(炎症性の細胞の増殖)のダウンレギュレーションにより互いの抗再狭窄性の活性を増強することが可能になる。本質的に、上記のラパマイシンおよびトポテカンの組み合わせ物はいずれかの物質の単独またはこれら2種類の物質の作用の単純な合計よりもさらに高い効力になり得る一定の治療用の組み合わせ物を代表している。加えて、上記の組み合わせ物の異なる用量により、ラパマイシンまたはトポテカンの単独よりもさらに高い新内膜の増殖の抑制と言う利得を生じることができる。
さらに別の代替的で例示的な実施形態において、ラパマイシンはエトポシドまたは、ポドフィロトキシンおよびその種々の誘導体およびテニポシドを含む、その他の細胞増殖抑制性の種々のグルコシドとの組み合わせにおいて利用可能である。これらのラパマイシンおよびエトポシドは細胞周期の異なる段階において細胞増殖に影響を及ぼす異なる分子レベルのメカニズムを通してそれぞれ作用するので、これらの物質が、一定の薬物溶出方式のステントまたは本明細書において定められているような任意の別の医療装置において組み合わされる場合に、異なる多数のメカニズムにより平滑筋細胞および免疫細胞の増殖(炎症性の細胞の増殖)のダウンレギュレーションにより互いの抗再狭窄性の活性を増強することが可能になる。本質的に、上記のラパマイシンおよびエトポシドまたは、ポドフィロトキシンおよびその種々の誘導体およびテニポシドを含む、その他の細胞増殖抑制性のグルコシドの組み合わせ物はいずれかの物質の単独またはこれら2種類の物質の作用の単純な合計よりもさらに高い効力になり得る一定の治療用の組み合わせ物を代表している。加えて、上記の組み合わせ物の異なる用量により、ラパマイシンまたはエトポシドの単独よりもさらに高い新内膜の増殖の抑制と言う利得を生じることができる。
さらに別の代替的で例示的な実施形態において、2−メトキシエストラジオールまたはパンゼム(Panzem)(登録商標)は脈管の傷害後の再狭窄を防ぐために単独でまたはラパマイシンとの組み合わせにおいて利用可能である。これらのラパマイシンまたはシロリムスおよびパンゼム(Panzem)(登録商標)は異なる分子レベルのメカニズムを通して細胞の増殖を抑制するようにそれぞれ作用するので、これらの物質が、一定の薬物溶出方式のステントまたは本明細書において定められているような任意の別の医療装置において組み合わされる場合に、異なる多数のメカニズムにより平滑筋細胞および免疫細胞の増殖のダウンレギュレーションにより互いの抗再狭窄性の活性を増強することが可能になる。本質的に、上記のラパマイシンおよびパンゼム(Panzem)(登録商標)またはその他のエストロゲン受容体調節因子の組み合わせ物はいずれかの物質の単独またはこれら2種類の物質の作用の単純な合計よりもさらに高い効力になり得る一定の治療用の組み合わせ物を代表している。加えて、上記の組み合わせ物の異なる用量により、ラパマイシンまたはパンゼム(Panzem)(登録商標)の単独よりもさらに高い新内膜の増殖の抑制と言う利得を生じることができる。
本発明の種々の医療装置、薬物の被膜、配給装置およびこれらの装置の上に上記薬物の被膜またはビヒクルを保持するための方法は病気を治療するための、および病気または種々の状況の治療のための種々の医療装置の移植による生体の反応を治療する種々の物質の一定の組み合わせ物を利用している。このような種々の薬物、薬剤または配合物の局所的な配給は一般にそれぞれの効力を高めると共に全身系的な配給に比べた場合にそれぞれの薬物、薬剤または配合物の潜在的な毒性を実質的に低下する。
種々の薬物、薬剤または配合物が種々の病気を治療するために多数の医療装置に対して固定できる。これらの薬物、薬剤または配合物はまた一定の別の状況を治療するために利用される医療装置の導入に対する生物学的な生体の反応を最少にするか実質的に無くすために固定することもできる。例えば、種々の冠動脈または胆管等のような別の体内腔を開通するために種々のステントを導入することができる。しかしながら、これらのステントを導入することにより一定の平滑筋細胞の増殖作用ならびに炎症が生じる。従って、これらのステントはこれらの反応に対処するために種々の薬物、薬剤または配合物により被覆することが必要である。さらに、特定の種類の外科手術において日常的に利用されている吻合装置もまた一定の平滑筋細胞の増殖作用ならびに炎症を生じる可能性がある。それゆえ、種々のステント移植片および、例えば、動脈瘤バイパス・システム等のようなステント移植片を利用している種々のシステムはこれらの装置の導入により生じる種々の有害な影響を防止して治癒および取り込みを促進するための種々の薬物、薬剤および/または配合物により被覆する必要がある。従って、上記装置は上記のような反応に対処するための種々の薬物、薬剤および/または配合物により被覆することも必要である。加えて、動脈瘤バイパス・システム等のような装置は傷の治癒および内皮化を促進することにより内部漏れの危険性またはその他の類似の現象を減少するための種々の薬物、薬剤および/または配合物により被覆する必要がある。
上記の薬物、薬剤または配合物は医療装置の種類、医療装置の導入に対する反応および/または治療することが求められている病気に応じて変更可能である。さらに、上記の医療装置に種々の薬物、薬剤または配合物を固定するために利用する被膜またはビヒクルの種類もまたその医療装置の種類、薬物、薬剤または配合物の種類およびこれらの放出速度を含む多数のファクターまたは要因に応じて変更できる。
有効であるために、上記の薬物、薬剤または配合物は配給および移植中に上記医療装置に留まっていることが当然に好ましい。従って、これらの薬物、薬剤または配合物の間に強い結合を形成するための種々の塗布技法が利用可能である。加えて、これらの薬物、薬剤または配合物が時期尚早に放出されることを防ぐための表面改質剤として種々の材料が利用できる。
あるいは、上記被覆型の移植可能な医療装置のための配給装置は上記被膜またはその装置自体に対する損傷の潜在的な危険性を最少にするために変更可能である。例えば、種々の自己拡張式ステントの配備に伴う摩擦力を減少するために種々のステント配給装置に対して種々の変更を行なうことができる。具体的に言えば、これらの配給装置はその被覆型ステントの特定領域において作用する力を減少するために種々の物質により被覆可能であり、あるいは、種々の特徴部分を含むことができる。
本発明の自己拡張式ステントの配給システムは熱分解性カーボンまたは類似の物質の一定の層により被覆されている一定のシースを含む。この熱分解性カーボンの層はステントの領域内における上記シースの内側の内孔部分またはそのシースの全長に沿って固定できる。また、この熱分解性カーボンは自己拡張式のステントが比較的に柔らかい高分子のシースの中に食い込むことを防ぐために十分に硬質である。加えて、この熱分解性カーボンは一定の潤滑性の物質である。これらの2種類の特性は配備中のステントに対する損傷の変化を減少し、ステントの配備のために必要とされる力を減少するので、医者が配置を達成して比較的に正確なステントの配備を行なうことを容易にする。
上記熱分解性カーボンは上記シースの内孔部に直接的に固定することができ、あるいは、一定の支持体に取り付けた後にその支持体をシースの内孔部に取り付けることも可能である。種々の既知の技法が上記の製造プロセスにおいて利用可能である。上記熱分解性カーボンは生体適合性であり、多数の移植可能な医療装置において現在において利用されている。この熱分解性カーボンの層は上記の特徴を示すために十分に厚いが、配給システムの全体の外形および柔軟性を維持するために十分に薄い。
上記熱分解性カーボンの潤滑性は薬物被覆型のステントに対して特に有利である。すなわち、種々の薬物、薬剤または配合物を含有している薬物の被膜およびポリマーの被膜はその最良の結果のためにステント上に保持されることが当然に好ましい。一方、上記シース上における潤滑性の被膜は上記の薬物またはポリマーが配給中に擦れ落ちる危険性を実質的に減少する。
本発明の自己拡張式ステントの配給システムは一定の改良または変更された軸部を含むこともできる。この改良された軸部はこの軸部からステントの各要素の間の隙間の中に突出している複数の要素を含むことができる。これらの要素はステントの圧縮を防止するか実質的に減少することにより配備中のステントに作用する力を有意義に減少できる。一方、このような複数の要素が無ければ、そのステントはその配給システムの内側の軸部における一定の停止部分に対して移動してこれを圧縮することが起こり得る。さらに、このようなステントの圧縮は比較的に高い配備の力を引き起こす。従って、上記のような複数の要素を含む一定の軸部はこのようなステントの長手方向に沿う移動を無くすか実質的に減少するので、その圧縮を無くすか実質的に減少する。加えて、上記の突出している要素はステントに作用する全体の力をこれら複数の要素の全体に分配するので、そのステントおよびその上の何らかの被膜における局在化した応力が減少する。
本発明の一定の移植可能な医療装置の表面を被覆するための組成物は薬物の放出に対して一定の化学的および物理的なバリアを形成する一定の被膜を達成するための2種類の化学的に異なるポリマーの一定の組み合わせ物を使用している。この組み合わせ物は耐久性があり、潤滑性であり、その被膜中に含まれている任意の薬物、薬剤、および/または配合物の溶出速度において制御を行なう。
灌流バルーン等のような種々の微小針またはその他のカテーテルに基づく配給システムがラパマイシンを含む1種類以上の薬物、薬剤および/または配合物をアテローム硬化症のプラークの部位に配給するために利用できる。この種類の一定領域に及ぶ配給は単独でまたは同一または異なる薬物が固定されている一定の移植可能な医療装置との組み合わせにおいて利用可能である。これらの1種類以上の薬物、薬剤および/または配合物は好ましくは一定の病巣の外膜の空間部分の中に配給される。
ラパマイシン等のような一定の効力の有る治療剤の一定の局所的にまたは一定領域に配給される溶液は一定の全身系的に配給される薬剤または一定の移植可能な医療装置を介して配給される一定の薬剤に優る多数の利点を提供する。例えば、一定の比較的に高い組織における濃度が動脈壁部内における薬剤の直接的な付着により達成できる。さらに、この付着の位置により、一定の薬物溶出式のステントのプロファイルとは異なる一定の薬物濃度のプロファイルが達成できる。加えて、一定の局所的にまたは一定領域に配給される溶液により、一定のステント等のような永久的に移植される装置に対する必要性が無くなり、これにより、炎症性の反応や長期にわたる組織の損傷等のような、そのステント等に伴う副作用が排除できる。しかしながら、上記の局所的にまたは一定領域に配給される溶液が薬物溶出式の種々のステントまたはその他の被覆型の移植可能な医療装置と共に利用可能であることに注目することが重要である。上記のような溶液または液体の配合物の別の利点はその液体配合物中の種々の賦形剤の調節によりその薬物を分配および保持するプロファイルが容易に変更可能になることである。加えて、上記の液体配合物はそれぞれの投与形態の保管および保存寿命を改善するために一定の予備包装型の多数チャンバー式の注入装置により注入の前に速やかに混合することができる。
脆弱性のプラークは一定の脂質に富むコアが平滑筋細胞の薄い層により被覆されている場合の一定の脈管の病気である。これらの脆弱性のプラークは崩壊および浸食しやすく、その薄い炎症性の細胞の層が崩壊または潰瘍化する場合に相当な梗塞部分を生じる可能性がある。すなわち、これらの炎症性の細胞が侵食または崩壊すると、その脂質のコアが血流に露出して、その動脈内に血栓を形成する。さらに、これらの血栓は速やかに成長してその動脈を遮断するか、分離して下流側に移動して塞栓症の状況、不安定なアンギナ、心筋梗塞、および/または突然死を引き起こす可能性がある。本発明は脈管の開通性を維持するように設計されている一定の支持骨格構造に関連しており、この支持骨格構造は脆弱性プラークの崩壊および脂質コアの代謝に付随する炎症およびその他の病状を治療するための1種類以上の治療薬、薬剤および/または配合物を含有している一定の高分子の被膜構造を含む。この場合に、種々の抗炎症性の治療薬、薬剤および/または配合物が上記病気の炎症性の急性の段階に対処するための高速放出用として上記被膜構造の中に組み込むことができ、種々の脂質低量化用の薬物、薬剤および/または配合物が上記病気の慢性の段階に対処するための低速放出用として上記日膜構造の中に組み込むことができる。加えて、多数の薬物を組み合わせることにより一定の相乗効果を得ることが可能である。すなわち、異なる薬物は異なるメカニズムを通して作用することにより、一定の病気の異なる態様において作用する。
薬物の劣化の比較的に一般的な様式の一例は酸化を含む。酸化防止剤は有利ラジカルに対して安全に相互作用して生体分子の損傷の前にこれらの高度に反応性のラジカルにより生じる潜在的な連鎖反応を停止する種々の分子である。換言すれば、酸化防止剤は本質的に種々の分子またはこれらの分子の一部分を損傷する前に遊離ラジカルを不活性にする分子である。従って、酸化防止剤は薬物の劣化を防止または実質的に減少するための薬物配合物中において利用できる。さらに具体的に言えば、酸化防止剤はステント等のような種々の薬物溶出式の移植可能な医療装置を被覆するために利用される酸素に影響を受けやすい薬物および/または薬物/ポリマーの溶液、ならびに、酸化を防ぎ薬物の劣化を減少するための種々の注入可能な薬物の溶液に添加できる。このような酸化による劣化の減少は種々の薬物または薬物被覆型の製品の保存寿命を延長する。
従って、本発明によれば、血栓症、再狭窄またはその他の有害な反応を軽減し、このような作用を達成するために種々の医薬品または治療薬または薬物の使用を含むことができるが必ずしもこれを必要とせず、種々の被覆型装置が比較的に低い最高温度にかけられる時でも、これらの装置において使用することに有効である物理的および機械的な諸特性を有することのできる移植可能な種々の医療装置用のための被膜が提供できる。また、病気を治療し、医療装置の移植に対する生体反応を最少にするか実質的に無くす種々の薬物、薬剤および/または配合物との組み合わせにおける移植可能な医療装置が提供できる。さらに、特定の状況において、傷の治癒および医療装置における内皮化を助長する種々の薬物、薬剤および/または配合物との組み合わせにおける移植可能な医療装置が提供できる。
本発明の種々の薬物/薬物の組み合わせ物および配給装置は脈管の病気、特に傷害により生じる脈管の病気を効果的に予防および治療するために利用できる。脈管の病気の治療において利用されている種々の医療用の治療装置は最終的にさらに別の合併症を誘発する可能性がある。例えば、バルーン式血管形成術は一定の動脈の中を通る血流を増加するために利用されている一定の処置であり、冠動脈の血管狭窄における主要な治療方法である。しかしながら、上述したように、この処置は脈管壁部に対して一定の程度の損傷を生じるために、一定の時間の経過後においてその問題を潜在的に悪化させる可能性がある。別の処置および病気も類似の傷害を生じる可能性があるが、本発明の種々の例示的な実施形態は経皮経内腔式の冠動脈血管形成術およびその他の種々の動脈、静脈およびこれら以外の流体運搬用の各種導管を含む別の類似の動脈/静脈用の処置に続く再狭窄および関連の合併症の治療に関連して説明されている。加えて、上記の被覆処理した種々の医療装置の効果的な配給のための種々の方法および装置が説明されている。
本発明の例示的な実施形態が経皮経内腔式の冠動脈血管形成術に続く再狭窄および関連の合併症の治療に関連して説明されているが、上記薬物/薬物の組み合わせ物の局所的な配給が多数の医療装置を利用して多用な状況を治療すること、およびその装置の機能および/または寿命を向上することのために利用できることに注目することが重要である。例えば、白内障の手術後の視力を回復するために配置される眼内レンズは二次的な白内障の形成により損なわれる場合が多い。後者はレンズ表面上における細胞の過剰成長による場合が多く、その装置に対する1種類以上の薬物の結合により有効に最小化できる。一定の装置の内部、上部およびその周囲における組織の内部増殖または蛋白質様の物質の堆積により故障する場合の多い別の医療装置、例えば、種々の水頭症用のシャント、透析移植片、結腸瘻袋取付け器具、耳ドレナージ管、ペースメーカおよび移植可能な除細動器用のリード線等もまた上記のような装置−薬物の組み合わせの方法により恩恵を受けることができる。組織または器官の構造および機能を改善するために役立つ種々の装置もまた適当な1種類以上の薬剤との組み合わせにおいて種々の有益性を示すことができる。例えば、移植した装置の安定性を向上するための改善された種々の整形外科装置における骨一体化機能が当該装置を骨−形態形成性蛋白質等のような種々の薬剤と組み合わせることにより潜在的に達成可能になる。同様に、別の種々の外科装置、縫合糸、ステープル、吻合装置、椎骨ディスク、骨ピン、縫合糸アンカー、止血用バリア、クランプ、ねじ、プレート、クリップ、血管移植片、組織接着剤およびシール材または密封材、組織支持骨格部材、種々の包帯、骨置換材、内腔内装置、および脈管支持体もまた上記のような薬物−装置の組み合わせ方法により患者における有益性を高めることができる。特に、脈管周囲ラップは単独または他の医療装置との組み合わせにおいて有利であると考えられる。このような脈管周囲ラップは一定の治療部位に対して付加的な薬物を供給することができる。本質的に、任意の種類の医療装置が当該装置または薬剤の1回の使用期間の全体にわたり治療効果を高める一定の薬物または薬物の組み合わせ物により一定の様式で被覆できる。
種々の医療装置に加えて、上記の装置における種々の被膜は種々の治療薬および薬剤を配給するために用いることができ、これらの治療薬および薬剤はビンカ・アルカロイド類(すなわち、ビンブラスチン、ビンクリスチン、ビノレルビン)等のような天然産物、パクリタキセル、エピジポドフィルロトキシン類(すなわち、エトポシド、テニポシド)、各種抗生物質(すなわち、ダクチノマイシン(アクチノマイシンD)、ダウノルビシン、ドキソルビシンおよびイダルビシン)、アントラサイクリン、ミトザントロン、ブレオマイシン、プリカマイシン(ミトラマイシン)およびマイトマイシン、酵素(L−アスパラギンを全身系的に代謝し、自己的にアスパラギンを合成する機能をもたない各種細胞を奪うL−アスパラギナーゼ等)を含む抗増殖/抗有糸分裂剤、G(GP)IIb/IIIa抑制因子およびビトロネクチン受容体拮抗物質等のような抗血小板剤、ナイトロジェン・マスタード(メクロレタミン、シクロホスファミドおよびその類似体、メルファラン、クロラムブシル)、エチレンイミンおよびメチルメラミン(ヘキサメチルメラミンおよびチオテパ)、スルホン酸アルキル類−ブスルファン複合物、ニトロソ尿素類(カルムスチン(BCNU)およびその類似体、ストレプトゾシン)、トラゼン(trazenes)−ダカルバジン(DTIC)複合物等のような抗増殖/抗有糸分裂アルキル化薬、葉酸類似体(メトトレキサート)、ピリミジン類似体(フルオロウラシル、フロクスウリジンおよびシタラビン)、プリン類似体および関連の抑制因子(メルカプトプリン、チオグアニン、ペントスタチンおよび2−クロロデオキシアデノシン{クラドリビン})、白金配位錯体(シスプラチン、カルボプラチン)、プロカルバジン、ヒドロキシ尿素、ミトーテン、アミノグルテチミド、ホルモン類(すなわち、エストロゲン)等のような抗増殖/抗有糸分裂代謝拮抗物質、抗凝固薬(ヘパリン、合成ヘパリン塩類およびその他のトロンビン抑制因子)、フィブリン溶解剤(組織プラスミノゲン活性化因子、ストレプトキナーゼ、ウロキナーゼ等)、アスピリン、ジピリダモール、チクロピジン、クロピドグレル、アブシキマブ、抗遊走薬(antimigratory)、抗分泌薬(ブレベルジン)、さらに、副腎皮質ステロイド(コルチソル、コルチゾン、フルドロコルチゾン、プレドニゾン、プレドニゾロン、6α−メチルプレドニゾロン、トリアムシノロン、ベタメタゾン、およびデキサメタゾン)、非ステロイド系薬(サリチル酸誘導体、すなわち、アスピリン、パラアミノフェノール誘導体、すなわち、アセトミノフェン)等のような抗炎症薬、インドールおよびインデン酢酸(インドメタシン、スリンダク、エトダラック)、ヘテロアリール酢酸(トルメチン、ジクロフェナクおよびケトロラク)、アリールプロピオン酸(イブプロフェンおよびその誘導体)、アントラニル酸(メフェナム酸およびメクロフェナム酸)、エノール酸(ピロキシカム、テノキシカム、フェニルブタゾン、およびオキシフェンタトラゾン)、ナブメトン、金化合物(オーラノフィン、金チオグルコース、金チオリンゴ酸ナトリウム)、免疫抑制剤(シクロスポリン、タクロリムス(FK−506)、シロリムス(ラパマイシン)、アザチオプリン、ミコフェノール酸モフェチル)、血管形成剤、血管内皮細胞増殖因子(VEGF)、線維芽細胞増殖因子(FGF)、アンギオテンシン受容体遮断薬、酸化窒素供与体、アンチセンス・オリゴヌクレオチド類およびこれらの組み合わせ物、細胞周期抑制因子、mTOR抑制因子、および増殖因子信号伝達キナーゼ抑制因子、レテノイド(retenoid)、サイクリン/CDK抑制因子、HMG補酵素レダクターゼ抑制因子(スタチン類)、およびプロテアーゼ抑制因子等を含む。
上述したように、バルーン血管形成術と関連している一定の冠動静脈用ステントの移植は急性の血管閉塞の治療において極めて有効であり、再狭窄の危険性を減少することができる。脈管内超音波調査に関する研究(ミンツ(Mintz)他,1996年)は冠動静脈ステント処理が血管の狭窄を有効に防止すること、およびステント移植後における術後内腔損失の大部分がプラークの増殖によるものであり、恐らくはネオ内膜肥厚化に関連していることを示唆している。この冠動静脈ステント処理後の術後内腔損失は従来的なバルーン式血管形成術後に観察される量のほぼ2倍である。従って、ステントが再狭窄の過程の少なくとも一部分を妨げる限り、平滑筋細胞の増殖を阻止する種々の薬物、薬剤または配合物の一定の組み合わせ物は多数のメカニズムにより炎症を軽減すると共に凝固を軽減するか平滑筋細胞の増殖を阻止するので、一定のステントとの組み合わせにおいてさらに炎症を軽減して凝固を軽減することにより、血管形成術後の再狭窄に対する最も効力のある治療方法を提供する可能性がある。また、同種または異種の薬物/薬物の組み合わせ物の局所配給との組み合わせにおける種々の薬物、薬剤または配合物の全身系的な使用も一定の有益的な治療の選択肢を与える可能性がある。
一定のステントからの薬物/薬物の組み合わせ物の局所的配給は以下の利点、すなわち、血管の反跳およびステントの支持骨格作用による再造形の防止、新内膜の肥厚化または再狭窄の多くの発生要素の阻止ならびに炎症および血栓症の軽減という利点を有している。このようなステント処理した冠動脈への種々の薬物、薬剤または配合物の局所的投与はさらに別の治療上の有益性を有することもできる。例えば、種々の薬物、薬剤または配合物の比較的に高い組織濃度が、全身系的な投与ではなく、局所的な配給を利用することにより達成できる。加えて、減少された全身系の毒性が比較的に高い組織濃度を維持しながら、全身系的な投与ではなく、局所的な配給を利用することにより達成できる。また、全身系的な投与の代わりに一定のステントによる局所的な配給を利用する場合に、1回の処置により患者の比較的に良好な応諾感に十分に対応できる。さらに、上記のような薬物、薬剤、および/または配合物の組み合わせ物の別の有益性は治療用の種々の薬物、薬剤または配合物のそれぞれの用量を減少することができることであり、これにより、それぞれの毒性を制限すると共に、再狭窄、炎症および血栓症の軽減が達成できる。従って、上記のような局所的なステントに基づく治療方法は抗再狭窄性、抗炎症性、および/または抗血栓性の種々の薬物、薬剤または配合物の治癒比率(効力/毒性)を改善する一定の手段である。
経皮経内腔式の冠動脈形成術後に利用できる多数の異なるステントが存在する。このような多数のステントを本発明に従って利用することが可能であるが、簡明化のために、限定された数のステントが本発明の例示的な実施形態において説明されている。なお、熟練した当業者であれば、任意数のステントが本発明に関連して利用可能であることが認識できる。加えて、上述したように、別の医療装置も利用可能である。
ステントは一般的に、一定の障害を軽減するために一定の管路の内腔内に留置される一定の管状の構造体として用いられる。一般的に、ステントは一定の非拡張状態の形態で内腔内に挿入された後に、自律的にまたは原位置における第2の装置の補助により拡張する。代表的な拡張方法は一定のカテーテル取付型の血管形成用バルーンを狭窄した血管または体内通路の中において膨張させて血管壁部の各構成要素に付随している種々の障害物を剪断および崩壊して一定の拡張状態の内腔を形成することにより行なわれる。
図1は、本発明の例示的な実施形態により利用可能である例示的なステント100を示している。この拡張可能な円筒形のステント100は血管、管路または内腔の中に配置されてその血管、管路または内腔を開口状態に保つための、特に、動脈の一部分を血管形成術後の再狭窄から保護するための一定の有窓構造を含む。このステント100は円周方向に拡張して一定の拡張した形態に維持することができ、円周方向または半径方向に剛性になる。さらに、このステント100は軸方向に柔軟であり、一定の帯域部分において曲がる場合に、このステント100は外部に突出する構成部分を含まないようになっている。
上記ステント100は一般に第1の端部および第2の端部およびこれらの端部の間における一定の中間部分を有している。さらに、このステント100は一定の長手軸を有していて、複数の長手方向に配置された帯域部分102を含んでおり、この場合に、それぞれの帯域部分102は上記長手軸に対して平行な一定の線分に沿って一定の概ね連続的な波形を定めている。さらに、複数の円周方向に配列されている連結部材104が各帯域部分102を一定の実質的に管状の構造に維持している。本質的に、長手方向に配置されている各帯域部分102は複数の周期的な位置において、短い円周方向に沿って配列されている連結部材104を介して、隣接している各帯域部分102に接続している。これらの帯域部分102のそれぞれに付随する波形はその中間部分における基本的な空間的周波数と概ね同一の周波数を有しており、各帯域部分102は、互いに概ね同一の位相になるように、これらに付随する波形が概ね整合するように配置されている。図示のように、長手方向に配列されている各帯域部分102はその隣接している帯域部分102に対する連結部分までの間にほぼ2周期で波打ちしている。
上記ステント100は多数の方法を利用して作成することができる。例えば、このステント100はレーザー、放電フライス加工、化学的エッチングまたはその他の手段により機械加工可能な中空のまたは成型処理したステンレス鋼管により作成できる。このようなステント100は体内に挿入されて一定の非拡張状態の形態で所望の部位に配置される。一例の例示的な実施形態において、上記の拡張は一定のバルーン・カテーテルにより一定の血管内において行なうことができ、この場合に、そのステント100の最終的な直径は使用するバルーン・カテーテルの直径の一定の関数である。
本発明のステント100が、例えば、ニッケルおよびチタンまたはステンレス・スチールの一定の適当な合金またはステンレス・スチールを含む一定の形状記憶材料において実施可能であることが当然に認識されると考える。さらに、このようなステンレス・スチールにより形成される構造は、例えば、この材料を一定の編み組み状の形態にねじることによる等の一定の様式でそのステンレス・スチールを構成することにより自己拡張型にすることができる。このような実施形態においては、ステント100を形成した後に、このステントを圧縮して挿入手段により一定の血管またはその他の組織内への挿入を可能するために十分に小さい一定の空間部分を占めるようにすることが可能であり、この場合に、上記挿入手段は、一定の適当なカテーテルまたは柔軟な棒材を含む。さらに、カテーテルから出る時に、上記ステント100は所望の形態に拡張するように構成でき、この場合に、この拡張は自動的であるか、圧力、温度または電気等の刺激の変化により開始する。
図2は、図1に示すステント100を利用している本発明の例示的な実施形態を示している。図示のように、このステント100は、1個以上の貯蔵部分106を有するように変更可能である。これらの貯蔵部分106はそれぞれ要望に応じて開閉できる。さらに、これらの貯蔵部分106は配給する薬物/薬物の組み合わせ物を保持するように特別に設計することができる。また、このようなステント100の設計とは無関係に、上記薬物/薬物の組み合わせ物の用量は病巣の領域中に一定の有効な用量を供給するために十分な特異性および十分な濃度で供給することが好ましい。この点に関して、上記各帯域部分102内の貯蔵部分の寸法は好ましくは上記薬物/薬物の組み合わせ物の用量を所望の場所において所望の量で適当に供給するように寸法付けられている。
一定の代替的で例示的な実施形態において、上記ステント100の内表面部および外表面部の全体を治療的な用量における上記薬物/薬物の組み合わせ物により被覆することも可能である。さらに、再狭窄を治療するための一定の薬物および例示的な被覆技法についての詳細な説明が以下において記載されている。また、このような被覆技法が上記薬物/薬物の組み合わせ物に応じて変更可能であることに注目することが重要である。さらに、この被覆技法は上記ステントまたはその他の内腔内医療装置を構成する材料に応じて変更することも可能である。
ラパマイシンは米国特許第3,929,992号に開示されているようにストレプトミセス属ハイグロスコピカスにより生成される一定の大環状トリエン型の抗生物質である。このラパマイシンは、とりわけ、生体内における血管平滑筋細胞の増殖を抑制することが知られている。従って、ラパマイシンは、特に、生物学的にまたは機械的に媒介される脈管の損傷に続いて、あるいは、一定の哺乳類動物を脈管損傷に罹りやすくすると考えられる諸条件下において、一定の哺乳類動物の内膜平滑筋細胞の肥厚化、再狭窄および血管閉塞の治療に利用することができる。また、ラパマイシンは、平滑筋細胞の増殖を抑制するように機能し、血管壁部の再内皮化を妨げない。
上記ラパマイシンは血管形成術により誘発する傷害において放出される種々のマイトジェン信号に応答して平滑筋の増殖に拮抗することにより血管の過形成を軽減する。細胞周期後期のG1期における増殖因子およびサイトカインにより媒介される平滑筋増殖の抑制はラパマイシンの作用の主要なメカニズムであると考えられる。しかしながら、ラパマイシンはまた、全身系的に投与される場合に、T細胞の増殖および分化を阻止することも知られている。このことがラパマイシンの免疫抑制活性および移植片拒絶反応を阻止する能力に対応する論拠である。
本明細書において用いられているように、ラパマイシンはFKBP12およびその他の免疫促進物質に結合してTORの抑制を含むラパマイシンと同一の薬理学的な諸特性を有する全ての類似体、誘導体および共役体を含む。
ラパマイシンの抗増殖効果は全身系的な使用により達成できるが、さらに優れた結果がその配合物の局所的配給により達成できる。本質的に、ラパマイシンはその配合物に近接している組織内で作用し、その配給装置からの距離が増大するにつれて効果が減少する。このような作用を利用するために、ラパマイシンを内腔壁部に直接的に接触させることが望ましいと考えられる。従って、好ましい実施形態において、ラパマイシンはステントまたはその種々の部分の表面上に組み込まれている。本質的に、ラパマイシンは好ましくは、図1において示されている、ステント100の中に組み込まれており、この場合に、このステント100は内腔壁部に対して接触する。
ラパマイシンは多くの方法においてステント上に組み込むかこれに対して固定することができる。例示的な実施形態において、ラパマイシンは一定のポリマー基材の中に直接的に組み込まれており、ステントの外表面部に吹き付けられる。その後、このラパマイシンは経時的にそのポリマー基材から溶出して周囲の組織に入り込む。このラパマイシンは好ましくは少なくとも3日間乃至約6ヶ月間、さらに好ましくは7日間乃至30日間にわたりステント上に留まっている。
多数の非侵食性のポリマーが上記のラパマイシンに関連して利用できる。一例の例示的な実施形態において、上記ラパマイシンまたはその他の治療薬を一定の皮膜形成用のポリフルオロ・コポリマー中に組み込むことができ、この皮膜形成用のポリフルオロ・コポリマーは、重合化フッ化ビニリデンおよび重合化テトラフルオロエチレンから成る群から選択される一定量の第1の成分、およびこの第1の成分とは異なり、当該第1の成分と共重合されることにより上記ポリフルオロ・コポリマーが生成される一定量の第2の成分を含有しており、この第2の成分は上記ポリフルオロ・コポリマーに靱性または弾性を賦与することができ、上記第1の成分と第2の成分の相対的な各量は種々の移植可能な医療装置の処理において使用するために有効な諸特性を伴ってこれらから作成される被膜およびフィルムを形成することにおいて有効な量である。
本発明は一定のポリフルオロ・コポリマーを含む種々の高分子の被膜、および、例えば、血管形成術において用いられる場合に血栓および/または再狭窄を減少するために有効な種々の量で上記高分子の被膜の一定のフィルムにより被覆されている、例えば、ステント等のような移植可能な種々の医療装置を提供している。本明細書において用いられているように、ポリフルオロ・コポリマーは重合化フッ化ビニリデンおよび重合化テトラフルオロエチレンから成る群から選択される一定量の第1の成分、およびこの第1の成分とは異なり、当該第1の成分と共重合されることにより上記ポリフルオロ・コポリマーが生成される一定量の第2の成分を含有する種々のコポリマーを意味し、この第2の成分は上記ポリフルオロ・コポリマーに靱性または弾性を賦与することができ、上記第1の成分と第2の成分の相対的な各量は種々の移植可能な医療装置の被覆において使用するために有効な諸特性を伴ってこのようなポリフルオロ・コポリマーから作成される被膜およびフィルムを形成するために有効な量である。
上記被膜は再狭窄、炎症および/または血栓を軽減するための薬剤または治療薬を含むことができ、これらの被膜により被覆されているステントは種々の薬剤の持続した放出を行なうことができる。本発明の特定のポリフルオロ・コポリマーの被膜から調製される種々のフィルムは、種々の装置の被膜およびフィルムが曝される最高温度が比較的に低い温度に制限されている場合においても、従来の被覆型の医療装置において必要とされる物理的および機械的な諸特性を示す。このことは、上記の被膜/フィルムを用いて熱に対して敏感な薬剤/治療薬または薬物を配給する場合、または、上記被膜をカテーテル等のような温度に敏感な装置に供給する場合に特に重要である。一方、最高の暴露温度が問題にならない場合、例えば、イトラコナゾール等のような熱安定性の薬物を被膜中に組み込む場合には、比較的に高い融点の熱可塑性ポリフルオロ・コポリマーを用いることができ、極めて高い伸び率および付着性が必要とされる場合には、種々のエラストマーを用いることができる。望まれる場合または必要とされる場合に、種々のポリフルオロ・エラストマーが、例えば、「モダーン・フルオロポリマーズ(Modern Fluoropolymers)」,(J.シャイヤーズ(J. Shires)編集),ジョン・ウィリー・アンド・サンズ(John Wiley & Sons),ニューヨーク,1997年,p.77−87において記載されている標準的な種々の方法により架橋できる。
本発明は種々の医療装置用の改善された生体適合性の被膜またはビヒクルを形成するポリフルオロ・コポリマーを含む。これらの被膜は再狭窄または血栓、あるいは他の望ましくない種々の反応を軽減するために十分な、例えば、人間等のような、一定の哺乳類動物の身体組織に対して接触することにおいて不活性な生体適合性の表面部分を賦与する。多くの報告されているポリフルオロ・ホモポリマーにより作成した被膜は不溶性であり、さらに/または、移植可能な種々の装置、例えば、ステント等において使用する場合に適当な物理的および機械的な諸特性を備えたフィルムを得るために、例えば、約125℃以上の温度の高い熱を必要とし、あるいは、特定的に靱性または弾性を有していないが、本発明のポリフルオロ・コポリマーにより調製したフィルムは、種々の医療装置において形成される場合に、適当な接着性、靱性または弾性および亀裂に対する耐性を賦与する。また、特定の例示的な実施形態において、上記のことは種々の医療装置が比較的に低い最高温度に曝される場合においても言える。
本発明の被膜において用いられているポリフルオロ・コポリマーは好ましくは蝋質または粘着質にならない程度に十分に高い分子量を有する皮膜形成用のポリマーである。さらに、これらのポリマーおよびこれらにより形成される皮膜はステントに付着して、そのステント上に付着した後に容易に変形して血流の応力により移動可能になることのないことが当然に好ましい。また、このポリマーの分子量はこのポリマーを含むフィルムがステントの取扱いまたは配備中に摩擦により剥がれ落ちないように十分な靱性を賦与する程度に十分に高いことが当然に好ましい。特定の例示的な実施形態において、上記被膜はステントまたはその他の医療装置の膨張が生じる場合に亀裂を生じない。
本発明の被膜は上述したようなポリフルオロ・コポリマーを含有している。このポリフルオロ・コポリマーを調製するために上記第1の成分と重合される上記第2の成分は一定の哺乳類動物に移植する場合に許容し得る生体適合性の種々のポリマーを形成すると共に、本明細書における特許請求の範囲に記載されているそれぞれの医療装置において使用するために十分な弾性フィルムの諸特性を維持すると考えられる重合化した生体適合性の種々のモノマーから選択できる。このようなモノマーはヘキサフルオロプロピレン(HFP)、テトラフルオロエチレン(TFE)、フッ化ビニリデン、1−ヒドロペンタフルオロプロピレン、ペルフルオロ(メチルビニルエーテル)、クロロトリフルオロエチレン(CTFE)、ペンタフルオロプロピレン、トリフルオロエチレン、ヘキサフルオロアセトンおよびヘキサフルオロイソブチレンを含むがこれらに限定されない。
本発明において用いられるポリフルオロ・コポリマーは一般的に約50乃至約92重量%のフッ化ビニリジン(vinilidinefluoride)および約50乃至約8重量%のヘキサフルオロプロピレン(HFP)の範囲の重量比率でフッ化ビニリジンおよびヘキサフルオロプロピレンを含有している。好ましくは、本発明おいて用いられるポリフルオロ・コポリマーは約50乃至約15重量%のHFPと共重合している約50乃至約85重量%のフッ化ビニリジンを含有している。さらに好ましくは、上記ポリフルオロ・コポリマーは約45乃至約30重量%のHFPと共重合している約55乃至約70重量%のフッ化ビニリジンを含有している。さらに好ましくは、上記ポリフルオロ・コポリマーは約45乃至約35重量%のHFPと共重合している55乃至約65重量%のフッ化ポリビニリジンを含有している。これらのポリフルオロ・コポリマーはジメチルアセトアミド(DMAc)、テトラヒドロフラン、ジメチルホルムアミド、ジメチルスルホキシドおよびn−メチル・ピロリドン等のような種々の溶媒中において、種々の度合いで溶ける。さらに、一部のポリフルオロ・コポリマーはメチルエチルケトン(MEK)、アセトン、メタノールおよびその他の従来の移植可能な医療装置に対して種々の被膜を供給する場合に一般的に用いられる溶媒中において可溶性である。
従来のポリフルオロ・ホモポリマーは結晶質であり、このポリマーの溶融温度(Tm)に一致する比較的に高い温度にその被膜を曝すことなく種々の金属の表面に高品質のフィルムを供給することが困難である。このような高い温度は上記装置に対するフィルムの十分な接着性を示すと共に、好ましくはその被覆した医療装置の膨張/収縮時におけるフィルムの割れに耐えるために十分な柔軟性を維持する上記のようなPVDFホモポリマー等の被膜により調製されている種々のフィルムを形成するために役立つ。本発明による特定のフィルムおよび被膜は、これらの被膜およびフィルムが曝される最高温度が概ね所定の最高温度よりも低い場合であっても、それぞれの同一の物理的および機械的な諸特性、あるいは、実質的に同一の諸特性を示す。このことは、上記の被膜/フィルムが、例えば、化学的または物理的な劣化あるいはその他の熱により誘発する種々の悪影響等のような、熱の影響を受けやすい薬剤または治療薬または薬物を含む場合、あるいは、例えば、熱により誘発する組成上または構造上の劣化を受けやすい種々の医療装置における熱に対して敏感な支持体を被覆する場合に特に重要である。
本発明の被膜およびフィルムが供給される特定の装置およびこの装置において必要とされる特定の用途/結果に応じて、これらの装置を調製するために用いるポリフルオロ・コポリマーは結晶質、半結晶質または非晶質のいずれにすることも可能である。
装置が当該装置の高温に対する曝露に関する制約条件または制限条件を有していない場合には、結晶質のポリフルオロ・コポリマーを使用することができる。このような結晶質のポリフルオロ・コポリマーはそれぞれのガラス転移(Tg)温度よりも高い温度に曝され場合に、加えられる応力または重力下における流動性の増加に抵抗する傾向を有している。このような結晶質のポリフルオロ・コポリマーはこれらの完全な非晶質の対応物よりも靱性の高い被膜およびフィルムを形成する。加えて、このような結晶質のポリマーは比較的に潤滑性が高く、例えば、ニチノール・ステント等のような自己拡張型のステントを取り付けるために用いられるけん縮および移送の処理において比較的に容易に取り扱える。
一方、半結晶質および非晶質のポリフルオロ・コポリマーは高い温度に曝されることが問題である場合、例えば、熱の影響を受けやすい薬剤または治療薬がその被膜またはフィルムに混合されている場合、あるいは、装置の設計、構造および/または用途が上記のような高い温度に曝されることを除外している場合に有利である。例えば、VDF等のような上記第1の成分と共重合している、例えば、約30乃至約45重量%のような比較的に多量の、例えば、HFP等のような上記第2の成分を含有している半結晶質のポリフルオロ・コポリマーの種々のエラストマーは非晶質のポリフルオロ・コポリマーの種々のエラストマーに比して摩擦係数および自己遮断性が低いという利点を有している。このような特徴は上記のようなポリフルオロ・コポリマーにより被覆されている種々の医療装置を加工、包装および配給する場合に相当な有用性を有すると考えられる。加えて、比較的に高い含有率の上記第2の成分を含有している上記のようなポリフルオロ・コポリマーのエラストマーはそのポリマー中における、例えば、ラパマイシン等のような特定の薬剤の溶解性を調整し、それゆえ、その基材中または基質中におけるその薬剤の浸透性を調整することに役立つ。
本発明において利用されているポリフルオロ・コポリマーは種々の既知の重合法により調製できる。例えば、アジロルジ(Ajroldi)他,「フルオロエラストマーズ−ディペンデンス・オブ・リラクゼーション・フェノメナ・オン・コンポジションズ(Fluoroelastomers-dependence of relaxation phenomena on compositions)」,ポリマー(POLYMER),30巻,p.2180,1989年において開示されているような高圧遊離ラジカル半連続式乳化重合法が種々の非晶質のポリフルオロ・コポリマーを調製するために使用することができ、これらの一部をエラストマーにすることも可能である。加えて、この文献において開示されている遊離ラジカル・バッチ式の乳化重合法は比較的に多量の第2の成分が含まれている場合においても、半結晶質である種々のポリマーを得るために使用できる。
上述のように、ステントは多様な材料により多様な幾何学的形状に構成できる。また、これらのステントは生体安定性で生体吸収性の種々の材料を含む生体適合性の種々の材料により作成できる。適当な生体適合性の金属はステンレス・スチール、タンタル、種々のチタン合金(ニチノールを含む)、および種々のコバルト合金(コバルト−チタン−ニッケル合金を含む)を含むがこれらに限定されない。また、適当な非金属製の生体適合性の材料は種々のポリアミド、ポリオレフィン(すなわち、ポリプロピレン、ポリエチレン等)、非吸収性ポリエステル(すなわち、ポリエチレン・テレフタレート等)、および生体吸収性の脂肪族ポリエステル(すなわち、乳酸、グリコール酸、ラクチド、グリコリド、パラジオキサノン、トリエチレンカーボネート、ε−カプロラクトンおよびこれらの混合物のホモポリマーおよびコポリマー等)を含むがこれらに限定されない。
上記フィルム形成用の生体適合性ポリマーの被膜は一般にステントの中を通る血液の流れの局所的な乱流を減少すると共に有害な種々の組織反応を減少するためにステントに供給される。これらの被膜およびこれらにより形成される種々のフィルムもまた一定の薬剤として活性な物質をステントの配置部位に投与するために使用できる。一般に、ステントに供給されるポリマー被膜の量は、考えられるパラメータの内において、とりわけ、被膜を調製するために使用する特定のポリフルオロ・コポリマー、ステントの設計および被膜における所望の効果に応じて変化する。一般に、被覆されたステントは約0.1乃至15重量%、好ましくは約0.4乃至約10重量%の被膜を含む。また、上記ポリフルオロ・コポリマーの被膜は、その供給されるポリフルオロ・コポリマーの量に応じて、1回以上の塗布工程において供給できる。さらに、異なるポリフルオロ・コポリマーをステントの被膜の中において互いに異なる層に対応して用いることも可能である。実際に、特定の例示的な実施形態において、種々の薬剤として活性な物質を含有できる後続のポリフルオロ・コポリマーの被膜層の接着を助長するための一定のプライマーとして一定のポリフルオロ・コポリマーを含む希釈した第1の塗布溶液を用いることが極めて有利である。さらに、個々の被膜を互いに異なるポリフルオロ・コポリマーにより調製することも可能である。
加えて、一定の上部被膜を薬剤の放出を遅延するために供給することも可能であり、あるいは、これらの被膜を異なる薬剤として活性な物質の配給のための基材として使用することも可能である。また、このような被膜の層状化は薬剤の放出を段階的にするために、あるいは、異なる層の中に配置されている異なる薬剤の放出を調整するために用いることもできる。
また、種々のポリフルオロ・コポリマーの混合物を用いて異なる薬剤の放出速度を調整することができ、あるいは、種々の被膜特性、すなわち、弾性、靱性等、および薬物の種々の配給特性、例えば、放出特性の一定の望ましいバランスを形成することができる。さらに、種々の溶剤中において異なる溶解度を有する種々のポリフルオロ・コポリマーを用いることにより、異なる薬物を配給するために、あるいは、一定の薬物の放出特性を調整するために使用可能な異なるポリマー層を構築できる。例えば、85.5/14.5(重量/重量)のポリ(フッ化ビニリジン/HFP)から成るポリフルオロ・コポリマーと60.6/39.4(重量/重量)のポリ(フッ化ビニリジン/HFP)から成るポリフルオロ・コポリマーは共にDMAc中において溶ける。しかしながら、60.6/39.4のPVDFポリフルオロ・コポリマーだけがメタノール中において溶ける。従って、一定の薬物を含む80.5/14.5のPVDFポリフルオロ・コポリマーの第1の層をメタノール溶媒により作成した60.6/39.4のPVDFポリフルオロ・コポリマーの上部被膜または上部被膜材により被覆することが可能である。この上部被膜は上記第1の層中に含まれている薬物の配給を遅延するために使用できる。あるいは、この第2の層は連続的な薬物配給を行なうために一定の異なる薬剤を含むことも可能である。さらに、第1の種類のポリフルオロ・コポリマー、および別の種類のポリフルオロ・コポリマーの交互の層により異なる薬物の多数個の層を備えることも可能である。すなわち、当該技術分野における熟練者により容易に認識されるように、多数の層状化方式が所望の薬物配給を行なうために使用できる。
種々の被膜が1種類以上の治療薬と上記被膜の種々のポリフルオロ・コポリマーを一定の被膜混合物中において混合することにより配合できる。この治療薬は、一定の液体、微細粉砕した固体または任意の別の適当な物理的形態として存在できる。随意的に、例えば、上記被膜混合物は種々の稀釈剤、キャリヤー、賦形剤、安定化剤等のような、無毒性の補助物質を含む1種類以上の添加物を含有できる。さらに、別の適当な添加物が上記のポリマーおよび薬剤として活性な物質または配合物と共に配合できる。例えば、一定の親水性のポリマーを一定の生体適合性で疎水性の被膜に添加してその放出特性を変更することができ、あるいは、一定の疎水性のポリマーを一定の親水性の被膜に添加することによりその放出特性を変更することも可能である。一例として、ポリエチレン・オキシド、ポリビニル・ピロリドン、ポリエチレン・グリコール、カルボキシルメチル・セルロースおよびヒドロキシメチル・セルロースから成る群から選択される一定の親水性のポリマーを一定のポリフルオロ・コポリマーの被膜に添加してその放出特性を変更することが考えられる。これらの適当な相対量は種々の治療薬についての生体外(in vitro)および/または生体内(in vivo)における放出特性をモニターすることにより決定できる。
上記被膜の供給において最良の条件は上記ポリフルオロ・コポリマーと薬剤が一定の共通の溶剤を有している場合である。これにより、一定の真正の溶液である液状塗料が得られる。また、望ましさの点において劣るが、依然として使用可能な状態として、上記ポリマーの溶媒中における一定の溶液中において一定の固形の分散物として上記薬剤を含有している被膜もある。このような分散の条件下においては、分散している薬剤粉末の粒度または粒径、およびその主な粉末の寸法およびその凝集体と集塊物の両方が不規則な塗膜面を生じない程度に、あるいは、被膜の実質的に無い状態を維持することが必要なステントの各スロット部分を詰まらせない程度に十分に小さくなることを確実にするために注意を払う必要がある。一定の分散物をステントに供給して、その被膜フィルム表面の滑らかさを改善することが必要である場合、または、薬物の全ての粒子が確実に完全にポリマー中に包み込まれるようにすることが必要である場合、あるいは、薬物の放出速度を遅延することが必要である場合に、その薬物の持続した放出を行なうために使用される同一のポリフルオロ・コポリマーまたはその被膜からの薬物の拡散をさらに制限する別のポリフルオロ・コポリマーの透明な(ポリフルオロ・コポリマーだけの)上部被膜を供給することができる。この上部被膜はマンドレルによる浸漬塗布により供給することにより各スロット部分を開口することができる。この方法は米国特許第6,153,252号明細書において開示されている。さらに、上記上部被膜を供給するための別の方法はスピン塗布法および吹付塗布法を含む。なお、この上部被膜の浸漬塗布は上記薬物がその被膜溶剤中に極めて溶けやすい場合に問題を生じる可能性があり、この溶媒はポリフルオロ・コポリマーを膨潤させて、その透明な被覆溶液が一定のゼロ濃度シンクとして作用して先に付着していた薬剤を再び溶かしてしまう。さらに、薬物がその薬物を含まない槽の中に抽出されないようにするために、その浸漬槽中における消費時間を制限する必要がある。加えて、先に付着していた薬物が上記の上部被膜の中に完全に拡散しないように乾燥を速やかに行なう必要がある。
上記治療薬の量は使用する特定の薬物および治療を受けている医療状況に応じて決まる。一般的に、この薬物の量は被膜の全重量の約0.001%乃至約70%、さらに一般的には被膜の全重量の約0.001%乃至約60%である。また、この薬物は被膜の全重量の0.0001%程度の少ない量であることも有り得る。
薬剤を含む被膜フィルム中に用いられているポリフルオロ・コポリマーの量および種類は所望の放出特性および使用する薬剤の量に応じて変化する。この生成物は所望の放出特性または任意の配合に対する一貫性を示すように異なる分子量を有する同種または異種のポリフルオロ・コポリマーの混合物を含むことができる。
ポリフルオロ・コポリマーは拡散により分散状態の薬剤を放出することができる。この結果、有効量(0.001μg/cm2 −分乃至1000μg/cm2 −分)の薬剤の延長された配給(例えば、約1000時間乃至2000時間、好ましくは、200時間乃至800時間にわたる配給)を行なうことができる。この投薬量は治療を受けている患者、病気の重症度、処方医の判断等に合わせることができる。
所望の薬剤放出特性を達成するために、種々の薬剤およびポリフルオロ・コポリマーの個々の配合物を適当な生体外および生体内のモデルにおいて試験することができる。例えば、一定の薬剤を一定のポリフルオロ・コポリマーまたは種々のポリフルオロ・コポリマーの混合物と配合し、一定のステント上に塗布し、攪拌または循環している一定の流体システム、例えば、25%のエタノール水溶液の中に配置する。さらに、これらの循環している流体中におけるサンプルを取り出してその放出特性を決定することができる(例えば、HPLC、UV分析法または放射線タグ付きの各種分子の使用等による)。さらに、一定のステント被膜からの一定の内腔の内壁部の中への一定の薬剤配合物の放出が適当な動物体システムにおいてモデル化できる。その後、その薬剤放出特性が、例えば、サンプルを特定の時点で採取して、各サンプルをその薬物濃度についてアッセイする(HPLCを用いて薬剤濃度を検出する)等のような、適当な手段によりモニターできる。また、血栓形成はハンソン(Hanson)およびヘーカー(Harker),「プロシーディング・ナショナル・アカデミカル・ソサイエテイ・ユーエスエー(Proc. Natl. Acad. Sci. USA),85巻,p.3184−3188,(1988年)により記載されている血小板内画像処理法を用いて種々の動物体モデルにおいてモデル化できる。また、上記の手順またはこれに類似の手順に従うことにより、当該技術分野における熟練者であれば、種々のステント被膜配合物が配合可能になる。
本発明の要件ではないが、上記の被覆およびフィルムは種々の医療装置に供給した後に架橋することができる。この架橋は既知の架橋処理のメカニズムの内の任意のもの、例えば、化学薬品、熱または光により行なうことができる。加えて、この架橋処理の開始剤および促進剤も適用可能で適当であれば使用可能である。薬剤を含有している種々の架橋フィルムを利用している例示的な実施形態において、その硬化処理がその被膜からの薬剤の拡散速度に影響を及ぼす可能性がある。さらに、本発明の種々の架橋したポリフルオロ・コポリマー・フィルムおよび被膜は移植可能な種々の医療装置の表面を改質するために薬剤を伴わずに使用することも可能である。
実施例
実施例1:
それぞれF19NMRにより決定した場合に92/8重量%および91/9重量%のフッ化ビニリデン/HFPである、一定のPVDFホモポリマー(テキサス州ヒュートンのソルベイ・アドバンスド・ポリマーズ社(Solvay Advanced Polymers)から入手可能なソレフ(Solef)(登録商標)1008、融点は約175℃)およびポリ(フッ化ビニリデン/HFP)のポリフルオロ・コポリマー(それぞれ、例えば、テキサス州ヒュートンのソルベイ・アドバンスド・ポリマーズ社(Solvay Advanced Polymers)から入手可能なソレフ(Solef)(登録商標)11010および11008、融点は約159℃および160℃)を種々のステント用の可能性のある被膜として調べた。上記のポリマーはDMAc、N,N−ジメチルホルムアミド(DMF)、ジメチルスルホキシド(DMSO)、N−メチルピロリドン(NMP)、テドラヒドロフラン(THF)およびアセトンを含むがこれらに限らない種々の溶媒中において溶ける。これらのポリマーを一定のプライマーとしてアセトン中に5重量%で溶解するか、そのポリマーを一定の上部被膜として50/50DMAc/アセトン中に30重量%で溶解することによりそれぞれのポリマー被膜を調製した。この場合に、浸漬によりステントに供給して、数時間にわたり空気中において60℃で乾燥した後に、100mmHg(1.33×104 パスカル)以下の一定の真空中において3時間にわたり60℃で乾燥した種々の被膜は白色の発泡体状のフィルムを形成した。供給時において、これらのフィルムはステントに対する接着性が欠けており、剥がれ落ちて、過度に脆いことが分かった。さらに、上記の様式で被覆したステントを175℃を超える温度、すなわち、そのポリマーの融点を超える温度に加熱すると、一定の透明で付着性のフィルムが形成された。それゆえ、高品質のフィルムを達成するためには、種々の被膜は高い温度を、例えば、ポリマーの融点を超える温度を必要とする。上述したように、このような高温の熱処理は大部分の薬剤配合物においてこれらの熱に対する影響の受けやすさにより許容し得ない。
実施例2:
19NMRで決定した場合に14.5重量%のHFPと共重合している85.5重量%のフッ化ビニリデンを含有しているおポリフルオロ・コポリマー(ソレフ(Solef)(登録商標)21508)を評価した。このコポリマーは上記実施例1において記載されているポリフルオロ・ホモポリマーおよびコポリマーよりも結晶性が低い。さらに、このコポリマーは約133℃であると報告されている低い融点も有している。この場合も同様に、約20重量%の上記ポリフルオロ・コポリマーを含む一定の被膜を50/50のDMAc/MEK中における一定のポリマー溶液により供給した。数時間にわたり60℃で(空気中において)乾燥した後に、100mmHg(1.33×104 パスカル)以下の真空中において3時間にわたり60℃で乾燥することにより透明な付着性のフィルムを得た。この方法は高品質のフィルムを達成するための一定の高温の熱処理の必要性を排除している。このようにして得られた被膜は上記実施例1の被膜よりも滑らかであり且つ付着性が高かった。膨張処理を受けた一部の被覆型ステントはフィルムが金属から離れるためにある程度の付着性の低下と「テント状化(tenting)」を示した。そこで、必要である場合には、上記の各コポリマーを含有している被膜の改質を、例えば、種々の可塑剤等をその被膜配合物に添加する等により行なうことができる。このような被膜により調製される種々のフィルムは、特に、これらの装置が種々のステントの程度まで膨張することに対して影響を受けにくい場合に、それぞれのステントおよびその他の医療装置を被覆するために使用できる。
上記の被覆処理を繰り返し、この場合に、上記85.5/14.6(重量/重量)の(フッ化ビニリデン/HFP)および被膜の固形物の全重量に基づいて約30重量%のラパマイシン(ペンシルベニア州フィラデルフィアのウエイス−イヤースト・ラボラトリーズ社(Wyeth-Ayesrt Labratories))を含む一定の被膜を得た。この結果、場合により被覆型ステントの膨張時に割れまたは剥がれを生じる透明な種々のフィルムが得られた。さらに、種々の可塑剤等を上記の被膜の組成に含ませることにより、このような割れおよび剥がれが生じにくい種々のステントおよびその他の医療装置において使用するための被膜およびフィルムが得られると考えられる。
実施例3:
その後、上記よりもさらに高いHFP含有量のポリフルオロ・コポリマーを試験した。この系列のポリマーは半結晶質ではなく、エラストマーとして市販されている。一例のこのようなコポリマーはフルオレル(Fluorel)(商標)FC2261Q(ミネソタ州オークデールのダイニオン社(Dyneon)、3M−ホエストエンタープライズの1社(3M-Hoecht Enterprise))、すなわち、フッ化ビニリデン/HFPの60.6/39.4(重量/重量)のコポリマーである。このコポリマーは室温よりも十分に低いTg(ガラス転移点)(このTgは約−20℃)を有しているが、室温または60℃でも粘着性にならない。このポリマーは示差走査熱量計(DSC)または広角X線回折法により測定した場合に、検出可能な結晶質を持たない。上述したようなステント上に形成されるフィルムは非粘着性で、透明であり、ステントの拡張時に問題を生じることなく膨張する。
上述の被覆処理を繰り返して、被膜固形物の全重量に基づいて、60.6/39.4(重量/重量)(フッ化ビニリデン/HFP)および約9重量%、30重量%および50重量%のラパマイシン(ペンシルベニア州フィラデルフィアのウエイス−イヤースト・ラボラトリーズ社(Wyeth-Ayerst Labratories))を含む被膜をそれぞれ得た。この場合に、約9重量%および30重量%のラパマイシンを含む各被膜はステント上において問題を生じることなく拡張した白色で付着性の強靱なフィルムを形成した。同様に、50%の薬剤を混入すると、その結果として、膨張時において付着性がある程度失われた。
ポリフルオロ・コポリマーのコモノマー配合物中の変化もまた、乾燥後において、その固体状態の被膜の性質に影響を及ぼす可能性がある。例えば、85.5重量%のフッ化ビニリデンを14.5重量%のHFPと重合させたものを含む半結晶質コポリマーのソレフ(Solef)(登録商標)21508はDMAcおよび50/50DMAc/MEK中に約30%のラパマイシン(固体の全重量、例えば、薬剤+コポリマーで割った薬剤の重量)と共に均質な溶液を形成する。このフィルムを乾燥すると(16時間にわたり60℃で処理した後に、3時間にわたり60℃で100mmHg(1.3×104 パスカル)の真空中で処理した)、ポリマー中における一定の薬剤の固溶体を示す一定の透明な被膜が得られる。これとは逆に、60.6/39.5(重量/重量)のPDVF/HFPの非晶質コポリマーであるフルオレル(Fluorel)(商標)FC2261QはDMAc/MEK中におけるラパマイシンの一定の同様な30%溶液を形成し、同様に乾燥すると、その薬物およびポリマーの相分離を示す一定の白色のフィルムが得られる。この第2の薬物を含むフィルムは結晶質のソレフ(Solef)(登録商標)21508の前述の透明なフィルムの場合よりも25%エタノール水溶液の生体外試験溶液中に薬物を放出ことが極めて遅い。上記両方のフィルムのX線分析により、薬物は一定の非結晶質の形態で存在していることが分かる。高HFP含有量のコポリマー中における薬物の不十分なまたは極めて低い溶解度により、薄い被膜フィルムを通る薬物の透過度が低下する。この透過度または透過性は一定のフィルム(コポリマー)の中を通る種々の物質(この場合、薬物)の拡散速度とそのフィルム中の薬剤の溶解度との積である。
実施例4:被膜からのラパマイシンの生体外における放出結果
図3は85.5/14.5のフッ化ビニリデン/HFPのポリフルオロ・コポリマーに関するデータをプロットしたグラフ図であり、上部被膜の無い場合における一定の時間の関数として放出される薬剤のフラクションを示している。また、図4は一定の上部被膜が配置されている同一のポリフルオロ・コポリマーについてのデータをプロットしたグラフ図であり、放出速度に対する最も大きな影響が一定の透明な上部被膜を伴う場合に生じていることを示している。図示のように、TC150は150マイクログラムの上部被膜を有する一定の装置を示しており、TC235は235マイクログラムの上部被膜を示している。上部被膜を備える前の各ステントは30%のラパマイシンを含有している平均で750マイクログラムの被膜を有していた。さらに、図5は60.6/39.4のフッ化ビニリデン/HFPポリフルオロ・コポリマーについてのデータをプロットしたグラフ図であり、一定の時間の関数としての放出される薬剤のフラクションを示しており、一定の上部被膜を伴わない場合の被膜からの放出速度の有意義な調整を示している。すなわち、この放出は薬剤をフィルム中に装填することにより調整されている。
実施例5:ポリ(VDF/HFP)からのラパマイシンの生体内ステント放出速度
通常の食事をしている9匹のニュージーランド種の白うさぎ(2.5kg乃至3.0kg)に手術の24時間前、さらに手術の直前に、およびこの調査の残りの部分においてアスピリンを与えた。手術時に、各動物体にアセプロマジン(0.1乃至0.2mg/kg)をあらかじめ投薬し、一定のケタミン/キシラジン混合物(それぞれ40mg/kgおよび5mg/kg)で麻酔をかけた。さらに、各動物体にヘパリンの1回分の処置間投与量(150IU/kg、静脈内(i.v.))を与えた。
右総頸動脈の動脈切除を行ない、5フレンチのカテーテル導入装置(コーディス・インコーポレイテッド社(Cordis, Inc.))を血管内に配置して結紮糸により固定した。その後、ヨウ素造影剤を注入して、右総頸動脈、腕頭動脈および大動脈弓を可視化した。次に、操縦可能なガイドワイヤ(0.014インチ(0.036cm)/180cm、コーディス・インコーポレイテッド社(Cordis, Inc.))を上記の導入装置を介して挿入し、順次各腸骨動脈内に前進させて、その腸骨動脈が先に行なった血管造影式マッピング法により2mmに最も近い一定の直径を持つ場所まで進行させた。30%ラパマイシンを含むポリ(VDF/HFP):(60.6/39.4)により作成した一定のフィルムを被覆した2個のステントを、実行可能な場合の各動物体において、3.0mmバルーンを用いて各腸動脈中に1個ずつ配備し、30秒間にわたり8乃至10気圧まで膨張した後に1分間の時間間隔を置いてさらに30秒間にわたる8乃至10気圧までの2回目の膨張を行なった。その後、両方の腸骨動脈を可視化する事後点検用の血管造影図を得てステントの正確な配備位置を確認した。
上記の処置の終了時に、総頸動脈を結紮し、その皮膚を1層の中断状態の閉鎖部材を用いて3/0ビクリル縫合糸により閉鎖した。各動物体にブトロパノール(0.4mg/kg、(s.c.))およびゲンタマイシン(4mg/kg、筋肉内(i.m.))を与えた。回復後、各動物体をそれぞれのケージに戻し、自由に食物および水に接触可能にした。
初期的な死亡および外科的な困難さにより、2匹の動物体はこの分析において用いられなかった。ステント処理した各血管を以下の各時点、すなわち、移植後10分において1本の血管(1匹の動物体)、移植後40分乃至2時間(平均、1.2時間)において6個の血管(3匹の動物体)、移植後3日において2個の血管(2匹の動物体)、および移植後7日において2個の血管(1個の動物体)を残りの7匹の動物体から取り出した。2時間の時点における1匹の動物体においては、そのステントは腸骨動脈ではなく大動脈から回収した。除去時に、各動脈を注意深くステントの基端部および先端部の両方において整形した。その後、各血管を注意深くステントから切断して離し、洗い流して残留している血液を除去し、そのステントと血管の両方をすぐに凍結して、別々に箔で包み、ラベルを貼って−80℃において凍結状態に維持した。全てのサンプルを集めて、それぞれの血管およびステントを凍結し、輸送した後に、組織中におけるラパマイシンについて分析を行ない、これらの結果が図4に示されている。
実施例6:ポリマーの浄化
上記のフルオレル(Fluorel)(商標)FC2261Qコポリマーを約10重量%でMEK中に溶解して、14:1のエタノール/水とMEK溶液との溶液比率においてエタノール/水の50/50混合物中において洗浄した。その後、このポリマーは沈澱し、遠心処理によりこの溶剤相から分離した。さらに、このポリマーを再びMEK中に溶解して、洗浄処理を繰り返し行なった。その後、このポリマーを各洗浄工程の後に一晩にわたり一定の真空オーブン(200ミリトール(mtorr)以下)内において60℃で乾燥した。
実施例7:ブタの冠動脈中における被覆型ステントの生体内試験
クロスフレックス(CrossFlex)(登録商標)ステント(コーディス(Cordis)、ジョンソン・アンド・ジョンソン・カンパニー社(Johnson & Johnson Company)の1社から入手可能)を上記の「受け入れられた(as received)」フルオレル(Fluorel)(商標)FC2261QPVDFコポリマーおよび上記実施例6において浄化したポリフルオロ・コポリマーにより、浸漬処理および拭き取り方式を用いて被覆した。その後、これらの被覆したステントをエチレン・オキシドおよび一定の標準的な処理工程により滅菌処理した。さらに、これらの被覆したステントおよび無被覆状態の金属ステント(対照品)をブタの各冠動脈に移植して、これらを28日間にわたりその状態に維持した。
血管造影を移植時および28日目に各ブタについて行なった。この血管造影法により、対照の無被覆状態のステントは約21%の再狭窄を示した。上記の「受け入れられた」ポリフルオロ・コポリマーは約26%の再狭窄(対照と同等)を示したが、洗浄処理したコポリマーは約12.5%の再狭窄を示した。
組織学的な結果により、無被覆状態の金属の対照品の浄化しないコポリマーおよび浄化したコポリマーにおいて、28日目における新内膜領域は2.89±0.2、3.57±0.4、2.75±0.3であることが分かった。
ラパマイシンは周囲の組織に入ることにより作用するので、一定の組織に対して接触するステントの表面のみに固定されていることが好ましい。一般的に、このようなステントの外表面部のみが組織に接触する。従って、一例の例示的な実施形態において、ステントの外表面部のみがラパマイシンにより被覆されている。
循環器系は、通常の条件下において、自己シール型である必要があり、自己シール型でない場合には、外傷部からの継続した血液の損失が生命を脅かすことも考えられる。一般的に、たいていの破局的な出血を除く全ての出血は止血として知られている一定の処理により即時に止まる。この止血は一連の工程を通して行なわれる。流量が多い場合に、止血は血小板凝集とフィブリン形成を伴う種々の状態の組み合わせになる。この血小板凝集により、一定の細胞による栓の形成に起因して血液の流れの減少を引き起こすと共に、一連の生物化学的な工程により、フィブリンの凝塊が生じる。
フィブリン凝塊は、上述したように、傷害に応答して形成される。このような血液の凝固または特定領域内における凝固が健康上の危険性をもたらす特定の状況が存在する。例えば、経皮経内腔式の冠動脈血管形成術の実施中において、種々の動脈壁部の内皮細胞が一般的に損傷し、これにより、内皮下細胞が露出する。血小板はこれらの露出した細胞に付着する。凝集している血小板および損傷した組織はさらに別の生化学的な過程を開始し、これにより、血液凝固が生じる。血小板およびフィブリン血餅は種々の重要な領域への血液の正常な流れを妨げる。従って、血液凝固を種々の医療処置において調整する必要がある。血液が凝固しないようにする各種の配合物は抗凝固剤と呼ばれている。本質的に、抗凝固剤は血栓の形成または機能の一定の抑制因子である。これら配合物はヘパリンおよびヒルジン等のような種々の薬剤を含む。本明細書において用いられているように、このヘパリンは血栓または第Xa因子の直接的または間接的な全ての抑制因子を含む。
有効な抗凝固剤であることに加えて、ヘパリンはまた、生体内における平滑筋細胞の増殖を抑制することが立証されている。従って、ヘパリンは脈管の病気の治療においてラパマイシンと共に有効に利用できる可能性がある。本質的に、ラパマイシンとヘパリンの組み合わせは、ヘパリンが一定の抗凝固剤として作用すること加えて、二種類の異なるメカニズムを介して平滑筋細胞の増殖を抑制することができる。
ヘパリンは、その多官能的な化学的性質のために、多くの方法で一定のステントに対して不動化または固定化できる。例えば、ヘパリンは種々の方法により種々の表面上に固定化でき、このような方法として、ガイア(Guire)他に発行されている米国特許第3,959,078号および4,722,906号およびカハラン(Cahalan)他に発行されている米国特許第5,229,172号、5,308,641号、5,350,800号および5,415,938号において記載されているフォトリンク(photolink)法が含まれる。また、このようなヘパリンを付着した表面はまたディング(Ding)他に発行されている米国特許第5,837,313号、6,099,562号および6,120,536号において記載されているような、例えば、シリコーン・ゴム等の一定のポリマー基材からの調整された放出により達成されている。
ラパマイシンとは異なり、ヘパリンは血液中の循環タンパク質に対して作用し、このヘパリンが有効であるためには血液に接触することだけを必要とする。従って、例えば、一定のステント等のような一定の医療器具と共に使用する場合に、血液と接触する面においてのみ存在していることが好ましい。例えば、ヘパリンが一定のステントを介して投与される場合に、このヘパリンが有効であるためにはそのステントの内表面部においてのみ存在していればよい。
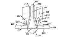
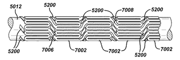
本発明の例示的な実施形態において、脈管の治療のために一定のステントがラパマイシンおよびヘパリンとの組み合わせにおいて利用可能である。この例示的な実施形態において、ヘパリンは血液と接触するようにそのステントの内表面部に固定化されており、ラパマイシンはその周囲組織に対して接触するようにそのステントの外表面部に固定化されている。図7は図1において示されているステント100における一定の帯域部分102の断面を示している。図示のように、この帯域部分102はその内表面部110においてヘパリン108により被覆されており、その外表面部114においてラパマイシン112により被覆されている。
別の例示的な実施形態において、上記ステントはその内表面部に固定化されている一定のヘパリンの層およびその外表面部に固定化されているラパマイシンおよびヘパリンを有することができる。現行の塗布技法を利用すると、ヘパリンはラパマイシンの場合よりもこれが固定化される表面に対してさらに強固な結合状態を形成する傾向がある。従って、最初にラパマイシンをステントの外表面部に固定化してから、一定のヘパリンの層をそのラパマイシン層に固定化することが可能であると考えられる。このような実施形態において、ラパマイシンはステントに比較的に確実に固定できると共に、そのポリマー基材からヘパリンを通して周囲の組織の中に比較的に有効に溶け出すことができる。図8は図1において示されているステント100における一定の帯域部分102の断面を示している。図示のように、この帯域部分102はその内表面部110においてヘパリン108により被覆されており、その外表面部114においてラパマイシン112およびヘパリン108により被覆されている。
一定の侵食性の結合による捕捉または共有結合的な連結により、上記ヘパリンの層をラパマイシンの層に固定する多数の方法がある。例えば、ヘパリンをポリマー基材の上部層に導入することができる。また、別の実施形態においては、異なる形態のヘパリンを、例えば図9において示されているように、ポリマー基材の上部層の上に直接的に固定することも可能である。すなわち、図示のように、疎水性のヘパリン層116をラパマイシン層112の上部被膜層118の上に固定することができる。なお、これらのラパマイシンおよびヘパリンの被膜は非相容性の被膜供給技法を代表するものであるので、一定の疎水性の形態のヘパリンが用いられている。さらに、ラパマイシンは一定の有機溶媒を基材とする被膜であり、ヘパリンは、その自然な形態において、一定の水性の被膜である。
上述したように、一定のラパマイシンの被膜は一定の浸漬法、スプレー法またはスピン・コート法および/またはこれら方法の任意の組み合わせにより種々のステントに供給できる。この場合に、種々のポリマーが利用可能である。例えば、上述したように、ポリ(エチレン−コ−ビニル・アセテート)およびポリブチル・メタクリレートの種々の混合物を利用することができる。さらに別のポリマーも利用可能であり、例えば、フッ化ポリビニリデン−コ−ヘキサフルオロプロピレンおよびポリエチルブチルメタクリレート−コ−ヘキシル・メタクリレートが含まれるがこれらに限らない。また、上述したように、バリアまたは上部被膜をポリマー基材からのラパマイシンの溶解の調整のために供給することも可能である。上述した例示的な実施形態において、一定のヘパリンの薄い層がポリマー基材の表面に供給されている。なお、これらのポリマー組織は疎水性であり、親水性のヘパリンに対して非相容性であるので、適当な表面改質が必要になる場合がある。
上記高分子基材の表面へのヘパリンの供給は種々の方法により種々の生体適合性の材料を用いて行なうことができる。例えば、一例の実施形態において、水中または種々のアルコールの溶液中において、ラパマイシンを劣化させないように注意しながら(例えば、pH<7、低温において)ポリエチレン・イミンを種々のステントに供給した後に、ヘパリン酸ナトリウムを水性または種々のアルコールの溶液において供給する。この表面改質の一定の拡張例として、共有結合性のヘパリンをアミド型の化学薬品(一定のカルボンジイミド活性化剤、例えば、EDC)または還元性のアミノ化薬品(結合のためのCBAS−ヘパリンおよびシアノ水素化ホウ素ナトリウム)を用いてポリエチレン・イミンに結合させることができる。また、別の例示的な実施形態において、ヘパリンは、光開始剤性の成分により適当にグラフト化されている場合に、その表面において光結合できる。このような改質されたヘパリンの配合物を共有結合性のステントの表面に供給すると、光の曝露により、架橋が生じてヘパリンがその被膜表面上に固定される。さらに別の例示的な実施形態において、ヘパリンは疎水性の第四級アンモニウム塩と共に錯体を形成することにより、その分子が種々の有機溶媒(例えば、ヘパリン酸ベンザルコニウム、ヘパリン酸トリドデシルメチルアンモニウム)の中に溶けるようになる。このようなヘパリンの配合物は疎水性のラパマイシン被膜に対して相容性があり、その被膜表面上に直接的に供給可能であるか、上記ラパマイシン/疎水性ポリマーの配合物中に供給可能になる。
ステントが、上述したように、種々の金属、高分子材料およびセラミック材料を含む多数の材料から形成可能であることを述べておくことが重要である。従って、種々の技法が上記の種々の薬物、薬剤、配合物の組み合わせ物をこのステント上に固定するために利用可能である。特に、上述したポリマー基材に加えて、種々の生体ポリマーを用いることができる。これらの生体ポリマーは一般に天然ポリマーとして分類できるが、上述のポリマーは合成ポリマーとして説明することもできる。利用可能な例示的な生体ポリマーはアガロース、アルギネート、ゼラチン、コラーゲンおよびエラスチンを含む。加えて、上記の薬物、薬剤または配合物は他の経皮的に配給される、例えば、種々の移植片および灌流バルーン等のような種々の医療装置と共に利用することも可能である。
一定の抗増殖剤および抗凝固剤の利用に加えて、種々の抗炎症薬もこれらと組み合わせて利用できる。このような組み合わせの一例として、ラパマイシン、クラドリビン、ビンクリスチン、タクソールまたは一定の酸化窒素ドナー等のような一定の抗増殖剤、およびヘパリン等のような一定の抗凝固剤を伴う、デキサメタゾン等のような一定の抗炎症性のコルチコステロイドの添加が考えられる。このような組み合わせ物による治療方法はさらに良好な治療効果を与えると考えられ、すなわち、何れか一方の薬剤のみにより生じると考えられる効果よりも、増殖の度合いが低下し、炎症、すなわち、増殖に対応する一定の刺激の度合いが低下する。一定の抗増殖剤、抗凝固剤および抗炎症薬を含む一定のステントを損傷した血管に配給することにより、局所的な平滑筋細胞の増殖の度合いが制限され、増殖に対応する一定の刺激すなわち炎症が減少して、凝固作用も低下するので、ステントの再狭窄の制限作用が高められるという付加的な治療上の有益性が得られる。
本発明の別の例示的な実施形態においては、増殖因子抑制因子またはサイトカイン信号変換抑制因子、例えば、ラス(ras)抑制因子、R115777またはP38キナーゼ抑制因子、RWJ67657またはチロシン・キナーゼ抑制因子、例えば、チルホスチン(tyrphostin)を一定の抗増殖剤、例えば、タクソール、ビンクリスチンまたはラパマイシンと組み合わせることにより、平滑筋細胞の増殖を種々のメカニズムにより抑制可能にしている。あるいは、一定の抗増殖剤、例えば、タクソール、ビンクリスチンまたはラパマイシンを細胞外基質合成の抑制因子、例えば、ハロフジノンと組み合わすことも可能であると考えられる。上述の場合に、種々のメカニズムにより作用する種々の薬剤が相乗的に作用して平滑筋細胞の増殖および血管肥厚化を減少できると考えられる。本発明はまた2種類以上の上記のような薬剤または薬物の別の組み合わせにも及ぶと考えられている。上述したように、上記の薬剤、作用薬または配合物は全身系的に投与可能であり、薬剤配給カテーテルを介して局所的に配給でき、あるいは、一定のステントの表面からの配給のために配合可能であり、あるいは、全身系的および局所的な治療の組み合わせとして供給できる。
抗増殖剤、抗炎症薬および抗凝固剤に加えて、他の種々の薬物、薬剤または配合物を種々の医療装置と関連して利用することができる。例えば、種々の免疫抑制剤を単独または上記のような別の薬物、薬剤または配合物と組み合わせて利用できる。また、プラスミドのような種々のウイルス性ベクターまたは非ウイルス性遺伝子ベクターにおける種々の修飾遺伝子(組換えDNAを含む核酸)等のような遺伝子治療配給機構もまた一定の医療装置を介して局所的に導入できる。加えて、本発明は、細胞に基づく治療に利用することもできる。
上述の薬物、薬剤、配合物および修飾遺伝子の全てに加えて、通常において治療的または生物学的に活性ではない種々の化学薬剤もまた本発明に関連して利用できる。これらの一般的にプロドラッグ(pro-drug)と呼ばれている化学薬剤は生体に導入されると1種類以上のメカニズムまたは機構により生物学的に活性になる薬剤である。これらメカニズムは一定の生体により供給される種々の化合物の付加または一定の生体により供給される別の物質により生じる種々の物質による化合物の開裂を含む。一般的に、これらのプロドラッグは一定の生体によりさらにその吸収性を高める。加えて、これらの代用物質はまた時間放出の一定の追加的な測定手段を提供することもできる。
上述したように、ラパマイシンは脈管の傷害後の再狭窄の防止のために単独でまたは1種類以上の薬物、薬剤および/または配合物との組み合わせにおいて利用可能である。
ヒストン・タンパク質はDNAのパッケージングおよび遺伝子の転写を補助する細胞クロマチンの一部である。幾種類かのヒストン・タンパク質が存在しており、これらはそれぞれアニオン性のDNAに対して相互作用できる正味の正の電荷を発現する。これらのヒストン・タンパク質はDNAが周囲に巻き付くヌクレオソームのサブユニットを形成する。アセチルトランスフェラーゼおよびデアセチラーゼのそれぞれの酵素によるアセチル化/脱アセチル化による上記ヒストンの化学的な改質ならびにその他の翻訳後の改質はこれらのヒストン・タンパク質の形状、およびこれに続く、それぞれの転写酵素に対するDNAの接近の可能性を調整するために役立つ。休止細胞において、その遺伝子の転写は、少なくとも部分的に、DNAに結合するヒストン・タンパク質のアセチル化(転写オン)および脱アセチル化(転写オフ)の一定のバランスにより調整される。それゆえ、これらのアセチル化および脱アセチル化の間のバランスに影響を及ぼすことは最終的に遺伝子の転写、およびこれに続く、細胞増殖に対して影響を及ぼす可能性があり、この理由は、増殖の種々の経路が遺伝子の転写に相当に依存しているからである。このようなヒストン・デアセチラーゼはRPd3様タンパク質およびHda−1様タンパク質の2個の総括的な種類を有している。
利用可能である別の薬物、薬剤および/または配合物は別のヒストン・デアセチラーゼの抑制因子を含み、これらはトリコスタチンA、その種々の類似体および誘導体ならびに類似の物質を含む。さらに、これらの物質はブチレート、フェニルブチレートおよびバルプロエート等のような短鎖の脂肪酸、種々のトリコスタチン、SAHAおよびその誘導体、オキサムフラチン、ABHA、スクリプテイド、ピロキサミド、およびプロペナミド等のようなヒドロキサム酸、種々のトラポキシン、HC−トキシン、クラミドシン、ジヘテロペプチン、WF−3161およびCyl−1およびCyl−2等のようなエポキシケトン含有の種々の環状テトラペプチド、FR901228およびアピシジン等のような非エポキシケトン含有の種々の環状テトラペプチド、MS−275(MS−27−275)、Cl−994およびその他のベンズアミド類自体等のような種々のベンズアミド、およびデプデシンおよび有機イオウ化合物等のような種々の雑多な構造を含む。
トリコスタチンAは細胞周期の主にG1期およびG2期における腫瘍細胞の増殖を抑制する一定のヒストン・デアセチラーゼ抑制因子である。この細胞周期のG1期およびG2期は遺伝子の転写によりそれぞれ特徴付けられる段階である。すなわち、上記トリコスタチンAの抗増殖性の活性および細胞周期の段階における抑制の特性は低いナノモルの範囲内における抗増殖性のIC50を伴う腫瘍細胞系において主に特徴付けられている(ウー(Woo)他、ジャーナル・オブ・メデイカル・ケミストリー(J. Med. Chem),45巻,p.2877−2885,2002年)。加えて、このトリコスタチンAは抗脈管形成性の活性を有することが示されている(デロアンネ(Derroanne)他,オンコジーン(Oncogene),21(3)巻,p.427−436,2002年)。
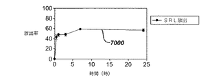
生体外の細胞培養の調査において、トリコスタチンAは人間の冠動脈平滑筋細胞の増殖を完全に抑制することが示されており、約6nMの抗増殖性のIC50を有している。図51は一定の細胞培養調査におけるトリコスタチンAによる冠動脈平滑筋細胞の抑制の一定のグラフである。それゆえ、局所的に配給されるトリコスタチンAは脈管の傷害後における新内膜の形成を実質的に抑制することができる。
ラパマイシンは米国特許第3,929,992号に開示されているようにストレプトミセス属ハイグロスコピカスにより生成される一定の大環状トリエン型の抗生物質である。このラパマイシンは生体内における脈管の平滑筋細胞の増殖を抑制することが知られている。従って、ラパマイシンは、特に、生物学的にまたは機械的に媒介される脈管の損傷に続いて、あるいは、一定の哺乳類動物を脈管損傷に罹りやすくすると考えられる諸条件下において、一定の哺乳類動物の内膜平滑筋細胞の肥厚化、再狭窄および血管閉塞の治療に利用することができる。また、ラパマイシンは、平滑筋細胞の増殖を抑制するように機能し、血管壁部の再内皮化を妨げない。
上記ラパマイシンは多数のメカニズムにより平滑筋細胞の増殖を抑制するために機能する。加えて、このラパマイシンは、例えば、炎症等の脈管の傷害により生じる別の作用も減少する。このようなラパマイシンの作用および種々の機能のメカニズムが以下において詳細に説明されている。なお、この出願を通して用いられているラパマイシンはラパマイシン、種々のラパマイシンの類似体、誘導体およびFKBP12に結合して、以下において詳細に説明されているような、ラパマイシンと同一の薬理学的な特性を有する同種物を含むと考えることができる。
上記ラパマイシンは血管形成術により誘発する傷害において放出される種々のマイトジェン信号に応答して平滑筋の増殖に拮抗することにより血管の過形成を軽減する。細胞周期後期のG1期における増殖因子およびサイトカインにより媒介される平滑筋増殖の抑制はラパマイシンの作用の主要なメカニズムであると考えられる。しかしながら、ラパマイシンはまた、全身系的に投与される場合に、T細胞の増殖および分化を阻止することも知られている。このことがラパマイシンの免疫抑制活性および移植片拒絶反応を阻止する能力に対応する論拠である。
新内膜の過形成または肥圧化の大きさおよび持続時間を減少するように作用する一定の既知の抗増殖剤であるラパマイシンの作用の原因になっている分子の状態は依然として解明中である。しかしながら、ラパマイシンは細胞の中に入り、FKBP12と呼ばれる一定の高い親和力の細胞質ゾルのタンパク質に結合することが知られている。さらに、これらのラパマイシンおよびFKBP12の複合体は「ラパマイシンの哺乳類標的物(mammalian Target of Rapamycin)」またはTORと呼ばれる一定のホスホイノシチド(PI)−3キナーゼに結合してこれを抑制する。このTORは平滑筋細胞およびTリンパ球におけるマイトジェン増殖因子およびサイトカインに付随する下流領域のシグナリング現象を媒介することにおいて一定の重要な役割を果たすタンパク質キナーゼである。これらの現象はp27のホスホリル化、p70s6キナーゼのホスホリル化、およびタンパク質の翻訳における一定の重要な調節因子である4BP−1のホスホリル化を含む。
ラパマイシンが新内膜の過形成を抑制することにより再狭窄を減少することが認識されている。しかしながら、ラパマイシンは再狭窄の別の主要な要素、すなわち、陰性の再造形も抑制する可能性があることも立証されている。この再造形はそのメカニズムが明らかに理解されていないが、一般に人間の体内において約3ヶ月乃至6ヶ月の一定期間において、経時的に外弾性板の収縮および内腔面積の減少を生じる一定の過程である。
陰性または収縮性の脈管の再造形はその過程を遮断するためにステントの無い病巣の部位における狭窄の直径の割合として血管造影により定量化できる。その病巣において遅発性の内腔の損失が無ければ、陰性の再造形が抑制されていることが推断できる。再造形の程度を決定する別の方法は脈管内超音波法(IVUS)による病巣内における外弾性板の面積の測定を含む。この脈管内超音波法は外弾性板ならびに脈管の内腔を画像処理できる一定の技法である。この場合に、術後の時点から4ヶ月乃至12ヶ月の追跡におけるステントに対して近位側および遠位側の外弾性板の変化が再造形の変化を反映する。
上記のようなラパマイシンが再造形において一定の作用を及ぼす証拠はラパマイシンを被覆したステントが病巣内およびそのステント内における再狭窄の極めて低い程度を示している人間の移植片の調査により得られている。病巣内の各パラメータは通常においてステントのいずれかの側、すなわち、近位側および遠位側の約5ミリメートルにおいて測定される。さらに、ステントはバルーンの拡張により影響を受けているそれぞれの領域における再造形を調整するために存在していないので、ラパマイシンが脈管の再造形を阻止していることが推断できる。
以下の表1におけるデータは病巣内における狭窄の直径の割合が12ヶ月目においてもラパマイシンにより処理したグループにおいて低く保たれていることを示している。従って、これらの結果はラパマイシンが再造形を減少すると言う仮説を支持している。
Figure 2005296665
ラパマイシンによる陰性の再造形における減少を支持する別の証拠が以下の表2において示されているような最初の人体内における臨床プログラムから得られた脈管内超音波法のデータから得られる。
Figure 2005296665
上記のデータは陰性の再造形の抑制がラパマイシン被覆型ステントにより処理した血管内において生じることを示している血管の面積の最少の損失が近位側または遠位側において存在していることを示している。
ステント以外には、脈管の再造形の問題に対する有効な解決法が存在していない。従って、ラパマイシンは脈管の再造形の現象を調整するための一定の生物学的な手法と考えることができる。
上記ラパマイシンは幾つかの様式で陰性の再造形を減少するために作用することが仮定できる。例えば、傷害に応答する脈管壁部内の線維芽細胞の増殖を特定的に遮断することにより、ラパマイシンは脈管の瘢痕組織の形成を減少すると考えられる。また、ラパマイシンはコラーゲン形成または代謝に関与する主要なタンパク質の翻訳に作用を及ぼすと考えられる。
本明細書において用いられているラパマイシンはラパマイシンおよびFKBP12に結合してラパマイシンと同一の薬理学的な特性を有する全ての類似体、誘導体および同族物を含む。
好ましい実施形態において、ラパマイシンは再狭窄を減少または阻止する一定の手段としてバルーン血管形成術後における一定の動脈部分の陰性の再造形を調整するために一定の局所配給装置により配給される。この場合に、任意の配給装置が利用可能であるが、この装置はラパマイシンを溶出または放出する一定の被膜またはシースを含む一定のステントを備えていることが好ましい。このような装置のための配給システムは投与者により調整される一定の速度でラパマイシンを配給する一定の局所注入カテーテルを含むことができる。また、別の実施形態において、一定の注入の必要物を利用することが可能である。
ラパマイシンはまた約7日間乃至45日間の範囲の一定期間にわたりラパマイシンを配給して陰性の再造形を抑制するために十分な脈管組織のレベルを達成するために一定の経口の投薬形態または一定の長期間の注入可能な貯蔵形態または一定のパッチを用いて全身系的に配給することもできる。このような治療は一定のステントを伴うか伴わない選択的な血管形成術の前の数日間にわたり投与される場合に再狭窄を減少または阻止するために用いられる。
ブタおよびラビットの各モデルにおいて発生したデータは一定範囲の投薬量(35乃至430μg/15乃至18mmの冠動脈ステント)における一定の非侵食性の高分子ステント被膜からの脈管壁部内へのラパマイシンの放出が以下の表3において示されているように新内膜の過形成において50乃至55%の減少に到る一定の最大値になることを示している。この減少は約28日乃至30日目において最大になり、以下の表4において示されているように、一般的にブタのモデルにおいては90日乃至180日の範囲内までは持続しない。
Figure 2005296665
Figure 2005296665
一定の非侵食性の高分子ステント被膜からの一定の人間の脈管壁部内へのラパマイシンの放出は上記のような各動物体の脈管壁部に対して比べた場合にステント内における新内膜の過形成の減少の大きさおよび持続に関して優れた結果を示している。
上記と同一の高分子基材を用いて各動物体において調査した場合と同一の用量範囲内におけるラパマイシンを含む一定のラパマイシン被覆型ステントを移植した人体は、新内膜の減少における大きさおよび持続時間に基づいて、各動物体において観察された量よりもはるかに大きな新内膜の過形成における減少を示している。この人体のラパマイシンに対する臨床的な応答は血管造影法および脈管内超音波法による測定の両方により内側の新内膜の過形成の実質的に全体的な排除を示している。さらに、これらの結果は以下の表5において示されているように少なくとも1年にわたり持続している。
Figure 2005296665
ラパマイシンは一定のステントにより配給される場合に少なくとも1年間にわたり持続するステント内の新内膜の過形成において一定の有意義な減少を生じることにより人体において予想外の有益性を示している。この人体における有益性の大きさおよび持続時間は動物体のモデルのデータからは予想されない値である。本明細書において用いられているラパマイシンはFKBP12に結合してラパマイシンと同一の薬理学的な諸特性を有する全ての類似体、誘導体および同種物を含む。
上記の結果は多数の要因によると考えられる。例えば、人体におけるラパマイシンの比較的に大きな有効性は血管形成術における種々の動物体モデルの病態生理学に比べて人間の脈管の病巣の病態生理学に対するその作用のメカニズムにおける比較的に大きな感応性によると考えられる。加えて、ステントに供給される用量および薬物の放出を調整するポリマー被膜の組み合わせがその薬物の有効性において重要である。
上述したように、ラパマイシンは血管形成術の間に放出されるマイトジェン信号に応答する平滑筋の増殖に拮抗することにより脈管の過形成を減少する。また、ラパマイシンが全身系的に投与される場合にT細胞の増殖および分化を阻止することも知られている。さらに、ラパマイシンが一定の持続された時間の期間(約2乃至6週間)にわたり少ない投与量で一定のステントから投与される場合にその脈管の中に一定の局所的な抗炎症性の作用を及ぼすことも確認されている。このような局所的な抗炎症性の有益性は有意義であり予想外である。上記平滑筋の抗増殖作用との組み合わせにおいて、ラパマイシンの二重の作用の様式はその例外的な効力の原因になっていると考えられる。
従って、一定の局所用の装置のプラットホームから配給されるラパマイシンはその抗炎症性の作用および平滑筋の抗増殖作用の一定の組み合わせにより新内膜の過形成を減少する。本明細書において用いられているラパマイシンはFKBP12に結合してラパマイシンと同一の薬理学的な諸特性を有する全ての類似体、誘導体および同種物を含む。また、上記局所用の装置のプラットホームは種々のステント被膜、ステント・シース、移植片および局所薬物注入用のカテーテルまたは多孔質のバルーンまたは任意のその他の種々の薬物、薬剤または配合物の原位置におけるまたは局所的な配給のための適合な手段を含む。
上記ラパマイシンの抗炎症性の作用は以下の表6において示されているように一定の実験によるデータにおいて明らかであり、この場合に、一定のステントから配給されるラパマイシンが一定のステントから配給されるデキサメタゾンに対して比較されている。このデキサメタゾンは一定の有効なステロイド系の抗炎症剤であり、一定の基準物質として用いられている。このデキサメタゾンは炎症の評価点を減少することができるが、ラパマイシンは炎症の評価点を減少することにおいてデキサメタゾンよりもさらに有効である。加えて、ラパマイシンはデキサメタゾンとは異なり新内膜の過形成を有意義に減少する。
Figure 2005296665
ラパマイシンはまた一定のステントから配給される場合に脈管組織内におけるサイトカインの量を減少することも知られている。図1におけるデータはラパマイシンが脈管壁部内の単核細胞の走化性タンパク質(MCP−1)の量の減少において極めて有効であることを示している。このMCP−1は血管の傷害中に合成される炎症前/走化性サイトカインの一例である。このMCP−1における減少は炎症前の種々の媒体の発現の減少におけるラパマイシンの有益的な作用を示しており、一定のステントから局所的に配給されるラパマイシンの抗炎症性の作用の原因になっている。さらに、傷害に応答する脈管の炎症が新内膜の過形成の進展に対する主要な原因であることが認識されている。
ラパマイシンは血管の中における局所的な炎症性の現象を抑制することが示されていると考えられるので、このことにより新内膜を抑制におけるラパマイシンの予想外の優秀性が説明できると考えられる。
上述したように、ラパマイシンはT細胞増殖の阻止、陰性の再造形の抑制、炎症の減少、および平滑筋細胞増殖の阻止等のような望まれている種々の作用を生じるために多数の水準において機能する。これらの機能の正確なメカニズムはこれまでに完全に知られていないが、今までに確認されているメカニズムを拡張することができる。
ラパマイシンの種々の調査により、細胞周期の遮断による平滑筋細胞増殖の阻止が新内膜の過形成における一定の有効な手段であることが示唆されている。すなわち、術後の内腔の損失および新内膜プラークの容積における劇的で持続された減少が一定のステントにより局所的に配給されたラパマイシンを受容している種々の患者において観察されている。本発明は細胞周期を抑制して毒性を生じることなく新内膜の過形成を減少するためのさらに付加的な手法を含むために上記ラパマイシンのメカニズムに拡張している。
上記の細胞周期は細胞複製の過程を調整する現象の一定の厳密に調整された生化学的なカスケードである。細胞が適当な増殖因子により刺激される場合に、これらの細胞は細胞周期におけるG0期(休止期)からG1期に移る。DNA複製(S期)の前のG1期における細胞周期の選択的な抑制はその細胞周期における比較的に後の期、すなわち、S期、G2期またはM期において作用する療法に比べた場合に抗増殖効力を維持しながら細胞の保存および成育可能性の治療的な利点を提供することができる。
従って、体内における種々の血管およびその他の導管の中の内膜の過形成の防止は細胞周期のG1期において選択的に作用する細胞周期抑制因子を用いることにより達成できる。これらの細胞周期のG1期における抑制因子は種々の小形分子、ペプチド、タンパク質、オリゴヌクレオチドまたはDNAシーケンスとすることができる。さらに具体的に言えば、これらの薬物または薬剤は、特にcdk2およびcdk4における、G1期を経過する細胞周期の進行に関連するサイクリン依存キナーゼ(cdk’s)の種々の抑制因子を含む。
上記細胞周期のG1期において選択的に作用する薬物、薬剤または配合物の例はサイクリン依存キナーゼの拮抗作用により後期G1期における細胞周期を抑制することが分かっているフラボピリドールおよびその種々の構造類似体等のような小形分子を含む。さらに、サイクリン依存キナーゼを選択的に抑制するP27kip1と呼ばれる場合のあるP27と呼ばれる一定の内因性のキナーゼ抑制タンパク質kip の効力を向上する種々の治療剤が利用できる。この物質はP27を生成する遺伝子をトランスフェクションすることのできる種々の遺伝子ベクターを含む、P27の分解を遮断するかP27の細胞生成を増進する種々の小形分子、ペプチドおよびタンパク質を含む。例えば、タンパク質キナーゼを抑制することにより上記の細胞周期を遮断するスタウロスポリンおよび関連の種々の小形分子が利用可能である。また、種々のタンパク質キナーゼを選択的に抑制して、PDGFおよびFGF等のような広範囲の増殖因子に応答して平滑筋内における信号の導入に対して拮抗作用するチロホスチンの種類を含む種々のタンパク質キナーゼ抑制因子も利用可能である。
上記の薬物、薬剤または配合物はいずれも全身系的に、例えば、口内、静脈内、筋肉内、皮下、鼻腔内または皮膚内に、あるいは、局所的に、例えば、ステントの被膜、ステントの被覆物、または局所的な配給カテーテルのいずれかにより投与できる。加えて、上記の薬物または薬剤は3日乃至8週間の範囲の一定期間にわたり標的の組織に接触した状態にこれらの薬物または薬剤を維持すると言う目的により高速放出または低速放出のためのいずれにも配合することができる。
上述したように、上記ラパマイシンおよびFKPB12の複合体はラパマイシンの哺乳類標的物(mammalian Target of Rapamycin)またはTORと呼ばれる一定のホスホイノシチド(PI)−3キナーゼに結合してこれを抑制する。一定の活性部位抑制因子または一定のアロステリック調節因子、すなわち、アロステリックに調節する一定の間接的な抑制因子として機能する上記TORの触媒的な活性の一定の拮抗質はラパマイシンの作用に類似しているがFKBP12の必要性を回避できると考えられる。さらに、上記TORの一定の直接的な抑制因子の潜在的な利点は比較的に良好な組織内への侵入および比較的に良好な物理的/化学的な安定性を含む。加えて、別の潜在的な利点は異なる組織内において存在する可能性のあるTORの多数のイソ型の一つに対応する一定の拮抗質の特異性による比較的に高い選択性および特異性、および比較的に高い薬物の効力および/または安全性につながる一定の潜在的に異なる範囲の下流域における作用を含む。
上記の抑制因子は合成または天然に誘導されているいずれかの生成物である一定の小形の有機分子(分子量:約<1000)とすることができる。ウォルトマニンは上記の種類のタンパク質の機能を抑制する一定の物質であると言える。この物質はまた一定のペプチドまたは一定のオリゴヌクレオチドのシーケンスと考えることもできる。この抑制因子は全身系的に(口内、静脈内、筋肉内、皮下、鼻腔内、または皮膚内に)、あるいは、局所的に(ステントの被膜、ステントの被覆物、局所配給カテーテルにより)配給することができる。例えば、上記抑制因子は一定の非侵食性の高分子ステント被膜により一定の人体の脈管壁部の中に放出できる。加えて、この抑制因子は3日乃至8週間の範囲の一定期間にわたり標的の組織に接触した状態にこれらの薬物または薬剤を維持すると言う目的により高速放出または低速放出のためのいずれにも配合することができる。
上述したように、バルーン血管形成術を伴う一定の冠動脈ステントの移植は急性の血管の閉鎖を治療することにおいて極めて効果的であり、再狭窄の危険性を減少できる。脈管内超音波の研究(ミンツ(Mintz)他,1996年)は冠動脈ステント処理が血管の狭窄を効果的に防止すること、およびステント移植後の術後内腔損失がプラークの増殖により、おそらくは新内膜の過形成に関連していることを示唆している。この冠動脈ステント処理後の術後内腔損失は従来のバルーン血管形成術後に観察される損失のほぼ2倍である。従って、ステントが再狭窄の過程の少なくとも一部分を阻止する限りにおいて、一定のステントと組み合わされた、多数のメカニズムにより炎症および増殖を阻止するか増殖を阻止する種々の薬物、薬剤または配合物の使用は血管形成術後の再狭窄に対する最も有効な治療と考えることができる。
さらに、ステント等のようなラパマイシン溶出性の脈管装置を受容しているインスリンを補給されている糖尿病患者はそれぞれの正常なまたはインスリンを補給されていない糖尿病患者よりも高い再狭窄の発生率を示す可能性がある。しかしながら、種々の薬物の組み合わせが有益性を有する可能性がある。
一定のステントからの種々の薬物、薬剤または配合物の局所的な配給は以下の利点、すなわち、ステントおよび種々の薬物、薬剤または配合物の支持骨格性の作用による血管の反跳および再造形の防止および新内膜の過形成の多数の要素の抑制という利点を有している。また、ステント処理した冠動脈に対する種々の薬物、薬剤または配合物の局所的な投与はさらに別の治療における有益性も有することができる。例えば、全身系的な投与において生じると考えられる濃度よりも高い組織内の濃度が達成可能になり、減少された全身系的な毒性、1回の治療および投与の容易さを伴う。薬物療法のさらに別の有益性は治療の配合物の用量を減少して、それぞれの毒性を制限すると共に、再狭窄の減少を達成できることであると考えられる。
ラパマイシンおよびトリコスタチンAは細胞増殖に影響を及ぼす異なる分子レベルのメカニズムを通して作用するので、これらの物質が、一定の薬物溶出式のステント等のような一定の医療装置において組み合わされる場合に、それぞれの異なるメカニズムにより平滑筋および免疫細胞の増殖(炎症性細胞の増殖)の両方をダウンレギュレーションすることによりそれぞれの抗再狭窄性の活性の効力を高めることができる。このようなトリコスタチンAによるラパマイシンの抗増殖性の活性の増強は血管再生およびその他の脈管の外科処置中における脈管の傷害後の抗再狭窄性の作用における一定の向上およびこの抗再狭窄性の作用に対して必要とされるそれぞれの物質の量の減少を意味すると考えられる。
トリコスタチンAは本明細書において記載されている種々の技法および材料のいずれかを利用して本明細書において記載されている種々の医療装置のいずれかに固定することができる。例えば、このトリコスタチンAは種々のポリマーを伴うか伴わずに一定のステントに固定することができ、あるいは、一定のカテーテルに基づく配給システムにより局所的に配給できる。また、このトリコスタチンAは人間の冠動脈平滑筋の細胞増殖の実質的に完全で有効な遮断により局所的な脈管の適用により新内膜の形成を実質的に遮断できる。上記のラパマイシンおよびトリコスタチンAの組み合わせ物ならびにその薬理学的な種類に含まれる別の種々の物質はラパマイシン単独よりもさらに再狭窄/新内膜の肥圧化に対して有効であると考えられる一定の新しい治療用の組み合わせ物を代表している。加えて、この組み合わせ物の異なる用量はラパマイシンおよびトリコスタチンAの単純な付加的な作用よりも高い新内膜の増殖の抑制における有益性を生じることができる。さらにこのラパマイシンおよびトリコスタチンAの組み合わせ物はぜい弱性アテローム硬化症プラーク等のような別の心臓血管の病気に対して有効であると考えられる。
さらに別の代替的で例示的な実施形態において、ラパマイシンはミコフェノール酸との組み合わせにおいて利用可能である。ラパマイシンと同様に、ミコフェノール酸は一定の抗生物質であり、一定の抗炎症性で免疫抑制性の物質である。ラパマイシンは、既に述べたように、ラパマイシンの哺乳類標的物の抑制を通して細胞周期のG1期における細胞を制止することによりリンパ球の増殖を減少するように作用する。このラパマイシンの哺乳類標的物に対するラパマイシンの下流側の作用は細胞周期に付随するタンパク質キナーゼの後続の活性を遮断する。これに対して、ミコフェノール酸はプリン生合成において必要な酵素であるイノシン・モノホスファターゼ・デヒドロゲナーゼの抑制を通して細胞周期のS期における免疫細胞の増殖を抑制する。これらの免疫抑制性および抗炎症性の作用に加えて、ラパマイシンおよびミコフェノール酸はそれぞれ人間の冠動脈平滑筋細胞の増殖の有効な抑制因子である。
上記のラパマイシンおよびミコフェノール酸は細胞周期の異なる段階における細胞増殖に影響を及ぼす異なる分子レベルのメカニズムを通してそれぞれ作用するので、これらの物質が、本明細書において定められているような一定の薬物溶出式のステントまたは任意の他の医療装置において組み合わされる場合に、異なるメカニズムにより平滑筋細胞および免疫細胞の増殖の両方をダウンレギュレーションすることにより抗再狭窄活性を互いに高めることができる。
図52において、2%のウシ胎児血清により刺激した非同調培養のヒト冠動脈平滑筋細胞における異なる濃度のミコフェノール酸を伴うラパマイシンの抗増殖活性がグラフの様式で示されている。これらの多数の曲線はゼロから1000ナノモルの濃度の範囲における種々のミコフェノール酸の濃度をそれぞれ示している。この図52において示されているように、ラパマイシンにより処理されている細胞に対するミコフェノール酸の添加はその抗増殖性のラパマイシンの投与量の応答曲線を左側および上方にずらしており、ミコフェノール酸が冠動脈平滑筋細胞におけるラパマイシンの抗増殖活性を高めていることを示している。この培養した冠動脈平滑筋細胞において観察された効力の増加は好ましくは脈管の傷害後における抗再狭窄の効力の一定の向上および所望の抗再狭窄作用を達成するためのいずれかの物質の必要とされる量の一定の減少を意味する。
図53はブタの薬物速度調査におけるラパマイシン、ミコフェノール酸および一定のポリマーの組み合わせ物からのラパマイシンの生体内における放出速度のグラフ図である。この調査において、ラパマイシンおよびミコフェノール酸は一定のEVA/BMAのポリマーの基部被膜の中に組み込まれている。この基部被膜の全重量は600マイクログラムであり、ラパマイシンおよびミコフェノール酸は共に基部被膜の30重量%を占めている(180マイクログラムがラパマイシンであり、180マイクログラムがミコフェノール酸であり、240マイクログラムがEVA/BMAである)。この場合に、曲線5302は上部被膜を用いない場合の基部被膜からのラパマイシンの放出を示している。また、曲線5304は100マイクログラムのBMAの上部被膜を用いた場合の基部被膜からのラパマイシンの放出を示している。さらに、曲線5306は200マイクログラムのBMAの上部被膜を用いた場合の基部被膜からのラパマイシンの放出を示している。この結果、上記BMAの上部被膜は基部被膜からのラパマイシンの放出を遅らせており、このことはさらに比較的に高い薬物の放出制御のための一定のメカニズムを与えている。
図54はブタの薬物速度調査におけるラパマイシン、ミコフェノール酸および一定のポリマーの組み合わせ物からのミコフェノール酸の生体内における放出速度のグラフ図である。この調査において、ラパマイシンおよびミコフェノール酸は一定のEVA/BMAのポリマーの基部被膜の中に組み込まれている。この基部被膜の全重量は600マイクログラムであり、ラパマイシンおよびミコフェノール酸は共に基部被膜の30重量%を占めている(180マイクログラムがラパマイシンであり、180マイクログラムがミコフェノール酸であり、240マイクログラムがEVA/BMAである)。この場合に、曲線5402は上部被膜を用いない場合の基部被膜からのミコフェノール酸の放出を示している。また、曲線5404は100マイクログラムのBMAの上部被膜を用いた場合の基部被膜からのミコフェノール酸の放出を示している。さらに、曲線5406は200マイクログラムのBMAの上部被膜を用いた場合の基部被膜からのミコフェノール酸の放出を示している。この結果、ラパマイシンの薬物速度調査と同様に、上記BMAの上部被膜は基部被膜からのミコフェノール酸の放出を遅らせており、このことはさらに比較的に高い薬物の放出制御のための一定のメカニズムを与えている。しかしながら、ミコフェノール酸はラパマイシンよりも短い持続時間において比較的に完全に溶出している。
図55はラパマイシンおよびミコフェノール酸の一定の組み合わせ物からのラパマイシンの生体外における放出速度のグラフ図である。この調査において、ラパマイシンおよびミコフェノール酸は一定のEVA/BMAのポリマーの基部被膜の中に組み込まれている。この基部被膜の全重量は600マイクログラムであり、ラパマイシンおよびミコフェノール酸は共に基部被膜の30重量%を占めている(180マイクログラムがラパマイシンであり、180マイクログラムがミコフェノール酸であり、240マイクログラムがEVA/BMAである)。なお、この生体外の試験はそれぞれの被膜について2回ずつ行なわれている。この場合に、曲線5502は上部被膜を用いない場合の基部被膜からのラパマイシンの放出を示している。また、曲線5504は100マイクログラムのBMAの上部被膜を用いた場合の基部被膜からのラパマイシンの放出を示している。さらに、曲線5506は200マイクログラムのBMAの上部被膜を用いた場合の基部被膜からのラパマイシンの放出を示している。この結果、上記BMAの上部被膜は生体外の試験においても基部被膜からのラパマイシンの放出を遅らせており、この放出速度は生体内の試験よりも速い。
図56はブタの薬物速度調査におけるラパマイシンおよびミコフェノール酸の両方の生体内における放出速度のグラフ図である。この調査において、ラパマイシンおよびミコフェノール酸は一定のPVDFの上部被膜を伴う一定のPVDFのポリマーの基部被膜の中に組み込まれている。この基部被膜の全重量は600マイクログラムであり、ラパマイシンおよびミコフェノール酸は基部被膜の2/3の重量%を同等に占めている。さらに、上部被膜は200マイクログラムである。この場合に、曲線5602はミコフェノール酸の放出速度を示しており、曲線5604はラパマイシンの放出速度を示している。図から容易に分かるように、ラパマイシンはミコフェノール酸の放出速度よりも遅い放出速度を有しており、このことはEVA/BMAの基部被膜およびBMAの上部被膜の場合に見られた結果と一致している。しかしながら、一定のBMAの上部被膜を伴うEVA/BMAの基部被膜は上記の放出速度を遅らせると思われ、従って、一定のPVDFの基部被膜およびPVDFの上部被膜よりも良好な放出速度または溶出速度の制御を行なうと考えられる。
さらに別の代替的で例示的な実施形態において、ラパマイシンがクラドリビンとの組み合わせにおいて利用できる。クラドリビン(2−クロロデオキシアデノシンまたは2−CdA)はプリン・ヌクレオシドであるアデノシンの2−クロロ−2’誘導体である。このクラドリビンは大部分の細胞において見られる2種類の細胞内アデノシン・ヌクレオチド調節酵素の内の一つであるアデノシン・デアミラーゼによる変性に対して耐性を有している。さらに別の酵素の5’−ヌクレオチダーゼは異なる細胞型において可変の量で存在している(カールソン(Carson)他,1983年)。上記の細胞内酵素による上記モノホスフェート誘導体に対する初期的なホスホリル化の後に、デオキシシチジン・キナーゼである2−CdAが5’−トリホスフェート(2−CdATP)に変換し、この5’−トリホスフェート(2−CdATP)が正常なdATPの量よりも50倍になり得る量で蓄積する。従って、5’−ヌクレオチダーゼに対して高比率(>0.04)のデオキシシチジン・キナーゼを含有している白血球等のような細胞中においては、2−CdAおよびその後続の種々の代謝物質が種々の薬理学的な濃度で蓄積する傾向がある(カールソン(Carson)他)。さらに、このような多量のヌクレオシド・トリホスフェートは細胞を速やかに分割する場合に酵素のリボヌクレオチド・レダクターゼを抑制して、DNA合成において必要とされるデオキシヌクレオチドの合成を阻止することが知られている。
休止細胞において、2−CdATPはDNAの中に取り込まれて、一本鎖切断が生じる。さらに、このDNAにおける切断はポリ(ADP−リボース)の活性化を生じ、この活性化によりNADおよびATPの枯渇および細胞代謝の破壊が生じる(カールソン(Carson)他,1986年、セト(Seto)他,1985年)。さらに、Ca2+/Mg2+依存性エンドヌクレアーゼの活性化は損傷したDNAをプログラム細胞死(アポプトーシス)を生じる種々のフラグメントに開裂する。これにより、2−CdAが休止および分割している細胞の両方に対して細胞毒になり得る(ボイトラー(Beutler)他,1992年)。クラドリビンは再狭窄に付随する炎症過程において一定の役割を果たすことが知られている別の細胞型において活性を示している。加えて、本明細書において示されているデータはクラドリビンについて既に知られている一定の作用である平滑筋の細胞増殖を阻害する一定の能力も有していることを立証している(クラドリビンの実施例を参照されたい)。それゆえ、クラドリビンは動脈の障害および炎症の部位において生ずることが知られている白血球の蓄積の阻止および血管形成およびステント移植により生じる平滑筋の過形成の阻止を含む治療作用の一定の特異的な範囲を有する可能性がある。
クラドリビンの実施例
細胞増殖を阻止するクラドリビンの能力を評価するために、人間の平滑筋または内皮の細胞(クロネテイクス社(Clonetics)、ウォーカースビル、MD)を2000個の細胞/cm2 の一定の密度(約3600個の細胞/ウェル)で接種して12個ウェル型のプレートのそれぞれの中に入れた後に、5パーセントのウシ胎児血清(FCS)を含有している1.5mlの増殖培地により培養した。24時間後に、上記の増殖培地を変えて、10ng/mlの血小板由来型増殖因子AB(PDGF・AB、ライフ・テクノロジー社(LIFE Technologies)ならびに種々の濃度のクラドリビン(0.001乃至10,000nM)を含有している新鮮な培地を3回にわたり各ウェルに加えた。すなわち、培地を3日後に新鮮なクラドリビンを含有している培地に交換した。さらに、6日目において、細胞をトリプシン処理することにより分離して一定の細胞懸濁液を得て、軽く延伸処理することによりペレットにして、一定のノイバウアー(Neubauer)血球計システムを用いて手動により計数した。その後、細胞の生活能力をトリパン・ブルー除外処理により評価した。
以下の表7は培養における人間の平滑筋および内皮の細胞に関するクラドリビンの種々の試験濃度における抑制率を示している。この結果、クラドリビンは上記のモデル・システムにおける平滑筋および内皮の両方の細胞の増殖において一定の濃度に関連する減少を示した。この場合に、平滑筋細胞および内皮細胞の抑制におけるIC50の値(ビヒクル処理した細胞の計数の50%に対する増殖の減少を生じるために必要とされる濃度)はそれぞれ23ナノモルおよび40ナノモルであった。従って、クラドリビンは内皮細胞の抑制因子としての効力に対して約2倍の高力を平滑筋細胞の抑制因子として有している。上記の両方のIC50の値は人間の単核細胞(カレラ(Carrera)他,ジャーナル・オブ・クリニカル・インベスティゲーション(J. Clin. Invest.),86巻,p.1480−1488,1990年)および正常な骨髄、リンパ球およびリンパ芽球の細胞系(カールソン,D.A.(Carson, D.A.)他,ブラッド(Blood),62巻,p.737−743,1983年)に関してクラドリビンについて報告されている抑制濃度の範囲内である。従って、末梢白血病の血液細胞増殖および骨髄細胞の抑制において有効であることが知られているクラドリビンの濃度は脈管平滑筋および内皮の細胞の増殖を阻害することにおいても有効である。それゆえ、クラドリビンはステントの移植に付随する内膜平滑筋の細胞増殖の抑制に治療において有効であると考えられる。
Figure 2005296665
クラドリビンまたは2−クロロデオキシアデノシンは一定のプリン系の代謝拮抗物質のプロドラッグであり、細胞内のホスホリル化を受けて増殖している細胞のDNAの中に取り込まれる。この物質はDNA鎖の切断を生じてDNA合成の抑制を行なう。また、このクラドリビンはG1/S期の中間における細胞を抑制できる。従って、クラドリビンは脈管平滑筋の細胞増殖を抑制して血管再生処置に対して二次的な炎症細胞機能を抑制できる可能性がある。
図58は2%のウシ胎児血清により刺激した非同調培養した人間の冠動脈平滑筋細胞におけるクラドリビンの抗増殖活性を、グラフの形式で、示している。図示のように、クラドリビンは人間の冠動脈平滑筋の細胞増殖を完全に抑制しており、約241ナノモルの一定の抗増殖性のIC50を有している。それゆえ、クラドリビンは局所的に配給される場合に脈管の傷害後の新内膜形成を実質的に抑制できる可能性がある。
ラパマイシンおよびクラドリビンは細胞周期の異なる段階において細胞増殖に影響を及ぼす異なる分子レベルのメカニズムを通して作用するので、これらの物質が一定の薬物溶出式のステントまたは本明細書において定められている任意の別の医療装置において組み合わされる場合に、異なるメカニズムにより平滑筋細胞および免疫細胞の両方の増殖をダウンレギュレーションすることによりそれぞれの抗再狭窄の活性の効力を高めることができる。例えば、非同調培養した人間の冠動脈平滑筋細胞の調査において、ラパマイシンにより処理した細胞にクラドリビンを添加すると、以下において詳細に説明されているように、抗増殖性のラパマイシンの用量応答曲線が左側および上側にずれて、クラドリビンが冠動脈平滑筋細胞におけるラパマイシンの抗増殖活性の効力を実際に高めていることを示している。このようなラパマイシンとクラドリビンとの組み合わせは脈管の傷害後の抗再狭窄の効力を高めることおよび抗再狭窄の効果を達成するためのいずれかの物質の必要とされる量を減少することのために利用できる。また、この組み合わせはラパマイシンまたはパクリタキセルの被覆型ステント等のような単一の薬物の治療プログラムに対して耐性を有する患者の部分母集団に対して特に関連することができる。
図57において、2%のウシ胎児血清により刺激した非同調培養した人間の冠動脈平滑筋細胞における変化した濃度のクラドリビンを伴うラパマイシンの抗増殖活性が、グラフの形式において、示されている。この場合に、多数の曲線はゼロから900ナノモルの濃度の範囲に及ぶクラドリビンの種々の濃度を示している。図57において見られるように、ラパマイシンにより処理した細胞にクラドリビンを添加するとラパマイシン単独の抑制率が増大する。曲線5702はラパマイシンのみの応答を示している。また、曲線5704は56.25ナノモルの濃度のクラドリビンとの組み合わせにおけるラパマイシンの応答を示している。また、曲線5706は112.5ナノモルの濃度のクラドリビンとの組み合わせにおけるラパマイシンの応答を示している。また、曲線5708は225ナノモルの濃度のクラドリビンとの組み合わせにおけるラパマイシンの応答を示している。また、曲線5710は450ナノモルの濃度のクラドリビンとの組み合わせにおけるラパマイシンの応答を示している。さらに、曲線5712は900ナノモルの濃度のクラドリビンとの組み合わせにおけるラパマイシンの応答を示している。図示のように、抑制率はクラドリビンの用量の増加に伴って実質的に増大している。
図59は室温において一定の25%エタノール/水の放出媒体の中に混入している一定のPVDF/HFP基部被膜の中における非無菌状態のクラドリビンの各被膜からのクラドリビンの生体外における放出速度のグラフ図である。この基部被膜は一定の比率のPVDF/HFP(85/15)およびクラドリビンを含有している。すなわち、クラドリビンは基部被膜の35%を占めている。一方、上部被膜も一定の85/15の比率のPVDFおよびHFPを含有しているが、クラドリビンは含有していない。この場合に、曲線5902は基部被膜の重量が600マイクログラム(180マイクログラムがクラドリビン)である場合のクラドリビンの放出速度を示している。また、曲線5904は基部被膜の重量が1800マイクログラム(540マイクログラムがクラドリビン)である場合のクラドリビンの放出速度を示している。また、曲線5906は基部被膜の重量が600マイクログラム(180マイクログラムがクラドリビン)および上部被膜の重量が100マイクログラムである場合のクラドリビンの放出速度を示している。また、曲線5908は基部被膜の重量が1800マイクログラム(540マイクログラムがクラドリビン)および上部被膜が300マイクログラムである場合のクラドリビンの放出速度を示している。さらに、曲線5910は基部被膜の重量が600マイクログラム(180マイクログラムがクラドリビン)および上部被膜が300マイクログラムである場合のクラドリビンの放出速度を示している。これらの種々の曲線から分かるように、上部被膜の重量または厚さの増加と共に、その被膜からのクラドリビンの放出速度が低下する。
図60は室温において一定の25%エタノール/水の放出媒体の中に混入している一定の無菌状態のPVDF/HFP基部被膜からのクラドリビンの生体外における放出速度のグラフ図である。この場合に、曲線6002は上部被膜を用いていない場合の放出速度を示しており、曲線6004は一定の上部被膜を用いている場合の放出速度を示している。この図から分かるように、3倍の上部被膜はクラドリビンの放出速度を劇的に低下している。
図61は一定のヨークシャー・ブタの中に移植したコーディス・コーポレイション(Cordis Corporation)から入手可能なBx・ベロシティ(Bx Velocity)(登録商標)ステントにおける一定の高分子被膜からのクラドリビンの生体内における放出速度のグラフ図である。この基部被膜は合計の組み合わせの重量が1800マイクログラムである85/15の比率のPVDFおよびHFPおよびクラドリビンを含有している(クラドリビンが全体の重量の30%を占めている)。一方、上部被膜は85/15の比率のPVDF/HFPを含有しているが、クラドリビンは全く含有していない。また、この上部被膜の全重量は300マイクログラムである。この場合に、曲線6102により分かるように、最初の日以降、クラドリビンの溶出は有意義に低下している。
図62はブタの薬物速度調査におけるラパマイシン、クラドリビンおよび一定のポリマーの組み合わせ物からのラパマイシンの生体内における放出速度のグラフ図である。この調査において、ラパマイシンおよびクラドリビンは一定のEVA/BMA(50/50)のポリマーの基部被膜中に混入されている。さらに、この基部被膜はBx・ベロシティ(Bx Velocity)(登録商標)ステントに適用されてヨークシャー・ブタの体内に移植されている。この場合に、曲線6202は180マイクログラムのラパマイシン、180マイクログラムのクラドリビンおよび240マイクログラムのEVA/BMAを含有している600マクログラムの基部被膜および200マイクログラムのBMAの上部被膜からのラパマイシンの放出速度を示している。また、曲線6204は120マイクログラムのラパマイシン、120マイクログラムのクラドリビンおよび360マイクログラムのEVA/BMAを含有している600マクログラムの基部被膜および200マイクログラムのBMAの上部被膜からのラパマイシンの放出速度を示している。さらに、曲線6206は180マイクログラムのラパマイシン、90マイクログラムのクラドリビンおよび330マイクログラムのEVA/BMAを含有している600マクログラムの基部被膜および200マイクログラムのBMAの上部被膜からのラパマイシンの放出速度を示している。この結果、これらの高分子被膜からのラパマイシンのそれぞれの放出速度は互いに実質的に類似している。
図63はブタの薬物速度調査におけるラパマイシン、クラドリビンおよび一定のポリマーの組み合わせ物からのクラドリビンの生体内における放出速度のグラフ図である。この調査において、ラパマイシンおよびクラドリビンは一定のEVA/BMA(50/50)のポリマーの基部被膜中に混入されている。さらに、この基部被膜はBx・ベロシティ(Bx Velocity)(登録商標)ステントに適用されてヨークシャー・ブタの体内に移植されている。この場合に、曲線6302は180マイクログラムのラパマイシン、180マイクログラムのクラドリビンおよび240マイクログラムのEVA/BMAを含有している600マクログラムの基部被膜および200マイクログラムのBMAの上部被膜からのクラドリビンの放出速度を示している。また、曲線6304は120マイクログラムのラパマイシン、120マイクログラムのクラドリビンおよび360マイクログラムのEVA/BMAを含有している600マクログラムの基部被膜および200マイクログラムのBMAの上部被膜からのクラドリビンの放出速度を示している。また、曲線6306は180マイクログラムのラパマイシン、90マイクログラムのクラドリビンおよび330マイクログラムのEVA/BMAを含有している600マクログラムの基部被膜および200マイクログラムのBMAの上部被膜からのクラドリビンの放出速度を示している。さらに、曲線6308はラパマイシンを含まず180マイクログラムのクラドリビンおよび400マイクログラムのEVA/BMAを含む600マイクログラムの基部被膜および200マイクログラムのBMAの上部被膜からのクラドリビンの放出速度を示している。この結果、図63において示されているように、高分子のステント被膜からのある程度の制御または調整されたクラドリビンの溶出があるように思えるが、総じてクラドリビンは図62に関連して示されている結果との対比から分かるようにラパマイシンよりもさらに速く溶出すると結論付けることができる。一般に、上部被膜が厚くまたは重くなるほど、薬剤に無関係に、溶出速度が遅くなると思われる。
さらに別の代替的で例示的な実施形態において、ラパマイシンとの組み合わせにおけるトポテカンは脈管の傷害後の再狭窄を防ぐために利用可能である。ラパマイシンはこのラパマイシンの哺乳類標的物の抑制を通して細胞周期のG1期における細胞を制止することによりリンパ球および平滑筋細胞の増殖を減少するように作用する。このラパマイシンの哺乳類標的物に対するラパマイシンの下流側の作用により細胞周期に付随するタンパク質キナーゼの後続の活性が遮断される。一方、トポテカンはトポイソメラーゼIの抑制を通してDNA合成に対して作用を及ぼすカンプトセシンの一定の類似体である。さらに、この抑制はDNAの二本鎖の分解物の蓄積および細胞周期のS期における細胞分割の制止を生じる。また、トポテカンは人間の冠動脈平滑筋細胞の増殖を抑制することが示されている(ブレーム(Brehm)他,2000年)。
カンプトセシンは中国カンプトセカの木およびアジア・ノサポジテス(Asian nothapodytes)の木の樹皮において見られる一定のキノリンに基づくアルカロイドである。このカンプトセシン、アミノカンプトセシン、アメロゲンチン、CPT−11(イリノテカン)、DX−8951fおよびトポテカンは全てDNAトポイソメラーゼIの抑制因子である。さらに、トポテカン、イリノテカンおよびカンプトセシンは抗腫瘍薬と一般に呼ばれている薬品または物質の群に属しており、卵巣癌およびと特定種の肺癌を含む種々の形態の癌を治療するために利用されている。また、カンプトテシンはその高い油溶性および低い水溶性により局所配給において特に有利と考えられる。すなわち、このような低い水溶性は薬物をその放出部位の近くにおいて比較的に長い作用時間にわたり保持して、細胞周期における細胞を潜在的に被覆するために役立つことができる。また、高い油溶性は脂質の細胞膜の中への薬物の浸透を増大して比較的に良好な効力にすることができる。
上記のラパマイシンおよびトポテカン(およびその類似体のカンプトセシンおよびイリノテカン)は細胞周期の異なる段階においてその細胞増殖に影響を及ぼす異なる分子レベルのメカニズムを通してそれぞれ作用するので、これらの物質が、一定の薬物溶出方式のステントまたは本明細書において定められているような任意の別の医療装置において組み合わされる場合に、異なる多数のメカニズムにより平滑筋の増殖および免疫細胞の増殖(炎症性の細胞の増殖)のダウンレギュレーションにより互いの抗再狭窄性の活性を増強することができる。また、同調培養した人間の冠動脈平滑筋細胞の調査において、ラパマイシンにより処理した細胞にトポテカンを加えると、以下において詳細に説明されているように、抗増殖性のラパマイシンの用量応答曲線が左側および上側にずれて、トポテカンおよびその拡張におけるトポイソメラーゼI抑制因子の種類の中の別の物質の投与量が実際に冠動脈平滑筋におけるラパマイシンの抗増殖活性の効果を高めていることを示している。従って、このようなラパマイシンとトポテカンとの組み合わせは脈管の傷害後の抗再狭窄性の作用を高めてその抗再狭窄性の作用を達成するために必要とされるいずれかの物質の量を減少するために利用できる。また、この組み合わせはラパマイシンまたはパクリタキセルの被覆型ステント等のような単一の薬物の治療プログラムに対して耐性を有する患者の部分母集団に対して特に関連することができる。
図64において、2%のウシ胎児血清により刺激した同調培養した人間の冠動脈平滑筋細胞における異なる濃度のトポテカンを伴うラパマイシンの抗増殖作用がグラフの様式で示されている。多数の曲線は0乃至300ナノモルの濃度の範囲のトポテカンの種々の濃度をそれぞれ示している。トポテカンは1マイクロモルまでの種々の濃度における別の細胞の生活能力のアッセイにおいて細胞毒性が無いことが知られている。図64において分かるように、ラパマイシンにより処理した細胞にトポテカンを添加すると、ラパマイシン単独における抑制率が高まる。曲線6402はラパマイシンのみの応答を示している。また、曲線6404は18.8ナノモルの濃度のトポテカンとの組み合わせにおけるラパマイシンの応答を示している。また、曲線6406は37.5ナノモルの濃度のトポテカンとの組み合わせにおけるラパマイシンの応答を示している。また、曲線6408は75ナノモルの濃度のトポテカンとの組み合わせにおけるラパマイシンの応答を示している。また、曲線6410は150ナノモルの濃度のトポテカンとの組み合わせにおけるラパマイシンの応答を示している。また、曲線6412は300ナノモルの濃度のトポテカンとの組み合わせにおけるラパマイシンの応答を示している。
ラパマイシンおよびトポテカン、ならびにその他のトポイソメラーゼI抑制因子の組み合わせ物は一定の新規な組み合わせ物を提供することができ、この組み合わせ物はラパマイシン単独よりも再狭窄/新内膜の肥圧化に対して作用効果が高くなり得る。従って、異なる投与量のラパマイシンおよびトポテカン、ならびにその他のトポイソメラーゼI抑制因子はラパマイシンおよびトポテカンの単純な添加作用よりも新内膜の増殖に対するさらに付加的な利得を生じる可能性がある。加えて、トポテカン、ならびにその他のトポイソメラーゼI抑制因子との組み合わせ物は脆弱性アテローム硬化症プラーク等のような別の心臓脈管病の治療において有効になる可能性がある。
上記のラパマイシンおよびトポテカン、ならびにその他のトポイソメラーゼI抑制因子の組み合わせ物は種々のステントおよびカテーテルを含む多数の手段を介して標的の組織に配給できる。この薬物の組み合わせ物の配給はその所望の効果を達成するための異なる投与速度において達成することができ、以下においてさらに詳細に説明されているように、それぞれの薬物はそれぞれ異なる量の上記高分子基材の中に充填できる。
さらに別の代替的で例示的な実施形態において、ラパマイシンとの組み合わせにおけるエトポシドは脈管の傷害後の再狭窄を予防するために利用可能である。ラパマイシンはこのラパマイシンの哺乳類標的物の抑制を通して細胞周期のG1期における細胞を制止することにより平滑筋の増殖およびリンパ球の増殖を減少するように作用する。このラパマイシンの哺乳類標的物に対するラパマイシンの下流側の作用により細胞周期に付随するタンパク質キナーゼの後続の活性が遮断される。一方、エトポシドはトポイソメラーゼIIの抑制を通してDNA合成に対して作用を及ぼすポドフィロトキシンの一定の細胞増殖抑制性のグルコシド誘導体である。この抑制はDNA鎖の分解および細胞周期のG2/M期における細胞の蓄積、G2/M期の標識点のレギュレーション異常およびその後のアポプトーシスを生じる。
ポドフィロトキシン(ポドフィロックス)およびその誘導体、エトポシドおよびテニポシドは全て細胞増殖抑制性(抗有糸分裂性)のグルコシドである。ポドフィロックスはアメリカミヤオソウの一定の抽出物である。細胞増殖はこのポドフィロックスに対して特に影響を受けやすい。エトポシドは精巣、肺の癌およびその他の種類の癌を治療するために用いられている。また、エトポシドおよびテニポシドは共に2種類の特定の段階において細胞周期を遮断する。すなわち、エトポシドおよびテニポシドは最後の分割とDNAの複製の開始との間の段階を遮断し、DNAの複製も遮断する。
ラパマイシンおよびエトポシドは細胞周期の異なる段階において細胞増殖に影響を及ぼす異なる分子レベルのメカニズムを通して作用するので、これらの物質が一定の薬物溶出式のステントまたは本明細書において定められている任意の別の医療装置において組み合わされる場合に、異なる多数のメカニズムにより平滑筋細胞および免疫細胞の両方の増殖(炎症性の細胞増殖)をダウンレギュレーションすることによりそれぞれの抗再狭窄の活性の効力を高めることができる。例えば、非同調培養した人間の冠動脈平滑筋細胞の調査において、ラパマイシンにより処理した細胞にエトポシドを添加すると、以下において詳細に説明されているように、抗増殖性のラパマイシンの用量応答曲線が左側および上側にずれて、エトポシド、さらにその拡張として、トポイソメラーゼII抑制因子の種類における別の物質が冠動脈平滑筋細胞におけるラパマイシンの抗増殖活性の効力を実際に高めていることを示している。このようなラパマイシンとエトポシドとの組み合わせは脈管の傷害後の抗再狭窄の効力を高めることおよび抗再狭窄の効果を達成するためのいずれかの物質の必要とされる量を減少することのために利用できる。また、この組み合わせはラパマイシンまたはパクリタキセルの被覆型ステント等のような単一の薬物の治療プログラムに対して耐性を有する患者の部分母集団に対して特に関連することができる。
図65において、2%のウシ胎児血清により刺激した同調培養した人間の冠動脈平滑筋細胞における異なる濃度のエトポシドを伴うラパマイシンの抗増殖作用がグラフの様式で示されている。多数の曲線は0乃至800ナノモルの濃度の範囲のエトポシドの種々の濃度をそれぞれ示している。エトポシドは10マイクロモルまでの種々の濃度における一定の細胞の生活能力のアッセイにおいて細胞毒性が無いことが知られている。図65において分かるように、ラパマイシンにより処理した細胞にエトポシドを添加すると、ラパマイシン単独における抑制率が高まる。曲線6502はラパマイシンのみの応答を示している。また、曲線6504は255.7ナノモルの濃度のエトポシドとの組み合わせにおけるラパマイシンの応答を示している。また、曲線6506は340.04ナノモルの濃度のエトポシドとの組み合わせにおけるラパマイシンの応答を示している。また、曲線6508は452.3ナノモルの濃度のエトポシドとの組み合わせにおけるラパマイシンの応答を示している。また、曲線6510は601.5ナノモルの濃度のエトポシドとの組み合わせにおけるラパマイシンの応答を示している。また、曲線6512は800ナノモルの濃度のエトポシドとの組み合わせにおけるラパマイシンの応答を示している。
ラパマイシンとエトポシド、ならびにポドフィロトキシン、その種々の誘導体およびテニポシドを含むその他のグルコシドとの組み合わせ物は一定の新規な治療用の組み合わせ物を提供することができ、この組み合わせ物はラパマイシン単独よりも再狭窄/新内膜の肥圧化に対して作用効果が高くなり得る。従って、異なる投与量のラパマイシンおよびエトポシド、ならびにポドフィロトキシン、その種々の誘導体およびテニポシドを含むその他のグルコシドはラパマイシンおよびエトポシドの単純な添加作用よりも新内膜の増殖に対するさらに付加的な利得を生じる可能性がある。加えて、エトポシド、ならびにポドフィロトキシン、その種々の誘導体およびテニポシドを含むその他のグルコシドとの組み合わせ物は脆弱性アテローム硬化症プラーク等のような別の心臓脈管病の治療において有効になる可能性がある。
さらに、上記のラパマイシンとエトポシド、ならびにポドフィロトキシン、その種々の誘導体およびテニポシドを含むその他のグルコシドとの組み合わせ物は種々のステントおよびカテーテルを含む多数の手段を介して標的の組織に配給可能である。この薬物の組み合わせ物の配給はその所望の効果を達成するための異なる投与速度において達成することができ、以下においてさらに詳細に説明されているように、それぞれの薬物はそれぞれ異なる量の上記高分子基材の中に充填できる。
さらに別の代替的で例示的な実施形態において、パンゼム(Panzem)(登録商標)は脈管の傷害後の再狭窄を防ぐために単独でまたはラパマイシンとの組み合わせにおいて利用可能である。ラパマイシンまたはシロリムスはラパマイシンの哺乳類標的物(mTOR)の抑制を通して細胞周期のG1期における細胞を制止することにより平滑筋の増殖およびリンパ球の増殖を減少するように作用する。このラパマイシンまたはシロリムスは薬物溶出方式の種々のステントを用いて血管再生処置中に投与される場合に優れた抗再狭窄作用を示している。最近の臨床的な試行において、一定のポリマー被膜中にラパマイシンまたはシロリムスを含有している、コーディス・コーポレーション社(Cordis Corporation)から入手可能なサイファー(Cypher)(登録商標)ステントが一定の露出型の金属ステントに比べてそのステントの移植後の再狭窄に対して優れた効力を一貫して示している。一定の薬物放出方式のステントまたはその他の医療装置からのラパマイシンの局所配給は最狭窄を減少することにおいて有効であるが、さらに新内膜の過形成における減少が特定の患者の母集団において有益的になると考えられる。従って、一定のステントまたはその他の医療装置からのラパマイシンと他の物質、例えば、別の抗増殖性の物質との組み合わせ物の供給は脈管の傷害を伴う種々の処置に付随する線維増殖性の脈管の応答をさらに減少することができる。
パンゼム(Panzem)(登録商標)または2−メトキシエストラジオール(2ME2)は内因性エストロゲンの天然に存在する一定の代謝物質である。その多くの特性は多数の適応症を治療するための薬物配給における広範囲の可能な配合物を提供している。例えば、このパンゼム(Panzem)(登録商標)は乳癌、前立腺癌および多発性骨髄腫を伴う患者において抗癌活性を示すことが示されている。このパンゼム(Panzem)(登録商標)は代謝物質のエストロゲンの一定の副産物であり、通常において少量で体内に存在している。しかしながら、このパンゼム(Panzem)(登録商標)は一定のホルモンのようには作用しない。また、パンゼム(Panzem)(登録商標)は効力のある新脈管形成剤であり、このことがこの物質を上記のような一定の有効な抗腫瘍剤にしている理由である。さらに、このパンゼム(Panzem)(登録商標)は上記において簡単に説明されているように多様な直接的および間接的な抗骨髄腫作用を有すると思われる。
上記のパンゼム(Panzem)(登録商標)、すなわち、2−メトキシエストラジオール(2ME2)またはメトキシ−β−エストラジオールは、上述したように、エストロゲンの代謝の一定の生成物であり、現在において種々の遺伝学的な適応症において臨床的に評価されている。このパンゼム(Panzem)(登録商標)は抗脈管形成性の活性を有しており、脈管内皮増殖因子の生成を遮断し、多数の腫瘍性の細胞型の増殖を直接的に抑制する。また、このパンゼム(Panzem)(登録商標)は骨髄腫細胞に対してプロアポプトーシス性(プログラムされた細胞死を与える性質)を有する。さらに、このパンゼム(Panzem)(登録商標)はトレイル(TRAIL)媒介型アポプトーシスの原因である(TNF受容体系統群の)DR−5受容体をアップレギュレーションすることが分かっており(AACR,2003年)、微小管安定特性を有していて、低酸素症誘発因子1を減少する(AACR,2003年)。加えて、以下において詳細に説明されているように、パンゼム(Panzem)(登録商標)は冠動脈平滑筋細胞の生活能力に悪影響を及ぼすことなく人間の冠動脈平滑筋細胞の増殖を低下する。
図66において、2%のウシ胎児血清により刺激されている同調培養した人間の冠動脈平滑筋細胞におけるパンゼム(Panzem)(登録商標)の抗増殖活性がグラフの様式で示されている。曲線6600により示されているように、パンゼム(Panzem)(登録商標)は生体外における人間の冠動脈平滑筋細胞の増殖における一定の極めて有効な抑制因子である。図67は2%のウシ胎児血清により刺激されている同調培養した人間の冠動脈平滑筋細胞におけるラパマイシンまたはシロリムスの抗増殖活性をグラフの様式で示している。それぞれの曲線6700と6600との間の比較により分かるように、上記両方の物質はそれぞれの生体外の調査において有効である。
上記のラパマイシンまたはシロリムスおよびパンゼム(Panzem)(登録商標)またはその他のエストロゲン受容体調節因子は異なる分子レベルのメカニズムを通してそれぞれ細胞増殖を抑制するように作用するので、これらの物質は、一定の薬物溶出方式のステントまたはその他の医療装置において組み合わされる場合に、異なる多数のメカニズムにより平滑筋細胞および免疫細胞の両方の増殖(炎症性の細胞増殖)をダウンレギュレーションすることにより互いの抗再狭窄活性を増強する可能性がある。図68は冠動脈平滑筋細胞におけるラパマイシンの抗増殖作用におけるパンゼム(Panzem)(登録商標)によるラパマイシンの効力増強を示している。このパンゼム(Panzem)(登録商標)および関連の化合物によるラパマイシンの抗増殖活性の増強は血管再生およびその他の脈管の外科処置中における脈管の傷害後の抗再狭窄の効力における一定の向上およびその抗再狭窄作用を達成するためのいずれかの物質の必要とされる量の一定の減少であると解釈できる。加えて、上記パンゼム(Panzem)(登録商標)および関連の化合物の単独またはラパマイシンとの組み合わせにおける局所的な供給は脆弱性のプラークを治療することにおいて治療的に有用であると考えられる。
図68において、2%のウシ胎児血清により刺激されている同調培養した人間の冠動脈平滑筋細胞における異なる濃度のパンゼム(Panzem)(登録商標)を伴うラパマイシンの抗増殖活性がグラフの様式で示されている。これらの多数の曲線は0から100マイクロモルの濃度の範囲におけるパンゼム(Panzem)(登録商標)の種々の濃度をそれぞれ示している。図68において分かるように、ラパマイシンにより処理される細胞にパンゼム(Panzem)(登録商標)を添加することにより、ラパマイシンの単独による抑制率が高まる。曲線6802はラパマイシンのみの応答を示している。また、曲線6804は0.813マイクロモルの濃度のパンゼム(Panzem)(登録商標)との組み合わせにおけるラパマイシンの応答を示している。また、曲線6806は2.71マイクロモルの濃度のパンゼム(Panzem)(登録商標)との組み合わせにおけるラパマイシンの応答を示している。また、曲線6808は9.018マイクロモルの濃度のパンゼム(Panzem)(登録商標)との組み合わせにおけるラパマイシンの応答を示している。また、曲線6810は30.03マイクロモルの濃度のパンゼム(Panzem)(登録商標)との組み合わせにおけるラパマイシンの応答を示している。さらに、曲線6812は100マイクロモルの濃度のパンゼム(Panzem)(登録商標)との組み合わせにおけるラパマイシンの応答を示している。
種々の薬物、薬剤および/または配合物が潜在的に毒性であるか否かおよびその毒性の高さを決定するために種々の生体外の細胞毒性試験またはアッセイが利用可能である。本質的に、生体外の細胞毒性アッセイは直接的な細胞の障害を引き起こす一定の薬物による急性の壊死作用を決定する。これらのアッセイの基本的な考えは種々の毒性の薬品が全ての細胞に共通している細胞の基本的な機能に悪影響を及ぼすと言うことである。一般的に、基準線の毒性を決定するために一定の対照物が用いられる。また、利用可能な多数の異なるアッセイが存在している。本発明において、その用いられている細胞毒性アッセイは細胞の代謝活性の測定に基づいている。すなわち、この代謝活性における一定の低下がその細胞の障害の一定の指示手段になる。さらに、この代謝の機能を測定できる試験方法はMTSの代謝を介する細胞のATPの量またはミトコンドリアの活性を測定できる。図69はパンゼム(Panzem)(登録商標)の一定のMTSアッセイの結果のグラフ図である。図示のように、6.6ナノモル乃至30,000.00ナノモルの濃度の範囲のパンゼム(Panzem)(登録商標)の濃度が細胞毒性における何らかの有意義な変動を生じずに試験されている。このアッセイの結果は30,000.00ナノモルまでのパンゼム(Panzem)(登録商標)の濃度が生存している人間の冠動脈平滑筋細胞を減少しないことを示している。
図70はラパマイシンおよびパンゼム(Panzem)(登録商標)の一定の組み合わせ物からのラパマイシンまたはシロリムスの生体外における放出速度のグラフ図である。この調査において、ラパマイシンおよびパンゼム(Panzem)(登録商標)は一定の高分子の被膜における異なる層の中に組み込まれている。また、この調査において、一定のBx・ベロシティ(Bx Velocity)ステントが一定の400マイクログラムの内側層および一定の300マイクログラムの外側層により被覆されている。さらに、この内側層は45%のパンゼム(Panzem)(登録商標)および55%のEVA/BMA(50/50)を含有している。また、外側層は40%のラパマイシンおよび60%のEVA/BMA(50/50)を含有している。また、この調査においてポリマーの上には上部被膜が存在していない。この場合に、曲線7000は上記組み合わせ物からのラパマイシンの放出速度を示している。
図71はラパマイシンまたはシロリムスおよびパンゼム(Panzem)(登録商標)の一定の組み合わせ物からのパンゼム(Panzem)(登録商標)の生体外における放出速度のグラフ図である。この調査において、ラパマイシンおよびパンゼム(Panzem)(登録商標)は一定の高分子の被膜における異なる層の中に組み込まれている。また、この調査において、一定のBx・ベロシティ(Bx Velocity)ステントが一定の400マイクログラムの内側層および一定の300マイクログラムの外側層により被覆されている。さらに、この内側層は45%のパンゼム(Panzem)(登録商標)および55%のEVA/BMA(50/50)を含有している。また、外側層は40%のラパマイシンおよび60%のEVA/BMA(50/50)を含有している。また、この調査においてポリマーの上には上部被膜が存在していない。この場合に、曲線7100は上記被膜からのパンゼム(Panzem)(登録商標)の放出速度を示している。さらに、図70および図71の比較から分かるように、上記試験の条件下においてラパマイシンはパンゼム(Panzem)(登録商標)よりも遅く溶出している。
以下においてさらに詳細に説明されているように、一定の医療装置からの上記の種々の薬物、薬剤および/または配合物またはこれらの組み合わせ物の制御された局所的配給を行なうために、種々の非相容性のポリマーの一定の組み合わせ物がラパマイシンおよびミコフェノール酸、ラパマイシンおよびトリコスタチンA、ラパマイシンおよびクラドリビン、ラパマイシンおよびトポテカン、ラパマイシンおよびエトポシド、ラパマイシンおよびパンゼムおよび/または本明細書において記載されている種々の薬物、薬剤および/または配合物の任意の物との組み合わせにおいて利用可能である。加えて、上記の種々の非相容性のポリマーは種々の物質の組み合わせ物からの個々の物質の放出速度を制御するために種々の組み合わせ物の中において利用可能である。例えば、上記の各試験から、ミコフェノール酸がラパマイシンよりも速く溶出することが分かる。従って、望まれる場合において、非相容性の種々のポリマーの適正な組み合わせ物を利用することにより、上記両方の物質が同じ速度で溶出すること確実にすることも可能になる。
上記の被膜、薬物、薬剤または配合物は多数の医療装置、特に、ステントおよびステント移植片等のような移植可能な医療装置との組み合わせにおいて利用できる。さらに、種々の大静脈フィルターおよび吻合装置等のような別の装置が種々の薬物、薬剤または配合物を含む被膜と共に使用できる。図1および図2において示されている上記の例示的なステントは一定のバルーン拡張式のステントである。このようなバルーン拡張式のステントは多数の血管または導管の中において利用可能であり、特に、種々の冠動脈の中において使用するために十分に適している。一方、自己拡張式のステントは、例えば、頸動脈の中におけるつぶれの回復が重要なファクターになる場合に脈管内において使用するために十分に適している。従って、上記の薬物、薬剤または配合物、ならびに被膜のいずれもが当業界において知られている種々の自己拡張式のステントとの組み合わせにおいて利用可能であることに注目することが重要である。
外科的な吻合は種々の構造の外科的な結合処理であり、特に、管状の種々の器官を結合してこれらの間に一定の相互連絡部分を形成する。血管手術は、多くの場合において、血管同士の間または一定の血管と一定の脈管移植片との間に一定の吻合部分を形成して、主要な各組織に対する一定の血流路を形成または回復する。また、冠動脈バイパス移植術(CABG)は血液の供給が冠動脈の内の1個以上における閉塞または狭窄により損なわれている虚血性の心筋への血液の流れを回復する一定の外科処置である。このCABG手術を行なう一例の方法は一定の伏在静脈または他の静脈あるいは動脈の導管を一定の体内の別の場所から採取するか、例えば、ダクロン(Dacron)(登録商標)またはゴレテクス(Goretex)(登録商標)等のような一定の人工導管を用いて、この導管を一定のバイパス移植片として、大動脈のような一定の生存可能な動脈から閉塞または細狭化している下流側の冠動脈に接続する処置を含む。この場合に、合成の移植片よりも天然の移植片を利用することが好ましい。なお、移植片の基端部(近位側の端部)および先端部(遠位側の端部)の両方が分離している一定の移植片は「遊離移植片または自由移植片(free graft)」として知られている。さらに、別の方法は比較的に主要でない一定の動脈、例えば、内乳頭間動脈をその自然な位置から経路変更することにより、この動脈が一定の遮断部分の下流側における冠状動脈に接続できるようにする。この移植片血管の基端部はその自然な位置に取り付けられた状態に維持されている。この種の移植片は「茎状移植片(pedicled graft)」として知られている。上記第1の場合において、上記バイパス移植片は当該移植片の基端部および先端部の両方における端部から側部に到る吻合術により自然なそれぞれの動脈に取り付けられる必要がある。また、上記第2の方法においては、少なくとも1回の端部から側部に到る吻合術をバイパスに用いる動脈の先端部において行なう必要がある。以下における例示的な実施形態の説明において、近位側吻合および遠位側吻合として一定の遊離移植片に対する吻合について述べられている。近位側吻合術は、一定の血液供給源、例えば、大動脈に連結した移植管の端部における吻合術であり、遠位側吻合術は、大動脈を通って流れる血液の行き先、例えば、一定の冠状動脈に連結した移植管の端部における吻合術である。これらの吻合術はまた第1の吻合術または第2の吻合術と呼ばれる場合もあり、このことは吻合術が一定の移植片の基端部または先端部のいずれであるかにかかわらずこれらの吻合術が行なわれる順序を示している。
現在において、本質的に全ての血管吻合術は従来の手による縫合により行われている。このような吻合部の縫合は時間がかかり且つ困難な作業であり、外科医の側における高い技術および経験を必要とする。各吻合部は血液のための滑らかで開いた流路をもたらすと共にその結合部分が完全に漏れの無いことが重要である。このような完全に漏れの無いシールは最大の努力を払っても常に達成されるとは限らない。この結果、吻合部を再縫合して検出された何らかの漏れを閉じる必要が生じる場合が多い。
上記のような手作業により縫合する吻合において時間がかかることは幾つかの理由によりCABG手術において特別な問題を有する。第1に、患者は外科処置の大部分において心肺バイパス(CPB)により支援されていることが必要であり、その心臓は全身系の循環から分離(すなわち、「クロスクランプ処理(crossclamped)」)しなければならず、その心臓を、一般的に低温心停止溶液の注入により、停止させてその心臓における吻合部位が吻合部の縫合中に静止して血液の無い状態になるようにする必要がある。これらの心肺バイパス、循環分離および心停止は本来的に極めて傷害性が高く、特定の術後合併症の頻度が心臓停止状態の持続時間(「クロスクランプ時間(crossclamp time)」と呼ばれる場合が多い)により直接的に変化することが分かっている。第2に、心臓手術室の使用時間の費用が高いのでその手術が長引くとそのバイパス手術の病院および患者に対する費用が相当に増大する可能性がある。従って、吻合部の品質または作用効果を低下することなくその吻合処置を速めることにより上記のようなクロスクランプ時間および手術全体の持続時間を短縮することが望ましい。
従来の手動式の縫合による吻合において必要とされる既に高度である操作の熟練は非開胸心式またはポートアクセス式の胸腔鏡下バイパス手術、すなわち、標準の開胸心式のCABG処置と比較した場合に、CABG手術の罹病率を減少するよう設計さている新しく開発された外科処置においてさらに高められている。このような非開胸心式の処置において、心臓への外科的接近は一定の患者の胸部における肋間隙内に作成した狭い接近ポートを介して行われ、この処置は胸腔鏡による観察下において行われる。患者の胸部は開かれないので、吻合部の縫合は組織に接近して、吻合を行なうために使用する針および縫合糸を保持して操作するための接近ポートを介して位置決めされた細長い器具を用いて、一定の距離において行なう必要がある。このことは開胸心式CABG術中に吻合部位を縫合するための既に知られている困難な処置よりもさらに優れた操作の熟練が必要になる。
開胸心式CABG手術または非開胸心式CABG手術の実施中においてその血管吻合部を形成することにおける困難さを軽減するために、一定のバイパス移植片または動脈とその心臓の大動脈または自然な種々の血管との間の信頼性の高い端部から側部に到る吻合を行なうための一定の迅速な手段を提供することが望ましいと考えられる。このような吻合処置を速めて改善するための第1の方法はステープル処理技法を用いることであった。このステープル処理技法は組織の取り付けを比較的に迅速に且つ高い信頼度で行なうために多くの異なる手術領域において有効に用いられている。このようなステープル処理技法における最大の進歩は胃腸手術の領域においてであった。種々の外科的ステープル処理器具が中空または管状の種々の器官、例えば、腸の端部から端部、側部から側部、および端部から側部に到る種々の吻合のために開発されている。不都合にも、これらの器具は種々の血管吻合部を形成する用途には容易に適合できない。このことは、特に、これらの器具を種々の血管等のような比較的に細い器官に適応させるために小形化することにおける困難さによる。考えられるさらに重要なことは血液のための一定の滑らかで開口している流路を形成することの必要性である。種々の管状器官の端部から端部または端部から側部に到る吻合のための既知の種々の胃腸ステープル処理器具は一定の逆吻合部を形成するように、すなわち、結合する器官の内腔内に組織が内側に折り込まれるように設計されている。このことは腸管の外側層(漿膜)に近づくことが最も重要である胃腸手術では許容可能である。この組織は一体に生長して強固で永久的な結合部分を形成する組織である。しかしながら、血管手術においては、このような形態は幾つかの理由により許容できない。第1に、上記のような逆にした血管壁部は血液の流れにおける一定の中断部分を生じると考えられる。さらに、このことは減少した流れおよびその中断部分の下流側における虚血部を生じる可能性があり、さらに悪いことに、生じた流れの中断部分または種々の渦が血栓を生じる一定の場所になる可能性があり、これにより、その血栓の部位におけるその血管内に塞栓が分散して閉塞する可能性がある。第2に、腸導管とは異なり、血管の外表面部(外膜)は近接している場合に一体に生長しない。従って、種々の縫合糸、ステープルまたはその他の結合装置が血管吻合部の構造的な完全性を維持するために永久的に必要とされる場合がある。第3に、永久的な非血栓形成性の血管を作るために、最も内側の層(内皮)はその血管の全体における連続した中断されていない内膜に対応して一体に増殖する必要がある。従って、外転して、外側に折り重ねられていて、逆にして裏返しされていない直接的な縁から縁に到る接合部である血管吻合部を形成する一定のステープル処理器具を提供することが好ましい。
少なくとも1個のステープル処理器具がCABG手術中における血管吻合を行なうために供給される。ドクター・バシリ・I.コレソフ(Dr. Vasilii I. Kolesov)によりCABG手術における使用に初めて適用されていて、後にドクター・エフゲニー・V.コレソフ(Dr. Evgenii V. Kolesov)(米国特許第4,350,160号)により改造されている装置を用いて、内乳頭間動脈(IMA)または一定の静脈移植片と冠状動脈の内の一つ、主として、左前下降冠状動脈(LAD)との間に端部から端部に到る一定の吻合部を形成した。この装置は端部から端部に到る吻合だけを行なうことができるので、上記の冠状動脈を最初に周囲の心筋層から切断および分離して、その露出した端部を取り付けのために外転する必要がある。このような技術は上記の冠状動脈が完全に閉塞しているために、一定の吻合部分を作成するためにその遮断部分の下流側においてその冠状動脈を完全に切断することによる血液の損失が無い場合にこの装置の適応性を制約している。この結果、上記装置は上記冠状動脈が部分的にのみ閉塞している場合には適用できず、一定のバイパス移植片と大動脈との間の近位側から端部に到る吻合を行なうことには全く適用できない。
端部から側部に到る血管吻合のための血管ステープル処理装置を提供する一例の試みが、キャスター(Kaster)他に発行されている米国特許第5,234,447号(発明の名称:「サイド−トゥ−エンド・バスキュラー・アナストモチック・ステープル・アパレイタス(Side-to-end Vascular Anastomotic Staple Apparatus)」において記載されている。このキャスター他は一定のリング形状のステープルを提供しており、そのステープル脚部は2本の血管を一定の端部から側部に到る吻合術において一体に結合するようにそのリングの近位側および遠位側の各端部から延出している。しかしながら、上記キャスター他は吻合を迅速且つ自動的に行なうための一定の完全なシステムを開示していない。このキャスター他により開示されている吻合ステープルを供給する方法は移植片を取り付けた後であってこれを大動脈壁において作成した開口部の中に挿入する前に、手動操作型の工具を用いてそのステープルの遠位側の歯を個別に変形することによる、そのステープルにおける多量の手動操作を含む。このキャスター他によるステープルを供給することにおける比較的に困難な操作の内の一つは移植管をステープルの各脚部の尖った端部の上に注意深く外転する処理、および、その後に、各ステープルの脚部により血管の平坦化された縁部を穿刺する処理を含む。この技術を応用する実験的な試みにより、この方法が移植管の操作における困難さおよび移植管壁部への損傷の恐れと言う理由により極めて不都合であることが立証されている。速さ、信頼性および利便性のために、吻合を行ないながら複雑な操作を行なう必要性を回避することが好ましい。さらに別の屈曲作業をステープルの各脚部に対して行なう必要がある。上記ステープルの遠位側の歯部がいったん変形すると、このステープルを大動脈切除のための開口部を通して挿入することが困難になる場合がある。上記キャスター他による装置の別の不都合点は移植管の壁がステープル上で平坦になっている場所においてそのステープルの遠位側の歯部が移植管の壁部を穿刺するということである。このような移植管の壁部の穿刺により、吻合部の漏れが潜在的に誘発されて、移植管壁部の構造的完全性が損なわれる可能性があり、このことが一定の切開または断裂の場所として作用して、破滅的な破損が生じることも考えられる。上記キャスター他によるステープルの各脚部は選択された位置においてその吻合部に圧力を供給するだけであるので、そのステープル脚部の間において潜在的な漏れの可能性がある。さらに、このステープルの遠位側の歯部は血栓症の可能性を回避することが最も重要である吻合部位において血液の流路に曝される。さらに、ステープルが移植管の壁部を穿刺している一定の移植管の中間層における露出部分が一定の内膜過形成の開始部位となり、これが上述したような移植片の長期間の開存性を損なうという可能性もある。これらの潜在的な欠点のために、移植管への取り付けをその血管壁部に対して可能な限り無傷の状態で行なうこと、および吻合部位または移植管内腔内の平滑で中断されていない内膜層以外の異物あるいは血管層の可能性のある露出部分をできるだけ無くすことが望ましい。
吻合処置を速めて改善する別の方法は血管を一体に接合するための吻合継手を用いることによる方法である。端部から側部に到る血管吻合のための一定の血管吻合継手装置を提供する一例の試みがキャスター(Kaster)に発行されている米国特許第4,366,819号(発明の名称:「アナストモチック・フィッテイング(Anastomotic Fitting)」)において記載されている。この装置は一定の四部品型の吻合継手であり、この継手は上部において移植管が平坦化される一定の管状部材、大動脈内腔内から大動脈壁部に係合する一定のリング・フランジ、および大動脈壁部の外部に係合する一定の係止リングを有している。さらに、別の類似の吻合継手がキャスター(Kaster)に発行されている米国特許第4,368,736号において記載されている。この装置は一定の取付リングにより大動脈壁部に固定される一定のフランジ付きの遠位側端部、および移植管に取り付けるための一定の移植片固定カラーを伴う一定の近位側端部を有する一定の管状継手である。これらの装置は多数の欠点を有している。第1に、上記の吻合継手は吻合装置の異物をその動脈内の血液の流路に露出する。このことは血液流路内の異物が溶血、血小板の堆積および血栓症を引き起こす傾向を有する可能性があるので望ましくない。異物に対する免疫反応、例えば、異物の拒絶または異物の存在により開始される自己免疫反応、はその異物が血液の流れに曝されるとさらに強くなる傾向を有している。従って、血液の流路に曝される吻合継手の内表面部の内のできるだけ多くを標的の血管または移植管からの血管組織により被覆して、平滑で連続した血液に適合性を有する内皮層をその血液の流れに対して存在させることが好ましい。上記‘819号特許におけるキャスター(Kaster)により記載されている吻合継手もまた移植管を吻合継手の上に保持するスパイクが血液の流路に極めて近く、潜在的に血管に外傷を引き起こす可能性があり、このことはその吻合部における漏れを生じるか、その血管の機構的完全性を損なう可能性があると考えられる。この結果、移植管に対してできるだけ外傷性の無い一定の吻合継手を提供することが望ましい。また、取付スパイク等のような鋭利な構造的特徴部分は血液の流路および吻合部位からできるだけ離して配置して、吻合部の密封性または血管の構造的完全性が損なわれないようにする必要がある。
端部から端部に到る吻合用の別の装置、すなわち、3M−ユニリンク(3M-Unilink)装置(米国特許第4,624,257号、4,917,090号、4,917,091号)が、種々の事故において切断された血管を再結合する等のような、顕微外科手術において使用するように設計されている。この装置は2個の外転リングを有している一定の吻合クランプを備えており、これらのリングはそれぞれの反対側の面部において一連の突き刺し用スパイクにより一体に係止される。しかしながら、この装置は端部から側部に到る吻合に用いる場合に手間がかかり、標的の血管を変形する傾向があるので、現在においてはCABG手術には用いられていない。さらに、血管をこの装置内に挿入するために必要とされる繊細な処理のために、ポート接近式の外科手術には不適当であると考えられる。
上記およびその他の問題を解決するために、種々の血管の間または他の中空器官と血管との間において一定の端部から側部に到る吻合を行なう一定の吻合装置を提供することが望ましい。また、吻合を実施しながら血管に対する外傷を最小限に抑え、これにより、血管内の血液流路に曝される異物の量を最少にして、漏れの問題を回避し、迅速な内皮化および治癒を促進する一定の吻合装置を提供することが望ましい。また、本発明が最少量の手動操作による一定の吻合処理を迅速且つ自動的に行なう一定の完全なシステムを提供することが望ましい。
種々の吻合装置が種々の生物学的組織の接合、特に、一定の流体通路を形成するための種々の管状器官の接合に利用できる。このような管状器官または血管の間の連結は側部から側部、端部から端部および/または端部から側部に到る様式で行なうことができる。一般的に、一定の移植管および一定の標的血管が存在する。この標的血管は一定の動脈、静脈または任意の他の導管または流体搬送用の脈管、例えば、種々の冠状動脈とすることができる。また、移植管は、一定の合成材料、自己血管、同種血管または異種移植片を含むことができる。種々の吻合装置は任意の適当な生体適合性の材料、例えば、金属、ポリマーおよびエラストマーを含むことができる。加えて、形成する連結部分の種類に応じて吻合装置に対応する多様な設計および形態が存在する。ステントと同様に、吻合装置は標的の血管にして一定の傷害を生じ、これにより、その身体から一定の応答を誘発する。従って、ステントの場合と同様に、遮断した種々の接合部分を生じる可能性のある平滑筋細胞の増殖の潜在性が存在している。従って、吻合部位における平滑筋細胞の増殖および炎症を最小限に抑えるか、実質的に無くす必要がある。ラパマイシンおよび/またはその他の薬物、薬剤または配合物を上述のステントと類似している一定の様式で利用できる。換言すれば、吻合装置の少なくとも一部分をラパマイシンまたはその他の薬物、薬剤または配合物により被覆できる。
図10乃至図13は端部から側部に到る吻合用の一定の例示的な吻合装置200を示している。例示的な吻合装置200は一定の締結フランジ202および取り付けた状態の複数のステープル部材204を有している。上述したように、この吻合装置は任意の適当な生体適合性の材料により構成できる。好ましくは、この吻合装置200は一定の変形可能な生体適合性の金属、例えば、一定のステンレス・スチール合金、チタン合金またはコバルト合金を含む。また、上述したように、一定の表面被膜または一定の薬物、薬剤または配合物を含有している表面被膜を用いてこの装置の生体適合性またはその他の材料特性を改善すると共にその装置の体内への配置に対する身体の応答を軽減するか実質的に無くすことができる。
上記の例示的な実施形態において、吻合の完了時に、上記締結フランジ202は標的血管の壁部208の内表面部206上に存在している。溶血、血栓形成または異物反応の危険性を実質的に減少させるために、この締結フランジ202の全体的な大きさは標的血管の内腔210内の異物の量を減少するために可能な限り小さいことが好ましい。
上記締結フランジ202は一定の内径を有する一定のワイヤー・リングの形態をしており、このワイヤー・リングは、完全に拡張すると、移植管壁部214および標的血管壁部208内に作成される開口部216の外径よりもわずかに大きい。初めに、締結フランジ202のワイヤー・リングはそのリングの直径を減少するために一定のさざなみ状の形状を有しており、これにより、標的血管壁部208の開口部216中に容易に嵌入するようになっている。複数のステープル部材204が上記ワイヤー・リングから近位側方向に実質的に垂直に延びている。図示の例示的な実施形態においては、9個のステープル部材204がワイヤー・リングの締結フランジ202に取り付けられている。上記吻合装置200の別の変形例は一般的に接合する種々の血管の寸法および特定の用途において必要とされる取り付けの確実性に応じて、4個乃至12個のステープル部材204を有する。これらのステープル部材204は上記ワイヤー・リングの締結フランジ202と一体に形成することができ、あるいは、これらのステープル部材204は溶接、ろう付けまたは任意の他の適当な接合方法により締結フランジ202に取り付けることもできる。各ステープル部材204の近位側端部218は標的血管壁部208および移植管壁部214を容易に穿刺するように鋭利化されている。好ましくは、これらステープル部材204の近位側端部218は吻合装置200の配備時にその取り付けの確実さを改善するための突起部220を有している。このような吻合装置200はこの装置を一定の供給装置222の遠位側端部に取り付けることにより使用の準備ができる。この締結フランジ202は取付器具222の細長い軸部226の遠位側端部に取り付けられている一定のアンビル224に取り付けられる。各ステープル部材204はアンビル224の近位側において上記器具222に取り付けられている一定の円錐形のホルダー228に対して内側に押圧される。さらに、各ステープル部材204は一定のキャップ230により上記の位置に固定され、このキャップ230は上記細長い軸部226に摺動自在に取り付けられている。このキャップ230は遠位側に動いて各ステープル部材204の鋭利化された突起付きの近位側端部218を覆うと共にこれらを上記円錐形ホルダー228に対して当接状態に保持する。その後、取付器具222を移植管214の内腔232の中に挿入する。このことは取付器具222を移植管214の近位側端部から遠位側端部まで移植管内腔232の中を通して挿入することにより行なうことができ、あるいは、取付器具222の細長い軸部226を上記の遠位側端部から近位側端部まで移植管内腔232内の中に後方に押し込むことにより行なうことができ、どちらも場合により最も有利になる。その後、上記吻合装置200が取り付けられている取付器具222の遠位側端部におけるアンビル224および円錐形ホルダー228を開口部216の中を通して標的血管の内腔210内に進入させる。
次に、移植管内腔232を標的血管壁部208の開口部216の中心に整合した状態で移植管壁214の遠位側端部234を外転して標的血管壁部208の外表面部236に当接させる。その後、キャップ230をステープル部材204の近位側端部218から引き抜いてステープル部材204が外側にばね作用により開いてそれぞれの拡張状態の位置に到る。次に、取付器具222を近位側方向に引っ張り、各ステープル部材が開口部216の周りの標的血管壁部208および移植管214の外転状態の遠位側端部234を穿刺する。
上記取付器具222は移植管214の外側を囲む一定の環状ステープル形成部材238を有している。上記の穿刺工程中に環状ステープル形成部材238から外転した移植管壁部に加えられる僅かな圧力が各ステープル部材204による移植管壁部214に対する穿刺を補助する。この処置のこの時点において環状ステープル形成部材238により過度に大きな圧力を供給しないように注意する必要がある。この理由は、各ステープル部材204が血管壁部を完全に横切る前に時期尚早に変形する可能性があるからである。望まれる場合に、一定のエラストマー等のような、一定の軟質材料により作成した一定の環状表面を取付器具222の上に設けて各ステープル部材204が血管壁部を穿刺する際にその血管壁部を支持することができる。
各ステープル部材204が標的血管壁部208および移植管壁部214をいったん完全に横切ると、アンビル224により締結フランジ202を支持している状態で、上記ステープル形成部材238は比較的に大きな力で押し下げられる。これにより、各ステープル部材204は外側に変形して鋭利化した突起付きの端部218が外転した遠位側端部234を通して標的血管壁部208内に後から穿刺して一定の永続的な取り付け部を形成する。この吻合を完了させるために、アンビル224は移植管内腔232の中を通して引き抜かれる。このアンビル224がワイヤー・リングの締結フランジ202の中を通過する時に、その波状の部分を直線状にして、このワイヤー・リングフランジ202はその完全な拡張状態の直径を有する。あるいは、このワイヤー・リングの締結フランジ202は一定の弾性材料により作成することができ、これにより、このフランジ202は一定の標的血管内腔210の中に放出されるまで一定の波状または折りたたみ状の位置に圧縮および保持することができ、その後に、このフランジ202はその完全に拡張した直径を有することができる。別の代替的な構成は一定の形状記憶合金の吻合装置を動作することであると考えられ、これにより、上記締結フランジは上記標的血管の開口部の中に圧縮および挿入することが可能になり、その後に、このフランジはその吻合装置200を上記形状記憶合金の転移温度よりも高い一定温度に加熱することによりその完全に拡張した状態の直径に戻ると考えられる。
上述の例示的な実施形態において、ステープル部材204および/またはワイヤー・リング締結フランジ202は上述の種々の薬物、薬剤または配合物のうち任意のもの、例えば、ラパマイシンにより被覆して平滑筋壁部の増殖を阻止または実質的に減少することができる。
図14は一定の吻合装置の別の例示的な実施形態を示している。この図14は本発明の別の例示的な実施形態に従って、少なくとも2個の解剖学的構造を接合する一定の装置の側面図である。この装置300は第1の端部304および第2の端部306を有している一定の縫合糸302を含み、この縫合糸302は以下において説明されている一定の様式で種々の解剖学的構造を通過するように構成されている。この縫合糸302は多様な材料、例えば、ポリプロピレンまたはポリアミドを含む、最小の形状記憶性を有する種々のモノフィラメント材料により形成できる。任意の適当な直径の寸法、例えば、8番乃至0番を用いることができる。もちろん、他の縫合糸の種類および寸法も可能であり、これらは本発明において同等に含まれている。
一定の針308が好ましくは湾曲しており、この針は縫合糸302の第1の端部304に備えられている。この針308の鋭利な先端部310は種々の解剖学的構造の容易な侵入を可能にすると共に、その針308および縫合糸302がその構造の中を容易に通過することを可能にする。この針308は、例えば、スエージ加工による等の種々の方法により縫合糸302に取り付けることができ、好ましくは、この針308と縫合糸302の外径を可能な限り近づけて実質的に一致させることができる。
上記装置300は縫合糸302の第2の端部306において配置されている一定の保持装置312も有している。この保持装置312は図示の例示的な実施形態により第1および第2の各肢部314,316を有しており、好ましくは、縫合糸302よりも高い剛性を有している。この第1の肢部314は、例えば、スエージ加工による等の種々の方法で縫合糸302に接続可能であり、好ましくは縫合糸302と上記保持装置312の外径を可能な限り近づけて実質的に一致させることができる。上記保持装置312は好ましくは一定の吻合部の外側においてけん縮してそのけん縮状態の位置を保持するために十分に軟質で展性を有している一定の屈曲可能な材料を含む一定のステープル構造を有している。このような材料はチタンまたはステンレス・スチールを含むことができる。この保持装置312は、図示の実施形態によれば、一定のステープルと呼ぶこともでき、さらに、上記縫合糸302および針308は当該ステープル312の一定の配給システムと呼ぶこともできる。
図14は保持装置312の多くの考えられる初期的な形態の内の一つを示しており、この保持装置312の形態は種々の解剖学的構造の中を初期的に通過する時および/またはその前の一定の時点における形態である。以下において説明されているように、上記保持装置312はその初期形態から一定の保持用の形態に移動可能であり、この保持用の形態において、当該保持装置312は種々の解剖学的構造を一体に保持する。図示の例示的な実施形態によれば、上記保持装置312は、図19(以下においてさらに説明されている)において示されているように、屈曲時またはけん縮時においてその保持形態を採る。
上記保持装置312は好ましくは、図示のように、実質的にV字形または実質的にU字形であるが、特定の外科的状況および/または外科医の選択に適合するように多様な形状を採ることができる。例えば、上記肢部314,316の内の一方が直線状であり、他方が湾曲状であってもよく、あるいは、これらの肢部314,316が同一線状であってもよい。上記保持装置312は好ましくは針308と同程度に平滑で断面が丸い。さらに、好ましくは、上記針308、縫合糸302および保持装置312の各直径、特に、針308および保持装置の各直径は上記ステープル312の直径よりも大きな種々の解剖学的構造に穴を形成することを回避するために実質的に同一である。このような穴は出血または漏れを引き起こしやすい。
上記装置300を用いる一定の方法が図15乃至図19において示されている。最初に、図15において示されているように、針308は解剖学的構造318,320を通過しており、これらの解剖学的構造は、例えば、種々の血管構造である。具体的に言えば、図示の例示的な実施形態によれば、針308は各血管構造318,320の縁部322,324を通過している。次に、図16において示されているように、針308は縫合糸302を両方の構造318,320に引き入れてこれらに通過している。その後、ステープル312が、図17乃至図19において示されているように、各構造318,320に対して所望の近さになるまで引きこまれて、このステープルは図示の吻合部および関連の内腔部326の両側において係合する。一例の例示的な実施形態によれば、一定の牽引力が上記ステープル312の位置を留めるために上記縫合糸302に加えられる。
図19において示されていると共に既に参照されているように、上記ステープル312は、その後において、その初期形態から一定の保持用またはけん縮された形態328に移動し、この形態において、上記解剖学的構造318,320はこれらの間に一定の吻合を行なうように一体に接合する。上記ステープル312は、そのけん縮部分330が管腔321の外部にある状態で、上記吻合部の縁部において実質的に360゜の一定のループを形成する。多様な工具および/または機構を用いて、上記ステープル312を、例えば、一定の血管クリップの閉鎖様式等において、その保持用の形態にけん縮できる。その後、同一の工具または別の代替的な工具を用いて、例えば、切断等によりステープル312を縫合糸302から分離できる。
上記のようにして、ステープル312は、対向している構造を外部のみから固定する多くの従来のステープルとは異なり、各血管構造の内部および外部から血管構造318,320を一体に保持する。このことは、上述したような、多くの利点を達成している。一定のステープルのけん縮処理は一定の比較的に良好な接近効果を実現するだけでなく、1個以上の結び目を形成する処理よりも簡単であり、組織に対する外傷性も低くなる傾向がある。また、単一のけん縮部分によるステープルの閉鎖は、例えば、数回の糸通しを必要とする一定の結び目に比した場合に、一定の吻合部分における張力をさらに低下する。本発明の実施形態は、例えば、一定の最少侵襲性の設備における一定の結び目プッシャを伴う結び目の形成処理が特に手間がかかり、すべりを防止するために4回乃至5回の糸通しを必要とする可能性があるので、このような最少侵襲性の外科的状況において特に有利である。本発明の種々の実施形態におけるように、ステープルを一定のポートを通してクリンプ処理することは遙かに簡単でありその困難さを大幅に軽減する。
一例の例示的な実施形態によれば、外科医は好ましくは限られた数のステープルまたはその他の保持装置により種々の血管またはその他の構造に対する正確な接近を達成した後に、生物学的な接着剤またはレーザー技法を用いてその吻合部分を完成することができる。例えば、2個以上の数の保持装置を用いて種々の構造を配向または配列することができ、これらをその吻合部分の完成に誘導するための一定の「案内手段(pilot)」として使用できる。
上述の例示的な実施形態において、保持装置312は上述の種々の薬物、薬剤または配合物の内の任意のもの、例えば、ラパマイシンにより被覆して平滑筋細胞の増殖を阻止するか実質的に減少することができる。
上述のように、種々の薬物、薬剤または配合物が種々の医療装置を介して局所的に配給できる。例えば、ラパマイシンおよびヘパリンを再狭窄、炎症、および凝固を減少するために一定のステントにより配給することができる。さらに、これらの薬物、薬剤または配合物を固定化するための種々の技法が上記において述べられているが、これらの薬物、薬剤または配合物を配給中に種々の医療装置において保持して位置決めすることはその処置または治療の成功において重要である。例えば、上記薬物、薬剤または配合物の被膜の除去はその装置の故障を潜在的に引き起こす可能性がある。一定の自己拡張式のステントの場合に、その保持用のシースを後退することにより種々の薬物、薬剤または配合物がそのステントから擦れ落ちる可能性がある。また、一定のバルーン拡張式のステントの場合には、そのバルーンの拡張により、種々の薬物、薬剤または配合物がそのバルーンとの接触または拡張によりそのステントから単純に剥がれ落ちる可能性がある。それゆえ、上記のような潜在的な問題は一定のステント等のような有効な治療用の医療装置を有することにおいて重要である。
上記の問題を実質的に減少するために利用できる多数の方法がある。一例の例示的な実施形態において、一定の潤滑剤または離型剤が利用できる。これらの潤滑剤または離型剤は任意の適当な生体適合性で潤滑性の被膜を構成することができる。一定の例示的な潤滑性の被膜はシリコーンを含むことができる。この例示的な実施形態においてシリコーン基材の一定の溶液をバルーン表面の上、高分子基材の上、および/または一定の自己拡張式のステント配給装置のシースの内面の上に導入して自然に空気により硬化させることができる。あるいは、上記シリコーン基材型の被膜を一定の高分子基材の中に組み込むことも可能である。しかしながら、材料が生体適合性であること、また、その材料が種々の薬物、薬剤または配合物の作用/硬化に影響を及ぼさないこと、さらに、その材料が一定の医療装置にそれらの薬物、薬剤または配合物を固定するために利用されている材料に影響を及ぼさないことを基本的な必要条件として、多数の潤滑性の材料が利用可能になることに注目することが重要である。また、上記の方法の1個以上またはそれらの全部が組み合わせにおいて利用可能であることに注目することも重要である。
次に図20において、原位置において一定のステントを拡張するために利用できる一定のバルーン式カテーテルにおけるバルーンが示されている。図示のように、このバルーン400は一定の潤滑性の被膜402を備えている。この潤滑性の被膜402はこの医療装置における被膜とバルーン400との間の接着を最少にするか実質的に無くすように機能する。上記の例示的な実施形態において、潤滑性の被膜402はバルーン400とヘパリンまたはラパマイシンの被膜との間の接着を最少にするか実質的に無くすと考えられる。この潤滑性の被膜402は一定の溶液または懸濁液からの被膜材料の浸漬、噴霧、はけ塗りまたはスピン・コーティング処理の後に必要に応じて硬化するか溶媒を除去する工程を含むがこれに限らない多数の方法でバルーン400に取り付けおよび維持できる。
例えば、ジエチレングリコール・モノステアレート、水素添加キャスター・オイル、オレイン酸、ステアリン酸、ステアリン酸亜鉛、ステアリン酸カルシウム、エチレンビス(ステアラミド)等のような合成ワックス、パラフィン・ワックス、鯨蝋、カルヌバ(carnuba)ワックス、アルギン酸ナトリウム、アスコルビン酸および小麦粉等のような天然産物、種々のパーフルオロアルカン、パーフルオロ脂肪酸、およびアルコール等のようなフッ素化化合物、例えば、ポリジメチルシロキサン等のようなシリコーン、ポリテトラフルオロエチレン、ポリフルオロエーテルを含む合成ポリマー、例えば、ポリエチレングリコール・ワックス等のようなポリアルキルグリコール、さらに、タルク、カオリン、雲母、およびシリカ等のような無機材料を含む種々の材料が上記の被膜の調製に使用できる。さらに、上記の潤滑性被膜を調製するために、例えば、パリレン−C蒸着等の蒸着重合化処理、またはパーフルオロアルケンおよびパーフルオロアルカンのRFプラズマ重合化等が使用可能である。
図21は図1において示されているステント100における一定の帯域部分102の断面図である。この例示的な実施形態において、その潤滑性被膜500は一定の高分子被膜の外表面部に固定されている。上述したように、種々の薬物、薬剤または配合物を一定の高分子基材の中に組み込むことができる。図21において示されているステント帯域部分102は一定のポリマーおよびラパマイシンを含む基部被膜502および一定のポリマーを含む上部被膜504または拡散層504を有している。上記の潤滑性被膜500は上記上部被膜を形成するために使用する種々のポリマーを含むか含まなくてもよい一定の溶液または懸濁液による塗布材料の噴霧、はけ塗り、浸漬またはスピン・コート処理の後に必要に応じて硬化処理または溶媒を除去する工程を含むがこれに限らない任意の適当な手段により上部被膜502に固定できる。さらに、蒸着重合化およびRFプラズマ重合化もまた上記の上部被膜にこれらの蒸着方法に役立つ潤滑性の塗膜材料を固定するために使用できる。また、別の例示的な実施形態において、上記潤滑性の被膜は上記高分子基材の中に直接的に組み込むことができる。
一定の自己拡張型のステントを用いる場合に、上記の潤滑性の被膜を拘束用のシースの内表面部に固定することができる。図22は一定の配給装置のシース14の内孔部の中における自己拡張型のステント200の部分断面図を示している。図示のように、一定の潤滑性の被膜600がシース14の内表面部に固定されている。従って、ステント200の配備時において、潤滑性の被膜600は好ましくはシース14と薬物、薬剤または配合物により被覆したステント200との間の接着を最少にするか実質的に無くす。
代替的な手法において、物理的および/または化学的な架橋方法が種々の薬物、薬剤または配合物を含有している高分子被膜と医療装置の表面との間または種々の薬物、薬剤または配合物を含有している高分子被膜と一定のプライマーとの間の結合強度を改善するために適用できる。あるいは、浸漬、噴霧またはスピン・コート処理等のような従来的な塗布方法、あるいは、RFプラズマ重合化のいずれかにより供給できる別のプライマーもまた上記の結合強度を高めるために使用できる。例えば、図23において示されているように、気相重合したパリレン−C等のような一定のプライマー層700を一定の装置の表面上に最初に蒸着した後に、第2の層702を配置することにより上記の結合強度を高めることができ、この第2の層702は、例えば、ポリエチレン−コ−ビニル・アセテートまたはポリブチル・メタクリレート等のような薬物含有の基材704を作成している1種類以上のポリマーに化学組成が類似しているが、多数の架橋部分を含むように修飾されている。その後、この第2の層702を紫外光に曝露してから上記プライマーに架橋する。なお、当該技術を熟知している者であれば、一定の活性剤の有無にかかわらず加熱により活性化される種々の架橋剤を用いて類似の結果が達成可能であることが認識できることに注目する必要がある。その後、上記の薬物含有基材704が上記第2の層702を部分的にまたは完全に膨潤させる一定の溶媒を用いて当該第2の層702の上に層として形成される。このことは種々のポリマー鎖の上記基材から第2の層702の中への混入を促進し、逆に、第2の層702から薬物含有基材704内への混入を促進する。その後、上記被覆層から溶媒を除去すると、上記ポリマー鎖の内部浸透性のまたは相互係合性の網状構造が上記の層の間に形成されて、これらの間の接着強度が高まる。さらに、一定の上部被膜706が上述したように用いられている。
関連の困難さがステント等のような種々の医療装置において生じる。薬物を被覆したステントのけん縮状態において、一部の支柱部は互いに接触し、ステントが拡張している時に、その動作により種々の薬物、薬剤または配合物を含有している上記の高分子被膜が付着して伸びる。この動作はその被膜を特定の領域内においてステントから潜在的に分離可能にする。この被膜の自己接着の主なメカニズムは種々の機械的な力によると考えられる。上記ポリマーがそれ自体と接触すると、そのポリマー鎖が絡み合ってベルクロ(Velcro)(登録商標)に類似している機械的な結合を生じる。また、例えば、種々のフルオロポリマー等のような特定のポリマーは互いに結合しない。しかしながら、他のポリマーの場合には、粉末が利用できる。換言すれば、一定の粉末が上記の機械的な結合力を低下するために上記医療装置の表面部分における種々の薬物、薬剤またはその他の配合物を含有している1種類以上のポリマーに供給できる。上記の薬物、薬剤および配合物に対して干渉しない任意の適当な生体適合性の材料、あるいは、上記医療装置の上に種々の薬物、薬剤または配合物を固定化するために利用できる種々の材料が使用可能である。例えば、一定の水溶性の粉末によるダスティング処理(dusting)は上記被膜の表面における粘着性を減少することができ、このことは上記ポリマーがそれ自体で付着することを防ぐので剥がれの可能性が減少できる。さらに、上記の粉末は塞栓の危険性を生じないように水溶性にする必要がある。また、この粉末はビタミンC等のような一定の酸化防止剤を含むことができ、アスピリンまたはヘパリン等のような一定の抗凝固剤を含むことができる。一定の酸化防止剤を利用する利点は比較的に長い時間の期間において他の薬物、薬剤または配合物を保存できるという事実にあると考えられる。
種々の結晶質のポリマーが一般に付着性または粘着性を持たないことに注目することが重要である。従って、結晶質のポリマーが非晶質のポリマーの代わりに用いられる場合に、付加的な材料が不要になる可能性がある。また、種々の薬物、薬剤および/または配合物を伴わない高分子被膜が上記医療装置の動作特性を改善できることに注目することも重要である。例えば、上記医療装置の機械的特性は種々の薬物、薬剤および/または配合物を伴うか伴わない一定の高分子被膜により改善できる。また、一定の被覆されたステントは改善された柔軟性および向上した耐久性を有することができる。加えて、上記の高分子被膜は上記医療装置を構成している異なる金属材料の間の電蝕を実質的に減少するか無くすことができる。さらに、同じことが種々の吻合装置について言える。
上述したように一定の自己拡張型のステントの場合に、上記拘束用のシースの後退により薬物、薬剤または配合物が剥がれ落ちる可能性がある。従って、一定の代替的で例示的な実施形態において、上記ステント配給装置は皮膜の剥がれ落ちの潜在性を減少するために改良できる。このことは、例えば、ラパマイシン被覆処理した長いステント等のような、種々の長いステントにおいて特に重要である。加えて、上記の配給シースがステント配備中に後退する際にそのステント自体を損傷する潜在性も存在している。従って、このようなステント配給装置は力を当該ステントの比較的に広い領域に分配することによりそのステントの特定領域に作用する力を実質的に減少するように改良できる。なお、本明細書において説明されているステントおよびステント配給システムは本質的に単に例示的であることを目的としており、当該技術分野における熟練者であれば、開示されている種々の設計を多数のステントおよびステント配給システムに組み込むことが可能であることが認識できる。
図35および図36は本発明による一定の例示的な自己拡張型のステント配給装置5010を示している。この装置5010は内側および外側の同軸状のチューブを有している。この内側チューブは軸部5012と呼ばれており、外側チューブはシース5014と呼ばれている。さらに、一定の自己拡張型のステント7000がシース5014の中に配置されており、この場合に、このステント7000はシース5014に対して摩擦を伴って接触しており、上記軸部5012はこのステント7000の内孔部の中に同軸に配置されている。
上記軸部5012は近位側または基端側の端部5016および遠位側または先端側の端部5018をそれぞれ有している。この軸部5012の基端部5016はこれに取り付けられている一定のルア・ガイドワイヤ・ハブ5020を有している。図44により最良に示されているように、上記軸部5012の基端部5016は好ましくは一定の研削処理したステンレス・スチール製の皮下注射管である。一例の例示的な実施形態において、この皮下注射管はステンレス・スチール製であり、その基端部において一定の0.042インチ(0.107センチメートル)の外径を有しており、その先端部における0.036インチ(0.091センチメートル)の外径までテーパー状になっている。また、この皮下注射管の内径はその長さの全体にわたり0.032インチ(0.081センチメートル)である。上記のようなテーパー状の外径部分はその皮下注射管の剛性をその長さに沿って徐々に変化させるために利用されている。さらに、このような皮下注射管の剛性における変化はステントの配備中に必要とされる一定の比較的に高い剛性の基端部またはハンドル端部を可能にしている。この基端部が十分な剛性でなければ、以下において説明されているそのツオヒー・ボースト弁(Tuohy Borst valve)から先に延出している皮下注射管の部分が配備のための力が伝達される時に曲がる可能性がある。一方、この皮下注射管の先端部は比較的に柔軟であり、曲りくねった種々の脈管の中における比較的に良好な追随能力を可能にしている。また、この皮下注射管の先端部はこの皮下注射管と以下において説明されているコイル部分との間における移動を最少にするために柔軟であることが必要である。
以下においてさらに詳細に説明されているように、上記軸部5012は一定の本体部分5022を有しており、この場合に、その少なくとも一部分は一定の圧縮されたまたは閉じた状態のコイルばねに極めてよく似ている一定の柔軟なコイル状の部材5024により形成されている。軸部5012はまた上記本体部分5022よりも先端側に一定の先端側部分5026を有しており、この先端側部分5026は好ましくは高密度ポリエチレンおよびナイロン(Nylon)(登録商標)の一定の同時押出物により作成されている。上記の2個の部分5022および5026は熱融着、接着剤による結合、化学的な結合または機械的な連結等を含む当該技術分野における通常の熟練者において知られている多数の手段により一体に連結している。
図37において最良に示されているように、上記軸部5012の先端側部分5026はこれに取り付けられている一定の先端部分5028を有している。この先端部分5028は多層構造または単層構造を含むポリアミド、ポリウレタン、ポリテトラフルオロエチレン、およびポリエチレンを含む当業界において知られている多数の適当な材料により作成できる。上記の先端部分5028は一定の基端部5030を有しており、その直径は当該基端部5030の直ぐ近くのシース5014の外径と実質的に同一である。また、この先端部分5028はテーパー状であり、その基端部5030からその先端部5032まで直径が徐々に小さくなっており、この場合に、この先端部分5028の先端部5032は上記シース5014の内径よりも小さな一定の直径を有している。
上記のステント配給装置5010はそのステントの配備部位までの操縦中に一定のガイドワイヤ8000(図35において示されている)の上を摺動する。本明細書において用いられているように、このガイドワイヤは本発明に含まれている一定の先端側保護装置を有する種々の類似の案内装置も意味することができる。なお、一例の好ましい先端側保護装置が1998年2月3日の国際出願日を有する公開PCT特許出願第98/33443号において開示されている。上述したように、上記先端部分5028が過度に剛性が高いと、この先端部分5028はガイドワイヤの経路に必要以上の力を加えてこのガイドワイヤ8000を内腔の壁部に対して押し当てるために、一部の極めて曲りくねった設定においては、そのステント配給装置5010がワイヤから外れる可能性がある。このようなワイヤにおける過度の力および内腔壁部に対する装置の押し付けは、ガイドワイヤがその装置を配向し得なくなるために、その装置が標的領域に到達することを妨げる可能性がある。また、上記装置が進行して内腔壁部に対して押し当てられるので、その病巣からの破片が移動して上流側に送られるためにその遠位側の血管の内腔に合併症が生じる可能性がある。上記先端部分5028は一定の極めて柔軟な先導用のエッジ部分および一定の比較的に柔軟性の低い部分に到る一定の段階的な遷移部分を伴って設計されている。また、この先端部分5028は中空にすることができ、40D・ナイロン(40D Nylon)(登録商標)を含む多数の適当な材料により作成できる。さらに、その柔軟さはその断面の直径の太さを徐々に増加することにより変更可能であり、これにより、その直径はその先端部において最小であり、その基端部において最大になる。すなわち、先端部分5018の断面の直径および壁部の厚さは基端側の方向に移動するのに従って増大する。このことにより、先端部分5028における比較的に直径が大きく壁厚の大きい、比較的に柔軟性の低い部分が上記ガイドワイヤに過度の力を加える前に、そのガイドワイヤにより配向される能力が先端部分5028の先端部5032に与えられる。一方、このワイヤに対して過度の力が加えられると、上述したように、その装置はその剛性によりワイヤに追随することなくその装置の方向を定めるようになる。
上記ガイドワイヤの内孔部5034は上記ガイドワイヤ8000と先端部分5028における当該ガイドワイヤの内孔部5034との間に一定のわずかな摩擦係合が存在するように一定の推奨されている寸法のガイドワイヤに近づくことに適合する一定の直径を有している。この先端部分5028はその先端側の部分5032と基端側の部分5030との間に一定の丸みを付けた部分5036を有している。このような構成はシース5014が先端部分5028を越えて先端側に滑り動くことを防いでおり、このような動きは当該シース5014における四角いエッジ部分が血管に対して露出してその血管に損傷を与える可能性がある。さらに、上記の構成は上記装置の「押出性(pushability)」を改善している。従って、先端部分5028が抵抗に会うと、この先端部分5028はシース5014がこの部分を乗り越えてそのシース5014の四角い切断端部を露出させないように作用する。その代わりに、上記シース5014は先端部分5028の丸みを付けた部分5036に接触し、これにより、加えられる力がその先端部分5028に伝達される。この先端部分5028はまた一定の基端側にテーパー状になっている部分5038も有しており、この部分5038は一定のステントの支柱部またはその他の内孔内の直径における不規則な構造に対して引っかかる可能性のある一定の鋭いエッジ部分を備えることなく配備されるステント7000の中を通して先端部分5028を案内することに役立つ。
上記軸部5012の先端側部分5026に一定の停止部材5040が取り付けられており、この停止部材5040は上記の先端部分5028およびステント7000よりも基端側にある。この停止部材5040はステンレス・スチールを含む当業界において知られている多数の適当な材料により作成可能であり、さらに好ましくは、プラチナ、金−タンタル等のような一定の高度に放射線不透過性の材料、または放射線不透過剤を充填したポリマー等により作成されている。この停止部材5040は機械的なまたは接着剤による結合を含む任意の適当な手段により、あるいは、当該技術分野における熟練者により知られている任意の別の手段により上記軸部5012に取り付けることができる。好ましくは、この停止部材5040の直径は上記シース5014に対して摩擦による接触を伴わずに装填されるステント7000に対して十分に接触するために十分な大きさである。以下において説明されているように、上記停止部材5040は、ステント配備のためのシース5014の後退中に当該シース5014の中にステント7000が基端側に移動することを防ぐことにより、当該ステント7000を「押し出す(push)」こと、および配備中におけるその相対的な位置を維持することに役立つ。また、上記放射線不透過性の停止部材5040は、以下において説明されているように、一定の血管の中における配備中にその標的の病巣領域の中にステント7000を位置決めすることに役立つ。
一定のステント・ベッド5042が上記の先端部分5028と停止部材5040との間における上記軸部5012の部分として定められている(図36)。このステント・ベッド5042およびステント7000は同軸であり、当該ステント・ベッド5042を含む軸部5012の先端側部分5026はステント7000の内孔部の中に配置されるようになっている。このステント・ベッド5042は上記軸部5012とシース5014との間に存在している空間部分によりステント7000に対して最少の接触を行なう。ステント7000はそのオーステナイト相変換における温度を受けるので、シース5014の中において半径方向に外側に移動することによりそのプログラムされている形状に復帰しようとする。一方、シース5014は以下において詳細に説明されているように上記のようなステント7000を拘束する。さらに、軸部5012に取り付けられている装填されたステント7000の先端部よりも先端側に一定の放射線不透過性のマーカー5044があり、このマーカー5044はプラチナ、イリジウム、被覆処理したプラチナ、金−タンタル、ステンレス・スチール、放射線不透過剤を充填したポリマーまたは当業界において知られている任意の別の適当な材料により作成可能である。
図36,37および44から分かるように、上記軸部5012の本体部分5022は、一定の閉鎖型のコイルまたは圧縮状のばねに類似している、一定の柔軟なコイル状の部材5024により作成されている。上記ステント7000の配備中に、上記停止部材5040からルア・ガイドワイヤ・ハブ5020に対する圧縮力の伝達は配備の精度における一定の重要な要因である。すなわち、軸部5012の圧縮性が高くなるほど、配備の精度が低下し、この理由は、X線透視画像処理におけるステント7000の可視化においては軸部5012の圧縮は考慮されないためである。しかしながら、軸部5012の圧縮性が低くなるほど、通常において柔軟性が低下し、このことにより、装置5010の曲りくねった血管の中を操縦するための能力が低下すると考えられる。一定のコイル状の組立体は上記のような柔軟性および圧縮に対する抵抗性の両方を可能にする。すなわち、上記装置5010が種々の動脈の中を通して操縦される際に、その軸部5012が圧縮しないので、そのコイル状の部材5024は配給経路に対して屈曲しない。さらに、ステント7000を配備する場合に、シース5014がその中に包まれているステント7000の上を後退する際に、このシース5014に張力が加わる。一方、このステント7000は自己拡張型であるので、このステント7000は上記シース5014に対して接触して上記の力がステント7000に沿って軸部5012の停止部材5040に移される。このことにより、軸部5012に圧縮力が加わる。この現象が生じると、上記柔軟性のコイル状の部材5014はその各コイル部材の間に隙間がなくなり、各コイル間を伝わって上記の圧縮力が移される。
上記の柔軟なコイル状の部材5024はさらに屈曲および圧縮の両方のモードにおいて当該コイル状の部材5024の曲がりに対して抵抗することに役立つためにこの柔軟なコイル状の部材5024の上に嵌着している一定の被覆部分5046を有している。この被覆部分5046は一定の押出成形したポリマー・チューブであり、好ましくは上記の柔軟なコイル状の部材5024の屈曲に適応するためにわずかに延びるが、各コイルが互いに乗り越えることを可能にしない一定の軟質の材料である。この被覆部分5046はナイロン(Nylon)(登録商標)および高密度ポリエチレン、ポリウレタン、ポリアミド、ポリテトラフルオロエチレン等の同時押出物を含む多数の適当な材料により作成可能である。この押出物はまた上記停止部材5040に連結している。また、上記の柔軟なコイル状の部材5024はステンレス・スチール、ニチノール(Nitinol)、および種々の剛性ポリマーを含む当業界において知られている多数の材料により作成可能である。一例の例示的な実施形態において、上記の柔軟なコイル状の部材5024は一定の0.003インチ(0.0076センチメートル)の厚さ×0.010インチ(0.025センチメートル)の幅のステンレス・スチール製のリボン・ワイヤにより作成されている。このワイヤは丸形でもよく、さらに好ましくは上記の柔軟なコイル状の部材5024の外形を減少するために平坦である。
上記シース5014は好ましくは一定の高分子のカテーテルであり、一定のシース・ハブ(図35)に到達している基端部5048を有している。このシース5014はまた上記軸部5012の先端部分5028の基端部5030まで到達している一定の先端部5052も有しており、この場合に、ステント7000は図36において示されているような一定の無配備状態である。上記シース5014の先端部5052はその外表面部に沿って配置されている一定の放射線不透過性のマーカー帯域部分5054を有している(図35)。以下において説明されているように、上記ステント7000は上記マーカー帯域部分5054が放射線不透過性の停止部分5040よりも基端側にある時に完全に配備されるので、医者に対して上記配給装置5010が身体から安全に除去できる時点を示すことができる。
図36において詳細に示されているように、上記シース5014の先端部5052は一定の拡大された部分5056を含む。この拡大された部分5056は当該拡大された部分5056よりも基端側のシース5014の内径および外経よりも大きな内径および外経を有している。また、この拡大された部分5056は予備装填状態のステント7000、停止部材5040およびステント・ベッド5042を収容している。上記の外側シース5014はその拡大された部分5056の基端部において一定の比較的に小さな寸法の直径部分まで基端側にテーパー状になっている。なお、この設計は本明細書に参考文献として含まれる1999年2月3日に出願されている同時係属の米国特許出願第09/243,750号においてさらに詳細に記載されている。上記の拡大された部分5056よりも基端側のシース5014の外径寸法における減少に対する一例の特定の利点は配給装置5010と当該配給装置5010が内部に配置される案内用のカテーテルまたはシースとの間の隙間における一定の増加である。X線透視により、医者は配給装置5010をその案内用のカテーテルの中に配置した状態で当該案内用のカテーテルまたはシースの中に一定の放射線不透過性の溶液を注入することにより、ステントの配備の前後において、血管内の標的部位の一定の画像を見ることができる。従って、上記の拡大された部分5056よりも基端側のシース5014の外径部分をテーパー状にするか縮小することにより当該シース5014と上記案内用のカテーテルとの間の隙間が増大するので、比較的に高い注入速度が達成可能になり、医者にとってその標的部位の比較的に良好な画像が得られる。さらに、このシース5014におけるテーパー状の部分は上記ステントの配備の前後の両方において放射線不透過性の比較的に高い注入速度を提供している。
比較的に早期の自己拡張型のステント配給システムに伴う一定の問題はそのステントが配置されるシースの中に埋め込まれるという問題であった。図45において、ステントがシースの中に埋め込まれることを実質的に予防するために効果的に利用できると共に以下において詳細に説明されているような別の種々の利点を適用できる一定のシース構成が示されている。図示のように、このシース5014は少なくとも2個の層、好ましくは3個の層の一定の複合的な構造を有している。外側の層5060は任意の適当な生体適合性の材料により形成できる。好ましくは、この外側の層5060はシース5014の挿入および除去を容易にするための一定の潤滑性の材料により形成されている。一定の好ましい実施形態において、この外側の層5060はナイロン(Nylon)(登録商標)等のような一定の高分子材料を含む。また、内側の層5062も任意の適当な生体適合性の材料により形成できる。例えば、この内側の層5062はポリエチレン、ポリアミドまたはポリテトラフルオロエチレンを含む多数のポリマーにより形成できる。一定の好ましい実施形態において、この内側の層5062はポリテトラフルオロエチレンを含む。ポリテトラフルオロエチレンはまた一定の潤滑性の材料であり、この材料はステントの配給を比較的に容易にするので、ステント7000に対する損傷を防ぐ。さらに、内側の層5062も別の材料により被覆してその潤滑性を高めてステントの配備を容易にすることが可能である。多数の適当な生体適合性の材料が利用できる。一定の例示的な実施形態において、シリコーンを基材とする被膜が利用できる。本質的に、シリコーンを基材とする被膜の一定の溶液を装置の中に注入して室温において自然に硬化することができる。このようなシリコーンを基材とする被膜の量はこの被膜のステント7000に対する移動を防ぐために最少にする必要がある。さらに、一定のワイヤ補強層5064が上記の外側層および内側層5060および5062のそれぞれの間に挟まれている。このワイヤ補強層5064は多数の形態を採ることができる。この例示的な実施形態においては、このワイヤ補強層5064は一定の簡単な下方および上方の織目または編組パタンを有している。さらに、このワイヤ補強層5064を形成するために使用するワイヤは任意の適当な材料を含み、任意の適当な断面形状を有することができる。なお、図示の例示的な実施形態においては、このワイヤ補強層5064を形成しているワイヤはステンレス・スチールを含み、一定の実質的に円形の断面を有している。さらに、目的の用途に応じて機能するために、上記ワイヤは、以下において詳細に説明されているように、0.002インチ(0.0051センチメートル)の一定の直径を有している。
上記シース5014を構成している3個の層5060,5062および5064は集合的にステントの配備能力を高めている。これらの内の外側層5060は全体の装置5010の挿入および除去を容易にしている。また、内側層5062およびワイヤ補強層5064はステント7000がシース5014の中に埋め込まれることを防ぐように機能する。本発明のステント7000等のような自己拡張型のステントは一定の温度においてそれぞれのプログラムされた直径に拡張する傾向がある。このようなステントは拡張することを目的としているので、このステントは半径方向に外側に向いている力を生じて、その拡張を拘束している上記シース5014の中に埋め込まれる可能性がある。従って、ワイヤ補強層5064は内側層5062に対して半径方向またはフープ方向に沿う強度を賦与することにより、シース5014内におけるステント7000の外側に向いている半径方向の力に対する十分な抵抗力を形成している。この内側層5062はまた、上述したように、ステント7000を配備するために必要とされる力を減少するための一定の比較的に低い摩擦係数(一般的に約5乃至8ポンド(約2.27乃至3.63キログラム)の範囲内)の表面を備えている。このワイヤ補強層5064はまたシース5014に対して引張強度も賦与している。換言すれば、このワイヤ補強層5064は比較的に良好な押出性、すなわち、上記シース5014における一定の基端側の位置において医者により先端部分5028に対して一定の力を伝達する能力を賦与しており、この能力は脈管内における引き締まった狭窄領域の中を通して操縦ことにおいて役立つ。また、上記ワイヤ補強層5064はステント配備のためのシースの後退中における張力の負荷の結果としての伸びおよびネッキングに対する比較的に良好な抵抗力も賦与する。
上記シース5014はその全長に沿って、あるいは、例えば、ステント7000の長さに沿っている特定の部分においてのみ、全ての3個の層を有することができる。一定の好ましい実施形態において、上記シース5014はその長さ全体に沿って全ての3個の層を有している。
従来技術の自己拡張型のステント配給システムはワイヤ補強層を利用していなかった。一般的な自己拡張型ステントの寸法は、バルーン拡張型の冠動脈ステントに比べた場合に、比較的に大きいために、その配給装置の直径または外形もまた大きくする必要があった。しかしながら、可能な限り小形の配給システムを有することが常に有利である。このことは上記の装置が比較的に小さい血管の中に到達可能になり、患者に対して引き起こされる外傷が少なくなるという点において望ましい。しかしながら、上述したように、一定のステント配給装置における薄い補強層の利点はそのわずかに増大した外形による不都合に優っている。
上記装置5010の外形における上記ワイヤ補強層の影響を最少にするために、このワイヤ補強層5064の形態を改良することができる。例えば、この改良はその編組構造のピッチの変更、ワイヤ形状の変更、ワイヤ直径の変更および/または利用するワイヤの数の変更を含む多数の方法で達成できる。一定の好ましい実施形態において、上記ワイヤ補強層を形成するために利用するワイヤは図46において示されているような一定の実質的に長方形の断面を有している。このような実質的に長方形の断面のワイヤを利用することにおいて、上記補強層5064の強度の特徴はその配給装置の外形における一定の有意義な減少を伴って維持できる。このような好ましい実施形態において、その長方形の断面のワイヤは0.003インチ(0.0076センチメートル)の一定の幅および0.001インチ(0.0025センチメートル)の一定の高さを有している。従って、図45と類似の一定の様式でこのワイヤを編み組むことにより、ワイヤ補強層5064の厚さを50%減少すると共に、0.002インチ(0.0051センチメートル)の丸形のワイヤと同一の有益的な特性を維持できる。このような平坦なワイヤは任意の適当な材料を含むことができ、好ましくはステンレス・スチールを含む。
別の代替的で例示的な実施形態において、上記配給システムにおけるシースはその内表面部において一定の内側層または被膜を有することができ、この被膜はステントがその内部に埋め込まれることを実質的に防ぐと共にその潤滑性を高める。この内側層または被膜は図45および図46において示されている各シースと共に利用可能であり、あるいは、ステント配備の力を減少するための一定の代替的な手段として利用することもできる。この被膜が薄ければ、以下においてさらに詳細に説明されているように、その配給システムの全体の外形に対する影響は仮に存在したとしても最少になる。さらに、上記シースの強度を高めてそのシースをさらに潤滑にすることに加えて、上記被膜は極めて生体適合性であり、このことは、この被膜が、たとえ一時的であっても、血液に対して接触するので重要である。
本質的に、上記の例示的な実施形態において、一定の硬質で潤滑性の被膜が上記自己拡張型の配給システムにおけるシースの内表面部に供給または固定されている。この被膜は現在において利用されている自己拡張型のステント配給システムに優る多数の利点を提供している。例えば、この被膜はステントが一定の半径方向に外側に向く力を加える一定の硬質の表面を賦与する。上述したように、それぞれの自己拡張型のステントはその配給システムの中に装填された場合に一定の定常的な外側に向く力を有する。このような定常的な比較的に高い半径方向に外側に向く力は上記配給システムにおけるシースを構成している高分子材料を押し広げて上記ステントがそのポリマーの表面の中に埋め込まれることを可能にする。さらに、ステントの各プラットホームが比較的に大きな直径のステントおよびこれに続く比較的に大きな半径方向に外側に向く力と共に展開すると、この現象の発生率はさらに高まる。この結果として、その埋め込みにより、ステントの配給装置の中における移動に対する機械的な抵抗力が生じるためにそのステントを配備するために必要とされる力が増大し、これにより、正確な配備が妨げられてステントに対する潜在的な損傷が生じる。加えて、上記の被膜は潤滑性であり、一定の低い摩擦係数を有している。一定の潤滑な被膜は、上述したように、ステントを配備するために必要とされる力をさらに減少するように機能するので、種々のステントが医者により配給および配備されるための容易さを高めることができる。このことは比較的に新しい比較的に大きな直径のステントの設計および/または高められた半径方向の力、増大した外形または増大した全体の直径のいずれかを有する薬物/ポリマー被覆型のステントの設計に関連して特に重要である。さらに、一定の潤滑な被膜は薬物/ポリマー被覆型のステントに関連して特に有利である。従って、この被膜は配備前にステントがその配給システムのシースの中に埋め込まれることを防いでこれらのシースとステントとの間の摩擦を減少するように機能し、これら両方の作用は配備の力を減少する。
種々の薬物、薬剤または配合物がステント等のような種々の医療装置を介して局所的に配給できる。例えば、ラパマイシンおよび/またはヘパリンは再狭窄、炎症および凝固を減少するために一定のステントにより配給可能である。これらの薬物、薬剤または配合物を一定のステント上に固定化するための種々の技法が知られているが、ステント配給および位置決め中におけるこれらの薬物、薬剤または化合物の保持はその処置または治療の成功において重要である。例えば、ステントの配給中における薬物、薬剤または配合物の除去はその装置の機能不全を潜在的に生じる可能性がある。一定の自己拡張型のステントの場合に、その拘束用のシースの後退は種々の薬物、薬剤または配合物がそのステントから剥がれ落ちることを引き起こす可能性がある。それゆえ、このような潜在的な問題の防止はステント等のような種々の有効な治療用の医療装置を得るために重要である。
図47は本発明の一定の例示的な実施形態によるステント配給システムにおける軸部および改良されたシースの部分断面図を示している。図示のように、一定の材料の被膜または層5070がシース5014の内周面に固定またはその他の方法により取り付けられている。上述したように、この材料の被膜または層5070は一定の硬質で潤滑性の物質を含む。一定の好ましい実施形態において、上記被膜5070は熱分解カーボンを含む。この熱分解カーボンは多様な移植可能な医療用プロテーゼにおいて利用されている一定の周知の物質であり、この物質が組織および血液の相容性と共に高い強度を合せ持っているので、種々の心臓弁において最も一般的に利用されている。
移植可能な医療装置の領域における上記熱分解カーボンの有用性はその化学的な不活性性、等方性、軽量性、緻密性および弾性を含む物理的および化学的な種々の特性の独特の組み合わせの結果である。この熱分解カーボンはグラファイトの構造に類似しているターボストラチック・カーボン(turbostratic carbons)の一定の特異的な系統群に属している。グラファイトにおいて、その炭素原子は比較的に弱い層間結合により層状に重なっている平面状の六角形状の配列に共役的に結合している。一方、ターボストラチック・カーボンにおいては、その積層の順序が不規則であり、ゆがみが各層の中に存在している可能性がある。これらの層における構造的なゆがみはその熱分解カーボンのすぐれた延性および耐久性の原因である。本質的に、この熱分解カーボンの微少構造はその材料を耐久性にして強靭におよび対磨耗性にしている。加えて、この熱分解カーボンは高度な凝塊抑制因子であり、血液および軟質組織に対する固有の細胞生体適合性を有している。
上記熱分解カーボンの層5070は上記シース5014の全長に沿って、あるいは、図36および図37において示されているステント・ベッド5042の近くにおいてのみ付着させることができる。一定の好ましい実施形態において、この熱分解カーボンの層5070はステント・ベッド5042の領域内におけるシース5014に固定されている。また、この熱分解カーボン5070の層は上記シース5014を構成している種々の高分子材料に対して相容性があり使用可能である多数の既知の技法によりその内周面部に付着または固定できる。この熱分解カーボンの層5070の厚さは上記シース5014の柔軟性を減少することなく、あるいは、上記自己拡張型のステント配給システムの外形を増大させることなく、シース5014の中にステントが埋め込まれることを防止するかその可能性を実質的に減少するように選択される。上述したように、体内における曲りくねった経路において操縦するために柔軟であると共に押し出しが可能であることが重要である。加えて、経皮的に配給される種々の装置の外形を減少することが常に望ましい。
上述したように、熱分解カーボンの表面は特に血液に接触する用途に関連して生体適合性であるとして認識されている。しかしながら、このことは種々のステント配給の用途に関して二次的な利点に過ぎず、その理由は、シース5014内におけるこの熱分解カーボンの層5070の位置が血液に対して最少に曝露されているだけであり、一定のステントを配給するために十分な一定の持続時間においてのみ体内に存在しているからである。
上記熱分解カーボンの層5070は上述したような多数の方法で上記シースの内孔部に固定できる。一例の例示的な実施形態において、この熱分解カーボンの層5070は上記シース5014の内孔部に直接的に固定できる。また、別の例示的な実施形態においては、上記熱分解カーボンの層5070は当該カーボンの層を同様に多数の既知の技法により種々の支持体に最初に供給することにより、上記シース5014の内孔部に間接的に供給できる。この熱分解カーボンの層5070が上記シース5014に直接的に付着するか最初に一定の支持体の上に付着するかによらず、例えば、化学的蒸着等のような、多数の既知の技法が利用可能である。この化学的蒸着においては、上記のカーボン材料は気相の炭化水素化合物から、例えば、種々のカーボン材料、金属、セラミックスならびにその他の材料等の適当な下層の支持体の上に、約1000°K乃至約2500°Kの温度範囲において、蒸着される。このような温度において、種々の支持体をできるだけ利用することが必要であることが理解されると考える。任意の適当な生体適合性で耐久性の柔軟な支持体を利用した後に接着剤等のような周知の技法によりこれを上記シース5014の内孔部に固定できる。上述したように、外形および柔軟性は重要な設計の特徴点であり、それゆえ、選択する支持体の材料の種類および/またはその厚さを考慮する必要がある。さらに、供給源のガスにおける温度、種類、濃度および流量および下層の支持体の表面積を含む蒸着条件に応じて、広範囲の微小構造、例えば、等方性、ラメラ状、支持体−核形成型および残留水素の一定の可変の含有量が生じる可能性があることに注目することが重要である。
さらに、上記熱分解カーボンの層5070をシース5014の上に直接的に固定するか一定の支持体の上に固定するために利用できる別の技法はパルス化レーザー・アブレーション蒸着、高周波プラズマ改質、物理的蒸着ならびに別の既知の技法を含む。また、上記の熱分解カーボンに加えて、類似の特性を与えることにおいて有益的である考えられる別の材料はダイアモンド様炭素被膜、シラン/シリコン・ガラス様表面、およびアルミナ、ヒドロキシアパタイトおよびチタニア等のような薄層セラミック被膜を含む。
一定の代替的で例示的な実施形態において、上記の熱分解カーボンの被膜は上記において概説されているような一定の調整されている有限の多孔度を伴って供給できる。このような調整されている有限の多孔度は2種類の異なる利点を提供する。第1に、このような多孔度は上記ステントがこの熱分解カーボンの被膜5070を伴う場合にその接触表面積を減少するために役立つことができ、これにより、そのステントと上記シース5014の内孔部との間の摩擦が減少できる。第2に、種々の生体適合性のオイル、蝋質および粉末等のような潤滑性の材料をその被膜の多孔質な表面の中に注入または含浸することができ、これにより、摩擦係数をさらに減少する種々の潤滑性の材料の一定の貯蔵手段を備えることができる。
図35および図36は上記ステント7000をその完全に無配備な状態として示している。この位置は上記装置5010を脈管の中に挿入してその先端部が一定の標的部位に操縦されている時のステントの位置である。このステント7000は上記シース5014におけるステント・ベッド5042の周囲および先端部5052において配置されている。上記軸部5012の先端部分5028は上記シース5014の先端部5052よりも先端側にある。また、ステント7000は一定の圧縮された状態にあり、シース5014の内表面部に接触している。
一定の患者の体内に挿入される場合に、上記のシース5014および軸部5012は一定のツオヒー・ボースト弁5058によりそれぞれの基端部において一体に係止されている。これにより、上記ステント7000の一定の時期尚早の配備または部分的な配備を生じる可能性の有るこれらの軸部5012とシース5014との間のあらゆる滑動が阻止されている。その後、ステント100がその標的部位に到達して配備の準備ができると、ツオヒー・ボースト弁5058が開いて、シース5014および軸部5012が一体の係止状態から解除される。
上記配給装置5010がステント7000を配備する方法が図39乃至図43に基いて最良に説明されている。図39において、上記配給装置5010は一定の血管9000の中に挿入されていて、そのステント・ベッド5042が一定の病気の状態の部位に存在している。医者がステント7000の端部を示している軸部5012における放射線不透過性のマーカー帯域部分5054および停止部材5040が標的の病気の部位の近くに十分に配置されていると決定した時に、医者はツオヒー・ボースト弁5058を開く。その後、この医者は軸部5012を一定の固定した位置に保持するためにその軸部5012におけるルア・ガイド・ハブ5020を把持する。次に、この医者はシース5014よりも基端側に取り付けられているツオヒー・ボースト弁5058を把持して、図40および図41において示されているように軸部5012に対してそのツオヒー・ボースト弁5058を基端側に摺動する。停止部材5040はステント7000がシース5014と共に後方に摺動することを防いでおり、これにより、シース5014が後方に移動する時に、ステント7000が当該シース5014の先端部5052から効果的に外に「押し出される(pushed)」か、標的部位に対して一定の位置に保持される。このステント7000は病気の状態の血管9000に対して塞栓を形成する可能性を最少にするために一定の先端側または遠位側から基端側または近位側の方向に配備する必要がある。このステントの配備は、図42において示されているように、シース5014における放射線不透過性の帯域部分5054が放射線不透過性の停止部材5040よりも基端側になる時に完了する。この時点において装置5010はステント7000の中を通して後退可能になり、患者から除去される。
図36および図43は本発明に関連して使用できる一定のステント7000の一定の好ましい実施形態を示している。このステント7000は、図36において、配備される前の、その無配備の圧縮状態において示されている。このステント7000は好ましくはニチノール等のような一定の超弾性合金により作成されている。最も好ましくは、このステント7000は約50.5%(本明細書において用いられているように、これらの%値は原子の存在率を意味している)のNi乃至約60%のNi、最も好ましくは約55%のNiを含有していて、合金の残りの部分Tiを伴う一定の合金により作成されている。好ましくは、このステント7000は体温において超弾性状態であり、好ましくは約21℃乃至約37℃の範囲内の一定のAf温度を有する材料である。このようなステントの超弾性の設計により、上述したように、そのステントを回復可能につぶすことができ、種々の異なる用途における多数の脈管装置に対応する一定のステントまたはフレームとして使用できる。
ステント7000は前方および後方の各端部を有する一定の管状の部材であり、一定の長手軸がこれらの端部の間に延在している。この管状の部材は一定の患者の体内に挿入して種々の血管の中において操縦するための第1の比較的に小さな直径(図30)、および一定の血管における標的領域の中において配備するための第2の比較的に大きな直径を有している。この管状の部材はその前後の端部の間に延在している複数の隣接しているフープ7002により作成されている。さらに、これらのフープ7002は複数の長手方向に沿う支柱部7004および隣接している各支柱部を接続している複数のループ7006を含み、この場合に隣接している各支柱部は対向している各端部においてそれぞれ接続していて一定の実質的にS字またはZ字の形状のパタンを形成している。上記ステント7000はさらに隣接している各フープ7002を接続している複数の湾曲状の架橋部7008を含む。さらに、これらの架橋部7008は一定のループの中心からずれている各ループの接続点に対する架橋部において隣接している支柱部を一体に接続している。
上記のような形状は上記ステントの全体におけるひずみを比較的に良好に分配することに役立ち、ステントの屈曲時に金属同士の接触を防ぎ、各特徴部分、支柱部、ループおよび架橋部の間の開口寸法を最小にすることに役立つ。これらの支柱部、ループおよび架橋部の設計における数および性質はステントの動作特性および疲れ寿命特性を決定する際の重要な要因である。好ましくは、各フープ24乃至36個またはそれ以上の支柱部を有している。さらに、好ましくは、上記のステントは200よりも大きい支柱の長さ(インチ単位)に対する1個のフープ当たりの支柱部の数の一定の比率を有している。なお、この支柱部の長さはそのステントの長手軸に対して平行な圧縮状態において測定されている。
各特徴部分に与えられる最大のひずみを最小にするために、上記ステントは他の部分よりも破壊しにくいステントの各領域にひずみを分配する種々の構造的な幾何学形状を利用している。例えば、ステントにおける一例の損傷しやすい領域は接続用の各ループの内側の半径部分である。これらの接続用のループはステントの全ての特徴部分における最大の変形を受ける。さらに、このループの内側の半径部分は通常においてそのステントにおけるひずみの最大の量を有する領域になると考えられる。この領域はまた通常的にステントにおける最小の半径部分である点において重要である。すなわち、応力の集中は可能な限りに最大の半径を維持することにより全体的に制御または最小化される。同様に、本発明者は架橋部および架橋部から各ループの接続点に到る部分における局所的なひずみの集中を最少にすることを望んでいる。このことを達成するための一例の方法は加えられる力に相当する各特徴部分の幅を維持しながら可能な限り最大の半径を利用することである。また、別の考慮はステントにおける最大の開口面積を最小にすることである。ステントを切り出す元のチューブの効率的な利用により、そのステントの強度および塞栓性の物質を捕捉する能力を増大できる。
上述したように、種々のポリマーおよび薬物、薬剤および/または配合物の組み合わせ物により被覆されているステントはそのステントの配備中にそのステントに作用する種々の力を潜在的に増大する可能性がある。このような力の増加はさらにステントを損傷させる可能性がある。例えば、上述したように、配備中に、上記のステントはその外側のシースを後方に摺動させる力に打ち勝つために一定の停止部材に対して押し当てられる。例えば、200mmよりも長い、一定の比較的に長いステントの場合に、シースの後退中にそのステントの端部に加えられる力は過剰になる可能性があり、そのステントの端部またはそのステントにおける他の部分に対して潜在的に損傷を引き起こす可能性がある。従って、そのステントの一定の比較的に大きな領域全体にその力を分布する一定のステント配給装置が有益的であると考えられる。
図48はステント配給部分における一定の改良された軸部5012を示している。この例示的な実施形態において、軸部5012は複数の起立部分5200を有している。これらの起立部分5200は任意の適当な寸法および形状を有することができ、任意の適当な様式で形成できる。また、これらの起立部分5200は上記軸部5012を形成している材料を含む任意の適当な材料を含むことができる。また、これらの起立部分5200の数も変更可能である。本質的に、これらの起立部分5200はステント7000の各要素の間における開口状の空間部分を占有できる。また、これらの空間部分は全て充填可能であり、選択した空間部分を充填することも可能である。換言すれば、上記の起立部分5200のパタンおよび数は好ましくはそのステントの設計により決定される。なお、図示の実施形態においては、上記の起立部分または突出部分5200は隣接している各フープ7002において隣接している各ループ7006の間および各架橋部7008の間において形成されているそれぞれの空間部分を占有するように配列されている。
上記の起立部分5200は多数の方法において形成できる。例えば、これらの起立部分5200は一定の加熱したクラムシェル金型または一定のワッフル・アイアン型加熱ダイによる方法により形成できる。いずれの方法も複数の突出部分を含む内側軸部の低コストの大量生産を可能にする。
上記の起立部分5200の寸法、形状およびパタンは任意のステント設計に適応するために変更可能である。これらの起立部分5200のそれぞれの高さは好ましくは内側の軸部5012と外側のシース5014との間に存在しているわずかな隙間を補う程度に十分に大きい。さらに、上記軸部5012における起立部分または突出部分5200の高さHは軸部5012の外径IM(r)とシース5014の内径OM(r)との間の半径における差から上記装置またはステント7000の壁厚WTを差し引いた値よりも、その最小値において、大きいことが好ましい。この関係を表している式は以下のように与えられる。

H>(OM(r)−IM(r))−WT
例えば、上記軸部5012が0.08インチ(0.203センチメートル)の一定の外径を有し、上記シース5014が0.1インチ(0.254センチメートル)の一定の内径を有していて、上記ステント7000の壁厚が0.008インチ(0.020センチメートル)である場合に、上記の起立部分または突出部分5200の高さは以下の値になる。
Figure 2005296665
上記起立部分5200の高さは好ましくはこれらの突出部分5200が圧縮可能でなければ上記シースの半径と上記軸部の半径との間の差よりも小さいことに注目することが重要である。
それぞれの起立部分5200は小形であるが、これらの起立部分5200の数を大きくすることができ、各起立部分5200は小さな量の力をステント7000の異なる部分に加えるので、これにより、ステント7000を配備する力を分配してステント7000の特にその基端部における損傷を防ぐことができる。上記起立部分5200はまたステント7000をその配給システムの中に装填する途中においてそのステント7000を保護する。本質的に、配備中にステント7000に作用する力と同一の力が装填中においてもそのステント7000に作用する。このステントの長手方向に沿う柔軟性は反復可能な短縮および正確な配置を確実に行なうためにそのステントが放出または配備される時にできるだけ小さな力をそのステントに加えることを必要としている。本質的に、上記ステント7000の長手方向に沿う移動がその配備中に無いことまたは実質的に減少されてステント圧縮が無くなるか実質的に減少されることが好ましい。従って、上記の起立部分5200が無ければ、ステント7000の配備時に、上記の圧縮力が上記の配給システムならびにステント7000を圧縮することになる。さらに、この圧縮のエネルギーは配備時に開放されて、ステント7000の正確な配置の可能性を低下し、ステントの「跳び上がり(jumping)」の可能性の原因になる。一方、起立部分5200が存在すれば、そのステント7000は移動しにくくなり、これにより、圧縮が無くなるか実質的に減少できる。
一例の代替的で例示的な実施形態において、上記ステントはその配給装置の軸部に位置決めされており、このステントは加熱可能であり、外部から加圧することによりその配給システムの内側軸部の中に一定の鏡像様の陰影を作成することができる。さらに、この陰影は一定の三次元的な表面を構成し、この表面は上記シースが後退する時にステントがその位置を維持することを可能にする。この三次元的な陰影は熱のみ、圧力のみ、あるいは、一定の別の装置により作成可能である。
上記の医療装置のいずれもその装置のすぐ周辺ではない別の領域への種々の薬物、薬剤および/または配合物の局所的な配給のために利用できる。また、全身系の薬物配給に付随する潜在的な合併症を回避するために、本発明の医療装置は当該医療装置の近くの領域に種々の治療用の薬剤を配給するために利用可能である。例えば、一定のラパマイシン被覆したステントはそのラパマイシンをそのステントの周囲の組織だけでなくそのステントの上流側およびそのステントの下流側の各領域にも配給することができる。組織の浸透性の程度は上記の薬物、薬剤または化合物、その薬物の濃度およびその薬剤の放出速度を含む多数の要因により決まる。さらに、同一のことが被覆処理した種々の吻合装置においても言える。
上記の薬物、薬剤および/または配合物/キャリアまたはビヒクルの各組成物は多数の方法で配合できる。例えば、これらは製造性、被膜の完全性、滅菌性、薬物の安定性、および薬物の放出速度に影響を及ぼす種々の賦形剤および/または配合用の成分を含む付加的な成分または要素を用いて配合できる。本発明の例示的な実施形態において、上記の賦形剤および/または配合用の成分は即時放出用および持続型放出用の両方の薬物溶出プロファイルを達成するために添加できる。これらの賦形剤は種々の酸/塩基物質または緩衝剤の成分等のような塩類および/または無機化合物、酸化防止剤、界面活性剤、ポリペプチド、タンパク質、スクロース、グルコースまたはデキストロースを含む炭化水素、EDTA等のようなキレート化剤、グルタチオンまたはその他の賦形剤または薬剤を含むことができる。
上記の医療装置のいずれも種々の薬物、薬剤または配合物を含有している被膜により、あるいは、単に薬物、薬剤または配合物を全く含まない被膜により被覆可能であることに注目することが重要である。加えて、医療装置の全体を被覆することができ、あるいは、医療装置の一部分のみを被覆することも可能である。また、上記の被膜は均一にすることもでき、不均一にすることもできる。さらに、この被膜は不連続状であってもよい。
上述したように、任意数の薬物、薬剤および/または配合物を任意数の医療装置を介して局所的に配給できる。例えば、種々のステントおよび吻合装置が上記において詳述されているような種々の病状および身体による反応を治療するための種々の薬物、薬剤および/または配合物を含有している被膜を組み込むことができる。さらに、治療用の投薬量の種々の薬物、薬剤および/または配合物により被覆されているかこれらをその他の方法により組み込むことのできる別の装置は上記において略説されている種々のステント移植片、および、腹大動脈瘤ならびに、例えば、胸大動脈瘤等の別の動脈瘤を治療するための装置等のような種々のステント移植片を利用している装置を含む。
ステント移植片は、その名称が意味するように、一定のステントおよびこのステントに取り付けた一定の移植材料を含む。図24は一定の例示的なステント移植片800を示している。このステント移植片800は以下において詳細に説明されているような任意の種類のステントおよび任意の種類の移植材料を含むことができる。図示の例示的な実施形態において、ステント802は一定の自己拡張型の装置である。一定の典型的な自己拡張型のステントは相互接続している複数の支柱部の一定の拡張可能な格子構造または網状構造を含む。本発明の好ましい実施形態において、その格子構造は一定の材料の一体チューブから、例えば、レーザー切断により、作成されている。
本発明によれば、上記ステントは多様に構成できる。例えば、このステントは反復式の幾何学的形状を形成している複数の支柱部またはその類似物により構成できる。当該技術分野における熟練者であれば、一定のステントが特定の特徴部分を含むことおよび/または特定の1種類以上の機能を行なうことのために構成または適合できること、および種々の代替的な設計がその特徴または機能を実行するために使用可能であることが認識できる。
図24において示されている本発明の例示的な実施形態において、上記ステント802の基材または支柱部は少なくとも2個のフープ804に構成することができ、各フープ804は約9個のダイアモンド形を有する一定のダイアモンド形状に形成されている多数の支柱部806を含む。さらに、上記ステント802は隣接している各フープを互いに接続するための一定のジグザグ形状のリング808を含むことができる。これらのジグザグ形状のリング808は多数の代替的な支柱部810により形成可能であり、この場合に、各リングは45個の支柱部を有している。
ステント802の内表面部または外表面部は一定の移植材料により被覆可能であり、当該移植材料を支持できる。このような移植材料812は当該技術分野における熟練者において既知の多数の材料により作成可能であり、織り状のまたはその他の形態のポリエステル、ダクロン(Dacron)(登録商標)、テフロン(Teflon)(登録商標)、ポリウレタン、多孔質ポリウレタン、シリコーン、ポリエチレン・テレフタレート、発泡ポリテトラフルオロエチレン(ePTFE)および種々の材料の混合物を含む。
上記移植材料812は好ましくは所定の機械的特性を達成するように多様に構成することができる。例えば、この移植材料は単一または多数の織り目および/またはプリーツ状のパタンを含むことができ、あるいは、プリーツを有していてもいなくてもよい。例えば、この移植材料は平織り、サテン織りに構成することができ、種々の長手方向のプリーツ、中断されているプリーツ、環状または螺旋状のプリーツ、半径方向に配向されているプリーツ、またはこれらの組み合わせを含むことができる。あるいは、この移植材料を編み状または編み組み状にすることも可能である。移植材料がプリーツ付きである本発明の実施形態においては、これらのプリーツは連続状または不連続状のいずれでもよい。さらに、各プリーツを長手方向、外周方向、またはこれらの組み合わせの方向に配向できる。
図24において示されているように、上記移植材料812はその表面に沿って、上記ステント移植片800の長手軸に対して概ね平行に、延在している長手方向の複数のプリーツ814を含むことができる。これらのプリーツ814はステント移植片800が、一定の患者の体内に配給される場合等において考えられるように、その中心の回りにつぶれることを可能にする。このことは比較的に小さな外形の配給システムを提供し、このシステムからの一定の制御されて一貫した配備様式を提供する。さらに、このような形態はしわおよびその他の幾何学的な不規則性を最小限に留めると考えられる。さらに、その後に行われる拡張の際に、上記ステント移植片800はその自然な円筒形の形状を有し、各プリーツ814は均一に且つ対称形に開く。
加えて、上記プリーツ814はステント移植片の製造を容易にすることに役立っており、これらは上記長手軸に平行な方向を示して、これらの線に沿うステントの移植片に対する取り付けを可能にすることにより、取り付け後におけるそのステントに対する移植片の偶発的な捩れを抑制している。また、移植片のプリーツ状のエッジ部分だけが上記配給システムの内表面部に対して摩擦を伴って接触するので、ステント移植片800をその配給システムから押し出すために必要とされる力も減少できる。これらのプリーツ814のさらに別の利点は血液がこれらプリーツ814の各溝内において概ね均一に凝固して、移植片の表面上における非対称的な大形の凝固物の形成を抑制することにより、塞栓の危険性を減少していることである。
図24において示されているように、移植材料812は1個以上の、好ましくは複数の半径方向に配向されているプリーツ中断部分816も含むことができる。これらのプリーツ中断部分816は一般的に実質的に円形であり、長手軸に対して垂直に配向されている。これらのプリーツ中断部分816は移植片およびステントが種々の選択的な位置において比較的に良好に屈曲することを可能にしている。このような設計により、良好なけん縮性および改善された耐捩れ性を有する一定の移植材料が得られる。
上記の移植材料は編み状または織り状にすることができ、縦編み状または横編み状にすることも可能である。この材料を縦編み状にする場合に、この材料はベロア状またはタオル状の表面を備えることができ、このことは血液凝固物の形成を速めると考えられ、これにより、周囲の細胞構造中へのステント移植片またはステント移植片の部品の一体化が促進できる。
一定の移植材料は、ポリウレタン接着剤等のような接着剤、フッ化ポリビニリデン、ポリプロピレン、ダクロン(Dacron)(登録商標)または任意の他の適当な材料による複数の従来式の縫合糸、超音波溶接、機械的締り嵌め、および各種ステープルを含む当該技術分野における熟練者において知られている多くの構造または方法により一定のステントまたはその他の移植材料に取り付けることができる。
上記ステント802および/または移植材料812は上記の種々の薬物、薬剤および/または配合物の内の任意のものにより被覆できる。一例の例示的な実施形態において、ラパマイシンが上記の種々の材料および方法の内の任意のものを利用して移植片材料812の少なくとも一部分に固定できる。また、別の例示的な実施形態においては、ラパマイシンを移植材料812の少なくとも一部分に固定して、ヘパリンまたはその他の抗血栓性の物質をステント802の少なくとも一部分に固定できる。このような構成により、ラパマイシンにより被覆した移植材料812を平滑筋細胞の過剰増殖を最小限にするか実質的に無くすために利用することができ、ヘパリンにより被覆したステントは血栓の可能性を実質的に減少できる。
使用する特定の1種類以上のポリマーはそのポリマーを固定する特定の材料により決まる。加えて、特定の薬物、薬剤および/または配合物もまたこのポリマーの選択に影響を及ぼす可能性がある。上述したように、上記の1種類以上のポリマーおよび方法を利用することによりラパマイシンを移植材料812の少なくとも一部分に固定できる。また、別の代替的で例示的な実施形態においては、ラパマイシンまたは任意の他の薬物、薬剤および/または配合物が多くの既知の方法を利用することにより移植材料812中に直接的に含浸できる。
さらに別の代替的で例示的な実施形態において、上記ステント移植片は上記移植材料を間に挟んだ状態の2個のステントにより形成可能である。図25は一定の内側ステント902、一定の外側ステント904およびこれらの間に挟まれている移植材料906により形成されている一定のステント移植片900の簡単な図である。これらのステント902,904および移植材料906は上述した材料と同一の材料により形成できる。上述したように、内側ステント902はヘパリン等のような一定の抗血栓剤または抗凝固剤により被覆することができ、外側ステント904はラパマイシン等のような一定の抗増殖剤により被覆できる。あるいは、移植材料906は上述した種々の薬物、薬剤および/または配合物およびこれらの組み合わせ物の内の任意のものにより被覆でき、あるいは、上記3種類の構成要素の全てを同一または異なる種々の薬物、薬剤および/または配合物により被覆することも可能である。
さらに別の代替的で例示的な実施形態において、上記ステント移植片は一定の移植カフス部を含むように変更できる。図26において示されているように、移植材料906は外側ステント904の周囲に折り返されてカフス部908を形成することができる。この例示的な実施形態においては、カフス部908にラパマイシンおよびヘパリンを含む種々の薬物、薬剤および/または配合物を装填できる。さらに、上記の方法および材料を利用するか、その他の手段により、種々の薬物、薬剤および/または配合物をカフス部908に固定できる。例えば、これら種々の薬物、薬剤および/または配合物をカフス部908の中に捕捉して、移植材料906がこれらの薬物、薬剤および/または配合物を溶出する拡散バリアとして作用することができる。選択された特定の材料およびその物理的特性は上記溶出の速度を決定すると考えられる。あるいは、上記カフス部908を形成している移植材料906を1種類以上のポリマーにより被覆して上述したようにその溶出速度を調整することも可能である。
種々のステント移植片を種々の動脈瘤の治療のために利用できる。動脈瘤は、通常において全身系的なコラーゲンの合成また構造的な欠陥により生じる、一定の動脈壁部における1個以上の層の異常な拡張である。腹大動脈瘤は、通常において2個の腸骨動脈の一方または両方の中またはその近くにおいて、あるいは、各腎動脈の近くにおいて存在している、大動脈の腹部における一定の動脈瘤である。この動脈瘤は、例えば、各腎臓の下方における病気の大動脈の腎下部内に生じる場合が多い。また、胸大動脈瘤は大動脈の胸部内における一定の動脈瘤である。これらは治療しないままに放置すると、その動脈瘤が破裂して、通常的に迅速で致命的な出血を生じる。
種々の動脈瘤はこれらの位置および一群の動脈瘤の数により分類または類別できる。一般的に、腹大動脈瘤は5種類の型に分類できる。I型の動脈瘤は各腎動脈と各腸骨動脈との間に存在する単一の拡張部分である。一般的に、I型の動脈瘤においては、その大動脈は各腎動脈とその動脈瘤との間およびその動脈瘤と各腸骨動脈との間において健康である。
IIA型の動脈瘤は各腎動脈と各腸骨動脈との間に存在する単一の拡張部分である。このIIA型の動脈瘤においては、その大動脈は各腎動脈とその動脈瘤との間において健康であるが、その動脈瘤と各腸骨動脈との間において健康ではない。換言すれば、この拡張部分は大動脈の分枝部分にまで延在している。また、IIB型の動脈瘤は3個の拡張部分を含む。これらの内の1個の拡張部分は各腎動脈と各腸骨動脈との間に存在している。上記IIA型の動脈瘤と同様に、大動脈はその動脈瘤と各腎動脈との間において健康であるが、その動脈瘤と各腸骨動脈との間において健康ではない。また、他の2個の拡張部分は大動脈の分枝部分と各外腸骨および各内腸骨の間の各分枝部分との間における各腸骨動脈の中に存在している。この場合に、これらの腸骨動脈はその腸骨分枝部分と動脈瘤との間において健康である。IIC型の動脈瘤もまた3個の拡張部分を含む。しかしながら、このIIC型の動脈瘤においては、各腸骨動脈内の拡張部分はその腸骨分枝部分にまで延在している。
さらに、III型の動脈瘤は各腎動脈と各腸骨動脈との間において存在する単一の拡張部分である。このIII型の動脈瘤においては、その大動脈は各腎動脈とその動脈瘤との間において健康ではない。換言すれば、この拡張部分は各腎動脈にまで延在している。
破裂した腹大動脈瘤は現在において米国において13番目の死因である。腹大動脈瘤の慣例的な管理は外科バイパス術であり、その関連の部分または拡張した部分の中への一定の移植片の配置を伴う。経腹膜的または腹膜後的な方式における一定の合成移植片による切除が標準的な治療法であったが、この方法は相当な危険性を伴う。例えば、合併症として、手術時の心筋虚血、腎不全、勃起不能、腸虚血、感染、下肢虚血、麻痺を伴う脊髄損傷、大動脈−内臓瘻および死が含まれる。腹部大動脈瘤の外科的治療は無症候性の患者において5%、症候性の患者において16乃至19%という全体的な死亡率を伴い、破裂した腹大動脈瘤を伴う患者においては50%程度という高い死亡率である。
従来の外科手術に伴う不都合点は、その死亡率の高さに加えて、大手術による切開部分および腹腔の開口部に伴う一定の延長された回復期間、大動脈に対する移植片の縫合における困難さ、移植片を支持して補強する既存の血栓部分の喪失、腹大動脈瘤を有する多くの患者における手術の不適当さ、および動脈の破裂後の一定の緊急状態における手術の実施に伴う種々の問題を含む。さらに、一般的な回復期間は病院内における1乃至2週間であり、さらに、合併症がその後に生じた場合には、2乃至3ヶ月あるいはそれ以上の家庭における回復期間になる。腹大動脈瘤を有する多くの患者はこれら患者の多くが高齢であるという事実に加えて、別の慢性の病気、例えば、心臓病、肺病、肝臓病および/または腎臓病を有しているので、手術の理想的な候補者とは言えない。
動脈瘤の発生は腹部領域には限定されない。腹大動脈は一般に最もよく知られているが、大動脈における別の領域内またはその分枝部分の一つにおける各種の動脈瘤も有り得る。例えば、動脈瘤は胸大動脈の中に生じる場合がある。腹大動脈瘤の場合と同様に、胸大動脈内の一定の動脈瘤の治療に対して広く受け入れられている方法は一定のプロテーゼ装置によるその動脈瘤部分の置換を含む手術による修復である。このような手術は、上述したように、高い危険性および相当な死亡率および罹病率を伴う大がかりな作業である。
過去5年間にわたり、種々の動脈瘤、特に、種々の腹大動脈瘤の治療のために比較的に低い侵襲性の経皮的な、例えば、カテーテル関連型の技法の開発を目的とした多大な研究が行なわれている。この技法は種々の脈管ステントの開発により容易化されており、これらの脈管ステントは一定のステント移植片または体内移植片を形成するための標準的な薄壁型の移植材料と共に使用可能であり、このような移植材料と共に用いられている。このような比較的に低い侵襲性の治療の潜在的な利点は手術による罹病率および死亡率が減少すること、および病院および集中治療室に滞在している期間が短くなることを含む。
ステント移植片または体内プロテーゼは現在においてFDAにより認可されており、市販されている。この配給方法は一般的に総大腿動脈または上腕動脈等のような一定の遠隔の動脈の外科的切開部分を介して得られる血管接近部分を通して行なわれる高度な血管造影技法を含む。適当な寸法の導入装置を一定のガイドワイヤ上に配置する。その後、カテーテルおよびガイドワイヤを動脈瘤の中に通して、一定のステント移植片を収容している適当な寸法の導入装置と共に、そのステント移植片をガイドワイヤに沿って適当な位置まで前進させる。このステント移植片装置の一般的な配備は当該ステント移植片の位置を一定の内側安定化装置により維持した状態で一定の外側シースを後退させる必要がある。大抵のステント移植片は自己拡張型であるが、さらに別の血管形成方法、例えば、バルーン式血管形成術もステント移植片の位置を固定するために必要とされる場合がある。さらに、このようなステント移植片の配置の後に、標準的な血管造影図を得ることが可能になる。
一般的に20フレンチ(3フレンチ(F)=1mm)である上記の各装置の大きな直径により、動脈切開部分の閉鎖は外科手術による修復を必要とする。さらに、一部の方法は動脈瘤を適正に治療するため、または、両方の下肢に対する流れを維持するために、下腹動脈塞栓形成、血管結紮または外科的バイパス術等のようなさらに別の外科技法を必要とする場合がある。これと同様に、一部の方法は動脈瘤を有効に排除すると共にその漏れを効率的に管理するために、血管形成術、ステント配備、および塞栓形成等のようなさらに別の高度なカテーテルによる技法を必要とする。
上記の体内プロテーゼは従来の外科技法に優る一定の有意義な改善を示しているが、変化する生物学的な諸条件に対応してこれらの体内プロテーゼ、その使用方法および適用性を改善する必要性がある。従って、腹大動脈瘤および胸大動脈瘤を含む種々の動脈瘤を治療するための安全で効果的な別の手段を提供するために、現在において知られている種々の体内プロテーゼおよびこれらの配給システムに伴う多数の問題を解決する必要がある。これらの体内プロテーゼの使用における一例の問題は体内漏れの防止および脈管における通常の流体力学による破裂である。いずれの技法を採用している装置も必要に応じて位置決めおよび再位置決めすることが簡単であることが好ましく、急速な液密シールを形成することも好ましく、さらに、動脈瘤のある血管および分枝している各血管の両方における通常の血流に対して影響することなく移動を阻止するように固定されていることが当然に好ましい。加えて、上記の技法を採用している装置は分枝状の血管、曲がりくねっている血管、急な角度の血管、部分的に病気の血管、石灰化している血管、異形の血管、短い血管および長い血管の中において固定、密封および維持が可能であることが当然に好ましい。さらに、このことを達成するためには、上記の体内プロテーゼは短期間および長期間にわたる液密シールおよび固定位置を維持しながら伸長可能であり且つ再構成可能であることが当然に望ましい。
また、体内プロテーゼはカテーテル、ガイドワイヤおよび開放性の外科的介入の必要性を実質的に無くすその他の装置により経皮的に配給できることが当然に好ましい。従って、カテーテル内における体内プロテーゼの直径は重要な一要因である。このことは胸大動脈のような比較的に大きな血管内における動脈瘤の場合に特に言えることである。
上述したように、1個以上のステント移植片を種々の動脈瘤の治療のために利用することができる。これらのステント移植片または体内プロテーゼは多くの材料および形態を含むことができる。図27は種々の腹大動脈瘤を治療するための一定の例示的なシステムを示している。このシステム1000は第1のプロテーゼ1002および2個の第2のプロテーゼ1004,1006を有しており、これらプロテーゼは組み合わせの状態で一定の動脈瘤1008に対してバイパス形成している。この図示の例示的な実施形態において、上記システム1000の一定の基端側または近位側の部分は動脈瘤1008の上流側における一定の動脈の部分1010内に位置決めすることができ、当該システム1000の一定の先端側または遠位側の部分はその動脈または各腸骨動脈1012,1014等のような異なる動脈の一定の下流側部分の中に位置決めできる。
本発明によるシステム内において用いられる一定のプロテーゼは一般的に一定の開口状の近位側端部および一定の開口状の遠位側端部を有する一定の内部空間または内孔部を定めている相互に連結している複数の支柱部による一定の支持体、ステントまたは格子構造を含む。さらに、この格子構造は一定の内表面部および外表面部も定めている。この格子構造の内表面部および/または外表面部、またはこの格子構造の一部分は少なくとも1種類のガスケット材料または移植材料により被覆することができ、あるいは、これを支持することができる。
本発明の好ましい実施形態において、一定のプロテーゼが一定の拡張状態または膨張状態の位置と一定の未拡張状態または収縮状態の位置との間およびこの間の任意の位置において移動可能である。本発明の一部の例示的なの実施形態において、完全につぶれた状態から完全に拡張した状態のみに移動する一定のプロテーゼを提供することが望ましい場合がある。また、本発明の別の例示的な実施形態において、一定のプロテーゼを拡張した後に、そのプロテーゼをつぶすか部分的につぶすことが望ましい場合がある。このような能力は外科医がこれらのプロテーゼを適当に位置決めするか再位置決めするために有益的である。本発明によれば、上記プロテーゼは自己拡張型にすることができ、あるいは、一定のバルーンまたはその類似物等のような一定の膨張可能な装置により膨張可能にすることもできる。
図27に戻り、上記システム1000は腹大動脈の腎下頸部1010内に配備されており、その上流側において、この動脈は第1および第2の各総腸骨動脈1012,1014に分かれている。図27は腎下頸部1010内に位置決めされている第1のプロテーゼまたはステント・ガスケット1002および2個の第2のプロテーゼ1004,1006を示しており、これら第2のプロテーゼの各近位側端部はステント・ガスケット1002における一定の近位側部分に係合しており、各遠位側端部は各総腸骨動脈1012または1014の中にそれぞれ延在している。図示のように、第2のプロテーゼの各本体部分は動脈瘤1008の場所を通過している一定の導管または流体の流路を形成している。本発明の好ましい実施形態において、上記システム1000の各部品は動脈瘤が存在している動脈の部分にバイパス形成する一定の流体の流路を定めている。
上記第1のプロテーゼは一定の密封材料または発泡材料を支持する一定の支持基材を含み、この支持基材の少なくとも一部分は一定の生物学的な流体の流路を横切って、例えば、一定の血液の流路を横切って位置決めされている。本発明の好ましい実施形態において、上記第1のプロテーゼ、ステントおよび密封部材は半径方向に拡張可能であり、当該プロテーゼにおける一定の近位側部分と当該プロテーゼにおける一定の遠位側部分との間に一定の中空の空間部分を定めている。さらに、この第1のプロテーゼは当該プロテーゼを動脈内に位置決めして固定するための1個以上の構造部分、および少なくとも1個の第2のプロテーゼ、例えば、一定のバイパス・プロテーゼに係合してこれを固定するための1個以上の構造部分も有することができる。
上記第1のプロテーゼにおける支持基材またはステントは多様な材料により形成可能であり、多様な形状に構成することができ、これらの形状および使用方法は当該技術分野において周知である。例示的な従来技術のステントが米国特許第4,733,665号(パルマズ(Palmaz))、米国特許第4,739,762号(パルマズ)および米国特許第4,776,337号(パルマズ)において開示されており、これらの特許はそれぞれ本明細書に参考文献として含まれる。
本発明の好ましい実施形態において、上記第1のプロテーゼのステントはニチノールまたはステンレス・スチール等のような一定の金属または金属合金により形成されている一定の押しつぶし可能で柔軟な自己拡張型の格子構造または基材である。ステンレス・スチールにより形成されている種々の構造体は、例えば、一定の編み組み状の形態に捩じる等による所定の様式でこのステンレス・スチールを構成することにより自己拡張型にすることができる。さらに好ましくは、上記ステントは一定の密封材料を支持する一定の管状フレームである。本明細書において用いられている用語の「管状(tubular)」は間において一定の中空の空間部分または内孔部を定めている1個以上の側壁部を有している任意の形状を意味しており、その断面形状は一般に円筒形、楕円形、長円形、長方形、三角形または任意の他の形状にすることができる。さらに、この形状はステントまたはプロテーゼに対して押圧できる種々の力の結果として変化しまたは変形可能にすることができる。
上記ステントにより支持される密封材料またはガスケット部材は多様な材料により形成可能であり、多様な形状に構成することができ、これらの形状および使用方法は当該技術分野において周知である。本発明の上記の態様と共に使用するための例示的な材料が米国特許第4,739,762号(パルマズ(Palmaz))および米国特許第4,776,337号(パルマズ)において開示されており、これらは共に本明細書に参考文献として含まれる。
上記の密封材料またはガスケット部材は任意の適当な材料を含むことができる。例示的な材料は好ましくは種々の連続気泡型発泡材料および独立気泡型発泡材料を含むがこれらに限定されない一定の生体耐久性で生体適合性の材料を含む。さらに、例示的な材料はポリウレタン、ポリエチレン、ポリテトラフルオロエチレン、およびその他の種々のポリマー材料を含み、好ましくは織り状または編み状であり、ダクロン(Dacron)(登録商標)等のような一定の柔軟性の構造を提供する。高度に圧縮性の発泡材料が特に好ましく、比較的に良好な配給のためにけん縮状態の外形に維持できることが好ましい。さらに、この密封材料または発泡材料は好ましくは一定の圧縮状態にあるときに血液に対して実質的に不透過性である。
上記密封材料は上記ステントの1個以上の表面部分を被覆することができ、そのステントの内壁部または外壁部、あるいは、これらの両方に沿って存在することができ、好ましくは、そのステントの近位側端部または一定の近位側部分を横切って延在している。この密封材料は、例えば、上記第1のプロテーゼと一定の動脈壁部との間、および当該第1のプロテーゼの内孔部の中に1個以上のバイパス・プロテーゼを配備した後におけるこれらバイパス・プロテーゼの周囲等のような、上記第1のプロテーゼの周囲におけるあらゆる血流を防止するために役立つ(以下においてさらに詳細に説明されている)。
本発明の好ましい実施形態において、上記密封材料はステントの近位側端部の一部をステントの外壁部の少なくとも一部に沿って広がり、これを覆う。
本発明の一部の実施形態において、ステントの近位側部分を被覆している密封材料の部分が、一定のガイドワイヤを位置決めするために、第2のプロテーゼ等のような一定のシステム部品を位置決めするために、および/または、好ましくは、第2のプロテーゼ等のような1個以上のシステム部品に係合するために、1個以上の穴、孔、点、スリット、スリーブ、フラップ、弱めスポット、ガイド等を有することが望ましい場合がある。例えば、一定のカバーまたはその類似物として構成されていて一定の穴を有する一定の密封材料がステントの内孔部を部分的に閉塞することができる。
上記の開口部は主としてその用途に適合するように多様に構成できる。これらの構造は上記第1のプロテーゼの中における1個以上の、好ましくは、多数のプロテーゼの適当な横並びの配置を助長し、本発明の一部の実施形態において、この密封材料は完全に配備状態のシステムまたは部品の特定の形状を維持することを補助するために構成または適合できる。さらに、上記の開口部はプロテーゼの配備の前に存在していてもよく、あるいは、配備処置の一部として一定のプロテーゼの中に形成することもできる。上記開口部の種々の機能が以下の説明により明らかになる。本発明の例示的な実施形態において、上記密封材料は単一の穴を有する一定の発泡体カバーである。
上記密封材料は種々のコネクタの内の任意のものにより上記ステントに取り付けることができ、このようなコネクタとしては、フッ化ポリビニリデン、ポリプロピレン、ダクロン(Dacron)(登録商標)または任意の他の適当な材料およびこれらに付属する材料による複数の従来型の縫合糸が含まれる。さらに、上記密封材料をステントに取り付ける別の方法は種々の接着剤、超音波溶接、機械的な締り嵌め法および各種ステープル等を含む。
さらに、1個以上のマーカーをステントの内部または上部においてその近位端部と遠位端部との間に随意的に配置することができる。好ましくは、2個以上のマーカーが、解剖学的な特徴部分または他のシステム部品に関連して、一定のプロテーゼにおける一定の位置を確認するために、あるいは、そのプロテーゼの一定の位置またはその一部分を確認するために寸法付けおよび/または位置決めされている。
上記第1のプロテーゼは一般的に一定の動脈瘤の上流側における一定の動脈通路内に配備され、その動脈を開いて拡張すること、上記システムの種々の部品を適正に位置決めして固定すること、および他の部品との組み合わせにおいて、上記システムまたはその各部分を流体の漏れに対して密封することのために機能する。例えば、この密封用のプロテーゼは一定の患者における一定の腹大動脈瘤と各腎動脈との間の腎下頸部内に配備されて一定の腹大動脈瘤の治療を補助することができる。
図27乃至図29は本発明の一定の例示的な密封用プロテーゼを示している。この密封用プロテーゼ1002は一般的に複数の相互接続している支柱部1018により作成されている一定の円筒形または長円形の自己拡張型の格子構造、支持体またはステント1016を含む。このステント1016は2個の開口端部、すなわち、一定の近位側端部1022と一定の遠位側端部1024を有する一定の内部空間部分または内孔部1020を定めている。さらに、1個以上のマーカーまたは標識1026が随意的に上記ステントの内部または上部においてその近位側端部1022と遠位側端部1024との間に配置できる。
上記ステント1016はさらに少なくとも2個の好ましくは(図28において示されているように)8個の互いに離間している長手方向の脚部1028を有することができる。好ましくは、各支柱部1018により形成されているダイアモンド形状の各頂点1030から延出している一定の脚部が存在している。少なくとも1個の脚部、好ましくは各脚部がその遠位側端部に隣接している一定のフランジ部分1032を有しており、このフランジ部分1032はステント1016がその部分的なまたはほぼ完全な配備の後にその配給装置内に後退することを可能にして、これを適正な位置合わせのために回転または他の様式により再位置決めできるようにする。
図29はステント・ガスケット1002の近位側端部1022を被覆している密封材料1034を示している。図29において示されている例示的な実施形態において、密封用プロテーゼ1002は第1の開口部または穴1036および第2の開口部またはスリット1038を有する一定の密封材料1034を含む。このガスケット材料は上記ステントの内部または外部の少なくとも一部分を被覆し、最も好ましくは、そのステントの外部の実質的に全体を被覆する。例えば、ガスケット材料1034はステント1016をその近位側端部1022から遠位側端部1024まで被覆するが、好ましくは長手方向の各脚部1028を被覆しないように構成できる。
上記密封材料1034は各バイパス・プロテーゼ1004および1006を配備した後に(図27において示されている)、血液がこれらバイパス・プロテーゼ1004および1006の周囲に流れること、およびステント・ガスケット1002自体の周囲に流れることを妨げるために役立つ。このような実施形態において、上記密封材料1034はステント1016の外部およびステント1016の内部の少なくとも一部分に沿って配置されている一定の圧縮可能な部材またはガスケットである。
上記第2のプロテーゼ1004および1006は図24に関連して説明されているような種々のステント移植片を含むことができ、上述したように、種々の薬物、薬剤および/または配合物の内の任意のものにより被覆できる。換言すれば、上記のステントおよび/または移植材料は上述した種々のポリマーおよび方法の内の任意のものを利用することにより上述した種々の薬物、薬剤および/または配合物の内の任意のものにより被覆できる。さらに、上記ステント・ガスケット1002も上述した種々の薬物、薬剤および/または配合物の内の任意のものにより被覆できる。換言すれば、上記のステントおよび/または密封材料は上述した種々のポリマーおよび方法の内の任意のものを利用することにより上述した種々の薬物、薬剤および/または配合物の内の任意のものにより被覆できる。特に、ラパマイシンおよびヘパリンは平滑筋細胞の過剰増殖および血栓症を防止するために重要であると考えられる。また、別の種々の薬物、薬剤および/または配合物も利用可能である。例えば、再内皮化を促進する種々の薬物、薬剤および/または配合物を利用することにより生体内への上記プロテーゼの組み込みを容易にすることができる。また、塞栓材料を上記ステント移植片に組み込むことにより種々の内部漏れの可能性を減少できる。
種々の腹大動脈瘤を修復するための上述したシステムが上記システムの一例であることに注目することが重要である。すなわち、種々のステント移植片を含む多くの動脈瘤修復システムが適当な種々の薬物、薬剤および/または配合物ならびにこれらの組み合わせ物により被覆できる。例えば、種々の胸大動脈瘤を一定の類似した様式で修復することができる。また、動脈瘤の種類または生体内におけるその位置にかかわらず、上記修復システムを構成している各部品は種々のステント移植片に関連して上述したような適当な薬物、薬剤および/または配合物により被覆できる。
種々の動脈瘤、特に腹大動脈瘤の治療に伴う困難さは内部漏れである。一定の内部漏れは一般にステント移植片の内孔部の外側であって、当該ステント移植片により治療されている動脈瘤嚢または隣接している脈管部分の内部における血流の持続として定義されている。本質的に、これらの内部漏れは2種類の主なメカニズムにより生じ、それぞれのメカニズムは多数の可能な様相を有している。第1のメカニズムは動脈瘤嚢または血管部分の不完全な密封または除外を含む。また、第2のメカニズムは逆流を含む。この種の内部漏れにおいては、動脈瘤嚢の中への血流が開存性の副行血管、特に腰動脈または下腸間膜動脈からの逆流により逆転する。さらに、この種の内部漏れはステント移植片の周囲において一定の完全な密封が達成されている場合においても生じる可能性がある。また、一定の内部漏れがステント移植片の不全、例えば、移植片の布材における一定の断裂等により発展する可能性もある。
上記の内部漏れはその型により分類できる。I型の内部漏れは種々のステント移植片の近位側または遠位側の取付部位における一定の移植片の周囲の漏れである。本質的に、この種の内部漏れはステント移植片の各端部における非効果的なまたは不適当な密封により一定の血流の持続した移植片の周囲における通路が発展している場合に生じる。このI型の内部漏れには、ステント移植片の不適正な寸法決め、ステント移植片の移動、不完全なステント移植片の拡張および動脈内腔の一定の不規則な形状を含む多数の可能な原因が有る。また、II型の内部漏れは大動脈における一定の開存性の分枝部分からの動脈瘤嚢内への持続した副行状の血流である。本質的に、動脈瘤嚢内における圧力は副行状の分枝部分よりも低く、これにより、一定の逆行した血流が生じる。このようなII型の内部漏れの発生源は副腎動脈、精巣動脈、腰動脈、正中仙骨動脈、下腸間膜動脈および脊髄動脈を含む。また、III型の内部漏れは腹大動脈瘤の修復システムまたはその部品、例えば、ステント移植片の一定の構造的な不全により生じる可能性がある。このIII型の内部漏れはまた種々のモジュール式の部品を採用しているシステムにおける連結部分の不全により生じることも有り得る。このIII型の内部漏れの発生原因はステント移植片の布材における断裂、引裂きまたは穴、種々のモジュール式部品の不適正な寸法決め、および種々のモジュール式部品の制限されている重なりを含む。また、IV型の内部漏れは移植片材料自体の中を通過する血流である。この血流は移植片材料をステントに取り付けるための種々のステープルまたは縫合糸により生じる移植片材料の穴またはその布材における小孔を通して流れる。このような穴を通る血流は高度に多孔質な移植片の布材により一般的に生じる。また、V型の内部漏れまたは内部張力は放射線学的に検出可能な内部漏れを伴わない動脈瘤嚢における一定の持続したまたは再発する加圧である。このV型の内部漏れの可能な原因は血栓による圧力の伝達、高度に多孔質な移植片材料、または隣接している大動脈の内腔を含む。
上述したそれぞれの型の内部漏れに対応する多数の可能な治療の選択肢が存在している。特定の治療の選択肢は主にその内部漏れの原因により決まり、これらの選択肢は必ずしも常に有効であるとは限らない。本発明は種々の内部漏れの発生を無くすか実質的に減少することを目的としている本明細書において記載されている種々の例示的な装置のような、既存の脈管内式腹大動脈瘤修復様のシステムまたは装置の一定の変更または改良を目的としている。
上記の変更または改良は一定の腹大動脈修復システムを構成している種々の部品の少なくとも一部分を以下において説明されているように傷の治癒を促進する種々の薬物、薬剤および/または配合物により被覆する処理を含む。例えば、図27において示されている例示的なシステム1000の各部分は傷の治癒過程を誘発して促進する1種類以上の薬物、薬剤および/または配合物により被覆可能であり、これにより種々の内部漏れの危険性が減少または実質的に減少できる。上記2個の第2のプロテーゼ1004および1006のそれぞれの端部および第1のプロテーゼ1002の全体は種々の内部漏れが最も起こりやすい領域であるので、これらを被覆することが特に有利であると考えられる。しかしながら、ステント移植片の全体、すなわち、移植片材料およびステントを被覆することは上記の内部漏れの型に応じてその有益性を実証することができる。現行において利用可能な方法により種々の内部漏れを停止することは常に可能であるとは限らないが、本発明による局所的に配給される傷治癒用の薬剤の使用は急性および慢性の種々の内部漏れを効果的に停止または阻止することに役立つと考えられる。本発明が任意の腹大動脈瘤修復システムとの組み合わせにおいて、あるいは、漏れが一定の潜在的な問題である任意の別の種類の移植部品との組み合わせにおいて利用可能であることに注目することが重要である。また、本発明は上記のI型、III型、IV型およびV型の内部漏れに関連して利用可能である。
通常の傷の治癒は本質的に3種類の段階または相において生じ、これらはある程度の重なりを有している。第1の相は細胞移動および炎症である。この相は数日間にわたり継続する。第2の相は新しいコラーゲン合成を伴う2乃至4週間にわたる線維芽細胞の増殖である。さらに、第3の相は瘢痕の再造形であり、一般的に1ヶ月乃至1年にわたり継続する。この第3の相はコラーゲンの架橋および活性コラーゲンの代謝回転を含む。
上述したように、上記の修復システムを介して修復部位に局所的に配給できる特定の種々の薬物、薬剤および/または配合物が存在しており、この修復システムは傷の治癒を促進し、この傷の治癒によりさらに種々の内部漏れの発生が無くなるか実質的に減少できる。例えば、傷の治癒における早期の増加したコラーゲン生成はその傷に対する強度を高める。従って、コラーゲンを上記の修復システムに組み合わせて傷に対する強度を高めて血小板の凝集およびフィブリンの形成を促進することができる。加えて、特定の増殖因子を上記の修復システムに組み合わせて血小板の凝集およびフィブリンの形成を促進すると共に傷に対する強度を高めることができる。
血小板由来増殖因子は有糸分裂を誘発して接合組織内における増殖のための漿液中における主要なマイトジェンである。また、血小板第4因子はヘパリンの中和により血液凝固を促進する一定の血小板放出タンパク質である。これらの血小板由来増殖因子および血小板第4因子は炎症および修復において重要である。これらは人間の種々の単核細胞、好中球、平滑筋細胞、線維芽細胞および炎症細胞に対して活性である。また、形質転換増殖因子βは骨髄による血液細胞の増殖、分裂および成熟を調整するために体内において生成される種々のポリペプチド・ホルモンまたは生物学的因子の一定の複合的な系統群の一部である。この形質転換増殖因子βは種々の組織および血小板において見出されており、生体内に移植した種々の傷チャンバーの中における全体のタンパク質、コラーゲンおよびDNAの内容物を刺激することが知られている。また、コラーゲンとの組み合わせにおける形質転換増殖因子βは傷の治癒において極めて有効であることが既に示されている。
一定の血液凝固物が形成し始める時にいつでもその体内において一連の反応が生じる。これらの反応における一定の主要な開始因子は組織因子/VIIa複合体と呼ばれる一定の酵素系である。従って、組織因子/VIIaは血液凝固の形成を促進するために利用可能であり、それゆえ、傷の治癒を向上することができる。さらに、血栓の形成を開始することが知られている別の物質はトロンビン、フィブリン、プラスミノゲン活性化開始因子、アデノシン二リン酸およびコラーゲンを含む。
上記修復システムの種々の構成部品との関連における上記の種々の薬物、薬剤および/または配合物の使用は種々の血液凝固物の形成および傷の治癒により種々の内部漏れの発生を無くすか実質的に減少するために利用できる。
上記システム1000の各構成部品を含むステントおよび/または移植材料は上述した種々の薬物、薬剤および/または配合物の任意のものにより被覆できる。さらに、これらの種々の薬物、薬剤および/または配合物は上記の種々の材料および方法の任意のものを利用して上記構成部品の一部分またはこれらの構成部品の全てに固定できる。例えば、上記の種々の薬物、薬剤および/または配合物は一定の高分子基材に組み込むことができ、あるいは、上記システムの各構成部品の種々の部分に直接的に固定することも可能である。
上記の利用可能な特定のポリマーはこのポリマーを固定する特定の材料により決まる。加えて、上記の特定の薬物、薬剤および/または配合物もまた上記ポリマーの選択に影響する可能性がある。
上述したように、種々の薬物、薬剤および/または配合物により被覆可能な別の移植可能な医療装置は種々の外科ステープルおよび縫合糸を含む。これらの医療装置は種々の状況を治療すること、および/または、その装置の移植に対する生体の反応を最少にするか実質的に無くすことのために上記の種々の薬物、薬剤および/または配合物の任意のものにより被覆できる。
図30は一定の無被覆状態のまたは裸の状態の外科ステープル3000を示している。このステープル3000は一定の任意の用途に対する必要な強度条件を有する任意の適当な生体適合性の材料により形成できる。一般に、これらの外科ステープルはステンレス・スチールを含む。図31は多数の貫通穴3002を有する一定の外科ステープル3000の例示的な実施形態を示しており、このステープルは好ましくは上述したような1種類以上の薬物、薬剤および/または配合物を含有している。さらに、これらの1種類以上の薬物、薬剤および/または配合物は一定の高分子の混合物を伴うか伴わずに上記の貫通穴3002の中に注入できる。例えば、一例の例示的な実施形態において、上記の貫通穴3002は上記1種類以上の薬物、薬剤および/または配合物をこれらの穴の中に直接的に注入してこれらの貫通穴3002の寸法に基く特定の速度で溶出できるように寸法付けることができる。また、別の例示的な実施形態においては、上記1種類以上の薬物、薬剤および/または配合物は上記の溶出速度を調整する適当なポリマーと共に混合して、上記の貫通穴3002の中に注入および装填することができる。さらに別の代替的で例示的な実施形態においては、上記1種類以上の薬物、薬剤および/または配合物は上記の貫通穴3002の中に注入して装填した後にその溶出速度を調整するための一定のポリマーにより被覆することが可能である。
図32は外科ステープル3000の一定の例示的な実施形態を示しており、この外科ステープル3000はその表面の全体を実質的に被覆している一定の被膜3006を有している。この実施形態においては、上記1種類以上の薬物、薬剤および/または配合物は噴霧または浸漬を含む多数の既知の技法により上記ステープル3000に直接的に固定することができ、あるいは、これら1種類以上の薬物、薬剤および/または配合物を一定の高分子基材と共に混合するかその中に組み込んだ後に上記ステープル3000に固定できる。あるいは、上記1種類以上の薬物、薬剤および/または配合物を上記ステープル3000の表面に直接的に固定した後に、これらの1種類以上の薬物、薬剤および/または配合物の層の上に一定の拡散バリアを供給することも可能である。
多数の薬物、薬剤および/または配合物が種々の状況を治療すること、および/または、上記ステープル3000の移植に対する生体の反応を最少にするか実質的に無くすことのためにその外科ステープル3000と共に使用できるが、一定の好ましい実施形態において、その外科ステープル3000は一定の抗増殖剤により被覆されている。このような装置の利点はその抗増殖剤の被膜が新内膜の過形成に対する一定の予防薬として機能することである。上述したように、新内膜の過形成は、例えば、過形成の発生部位である場合が多い種々の吻合部位、組織対組織または組織対移植片の部位等のような、身体が損傷であると知覚する部位において発生する場合が多い。この場合に、一定の抗増殖性の物質を含有している一定のステープルを利用することにより、上記のような新内膜の過形成の発生を実質的に減少できるか無くすことができる。
ラパマイシンは上記の外科ステープル3000の上かその中において利用できる一定の既知の抗増殖剤であり、上記の種々の高分子材料の任意のものの中に組み込むことができる。このラパマイシンを利用する付加的な利点はその一定の抗炎症薬としての作用である。このような二重の作用は新内膜の過形成を減少するだけでなく炎症も減少するために機能する。本明細書において用いられているように、ラパマイシンはラパマイシン、シロリムス、エベロリムスおよびFKBP12に結合する全ての類似体、誘導体および共役体、およびその他のイムノフィリン(immunophilins)を含み、MTORの抑制を含むラパマイシンと同一の薬理学的な特性を有する。
さらに別の代替的で例示的な実施形態において、上記外科ステープル3000は上記の1種類以上の薬物、薬剤および/または配合物を含む一定の高分子材料等のような一定の材料により作成できる。この特定の実施形態によらず、上記1種類以上の薬物、薬剤および/または配合物の溶出速度は上述したように調整できる。
次に図33において、一定の縫合糸材料4000の一部分が示されている。この縫合糸4000は吸収性または非吸収性の両方の縫合糸の作成において一般的に利用されている任意の適当な材料を含むことができる。図示のように、この縫合糸4000は1種類以上の薬物、薬剤および/または配合物による被膜4002を有している。上記外科ステープル3000における被膜の場合と同様に、これら1種類以上の薬物、薬剤および/または配合物は縫合糸4000に直接的に供給することができ、あるいは、一定の高分子基材の中に混入した後に縫合糸4000に固定することも可能である。さらに、上述したように、これら1種類以上の薬物、薬剤および/または配合物を縫合糸4000に固定した後に、一定の拡散バリアまたは上部被膜をこれら1種類以上の薬物、薬剤および/または配合物に固定してその溶出または放出の速度を調整することができる。
図34は1種類以上の薬物、薬剤および/または配合物4004を含浸している縫合糸4000の一部分を示している。これら1種類以上の薬物、薬剤および/または配合物は縫合糸材料4000の中に含浸するか、一定の高分子基材の中に組み込んだ後に縫合糸材料4000の中に含浸できる。あるいは、上記1種類以上の薬物、薬剤および/または配合物を縫合糸材料4000の中に含浸した後に一定の高分子材料により被覆することも可能である。
さらに別の代替的で例示的な実施形態において、上記縫合糸4000は、例えば、1種類以上の薬物、薬剤および/または配合物を組み込んでいる一定の高分子材料等のような一定の材料により形成できる。例えば、これら1種類以上の薬物、薬剤および/または配合物を一定のポリマー基材の中に混入した後に押出成形するか浸漬法により成形して上記の縫合糸材料を形成することができる。
特定の1種類以上のポリマーがこれらを固定する特定の材料に応じて利用されている。加えて、特定の薬物、薬剤および/または配合物もこれらのポリマーの選択に影響を及ぼす可能性がある。なお、ラパマイシンはポリ(弗化ビニリデン)/ヘキサフルオロプロピレンと共に利用可能である。
種々の医療装置の一定の生体、特に一定の生体における脈管の中への導入はその生体による一定の応答を引き起こす。一般的に、医療装置により得られる有益性はこの生体による応答に伴うあらゆる合併症をはるかに超えるものである。内皮化は種々の合成材料により作成されている装置における血液に対する相容性を高めるための一例の好ましい様式または手段である。この内皮は全ての血管の内層を形成している内皮細胞の単一の層である。この内皮は血液とその周囲の種々の組織との間の交換を調整し、一定の基底膜、すなわち、上皮および脂肪および筋肉細胞を含むその他の細胞型を結合組織から分離している細胞外基質により囲まれている。
内皮細胞は心臓、動脈、静脈、毛細管およびこれらの間にある全ての組織を含む脈管系全体の内表面部を被覆または内張りしている。これらの内皮細胞は血液の流れに対する出入りにおける種々の物質の通過および白血球細胞の移動を調整する。比較的に大きな血管は異なる組織の多数の層を含むが、最小の血管は種々の内皮細胞および一定の基底膜により実質的に構成されている。これらの内皮細胞は局所的な必要性に適合するためにそれらの数および配列を変更または調節するための一定の高度な能力を有している。本質的に、内皮細胞の増殖および再造形が無ければ、その血管/組織の網状構造の増殖および修復は不可能になる。
一定の成育した生体においてさえも、脈管系の全体における内皮細胞は細胞の分裂および移動のための一定の能力を保持している。例えば、一定の静脈または動脈の一部分が損傷または病気により内皮細胞を失っている場合には、その露出している表面を被覆するために隣接の内皮細胞が増殖してその患部の領域に移動する。これらの内皮細胞は内皮細胞を失っている領域を修復するだけでなく、新しい血管を形成することもできる。加えて、本発明に直接的に関連して、新しく形成された内皮細胞は種々のステントおよびその他の類似の装置を含む種々の移植可能な医療装置も被覆する。
上述したように、内皮化は種々の合成材料により作成されている装置の血液に対する相容性を高めるための一定の手段であり、それゆえ、生体に対する許容性が高い。特定の医療装置の脈管内のあらゆる場所への導入において、その一例の目標はその医療装置によるトロンボゲン形成の減少である。このことは装置に対して特異的であり、例えば、特定の医療装置はその治癒および固定のために血栓の形成を必要とする。それゆえ、これらの特異的な医療装置における内皮化は好ましい。自己由来の内皮細胞の供給源は重要であり、それゆえ、医療装置の設計の複雑さに無関係にその医療装置の露出している表面の全体を被覆するために十分な細胞を得るための一定の増幅工程が好ましい。従って、医療装置を被覆するかその一定の移植片の部位に内皮細胞の助長または増殖のための一定の化学薬品、薬剤、薬物、配合物および/または生物学的な要素の導入のための一定の局在化した手段を供給することが好ましいと考えられる。
一例の例示的な実施形態によれば、ステント等のような、移植可能な内腔内医療装置を種々の内皮細胞に選択的に作用する脈管内皮増殖因子VEGFと共に、上記の様式のいずれかにおいて、固定できる。すなわち、脈管内皮増殖因子およびその種々の関連のイソ型の要素は本明細書において説明されている手段の任意のものにより本明細書において図示および説明されている医療装置の任意のものに対して直接的に固定できる。例えば、VEGFは一定の高分子基材の中に組み込むことができ、あるいは、一定の医療装置に対して直接的に固定できる。
内皮細胞の刺激を助長する別の因子は線維芽細胞増殖因子の系統群における種々の要素を含む。例えば、インテグリンをアップレギュレーションする物質を含む細胞移動を加速する種々の物質が内皮化を増進できる。また、酸化窒素も内皮化を促進できる。加えて、種々の血管形成促進剤(pro-angiogenic agents)も内皮化を刺激できる。
あるいは、物理的な材料の特性により上記医療装置に対する内皮細胞の移動を促進する一定の材料によりその医療装置を作成することができる。本質的に、生体は内皮細胞を形成するので、これらの内皮細胞を引き付けるあらゆる材料または被膜が好ましいと考えられる。
例えば、一定のポリマー等のような一定の生体適合性の材料の上部被膜の供給が、例えば、一定のステントの基部被膜等のような一定の医療装置の基部被膜からの一定の薬事用の薬物、薬剤および/または配合物、またはこれらの組み合わせ物の一定の治療のための投薬における溶出を調整または制御するために利用できることが当業界において一般に知られている。この基部被膜は一般に1種類以上の薬物、薬剤および/または配合物および一定のポリマー等のような一定の生体適合性の材料を含む。このような溶出に関する調整は上記上部被膜の材料により供給される一定の物理的なバリア、一定の化学的なバリア、または一定の物理的および化学的なバリアの組み合わせ物のいずれかにより行なわれる。この上部被膜の材料が一定の物理的なバリアとして作用する場合に、その溶出はその上部被膜の厚さを変更することにより調整され、これにより、基部被膜の基材から拡散する種々の薬物、薬剤および/または配合物のための拡散経路が変化する。本質的に、上記基部被膜の基材内の薬物、薬剤および/または配合物は上部被膜の中の種々の隙間の空間部分を通って拡散する。従って、その上部被膜が厚いほど、その拡散経路が長くなり、逆に、上部被膜が薄いほど、拡散経路が短くなる。上記の基部被膜および上部被膜の両方の厚さが上記医療装置の望まれる全体の外形により制限されることに注目することが重要である。一方、一定の化学的なバリアとして作用する場合には、上記上部被膜は好ましくは上記の拡散を実質的に阻止するか遅延するために上記の薬物、薬剤および/または配合物に対する相容性が低いか、これらの薬物、薬剤および/または配合物が放出される前に通り抜ける必要のある一定の化学的なバリアを形成するために上記基部被膜に対して相容性が低い一定の材料を含む。また、上記の薬物、薬剤および/または配合物の濃度がその拡散速度に対して影響する可能性があるが、この薬物、薬剤および/または配合物の濃度が本明細書において記載されているような必要とされる治療の投薬にある程度において指定されることに注目することが重要である。
一例の実施形態において、一定のステント等のような一定の医療装置はそのステントからのラパマイシンの溶出の調整のための一定の化学的なバリアとして主に作用する一定の高分子の材料を利用できる。本明細書において用いられているように、ラパマイシンはラパマイシン、シロリムス、エベロリムスおよびFKBP12に結合する全ての類似体、誘導体および共役体、およびその他のイムノフィリンを含み、mTORの抑制を含むラパマイシンと同一の薬理学的な特性を有する。このような例示的な実施形態において、上記被膜は一定のポリマーのみを含む一定の上部被膜と共に薬物、薬剤および/または配合物およびポリマー基材を含む一定の基部被膜を含む。これらの上部被膜のポリマーおよび基部被膜のポリマーは混合しないか相容性が無く、それゆえ、一定の化学的なバリアを形成する。しかしながら、種々の比較例が全く同一のポリマーを含むか異なる比率で同一の諸成分を含有しているポリマーによる基部被膜および上部被膜により作成されている。なお、上記の主な調整機構は一定の化学的なバリアであるが、上記上部被膜はまた、以下において説明されているような、一定の限定された物理的なバリアも備えることができる。
上記の例示的な実施形態において、その基部被膜は任意の適当なフルオロポリマーを含むことができ、上部被膜は任意の適当なアクリレートまたはメタクリレートを含むことができる。好ましい実施形態において、上記基部被膜の種々の薬物、薬剤および/または配合物/ポリマー基材は上記において詳細に説明されているようなコポリマーのポリフッ化ビニリデン−コ−ヘキサフルオロプロピレン(PVDF/HFP)を含む。さらに、この例示的な基部被膜の実施形態において用いられているコポリマーは60重量%のフッ化ビニリデンおよび40重量%のヘキサフルオロプロピレンの重量比率でヘキサフルオロプロピレンに対して共重合化しているフッ化ビニリデンを含有している。一方、上部被膜は、上述したように、任意の適当なアクリレートまたはメタクリレートを含むことができる。さらに、好ましい実施形態において、上記上部被膜のポリマーはポリ(n−ブチルメタクリレート)またはBMAを含む。
上記のPVDF/HFPおよびBMAは非混合性または非相容性のポリマーであり、これらは既知の種々の技法により混合または溶液から析出する場合に、相分離を生じる。このような非相容性により、一定のアクリル系ポリマーの上部被膜が上記基部被膜の基材からのラパマイシン等のような一定の薬物、薬剤および/または配合物の放出に対する一定の化学的なバリア(一次的な機構)および物理的なバリア(二次的な機構)の両方として作用することが可能になる。
上記の一定のPVDF/HFPの基部被膜および一定のBMAの上部被膜の組み合わせは、高められた耐久性、増加した潤滑性および改善された溶出速度の調整を含む、別の組み合わせに優る多数の利点を提供する。この場合に、PVDF/HFPは一定の柔軟なポリマーである。このような柔軟なポリマーはステントまたはその他の装置が変形する場合に移動または伝達する傾向があるので比較的に耐久性の高い医療装置の被膜を形成する。一方、ポリ(n−ブチルメタクリレート)またはBMAは比較的に弾性の高いポリマーではなくむしろ比較的に熱可塑性の高いポリマーであるので、PVDF/HFPよりも剛性が高い。このような比較的に剛性の高いポリマーは一定の比較的に硬い表面になると考えられ、このような比較的に硬い表面は一定の比較的に潤滑性の高い表面である。さらに、このようなポリマーの上部被膜の潤滑性は本明細書において詳細に説明されているように装置の配給および配備中において重要である。さらに、このような潤滑性の被膜は一定の配給シースの後退を一般的に必要とする自己拡張式のステントの配給において特に有利である。例えば、この被膜が潤滑性でなければ、上記配給シースの後退は内部において含有されている上記の薬物、薬剤および/または配合物を含む上記の被膜の位置を移動する可能性がある。潤滑性の被膜はまた配備中におけるステント/バルーンの分離が上記被膜を除去する可能性のあるバルーン拡張式のステントにおいても有利である。種々のフルオロポリマーと共に用いられているアクリル系ポリマーは上述したように優れた化学的および物理的なバリアであり、それゆえ、溶出速度の調整を向上する。
上記の例示的な実施形態における被膜は本明細書において説明されているような多数の移植可能な医療装置において利用可能であるが、以下において記載されている例示的な被膜の実施形態はニッケル−チタンの自己拡張式ステントと共に用いられている。
次に、図49において、多数のフルオロポリマー/フルオロポリマーおよびフルオロポリマー/アクリル樹脂の被膜配合物についての生体内における薬物放出曲線が示されている。この生体内における方法は基部被膜および上部被膜の両方における多数のポリマー被膜配合物を伴う種々のラパマイシン溶出式ステントの溶出特性の評価に関連している。ブタは種々の脈管内ステントの研究において確立されている一定の動物種であり、適当な調査機関による上記の研究において容認されている。この生体内における調査はサス・スクロファ(Sus Scrofa)種のオスのブタおよびヨークシャー種のブタを用いている。この場合に、コーディス・コーポレイション(Cordis Corporation)から入手可能なスマート(S.M.A.R.T)(商標)ステントを腸骨動脈および大腿動脈の中に入れて、コーディス・コーポレイションから入手可能なパルマズ(PALMAZ)(登録商標)ゲネシス(GENESIS)(商標)ステントを腎動脈の中に入れ、さらに、コーディス・コーポレイションから入手可能なサイファー(CYPHER)(商標)ステントを冠動脈の中に配置した。その後、上記のブタの1/3を2日目、4日目および8日目にそれぞれ安楽死させて、それぞれのステントおよびその周囲の血管を拡張して薬物の含有量について分析した。
図49において示されているデータは上記被覆型のスマート(S.M.A.R.T)(商標)ステントからの生体内におけるラパマイシンの放出を示しており、これらのステントは本明細書において説明されているように長さが20ミリメートルのニッケル−チタンのステントである。このラパマイシンのポリマーに対する重量の比率はそれぞれのPVDF/HFPの基部被膜において30/70であり、ポリエチレン−コ−ビニルアセテート/ポリ(n−ブチルメタクリレート)(EVA/BMA)の基部被膜において33/67である。曲線4902は167マイクログラムのPVDF/HFP(60/40の重量比率のVDF:HFP)の上部被膜と共に一定のPVDF/HFP(60/40の重量比率のVDF:HFP)およびラパマイシンの基部被膜により被覆されている一定のステントにおける溶出の放出速度を示している。また、曲線4904は350マイクログラムのPVDF/HFP(85/15の重量比率のVDF:HFP)の上部被膜と共に一定のPVDF/HFP(60/40の重量比率のVDF:HFP)およびラパマイシンの基部被膜により被覆されている一定のステントにおける溶出の放出速度を示している。また、曲線4906は350マイクログラムのBMAの上部被膜と共に一定のEVA/BMAおよびラパマイシンの基部被膜(33%のEVA、33%のBMAおよび33%のラパマイシン)により被覆されている一定のステントにおける溶出の放出速度を示している。また、曲線4908は150マイクログラムのBMAの上部被膜と共に一定のPVDF/HFP(60/40の重量比率のVDF:HFP)およびラパマイシンの基部被膜により被覆されている一定のステントにおける溶出の放出速度を示している。また、曲線4910は350マイクログラムのBMAの上部被膜と共に一定のPVDF/HFP(60/40の重量比率のVDF:HFP)およびラパマイシンの基部被膜により被覆されている一定のステントにおける溶出の放出速度を示している。さらに、曲線4912は490マイクログラムのBMAの上部被膜と共に一定のPVDF/HFP(60/40の重量比率のVDF:HFP)およびラパマイシンの基部被膜により被覆されている一定のステントにおける溶出の放出速度を示している。
図49において示されているデータは種々の被膜の組み合わせによるラパマイシンの溶出速度についての一定の理解を与えている。一定のPVDF/HFPの上部被膜を伴う一定のPVDF/HFPの基部被膜はこれらの基部被膜および上部被膜が化学的に同一であるので薬物の溶出に対して程度の低い物理的なバリアおよび効力が最少の化学的なバリアを提供している。一方、EVA/BMAの一定の基部被膜上のBMAの上部被膜はEVA/BMAの薬物基材とBMAの上部被膜の化学的性質との間の相容性により一定の物理的なバリアを提供している。さらに、このBMAの上部被膜は基部被膜の基材(EVA/BMA)と上部被膜(BMAのみ)の化学的性質における差により溶出に対していっていのわずかに有効性の高いバリアを提供している。しかしながら、ラパマイシンの溶出に対する最も実質的なバリアは一定のPVDF/HFPの基部被膜および一定のBMAの上部被膜において観察されており、この理由は、互いに非相容性のポリマーの化学的性質により生じる化学的なバリアのためである。しかしながら、化学的なバリアにおいても、その上部被膜の厚さまたは密度の変化により、薬物の溶出に対するさらに別のレベルの物理的なバリアが提供され、これにより、各曲線4908,4910および4912において示されているような一定の薬剤化合物の放出を調整するための一定の化学的および物理的な両方のバリアを提供する一定の被膜システムが形成できる。
本発明による上部被膜の厚さの変更と共に非相容性のポリマーの化学的性質を利用する考えは一定の望まれる作用を達成するための化学的な非相容性の一定の否定的な態様として通常において見なされる可能性のある利点を有している。曲線4912において示されているように、3日目における最大の溶出率は50%よりも実質的に低いが、一定のPVDF/HFPの基部被膜および一定のPVDF/HFPの上部被膜における3日目の最大の溶出率は曲線4902において示されているように75%よりも実質的に高い。
上記の場合に、一定のPVDF/HFP(60−40の重量比率のVDF:HFP)のコポリマーおよび一定のBMAのポリマーの特定の例が示されているが、上記の概念はアクリル系樹脂(ポリ(アルキル)アクリレートおよびポリ(アルキル)メタクリレート)の系統群における任意のポリマーとの組み合わせにおけるフルオロポリマーの系統群における任意のポリマーに適用できると考えられる。
次に、図50において、図49に関連して上記において説明されている同一のフルオロポリマー/アクリル系樹脂の被膜配合物についての生体外における薬物放出曲線が示されている。この生体外の試験方法において、それぞれのステントは24時間の一定期間にわたり一定の界面活性剤の媒体の連続的な流れに対して曝されている。この媒体の曝露はそれぞれのステントからの薬物、薬剤および/または配合物(この場合にはラパマイシン)の溶出を生じる。また、この媒体の流れは一定の紫外光/可視光の分光光度計の中を流れており、ステントから溶出するラパマイシンの濃度が時間の関数として決定されている。さらに、同一ロットからのステントにおける一定の薬物含有量のアッセイにより決定される全体の薬物含有量に対比して放出したラパマイシンのフラクションに基づいて計算が行なわれている。
上記の生体外の試験による結果は上記の生体内の試験による結果に類似している。本質的に、各曲線5002,5004,5006,5008,5010および5012を調べることにより、この場合も同様に、ラパマイシンの溶出に対する最も実質的なバリアは一定のPVDF/HFPの基部被膜および一定のBMAの上部被膜において観察されており、この理由は、曲線5012により示されているように、非相容性のポリマーの化学的性質により形成されている化学的なバリアおよび比較的に厚い上部被膜により与えられる物理的なバリアによるためである。
また、一定のPVDF/HFP(60/40の重量比率のVDF:HFP)の基部被膜の基材および一定のBMAの上部被膜により被覆されているステントが一定のPVDF/HFP(60/40の重量比率のVDF:HFP)の基部被膜の基材および一定のPVDF/HFP(60/40の重量比率のVDF:HFP)の上部被膜により被覆されているステントよりも耐久性が高いことに注目することも重要である。
一定の治療薬、薬剤および/または配合物を溶出する一定の被覆型の移植可能な医療装置の設計は多数の設計上のファクターまたは要因を釣り合わせることを必要とする。例えば、一定の移植可能な医療装置に対する一定の被膜の付加はその装置の外形を変化し、このことはさらにその装置の配給に一定の影響を及ぼす可能性がある。さらに具体的に言えば、一定のステントにおける一定の被膜の付加はそのステントの直径を増大し、このことはさらにその配給を困難にする可能性がある。従って、上記被膜の厚さを最小にすると共にその治療薬、薬剤および/または配合物の濃度を高めることが好ましいと考えられる。さらに、この治療薬、薬剤および/または配合物の濃度を高めることはその周囲の組織または血流の中への溶出速度を高める可能性がある。しかしながら、この溶出速度を高めることは時期尚早にその薬物、薬剤および/または配合物を枯渇させる可能性がある。それゆえ、本発明は溶出速度に関する調整を維持して一定の比較的に小形の外形を維持しながら薬物、薬剤および/または配合物の濃度を高めることのできる一定の機構を提供している。本質的に、上記の二層法において上部被膜により与えられる化学的および物理的なバリアは薬物、薬剤および/または配合物の濃度を高めて、好ましくは、一定の比較的に小形の外形を維持し、好ましくは、溶出速度に関する比較的に正確な調整を維持するための一定の手段を提供している。
加えて、上記の多数個の層または多数のポリマーの方法が単一層の方法では提供し得ない耐久性、柔軟性および潤滑性の利点を提供していることを強調することが重要である。
脈管の病気は血管に関連するまたは血管を含む一定の生体の種々の領域に影響を及ぼす病気を含む。例えば、狭窄は通常においてアテローム硬化症/冠動脈心臓病(CHD)による一定の生体(例えば、人間)の体内の動脈の内腔の一定の狭窄化または収縮である。また、再狭窄は血管形成およびステント処理等のような一定の経皮的な介入後における狭窄の再発である。この再狭窄は一般的に一定の生体の大きな種々の動脈に影響する。この再狭窄の原因になっている種々のメカニズムは血管の反跳、陰性の脈管の再造形、血栓の形成および新内膜の過形成による種々の影響の一定の組み合わせを含む。さらに、バルーンの血管形成後の再狭窄が主に血管の再造形および新内膜の過形成により、ステント処理後の再狭窄が主に新内膜の過形成によることが示されている。
狭窄および再狭窄に対する治療は多様である。上記CHDにより生じる狭窄によりそれぞれの個人はその狭窄による種々の合併症、発作、心臓発作、急死および手足または手足の制動機能の損失を避けるためにそれぞれの活動の量を強制的に抑制および制限される場合が多い。また、血管、動脈および静脈の再構成も狭窄および再狭窄に罹っている個人を治療するために必要とされる場合がある。また、冠動脈バイパスも心臓の血管再生および通常の血流の回復のために利用可能である。また、別の場合に、バルーン式血管形成が患部の領域の口径を増大するために行なうことができる。全体的に、これらの治療方法は狭窄に伴う種々の問題に対処するが、これらはまた高い割合の再狭窄を生じ、これらの再狭窄は心臓の種々の症状および死亡状態を結果として再発する可能性がある。さらに、上記の治療方法は本質的に予防のためではなく、それゆえ、一般に患者または個人が狭窄を既に発生している状態になるまで利用されない。
狭窄および再狭窄の一例がアテローム硬化症である。このアテローム硬化症は中程度または大形の種々の動脈に影響を及ぼし、その動脈の内腔を侵食する一定の集合状の壁内の肥厚化により特徴付けられ、その最も深刻な形態において、閉塞を生じる。このアテローム硬化症のプラークは細胞内および細胞外の脂質、平滑筋細胞および接合組織の一定の蓄積物により構成されている。また、このアテローム硬化症の最も初期の病巣は動脈を被覆する一定の線維質のプラークに進展する脂肪の線条である。さらに、アテローム硬化症の血管は減少した収縮期の拡張および異常波の伝播を有する。このようなアテローム硬化症の治療は通常においてその合併症、例えば、不整脈、心臓不全、腎臓不全、発作、および抹消動脈の閉塞について考慮される。
特に、アテローム硬化症は動脈が肥厚化して硬化する一定の症状であり、一般に、例えば、コレステロール等の脂肪性の物質、細胞の廃産物、炎症性の細胞、カルシウムおよびその他の動脈の内膜または内皮における物質の進行性の蓄積により生じると考えられている。
アテローム硬化症は一般的に幼児期に始まり個々の年齢と共に進行する緩やかで複合的な病気である。この進行の速度は血液コレステロールの量、糖尿病、肥満、物理的な無活動、高血圧およびタバコの使用を含む多数の要因により影響を受ける可能性がある。また、上記の蓄積物は一般的にプラークと呼ばれ、その影響を受けている動脈の中の血流を有意義に減少する程度に十分に増大する可能性がある。
本質的に、上記のような種々の物質の堆積物、およびこれによる付加的な細胞性の物質または成分の増殖は実質的にその内膜を拡大し、このことはさらにその内腔の断面積を減少すると共にその影響を受けている1個以上の動脈の直径を減少し、このことはさらに1個以上の器官に対する酸素の供給を減少する。また、上記の堆積物またはプラークは崩壊して血液凝固物または血栓を形成する可能性もあり、これらはその影響を受けている動脈の中の血流を完全にふさぐか、体内の別の部分に塞栓物を遊離して移動する可能性がある。これらのいずれの場合が生じても、その個人はその影響を受けている1個以上の動脈が心臓を灌流している場合に一定の心筋梗塞に罹り、その影響を受けている1個以上の動脈が脳に血液を供給していれば一定の発作に罹る可能性がある。また、その影響を受けている1個以上の動脈が一定の手足または付属部分に血液を供給している場合には、壊疽が生じる可能性がある。
上記において示されているように、従来において、心臓発作は、例えば、アテローム硬化症により形成される遮断物により生じると考えられている。すなわち、1個以上の動脈内における脂質の増加およびこれに続く組織反応によりその影響を受けている1個以上の動脈が狭くなり、このことはさらにアンギナを生じ、最終的に冠動脈の閉塞、突然の心臓死および血栓性の発作を生じる可能性がある。しかしながら、比較的に最近の研究では、アテローム硬化症の理解に一定の変化が見られる。すなわち、研究者は、最近において、少なくとも一部の冠動脈の病気が一定の炎症性の過程であり、この炎症がプラークの蓄積または進行および崩壊を生じていると考えている。これらの崩壊しやすく一般的に脆弱性プラークと呼ばれているプラークはそれ自体ではその影響を受けている1個以上の動脈の中の流れを遮断せず、むしろ、一定の膿瘍と同様に、これらは動脈壁部の中にしみ込んで検出することが困難になる可能性がある。本質的に、これらの脆弱性のプラークは従来の血管造影法および/またはX線透視法により見ることはできず、これらは一般的に呼吸の短小化または痛み等のような症状を生じない。しかしながら、このような脆弱性プラークの存在を決定するための種々の技法が以下において論じられているように進歩している。
種々の理由により、上記のいわゆる脆弱性プラークは比較的に侵食または崩壊しやすく、トロンボゲン形成性の高い塞栓物質および生地のまたは露出した組織表面を形成する。従って、急性の心筋梗塞、突然の心臓死および血栓性の発作の場合の大部分が血栓症を引き起こす脆弱性のアテローム硬化症プラークの崩壊により生じることが今日において認められている。それゆえ、上記脆弱性のプラークは単純に痛みを生じる他のプラークよりも危険性が高く、心臓発作の内の60乃至80%程度の原因になる可能性がある。
さらに具体的に言えば、上記の不安定なまたは脆弱性のプラークはアテローム硬化症の血管内において進展する炎症性の脈管の病巣である。このような脆弱性のプラークは活性な炎症性、細胞の過形成および変化可能な程度の内腔の閉塞により特徴付けられる。形態学的に、脆弱性のプラークは血管の内腔に接触して一定の脂質のコアまたは芯および細胞性の物質を被覆している一定の線維質の被包を含む。これらの脆弱性のプラークは、虚血性の症状を生じる慢性の安定なプラークとは対照的に、一般的に閉塞性ではない。この理由のために、これらは容易に検出できない。
上記脆弱性プラークの顕著な特徴は、主にTリンパ球およびマクロファージを含む、相当な炎症性の細胞の浸潤を伴う活性な炎症であり、本質的に上記線維質の被包の壁部を消化してプラークを不安定にして最終的にプラークの崩壊を誘発するタンパク分解性の酵素の発生を引き起こす。このプラークの崩壊は流れている血液に対して脂質の芯の中のトロンボゲン形成性の高い物質を露出させて閉塞性の血栓を速やかに発育させる。さらに、この崩壊した脆弱性のプラークは、上述したように、急性の冠動脈および大脳の症候群の主因になる。なお、これらの症状は不安定なアンギナ、心筋梗塞、Q波および非Q波の両方の心筋梗塞、大脳発作および一過性の大脳虚血症を含む。換言すれば、上記の崩壊した脆弱性のプラークは相当な割合の心臓血管の罹病率および死亡率の原因になる。
脆弱性プラークを検出するための現在において利用可能で有効な技法が欠けているために、この脆弱性プラークの治療は一般的にそのプラークが崩壊して臨床的な種々の症状が進展した後にのみ開始される。現在調査中の検出技法は洗練された磁気共鳴画像処理、炎症性の過程が熱を発生することを前提として動脈壁部の温度を測定する熱センサー、弾性センサー、脈管内超音波、光学結合断層撮影法、造影剤、および近赤外および赤外光を含む。この場合に、比較的に良好な診断方法は崩壊する前に脆弱性のプラークの病巣を確認するように進化しているので、危険な臨床症状が生じる前にそれぞれの異なる病巣を治療することが可能になる。しかしながら、この脆弱性のプラークの治療は以下において記載されているように行なわれることが好ましい。
本質的に、活性な脆弱性のプラーク、炎症および脂質の代謝において進行している2種類の生理学的な過程がある。この炎症は一定の進行中の過程であり、上記線維質の被包の炎症および崩壊する脆弱性の一定の被包の形成を含む。また、脂質の代謝は崩壊しやすい一定の柔らかいコレステロールの脂質物質を含む溶解性の活性な脂質の堆積物またはコアの形成である。また、上記の炎症過程は急性な段階であり、脂質の代謝は脆弱性プラークの病気の慢性の段階である。
脈管の能力を維持するように構成されていて、上記の炎症および脂質代謝の両方の過程を治療するための1種類以上の治療用の物質、薬剤、および/または配合物を含有している一定の多層の被膜構造を有している一定のステントまたはその他の支持骨格構造が脆弱性プラークを効果的に治療するために利用できる。一例の実施形態において、一定の2段階の放出特性を有する一定の被膜を含むステントが急性および慢性の脆弱性プラークの両方を治療するために利用できる。例えば、急性の段階の脆弱性プラークの病気に対処するために「高速放出(fast release)」用および比較的に短い全体の持続時間のための被膜構造の中にコルチコステロイド等のような抗炎症性の治療剤、非ステロイド系の抗炎症剤、アセチルサリチル酸、アセトアミノフェンおよびイブプロフェン等を組み込むことができ、慢性の段階の脆弱性プラークの病気に対処するために「低速放出(slow release)」用および比較的に長い全体の持続時間のための被膜構造の中に脂質低量化用または脂質改質用の物質を組み込むことができる。さらに、上記のステント/薬物、薬剤および/または配合物の構造の全体が最適な生理学的作用のためにその配給プロファイルを調整、調節および/または最適化するための多様な非吸収性または吸収性のポリマーを用いて放出することが可能である。換言すれば、例えば、上記線維質の被包の炎症性の崩壊に対処するための高速放出用で抗炎症性の種々の薬物、薬剤および/または配合物および脆弱性プラークの脂質の蓄積物の大きさおよび組成に影響を及ぼすための低速放出用で脂質低量化用または脂質改質用の種々の薬物、薬剤および/または配合物等のような、特定の治療用の薬物、薬剤および/または配合物の配給プロファイルを全ての態様の脆弱性プラークを治療するために上記ステントと共に利用することが可能である。
上記ステントはステンレス・スチールまたはその他の金属合金により構成されているバルーン拡張可能なステント、および/または、ニチノールまたはその他の形状記憶金属の合金により構成されている自己拡張式のステントを含む任意の適当な支持骨格構造を含むことができる。あるいは、上記ステントは生体崩壊可能なセラミックおよび/またはポリマー等のような非金属材料により作成できる。このような生体崩壊性のステントは一時的な支持骨格として作用して、最終的に数日間または数週間乃至数ヶ月または数年の範囲の一定時間の期間にわたり溶解する。このようなステントは一定の配給カテーテルの上に取り付けられて、再狭窄の治療について上記において詳細に説明されているように脆弱性プラークの病巣の部位に一定の血管の内腔を通して経皮的に配給される。また、このステントは、上述したように、血管の開通性を維持するように設計されていて、弱くなっているまたは潜在的に弱くなっている線維質の被包に対して構造的な支持を行ないこれが崩壊することを防ぐ。上記ステントはまた病巣によるさらなる侵害を予防するための一定の手段も形成する。
最近の研究において、異なる6種類のホルモンが脈管の機能における異なる作用を有する可能性があることが見出されている。例えば、心臓血管病における性別の差は主に女性におけるエストロゲンの保護作用が原因であると考えられており、月経期前の女性は冠動脈心臓病の発生率が低い。特に、エストロゲンは脂質の特性において良く知られている有益な作用を有する。さらに重要なことは、エストロゲンはアテローム硬化症の一定の重要な要素である脈管の反応性に直接的に影響する可能性がある。最近の疫学の研究において、ホルモン補充療法(HRT)が月経期後の女性における冠動脈病の危険性を減少する可能性があることが提唱されている。特に、多くの疫学の研究において、エストロゲン補充療法(ERT)が月経期後の女性において心臓を保護できることが提唱されている。さらに、これらのホルモン療法の有益な作用は男性にも適用可能である。しかしながら、不都合にも、エストロゲンの全身系的な使用は女性に子宮および乳房におけるエストロゲンの過形成作用および男性における女性化の作用による制約を有している。
上記の有益な作用のメカニズムは多因子性であると考えられる。エストロゲンはアテローム発生性の脂質の特性を都合よく変化することが知られており、血管壁部に直接的に作用できる。また、エストロゲンは凝固およびフィブリン溶解性の因子、酸化防止薬の局所的な生成および一酸化窒素およびプロスタグランジン等のようなその他の血管作用性の分子の生成を含む脈管における速やかなおよび長期の両方の作用を有することができ、これらの作用の全てが脈管の病気の進展に対して影響することが知られている。
さらに、実験の調査により、エストロゲンが男性および女性の両方において直接的にまたはエストロゲン受容体を介して内皮および平滑筋の細胞に作用できることも提唱されている。このことはアテローム硬化症の過程における多くの段階において一定の抑制作用を有すると考えられる。また、治療心臓学に関して、エストロゲンは脈管壁部に対するバルーンによる傷害に対する応答を抑制すると思われる。このような内皮細胞の構造的な完全性における初期の回復は一酸化窒素の利用可能性を増大することにより傷害に対する応答の減衰作用の原因になる可能性がある。このことはさらに平滑筋細胞の増殖を直接的に抑制できる。さらに、実験の調査により、エストロゲンがバルーンによる傷害に応答する平滑筋細胞の増殖および移動を抑制することが示されている。また、エストロゲンは外膜の線維芽細胞の移動を抑制することも立証されており、このことはさらに陰性の再造形に一定の作用を及ぼす可能性がある。
従って、本明細書において記載されている種々の薬物に加えて、一定のエストロゲン、一定のラパマイシンおよび/またはこれらの一定の組み合わせ物の局所的なまたは一定領域に及ぶ投与が脆弱なプラークの病巣の治療または安定化において利用可能である。本発明において用いられているエストロゲンは17ベータ−エストラジオール(化学記号:C18242 を有する1,3,5(10)−エストラジエン−3,17ベータ−ジオールとして化学的に記載される)、エストロゲン様の活性を有する17ベータ−エストラジオールの合成または天然の種々の類似体または誘導体、または2−メトキシ・エストラジオール等のような17ベータ−エストラジオールの生物学的に活性な代謝物質を含むものとする。上記の17ベータ−エストラジオールは体内自体において生成される一定の天然のエストロゲンである。従って、この17ベータ−エストラジオールが局所的に、一定領域にまたは全身系的に投与される場合に全く生体適合性の問題が生じない。
17ベータ−エストラジオールは最も効力の高い女性ホルモンとして一般に見なされている。月経前の女性が他の個人よりも冠動脈心臓病の発生率が低いこと、およびこれらの女性が比較的に多量の17ベータ−エストラジオールを生成していることが一般に知られている。また、17ベータ−エストラジオールは多数の細胞のメカニズムにより媒介される一定の血管保護性の作用を生じる一定の天然の血管保護剤として呼ばれている。さらに、17ベータ−エストラジオールが平滑筋細胞の増殖および移動を抑制して、再内皮化を助長し、脈管の傷害後に正常な内皮機能を回復できることが確認されている。加えて、17ベータ−エストラジオールは多形態性、すなわち、種々の異なる形態で生じる能力、抗アテローム硬化症性、抗炎症性および酸化防止特性を有することが知られている。
従って、17ベータ−エストラジオールは脆弱性プラークを治療するためにラパマイシンと組み合わせることができる。この脆弱性プラークの治療は平滑筋の増殖、炎症およびアテローム硬化症を減少するための異なるメカニズムを通して共同作用的に作用する2種類の治療剤の組み合わされた効果により達成できる。
上記ステントとの組み合わせにおいて用いる1種類以上の治療用の薬物、薬剤および/または配合物は好ましくはステント処理において一般的に見られて上述したように再狭窄および装置の故障を引き起こす可能性のある新内膜の過形成を予防することができる。加えて、同一またはさらに付加的な治療用の薬物、薬剤および/または配合物が局所的な炎症を減少して線維質の被包のさらなる侵食を防ぐことによりその病巣を安定化して保護することが好ましい。これら1種類以上の治療用の薬物、薬剤および/または配合物はステントの各支柱部に供給される一定の高分子の基材の被膜の中に配給するか、そのステント自体を形成している材料の中に埋め込むことができ、好ましくは上記において簡単に説明されているような2種類の様式の放出速度を利用して、所定の時間の期間にわたり脈管の壁部の中に放出できる。
脈管の傷害後の再狭窄を治療することおよび脆弱性のプラークを治療することの両方において、本明細書において記載されているような種々の薬物、薬剤および/または配合物の局所的な配給に加えて種々の薬物、薬剤および/または配合物のその一定領域に及ぶ配給を行なうことが有利であると考えられる。このような一定領域に供給される薬物、薬剤および/または配給物は局所的に配給される物と同一でもよく、異なっていてもよい。この一定領域に及ぶ配給(regional delivery)は、本明細書において用いられているように、種々のステントおよびその他の移植可能な医療装置を含む、本明細書に開示されているような一定の局所的な配給(local delivery)の装置により処理される領域よりも大きな一定の領域に及ぶ配給を意味する。例えば、一定の注入カテーテルが、例えば、狭窄性または脆弱性のプラークの病巣等のような病気の部位の近くの多数の部位に1種類以上の薬物、薬剤および/または配合物の所定の治療の用量または一定範囲の用量を投与するために利用できる。本質的に、これらの1種類以上の薬物は病巣の遠位側、病巣の近位側、または病巣に対して直接的に、あるいはこれらの任意の組み合わせにおいて投与できる。また、上記の1種類以上の薬物は外膜の注入を含む多数の方法で投与できる。この場合の用量および注入部位の数はその薬物、薬剤および/または配合物の種類、薬物、薬剤および/または配合物の拡散特性、および治療する体内の領域に依存する。実際に、この薬物、薬剤および/または配合物は病巣の近位側および/または遠位側の外膜組織ならびにその病巣の周囲の外膜組織の中に注入された後に、その注入の部位から軸方向および縦方向に分配される。
本明細書において記載されているように、薬物を被覆したステントは再狭窄および脆弱性のプラークの治療および/または予防において利用できる。これらのステントは本明細書において記載されているような多数の薬物または薬物の組み合わせ物により被覆できる。例えば、ラパマイシンの単独または組み合わせ物は一定のステントまたは移植可能な種々の医療装置から局所的に配給できる。このような例示的な実施形態において、同一または異なる薬物を一定のカテーテルに基づく装置を介してその一定領域に配給することも可能である。本質的に、このカテーテルに基づく装置は局所配給装置に付随する1種類以上の薬物またはこれらとは完全に異なる薬物の付加的な量を配給するために利用できる。このような薬物の一定領域への配給は比較的に多い投与量および比較的に広い適用領域を含む多数の理由により有益的になる可能性がある。加えて、特定の薬物は一定の高分子の被膜の中に溶解するか懸濁するよりも注入可能な形態においてさらに有効になる可能性がある。さらに、このような薬物療法は個々の患者に合わせることができる。
ラパマイシンに加えて、脆弱性のプラークの治療のために一定領域に配給できる別の薬物はアスピリンおよびセレコキシブ等のような非ステロイド系の抗炎症薬、エストロゲン等のようなステロイド系の薬剤、トログリタゾン等のような代謝物質およびエノキサパリン、プロブコール、ヒルジンおよびアポ−A1・ミラノ(apo-A1MIKANO)等のような抗凝固剤を含む。従って、これらの薬物は単独またはラパマイシンとの組み合わせにおいて利用できる。
多数のカテーテルに基づく装置が一定領域の薬物配給において利用可能である。一例の例示的な実施形態において、この薬物配給装置は介入性の種々の処置または微小針のための一定の微細加工製造した外科装置を含む。この装置はカリフォルニア州、サン・レアンドロスのエンドバイオニクス社(EndoBionics, Inc.)から入手可能であるエンドバイオニクス・マイクロシリンジ(EndoBionics MicroSyringe)(商標)注入カテーテルであり、以下のように概ね特徴付けることができる。
上記の微小針は患者に対する傷害をできるだけ排除するために一定の血管(動脈または静脈)の壁部に対して実質的に垂直に挿入される。この微小針が一定の注入部位に置かれるまで、その先端部により動脈または静脈の壁部を傷つけないように逸らして位置決めされる。具体的に言えば、この微小針は介入中の患者または取り扱い中の医者を傷つけないように一定のカテーテルに取り付けられている一定のアクチュエータまたはシースの壁部の中に包まれた状態に維持される。その後、注入部位に到達すると、血管に沿うアクチュエータの移動が終わり、このアクチュエータは、例えば、上記カテーテルが挿入されている、一定の血管の中心軸に対して実質的に垂直に、微小針を外側に押し出すために調整される。
図72A乃至図73Bにおいて示されているように、一定の微細加工製造した外科装置7210は一定のアクチュエータ本体部分7212aおよび一定の中心の長手軸7212bを有する一定のアクチュエータ7212を含む。このアクチュエータの本体部分はその長さに実質的に沿って延在している一定の開口部またはスリット7212dを有する一定のC字形状の外形を概ね形成している。さらに、一定の微小針7214が、図72Bにおいて示されているように、上記アクチュエータがその不作動状態(収納状態)にある時に、以下においてさらに詳細に論じられているように、上記アクチュエータ本体部分の中に配置されている。一方、この微小針は、図73Bにおいて示されているように、アクチュエータが開口してその作動状態(展開状態)になる時に、アクチュエータ本体部分から外に出る。
上記アクチュエータは一定の治療用カテーテル7220における一定のリード端部7216および一定のチップ端部7218によりその基端部7212eおよび先端部7212fにおいてそれぞれ被包できる。このカテーテルのチップ端部は一定の放射線不透過性の被膜または標識の使用により一定の血管の内側に上記アクチュエータを位置決めする一定の手段として作用する。また、このカテーテルのチップ端部は上記アクチュエータの先端部7212fにおいて一定のシールも形成している。一方、上記カテーテルのリード端部は上記アクチュエータの基端部7212eにおいて必要な内部連結部分(流体用、機械的、電気的または光学的な連結部分)を形成している。
さらに、保持リング7222aおよび7222bが上記アクチュエータの先端部および基端部にそれぞれ配置されている。この場合に、上記カテーテルのチップ端部が保持リング7222aに連結しており、カテーテルのリード端部は保持リング7222bに連結している。これらの保持リングは、パリレン(Parylene)(タイプC、DまたはN)、または、例えば、アルミニウム、ステンレス・スチール、金、チタンまたはタングステン等のような、一定の細い、10乃至100ミクロン程度の、実質的に剛性の材料により作成されている。これらの保持リングは上記アクチュエータのそれぞれの端部において一定の剛性の実質的にC字形状の構造を形成している。さらに、上記カテーテルは、例えば、一定の突合せ溶接または超音波溶接した一体のポリマーの封入材またはエポキシ等ような一定の接着剤により各保持リングに連結できる。
上記アクチュエータ本体部分はさらに各保持リング7222aと7222bとの間に配置されている一定の中央の膨張可能な部分7224を含む。この膨張可能な部分7224は一定の活性化用の流体がこの領域に供給される時に速やかに膨張するための一定の内部の開口領域7226を含む。また、この中央部分7224は、例えば、パリレン(タイプC、DまたはN)、シリコーン、ポリウレタンまたはポリイミド等のような一定のポリマーを含む薄い、半剛性または剛性の膨張可能な材料により作成されている。さらに、この中央部分7224は、作動時に、一定のバルーン式装置に幾分似ている状態で膨張する。
上記の中央部分はその開口領域7226への活性化用の流体の供給時に約100気圧までの圧力に耐えることができる。この中央部分を作成している材料はこの中央部分がその開口領域7226から上記の活性化用の流体を除去した時にその元の形態および配向(不作動状態)に実質的に復帰すると言うことにおいて剛性または半剛性を有している。従って、この意味において、上記の中央部分は固有の安定な構造を有していない一定のバルーンとはかなり異なっている。
上記アクチュエータの開口領域7226は上記カテーテルのリード端部からそのアクチュエータの基端部まで延在している一定の配給用の導管、チューブまたは流体通路7228に連結している。これにより、上記活性化用の流体がこの配給管を介して上記開口領域に供給される。この配給管はテフロン(Teflon)(登録商標)またはその他の不活性なプラスチックにより構成できる。また、上記活性化用の流体は一定の塩水溶液または一定の放射線不透過性の色素の溶液とすることができる。
上記微小針7214は上記中央部分7224のほぼ中央に配置できる。しかしながら、以下において論じられているように、このことは、特に多数個の微小針を使用する場合には、必ずしも必要ではない。この微小針は上記中央部分の一定の外表面部7224aに固定されている。さらに、この微小針はシアノアクリレート等のような一定の接着剤により上記表面7224aに固定されている。あるいは、この微小針は一定の金属またはポリマーのメッシュ様の構造体7230により上記表面7224aに結合可能であり、この構造体7230自体が一定の接着剤により表面7224aに固定されている。このようなメッシュ様の構造体は、例えば、スチール材またはナイロン等により作成できる。
上記微小針は一定の鋭い先端部分7214aおよび一定の軸部7214bを含む。この微小針の先端部分は一定の挿入用のエッジ部分または先端を有することができる。また、軸部7214bは中空にすることができ、先端部分は一定の出口ポート7214cを有していて、一定の薬剤または薬物を一定の患者に注入することを可能にしている。しかしながら、この微小針は別の用途を達成するために一定の神経プローブ等のように構成することも可能であるので、必ずしも中空である必要はない。図示のように、上記微小針は表面7224aからほぼ垂直に延出している。従って、既に説明されているように、この微小針は脈管の壁部に対する直接的な穴あけまたは侵入を可能にするためにこの針が挿入される一定の血管または動脈の一定の軸に対して実質的に垂直に移動する。
上記微小針はさらに一定の薬剤または薬物の供給用の導管、チューブまたは流体通路7214dを含み、この管は上記微小針を上記カテーテルのリード端部における適当な流体の相互連結部分に対して流体を介して連絡した状態にしている。さらに、この供給管は上記軸部7214bに一体に形成することができ、あるいは、例えば、エポキシ等のような一定の接着剤により上記軸部に後で連結される一定の分離している部材片として形成することも可能である。
上記針7214は一定の30ゲージまたはそれ以下のスチール針とすることができる。あるいは、この微小針は種々のポリマー、別の金属、金属合金または半導体材料により微細加工製造できる。さらに、この針は、例えば、パリレン、シリコンまたはガラスにより作成可能である。
上記カテーテル7220は、使用において、一定の動脈または静脈の中を通して挿入され、図74において示されているように、特定の標的領域7234に到達するまで、例えば、一定の静脈7232等の一定の患者の脈管の中を移動する。カテーテルに基づく介入処理において周知のように、上記カテーテル7220は患者の体内に既に挿入されている一定のガイドワイヤ7236に追随して移動できる。随意的に、このカテーテル7220は上記ガイドワイヤを収容している一定の既に挿入されているガイド・カテーテル(図示されていない)の経路に従って移動することも可能である。いずれの場合においても、上記アクチュエータは中空であり、一定の小形の外形を有しており、上記ガイドワイヤに適合する。
上記カテーテル7220の操作中に、このカテーテルを画像処理して一定の標的領域に上記のアクチュエータ7212および微小針7214の位置決めを補助するためにX線透視法または磁気共鳴画像処理(MRI)等の周知の方法が利用できる。このカテーテルが患者の体内において案内されている時に、上記微小針がアクチュエータ本体部分の中に収納または保持された状態に保たれるので、傷害が脈管の壁部に対して全く生じない。
一定の標的領域7234に位置決めされた後に、上記カテーテルの移動が終わり、活性化用の流体が上記アクチュエータの開口領域7226に供給されて、膨張可能な部分7224が速やかに展開して、微小針7214がアクチュエータ本体部分7212aの長手方向の中心軸7212bに対して実質的に垂直な一定の方向に移動することにより、一定の脈管壁部7232aが穴あけされる。この場合に、微小針がその収納状態から展開状態に移動するために約100ミリ秒乃至2秒を要するだけで済む。
上記保持リング7222aおよび7222bにおけるアクチュエータの各端部はカテーテル7220に対してそれぞれ強固に固定した状態に維持される。従って、これらは動作中に変形しない。このアクチュエータは一定の収納された構造として始動するので、そのいわゆる妊娠状態の形態は一定の不安定なゆがみの有る形態として存在している。このような作動時における不安定性は上記アクチュエータ本体部分の中心軸にほぼ垂直な上記微小針の一定の大きな移動を生じるので、大きなモーメントの移動を伴わずに脈管壁部の速やかな穴あけが行なえる。この結果、一定の微小な開口部がその周囲の組織に対する極めて小さな損傷を伴って形成できる。また、上記モーメントの移動が比較的に小さいので、作動中および穴あけ中に上記カテーテルおよびアクチュエータの位置を保持するために一定の無視できるバイアス力だけが必要とされる。
上記微小針は、実際に、脈管周辺の組織7232bならびに脈管組織に入り込むことができる程度の力を伴って速やかに移動する。加えて、上記アクチュエータは作動する前に「留置(parked)」または停止しているので、脈管壁部の侵入に関する比較的に正確な配置および制御が行なえる。
上記微小針の作動およびその微小針を介する上記薬剤の標的領域に対する配給の後に、上記活性化用の流体が上記アクチュエータの開口領域7226から排出されて、膨張可能な部分7224がその元の収納状態に戻る。このことはまた微小針を脈管壁部から後退させる。この微小針は後退しながら、アクチュエータにより再び収容される。
上述したように、上記微小針またはその他のカテーテルに基づく配給システムはアテローム硬化症のプラークの部位に対する、ラパマイシンを含む1種類以上の薬物、薬剤および/または配合物の配給のために利用可能である。さらに、この種の一定領域に及ぶ配給は単独で、あるいは、同一または異なる種々の薬物を固定している一定の移植可能な医療装置との組み合わせにおいて利用できる。これらの1種類以上の薬物、薬剤および/または配合物は一定の病巣の外膜の空間部分に配給されることが好ましい。
本明細書において記載されているように、一定の移植可能な医療装置以外の、あるいは、当該装置に加えて、種々の手段による特定の種々の薬物、薬剤および/または配合物の局所的なまたは一定領域に及ぶ配給に対する多数の利点が存在する。しかしながら、これらの薬物、薬剤および/または配合物の効力は、一定の程度まで、その配合により決まる。
相当量の種々の界面活性剤、補助溶媒等の補助を伴わずにラパマイシン等のような種々の非水溶性で親油性の(種々の脂質に対して一定の親和性を有していてこれらと混合する傾向を有している)薬物の溶液の投与形態を形成することは一般的に極めて困難である。また、多くの場合に、上記のような賦形剤(一定のビヒクルとして作用する不活性な物質)、例えば、トゥイーン(Tween)20および80、クレモフォル(Cremophor)およびポリエチレン・グリコール(PEG)は周囲の組織に対して種々の程度の毒性を与える。従って、ジメチル・スルホキシド(DMSO)、N−メチルピロリドン(NMP)およびエタノール等のような有機性の補助溶媒の使用は溶媒の毒性を低下するために最少にする必要がある。本質的に、一定の非水溶性の薬物の液体配合物において重要なことは賦形剤と補助溶媒との一定の良好な組み合わせ、および薬物の溶解度の向上と必要な安全性の限界とを釣り合わせるための最終の投与形態における種々の添加物の一定の最適な範囲を見つけることである。
サイファー(Cypher)(登録商標)およびタクサス(Taxus)(登録商標)等の薬物溶出式ステントのような最近の薬物溶出式ステントの臨床試行による顕著な結果が示しているように、一定のステントの被膜から放出される一定の有力な抗炎症性で抗腫瘍性の薬剤の一定の延長された局所的な高い濃度および組織における維持が一定の血管形成処置に続く新内膜の増殖を実質的に排除できる。このサイファー(Cypher)(登録商標)ステントから放出されるラパマイシンは一定の露出型の金属ステントに比べた場合にステントの移植後における再狭窄に対して優れた効力を一貫して示している。しかしながら、分岐している連結部分、小動脈および既に移植したステントにおける再狭窄を含む局所的な配給または一定領域に及ぶ配給のための非ステント型の手法が好都合になる可能性のある臨床的な状況が存在する。従って、局所的にまたは一定領域に及ぶように配給されることのみを必要として、薬物が主にその良好な親油性および長期に及ぶ組織における保持特性によりその薬理学的な種々の機能を発揮する有力な治療方法に対する要望が存在していると考えられる。
ラパマイシン等のような一定の有力な治療剤の局所的にまたは一定領域に配給される溶液は一定の全身系的に配給される薬剤または一定の移植可能な医療装置を介して配給される一定の薬剤に優る多数の利点を提供する。例えば、一定の比較的に高い組織における濃度が上記のような薬剤の動脈壁部内への直接的な配給により達成できる。さらに、この配給の位置に応じて、一定の異なる薬物濃度のプロファイルが一定の薬物溶出式のステントの場合よりも達成できる。加えて、一定の局所的にまたは一定領域に配給される溶液により、一定のステント等のような永久移植型の装置の必要性がなくなり、これにより、炎症性の反応および長期に及ぶ組織の損傷等のような、上記のような装置に伴う潜在的な副作用が排除できる。しかしながら、上記の局所的にまたは一定領域に配給される溶液が種々の薬物溶出式のステントまたはその他の被覆型の移植可能な医療装置との組み合わせにおいて使用可能であることに注目することが重要である。また、上記のような溶液または液体の配合物の別の利点はその液体配合物中における種々の賦形剤の調節によりその薬物の分布および保持のプロファイルまたは特性を容易に変更可能にできると言う事実にある。加えて、この液体配合物はその投与形態の保管および保存寿命を改善するために一定の予備包装型の多数チャンバー式の注入装置により注入の前に速やかに混合することができる。
本発明の例示的な実施形態によれば、一連の液体配合物が滲出性のバルーンおよびカテーテル式の注入針による、シロリムスおよびCCI−779、ABT−578およびエベロリムスを含むその類似体等のような非水溶性の種々の化合物の局所的なまたは一定領域に及ぶ配給のために開発されている。上記のシロリムスおよびその類似体はラパマイシンであり、このラパマイシンは本明細書において用いられているように、ラパマイシンおよびFKBP12に結合してラパマイシンと同一の薬理学的な諸特性を有する全ての類似体、誘導体および共役体を含む。これらの液体配合物は上記の薬理学的に活性であるが非水溶性である種々の化合物の溶解度をこれらの化合物の水中における溶解度の限界値に比べて二桁乃至四桁だけその見かけの溶解度を高める。これらの液体配合物は極めて少量のエタノール(一般的に2パーセント以下)等のような種々の有機溶媒および上記の化合物の溶解度を高めるための比較的に多量のポリエチレン・グリコール(PEG200、PEG400)およびビタミンE・TGPS等のような安全な両親媒性の(一定の無極性で非水溶性の炭化水素の鎖に結合している一定の極性で水溶性の基を有する分子のまたは当該分子に関連している)種々の賦形剤の使用に依存している。これらの高度に非水溶性の化合物の液体配合物は室温において安定で容易に流動可能である。さらに、上記のビタミンE・TPGSおよびBHT等のような特定の賦形剤はこれらの酸化防止特性によりシロリムスの種々の化合物の保存の安定性を高めるために利用できる。
以下において示されている表8は本発明の例示的な各実施形態に従う4種類の異なる液体配合物における賦形剤、補助溶媒および薬物のそれぞれの濃度をまとめている。この場合に、それぞれの成分の濃度は液体クロマトグラフィにより決定されており、重量%の値として示されている。表8から分かるように、一定の4mg/mlの濃度のシロリムスが2%のエタノール濃度、25%の水の濃度、および75%のPEG200の濃度を伴って達成されている。このエタノールの濃度は上記の配合物中において一定の活性な成分になることを避けるために2%以下であることが好ましい。
Figure 2005296665
上述したように、4mg/mlのシロリムスを含有している一定の液体配合物が賦形剤としてのPEG200および補助溶媒としてのエタノールおよび水を利用することにより達成できる。このシロリムスの濃度は水中におけるシロリムスの溶解度の約100乃至約1000倍も高い。すなわち、一定の有効な補助溶媒およびPEGを含有することにより、高濃度のシロリムスが5乃至10倍に水により希釈されるまでその溶液から析出し始めない。また、このような高濃度のシロリムスは一定の部位への配給後において有効で高いシロリムスの濃度を維持するために必要である。これらの液体配合物は室温において流動可能であり、多数の配給装置に対して適合性を有している。具体的に言えば、これらの配合物のそれぞれは以下においてさらに詳細に説明されているようなフロリダ州、マイアミのコーディス・コーポレイション(Cordis Corporation)から商品名クレスセンド(CRESCEND)(商標)により指定されている一定の注入カテーテル、およびブタの調査においてさらに詳細に説明されているカリフォルニア州、サン・レアンドロスのエンドバイオニクス社(EndoBionics, Inc.)から入手可能なエンドバイオニクス・マイクロシリンジ(EndoBionics Micro Syringe)(商標)注入カテーテルを通して有効に注入されている。
別の例示的な実施形態において、上記シロリムスの液体配合物は補助溶媒としての水およびエタノールおよび賦形剤としてのビタミンF・TPGSを含有している。この液体配合物は以下のプロセスを利用して形成されている。200ミリグラムのシロリムスおよび2グラムのエタノールを予め秤量している20ミリリットルのシンチレーション・バイアルに加えた。次に、このバイアルをかき混ぜてシロリムスが完全に溶解するまで超音波を当てて分解した。その後、約600ミリグラムのビタミンE・TPGSを上記エタノールおよびシロリムスの溶液に加えた。さらに、このバイアルを一定の透明な黄色味がかった溶液が得られるまで再びかき混ぜた。次に、窒素ガスを用いてバイアル中のエタノールの量を約229ミリグラムまで減少した。さらに、別のバイアルにおいて、300ミリグラムのビタミンE・TPGSを11ミリリットルの精製した水の中にかき混ぜながら溶解した。その後、このビタミンE・TPGSおよび水の溶液をシロリムス、ビタミンE・TPGSおよびエタノールを含有している上記第1のバイアルに加えた。次に、この第1のバイアルを3分間にわたり激しく継続的にかき混ぜた。この結果として得られたシロリムスの溶液は透明であり上部に一定の泡を伴っていた。この泡は室温において放置した後に徐々に消失した。その後、シロリムスの一定のHPLCアッセイにより、上記最終の溶液中のシロリムス濃度が15mg/mlであることが分かった。この最終の溶液は2%よりも低いエタノールの濃度を有しており、この濃度は上述したようにエタノールを一定の不活性な成分として維持するために重要である。従って、ビタミンE・TPGSをPEGの代わりに使用することはその最終的な配合物中におけるさらに高いシロリムスの濃度を生じている。
以下において示されている表9は異なる比率においてエタノール、ビタミンE・TPGSおよび水を利用している幾つかのシロリムスの水性配合物についての組成および視覚による観察結果とまとめている。この表9に含まれているデータにより表されている各溶液はシロリムスとビタミンE・TPGSとの間の比率が変わっていることを除いて上述した手順と実質的に同一の手順により作成されている。
Figure 2005296665
5番を除く上記の全ての調製物は室温および冷蔵条件下の両方においてそれぞれ安定な溶液として保たれた。この表9における結果はビタミンE・TPGSが一定の水性溶液中におけるシロリムスの溶解度を高めるために一定の広範囲な濃度において利用可能であることを示している。
別の例示的な実施形態において、一定のシロリムス類似体であるCCI−779の一定の液体配合物がエタノール、ビタミンE・TPGSおよび水を用いて調製されている。この液体配合物は上記の条件に類似している条件下において作成されている。このCCI−779のエタノール中における比較的に良好な溶解度のために、上記2グラムのシロリムスに対する場合において、200ミリグラムのCCI−779を溶解するために0.8グラムのエタノールしか用いられていない。その後、エタノールの量を約230ミリグラムに減少した後に、300ミリグラムのビタミンE・TPGSを含有している11ミリリットルの精製水をそのエタノールおよびCCI−779のバイアルに加えた。次に、この混合溶液を3分間にわたりかき混ぜて、一定の透明な溶液を形成した。このCCI−779の一定のHPLCアッセイにより、その最終溶液におけるCCI−779の濃度が15mg/mlであることが分かった。また、この最終溶液中のエタノールの濃度は2%よりも低かった。従って、これらの結果は上記のシロリムスにおいて達成されている結果と実質的に同一である。
上述したように、多数のカテーテルに基づく配給システムが上記の液体配合物を配給するために利用できる。一例のこのようなカテーテルに基づくシステムはクレスセンド(CRESCENDO)(商標)注入カテーテルである。このクレスセンド(CRESCENDO)(商標)注入カテーテルは、例えば、冠動脈の脈管に対して選択的にヘパリンを加えた塩水および血栓崩壊性の物質等の種々の溶液を配給するために適用されている。この注入カテーテルはまた本明細書において記載されているシロリムスの液体溶液を含む種々の液体配合物の配給のために使用することも可能である。この注入領域はカテーテルの先端部分において多数の穴を伴う2個の膨張可能なバルーンにより構成されている一定の領域を含む。また、この注入領域はカテーテルの中に延在している一定の内孔部に連通していてその基端部における一定のルア・ポートまで到達している。この場合に、溶液の注入は一定の注入ポートを介して手の注入動作により達成される。上記カテーテルはまた一定のガイドワイヤ内孔部およびX線透視下においてその注入領域の相対位置を標識するために当該領域の中心に位置決めされている一定の放射線不透過性の標識帯域も含む。
薬物の劣化の比較的に一般的な様式は酸化を含む。この酸化は一定の分子からの電子の損失として一般に定めることができる。有機分子においては、酸化は酸素の増加または水素の内容量の減少として比較的に適切に説明できる。また、酸化防止剤は遊離ラジカルと安全に相互作用して生体分子の損傷の前にこれらの極めて反応性の高いラジカルにより生じる潜在的な連鎖反応を停止する種々の分子である。換言すれば、これらの酸化防止剤は本質的に種々の分子またはこれらの分子の一部分を損傷する前に遊離ラジカルを不活性にするスカベンジャーである。従って、酸化防止剤は薬物の劣化を防ぐか実質的に低下するために種々の薬物配合物中において利用できる。さらに具体的に言えば、酸化防止剤はステント等のような薬物溶出式の移植可能な医療装置を被覆するために用いる酸素に影響を受けやすい薬物および/または薬物/ポリマーの種々の溶液に対して、ならびに、酸化を防ぎ薬物の劣化を減少するための注入可能な種々の薬物溶液に対して添加することができる。このような酸化による劣化を減少することにより、その薬物または薬物により被覆した種々の製品の保存寿命が延長できる。
多数の異なる種類の酸化防止剤が存在する。これらの酸化防止剤の最も広いグループは一般に連鎖停止剤として分類できる。酸化または自己酸化の一例の形態において、遊離ラジカル、すなわち、酸素が特定の分子に対して相互作用する時に形成される、対を成していない電子を伴う原子または原子の群が一定の連鎖反応を開始できるようになる。さらに、この酸素の消費を伴うラジカル連鎖の伝播により多数の薬物の酸化現象が引き起こされる。一方、連鎖停止剤は安定なラジカルを形勢し、この安定なラジカルは連鎖を伝播しない。このような連鎖停止剤は種々のチオールおよびフェノールを含む。犠牲的還元剤もまた酸化防止剤である。このような犠牲的還元剤は保護する必要のある分子よりも容易に酸化される種々の化合物であり、この保護する必要のある分子は本発明において上記のような薬物の分子である。また、上記のような犠牲的還元剤は種々の亜硫酸塩およびアスコルビン酸を含む。さらに別の形態の酸化防止剤は種々の過酸化物の消炎剤を含む。さらに、このような過酸化物の消炎剤はマンニトールを含む。
上記の酸化防止剤の効果は多数の要因により決まる。一部の状況において、単一の酸化防止剤でも所望の効果を提供することが可能である。しかしながら、別の状況においては、種々の酸化防止剤の組み合わせが強い共同作用性の効果を提供できる。本発明によれば、薬物の劣化を防ぐために種々の酸化防止剤が単独または組み合わせにおいて使用可能である。さらに、それぞれの酸化防止作用に加えて、これらの酸化防止剤は治療効果も提供できる。例えば、酸化防止剤を伴う薬物溶出式の医療装置は十分に高いまたは治療用の用量を用いる場合に新内膜の過形成を阻止することにより長期にわたる脈管の開通性を改善することができる。アスコルビン酸、BHTおよび/またはトコフェロールは全て酸化防止剤であり、遊離ラジカルの形成を阻止するか遊離ラジカルに対する一定のスカベンジャーになることにより新内膜の過形成を減少できる。加えて、トコフェロール等のような多数の酸化防止剤は一定の潤滑剤としても利用できる。
多数の酸化防止剤が薬物の劣化を防ぐために利用できる。一定の酸化防止剤の選択は酸化の影響を受けやすい薬物の化学的性質、利用されている場合のポリマー被膜の組織、および酸化を防ぎ薬物の劣化を減少するための所望の効果を達成するための酸化防止剤の濃度における変化等のような多数の要因により決まる。このような酸化防止剤の例はアスコルビル・パルミテート(パルミチン酸アスコルビル)、アスコルビン酸、ブチル化ヒドロキシトルエン(BHT)、トコフェロール、アスコルビン酸の種々の異性体および/または誘導体、亜硫酸塩、チオール誘導体、ブチル化ヒドロキシアニソール(BHA)、ノルジヒドログアイアレチン酸およびプロピル没食子酸を含む。また、別の可能な酸化防止剤はアセチル・システイン、アジピン酸、クエン酸、システイン、エデト酸二ナトリウム(ETA)、フマル酸、グルタミン酸、リンゴ酸、ホルムアルデヒド・スルホキシレート、二亜硫酸ナトリウム、亜硫酸ナトリウム、ナトリウム・トサルフェート(Sodium Thosulfate)、酒石酸、チオグリセロール、チオ尿素およびトルエン・スルホン酸を含む。
上記の酸化防止剤は本明細書において記載されている全ての薬物を含む多数の薬物と共に利用可能であるが、本発明の例示的な実施形態はラパマイシン、さらに具体的に言えば、ラパマイシンを含む薬物溶出式の移植可能な種々の医療装置に関連して説明されている。上記において簡単に説明されているように、種々の分子またはこれらの分子の特定の部分が特に酸化しやすいことが有り得る。例えば、ラパマイシンにおいて、これらの分子の共役型のトリエン型の部分が特に酸化しやすい。本質的に、酸素はこの共役型のトリエン型の部分の炭素鎖を破壊し、ラパマイシンの生体活性が劣化する。加えて、酸化の過程において一般的であるように、この薬物は1種類以上の異なる化合物に分解する。従って、このラパマイシンと共に一定の酸化防止剤を混合するか共存させることが特に有利になる可能性がある。具体的に言えば、最良の結果を達成するために、可能な限り最大の程度までこれらの酸化防止剤と薬物を混合することが重要である。さらに重要なことは、薬物の近くに酸化防止剤を物理的に配置することがその達成において重要な条件である。酸化防止剤は酸素が上記の部分を破壊して最終的にその薬物を劣化しないように酸素に対して自由に結合できる状態を維持していることが好ましい。従って、ラパマイシンが一定の高分子の被膜または基材の中に組み込むことが可能である場合に、その酸化防止剤がそのポリマーではなくその薬物の近くに保持されることが特に重要である。このことに影響する要因として、上記高分子基材の各成分、薬物、および移植可能な医療装置に対してそのポリマー/薬物の被膜を供給する方法が含まれる。従って、所望の結果を達成するためには、適当な酸化防止剤の選択、全ての要素の混合およびその混合物の供給の方法をその特定の用途に合わせることが好ましい。
一定の例示的な実施形態によれば、多数の酸化防止剤がラパマイシン、さらに具体的に言えば、シロリムスの劣化を防ぐことにおけるそれぞれの効力を決定するために試験されている。これらのスクリーニング用の実験はシロリムスを含有しているテトラヒドロフラン(THF)の溶液中における種々の酸化防止剤の溶解度およびシロリムスの単独または一定の基部被膜の高分子基材中における酸化を防止するために必要な酸化防止剤の割合(パーセント値)を評価するために行なわれている。なお、上記THFはシロリムスが溶解できる溶媒である。しかしながら、別の溶媒も使用可能であることに注目することが重要である。さらに、2組の対照物が用いられている。この場合の対照物1番は酸化防止剤を伴わないTHFおよびシロリムスおよび/または種々のポリマーの種々の溶液を含み、対照物2番はTHFおよびシロリムスおよび/または種々のポリマーの種々の溶液を含み、この場合に、このTHFはそのTHFの売主からの一定の安定化剤としてラベル表示における250ppmのBHTを含有している。換言すれば、このBHTは上記THF溶媒の酸化を防ぐためのその溶媒における一定の添加されている成分である。以下の表10は種々の混合物の一定の組み合わせである。なお、全てのパーセント値は重量/容量として記載されている。
Figure 2005296665
以下において示されている表11は評価における各サンプルを指定している。この場合に、全てのパーセント値は重量/容量として記載されている。なお、この表11における各サンプルはポリマーを全く含まない。また、以下において示されている表12は、本明細書において説明されているようなPBMAおよびPEVAを含む、ポリマーを含有している種々の溶液を伴う評価における各サンプルを指定している。
Figure 2005296665
Figure 2005296665
上述したように、表11および表12における各サンプルは種々の酸化防止剤の溶解度および薬物の劣化を防ぐことにおけるそれぞれの効果を決定するために試験されている。これらの酸化防止剤の全てはシロリムスの溶液を伴う溶媒およびシロリムスおよびポリマーの溶液を伴う溶媒の両方において溶けた。なお、それぞれの酸化防止剤の溶解度はそれぞれの試験サンプルの視覚による検査により決定されている。
以下において示されている表13は60℃の一定温度に設定されている一定のオーブンの中における5日間の経過後の薬物含有量についてそれぞれ評価した選択された各サンプルを指定している。これらのサンプルはシロリムスについての一定の薬物試験アッセイにより5日後にそれぞれ評価されている。この例示的な実施形態において、一定のHPLCアッセイが用いられている。重要な数値はどれだけの量の薬物が維持されているかあるいは回収されるかを示す各溶液のパーセントのラベル表示の数値(%LC)である。この結果、酸化防止剤であるBHT、トコフェロール、および/またはアスコルビン酸は試験の過酷な環境条件に対して有意義な保護を与えている。一方、比較的に低い%LCの数値は一定の酸化防止剤を含まない各溶液サンプルにおいて明らかである。
Figure 2005296665
以下において示されているように、表14はポリマー伴わない各サンプルにおける%LCの結果を示しており、表15は60℃において4週間経過後のポリマーを伴う各サンプルの%LCの結果を示している。
Figure 2005296665
Figure 2005296665
上記の表14および15において列挙されている%LCまたは薬物の回収率を見て分かるように、比較的に高いパーセント値の濃度のトコフェロール、BHT、および/またはアスコルビン酸は試験の過酷な条件に対して有意義な保護を与えている。しかしながら、60℃の保管条件における各サンプルのゆるい蓋からのサンプルの可能な溶液の蒸散により、比較的に高い%LCの数値が250ppmのBHTを含有している全ての対照物において明らに分かる。
さらに別のサンプルが上記と同一の組成物を用いて、60℃においてではなく、周囲条件下において試験されているが、この試験期間は7週間に延長されている。これらの結果が以下の表16において示されている。
Figure 2005296665
上記の表16を見て分かるように、これらの結果は60℃において5日間および4週間にわたり観察された%LCのデータの結果に実質的に類似している。従って、一定の好ましい実施形態において、トコフェロール、BHTおよび/またはアスコルビン酸は酸化による薬物の劣化を実質的に減少するために利用できる。
図75において、一定のコバルト−クロムの18mmのステントに供給されている溶液を伴う上述したものと同一の薬物スクリーニングの結果がグラフの形式で示されている。この試験において、2組の溶液サンプルが用いられており、1組は一定の酸化防止剤を含有しているシロリムスおよびポリマーの溶液を伴い、他の1組は酸化防止剤を全く含有していないシロリムスおよびポリマーの溶液を伴っている。この用いられている酸化防止剤は全体の基部被膜の固形物に対して0.02重量%のBHTである。この試験は2種類の条件下、すなわち、40℃で75%の相対湿度、および周囲条件下(25℃)、における0乃至12週間の一定時間の期間にわたる薬物含有量の変化のパーセント値を決定するために用いられている。このチャートから分かるように、溶液に対するBHTの添加が周囲条件下において8週間および12週間における薬物の劣化を減少している。従って、基部被膜の溶液が安定しない場合に、例えば、冷凍および/または真空乾燥等のような別の技法を利用する必要がある。
上記において図示および説明されている内容は最も実用的で好ましい実施形態であると考えられる事例であるが、これらの説明および図示されている特定の設計および方法からの変形例が当該技術分野における熟練者において自然に考え出すことができ、本発明の趣旨および範囲から逸脱することなく使用できることは明らかである。本発明は上記において説明および図示されている特定の各構成に限定されず、添付の特許請求の範囲に含まれると考えられる全ての変更例に対して一貫するように構成されていると考えるべきである。
本発明は種々の薬物溶出式の医療装置における酸化を防止してその薬物の劣化を減少するための酸化防止剤およびその使用方法に適用可能である。
本発明の具体的な実施態様は以下のとおりである。
(1)薬物溶出方式の医療装置において、
一定の移植可能な内腔内構造、
前記移植可能な内腔内構造の少なくとも一部分に固定されている治療の用量における一定の薬剤として活性な物質、および
酸化による前記薬剤として活性な物質の劣化を実質的に妨げるためにその薬剤として活性な物質と共に混合されている一定の安定化剤を備えている医療装置。
(2)前記移植可能な内腔内構造が一定のステントを含む実施態様1に記載の薬物溶出式の医療装置。
(3)前記薬剤として活性な物質が一定のラパマイシンを含む実施態様1に記載の薬物溶出式の医療装置。
(4)前記薬剤として活性な物質がシロリムスを含む実施態様1に記載の薬物溶出式の医療装置。
(5)前記安定化剤が一定の酸化防止剤を含む実施態様1に記載の薬物溶出式の医療装置。
(6)前記酸化防止剤がブチル化ヒドロキシトルエンを含む実施態様5に記載の薬物溶出式の医療装置。
(7)前記酸化防止剤がトコフェロールを含む実施態様5に記載の薬物溶出式の医療装置。
(8)前記酸化防止剤がアスコルビン酸を含む実施態様5に記載の薬物溶出式の医療装置。
(9)前記酸化防止剤がパルミチン酸アスコルビルを含む実施態様5に記載の薬物溶出式の医療装置。
(10)薬物溶出式の医療装置において、
一定の移植可能な内腔内構造、
一定の高分子の溶液、
前記高分子の溶液中に混合されている治療の用量における一定の薬剤として活性な物質を備えており、この結果として得られる混合物が前記移植可能な内腔内構造の少なくとも一部分に固定されており、さらに、酸化による前記薬剤として活性な物質の劣化を実質的に妨げるために前記結果として得られる混合物中に混合されている一定の安定化剤を備えている医療装置。
(11)前記移植可能な内腔内構造が一定のステントを含む実施態様10に記載の薬物溶出式の医療装置。
(12)前記薬剤として活性な物質が一定のラパマイシンを含む実施態様10に記載の薬物溶出式の医療装置。
(13)前記薬剤として活性な物質がシロリムスを含む実施態様10に記載の薬物溶出式の医療装置。
(14)前記安定化剤が一定の酸化防止剤を含む実施態様10に記載の薬物溶出式の医療装置。
(15)前記酸化防止剤がブチル化ヒドロキシトルエンを含む実施態様14に記載の薬物溶出式の医療装置。
(16)前記酸化防止剤がトコフェロールを含む実施態様14に記載の薬物溶出式の医療装置。
(17)前記酸化防止剤がアスコルビン酸を含む実施態様14に記載の薬物溶出式の医療装置。
(18)前記酸化防止剤がパルミチン酸アスコルビルを含む実施態様14に記載の薬物溶出式の医療装置。
(19)薬物溶出式の医療装置において、
一定の移植可能な内腔内構造、
一定の高分子の溶液、
前記高分子の溶液中に混合されている治療の用量における一定の薬剤として活性な物質を備えており、この結果として得られる混合物が前記移植可能な内腔内構造の少なくとも一部分に固定されており、さらに、酸化による前記薬剤として活性な物質の劣化を実質的に妨げるために前記結果として得られる混合物中に混合されている一定の安定化剤を備えており、この安定化剤が前記薬剤として活性な物質の近くに存在するように前記結果として得られる混合物中に混合されている医療装置。
(20)前記移植可能な内腔内構造が一定のステントを含む実施態様19に記載の薬物溶出式の医療装置。
(21)前記薬剤として活性な物質が一定のラパマイシンを含む実施態様19に記載の薬物溶出式の医療装置。
(22)前記薬剤として活性な物質がシロリムスを含む実施態様19に記載の薬物溶出式の医療装置。
(23)前記安定化剤が一定の酸化防止剤を含む実施態様19に記載の薬物溶出式の医療装置。
(24)前記酸化防止剤がブチル化ヒドロキシトルエンを含む実施態様23に記載の薬物溶出式の医療装置。
(25)前記酸化防止剤がトコフェロールを含む実施態様23に記載の薬物溶出式の医療装置。
(26)前記酸化防止剤がアスコルビン酸を含む実施態様23に記載の薬物溶出式の医療装置。
(27)前記酸化防止剤がパルミチン酸アスコルビルを含む実施態様23に記載の薬物溶出式の医療装置。
(28)前記安定化剤が前記薬剤として活性な物質に対して一定の親和性を有している実施態様19に記載の薬物溶出式の医療装置。
(29)前記安定化剤が前記薬剤として活性な物質の近くに存在するように前記結果として得られる溶液と共に混合されている実施態様19に記載の薬物溶出式の医療装置。
(30)薬物溶出式の医療装置において、
一定のステント、
一定の生体適合性の高分子の溶液、
前記高分子の溶液中に混合されている治療の用量におけるラパマイシンを備えており、この結果として得られる混合物が前記ステントの少なくとも一部分に固定されており、さらに
前記ラパマイシンの劣化を防ぐために前記結果として得られる混合物の中に混合されている一定の酸化防止剤を備えている医療装置。
(31)前記酸化防止剤が約0.006乃至約0.02%(重量/容量)の範囲内のブチル化ヒドロキシトルエンを含む実施態様30に記載の薬物溶出式の医療装置。
(32)前記酸化防止剤が約0.048乃至約0.102%(重量/容量)の範囲内のトコフェロールを含む実施態様30に記載の薬物溶出式の医療装置。
(33)前記酸化防止剤が約0.022乃至約0.508%(重量/容量)の範囲内のアスコルビン酸を含む実施態様30に記載の薬物溶出式の医療装置。
(34)前記酸化防止剤が約0.01乃至約0.02%(重量/容量)の範囲内のパルミチン酸アスコルビルを含む実施態様30に記載の薬物溶出式の医療装置。
(35)前記酸化防止剤が約250ppmのブチル化ヒドロキシトルエンを含む実施態様30に記載の薬物溶出式の医療装置。
本発明の上記およびその他の特徴および利点が以下の添付図面において例示されている本発明の好ましい種々の実施形態の比較的に特定的な説明により明らかになる。
ステントの外表面部および特徴的な帯域パタンを示している拡張前の一定のステント(両端部が示されていない)の長さに沿う斜視図である。 本発明による複数の貯蔵部分を有している図1のステントの長さに沿う斜視図である。 上部被膜が全く配置されていない本発明の種々の被膜から一定の時間の関数として放出される薬物のフラクションを示しているグラフ図である。 上部に配置されている一定の上部被膜を含む本発明の種々の被膜から一定の時間の関数として放出される薬物のフラクションを示しているグラフ図である。 上部被膜が全く配置されていない本発明の種々の被膜から一定の時間の関数として放出される薬物のフラクションを示しているグラフ図である。 ポリ(VDF/HFP)からの生体内におけるラパマイシンのステント放出速度を示しているグラフ図である。 本発明の第1の例示的な実施形態による上部に種々の薬物被膜を有する図1のステントにおける一定の帯域部分の断面図である。 本発明の第2の例示的な実施形態による上部に種々の薬物被膜を有する図1のステントにおける一定の帯域部分の断面図である。 本発明の第3の例示的な実施形態による上部に種々の薬物被膜を有する図1のステントにおける一定の帯域部分の断面図である。 本発明による一定の固定用フランジおよび取付型のステープル部材を有する一定の吻合装置の例示的なワンピース型の実施形態を示している斜視図である。 本発明による一定の固定用フランジおよび取付型のステープル部材を有する一定の吻合装置の例示的なワンピース型の実施形態を示している部分断面図である。 本発明による一定の固定用フランジおよび取付型のステープル部材を有する一定の吻合装置の例示的なワンピース型の実施形態を示している部分断面図である。 本発明による一定の固定用フランジおよび取付型のステープル部材を有する一定の吻合装置の例示的なワンピース型の実施形態を示している部分断面図である。 本発明の例示的な実施形態による複数の解剖学的構造を一体に連結するための一定の装置の側面図である。 本発明の例示的な実施形態による複数の解剖学的構造のエッジ部分に通されている図14の装置の一定の針部分を示している断面図である。 本発明の例示的な実施形態による一定の複合部位の中を通して引き戻されている図14の装置を示している断面図である。 本発明の例示的な実施形態による複数の解剖学的構造の近くに配置されている図14の装置における一定のステープルを示している断面図である。 本発明の例示的な実施形態による一定の吻合部位の両側に係合している図14の装置における一定のステープルを示している断面図である。 本発明の例示的な実施形態による複数の解剖学的構造を連結するためにけん縮した後の一定のステープルを示している断面図である。 本発明による一定の潤滑性の被膜が上部に固定されている一定のバルーンの断面図である。 本発明による一定の潤滑性の被膜が固定されている図1のステントにおける一定の帯域部分の断面図である。 本発明による一定の潤滑性の被膜を有する一定の配給装置における自己拡張型ステントの部分断面図である。 本発明による一定の変性ポリマー被膜を有する図1のステントにおける一定の帯域部分の断面図である。 本発明による一定の例示的なステント移植片の側面図である。 本発明による一定のステント移植片の別の代替的で例示的な実施形態の部分断面図である。 本発明による一定のステント移植片の別の代替的で例示的な実施形態の部分断面図である。 本発明による完全に配備された状態の大動脈修復システムの側面図である。 本発明による、明瞭化のために一定の拡張した状態で示されている、第1のプロテーゼにおける一定のステントの斜視図である。 本発明による一定のガスケット材料により被覆されている一定のステントを有する第1のプロテーゼの斜視図である。 本発明による一定の無被覆型の外科ステープルの概略図である。 本発明による多数の貫通穴を有する一定の外科ステープルの概略図である。 本発明による一定の被膜を外表面部において有している一定の外科ステープルの概略図である。 本発明による一定の被膜を上部において有している縫合糸材料の一部分の概略図である。 本発明による一定の被膜が表面の中に含浸している縫合糸材料の一部分の概略図である。 本発明によるステント配給装置の簡単化した正面図である。 図35の装置に類似しているがその内部に装填されているステントを示すために破断されている部分を有している装置の先端部の拡大図である。 本発明に従って作成されている内側軸部の先端部の簡単化した正面図である。 線38−38に沿う図37の断面図である。 脈管内への自己拡張式ステントの配備を連続的に示している本発明の装置の部分断面図である。 脈管内への自己拡張式ステントの配備を連続的に示している本発明の装置の部分断面図である。 脈管内への自己拡張式ステントの配備を連続的に示している本発明の装置の部分断面図である。 脈管内への自己拡張式ステントの配備を連続的に示している本発明の装置の部分断面図である。 脈管内への自己拡張式ステントの配備を連続的に示している本発明の装置の部分断面図である。 本発明に従って作成されているステント配給装置のための一定の軸部の簡単化した正面図である。 本発明によるステント配給装置の軸部およびシースの部分断面図である。 本発明によるステント配給システムの軸部および改良されたシースの部分断面図である。 本発明によるステント配給システムの軸部および改良されたシースの部分断面図である。 本発明によるステント配給システムの改良された軸部の部分断面図である。 本発明による生体内(イン・ビボ)の試験中において種々の高分子の被膜から経時的に放出されるラパマイシンのフラクションまたは放出率のグラフ図である。 本発明による生体外(イン・ビトロ)の試験中において種々の高分子の被膜から経時的に放出されるラパマイシンのフラクションまたは放出率のグラフ図である。 生体外の細胞培養調査におけるトリコスタチンAを利用している冠動脈平滑筋の細胞増殖の抑制のグラフ図である。 本発明による2%のウシ胎児血清により刺激した非同調培養のヒト冠動脈平滑筋細胞の中におけるミコフェノール酸の濃度の変化によるラパマイシンの抗増殖活性のグラフ図である。 本発明によるブタの薬物速度調査におけるラパマイシン、ミコフェノール酸および一定のポリマーの組み合わせ物からのラパマイシンの生体内における放出速度のグラフ図である。 本発明によるブタの薬物速度調査におけるラパマイシン、ミコフェノール酸および一定のポリマーの組み合わせ物からのミコフェノール酸の生体内における放出速度のグラフ図である。 本発明によるラパマイシンおよびミコフェノール酸の一定の組み合わせ物からのラパマイシンの生体外における放出速度のグラフ図である。 本発明によるブタの薬物速度調査におけるラパマイシンおよびミコフェノール酸の両方の生体内における放出速度のグラフ図である。 本発明による2%のウシ胎児血清により刺激した非同調培養した人間の冠動脈平滑筋細胞における種々の濃度のクラドリビンを伴うラパマイシンの抗増殖活性のグラフ図である。 本発明による2%のウシ胎児血清により刺激した非同調培養した人間の冠動脈平滑筋細胞におけるクラドリビンの抗増殖活性のグラフ図である。 本発明による室温における一定の25%のエタノール/水の放出媒体中に混入した一定のPVDF/HFPの基部被膜内の非無菌状態のクラドリビンの被膜からのクラドリビンの生体外における放出速度のグラフ図である。 本発明による室温における一定の25%のエタノール/水の放出媒体中に混入した一定のPVDF/HFPの基部被膜内の無菌状態のクラドリビンの被膜からのクラドリビンの生体外における放出速度のグラフ図である。 本発明によるブタの薬物速度調査における一定の高分子被膜からのクラドリビンの生体内における放出速度のグラフ図である。 本発明によるブタの薬物速度調査におけるラパマイシン、クラドリビンおよび一定のポリマーの組み合わせ物からのラパマイシンの生体内における放出速度のグラフ図である。 本発明によるブタの薬物速度調査におけるラパマイシン、クラドリビンおよび一定のポリマーの組み合わせ物からのクラドリビンの生体内における放出速度のグラフ図である。 本発明による2%のウシ胎児血清により刺激した同調培養した人間の冠動脈平滑筋細胞における異なる濃度のトポテカンを伴うラパマイシンの抗増殖作用のグラフ図である。 本発明による2%のウシ胎児血清により刺激した同調培養した人間の冠動脈平滑筋細胞における異なる濃度のエトポシドを伴うラパマイシンの抗増殖作用のグラフ図である。 本発明による2%のウシ胎児血清により刺激した同調培養した人間の冠動脈平滑筋細胞におけるパンゼム(Panzem)(登録商標)の抗増殖作用のグラフ図である。 本発明による2%のウシ胎児血清により刺激した同調培養した人間の冠動脈平滑筋細胞におけるラパマイシンの抗増殖作用のグラフ図である。 本発明による2%のウシ胎児血清により刺激した同調培養した人間の冠動脈平滑筋細胞における異なる濃度のパンゼム(Panzem)(登録商標)を伴うラパマイシンの抗増殖作用のグラフ図である。 本発明によるパンゼム(Panzem)(登録商標)の一定のMTSアッセイのグラフ図である。 本発明による一定の層状化したラパマイシン、パンゼム(Panzem)(登録商標)および高分子の被膜からのラパマイシンの生体外における放出速度のグラフ図である。 本発明による一定の層状化したラパマイシン、パンゼム(Panzem)(登録商標)および高分子の被膜からのパンゼム(Panzem)(登録商標)の生体外における放出速度のグラフ図である。 本発明による不作動状態における介入処置のための一定の微細加工製造した外科装置の概略的な斜視図である。 図72Aの線72B−72Bに沿う概略図である。 図72Aの線72C−72Cに沿う概略図である。 本発明による不作動状態における介入処置のための一定の微細加工製造した外科装置の概略的な斜視図である。 図73の線73B−73Bに沿う概略図である。 一定の患者の脈管の中に挿入されている本発明の微細加工製造した外科装置の概略的な斜視図である。 本発明による一定の生体活性調査の結果のグラフ図である。
符号の説明
100 ステント
102 帯域部分
104 連結部分
106 貯蔵部分
200 吻合装置
202 固定用フランジ
204 ステープル部材
300 装置
302 縫合線
308 針
400 バルーン
402 潤滑性の被膜
500 潤滑性の被膜
502 基部被膜
504 上部被膜
600 潤滑性の被膜
700 プライマー層
702 二次的な層
704 薬物含有基材
706 上部被膜
800 ステント移植片
900 ステント移植片
1000 動脈瘤治療システム
3000 外科ステープル
3002 貫通穴
3006 被膜
4000 縫合糸材料
4002 被膜
4004 薬物
5010 装置
5012 軸部
5014 シース
5028 先端部分
5060 外側層
5062 内側層
5064 補強層
5070 被膜
5200 起立部分
7000 ステント
7002 フープ
7006 ループ
7008 架橋部
7210 外科装置
7212 アクチュエータ
7214 スリット
7216 リード端部
7218 チップ端部
7220 カテーテル
7222 保持リング
7224 中央部分
7226 開口領域
7228 導管
7230 メッシュ様構造
7232 静脈
7234 標的領域
7236 ガイドワイヤ
8000 ガイドワイヤ
9000 血管

Claims (35)

  1. 薬物溶出方式の医療装置において、
    一定の移植可能な内腔内構造、
    前記移植可能な内腔内構造の少なくとも一部分に固定されている治療の用量における一定の薬剤として活性な物質、および
    酸化による前記薬剤として活性な物質の劣化を実質的に妨げるためにその薬剤として活性な物質と共に混合されている一定の安定化剤を備えている医療装置。
  2. 前記移植可能な内腔内構造が一定のステントを含む請求項1に記載の薬物溶出式の医療装置。
  3. 前記薬剤として活性な物質が一定のラパマイシンを含む請求項1に記載の薬物溶出式の医療装置。
  4. 前記薬剤として活性な物質がシロリムスを含む請求項1に記載の薬物溶出式の医療装置。
  5. 前記安定化剤が一定の酸化防止剤を含む請求項1に記載の薬物溶出式の医療装置。
  6. 前記酸化防止剤がブチル化ヒドロキシトルエンを含む請求項5に記載の薬物溶出式の医療装置。
  7. 前記酸化防止剤がトコフェロールを含む請求項5に記載の薬物溶出式の医療装置。
  8. 前記酸化防止剤がアスコルビン酸を含む請求項5に記載の薬物溶出式の医療装置。
  9. 前記酸化防止剤がパルミチン酸アスコルビルを含む請求項5に記載の薬物溶出式の医療装置。
  10. 薬物溶出式の医療装置において、
    一定の移植可能な内腔内構造、
    一定の高分子の溶液、
    前記高分子の溶液中に混合されている治療の用量における一定の薬剤として活性な物質を備えており、この結果として得られる混合物が前記移植可能な内腔内構造の少なくとも一部分に固定されており、さらに、酸化による前記薬剤として活性な物質の劣化を実質的に妨げるために前記結果として得られる混合物中に混合されている一定の安定化剤を備えている医療装置。
  11. 前記移植可能な内腔内構造が一定のステントを含む請求項10に記載の薬物溶出式の医療装置。
  12. 前記薬剤として活性な物質が一定のラパマイシンを含む請求項10に記載の薬物溶出式の医療装置。
  13. 前記薬剤として活性な物質がシロリムスを含む請求項10に記載の薬物溶出式の医療装置。
  14. 前記安定化剤が一定の酸化防止剤を含む請求項10に記載の薬物溶出式の医療装置。
  15. 前記酸化防止剤がブチル化ヒドロキシトルエンを含む請求項14に記載の薬物溶出式の医療装置。
  16. 前記酸化防止剤がトコフェロールを含む請求項14に記載の薬物溶出式の医療装置。
  17. 前記酸化防止剤がアスコルビン酸を含む請求項14に記載の薬物溶出式の医療装置。
  18. 前記酸化防止剤がパルミチン酸アスコルビルを含む請求項14に記載の薬物溶出式の医療装置。
  19. 薬物溶出式の医療装置において、
    一定の移植可能な内腔内構造、
    一定の高分子の溶液、
    前記高分子の溶液中に混合されている治療の用量における一定の薬剤として活性な物質を備えており、この結果として得られる混合物が前記移植可能な内腔内構造の少なくとも一部分に固定されており、さらに、酸化による前記薬剤として活性な物質の劣化を実質的に妨げるために前記結果として得られる混合物中に混合されている一定の安定化剤を備えており、この安定化剤が前記薬剤として活性な物質の近くに存在するように前記結果として得られる混合物中に混合されている医療装置。
  20. 前記移植可能な内腔内構造が一定のステントを含む請求項19に記載の薬物溶出式の医療装置。
  21. 前記薬剤として活性な物質が一定のラパマイシンを含む請求項19に記載の薬物溶出式の医療装置。
  22. 前記薬剤として活性な物質がシロリムスを含む請求項19に記載の薬物溶出式の医療装置。
  23. 前記安定化剤が一定の酸化防止剤を含む請求項19に記載の薬物溶出式の医療装置。
  24. 前記酸化防止剤がブチル化ヒドロキシトルエンを含む請求項23に記載の薬物溶出式の医療装置。
  25. 前記酸化防止剤がトコフェロールを含む請求項23に記載の薬物溶出式の医療装置。
  26. 前記酸化防止剤がアスコルビン酸を含む請求項23に記載の薬物溶出式の医療装置。
  27. 前記酸化防止剤がパルミチン酸アスコルビルを含む請求項23に記載の薬物溶出式の医療装置。
  28. 前記安定化剤が前記薬剤として活性な物質に対して一定の親和性を有している請求項19に記載の薬物溶出式の医療装置。
  29. 前記安定化剤が前記薬剤として活性な物質の近くに存在するように前記結果として得られる溶液と共に混合されている請求項19に記載の薬物溶出式の医療装置。
  30. 薬物溶出式の医療装置において、
    一定のステント、
    一定の生体適合性の高分子の溶液、
    前記高分子の溶液中に混合されている治療の用量におけるラパマイシンを備えており、この結果として得られる混合物が前記ステントの少なくとも一部分に固定されており、さらに
    前記ラパマイシンの劣化を防ぐために前記結果として得られる混合物の中に混合されている一定の酸化防止剤を備えている医療装置。
  31. 前記酸化防止剤が約0.006乃至約0.02%(重量/容量)の範囲内のブチル化ヒドロキシトルエンを含む請求項30に記載の薬物溶出式の医療装置。
  32. 前記酸化防止剤が約0.048乃至約0.102%(重量/容量)の範囲内のトコフェロールを含む請求項30に記載の薬物溶出式の医療装置。
  33. 前記酸化防止剤が約0.022乃至約0.508%(重量/容量)の範囲内のアスコルビン酸を含む請求項30に記載の薬物溶出式の医療装置。
  34. 前記酸化防止剤が約0.01乃至約0.02%(重量/容量)の範囲内のパルミチン酸アスコルビルを含む請求項30に記載の薬物溶出式の医療装置。
  35. 前記酸化防止剤が約250ppmのブチル化ヒドロキシトルエンを含む請求項30に記載の薬物溶出式の医療装置。
JP2005116114A 2004-04-14 2005-04-13 薬物溶出式の医療装置における酸化を防ぎ薬物の劣化を減少するための酸化防止剤の使用 Expired - Fee Related JP4832787B2 (ja)

Applications Claiming Priority (2)

Application Number Priority Date Filing Date Title
US10/823,834 US8007737B2 (en) 2004-04-14 2004-04-14 Use of antioxidants to prevent oxidation and reduce drug degradation in drug eluting medical devices
US10/823,834 2004-04-14

Publications (2)

Publication Number Publication Date
JP2005296665A true JP2005296665A (ja) 2005-10-27
JP4832787B2 JP4832787B2 (ja) 2011-12-07

Family

ID=34940819

Family Applications (1)

Application Number Title Priority Date Filing Date
JP2005116114A Expired - Fee Related JP4832787B2 (ja) 2004-04-14 2005-04-13 薬物溶出式の医療装置における酸化を防ぎ薬物の劣化を減少するための酸化防止剤の使用

Country Status (6)

Country Link
US (1) US8007737B2 (ja)
EP (1) EP1586338B1 (ja)
JP (1) JP4832787B2 (ja)
AT (1) ATE496643T1 (ja)
CA (1) CA2504258C (ja)
DE (1) DE602005026078D1 (ja)

Cited By (7)

* Cited by examiner, † Cited by third party
Publication number Priority date Publication date Assignee Title
JP2007152102A (ja) * 2005-12-01 2007-06-21 Cordis Corp 薬理活性剤の制御放出または送達のためのポリマー組成物
JP2010509991A (ja) * 2006-11-20 2010-04-02 ルトニックス・インコーポレ−テッド 医療装置のための薬物放出コーティング
JP2010540159A (ja) * 2007-10-19 2010-12-24 ルトニックス・インコーポレ−テッド 医療装置のための薬物放出コーティング
JP2013500088A (ja) * 2009-07-30 2013-01-07 マイクロポート メディカル (シャンハイ) シーオー., エルティーディー 医療器具に薬剤及び/又はポリマーを搭載する方法及び装置
JP2016510608A (ja) * 2013-03-07 2016-04-11 アボット カーディオバスキュラー システムズ インコーポレイテッド 大環状トリエンラクトン薬物および最少量の抗酸化安定剤を含む埋込型医療機器ならびに製造方法
JP2016520335A (ja) * 2013-03-07 2016-07-14 アボット カーディオバスキュラー システムズ インコーポレイテッド ラパマイシン誘導体を含む埋め込み型医療用デバイスの製造方法
WO2017038925A1 (ja) * 2015-09-03 2017-03-09 日本化薬株式会社 ラパマイシン又はその誘導体を含有する医薬組成物

Families Citing this family (73)

* Cited by examiner, † Cited by third party
Publication number Priority date Publication date Assignee Title
US7611533B2 (en) 1995-06-07 2009-11-03 Cook Incorporated Coated implantable medical device
US7056338B2 (en) 2003-03-28 2006-06-06 Conor Medsystems, Inc. Therapeutic agent delivery device with controlled therapeutic agent release rates
JP5596896B2 (ja) 2003-03-28 2014-09-24 イノヴェイショナル・ホールディングズ・エルエルシー 有益な薬剤の濃度勾配を有する、移植可能な医療装置の形成方法
US8747881B2 (en) 2003-12-19 2014-06-10 Cordis Corporation Intraluminal medical devices in combination with therapeutic agents
US8652502B2 (en) 2003-12-19 2014-02-18 Cordis Corporation Local vascular delivery of trichostatin A alone or in combination with sirolimus to prevent restenosis following vascular injury
US20050249776A1 (en) * 2003-12-19 2005-11-10 Chen Chao C Coated aneurysmal repair device
US20050232965A1 (en) * 2004-04-15 2005-10-20 Robert Falotico Local administration of a combination of rapamycin and 17 beta-estradiol for the treatment of vulnerable plaque
US8357616B2 (en) * 2005-04-14 2013-01-22 President And Fellows Of Harvard College Adjustable solubility in sacrificial layers for microfabrication
AU2014200017B2 (en) * 2005-12-14 2016-06-09 Abbott Laboratories One pot synthesis of tetrazole derivatives of sirolimus
US7700614B2 (en) * 2005-12-14 2010-04-20 Abbott Laboratories One pot synthesis of tetrazole derivatives of rapamycin
US7723422B2 (en) * 2005-12-23 2010-05-25 Boston Scientific Scimed, Inc. Functionalized block copolymers
US7757543B2 (en) * 2006-07-13 2010-07-20 Advanced Cardiovascular Systems, Inc. Radio frequency identification monitoring of stents
US20090169628A1 (en) * 2006-10-17 2009-07-02 Armark Authentication Technologies, Llc Article and method for focused delivery of therapeutic and/or diagnostic materials
US8414910B2 (en) 2006-11-20 2013-04-09 Lutonix, Inc. Drug releasing coatings for medical devices
US9737640B2 (en) 2006-11-20 2017-08-22 Lutonix, Inc. Drug releasing coatings for medical devices
US8998846B2 (en) 2006-11-20 2015-04-07 Lutonix, Inc. Drug releasing coatings for balloon catheters
US20080276935A1 (en) 2006-11-20 2008-11-13 Lixiao Wang Treatment of asthma and chronic obstructive pulmonary disease with anti-proliferate and anti-inflammatory drugs
US8425459B2 (en) 2006-11-20 2013-04-23 Lutonix, Inc. Medical device rapid drug releasing coatings comprising a therapeutic agent and a contrast agent
US9700704B2 (en) 2006-11-20 2017-07-11 Lutonix, Inc. Drug releasing coatings for balloon catheters
US8414525B2 (en) 2006-11-20 2013-04-09 Lutonix, Inc. Drug releasing coatings for medical devices
US8414526B2 (en) 2006-11-20 2013-04-09 Lutonix, Inc. Medical device rapid drug releasing coatings comprising oils, fatty acids, and/or lipids
US8182890B2 (en) * 2007-01-19 2012-05-22 Elixir Medical Corporation Biodegradable endoprostheses and methods for their fabrication
US8814930B2 (en) 2007-01-19 2014-08-26 Elixir Medical Corporation Biodegradable endoprosthesis and methods for their fabrication
US20130150943A1 (en) 2007-01-19 2013-06-13 Elixir Medical Corporation Biodegradable endoprostheses and methods for their fabrication
US8622991B2 (en) 2007-03-19 2014-01-07 Insuline Medical Ltd. Method and device for drug delivery
WO2009081262A1 (en) 2007-12-18 2009-07-02 Insuline Medical Ltd. Drug delivery device with sensor for closed-loop operation
US9220837B2 (en) 2007-03-19 2015-12-29 Insuline Medical Ltd. Method and device for drug delivery
US8827979B2 (en) 2007-03-19 2014-09-09 Insuline Medical Ltd. Drug delivery device
EP2190483A4 (en) * 2007-09-20 2012-02-15 Estracure Inc METHOD FOR REDUCING THE EFFECTS OF CYTOSTATIC MEDICINES ON BONE MARROW DERIVED CELLS AND SCREENING METHODS
US8409601B2 (en) * 2008-03-31 2013-04-02 Cordis Corporation Rapamycin coated expandable devices
US20090319031A1 (en) * 2008-06-19 2009-12-24 Yunbing Wang Bioabsorbable Polymeric Stent With Improved Structural And Molecular Weight Integrity
WO2010024898A2 (en) 2008-08-29 2010-03-04 Lutonix, Inc. Methods and apparatuses for coating balloon catheters
WO2010052579A2 (en) 2008-11-07 2010-05-14 Insuline Medical Ltd. Device and method for drug delivery
US9259219B2 (en) 2009-11-09 2016-02-16 Ethicon, Llc Surgical needle coatings and methods
JP5770736B2 (ja) * 2010-09-17 2015-08-26 テルモ株式会社 シリコーンゴム組成物
WO2013102842A2 (en) 2012-01-06 2013-07-11 Sahajanand Medical Technologies Private Limited Device and composition for drug release
CA2881091A1 (en) * 2012-08-06 2014-02-13 South Dakota Board Of Regents Ascorbic acid-eluting implantable medical devices, systems, and related methods
US20150320795A1 (en) * 2012-12-13 2015-11-12 Roy JOSEE Compositions and methods comprising polyethylene glycol and magnesium for treatment of neuronal injury
EP2994174A1 (en) 2013-05-06 2016-03-16 Abbott Cardiovascular Systems Inc. A hollow stent filled with a therapeutic agent formulation
AU2014276910B2 (en) * 2013-06-04 2017-03-09 Lts Lohmann Therapie-Systeme Ag Transdermal delivery system
US9259339B1 (en) 2014-08-15 2016-02-16 Elixir Medical Corporation Biodegradable endoprostheses and methods of their fabrication
US9480588B2 (en) 2014-08-15 2016-11-01 Elixir Medical Corporation Biodegradable endoprostheses and methods of their fabrication
US9730819B2 (en) 2014-08-15 2017-08-15 Elixir Medical Corporation Biodegradable endoprostheses and methods of their fabrication
US9855156B2 (en) * 2014-08-15 2018-01-02 Elixir Medical Corporation Biodegradable endoprostheses and methods of their fabrication
WO2017038612A1 (ja) * 2015-08-28 2017-03-09 日本化薬株式会社 ラパマイシン又はその誘導体を含有する医薬組成物
ES2948679T3 (es) 2015-09-15 2023-09-15 Savage Medical Inc Dispositivos para anclar una vaina en una cavidad tisular
EP3861961B1 (en) 2016-05-16 2025-11-12 Elixir Medical Corporation Uncaging stent
US11622872B2 (en) 2016-05-16 2023-04-11 Elixir Medical Corporation Uncaging stent
US11197666B2 (en) 2017-09-15 2021-12-14 Cilag Gmbh International Surgical coated needles
US20190300724A1 (en) * 2018-04-02 2019-10-03 Medical Surface Inc. Covalently Attached Antioxidant Coatings
WO2019195860A2 (en) 2018-04-04 2019-10-10 Vdyne, Llc Devices and methods for anchoring transcatheter heart valve
US11344413B2 (en) 2018-09-20 2022-05-31 Vdyne, Inc. Transcatheter deliverable prosthetic heart valves and methods of delivery
US10595994B1 (en) 2018-09-20 2020-03-24 Vdyne, Llc Side-delivered transcatheter heart valve replacement
US11278437B2 (en) 2018-12-08 2022-03-22 Vdyne, Inc. Compression capable annular frames for side delivery of transcatheter heart valve replacement
US12186187B2 (en) 2018-09-20 2025-01-07 Vdyne, Inc. Transcatheter deliverable prosthetic heart valves and methods of delivery
US11071627B2 (en) 2018-10-18 2021-07-27 Vdyne, Inc. Orthogonally delivered transcatheter heart valve frame for valve in valve prosthesis
US10321995B1 (en) 2018-09-20 2019-06-18 Vdyne, Llc Orthogonally delivered transcatheter heart valve replacement
US11109969B2 (en) 2018-10-22 2021-09-07 Vdyne, Inc. Guidewire delivery of transcatheter heart valve
US11253359B2 (en) 2018-12-20 2022-02-22 Vdyne, Inc. Proximal tab for side-delivered transcatheter heart valves and methods of delivery
WO2020146842A1 (en) 2019-01-10 2020-07-16 Vdyne, Llc Anchor hook for side-delivery transcatheter heart valve prosthesis
US11185409B2 (en) 2019-01-26 2021-11-30 Vdyne, Inc. Collapsible inner flow control component for side-delivered transcatheter heart valve prosthesis
US11273032B2 (en) 2019-01-26 2022-03-15 Vdyne, Inc. Collapsible inner flow control component for side-deliverable transcatheter heart valve prosthesis
AU2020231221B2 (en) 2019-03-05 2025-07-31 Vdyne, Inc. Tricuspid regurgitation control devices for orthogonal transcatheter heart valve prosthesis
US11173027B2 (en) 2019-03-14 2021-11-16 Vdyne, Inc. Side-deliverable transcatheter prosthetic valves and methods for delivering and anchoring the same
US11076956B2 (en) 2019-03-14 2021-08-03 Vdyne, Inc. Proximal, distal, and anterior anchoring tabs for side-delivered transcatheter mitral valve prosthesis
AU2020267390B2 (en) 2019-05-04 2025-12-04 Vdyne, Inc. Cinch device and method for deployment of a side-delivered prosthetic heart valve in a native annulus
AU2020334080B2 (en) 2019-08-20 2025-11-27 Vdyne, Inc. Delivery and retrieval devices and methods for side-deliverable transcatheter prosthetic valves
AU2020337235A1 (en) 2019-08-26 2022-03-24 Vdyne, Inc. Side-deliverable transcatheter prosthetic valves and methods for delivering and anchoring the same
US11234813B2 (en) 2020-01-17 2022-02-01 Vdyne, Inc. Ventricular stability elements for side-deliverable prosthetic heart valves and methods of delivery
CN113134116B (zh) * 2020-01-20 2022-09-06 山东威高宏瑞医学科技有限公司 内镜微创手术用的填充组合物及填充制剂
EP4084698A4 (en) 2020-01-24 2024-02-07 Patchclamp Medtech, Inc. TISSUE REPAIR AND CLOSURE DEVICES WITH REMOVABLE GRAFT AND CLAP ASSEMBLY AND METHOD OF USE THEREOF
EP4208168A4 (en) * 2020-09-04 2024-06-12 Memorial Sloan Kettering Cancer Center DRUG-RELEASING ELASTIC BANDS AND LIGATION
CN115300675A (zh) * 2022-03-21 2022-11-08 上海以心医疗器械有限公司 一种药物涂层医疗器械及其制备方法与应用、药物涂层及其应用

Citations (3)

* Cited by examiner, † Cited by third party
Publication number Priority date Publication date Assignee Title
JPH10201853A (ja) * 1997-01-24 1998-08-04 Terumo Corp 生体器官拡張器具
JP2000316983A (ja) * 1999-03-05 2000-11-21 Terumo Corp 生体留置用ステントおよび生体器官拡張器具
US20030204239A1 (en) * 2002-04-26 2003-10-30 Wenda Carlyle Endovascular stent with a preservative coating

Family Cites Families (24)

* Cited by examiner, † Cited by third party
Publication number Priority date Publication date Assignee Title
ZA737247B (en) 1972-09-29 1975-04-30 Ayerst Mckenna & Harrison Rapamycin and process of preparation
US3959078A (en) 1973-05-18 1976-05-25 Midwest Research Institute Enzyme immobilization with a thermochemical-photochemical bifunctional agent
SU1088712A1 (ru) 1979-11-14 1984-04-30 Всесоюзный научно-исследовательский и испытательный институт медицинской техники Аппарат дл циркул рного сшивани кровеносных сосудов
US4368736A (en) 1980-11-17 1983-01-18 Kaster Robert L Anastomotic fitting
US4366819A (en) 1980-11-17 1983-01-04 Kaster Robert L Anastomotic fitting
US4917091A (en) 1982-06-24 1990-04-17 Unilink Ab Annular fastening means
SE431609B (sv) 1982-06-24 1984-02-20 Unilink Ab Kirurgiskt instrument for astadkommande av anastomos och festelement herfor
US4722906A (en) 1982-09-29 1988-02-02 Bio-Metric Systems, Inc. Binding reagents and methods
US4733665C2 (en) 1985-11-07 2002-01-29 Expandable Grafts Partnership Expandable intraluminal graft and method and apparatus for implanting an expandable intraluminal graft
US5234447A (en) 1990-08-28 1993-08-10 Robert L. Kaster Side-to-end vascular anastomotic staple apparatus
US5229172A (en) 1993-01-19 1993-07-20 Medtronic, Inc. Modification of polymeric surface by graft polymerization
US5308641A (en) 1993-01-19 1994-05-03 Medtronic, Inc. Biocompatibility of solid surfaces
US5350800A (en) 1993-01-19 1994-09-27 Medtronic, Inc. Method for improving the biocompatibility of solid surfaces
CH686761A5 (de) * 1993-05-27 1996-06-28 Sandoz Ag Galenische Formulierungen.
US5837313A (en) 1995-04-19 1998-11-17 Schneider (Usa) Inc Drug release stent coating process
US6120536A (en) 1995-04-19 2000-09-19 Schneider (Usa) Inc. Medical devices with long term non-thrombogenic coatings
US6099562A (en) 1996-06-13 2000-08-08 Schneider (Usa) Inc. Drug coating with topcoat
US5924997A (en) 1996-07-29 1999-07-20 Campbell; Thomas Henderson Catheter and method for the thermal mapping of hot spots in vascular lesions of the human body
US6245026B1 (en) 1996-07-29 2001-06-12 Farallon Medsystems, Inc. Thermography catheter
EP1226796B1 (en) 1997-02-03 2005-06-01 Angioguard, Inc. Vascular filter
US6153252A (en) 1998-06-30 2000-11-28 Ethicon, Inc. Process for coating stents
US7029492B1 (en) * 1999-03-05 2006-04-18 Terumo Kabushiki Kaisha Implanting stent and dilating device
US7419678B2 (en) 2000-05-12 2008-09-02 Cordis Corporation Coated medical devices for the prevention and treatment of vascular disease
US20050037048A1 (en) 2003-08-11 2005-02-17 Young-Ho Song Medical devices containing antioxidant and therapeutic agent

Patent Citations (3)

* Cited by examiner, † Cited by third party
Publication number Priority date Publication date Assignee Title
JPH10201853A (ja) * 1997-01-24 1998-08-04 Terumo Corp 生体器官拡張器具
JP2000316983A (ja) * 1999-03-05 2000-11-21 Terumo Corp 生体留置用ステントおよび生体器官拡張器具
US20030204239A1 (en) * 2002-04-26 2003-10-30 Wenda Carlyle Endovascular stent with a preservative coating

Cited By (7)

* Cited by examiner, † Cited by third party
Publication number Priority date Publication date Assignee Title
JP2007152102A (ja) * 2005-12-01 2007-06-21 Cordis Corp 薬理活性剤の制御放出または送達のためのポリマー組成物
JP2010509991A (ja) * 2006-11-20 2010-04-02 ルトニックス・インコーポレ−テッド 医療装置のための薬物放出コーティング
JP2010540159A (ja) * 2007-10-19 2010-12-24 ルトニックス・インコーポレ−テッド 医療装置のための薬物放出コーティング
JP2013500088A (ja) * 2009-07-30 2013-01-07 マイクロポート メディカル (シャンハイ) シーオー., エルティーディー 医療器具に薬剤及び/又はポリマーを搭載する方法及び装置
JP2016510608A (ja) * 2013-03-07 2016-04-11 アボット カーディオバスキュラー システムズ インコーポレイテッド 大環状トリエンラクトン薬物および最少量の抗酸化安定剤を含む埋込型医療機器ならびに製造方法
JP2016520335A (ja) * 2013-03-07 2016-07-14 アボット カーディオバスキュラー システムズ インコーポレイテッド ラパマイシン誘導体を含む埋め込み型医療用デバイスの製造方法
WO2017038925A1 (ja) * 2015-09-03 2017-03-09 日本化薬株式会社 ラパマイシン又はその誘導体を含有する医薬組成物

Also Published As

Publication number Publication date
CA2504258C (en) 2015-06-30
CA2504258A1 (en) 2005-10-14
DE602005026078D1 (de) 2011-03-10
EP1586338A3 (en) 2008-03-26
ATE496643T1 (de) 2011-02-15
JP4832787B2 (ja) 2011-12-07
US20050232964A1 (en) 2005-10-20
EP1586338A2 (en) 2005-10-19
US8007737B2 (en) 2011-08-30
EP1586338B1 (en) 2011-01-26

Similar Documents

Publication Publication Date Title
JP4832787B2 (ja) 薬物溶出式の医療装置における酸化を防ぎ薬物の劣化を減少するための酸化防止剤の使用
JP4987241B2 (ja) Cad治療のためのシロリムスおよびその類似体の溶液配合物
JP5225556B2 (ja) 治療剤との組み合わせにおける内腔内医療装置
JP4990583B2 (ja) 薬物溶出用医療装置のための抗血栓性被膜
JP5615474B2 (ja) Cad治療のためのタキサンの注入可能な配合物
JP5172130B2 (ja) 薄膜ニチノール基材型の薬物溶出式ステント
JP4846246B2 (ja) 脈管の傷害後の再狭窄を防ぐためのラパマイシンとの組み合わせにおけるクラドリビンの局所的脈管配給
JP5362172B2 (ja) 虚血性の再灌流されている心筋層への心臓保護薬の配給用の装置
JP4781681B2 (ja) 脈管の傷害後の再狭窄を防ぐためのラパマイシンとの組み合わせにおけるミコフェノール酸の局所的脈管配給
JP5160066B2 (ja) 脈管の病気の治療のためのラパマイシンおよびシロスタゾールの組み合わせ物の局所的投与
JP5052757B2 (ja) 脈管の傷害後の再狭窄を防ぐためのラパマイシンとの組み合わせにおけるパンゼム(登録商標)の局所的脈管配給
JP4932152B2 (ja) 脈管の傷害後の再狭窄を防止するための単独またはシロリムスとの組み合わせにおけるトリコスタチンの局所的な脈管配給
JP5138303B2 (ja) 治療剤の溶出調整方法
US8182527B2 (en) Heparin barrier coating for controlled drug release
JP5550823B2 (ja) ペルオキシソーム増殖因子活性化受容体刺激剤と組み合わせたmTOR抑制剤の局所脈管送達
JP5398996B2 (ja) 再狭窄、不安定プラーク、腹部大動脈瘤(aaa)、および発作を治療するための、プロブコールの単独またはシロリムスとの組み合わせでの局所脈管送達
JP2005305154A (ja) 脆弱性プラークの治療のためのラパマイシンおよび17ベータ−エストラジオールの組み合わせ物の局所的投与
JP2005288170A (ja) 薬物配給装置
JP2006341101A (ja) 被覆型動脈瘤修復装置
JP2007105466A (ja) 動脈瘤の病気を治療するための内腔内装置および治療剤の組み合わせ物
JP2007037998A (ja) 動脈瘤の病気を治療するためのシステム
JP2005246056A (ja) 医療装置のための放射線保護性の配合物の被膜
JP2008068067A5 (ja)
JP5042460B2 (ja) 脈管の傷害後の再狭窄を防ぐためのラパマイシンとの組み合わせにおけるエトポシドの局所的脈管配給
JP5042458B2 (ja) 脈管の傷害後の再狭窄を防ぐためのラパマイシンとの組み合わせにおけるトポテカンの局所的脈管配給

Legal Events

Date Code Title Description
RD04 Notification of resignation of power of attorney

Free format text: JAPANESE INTERMEDIATE CODE: A7424

Effective date: 20071129

A621 Written request for application examination

Free format text: JAPANESE INTERMEDIATE CODE: A621

Effective date: 20080401

RD04 Notification of resignation of power of attorney

Free format text: JAPANESE INTERMEDIATE CODE: A7424

Effective date: 20080922

A131 Notification of reasons for refusal

Free format text: JAPANESE INTERMEDIATE CODE: A131

Effective date: 20100824

A521 Request for written amendment filed

Free format text: JAPANESE INTERMEDIATE CODE: A523

Effective date: 20101111

A131 Notification of reasons for refusal

Free format text: JAPANESE INTERMEDIATE CODE: A131

Effective date: 20110405

A521 Request for written amendment filed

Free format text: JAPANESE INTERMEDIATE CODE: A523

Effective date: 20110705

TRDD Decision of grant or rejection written
A01 Written decision to grant a patent or to grant a registration (utility model)

Free format text: JAPANESE INTERMEDIATE CODE: A01

Effective date: 20110906

A01 Written decision to grant a patent or to grant a registration (utility model)

Free format text: JAPANESE INTERMEDIATE CODE: A01

A61 First payment of annual fees (during grant procedure)

Free format text: JAPANESE INTERMEDIATE CODE: A61

Effective date: 20110921

R150 Certificate of patent or registration of utility model

Ref document number: 4832787

Country of ref document: JP

Free format text: JAPANESE INTERMEDIATE CODE: R150

Free format text: JAPANESE INTERMEDIATE CODE: R150

FPAY Renewal fee payment (event date is renewal date of database)

Free format text: PAYMENT UNTIL: 20140930

Year of fee payment: 3

R250 Receipt of annual fees

Free format text: JAPANESE INTERMEDIATE CODE: R250

R250 Receipt of annual fees

Free format text: JAPANESE INTERMEDIATE CODE: R250

R250 Receipt of annual fees

Free format text: JAPANESE INTERMEDIATE CODE: R250

R250 Receipt of annual fees

Free format text: JAPANESE INTERMEDIATE CODE: R250

S531 Written request for registration of change of domicile

Free format text: JAPANESE INTERMEDIATE CODE: R313531

R350 Written notification of registration of transfer

Free format text: JAPANESE INTERMEDIATE CODE: R350

S111 Request for change of ownership or part of ownership

Free format text: JAPANESE INTERMEDIATE CODE: R313113

R360 Written notification for declining of transfer of rights

Free format text: JAPANESE INTERMEDIATE CODE: R360

R360 Written notification for declining of transfer of rights

Free format text: JAPANESE INTERMEDIATE CODE: R360

R371 Transfer withdrawn

Free format text: JAPANESE INTERMEDIATE CODE: R371

S111 Request for change of ownership or part of ownership

Free format text: JAPANESE INTERMEDIATE CODE: R313113

R350 Written notification of registration of transfer

Free format text: JAPANESE INTERMEDIATE CODE: R350

R250 Receipt of annual fees

Free format text: JAPANESE INTERMEDIATE CODE: R250

R250 Receipt of annual fees

Free format text: JAPANESE INTERMEDIATE CODE: R250

R250 Receipt of annual fees

Free format text: JAPANESE INTERMEDIATE CODE: R250

R250 Receipt of annual fees

Free format text: JAPANESE INTERMEDIATE CODE: R250

R250 Receipt of annual fees

Free format text: JAPANESE INTERMEDIATE CODE: R250

LAPS Cancellation because of no payment of annual fees