JP2005295632A - 電源システム及びそれを搭載した電気機器 - Google Patents
電源システム及びそれを搭載した電気機器 Download PDFInfo
- Publication number
- JP2005295632A JP2005295632A JP2004104474A JP2004104474A JP2005295632A JP 2005295632 A JP2005295632 A JP 2005295632A JP 2004104474 A JP2004104474 A JP 2004104474A JP 2004104474 A JP2004104474 A JP 2004104474A JP 2005295632 A JP2005295632 A JP 2005295632A
- Authority
- JP
- Japan
- Prior art keywords
- power supply
- standby
- main
- main power
- supply system
- Prior art date
- Legal status (The legal status is an assumption and is not a legal conclusion. Google has not performed a legal analysis and makes no representation as to the accuracy of the status listed.)
- Pending
Links
- 238000009499 grossing Methods 0.000 description 16
- 238000010586 diagram Methods 0.000 description 4
- 238000001514 detection method Methods 0.000 description 3
- 230000015556 catabolic process Effects 0.000 description 1
- 238000006243 chemical reaction Methods 0.000 description 1
- 230000007423 decrease Effects 0.000 description 1
- 239000002699 waste material Substances 0.000 description 1
Images
Classifications
-
- Y—GENERAL TAGGING OF NEW TECHNOLOGICAL DEVELOPMENTS; GENERAL TAGGING OF CROSS-SECTIONAL TECHNOLOGIES SPANNING OVER SEVERAL SECTIONS OF THE IPC; TECHNICAL SUBJECTS COVERED BY FORMER USPC CROSS-REFERENCE ART COLLECTIONS [XRACs] AND DIGESTS
- Y02—TECHNOLOGIES OR APPLICATIONS FOR MITIGATION OR ADAPTATION AGAINST CLIMATE CHANGE
- Y02B—CLIMATE CHANGE MITIGATION TECHNOLOGIES RELATED TO BUILDINGS, e.g. HOUSING, HOUSE APPLIANCES OR RELATED END-USER APPLICATIONS
- Y02B70/00—Technologies for an efficient end-user side electric power management and consumption
- Y02B70/10—Technologies improving the efficiency by using switched-mode power supplies [SMPS], i.e. efficient power electronics conversion e.g. power factor correction or reduction of losses in power supplies or efficient standby modes
Landscapes
- Television Receiver Circuits (AREA)
- Direct Current Feeding And Distribution (AREA)
- Dc-Dc Converters (AREA)
Abstract
【課題】通常動作状態とスタンバイ動作状態とで動作可能とされた機器に駆動電源を供給する電源システム及び電気機器に関し、スタンバイ時の消費電力を大幅に低減させることができる電源システム及び電気機器を提供することを目的とする。
【解決手段】 本発明は、通常動作状態とスタンバイ動作状態とで動作可能とされた機器(13)に駆動電源を供給する電源システムにおいて、入力電源から機器(13)を通常動作させるメイン電源を生成するメイン電源装置(12)と、メイン電源装置(12)とは独立したユニットとされ、メイン電源装置(12)より電源供給能力の低い構成とされ、入力電源から、機器(13)をスタンバイ動作可能とするスタンバイ電源を生成するスタンバイ電源装置(10)と、機器が通常動作状態の時には入力電源をメイン電源装置(12)に供給し、機器(13)がスタンバイ動作状態の時には入力電源のメイン電源装置(12)への供給を停止させる切換手段(11)とを有することを特徴とする
【選択図】 図1
【解決手段】 本発明は、通常動作状態とスタンバイ動作状態とで動作可能とされた機器(13)に駆動電源を供給する電源システムにおいて、入力電源から機器(13)を通常動作させるメイン電源を生成するメイン電源装置(12)と、メイン電源装置(12)とは独立したユニットとされ、メイン電源装置(12)より電源供給能力の低い構成とされ、入力電源から、機器(13)をスタンバイ動作可能とするスタンバイ電源を生成するスタンバイ電源装置(10)と、機器が通常動作状態の時には入力電源をメイン電源装置(12)に供給し、機器(13)がスタンバイ動作状態の時には入力電源のメイン電源装置(12)への供給を停止させる切換手段(11)とを有することを特徴とする
【選択図】 図1
Description
本発明は電源システム及びそれを搭載した電気機器に係り、特に、通常動作状態とスタンバイ動作状態とで動作可能とされた機器に駆動電源を供給する電源システム及びそれを搭載した電気機器に関する。
テレビ、ステレオ等の電気機器は、リモコンなどによりメイン電源をオン/オフすることが可能な構成とされている。このため、電気機器は、メイン電源がオフされた後でもリモコンによるメイン電源投入操作によりメイン電源がオンできるように、必要最小限の回路が動作状態にある。この状態をスタンバイ動作状態という。よって、スタンバイ動作状態においても必要最小限の回路を動作させるために、電源を供給する必要があった。
スタンバイ動作時の電源、スタンバイ電源は、通常動作時に供給されているメイン電源に比べて電流供給能力が小さくて済む。このため、スタンバイ動作にメイン電源を使用すると、トランスの変換効率などにより、電源装置で無駄な電力が消費される。
スタンバイ動作時の消費電力の無駄を低減するために、トランスにスイッチング素子を接続し、負荷電流を検出することにより、スタンバイ動作時であることを検出し、スタンバイ動作時にスイッチング素子を制御することによりトランスを間欠動作させることにより、消費電力を低減する電源装置があった(特許文献1参照)。
しかしながら、電源装置はその電源供給能力が大きいければ、装置の持つ基本的な損失が大きくなる。このため、電気機器のスタンバイ動作の消費電力を低下させても、電源装置の消費電力を十分に低減することはできず、よって、スタンバイ動作時の消費電力の低減を抑制されている。また、電気機器のスタンバイ動作時の消費電力が低下する程、電源装置の損失が相対的に大きく見えることになる。
本発明は上記の点に鑑みてなされたもので、スタンバイ時の消費電力を大幅に低減させることができる電源システム及びそれを搭載した電気機器を提供することを目的とする。
本発明は、通常動作状態とスタンバイ動作状態とで動作可能とされた機器(13)に駆動電源を供給する電源システムにおいて、入力電源から、機器(13)を通常動作させるメイン電源を生成するメイン電源装置(12)と、メイン電源装置(12)とは独立したユニットとされ、メイン電源装置(12)より電源供給能力の低い構成とされ、入力電源から、機器(13)をスタンバイ動作させるスタンバイ電源を生成するスタンバイ電源装置(10)と、機器が通常動作状態の時には入力電源をメイン電源装置(12)に供給し、機器(13)がスタンバイ動作状態の時には入力電源のメイン電源装置(12)への供給を停止させる切換手段(11)とを有することを特徴とする。
スタンバイ電源装置(10)は、スイッチングレギュレータ方式の電源回路で構成されることを特徴とする。また、スタンバイ電源装置(10)は、電力供給能力が0.1ワット以下であることを特徴とする。さらに、スタンバイ電源装置(10)は、コネクタ(CN)により着脱可能に搭載されたことを特徴とする。
また、本発明は、電気機器に、上記ような電源システムを搭載したことを特徴とするものである。
なお、上記括弧内の参照符号は、理解を容易にするために付したものであり、一例にすぎず、符号によって、特許請求の範囲が限定されるものではない。
本発明によれば、機器がスタンバイ動作状態になると、動作切換手段によりメイン電源への入力電源の供給を停止させ、メイン電源装置とは独立したユニットとされ、メイン電源装置より電源供給能力の低い構成とされており、少なくとも機器のスタンバイ動作時に、入力電源から、機器をスタンバイ動作可能とするスタンバイ電源により機器にスタンバイ電源を供給するため、電気機器のスタンバイ時の消費電力を大幅に低減させることができる。また、スタンバイ電源装置は、メイン電源装置とは独立した装置であり、入力電源からスタンバイ電源を生成できるため、容易に各種システムに搭載できる。
以下、本発明の実施の形態を図面に基づいて説明する。
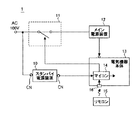
図1は本発明の一実施例のシステム構成図を示す。
本実施例のシステム1は、スタンバイ電源装置10、切換装置11、メイン電源装置12、電気機器本体13から構成されている。
スタンバイ電源装置10は、メイン電源装置12とは独立したプリント配線板(PWB)上に形成され、独立したユニットとして構成され、コネクタCNによりAC100Vの入力電源及び電気機器本体13に接続可能とされている。スタンバイ電源装置10は、AC100Vの入力電源から所定の直流電圧のスタンバイ電源を生成する。
図2はスタンバイ電源装置10のブロック構成図を示す。
スタンバイ電源装置10は、整流平滑回路20、スイッチング部21、トランス22、整流平滑回路23、電圧検出回路24、フォトカプラ25、制御回路26から構成され、いわゆる、スイッチングレギュレータ方式の電源回路を構成している。
整流平滑回路20には、AC100Vの入力電源が供給される。整流平滑回路20は、AC100Vの入力電源を整流平滑化して、スイッチング部21に供給する。スイッチング部21は、制御回路26からのスイッチングパルスに応じてスイッチングされ、整流平滑回路20で整流平滑化された直流のトランス22への供給を制御する。
トランス22は、スイッチング部21により1次コイルL1に流れる電流が制御され、これによって、2次コイルL2に流れる発生する電圧が制御される。2次コイルL2に発生した電圧は、整流平滑回路23に供給される。整流平滑回路23は、トランス22の2次コイルL2に発生する電圧を整流平滑化して、スタンバイ電源として出力する。スタンバイ電源は、電気機器本体13に供給される。スタンバイ電源は、電気機器本体13内部で、スタンバイ動作時に給電が必要とされる回路を駆動するために用いられる。
なお、例えば、メイン電源装置12では負荷がない状態であっても、装置自体の消費電力が5W程度存在する。これに対して、スタンバイ電源装置10はスタンバイ状態においても装置自体の消費電力は0.1W以下にすることができる。
電気機器本体13には、少なくとも、マイコン14、及び、受光素子16が内蔵されている。電源機器本体13に内蔵されたマイコン14、受光素子16などは、スタンバイ動作時にリモコン15からの操作を検出する必要があり、スタンバイ電源給電が必要とされる回路に相当する。
受光素子16は、リモコン15からの赤外線を受光し、受光した赤外線に応じた電気信号をマイコン14に供給する。マイコン14は、受光素子16から供給された電気信号を解析して、リモコン15の操作に応じて切換装置11及び電気機器本体13内部の他の回路の動作を制御する。
電圧検出回路24は、整流平滑回路23の出力電圧を検出し、整流平滑回路23の出力電圧レベルに応じてフォトカプラ25の発光ダイオード25aを発光させる。フォトカプラ25は、発光ダイオード25aに対向してフォトトランジスタ25bが配置されており、発光ダイオード25aの発光量に応じた電流をコレクタから引き込む。
フォトカプラ25を構成するフォトトランジスタ25bは制御回路26に接続されている。制御回路26は、フォトカプラ25のフォトトランジスタ25bから引き込まれる電流に応じてスイッチング部21に供給するスイッチングパルスのパルス幅を制御する。
制御回路26は、整流平滑回路23の出力電圧が大きくなると、1次コイルL1に電流を流す期間が短くなり、整流平滑回路23の出力電圧が小さくなると、1次コイルL1に電流を流す期間が長くなるようにスイッチング部21に供給するスイッチングパルスのパルス幅を制御する。これによって、整流平滑回路23の出力電圧が一定となるように制御している。
このとき、スタンバイ電源装置10は、0.1W以下の電力が供給できればよく、また、電圧変動なども小さく、さらに、負荷がマイコンなどであるので、出力電圧を低電圧にすることができる。よって、トランス22を始めとして、メイン電源装置12に比べて低い電源供給能力で素子の特性、耐圧が決定されている。
例えば、整流平滑回路20、23のキャパシタンスがメイン電源装置12に比べて小さくされている。また、トランス22がメイン電源装置12に比べて小型にされている。また、スイッチング部21を構成するトランジスタ、フォトカプラ25などは、耐圧などが小さい部品が用いられている。
切換装置11は、リレーなどから構成され、一端に入力電源が供給され、他端がメイン電源装置12に接続されている。切換装置11は、電気機器本体13に内蔵されたマイコン14からの指示に応じて一端と他端との接続をオン/オフする。
メイン電源装置12は、例えば、スイッチングレギュレータ方式の電源回路から構成され、切換装置11がオンし、入力電源が供給されているときに、電気機器本体13を通常動作状態で駆動するのに十分な電源を生成し、電気機器本体13に供給する。また、メイン電源装置12は、電気機器本体13の通常動作時に電源を供給するため、比較的大きな負荷に対応する必要があった。このため、例えば、整流平滑回路のキャパシタンスがスタンバイ電源装置10に比べて大きくされている。また、トランスがスタンバイ電源装置10に比べて大型化されている。また、トランスの一次コイルに流れる電流をスイッチングするスイッチング部を構成するトランジスタ、フィードバックを行うフォトカプラなども耐圧などが大きい部品が用いられている。
メイン電源装置12で生成されたメイン電源は、電気機器本体13に供給される。メイン電源装置12からのメイン電源は、電気機器本体13の少なくともマイコン14、及び、受光素子16を除く、他の回路に供給される。電気機器本体13の少なくともマイコン14、及び、受光素子16を除く、他の回路は、メイン電源装置12からのメイン電源によって駆動される。
次に、システム1の動作を説明する。
図3は本発明の一実施例の動作説明図である。図3(A)は、電気機器本体13が通常動作時のシステムの状態、図3(B)は電気機器本体13がスタンバイ動作時のシステム状態を示す。
通常動作時には、図3(A)に示されるように、切換装置11がオンし、入力電源がスタンバイ電源装置10及びメイン電源装置12の両方に供給される。これによって、スタンバイ電源装置10で生成されたスタンバイ電源が電気機器本体13のマイコン14などに供給され、かつ、メイン電源装置12で生成されたメイン電源が電気機器本体13の少なくともマイコン14、及び、受光素子16を除く、他の回路に供給される。
以上により、電気機器本体13は、メイン電源投入状態となり、通常動作が行われる。このとき、マイコン14にはスタンバイ電源装置10からスタンバイ電源が供給され、リモコン15の操作が認識可能となる。よって、リモコン15の操作によって電気機器本体13の操作が可能となる。
ここで、リモコン15の操作によって、メイン電源の切断が指示されると、図3(B)に示されるように、マイコン14は切換装置11をオフさせる。切換装置11がオフされると、入力電源がメイン電源装置12に供給されなくなる。メイン電源装置12は、入力電源が供給されなくなると、メイン電源の生成を停止する。よって、電気機器装置本体13には、メイン電源が供給されなくなる。
なお、スタンバイ電源装置10には、切換装置11の状態によらず、入力電源が供給されるため、スタンバイ電源装置10はスタンバイ電源を生成しつづける。このため、切換装置11がオフしてもの電気機器本体13のマイコン14などには、スタンバイ電源が供給される。
本実施例によれば、電気機器本体13がリモコン15などの操作によりスタンバイ動作状態とされたときに、メイン電源装置12の動作を停止させ、メイン電源装置12とは独立したユニットとされ、メイン電源装置12より電源供給能力の低い構成とされたスタンバイ電源装置13により電気機器本体13にスタンバイ電源を供給することにより、電源装置での消費電力を大幅に低減できる。
また、スタンバイ電源装置10は、ユニット化されており、メイン電源装置12とは別体のユニットとして形成されており、コネクタCNにより容易に着脱可能な構成とされている。このため、メイン電源装置12を搭載している既存の電気機器に容易に搭載することが可能となる。また、故障時などに容易に交換可能であり、保守性に優れている。
1 システム
10 スタンバイ電源装置
11 スイッチング部
12 メイン電源装置
13 電気機器本体
14 マイコン
15 リモコン
16 受信部
20 整流平滑回路
21 スイッチング部
22 トランス
23 整流平滑回路
24 電圧検出回路
25 フォトカプラ
25a 発光ダイオード
25b フォトトランジスタ
26 制御回路
CN コネクタ
10 スタンバイ電源装置
11 スイッチング部
12 メイン電源装置
13 電気機器本体
14 マイコン
15 リモコン
16 受信部
20 整流平滑回路
21 スイッチング部
22 トランス
23 整流平滑回路
24 電圧検出回路
25 フォトカプラ
25a 発光ダイオード
25b フォトトランジスタ
26 制御回路
CN コネクタ
Claims (5)
- 通常動作状態とスタンバイ動作状態とで動作可能とされた機器に駆動電源を供給する電源システムにおいて、
入力電源から、前記機器を通常動作させるメイン電源を生成するメイン電源装置と、
前記メイン電源装置とは独立したユニットとされ、前記メイン電源装置より電源供給能力の低い構成とされており、前記入力電源から、前記機器をスタンバイ動作させるスタンバイ電源を生成するスタンバイ電源装置と、
前記機器が前記通常動作状態の時には前記入力電源を前記メイン電源装置に供給し、前記機器が前記スタンバイ動作状態の時には前記入力電源の前記メイン電源装置への供給を停止させる動作切換手段とを有することを特徴とする電源システム。 - 前記スタンバイ電源装置は、スイッチングレギュレータ方式の電源回路で構成されることを特徴とする請求項1記載の電源システム。
- 前記スタンバイ電源装置は、電力供給能力が0.1ワット以下であることを特徴とする請求項1又は2記載の電源システム。
- 前記スタンバイ電源装置は、コネクタにより着脱可能に搭載されたことを特徴とする請求項1乃至3のいずれか一項記載の電源システム。
- 請求項1乃至4のいずれか一項記載の電源システムが搭載されたことを特徴とする電気機器。
Priority Applications (1)
| Application Number | Priority Date | Filing Date | Title |
|---|---|---|---|
| JP2004104474A JP2005295632A (ja) | 2004-03-31 | 2004-03-31 | 電源システム及びそれを搭載した電気機器 |
Applications Claiming Priority (1)
| Application Number | Priority Date | Filing Date | Title |
|---|---|---|---|
| JP2004104474A JP2005295632A (ja) | 2004-03-31 | 2004-03-31 | 電源システム及びそれを搭載した電気機器 |
Publications (1)
| Publication Number | Publication Date |
|---|---|
| JP2005295632A true JP2005295632A (ja) | 2005-10-20 |
Family
ID=35327970
Family Applications (1)
| Application Number | Title | Priority Date | Filing Date |
|---|---|---|---|
| JP2004104474A Pending JP2005295632A (ja) | 2004-03-31 | 2004-03-31 | 電源システム及びそれを搭載した電気機器 |
Country Status (1)
| Country | Link |
|---|---|
| JP (1) | JP2005295632A (ja) |
Cited By (3)
| Publication number | Priority date | Publication date | Assignee | Title |
|---|---|---|---|---|
| WO2007063788A1 (ja) * | 2005-12-01 | 2007-06-07 | Mitsumi Electric Co., Ltd. | スイッチング電源装置およびその起動方法 |
| WO2011002062A1 (ja) * | 2009-07-02 | 2011-01-06 | ローム株式会社 | 電源制御装置、電源システムおよび電子機器 |
| WO2021103100A1 (zh) * | 2019-11-29 | 2021-06-03 | 苏州贝昂科技有限公司 | 功耗控制装置的控制方法 |
-
2004
- 2004-03-31 JP JP2004104474A patent/JP2005295632A/ja active Pending
Cited By (13)
| Publication number | Priority date | Publication date | Assignee | Title |
|---|---|---|---|---|
| CN101317323B (zh) * | 2005-12-01 | 2012-06-20 | 三美电机株式会社 | 开关电源装置及其起动方法 |
| JP2007159200A (ja) * | 2005-12-01 | 2007-06-21 | Mitsumi Electric Co Ltd | スイッチング電源装置 |
| US7830675B2 (en) | 2005-12-01 | 2010-11-09 | Mitsumi Electric Co., Ltd. | Switching power supply device and method of starting the same |
| WO2007063788A1 (ja) * | 2005-12-01 | 2007-06-07 | Mitsumi Electric Co., Ltd. | スイッチング電源装置およびその起動方法 |
| WO2011002062A1 (ja) * | 2009-07-02 | 2011-01-06 | ローム株式会社 | 電源制御装置、電源システムおよび電子機器 |
| CN102474188A (zh) * | 2009-07-02 | 2012-05-23 | 罗姆股份有限公司 | 电源控制装置、电源系统和电子设备 |
| JP2011015540A (ja) * | 2009-07-02 | 2011-01-20 | Rohm Co Ltd | 電源制御装置、電源システムおよび電子機器 |
| US8854838B2 (en) | 2009-07-02 | 2014-10-07 | Rohm Co., Ltd. | Power supply control device, power supply system and eletronic device |
| EP2451066A4 (en) * | 2009-07-02 | 2014-12-10 | Rohm Co Ltd | POWER SUPPLY DEVICE, POWER SUPPLY SYSTEM AND ELECTRONIC DEVICE |
| CN102474188B (zh) * | 2009-07-02 | 2015-06-10 | 罗姆股份有限公司 | 电源控制装置、电源系统和电子设备 |
| US9529418B2 (en) | 2009-07-02 | 2016-12-27 | Rohm Co., Ltd. | Power supply control device, power supply system and electronic device |
| KR101772237B1 (ko) * | 2009-07-02 | 2017-08-28 | 로무 가부시키가이샤 | 전원 제어 장치, 전원 시스템 및 전자 기기 |
| WO2021103100A1 (zh) * | 2019-11-29 | 2021-06-03 | 苏州贝昂科技有限公司 | 功耗控制装置的控制方法 |
Similar Documents
| Publication | Publication Date | Title |
|---|---|---|
| JP6433652B2 (ja) | 電源装置及び電気機器 | |
| US6333862B1 (en) | Switched mode power supply and controlling method thereof | |
| KR101538675B1 (ko) | 디스플레이장치 및 그 전원공급방법 | |
| US8085560B2 (en) | Power supply apparatus | |
| JP2003284340A5 (ja) | 電源装置 | |
| JP2010068631A (ja) | 減電圧検出回路及びスイッチング電源システム | |
| JP2000181430A (ja) | モニタの節電回路及び節電方法 | |
| US8203278B2 (en) | Power supply for light emitting diode display | |
| JP2010063293A (ja) | 省電力電源装置 | |
| US10910941B2 (en) | AC/DC converter, luminaire and method providing an improved start-up circuit | |
| KR20110044935A (ko) | 디스플레이장치 및 그 전원공급방법 | |
| JP5119576B2 (ja) | プロジェクタ | |
| JP2005295632A (ja) | 電源システム及びそれを搭載した電気機器 | |
| JP2008141895A (ja) | スイッチング電源回路及び空気調和器 | |
| JP2008245444A (ja) | スイッチング電源装置 | |
| JP2006101597A (ja) | 電源回路 | |
| JP2006340429A (ja) | スイッチングレギュレータおよびマイクロコントローラを備えた機器 | |
| KR100636550B1 (ko) | 프리 볼테이지 방식 스위칭모드 전원공급장치 | |
| JP2005073486A (ja) | スイッチング電源装置 | |
| JP2002315319A (ja) | スイッチング電源装置 | |
| JP5915471B2 (ja) | スイッチング電源 | |
| JP4377893B2 (ja) | スイッチング電源装置 | |
| JP4720013B2 (ja) | 電子電気機器 | |
| KR20010058420A (ko) | 스위칭모드전원장치의 대기전력 저감장치 | |
| JP2007329996A (ja) | スイッチング電源装置 |