JP2005294982A - スピーカおよびこれを用いたモジュール、電子機器および装置 - Google Patents

スピーカおよびこれを用いたモジュール、電子機器および装置 Download PDF

Info

Publication number
JP2005294982A
JP2005294982A JP2004103775A JP2004103775A JP2005294982A JP 2005294982 A JP2005294982 A JP 2005294982A JP 2004103775 A JP2004103775 A JP 2004103775A JP 2004103775 A JP2004103775 A JP 2004103775A JP 2005294982 A JP2005294982 A JP 2005294982A
Authority
JP
Japan
Prior art keywords
diaphragm
edge
speaker
speaker according
guide
Prior art date
Legal status (The legal status is an assumption and is not a legal conclusion. Google has not performed a legal analysis and makes no representation as to the accuracy of the status listed.)
Granted
Application number
JP2004103775A
Other languages
English (en)
Other versions
JP4305246B2 (ja
Inventor
Takanori Fukuyama
敬則 福山
Tomoyasu Takase
智康 高瀬
Koji Sano
浩司 佐野
Hiroshi Yano
博 矢野
Masanori Nakano
昌則 中野
Shigeru Tomoe
繁 友枝
Kazuki Honda
一樹 本田
Kazuya Yamazaki
一也 山崎
Kazutaka Kubo
和隆 久保
Takeshi Shimokawatoko
剛 下川床
Masahide Sumiyama
昌英 隅山
Current Assignee (The listed assignees may be inaccurate. Google has not performed a legal analysis and makes no representation or warranty as to the accuracy of the list.)
Panasonic Holdings Corp
Original Assignee
Matsushita Electric Industrial Co Ltd
Priority date (The priority date is an assumption and is not a legal conclusion. Google has not performed a legal analysis and makes no representation as to the accuracy of the date listed.)
Filing date
Publication date
Priority to JP2004103775A priority Critical patent/JP4305246B2/ja
Application filed by Matsushita Electric Industrial Co Ltd filed Critical Matsushita Electric Industrial Co Ltd
Priority to US10/590,144 priority patent/US7548632B2/en
Priority to CN200580005809.2A priority patent/CN1922919A/zh
Priority to EP05726703A priority patent/EP1703768A4/en
Priority to PCT/JP2005/004763 priority patent/WO2005099305A1/ja
Priority to KR1020067015750A priority patent/KR100799008B1/ko
Priority to TW094108936A priority patent/TW200539725A/zh
Publication of JP2005294982A publication Critical patent/JP2005294982A/ja
Priority to US12/464,530 priority patent/US7877856B2/en
Application granted granted Critical
Publication of JP4305246B2 publication Critical patent/JP4305246B2/ja
Anticipated expiration legal-status Critical
Expired - Fee Related legal-status Critical Current

Links

Images

Landscapes

  • Audible-Bandwidth Dynamoelectric Transducers Other Than Pickups (AREA)
  • Diaphragms For Electromechanical Transducers (AREA)

Abstract

【課題】本発明は音響機器に使用されるスピーカ、スピーカモジュールさらには電子機器および装置に関するものであり、スピーカや電子機器の小型化が課題であった。
【解決手段】本発明は、エッジ29の振動板27との結合部は、振動板27の外周のボイスコイル28の結合位置よりも内周側に設け、振動板27とエッジ29のクロスオーバー部を有し、このクロスオーバー部は、エッジ29の振動板27への接着部を除いても尚クロスオーバー部を確保してスピーカを構成することにより、マグネット21およびエッジ29の寸法を小さくすることなく、スピーカの小型化を図ることができる構成としたものである。
【選択図】図1

Description

本発明は各種音響機器や情報通信機器に使用されるスピーカやモジュールおよび携帯電話やゲーム機器等の電子機器および装置に関するものである。
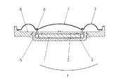
従来の技術を図11により説明する。図11は従来のスピーカの断面図である。図11に示すように、着磁されたマグネット1を上部プレート2およびヨーク3により挟み込んで内磁型の磁気回路4を構成している。この磁気回路4のヨーク3にフレーム6を結合している。
このフレーム6の周縁部に、樹脂フィルムから構成された振動板7を結合し、この振動板7にボイスコイル8を結合するとともに、上記磁気回路4の磁気ギャップ5にはまり込むように結合している。ここで、この振動板7は、1枚の樹脂フィルムシートで振動板7と、その外周にエッジ部9を一体に形成して構成していた。
尚、この出願の発明に関する先行技術文献情報としては、例えば、特許文献1が知られている。
実開昭57−111196号公報
上述のスピーカは、そのセットである携帯電話等の電子機器の小型化が市場より強く要請されている。よって、これら電子機器の小型化には、スピーカの小型化が必要不可欠である。
ところが、スピーカの小型化を図るために、1枚の樹脂フィルムシートで振動板7と、その外周にエッジ部9を一体に形成した構成としている場合は、振動板7を小さくするか、エッジ部9を小さくするか、その両方を小さくするかの選択肢しかない。
いずれにしても、この選択肢全てがスピーカの性能劣化につながってしまうことになる。すなわち、振動板7を小さくした場合には、ボイスコイル8も小さくなり、当然のことながら、このボイスコイル8の中に配置しているマグネット1のサイズも小さいものとなる。よって、マグネット1のエネルギーダウンによりスピーカの音圧レベルが低下してしまい、もう1つの市場要求である音圧レベル向上は望めなくなる。
一方、エッジ部9を小さくした場合には、振動系の振幅ストロークも小さいものとなり、スピーカのリニアリティーも劣化するため、耐入力特性を低下させるものとなる。
いずれにしても、スピーカの小型化を図ろうとすると、音圧レベルの低下や耐入力特性の低下というように、その性能劣化を招くという課題を有するものであった。
本発明は前記した課題を解決し、マグネットの小型化によるスピーカの音圧レベル低下をなくし、エッジの振幅ストロークも確保でき、スピーカの耐入力特性を低下させることのない優れたスピーカを提供することを目的とするものである。
上記目的を達成するために、本発明は、磁気回路に結合されたフレームと、このフレームの外周部に結合されたエッジと、このエッジに結合された振動板と、この振動板の外周に結合されるとともに、その一部が磁気回路の磁気ギャップに配置されたボイスコイルによりスピーカを構成している。
そして、エッジの振動板との結合部は、振動板の外周のボイスコイル結合位置よりも内周側に設け、振動板とエッジのクロスオーバー部を有して構成したものである。このクロスオーバー部は、エッジの振動板への接着部を除いても、尚クロスオーバー部を確保して構成している。
この構成により、エッジの振動板への接着部を除く、振動板とエッジのクロスオーバー部を設けることにより、振動板のボイスコイルとの結合部である外形寸法を小さくすることなく構成でき、マグネットを小さくする必要がなくなる。
また、エッジの寸法も小さくすることなく、スピーカの小型化を図ることができる。すなわち、振動板とエッジのクロスオーバー部を設けることにより、このクロスオーバー部と同寸法のスピーカ外形寸法の小型化を図ることができる。
以上の構成により、スピーカの小型化を図っても、マグネットの小型化を図る必要がなく、スピーカの音圧レベル低下をなくすことができる。
また、エッジ寸法の小型化を図る必要もなく、振動系の振幅ストロークも確保でき、スピーカの耐入力特性低下をなくすことができる。
以上のように本発明は、エッジの振動板との結合部は、振動板の外周のボイスコイル結合位置よりも内周側に設け、振動板とエッジのクロスオーバー部を有してスピーカを構成したものである。そして、このクロスオーバー部は、エッジの振動板への接着部を除いても、尚クロスオーバー部を確保して構成している。
この構成により、エッジの振動板への接着部を除く、振動板とエッジのクロスオーバー部を設けることにより、振動板のボイスコイルとの結合部である外形寸法を小さくすることなく構成でき、よって、マグネットを小さくする必要がなくなる。また、エッジの寸法も小さくすることなく、スピーカの小型化を図ることができる。以上の構成により、スピーカの音圧レベルと耐入力特性を確保したまま、スピーカの小型化を実現することができる。
以下、本発明の実施の形態について図面を用いて説明する。
(実施の形態1)
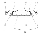
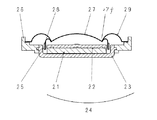
以下、実施の形態1を用いて、本発明の特に請求項1および請求項8から請求項14に記載の発明について説明する。図1は、本発明の一実施の形態のスピーカの断面図を示したものである。図1に示すように、着磁されたマグネット21を上部プレート22およびヨーク23により挟み込んで内磁型の磁気回路24を構成している。この磁気回路24のヨーク23にフレーム26を結合している。このフレーム26の周縁部にエッジ29の外周を接着し、このエッジ29の内周を振動板27に結合して構成している。
この振動板27には、その外周部にボイスコイル28を結合するとともに、このボイスコイル28が上記磁気回路24の磁気ギャップ25にはまり込むように構成している。
ここで、エッジ29の振動板27との結合部は、振動板27の外周のボイスコイル28の結合位置よりも内周側に設け、振動板27とエッジ29のクロスオーバー部を有して構成したものである。そして、このクロスオーバー部は、エッジ29の振動板27への接着部を除いても尚クロスオーバー部を確保して構成している。
この構成により、エッジ29の振動板27への接着部を除く、振動板27とエッジ29のクロスオーバー部を設けることにより、振動板27のボイスコイル28との結合部である外形寸法を小さくすることなく構成でき、マグネット21を小さくする必要がなくなる。
また、エッジ29の寸法も小さくすることなく、スピーカの小型化を図ることができる。すなわち、振動板27とエッジ29のクロスオーバー部を設けることにより、このクロスオーバー部と同寸法のスピーカ外形寸法の小型化を図ることができる。
以上の構成により、スピーカの小型化を図っても、マグネット21の小型化を図る必要がなく、スピーカの音圧レベル低下をなくすことができる。
また、エッジ29の寸法の小型化を図る必要もなく、振動系の振幅ストロークも確保でき、スピーカの耐入力特性低下をなくすことができる。よって、スピーカの音圧レベルと耐入力特性を確保したまま、スピーカの小型化を実現することができる。
また、ここで使用している振動板27とエッジ29の材料については、シート材料を成形したものを用いている。一般的には樹脂シートが多く、中でもPEN、PEI、PAIというような高分子フィルムシートがよく用いられている。
これらの樹脂シートの使用により、樹脂材料のインジェクション成形品と比較すると、軽量化による音圧レベル向上と、プレス成形や真空成形または圧空成形等の簡単な生産工程で成形できるため、生産性の向上を図ることができる。
以上、樹脂系のシート材料について説明したが、これに限定されることなく、金属材料や布、紙系のシート材料を用いても、その材料物性に応じたそれぞれの特有の効果を出すことができる。
さらに、従来品と比較すると、従来の振動板は、1枚の樹脂フィルムシートで振動板27と、その外周にエッジ29を一体に形成して構成していた。そのため、振動板27とエッジ29は同じ材料に限定され、しかも1枚の樹脂フィルムシートで構成されている関係上、その材厚の変更も困難である。従って、振動板27とエッジ29の材料物性値を異ならせることは非常に困難である。
これに対して本実施の形態では、振動板27とエッジ29の材料を異なる材料により構成しているため、各々の材料物性値を自由にコントロールすることができる。よって、振動板27には、本来の振動板としての必要な物性値を設定することができ、エッジ29には、本来のエッジとしての必要な物性値を設定することができる。
エッジ29を振動板27より材厚的に薄い材料に設定した場合は、厚い振動板27の効果として、ボイスコイル28の振動を材厚的に剛性のある厚い振動板27により高域限界周波数を伸長させながら高忠実再生することができる。そして、薄いエッジ29の効果として、ボイスコイル28と振動板27を振動しやすくすることで、F0値を低く設定でき、低音を有利に再生することができる。
また、エッジ29を振動板27より柔らかい材料に設定した場合も、前記同様、硬い振動板27の効果として、ボイスコイル28の振動を剛性のある振動板27により高域限界周波数を伸長させながら高忠実再生することができる。そして、柔らかいエッジ29の効果として、ボイスコイル28と振動板27を振動しやすくすることで、F0値を低く設定でき、低音を有利に再生することができる。
さらに、エッジ29を振動板27より内部損失の大きな材料に設定した場合も、前記同様、内部損失の小さい振動板27の効果として、ボイスコイル28の振動を内部損失の小さい振動板27により高域限界周波数を伸長させながら高忠実再生することができる。そして、内部損失の大きいエッジ29の効果として、エッジの不要共振を吸収、低減させることで、安定した周波数特性を実現することができる。
また、別の対応方法として、エッジ29にタンゼンシャル形状のリブを設けて構成することで、エッジ29の振幅特性を前述の方法に加え、さらに良好化させ、低歪化と低音の再生をさらに有利に行うことができる。
前記説明の内容については、振動板27には、本来の振動板としての必要な物性値や機能を設定し、エッジ29には、本来のエッジとしての必要な物性値や機能を設定することが重要である旨説明した。これにより、一枚の振動板では実現不可能な良好な特性を得ることができる。
このように、振動板27とエッジ29とが、それぞれ最適な特性を発揮させるためには、エッジ29の外形寸法に対して振動板27へのエッジ29の接着部外周寸法が、おおむね70%以下であることが好ましい。すなわち、エッジ29を大きく設定することで、振動板27の振幅特性を向上させ、スピーカの特性を良好化させることができる。
以上のように、接着部を除く、振動板27とエッジ29のクロスオーバー部を大きく設けることにより、スピーカをより小型化することが可能となる。
(実施の形態2)
以下、実施の形態2を用いて、本発明の特に請求項2に記載の発明について説明する。図2は、本発明の一実施の形態のスピーカの断面図である。実施の形態1と異なる点についてのみ説明する。
図2に示すように、振動板27のエッジ29とのクロスオーバー部に貫通孔27aを設けて構成したものである。この構成とすることにより、振動板27と上部プレート22とに囲まれた密閉空間内の空気の圧力が、貫通孔27aを通して流通することが可能となるため、振動板27の振幅をスムーズに行えるようにすることができる。よって、スピーカのF0を下げ、低音再生能力を向上できるとともに、低歪化を図ることができ、周波数特性の良好化を実現することができる。
さらに密閉空間内の空気の流通を良くしたい場合には、上部プレート22とマグネット21とヨーク23により構成された磁気回路24に貫通孔を設けて、直接外部へ流通させる構成としてもよい。
また、振動板27と上部プレート22とに囲まれた密閉空間内ではないが、磁気ギャップ25の下部のヨーク23や、フレーム26に貫通孔を設けて、直接外部へ流通させる構成とすることも効果的である。
前記構成により、スピーカの小型化を図って、仮にスピーカ内部の密閉された空気室容積が小さくなり、振動板27の振幅特性に支障を来たしても、前述の方法により対策することができる。
(実施の形態3)
以下、実施の形態3を用いて、本発明の特に請求項3から請求項7に記載の発明について説明する。図3から図7は、本発明の一実施の形態のスピーカの断面図である。
実施の形態1と異なる点についてのみ説明すると、図3に示すように、振動板27のエッジ29との結合部には、ガイド27bを設けて構成したものである。この構成とすることにより、振動板27とエッジ29との結合時の位置決めを正確に実施することができ、スピーカの不良率低減と生産性向上を図ることができる。
また、図4に示すように、ガイドをエッジ29の接着部全体を挿入する窪み27cを形成した構成とすることで、接着部全体をガイドでき、より正確な位置決めガイドとすることができる。
さらに、図5に示すように、このエッジの接着部全体を挿入する窪みを27dのように水平に形成した構成とすることで、接着部の上下プレス用の設備を使用可能とすることができ、生産性を向上させることができる。
別の形状として、図6に示すような断面がU字状のガイド27eや、図7に示すような断面がV字状のガイド27fの形状に形成した構成とすることで、このU字状やV字状の溝を接着剤たまりとして使用することができる。よって、接着剤のはみ出しを防止し、振動板27とエッジ29との結合を確実なものとすることができる。
(実施の形態4)
以下、実施の形態4を用いて、本発明の特に請求項15に記載の発明について説明する。図8は、本発明の一実施の形態のスピーカモジュールの断面図である。図8に示すように、請求項1から請求項14記載のいずれか1つのスピーカ35と電子回路40とを一体化してスピーカモジュール50を構成している。
ここで、このスピーカモジュール50の構成としては、回路基板41に電子部品42を固定して配線し、電子回路40を構成している。そして、この電子回路40と、前記請求項1から請求項14記載のいずれか1つのスピーカ35とを一体化結合してスピーカモジュール50を構成している。
この電子回路40には、少なくともスピーカ35へ供給する音声信号の増幅回路が含まれている。すなわち、信号処理された音声信号をスピーカ35から出力させるために必要なレベルにまで増幅する回路を既にスピーカ35と一体化され、内部配線もされた状態で有しているため、このスピーカモジュール50を結合するだけで容易に音声出力を得ることができる。
さらに、この電子回路40には、前記の増幅回路以外に、携帯電話等の通信機器であれば、検波回路や変調回路、復調回路等の通信に必要な回路や、液晶等の表示手段のための駆動回路、さらには電源回路や充電回路等の各種回路を含めることもできる。
この構成とすることにより、従来別々で生産され、それぞれの検査工程や物流工程を経て、携帯電話等の電子機器の生産拠点に供給されていたスピーカ35と電子回路40が一体化してモジュール化を実施することにより、生産工程、検査工程、物流工程の統合化を図ることができ、多大なコストダウンを実施することができる。よって、スピーカ35と電子回路40とを結合したスピーカモジュール50を安価に提供することができる。
(実施の形態5)
以下、実施の形態5を用いて、本発明の特に請求項16に記載の発明について説明する。図9は、本発明の一実施の形態の電子機器である携帯電話の要部断面図を示したものである。図9に示すように、請求項1から請求項14記載のいずれか1つのスピーカ35を搭載して携帯電話80を構成している。
ここで、この携帯電話80の構成としては、スピーカ35と電子回路40と液晶等の表示モジュール60等の各部品やモジュール等を外装ケース70の内部に搭載して携帯電話80の腰部を構成している。この構成とすることにより、携帯電話等の電子機器の小型化を図ることができる。
(実施の形態6)
以下、実施の形態6を用いて、本発明の特に請求項17に記載の発明について説明する。図10は、本発明の一実施の形態の装置である自動車90の断面図を示したものである。図10に示すように、本発明のスピーカ35をリアトレイやフロントパネルに組込んで、カーナビゲーションやカーオーディオの一部として使用して自動車90を構成したものである。この構成とすることにより、スピーカ35の小型化を図ることで、このスピーカ35を搭載した自動車等の装置の小型化を図ることができる。
本発明にかかるスピーカ、スピーカモジュール、電子機器および装置は、小型化が必要な映像音響機器や情報通信機器、ゲーム機器等の電子機器、さらには自動車等の装置に適用できる。
本発明の一実施の形態におけるスピーカの断面図 本発明の一実施の形態におけるスピーカの断面図 本発明の一実施の形態におけるスピーカの断面図 本発明の一実施の形態におけるスピーカの断面図 本発明の一実施の形態におけるスピーカの断面図 本発明の一実施の形態におけるスピーカの断面図 本発明の一実施の形態におけるスピーカの断面図 本発明の一実施の形態におけるスピーカモジュールの断面図 本発明の一実施の形態における電子機器の要部断面図 本発明の一実施の形態における装置の断面図 従来のスピーカの断面図
符号の説明
21 マグネット
22 上部プレート
23 ヨーク
24 磁気回路
25 磁気ギャップ
26 フレーム
27 振動板
27a 振動板貫通孔
27b 振動板ガイド
27c 振動板ガイド
27d 振動板ガイド
27e 振動板ガイド
27f 振動板ガイド
28 ボイスコイル
29 エッジ
35 スピーカ
40 電子回路
41 回路基板
42 電子部品
50 スピーカモジュール
60 表示モジュール
70 外装ケース
80 携帯電話
90 自動車

Claims (17)

  1. 磁気回路に結合されたフレームと、このフレームの外周部に結合されたエッジと、このエッジに結合された振動板と、この振動板の外周に結合されるとともに、その一部が前記磁気回路の磁気ギャップに配置されたボイスコイルとからなるスピーカであって、前記エッジの前記振動板との結合部は、前記振動板の外周の前記ボイスコイル結合位置よりも内周側に設けられ、前期振動板と、前記エッジの前記振動板への接着部を除くクロスオーバー部を有してなるスピーカ。
  2. 振動板のクロスオーバー部に貫通孔を設けた請求項1記載のスピーカ。
  3. 振動板のエッジとの結合部には、ガイドを設けた請求項1または請求項2記載のスピーカ。
  4. ガイドはエッジの接着部全体を挿入する窪みにより形成した請求項3記載のスピーカ。
  5. ガイドはエッジの接着部全体を挿入する水平な窪みにより形成した請求項3記載のスピーカ。
  6. ガイドはエッジの接着部内周端を挿入するU字溝により形成した請求項3記載のスピーカ。
  7. ガイドはエッジの接着部内周端を挿入するV字溝により形成した請求項3記載のスピーカ。
  8. 振動板をシート材料により構成した請求項1から請求項7のいずれか1つに記載のスピーカ。
  9. エッジをシート材料により構成した請求項1から請求項8のいずれか1つに記載のスピーカ。
  10. エッジは振動板と異なる材料により構成した請求項1から請求項9のいずれか1つに記載のスピーカ。
  11. エッジは振動板より薄い材料により構成した請求項1から請求項10のいずれか1つに記載のスピーカ。
  12. エッジは振動板より柔らかい材料により構成した請求項1から請求項11のいずれか1つに記載のスピーカ。
  13. エッジは振動板より内部損失の大きい材料により構成した請求項1から請求項12のいずれか1つに記載のスピーカ。
  14. エッジはタンゼンシャル形状のリブを設けて構成した請求項1から請求項13のいずれか1つに記載のスピーカ。
  15. 請求項1から請求項14記載のいずれか1つのスピーカと電子回路とを結合したモジュール。
  16. 請求項1から請求項14記載のいずれか1つのスピーカを搭載した電子機器。
  17. 請求項1から請求項14記載のいずれか1つのスピーカを搭載した装置。
JP2004103775A 2004-03-31 2004-03-31 スピーカおよびこれを用いたモジュール、電子機器および装置 Expired - Fee Related JP4305246B2 (ja)

Priority Applications (8)

Application Number Priority Date Filing Date Title
JP2004103775A JP4305246B2 (ja) 2004-03-31 2004-03-31 スピーカおよびこれを用いたモジュール、電子機器および装置
CN200580005809.2A CN1922919A (zh) 2004-03-31 2005-03-17 扬声器及使用该扬声器的组件、电子设备和装置以及扬声器的制造方法
EP05726703A EP1703768A4 (en) 2004-03-31 2005-03-17 SPEAKERS, THIS USING MODULE, ELECTRONIC EQUIPMENT AND DEVICE, AND METHOD FOR THE PRODUCTION OF SPEAKERS
PCT/JP2005/004763 WO2005099305A1 (ja) 2004-03-31 2005-03-17 スピーカと、これを用いたモジュール、電子機器および装置、ならびにスピーカの製造方法
US10/590,144 US7548632B2 (en) 2004-03-31 2005-03-17 Speaker, module using the same, electronic equipment and device, and speaker producing method
KR1020067015750A KR100799008B1 (ko) 2004-03-31 2005-03-17 스피커와, 이를 이용한 모듈, 전자 기기 및 장치, 스피커의제조 방법
TW094108936A TW200539725A (en) 2004-03-31 2005-03-23 Speaker, module using the same, electronic equipment and device, and speaker producing method
US12/464,530 US7877856B2 (en) 2004-03-31 2009-05-12 Method of manufacturing a speaker

Applications Claiming Priority (1)

Application Number Priority Date Filing Date Title
JP2004103775A JP4305246B2 (ja) 2004-03-31 2004-03-31 スピーカおよびこれを用いたモジュール、電子機器および装置

Publications (2)

Publication Number Publication Date
JP2005294982A true JP2005294982A (ja) 2005-10-20
JP4305246B2 JP4305246B2 (ja) 2009-07-29

Family

ID=35327469

Family Applications (1)

Application Number Title Priority Date Filing Date
JP2004103775A Expired - Fee Related JP4305246B2 (ja) 2004-03-31 2004-03-31 スピーカおよびこれを用いたモジュール、電子機器および装置

Country Status (2)

Country Link
JP (1) JP4305246B2 (ja)
CN (1) CN1922919A (ja)

Cited By (3)

* Cited by examiner, † Cited by third party
Publication number Priority date Publication date Assignee Title
JP2007184750A (ja) * 2006-01-06 2007-07-19 Matsushita Electric Ind Co Ltd スピーカ振動板とその製造方法、およびそのスピーカ振動板を用いたスピーカ
JP2007336322A (ja) * 2006-06-16 2007-12-27 Pioneer Electronic Corp スピーカ及びその製造方法
JP2015109542A (ja) * 2013-12-04 2015-06-11 パナソニックIpマネジメント株式会社 スピーカ、イヤホン、及び補聴装置

Families Citing this family (6)

* Cited by examiner, † Cited by third party
Publication number Priority date Publication date Assignee Title
US8703984B2 (en) 2004-08-12 2014-04-22 Velocys, Inc. Process for converting ethylene to ethylene oxide using microchannel process technology
JP2009171352A (ja) * 2008-01-17 2009-07-30 Kenwood Corp スピーカユニット
CN102065359B (zh) * 2010-05-25 2013-11-06 瑞声声学科技(深圳)有限公司 电磁扬声器
WO2016035263A1 (ja) * 2014-09-01 2016-03-10 パナソニックIpマネジメント株式会社 ラウドスピーカ
US10469941B2 (en) 2016-08-23 2019-11-05 Apple Inc. Vented acoustic transducers and related methods and systems
CN116249055A (zh) * 2021-12-08 2023-06-09 佛山鋐利电子有限公司 扬声器装置

Cited By (3)

* Cited by examiner, † Cited by third party
Publication number Priority date Publication date Assignee Title
JP2007184750A (ja) * 2006-01-06 2007-07-19 Matsushita Electric Ind Co Ltd スピーカ振動板とその製造方法、およびそのスピーカ振動板を用いたスピーカ
JP2007336322A (ja) * 2006-06-16 2007-12-27 Pioneer Electronic Corp スピーカ及びその製造方法
JP2015109542A (ja) * 2013-12-04 2015-06-11 パナソニックIpマネジメント株式会社 スピーカ、イヤホン、及び補聴装置

Also Published As

Publication number Publication date
JP4305246B2 (ja) 2009-07-29
CN1922919A (zh) 2007-02-28

Similar Documents

Publication Publication Date Title
KR100799008B1 (ko) 스피커와, 이를 이용한 모듈, 전자 기기 및 장치, 스피커의제조 방법
TW463516B (en) Electro-acoustic micro-transducer having dual voice coil drivers
US20090060254A1 (en) Speaker and electronic apparatus and device using the same
CN101411212B (zh) 扬声器装置
JP4305246B2 (ja) スピーカおよびこれを用いたモジュール、電子機器および装置
JP2006217452A (ja) スピーカ
CN102204274A (zh) 包括安装有声致动器的基板的电子设备和相关方法以及移动无线电话
US8301188B2 (en) Electronic devices including substrate mounted acoustic actuators and related methods and mobile radiotelephones
WO2005062664A1 (ja) スピーカおよびこれを用いた装置
JP4305228B2 (ja) スリムスピーカおよびこれを用いたモジュール、電子機器および装置
JP2006254037A (ja) スピーカ
EP1551203A1 (en) Speaker, speaker module, and electronic apparatus using the speaker module
JP4346944B2 (ja) スピーカとそれを用いたスピーカモジュールとそれを用いた電子機器
JP4379215B2 (ja) 電気音響変換器およびこれを用いたモジュール、電子機器および装置
JP4642335B2 (ja) スピーカ、スピーカモジュールおよびこれを用いた電子機器
JP2004356834A (ja) スピーカおよびこれを用いたモジュールおよびこのスピーカを用いた電子機器
JP4556565B2 (ja) スピーカおよびこれを用いたモジュール、電子機器および装置
JP2004343602A (ja) スピーカおよびこれを用いたモジュールおよびこのスピーカを用いた電子機器
JP4127184B2 (ja) スピーカ、スピーカモジュールおよびこれを用いた電子機器
US20250071484A1 (en) Dust cap, diaphragm, and electroacoustic transducer
JP2009153032A (ja) マイクロスピーカ
JP4196104B2 (ja) スピーカ
JP2008005101A (ja) スピーカおよびこれを用いたスピーカ装置ならびにこのスピーカを用いた電子機器および車両
JP2005303430A (ja) スピーカおよびこれを用いたモジュール、電子機器および装置
JP2005039402A (ja) スピーカ

Legal Events

Date Code Title Description
A621 Written request for application examination

Free format text: JAPANESE INTERMEDIATE CODE: A621

Effective date: 20061101

RD01 Notification of change of attorney

Free format text: JAPANESE INTERMEDIATE CODE: A7421

Effective date: 20061213

A131 Notification of reasons for refusal

Free format text: JAPANESE INTERMEDIATE CODE: A131

Effective date: 20081209

A521 Request for written amendment filed

Free format text: JAPANESE INTERMEDIATE CODE: A523

Effective date: 20090128

TRDD Decision of grant or rejection written
A01 Written decision to grant a patent or to grant a registration (utility model)

Free format text: JAPANESE INTERMEDIATE CODE: A01

Effective date: 20090407

A01 Written decision to grant a patent or to grant a registration (utility model)

Free format text: JAPANESE INTERMEDIATE CODE: A01

A61 First payment of annual fees (during grant procedure)

Free format text: JAPANESE INTERMEDIATE CODE: A61

Effective date: 20090420

R151 Written notification of patent or utility model registration

Ref document number: 4305246

Country of ref document: JP

Free format text: JAPANESE INTERMEDIATE CODE: R151

FPAY Renewal fee payment (event date is renewal date of database)

Free format text: PAYMENT UNTIL: 20120515

Year of fee payment: 3

FPAY Renewal fee payment (event date is renewal date of database)

Free format text: PAYMENT UNTIL: 20120515

Year of fee payment: 3

FPAY Renewal fee payment (event date is renewal date of database)

Free format text: PAYMENT UNTIL: 20130515

Year of fee payment: 4

FPAY Renewal fee payment (event date is renewal date of database)

Free format text: PAYMENT UNTIL: 20130515

Year of fee payment: 4

LAPS Cancellation because of no payment of annual fees