JP2005294760A - 半導体装置 - Google Patents

半導体装置 Download PDF

Info

Publication number
JP2005294760A
JP2005294760A JP2004111380A JP2004111380A JP2005294760A JP 2005294760 A JP2005294760 A JP 2005294760A JP 2004111380 A JP2004111380 A JP 2004111380A JP 2004111380 A JP2004111380 A JP 2004111380A JP 2005294760 A JP2005294760 A JP 2005294760A
Authority
JP
Japan
Prior art keywords
semiconductor
semiconductor device
heat
insulating film
interlayer insulating
Prior art date
Legal status (The legal status is an assumption and is not a legal conclusion. Google has not performed a legal analysis and makes no representation as to the accuracy of the status listed.)
Granted
Application number
JP2004111380A
Other languages
English (en)
Other versions
JP4458906B2 (ja
JP2005294760A5 (ja
Inventor
Hirokazu Takada
浩和 高田
Koichi Iwami
幸一 石見
Current Assignee (The listed assignees may be inaccurate. Google has not performed a legal analysis and makes no representation or warranty as to the accuracy of the list.)
Renesas Technology Corp
Original Assignee
Renesas Technology Corp
Priority date (The priority date is an assumption and is not a legal conclusion. Google has not performed a legal analysis and makes no representation as to the accuracy of the date listed.)
Filing date
Publication date
Application filed by Renesas Technology Corp filed Critical Renesas Technology Corp
Priority to JP2004111380A priority Critical patent/JP4458906B2/ja
Publication of JP2005294760A publication Critical patent/JP2005294760A/ja
Publication of JP2005294760A5 publication Critical patent/JP2005294760A5/ja
Application granted granted Critical
Publication of JP4458906B2 publication Critical patent/JP4458906B2/ja
Anticipated expiration legal-status Critical
Expired - Fee Related legal-status Critical Current

Links

Images

Classifications

    • HELECTRICITY
    • H01ELECTRIC ELEMENTS
    • H01LSEMICONDUCTOR DEVICES NOT COVERED BY CLASS H10
    • H01L2924/00Indexing scheme for arrangements or methods for connecting or disconnecting semiconductor or solid-state bodies as covered by H01L24/00
    • H01L2924/0001Technical content checked by a classifier
    • H01L2924/0002Not covered by any one of groups H01L24/00, H01L24/00 and H01L2224/00

Landscapes

  • Internal Circuitry In Semiconductor Integrated Circuit Devices (AREA)
  • Design And Manufacture Of Integrated Circuits (AREA)
  • Cooling Or The Like Of Semiconductors Or Solid State Devices (AREA)

Abstract

【課題】 発熱した半導体素子を効率良く冷却したり、その半導体素子から伝わる熱を速やかに外部に放熱できる半導体装置を提供する。
【解決手段】 半導体装置は、主表面1aを有する半導体基板1と、主表面1a上に形成され、主表面1aに設けられた半導体素子を覆う層間絶縁膜2と、層間絶縁膜2に形成され、冷却用流体が流れる冷却路3とを備える。冷却路3は、層間絶縁膜2の内部を循環するように形成されている。冷却路3は、冷却用流体が供給される一方端4と、冷却用流体が排出される他方端5とを含む。
【選択図】 図1

Description

この発明は、一般的には、半導体装置に関し、より特定的には、半導体素子から発生した熱を冷却または放熱する構造を備えた半導体装置に関する。
従来、ヒートスプレッダと呼ばれる熱伝導性の高い材料(たとえば銅などの金属)を用いて、半導体集積回路から発生する熱を効率良く放熱する技術が知られている。この場合、LSI(large scale integration)パッケージ内に収容された半導体チップの裏面に接触するように、板片状のヒートスプレッダを封入する。これにより、半導体チップに発生した熱が、ヒートスプレッダを介してパッケージ外部へと放熱される。
また、発生する熱量がさらに大きい半導体集積回路の場合、セラミックパッケージやフリップチップ実装された半導体チップの裏面に、ヒートシンクと呼ばれる放熱用のフィン形状を持った金属部品(アルミニウムや銅のような熱伝導性の高い材料で作製されることが多い)を接触させ、空冷や液冷による放熱を実施する。但し、プラスチック製のモールド樹脂を用いてパッケージ封止を行なった場合には、プリント基板に実装された状態での自然空冷による放熱が前提となる。特に、PC(personal computer)やEWS(engineering workstation)用のマイクロプロセッサの場合には、発熱が大きいことから、ヒートシンクと電動ファンとを組み合わせた強制空冷か、ヒートシンクに液体冷媒を流して冷却する方式が採用されている。
半導体集積回路のチップ内の電力消費は、(1)過渡的な貫通電流によるもの、(2)負荷容量の充放電によるもの、(3)トランジスタの接合リークやサブスレッショルド電流によるもの、の総和であると考えることができる。このうち(1)および(2)は、半導体装置の動作周波数に比例して増大し、(3)は、トランジスタの微細化に伴って増大する傾向がある。熱の発生は、主にジュール熱によるものであり、電流Iの2乗と抵抗Rとの積に比例する(Q∝I×R)。
このため、半導体チップの内部では、大きい電流が流れるIO(input/output)パッドやバス・バッファ、乗算器などの特定部分が熱の発生源となっており、高温になる部分(ホットスポット)となっている。半導体チップ内の熱伝導を考えた場合、これらホットスポットを起点に発生した熱が、チップ内の他の部分へと拡散する。
このような放熱に対する対策が採られた半導体装置が、たとえば、特開2000−306998号公報(特許文献1)、特開平11−17072号公報(特許文献2)、特開平7−22547号公報(特許文献3)、特開2001−291793号公報(特許文献4)、特開平8−125092号公報(特許文献5)、特開平10−199882号公報(特許文献6)、特開2000−243826号公報(特許文献7)、特開平8−222700号公報(特許文献8)、特開2003−258165号公報(特許文献9)、特開平5−166849号公報(特許文献10)、特開平8−274226号公報(特許文献11)、特開2002−289752号公報(特許文献12)、特開2003−188342号公報(特許文献13)および特開平9−283697号公報(特許文献14)に開示されている。
さらに、下記の非特許文献1には、集積回路チップを冷却する目的で、チップとは別に、シリコン素材のヒートシンクを設けた半導体装置が開示されている。そのヒートシンクには、冷媒を通過、循環させるための微細な通路(microchannel)が形成されている。
特開2000−306998号公報 特開平11−17072号公報 特開平7−22547号公報 特開2001−291793号公報 特開平8−125092号公報 特開平10−199882号公報 特開2000−243826号公報 特開平8−222700号公報 特開2003−258165号公報 特開平5−166849号公報 特開平8−274226号公報 特開2002−289752号公報 特開2003−188342号公報 特開平9−283697号公報 Ken Goodson, Thermal Management of Advanced Electronic Systems, ISSCC 2003 Workshop
半導体チップに形成した半導体集積回路からの主な放熱経路としては、チップの裏面からヒートスプレッダを介して外部に熱伝導により放熱される経路と、チップから端子を通じて実装基板へと放熱される経路とが存在する。端子を通じての放熱は、ワイヤボンディングを用いている場合は、ボンディングパッドからボンディングワイヤを介して、リードフレームやバンプを経て、パッケージ端子から実装基板へと熱が伝わることによって行なわれる。また、フリップチップタイプの半導体チップの場合には、チップの電極パッドなどに半田などのメタルバンプが形成され、そのメタルバンプを挟んで、直接チップが実装基板上に接続されている。このため、半導体チップからの熱が、メタルバンプから実装基板へと直接的に伝わって放熱が行なわれる。
一般的に、半導体チップの表面に形成される電極パッドやボンディングパッドは、チップの周辺部に配置される。このため、半導体チップの中央部で発生した熱を効率良く、これらのパッドまで伝え、放熱を行なう必要がある。しかし、最先端のマイクロプロセッサやシステムLSIでは、高集積化により、チップ面積がますます増大しており、チップの周辺部に向けた放熱が徐々に困難となっている。
また、半導体チップの内部で局所的な発熱が起こり、その熱が十分に放熱されない場合は、半導体集積回路が熱的に破壊されたり、トランジスタの性能が劣化するおそれが生じる。さらに近年においては、半導体チップの動作周波数や集積度の上限が消費電力によって決定される状況が現実化しつつあり、半導体チップの放熱に関するこれら問題の解決が強く望まれている。
そこでこの発明の目的は、上記の課題を解決することであり、発熱した半導体素子を効率良く冷却したり、その半導体素子から伝わる熱を速やかに外部に放熱できる半導体装置を提供することである。
この発明に従った半導体装置は、主表面を有する半導体基板と、主表面上に形成され、その主表面に設けられた半導体素子を覆う層間絶縁膜と、層間絶縁膜に形成され、冷却用流体が流れる第1の冷却路とを備える。
この発明に従えば、発熱した半導体素子を効率良く冷却したり、その半導体素子から伝わる熱を速やかに外部に放熱する半導体装置を提供することができる。
この発明の実施の形態について、図面を参照して説明する。
(実施の形態1)
図1は、この発明の実施の形態1における半導体装置を示す斜視図である。図1を参照して、半導体装置は、主表面1aを有する半導体基板1と、駆動することより熱を発生する、主表面1aに形成された図示しない半導体素子と、主表面1a上に形成され、図示しない半導体素子を覆う層間絶縁膜2とを備える。層間絶縁膜2の内部には、冷却路3が形成されている。冷却路3は、層間絶縁膜2の頂面2a上の離れた位置にそれぞれ開口された一方端4および他方端5を有する。冷却路3は、主表面1aに形成された半導体素子の近傍を通過するように、一方端4から他方端5に向けて延びている。
半導体基板1は、たとえばシリコン基板から形成されている。図示しない半導体素子は、代表的には各種のトランジスタ素子であるが、これに限定されず、半導体を利用した素子であればいずれであっても良い。層間絶縁膜2は、たとえば、シリコン酸化膜、PSG(phosphosilicate glass)、BSG(borosilicate glass)、BPSG(borophosphosilicate glass)、TEOS(tetra etyle ortho silicate)およびSOG(スピン・オン・グラス)などから形成されている。また、層間絶縁膜2として、低誘電率材料(Low-k材料)を用いても良い。
冷却路3には、一方端4から供給され、他方端5から回収される、半導体素子を冷却するための液体や気体(冷却用流体)が流れる。このような冷却路3に供給される気体としては、窒素ガス、フロンガスならびにヘリウムおよびアルゴンのような不活性ガスを挙げることができる。また、冷却路3を構成する内壁がパッシベーション膜によって被覆され、酸化に対する対策が十分に採られている場合には、乾燥空気を用いることもできる。液体としては、水(純水)やフロンを用いることができる。
図2は、図1中に示す半導体装置が設けられた半導体パッケージを示す斜視図である。図中では、半導体パッケージの内部を示すため、一部が透視した状態で描かれている。
図2を参照して、半導体パッケージ20は、図1中に示す半導体装置から構成された半導体チップ10と、ヒートスプレッダ(ヒートシンク)12と、後で詳細に説明するポンプチップ13と、これら部材を覆うパッケージ樹脂11とを備える。ヒートスプレッダ12は、たとえば、銅、鉄−ニッケル合金および半田などから形成されている。
パッケージ樹脂11の内部には、半導体チップ10に設けられた冷却路3の一方端4および他方端5に両端が接続された冷却路14が形成されている。冷却路14の経路の途中には、相対的に他方端5に近い側に位置して、所定の距離ごとに方向を変えて延びる部分が設けられている。その部分の近傍には、ヒートスプレッダ12が配置されている。冷却路14の経路の途中には、相対的に一方端4に近い側に位置して、ポンプチップ13が設けられている。
図3は、図2中のポンプチップの構造を示す断面図である。図3を参照して、ポンプチップ13は、マイクロマシン技術によってシリコンチップ上に作製されたポンプ構造を備える。そのポンプ構造は、バルブ用シリンダ24およびバルブ用シリンダ24に配置されたバルブ用ピストン25からなるバルブ部26と、ポンプ用シリンダ21およびポンプ用シリンダ21に配置されたポンプ用ピストン22からなるポンプ部23とから構成されている。バルブ用シリンダ24は、流路28によって、他方端5側から延びる冷却路14に接続されている。バルブ用シリンダ24とポンプ用シリンダ21とは、流路27によって互いに接続されている。ポンプ用シリンダ21は、流路29によって、一方端4側から延びる冷却路14に接続されている。
図1から図3を参照して、電極間の静電力を利用した静電アクチュエータ等を用いて、ポンプ用ピストン22およびバルブ用ピストン25を所定の位相差をもって往復運度させ、半導体チップ10に設けられた冷却路3に冷却用流体を循環させる。
ポンプチップ13から冷却路3の一方端4に供給された冷却用流体は、半導体チップ10に設けられた冷却路3を流れる。この際、冷却用流体は、主表面1aに形成された半導体素子から発生する熱を奪い、その後、他方端5側へと回収される。回収された冷却用流体は、ヒートスプレッダ12の近傍を通過する際に、ヒートスプレッダ12へと熱を放出する。その熱は、パッケージ樹脂11を介して半導体パッケージ20の外部へと放熱される。
なお、冷却用流体を循環させる手段は、図2に示す機構に限定されず、たとえば、パッケージ樹脂11に対して直接、空冷/液冷用の流体を通すチューブを接続し、そのチューブと外部に設けたポンプとをつなぐ機構によっても良い。但し、図2に示すように、ヒートスプレッダ12のみならずポンプチップ13を含んだ冷却系全体をパッケージ樹脂11内に封止すれば、半導体パッケージ20の小型化を図りつつ、半導体チップ10の放熱を効率良く行なうことができる。
この発明の実施の形態1における半導体装置は、主表面1aを有する半導体基板1と、主表面1a上に形成され、主表面1aに設けられた半導体素子を覆う層間絶縁膜2と、層間絶縁膜2に形成され、冷却用流体が流れる第1の冷却路としての冷却路3とを備える。冷却路3は、層間絶縁膜2の内部を循環するように形成されている。冷却路3は、冷却用流体が供給される一方端4と、冷却用流体が排出される他方端5とを含む。
半導体装置としての半導体パッケージ20は、半導体基板1、層間絶縁膜2および冷却路3を含む半導体チップ10と、半導体チップ10を覆うように形成された樹脂部材としてのパッケージ樹脂11と、パッケージ樹脂11内に設けられたポンプ部としてのポンプチップ13および金属材料からなる放熱部としてのヒートスプレッダ12とを備える。ポンプチップ13は、一方端4および他方端5に接続されて、冷却路3に冷却用流体を循環させる。ヒートスプレッダ12は、他方端5から排出された冷却用流体の熱を放熱する。
図4から図7は、層間絶縁膜に冷却路を製造する方法の各工程を示す断面図である。図1中に示すトンネル構造を備えた冷却路3は、半導体プロセスにより半導体基板1上に堆積された層間絶縁膜およびメタル配線層の積層構造において、層間絶縁膜の一部を後から除去することによって作製できる。この製造方法について、図4から図7を用いて以下に説明を行なう。
図4を参照して、通常の半導体プロセスと同様に、CVD(chemical-vapor deposition)法およびスパッタリング法をそれぞれ用いて、半導体基板1の主表面1a上に、層間絶縁膜31pおよびメタル配線層32pを順次形成する。さらに、メタル配線層32pを覆うように層間絶縁膜31qを形成する。図5を参照して、層間絶縁膜31q上に、メタル配線層32pに達するメタルプラグ35mおよび35nを備えるメタル配線層32qを形成する。このとき、メタルプラグ35mとメタルプラグ35nとの間には、層間絶縁膜33が残存する。メタル配線層32qをパターニングし、互いに距離を隔てた位置に溝34mおよび34nを形成する。
図6を参照して、メタル配線層32q上に、溝34mおよび34nを充填する層間絶縁膜31rを形成する。CMP(chemical mechanical polishing)工程により層間絶縁膜31rを平坦化した後、図5に示す工程と同様に、層間絶縁膜31r上に、メタル配線層32qに達するメタルプラグ35mおよび35nを備えるメタル配線層32rを形成する。メタル配線層32rをパターニングし、互いに距離を隔てた位置に溝34mおよび34nを再び形成する。
図7を参照して、図6に示す工程を繰り返し、層間絶縁膜31r上に、所定の形状を有する層間絶縁膜31sおよびメタル配線層32sを順次形成する。その後、フッ酸(HF)を用いたウェットエッチングを実施することによって、メタルプラグ35mとメタルプラグ35nとの間に残された層間絶縁膜33を除去する。以上の工程により、層間絶縁膜とメタル配線層との積層構造に、トンネル構造を有する冷却路37を作製することができる。
なお、図4から図7では、冷却路を層間絶縁膜とメタル配線層との積層構造に作製する場合について説明したが、これに限定されず、たとえば、CVD法によって形成される層間絶縁膜とシリコン膜との積層構造に対しても、同様の製造方法を適用することによって、冷却用流体を流すための冷却路を形成することができる。
図8は、図1中に示す半導体装置の変形例を示す斜視図である。図中には、半導体装置の断面が示されている。図8を参照して、本変形例では、図1中に示す冷却路として、層間絶縁膜2の頂面2a側から半導体基板1の裏面1b側にまで達するビアホール41が形成されている。ビアホール41は、主表面1aに平行な平面で切断された断面の面積が、頂面2aから裏面1bに向かうに従って小さくなるように形成されている。
図9は、図1中に示す半導体装置の別の変形例を示す斜視図である。図中には、半導体装置の断面が示されている。図9を参照して、本変形例では、図1中に示す冷却路として、層間絶縁膜2の頂面2a側から半導体基板1の裏面1b側にまで達するビアホール42が形成されている。ビアホール42は、主表面1aに平行な平面で切断された断面の面積が、頂面2aから裏面1bに向かうに従って大きくなるように形成されている。なお、図8および図9中には図示しなかったが、これらの変形例では、ビアホール41および42から延びる冷却用流体を循環、通過させるための流路が、半導体基板1の裏面1b側を覆うパッケージ樹脂により構成されている。
このように構成された半導体装置によれば、設けた冷却路に冷却用流体を流すことによって、主表面1a上の半導体素子から発生した熱を半導体装置の外部に効率良く放熱することができる。これにより、半導体素子を熱の影響から保護し、所望の半導体特性を得ることができる。また、発熱による温度上昇から決定されるような半導体チップの動作周波数や回路の処理性能の上限を小さくし、より高性能な半導体集積回路を実現することができる。
加えて、冷却路3を層間絶縁膜2の内部に形成することにより、狭い領域への冷却路の配置が可能となる。これにより、発熱体である半導体素子の近傍に冷却路3を設けやすくなる。また、冷却路3は、冷却用流体が供給され回収される一方端4および他方端5を有し、パッケージ樹脂11の内部には、一方端4と他方端5との間に位置して、冷却用流体から熱を奪うヒートスプレッダ12が配置されている。このため、冷却路3には、温度が低くされた冷却用流体が次々と供給される。これにより、さらに効率の良い放熱を行なうことができる。
(実施の形態2)
図10は、この発明の実施の形態2における半導体装置の一部を示す断面図である。本実施の形態における半導体装置は、実施の形態1に記載の半導体装置が備える冷却構造に加えて、図10を用いて説明する冷却構造をさらに備える。なお図中において、実施の形態1に記載の半導体装置と比較して、同一またはそれに相当する部材には、同じ参照番号を付している。
図10を参照して、半導体基板1の主表面1aには、半導体素子としてのトランジスタ素子45が形成されている。主表面1a上には、トランジスタ素子45を覆うように層間絶縁膜2が多層に堆積されている。層間絶縁膜2には、トランジスタ素子45に接続され、電気信号配線や電源配線として実際に機能する配線43が形成されている。配線43は、層間絶縁膜2の各層に設けられた、メタル配線46と、メタル配線46に接続されたビア配線47とから構成されている。層間絶縁膜2の各層に設けられたこれらメタル配線46およびビア配線47は、層間絶縁膜2の多層間に連なって形成されている。層間絶縁膜2の最上層に形成されたビア配線47は、層間絶縁膜2の頂面2aから露出するように形成されている。その露出するビア配線47に接触するようにボンディングパッド16が形成されている。ボンディングパッド16には、ボンディングワイヤ50が接続されている。
層間絶縁膜2には、信号・電源の電流容量として必要十分な配線43に加えて、冷却を目的とした配線44が形成されている。配線44は、配線43と同様に、層間絶縁膜2の多層間に連なるメタル配線51およびビア配線52から構成されている。頂面2aから露出するビア配線52に接触するように、メタルパッド17が形成されている。層間絶縁膜2の頂面2aから隙間を隔てた位置には、メタルバンプ48を介してメタルパッド17に接続されたヒートスプレッダ49が設けられている。
トランジスタ素子45は、配線43と配線44との間に配置されている。配線43および配線44は、たとえば、銅、アルミニウム、チタン、タングステン、コバルトおよびタンタルなどの金属、これらの合金、これらにシリコンを添加した材料ならびにシリサイドなどから形成することができる。これらの材料は、層間絶縁膜2を形成するシリコン酸化膜などの材料と比較して、熱伝導率が大きい。
なお、配線43および配線44を構成するメタル配線には、特にアルミニウムおよび銅を主成分とする材料が用いられ、ビア配線には、特にタングステンや銅が用いられる。また、コバルトやチタンのような金属は、シリコンとの界面にシリサイドを形成したサリサイド配線や、バリアメタルとして設けられた配線層の下層膜として用いられる。
この発明の実施の形態2における半導体装置は、層間絶縁膜2に形成され、層間絶縁膜2の熱伝導率に対して相対的に大きい熱伝導率を有する第1の放熱部材としての配線43および配線44をさらに備える。配線43および配線44は、ビア配線47および52と金属配線としてのメタル配線46および51とを含む。配線43および配線44は、層間絶縁膜2の表面としての頂面2aから露出している。半導体装置は、層間絶縁膜2の外部に配置され、層間絶縁膜2の頂面2aから露出する配線43および配線44に接続された第2の放熱部材としてのヒートスプレッダ49をさらに備える。
このように構成された半導体装置によれば、層間絶縁膜2と比較して熱伝導率が大きい配線43および配線44を、層間絶縁膜2内で冷却構造として機能させることができる。これにより、トランジスタ素子45から発生した熱を効率良く放熱することができる。また、配線43および配線44は、頂面2a上に露出するように形成されているため、熱が層間絶縁膜2内にこもるということがない。加えて、配線44は、頂面2a上においてヒートスプレッダ49に接続されているため、配線44を介して頂面2a上にまで伝わった熱を、さらに外部へと効率良く放熱することができる。
なお、電気・信号配線や電源配線として設けられたものの実際には使用されていない配線の全てまたは一部を、上述の放熱構造として利用しても良い。
図11は、図10中に示す半導体装置の変形例を示す断面図である。図11を参照して、本変形例では、層間絶縁膜2に、頂面2a側に開口するトレンチ56が形成されている。トレンチ56の表面は、メタル配線膜57によって覆われている。トレンチ56の内部は、めっきにより形成され、たとえば銅などからなる放熱部材58によって充填されている。層間絶縁膜2の頂面2a上では、頂面2aから突出した位置に延在する放熱部材58の頂面とヒートスプレッダ49とが接続されている。図12は、図10中に示す半導体装置の別の変形例を示す断面図である。図12を参照して、本変形例では、図11中に示す冷却構造に対して、放熱部材58とヒートスプレッダ49との間にメタルバンプ48が介在している。
これらの構成によっても、図10中に示す半導体装置で得られる効果と同様の効果を得ることができる。なお、図11および図12に示すトレンチ56は、層間絶縁膜2の頂面2a側から半導体基板1の裏面1b側にまで達するように形成されていても良い。
(実施の形態3)
図13は、この発明の実施の形態3における半導体装置の一部を示す断面図である。本実施の形態における半導体装置は、実施の形態1に記載の半導体装置が備える冷却構造に加えて、図13を用いて説明する冷却構造をさらに備える。なお図中において、既に説明した半導体装置と比較して、同一またはそれに相当する部材には、同じ参照番号を付している。
図13を参照して、層間絶縁膜2には、実施の形態2における配線43または配線44に対応する配線66、67、68および69が所定の間隔を隔てて形成されている。層間絶縁膜2には、さらに、配線66、67および68のそれぞれの間に位置して、頂面2a側に開口するトレンチ63が形成されている。トレンチ63は、たとえば銅などからなる放熱部材64によって充填されている。放熱部材64は、層間絶縁膜2の頂面2a上に形成されたメタルパッド17に接触している。層間絶縁膜2には、さらに、メタル配線68および69の間に位置して、頂面2a側に開口するトレンチ62が形成されている。トレンチ62の内部には、冷却用の液体が通過、循環される。
このようなトレンチは、半導体ウェハの製造工程において通常利用されるドライエッチング工程により形成することができる。また、さらに大口径の開口を形成したい場合には、たとえば、水酸化カリウム溶液(KOH)を用いたシリコン基板の異方性ウェットエッチングを適用することによって、パターン形状に基づく四角錐状の孔を形成することができる。
このように構成された半導体装置によれば、層間絶縁膜2に形成された配線66から69に加えて、トレンチ63を充填する放熱部材64およびトレンチ62を流れる冷却用の液体が冷却のために機能する。このため、放熱の効率をさらに向上させることができる。
(実施の形態4)
図14は、この発明の実施の形態4における半導体装置を示す斜視図である。本実施の形態における半導体装置は、実施の形態1に記載の半導体装置が備える冷却構造に加えて、図14を用いて説明する冷却構造をさらに備える。なお図中において、既に説明した半導体装置と比較して、同一またはそれに相当する部材には、同じ参照番号を付している。
図14を参照して、本実施の形態における半導体装置は、高周波集積回路を構成している。層間絶縁膜2の頂面2a上には、L字状に折れ曲がって延びるインダクタ74と、渦巻き状に折れ曲がって延びるアンテナ73とが形成されている。インダクタ74およびアンテナ73は、たとえば、アルミニウムや銅を主成分とする材料から形成されている。主表面1aには、半導体素子71および72が形成されている。層間絶縁膜2には、半導体素子71および72に接続されたメタル配線46およびビア配線47からなる配線43が形成されている。インダクタ74およびアンテナ73は、配線43に接続されている。
この発明の実施の形態4における半導体装置では、第2の放熱部材は、インダクタ素子としてのインダクタ74およびアンテナ素子としてのアンテナ73の少なくともいずれか一方を含む。
このように構成された半導体装置によれば、配線43に加えて、インダクタ74およびアンテナ73を冷却構造として機能させることができる。このため、配線43を介して層間絶縁膜2の頂面2a上にまで伝わった熱を、さらに外部へと効率良く放熱することができる。
(実施の形態5)
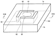
図15は、この発明の実施の形態5における半導体装置を示す斜視図である。図中には、半導体装置の断面が示されている。本実施の形態における半導体装置は、実施の形態1に記載の半導体装置が備える冷却構造に加えて、図15を用いて説明する断熱構造をさらに備える。なお図中において、既に説明した半導体装置と比較して、同一またはそれに相当する部材には、同じ参照番号を付している。
図15を参照して、半導体基板1の主表面1aには、半導体素子81が形成されている。半導体基板1には、主表面1a側に開口し、半導体素子81を取り囲むように延在するトレンチ82が形成されている。トレンチ82は、たとえばシリコン酸化膜やシリコン窒化膜からなる断熱部材85によって充填されている。これら断熱部材85を構成する材料は、半導体基板1を構成するシリコン等と比較して、小さい熱伝導率を有する。
半導体素子81は、熱の影響を小さく抑えたい半導体素子、たとえばアナログ回路を構成する半導体素子である。断熱部材85を挟んで半導体素子81の周囲に発熱量の大きい半導体素子が形成されている場合、その半導体素子から発生した熱が、半導体素子81に伝わることを抑制できる。これにより、半導体素子81に流れる電流値が、温度変化によって大きく変動することを防止できる。
また、断熱部材85に囲まれた領域に、半導体素子81と発熱量の大きい半導体素子とを形成しても良い。この場合、断熱部材85に囲まれた領域の外側に形成された半導体素子からの熱を遮断し、断熱部材85に囲まれた領域内を恒温化することができる。これによっても、上述の効果と同様の効果を得ることができる。
この発明の実施の形態5における半導体装置では、半導体基板1には、半導体素子81を取り囲むように、主表面1a側に開口する凹部としてのトレンチ82が形成されている。
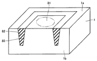
図16は、図15中に示す半導体装置の変形例を示す斜視図である。図17は、図16中のXVII−XVII線上に沿った断面図である。図16および図17を参照して、本変形例では、L字状に折れ曲がった形状を有する2つのトレンチ82が、半導体素子81を挟んで互いに対峙する位置に形成されている。このように、半導体基板1に形成するトレンチは、半導体素子81を完全に取り囲むように形成されていなくても良い。
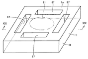
図18は、図15中に示す半導体装置の別の変形例を示す斜視図である。図19は、図18中のXIX−XIX線上に沿った断面図である。図18および図19を参照して、本変形例では、半導体基板1には、主表面1a上において一方向に延び、半導体基板1の主表面1a側から裏面1b側にまで達する4つのトレンチ87が形成されている。4つのトレンチ87は、半導体素子81を取り囲む四辺にそれぞれ配置されている。このようなトレンチ87を形成し、半導体素子81とその周りとを切り離すことによっても、上述の効果と同様の効果を得ることができる。なお、トレンチ87に、冷却用の流体を注入したり充填したりしても良い。
このように構成された半導体装置によれば、半導体基板1において局所的に発生する熱変化が、その影響を受けやすい半導体素子81に及ぶことを抑制できる。
(実施の形態6)
図20は、この発明の実施の形態6における半導体装置の一部を示す断面図である。本実施の形態における半導体装置は、実施の形態1に記載の半導体装置が備える冷却構造に加えて、図20を用いて説明する冷却構造をさらに備える。なお図中において、既に説明した半導体装置と比較して、同一またはそれに相当する部材には、同じ参照番号を付している。
図20を参照して、半導体基板1の主表面1aには、半導体素子90が形成されている。主表面1a上には、複数の層2pから2sが積層されてなる層間絶縁膜2が形成されている。層間絶縁膜2には、メタル配線51およびビア配線52からなる配線44が形成されている。層間絶縁膜2には、さらに、層2qに位置して、2種の異なる金属(アルミニウム、銅、タングステン、チタンおよびコバルトなど)または異なる導電型の半導体(シリコンおよびゲルマニウムなど)からなるペルチェ素子92および93が、主表面1aに平行な方向に交互に並んで形成されている。層2rに形成されたメタル配線51と層2qに形成されたメタル配線51とが交互になって、ペルチェ素子92および93を、隣り合う位置において互いに接続している。層間絶縁膜2の頂面2a上には、ヒートスプレッダ49が設けられている。ヒートスプレッダ49とビア配線52に接触するメタルパッド17とが、メタルバンプ48を介して接続されている。
図21は、図20に示す半導体装置で得られるペルチェ(peltier)効果を説明するための説明図である。図20および図21を参照して、ペルチェ素子92および93が、それぞれn型シリコンおよびp型シリコンから形成されており、図中に示す方向に電流を流す場合を想定する。この場合、電流がペルチェ素子92からペルチェ素子93に向かう側で吸熱作用が生じ、電流がペルチェ素子93からペルチェ素子92に向かう側で放熱作用が生じる。結果、主表面1aに形成された半導体素子90で発生した熱は、ペルチェ素子92および93が設けられた位置へと吸熱され、さらに、層間絶縁膜2の頂面2aへと放熱される。その熱は、メタルバンプ48を介してヒートスプレッダ49から外部へと放熱される。
この発明の実施の形態6における半導体装置は、層間絶縁膜2に形成されたペルチェ素子92および93をさらに備える。
このように構成された半導体装置によれば、ペルチェ素子92および93に所定の方向の電流を流し、ペルチェ効果を得ることによって、特定部位(本実施の形態では、主表面1a上の半導体素子90)を冷却することができる。これにより、配線44による効果に加えて、放熱の効率をさらに向上させることができる。
(実施の形態7)
図22は、この発明の実施の形態7における半導体装置を示す斜視図である。図23は、図22中のXXIII−XXIII線上に沿った断面図である。本実施の形態における半導体装置は、実施の形態1に記載の半導体装置が備える冷却構造に加えて、図22を用いて説明する冷却構造をさらに備える。
図22および図23を参照して、半導体パッケージ101は、図1中に示す半導体装置から構成された半導体チップ10と、半導体チップ10と所定の間隔を隔てて配置されたヒートスプレッダ104と、半導体チップ10およびヒートスプレッダ104を覆うパッケージ樹脂110とを備える。パッケージ樹脂110の内部には、冷却用流体が供給される一方端106と冷却用流体が回収される他方端107とを有する冷却路105が形成されている。冷却路105は、ヒートスプレッダ104の近傍において、所定の距離ごとに方向を変えながら一方端106から他方端107に向けて延びている。
この発明の実施の形態7における半導体装置としての半導体パッケージ101は、半導体基板1、層間絶縁膜2および冷却路3を含む半導体チップ10と、半導体チップ10を覆うように形成された樹脂部材としてのパッケージ樹脂110と、パッケージ樹脂110に形成され、冷却用流体が流れる第2の冷却路としての冷却路105とを備える。
このように構成された半導体パッケージ101によれば、半導体チップ10に設けられた冷却構造によりチップ外に放出された熱は、パッケージ樹脂110を介してヒートスプレッダ104へと伝わる。本実施の形態では、ヒートスプレッダ104に近接して冷却路105が形成されているため、冷却路105を流れる冷却用流体を通じて、チップ外に放出された熱を、さらにパッケージ外へと効率良く放熱することができる。
(実施の形態8)
図24は、この発明の実施の形態8における半導体装置を示す断面図である。本実施の形態における半導体装置は、実施の形態1に記載の半導体装置が備える冷却構造に加えて、図24を用いて説明する冷却構造をさらに備える。
図24を参照して、図1中に示す半導体装置から構成された半導体チップ10は、複数の四角錐状の孔116が形成された表面10aを有する。孔116は、その底面がチップ内に形成されていたり、貫通していたりする。このような孔116により、半導体チップ10の表面10aは凹凸形状に形成されている。
この発明の実施の形態8における半導体チップ10では、半導体チップ10の表面10aが凹凸形状に形成されている。
このように構成された半導体チップ10によれば、表面10aの表面積を増大させることができる。これにより、半導体チップ10の内部に配置された半導体素子で発生する熱を効率良くチップ外へと放熱することができる。
図25は、図24中に示す半導体装置の変形例を示す断面図である。図25を参照して、本変形例では、半導体チップ10の表面10aが、機械的に粗く研磨されることによって、凹凸形状に粗面化されている。半導体チップ10には、その粗面化された表面10aに接触するように、たとえば、銅、鉄−ニッケル合金および半田などからなる放熱部材121が設けられている。このような構成により、放熱部材121と半導体チップ10との接触面積を増大させ、効率の良い放熱を実現することができる。
また別の変形例として、半導体チップを作製する半導体プロセスにおいて、ゲート電極用として堆積したポリシリコン膜の一部の領域に、HSG(hemispherical silicon grain)酸化工程を実施しても良い。この場合、堆積したポリシリコン膜上に、さらにアモルファス(非晶質)シリコン薄膜を堆積する。その後、550℃程度の温度で熱処理し、ポリシリコン膜上に粒状のシリコンを成長させる。これらの工程により、ポリシリコン膜の表面に半球状の凹凸形状を形成することができる。
(実施の形態9)
図26は、この発明の実施の形態9における半導体装置を示す断面図である。図29を参照して、半導体パッケージ131は、複数の半導体チップ132が内部に搭載されるマルチチップタイプの半導体パッケージである。半導体パッケージ131は、互いに所定の間隔を隔てて位置決めされた複数の半導体チップ132(132a、132bおよび132c)と、複数の半導体チップ132の間を接続するメタルバンプ133と、複数の半導体チップ132の間に配置された、たとえば銅などからなる放熱部材135とを備える。なお図示しないが、半導体パッケージ131には、複数の半導体チップ132間のフィラーとして、パッケージ樹脂やポリイミドなどの樹脂材料が設けられている。
複数の半導体チップ132は、半導体チップ132aおよび132cが両端に位置し、半導体チップ132bがその間に位置するように配置されている。複数の半導体チップ132の各々には、チップを貫通するビア配線134が形成されている。メタルバンプ133がそのビア配線134に接触して設けられることによって、複数の半導体チップ132が積層された状態で互いに接続されている。
半導体チップ132cに隣り合う位置には、半導体チップ132cとの間に間隔を設けてヒートスプレッダ136が配置されている。半導体チップ132cとヒートスプレッダ136とは、半導体チップ132cに形成されたビア配線134に接触するメタルバンプ133によって接続されている。半導体チップ132cとヒートスプレッダ136との間には、放熱部材135が配置されている。
なお、本実施の形態では、複数の半導体チップ132の間および半導体チップ132cとヒートスプレッダ136との間に放熱部材135を配置したが、本発明は、これに限定されない。たとえば、これらの間を充填するパッケージ樹脂に冷却路を形成し、その冷却路に冷却用の気体や液体を流しても良い。
また、本実施の形態では、駆動させた場合の発熱が比較的小さい半導体チップ132bが、複数の半導体チップ132の配列の中間部分に位置決めされ、発熱が比較的大きい半導体チップ132aおよび132cが、複数の半導体チップ132の配列の両端に配置されている。また好ましくは、半導体チップ132aおよび132bの発熱量が、ヒートスプレッダ136に隣り合って設けられた半導体チップ132cの発熱量よりも小さくても良い。
この発明の実施の形態9におけるマルチチップタイプの半導体パッケージ131は、互いに間隔を隔てて一方向に配列された複数の半導体チップ132と、複数の半導体チップ132の各々に直接、接触し、隣り合う複数の半導体チップ132を互いに接続する金属配線としてのメタルバンプ133と、隣り合う複数の半導体チップ132間に配置された放熱手段としての放熱部材135とを備える。一方向に配列された複数の半導体チップ132のうち中間に位置する半導体チップ132bから発生する熱量が、一方向に配列された複数の半導体チップ132のうち両端に位置する半導体チップ132aおよび132cから発生する熱量よりも小さい。
半導体パッケージ131は、一方向に配列された複数の半導体チップ132のうち端に位置する半導体チップ132cに隣り合い、半導体チップ132cに接続された放熱板としてのヒートスプレッダ136をさらに備える。ヒートスプレッダ136が接続された半導体チップ132cを除く他の複数の半導体チップ132aおよび132bから発生する熱量は、ヒートスプレッダ136が接続された半導体チップ132cから発生する熱量よりも小さい。
このように構成された半導体パッケージ131によれば、複数の半導体チップ132は、互いにメタルバンプ133を介して接続されているため、発生した熱をチップ間で熱伝導させることができる。これにより、複数の半導体チップ132を配列した方向の温度勾配を低減させるとともに、チップ間に配置した放熱部材135および半導体チップ132cに隣り合って配置したヒートスプレッダ136によって、複数の半導体チップ132を冷却することができる。
一般的に、半導体チップには、ジャンクション温度の絶対最大定格が設けられており、素子破壊を起こさないための温度上限が存在する。また、半導体素子を高温で動作させると、半導体内部のキャリア移動度の低下に伴うトランジスタ性能の劣化、ドライバの駆動電流/ドライバ能力の低下および動作速度の低下、ならびに接合リーク電流の急激な上昇による消費電力の増大など、デバイス特性の劣化が引き起こされる。また、チップ間に温度勾配が存在すると、半導体特性のばらつきが増大し、設計上の動作タイミングに対してずれが生じることも想定される。特に、信号の送信側と受信側とで温度が異なり、信号タイミングにずれが生じた場合は、誤動作を引き起こす可能性がある。本実施の形態における半導体パッケージ131によれば、上述の効果によりこれらの問題を解決することができる。
また、複数の半導体チップ132が配列された中間部分やヒートスプレッダ136から離れた位置では、半導体チップから発生した熱が比較的、放熱されにくい。このため、このような位置に発熱量の大きい半導体チップを配置することによって、温度勾配をさらに低減させ、半導体チップをさらに効率良く冷却することができる。
(実施の形態10)
図27は、この発明の実施の形態10における半導体装置を示す斜視図である。図28は、図27中に示す矢印XXVIIIから見た半導体装置を示す正面図である。
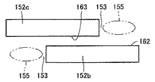
図27および図28を参照して、半導体パッケージ151は、複数の半導体チップ152が内部に搭載されるマルチチップタイプの半導体パッケージである。半導体パッケージ151は、間隔を隔てて位置決めされた複数の半導体チップ152(152a、152bおよび152c)と、複数の半導体チップ152間を充填し、パッケージ樹脂やポリイミドなどからなる図示しない樹脂材料と、その樹脂材料に形成され、冷却用の気体や液体が流される冷却路155とを備える。
半導体チップ152aおよび152cは、互いに向い合う位置において、表面161および163をそれぞれ有する。半導体チップ152bは、半導体チップ152cと向い合う位置において表面162を有する。半導体チップ152aおよび152cは、表面161に表面163と向い合わない部分が生じるように、互いにずれて配置されている。表面163と向い合わない表面161のその部分の近傍には、半導体チップ152aおよび152cに隣り合って、空間153が規定されている。同様に、半導体チップ152bは、半導体チップ152cの表面163と向い合わない部分を表面162に有し、その部分の近傍には、半導体チップ152bおよび152cに隣り合って、空間153が規定されている。さらに、半導体チップ152aと半導体チップ152bとの間にも、空間153が規定されている。
冷却路155は、その空間153に位置し、半導体チップの周縁に沿って延びている。なお、冷却路155のほか、銅などからなる放熱部材を空間153に配置しても良い。
図29は、図28中に示す半導体パッケージの変形例を示す正面図である。図29を参照して、本変形例では、半導体チップ152bおよび152cが、図28中に示す半導体パッケージ151と同様に配置されている。半導体チップ152bおよび152cに隣り合って規定された空間153には、冷却路155が設けられている。
図30は、図28中に示す半導体パッケージの別の変形例を示す正面図である。図30を参照して、半導体パッケージは、互いに所定の間隔を隔てて位置決めされた複数の半導体チップ152(152dおよび152e)と、複数の半導体チップ152間を充填し、パッケージ樹脂やポリイミドなどからなる図示しない樹脂材料と、その樹脂材料に形成され、冷却用の気体や液体が流される冷却路155とを備える。
半導体チップ152dおよび152eは、互いに向い合う位置において、表面181および182をそれぞれ有する。表面182は、表面181より大きい面積で形成されており、表面181と向い合わない部分を有する。表面181と向い合わない表面182のその部分の近傍には、半導体チップ152dおよび152eに隣り合って、空間153が規定されている。冷却路155は、その空間153に位置し、半導体チップ152dの周縁に沿って延びている。
この発明の実施の形態10におけるマルチチップタイプの半導体パッケージ151は、互いに隣り合う位置に空間153を規定するように配置された複数の半導体チップ152と、空間153に設けられた放熱手段としての冷却路155とを備える。複数の半導体チップ152は、互いに向い合う位置において異なる大きさの表面181および182を有する2つの半導体チップ152dおよび152eと、隣り合った位置においてずれて配置された2つの半導体チップ152aおよび152c(152bおよび152c)との少なくともいずれか一方を含む。放熱手段は、冷却用流体が流れる冷却路155および金属材料からなる放熱部材の少なくともいずれか一方を含む。
このように構成された半導体パッケージ151によれば、隣り合う半導体チップ間に規定された空間153に冷却路155を形成しているため、半導体パッケージ151をコンパクトに維持しつつ、半導体チップを効率良く冷却することができる。これにより、半導体パッケージ151に搭載する半導体チップの数を増大させることができ、高性能な半導体集積回路を実現することができる。
なお、以上に説明した実施の形態1から10の半導体装置を適宜、組み合わせて、半導体装置を構成しても良い。この場合、組み合わせた実施の形態の半導体装置で得られる効果を総合的に得ることができる。
今回開示された実施の形態はすべての点で例示であって制限的なものではないと考えられるべきである。本発明の範囲は上記した説明ではなくて特許請求の範囲によって示され、特許請求の範囲と均等の意味および範囲内でのすべての変更が含まれることが意図される。
この発明の実施の形態1における半導体装置を示す斜視図である。 図1中に示す半導体装置が設けられた半導体パッケージを示す斜視図である。 図2中のポンプチップの構造を示す断面図である。 層間絶縁膜に冷却路を製造する方法の第1工程を示す断面図である。 層間絶縁膜に冷却路を製造する方法の第2工程を示す断面図である。 層間絶縁膜に冷却路を製造する方法の第3工程を示す断面図である。 層間絶縁膜に冷却路を製造する方法の第4工程を示す断面図である。 図1中に示す半導体装置の変形例を示す斜視図である。 図1中に示す半導体装置の別の変形例を示す斜視図である。 この発明の実施の形態2における半導体装置の一部を示す断面図である。 図10中に示す半導体装置の変形例を示す断面図である。 図10中に示す半導体装置の別の変形例を示す断面図である。 この発明の実施の形態3における半導体装置の一部を示す断面図である。 この発明の実施の形態4における半導体装置を示す斜視図である。 この発明の実施の形態5における半導体装置を示す斜視図である。 図15中に示す半導体装置の変形例を示す斜視図である。 図16中のXVII−XVII線上に沿った断面図である。 図15中に示す半導体装置の別の変形例を示す斜視図である。 図18中のXIX−XIX線上に沿った断面図である。 この発明の実施の形態6における半導体装置の一部を示す断面図である。 図20に示す半導体装置で得られるペルチェ効果を説明するための説明図である。 この発明の実施の形態7における半導体装置を示す斜視図である。 図22中のXXIII−XXIII線上に沿った断面図である。 この発明の実施の形態8における半導体装置を示す断面図である。 図24中に示す半導体装置の変形例を示す断面図である。 この発明の実施の形態9における半導体装置を示す断面図である。 この発明の実施の形態10における半導体装置を示す斜視図である。 図27中に示す矢印XXVIIIから見た半導体装置を示す正面図である。 図28中に示す半導体パッケージの変形例を示す正面図である。 図28中に示す半導体パッケージの別の変形例を示す正面図である。
符号の説明
1 半導体基板、1a 主表面、2 層間絶縁膜、2a 頂面、3,105,155 冷却路、4 一方端、5 他方端、10,132,132a,132b,132c,152,152a,152b,152c,152d,152e 半導体チップ、10a,181,182 表面、11,110 パッケージ樹脂、12,49,136 ヒートスプレッダ、13 ポンプチップ、20,131,151 半導体パッケージ、43,44,66,67,68,69 配線、46,51 メタル配線、47,52 ビア配線、64,135 放熱部材、73 アンテナ、74 インダクタ、81 半導体素子、82,87 トレンチ、92,93 ペルチェ素子、133 メタルバンプ、153 空間。

Claims (21)

  1. 主表面を有する半導体基板と、
    前記主表面上に形成され、前記主表面に設けられた半導体素子を覆う層間絶縁膜と、
    前記層間絶縁膜に形成され、冷却用流体が流れる第1の冷却路とを備える、半導体装置。
  2. 前記第1の冷却路は、前記層間絶縁膜の内部を循環するように形成されている、請求項1に記載の半導体装置。
  3. 前記第1の冷却路は、冷却用流体が供給される一方端と、冷却用流体が排出される他方端とを含む、請求項1または2に記載の半導体装置。
  4. 前記半導体基板、前記層間絶縁膜および前記第1の冷却路を含む半導体チップと、
    前記半導体チップを覆うように形成された樹脂部材と、
    前記樹脂部材内に設けられたポンプ部および金属材料からなる放熱部とを備え、
    前記ポンプ部は、前記一方端および前記他方端に接続されて、前記第1の冷却路に冷却用流体を循環させ、前記放熱部は、前記他方端から排出された冷却用流体の熱を放熱する、請求項3に記載の半導体装置。
  5. 前記層間絶縁膜に形成され、前記層間絶縁膜の熱伝導率に対して相対的に大きい熱伝導率を有する第1の放熱部材をさらに備える、請求項1から4のいずれか1項に記載の半導体装置。
  6. 前記第1の放熱部材は、ビアホールおよび金属配線を含む、請求項5に記載の半導体装置。
  7. 前記第1の放熱部材は、前記層間絶縁膜の表面から露出している、請求項5または6に記載の半導体装置。
  8. 前記層間絶縁膜の外部に配置され、前記層間絶縁膜の表面から露出する前記第1の放熱部材に接続された第2の放熱部材をさらに備える、請求項7に記載の半導体装置。
  9. 前記第2の放熱部材は、インダクタ素子およびアンテナ素子の少なくともいずれか一方を含む、請求項8に記載の半導体装置。
  10. 前記半導体基板には、半導体素子を取り囲むように、前記主表面側に開口する凹部が形成されている、請求項1から9のいずれか1項に記載の半導体装置。
  11. 前記層間絶縁膜に形成されたペルチェ素子をさらに備える、請求項1から10のいずれか1項に記載の半導体装置。
  12. 前記半導体基板、前記層間絶縁膜および前記第1の冷却路を含む半導体チップと、
    前記半導体チップを覆うように形成された樹脂部材と、
    前記樹脂部材に形成され、冷却用流体が流れる第2の冷却路とを備える、請求項1から11のいずれか1項に記載の半導体装置。
  13. 前記半導体チップの表面に接触して形成された第3の放熱部材をさらに備える、請求項12に記載の半導体装置。
  14. 前記半導体チップの表面が凹凸形状に形成されている、請求項12または13に記載の半導体装置。
  15. 半導体パッケージ内に複数の半導体チップが搭載されるマルチチップタイプの半導体装置であって、
    互いに間隔を隔てて一方向に配列された複数の半導体チップと、
    前記複数の半導体チップの各々に直接、接触し、隣り合う前記複数の半導体チップを互いに接続する金属配線と、
    隣り合う前記複数の半導体チップ間に配置された放熱手段とを備える、半導体装置。
  16. 前記放熱手段は、冷却用流体が流れる冷却路および金属材料からなる放熱部材の少なくともいずれか一方を含む、請求項15に記載の半導体装置。
  17. 一方向に配列された前記複数の半導体チップのうち中間に位置する半導体チップから発生する熱量が、一方向に配列された前記複数の半導体チップのうち両端に位置する半導体チップから発生する熱量よりも小さい、請求項15または16に記載の半導体装置。
  18. 一方向に配列された前記複数の半導体チップのうち端に位置する半導体チップに隣り合い、前記半導体チップに接続された放熱板をさらに備える、請求項15から17のいずれか1項に記載の半導体装置。
  19. 前記放熱板が接続された前記半導体チップを除く他の前記複数の半導体チップから発生する熱量は、前記放熱部材が接続された前記半導体チップから発生する熱量よりも小さい、請求項18に記載の半導体装置。
  20. 半導体パッケージ内に複数の半導体チップが搭載されるマルチチップタイプの半導体装置であって、
    互いに隣り合う位置に空間を規定するように配置された複数の半導体チップと、
    前記空間に設けられた放熱手段とを備え、
    前記複数の半導体チップは、互いに向い合う位置において異なる大きさの表面を有する2つの半導体チップおよび隣り合った位置においてずれて配置された2つの半導体チップの少なくともいずれか一方を含む、半導体装置。
  21. 前記放熱手段は、冷却用流体が流れる冷却路および金属材料からなる放熱部材の少なくともいずれか一方を含む、請求項20に記載の半導体装置。
JP2004111380A 2004-04-05 2004-04-05 半導体装置 Expired - Fee Related JP4458906B2 (ja)

Priority Applications (1)

Application Number Priority Date Filing Date Title
JP2004111380A JP4458906B2 (ja) 2004-04-05 2004-04-05 半導体装置

Applications Claiming Priority (1)

Application Number Priority Date Filing Date Title
JP2004111380A JP4458906B2 (ja) 2004-04-05 2004-04-05 半導体装置

Publications (3)

Publication Number Publication Date
JP2005294760A true JP2005294760A (ja) 2005-10-20
JP2005294760A5 JP2005294760A5 (ja) 2007-05-10
JP4458906B2 JP4458906B2 (ja) 2010-04-28

Family

ID=35327313

Family Applications (1)

Application Number Title Priority Date Filing Date
JP2004111380A Expired - Fee Related JP4458906B2 (ja) 2004-04-05 2004-04-05 半導体装置

Country Status (1)

Country Link
JP (1) JP4458906B2 (ja)

Cited By (13)

* Cited by examiner, † Cited by third party
Publication number Priority date Publication date Assignee Title
JP2007142276A (ja) * 2005-11-21 2007-06-07 Toshiba Corp 半導体装置及びその製造方法
JP2008047894A (ja) * 2006-08-11 2008-02-28 Dongbu Hitek Co Ltd 半導体素子及びその製造方法
JP2009521115A (ja) * 2005-12-23 2009-05-28 コーニンクレッカ フィリップス エレクトロニクス エヌ ヴィ 犠牲相互接続部を用いたオンチップ相互接続スタック冷却
EP2315243A1 (fr) * 2009-10-23 2011-04-27 STmicroelectronics SA Plaque d'interface entre circuits intégrés
JP2013533612A (ja) * 2010-06-02 2013-08-22 コミサリア ア レネルジ アトミク エ オウ エネルジ アルタナティヴ 熱輸送冷媒を流すことができるチャネルを有する電子チップ、電子コンポーネント、およびこの電子チップ内蔵のスイッチングアーム
JP2013251545A (ja) * 2012-05-31 2013-12-12 Freescale Semiconductor Inc 熱に敏感な半導体デバイスの熱への露出を低減するための方法および構造体
JP2018018908A (ja) * 2016-07-26 2018-02-01 パナソニックIpマネジメント株式会社 熱電変換器
JP2018067561A (ja) * 2016-10-17 2018-04-26 Tdk株式会社 半導体チップおよび磁気記録装置
JP2020515051A (ja) * 2017-02-06 2020-05-21 エルジー イノテック カンパニー リミテッド 熱電焼結体および熱電素子
CN111584438A (zh) * 2019-02-15 2020-08-25 爱思开海力士有限公司 半导体装置
CN113249692A (zh) * 2021-04-29 2021-08-13 林梅琴 一种大功率半导体元器件的冷却板
CN115172296A (zh) * 2021-04-05 2022-10-11 Jmj韩国株式会社 结合具有半导体芯片的半导体部件和冷却装置的冷却系统
CN119289549A (zh) * 2024-12-10 2025-01-10 安徽农业大学 一种半导体制冷结构以及冷凝器

Cited By (19)

* Cited by examiner, † Cited by third party
Publication number Priority date Publication date Assignee Title
JP2007142276A (ja) * 2005-11-21 2007-06-07 Toshiba Corp 半導体装置及びその製造方法
US7936563B2 (en) 2005-12-23 2011-05-03 Nxp B.V. On-chip interconnect-stack cooling using sacrificial interconnect segments
JP2009521115A (ja) * 2005-12-23 2009-05-28 コーニンクレッカ フィリップス エレクトロニクス エヌ ヴィ 犠牲相互接続部を用いたオンチップ相互接続スタック冷却
JP2008047894A (ja) * 2006-08-11 2008-02-28 Dongbu Hitek Co Ltd 半導体素子及びその製造方法
US8704363B2 (en) 2009-10-23 2014-04-22 Stmicroelectronics S.A. Interface plate between integrated circuits
FR2951871A1 (fr) * 2009-10-23 2011-04-29 St Microelectronics Sa Plaque d'interface entre circuits integres
EP2315243A1 (fr) * 2009-10-23 2011-04-27 STmicroelectronics SA Plaque d'interface entre circuits intégrés
JP2013533612A (ja) * 2010-06-02 2013-08-22 コミサリア ア レネルジ アトミク エ オウ エネルジ アルタナティヴ 熱輸送冷媒を流すことができるチャネルを有する電子チップ、電子コンポーネント、およびこの電子チップ内蔵のスイッチングアーム
JP2013251545A (ja) * 2012-05-31 2013-12-12 Freescale Semiconductor Inc 熱に敏感な半導体デバイスの熱への露出を低減するための方法および構造体
JP2018018908A (ja) * 2016-07-26 2018-02-01 パナソニックIpマネジメント株式会社 熱電変換器
JP2018067561A (ja) * 2016-10-17 2018-04-26 Tdk株式会社 半導体チップおよび磁気記録装置
JP2020515051A (ja) * 2017-02-06 2020-05-21 エルジー イノテック カンパニー リミテッド 熱電焼結体および熱電素子
JP7293116B2 (ja) 2017-02-06 2023-06-19 エルジー イノテック カンパニー リミテッド 熱電焼結体および熱電素子
US11937506B2 (en) 2017-02-06 2024-03-19 Lg Innotek Co., Ltd. Thermoelectric element
US12274171B2 (en) 2017-02-06 2025-04-08 Lg Innotek Co., Ltd. Thermoelectric element
CN111584438A (zh) * 2019-02-15 2020-08-25 爱思开海力士有限公司 半导体装置
CN115172296A (zh) * 2021-04-05 2022-10-11 Jmj韩国株式会社 结合具有半导体芯片的半导体部件和冷却装置的冷却系统
CN113249692A (zh) * 2021-04-29 2021-08-13 林梅琴 一种大功率半导体元器件的冷却板
CN119289549A (zh) * 2024-12-10 2025-01-10 安徽农业大学 一种半导体制冷结构以及冷凝器

Also Published As

Publication number Publication date
JP4458906B2 (ja) 2010-04-28

Similar Documents

Publication Publication Date Title
CN102347316B (zh) 三维集成电路结构
US7663230B2 (en) Methods of forming channels on an integrated circuit die and die cooling systems including such channels
US8030113B2 (en) Thermoelectric 3D cooling
EP2304792B1 (en) Active thermal control for stacked ic devices
TWI529877B (zh) 半導體裝置
US8674491B2 (en) Semiconductor device
JP4458906B2 (ja) 半導体装置
US20120063090A1 (en) Cooling mechanism for stacked die package and method of manufacturing the same
TWI878643B (zh) 具有熱增強的三維ic封裝
CN101427368A (zh) 电渗透泵和微通道
KR20160021752A (ko) 집적된 열전 냉각
CN115565967A (zh) 半导体结构
JP4942807B2 (ja) フリップチップ半導体素子の熱電冷却器
CN105938821A (zh) 热增强的散热器
CN101292348A (zh) 具有增强的热和器件性能的可堆叠晶片或管芯封装
CN115579336A (zh) 三维集成结构及其制作方法
CN110277361A (zh) 热辐射装置、包括其的半导体封装件和半导体装置
CN119517867A (zh) 半导体装置、集成电路器件及其制造方法
CN102194811B (zh) 热电装置
JPH10233473A (ja) 半導体素子の放熱構造とその放熱方法
CN110660759B (zh) 散热结构及制造散热结构的方法
CN116884929B (zh) 一种三维芯片封装结构及其制造方法
TW202527264A (zh) 封裝結構、冷卻特徵、用於冷卻封裝結構之方法
CN121054495A (zh) 形成封装结构的方法、以及封装结构
CN119317343A (zh) 热电致冷芯片及其制作方法和封装结构

Legal Events

Date Code Title Description
A521 Request for written amendment filed

Free format text: JAPANESE INTERMEDIATE CODE: A523

Effective date: 20070316

A621 Written request for application examination

Free format text: JAPANESE INTERMEDIATE CODE: A621

Effective date: 20070316

A977 Report on retrieval

Free format text: JAPANESE INTERMEDIATE CODE: A971007

Effective date: 20090713

A131 Notification of reasons for refusal

Free format text: JAPANESE INTERMEDIATE CODE: A131

Effective date: 20090818

A521 Request for written amendment filed

Free format text: JAPANESE INTERMEDIATE CODE: A523

Effective date: 20091015

A131 Notification of reasons for refusal

Free format text: JAPANESE INTERMEDIATE CODE: A131

Effective date: 20091110

A521 Request for written amendment filed

Free format text: JAPANESE INTERMEDIATE CODE: A523

Effective date: 20100106

TRDD Decision of grant or rejection written
A01 Written decision to grant a patent or to grant a registration (utility model)

Free format text: JAPANESE INTERMEDIATE CODE: A01

Effective date: 20100202

A01 Written decision to grant a patent or to grant a registration (utility model)

Free format text: JAPANESE INTERMEDIATE CODE: A01

A61 First payment of annual fees (during grant procedure)

Free format text: JAPANESE INTERMEDIATE CODE: A61

Effective date: 20100209

R150 Certificate of patent or registration of utility model

Free format text: JAPANESE INTERMEDIATE CODE: R150

FPAY Renewal fee payment (event date is renewal date of database)

Free format text: PAYMENT UNTIL: 20130219

Year of fee payment: 3

S111 Request for change of ownership or part of ownership

Free format text: JAPANESE INTERMEDIATE CODE: R313111

FPAY Renewal fee payment (event date is renewal date of database)

Free format text: PAYMENT UNTIL: 20130219

Year of fee payment: 3

R350 Written notification of registration of transfer

Free format text: JAPANESE INTERMEDIATE CODE: R350

FPAY Renewal fee payment (event date is renewal date of database)

Free format text: PAYMENT UNTIL: 20140219

Year of fee payment: 4

S531 Written request for registration of change of domicile

Free format text: JAPANESE INTERMEDIATE CODE: R313531

R350 Written notification of registration of transfer

Free format text: JAPANESE INTERMEDIATE CODE: R350

LAPS Cancellation because of no payment of annual fees