JP2005294502A - コネクタ端子を有する電子回路ユニットおよび回路基板 - Google Patents
コネクタ端子を有する電子回路ユニットおよび回路基板 Download PDFInfo
- Publication number
- JP2005294502A JP2005294502A JP2004106891A JP2004106891A JP2005294502A JP 2005294502 A JP2005294502 A JP 2005294502A JP 2004106891 A JP2004106891 A JP 2004106891A JP 2004106891 A JP2004106891 A JP 2004106891A JP 2005294502 A JP2005294502 A JP 2005294502A
- Authority
- JP
- Japan
- Prior art keywords
- circuit board
- grounding
- noise
- frame ground
- separation
- Prior art date
- Legal status (The legal status is an assumption and is not a legal conclusion. Google has not performed a legal analysis and makes no representation as to the accuracy of the status listed.)
- Pending
Links
- 238000000926 separation method Methods 0.000 claims description 49
- 238000002955 isolation Methods 0.000 claims description 7
- 238000000034 method Methods 0.000 abstract description 7
- 239000002184 metal Substances 0.000 description 8
- 229910052751 metal Inorganic materials 0.000 description 8
- 239000004020 conductor Substances 0.000 description 6
- 230000033228 biological regulation Effects 0.000 description 5
- 239000003990 capacitor Substances 0.000 description 5
- 238000010586 diagram Methods 0.000 description 5
- 230000005855 radiation Effects 0.000 description 3
- 239000000463 material Substances 0.000 description 2
- 229910000906 Bronze Inorganic materials 0.000 description 1
- RYGMFSIKBFXOCR-UHFFFAOYSA-N Copper Chemical compound [Cu] RYGMFSIKBFXOCR-UHFFFAOYSA-N 0.000 description 1
- OAICVXFJPJFONN-UHFFFAOYSA-N Phosphorus Chemical compound [P] OAICVXFJPJFONN-UHFFFAOYSA-N 0.000 description 1
- 239000004642 Polyimide Substances 0.000 description 1
- 239000010974 bronze Substances 0.000 description 1
- 239000011248 coating agent Substances 0.000 description 1
- 238000000576 coating method Methods 0.000 description 1
- 229910052802 copper Inorganic materials 0.000 description 1
- 239000010949 copper Substances 0.000 description 1
- KUNSUQLRTQLHQQ-UHFFFAOYSA-N copper tin Chemical compound [Cu].[Sn] KUNSUQLRTQLHQQ-UHFFFAOYSA-N 0.000 description 1
- 239000003822 epoxy resin Substances 0.000 description 1
- 230000002349 favourable effect Effects 0.000 description 1
- 239000011521 glass Substances 0.000 description 1
- 230000010365 information processing Effects 0.000 description 1
- 238000009434 installation Methods 0.000 description 1
- 239000011810 insulating material Substances 0.000 description 1
- 238000004519 manufacturing process Methods 0.000 description 1
- 239000007769 metal material Substances 0.000 description 1
- 238000001259 photo etching Methods 0.000 description 1
- 229920000647 polyepoxide Polymers 0.000 description 1
- 229920001721 polyimide Polymers 0.000 description 1
- 230000008054 signal transmission Effects 0.000 description 1
- 230000001629 suppression Effects 0.000 description 1
- 230000002747 voluntary effect Effects 0.000 description 1
Images
Landscapes
- Structure Of Printed Boards (AREA)
- Shielding Devices Or Components To Electric Or Magnetic Fields (AREA)
Abstract
【課題】 コネクタ端子部のフレームグランドを介して、ノイズが他の信号に、または、他の信号のフレームグランドに伝導することを防止する技術を提供。
【解決手段】 回路素子群が搭載される回路基板10と、外部との接続を行うための、複数のコネクタ端子31−37と、回路基板10に設けられるフレームグランド30とを有する。フレームグランド30は、複数の分離領域31−37に分離された状態で、回路基板10の縁部に沿って配置される。そして、複数の分離領域31−37は、複数のコネクタ端子41−47に対応して、分散して配置される。かつ、各部分離領域31−17は接地部材61−67により筐体100に接地される。
【選択図】図1
【解決手段】 回路素子群が搭載される回路基板10と、外部との接続を行うための、複数のコネクタ端子31−37と、回路基板10に設けられるフレームグランド30とを有する。フレームグランド30は、複数の分離領域31−37に分離された状態で、回路基板10の縁部に沿って配置される。そして、複数の分離領域31−37は、複数のコネクタ端子41−47に対応して、分散して配置される。かつ、各部分離領域31−17は接地部材61−67により筐体100に接地される。
【選択図】図1
Description
本発明は、コネクタ端子を有する電子回路ユニットおよびそれに用いられる回路基板に係り、特に、それらのノイズを低減する技術に関する。
近年、電子回路基板からの電気的なノイズを低減することが求められている。そのために、電子回路自体にノイズ対策を施した電子回路基板が提案されている。例えば、高周波ノイズを低減するものとして、パワーICにおいて、小信号用の接地とその他の信号用の接地とを区別するという技術が開示されている(特許文献1)。
また、電子回路部品の動作時に電源層とアース層との間で電圧変動が生じることにより放射されるノイズ低減を図るものとして、電源層として、第1、第2の電源分離パターンと、第1、第2のアース層領域とを設け、第1の電源分離パターンの端部と第1のアース分離パターンとを接続する状態でバイパスコンデンサが、また、第2の電源分離パターンの端部と第2のアース分離パターンとを接続する状態でバイパスコンデンサが設けられ、バイパスコンデンサのそれぞれが、第1、第2電源分離パターンの端部に沿って略一定の間隔で配置されている構造としたものが開示されている(特許文献2)。
さらに、電子装置のケーブルから輻射する不要輻射ノイズを低減するものとして、フレームグランドに接地する接地板にケーブルを固定することによって接地するものが開示されている(特許文献3)。
ところで、電子機器において問題となるのは、当該機器内部でのノイズの問題に限られない。すなわち、当該電子機器から他の機器に対してノイズを伝えてしまい、他の機器にノイズの影響を与えてしまうという問題がある。この問題が生ずる原因の1つは、コネクタ端子を介して、ノイズが伝導すること、または、ノイズが放射されることにある。
しかし、従来、この問題についての対策は採られていない。前述した特許文献1では、電子回路基板に搭載される内部回路における設置の問題を扱っている。また、特許文献2では、回路基板における電源層とアース層との間での電圧変動の影響を除去するという問題を扱っている。従って、いずれも、コネクタ端子を介したノイズを漏洩するための技術を示すものではない。
一方、特許文献3では、ケーブルから輻射するノイズを低減するものである。しかし、ケーブルを接地板に接触させて、フレームグランドに接触させるに過ぎない。これによっても、もちろんある程度のノイズの漏洩を防ぐことができる。
しかし、近年、外部に漏洩する電磁ノイズをできる限り低減することが求められており、この特許文献3の対策では十分ではない。もちろん、ノイズを低減させることは技術的に不可能ではない。しかし、コストをかけずにノイズを低減することは必ずしも容易ではない。
本発明は、コネクタ端子部のフレームグランドを介して、ノイズが他の信号に、または、他の信号のフレームグランドに伝導することを防止する技術を提供することを目的とする。
本発明の第1の態様によれば、回路素子群が搭載され、電子機器の筐体に収容される電子回路ユニットにおいて、
前記回路素子群が搭載される回路基板と、
外部との接続を行うための、複数のコネクタ端子と、
前記回路基板に設けられるフレームグランドと、を有し、
前記フレームグランドは、複数の分離領域に分離された状態で、前記回路基板の縁部に沿って配置され、かつ、前記複数の分離領域は、複数のコネクタ端子に対応して、分散して配置され、
前記各分離領域は、それぞれ接地されること
ることを特徴とする電子回路ユニットが提供される。
前記回路素子群が搭載される回路基板と、
外部との接続を行うための、複数のコネクタ端子と、
前記回路基板に設けられるフレームグランドと、を有し、
前記フレームグランドは、複数の分離領域に分離された状態で、前記回路基板の縁部に沿って配置され、かつ、前記複数の分離領域は、複数のコネクタ端子に対応して、分散して配置され、
前記各分離領域は、それぞれ接地されること
ることを特徴とする電子回路ユニットが提供される。
また、本発明の他の態様によれば、回路素子群およびコネクタ端子を搭載するための回路基板において、
フレームグランドを有し、
前記フレームグランドは、複数の分離領域に分離された状態で、当該回路基板の縁部に沿って配置され、かつ、前記複数の分離領域は、複数のコネクタ端子に対応して、分散して配置され、
前記各分離領域は、それぞれ接地されること
を特徴とする回路基板が提供される。
フレームグランドを有し、
前記フレームグランドは、複数の分離領域に分離された状態で、当該回路基板の縁部に沿って配置され、かつ、前記複数の分離領域は、複数のコネクタ端子に対応して、分散して配置され、
前記各分離領域は、それぞれ接地されること
を特徴とする回路基板が提供される。
本発明によれば、コネクタ端子部のフレームグランドを介して、ノイズが他の信号に、または、他の信号のフレームグランドに伝導することを防止することができる。
以下、本発明の実施形態について図面を参照して説明する。
図1は、本発明の第1の実施形態における回路基板の構成を示す平面図である。また、図2に、図1に示す回路基板に他の回路部品等搭載して、電子回路ユニットとして、筐体に収容した状態を示す。
図1に示す本発明の一実施形態に係る回路基板10は、絶縁層11を有し、図2に示す筐体100に収容される。絶縁層11は、例えば、ポリイミド、ガラスエポキシ樹脂等により構成される。一般的には複数層が積層され、各層に、銅等の金属により構成される導体配線が配置される。また、回路基板10には、コネクタ端子群40が設けられる。
コネクタ端子群40には、AC入力用の電源用コネクタ端子41、接点出力用コネクタ端子42、ライン用コネクタ端子43、電話用コネクタ端子44、LAN用コネクタ端子46等の複数のコネクタ端子41−47が含まれる。コネクタ端子41には、電源線51が、また、他のコネクタ端子42−47には、それぞれ信号線52−57が接続される。
回路基板10には、導体層として、1乃至複数層の電源/グランドパターン20と、フレームグランド30とが、予め定められたパターンで設けられる。また、この他に、図示していないが、信号伝送のための配線パターンが異なる絶縁層上に設けられる。この回路基板10に、図示していない各種回路素子が搭載され、また、コネクタ端子群40が配置されている。
フレームグランド30は、絶縁層11の縁部、すなわち、回路基板10が筐体100に収容された際に、コネクタ端子群30と近接する部分に、コネクタ端子群30の配列に対応して配置される。また、フレームグランド30は、間隙部S1からS6を挟んで、複数の分離領域31−37に分離されて設けられる。本実施形態の場合、コネクタ端子群40を構成する各コネクタ端子41−47に対応して分散配置される。具体的には、一対一対応に設けられる。このフレームグランド30は、電源/グランドパターン20と同様の導体により、同様の製造プロセス、例えば、フォトエッチングプロセス等を経て設けることができる。
なお、分離領域31−37の全部または一部については、分離せずに設け、実装時に、間隙部S1からS6を設けて分離するようにしてもよい。また、予め設けた各間隙部S1−S6において、分離領域31−37の隣接する領域について、それぞれ、導電性のフィルム、導体片等の短絡部材により接続して、電気的に一体化しておく。その上で、必要に応じて短絡部材を剥離する等により除去して、間隙部による分離を有効とする構成としてもよい。
各分離領域31−37の大きさは、そもそも、グランドとして機能するために、ある程度の面積が必要である。一方、それらが配置される領域等の事情により、その大きさには制約がある。例えば、それぞれが対応するコネクタ端子41−47の大きさ、コネクタ端子配列密度、間隙部S1−S6の間隔等に応じて大きさが制限される。
各分離領域31−37は、それぞれ、接地される。この接地は、接地部材61−67を介して行われる。接地のより具体的な態様としては、導電性を有する連結部材、圧接部材等を接地部材として用いて、各分離領域31−37と筐体100(筐体100と電気的に等価な接地点を含む)とを連結することにより行う。連結部材および圧接部材としては、各分離領域31−37と筐体100とを電気的に直接的に接続できるものであればよい。連結部材は、回路基板10を筐体100に物理的に固定された状態で電気的な接続を行う。逆に、各分離領域31−37と筐体100とを電気的に接続する機能と、回路基板10を筐体100に物理的に固定する機能とを併有する構造とすることができる。ただし、物理的に固定する機能を有しないものであってもよい。圧接部材は、弾性を有する部材を有し、弾性を有する部材を、付勢された状態で、回路基板10と筐体100との間に介在させて、回路基板10と筐体100とに密接した状態で電気的な接続を行う。連結部材および圧接部材については後述する。
接地部材61は、図1に示すように、分離領域31の面積を考慮して、分離領域の四隅に1個ずつ設けている。一方、接地部材62−67は、図1に示すように、分離領域32−37には、それぞれに2箇所ずつ設けられている。なお、これは、例示であり、配置される位置および個数は、これに限られない。
次に、間隙部幅について検討する。間隙部幅は、低減すべきノイズの大きさに応じて定まる。例えば、VCCI(情報処理等電波自主規制協議会)のクラスB規制値では、次のようになる。
150kHzから30MHzの範囲でのノイズである伝導ノイズについては、
伝導ノイズ:(46dBμV〜67dBμV)
(200μV)〜(2.2mV)
となる。そして、この場合には、間隙部幅、すなわち、分離領域31−37の隣接する領域間の間隔は、2から3mm程度であればよい。
伝導ノイズ:(46dBμV〜67dBμV)
(200μV)〜(2.2mV)
となる。そして、この場合には、間隙部幅、すなわち、分離領域31−37の隣接する領域間の間隔は、2から3mm程度であればよい。
また、30MHzから1GHzの範囲での電波ノイズ(放射ノイズ)については、
電波ノイズ:40〜47dBμV/m
(100μV/m)〜(220μV/m)
となる。そして、この場合には、間隙部幅は、1から2mm程度であればよい。
電波ノイズ:40〜47dBμV/m
(100μV/m)〜(220μV/m)
となる。そして、この場合には、間隙部幅は、1から2mm程度であればよい。
一方、間隙部S1−S6のそれぞれの幅は、広いほどノイズの低減性能が向上する。例えば、ノイズレベルが前述した規制値を10%程度超えるような場合、当該部位における間隙部幅を10%広くすることにより、規制値に抑え込めるようにすることができる。
上述した回路基板は、コネクタ端子群30を取り付け、かつ、図示していない回路素子群を搭載して、筺体100に収容する。図2においては、筺体100を分離領域36において、切断した状態を示す。図2では、分離領域36が接地部材66により接地され留部分を示している。また、図2では、コネクタ端子の構造部についての図示は省略して、信号線56のみを示している。
次に、本発明によるノイズ抑止の原理について、図3および図4を参照して説明する。図3に、フレームグランドを共通フレームグランドとした場合を示す。また、図4に、フレームグランドに、本発明を適用して複数の分離領域に分離したものを用いた場合を示す。いずれの場合も、信号グランドのP部に、局所的にノイズ電圧が発生した場合を例として説明する。なお、説明の便宜のため、図1に示す回路基板より簡単な回路構成としてある。
(信号グランドノイズ電流が他の信号線に伝導する場合)
図3に示す共通フレームグランドを用いた回路では、信号グランド25のP部に局所的に発生したノイズ電圧が、ノイズ電流Iaとして、容量C1、C2を通って、信号ケーブル90の信号線91に伝導する。その結果、このノイズ電流に起因して、外部に放射ノイズを発生させ、EMI特性を低下させる。ここで、C1は、信号グランド25と共通フレームグランドCFGとの間の浮遊容量である。また、C2は、共通フレームグランドCFGと信号線91との間の浮遊容量である。
(信号グランドノイズ電流が他の信号線に伝導する場合)
図3に示す共通フレームグランドを用いた回路では、信号グランド25のP部に局所的に発生したノイズ電圧が、ノイズ電流Iaとして、容量C1、C2を通って、信号ケーブル90の信号線91に伝導する。その結果、このノイズ電流に起因して、外部に放射ノイズを発生させ、EMI特性を低下させる。ここで、C1は、信号グランド25と共通フレームグランドCFGとの間の浮遊容量である。また、C2は、共通フレームグランドCFGと信号線91との間の浮遊容量である。
信号グランドのような平板導体の場合、ノイズの平行平板共振によって、強度が局部的大きくなる部分(例えば、P部)が発生する。このようなノイズは、数百メガヘルツと高周波のため、容量C1、C2を通りやすく、外部に伝導しやすい。フレームグランドが共通の場合に、このノイズがすべての信号にのる可能性がある。この場合、ほとんどすべての信号についてフィルタを入れることによって対処することも考えられるが、ノイズ対策が複雑となる。
なお、局部的ノイズとしては、他にLSIの電源電流ノイズ等が考えられる。
これに対して、本発明を適用して、フレームグランドを複数の分離領域30aから30cに分離した場合、図4に示すように、各分離領域30aと30bとの間、30bと30cとの間が、直流的には非導通となる。一方、高周波的にも、浮遊容量C3を小さくすることができることから、ここを通るノイズ電流を小さくすることができる。その結果、ノイズが他の部分に拡散することを防止することができるため、一部の信号についてフィルタを入れるだけで対処することが可能となる。従って、ノイズ対策が非常に簡便なものとなる。
(外部信号のフレームグランドノイズ電流が他の信号のケーブルフレームグランド95または他の信号ラインに伝導する場合)
他の信号のケーブルフレームグランド95または他の信号ラインに伝導したノイズ電流Icは、伝導ノイズまたは放射ノイズとなり、EMI特性を低下させる。フレームグランドが共通の場合、このノイズがすべての信号にのる可能性がある。そのため、すべての信号についてフィルタを入れるなどの対策が必要となる。
(外部信号のフレームグランドノイズ電流が他の信号のケーブルフレームグランド95または他の信号ラインに伝導する場合)
他の信号のケーブルフレームグランド95または他の信号ラインに伝導したノイズ電流Icは、伝導ノイズまたは放射ノイズとなり、EMI特性を低下させる。フレームグランドが共通の場合、このノイズがすべての信号にのる可能性がある。そのため、すべての信号についてフィルタを入れるなどの対策が必要となる。
しかし、本発明の場合、フレームグランンドが複数に分離されているため、前述した理由から、ノイズ電流Icがフレームグランド30bから他のフレームグランド(例えば、30a)に流れることがなくなる。そのため、すべてのフレームグランドにノイズがのるという事態になることが避けられる。そのため、一部の信号についてのみノイズ対策をすれば足り、対策が簡便になる。
なお、以上に述べた本発明が解決しようとする課題は、フレームグランドが筐体に対して浮いている場合でも、また、筐体と接続されている場合でも、同じである。
次に、本発明の他の実施形態について図5を参照して説明する。図5に示す実施形態は、分離領域の一つである分離領域38を、複数(図5の例では2個)コネクタ端子46、47に対応させたものである。この実施形態の場合でも、前述した実施形態と同様に、間隙部幅を決定することができる。また、この実施形態において、分離領域38についても、他の分離領域31−36と同様に、接地部材68を介して接地される。従って、前述した実施形態の場合と同様の原理により、ノイズ電流の漏洩を低減することができる。
次に、接地部材の具体例について説明する。ここでは、連結部材と圧接部材とについて説明する。もちろん、接地部材は、連結部材と圧接部材に限られるものではない。
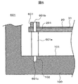
連結部材の一例として、図6に示す形態ものを用いることができる。図6に示す連結部材601は、棒状体601aと、その両端にそれぞれねじ部601bおよび601cとを有する。棒状体601aと、ねじ部601bおよび601cとは、いずれも金属により形成される。また、棒状体601aと、ねじ部601bおよび601cとは、本実施形態では一体に形成されている。この連結部材601を、非金属材料によりその形態を形成し、その表面に金属膜をコーティングして導電性を持たせることにより構成してもよい。
この連結部材601は、ねじ部601cを、筐体100の底面101に設けられているねじ孔102にねじ込み、さらに、他のねじ部601bを、回路基板20に設けられている貫通孔201に通して、先端側を回路基板20の上面側に突出させる。このねじ部601bの先端側にナット601dをねじ込んで、回路基板と連結部材601とを固定する。これにより、回路基板31が連家物材601により筐体100に固定される。また、分離領域31(31に限られないが、ここでは、代表して31を示す)の表面とナット601dが接触して導通する。その結果、分離領域31、ナット601d、ねじ部601b、棒状体601a、ねじ部601c、ねじ孔102、筐体100の順に電流路が形成され、分離領域31が筐体100に接地されることとなる。ここでは、すべて導体による電流路が形成される。なお、図6、図7に示すように、回路基板20の裏面側に接続パッド202を設ける構成としてもよい。その場合には、接続パッド202と分離領域31とを導通する手段を別途設けておく。
連結部材としては、この他に、例えば、導電性皮膜をコーティングしたボルト、金属製のボルト、鳩目金具、リード線等の部材が挙げられる。
次に、圧接部材の第1の例について、図7を参照して説明する。図7に示す圧接部材603は、頭部603aおよび支持部603bを有するボルト形状の部材と、コイルばね603dとにより構成される。支持部603bは、少なくともその先端側にねじ部603cが設けられている。この圧接部材603は、ボルト形状部分と、コイルばね603dとがいずれも金属により設けられている。
この圧接部材603は、支持部603bを、回路基板20に設けられた貫通孔201に通し、先端側のねじ部603cを、筐体100の底面101に設けられたねじ孔102にねじ込む。その際、支持部603bを、コイルばね603dに通しておく。この状態で、支持部603bのねじ部603cがねじ孔102にねじ込まれると、コイルばね603dが圧縮付勢されて、回路基板20に設けられた接続パッド202と、筐体100の底面101との間で、端部がそれぞれに圧接されることとなる。その結果、回路基板20が固定支持されると共に、接続パッド202がコイルばね603dを介して筐体100に接地されることとなる。なお、接続パッド202は、分離領域31と導通させておく。
なお、図7の例では、ボルト形状の部材を、導電性を有する部材、例えば、金属により形成することによって、このボルトを介して接地することも可能となる。もちろん、ボルトとコイルばねの両者により接地することも可能である。
次に、圧接部材の第2の例について、図8を参照して説明する。図8に示す圧接部材605は、板ばね605aにより構成される。この板ばね605aは、例えば、導線性を有する部材、具体的には金属、さらに具体的には、燐青銅板等により構成することができる。図8の例では、基本的な形状として、板材を二つ折りにした形状を有する。また、その両端部に、電気的接続をより良好とするための接続部605bおよび605cが設けられている。これらの接続部605bおよび605cは、例えば、端面を斜めに切削することで形成することができる。また、例えば、板ばね605aの端部を折り返して平面部とすることにより形成してもよい。
この圧接部材605は、回路基板20と筐体100の底面101との間に配置される。その際、押圧付勢した状態におく。この状態により、圧接部材605は、板ばね605a7が圧縮付勢されて、接続部605bが回路基板20に設けられた接続パッド202と、また、接続部605cが筐体100の底面101と、それぞれ圧接されることとなる。その結果、接続パッド202が、接続部605b、板ばね605a、および、接続部605cを介して筐体100に接地されることとなる。なお、接続パッド202は、分離領域31と導通させておく。また、この例の場合には、回路基板20を固定する他の手段を設けておく必要がある。
なお、図8の例では、板ばね605を金属で形成した例を示したが、これに限られない。例えば、弾性のある絶縁材料により板ばねを形成し、その表面に導電性皮膜をコーティングする構成としてもよい。
10…回路基板、11…絶縁層、20…電源/グランドパターン、30…フレームグランド、31−37…分離領域、40…コネクタ端子群、41−47…コネクタ端子、51…電源線、52−57…信号線、61−67…接地部材、601連結部材、603,605…圧接部材、100…筐体、201…貫通孔、202…接続パッド。
Claims (10)
- 回路素子群が搭載され、電子機器の筐体に収容される電子回路ユニットにおいて、
前記回路素子群が搭載される回路基板と、
外部との接続を行うための、複数のコネクタ端子と、
前記回路基板に設けられるフレームグランドと、を有し、
前記フレームグランドは、複数の分離領域に分離された状態で、前記回路基板の縁部に沿って配置され、かつ、前記複数の分離領域は、複数のコネクタ端子に対応して、分散して配置され、
前記各分離領域は、それぞれ接地されること
を特徴とする電子回路ユニット。 - 請求項1に記載の電子回路ユニットにおいて、
前記分離領域は、前記接地を、接地部材を介して行うことを特徴とする電子回路ユニット。 - 請求項2に記載の電子回路ユニットにおいて、
前記接地は、導電性を有する連結部材を前記接地部材として用いて、前記分離領域と前記筐体とを連結することにより行うことを特徴とする電子回路ユニット。 - 請求項2に記載の電子回路ユニットにおいて、
前記接地は、導電性を有する圧接部材を前記接地部材として用いて、前記分離領域と前記筐体との間に該圧接部材を介在させることにより行うことを特徴とする電子回路ユニット。 - 請求項1、2、3および4のいずれか一項に記載の電子回路ユニットにおいて、
前記分離領域のいずれかは、前記複数のコネクタ端子のうち、2以上のコネクタ端子に対応して配置されることを特徴とする電子回路ユニット。 - 回路素子群およびコネクタ端子を搭載するための回路基板において、
フレームグランドを有し、
前記フレームグランドは、複数の分離領域に分離された状態で、当該回路基板の縁部に沿って配置され、かつ、前記複数の分離領域は、複数のコネクタ端子に対応して、分散して配置され、
前記各分離領域は、それぞれ接地されること
を特徴とする回路基板。 - 請求項6に記載の回路基板において、
前記各分離領域は、前記接地を、接地部材を介して行うことを特徴とする回路基板。 - 請求項7に記載の回路基板において、
前記接地は、導電性を有する連結部材を前記接地部材として用いて、前記分離領域と接地点とを連結することにより行うことを特徴とする回路基板。 - 請求項7に記載の回路基板において、
前記接地は、導電性を有する圧接部材を前記接地部材として用いて、前記分離領域と接地点との間に該圧接部材を介在させることにより行うことを特徴とする回路基板。 - 請求項6、7、8および9のいずれか一項に記載の回路基板において、
前記分離領域のいずれかは、前記複数のコネクタ端子のうち、2以上のコネクタ端子に対応して配置されることを特徴とする回路基板。
Priority Applications (1)
| Application Number | Priority Date | Filing Date | Title |
|---|---|---|---|
| JP2004106891A JP2005294502A (ja) | 2004-03-31 | 2004-03-31 | コネクタ端子を有する電子回路ユニットおよび回路基板 |
Applications Claiming Priority (1)
| Application Number | Priority Date | Filing Date | Title |
|---|---|---|---|
| JP2004106891A JP2005294502A (ja) | 2004-03-31 | 2004-03-31 | コネクタ端子を有する電子回路ユニットおよび回路基板 |
Publications (1)
| Publication Number | Publication Date |
|---|---|
| JP2005294502A true JP2005294502A (ja) | 2005-10-20 |
Family
ID=35327101
Family Applications (1)
| Application Number | Title | Priority Date | Filing Date |
|---|---|---|---|
| JP2004106891A Pending JP2005294502A (ja) | 2004-03-31 | 2004-03-31 | コネクタ端子を有する電子回路ユニットおよび回路基板 |
Country Status (1)
| Country | Link |
|---|---|
| JP (1) | JP2005294502A (ja) |
Cited By (3)
| Publication number | Priority date | Publication date | Assignee | Title |
|---|---|---|---|---|
| JP2008084217A (ja) * | 2006-09-28 | 2008-04-10 | Fujitsu Ltd | 電子機器および板金部材 |
| JP2009123778A (ja) * | 2007-11-12 | 2009-06-04 | Kitagawa Ind Co Ltd | 導電部材 |
| WO2015060195A1 (ja) * | 2013-10-23 | 2015-04-30 | 堺ディスプレイプロダクト株式会社 | 電気装置 |
-
2004
- 2004-03-31 JP JP2004106891A patent/JP2005294502A/ja active Pending
Cited By (4)
| Publication number | Priority date | Publication date | Assignee | Title |
|---|---|---|---|---|
| JP2008084217A (ja) * | 2006-09-28 | 2008-04-10 | Fujitsu Ltd | 電子機器および板金部材 |
| JP2009123778A (ja) * | 2007-11-12 | 2009-06-04 | Kitagawa Ind Co Ltd | 導電部材 |
| WO2015060195A1 (ja) * | 2013-10-23 | 2015-04-30 | 堺ディスプレイプロダクト株式会社 | 電気装置 |
| JPWO2015060195A1 (ja) * | 2013-10-23 | 2017-03-09 | 堺ディスプレイプロダクト株式会社 | 電気装置 |
Similar Documents
| Publication | Publication Date | Title |
|---|---|---|
| US7271348B1 (en) | Providing decoupling capacitors in a circuit board | |
| JP6391885B1 (ja) | 回路基板 | |
| JP2000286587A (ja) | 外部ケーブル接続用コネクタ部の電磁シールド構造 | |
| JP5147501B2 (ja) | 車載電子装置 | |
| US20200045815A1 (en) | Circuit board and electronic device including the same | |
| US6794581B2 (en) | Method and apparatus for distributing power to integrated circuits | |
| US5635775A (en) | Printed circuit board mount electro-magnetic interference suppressor | |
| US7345892B2 (en) | Semiconductor device, noise reduction method, and shield cover | |
| WO2012039120A2 (en) | Printed circuit board | |
| JP2977018B2 (ja) | インタフェースケーブル接続用コネクタ | |
| JP2005294511A (ja) | コネクタ端子を有する電子回路ユニットおよび回路基板 | |
| CN115299184B (zh) | 电路基板及电子设备 | |
| US20200403357A1 (en) | Connector | |
| JP2005294502A (ja) | コネクタ端子を有する電子回路ユニットおよび回路基板 | |
| US8208271B2 (en) | Printed board and image formation apparatus | |
| JP2002261410A (ja) | プリント配線基板及び電子機器 | |
| US6933805B1 (en) | High density capacitor filter bank with embedded faraday cage | |
| CN113711160A (zh) | 电子设备 | |
| JP2008172280A (ja) | コネクタ端子を有する電子回路ユニットおよび回路基板 | |
| US4908735A (en) | Electronic apparatus reducing generation of electro magnetic interference | |
| KR100512738B1 (ko) | 인쇄회로기판 및 이를 사용하는 전자기기 | |
| JP3780186B2 (ja) | プリント基板の接続構造 | |
| JP2005294501A (ja) | コネクタ端子を有する電子回路ユニットおよび回路基板 | |
| JP3678658B2 (ja) | Emi対策用電源ケーブルコネクタ | |
| JPH11284291A (ja) | 回路基板およびこの回路基板を搭載した液晶表示装置 |
Legal Events
| Date | Code | Title | Description |
|---|---|---|---|
| A977 | Report on retrieval |
Effective date: 20060915 Free format text: JAPANESE INTERMEDIATE CODE: A971007 |
|
| A131 | Notification of reasons for refusal |
Free format text: JAPANESE INTERMEDIATE CODE: A131 Effective date: 20060926 |
|
| A02 | Decision of refusal |
Free format text: JAPANESE INTERMEDIATE CODE: A02 Effective date: 20070213 |