JP2005293686A - 光ピックアップ装置 - Google Patents

光ピックアップ装置 Download PDF

Info

Publication number
JP2005293686A
JP2005293686A JP2004105113A JP2004105113A JP2005293686A JP 2005293686 A JP2005293686 A JP 2005293686A JP 2004105113 A JP2004105113 A JP 2004105113A JP 2004105113 A JP2004105113 A JP 2004105113A JP 2005293686 A JP2005293686 A JP 2005293686A
Authority
JP
Japan
Prior art keywords
objective lens
pickup device
optical pickup
light beam
dvd
Prior art date
Legal status (The legal status is an assumption and is not a legal conclusion. Google has not performed a legal analysis and makes no representation as to the accuracy of the status listed.)
Pending
Application number
JP2004105113A
Other languages
English (en)
Inventor
Yasutaka Nakagaki
保孝 中垣
Current Assignee (The listed assignees may be inaccurate. Google has not performed a legal analysis and makes no representation or warranty as to the accuracy of the list.)
Konica Minolta Opto Inc
Original Assignee
Konica Minolta Opto Inc
Priority date (The priority date is an assumption and is not a legal conclusion. Google has not performed a legal analysis and makes no representation as to the accuracy of the date listed.)
Filing date
Publication date
Application filed by Konica Minolta Opto Inc filed Critical Konica Minolta Opto Inc
Priority to JP2004105113A priority Critical patent/JP2005293686A/ja
Publication of JP2005293686A publication Critical patent/JP2005293686A/ja
Pending legal-status Critical Current

Links

Images

Landscapes

  • Optical Head (AREA)

Abstract

【課題】 複数の光ディスク間で互換性を持つと共に小型化・薄型化を達成した光ピックアップ装置を提供する。
【解決手段】 本発明の光ピックアップ装置は、第1光源から出射される第1光束を第1情報記録媒体の情報記録面上に集光させる第1対物レンズと、第2光源から出射される第2光束を第2情報記録媒体の情報記録面上に集光させる第2対物レンズとの少なくとも2つの対物レンズを備えると共に、前記第1光束を反射して前記第1対物レンズに入射させる反射面と、前記第2光束を反射して前記第2対物レンズに入射させる反射面との少なくとも2つの反射面を有する立上げミラーを備える。
【選択図】図1

Description

本発明は、光ピックアップ装置に関する。
近年、光ピックアップ装置において、光ディスクに記録された情報の再生や光ディスクに対する情報の記録用の光源として使用されるレーザ光源の短波長化が進み、例えば、青紫色半導体レーザや、第2高調波発生を利用して赤外半導体レーザの波長変換を行う青紫色SHGレーザ等の波長405nmのレーザ光源が実用化されつつある。
これら青紫色レーザ光源を使用すると、DVD(デジタルバーサタイルディスク)と同じ開口数(NA)の対物レンズを使用する場合で、直径12cmの光ディスクに対して、15〜20GBの情報の記録が可能となり、対物レンズのNAを0.85にまで高めた場合には、直径12cmの光ディスクに対して、23〜25GBの情報の記録が可能となる。以下、本明細書では、青紫色レーザ光源を使用する光ディスク及び光磁気ディスクを総称して「高密度光ディスク」という。
高密度光ディスク/DVD/CD(コンパクトディスク)のいずれか2種類或いは3種類の光ディスク間で互換性を維持しながら適切に情報を記録/再生できるようにする技術として、従来より、例えば、DVD用の光学系とCD用の光学系を備え、光ディスクの種類に応じて光学系を選択的に切り替えるDVD/CD用の光ヘッド装置が知られている(例えば、特許文献1参照)。
特開2000−20982号公報
ところで、特許文献1に開示されたような、2つの光学系を光ディスクの種類に応じて選択的に切り替える光ピックアップ装置では、2つの光源から出射された2種類の波長が異なる光束それぞれの光路中に立上げミラーを配置し、各立上げミラーで反射した光束を各対物レンズに入射させる構成となっているため、光学レイアウトが複雑化すると共に光ピックアップ装置の部品点数が増加し、近年の光ピックアップ装置の小型化・薄型化の要求に反するという問題がある。
本発明の課題は、上述の問題を考慮したものであり、複数の光ディスク間で互換性を持つと共に小型化・薄型化を達成した光ピックアップ装置を提供することである。
本明細書においては、情報の記録/再生用の光源として、青紫色半導体レーザや青紫色SHGレーザを使用する光ディスクを総称して「高密度光ディスクHD」といい、NA0.85の対物光学系により情報の記録/再生を行い、保護層の厚さが0.1mm程度である規格の光ディスク(例えば、ブルーレイディスクBD)の他に、NA0.65乃至0.67の対物光学系により情報の記録/再生を行い、保護層の厚さが0.6mm程度である規格の光ディスク(例えば、HD DVD)も含むものとする。また、このような保護層をその情報記録面上に有する光ディスクの他に、情報記録面上に数〜数十nm程度の厚さの保護膜を有する光ディスクや、保護層或いは保護膜の厚さが0の光ディスクも含むものとする。また、本明細書においては、高密度光ディスクには、情報の記録/再生用の光源として、青紫色半導体レーザや青紫色SHGレーザを使用する光磁気ディスクも含まれるものとする。
本明細書においては、DVDとは、DVD−ROM、DVD−Video、DVD−Audio、DVD−RAM、DVD−R、DVD−RW、DVD+R、DVD+RW等のDVD系列の光ディスクの総称であり、CDとは、CD−ROM、CD−Audio、CD−Video、CD−R、CD−RW等のCD系列の光ディスクの総称である。
以上の課題を解決するために、請求項1記載の発明は、第1光源から出射される第1光束を第1情報記録媒体の情報記録面上に集光させる第1対物レンズと、第2光源から出射される第2光束を第2情報記録媒体の情報記録面上に集光させる第2対物レンズとの少なくとも2つの対物レンズを備えると共に、前記第1光束を反射して前記第1対物レンズに入射させる反射面と、前記第2光束を反射して前記第2対物レンズに入射させる反射面との少なくとも2つの反射面を一体に有する立上げミラーを備えることを特徴とする。
請求項1に記載の発明によれば、1つの立上げミラーに複数の反射面を設ける、つまり、第1及び第2光束用の立上げミラーを共通化することにより、従来のように、第1光束専用の立上げミラーと第2光束用の立上げミラーを光学系中にそれぞれ配置する場合と比較して、光ピックアップ装置の小型化・薄型化を実現できる。
請求項2記載の発明は、請求項1に記載の光ピックアップ装置において、前記立上げミラーは、少なくとも2平面を有する多面体で構成されていることを特徴とする。
請求項3記載の発明は、請求項1又は2に記載の光ピックアップ装置において、前記立上げミラーの前記第1対物レンズ及び前記第2対物レンズに近接する部分に切り欠き形状を有することを特徴とする。
請求項3に記載の発明によれば、立上げミラーの第1対物レンズ及び第2対物レンズに近接する部分を切り取ることにより、立上げミラーと対物レンズとの間隔を近づけて、光ピックアップ装置の薄型化・小型化に寄与すると共に、フォーカス時の可動範囲を広げることができる。
請求項4記載の発明は、請求項1〜3のいずれか一項に記載の光ピックアップ装置において、前記2つの反射面が、前記第1対物レンズと前記第2対物レンズの配列方向に対して垂直に延びる稜線を介して隣合っており、トラッキング時に前記第1対物レンズ及び前記第2対物レンズを前記稜線方向に移動させることを特徴とする。
請求項4記載の発明は、立上げミラーの2つの反射面が、第1対物レンズと第2対物レンズの配列方向に対して垂直(例えば、第1、第2対物レンズの配列方向を前後方向とすると、その前後方向から見たときの左右方向)に延びる稜線を介して隣合っており、トラッキング時に第1対物レンズ及び第2対物レンズを稜線方向(左右方向)に移動させる。
ここで、仮に第1、第2対物レンズの配列方向にトラッキングすると、立上げミラーの反射面で反射した光束は、その左右方向の径が前後方向の径に比較して小さくなるので、反射光束の径が小さい方向に対物レンズを移動させることになり、光量の低下などの不具合が発生するおそれがある。
そこで、請求項4に記載のように、上記稜線が左右方向に延びるように立上げミラーを配置して、トラッキング時に対物レンズを左右方向に移動させることにより、反射光束の径が大きい方向に対物レンズが移動することになり、光量の低下などの不具合の発生を防止できる。
請求項5記載の発明は、請求項1〜4のいずれか一項に記載の光ピックアップ装置において、前記光ピックアップ装置が、更に、第3光源から出射される第3光束を第3情報記録媒体の情報記録面上に集光させる第3対物レンズを備え、前記立上げミラーが三角錐形状であり、当該三角錐の3つの平面それぞれを、前記第1光束、前記第2光束及び前記第3光束を反射するための反射面として利用することを特徴とする。
請求項6記載の発明は、請求項1〜5のいずれか一項に記載の光ピックアップ装置において、前記立上げミラーがモールド成形により作成されることを特徴とする。
請求項7記載の発明は、請求項1〜6のいずれか一項に記載の光ピックアップ装置において、前記各対物レンズがモールド成形により作成されることを特徴とする。
本発明によれば、複数の光ディスク間で互換性を持つと共に小型化・薄型化を達成した光ピックアップ装置を得られる。
本発明を実施するための最良の形態について、図面を参照しつつ説明する。
[第1の実施の形態]
図1は、高密度光ディスクHDとDVDとCDとの何れに対しても適切に情報の記録/再生を行える光ピックアップ装置PU1、2PU1の構成を概略的に示す図である。図示は省略するが、高密度光ディスクHDの光学的仕様は、波長λ1=408nm、保護層の厚さt1=0.0875mm、開口数NA1=0.85であり、DVDの光学的仕様は、波長λ2=658nm、保護層の厚さt2=0.6mm、開口数NA2=0.60であり、CDの光学的仕様は、波長λ3=785nm、保護層の厚さt3=1.2mm、開口数NA3=0.45である。但し、波長、保護層の厚さ、及び開口数の組合せはこれに限られない。
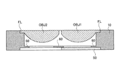
光ピックアップ装置PU1は、高密度光ディスクHDに対して情報の記録/再生を行う場合に発光され408nmのレーザ光束(第1光束)を射出する青紫色半導体レーザLD1(第1光源)、DVDに対して情報の記録/再生を行う場合に発光され658nmのレーザ光束(第2光束)を射出する赤色半導体レーザLD2(第2光源)と光検出器PD2とが一体化されたDVD用モジュールMD2、CDに対して情報の記録/再生を行う場合に発光され785nmのレーザ光束(第3光束)を射出する赤外半導体レーザLD3(第3光源)と光検出器PD3とが一体化されたCD用モジュールMD3、高密度光ディスク用コリメータCOL1、DVD用コリメータCOL2、CD用コリメータCOL3、偏光ビームスプリッタPBS、ハーフミラーHM、立上げミラーM、高密度光ディスクHD用の第1対物レンズOBJ1、DVD/CD共用の第2対物レンズOBJ2、保持部材10、マグネット20、ワイヤー21、コイル23、モニターPD(フォトダイオード)30、シリンドリカルレンズ31、高密度光ディスクHD用の光検出器40、液晶機構50、開口絞り60等から概略構成されている。
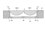
図2に示すように、第1対物レンズOBJ1及び第2対物レンズOBJ2の出射面の周縁には、径方向に延出したフランジ部FLが形成されていると共に、第1対物レンズOBJ1と第2対物レンズOBJ2とはその一部において連続するように一体成形されている。
液晶機構50は、球面収差を補正するために設けられるものであり、図3に示すように、電圧の印加により透過する第1〜第3光束に対して位相変化を生じせしめる液晶層51と、液晶層51に電圧を印加するための互いに対向する電極層52とから構成されている。
液晶層51は、第1対物レンズOBJ1の入射面側に配置される同心円状の第1電極パターン53と、第2対物レンズOBJ2の入射面側に配置される同心円状の第2電極パターン54とを備えており、電源(図示略)から各電極パターンに対して電圧を供給することにより、液晶層51中の液晶素子の配向状態が変化し、透過する光束に対して所定の位相を付加させるようになっている。
電源と各電極パターンとを図3(a)のように独立した配線55を用いて接続することにより、第1電極パターン53と第2電極パターン54に対する供給電圧を独立して制御することが可能となるので、第1電極パターン53を通過する光束(第1光束)の球面収差補正と第2電極パターン54を通過する光束(第2光束及び第3光束)の球面収差補正を独立して行なうことが可能となり、また、電力を効率よく利用することができる。
また、図3(b)のような第1電極パターン53と第2電極パターン54に対する配線55を共通化することにより、液晶機構50の部品点数を削減できる。
保持部材10は、長手方向に開口11を有する矩形状の部材であり、開口11の内面には、高密度光ディスクの開口数に対応した開口絞り60とDVDの開口数に対応した開口絞り60とが同一平面上に取り付けられている。
また、保持部材10の一方の面(光源側の面)に設けた凹部12には液晶機構50が嵌合しており、その他方の面(光ディスク側の面)に設けた凹部13には、第1対物レンズOBJ1及び第2対物レンズOBJ2のフランジ部FLが嵌合している。これにより、高密度光ディスク用の開口絞り60の中心及び第1電極パターン53の中心を第1対物レンズOBJ1の光軸上に一致させ、DVD用の開口絞り60の中心及び第2電極パターン54の中心を第2対物レンズOBJ2の光軸上に一致させた状態で固定することが可能となり、サーボ時における中心軸ずれを防止できる。
尚、ここで、「光軸上に一致」とは、光学的性能を満足するように一致させた状態であれば良く、実質的な一致を意味するものであって、完全に一致するもののみを指すものではない。
また、保持部材10が光源側から、液晶機構50、開口絞り60、第1対物レンズOBJ1及び第2対物レンズOBJ2の順に保持することにより、電極層52が保持部材10から露出することになり、電極層52に対する配線作業が容易となる。
液晶機構50により補正することになる球面収差の発生原因としては、例えば、青紫色半導体レーザLD1の製造誤差による波長ばらつき、温度変化に伴う第1対物レンズOBJ1及び第2対物レンズOBJ2の屈折率変化や屈折率分布の変化、光ディスクが2層ディスクや4層ディスク等の多層ディスクである場合の記録/再生時における層間のフォーカスジャンプ、保護層の製造誤差による厚みばらつきや厚み分布のばらつき等によるものが挙げられる。
このように、液晶機構50により球面収差を補正することにより、例えば、光学系中に配置したビームエキスパンダーを移動させることにより球面収差を補正する場合と比較して、ビームエキスパンダー用のスペースやアクチュエータが不要となり、光ピックアップ装置PU1の小型化・薄型化を実現できる。
マグネット20、ワイヤー21及びコイル23は第1対物レンズOBJ1及び第2対物レンズOBJ2等を保持した状態の保持部材10を駆動させるためのアクチュエータを構成するものであり、本実施の形態においてはムービングマグネット方式のアクチュエータを用いている。ワイヤー21は保持部材10を支持すると共に電極層52に印加する電気信号伝送のために使われる。なお、図4のように、電気信号を2つ伝送できるように1つのワイヤー21に導線21aを2つあるいはそれ以上作成してもよい。
図1及び図5に示すように、立上げミラーMは、稜線を挟んで隣合う2面の反射面Rを持つ三角柱形状であり、第1〜第3光束は反射面Rにおいてその進路が変更され、第1対物レンズOBJ1又は第2対物レンズOBJ2に入射することになる。このように、1つの立上げミラーMに複数の反射面Rを設ける、つまり、第1〜第3光束用の立上げミラーMを共通化することにより、例えば図6に示すように、第1光束専用の立上げミラーM1と第2光束及び第3光束共用の立上げミラーM2を光学系中にそれぞれ配置する場合と比較して、光ピックアップ装置PU1の小型化・薄型化を実現できる。
立上げミラーMの形状としては、三角柱以外にも、図7に示すような三角錐、図8に示すような多角錐或いは多角柱など、反射面Rとして利用可能な少なくとも2平面を有する多面体であればよい。
光ピックアップ装置PU1において、高密度光ディスクHDに対して情報の記録/再生を行う場合には、まず、青紫色半導体レーザLD1を発光させる。青紫色半導体レーザLD1から射出された発散光束は、高密度光ディスク用コリメータCOL1を経て略平行光束とされた後、ハーフミラーHMにより分岐され、一方の光束はモニターPD30に入射してレーザー出射パワーの検出が行われる。
また、他方の光束は三角柱形状の立上げミラーMの反射面Rで反射することによりその進路が変更され、第1電極パターン53を通過する際に所定の位相が付加され、開口絞り60を通過する際にその光束径が規制され、第1対物レンズOBJ1によって高密度光ディスクHDの保護層を介して情報記録面上に球面収差が補正された状態で集光する。
第1対物レンズOBJ1は、その周辺に配置されたアクチュエータによってフォーカシングやトラッキングを行う。情報記録面で情報ピットにより変調された反射光束は、再び第1対物レンズOBJ1、開口絞り60、液晶機構50を透過し、立上げミラーMで反射された後、ハーフミラーHMで分岐され、シリンドリカルレンズ31を通過して高密度光ディスクHD用の光検出器40の受光面上に収束する。そして、高密度光ディスクHD用の光検出器40の出力信号を用いて高密度光ディスクHDに記録された情報を読み取ることができる。
光ピックアップ装置PU1において、DVDに対して情報の記録/再生を行う場合には、DVD用モジュールMD2を作動させて赤色半導体レーザLD2を発光させる。赤色半導体レーザLD2から射出された発散光束は、その偏光方向が偏光ビームスプリッタPBSにより反射されるようにS偏光とされており、DVD用コリメータCOL2を経て略平行光束とされた後、偏光ビームスプリッタPBSで反射され、立上げミラーMの反射面Rで反射することによりその進路が変更され、第2電極パターン54を通過する際に所定の位相が付加され、開口絞り60を通過する際にその光束径が規制され、第2対物レンズOBJ2によってDVDの保護層を介して情報記録面上に球面収差が補正された状態で集光する。
第2対物レンズOBJ2は、その周辺に配置されたアクチュエータによってフォーカシングやトラッキングを行う。情報記録面で情報ピットにより変調された反射光束は、再び第2対物レンズOBJ2、開口絞り60、液晶機構50を透過した後、立上げミラーMで反射して、偏光ビームスプリッタPBSで反射した後、DVD用コリメータCOL2を経てDVD用モジュールMD2の光検出器PD2の受光面上に収束する。そして、光検出器PD2の出力信号を用いてDVDに記録された情報を読み取ることができる。
光ピックアップ装置PU1において、CDに対して情報の記録/再生を行う場合には、CD用モジュールMD3を作動させて赤外半導体レーザLD3を発光させる。赤外半導体レーザLD3から射出された発散光束は、その偏光方向が偏光ビームスプリッタPBSを透過するようにP偏光とされており、CD用コリメータCOL3を経て略平行光束とされた後、偏光ビームスプリッタPBSを透過し、立上げミラーMの反射面Rで反射することによりその進路が変更される。CD用の第3光束は収差補正の必要度が低いので、必要に応じて第2電極パターン54を通過する際に所定の位相が付加され、開口絞り60を通過し、第2対物レンズOBJ2によってCDの保護層を介して情報記録面上に収差が補正された状態で集光する。
第2対物レンズOBJ2は、その周辺に配置されたアクチュエータによってフォーカシングやトラッキングを行う。情報記録面で情報ピットにより変調された反射光束は、再び第2対物レンズOBJ2、開口絞り60、液晶機構50を透過した後、立上げミラーMで反射して、偏光ビームスプリッタPBSを透過した後、CD用コリメータCOL3を経てCD用モジュールMD3の光検出器PD3の受光面上に収束する。そして、光検出器PD3の出力信号を用いてCDに記録された情報を読み取ることができる。
[第2の実施の形態]
図9は、高密度光ディスクHDとDVDとCDとの何れに対しても適切に情報の記録/再生を行える光ピックアップ装置PU2の構成を概略的に示す図である。なお、以下の説明において、上記第1の実施の形態と同一の構成となる部分に関しては同一の符号を付し、その説明を省略する。
光ピックアップ装置PU2は、青紫色半導体レーザLD1(第1光源)、赤色半導体レーザLD2(第2光源)、赤外半導体レーザLD3(第3光源)、高密度光ディスク用コリメータCOL1、DVD用コリメータCOL2、CD用コリメータCOL3、第1〜第3ハーフミラーHM1〜HM3、立上げミラーM、高密度光ディスクHD用の第1対物レンズOBJ1、DVD/CD共用の第2対物レンズOBJ2、保持部材10、コイル(図示略)、ワイヤー21、CD用モニターPD70、DVD用モニターPD71、高密度光ディスク用モニターPD72、高密度光ディスクHD用の光検出器40、DVD/CD共用の光検出器41、液晶機構50、開口絞り60等から概略構成されている。
本実施の形態においては、図10に示すように、第1対物レンズOBJ1及び第2対物レンズOBJ2の出射面の周縁には、径方向に延出したフランジ部FLが形成されていると共に、第1対物レンズOBJ1と第2対物レンズOBJ2とは別体に成形されている。
また、本実施の形態においては、第1対物レンズOBJ1の入射面側に配置される高密度光ディスク専用の液晶機構50aと、第2対物レンズOBJ2の入射面側に配置されるDVD/CD専用の液晶機構50bとが別体に配置されており、高密度光ディスク専用の液晶機構50aには第1電極パターン53が配置されており、DVD/CD専用の液晶機構50bには第2電極パターン54が配置されている。これにより、各液晶機構50の表面に対して、透過する光束の波長に対応したARコート(Anti Refledion Coating)を塗布することが可能となり、また、透過する光束の波長に対応した透過率の高い液晶層51を選択できる。
また、図9に示すように、三角柱形状の立上げミラーMは、その最も対物レンズOBJ1、OBJ2に近い稜線Lの部分がカットされた形状となっており、立上げミラーMと保持部材10との間隔を近づけて、光ピックアップ装置PU2の薄型化・小型化に寄与すると共に、フォーカス時の可動範囲を広げている。
コイル及びワイヤー21は第1対物レンズOBJ1及び第2対物レンズOBJ2等を保持した状態の保持部材10を駆動させるためのアクチュエータを構成するものであり、本実施の形態においてはいわゆるムービングコイル方式のアクチュエータを用いている。1つのワイヤー21には電気信号を2つ伝送できるように図4のように導線21aが2つ存在する。これにより、4ワイヤーによるフォーカス制御信号、トラック制御信号、液晶駆動信号の同時駆動を可能とする。なお、更に多くの信号を伝送するために、1つのワイヤー21に2つ以上の導線21aを作成してもよい。
光ピックアップ装置PU2において、高密度光ディスクHDに対して情報の記録/再生を行う場合には、青紫色半導体レーザLD1を発光させる。青紫色半導体レーザLD1から射出された発散光束は、高密度光ディスク用コリメータCOL1を経て略平行光束とされた後、第1ハーフミラーHMにより分岐され、一方の光束は高密度光ディスク用モニターPD72に入射してレーザー出射パワーの検出が行われる。
また、他方の光束は立上げミラーMの反射面Rで反射することによりその進路が変更され、第1電極パターン53を通過する際に所定の位相が付加され、開口絞り60を通過する際にその光束径が規制され、第1対物レンズOBJ1によって高密度光ディスクHDの保護層を介して情報記録面上に収差が補正された状態で集光する。
第1対物レンズOBJ1は、その周辺に配置されたアクチュエータによってフォーカシングやトラッキングを行う。情報記録面で情報ピットにより変調された反射光束は、再び第1対物レンズOBJ1、開口絞り60、液晶機構50を透過し、立上げミラーMで反射した後、第1ハーフミラーHM1を通過して高密度光ディスクHD用の光検出器40の受光面上に収束する。そして、高密度光ディスクHD用の光検出器40の出力信号を用いて高密度光ディスクHDに記録された情報を読み取ることができる。
光ピックアップ装置PU2において、DVDに対して情報の記録/再生を行う場合には、赤色半導体レーザLD2を発光させる。赤色半導体レーザLD2から射出された発散光束は、DVD用コリメータCOL2を経て略平行光束とされた後、第2ハーフミラーHM2により分岐され、一方の光束はDVD用モニターPD71に入射してレーザー出射パワーの検出が行われる。
また、他方の光束は立上げミラーMの反射面Rで反射することによりその進路が変更され、第2電極パターン54を通過する際に所定の位相が付加され、開口絞り60を通過する際にその光束径が規制され、第2対物レンズOBJ2によってDVDの保護層を介して情報記録面上に収差が補正された状態で集光する。
第2対物レンズOBJ2は、その周辺に配置されたアクチュエータによってフォーカシングやトラッキングを行う。情報記録面で情報ピットにより変調された反射光束は、再び第2対物レンズOBJ2、開口絞り60、液晶機構50を透過し、立上げミラーMで反射した後、第2及び第1ハーフミラーHM2及びHM1通過してDVD/CD共用の光検出器41の受光面上に収束する。そして、DVD/CD共用の光検出器41の出力信号を用いてDVDに記録された情報を読み取ることができる。
光ピックアップ装置PU2において、CDに対して情報の記録/再生を行う場合には、赤外半導体レーザLD3を発光させる。赤外半導体レーザLD3から射出された発散光束は、CD用コリメータCOL3を経て略平行光束とされた後、第3ハーフミラーHM3により分岐され、一方の光束はCD用モニターPD70に入射してレーザー出射パワーの検出が行われる。
また、他方の光束は第1及び第2ハーフミラーHM1及びHM2を通過して、立上げミラーMの反射面Rで反射することによりその進路が変更される。CD用の第3光束は収差補正の必要度が低いので、必要に応じて第2電極パターン54を通過する際に所定の位相が付加され、開口絞り60を通過し、第2対物レンズOBJ2によってCDの保護層を介して情報記録面上に収差が補正された状態で集光する。
第2対物レンズOBJ2は、その周辺に配置されたアクチュエータによってフォーカシングやトラッキングを行う。情報記録面で情報ピットにより変調された反射光束は、再び第2対物レンズOBJ2、開口絞り60、液晶機構50を透過し、立上げミラーMで反射した後、第2及び第1ハーフミラーHM通過してDVD/CD共用の光検出器41の受光面上に収束する。そして、DVD/CD共用の光検出器41の出力信号を用いてCDに記録された情報を読み取ることができる。
なお、上記実施の形態においては、第1対物レンズOBJ1を高密度光ディスクHD専用、第2対物レンズOBJ2をDVD/CD共用としたが、これに限らず、例えば、第1対物レンズOBJ1を高密度光ディスクHD/DVD共用、第2対物レンズOBJ2をCD専用としたり、第1対物レンズOBJ1を高密度光ディスクHD/CD共用、第2対物レンズOBJ2をDVD専用とするなど、使用する対物レンズと光ディスクの組み合わせは適宜変更可能である。また、これら光ディスク以外に光磁気ディスク等に適用することも可能である。
また、上述のように、高密度光ディスクとしては、ブルーレイディスクBDやHD DVD等が挙げられ、例えば、第1対物レンズOBJ1をHD DVD/DVD共用、第2対物レンズOBJ2をブルーレイディスクBD/CD共用としたり、第1対物レンズOBJ1をHD DVD/ブルーレイディスクBD共用、第2対物レンズOBJ2をDVD/CD共用としたり、第1対物レンズOBJ1をHD DVD/CD共用、第2対物レンズOBJ2をブルーレイディスクBD/DVD共用とするなど、適宜変更可能である。
また、上記実施の形態においては、液晶層51が、第1対物レンズOBJ1の入射面側に配置される第1電極パターン53と、第2対物レンズOBJ2の入射面側に配置される第2電極パターン54とを備えるものとしたが、一般的に、高密度光ディスクに利用する第1光束に関する収差補正が特に必要となるため、図11に示すように、液晶機構50を、高密度光ディスク専用の第1対物レンズOBJ1側にのみ配置し、第1電極パターン53で第1光束の球面収差を補正し、第2光束及び第3光束に対しては液晶機構50を用いた球面収差補正を行なわない構成としてもよい。この場合、液晶機構50の構成を簡略化することができ、光ピックアップ装置PU2の部品点数を削減することができる。また、液晶の使用体積の減少や液晶の電極パターンのシンプル化によるコスト削減を達成できる。
また、図12に示すように、円盤状の保持部材80が光ピックアップ装置PU3本体側にその中心回りに回転可能に支持されており、保持部材80が、高密度光ディスク/DVD共用の第1対物レンズOBJ1と、第1対物レンズOBJ1側にのみ配置された液晶機構50と、CD専用の第2対物レンズOBJ2を保持する構成としてもよい。この場合、使用する光ディスクの種類に応じて保持部材80を回転させて、第1対物レンズOBJ1と第2対物レンズOBJ2とを切り替えることになる。
また、上記実施の形態では、光ピックアップ装置PU1、PU2が高密度光ディスクHD専用の第1対物レンズOBJ1とDVD/CD共用の第2対物レンズOBJ2を備える構成としたが、これに限らず、例えば図13に示すように、高密度光ディスクHD専用の第1対物レンズOBJ1、DVD専用の第2対物レンズOBJ2、CD専用の第3対物レンズを円盤状の保持部材10が支持する構成としたり、一体に成形された第1〜第3対物レンズを円盤状の保持部材10が支持する構成としてもよく、この場合、図7に示したような三角錐形状の立上げミラーMの3つの面を反射面Rとし、各面に対して1種類の光束を入射させればよい。
このように、2つ、或いは3つ以上の反射面Rを持つ立上げミラーMを利用することで、1つの反射面Rに対して独立した1つの光学系を組むことが可能となり、例えば図13のように非常にシンプルな光学部品構成でCD、DVD、高密度光ディスクHDの互換光ピックアップ装置を実現でき、光ピックアップ装置の小型・薄型化に貢献できる。なお、図12及び図13中の符号MD1は、青紫色半導体レーザLD1と光検出器とを一体化した高密度光ディスク用モジュールを指す。
また、1つの反射面Rに対して独立した1つもしくは2つ以上の光学系を組めることは、上記のような光ディスク互換用の光ピックアップ装置PU1、PU2だけでなく、例えば、CD/DVD、高密度光ディスクHD、MOのように、光ディスク系と光磁気ディスク系が混在した今までに無い小型薄型光ピックアップ装置を容易に実現可能である。つまり、上述のように、対物レンズを複数の光ディスク間で共用できるように設計することにより、1つの光ピックアップ装置中に組み込む互換数(例えば、CD、DVD、高密度光ディスクHD、MO等の光学系の数)を増やすことができるという利点がある。
光ピックアップ装置の構成を示す要部斜視図である。 対物レンズ、液晶機構及び保持部材の構造を示す断面図である。 液晶機構の構造を示す平面図(a)、(b)及び側面図(c)である。 ワイヤーの内部構造を示す断面図である。 立上げミラーの構造及び光束の進路を示す図面である。 従来の立上げミラーの形状及び光束の進路を示す図面である。 立上げミラーの形状を示す斜視図である。 立上げミラーの形状を示す斜視図である。 光ピックアップ装置の構成を示す要部斜視図である。 対物レンズ、液晶機構及び保持部材の構造を示す断面図である。 対物レンズ、液晶機構及び保持部材の構造を示す断面図である。 光ピックアップ装置の構成を示す要部斜視図である。 光ピックアップ装置の構成を示す要部斜視図である。
符号の説明
L 稜線
LD1 青紫色半導体レーザ
LD2 赤色半導体レーザ
LD3 赤外半導体レーザ
M ミラー
OBJ1 第1対物レンズ
OBJ2 第2対物レンズ
PU1 光ピックアップ装置
PU2 光ピックアップ装置
PU3 光ピックアップ装置
R 反射面
10 保持部材
50 液晶機構
51 液晶層
52 電極層
53 第1電極パターン
54 第2電極パターン
55 配線
80 保持部材

Claims (7)

  1. 第1光源から出射される第1光束を第1情報記録媒体の情報記録面上に集光させる第1対物レンズと、第2光源から出射される第2光束を第2情報記録媒体の情報記録面上に集光させる第2対物レンズとの少なくとも2つの対物レンズを備えると共に、前記第1光束を反射して前記第1対物レンズに入射させる反射面と、前記第2光束を反射して前記第2対物レンズに入射させる反射面との少なくとも2つの反射面を一体に有する立上げミラーを備えることを特徴とする光ピックアップ装置。
  2. 前記立上げミラーは、少なくとも2平面を有する多面体で構成されていることを特徴とする請求項1に記載の光ピックアップ装置。
  3. 前記立上げミラーの前記第1対物レンズ及び前記第2対物レンズに近接する部分に切り欠き形状を有することを特徴とする請求項1又は2に記載の光ピックアップ装置。
  4. 前記2つの反射面が、前記第1対物レンズと前記第2対物レンズの配列方向に対して垂直に延びる稜線を介して隣合っており、
    トラッキング時に前記第1対物レンズ及び前記第2対物レンズを前記稜線方向に移動させることを特徴とする請求項1〜3のいずれか一項に記載の光ピックアップ装置。
  5. 前記光ピックアップ装置が、更に、第3光源から出射される第3光束を第3情報記録媒体の情報記録面上に集光させる第3対物レンズを備え、
    前記立上げミラーが三角錐形状であり、当該三角錐の3つの平面それぞれを、前記第1光束、前記第2光束及び前記第3光束を反射するための反射面として利用することを特徴とする請求項1〜4のいずれか一項に記載の光ピックアップ装置。
  6. 前記立上げミラーがモールド成形により作成されることを特徴とする請求項1〜5のいずれか一項に記載の光ピックアップ装置。
  7. 前記各対物レンズがモールド成形により作成されることを特徴とする請求項1〜6のいずれか一項に記載の光ピックアップ装置。
JP2004105113A 2004-03-31 2004-03-31 光ピックアップ装置 Pending JP2005293686A (ja)

Priority Applications (1)

Application Number Priority Date Filing Date Title
JP2004105113A JP2005293686A (ja) 2004-03-31 2004-03-31 光ピックアップ装置

Applications Claiming Priority (1)

Application Number Priority Date Filing Date Title
JP2004105113A JP2005293686A (ja) 2004-03-31 2004-03-31 光ピックアップ装置

Publications (1)

Publication Number Publication Date
JP2005293686A true JP2005293686A (ja) 2005-10-20

Family

ID=35326461

Family Applications (1)

Application Number Title Priority Date Filing Date
JP2004105113A Pending JP2005293686A (ja) 2004-03-31 2004-03-31 光ピックアップ装置

Country Status (1)

Country Link
JP (1) JP2005293686A (ja)

Cited By (6)

* Cited by examiner, † Cited by third party
Publication number Priority date Publication date Assignee Title
JP2007280467A (ja) * 2006-04-04 2007-10-25 Sanyo Electric Co Ltd 対物レンズ保持装置、光ピックアップ装置
JP2007328902A (ja) * 2006-05-09 2007-12-20 Sony Corp 対物レンズ装置、光ピックアップ装置、光ディスク駆動装置及び対物レンズの駆動方法
WO2008044601A1 (en) * 2006-10-10 2008-04-17 Panasonic Corporation Optical pickup device, optical information device, computer, optical disk player, car navigation system, optical disk recorder, and optical disk server
WO2008126494A1 (ja) * 2007-03-30 2008-10-23 Konica Minolta Opto, Inc. 光ピックアップ装置及び光学素子
JP2009070534A (ja) * 2007-09-18 2009-04-02 Citizen Holdings Co Ltd 液晶光学素子および光ピックアップ装置
US8144564B2 (en) 2005-12-14 2012-03-27 Panasonic Corporation Optical head and optical information device

Cited By (10)

* Cited by examiner, † Cited by third party
Publication number Priority date Publication date Assignee Title
US8144564B2 (en) 2005-12-14 2012-03-27 Panasonic Corporation Optical head and optical information device
JP2007280467A (ja) * 2006-04-04 2007-10-25 Sanyo Electric Co Ltd 対物レンズ保持装置、光ピックアップ装置
US7778119B2 (en) 2006-04-04 2010-08-17 Sanyo Electric Co., Ltd. Objective lens holding device and optical pickup apparatus
JP2007328902A (ja) * 2006-05-09 2007-12-20 Sony Corp 対物レンズ装置、光ピックアップ装置、光ディスク駆動装置及び対物レンズの駆動方法
WO2008044601A1 (en) * 2006-10-10 2008-04-17 Panasonic Corporation Optical pickup device, optical information device, computer, optical disk player, car navigation system, optical disk recorder, and optical disk server
JPWO2008044601A1 (ja) * 2006-10-10 2010-02-12 パナソニック株式会社 光ピックアップ装置、光情報装置、コンピュータ、光ディスクプレーヤ、カーナビゲーションシステム、光ディスクレコーダ及び光ディスクサーバ
JP5037516B2 (ja) * 2006-10-10 2012-09-26 パナソニック株式会社 光ピックアップ装置、光情報装置、コンピュータ、光ディスクプレーヤ、カーナビゲーションシステム、光ディスクレコーダ及び光ディスクサーバ
US8339924B2 (en) 2006-10-10 2012-12-25 Panasonic Corporation Optical pickup device capable of emitting first and second light beams having different wavelengths and including a light blocking member for blocking light of a specific wavelength, and a optical information device, computer, optical disk player, car navigation system, optical disk recorder, and optical disk server performing the same
WO2008126494A1 (ja) * 2007-03-30 2008-10-23 Konica Minolta Opto, Inc. 光ピックアップ装置及び光学素子
JP2009070534A (ja) * 2007-09-18 2009-04-02 Citizen Holdings Co Ltd 液晶光学素子および光ピックアップ装置

Similar Documents

Publication Publication Date Title
JP2004295983A (ja) 光ヘッド及びそれを用いた光記録再生装置
JPWO2008081859A1 (ja) 光ピックアップ、光ディスク装置、複合カップリングレンズ、複合プリズム、及び光情報機器
JP2005209299A (ja) 光ピックアップおよび記録再生装置
CN101165788B (zh) 光拾取器及光盘驱动器
WO2004003901A1 (ja) 光ピックアップ
CN101165793A (zh) 光拾取器及光学信息记录再现装置
JP2005032286A (ja) 光ピックアップ装置及び光ディスク装置
JPWO2008075573A1 (ja) 光ピックアップ装置用の光学素子、光ピックアップ装置及び光ピックアップ装置の組み立て方法
KR100509493B1 (ko) 호환형 광픽업
JP2000030288A (ja) 光ピックアップ素子
JP2005293707A (ja) 光ピックアップ装置
JP2005293686A (ja) 光ピックアップ装置
JP4507536B2 (ja) 光ピックアップ装置
JP2007328902A (ja) 対物レンズ装置、光ピックアップ装置、光ディスク駆動装置及び対物レンズの駆動方法
KR100803592B1 (ko) 호환형 광픽업 및 이를 채용한 광 기록 및/또는 재생기기
KR100546351B1 (ko) 호환형 광픽업 및 이를 채용한 광 기록 및/또는 재생기기
JP2005346903A (ja) 集積光学システム及びその製造方法、並びにこの集積光学システムを使用した情報記録再生装置
JP4176070B2 (ja) 光ディスクピックアップ制御装置及び光ディスクピックアップ制御方法
JP5018646B2 (ja) 光ピックアップ装置及び光ディスク装置
US7613095B2 (en) Optical pickup apparatus
JP2009116982A (ja) 情報記録再生装置
JP4640524B2 (ja) 光ディスク装置
JP4640525B2 (ja) 光ピックアップ装置
JP2005100513A (ja) 光ピックアップ装置及び光ディスク装置
JP5339209B2 (ja) 光ピックアップ装置及びプリズム

Legal Events

Date Code Title Description
A621 Written request for application examination

Free format text: JAPANESE INTERMEDIATE CODE: A621

Effective date: 20070312

A977 Report on retrieval

Free format text: JAPANESE INTERMEDIATE CODE: A971007

Effective date: 20090127

A131 Notification of reasons for refusal

Free format text: JAPANESE INTERMEDIATE CODE: A131

Effective date: 20090217

A521 Written amendment

Free format text: JAPANESE INTERMEDIATE CODE: A523

Effective date: 20090408

A131 Notification of reasons for refusal

Free format text: JAPANESE INTERMEDIATE CODE: A131

Effective date: 20090512

A02 Decision of refusal

Free format text: JAPANESE INTERMEDIATE CODE: A02

Effective date: 20091006