JP2005293512A - 指装着型データ入力装置 - Google Patents

指装着型データ入力装置 Download PDF

Info

Publication number
JP2005293512A
JP2005293512A JP2004111648A JP2004111648A JP2005293512A JP 2005293512 A JP2005293512 A JP 2005293512A JP 2004111648 A JP2004111648 A JP 2004111648A JP 2004111648 A JP2004111648 A JP 2004111648A JP 2005293512 A JP2005293512 A JP 2005293512A
Authority
JP
Japan
Prior art keywords
finger
input device
data input
contact portion
tactile
Prior art date
Legal status (The legal status is an assumption and is not a legal conclusion. Google has not performed a legal analysis and makes no representation as to the accuracy of the status listed.)
Pending
Application number
JP2004111648A
Other languages
English (en)
Inventor
Itsuo Kumazawa
逸夫 熊澤
Current Assignee (The listed assignees may be inaccurate. Google has not performed a legal analysis and makes no representation or warranty as to the accuracy of the list.)
Individual
Original Assignee
Individual
Priority date (The priority date is an assumption and is not a legal conclusion. Google has not performed a legal analysis and makes no representation as to the accuracy of the date listed.)
Filing date
Publication date
Application filed by Individual filed Critical Individual
Priority to JP2004111648A priority Critical patent/JP2005293512A/ja
Publication of JP2005293512A publication Critical patent/JP2005293512A/ja
Pending legal-status Critical Current

Links

Images

Landscapes

  • Input From Keyboards Or The Like (AREA)
  • Position Input By Displaying (AREA)
  • Electrophonic Musical Instruments (AREA)

Abstract

【課題】指輪のように指に装着して指を置く場所どこにでも仮想のボタンを生成する指装着型データ入力装置を与える。
【解決手段】指に装着する指装着部と外界の物体表面に固着する外界接触部を備えて、両者の相対的位置関係または両者間に働く圧力の方向に基づき入力するデータを定める。指装着部と外界接触部の相対的位置が変わるときに突起で指の皮膚を押したり、振動、反発力を発生したりして指の触覚を刺激して、指装着部の外界接触部に対する相対的位置を触覚を通じて明瞭に把握できるようにする。特に指の皮膚を刺激する突起を用いて仮想上のボタンを知覚させる。
【選択図】 図1

Description

本発明は指輪のように指にはめて装着した上で表示装置やハンドルなど外界に存在する任意の対象表面に装置の一部を押し当てながら指を動かして操作する指装着型データ入力装置に関する。またこの指装着型データ入力装置において、触覚刺激あるいは力覚刺激を指にフィードバックする機構を設けることによって、使用者に仮想上のボタンを知覚させ、使用者が手元を見ずに自分の操作を把握できるようにした指装着型データ入力装置に関する。
本技術において指装着型データ入力装置の操作性を向上するために主要な役割を果たしている触覚フィードバック機構に関しては、以下の特許文献1−16に示される各種方式が提案されている。
これらの中で指装着型あるいはグローブ型(手装着型)の入力装置には下記の特許文献6、7に示される方式があり、手を覆うグローブあるいは指を挿入するサックからピンを突出させて指を刺激する方法で触覚フィードバックを実現している。これらの従来方式と比べると、本発明の指装着型データ入力装置では入力装置の一部に外界の物体表面に接触する部分(外界接触部)を設けてこの部分を外界物体の表面に押し付けて固着させながら操作する点に特色があり、外界接触部を外界表面に固着させて指を動かす際に変化する外界接触部と指の相対的な位置関係、または外界接触部と指の間に働く力の方向に基づき入力するデータや生成する触覚刺激の形態を定める。
特開平11−161152号公報 特開平10−55252号公報 特開平6−102997号公報 特開2001−356862号公報 特開2000−29623号公報 特開2000−259333号公報 特開2000−47792号公報 特開平10−143301号公報 特開平11−224161号公報 実開平5−55222号公報 特開2002−278694号公報 特開平3−90922号公報 特開平11−353091号公報 特開2001−166871号公報 特願2003−33020 特願2003−277427
入力パネルが機器の特定位置に固定して設置されていると、入力パネルを操作する指が入力パネルの位置に制約されるために使用者は自由な姿勢で機器を操作することができなくなる。そして入力パネルを操作するときに特定の姿勢が要求されると並列して実行している別の作業の能率や安全性が損なわれる場合がある。例えば車のコンソールに設置されたタッチパネルに手を伸ばしてナビゲーションのメニューを選択しようとすると、ハンドルを握って車を運転する作業が支障を受けて事故を起こす危険性が高まる。また使用者には手の大きさ、指の長さ等に個人差があり、機器を操作しやすい指位置は使用者ごとに異なるが、入力パネルの位置が固定しているとその位置が不適性な使用者は無理な姿勢や操作しづらい指位置で装置を操作しなければならなくなる。
本発明では、こうした問題点を解決するために、指を置く任意の位置に仮想上の操作ボタンを生成する指装着型データ入力装置を与えることを課題とする。この指装着型データ入力装置を用いて機器操作時の指位置に関する制約をなくし、並列に実行している作業に最適の姿勢で、あるいは各人の手のサイズに最適な指位置で機器を操作できるようにする。例えば、車を運転中にハンドルの任意の位置に仮想上のボタンを生成することができれば、ハンドルを自然に保持したまま指位置に生成されたボタンを押して音響機器やナビゲーション機器を操作できるようになる。あるいは何らかの装置を指で保持しながら保持している指で装置を操作する時に保持する指がどこにあってもそこに仮想上のボタンが出現すれば、各人が都合の良い指位置で装置を保持しながら保持している指でボタンを押せるようになる。なおこの指装着型データ入力装置において、操作状況に応じて指の触覚や力覚に異なる刺激を加える触覚フィードバック機構(触覚刺激手段)を導入することによって、使用者が手元を見なくとも触覚の感触を通じて機器を操作できるようにする。さらにこの触覚フィードバックの形態を工夫することによって使用者に仮想上のボタンを知覚させて、操作を直感的に行えるようにする。
指輪のように指にはめて使用する指装着型データ入力装置を用いて上記課題を解決する。指装着型データ入力装置は指を装着する部位(指装着部)と外界の任意の物体表面に接触する部位(外界接触部)を備えており、指を指装着部に挿入して装着した後で外界接触部を外界物体の表面に押し当てて固着させ、外界接触部を外界物体の表面に固着させた状態で指装着部に挿入した指を動かして操作する。指装着型データ入力装置の指に装着する部位(指装着部)は外界接触部に対して可動とし、外界接触部を外界物体の表面に固着させた状態で指装着部にはめた指を動かすときに指の動きに連動して指装着部が動くことが望ましいが、装置の構造を簡単にするためには指装着部を外界接触部に対して可動としなくとも良い。その場合には指を動かそうとするときに指から指装着部に加わる圧力を検出して、実際には指が動いていなくとも検出された圧力の方向に指が動いたもの(動かそうとしたもの)と想定して扱うことにする。
指装着型データ入力装置は常時指に装着されて指と共に移動し、別に設置されている機器本体のリモートコントローラとして機能する。指装着型データ入力装置と機器本体は有線あるいは無線で信号や電力を伝送しあうようにする。指装着型データ入力装置の外界接触部を外界の任意の物体表面に固着させながら指装着型データ入力装置の指装着部に挿入した指を動かすと外界接触部に対する指装着部の相対位置が変わるのでこの相対位置に応じて入力するデータを定める。あるいは装置の単純化のために外界接触部に対して指装着部が可動になっていない場合には、外界接触部に対する指装着部の相対位置の代わりに指から指装着部に加わる圧力の方向を検出し、この方向に基づき入力するデータを定める。
指装着型データ入力装置をこのように使用すると外界接触部を固着させる任意の物体表面の任意の位置で機器を操作することができる。そのため機器を操作する指位置は制約を受けず、使用者の手の大きさや指の長さに応じた最適の位置で機器を操作できるようになる。また他の機器を同時に操作する場合に、その機器との並行操作に適した位置に指を置いて操作できる。例えば車を運転しながら車内機器を遠隔操作する場合には、ハンドルを保持している指に装着した指装着型データ入力装置の外界接触部をハンドルの任意表面位置に押し付けて固着させて操作すれば指をハンドルから離す必要がないので運転に支障をきたすことがない。通常のリモコンではリモコンを手で保持しなければならないが、指装着型データ入力装置は指に装着されているため保持する必要がなく、両手でハンドルを保持しながら各種機器を操作することができる。
指装着型データ入力装置は前述したように外界接触部に対する指の相対位置や指から指装着部に加わる圧力の方向に基づき入力するデータを定めるが、指装着部に挿入している指に適当な触覚フィードバックを加えることによって、指の相対位置や指から指装着部に加わる圧力の方向を明確に区別できるようになり、操作性が高まる。この際に触覚フィードバックの仕方を工夫すると触覚上仮想のボタンを知覚することができて、操作が直感的に分かりやすくなる。指と外界接触部の相対位置や指から指装着部に加わる圧力の方向に応じて指に加わる触覚刺激が変化すれば、触覚刺激の違いによって相対位置や圧力の方向を誤りなく確実に区別できるので誤入力が減り、微小な指位置を区別して入力する信号を指定できるので入力能率も向上する。
指に触覚刺激を加える方法としては、突起を動かして指の皮膚を押す方法や指を移動する運動に対して反発力を加える方法、あるいは指装着部を振動させる方法などがある。電気的に駆動するアクチュエータを用いて突起を動かしても良いが、消費電力やコストを低減するためには指の運動を機械的に変換して突起を動かすことが望ましい。
本発明の指装着型データ入力装置では、指を置く任意の地点に仮想上のボタンを生成することができるため、指位置に制約を与えずに各種機器の操作やデータ入力を行うことができる。指装着型データ入力装置は指に装着して使用するため、通常のリモコンと異なり手で保持する必要なく、両手を他の作業に使いながら操作することができる。通常のボタンやジョイスティックを指に装着するのでは操作性が悪く実用にならないが、本発明では、装着する指に触覚刺激を加える機構を導入することで操作性を向上し、さらに触覚刺激の形態を工夫すれば使用者に仮想的なボタンを知覚させることができるので操作が直感的で分かりやすくなる。このように本発明の指装着型データ入力装置には、入力装置を操作する指の位置を自由とし、指位置を目視で確認しなくとも触覚的に把握して、どこでも指を置いた位置に仮想上のボタンを生成してデータを入力できるようにする効果がある。
図1(a)は本発明の指装着型データ入力装置の斜視図を示す。図1中の指装着部1に指をはめて指輪のように携行して使用する。指装着部の指の腹に接する部分には穴2が4つ開いていて、そこから触覚刺激用突起3が出て指の腹側の皮膚を刺激する。指装着型データ入力装置を操作するときには、外界接触部8を外界に存在している任意の物体の表面に押し付けて、外界接触部8を外界の物体表面に固着させながら指装着部を装着している指を動かして、指装着部1を外界接触部8に対して動かす。そして指装着部1と外界接触部8の相対的位置関係を接触式スイッチや光学的スイッチ、各種エンコーダなどで検出してその検出結果に基づき入力するデータを定める。(b)は(a)の指装着型データ入力装置を左右方向に切断したときの断面図を示す。7は指の上下運動を検出するスイッチである。指装着部を指で押し下げてスイッチ7をON−OFFした後にバネ6により指装着部を上方に復帰する。底面が外界の物体表面に押し付けられて固着する外界接触部8の中には指装着型データ入力装置の電源となる電池9が入っている。指装着部は小さなボール4の上で円滑にスライド移動するが、その位置を標準位置に復帰するためにバネ5により四方から引っ張られている。こうした仕組により指装着部が外界接触部に対して相対的に移動することを可能とする可動機構を構成する。指の腹側の皮膚を刺激する突起(触覚刺激用突起)3は、指装着部と外界接触部の相対的位置関係が変わるときに図中に黒い丸で示されている軸を中心にして回転して、指装着部に挿入されている指の皮膚を押して触覚を刺激する。(c)は(a)の指装着型データ入力装置を前後方向に切断したときの断面図を示す。指装着部は小さなボール4の上に乗って前後方向にも円滑にスライド移動する。前後方向に指装着部が移動する場合にも移動位置に応じて触覚刺激用突起3が黒丸で示される回転軸を中心にして回転して指の皮膚を刺激する。無線送信用の電子回路10は、スイッチ7のON−OFFの状況や指装着部の外界接触部に対する相対的位置あるいはこれらの情報を処理した結果を無線で伝送する。無線は近距離に限定して接続するように制約し、最も近くにある機器の属性に合わせて機能を自動的に切り替えるようにすると良い。なお指装着部の外界接触部に対する相対的位置はスイッチの接触状況により検出しても良いし、移動する指装着部の下面に設けられた縞模様に光を照てたときの透過光または反射光の強度の時間変化等に基づき光学的に検出しても良い。なお電磁誘導によって無線で電力を受ける回路11があれば電池9を用いなくとも無線で電力の供給を受けることができる。
図2には図1に示した指装着型データ入力装置の実施例において、指先を各位置(a)左、(b)中央、(c)右、(d)前方、(e)中央、(f)後方、に移動したときに触覚刺激用突起が指の皮膚を刺激するように押し上げられる様子を示す。(a)では指を左方向に動かすときに指装着部が外界接触部に対して左方向に移動して、その結果、触覚刺激用突起12の下部がボール13にぶつかって押し上げられて指装着部に挿入された指の皮膚を刺激する。(b)は指が中央位置にある場合でどの触覚刺激用突起も下がっていて指を刺激しない。(c)では指が右に移動するときに触覚刺激用突起14の下部がボール15にぶつかって押し上げられて指装着部に挿入された指の皮膚を刺激する。(d)では指が前方に移動するときに触覚刺激用突起16の下部がボール17にぶつかって押し上げられて指装着部に挿入された指の皮膚を刺激する。(e)では指が中央位置にあるためいずれの触覚刺激用突起も下がっている。(f)では指が後方に移動した時に触覚刺激用突起18がボール19に押し上げられて指を刺激する。このように指の移動に応じて上下運動して指の皮膚を刺激する触覚刺激用突起は仮想上のボタンとして感じられる。この例では前後左右に4つのボタンがあるように感じられ、例えば前方のボタンを押そうとして指を前方に動かすと前方の触覚刺激用突起17が上昇して指に触れ、これが前方のボタンに触ったような感触を生じる。同様に指を後方、左右に動かす場合にも各方向の触覚刺激用突起が上昇して指に触れ、その方向にボタンがある感触を生じる。指を移動する方向以外の触覚刺激用突起は引っ込むので指を移動した方向にあるボタンを単独で触っている感触を生じ、狭い範囲で操作する場合にも、他のボタンを一緒に押してしまうことがなくなり、目的の方向のボタンだけを選択的に押すことができる。一方、現実の世界で狭い範囲に実際のボタンを4つ並べる場合には1つのボタンだけを単独に押すことは難しく誤って複数のボタンを同時に押してしまうことが多い。本発明の指装着型データ入力装置には、このように明瞭に区別できる仮想上のボタンを狭い指の運動範囲内に複数個生成しながら各ボタンを分離しているように感じさせて、データ入力の誤りを減らす効果がある。また仮想上のボタン間を移動する指の移動量は小さくなるため入力速度を向上する効果もある。
図3には、指装着部1が外界接触部8に対して相対移動するための可動機構を省き、その代わりに指から指装着部1に加えられる力の方向を圧電素子21で検出するようにした実施例を示す。指から指装着部1に力を加えるとその力は指装着部1の支柱20を曲げて圧電素子21に圧力を加える。圧電素子はこの圧力を電圧に変換するので、支柱の4方に配置された圧電素子の電圧を比較することによって指から加わる圧力の方向を検出できる。
図4には、指の移動位置に応じて指の移動に対する反発力あるいは抵抗力を加える仕組を示す。使用者は指先に加わるこの反発力または抵抗力をその触覚または力覚を通じて感じて、指の位置を把握する上での手掛かりとして利用することができる。ボール23は指装着部1と共に移動する。ボールが接する面には凹凸が設けられており、凹部23にボールは引き込まれるが凸部24を乗り越える時に力を要するのでこれが指装着部1を移動する際に指に加わる反発力または抵抗力となる。(a)(b)(c)の各図には指が左、中央、右の各標準位置に来たときにボール23が凹凸面のどの位置にあるのかを示す。左、中央、右の各標準位置でボールは凹部にあり、そこに引き込まれて安定しているが、指装着部が左、中央、右の標準位置間を移動する時には凹部から別の凹部に移動する途中で凸部を超えなければならず、そのときに指に反発力が加わることになる。
図5には、指装着部に設置された振動体25を用いて指の触覚を刺激する触覚刺激手段を導入した実施例を示す。振動体25としては振動モータ等を用いることができる。指を左、中央、右に移動したときの指装着部の位置を(a)(b)(c)の各図に示す。これらの各位置で振動体25の振動の仕方を変えると、指装着部に挿入した指の触覚で振動の仕方の違いを区別することによって指位置を把握できる。例えば、指装着部が中央位置にあるときは振動体25が振動しないが、左と右に移動したときには振動体25が振動するようにすることで中央位置と左右の位置を区別できる。
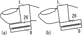
図6には、指を指装着部1に挿入して指装着型データ入力装置を装着している様子を示している。指装着型データ入力装置を使用するときには外界接触部8は(a)に示すように指先の真下にある必要がある。しかしながら指装着型データ入力装置を使用するのをやめて指先を別目的に使いたいときには、指先に付いている外界接触部8は邪魔になる。このようなときには指装着部のバンド部分1に対して26の部分がスライド移動または回転することによって、(b)に示すように外界接触部8が指の根元側に移動すると好都合である。またこのように外界接触部を根元側に移動したときには誤動作を避けるために指装着型データ入力装置の電源が切れるようにすると良い。
指の皮膚を刺激する突起(触覚刺激用突起)を備えた指装着型データ入力装置の実施例の斜視図(a)とその左右方向の断面図(b)、前後方向の断面図(c)である。 図1の指装着型データ入力装置の実施例において指先を動かすときに外界接触部に対して指装着部が移動してその各位置(a)左、(b)中央、(c)右、(d)前方、(e)中央、(f)後方、において触覚刺激用突起が指を刺激するように押し上げられる様子を示す図である。 指装着部に指から加えられる力の方向を検出する加圧方向検出手段を備えた指装着型データ入力装置の実装例を示す図である。 指の移動位置に応じて異なる反発力を指に加える触覚刺激手段を備えた指装着型データ入力装置の実施例において指装着部が(a)左、(b)中央、(c)右に移動している時の断面図である。 指の移動位置に応じて異なる振動を指に加える触覚刺激手段を備えた指装着型データ入力装置の実施例において指装着部が(a)左、(b)中央、(c)右に移動している時の断面図である。 指装着型データ入力装置を使用するときに外界接触部は図(a)に示すように指先の真下にあるが、指装着型データ入力装置を使用しないときには、指先を別の作業に用いることができるように外界接触部がスライド移動または回転して、図(b)のように作業の邪魔にならない指の根元側に移動する。

Claims (6)

  1. 指にはめて使用する指装着型データ入力装置において、
    指に装着されて指に対して固定される指装着部と、
    外界の物体表面に接触して接触した物体表面に対して固定される外界接触部と、
    前記指装着部に指から加えられる力の方向を検出する加圧方向検出手段と、
    を備え、前記加圧方向検出手段が検出する圧力の方向に応じて入力するデータの種類を定めることを特徴とする指装着型データ入力装置。
  2. 指にはめて使用する指装着型データ入力装置において、
    指に装着されて指に対して固定される指装着部と、
    外界の物体表面に接触して接触した物体表面に対して固定される外界接触部と、
    前記指装着部が前記外界接触部に対して相対的に移動することを可能とする可動機構と、
    を備え、前記指装着部と前記外界接触部の相対的位置関係に応じて入力するデータの種類を定めることを特徴とする指装着型データ入力装置。
  3. 請求項2記載の指装着型データ入力装置において、
    指の触覚を刺激する触覚刺激手段を備え、
    前記指装着部と前記外界接触部の相対的位置関係に応じて指に加える触覚刺激を変化させることを特徴とする指装着型データ入力装置。
  4. 請求項3記載の指装着型データ入力装置において、
    前記指装着部を前記外界接触部に対して移動する際に移動位置に応じて異なる反発力を指に加えて前記触覚刺激手段を実現することを特徴とする指装着型データ入力装置。
  5. 請求項3記載の指装着型データ入力装置において、
    前記指装着部を振動させて前記触覚刺激手段を実現することを特徴とする指装着型データ入力装置。
  6. 請求項3記載の指装着型データ入力装置において、
    指の皮膚を押して触覚を刺激する触覚刺激用突起と、
    前記指装着部の前記外界接触部に対する相対的運動を前記触覚刺激用突起の指に対する相対的運動に変換する運動変換機構と、
    を備え、前記指装着部と前記外界接触部の相対的位置関係が変化するときに前記運動変換機構を通じて前記触覚刺激用突起を指に対して相対的に動かして前記触覚刺激手段を実現することを特徴とする指装着型データ入力装置。
JP2004111648A 2004-04-05 2004-04-05 指装着型データ入力装置 Pending JP2005293512A (ja)

Priority Applications (1)

Application Number Priority Date Filing Date Title
JP2004111648A JP2005293512A (ja) 2004-04-05 2004-04-05 指装着型データ入力装置

Applications Claiming Priority (1)

Application Number Priority Date Filing Date Title
JP2004111648A JP2005293512A (ja) 2004-04-05 2004-04-05 指装着型データ入力装置

Publications (1)

Publication Number Publication Date
JP2005293512A true JP2005293512A (ja) 2005-10-20

Family

ID=35326336

Family Applications (1)

Application Number Title Priority Date Filing Date
JP2004111648A Pending JP2005293512A (ja) 2004-04-05 2004-04-05 指装着型データ入力装置

Country Status (1)

Country Link
JP (1) JP2005293512A (ja)

Cited By (13)

* Cited by examiner, † Cited by third party
Publication number Priority date Publication date Assignee Title
WO2009037956A1 (ja) * 2007-08-31 2009-03-26 Tokyo Institute Of Technology タッチパネル入力補助装置、同装置を用いたコンピュータ動作方法、および触感連動型プログラム
JP2010250750A (ja) * 2009-04-20 2010-11-04 Sharp Corp 入力器具、その制御方法、その制御プログラムおよびコンピュータ読み取り可能な記録媒体、ならびに、タッチパネル入力システム
JP2012511781A (ja) * 2008-12-10 2012-05-24 イマージョン コーポレーション ハプティック・テキスタイルからハプティック・フィードバックを提供する方法及び装置
WO2012176610A1 (ja) * 2011-06-22 2012-12-27 株式会社村田製作所 指刺激呈示装置
CN102891027A (zh) * 2011-07-21 2013-01-23 凌华科技股份有限公司 手持装置的按钮指环
US20130265147A1 (en) * 2012-04-04 2013-10-10 Industry-University Cooperation Foundation Contact type tactile feedback apparatus and operating method of contact type tactile feedback apparatus
TWI479365B (zh) * 2011-07-12 2015-04-01 Adlink Technology Inc Hand button for the handheld device
KR101548075B1 (ko) 2014-04-16 2015-08-27 박승규 착용가능한 데이터 입력장치
KR101658513B1 (ko) * 2015-04-23 2016-09-21 한국과학기술연구원 촉감 전달 장치 및 이를 구비한 사용자 인터페이스 시스템
JP2018036789A (ja) * 2016-08-30 2018-03-08 富士通株式会社 ウェアラブル端末装置
US10057730B2 (en) 2015-05-28 2018-08-21 Motorola Solutions, Inc. Virtual push-to-talk button
CN109712596A (zh) * 2019-03-12 2019-05-03 范清福 新型扬琴
KR101971803B1 (ko) * 2017-12-13 2019-08-13 김준환 음원출력장치

Citations (3)

* Cited by examiner, † Cited by third party
Publication number Priority date Publication date Assignee Title
JPH11154031A (ja) * 1997-11-24 1999-06-08 Futoshi Shiomi 3系統の成分を指一本で一度に入力できるジョイスティック
JP2001306245A (ja) * 2000-04-26 2001-11-02 Fujitsu Ltd ポインティング装置及びポインタ移動方法
JP2002278694A (ja) * 2001-03-22 2002-09-27 Itsuo Kumazawa ストローク運動に基づくデータ入力装置とグラフィカルインターフェイス方式

Patent Citations (3)

* Cited by examiner, † Cited by third party
Publication number Priority date Publication date Assignee Title
JPH11154031A (ja) * 1997-11-24 1999-06-08 Futoshi Shiomi 3系統の成分を指一本で一度に入力できるジョイスティック
JP2001306245A (ja) * 2000-04-26 2001-11-02 Fujitsu Ltd ポインティング装置及びポインタ移動方法
JP2002278694A (ja) * 2001-03-22 2002-09-27 Itsuo Kumazawa ストローク運動に基づくデータ入力装置とグラフィカルインターフェイス方式

Cited By (23)

* Cited by examiner, † Cited by third party
Publication number Priority date Publication date Assignee Title
JP5164226B2 (ja) * 2007-08-31 2013-03-21 国立大学法人東京工業大学 タッチパネル入力補助装置、同装置を用いたコンピュータ動作方法、および触感連動型プログラム
WO2009037956A1 (ja) * 2007-08-31 2009-03-26 Tokyo Institute Of Technology タッチパネル入力補助装置、同装置を用いたコンピュータ動作方法、および触感連動型プログラム
US8665241B2 (en) 2008-12-10 2014-03-04 Immersion Corporation System and method for providing haptic feedback from haptic textile
JP2012511781A (ja) * 2008-12-10 2012-05-24 イマージョン コーポレーション ハプティック・テキスタイルからハプティック・フィードバックを提供する方法及び装置
JP2010250750A (ja) * 2009-04-20 2010-11-04 Sharp Corp 入力器具、その制御方法、その制御プログラムおよびコンピュータ読み取り可能な記録媒体、ならびに、タッチパネル入力システム
WO2012176610A1 (ja) * 2011-06-22 2012-12-27 株式会社村田製作所 指刺激呈示装置
JP5472539B2 (ja) * 2011-06-22 2014-04-16 株式会社村田製作所 指刺激呈示装置
TWI479365B (zh) * 2011-07-12 2015-04-01 Adlink Technology Inc Hand button for the handheld device
CN102891027B (zh) * 2011-07-21 2014-12-10 凌华科技股份有限公司 手持装置的按钮指环
CN102891027A (zh) * 2011-07-21 2013-01-23 凌华科技股份有限公司 手持装置的按钮指环
US9870682B2 (en) 2012-04-04 2018-01-16 Samsung Electronics Co., Ltd. Contact type tactile feedback apparatus and operating method of contact type tactile feedback apparatus
US20130265147A1 (en) * 2012-04-04 2013-10-10 Industry-University Cooperation Foundation Contact type tactile feedback apparatus and operating method of contact type tactile feedback apparatus
US8976013B2 (en) 2012-04-04 2015-03-10 Samsung Electronics Co., Ltd. Contact type tactile feedback apparatus and operating method of contact type tactile feedback apparatus
KR101960842B1 (ko) * 2012-04-04 2019-07-15 삼성전자주식회사 밀착형 촉각 전달 장치 및 밀착형 촉각 전달 장치의 동작 방법
KR20130112457A (ko) * 2012-04-04 2013-10-14 삼성전자주식회사 밀착형 촉각 전달 장치 및 밀착형 촉각 전달 장치의 동작 방법
KR101548075B1 (ko) 2014-04-16 2015-08-27 박승규 착용가능한 데이터 입력장치
WO2016171335A1 (ko) * 2015-04-23 2016-10-27 한국과학기술연구원 촉감 전달 장치 및 이를 구비한 사용자 인터페이스 시스템
US10248208B2 (en) 2015-04-23 2019-04-02 Korea Institute Of Science And Technology Tactile transmission device and user interface system having same
KR101658513B1 (ko) * 2015-04-23 2016-09-21 한국과학기술연구원 촉감 전달 장치 및 이를 구비한 사용자 인터페이스 시스템
US10057730B2 (en) 2015-05-28 2018-08-21 Motorola Solutions, Inc. Virtual push-to-talk button
JP2018036789A (ja) * 2016-08-30 2018-03-08 富士通株式会社 ウェアラブル端末装置
KR101971803B1 (ko) * 2017-12-13 2019-08-13 김준환 음원출력장치
CN109712596A (zh) * 2019-03-12 2019-05-03 范清福 新型扬琴

Similar Documents

Publication Publication Date Title
US9268401B2 (en) Multidirectional controller with shear feedback
US9921642B2 (en) Hand-held controllers for virtual reality system
US10180720B2 (en) Hand-held controller with pressure-sensing switch for virtual-reality systems
US9898091B2 (en) Virtual reality system with head-mounted display, camera and hand-held controllers
US10532277B2 (en) Hand-held controllers with light-emitting diodes synchronized to an external camera
KR102225783B1 (ko) 햅틱 컨트롤러 및 이를 이용한 햅틱 피드백 제공 시스템 및 방법
US20160361637A1 (en) Connectable Hand-Held Controllers for Virtual-Reality Systems
WO2019005586A1 (en) FINGER-FITTED DEVICE WITH SENSORS AND HAPTIC TECHNOLOGY
JP2005293512A (ja) 指装着型データ入力装置
CN110096172A (zh) 具有表面触觉感觉的用户接口装置
US20190227633A1 (en) Haptic device, for interaction with virtual reality or augmented reality systems
KR101524906B1 (ko) 촉각 생성장치, 고분자 유전체 기반 구동기, 이를 이용한 촉각 액추에이터, 촉감 액추에이터, 인터페이스 장치, 촉각 피드백 제공장치
KR20200029529A (ko) 손가락 누르기 입력 이벤트들 동안 손가락 감각들을 수정하기 위한 시스템들
EP1779224A2 (en) A touchpad device
JP2014041441A (ja) 背面触覚情報提示型情報入力装置およびその方法
JP4986093B1 (ja) マッサージ器一体型のコンピュータマウス
JP2011170585A (ja) ポインティングデバイス及び情報処理システム
KR101004259B1 (ko) 진동촉각장치 및 이를 이용한 진동 방법
US20100214221A1 (en) Mouse
JP2009282565A (ja) マウスデバイスおよび情報処理システム
KR102739501B1 (ko) 스위치별 움직임을 센싱하는 햅틱 컨트롤러 장치
WO2006062079A1 (ja) 入力支援装置
JP2006050512A (ja) データ入力方式
JPH10187025A (ja) マウス型触覚ディスプレイ装置
CN219418120U (zh) 一种手持交互控制器

Legal Events

Date Code Title Description
A621 Written request for application examination

Free format text: JAPANESE INTERMEDIATE CODE: A621

Effective date: 20070329

RD02 Notification of acceptance of power of attorney

Free format text: JAPANESE INTERMEDIATE CODE: A7422

Effective date: 20070329

A521 Request for written amendment filed

Free format text: JAPANESE INTERMEDIATE CODE: A821

Effective date: 20070330

A131 Notification of reasons for refusal

Free format text: JAPANESE INTERMEDIATE CODE: A131

Effective date: 20081209

A02 Decision of refusal

Free format text: JAPANESE INTERMEDIATE CODE: A02

Effective date: 20090414