JP2005293374A - 画像表示装置および画像表示装置の駆動方法 - Google Patents

画像表示装置および画像表示装置の駆動方法 Download PDF

Info

Publication number
JP2005293374A
JP2005293374A JP2004109323A JP2004109323A JP2005293374A JP 2005293374 A JP2005293374 A JP 2005293374A JP 2004109323 A JP2004109323 A JP 2004109323A JP 2004109323 A JP2004109323 A JP 2004109323A JP 2005293374 A JP2005293374 A JP 2005293374A
Authority
JP
Japan
Prior art keywords
light
light emitting
receiving
image display
receiving element
Prior art date
Legal status (The legal status is an assumption and is not a legal conclusion. Google has not performed a legal analysis and makes no representation as to the accuracy of the status listed.)
Granted
Application number
JP2004109323A
Other languages
English (en)
Other versions
JP4161929B2 (ja
Inventor
Kazunori Yamaguchi
和範 山口
Current Assignee (The listed assignees may be inaccurate. Google has not performed a legal analysis and makes no representation or warranty as to the accuracy of the list.)
Sony Corp
Original Assignee
Sony Corp
Priority date (The priority date is an assumption and is not a legal conclusion. Google has not performed a legal analysis and makes no representation as to the accuracy of the date listed.)
Filing date
Publication date
Application filed by Sony Corp filed Critical Sony Corp
Priority to JP2004109323A priority Critical patent/JP4161929B2/ja
Priority to US11/092,961 priority patent/US20050219229A1/en
Publication of JP2005293374A publication Critical patent/JP2005293374A/ja
Application granted granted Critical
Publication of JP4161929B2 publication Critical patent/JP4161929B2/ja
Anticipated expiration legal-status Critical
Expired - Fee Related legal-status Critical Current

Links

Images

Landscapes

  • Liquid Crystal (AREA)
  • Electroluminescent Light Sources (AREA)
  • Position Input By Displaying (AREA)
  • Devices For Indicating Variable Information By Combining Individual Elements (AREA)
  • Control Of El Displays (AREA)
  • Control Of Indicators Other Than Cathode Ray Tubes (AREA)

Abstract

【課題】 利便性を確保しつつ簡易な構造で画質を劣化させることなく、物体の位置などを検出することを可能にする画像表示装置および画像表示装置の駆動方法を提供する。
【解決手段】 1つの発光受光素子を含む複数の発光受光セルCWRが配置された構成からなる表示部1を備え、表示信号生成部21により生成された画像データに基づいて発光側スキャナ24および表示信号ドライバ23がこれらの発光受光素子を発光駆動すると共に、その発光受光素子から出射して検出対象物体で反射した光を他の発光受光素子が受光するように受光信号選択スキャナ31が他の発光受光素子を駆動し、他の発光受光素子から受光信号レシーバ32により得られた受光信号に基づき位置検出部34において検出対象物体を検出するようにしたので、利便性を確保しつつ簡易な構造で画質を劣化させることなく、接触あるいは近接する物体の位置を検出することができる。
【選択図】 図1

Description

本発明は、物体の位置などを検出する機能を備える画像表示装置および画像表示装置の駆動方法に関する。
従来より、表示装置に対して接触あるいは近接する物体の位置などを検出する技術が知られている。その中でも代表的で一般に広く普及している技術として、タッチパネルを備えた表示装置が挙げられる。
このタッチパネルも種々のタイプのものが存在するが、一般に普及しているものとして、静電容量を検知するタイプのものが挙げられる。このタイプのものは、指でタッチパネルに接触することでパネルの表面電荷の変化を捕らえ、これにより物体の位置などを検出する。これにより、ユーザは直感的に操作することが可能である。
また、近年、これらのタッチパネルを備えることなく、表示装置に対して物体の位置などを検出し、直感的に操作することを可能とする技術も各種提案されている。
例えば、特許文献1には、板上を指の移動が可能な平面パッドの一端に赤外線等の発光素子と受光素子とを配置し、指を移動するのみでポインタ制御を行うことができる赤外線式指入力ポインタ装置が開示されている。
特開平11−149348号公報
しかしながらこの技術は、表示装置とは別個に入力装置などを備えなければならず、部品点数が増えることにより製品のコストが上昇すると共に、タッチパネルを備えた表示装置と比べて直感的に操作することができないという課題があった。
また、タッチパネルを備えた表示装置についても、表示画面上にタッチパネルを備えることにより部品点数が増え、製品のコストが上昇する。また、表示画面からの光がタッチパネルを透過する際に変化して、画質の劣化を引き起こしてしまうという課題もあった。
さらに、上記の一般的に普及している静電容量を検知するタイプのタッチパネルの場合、同時に表示画面上の1点の位置しか検出することができず、ユーザにとっては必ずしも利便性が良いとは言えないといった課題があった。
つまり、従来のこれらの技術は、利便性を確保しつつ簡易な構造で画質を劣化させることなく物体の位置などを検出することが困難であるという課題があった。
本発明はかかる問題点に鑑みてなされたもので、その目的は、利便性を確保しつつ簡易な構造で画質を劣化させることなく物体の位置などを検出することを可能にする画像表示装置および画像表示装置の駆動方法を提供することにある。
本発明の画像表示装置は、それぞれが発光機能と受光機能とを併有する複数の発光受光素子と、画像データに基づいて発光受光素子を発光駆動する発光駆動手段と、画像データに基づいて発光している一の発光受光素子から出射して検出対象物体で反射した光を他の発光受光素子が受光するように、他の発光受光素子を受光駆動する受光駆動手段と、他の発光受光素子から得られた受光信号に基づき検出対象物体を検出する検出手段とを備えるものである。
本発明の画像表示装置の駆動方法は、それぞれが発光機能と受光機能とを併有する複数の発光受光素子を配置し、画像データに基づいて発光受光素子を発光駆動し、画像データに基づいて発光している一の発光受光素子から出射して検出対象物体で反射した光を他の発光受光素子が受光するように他の発光受光素子を受光駆動し、他の発光受光素子から得られた受光信号に基づき検出対象物体を検出するようにしたものである。
本発明の画像表示装置および画像表示装置の駆動方法では、画像データに基づいて発光受光素子が発光する。他の発光受光素子がその発光受光素子から出射して検出対象物体で反射した光を受光して受光信号を出力する。その受光信号に基づき検出対象物体が検出される。たとえ複数の検出対象物体が同時に配置されている場合でも、受光信号に基づきこれら複数の検出対象物体を検出するように構成することが可能である。ここで、「同時に配置されている」とは、例えば画像表示装置の表示部上に複数の指を一緒に接触あるいは近接させている状況などを意味するものである。
また、この検出対象物体の性状またはその検出の目的もしくは精度に応じたしきい値を設定するようにした場合には、受光信号をこの設定されたしきい値と比較することにより、これらの用途に応じた態様で検出対象物体が検出される。ここで、「検出対象物体の性状」とは、例えば、その物体の大きさ、表面状態(反射率、色、粗さなど)などを意味し、「検出の目的」とは、例えば、物体の位置の検出、物体の大きさの検出、物体の色の検出などを意味し、「検出の精度」とは、検出解像度のことを意味する。
また、この検出対象物体が発光受光素子に接近していない状態で黒表示を行ったときに得られる受光信号に基づいて周囲に存在する環境光の強度を求め、この環境光の影響を考慮して検出対象物体の検出を行うようにした場合は、環境光の影響に左右されずに検出対象物体が検出される。ここで、「黒表示」とは、画像表示装置が備える全ての発光受光素子が発光する輝度が最も低い状態の表示を意味し、「環境光」とは、例えば太陽光や室内灯による光など、周囲から照射されている光を意味する。
さらに、入力画像データの一部を所定のマークを表示させるためのマークデータと置き換えて画像データを合成し、このマークデータに応じて発光受光素子から出射した光をその発光受光素子に対応する位置の他の発光受光素子によって受光するようにした場合には、表示中のこのマークに検出対象物体が接近したかどうかということが検出される。この場合において、画像表示中にこのマークを移動させることも可能であり、また、例えば絵柄の動きに合わせてこのマークを移動させるように構成することも可能である。ここで、「入力画像データ」とは、画像表示装置へ入力されたままの合成前の生の画像データを意味し、「マークデータ」とは、例えば、任意の図形や文字の形状、輝度および色などによって表される標識を意味する。
ここで例えば、これら複数の発光受光素子をマトリクス状に配置し、発光受光素子が線順次で発光動作を行うように駆動すると共に、これに同期して発光中の発光受光素子以外の発光受光素子が線順次で受光動作を行うように駆動するように構成してもよい。ここで、「マトリクス状」とは、複数の発光受光素子が画像表示装置の表示部全面にわたって、画面の水平ライン方向および垂直ライン方向に行列配置されている状態を意味し、この配置された各要素を画素と言う。「線順次で発光動作」および「線順次で受光動作」とは、ある1水平ライン分の各画素に含まれる発光受光素子が1水平ラインごとに順次、発光動作および受光動作する態様の動作を意味し、これを画像表示装置の表示部全面にわたって行うことにより、1画面分の画像データの表示および1画面分の各画素についての受光をすることが可能となる。
本発明の画像表示装置および画像表示装置の駆動方法によれば、それぞれが発光機能と受光機能とを併有する複数の発光受光素子を備え、画像データに基づいて発光受光素子を発光駆動すると共に、その発光受光素子から出射して検出対象物体で反射した光を他の発光受光素子が受光するように他の発光受光素子を受光駆動し、他の発光受光素子から得られた受光信号に基づき検出対象物体を検出するようにしたので、利便性を確保しつつ簡易な構造で画質を劣化させることなく物体の位置などを検出することができる。
以下、本発明を実施するための最良の形態(以下、単に実施の形態という。)について、図面を参照して詳細に説明する。
[第1の実施の形態]
図1は、本発明の第1の実施の形態に係る画像表示装置の全体構成を表すものである。
本実施の形態の画像表示装置は、表示部1と、表示信号生成部21と、表示信号保持制御部22と、表示信号ドライバ23と、発光側スキャナ24と、受光信号選択スキャナ31と、受光信号レシーバ32と、受光信号保持部33と、位置検出部34とを備える。
表示部1は、複数の各画素11が全面に渡ってマトリクス状に配置された、例えば、有機または無機のEL(ElectroLuminescence)ディスプレイやLCD(Liquid Crystal Display)からなり、後述するように線順次動作をしながら所定の図形や文字などの画像を表示する。また、各画素11は、1つの発光受光素子を含む発光受光セルCWRから構成され、後述するように各画素が発光動作機能と受光動作機能を併有するようになっている。
表示信号生成部21は、図示しないCPU(Central Processing Unit)などにより生成され、供給されたデータに基づいて、例えば、1画面ごと(1フィールドの表示ごと)に表示するための表示信号を生成し、それを表示信号保持制御部22に出力する。
表示信号保持制御部22は、表示信号生成部21から出力される表示信号を1画面ごと(1フィールドの表示ごと)に、例えばSRAM(Static Random Access Memory)などから構成されるフィールドメモリに格納して保持すると共に、各発光受光セルCWRを発光駆動する発光側スキャナ24および表示信号ドライバ23、ならびに各発光受光セルCWRを受光駆動する受光信号選択スキャナ31を連動して動作するように制御する機能を有する。具体的には、発光側スキャナ24には発光タイミング制御信号41を、受光信号選択スキャナ31には受光タイミング制御信号42を、表示信号ドライバ23には制御信号およびフィールドメモリに保持されている表示信号に基づいて、1水平ライン分の表示信号を出力する。これらの制御信号および表示信号により、後述するように、線順次動作が行われるようになっている。
発光側スキャナ24は、表示信号保持制御部22から出力される発光タイミング制御信号41に応じて発光駆動対象の発光受光セルCWRを選択する機能を有する。具体的には後述するように、表示部1の各画素11に接続された発光用ゲート線を介して選択信号を供給し、第1のスイッチを制御する。つまり、選択信号によりある画素の第1のスイッチがオン状態となる電圧が印加されると、その画素では表示ドライバ23から供給された電圧に対応した輝度の発光動作がなされるようになっている。
表示信号ドライバ23は、表示信号保持制御部22から出力される1水平ライン分の表示信号に応じて発光駆動対象の発光受光セルCWRに表示データを供給する機能を有する。具体的にはやはり後述するように、表示部1の各画素11に接続されたデータ供給線を介して前述の発光側スキャナ24により選択された画素11に表示データに対応する電圧を供給する。この発光側スキャナ24および表示信号ドライバ23が連動して線順次動作することにより、任意の表示データに対応する画像が表示部1に表示される。
受光信号選択スキャナ31は、表示信号保持制御部22から出力される受光タイミング制御信号42に応じて発光受光素子CWRの発光駆動と受光駆動とを切り換え、それにより受光駆動対象の発光受光セルCWRを選択する機能を有する。具体的には後述するように、表示部1の各画素11に接続された切換線を介して切換信号を供給し、第2のスイッチおよび第3のスイッチを制御する。つまり、切換信号によりある画素において発光駆動時に選択する第2のスイッチがオフ状態となる電圧を印加すると共に、受光駆動時に選択する第3のスイッチがオン状態となる電圧を印加し、その画素から検出された受光信号が受光信号レシーバ32に出力されるようになっている。これにより、例えばある発光受光セルCWRからの出射光に基づいて接触あるいは近接する物体において反射した光を、他の発光受光セルCWRが受光し、検出することが可能となる。また、この受光信号選択スキャナ31からは、受光信号レシーバ32および受光信号保持部33へ受光ブロック制御信号43が出力され、これら受光動作に寄与するブロックを制御する機能も有する。
受光信号レシーバ32は、受光信号選択スキャナ31から出力される受光ブロック制御信号43に応じて、各発光受光セルCWRから出力された1水平ライン分の受光信号を取得する機能を有する。この受光信号レシーバ32において取得された1水平ライン分の受光信号は、受光信号保持部33へ出力される。
受光信号保持部33は、受光信号選択スキャナ31から出力される受光ブロック制御信号43に応じて、受光信号レシーバ32から出力される受光信号を1画面ごと(1フィールドの表示ごと)の受光信号に再構成し、例えばSRAMなどから構成されるフィールドメモリに格納して保持する機能を有する。受光信号保持部33において格納された受光信号のデータは、位置検出部34へ出力される。なお、この受光信号保持部33はメモリ以外の記憶素子から構成されていてもよく、例えば受光信号のデータをアナログデータとして保持しておくことも可能である。以下、本実施の形態においては特に記載がない場合、受光信号はアナログデータとして保持されているものとする。
位置検出部34は、受光信号保持部33から出力される受光信号のデータに基づいて信号処理を行い、発光受光セルCWRにおいて検出された物体が存在する位置を特定する機能を有する。これにより、接触あるいは近接する物体の位置を特定することが可能となる。なお、上記のように受光信号保持部33が受光信号のデータをアナログデータとして格納している場合は、位置検出部34においてアナログ/デジタル変換(以下、A/D変換という。)を行ってから信号処理が実行される。
図2は、図1における表示部1の構成の一例を表すものである。なお、この表示部1は、水平ライン方向にm個、垂直ライン方向にn個、合計で(m×n)個からなる画素11がマトリクス状に配置された構成になっているものとする。ここで、例えばPC(Personal Computer)などにおいて一般的なディスプレイ規格であるXGA(eXtended Graphics Array)規格の表示部の場合、m=1024×3(RGB),n=768の合計2359296個からなる画素がマトリクス状に配置されていることになる。
図2に示したように、この表示部1は、合計で(m×n)個からなる画素11および各画素に含まれる前述の発光受光セルCWR11〜CWRmnと、その画素11の数に応じて接続された、m本のデータ供給線DW(DW1〜DWm)およびデータ読出線DR(DR1〜DRm)、ならびにn本の発光用ゲート線G(G1〜Gn)および切換線S(S1〜Sn)とを備える。
データ供給線DW、データ読出線DR、発光用ゲート線Gおよび切換線Sはそれぞれ、前述の表示信号ドライバ23、受光信号レシーバ32、発光側スキャナ24および受光信号選択スキャナ31に接続され、表示信号、選択信号および切換信号が各発光受光セルCWRへ供給され、受光信号が各発光受光セルCWRから出力される。また、図2に示したように、各発光受光セルCWRに対してそれぞれ1本ずつのデータ供給線DW、データ読出線DR、発光用ゲート線Gおよび切換線Sが接続されている。さらに、例えば1垂直ラインの発光受光セルCWR11,CWR12,…,CWR1nに対しては1本ずつのデータ供給線DW1およびデータ読出線DR1が共通に接続され、例えば1水平ラインの発光受光セルCWR11,CWR21,…,CWRm1に対しては1本ずつの発光用ゲート線Gおよび切換線Sが共通に接続されている。なお、図2中の矢印Xは、後述するように発光用ゲート線Gおよび切換線Sのスキャン方向を示している。
図3は、図1の表示部1における発光受光セルCWRの配置構成の一例を断面図で模式的に表したものである。なお、図3の例では、発光受光セルCWRに含まれる発光受光素子が有機EL素子であり、1対の透明基板の間に有機EL層が設けられている場合を示している。この図おいて、位置を表す符号であるiはある自然数を表し、前述のように例えばXGA規格の表示部の場合(m=1024×3(RGB),n=768)、例えば表示部の中央の垂直ラインとすると、i=1536となる。
また、図3に示した断面図は、図2に示した表示部1における垂直方向のA−A矢視断面に対応するものである。この表示部1は、1対の透明基板12A,12Bと、これらの透明基板12A,12Bの間に配置され、上記のように隔壁13によって互いに分離された構造の複数の発光受光セルCWR(CW21,CW22,CW23,CW24,CW25,…)とを有する。また、上記のように、発光受光セルCWRは発光受光素子として有機EL素子を含む。またこの図では、各発光受光セルCWRが含む発光受光素子による出射光LWも示している。なお、一般的な有機EL表示部におけるその他の層については図示せず、省略している。以下、図5においても同様である。
なお、本実施の形態に係る表示部1における発光受光セルCWRの配置構成例の断面図はこれらに限られるものではなく、他の配置構成でもよい。また、図3に示した断面図の例においては、発光受光素子ELが有機EL素子から構成されている例で説明したが、この発光受光素子は発光機能および受光機能を備える素子ならば他のものでもよく、例えばLED素子などから構成するようにしてもよい。
図4は、図2における発光受光セルCWRの回路構成を表すものである。
この発光受光セルCWRは、1つの発光受光セルCWRを備え、発光用ゲート線G、データ供給線DW、切換線Sおよびデータ読出線DRがこの発光受光セルCWRに接続された構成となっている。つまり、通常の発光素子を備える1画素分のセルと比べて、受光用の分だけゲート線およびデータ線が1本ずつ増加した構成となっている。また、発光受光セルCWRは、1つの発光受光素子ELと、キャパシタCと、抵抗Rと、発光用ゲート線Gから供給される選択信号に応じてデータ供給線DWとこのキャパシタCの一端との間を選択的に導通させる第1のスイッチSW1と、切換線Sから供給される切換信号に応じてこのキャパシタの他端と発光受光素子ELの一端との間を選択的に導通させる第2のスイッチSW2と、同様に切換線Sから供給される切換信号に応じて発光受光素子ELの一端とデータ読出線DRとの間を選択的に導通させる第3のスイッチSW3とを有し、発光受光素子ELの他端は接地されている。抵抗Rの一端はデータ読出線DRに接続されており、抵抗Rの他端は接地、または負バイアス点(図示せず)に接続されている。
ここで、具体的に発光動作時および受光動作時における各構成要素の動作を説明する。まず、発光動作および受光動作は、以下のような発光受光素子ELの性質を利用して行う。つまり、本実施の形態において発光受光素子として構成する、例えば有機EL素子やLED素子などは、順方向バイアス電圧を印可すると発光動作をするが、逆方向バイアス電圧を印加すると、受光して電流を発生する性質を有する。よって、後述するようにこの発光受光素子ELは、発光動作および受光動作を同時に行うことはできず、両方の動作を行うには時分割で動作させる必要がある。
よって、まず発光動作時には、上記のように発光用ゲート線Gから供給される選択信号および切換線Sから供給される切換信号に応じて第1のスイッチSW1および第2のスイッチSW2がオン状態かつ第3のスイッチSW3がオフ状態となると共に、発光受光素子ELには順方向バイアス電圧が印加される。ここで、表示信号に応じた輝度の発光となるよう、データ供給線DWからI1の経路にてキャパシタCが充電され、それに基づいてI2の経路にて発光受光素子ELに電流が流れ、発光動作を行うようになっている。
一方、受光動作時には、上記のように切換線Sから供給される切換信号に応じて第2のスイッチがオフ状態、第3のスイッチSW2がオン状態となると共にこの発光受光素子ELに逆方向バイアス電圧が印加され、発光受光素子ELにおいて受光した光量に応じた電流がI3の経路にてデータ読出線DRへ供給され、受光動作を行うようになっている。なお、発光動作および受光動作のいずれの動作も行っていない時には、第1のスイッチSW1、第2のスイッチSW2および第3のスイッチSW3のいずれのスイッチもオフ状態となっており、データ供給線DWおよびデータ読出線DRはそれぞれ、発光受光素子ELとは切断されるようになっている。なお、データ読出線に接続されている抵抗Rは、上記のようにI3の経路でデータ読出線DRに供給された電流に基づいて抵抗Rの両端に電位差を生じさせ、これを受光信号として出力する機能を有する。
次に、以上のような構成の画像表示装置において接触あるいは近接した物体を検出する動作を説明する。
まず、図5を参照して以上のような構成の画像表示装置において、接触あるいは近接する物体を検出する動作を説明する。図5は、図1の画像表示装置において検出対象物体を検出する処理の一例を表すものである。図4に示した、発光受光素子である有機EL素子を含む発光受光セルCWRが隔壁13により分離された構造の例に対応したものであり、図4に示した構成要素と同一の構成要素には同一の符号を付し、説明を適宜省略する。
図5に示したように、例えば表示部1に指などの検出対象物体15を接触あるいは近接させると、例えば、発光受光セルCWR23から出射された出射光LW1がこの検出対象物体15で反射する。ここで、この発光受光素子ELは前述のように発光動作および受光動作は時分割で行う必要があるので、ある発光受光素子を発光させながらその発光受光素子で反射光を受光することができない。そこで、ある水平ラインの発光受光素子から出射した光を、他の水平ラインの発光受光素子に逆方向バイアス電圧を印加して受光動作を行うことにより検出が可能になる。例えば、発光受光セルCWR23から位置が近い水平ラインの発光受光セル、例えばCWR24あるいはCWR25などには反射光LR1が入射するが、発光受光セルCWR23から位置が遠い水平ラインの発光受光セルには反射光は入射しない。このため、ある検出対象物体15から位置が近い発光受光セルCWRのみから受光信号が得られる。例えば、発光駆動されている水平ラインの発光受光セルCWRから発せられて検出対象物体15で反射された光を、その発光中の水平ラインに隣接する水平ラインの発光受光素子によって検出するようにタイミング駆動を行うものとする。検出対象物体15の近傍の水平ラインの発光受光素子からは受光信号が検出される一方、それ以外の領域からは受光信号が検出されないので、表示部1のどの位置に検出対象物体15が存在するのかを検知することが可能となる。このような発光駆動と受光駆動とを各水平ラインについて順次行うこと(以下、線順次駆動という。)により、表示部1全体にわたって画像を表示しながら検出対象物体15を検出することが可能となる。
図6は、図1の画像表示装置における線順次発光動作および線順次受光動作の一例を表すものである。ここで、図6に示した1マスは表示部1における画素11を表すものである。
図6(A)に示した線順次発光動作の例では、例えば矢印P2で示した位置の1水平ラインが、スキャン方向Xで示した方向に順次発光動作していく状況を表している。またこの例では、矢印P2で示した位置の1水平ラインが、表示データによる描画が画面上においてある時間が経過するまで、つまり次の画像データが表示ドライバ23により供給される前までの一定期間だけ発光状態が保持され、表示部1全体が発光領域51A,51Bと非発光領域52とに分かれている状況を表している。この場合、矢印P2で示した位置の1水平ラインが線順次発光動作することにより、発光状態が保持される一定時間内においては、表示部1の全体または大部分が発光領域となり、ある画像データを表示部1全体に渡って表示することが可能となる。発光状態が保持される期間は、例えば図4に示した発光受光セルCWRの回路構成におけるキャパシタCの容量値などにより決まるものであり、任意に設定可能である。なお、図6(A)に示した例では、表示部1に非発光領域52が存在するが、この非発光領域52もまた線順次移動するので、残像現象効果により、人の目によっては視認されることがなく、問題にならない。
次に図6(B)および(C)に示した線順次発光動作および線順次受光動作の例では、例えば矢印P2およびP5で示した位置の1水平ラインがスキャン方向Xで示した方向に順次発光動作していくと共に、矢印P3およびP6で示した位置の1水平ラインが発光領域51Aから出射した光による検出対象物体15での反射光を、スキャン方向Xで示した方向に線順次受光動作していく状況を表している。このように、ある1水平ラインが線順次発光動作すると共に、常にその隣の位置の1水平ラインがその出射光による反射光を線順次受光動作することにより、表示部1全体が発光領域になると共に受光領域となり、ある画像データを表示部1全体に渡って表示することに加えて、受光素子から検出された受光信号によりある検出対象物体15が表示部1の近傍に存在するかどうかおよび存在する場合はその位置を検出することが可能となる。なおこの場合でも、表示データによる描画が画面上においてある時間が経過するまで、つまり次の受光動作前までの一定期間だけ発光動作が保持され、表示部1全体が発光領域51A,51Bと非発光領域52とに分離している状況を表している。
次に、図2、図4、図5および図7を参照して、図1の画像表示装置において検出対象物体15を検出する処理の詳細を説明する。図7は、図1の画像表示装置において検出対象物体15を検出する処理を表すものであり、(D)ある1垂直ライン分の発光受光セルCWRi(CWRi1〜CWRin)、およびこれらの各発光受光セルCWRiに接続された、(A)データ供給線DWi、(B)発光用ゲート線G(G1〜Gn)、(C)切換線S(S1〜Sn)および(E)データ読出線DRiの各信号を示している。また、図7において位置を表す符号であるiおよびjはある自然数を表し、前述のように例えばXGA規格の表示部の場合(m=1024×3(RGB),n=768)、例えば表示部の中央とすると、i=1536,j=384となる。なお、以降のタイミング図においても同様である。
図7において、横軸は時間を表し、垂直期間TH1およびTH2は表示部1の画面全体分スキャンするのに要する時間、つまりこの場合は発光側スキャナ24および受光信号選択スキャナ31がそれぞれ、G1〜GnまでおよびS1〜Snまでスキャンする時間を表すものである。ここで、検出対象物体15は表示部1における発光受光セルCWRij,CWRi(j+1),CWRi(j+2)付近にあるものとすると、これに対応する期間、つまり垂直期間TH1においてはタイミングt3〜t6の期間(受光信号検出期間TF1)において受光信号が検出され、垂直期間TH2においては受光信号検出期間TF2において受光信号が検出される。また、縦軸は上記の(A)〜(C)および(E)に示した各信号の各タイミングにおける電圧を表している。ここで、(A)に示したデータ供給線DWiの信号は、各画素11において任意の輝度に対応する表示データであるものとし、表示部1において任意の画像を表示しているものとする。また、(D)に示した各発光受光セルCWRiにおける発光期間TWおよび受光期間TRを表すものである。なお、発光期間TWおよび受光期間TR以外の期間は、非動作期間である。なお、発光期間TWのうち、最初の区間(太枠部分)は、画像データに基づく発光駆動が行われている期間(図4の第1のスイッチSW1がオンしている期間)であり、それ以外の期間は、図4のキャパシタCによって発光状態が保持されている期間である。
なお、(E)に示したデータ読出線DRiの信号は、アナログデータとして受光信号保持部33に格納される例であるが、前述のようにデジタルデータとして受光信号保持部33に格納するように構成することも可能である。
まず最初は、全ての発光用ゲート線Gおよび切換線Sにおいて選択信号が出力されず、各発光受光セルCWRにおいて第1のスイッチSW1、第2のスイッチSW2および第3のスイッチSW3のいずれのスイッチもオフ状態となっており、データ供給線DWおよびデータ読出線DRはそれぞれ、発光受光素子ELとは切断されるようになっている。よってこの期間においては、各発光受光セルCWRは非動作状態となっている。
タイミングt0において、(C)切換線S1において切換信号が出力され、この切換線が接続された発光受光セルCWR11,CWR21,…,CWRm1における第3のスイッチSW3が一斉にオン状態となり、これらの発光受光セルにおいて受光動作を行う。なお、これらの発光受光セルにおける第1のスイッチSW1および第2のスイッチSW2はオフ状態のままである。このとき、図7中に受光期間TRで示したように、(D)発光受光セルCWRiにおいて図4に示した発光受光素子ELにおいて受光した光量に応じた電流がI3の経路にて(E)データ読出線DRiへ供給されて受光動作を行う。なお、この期間(タイミングt0〜t1)においては検出対象物体15による受光信号が検出されないので、(E)データ読出線DRiからは出力信号が出力されない。
次にタイミングt1において、(B)発光用ゲート線G1および(C)切換線S2においてそれぞれ、選択信号および切換信号が出力される。よって、(B)発光用ゲート線G1が接続された発光受光セルCWR11,CWR21,…,CWRm1においては、第1のスイッチSW1および第2のスイッチSW2が一斉にオン状態となると共にタイミングt0〜t1においてオン状態であった第3のスイッチは一斉にオフ状態となり、これらの発光受光セルにおいて発光動作を行うが、やはり検出対象物体15による受光信号が検出されないので、(E)データ読出線DRiからは出力信号が出力されない。
タイミングt2以降も同様にして、(B)発光用ゲート線G2および(C)切換線S3,(B)発光用ゲート線G3および(C)切換線S4,…と、線順次に発光動作および受光動作を行うが、やはり検出対象物体15による受光信号が検出されないので、(E)データ読出線DRiからは出力信号が出力されない。なお、各発光受光セルCWRiとも前述のようにある一定期間、発光動作期間TWが保持される。
そしてタイミングt3〜t6において、(D)各発光受光セルCWRij,CWRi(j+1),CWRi(j+2)は検出対象物体15からの反射光を受光し、図7に示したように受光した光量に応じた電流が電圧に変換され、(E)データ読出線DRiへ出力される(受光信号検出期間TF1)。なお、この場合主に、(D)各発光受光セルCWRij,CWRi(j+1),CWRi(j+2)は1つ隣の水平ラインに配置されたCWRi(j-1),CWRij,CWRi(j+1)の発光動作による出射光からの反射光を受光することになるので、(E)データ読出線DRiへ出力される信号は、(A)データ供給線DWiにおける信号に応じた値となっている。
タイミングt6以降もタイミングt1〜t3と同様に、(B)発光用ゲート線Gj+2および(C)切換線Sj+3,(B)発光用ゲート線Gj+3および(C)切換線Sj+4,…,(B)発光用ゲート線Gn-1および(C)切換線Snと、線順次に発光動作および受光動作を行うが、やはり検出対象物体15による受光信号が検出されないので、(E)データ読出線DRiからは出力信号が出力されない。
このようにして、垂直期間TH1において、発光受光セルCWRij,CWRi(j+1),CWRi(j+2)付近の位置に検出対象物体15が存在すると検出することできる。垂直期間TH2以降も同様に動作し、例えば垂直期間TH2においては受光信号検出期間TF2において(E)データ読出線DRiから出力信号が出力され、やはり発光受光セルCWRij,CWRi(j+1),CWRi(j+2)付近の位置に検出対象物体15が存在すると検出する。
以上のようにして、本実施の形態の画像表示装置および画像表示装置の駆動方法によれば、1つの発光受光素子ELを含む発光受光セルCWRを有する複数の発光受光セルCWRが配置された構成からなる表示部1を備え、表示信号生成部21により生成された画像データに基づいて発光側スキャナ24および表示信号ドライバ23がこれらの発光受光素子ELを駆動すると共に、その発光受光素子から出射して検出対象物体15で反射した光を受光するように受光信号選択スキャナ31が他の発光受光素子ELを駆動し、他の受光素子から受光信号レシーバ32により得られた受光信号に基づき位置検出部34において検出対象物体15を検出するようにしたので、タッチパネルや入力装置などの別個の部品を追加する必要がなく簡易な構造を確保しつつ、さらには表示部1からの出射光がタッチパネルなどの別個の部品を透過する必要もなくなるので画質の劣化を引き起こすことなく、物体の位置などを検出することが可能となる。
また、本実施の形態の画像表示装置および画像表示装置の駆動方法によれば、各発光受光セルCWRが線順次発光動作を行うと共に線順次受光動作を行うようにしたので、通常の発光動作により画像データを表示すると共に物体の位置などを検出することが可能となる。
また、本実施の形態の画像表示装置および画像表示装置の駆動方法によれば、表示部1上に指などの検出対象物体を接触あるいは近接させることでその位置などを検出するようにしたので、ユーザはタッチパネルと同様の操作で利便良く操作することが可能となる。
さらに、本実施の形態の画像表示装置および画像表示装置の駆動方法によれば、1つの発光受光素子ELを含む発光受光セルCWRにおいて発光動作および受光動作の両動作を時分割で行うようにしたので、発光素子と受光素子とを別個に設置する必要なく簡易な素子構造で発光動作と受光動作とが行え、さらには製造工程も簡素化することが可能となる。
[第2の実施の形態]
次に、本発明の第2の実施の形態について説明する。
上記第1の実施の形態においては、次の受光動作前までの一定期間だけ発光動作が保持される構成の画像表示装置について説明したが、本実施の形態では、次の受光動作をする直前の期間まで発光動作を行う構成にした画像表示装置について説明する。
図8は、本発明の第2の実施の形態に係る画像表示装置の全体構成を表すものである。この図において、図1に示した構成要素と同一の構成要素には同一の符号を付し、適宜説明を省略する。この画像表示装置は、表示部101と、表示信号生成部21と、表示信号保持制御部22と、表示信号ドライバ23と、発光側スキャナ24と、受光信号選択スキャナ31と、受光信号レシーバ32と、受光信号保持部33と、位置検出部34とを備える。つまり、図1に示した第1の実施の形態における表示部1に代えて、表示部101を備えたものである。
表示部101は、表示部1と同様、複数の各画素11が全面に渡ってマトリクス状に配置され、線順次動作をしながら所定の図形や文字などの画像を表示する。表示部1と異なるのは、上記のように次の受光動作をする直前の期間まで発光動作を行うようにした点である。つまり、前述のように発光受光セルCWRの回路構成におけるキャパシタCの容量値などを変更し、発光期間を延ばすようにした点である。
次に、以上のような構成の画像表示装置において接触あるいは近接した物体を検出する動作を説明する。
図9は、図8の画像表示装置における線順次発光動作および線順次受光動作の一例を表すものであり、第1の実施の形態における図6に対応するものである。この図において、図6に示した構成要素と同一の構成要素には同一の符号を付し、適宜説明を省略する。
図9(A)に示した線順次発光動作の例では、図6(A)の例と同様、例えば矢印P2で示した位置の1水平ラインが、スキャン方向Xで示した方向に順次発光動作していく状況を表している。またこの例では、図6(A)の例とは異なり、矢印P2で示した位置の1水平ラインが、表示データによる描画が画面上において一巡するまで、つまり次の画像データが表示ドライバ23により供給されるまでの間発光動作が保持され、表示部1全体が発光領域51となっている状況を表している。このように、矢印P2で示した位置の1水平ラインが線順次発光動作することにより、受光ラインを除いて表示部1全体が発光領域となり、ある画像データを表示部1全体に渡って表示することが可能となる。
次に図9(B)および(C)に示した線順次発光動作および線順次受光動作の例では、図9(B)および(C)の例と同様、例えば矢印P2およびP5で示した位置の1水平ラインがスキャン方向Xで示した方向に順次発光動作していくと共に、矢印P3およびP6で示した位置の1水平ラインが発光領域から出射した光による検出対象物体15での反射光を、スキャン方向Xで示した方向に線順次受光動作していく状況を表している。ただ、図9(B)および(C)の例と異なるのは、矢印P3およびP6で示した位置の1水平ラインが、上側の位置の発光領域51Aだけでなく、下側の位置の発光領域51Bから出射した光による反射光も受光するようにした点である。このように、発光受光セルCWRの回路構成におけるキャパシタCの容量値などを変更し、発光期間を延ばすことにより、ある1水平ラインが線順次受光動作により物体の位置などを検出する上で、常にその上下の位置の1水平ラインからの出射光を光源として用いることが可能となる。
図10は、図8の画像表示装置において検出対象物体15を検出する処理を表すものである。なお、本実施の形態における画像表示装置の駆動方法の基本動作は、第1の実施の形態における画像表示装置の駆動方法の基本動作と同様であるので、その説明を省略し、発光期間TWの延長に関する動作のみを説明する。
まず垂直期間TH1においては、図7に示した第1の実施の形態の場合と同様の動作である。そして垂直期間TH2においては、上記のように各発光受光セルCWRにおいて、受光期間TRの直前まで発光期間TWとなっている。具体的には、例えば発光受光セルCWRi1は、第1の実施の形態の場合(図7)、タイミングt7〜t8においては非動作期間であったが、本実施の形態では、タイミングt7〜t8においても発光期間TWとなる。その結果、タイミングt1〜t8まで(つまり受光期間TRの直前まで)が発光期間TWとなる。例えば発光受光セルCWRijの場合、タイミングt11〜t12において、上下の水平ラインの発光受光セルCWRi(j-1)およびCWRi(j+1)がともに発光期間TWとなっている。すなわち、受光駆動されている発光受光セルの上下2本の水平ラインの発光受光素子からの出射光を光源として用いることが可能となる。言い換えると、一つの発光受光素子の状態は、「発光」→「受光」→「発光」→「受光」というように、消灯期間を挟まずに繰り返し遷移するが、受光駆動されている水平ラインの発光受光素子には、その水平ラインを挟む上下の水平ラインの発光受光素子から出射して検出対象物体15で反射した光が入射することになる。光源として用いる出射光の総和が増加するので、図10(E)に示したように、第1の実施の形態(図7)と比べて、データ読出線DRiにおける受光信号の信号量が増加し、受光感度が向上する。この場合、フィールド間で表示データ(映像データ)に差があると、受光信号が元の表示データに対応したものとならないという問題が生ずる可能性もあるが、フィールド間であまりに異なるデータを表示しないように工夫することにより、この問題を回避することが可能である。なお、通常の映像信号は、このような特性(フィールド間で映像データにほとんど差がない)をもっており、例えば、MPEG(Motion Picture Experts Group)方式では、この特性を利用して圧縮をしている。
このようにして、本変形例における画像表示装置および画像表示装置の駆動方法によれば、次の受光動作をする直前の期間まで発光動作を行うようにしたので光源として用いる出射光が増加し、第1の実施の形態における効果に加え、受光信号の信号量を増加させてS/N比を向上させ、検出感度を上げることが可能となる。
以下、第1〜2の実施の形態について変形例をいくつか挙げて説明する。これらの変形例は、第1〜2の実施の形態のいずれについても適用可能であるが、以下の説明では、第1の実施の形態を基本にして進めていくこととする。
[変形例1]
まず、第1〜第2の実施の形態について共通の変形例1について説明する。本変形例は、第1の実施の形態において、発光駆動に対して受光駆動を間引いて駆動するようにしたものである。
図11は、変形例1に係る画像表示装置の全体構成を表すものであり、第1の実施の形態における図1に対応するものである。この図において、図1に示した構成要素と同一の構成要素には同一の符号を付し、適宜説明を省略する。この画像表示装置は、表示部1と、表示信号生成部21と、表示信号保持制御部22と、表示信号ドライバ23と、発光側スキャナ24と、受光信号選択スキャナ311と、受光信号レシーバ32と、受光信号保持部33と、位置検出部34とを備える。つまり、図1に示した第1の実施の形態における受光信号選択スキャナ31に代えて、受光信号選択スキャナ311を備えたものである。
受光信号選択スキャナ311は、受光信号選択スキャナ31と同様、表示信号保持制御部22から出力される受光タイミング制御信号42に応じて発光受光素子CWRの発光駆動と受光駆動とを切り換え、それにより受光駆動対象の発光受光セルCWRを選択する機能を有する。受光信号選択スキャナ31と異なるのは、上記のように発光側スキャナ24に対して受光側スキャナ311が間引いて駆動するようにした点である。具体的には後述するように、発光側スキャナ24が第1の実施の形態と同様に発光用ゲート線GをG1,G2,G3,…,Gnとスキャンしていくのに対し、受光信号選択スキャナ311は切換線SをS2,S4,S6,…,Snと、1本おきにスキャンしていき、残りの切換線S1,S3,S5,…,Sn-1はスキャンされないようになっている。なお、表示部1は前述のように例えば、XGA規格の場合(m=1024×3(RGB),n=768)を考慮し、nは偶数であるものとする。また、便宜的にjは奇数であるものとする。
図12は、図11の画像表示装置において検出対象物体15を検出する処理を表すものであり、第1の実施の形態における図7に対応するものである。なお、本変形例における画像表示装置の駆動方法の基本動作は、第1の実施の形態における画像表示装置の駆動方法の基本動作と同様であるので、その説明を省略し、受光信号選択スキャナ311に関する動作のみを説明する。
上記のように(B)発光用ゲート線Gが第1の実施の形態と同様にG1,G2,G3,…,Gnと選択信号を出力していくのに対し、(C)切換線Sは、S2,S4,…,Sj-1,Sj+1,…,Snと、1本おきに切換信号を出力していき、残りの切換線S1,S3,Sj,…,Sn-1には切換信号が出力されない。よって、切換線Sに対応してデータ読出線DRの出力信号も間引かれ、例えばタイミングt1〜t2,t3〜t4,t5〜t6の期間などは受光信号が検出されず、例えばタイミングt4〜t5の期間などは受光信号が検出されることとなり、これにより受光信号のデータ量を削減することができる。
このようにして、本変形例における画像表示装置および画像表示装置の駆動方法によれば、発光側スキャナ24に対して受光信号選択スキャナ31が間引いて駆動するようにしたので、第1の実施の形態における効果に加え、受光信号のデータ量が削減し、受光側の回路(受光信号選択スキャナ311、受光信号レシーバ32、受光信号保持部33)を簡素化し、また低消費電力化を図ることが可能となる。よって、特に接触あるいは近接する物体の検出位置の精度よりも回路構成の簡素化および低消費電力化を図りたい場合には有効である。
なお、本変形例においては、偶数番号の受光用ゲート線のみをスキャンする例で説明したが、本変形例の構成はこれに限られるものではなく、受光側の回路を簡素化し、低消費電力化が図れるならば、他の構成も可能である。例えば、逆に奇数番号の受光用ゲート線のみをスキャンするようにしてもよく、また、例えば2本おきや3本おきに受光用ゲート線をスキャンするようにしてもよい。なお、本変形例のように「間引き」を行う他の方法として、画素の出力を結合しておき、受光信号スキャナの本数を減らすという方法も考えられる。例えば、縦2つの画素の出力を合わせておけば、取り出せる信号量が2倍になり、受光感度が向上する。
[変形例2]
次に、第1〜第2の実施の形態について共通の変形例2について説明する。本変形例では、第1の実施の形態における、受光信号レシーバ32と受光信号保持部33との間にコンパレータ35を配置した構成にしたものである。
図13は、変形例2に係る画像表示装置の全体構成を表すものであり、第1の実施の形態における図1に対応するものである。この図において、図1に示した構成要素と同一の構成要素には同一の符号を付し、適宜説明を省略する。この画像表示装置は、表示部1と、表示信号生成部21と、表示信号保持制御部22と、表示信号ドライバ23と、発光側スキャナ24と、受光信号選択スキャナ31と、受光信号レシーバ32と、コンパレータ35と、受光信号保持部33と、位置検出部34とを備える。
コンパレータ35は、受光信号レシーバ32から出力された受光信号を、表示信号保持制御部22から出力される所定の電圧であるしきい値電圧信号Vtと比較して、A/D変換を行う機能を有する。具体的には後述するように、例えば受光信号がしきい値電圧信号Vtよりも高い電圧である場合には1、低い電圧である場合には0といった具合に、受光信号をデジタルデータに変換する。また、このデジタルデータに変換されたデータ(コンパレータ出力信号Vc)は、受光信号保持部33へ出力される。
図14は、図13の画像表示装置において検出対象物体15を検出する処理を表すものであり、第1の実施の形態における図7に対応するものである。また、この図においては、(D)ある1垂直ライン分の発光受光セルCWRi(CWRi1〜CWRin)、およびこれらの各発光受光セルCWRiに接続された、(A)データ供給線DWi、(B)発光用ゲート線G(G1〜Gn)および(C)切換線S(S1〜Sn)、(E)データ読出線DRi、(F)しきい値電圧信号Vt、(G)コンパレータ出力信号Vciの各信号を示している。
本変形例における画像表示装置の駆動方法の基本動作は、第1の実施の形態における画像表示装置の駆動方法の基本動作と同様であり、異なるのは、上記のように受光信号レシーバ32と受光信号保持部33との間にコンパレータ35を配置したことにより、コンパレータ出力電圧Vc、つまり受光信号保持部33への入力信号がデジタルデータになっている点である。よって、(E)データ読出線DRiの信号量が所定の(F)しきい値電圧信号Vtよりも大きければ、(G)コンパレータ出力信号Vciが1となり、逆に(E)データ読出線DRiの信号量が所定の(F)しきい値電圧信号Vtよりも小さければ、(G)コンパレータ出力信号Vciが0となっている。このようにして図7に示した第1の実施の形態の場合と同様、受光素子検出期間TF1,TF2において受光信号が得られることにより、発光受光セルCWRij,CWRi(j+1),CWRi(j+2)付近の位置に検出対象物体15が存在すると検出することができる。
このようにして、本変形例における画像表示装置および画像表示装置の駆動方法によれば、受光信号レシーバ32と受光信号保持部33との間にコンパレータ35を配置するようにしたので、受光信号保持部33および位置検出部34で扱うデータがデジタルデータとなるため、第1の実施の形態における効果に加え、これらのブロックにおいて処理の負荷を押さえ、回路構成の簡素化や低消費電力化を図ることが可能となる。
図15は、変形例2に係る画像表示装置の他の全体構成例を表すものである。この例は、図13に示した変形例2においてさらに、受光信号レシーバ32とコンパレータ35との間にシフトレジスタ36を配置した構成のものである。この図において、図13に示した構成要素と同一の構成要素には同一の符号を付し、適宜説明を省略する。この画像表示装置は、表示部1と、表示信号生成部21と、表示信号保持制御部22と、表示信号ドライバ23と、発光側スキャナ24と、受光信号選択スキャナ31と、受光信号レシーバ32と、シフトレジスタ36と、コンパレータ351と、受光信号保持部33と、位置検出部34とを備える。
シフトレジスタ36は、受光信号レシーバ32から出力された受光信号を、受光信号選択スキャナ31から出力される受光ブロック制御信号43に応じてシフトレジスタで順番に選択し、パラレル/シリアル変換をしてコンパレータ351へ出力する機能を有する。具体的には、m出力分のパラレルデータである受光信号を1出力分のシリアルデータとしてコンパレータ351へ出力することにより、図13の構成と比べて、コンパレータの数をm個から1個へ削減することが可能となる。
コンパレータ351は、シフトレジスタ36から出力された、上記のようにパラレル/シリアル変換がなされた受光信号を、コンパレータ35と同様に、表示信号保持制御部22から出力される所定の電圧であるしきい値電圧信号Vtと比較して、A/D変換を行う機能を有する。また、このデジタルデータに変換されたデータ(コンパレータ出力信号Vc)は、受光信号保持部33へ出力される。
このようにして、図15における画像表示装置および画像表示装置の駆動方法によれば、図13に示した変形例2においてさらに、受光信号レシーバ32とコンパレータ351との間にシフトレジスタ36を配置するようにしたので、変形例2の効果に加え、コンパレータの数が削減されることとなり、これらのブロックにおいて処理の負荷を押さえ、さらに回路構成の簡素化や低消費電力化を図ることが可能となる。
ここで、このしきい値を変化させた場合の効果について説明する。
図16は、受光信号の信号量の分布の一例を表すものでであり、発光受光セルCWRijを中心とした各発光受光セル(CWR(i-4)(j-5)〜CWR(i+4)(j+5))の領域について示している。
この例では、発光受光セルCWRijにおける受光信号61は受光信号レベルが9、発光受光セルCWRi(j-1),CWR(i+1)j,CWRi(j+1),CWR(i-1)jにおける各受光信号62A〜62Dは受光信号レベルが5、発光受光セルCWR(i+1)(j-1),CWR(i+1)(j+1),CWR(i-1)(j+1),CWR(i-1)(j-1)における各受光信号63A〜63Dは受光信号レベルが3、発光受光セルCWR(i+2)j,CWRi(j+2),CWR(i-2)jにおける各受光信号64A〜62CおよびCWRi(j-2)(図示せず)における受光信号は受光信号レベルが1となっており、発光受光セルCWRijから位置が離れるにしたがって受光信号レベルが小さくなるような分布となっている。前述のように、これらの各受光信号の信号量を位置検出部34やコンパレータ35,351において、あるしきい値電圧Vtと比較することにより、接触あるいは近接する物体がどの位置に存在するのかを検出することができる。
図17は、図16の受光信号の信号量の分布においてしきい値を変化させた場合を表すものである。図36(A)、(B)、(C)はそれぞれ、図35においてしきい値電圧Vtを、受光信号レベル2、受光信号レベル4、受光信号レベル6とした場合を示している。なお、受光信号検出領域65〜67でそれぞれ示された領域は、その位置の発光受光セルCWRにおける受光信号の信号量が、しきい値電圧Vtよりも大きい領域であり、その位置において物体が検出されたことを表す。
このように、(A)→(B)→(C)と、しきい値電圧の受光信号レベルを増加させていくに従って、物体が検出された領域の面積が発光受光セルCWRijの位置を中心として小さくなっていくことがわかる。よって、例えば、ユーザが物体の性状(大きさ、表面状態(反射率、色、粗さなど)など)や、検出の目的(位置の検出、大きさの検出、色の検出など)、検出の精度などによって任意にしきい値電圧Vtを変化させることにより、より正確で利便性の良い位置検出をすることが可能となる。
[変形例3]
次に、第1〜第2の実施の形態について共通の変形例3について説明する。物体が接触あるいは近接した場合の反射光は、発光受光セルCWRにおける発光量が高ければ多く、発光受光セルCWRにおける発光量が低ければ少なくなる。よって、ある発光受光セルCWRがどれくらいの光量で発光しているかによって、他の発光受光セルが検出する受光信号の信号量も異なってくる。よって、本変形例は、第1の実施の形態において受光信号レシーバ32と受光信号保持部33との間にシフトレジスタ36およびコンパレータ351を配置し、さらに表示信号制御部22から出力された表示信号45に基づいてコンパレータ351におけるしきい値電圧Vtを生成するしきい値電圧生成部37を配置したものである。つまり、図15に示した画像表示装置から、しきい値電圧Vtを生成するしきい値電圧生成部37を追加した構成のものである。
図18は、変形例3に係る画像表示装置の全体構成を表すものでであり、第1の実施の形態における図1に対応するものである。この図において、図1および図15に示した構成要素と同一の構成要素には同一の符号を付し、適宜説明を省略する。この画像表示装置は、表示部1と、表示信号生成部21と、表示信号保持制御部22と、表示信号ドライバ23と、発光側スキャナ24と、受光信号選択スキャナ31と、受光信号レシーバ32と、シフトレジスタ36と、コンパレータ351と、しきい値電圧生成部37と、受光信号保持部33と、位置検出部34とを備える。
しきい値電圧生成部37は、表示信号制御部22から出力された各画素11における表示信号45に基づいてコンパレータ351におけるしきい値電圧Vtを生成し、コンパレータ351へ出力する機能を有する。よって、コンパレータ351において各画素11における発光受光セルCWRの出射光に応じたしきい値電圧Vtを、各画素毎に設定することができる。
図19は、図18の画像表示装置において検出対象物体15を検出する処理を表すものでであり、第1の実施の形態における図7および変形例2における図14に対応するものである。また、この図においては図14と同様、(D)ある1垂直ライン分の発光受光セルCWRi(CWRi1〜CWRin)、およびこれらの各発光受光セルCWRiに接続された、(A)データ供給線DWi、(B)発光用ゲート線G(G1〜Gn)および(C)切換線S(S1〜Sn)、(E)データ読出線DRi、(F)しきい値電圧信号Vt、(G)コンパレータ出力信号Vciの各信号を示している。なお、本変形例における画像表示装置の駆動方法の基本動作は、図14に示した動作と同様であるので、その説明を省略し、しきい値電圧生成部37およびコンパレータ351に関する動作のみを説明する。
本変形例における画像表示装置の駆動方法の基本動作は、図14に示した変形例2の駆動方法の基本動作と同様であり、異なるのは、上記のように表示信号制御部22から出力された各画素11における表示信号45に基づいてコンパレータ351におけるしきい値電圧Vtを生成するようにした点である。よって、図14に示した変形例2の場合はしきい値電圧Vtは一定値であったのに対し、本変形例では、しきい値電圧信号Vtが(A)データ供給線DWiに応じた可変の値となっている。もちろんこの場合も、(E)データ読出線DRiの信号量が所定の(F)しきい値電圧信号Vtよりも大きければ、(G)コンパレータ出力信号Vciが1となり、逆に(E)データ読出線DRiの信号量が所定の(F)しきい値電圧信号Vtよりも小さければ、(G)コンパレータ出力信号Vciが0となる。このようにして図7に示した第1の実施の形態の場合と同様、受光素子検出期間TF1,TF2において受光信号が得られることにより、発光受光セルCWRij,CWRi(j+1),CWRi(j+2)付近の位置に検出対象物体15が存在すると検出することができる。
このようにして、本変形例における画像表示装置および画像表示装置の駆動方法によれば、図15に示した画像表示装置からさらにしきい値電圧生成部37を追加し、隣接する画素の発光量が高ければしきい値電圧を高く、発光量が低ければしきい値電圧も低くするといったように、各画素の表示信号に応じてコンパレータ351のしきい値電圧Vtを変化するようにしたので、図15に示した画像表示装置の効果に加え、接触あるいは近接する物体の位置をより正確に検出することが可能となる。
[変形例4]
次に、第1〜第2の実施の形態について共通の変形例4について説明する。画像表示装置の表示部1の表面には、接触あるいは近接する物体からの反射光以外に、環境光も照射されている。そこで、本変形例は、第1の実施の形態において受光信号レシーバ32と受光信号保持部33との間にコンパレータ35を配置し、さらに受光信号レシーバ32から出力された受光信号VRに基づいてコンパレータ35におけるしきい値電圧Vtを生成するしきい値電圧生成部371を配置したものである。つまり、図13に示した変形例2においてしきい値電圧生成部371を追加した構成であり、これにより発光受光素子ELにて受光信号を検出する際に環境光の影響を除去する処理を行うようにしたものである。
図20は、変形例4に係る画像表示装置の全体構成を表すものでであり、第1の実施の形態における図1に対応するものである。この図において、図1および図13に示した構成要素と同一の構成要素には同一の符号を付し、適宜説明を省略する。この画像表示装置は、表示部1と、表示信号生成部21と、表示信号保持制御部22と、表示信号ドライバ23と、発光側スキャナ24と、受光信号選択スキャナ31と、受光信号レシーバ32と、コンパレータ35と、しきい値電圧生成部371と、受光信号保持部33と、位置検出部34とを備える。
しきい値電圧生成部371は、受光信号レシーバ32から出力された1水平ライン分の各画素11における受光信号VRに基づいてコンパレータ35におけるしきい値電圧Vtを生成し、コンパレータ35へ出力する機能を有する。よって、コンパレータ35において各画素11における発光受光セルCWRへの反射光に応じたしきい値電圧Vtを、各画素毎に設定することができる。
コンパレータ35は、受光信号レシーバ32から出力された受光信号を、しきい値電圧生成部371から出力されるしきい値電圧信号Vtと比較して、A/D変換を行う機能を有する。また、このデジタルデータに変換されたデータ(コンパレータ出力信号Vc)は、受光信号保持部33へ出力される。
図21は、図20の画像表示装置において環境光の影響を除去する処理の一例を表すものであり、(A)〜(D)の処理から構成される。ここで、図21に示した1マスは、図6と同様に、表示部1における画素11を表すものである。
まず図21(A)で、あらかじめ表示部1全体のうち受光領域53以外の領域は黒表示領域54A,54Bとなっており、発光受光セルCWRからの発光は最も低い輝度となっている。よって、この発光受光セルCWRからの発光による接触あるいは近接する物体での反射光は、他の発光受光セルCWRにおいてほとんど検出されないようになっている。また、この環境光の影響を除去するための一連の処理を行っている間は、この画像表示装置の近傍には反射の対象となるような物体を置かないようにし、他の発光受光セルCWRにおいて検出される光は、環境光によるもののみとする必要がある。ここで前述のように、例えば矢印P1で示した位置の1水平ラインが、スキャン方向Xの方向に線順次発光動作を行っていくと共に、矢印P2で示した位置の1水平ラインが、スキャン方向Xの方向に線順次受光動作を行っていく。
次に図21(B)〜(C)の矢印P2,P5およびP3,P6で示した位置の1水平ラインのように、表示部1の1画面分を同様にして線順次発光動作および線順次受光動作を行う。またこのとき、各発光受光セルCWRにおいて検出された受光信号は受光信号レシーバ32へ出力され、受光信号レシーバは1水平ライン分の受光信号VRを、しきい値電圧生成部371へ出力する。そして上記のようにしきい値電圧生成部371は、この受光信号VRに基づいてコンパレータ35におけるしきい値電圧Vtを生成し、コンパレータ35へ出力する。
そして1画面分の環境光の検出処理が終了すると、図21(D)の矢印P1で示した位置の1水平ラインにおいて通常の表示動作が開始され、同様にスキャン方向Xの方向に通常表示領域55が広がっていくと共に、矢印P2で示した位置の1水平ラインにおいて通常の受光動作が開始される。このとき、コンパレータ35は、(A)〜(C)において得られた環境光による受光信号VRを考慮して生成されたしきい値電圧Vtにより、各画素11における受光信号のA/D変換を行っていくので、環境光の影響を除去することができる。
図22は、環境光の影響を除去する処理を表すものであり、第1の実施の形態における図7および変形例2における図14に対応するものである。また、この図においては図14と同様、(D)ある1垂直ライン分の発光受光セルCWRi(CWRi1〜CWRin)、およびこれらの各発光受光セルCWRiに接続された、(A)データ供給線DWi、(B)発光用ゲート線G(G1〜Gn)および(C)切換線S(S1〜Sn)、(E)データ読出線DRi、(F)しきい値電圧信号Vt、(G)コンパレータ出力信号Vciの各信号を示している。なお、本変形例における画像表示装置の駆動方法の基本動作は、図14に示した動作と同様であるので、その説明を省略し、しきい値電圧生成部371およびコンパレータ35に関する動作のみを説明する。
まず上記のように、垂直期間TH1においては表示部1全体が黒表示領域54となっており、(A)データ供給線DWiにおける信号量は最も小さい値となっている。よって、タイミングt4〜t7において(E)データ読出線DRiから出力される受光信号は、環境光によるものとみなされる。次に垂直期間TH2においては、垂直期間TH1におけるタイミングt4〜t7に対応する期間であるタイミングt8〜t9において、垂直期間TH1において検出された環境光による受光信号の分だけ、しきい値電圧Vtが上乗せされるようになっている。このようにして、環境光の影響の分を考慮してしきい値を設定する。
以上のように、本変形例における画像表示装置および画像表示装置の駆動方法によれば、図13に示した変形例2においてさらにしきい値電圧生成部371を追加し、これにより受光素子にて受光信号を検出する際に環境光の影響を除去する処理を行うようにしたので、変形例2の効果に加え、環境光の影響も考慮に入れて検出することにより、接触あるいは近接する物体の位置をより正確に検出することが可能となる。
なお、本変形例においては、もともとのしきい値電圧Vtは一定値である例で説明したが、図18および図19の例のように、しきい値電圧Vtが表示データ45に基づいて生成された可変の値である場合にも適用することが可能である。その場合、しきい値電圧Vtは、表示データ45および受光信号VRの両方の信号に基づいて生成されることになる。
[変形例5]
次に、第1〜第2の実施の形態について共通の変形例5について説明する。本変形例は、画像表示装置において任意の位置に同時に配置された複数の検証対象物を検出し、また、任意に移動する位置においても検証対象物を検出するようにしたものである。
図23は、変形例5に係る画像表示装置の全体構成を表すものであり、第1の実施の形態における図1に対応するものである。この図において、図1に示した構成要素と同一の構成要素には同一の符号を付し、適宜説明を省略する。この画像表示装置は、表示部1と、表示信号生成部212と、表示信号保持制御部222と、表示信号ドライバ232と、発光側スキャナ242と、受光信号選択スキャナ312と、受光信号レシーバ32と、受光信号保持部33と、位置検出部34とを備える。
ここで、表示信号生成部212、表示信号保持制御部222、表示信号ドライバ232、発光側スキャナ242および受光信号選択スキャナ312の基本動作は、それぞれ図1における表示信号生成部21、表示信号保持制御部22、表示信号ドライバ23、発光側スキャナ24および受光信号選択スキャナ31と同様であるので、説明を省略する。
表示信号生成部212は、入力画像データの一部を、後述するように所定のマークを表示させるためのマークデータと置き換えて表示信号を合成する機能をさらに備え、表示信号保持制御部222、表示信号ドライバ232、発光側スキャナ242および受光信号選択スキャナ312は、そのマークデータに応じて発光受光セルCWRから出射した光を、その発光受光セルCWRの位置に対応する他の発行受光セルCWRによって受光し、受光信号を検出する。このようにして、所定のマークが表示されている領域から、接触あるいは近接する物体を検出することができる。
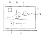
図24は、図23の画像表示装置において任意の位置に同時に配置された複数の検証対象物を検出する場合を表すものである。また、この図は図23に示した画像表示装置に対応する画像表示装置7が備える表示部1上に、任意の画像データが表示されていると共に複数の所定のマーク71〜74が同時に表示されている状況を表している。
本変形例は、反射光を検出するための光源として、表示部1における発光受光セルCWRからの出射光を用いている。よって、表示部1の任意の位置からの接触あるいは近接する物体の反射光を検出することが可能である。例えば、表示部1の任意の位置に所定のマーク71〜74からなるボタン様の画像を表示させ、この領域から物体の反射光を検出するようにすれば、タッチパネルと同等の効果が得ることができる。また、本変形例は、受光信号保持部33において再構成された受光信号により物体の位置検出を行っているので、同時に配置された複数の位置検出をすることが可能である。これによりユーザは、画像表示装置において任意の位置に同時に配置された複数の接触あるいは近接する物体を検出することが可能となる。
図25は、図23の画像表示装置において所定のマークが移動する場合を表すものであり、図24に示した画像表示装置7に対応するものである。この図は、図24に示した画像表示装置7上に表示されている複数の所定のマーク71〜74の内、マーク74が矢印741のように移動している状況を表している。また、この図において、図24に示した構成要素と同一の構成要素には同一の符号を付し、適宜説明を省略する。
本変形例において、表示信号生成部212は、上記のように入力画像データ一部を所定のマークを表示させるためのマークデータと置き換えて表示信号を合成する機能を有する。ここで、この入力画像データが複数のフレームからなる動画像データである場合、表示信号生成部212がこれらの動画像データに応じて、入力画像データの一部をフレーム毎に互いに異なる位置でマークデータに置き換えるようにすれば、例えば図25に示したようにボタン様の部分を移動させていくことや、動画の部分にボタン様の部分を表示させること、あるいは必要に応じてボタン様の部分を表示したり消したりするといったことが可能となる。
これによりユーザは、画像表示装置において任意に移動する位置においても接触あるいは近接する物体を検出することが可能となる。また、どのような画像を表示するかは、表示信号生成部212により決定されるので、所定のマークからなるボタン用の画像を表示していないときは、位置検出がされた結果のデータを利用しないようにすれば、誤検出を防ぐことも可能となる。
以上、いくつかの実施の形態および変形例を挙げて本発明を説明したが、本発明はこれらに限定されず、種々の変形が可能である。例えば、上記の実施の形態では、各画素の動作として「受光→発光→消灯」を繰り返すか、あるいは、「受光→発光」を繰り返すことにより、表示動作と、隣の発光画素の光を検知する物体検出動作とを並行して行うようにしたが、これに限らず、例えば「発光→受光→消灯」を繰り返すようにしても、隣の発光画素の光を検知することが可能である。
本発明の第1の実施の形態に係る画像表示装置の全体構成を表すブロック図である。 図1における表示部の構成の一例を表すブロック図である。 図1の表示部における発光受光セルの配置構成の一例を模式的に表す断面図である。 図2における発光受光セルの構成を表す回路図である。 図1の画像表示装置において検出対象物体を検出する処理の一例を表す模式図である。 図1の画像表示装置における線順次発光動作および線順次受光動作の一例を表す図である。 図1の画像表示装置において検出対象物体を検出する処理のタイミング図である。 本発明の第2の実施の形態に係る画像表示装置の全体構成を表すブロック図である。 図8の画像表示装置における線順次発光動作および線順次受光動作の一例を表す図である。 図8の画像表示装置において検出対象物体を検出する処理のタイミング図である。 変形例1に係る画像表示装置の全体構成を表すブロック図である。 図11の画像表示装置において検出対象物体を検出する処理のタイミング図である。 変形例2に係る画像表示装置の全体構成を表すブロック図である。 図13の画像表示装置において検出対象物体を検出する処理のタイミング図である。 変形例2に係る画像表示装置の他の全体構成例を表すブロック図である。 受光信号の信号量の一例を表す分布図である。 図16の受光信号の信号量の分布においてしきい値を変化させた場合の模式図である。 変形例3に係る画像表示装置の全体構成を表すブロック図である。 図18の画像表示装置において検出対象物体を検出する処理のタイミング図である。 変形例4に係る画像表示装置の全体構成を表すブロック図である。 図20の画像表示装置において環境光の影響を除去する処理の一例を表す模式図である。 環境光の影響を除去する処理のタイミング図である。 変形例5に係る画像表示装置の全体構成を表すブロック図である。 図23の画像表示装置において任意の位置に同時に配置された複数の検証対象物を検出する場合の模式図である。 図23の画像表示装置において所定のマークが移動する場合の模式図である。
符号の説明
1,101…表示部、11…画素、12…透明基板、13…隔壁、15…検出対象物体、21,212…表示信号生成部、22,222…表示信号保持制御部、23,232…表示信号ドライバ、24,242…発光側スキャナ、31,311,312…受光信号選択スキャナ、32…受光信号レシーバ、33…受光信号保持部、34…位置検出部、35,351…コンパレータ、36…シフトレジスタ、37,371…しきい値電圧生成部、41…発光タイミング制御信号、42…受光タイミング制御信号、43…受光ブロック制御信号、45…表示信号、51…発光領域、52…非発光領域、53…受光領域、54…黒表示領域、55…通常表示領域、61〜64…受光信号検出レベル、65〜67…受光信号検出領域、7…画像表示装置、71〜74…マーク、741…マークの移動状況、CWR…発光受光セル、G…発光用ゲート線、S…切換線、DW…データ供給線、DR…データ読出線、LW,LW1…出射光、LR1…反射光、EL…発光受光素子、C…キャパシタ、R…抵抗、SW1…第1のスイッチ、SW2…第2のスイッチ、SW3…第3のスイッチ、I1…表示信号電流路、I2…受光信号電流路、X…スキャン方向、P1,P2,P3,P5,P6…スキャン中のラインの位置、TH1,TH2…垂直期間、TW…発光期間、TR…受光期間、TF1,TF2…受光信号検出期間、t0〜t14…タイミング、Vt…しきい値電圧信号、Vc…コンパレータ出力信号、VR…受光信号。

Claims (21)

  1. それぞれが発光機能と受光機能とを併有する複数の発光受光素子と、
    画像データに基づいて前記発光受光素子を発光駆動する発光駆動手段と、
    前記画像データに基づいて発光している一の発光受光素子から出射して検出対象物体で反射した光を他の発光受光素子が受光するように、前記他の発光受光素子を受光駆動する受光駆動手段と、
    前記他の発光受光素子から得られた受光信号に基づき前記検出対象物体を検出する検出手段と
    を備えたことを特徴とする画像表示装置。
  2. 前記検出手段は、前記受光信号に基づき、検出対象物体の位置および大きさのうち少なくとも一方を検出することを特徴とする請求項1に記載の画像表示装置。
  3. 前記検出手段は、前記受光信号に基づき、同時に配置された複数の検出対象物体を検出することを特徴とする請求項1に記載の画像表示装置。
  4. 前記検出手段は、表示中の画像の内容に応じたしきい値を設定し、前記受光信号を前記しきい値と比較することにより前記検出対象物体を検出することを特徴とする請求項1に記載の画像表示装置。
  5. 前記検出手段は、前記検出対象物体の性状またはその検出の目的もしくは精度に応じたしきい値を設定し、前記受光信号を前記しきい値と比較することにより前記検出対象物体を検出することを特徴とする請求項1に記載の画像表示装置。
  6. 前記検出手段は、前記検出対象物体が発光受光素子に接近していない状態において黒表示を行ったときに他の発光受光素子から得られる受光信号に基づいて、周囲に存在する環境光の強度を求め、この環境光の影響を考慮して検出対象物体の検出を行うことを特徴とする請求項1に記載の画像表示装置。
  7. 前記複数の発光受光素子はマトリクス状に配置され、
    前記発光駆動手段は、前記複数の発光受光素子を線順次で発光駆動し、
    前記受光駆動手段は、発光受光素子の線順次発光動作に同期して、発光中の発光受光素子以外の発光受光素子を線順次で受光駆動する
    ことを特徴とする請求項1に記載の画像表示装置。
  8. 前記受光駆動手段は、発光動作中の発光受光素子が属するラインの次のラインに属する対応位置の発光受光素子を受光駆動することを特徴とする請求項7に記載の画像表示装置。
  9. 前記発光駆動手段は、前記受光駆動手段による受光駆動の対象である発光受光素子が属するラインの両側に隣接する2つのラインにそれぞれ属する発光受光素子を発光駆動することを特徴とする請求項7に記載の画像表示装置。
  10. 前記発光受光素子は有機EL素子であることを特徴とする請求項1に記載の画像表示装置。
  11. 前記発光駆動手段および前記受光駆動手段は、1つの発光受光素子の発光動作に対応して他の1つの発光受光素子が受光動作を行うように、各発光受光素子を駆動することを特徴とする請求項1に記載の画像表示装置。
  12. 前記発光駆動手段および前記受光駆動手段は、複数の発光受光素子の発光動作に対応して他の1つの発光受光素子が受光動作を行うように、各発光受光素子を駆動することを特徴とする請求項1に記載の画像表示装置。
  13. 1つの発光受光素子に対して、
    駆動対象として発光受光素子を選択するための1本の発光用ゲート線と、
    発光受光素子へ前記画像データを供給するための1本のデータ供給線と、
    発光受光素子から前記受光信号を読み出すための1本のデータ読出線と、
    発光受光素子の発光駆動と受光駆動とを切り換える切換線と
    が接続されていることを特徴とする請求項1に記載の画像表示装置。
  14. 前記発光受光素子は、
    キャパシタと、
    前記発光用ゲート線から供給される選択信号に応じて、前記データ供給線と前記キャパシタの一端との間を選択的に導通させる第1のスイッチと、
    前記切換線から供給される切換信号に応じて、前記キャパシタの他端と前記発光受光素子との間を選択的に導通させる第2のスイッチと、
    前記切換信号に応じて、前記発光受光素子と前記データ読出線との間を選択的に導通させる第3のスイッチと
    を含むことを特徴とする請求項13に記載の画像表示装置。
  15. 前記キャパシタによって、各発光受光素子を受光駆動開始直前まで発光させることを特徴とする請求項14に記載の画像表示装置。
  16. 入力画像データの一部を所定のマークを表示させるためのマークデータと置き換えることにより前記画像データを合成する画像合成手段を備え、
    前記発光駆動手段および前記受光駆動手段は、前記画像データのうちの前記マークデータに応じて駆動される発光受光素子から出射した光を、その発光受光素子に対応する位置の他の発光受光素子によって受光するように、前記発光受光素子を駆動し、
    前記検出手段は、前記マークデータに応じて駆動される発光受光素子から出射した光を受光した前記他の発光受光素子から得られる受光信号に基づき、表示中の前記マークに前記検出対象物体が接近したか否かを検出する
    ことを特徴とする請求項1に記載の画像表示装置。
  17. 前記画像合成手段は、前記入力画像データの一部を、複数の位置に前記マークを表示させるためのマークデータと置き換え、
    前記検出手段は、前記マークデータに応じて駆動される発光受光素子から出射した光を受光した前記他の発光受光素子から得られる受光信号に基づき、複数の位置に表示されたマークのうちのいずれの位置のマークに前記検出対象物体が接近したかを検出する
    ことを特徴とする請求項16に記載の画像表示装置。
  18. 前記入力画像データは、複数のフレームからなる動画像データであり、
    前記画像合成手段は、各フレームごとに前記入力画像データの一部を前記マークデータと置き換える
    ことを特徴とする請求項16に記載の画像表示装置。
  19. 前記画像合成手段は、各フレーム間で互いに異なる位置に、前記入力画像データの一部を前記マークデータと置き換えることを特徴とする請求項18に記載の画像表示装置。
  20. 前記画像合成手段は、前記入力画像データの内容に応じて各フレーム間で互いに異なる位置に、前記入力画像データの一部を前記マークデータと置き換えることを特徴とする請求項19に記載の画像表示装置。
  21. 画像表示装置を駆動する方法であって、
    それぞれが発光機能と受光機能とを併有する複数の発光受光素子を配置し、
    画像データに基づいて前記発光受光素子を発光駆動し、
    前記画像データに基づいて発光している一の発光受光素子から出射して検出対象物体で反射した光を他の発光受光素子が受光するように前記他の発光受光素子を受光駆動し、
    前記他の発光受光素子から得られた受光信号に基づき前記検出対象物体を検出する
    ことを特徴とする画像表示装置の駆動方法。

JP2004109323A 2004-04-01 2004-04-01 画像表示装置および画像表示装置の駆動方法 Expired - Fee Related JP4161929B2 (ja)

Priority Applications (2)

Application Number Priority Date Filing Date Title
JP2004109323A JP4161929B2 (ja) 2004-04-01 2004-04-01 画像表示装置および画像表示装置の駆動方法
US11/092,961 US20050219229A1 (en) 2004-04-01 2005-03-30 Image display device and method of driving image display device

Applications Claiming Priority (1)

Application Number Priority Date Filing Date Title
JP2004109323A JP4161929B2 (ja) 2004-04-01 2004-04-01 画像表示装置および画像表示装置の駆動方法

Related Child Applications (2)

Application Number Title Priority Date Filing Date
JP2008109256A Division JP4919094B2 (ja) 2008-04-18 2008-04-18 画像表示装置および画像表示装置の駆動方法
JP2008109257A Division JP4605243B2 (ja) 2008-04-18 2008-04-18 画像表示装置および画像表示装置の駆動方法

Publications (2)

Publication Number Publication Date
JP2005293374A true JP2005293374A (ja) 2005-10-20
JP4161929B2 JP4161929B2 (ja) 2008-10-08

Family

ID=35326212

Family Applications (1)

Application Number Title Priority Date Filing Date
JP2004109323A Expired - Fee Related JP4161929B2 (ja) 2004-04-01 2004-04-01 画像表示装置および画像表示装置の駆動方法

Country Status (1)

Country Link
JP (1) JP4161929B2 (ja)

Cited By (18)

* Cited by examiner, † Cited by third party
Publication number Priority date Publication date Assignee Title
JP2007206449A (ja) * 2006-02-02 2007-08-16 Institute Of National Colleges Of Technology Japan センサ機能付発光装置
JP2007334347A (ja) * 2006-06-09 2007-12-27 Samsung Electronics Co Ltd 表示装置及びこれの駆動方法
JP2008021208A (ja) * 2006-07-14 2008-01-31 Epson Imaging Devices Corp 電気光学装置およびこれを備える電子機器
JP2008097609A (ja) * 2006-10-11 2008-04-24 Samsung Electronics Co Ltd マルチタッチ判断装置、方法及び記録媒体
JP2008262204A (ja) * 2008-04-11 2008-10-30 Sony Corp 画像表示装置
JP2010204994A (ja) * 2009-03-04 2010-09-16 Epson Imaging Devices Corp 光学式位置検出装置、位置検出機能付き表示装置、および電子機器
JP2010225142A (ja) * 2009-02-27 2010-10-07 Sony Corp 反射検出装置、表示装置、電子機器、および、反射検出方法
US7936342B2 (en) 2006-10-10 2011-05-03 Sony Corporation Display device and information processing apparatus
JP2011090519A (ja) * 2009-10-22 2011-05-06 Nec Casio Mobile Communications Ltd タッチ検出装置、電子機器、および、プログラム
US8004484B2 (en) 2006-10-10 2011-08-23 Sony Corporation Display device, light receiving method, and information processing device
WO2012036124A1 (ja) * 2010-09-17 2012-03-22 シャープ株式会社 Ledユニット、及び、ledディスプレイ
WO2012036133A1 (ja) * 2010-09-17 2012-03-22 シャープ株式会社 表示ユニット、表示装置
WO2012036126A1 (ja) * 2010-09-17 2012-03-22 シャープ株式会社 表示装置の駆動方法
US8487916B2 (en) 2005-11-22 2013-07-16 Japan Display West, Inc. Inputting apparatus, inputting method and fabrication method for inputting apparatus
JP2013218730A (ja) * 2008-12-24 2013-10-24 Semiconductor Energy Lab Co Ltd 表示装置
JP5398842B2 (ja) * 2009-09-30 2014-01-29 シャープ株式会社 表示装置
US8907928B2 (en) 2005-04-19 2014-12-09 Japan Display West Inc. Image display unit and method of detecting object
CN109742134A (zh) * 2019-03-15 2019-05-10 合肥京东方卓印科技有限公司 有机发光二极管显示装置及其驱动方法

Cited By (23)

* Cited by examiner, † Cited by third party
Publication number Priority date Publication date Assignee Title
US8907928B2 (en) 2005-04-19 2014-12-09 Japan Display West Inc. Image display unit and method of detecting object
US8487916B2 (en) 2005-11-22 2013-07-16 Japan Display West, Inc. Inputting apparatus, inputting method and fabrication method for inputting apparatus
JP2007206449A (ja) * 2006-02-02 2007-08-16 Institute Of National Colleges Of Technology Japan センサ機能付発光装置
US8866751B2 (en) 2006-06-09 2014-10-21 Samsung Electronics Co., Ltd. Display device and method of driving the same
US9507452B2 (en) 2006-06-09 2016-11-29 Samsung Display Co., Ltd. Display device and method of driving the same
JP2007334347A (ja) * 2006-06-09 2007-12-27 Samsung Electronics Co Ltd 表示装置及びこれの駆動方法
JP2008021208A (ja) * 2006-07-14 2008-01-31 Epson Imaging Devices Corp 電気光学装置およびこれを備える電子機器
US7936342B2 (en) 2006-10-10 2011-05-03 Sony Corporation Display device and information processing apparatus
US8004484B2 (en) 2006-10-10 2011-08-23 Sony Corporation Display device, light receiving method, and information processing device
US8816992B2 (en) 2006-10-10 2014-08-26 Japan Display West Inc. Display device and information processing apparatus
JP2008097609A (ja) * 2006-10-11 2008-04-24 Samsung Electronics Co Ltd マルチタッチ判断装置、方法及び記録媒体
JP2008262204A (ja) * 2008-04-11 2008-10-30 Sony Corp 画像表示装置
US9035908B2 (en) 2008-12-24 2015-05-19 Semiconductor Energy Laboratory Co., Ltd. Touch panel, display device, and electronic device
JP2013218730A (ja) * 2008-12-24 2013-10-24 Semiconductor Energy Lab Co Ltd 表示装置
JP2010225142A (ja) * 2009-02-27 2010-10-07 Sony Corp 反射検出装置、表示装置、電子機器、および、反射検出方法
JP2010204994A (ja) * 2009-03-04 2010-09-16 Epson Imaging Devices Corp 光学式位置検出装置、位置検出機能付き表示装置、および電子機器
JP5398842B2 (ja) * 2009-09-30 2014-01-29 シャープ株式会社 表示装置
US8803820B2 (en) 2009-10-22 2014-08-12 Nec Casio Mobile Communications, Ltd. Touch detection device, electronic device and recording medium
JP2011090519A (ja) * 2009-10-22 2011-05-06 Nec Casio Mobile Communications Ltd タッチ検出装置、電子機器、および、プログラム
WO2012036126A1 (ja) * 2010-09-17 2012-03-22 シャープ株式会社 表示装置の駆動方法
WO2012036133A1 (ja) * 2010-09-17 2012-03-22 シャープ株式会社 表示ユニット、表示装置
WO2012036124A1 (ja) * 2010-09-17 2012-03-22 シャープ株式会社 Ledユニット、及び、ledディスプレイ
CN109742134A (zh) * 2019-03-15 2019-05-10 合肥京东方卓印科技有限公司 有机发光二极管显示装置及其驱动方法

Also Published As

Publication number Publication date
JP4161929B2 (ja) 2008-10-08

Similar Documents

Publication Publication Date Title
JP4274027B2 (ja) 画像表示装置および画像表示装置の駆動方法
JP4161929B2 (ja) 画像表示装置および画像表示装置の駆動方法
JP4697552B2 (ja) 画像表示装置および画像表示装置の駆動方法
JP4623110B2 (ja) 表示装置および位置検出方法
US8610670B2 (en) Imaging and display apparatus, information input apparatus, object detection medium, and object detection method
US8665223B2 (en) Display device and method providing display contact information based on an amount of received light
JP4770844B2 (ja) センシング装置、表示装置および電子機器
JP4257221B2 (ja) 表示装置および情報端末装置
KR101313528B1 (ko) 표시장치
US20050219229A1 (en) Image display device and method of driving image display device
KR101534588B1 (ko) 표시 촬상장치, 및 물체의 검출 방법
US8638317B2 (en) Display apparatus and method for controlling the same
JP5111327B2 (ja) 表示撮像装置および電子機器
JP4919094B2 (ja) 画像表示装置および画像表示装置の駆動方法
JP4605243B2 (ja) 画像表示装置および画像表示装置の駆動方法
JP4645658B2 (ja) センシング装置、表示装置、電子機器およびセンシング方法
TWI395170B (zh) 液晶顯示裝置
US20080224962A1 (en) Image display device
JP2006301864A (ja) 画像表示装置および物体の検出方法
JP4893683B2 (ja) 画像表示装置
JPWO2009104667A1 (ja) 光センサ付き表示装置
JP2009193481A (ja) センシング装置、表示装置、電子機器およびセンシング方法
JP4968360B2 (ja) 画像表示装置
JP2001100917A (ja) 座標入力装置
CN110858296B (zh) 指纹感测装置以及指纹感测方法

Legal Events

Date Code Title Description
A521 Request for written amendment filed

Free format text: JAPANESE INTERMEDIATE CODE: A523

Effective date: 20050715

A621 Written request for application examination

Free format text: JAPANESE INTERMEDIATE CODE: A621

Effective date: 20050715

A977 Report on retrieval

Free format text: JAPANESE INTERMEDIATE CODE: A971007

Effective date: 20080125

A131 Notification of reasons for refusal

Free format text: JAPANESE INTERMEDIATE CODE: A131

Effective date: 20080218

A521 Request for written amendment filed

Free format text: JAPANESE INTERMEDIATE CODE: A523

Effective date: 20080418

TRDD Decision of grant or rejection written
A01 Written decision to grant a patent or to grant a registration (utility model)

Free format text: JAPANESE INTERMEDIATE CODE: A01

Effective date: 20080701

A01 Written decision to grant a patent or to grant a registration (utility model)

Free format text: JAPANESE INTERMEDIATE CODE: A01

A61 First payment of annual fees (during grant procedure)

Free format text: JAPANESE INTERMEDIATE CODE: A61

Effective date: 20080714

FPAY Renewal fee payment (event date is renewal date of database)

Free format text: PAYMENT UNTIL: 20110801

Year of fee payment: 3

FPAY Renewal fee payment (event date is renewal date of database)

Free format text: PAYMENT UNTIL: 20110801

Year of fee payment: 3

FPAY Renewal fee payment (event date is renewal date of database)

Free format text: PAYMENT UNTIL: 20110801

Year of fee payment: 3

FPAY Renewal fee payment (event date is renewal date of database)

Free format text: PAYMENT UNTIL: 20120801

Year of fee payment: 4

FPAY Renewal fee payment (event date is renewal date of database)

Free format text: PAYMENT UNTIL: 20120801

Year of fee payment: 4

FPAY Renewal fee payment (event date is renewal date of database)

Free format text: PAYMENT UNTIL: 20130801

Year of fee payment: 5

FPAY Renewal fee payment (event date is renewal date of database)

Free format text: PAYMENT UNTIL: 20130801

Year of fee payment: 5

S111 Request for change of ownership or part of ownership

Free format text: JAPANESE INTERMEDIATE CODE: R313113

FPAY Renewal fee payment (event date is renewal date of database)

Free format text: PAYMENT UNTIL: 20130801

Year of fee payment: 5

R350 Written notification of registration of transfer

Free format text: JAPANESE INTERMEDIATE CODE: R350

R250 Receipt of annual fees

Free format text: JAPANESE INTERMEDIATE CODE: R250

R250 Receipt of annual fees

Free format text: JAPANESE INTERMEDIATE CODE: R250

R250 Receipt of annual fees

Free format text: JAPANESE INTERMEDIATE CODE: R250

R250 Receipt of annual fees

Free format text: JAPANESE INTERMEDIATE CODE: R250

R250 Receipt of annual fees

Free format text: JAPANESE INTERMEDIATE CODE: R250

LAPS Cancellation because of no payment of annual fees