JP2005292612A - 定着装置の位置調整方法及び位置調整装置 - Google Patents

定着装置の位置調整方法及び位置調整装置 Download PDF

Info

Publication number
JP2005292612A
JP2005292612A JP2004109595A JP2004109595A JP2005292612A JP 2005292612 A JP2005292612 A JP 2005292612A JP 2004109595 A JP2004109595 A JP 2004109595A JP 2004109595 A JP2004109595 A JP 2004109595A JP 2005292612 A JP2005292612 A JP 2005292612A
Authority
JP
Japan
Prior art keywords
frame
fixing device
position adjusting
hole
transfer belt
Prior art date
Legal status (The legal status is an assumption and is not a legal conclusion. Google has not performed a legal analysis and makes no representation as to the accuracy of the status listed.)
Granted
Application number
JP2004109595A
Other languages
English (en)
Other versions
JP4480446B2 (ja
Inventor
Yukinobu Oohata
志伸 大畑
Koyo Ito
幸洋 伊藤
Current Assignee (The listed assignees may be inaccurate. Google has not performed a legal analysis and makes no representation or warranty as to the accuracy of the list.)
Kyocera Document Solutions Inc
Original Assignee
Kyocera Mita Corp
Priority date (The priority date is an assumption and is not a legal conclusion. Google has not performed a legal analysis and makes no representation as to the accuracy of the date listed.)
Filing date
Publication date
Application filed by Kyocera Mita Corp filed Critical Kyocera Mita Corp
Priority to JP2004109595A priority Critical patent/JP4480446B2/ja
Publication of JP2005292612A publication Critical patent/JP2005292612A/ja
Application granted granted Critical
Publication of JP4480446B2 publication Critical patent/JP4480446B2/ja
Anticipated expiration legal-status Critical
Expired - Fee Related legal-status Critical Current

Links

Images

Landscapes

  • Electrophotography Configuration And Component (AREA)

Abstract

【課題】定着装着のフレームに対する装着位置を適切な位置に容易に調整し、フレーム内で定着装置と転写ベルトとの平行度を保持することを可能とすると共に、サービス時などに定着装置を元の位置に労せず装着することができる定着ユニットの位置調整装置を提供する。
【解決手段】用紙搬送方向に対して直交する方向の一端側でフレーム18の突起棒と定着ユニット15の一端面の穴とを嵌合させて前記定着ユニット15の前記フレーム18に対する位置決めをし、他端側で前記フレーム18の長穴21と該フレーム18に仮止めされた位置調整板23の長穴24に位置調整部材25の突起棒26を挿通するとともに、該突起棒26と前記定着ユニット15の他端面15cの穴22とを嵌合させて、前記位置調整部材25を前記位置調整板23上で用紙搬送方向に摺動させることにより、前記定着ユニット15の転写ベルトに対する位置を調整する。
【選択図】図4

Description

本発明は、複写機等の画像形成装置に関するものである。
以下、画像形成装置として複写機を例として説明する。転写ベルトを備えた複写機においては、用紙を搬送する転写ベルトと、用紙搬送方向に対して転写ベルトの下流に配置される定着装置との平行度(装着状態)によって用紙の搬送状態が大きく変化するため、その平行度を正確に合わせておかないとシワが発生しやすくなったりする。すなわち、転写ベルト上では用紙の搬送は転写ベルトに依存するが、定着装置内では定着ローラ対の回転に用紙が従動するため、両者の平行度が悪いと用紙を引っ張る側と用紙を押す側とで用紙の進行方向が一致せず、シワとなってしまうのである。
そこで従来は、複写機の生産ラインにおいて、定着装置の位置を転写ベルトの位置に対して合わし込む方法がとられていた。例えば、フレーム内の所定位置に搬送装置を固定し、フレーム底板から突出するピンに対して定着装置の底板に設けた位置決めの丸穴を差し込み、定着装置をそのピンを中心にして回転して位置を振ることで平行にし、最終的に定着装置の底板を前後の複数箇所でビス止めしてフレーム底板に取付けていた。
しかし、このような方法では、例えば、市場等でメンテナンス時にサービスマンが定着装置を取り外し、再度取付ける際に、生産ラインで一端調整した定着装置の位置を目視のみで再現することはほとんど不可能であり、元の位置に定着装置をセットし直す調整作業に時間が掛かってしまうという問題があった。
このような問題に対し、例えば特許文献1には、像担持体(感光ドラム)の回転中心軸を支持してその位置を調整するための部材であって、一定量αだけ水平方向にオフセットした位置にボスを設けて成る位置調整部材と、前記位置調整部材が装着される本体側(シャーシ)に形成された略水平方向に長い長孔であって、位置調整部材の前記ボスが嵌合して該位置調整部材の水平方向への移動を許容する嵌合孔とにより、各像担持体がそれぞれに対応したスキャナユニットに対して平行となるよう調整するものが記載されている。
また、特許文献2には、複写機の下部フレームに対して上部フレームを開閉可能に設けた装置において、上部フレームに設けた画像形成ユニットのフレームに押圧部を配置し、上部フレームを閉じた際に、下部フレームに設けた搬送ユニットの位置を制御できるようにしたものが記載されている。すなわち、前記搬送ユニットは、取り付け位置を調整可能な突き当てガイドを設けており、前記突き当てガイドの突き当て面が押圧部に押圧されて移動し、搬送ユニットに設けたローラ部材の位置決めを行い、用紙の搬送状態を調整することができる。
特開2002−31934号公報(要約、第1図) 特開平6−183607号公報(要約、第4図)
上記特許文献1の方法は、ボスを設けた位置調整部材一つで感光ドラムをシャーシの側壁に支持するものであり、感光ドラムのように軽い部材の場合はよいが、定着装置のように重いものになると、シャーシの強度的に不安がある。また、定着装置の場合は、転写ベルトに対する平行度、すなわち水平方向の位置調整が重要なのであって、上下方向の位置調整はシャーシの底壁に載置してしまえば、ほとんど問題とならないと考えられる。
また、上記特許文献2の方法は、転写ベルトと定着装置のように同一のフレームに設置されるもの同士の位置調整には利用できない。また、可動部が多いため故障が頻発する可能性も高いと考えられる。
上記課題を解決するために本発明の定着装置の位置調整方法は、用紙を搬送する転写ベルトが搭載されたフレームに前記転写ベルトの位置よりも用紙搬送方向の下流側の位置において定着装置を装着し、該定着装置の位置を調整する調整方法であって、用紙搬送方向に対して直交する方向の一端側で前記定着装置の前記フレームに対する位置決めをし、他端側で前記定着装置の前記転写ベルトに対する位置を調整することを特徴とする。
また、本発明の位置調整装置は、用紙を搬送する転写ベルトが搭載されたフレームと、該フレームの用紙搬送方向に対して直交する方向で対面する側壁の一方に突設された突起棒と、前記定着装置の一端面に設けられ前記突起棒が嵌合される穴と、突起棒を有する位置調整部材と、前記フレームの用紙搬送方向に対して直交する方向で対面する側壁の他方に貫設され前記位置調整部材の突起棒が挿通される長穴と、前記フレームの外側に仮止めされ前記フレームの長穴に対応する位置に前記位置調整部材の突起棒が挿通される長穴を有する位置調整板と、前記定着装置の他端面に設けられ前記位置調整部材の突起棒が嵌合される穴とを備え、
用紙搬送方向に対して直交する方向の一端側で前記フレームの突起棒と前記定着装置の一端面の穴とを嵌合させて前記定着装置の前記フレームに対する位置決めをし、他端側で前記フレームの長穴と該フレームに仮止めされた前記位置調整板の長穴に前記位置調整部材の突起棒を挿通するとともに、該突起棒と前記定着装置の他端面の穴とを嵌合させて、前記位置調整部材を前記位置調整板上で用紙搬送方向に摺動させることにより、前記定着装置の前記転写ベルトに対する位置を調整することを特徴とする。
そして、定着装置の位置調整のために、前記位置調整板に用紙搬送方向に等間隔で配置される目盛りを設けたこと特徴とする。
本発明によると、定着装着のフレームに対する装着位置を適切な位置に容易に調整し、フレーム内で定着装置と転写ベルトとの平行度を保持することができる。また、一度このようにして定着装置の装着位置の調整をすれば、ネジを一本外すだけで、位置調整板と位置調整部材とを一体で取り外し、定着装置を取り外すことができるため、サービス時などに定着装置を元の位置に労せず装着することができる。
以下、本発明を実施するための最良の形態について図面を参照して説明する。但し、この実施の形態に記載されている構成部品の寸法、材質、形状、その相対配置などは特に特定的な記載がない限り、この発明の範囲をそれのみに限定する趣旨ではなく、単なる説明例に過ぎない。
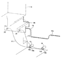
まず、図1を参照して、本発明による調整装置が用いられる画像形成装置について説明する。図示の画像形成装置10は、給紙装置11を備えており、この給紙装置11は画像形成装置筐体(以下単に筐体と呼ぶ)10aに装着されている。この給紙装置11からは、用紙搬送ローラ12a及びレジストローラ12bを備えた搬送ユニット12を介して画像形成部13に記録用紙が搬送される。
画像形成部13には、例えば、感光体ドラム13aが備えられ、感光体ドラム13aの周囲には、帯電体13b、現像器13c、及びクリーニング装置13d等が配置され、感光体ドラム13aを帯電器13bで均一に帯電した後、感光ユニット(図示せず)によって画像データに応じて感光体ドラム13aを露光して静電潜像を形成する。
その後、現像器13cで静電潜像を現像して、感光体ドラム13a上にトナー像を形成し、このトナー像を転写ローラ14bによって用紙に転写する。なお、感光体ドラム13aに残留したトナーはクリーニング装置13dによって除去される。
用紙は転写ベルト14a及び転写ローラ14bを備えた転写ユニット14によって定着ローラ対15aを備えた定着ユニット15に送られて、ここで、用紙上のトナー像が定着される。そして、片面印刷の際には、定着ローラ対15aを通過した用紙は排紙ローラ対16によって、排紙トレイ(図示せず)に排紙される。
図示の画像形成装置10においては、給紙装置11と画像形成部13との間に両面印刷ユニット17が配置されており、両面印刷を行う際には、定着ローラ対15aを通過した用紙は、両面印刷ユニット17に送られて、ここで用紙が反転された後、反転経路17aを通って再度搬送ユニット12に送られ、搬送ユニット12を介して画像形成部13に用紙が送られることになる。そして、両面印刷された用紙が排紙ローラ対16によって排紙トレイに排紙される。
上記の搬送ユニット12、転写ユニット14及び定着ユニット15は、筐体10aに対してスライド可能に設けられたフレーム18に搭載され、紙詰まり時やユニット交換時は、該フレーム18をスライドさせて紙面表側へ引き出すことにより、紙を取り出したり、各種ユニットの交換を行ったりするようにしている。
図2は、フレーム、定着ユニット、位置調整板及び位置調整部材の位置関係を示す分解斜視図である。なお、この図において、搬送ユニット12は省略している。フレーム18は上方が開放されたトレイ形状の板金組品であり、用紙搬送方向(図中矢印Aの方向)に対して直交する方向(同図中矢印Bの方向)で対面する側壁18a,18bを有し、両側壁の周囲には外側に所定の高さで突出する外郭18cが形成されている。定着ユニット15の下部には、用紙搬送方向に対して直交する方向で、フレーム18の幅よりも狭い距離で対面する一対の取付壁15b,15cが設けられている。
図3は、フレーム18の一方の側壁18aの定着ユニット15装着部近傍を示す拡大斜視図である。フレーム18の一方の側壁18aには、フレーム18の内側に突出する一対の突起棒19が突設されている。突起棒19の先端部19aは、境界に段差面19bを有するように、同軸に細径に形成されている。一方、定着ユニット15の装着状態でフレーム18の側壁18aと対面することになる定着ユニット15の取付壁15bには、フレーム18の突起棒19の先端部19aが挿入される一対の穴20が貫設されている。定着ユニット15装着時に取付壁15bの穴20が移動する経路を示すため、同図に矢印F1及び矢印F2を補助的に示している。
図4は、フレーム18の他方の側壁18bの定着ユニット15装着部近傍を示す拡大斜視図である。フレーム18の他方の側壁18bには、一対の長円形の長穴21が貫設され、一対の長穴21の間にネジ33の先が螺号されることなく嵌る一対の丸孔30が上方に貫設され、ネジ34が螺号されるネジ孔31が下方に一つが貫設されている。また、一対の丸孔30の下方には、一対の凹部32が型押しで設けられている。一方、定着ユニット15の装着状態でフレーム18の側壁18bと対面する定着ユニット15の取付壁15cには、一対の穴22が貫設されている。この穴22には、後述する位置調整板23に設けられた突起棒26の先端部26aが挿入される。
図6は、位置調整板の正面斜視図(a)及び背面斜視図(b)である。位置調整板23は、スチール製の板材であり、上縁の中央部には台形状に出っ張った突起面23aが形成されている。長円形の一対の長穴24を有する。一対の長穴24の間には、ネジ33(図4参照)が螺号される一対のネジ孔27が上方に貫設され、ネジ34(同図参照)が螺号されるネジ孔28が一つ貫設されている。また、図6(a)に示すように、位置調整板23の表面には、一対のネジ孔27の下方に、フレーム18に位置調整板23を仮止めするときに使用する一対の凸部29が凸設されている。また、図6(b)に示すように、位置調整板23の背面には、突起面23aの中央部に縦溝を等間隔で入れ、目盛り35を設けている。
図7は、位置調整部材の正面斜視図である。位置調整部材25は、スチール製の基板36と、該基板36の表面側に突出する一対の突起棒26とから構成されている。基板36の両端は、裏面側へ曲げ加工してツマミ36aを形成している。基板36には、一対の突起棒26の間にネジ33(図4参照)が挿通される一対の長孔37が上方に貫設され、ネジ34(同図参照)が螺号されることなく収まる大穴38が一つ貫設されている。突起棒26の先端部26aは、境界に段差面26bを有するように、同軸に細径に形成されている。また、基板36の背面には、上縁の中心を示す指針39が設けられている。
上記構成により、定着ユニット15の装着手順について説明する。まず、図3に示すように、前記定着ユニット15の前記フレーム18に対する位置決めを行う。すなわち、用紙搬送方向に対して直交する方向の一端側で、同図矢印F1及び矢印F2に示すように、定着ユニット15の穴20をフレーム18の突起棒19に合わせるように定着ユニット15をフレーム18内で側壁18aに向けて動かすと、突起棒19の先端部19aが穴20に挿入されるとともに、突起棒19の段差面19bが定着ユニット15の取付壁15bに当接し、定着ユニット15を転写ユニット14の用紙搬送方向の下流側の所定位置に設置することができる。
そして、用紙搬送方向に対して直交する方向の他端側で、フレーム18に位置調整板23を仮止めする。すなわち、図4に示すように、位置調整板23の正面をフレーム18の側壁18bの外面に密着させるとともに、位置調整板23の長穴24とフレーム18の長穴21を合致させるように位置調整板23を押さえながら動かすと、1カ所で位置調整板23の凸部29とフレーム18の凹部32とが強固に凹凸嵌合し、また、位置調整板23の下縁がフレーム18の外郭18cの段部に当接することにより、脱落することなく所定位置に強固に仮止めすることができる。
そして、位置調整板23の長穴24に、位置調整部材25の突起棒26を挿通するように位置調整部材25を押さえながら動かすと、突起棒26の先端部26aが定着ユニット15の穴22に挿入されるとともに、突起棒26の段差面26bが定着ユニット15の取付壁15cに当接するので、図5に示すように、最初は位置調整部材25の指針39を位置調整板23の目盛り35の中心に合わせ、この位置でネジ33及びネジ34を用いて定着ユニット15をフレーム18に装着する。このとき、手順としてはまず、一対のネジ33を位置調整部材25の長孔37に通して位置調整板23のネジ孔27に螺号し、位置調整部材25を位置調整板23に対して固定する。この状態では、ネジ33の先はフレーム18の側壁18bの丸孔30に嵌っているだけであるので、次いでネジ34を大穴38の内側から位置調整板23のネジ孔28とフレーム18のネジ孔31に螺合することにより、位置調整板23をフレーム18に固定する。これにより、位置調整部材25も位置調整板23を介してフレーム18に固定され、定着ユニット15がフレーム18に装着される。
そして、フレーム18を筐体10a内にスライド収納し、画像形成装置に実際に用紙の通紙を行い、目視にて転写ベルト14aによって搬送される用紙が定着ユニット15の定着ローラ対15aに通紙される時の通紙角度を確認する。もし、用紙幅方向で用紙のどちらかの端部が先に定着ローラ対15aに巻き込まれるような場合は、用紙の両端で均等に通紙されるように定着ユニット15の装着位置を調整する。すなわち、フレーム18を筐体10aから引き出し、位置調整板23及び位置調整部材25を止めているネジ33及びネジ34をすべて外し、位置調整部材25のツマミ36aを持って指針39を目盛り35の中心から左右どちらかに必要量だけ摺動させ、この位置で再びネジ33,34を用いて定着ユニット15をフレーム18に装着する。上記の作業を繰り返すことで、定着ユニット15の装着位置を適切な位置に容易に調整することができる。
また、一度このようにして定着ユニット15の装着位置の調整をすれば、ネジ34を一本外すだけで、位置調整板23と位置調整部材25とを一体で取り外し、定着ユニット15を取り外すことができるため、サービス時などに定着ユニット15を元の位置に労せず装着することができる。
本発明は、画像形成装置における定着装置の位置調整方法及びその装置に利用することができる。
は、本発明に係る画像形成装置の概略断面図である。 は、フレーム、定着ユニット、位置調整板及び位置調整部材の位置関係を示す分解斜視図である。 は、フレームの一方の側壁の定着ユニット装着部近傍を示す拡大斜視図である。 は、フレームの他方の側壁の定着ユニット装着部近傍を示す拡大斜視図である。 は、フレームの他方の側壁の定着ユニット装着部近傍を示すものであって、定着装置の位置調整時の拡大斜視図である。 は、位置調整板の正面斜視図(a)及び背面斜視図(b)である。 は、位置調整部材の正面斜視図である。
符号の説明
10 画像形成装置
10a 筐体
11 給紙装置
12 搬送ユニット
12a 用紙搬送ローラ
12b レジストローラ
13 画像形成部
13a 感光体ドラム
13b 帯電器
13c 現像器
13b 帯電体
13d クリーニング装置
14 転写ユニット
14a 転写ベルト
14b 転写ローラ
15 定着ユニット
15a 定着ローラ対
15b,15c 取付壁
16 排紙ローラ対
17 両面印刷ユニット
17a 反転経路
18 フレーム
18a,18b フレーム側壁
18c 外郭
19 突起棒
19a 先端部
19b 段差面
20 穴
21 長穴
22 穴
23 位置調整板
23a 突起面
24 長穴
25 位置調整部材
26 突起棒
26a 先端部
26b 段差面
27,28 ネジ孔
29 凸部
30 丸孔
31 ネジ孔
32 凹部
33,34 ネジ
36 基板
36a ツマミ
37 長孔
38 大穴
39 指針

Claims (3)

  1. 用紙を搬送する転写ベルトが搭載されたフレームに前記転写ベルトの位置よりも用紙搬送方向の下流側の位置において定着装置を装着し、該定着装置の位置を調整する調整方法であって、用紙搬送方向に対して直交する方向の一端側で前記定着装置の前記フレームに対する位置決めをし、他端側で前記定着装置の前記転写ベルトに対する位置を調整することを特徴とする定着装置の位置調整方法。
  2. 用紙を搬送する転写ベルトが搭載されたフレームと、該フレームの用紙搬送方向に対して直交する方向で対面する側壁の一方に突設された突起棒と、前記定着装置の一端面に設けられ前記突起棒が嵌合される穴と、突起棒を有する位置調整部材と、前記フレームの用紙搬送方向に対して直交する方向で対面する側壁の他方に貫設され前記位置調整部材の突起棒が挿通される長穴と、前記フレームの外側に仮止めされ前記フレームの長穴に対応する位置に前記位置調整部材の突起棒が挿通される長穴を有する位置調整板と、前記定着装置の他端面に設けられ前記位置調整部材の突起棒が嵌合される穴とを備え、
    用紙搬送方向に対して直交する方向の一端側で前記フレームの突起棒と前記定着装置の一端面の穴とを嵌合させて前記定着装置の前記フレームに対する位置決めをし、他端側で前記フレームの長穴と該フレームに仮止めされた前記位置調整板の長穴に前記位置調整部材の突起棒を挿通するとともに、該突起棒と前記定着装置の他端面の穴とを嵌合させて、前記位置調整部材を前記位置調整板上で用紙搬送方向に摺動させることにより、前記定着装置の前記転写ベルトに対する位置を調整することを特徴とする定着装置の位置調整装置。
  3. 前記位置調整板に用紙搬送方向に等間隔で配置される目盛りを設けたこと特徴とする請求項2に記載の定着装置の位置調整装置。
JP2004109595A 2004-04-02 2004-04-02 定着装置の位置調整装置 Expired - Fee Related JP4480446B2 (ja)

Priority Applications (1)

Application Number Priority Date Filing Date Title
JP2004109595A JP4480446B2 (ja) 2004-04-02 2004-04-02 定着装置の位置調整装置

Applications Claiming Priority (1)

Application Number Priority Date Filing Date Title
JP2004109595A JP4480446B2 (ja) 2004-04-02 2004-04-02 定着装置の位置調整装置

Publications (2)

Publication Number Publication Date
JP2005292612A true JP2005292612A (ja) 2005-10-20
JP4480446B2 JP4480446B2 (ja) 2010-06-16

Family

ID=35325576

Family Applications (1)

Application Number Title Priority Date Filing Date
JP2004109595A Expired - Fee Related JP4480446B2 (ja) 2004-04-02 2004-04-02 定着装置の位置調整装置

Country Status (1)

Country Link
JP (1) JP4480446B2 (ja)

Cited By (14)

* Cited by examiner, † Cited by third party
Publication number Priority date Publication date Assignee Title
JP2007193087A (ja) * 2006-01-19 2007-08-02 Ricoh Co Ltd 画像形成装置、定着装置、および記録材搬送方向矯正方法
JP2007328204A (ja) * 2006-06-08 2007-12-20 Ricoh Co Ltd スキャナ保持装置及び画像形成装置
JP2008268665A (ja) * 2007-04-23 2008-11-06 Kyocera Mita Corp 画像形成装置
JP2008273646A (ja) * 2007-04-25 2008-11-13 Kyocera Mita Corp 用紙搬送装置および画像形成装置
JP2009042735A (ja) * 2007-03-28 2009-02-26 Ricoh Co Ltd 画像形成装置、ならびに画像形成装置の定着ユニット支持方法および定着ユニット移動調整方法
JP2009122246A (ja) * 2007-11-13 2009-06-04 Ricoh Co Ltd 画像形成装置
JP2010054701A (ja) * 2008-08-27 2010-03-11 Kyocera Mita Corp 駆動ユニットおよび画像形成装置
JP2011008141A (ja) * 2009-06-29 2011-01-13 Canon Inc 画像形成装置
JP2011016642A (ja) * 2009-07-10 2011-01-27 Canon Inc 画像形成装置
US8244168B2 (en) 2007-06-25 2012-08-14 Ricoh Company, Ltd. Image forming apparatus with movable transfer device
JP2013127573A (ja) * 2011-12-19 2013-06-27 Fuji Xerox Co Ltd 定着装置および画像形成装置
JP2014134624A (ja) * 2013-01-09 2014-07-24 Ricoh Co Ltd 定着ユニットの位置調整装置及び画像形成装置
WO2015046621A1 (ja) * 2013-09-26 2015-04-02 キヤノン株式会社 位置決め部材及び画像形成装置
JP7438856B2 (ja) 2020-06-09 2024-02-27 キヤノン株式会社 記録材冷却装置、画像形成装置、及び画像形成システム

Citations (5)

* Cited by examiner, † Cited by third party
Publication number Priority date Publication date Assignee Title
JPH0428653U (ja) * 1990-06-29 1992-03-06
JPH0535008A (ja) * 1990-10-15 1993-02-12 Ricoh Co Ltd 画像形成装置
JPH05188800A (ja) * 1992-01-14 1993-07-30 Ricoh Co Ltd 画像形成装置
JPH08171248A (ja) * 1994-10-20 1996-07-02 Fuji Xerox Co Ltd ベルトモジュールを備えた画像形成装置および画像形成装置におけるベルトモジュールの位置決め方法
JP2002271052A (ja) * 2001-03-09 2002-09-20 Ricoh Co Ltd 前ドア開閉力の調整機構

Patent Citations (5)

* Cited by examiner, † Cited by third party
Publication number Priority date Publication date Assignee Title
JPH0428653U (ja) * 1990-06-29 1992-03-06
JPH0535008A (ja) * 1990-10-15 1993-02-12 Ricoh Co Ltd 画像形成装置
JPH05188800A (ja) * 1992-01-14 1993-07-30 Ricoh Co Ltd 画像形成装置
JPH08171248A (ja) * 1994-10-20 1996-07-02 Fuji Xerox Co Ltd ベルトモジュールを備えた画像形成装置および画像形成装置におけるベルトモジュールの位置決め方法
JP2002271052A (ja) * 2001-03-09 2002-09-20 Ricoh Co Ltd 前ドア開閉力の調整機構

Cited By (18)

* Cited by examiner, † Cited by third party
Publication number Priority date Publication date Assignee Title
JP2007193087A (ja) * 2006-01-19 2007-08-02 Ricoh Co Ltd 画像形成装置、定着装置、および記録材搬送方向矯正方法
JP2007328204A (ja) * 2006-06-08 2007-12-20 Ricoh Co Ltd スキャナ保持装置及び画像形成装置
JP2009042735A (ja) * 2007-03-28 2009-02-26 Ricoh Co Ltd 画像形成装置、ならびに画像形成装置の定着ユニット支持方法および定着ユニット移動調整方法
JP2008268665A (ja) * 2007-04-23 2008-11-06 Kyocera Mita Corp 画像形成装置
JP2008273646A (ja) * 2007-04-25 2008-11-13 Kyocera Mita Corp 用紙搬送装置および画像形成装置
US8244168B2 (en) 2007-06-25 2012-08-14 Ricoh Company, Ltd. Image forming apparatus with movable transfer device
JP2009122246A (ja) * 2007-11-13 2009-06-04 Ricoh Co Ltd 画像形成装置
JP2010054701A (ja) * 2008-08-27 2010-03-11 Kyocera Mita Corp 駆動ユニットおよび画像形成装置
US8406659B2 (en) 2009-06-29 2013-03-26 Canon Kabushiki Kaisha Image forming apparatus
JP2011008141A (ja) * 2009-06-29 2011-01-13 Canon Inc 画像形成装置
JP2011016642A (ja) * 2009-07-10 2011-01-27 Canon Inc 画像形成装置
JP2013127573A (ja) * 2011-12-19 2013-06-27 Fuji Xerox Co Ltd 定着装置および画像形成装置
JP2014134624A (ja) * 2013-01-09 2014-07-24 Ricoh Co Ltd 定着ユニットの位置調整装置及び画像形成装置
EP2755091A3 (en) * 2013-01-09 2016-12-14 Ricoh Company Ltd. Fixing unit position-adjusting apparatus and image forming apparatus
WO2015046621A1 (ja) * 2013-09-26 2015-04-02 キヤノン株式会社 位置決め部材及び画像形成装置
JP2015087754A (ja) * 2013-09-26 2015-05-07 キヤノン株式会社 位置決め部材及び画像形成装置
US9804555B2 (en) 2013-09-26 2017-10-31 Canon Kabushiki Kaisha Positioning member and image forming apparatus
JP7438856B2 (ja) 2020-06-09 2024-02-27 キヤノン株式会社 記録材冷却装置、画像形成装置、及び画像形成システム

Also Published As

Publication number Publication date
JP4480446B2 (ja) 2010-06-16

Similar Documents

Publication Publication Date Title
JP5751048B2 (ja) 画像形成装置
JP5741255B2 (ja) 画像形成装置
JP4480446B2 (ja) 定着装置の位置調整装置
CN104284044B (zh) 合页装置、具有该合页装置的图像读取装置以及图像形成装置
CN101627343A (zh) 处理盒和成像设备
US8805234B2 (en) Photosensitive unit and image forming apparatus
CN115509101B (zh) 图像形成装置
JP6323381B2 (ja) シート搬送装置、及びシート搬送装置を備える画像形成装置
EP2755091B1 (en) Fixing unit position-adjusting apparatus and image forming apparatus
JP5206781B2 (ja) プロセスユニットおよび現像ユニット
US8472842B2 (en) Image forming device including process unit provided with handle
US20070018387A1 (en) Sheet conveying device
JP2006282381A (ja) 画像形成装置
JP4956280B2 (ja) 給紙カセット及び画像形成装置
JP7540246B2 (ja) 画像形成装置
JP2001109211A (ja) 画像形成装置及び装着ユニット
JPH08190283A (ja) 画像形成装置及びその転写装置
JP4063275B2 (ja) 給紙カセット
JP5565484B2 (ja) プロセスユニットおよび現像ユニット
JP2002068492A (ja) 給紙装置及び画像形成装置
JP2007225829A (ja) 画像形成装置
US20060222403A1 (en) Image forming apparatus
JP2020197607A (ja) 画像形成装置
JP2025130847A (ja) 画像形成装置
JP2006062848A (ja) 画像形成装置

Legal Events

Date Code Title Description
A621 Written request for application examination

Free format text: JAPANESE INTERMEDIATE CODE: A621

Effective date: 20070327

A977 Report on retrieval

Free format text: JAPANESE INTERMEDIATE CODE: A971007

Effective date: 20091112

A131 Notification of reasons for refusal

Free format text: JAPANESE INTERMEDIATE CODE: A131

Effective date: 20091124

A521 Request for written amendment filed

Free format text: JAPANESE INTERMEDIATE CODE: A523

Effective date: 20100120

TRDD Decision of grant or rejection written
A01 Written decision to grant a patent or to grant a registration (utility model)

Free format text: JAPANESE INTERMEDIATE CODE: A01

Effective date: 20100316

A01 Written decision to grant a patent or to grant a registration (utility model)

Free format text: JAPANESE INTERMEDIATE CODE: A01

A61 First payment of annual fees (during grant procedure)

Free format text: JAPANESE INTERMEDIATE CODE: A61

Effective date: 20100316

FPAY Renewal fee payment (event date is renewal date of database)

Free format text: PAYMENT UNTIL: 20130326

Year of fee payment: 3

R150 Certificate of patent or registration of utility model

Ref document number: 4480446

Country of ref document: JP

Free format text: JAPANESE INTERMEDIATE CODE: R150

Free format text: JAPANESE INTERMEDIATE CODE: R150

FPAY Renewal fee payment (event date is renewal date of database)

Free format text: PAYMENT UNTIL: 20130326

Year of fee payment: 3

S533 Written request for registration of change of name

Free format text: JAPANESE INTERMEDIATE CODE: R313533

FPAY Renewal fee payment (event date is renewal date of database)

Free format text: PAYMENT UNTIL: 20130326

Year of fee payment: 3

R350 Written notification of registration of transfer

Free format text: JAPANESE INTERMEDIATE CODE: R350

FPAY Renewal fee payment (event date is renewal date of database)

Free format text: PAYMENT UNTIL: 20130326

Year of fee payment: 3

RD03 Notification of appointment of power of attorney

Free format text: JAPANESE INTERMEDIATE CODE: R3D03

LAPS Cancellation because of no payment of annual fees