JP2005292540A - 光ファイバ用アダプタ - Google Patents
光ファイバ用アダプタ Download PDFInfo
- Publication number
- JP2005292540A JP2005292540A JP2004108808A JP2004108808A JP2005292540A JP 2005292540 A JP2005292540 A JP 2005292540A JP 2004108808 A JP2004108808 A JP 2004108808A JP 2004108808 A JP2004108808 A JP 2004108808A JP 2005292540 A JP2005292540 A JP 2005292540A
- Authority
- JP
- Japan
- Prior art keywords
- optical fiber
- ferrule
- fastening
- hole
- fiber
- Prior art date
- Legal status (The legal status is an assumption and is not a legal conclusion. Google has not performed a legal analysis and makes no representation as to the accuracy of the status listed.)
- Withdrawn
Links
- 239000013307 optical fiber Substances 0.000 title claims abstract description 131
- 239000000835 fiber Substances 0.000 claims description 44
- 238000003780 insertion Methods 0.000 claims description 13
- 230000037431 insertion Effects 0.000 claims description 13
- 230000002093 peripheral effect Effects 0.000 claims description 5
- 230000005540 biological transmission Effects 0.000 abstract description 12
- 230000003287 optical effect Effects 0.000 abstract description 9
- 239000013308 plastic optical fiber Substances 0.000 description 15
- 239000013309 porous organic framework Substances 0.000 description 13
- 239000000463 material Substances 0.000 description 6
- 238000005452 bending Methods 0.000 description 5
- 239000011162 core material Substances 0.000 description 4
- 230000004048 modification Effects 0.000 description 3
- 238000012986 modification Methods 0.000 description 3
- 229920003002 synthetic resin Polymers 0.000 description 3
- 239000000057 synthetic resin Substances 0.000 description 3
- BZHJMEDXRYGGRV-UHFFFAOYSA-N Vinyl chloride Chemical compound ClC=C BZHJMEDXRYGGRV-UHFFFAOYSA-N 0.000 description 2
- 239000000853 adhesive Substances 0.000 description 2
- 230000001070 adhesive effect Effects 0.000 description 2
- 230000000694 effects Effects 0.000 description 2
- 230000004907 flux Effects 0.000 description 2
- 238000001746 injection moulding Methods 0.000 description 2
- 230000013011 mating Effects 0.000 description 2
- 239000002184 metal Substances 0.000 description 2
- 229920003229 poly(methyl methacrylate) Polymers 0.000 description 2
- 239000004926 polymethyl methacrylate Substances 0.000 description 2
- 229910001220 stainless steel Inorganic materials 0.000 description 2
- 239000010935 stainless steel Substances 0.000 description 2
- YCKRFDGAMUMZLT-UHFFFAOYSA-N Fluorine atom Chemical compound [F] YCKRFDGAMUMZLT-UHFFFAOYSA-N 0.000 description 1
- 239000004677 Nylon Substances 0.000 description 1
- 239000004743 Polypropylene Substances 0.000 description 1
- NIXOWILDQLNWCW-UHFFFAOYSA-N acrylic acid group Chemical group C(C=C)(=O)O NIXOWILDQLNWCW-UHFFFAOYSA-N 0.000 description 1
- 239000004760 aramid Substances 0.000 description 1
- 229920006231 aramid fiber Polymers 0.000 description 1
- 239000011248 coating agent Substances 0.000 description 1
- 238000000576 coating method Methods 0.000 description 1
- 239000012141 concentrate Substances 0.000 description 1
- 239000000470 constituent Substances 0.000 description 1
- 230000002542 deteriorative effect Effects 0.000 description 1
- 239000011737 fluorine Substances 0.000 description 1
- 229910052731 fluorine Inorganic materials 0.000 description 1
- 239000011521 glass Substances 0.000 description 1
- 239000000314 lubricant Substances 0.000 description 1
- 238000005259 measurement Methods 0.000 description 1
- 229920001778 nylon Polymers 0.000 description 1
- 230000000149 penetrating effect Effects 0.000 description 1
- 239000004033 plastic Substances 0.000 description 1
- 229920003023 plastic Polymers 0.000 description 1
- 239000004417 polycarbonate Substances 0.000 description 1
- 229920000515 polycarbonate Polymers 0.000 description 1
- -1 polypropylene Polymers 0.000 description 1
- 229920001155 polypropylene Polymers 0.000 description 1
- 239000011253 protective coating Substances 0.000 description 1
- 239000011347 resin Substances 0.000 description 1
- 229920005989 resin Polymers 0.000 description 1
- 239000010409 thin film Substances 0.000 description 1
- 238000002834 transmittance Methods 0.000 description 1
Images
Landscapes
- Mechanical Coupling Of Light Guides (AREA)
Abstract
【課題】光ファイバを損傷させることなく、光ファイバの取り付け/取り外しをすることができ、光伝送特性を高精度に測定することができる光ファイバ用アダプタを提供する。
【解決手段】光ファイバ22を挿入させるための貫通孔を有するフェルール12と、フェルール12の外側に嵌合されて貫通孔を縮径させる締付リング25とを備えた光ファイバ用アダプタであって、フェルール12の先端側に、貫通孔に連通する複数の放射状スリット18により分割された複数の締付片20を形成し、フェルール12に締付リング25が嵌合されることで複数の締付片20を内側に弾性変形させ、光ファイバ22を保持する。締付リング25に形成されたフェルール嵌合孔を長孔形状に形成し、締付リング25を回すことで締付片20を半径方向内側に弾性変形させる。
【選択図】図1
【解決手段】光ファイバ22を挿入させるための貫通孔を有するフェルール12と、フェルール12の外側に嵌合されて貫通孔を縮径させる締付リング25とを備えた光ファイバ用アダプタであって、フェルール12の先端側に、貫通孔に連通する複数の放射状スリット18により分割された複数の締付片20を形成し、フェルール12に締付リング25が嵌合されることで複数の締付片20を内側に弾性変形させ、光ファイバ22を保持する。締付リング25に形成されたフェルール嵌合孔を長孔形状に形成し、締付リング25を回すことで締付片20を半径方向内側に弾性変形させる。
【選択図】図1
Description
本発明は、例えば光ファイバの光伝送特性を測定する場合に用いられ、光ファイバがフェルール内で取り出し可能に保持される光ファイバ用アダプタに関するものである。
この種の光ファイバ用アダプタに関連する従来の一例を図6及び図7に示す(特許文献1,2)。
図6に示す従来例(特許文献1)は、光ファイバ58をフェルール51に確実に固定することができ、光ファイバ58が不用意に引っ張られてフェルール51から抜け出すことを防止することができるものである。光ファイバ用アダプタ50は、光ファイバ58を挿通させるフェルール51と、フェルール51に装着されるファイバ固定部品56とから構成されている。
光ファイバ58は、プラスチック光ファイバであり、光ファイバ素線の外側に1次シース58aが被覆され、その外側に2次シースが被覆されている。フェルール51には、2次シースが皮剥きされて1次シース58aを露出させた光ファイバ58が保持されるようになっている。
フェルール51は、段付き円柱状をなし、小径部52と大径部53とが長手方向に連続して形成されている。フェルール51には、先端側から後端側に貫通するファイバ挿通孔54と、大径部53においてファイバ挿通孔54に連通する開口部53aとが形成されている。開口部53aは、ファイバ固定部品56が外側にはみ出さないように装着される形状に形成されている。
ファイバ固定部品56は、PBT等のプラスチック材料から成形されたものであり、樋形状を成している。ファイバ固定部品56の前後両端部には、相対向するファイバ挟持部57,57が形成されている。対向するファイバ挟持部57,57の間隔は、光ファイバ58の外径より幅狭に形成されており、光ファイバ58はファイバ挟持部57に挟まれて保持されるようになっている。ファイバ挟持部57の内壁面57aは、凸部が複数形成された凹凸面となっている。
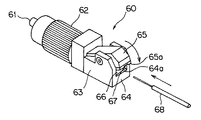
図7に示す従来例(特許文献2)は、光ファイバ68の光伝送特性を劣化させることなく、光ファイバ68を簡単に取り付けることができるものであり、フェルール61と、ホルダ62と、ファイバ固定部63とからなっている。
フェルール61は、ホルダ62の先端から突出するように設けられていて、内側には光ファイバ68を挿通させるファイバ挿通孔が貫通形成されている。ホルダ62は、フェルール61の外周に取り付けられて相手方のフェルールと嵌合される部品であり、内周面には相手側のアダプタと嵌合するねじが形成されている。
ファイバ固定部63は、相対向する受け部64と押圧部65とからなり、光ファイバ68を把持する部分である。受け部64には弾性を有する下部把持部材64aが貼設され、押圧部65には弾性を有する上部把持部材65aが貼設されている。下部把持部材64aは平板状に形成され、上部把持部材65aには矩形状の溝67が形成されている。
光ファイバ68は、下部把持部材64aと上部把持部材65aとの間に形成された開口部66より挿入され、光ファイバ68の先端面がフェルールの先端面と面一にされた後、押圧部65が閉じ方向に回転し、下部把持部材64aと上部把持部材65aとの間で保持されるようになっている。
特開平2002−107573号公報(第4−5頁、第1図)
特開平2003−29086号公報(第2−3頁、第1図)
しかしながら、上記従来の光ファイバ用アダプタは、解決すべき以下の問題点がある。
第1の従来例では、ファイバ固定部品56がフェルール51の開口部53aにスライド挿入され、2次シースが皮剥ぎされた光ファイバ58の端末部分が相対向するファイバ挟持部57,57の間に挿入されるようになっているため、1次シース58aがファイバ挟持部57の先端側のエッジに擦られて、1次シース58aが剥離したり、ファイバ素線に引っ掻き傷ができたりする心配があった。
第1の従来例では、ファイバ固定部品56がフェルール51の開口部53aにスライド挿入され、2次シースが皮剥ぎされた光ファイバ58の端末部分が相対向するファイバ挟持部57,57の間に挿入されるようになっているため、1次シース58aがファイバ挟持部57の先端側のエッジに擦られて、1次シース58aが剥離したり、ファイバ素線に引っ掻き傷ができたりする心配があった。
また、相対向するファイバ挟持部57,57の間隔によって、光ファイバ58の適用サイズが制限されることとなり、光ファイバ58のサイズ変更に柔軟に対応することができず、汎用性が低いという問題があった。
さらに、光ファイバ58をフェルール51から取り出す際には、ファイバ固定部品56をフェルール51の開口部53aからスライドさせながら慎重に抜き出さなければならず、光ファイバ58の取り出しが難しく、光ファイバ58に傷が付く心配があった。
第2の従来例は、ファイバ固定部63の押圧部65が閉じ方向に回転することで、光ファイバ68が下部把持部材64aと上部把持部材65aとの間で保持されるようになっているため、光ファイバ68のサイズ変更にある程度柔軟に対応できるものであるが、光ファイバ用アダプタ60の構成部品数が多くなり、構造が複雑化するという問題があった。
また、光ファイバ68は、上下方向から拘束されるものであるため、接触面積が小さく、光ファイバ68がずれ動く心配があって、光ファイバ用アダプタ60に光ファイバ68を保持させた状態で、光ファイバ68の端面を鏡面加工するには無理があった。このため、端面が予め鏡面加工された光ファイバ68をフェルール61に挿入しなければならず、光ファイバ挿入時に端面に傷が付く心配があった。
本発明は、上記した点に鑑み、光ファイバを保持する際に傷を付けることなく、光ファイバを確実に保持することができ、光ファイバに傷を付けることなく光ファイバを容易に取り出すことができ、また、光伝送特性を高精度に測定することができ、汎用性が高く簡易な構造の光ファイバ用アダプタを提供することを目的とする。
上記目的を達成するために、請求項1記載の発明は、光ファイバを挿入させるための貫通孔を有するフェルールと、該フェルールの外側に嵌合されて該貫通孔を縮径させる締付リングとを備えた光ファイバ用アダプタであって、前記フェルールのファイバ挿入側に、該フェルールに前記締付リングが嵌合されることで半径方向内側に弾性変形する複数の締付片が形成されたことを特徴とする。
上記構成によれば、フェルールに締付リングが嵌合されると、複数の締付片が半径方向内側に弾性変形して貫通孔が縮径し、複数の締付片の締付力が光ファイバに均一に働いて光ファイバがフェルールに保持される。一方、フェルールから締付リングが外されると、複数の締付片が半径方向外側に弾性復元して貫通孔が拡径し(元に戻り)、フェルールから光ファイバを取り出すことができる。
また、請求項2記載の発明は、請求項1記載の光ファイバ用アダプタにおいて、前記フェルールの軸直角断面が円状または長円状に形成され、前記締付リングに形成されたフェルール嵌合孔は、軸直角断面の該孔中心を通る互いに直交する2軸のうち、一方の軸上の長さが他方の軸上の長さより短い長さに形成されたことを特徴とする。
上記構成によれば、フェルールに締付リングが嵌合された後、締付リングが回されることで、複数の締付片が半径方向内側に弾性変形してファイバ貫通孔が縮径し、締付リングの回転量に比例して締付力が強くなる。
また、請求項3記載の発明は、請求項1記載の光ファイバ用アダプタにおいて、前記フェルールの外周面又は前記締付リングの内周面のいずれかの面が、テーパ面に形成されたことを特徴とする。
上記構成によれば、フェルールに締付リングが嵌合され、締付リングが押し込まれると、フェルールと締付リングがテーパ嵌合し、複数の締付片が半径方向内側に弾性変形してファイバ貫通孔が縮径し、締付リングのスライド量に比例して締付力が強くなる。
また、請求項4記載の発明は、請求項1〜3のいずれか1項に記載の光ファイバ用アダプタにおいて、前記複数の締付片の間に形成されて軸方向に延びるスリットの終端部が湾曲面に形成されたことを特徴とする。
上記構成によれば、締付片の根本側に曲げ応力が集中することが回避され、光ファイバの取り付け/取り外しを繰り返し行っても、疲労により締付片が根本側から破損することが防止される。
以上の如く、請求項1記載の発明によれば、フェルールのファイバ挿入側に、弾性変形可能な複数の締付片が形成されているから、フェルールに締付リングが嵌合されると、光ファイバが複数の締付片の締付力によりフェルールに保持される。一方、フェルールから締付リングが外されると、複数の締付片が半径方向外側に弾性復元し、光ファイバがフェルールから取り出される。したがって、光ファイバを損傷させることなく、光ファイバの取り付け/取り出しを容易に行うことができる。また、光ファイバの光伝送特性の測定を高精度に行うことができる。さらに、汎用性が高く簡易な構造の光ファイバ用アダプタを提供することができる。
また、請求項2記載の発明によれば、フェルールに嵌合された締付リングが回されることで、複数の締付片が半径方向内側に弾性変形し、締付リングの回転量に比例して締付力が強くなる。したがって、締付リングの回転量を調整することで、光ファイバの締付力を変えることができるとともに、保持される光ファイバの適用サイズを広げることもできる。光ファイバが強く締め付けられた場合は、光ファイバがフェルールに挿入された状態で、光ファイバの端面を鏡面加工することができ、光伝送特性を高精度に測定することができる。
また、請求項3記載の発明によれば、フェルールに締付リングが押し込まれつつ嵌合されることで、フェルールと締付リングがテーパ嵌合し、複数の締付片が半径方向内側に弾性変形し、締付リングのスライド量に比例して締付力が強くなる。したがって、締付リングのスライド量を調整することで、光ファイバの締付力を変えることができる。また、複数の締付片に曲がりやねじりが生じることを回避でき、締付片の破損を防止することができる。
また、請求項4記載の発明によれば、スリットの終端部が湾曲面に形成されているから、締付片の根本側に曲げ応力が集中することが回避される。したがった、光ファイバの取り付け/取り外しを繰り返し行っても、疲労により締付片が根本側から破損することが防止され、光ファイバ用アダプタを長期に亘り使用することができる。
以下に本発明の実施の形態の具体例を図面を用いて説明する。図1〜図3は、本発明に係る光ファイバ用アダプタの一実施形態を示すものである。
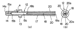
光ファイバ用アダプタ10は、主として、有効受光面積の大きいオシロスコープ等の計測器により光ファイバ22の光束や伝送損失等の伝送特性を測定するために用いられ、光ファイバ22を接着剤やかしめ等により永久接続することなく、取り出し可能に保持することができる固定具である。
本実施形態に係る光ファイバ用アダプタ10は、光ファイバ22を損傷させることなく、光ファイバ22の取り付け/取り外しをすることができ、光伝送特性を高精度に測定することができるものであり、光ファイバ22を挿入させるための貫通孔を有するフェルール12と、フェルール12の外側に嵌合されて貫通孔を縮径させる締付リング25とを備えた光ファイバ用アダプタであって、フェルール12の先端側に、貫通孔に連通する複数の放射状スリット18により分割された複数の締付片20が形成され、フェルール12に締付リング25が嵌合されることで複数の締付片20が内側に弾性変形し、貫通孔が縮径して光ファイバ22が保持されることを特徴とするものであり、締付リング25に形成されたフェルール嵌合孔25aが、長孔形状に形成されたことを有効とするものである。
以下に、光ファイバ用アダプタ10の主要構成部分及びその作用について詳細に説明する。光ファイバ用アダプタ10は、光ファイバ22を挿通させる単芯のフェルール12と、このフェルール12の外側に嵌合される締付リング25の2部材から構成されている。
光ファイバ22は、プラスチック光ファイバ素線(以下、POFという)22aと、POF22aを覆う一次シースと、一次シースの外側の二次シースとから構成されている。POF22aは、中心に透明なコアを有し、その外側にコアよりも屈折率の小さい透明なクラッドを有する導波路であり、断面円形状を成している。コア材には、光透過率の高いPMMA(ポリメチルメタクリレート。通称アクリル)や耐熱性を有するポリカーボネート(PC)等が適用され、クラッド材にはフッ素樹脂等が適用される。
内被としての一次シースは、例えばアラミド繊維等からなる抗張力体であり、外被としての二次シースは、例えば塩化ビニルやナイロン等の合成樹脂材からなる保護被覆である。一次シース及び二次シースは、光ファイバ22の両端部において所定長さに皮剥きされていて、POF22aが露出されている。なお、本実施形態では、ファイバ素線にPOF22aが用いられているが、ガラス光ファイバを用いてもよく、光ファイバ22の種類は任意である。
フェルール12は、塩化ビニル、ポリプロピレン、PBT等の合成樹脂材を構成材料として射出成形されたもの又はステンレスなどの金属を切削加工したものであり、光ファイバ22の端部を保持する端末部品である。フェルール12には、段付き形状の貫通孔が形成されていて、光ファイバ22のPOF22aが一本ずつ取り出し可能に保持されるようになっている。
フェルール12は、位置決め用のフランジ部13を境にして先端側に素線保持部14が形成され、後端側に被覆保持部17が形成されている。素線保持部14は円筒状に形成され、被覆保持部17は円筒、テーパの付いた円筒または長円筒状に形成されている。被覆保持部17は、周方向に等間隔で配置された複数の締付片29が根本側を支点として弾性変形し易いようになっている。
素線保持部14の内側には、POF22aを挿通させるファイバ挿通孔15aと、1次シース及び2次シースからなる被覆部を挿通させるファイバ導入孔15cがそれぞれ連通して形成されている。ファイバ挿通孔15aの内径はPOF22aの外径より大きい寸法に形成され、ファイバ導入孔15cの内径は光ファイバ22の外径より大きい寸法に形成され、POF22a及び光ファイバ22がスムーズに挿通されるようになっている。
ファイバ挿通孔15aとファイバ導入孔15cの結合される部分である段部は、テーパ角αで傾斜するテーパ部15bとなっている。テーパ角αは任意であるが、ファイバ導入孔15cに挿入された光ファイバ22のPOF22aがテーパ部15bに引っ掛かることなくスムーズにファイバ挿通孔15aに案内される角度に形成されている。
素線保持部14の先端面14aは平坦面に形成されていて、この先端面14aとファイバ挿通孔15aから露出したPOF22aの先端面とが同一平面を形成するようになっている。素線保持部14の先端面14aとPOF22aの先端面とが面一でない場合には、光ファイバ22がフェルール12に挿通された状態で、面一になるようにバフ研磨等により鏡面加工が行われる。鏡面加工されたフェルール12の先端面は、受光器の薄膜デバイスであるフォトダイオードに接触され、光源として発光ダイオードから送信された光信号が導波路である光ファイバ22を通ってフォトダイオードで受信され、測定対象である光ファイバ22の光束や伝送損失等の伝送特性が高精度に測定されるようになっている。
被覆保持部17には、フランジ部13の根本側から先端側にかけて回転対称の位置に設けられた2本の放射状スリット18が形成されている。放射状スリット18の軸方向の先端部18aは開口端となっており、放射状スリット18の軸方向の終端部18bは閉端となっている。終端部18bは湾曲面に形成されていて、締付片20の根本側に曲げ応力が集中することが回避されている。
放射状スリット18により、フェルール12の先端側には、上下に相対向する締付片20,20が片持ち梁状に形成されている。一対の締付片20,20の内面には、半円状の凹面20aがそれぞれ形成されていて、相対向する凹面20a,20aの隙間が光ファイバ22のファイバ導入孔15cとなっている。締付片20の突出長さは、素線保持部14の長さの2倍以上の長さに形成されているため、根本側を支点とする締付片20が半径方向内側にたわみ易くなっている。
光ファイバ22は、フェルール12の後側から挿入され、細長いファイバ導入孔15cに真直にガイドされつつ奥側へ深く挿入され、光ファイバ22のPOF22aがテーパ部15bに当接して中心に補正されつつファイバ挿通孔15aに挿通されるようになっている。なお、本発明に係る光ファイバ用アダプタ10は、光ファイバ22を取り出すことができるように保持するものであるため、接着剤が注入されたり、フェルール12の周壁が加締められたりするものではない。このため、1本の光ファイバ22の測定毎にフェルール12が使い捨てられるものではなく、何回でも繰り返して使用することができ、光ファイバ22の評価に使用されるフェルール12の部品コストを大幅に減らすことが可能となる。
締付リング25は、フェルール12と同様にして合成樹脂材を構成材料として射出成形されたもの又はステンレスなどの金属を切削加工したものであり、フェルール12の被覆保持部17の外側に嵌合される締付部材である。フェルール嵌合孔25aは長孔に貫通形成されていて、軸直角断面における垂直軸上の長さはフェルール12の被覆保持部17の長軸上の長さ(外径)と同程度ないしはそれより長く形成されている。一方、水平軸上の長さは、被覆保持部17の短軸上の長さ(上下一対の締付片20,20が軽く接触する程度の長さ)と同程度に形成されている。
なお、本実施形態のフェルール嵌合孔25aは、長孔に形成されているが、締付リング25の軸直角断面において、孔中心を通る互いに直交する2軸のうち、一方の軸上の長さが他方の軸上の長さより短くなるものであれば、矩形孔やその他の形状の孔であってもよい。
この締付リング25を用いて光ファイバ22を保持する場合は、締付リング25をフェルール12の後側に浅く嵌合させ、フェルール12に光ファイバ22を挿通させた後、締付リング25を回転させると、上下一対の締付片20,20が根本側を支点として半径方向内側に弾性変形してファイバ導入孔15cが縮径し、光ファイバ22が締付片20で締め付けられて動かないように保持されるようになっている。締付片20の内面には凹面20aが形成されているから、光ファイバ22は外側から均一に締め付けられ、締付片20と光ファイバ22の境界面の接触圧力が一様になり、局所的に応力が集中しないようになっている。締付力は、締付リング25の回転量によって調整されるようになっており、締付リング25を1/4回転させ、フェルール嵌合孔25aの短軸が上下一対の締付片20,20の頂上(真上又は直下)にきたときに、最大の締付力が得られるようになっている。
フェルール12から光ファイバ22を取り出す場合は、フェルール嵌合孔25aの長軸が上下一対の締付片20,20の頂上にくるように、締付リング25を反対方向に回転させる。そうすると、締付片20が弾性復元してファイバ導入孔15cが拡径し、光ファイバ22が拘束状態から開放され、光ファイバ22が引っ張られることでフェルール12から抜き出される。
次に、図4に基づいてフェルールの変形例について説明する。このフェルール12′は、4本の放射状スリット18により分割された4つの締付片20′,・・,20′を有している点で、図2に示されるフェルール12と相違している。放射状スリット18がフェルール12′の軸方向に切り込まれている点や、その他の構成については図2のフェルール12と同様である。
この変形例のように、締付片20′の数が4つに増えることで、光ファイバ22が周方向からより均一に締め付けられ、締付力が円周方向に分散されることとなり、光ファイバ22の変形が防止されて、より高精度に光ファイバ22の光伝送特性を測定することが可能となる。
次に、図5に基づいて締付リングの変形例について説明する。この締付リング25′は、前記フェルール12′に適用されるものであり、フェルール嵌合孔25a′がテーパ孔に形成されている点で、図3に示される締付リング25と相違する。その他の構成は図3の締付リング25と共通する。
この締付リング25′を用いて光ファイバ22を保持する場合は、締付リング25′をフェルール12′の後側に浅く嵌合させ、フェルール12′に光ファイバ22を挿通させた後、締付リング25′を押し込むことで、複数の締付片20′が根本側を支点として半径方向内側に弾性変形し、ファイバ導入孔15cが縮径し、光ファイバ22が締付片20′で締め付けられて動かないように保持されるようになっている。締付リング25′は、締付片20′の延びる方向に沿ってスライド嵌合されるため、締付片20′に曲がりやねじりが生じることを回避できる効果がある。
一方、フェルール12′から光ファイバ22を取り出す場合は、締付リング25′を光ファイバ22の挿入反対方向に動かすことにより、締付片20′が弾性復元してファイバ導入孔15cが拡径し、光ファイバ22が引っ張られることでフェルール12′から抜き出されるようになる。なお、フェルール12′と締付リング25′の摺動面には、低摩擦係数の潤滑材を塗布することが有効であり、締付リング25′による光ファイバ22の締め付けをスムーズに行うことができる。
以上のように本実施の形態によれば、フェルール12(12′)に締付リング25(25′)が嵌合されることで、光ファイバ22が複数の締付片20(20′)の締付力によりフェルール12に保持される。一方、フェルール12から締付リング25が外されると、複数の締付片20が半径方向外側に弾性復元し、光ファイバ22がフェルール12から容易に取り出される。
なお、本発明は上記実施形態に限定されるものではなく、本発明の骨子を逸脱しない範囲で以下のように変形して実施することができる。
(1)フェルール12(12′)の締付片20(20′)は、2片や4片に限定されることなく、それ以上の数であってもよい。締付片20の数が多くなる程、締付力が分散されて光ファイバ22を変形させることなくバランス良く保持することができる。
(2)締付リング25′のフェルール嵌合孔25a′をテーパ孔とすることに代えて、フェルール12′をテーパ形状に形成することも可能である。このような構成によれば、締付リング25′にテーパ孔を形成した場合と同様の効果を奏することができる。
(1)フェルール12(12′)の締付片20(20′)は、2片や4片に限定されることなく、それ以上の数であってもよい。締付片20の数が多くなる程、締付力が分散されて光ファイバ22を変形させることなくバランス良く保持することができる。
(2)締付リング25′のフェルール嵌合孔25a′をテーパ孔とすることに代えて、フェルール12′をテーパ形状に形成することも可能である。このような構成によれば、締付リング25′にテーパ孔を形成した場合と同様の効果を奏することができる。
12,12′ フェルール
18 放射状スリット
20,20′ 締付片
22 光ファイバ
25,25′ 締付リング
25a,25a′ フェルール嵌合孔
18 放射状スリット
20,20′ 締付片
22 光ファイバ
25,25′ 締付リング
25a,25a′ フェルール嵌合孔
Claims (4)
- 光ファイバを挿入させるための貫通孔を有するフェルールと、該フェルールの外側に嵌合されて該貫通孔を縮径させる締付リングとを備えた光ファイバ用アダプタであって、
前記フェルールのファイバ挿入側に、該フェルールに前記締付リングが嵌合されることで半径方向内側に弾性変形する複数の締付片が形成されたことを特徴とする光ファイバ用アダプタ。 - 前記フェルールの軸直角断面が円状または長円状に形成され、前記締付リングに形成されたフェルール嵌合孔は、軸直角断面の該孔中心を通る互いに直交する2軸のうち、一方の軸上の長さが他方の軸上の長さより短い長さに形成されたことを特徴とする請求項1記載の光ファイバ用アダプタ。
- 前記フェルールの外周面又は前記締付リングの内周面のいずれかの面が、テーパ面に形成されたことを特徴とする請求項1記載の光ファイバ用アダプタ。
- 前記複数の締付片の間に形成されて軸方向に延びるスリットの終端部が湾曲面に形成されたことを特徴とする請求項1〜3のいずれか1項に記載の光ファイバ用アダプタ。
Priority Applications (1)
| Application Number | Priority Date | Filing Date | Title |
|---|---|---|---|
| JP2004108808A JP2005292540A (ja) | 2004-04-01 | 2004-04-01 | 光ファイバ用アダプタ |
Applications Claiming Priority (1)
| Application Number | Priority Date | Filing Date | Title |
|---|---|---|---|
| JP2004108808A JP2005292540A (ja) | 2004-04-01 | 2004-04-01 | 光ファイバ用アダプタ |
Publications (1)
| Publication Number | Publication Date |
|---|---|
| JP2005292540A true JP2005292540A (ja) | 2005-10-20 |
Family
ID=35325513
Family Applications (1)
| Application Number | Title | Priority Date | Filing Date |
|---|---|---|---|
| JP2004108808A Withdrawn JP2005292540A (ja) | 2004-04-01 | 2004-04-01 | 光ファイバ用アダプタ |
Country Status (1)
| Country | Link |
|---|---|
| JP (1) | JP2005292540A (ja) |
Cited By (3)
| Publication number | Priority date | Publication date | Assignee | Title |
|---|---|---|---|---|
| WO2010122641A1 (ja) * | 2009-04-22 | 2010-10-28 | 東洋ガラス株式会社 | 光ファイバの出射角度測定方法及び装置 |
| KR101248591B1 (ko) * | 2011-10-24 | 2013-03-28 | 주식회사 옵텔콤 | 케이블 고정장치 및 이를 포함하는 광 컨넥터 |
| CN107272136A (zh) * | 2017-07-21 | 2017-10-20 | 中国科学院微电子研究所 | 一种光纤夹具及光纤固定方法 |
-
2004
- 2004-04-01 JP JP2004108808A patent/JP2005292540A/ja not_active Withdrawn
Cited By (10)
| Publication number | Priority date | Publication date | Assignee | Title |
|---|---|---|---|---|
| WO2010122641A1 (ja) * | 2009-04-22 | 2010-10-28 | 東洋ガラス株式会社 | 光ファイバの出射角度測定方法及び装置 |
| CN102414548A (zh) * | 2009-04-22 | 2012-04-11 | 东洋玻璃株式会社 | 光纤出射角度测定方法及装置 |
| JP5127832B2 (ja) * | 2009-04-22 | 2013-01-23 | 東洋ガラス株式会社 | 光ファイバの出射角度測定方法及び装置 |
| KR101262728B1 (ko) * | 2009-04-22 | 2013-05-09 | 도요 가라스 가부시키가이샤 | 광파이버의 출사각도 측정 방법 및 장치 |
| US8531656B2 (en) | 2009-04-22 | 2013-09-10 | Toyo Seikan Group Holdings, Ltd. | Method and apparatus for measuring exit angle of optical fiber |
| CN102414548B (zh) * | 2009-04-22 | 2014-10-22 | 东洋制罐集团控股株式会社 | 光纤出射角度测定方法及装置 |
| EP2423660A4 (en) * | 2009-04-22 | 2016-11-16 | Toyo Seikan Group Holdings Ltd | METHOD AND DEVICE FOR MEASURING THE OPTICAL FIBER OUTPUT ANGLE |
| KR101248591B1 (ko) * | 2011-10-24 | 2013-03-28 | 주식회사 옵텔콤 | 케이블 고정장치 및 이를 포함하는 광 컨넥터 |
| CN107272136A (zh) * | 2017-07-21 | 2017-10-20 | 中国科学院微电子研究所 | 一种光纤夹具及光纤固定方法 |
| CN107272136B (zh) * | 2017-07-21 | 2020-06-02 | 中国科学院微电子研究所 | 一种光纤夹具及光纤固定方法 |
Similar Documents
| Publication | Publication Date | Title |
|---|---|---|
| US7712974B2 (en) | Method of assembling an optical connector and an optical connector | |
| RU2625250C2 (ru) | Оптический коннектор для кабелей с внешней оболочкой | |
| US7677780B2 (en) | Light guide orientation connector | |
| JP4838544B2 (ja) | 光ファイバコネクタ | |
| EP2187249A1 (en) | Optical connector, method for attaching optical connector to coated optical fiber, and optical connection member | |
| US20080175540A1 (en) | Optical Connector Suitable for Field Assembly | |
| US20080175545A1 (en) | Optical Connector Suitable for Field Assembly | |
| CA2394258A1 (en) | Optical fiber array | |
| EP2713190B1 (en) | Optical fiber head | |
| JP5224389B2 (ja) | 光ファイバ配列部材の製造方法 | |
| US8388237B2 (en) | Optical connector and method of assembling optical connector | |
| JP2005292540A (ja) | 光ファイバ用アダプタ | |
| US6796722B2 (en) | Termination ferrule for fiber optics | |
| US7555190B2 (en) | Optical fiber ferrule retainer | |
| EP0438898A1 (en) | Reusable mechanical connector for optical fibers | |
| CN102576126B (zh) | 光纤连接方法 | |
| US7689091B1 (en) | Unitary fiber clamp with flexible members and a member mover | |
| JP2004038023A (ja) | 光コネクタ組立工具および光ファイバ接続方法 | |
| JP4808198B2 (ja) | 光ファイバフェルール保持装置 | |
| JP2010134098A (ja) | 光コネクタ及び光ファイバ付き光コネクタ | |
| JP3157558B2 (ja) | 光コネクタ用フェルール | |
| JP2007178980A (ja) | フェルール保持具及びそれを用いた偏心測定装置 | |
| JP6424051B2 (ja) | メカニカルスプライス及び接続方法 | |
| JP2003029086A (ja) | 光ファイバアダプタ | |
| JP2000098182A (ja) | 光ファイバコネクタ構造 |
Legal Events
| Date | Code | Title | Description |
|---|---|---|---|
| A300 | Withdrawal of application because of no request for examination |
Free format text: JAPANESE INTERMEDIATE CODE: A300 Effective date: 20070605 |