JP2005291936A - 携帯通信端末とその地磁気センサの誤差補正方法 - Google Patents

携帯通信端末とその地磁気センサの誤差補正方法 Download PDF

Info

Publication number
JP2005291936A
JP2005291936A JP2004107773A JP2004107773A JP2005291936A JP 2005291936 A JP2005291936 A JP 2005291936A JP 2004107773 A JP2004107773 A JP 2004107773A JP 2004107773 A JP2004107773 A JP 2004107773A JP 2005291936 A JP2005291936 A JP 2005291936A
Authority
JP
Japan
Prior art keywords
storage medium
information
state
display
unit
Prior art date
Legal status (The legal status is an assumption and is not a legal conclusion. Google has not performed a legal analysis and makes no representation as to the accuracy of the status listed.)
Granted
Application number
JP2004107773A
Other languages
English (en)
Other versions
JP4213072B2 (ja
Inventor
Shigeo Okeya
成生 桶屋
Current Assignee (The listed assignees may be inaccurate. Google has not performed a legal analysis and makes no representation or warranty as to the accuracy of the list.)
Kyocera Corp
Original Assignee
Kyocera Corp
Priority date (The priority date is an assumption and is not a legal conclusion. Google has not performed a legal analysis and makes no representation as to the accuracy of the date listed.)
Filing date
Publication date
Priority to JP2004107773A priority Critical patent/JP4213072B2/ja
Application filed by Kyocera Corp filed Critical Kyocera Corp
Priority to PCT/JP2005/006334 priority patent/WO2005095889A1/ja
Priority to US10/599,535 priority patent/US8155884B2/en
Priority to KR1020107007096A priority patent/KR101120204B1/ko
Priority to KR1020067022877A priority patent/KR100972669B1/ko
Priority to KR1020087024225A priority patent/KR100980538B1/ko
Priority to CN2005800166237A priority patent/CN1957226B/zh
Publication of JP2005291936A publication Critical patent/JP2005291936A/ja
Application granted granted Critical
Publication of JP4213072B2 publication Critical patent/JP4213072B2/ja
Anticipated expiration legal-status Critical
Expired - Fee Related legal-status Critical Current

Links

Images

Landscapes

  • Traffic Control Systems (AREA)
  • Mobile Radio Communication Systems (AREA)
  • Instructional Devices (AREA)
  • Navigation (AREA)
  • Measuring Magnetic Variables (AREA)

Abstract

【課題】地磁気センサを用いて精度良く方位を求めることができる携帯通信端末および地磁気センサの誤差補正方法を提供する。
【解決手段】方位の情報を表示部155に表示させているときにメモリーカード部159におけるメモリーカードの装着状態の変化が監視され、該変化が検知された場合、表示部155に表示される方位の情報が該変化後の状態(装着または未装着)に応じて補正される。すなわち、メモリーカードの装着状態に変化が検知された場合、地磁気センサ158の検出値に、該変化後の状態に対応する所定の補正が行われ、この補正後の地磁気検出値に基づいて方位が算出される。
【選択図】 図17

Description

本発明は、地理的方位を測定するための地磁気センサを備えた携帯電話機等の携帯通信端末と、その地磁気センサの誤差補正方法に関するものである。
従来から、現在地の地理的位置を確認したり、目的地までの道のりを地図によって案内する装置への要望があり、こうした要望を満たすものとして、カーナビゲーション装置が知られている。
一般に、カーナビゲーション装置は、複数のGPS(global positioning system)衛星から送出される信号(以降、GPS信号と表記する)を受信して処理することにより現在地の地理的位置を割り出し、この現在地周辺の地図データを装置内の記憶部(DVDやハードディスク等)に格納されたデータベースから読み出して、ディスプレイに表示させている。また、車速センサとジャイロセンサを用いて車の移動軌跡を算出し、これと地図上における道路との一致程度を検出するマップマッチング処理を行って、測位の誤差を補正している。
しかしながら、車に乗っていないときでも自らの位置を把握し、目的地までの道のりを知りたいという要望があり、こうした要望を満たすものとして、携帯電話機に簡易的なナビゲーション機能を搭載したものが登場している。
当初、ナビゲーション機能付き携帯電話機には、方位を測定するための装置が省略されていたため、カーナビゲーション装置で一般的に行われているヘディングアップ表示(進行方向が画面の上部に向かうように地図を回転させる表示)のような使用者にとって分かり易い地図表示が困難であった。
そこで、近年では、地磁気センサを用いて方位の測定を行い、ヘディングアップ表示を可能にしたナビゲーション機能付きの携帯電話機が提案されている。
特開2004−28837号公報 特開2002−328042号公報 特開平10−197258号公報
しかしながら、微弱な地磁気を検出する地磁気センサは、端末内の様々な部品が発生する磁界に影響されて、誤差を生じ易い。特に、近年の携帯電話機はサイズが小型化しており、部品間の距離が取り難いため、端末内の部品から発生する磁界による地磁気の検出誤差は無視できないレベルになっている。そのため、例えばメモリーカードの読み書きが可能な携帯電話機では、メモリカードを装着した状態とそうでない状態とで方位の算出結果が異なってしまうといった問題が生じる。
また、携帯電話機では、サイズやコストの制約から、例えばカーナビゲーション装置におけるジャイロセンサを用いた移動方向の検出などのように、地磁気センサ以外の検出方法を用いて方位の測定誤差を補正することが困難である。
本発明はかかる事情に鑑みてなされたものであり、その目的は、地磁気センサを用いて精度良く方位を求めることができる携帯通信端末を提供することにある。また、他の目的は、携帯通信端末においてより精度よく方位を求めることを可能にする地磁気センサの誤差補正方法を提供することにある。
本発明の第1の発明は、地磁気を検出する地磁気センサと、表示手段と、上記地磁気センサの検出値に基づいて地理的方位を算出し、該算出した方位の情報を上記表示手段に表示させる制御手段と、着脱可能な記憶媒体と、上記記憶媒体が装着される記憶媒体装着手段と、を有する携帯通信端末であって、上記制御手段は、上記方位の情報を上記表示手段に表示させているときに、上記記憶媒体装着手段における上記記憶媒体の装着状態の変化を監視し、該変化を検出した場合に、上記方位の情報を補正する。
上記記憶媒体の装着状態の変化は、上記記憶媒体装着手段に上記記憶媒体が装着された状態から上記記憶媒体装着手段に上記記憶媒体が装着されていない状態への変化、および/または上記記憶媒体装着手段に上記記憶媒体が装着されていない状態から上記記憶媒体装着手段に上記記憶媒体が装着された状態への変化であっても良い。
上記制御手段は、上記地磁気センサの検出値に所定の補正を行い、該補正後の検出値に基づいて上記方位を再算出することにより、上記方位の情報を補正しても良い。
上記第1の発明は、上記記憶媒体装着手段に上記記憶媒体が装着された状態、および、上記記憶媒体装着手段に上記記憶媒体が装着されていない状態のそれぞれにおいて、上記地磁気センサの検出値の補正に用いる補正用データを記憶した記憶手段を有しても良く、上記制御手段は、上記記憶媒体の装着状態の変化を検出した場合、変化後の装着状態に応じた補正用データを上記記憶手段から読み出して、上記地磁気センサの検出値を補正しても良い。
上記第1の発明は、上記記憶媒体装着手段に上記記憶媒体が装着された状態において上記地磁気センサの検出値の補正に用いる補正用データを記憶した記憶手段を有しても良く、上記制御手段は、上記記憶媒体装着手段に上記記憶媒体が装着されていない状態から上記記憶媒体装着手段に上記記憶媒体が装着された状態への変化を検出した場合、上記補正用データを上記記憶手段から読み出して上記地磁気センサの検出値を補正しても良い。
上記制御手段は、上記装着状態の変化を検出してから、上記方位を再算出して該再算出した方位の情報を上記表示手段に表示させるまでの間、上記表示手段に表示される方位の情報の精度が低いことを示す情報を上記表示手段に表示させても良い。
本発明の第2の発明は、地磁気を検出する地磁気センサと、上記地磁気センサの検出値に基づいて算出される地理的方位の情報を表示する表示手段と、着脱可能な記憶媒体と、上記記憶媒体が装着される記憶媒体装着手段とを有する携帯通信端末において、上記地磁気センサの誤差を補正する地磁気センサの誤差補正方法であって、上記方位の情報を上記表示手段に表示させているときに、上記記憶媒体装着手段における上記記憶媒体の装着状態の変化を監視する第1の工程と、上記第1の工程において上記記憶媒体の装着状態の変化を検出した場合、上記方位の情報を補正する第2の工程とを有する。
本発明によれば、地磁気センサを用いてより精度良く方位を求めることが可能になる。
以下、ナビゲーション機能や撮像機能を有する多機能型の携帯電話機に本発明を適用した場合の一実施形態について、図面を参照しながら述べる。
図1は、本発明の実施形態に係る携帯電話機100において地理的位置および地図の情報を取得するためのシステムの構成例を示すブロック図である。
携帯電話機100は、既知の軌道を周回する3つまたはそれ以上のGPS衛星200から送信されるGPS信号を受信する。そして、受信したGPS信号に関する情報を、基地局300から通信網を経由してGPSサーバ装置401に送信し、現在地の位置情報をGPSサーバ装置401から取得する。
また、携帯電話機100は、GPSサーバ装置401から取得した現在地の位置情報を、基地局300から通信網を経由してナビゲーションサーバ装置402に送信し、現在地周辺の地図の情報をナビゲーションサーバ装置402から取得する。
GPSサーバ装置401は、通信網を介して携帯電話機100から送られてくるGPS信号の情報に基づいて、携帯電話機100の地理的な位置(例えば緯度や経度など)を算出する。そして、算出した位置情報を、通信網から基地局300を経由して携帯電話機100に送信する。
ナビゲーションサーバ装置402は、通信網を介して携帯電話機100から送られてくる位置情報に基づいて、携帯電話機100周辺の地図の情報をデータベースから検索する。そして、検索した地図情報を、通信網から基地局300を経由して携帯電話機100に送信する。
図2、図3、および図4は、携帯電話機100の外観の一例を示す図である。
図2は、開いた状態にある携帯電話機100の斜視図であり、図3は、閉じた状態にある携帯電話機100の一側面からの斜視図であり、図4は、閉じた状態にある携帯電話機100の他の側面からの斜視図である。
携帯電話機100は、図に示すように、第1筐体(上部筐体)2と、第2筐体(下部筐体)3とが、可動機構部4を介して開閉自在(回転自在)に連結されている。
なお、可動機構部4は、所定の回転軸を中心に、第1筐体2と第2筐体3の2つの筐体を相対的に回転可能に構成される。
第1筐体2は、図2および図3に示すように、可動機構部4の作動状態(開状態、閉状態)にかかわりなく露出する第1面2aに例えばLCD(liquid crystal display)パネルや有機EL(electroluminescent)ディスプレイパネルからなる表示パネル21が配置される。この表示パネル21の図2中の上部には、スピーカ22が内蔵されている。
表示パネル21は、後述する表示部155に含まれる。また、スピーカ22は、後述する音声処理部156に含まれる。
第2筐体3は、内部に基板が実装される基板実装筐体31と、基板実装筐体31の蓋体をなす蓋側筐体32とを重ね合わせて構成されている。
第2筐体3の基板実装筐体31の外平面31a、すなわち閉状態時に第1筐体2の一面と対向する面31aには、テンキーボタン311aと、カーソルボタン311bと、決定ボタン311cとを有する操作キー311が配置されている。そして、操作キー311の図2中の下部には、マイクロフォン312が内蔵されている。
操作キー311は、後述するキー入力部154に含まれる。また、マイクロフォン312は、後述する音声処理部156に含まれる。
第2筐体3の蓋側筐体32において開状態、閉状態にかかわりなく露出する外平面32bには、図4に示すように、その中央部より可動機構部4の連結部に近い側に、カメラモジュール34の光学系34aが配置されている。
また、第2筐体3の蓋側筐体32の外平面32aにおいて、光学系34aより更に連結部に近い側には、光学系34aと並列に、内蔵のフラッシュランプによる閃光を外部に放射するための発光窓321と、接写時等に撮影補助としての白色光を放射するための発光窓322が配置されている。
カメラモジュール34は、後述する撮像部157に含まれる。
第2筐体3の一側部には、図2および図3に示すように、カメラモジュール用タクトスイッチ35が配置されており、第2筐体3の他方の側部には、連結部に近い側に、メモリカードを挿入するためのメモリカード用スロット33が形成されている。
図5は、基板実装筐体31の内部31bにおける基板実装状態を示す斜視図である。
図5に示すように、基板実装筐体31の内部31bには、その底面部全体にわたって、メイン基板37が装着される。
メイン基板37上においてメモリカード用スロット33に面する位置には、着脱可能なメモリカードが装着されるメモリカード部159が実装される。
また、このメモリカード部159に隣接するメイン基板37の中央寄りの位置には、地磁気センサ158が実装される。
図6は、本発明の実施形態に係る携帯電話機100の構成例を示すブロック図である。
図6に例示する携帯電話機100は、無線通信部150と、GPS信号受信部151と、記憶部152と、開閉判定部153と、キー入力部154と、表示部155と、音声入出力部156と、撮像部157と、地磁気センサ158と、メモリカード部159と、制御部160とを有する。
無線通信部150は、本発明の無線通信手段の一実施形態である。
GPS信号受信部151は、本発明のGPS信号受信手段の一実施形態である。
GPS信号受信部151および無線通信部150は、本発明の位置情報取得手段の一実施形態である。
開閉判定部153は、本発明の作動状態判定手段の一実施形態である。
表示部155は、本発明の表示手段の一実施形態である。
地磁気センサ158は、本発明の地磁気センサの一実施形態である。
メモリカード部159は、本発明の記憶媒体装着手段の一実施形態である。
制御部160は、本発明の制御手段の一実施形態である。
無線通信部150は、基地局300との間の無線通信に関する処理を行う。例えば、制御部160から出力される送信データに所定の変調処理を施して無線信号に変換し、アンテナから送出する。また、アンテナにおいて受信された無線信号に所定の復調処理を施して受信データを再生し、制御部160に出力する。
また、無線通信部150は、位置情報取得手段として、基地局300から送出される測位用の基準信号を受信しする処理も行う。
GPS信号受信部151は、GPS衛星20から送出されるGPS信号を受信して増幅、ノイズ除去、変調等の信号処理を施し、GPSサーバ装置401において携帯電話機100の地理的位置を算出するために必要な情報を取得する。
記憶部152は、制御部160において実行されるプログラムや、制御部160の処理で用いられる定数データ、一時的に記憶が必要な変数データ、撮像画像データなどを記憶する。
開閉判定部153は、可動機構部4による第1筐体2および第2筐体3の回転の状態が、上述した開状態または閉状態の何れであるかを判定する。
例えば、開閉判定部153は、第1筐体2と第2筐体3とが重なった状態になる閉状態を検出するスイッチ等の検出器を含んでおり、閉状態とそれ以外の状態とを判別する。
キー入力部154は、上述した操作キー311やカメラモジュール用タクトスイッチ35に対してキーを押下する等の入力操作が行われた場合、これに応じた信号を発生して制御部160に出力する。
表示部155は、制御部160において生成される画像データに応じた画像を表示パネル21に表示させる。
音声処理部156は、入力される音声をマイクロフォン312において電気的な音声信号に変換して増幅、アナログ−デジタル変換、符号化等の信号処理を施し、その処理結果の音声データを制御部160へ出力する。また、制御部160から入力される音声データに復号化、デジタル−アナログ変換、増幅等の信号処理を施して音声信号を生成し、これをスピーカ22において音声に変換する。
撮像部157は、上述した光学系34aにおいて入射した像を撮像して静止画や動画の画像データを生成し、制御部160に出力する。また、制御部160の制御に従って、撮像時にフラッシュランプを点灯させ、発光窓321から放射させる。
地磁気センサ158は、方位の算出に用いる地磁気を検出する。
例えば図5に示すように、地磁気センサ158は、メイン基板37上の固定された位置において、互いに直交する3つの方向の地磁気を検出する。すなわち、メイン基板37上に設定された所定の3軸の座標系を基準として、その各軸方向の地磁気を検出する。地磁気の検出には、例えばコイルの励磁を利用する方法や、ホール効果を利用する方法、磁気抵抗素子を利用する方法など、種々の方法が用いられる。
本実施形態では、一例として、地磁気センサ158がアナログ−デジタル変換器を搭載しており、上述のような方法で得られる地磁気のアナログ信号を8ビットのデジタル信号に変換して出力するものとする。すなわち、3方向の地磁気の検出値を、それぞれ‘0’から‘255’までの整数値として出力するものとする。
制御部160は、記憶部152に格納されるプログラムに基づいて処理を実行するコンピュータを有しており、携帯電話機100の全体的な動作に関わる種々の処理を行う。
例えば、電話機の機能に関連する処理として、キー入力部154におけるキー入力操作に応じて無線通信部150の発呼、着信のシーケンスを制御する処理や、音声処理部156において入出力される音声データを無線通信部150において送受信させる処理を行う。
データ通信機能に関連する処理としては、キー入力部154におけるキー入力操作に応じて無線通信部150を動作させて、所定のメールサーバ装置と通信を行い、電子メール等のデータのやりとりする処理を行う。
撮像機能に関連する処理としては、キー入力部154におけるキー入力操作に応じて撮像部157に静止画や動画の撮像処理を実行させる処理や、撮像された画像のデータに圧縮符号化等の画像処理を施して記憶部152に格納する処理などを行う。静止画の撮影時には、適切なタイミングでフラッシュランプを点灯させる処理も行う。
また、制御部160は、ナビゲーション機能に関連する処理として、地磁気センサ158の検出値に基づいて地理的方位を算出する処理や、GPS信号受信部151で受信したGPS信号の情報をGPSサーバ装置401に送信して現在地の位置情報を取得する処理、この位置情報をナビゲーションサーバ装置402に送信して現在地周辺の地図の情報を取得する処理、基地局300からの測位用信号と方位の算出結果とに基づいて現在地を割り出す処理、方位の算出結果に応じて表示部155の表示画面上における地図の向きを制御する処理(ヘディングアップ表示処理)などを行う。
更に、制御部160は、ユーザに対する表示パネル21の向きが開状態と閉状態とで180度異なることに対処するため、開閉判定部153の判定結果に応じて表示部155の表示画像に回転を施す処理を行う。
ここで、上述した構成を有する携帯電話機100の動作について、本発明に関連するナビゲーション機能を中心に説明する。
まず、GPS信号の受信処理について述べる。
図7は、携帯電話機100におけるGPS信号受信処理の一例を図解したフローチャートである。
制御部160は、例えば2秒間隔といった一定のタイミングでGPS信号受信部151を制御して、衛星からのGPS信号のスキャンを行う(ステップST102,ST104)。スキャンの結果、GPS信号を受信できた場合には、その情報を記憶部152に格納する(ST106)。このようなGPS信号のスキャンと情報の格納を、受信可能な全ての衛星について繰り返す(ステップST108,ST104,ST106)。全ての衛星についてスキャンを行ったら、次のGPS信号受信タイミングまで待って、再びステップST104〜108の処理を行う。制御部160は、このようなGPS信号受信処理を、例えば電源がオンの期間において常に実行する。
次に、ナビゲーション処理について述べる。
図8は、携帯電話機100におけるナビゲーション処理の一例を図解したフローチャートである。
制御部100は、例えばキー入力部154におけるキー入力操作等によってナビゲーション処理の開始が選択されると(ステップST122)、まず、上述したGPS受信処理によって得られた情報を無線通信部150から基地局300、通信網を介して、GPSサーバ装置401に送信する処理を行う(ステップST124)。
GPSサーバ装置401は、携帯電話機100からGPSの情報を受信すると、この受信したGPS情報に基づいて携帯電話機100の現在地の位置(例えば緯度、経度の情報)を算出し、その算出結果を通信網から基地局300を経由して、携帯電話機100に送信する。
携帯電話機100は、GPSサーバ装置401から送信される位置情報を受信して、記憶部152に格納する(ステップST126)。
次に、制御部100は、無線通信部150から基地局300、通信網を介してナビゲーションサーバ装置402にアクセスし(ステップST128)、取得した位置情報をナビゲーションサーバ装置402へ送信する(ステップST130)。
ナビゲーションサーバ装置402は、携帯電話機100から位置情報を受信すると、この位置情報によって特定される携帯電話機100の現在地周辺の地図の情報をデータベースから検索し、該検索した地図情報を通信網から基地局300を経由して携帯電話機100に送信する。
携帯電話機100は、ナビゲーションサーバ装置402から送信される地図情報を受信して、記憶部152に格納する(ステップST132)。
図9は、ナビゲーションサーバ装置402から送信される地図情報の一例を示す図である。
本実施形態では、一例として、地図情報にそれぞれ固有の識別番号が割り当てられているものとする。ナビゲーションサーバ装置402は、この識別番号に基づいて、所定サイズ(例えば1km四方)ごとに地図のデータを管理しており、携帯電話機100へ地図情報を送信する場合には、この識別番号を地図のデータに添付して送信する。図9の例において、現在地周辺の地図は識別番号MP0であり、その四方の地図は識別番号MP1〜MP4である。
このような地図情報を取得すると、制御部160は、取得した地図情報に基づいて現在地周辺の地図の画像データを生成し、表示部155の表示パネル21に地図を表示させる(ステップST134)。
表示パネル21に表示される地図の領域は、例えば図9に示すように、ナビゲーションサーバ装置402から取得した1km四方の地図より狭い領域(例えば200m×300m)である。
地図の表示方法は、例えばノースアップ表示(地図上の北を画面の上に向ける表示)とヘディングアップ表示(地図上の進行方向を画面の上に向ける表示)の何れかを選択することが可能である。
キー入力部154のキー操作によってノースアップ表示が選択された場合、制御部160は、地図の北方向を表示画面の上方向に固定させて表示部155に表示させる。
一方、キー入力部154のキー操作によってヘディングアップ表示が選択された場合、制御部160は、後述する方位算出処理によって求めた方位に応じて、表示画面上における地図の向きを制御する処理を行う。例えば、第2筐体3のマイクロフォン312が配置される一方の端部から連結部を有する他方の端部へ向かう方向A(図2参照)を進行方向とした場合、この進行方向の方位が表示画面の上方に向かうように、表示画面上における地図の向きを制御する。
なお、ここで述べている「表示画面の上方」は、第2筐体3を把持して携帯電話機100を利用するユーザの視点から見た場合のものであり、筐体の開、閉状態を変化させると、これに応じて「表示画面の上方」も変化する。すなわち、筐体が開状態の場合、第1筐体2におけるスピーカ22側が表示画面の上方になり、筐体が開状態の場合は、第1筐体2における連結部側が表示画面の上方になる。
制御部160は、後述するように、筐体の開、閉状態に応じて表示画面上における画像を回転させる処理を行い、ユーザに対して適切な向きに画像を表示させる。
上述のようにして地図の表示を始めると、制御部160は、キー入力部154のキー操作によってナビゲーション処理の終了が選択されるまでの間、次に述べるステップST138以降の処理を繰り返す(ステップST136)。
まず、制御部160は、携帯電話機100周囲の複数(例えば3つ以上)の基地局300から送出される測位用の基準信号を無線通信部150に受信させ、その受信信号に基づいて現在地の位置を算出する(ステップST138)。そして、現在地の算出結果から携帯電話機100の移動の有無を判定し(ステップST140)、携帯電話機100が移動していないと判定した場合は、基地局300からの基準信号に基づく現在地の算出を引き続き行う(ST138)。
ステップST140において、携帯電話機100が移動したと判定した場合、制御部160は、その移動先の地点が現在取得している地図の端の領域にあるか否かを判定する(ステップST142)。例えば、表示部155に表示すべき地図の一部が、現在取得している地図に含まれておらず、これに隣接する地図に含まれている場合、現在地が地図の端の領域にあると判定する。
現在地が端領域にあると判定した場合、制御部160は、この端領域に隣接する地図をナビゲーションサーバ装置146に要求する(ステップST146)。例えば、現在取得中の地図の識別番号と、この地図に対して東西南北の何れの方位に隣接するかを指示する情報とを、ナビゲーションサーバ装置146に送信する。
ナビゲーションサーバ装置146は、携帯電話機100から送られるこれらの情報に応じた地図をデータベースから検出して、携帯電話機100に送信する。
携帯電話機100は、ナビゲーションサーバ装置402から送信される地図情報を受信して記憶部152に格納し(ステップST132)、この地図情報に応じた地図を表示部155に表示させる(ステップST134)。その後は、ステップST138以降の処理を繰り返す。
また、現在地が端領域にないと判定した場合、制御部160は、現在地の算出結果に応じて、例えば携帯電話機100の現在地が地図の中央になるように地図の表示領域を移動させる処理を行い、その後は、ステップST138以降の処理を繰り返す。
次に、筐体の開、閉状態に応じた表示画像の回転処理について述べる。
図10は、携帯電話機100における表示画像の回転処理の一例を図解したフローチャートである。
制御部160は、電源がオンの間、開閉判定部153において判定される開閉状態を常に監視する(ステップST162)。そして、開閉判定部153において閉状態でないこと(すなわち開状態)が判定されると、第1筐体2におけるスピーカ22側が画像の上方となる向きで、表示パネル21に画像を表示させる(ステップST166)。
この開状態における表示を通常表示とすると、開閉判定部153において閉状態が判定された場合、制御部160は、通常表示における画像を180度回転させて表示パネル21に表示させる(ステップST164)。すなわち、第1筐体2における連結部側が画像の上方となる向きで、表示パネル21に画像を表示させる。
このような表示画像の回転処理によって、筐体の開、閉状態によらず常にユーザの見易い向きで表示部155に画像を表示させることができる。
次に、方位の算出処理について述べる。
ここでは、まず、図11を参照して方位の算出方法の概略を述べ、その後、図12〜図19を参照して制御部160における方位算出処理の幾つかの例を述べる。
図11は、方位角の算出方法を説明するための図である。
図11において、座標軸Hx、Hy、Hzを有する直角座標系は、地平面上に設定される基準の座標系である。すなわち、座標軸HxおよびHyは地平面に平行な座標軸であり、それぞれ所定の方位を向く。また、座標軸Hzは地平面に垂直な方向を向く座標軸である。
方位角θは、第2筐体3のメイン基板37上に設定される地磁気検出の基準方向(例えば図2における方向A)のベクトルを地平面に正射影した像Zxyと座標軸Hxとのなす角度である。傾斜角φは、この像Zxyと基準方向Aのベクトルとのなす角度である。また、ひねり角ηは、基準方向Aのベクトルを回転軸として携帯電話機100をその周りに回転させた角度である。
方位角θ、傾斜角φ、ひねり角ηが何れもゼロの場合、第2筐体3のメイン基板37上に設定される地磁気検出の座標系は、図11に示す座標軸Hx、Hy、Hzの座標系と一致する。
ここで、座標軸Hxに対応する地磁気の検出値をα、座標軸Hyに対応する地磁気の検出値をβ、座標軸Hzに対応する地磁気の検出値をγとすると、図11に示す方位角θの正接tanθは次式で表される。
(数1)
tanθ=β/(γ・sinφ−α・cosφ) … (1)
ただし、式(1)において、ひねり角ηはゼロとしている。
制御部160は、例えば式(1)に示すような関係を用いて、地磁気センサ158から得られる3方向の地磁気の検出値に応じた方位角を算出する。
制御部160は、上述した方位の算出にあたって、地平面に対する表示パネル21の傾斜角も加味する。
一般のユーザは、表示パネル21を例えば45度程度の角度で傾けたときに、楽な姿勢で表示パネル21の画像を見ることができる。そこで、制御部160は、地平面に対する表示パネル21の傾斜角が例えば45度になるときの傾斜角φを用いて、式(1)により方位を算出する。
なお、制御部160は、開状態と閉状態とにおいて地平面に対する地磁気センサ158の傾斜角が異なる場合、この傾斜角の違いを考慮して、それぞれの状態の方位角を算出しても良い。
例えば、閉状態において第1筐体2と第2筐体3とがほぼ平行に重なるのに対し、開状態において第1筐体2と第2筐体3とが相対的に傾斜する(例えば「く」字状に傾く)ように、2つの筐体が連結されているものとする。この場合、ユーザが、両方の操作スタイルで表示パネル21に対する視線の方向を一定に保とうとすると、地平面に対する第2筐体3の傾斜は、開状態と閉状態とで異なる。第2筐体3の傾斜が異なるということは、地平面に対する基準方向Aの傾斜が開,閉状態において異なることを意味する。そこで、制御部160は、開閉判定部153の判定結果に応じた所定の角度の傾斜角φを用いて、方位の算出を行う。この傾斜角φは、開状態および閉状態の何れにおいても、地平面に対する表示パネル21の傾斜角が例えば45度で一定となるように予め設定された角度である。
傾斜角の情報は、例えばデータテーブルとして記憶部152に予め格納される。方位の検出が行われる場合、制御部160は、開閉判定部153の判定結果に関連付けられた傾斜角の情報をこのデータテーブルから読み出し、この傾斜角の情報を用いて方位の算出を行う。
図12は、携帯電話機100における方位算出処理の第1の例を図解したフローチャートである。
キー入力部154におけるキー入力操作等によってナビゲーション処理の開始が選択されると(ステップST202)、制御部160は、所定のイベントが発生しているか否かを調べる(ステップST204)。
ここで所定のイベントとは、表示部155において方位の情報(ヘディングアップ表示の地図や方位を示すコンパスなど)を表示しているときに、携帯電話機100内の回路や処理系において、地磁気センサ158の検出値に変化を生じさせるような磁界を発生させるイベントである。
この所定のイベントは、例えば、図8のステップST146においてナビゲーションサーバ装置402から地図を取得する場合や、着信処理、メール受信処理を行う場合などにおいて、無線通信部150を動作させるイベントを含む。
また、キー入力操作、方位の情報の変化、地図の表示の更新などに応じて表示部155における表示輝度を変化させるイベントや、音声処理部156を動作させてスピーカから音声を出力させるイベントなどを含んでも良い。
表示部155がLCDパネルを有する場合は、例えば、LCDバックライトとしての光源をオンオフさせたり、光源の発光強度を変化させるイベントを含んでも良い。
このような所定のイベントの発生を検知すると、制御部160は、検知したイベントに対応して予め用意された地磁気検出値の補正用データを記憶部152から読み出して、現在使用中の補正用データを変更する。
図13は、補正用データの一例を示す図である。
図13の例において、補正用データは、地磁気センサ158の3方向(X軸、Y軸、Z軸)の検出値に対応する3つの補正値によって構成される。例えば、無線通信部150を動作させる通信処理が実行される場合、制御部160は、X軸、Y軸、Z軸の地磁気検出値に対応する‘−1’,‘0’,‘−1’の補正値を記憶部152から読み出す。
記憶部152は、例えばこのような補正用データを、複数のイベントにそれぞれ対応付けて記憶する。補正用データの各補正値は、例えば、それぞれのイベントが発生している場合と発生していない場合とにおける地磁気検出値の変動量を予め測定することにより決定される。
制御部160は、記憶部152から読み出した補正用データに基づいて、地磁気センサ158の検出値を補正する(ステップST208)。すなわち、地磁気センサの3方向の検出値に、補正用データの対応する補正値をそれぞれ加算する。そして、この補正後の地磁気検出値を用いて、上述した算出方法により、方位を算出する(ステップST210)。
制御部160は、ナビゲーション処理が実行されている間、上述したステップST204〜ST210の処理を繰り返す(ステップST212)。
なお、ステップST204において複数のイベントの発生を検知した場合、制御部160は、検知したイベントに対応する補正用データの補正値を3方向の地磁気検出値にそれぞれ加算する。
例えば、図13の例において、通信処理と音声出力処理とが共に発生している場合、X軸の補正値は‘−1’+‘−1’=‘−2’、Y軸の補正値は‘0’+‘0’=‘0’、Z軸の補正値は‘−1’+‘0’=‘−1’になる。
また、ステップST204においてあるイベントの終了を検知した場合、制御部160は、終了したイベントに対応する補正用データの補正値を、現在の値から減算する。
例えば、現在のX軸、Y軸、Z軸の補正値が‘−2’、‘−1’、‘1’の状態で図13に示す通信処理が終了した場合、X軸の補正値は‘−2’−‘−1’=‘−1’、Y軸の補正値は‘−1’−‘0’=‘−1’、Z軸の補正値は‘1’−‘−1’=‘2’に変更される。
以上のように、図12に示す方位算出処理の第1の例によれば、方位の情報を表示部155に表示させているときに、携帯電話機100内部の磁界を変動させる所定のイベントの発生(イベントの終了を含む)が制御部160によって監視され、該所定イベントの発生が検知された場合に、方位の情報が補正される。
したがって、イベントの発生によって地磁気センサ158の検出値が変動し、表示部155に表示される方位の情報の精度が低下しても、イベントの発生を検知して方位の情報を補正することにより、方位の情報の精度を回復させることができる。
また、イベントごとに予め決定されて記憶部152に記憶される補正用データを用いて方位の情報の補正が行われるため、発生するイベント毎に精度良く方位の情報を補正することができる。
次に、方位算出処理の第2の例を述べる。
図14は、携帯電話機100における方位算出処理の第2の例を図解したフローチャートである。
上述した第1の例(図12)に対する第2の例(図14)の違いは、所定のイベントの発生を検知してから、方位の情報の補正を行うための演算を行って表示部155に演算結果の方位の情報を表示させるまでの間、表示部155に表示される方位の情報の精度が低いことを表示部155に表示させる点にある。
すなわち、制御部160は、ステップST204において所定のイベントの発生を検知すると、表示部155に表示される方位の情報の精度が低いことを表示部155に表示させる(ステップST214)。
例えば、方位を表すコンパスの画像を表示させている場合には、このコンパスが左右に振れるような動きを表示させることにより、方位の情報の精度が低いことを示しても良い。また、コンパスの画像の形や色、サイズを変化させたり、方位の精度が低いことを示す別の画像を表示させても良い。
制御部160は、このような方位の精度低下を示す情報を、補正値の変更(ステップST206)、地磁気検出値の補正(ステップST208)、方位の算出(ステップST210)を行っている間に表示部155に表示させる。そして、補正後の方位の情報を表示部155に表示させるときに、方位の精度が回復したことを表示部155に表示させる(ステップST216)。
例えば、コンパスの画像を左右に振らせる動きによって方位の精度低下を表示している場合には、この左右の振れを停止させることによって方位の精度が回復したことを示しても良い。コンパスの画像の形や色、サイズを変化させることにより方位の精度低下を表示している場合には、これを元の状態に戻すことにより精度の回復を表しても良い。あるいは、方位の情報の精度が回復したことを示す別の画像を表示させても良い。
以上のように、図14に示す方位算出処理の第2の例によれば、所定のイベントの発生(イベントの終了を含む)によって地磁気検出値の補正値に変更が生じた場合、新たな補正値によって方位を再算出してその結果を表示部155に表示させるまでの間、表示中の方位の情報の精度が低いことをユーザに通知することができる。これにより、表示されている方位の情報の精度が低いか否かをユーザが正しく把握できるようになる。
次に、方位算出処理の第3の例を述べる。
図15は、携帯電話機100における方位算出処理の第3の例を図解したフローチャートである。
上述した第1および第2の例の方位算出処理では、イベントの発生によって生じる地磁気検出値の変化を補正するが、次に述べる第3の例では、筐体の開、閉状態に応じた地磁気検出値の変化を補正する。
携帯電話機100には、上述のようなイベントごとに発生する動的な磁界と異なり、例えばスピーカ22に用いられている磁石などの静的な磁界を発生する部品が含まれている。このような静磁界は、地磁気検出値の定常的な誤差(オフセット誤差)の原因になっており、後述するオフセット誤差補正処理によって補正される。しかしながら、筐体の開、閉状態を変化させると、地磁気センサ158に対するこれらの静磁界発生源の位置関係が変化するため、これに応じてオフセット誤差も変化してしまう。
そこで、第3の例の方位算出処理では、このようなオフセット誤差の変化による方位算出値の精度低下を低減させるため、オフセット誤差補正処理により得られるオフセット誤差の補正値を開状態および閉状態のそれぞれについて別に保持する。そして、筐体の開閉状態に変化が生じた場合、これに合わせて、オフセット誤差の補正に用いる補正値を変更する。
キー入力部154におけるキー入力操作等によってナビゲーション処理の開始が選択されると(ステップST302)、制御部160は、開閉判定部153の判定結果を調べる(ステップST304)。開閉判定部153において筐体が開状態にあると判定されている場合、制御部160は、例えば制御部160内の図示しないレジスタに保持されている開状態のオフセット誤差補正用データを読み出し(ステップST306)、これに基づいて地磁気センサ158の検出値を補正する(ステップST310)。また、開閉判定部153において筐体が閉状態にあると判定されている場合、制御部160は、制御部160内の図示しないレジスタに保持されている閉状態のオフセット誤差補正用データを読み出し(ステップST308)、これに基づいて地磁気センサ158の検出値を補正する(ステップST310)。
なお、オフセット誤差補正用データは、例えば図13に示すように、3方向の地磁気検出値に対応する3つの補正値で構成されている。この補正値は、後述するオフセット誤差補正処理によって、ナビゲーション処理の開始時やその実行中に度々取得されて、開、閉の状態の各々に対して設けられた制御部160の所定のレジスタに書き込まれる。レジスタに格納されるオフセット誤差補正用データは、オフセット誤差補正処理が実行され、新しい補正値が取得される度に書き換えられる。
地磁気センサ158の検出値を補正すると、制御部160は、この補正後の地磁気検出値を用いて、方位の算出を行う(ステップST312)。
次いで制御部160は、再び開閉判定部153の判定結果を取得して、開閉状態に変化がないか調べる(ステップST314)。
閉状態から開状態への変化を検出した場合、制御部160は、ステップST306に戻って開状態のオフセット誤差補正用データを読み出し、これを用いて地磁気検出値の補正と方位の算出を繰り返す(ステップST310,ST312)。
開状態から閉状態への変化を検出した場合、制御部160は、ステップST308に戻って閉状態のオフセット誤差補正用データを読み出し、これを用いて地磁気検出値の補正と方位の算出を繰り返す(ステップST310,ST312)。
開閉状態の変化がない場合、制御部160は、ナビゲーション処理の終了が選択されていないか確認し(ステップST316)、ナビゲーション処理が続行するならば、現在使用中のオフセット誤差補正用データを用いて地磁気検出値の補正と方位の算出を繰り返す(ステップST310,ST312)。
ナビゲーション処理の終了が選択されると、制御部160は、レジスタに保持されている開状態および閉状態のオフセット誤差補正用データを記憶部152にそれぞれ保存する(ステップST318)。これにより、次回ナビゲーション処理が行われる際には、記憶部152に保存したオフセット誤差補正用データを用いて速やかに方位の算出を行うことが可能になる。
以上のように、図15に示す方位算出処理の第3の例によれば、方位の情報を表示部155に表示させているときに開閉判定部153における判定結果の変化が監視され、該変化が検知された場合、表示部155に表示される方位の情報が該変化後の状態(開状態または閉状態)に応じて補正される。すなわち、該変化が検知されると、地磁気センサ158の検出値に、該変化後の状態に対応する所定の補正が行われ、この補正後の地磁気検出値に基づいて方位が算出される。
したがって、開状態および閉状態の両方で表示部155による方位の情報の表示が可能な構造を有する携帯電話機100において、この開閉状態の変化に伴い地磁気センサ158の検出値が変動して、表示中の方位の情報の精度が低下する場合でも、開閉判定部153における判定結果の変化を検知して方位の情報を補正することにより、方位の情報の精度を回復させることができる。
また、開状態および閉状態のそれぞれにおけるオフセット誤差補正用データが制御部160の所定のレジスタに別に保持されており、開閉状態に応じた適切なオフセット誤差補正用データを用いて方位の情報の補正が行われるため、それぞれの状態において精度良く方位の情報を補正することができる。
なお、ステップST314における開閉状態の変化の検出では、開閉判定部153の判定結果に基づいて開閉状態の変化を検知した後、この変化後の開または閉状態が所定時間持続することをもって、開状態から閉状態もしくは閉状態から開状態への変化が生じたと最終判定しても良い。これにより、意図せず可動機構部4が動いて開閉状態の変化が瞬間的に検出されるような場合に、オフセット誤差補正用データが誤って変更されることを防止できる。
次に、方位算出処理の第4の例を述べる。
図16は、携帯電話機100における方位算出処理の第4の例を図解したフローチャートである。
上述した第3の例(図15)に対する第4の例(図16)の違いは、開閉判定部153において開閉状態の変化を検知してから、方位を再算出し、該再算出した方位の情報を表示部155に表示させるまでの間、表示部155に表示される方位の情報の精度が低いことを表示部155に表示させる点にある。
すなわち、制御部160は、ステップST314において開閉状態の変化を検出し、これに応じてステップST306またはST308において変化後の状態に応じたオフセット誤差補正用データを読み出した後、表示部155に表示される方位の情報の精度が低いことを表示部155に表示させる(ステップST320)。
制御部160は、例えば既に述べた図14のステップST214と同様に、方位を表すコンパスの画像を左右に振らせたり、コンパスの形,色,サイズ等を変化させたり、方位の精度低下を表す別の画像を表示させるなどの方法により、方位の精度低下の情報を表示部155に表示させる。
制御部160は、このような方位の精度低下を示す情報を、地磁気検出値の補正(ステップST310)および方位の算出(ステップST312)を行っている間に表示部155に表示させる。そして、補正後の方位の情報を表示部155に表示させるときに、方位の精度が回復したことを表示部155に表示させる(ステップST322)。
例えば、コンパスの画像を左右に振らせる動きによって方位の精度低下を表示している場合には、この左右の振れを停止させても良い。コンパスの画像の形や色、サイズを変化させることにより方位の精度低下を表示している場合には、これを元の状態に戻しても良い。あるいは、方位の情報の精度が回復したことを示す別の画像を表示させても良い。
以上のように、図16に示す方位算出処理の第4の例によれば、筐体の開閉状態の変化によって地磁気検出値の補正値に変更が生じた場合、新たな補正値によって方位を再算出してその結果を表示部155に表示させるまでの間、表示中の方位の情報の精度が低いことをユーザに通知することができる。これにより、表示されている方位の情報の精度が低いか否かをユーザが正しく把握できるようになる。
次に、方位算出処理の第5の例を述べる。
図17は、携帯電話機100における方位算出処理の第5の例を図解したフローチャートである。
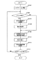
上述した第3および第4の例の方位算出処理では、筐体の開閉状態の変化によって生じる地磁気検出値の変化を補正するが、次に述べる第5の例では、メモリカード部159におけるメモリカードの装着の有無に応じた地磁気検出値の変化を補正する。
メモリカードに、例えば半導体集積装置のリードフレームなどのような磁気を帯び易い部品が使用されていると、この磁気の影響によって、メモリカードの装着時と未装着時とにおける地磁気センサ158のオフセット誤差が変化する場合がある。
図18は、メモリカードの装着の有無に応じた地磁気センサ検出値(X軸、Y軸、Z軸)の時間的変化の一例を示す図である。図18の例では、X軸、Y軸、Z軸における地磁気センサ検出値が、それぞれ‘−7’、‘−8’、‘−1’だけ変化している。
第5の例の方位算出処理では、このような地磁気センサ検出値の変動による方位の誤差を低減させるため、オフセット誤差補正処理により得られるオフセット誤差の補正値をメモリカード装着時および未装着時のそれぞれについて別に保持する。そして、筐体のメモリカードの装着状態に変化が生じた場合、これに合わせて、オフセット誤差の補正に用いる補正値を変更する。
キー入力部154におけるキー入力操作等によってナビゲーション処理の開始が選択されると(ステップST402)、制御部160は、メモリカード部159におけるメモリカードの装着状態を調べる(ステップST404)。メモリカード部159からの信号によってメモリカードが装着されていると判定した場合、制御部160は、例えば制御部160内の図示しないレジスタに保持されているメモリカード装着時のオフセット誤差補正用データを読み出し(ステップST406)、これに基づいて地磁気センサ158の検出値を補正する(ステップST410)。また、メモリカード部159からの信号によってメモリカードが装着されていと判定した場合、制御部160は、制御部160内の図示しないレジスタに保持されているメモリカード未装着時のオフセット誤差補正用データを読み出し(ステップST408)、これに基づいて地磁気センサ158の検出値を補正する(ステップST410)。
メモリカード装着時および未装着時のオフセット誤差補正用データは、例えば図13に示すように、3方向の地磁気検出値に対応する3つの補正値で構成されている。この補正値は、後述するオフセット誤差補正処理によって、ナビゲーション処理の開始時やその実行中に度々取得されて、メモリカード装着時および未装着時の各々に対して設けられた制御部160内の所定のレジスタに書き込まれる。レジスタに格納されるオフセット誤差補正用データは、オフセット誤差補正処理が実行され、新しい補正値が取得される度に書き換えられる。
地磁気センサ158の検出値を補正すると、制御部160は、この補正後の地磁気検出値を用いて、方位の算出を行う(ステップST412)。
次いで制御部160は、再びメモリカード部159におけるメモリカードの装着状態を確認し、装着状態に変化がないか調べる(ステップST414)。
メモリカード部159にメモリカードが装着されていない状態からメモリカード部159にメモリカードが装着された状態への変化を検出した場合、制御部160は、ステップST406に戻ってメモリカード装着時のオフセット誤差補正用データを読み出し、これを用いて地磁気検出値の補正と方位の算出を繰り返す(ステップST410,ST412)。
メモリカード部159にメモリカードが装着された状態からメモリカード部159にメモリカードが装着されていない状態への変化を検出した場合、制御部160は、ステップST408に戻ってメモリカード未装着時のオフセット誤差補正用データを読み出し、これを用いて地磁気検出値の補正と方位の算出を繰り返す(ステップST410,ST412)。
メモリカードの装着状態に変化がない場合、制御部160は、ナビゲーション処理の終了が選択されていないか確認し(ステップST416)、ナビゲーション処理が続行するならば、現在使用中のオフセット誤差補正用データを用いて地磁気検出値の補正と方位の算出を繰り返す(ステップST410,ST412)。
ナビゲーション処理の終了が選択されると、制御部160は、レジスタに保持されているメモリカード装着時および未装着時のオフセット誤差補正用データを記憶部152にそれぞれ保存する(ステップST418)。これにより、次回ナビゲーション処理が行われる際には、記憶部152に保存したオフセット誤差補正用データを用いて速やかに方位の算出を行うことが可能になる。
以上のように、図17に示す方位算出処理の第5の例によれば、方位の情報を表示部155に表示させているときにメモリカード部159におけるメモリカードの装着状態の変化が監視され、該変化が検知された場合、表示部155に表示される方位の情報が該変化後の状態(装着または未装着)に応じて補正される。すなわち、メモリカードの装着状態に変化が検知された場合、地磁気センサ158の検出値に、該変化後の状態に対応する所定の補正が行われ、この補正後の地磁気検出値に基づいて方位が算出される。
したがって、メモリカードの装着状態の変化によって地磁気センサ158の検出値が変動し、表示部155に表示される方位の情報の精度が低下しても、メモリカード部159におけるメモリカードの装着状態の変化を検知して方位の情報を補正することにより、方位の情報の精度を回復させることができる。
また、装着状態および未装着状態のそれぞれにおけるオフセット誤差補正用データが制御部160の所定のレジスタに別に保持されており、メモリカードの装着状態に応じた適切なオフセット誤差補正用データを用いて方位の情報の補正が行われるため、それぞれの状態において精度良く方位の情報を補正することができる。
次に、方位算出処理の第6の例を述べる。
図19は、携帯電話機100における方位算出処理の第6の例を図解したフローチャートである。
上述した第5の例(図17)に対する第6の例(図19)の違いは、メモリカードの装着状態の変化を検知してから、方位を再算出し、該再算出した方位の情報を表示部155に表示させるまでの間、表示部155に表示される方位の情報の精度が低いことを表示部155に表示させる点にある。
すなわち、制御部160は、ステップST414においてメモリカード装着状態の変化を検出し、これに応じてステップST406またはST408において変化後の状態に応じたオフセット誤差補正用データを読み出した後、表示部155に表示される方位の情報の精度が低いことを表示部155に表示させる(ステップST420)。
制御部160は、例えば既に述べた図14のステップST214と同様に、方位を表すコンパスの画像を左右に振らせたり、コンパスの形,色,サイズ等を変化させたり、方位の精度低下を表す別の画像を表示させるなどの方法により、方位の精度低下の情報を表示部155に表示させる。
制御部160は、このような方位の精度低下を示す情報を、地磁気検出値の補正(ステップST410)および方位の算出(ステップST412)を行っている間に表示部155に表示させる。そして、補正後の方位の情報を表示部155に表示させるときに、方位の精度が回復したことを表示部155に表示させる(ステップST422)。
例えば、コンパスの画像を左右に振らせる動きによって方位の精度低下を表示している場合には、この左右の振れを停止させても良い。コンパスの画像の形や色、サイズを変化させることにより方位の精度低下を表示している場合には、これを元の状態に戻しても良い。あるいは、方位の情報の精度が回復したことを示す別の画像を表示させても良い。
以上のように、図19に示す方位算出処理の第6の例によれば、メモリカードの装着状態の変化によって地磁気検出値の補正値に変更が生じた場合、新たな補正値によって方位を再算出してその結果を表示部155に表示させるまでの間、表示中の方位の情報の精度が低いことをユーザに通知することができる。これにより、表示されている方位の情報の精度が低いか否かをユーザが正しく把握できるようになる。
次に、オフセット誤差補正処理について述べる。
オフセット誤差補正処理は、携帯電話機100内部の磁界発生源によって生じる定常的な地磁気検出値の誤差を補正するための処理である。
携帯電話機100内部で発生する静的な磁界は、携帯電話機100を向ける方位に依らない定常的な誤差を地磁気センサ158の検出値にもたらす。これに対し、地磁気自体の検出値は、携帯電話機100を向ける方位に応じて変化する。したがって、例えば携帯電話機100を回転させながら地磁気の検出を行い、携帯電話機100の回転に応じた地磁気のベクトルの軌跡を求めることによって、地磁気センサ158の検出値に含まれるオフセット誤差を容易に算出することできる。
制御部160は、例えばナビゲーション処理を開始する際、ユーザに対して携帯電話機100を回転するように促す指示を表示部155に表示させる。ユーザがこの指示に従って携帯電話機100を回転させると、制御部160は、回転の途中で地磁気センサ158の検出値を複数取得する。そして、取得した地磁気検出値のベクトル軌跡からオフセット誤差を算出して、地磁気センサ158の検出値から差し引く。これにより、オフセット誤差が補正された地磁気検出値が得られる。
制御部160は、上述のようなオフセット誤差補正処理によって算出されるオフセット誤差を、オフセット誤差補正用データとして制御部160の所定のレジスタに格納する。
また、制御部160は、ナビゲーション処理を実行している間にも、例えば一定時間毎に、上述したオフセット誤差補正処理を行う。
更に、制御部160は、次に述べるように、地磁気センサ158の検出値がオーバーフロー等の所定の異常状態になった場合にも、オフセット誤差補正処理を行って地磁気検出値の補正を行う。
図20は、地磁気検出値に異常状態が生じた場合におけるオフセット誤差補正処理の第1の例を図解したフローチャートである。
キー入力部154におけるキー入力操作等によってナビゲーション処理の開始が選択されると(ステップST502)、制御部160は、地磁気センサ158の検出値が所定の異常状態になっているか調べる(ステップST504)。
ここで所定の異常状態とは、例えば、‘0’〜‘255’までの整数値で表現される8ビットの検出値の何れか1つ(すなわちX軸、Y軸、Z軸の地磁気検出値の何れか1つ)にオーバーフローが生じて、その値が最大値‘255’や最小値‘0’になっている状態である。
また、上限値と下限値を持つ正常範囲が規定されている場合には、地磁気検出値の何れか1つがこの正常範囲を外れていることをもって、異常状態としても良い。
制御部160は、このような地磁気検出値の異常状態を検知すると、該検知の時点から異常状態が持続する時間を計測する(ステップST506)。そして、異常状態が所定時間(例えば5秒間)持続した場合、制御部160は、携帯電話機100の着磁等によってオフセット誤差が生じたと判断して、上述のオフセット誤差補正処理を実行する(ステップST510)。
オフセット誤差補正処理の後、制御部160は、ナビゲーション処理の終了が選択されているかどうかを調べ、当該処理が続くと確認された場合、上述したステップST504〜ST510の処理を繰り返す(ステップST512)。
また、ステップST504において地磁気検出値の異常状態が検知されない場合や、ステップST508において所定時間内に全ての検出値の異常状態が解消されたと判定された場合、同様にナビゲーション処理の続行を確認した上で、ステップST504〜ST510の処理を繰り返す(ステップST512)。
以上のように、図20に示すオフセット誤差補正処理の第1の例によれば、方位の情報を表示部155に表示させているときに、地磁気センサ158の検出値が所定の異常状態になり、この異常状態が所定時間続いた場合、方位の情報の補正が行われる。すなわち、3方向の地磁気の検出値の何れか1つ(もしくは複数)が所定の異常状態になり、この異常状態が所定時間続いた場合に、地磁気センサ158のオフセット誤差を検出して補正する処理(オフセット誤差補正処理)が行われ、この補正後の地磁気検出値に基づいて方位が再算出される。
したがって、地磁気センサ158の検出値の異常を監視することにより、携帯電話機100の着磁等によるオフセット誤差の発生が検知されて適切な補正が行われるため、オフセット誤差による方位の情報の精度低下を抑えることができる。
また、図20の処理によれば、地磁気検出値が所定時間以上にわたって持続して所定の異常状態になった場合に、オフセット誤差補正処理が行われる。
そのため、例えば建物や電車などから発生する外部磁界の影響で起こった一時的な地磁気検出値の異常状態を、携帯電話機100の着磁等により生じたオフセット誤差と間違って判定し、不適切なオフセット誤差補正処理が実行されてしまうケースを減らすことができる。
図21は、外部磁界の影響により生じた地磁気検出値の異常状態の一例を示す図である。同図の例では、3〜4秒の時間にわたって、Z軸方向の地磁気検出値が‘0’に張り付いている。
このような一時的な外部磁界による異常が起きているときにオフセット誤差補正処理を実行してしまうと、オフセット誤差を正しく算出できないため、誤った補正値で地磁気検出値の補正を行ってしまい、結果として方位の算出結果が不正確になる。方位の不正確な状態は、少なくとも次回のオフセット誤差補正処理まで続いてしまう。
図21に示すように、外部磁界の影響による地磁気検出値の異常状態は、通常、数秒以内の一過性のものであり、例えば5秒間以内に多くの場合は正常状態に戻る。
したがって、図20の処理のように、所定時間以上異常状態が持続するか否かに応じて、外部磁界の影響により生じた異常状態とオフセット誤差とを判別し、この判別結果に従ってオフセット誤差補正処理の実行を制御することにより、該補正処理の不適切な実行を効果的に防ぐことができる。
次に、オフセット誤差補正処理の第2の例を述べる。
図22は、携帯電話機100におけるオフセット誤差補正処理の第2の例を図解したフローチャートである。
上述した第1の例(図20)に対する第2の例(図22)の違いは、方位の情報の補正を行っている間、方位の情報の精度が低いことを表示部155に表示させる点にある。
すなわち、制御部160は、ステップST508において地磁気検出値の異常が所定時間以上持続したと判定した後、表示部155に表示される方位の情報の精度が低いことを表示部155に表示させる(ステップST514)。
制御部160、例えば既に述べた図14のステップST214と同様に、方位を表すコンパスの画像を左右に振らせたり、コンパスの形,色,サイズ等を変化させたり、方位の精度低下を表す別の画像を表示させるなどの方法により、方位の精度低下の情報を表示部155に表示させる。
制御部160は、このような方位の精度低下を示す情報を、オフセット誤差補正処理(ステップST510)を行っている間に表示部155に表示させる。そして、補正後の地磁気検出値に基づいて再算出した方位の情報を表示部155に表示させるときに、方位の精度が回復したことを表示部155に表示させる(ステップST516)。
例えば、コンパスの画像を左右に振らせる動きによって方位の精度低下を表示している場合には、この左右の振れを停止させても良い。コンパスの画像の形や色、サイズを変化させることにより方位の精度低下を表示している場合には、これを元の状態に戻しても良い。あるいは、方位の情報の精度が回復したことを示す別の画像を表示させても良い。
以上のように、図22に示すオフセット誤差補正処理の第2の例によれば、地磁気検出値の異常に伴う方位の情報の補正を行っている間、表示部155に表示されている方位の情報の精度が低いことをユーザに通知することができる。これにより、表示されている方位の情報の精度が低いか否かをユーザが正しく把握できるようになる。
次に、オフセット誤差補正処理の第3の例を述べる。
図23は、携帯電話機100におけるオフセット誤差補正処理の第3の例を図解したフローチャートである。
上述した第2の例(図22)に対する第3の例(図23)の違いは、方位の情報の補正を行っている間、地図の表示をヘディングアップ表示からノースアップ表示に固定し、方位の情報の補正が完了した場合、ヘディングアップ表示を再開することにある。
すなわち、制御部160は、ステップST508において地磁気検出値の異常が所定時間以上持続したと判定した後、地図の表示をヘディングアップ表示からノースアップ表示に固定し(ステップST518)、オフセット誤差補正処理(ステップST510)を行っている間は、ノースアップ表示を持続する。そして、この補正後の地磁気検出値に基づいて方位が再算出されときに、ノースアップ表示を解除して、ヘディングアップ表示を再開させる(ステップST520)。
以上のように、図23に示すオフセット誤差補正処理の第3の例においても、地磁気検出値の異常に伴う方位の情報の補正を行っている間、ノースアップ表示に固定することによって、表示部155に表示されている方位の情報の精度が低いことをユーザに通知することができる。これにより、表示されている方位の情報の精度が低いか否かをユーザが正しく把握できるようになる。
次に、外部磁場の影響によって地磁気センサ158の検出値に誤差が生じ、方位の情報の精度が低下する場合の処理について述べる。
一般に、建物や電車などは磁界の発生源を多く含んでいるため、その内部や周囲では、これらの磁界発生源による外部磁界の影響を受けて、地磁気センサ158の検出値に大きな誤差を生じる。仮に、このような地域でオフセット誤差補正処理を実行してしまうと、誤ったオフセット誤差を算出してしまうため、該地域を離れた後も、再びオフセット誤差補正処理を行うまでは、不正確な方位の情報を表示部155に表示したままになる。
そこで、以下に述べる処理では、外部磁界等の影響で地磁気センサ158の検出値に誤差を生じる地域に入ったことを検知した場合、オフセット誤差補正処理を禁止する。また、方位の情報の精度が低下することを表示部155に表示させて、ユーザが方位の情報を参考にすべきか否かを判断できるようにする。
図24は、外部磁場の影響によって地磁気検出値に誤差が生じる場合における処理の第1の例を図解したフローチャートである。
キー入力部154におけるキー入力操作等によってナビゲーション処理の開始が選択されると(ステップST602)、制御部160は、GPS信号受信部151において受信されるGPS信号のレベルが所定の値より低いか否かを調べる(ステップST604)。
通常、GPS信号のレベルは、携帯電話機100が建物の内部に入ると受信不能なレベルまで非常に小さくなる。本例では、この性質を利用して、携帯電話機100が建物の内部に入っているか否かを判断する。
GPS信号が所定値より低くなったことを検知した場合、制御部160は、携帯電話機100が建物の内部に入ったと判断して、上述したオフセット誤差補正処理の実行を禁止する(ステップST606)。例えば一定時間毎に補正処理が繰り返されている場合には、この一定時間経過後も補正処理を行わないようにする。
また、この場合、制御部160は、方位の情報の精度が低下していることを表示部155に表示させる(ステップST608)。例えば、既に述べた図14のステップST214と同様に、方位を表すコンパスの画像を左右に振らせたり、コンパスの形,色,サイズ等を変化させたり、方位の精度低下を表す別の画像を表示させるなどの方法により、方位の精度低下の情報を表示部155に表示させる。
一方、GPS信号が所定値より高くなったことを検知した場合、制御部160は、携帯電話機100が建物の内部に入っていないと判断して、上述したオフセット誤差補正処理の実行が禁止されている状態であれば、この禁止を解除する(ステップST610)。
また、この場合、制御部160は、方位の情報の精度が回復したことを表示部155に表示させる(ステップST612)。例えば、コンパスの画像を左右に振らせる動きによって方位の精度低下を表示している場合には、この左右の振れを停止させても良い。コンパスの画像の形や色、サイズを変化させることにより方位の精度低下を表示している場合には、これを元の状態に戻しても良い。あるいは、方位の情報の精度が回復したことを示す別の画像を表示させても良い。
ステップST608またはST612の後、制御部160は、ナビゲーション処理の終了が選択されているかどうかを調べ、当該処理が続くと確認された場合、上述したステップST604以降の処理を繰り返す(ステップST614)。
以上のように、外部磁場の影響によって地磁気検出値に誤差が生じる場合における処理の第1の例(図24)によれば、方位の情報を表示部155に表示させているとき、GPS信号受信部151において受信されるGPS信号のレベルが監視し、このレベルが所定の値より低くなったことが検知された場合、携帯電話機100が建物の内部に入っていると判断され、表示部155における方位の情報の精度が低いことを示す情報が表示部155に表示される。
これにより、表示されている方位の情報の精度が低いか否かをユーザが正しく把握できるようになる。例えば、方位の情報の精度が低い場合、画面に表示中の方位を参考にせずに、地図に表示されている情報と周囲の風景とを見比べて方位を把握するなど、別の方法により方位の見当を付けるべきことがユーザにとって明確になるため、ナビゲーション機能の使い易さを向上させることができる。
また、建物の内部など、外部磁場の影響によってオフセット誤差を正確に算出することができない不適切な地域においてオフセット誤差補正処理の実行が禁止されるため、不正確な方位の表示を長時間にわたって表示部155に表示させてしまうケースを減らすことができる。
次に、外部磁場の影響によって地磁気検出値に誤差が生じる場合における処理の第2の例について、図25に示すフローチャートを参照して述べる。
上述した第1の例(図24)に対する第2の例(図25)の違いは、GPS信号が所定値より低くなったことを検知した場合に、地図の表示をヘディングアップ表示からノースアップ表示に固定し、GPS信号が所定値より高くなったことを検知した場合に、ヘディングアップ表示を再開させることにある。
すなわち、制御部160は、ステップST604においてGPS信号が所定値より低くなったことを検知した場合、オフセット誤差補正処理を禁止するとともに(ステップST606)、地図の表示をヘディングアップ表示からノースアップ表示に固定する(ステップST616)。また、ステップST604においてGPS信号が所定値より高くなったことを検知した場合、オフセット誤差補正処理の禁止を解除するとともに(ステップST610)、ノースアップ表示を解除して、ヘディングアップ表示を再開させる(ステップST618)。
以上のように、図25に示す第2の例の処理によれば、建物の内部など、外部磁場の影響で方位の情報の精度が低下する地域において、地図の表示をノースアップ表示に固定することにより、表示部155に表示されている方位の情報の精度が低いことをユーザに通知することができる。これにより、表示されている方位の情報の精度が低いか否かをユーザが正しく把握できるようになる。
次に、外部磁場の影響によって地磁気検出値に誤差が生じる場合における処理の第3の例について、図26に示すフローチャートを参照して述べる。
上述した第2の例(図25)に対する第3の例(図26)の違いは、GPS信号が所定値より低くなったことを検知した場合に、方位の算出処理ならびに地磁気センサ158の動作を停止させ、GPS信号が所定値より高くなったことを検知した場合に、これらの動作を再開させることにある。
すなわち、制御部160は、ステップST604においてGPS信号が所定値より低くなったことを検知した場合、地図の表示をヘディングアップ表示からノースアップ表示に固定するとともに(ステップST616)、方位の算出処理ならびに地磁気センサ158の動作を停止させる(ステップST620)。また、ステップST604においてGPS信号が所定値より高くなったことを検知した場合、ノースアップ表示を解除してヘディングアップ表示を再開させるとともに(ステップST618)、方位の算出処理ならびに地磁気センサ158の動作を再開させる(ステップST622)。
もともとGPS信号を受信し難い建物の内部などは、外部磁場の影響を受け易い環境であるが、以上述べた図26に示す第3の例の処理によれば、携帯電話機100がこのような環境にあるか否かをGPS信号のレベルに応じて検知して地磁気センサ158の動作を停止させるため、利用されない回路への無駄な電力の供給を抑えて、消費電力の削減を図ることができる。
次に、外部磁場の影響によって地磁気検出値に誤差が生じる場合における処理の第4の例について、図27に示すフローチャートを参照して述べる。
上述した第3の例(図26)に対する第4の例(図27)の違いは、GPS信号が所定値より高くなったことを検知した場合、方位の算出値が安定してから、ヘディングアップ表示を再開させることにある。
すなわち、制御部160は、ステップST604においてGPS信号が所定値より高くなったことを検知し、方位の算出処理ならびに地磁気センサ158の動作を再開させた後(ステップST622)、方位の算出値が安定したか否かを判定する(ステップST624)。例えば、制御部160は、方位の算出結果の所定時間における変動幅が所定範囲内に収まる場合、方位の算出値が安定したと判定する。そして、方位の算出値が安定したと判定した後、ノースアップ表示を解除して、ヘディングアップ表示を再開させる(ステップST618)。
以上のように、図27に示す第4の例の処理によれば、GPS信号の信号レベルが所定値より高くなり、携帯電話機100が建物等の内部から出たと判断された場合、方位の算出値の安定が確認されてからヘディングアップ表示が再開される。そのため、例えば建物の外に出た直後において建物からの磁場による地磁気検出値の変動が大きい状態で、精度の低い方位の情報が表示部155に表示されることを防ぐことができる。
次に、外部磁場の影響によって地磁気検出値に誤差が生じる場合における処理の第5の例について、図28に示すフローチャートを参照して述べる。
上述した第1〜第4の例の処理(図24〜図27)では、GPS信号の受信レベルに基づいて、携帯電話機100が建物の内部に入っているか否か、すなわち外部磁場の影響によって地磁気の検出に誤差が生じ易い地域に入っているか否かを判断している。
次に述べる第5の例(図28)の処理では、予め記憶部152に登録される情報に基づいて、携帯電話機100の現在地が磁気センサ158の検出値の精度低下を生じる精度低下地域に含まれるか否かを判定し、含まれると判定した場合に、オフセット誤差補正処理を禁止する。また、方位の情報の精度が低下することを表示部155に表示させて、ユーザが方位の情報を参考にすべきか否かを判断できるようにする。
まず、キー入力部154におけるキー入力操作等によってナビゲーション処理の開始が選択されると(ステップST702)、制御部160は、端末の現在地が記憶部152に登録されている精度低下地域に含まれるか否か判定する(ステップST704)。
記憶部152に登録されている精度低下地域の情報は、例えば、ナビゲーションサーバ装置402から送られてくる地図の識別番号と、この地図上における精度低下地域の座標の情報(例えば座標の範囲によって地図上の精度低下地域を示す情報など)とによって構成される。
制御部160は、まず記憶部152に登録されている精度低下地域の情報から、現在表示中の地図と同一の識別番号の情報を検索する。検索の結果、同一の識別番号の情報が存在する場合は、更にその座標情報が示す地図上の精度低下地域の座標範囲に携帯電話機100の現在地が含まれるか否かを判定する。現在地がこの座標範囲に含まれる場合、制御部160は、携帯電話機100の現在地が精度低下地域に含まれるとの判定を下す。
現在地が精度低下地域に含まれると判定した場合、制御部160は、上述したオフセット誤差補正処理の実行を禁止する(ステップST706)。例えば一定時間毎に補正処理が繰り返されている場合、この一定時間経過後も補正処理を行わないようにする。
また、この場合、制御部160は、方位の情報の精度が低下していることを表示部155に表示させる(ステップST708)。例えば、既に述べた図14のステップST214と同様に、方位を表すコンパスの画像を左右に振らせたり、コンパスの形,色,サイズ等を変化させたり、方位の精度低下を表す別の画像を表示させるなどの方法により、方位の精度低下の情報を表示部155に表示させる。
一方、現在地が精度低下地域の外にあると判定した場合、制御部160は、上述したオフセット誤差補正処理の実行が禁止されている状態であれば、この禁止を解除する(ステップST710)。
また、この場合、制御部160は、方位の情報の精度が回復したことを表示部155に表示させる(ステップST712)。例えば、コンパスの画像を左右に振らせる動きによって方位の精度低下を表示している場合には、この左右の振れを停止させても良い。コンパスの画像の形や色、サイズを変化させることにより方位の精度低下を表示している場合には、これを元の状態に戻しても良い。あるいは、方位の情報の精度が回復したことを示す別の画像を表示させても良い。
ステップST708またはST712の後、制御部160は、ナビゲーション処理の終了が選択されているかどうかを調べ、当該処理が続くと確認された場合、上述したステップST704以降の処理を繰り返す(ステップST714)。
以上のように、外部磁場の影響によって地磁気検出値に誤差が生じる場合における処理の第5の例(図28)によれば、方位の情報を表示部155に表示させているとき、携帯電話機100の現在地が記憶部152に登録される精度低下地域に含まれるか否かの判定が行われる。この判定の結果、現在地が精度低下地域に含まれると判定された場合、表示部155における方位の情報の精度が低いことを示す情報が表示部155に表示される。
これにより、表示されている方位の情報の精度が低いか否かをユーザが正しく把握できるようになるため、ナビゲーション機能の使い易さを向上させることができる。
また、外部磁場の影響によってオフセット誤差を正確に算出することができない精度低下地域においてオフセット誤差補正処理の実行が禁止されるため、不正確な方位の表示を長時間にわたって表示部155に表示させてしまうケースを減らすことができる。
次に、外部磁場の影響によって地磁気検出値に誤差が生じる場合における処理の第6の例について、図29に示すフローチャートを参照して述べる。
上述した第5の例(図28)に対する第6の例(図29)の違いは、現在地が精度低下地域に含まれると判定した場合に、地図の表示をヘディングアップ表示からノースアップ表示に固定し、現在地が精度低下地域から外れたと判定した場合に、ヘディングアップ表示を再開させることにある。
すなわち、制御部160は、ステップST704において携帯電話機100の現在地が精度低下地域に含まれると判定した場合、オフセット誤差補正処理を禁止するとともに(ステップST706)、地図の表示をヘディングアップ表示からノースアップ表示に固定する(ステップST716)。また、ステップST704において現在地が精度低下地域から外れたと判定した場合、オフセット誤差補正処理の禁止を解除するとともに(ステップST710)、ノースアップ表示を解除して、ヘディングアップ表示を再開させる(ステップST718)。
以上のように、図29に示す第6の例の処理によれば、建物の内部など、外部磁場の影響で方位の情報の精度が低下する地域において、地図の表示をノースアップ表示に固定することにより、表示部155に表示されている方位の情報の精度が低いことをユーザに通知することができる。これにより、表示されている方位の情報の精度が低いか否かをユーザが正しく把握できるようになる。
次に、外部磁場の影響によって地磁気検出値に誤差が生じる場合における処理の第7の例について、図30に示すフローチャートを参照して述べる。
上述した第6の例(図29)に対する第7の例(図30)の違いは、記憶部152の情報に基づいて携帯電話機100が精度低下地域に入ったと判定した場合に、方位の算出処理ならびに地磁気センサ158の動作を停止させ、携帯電話機100が精度低下地域から出たと判定した場合に、これらの動作を再開させることにある。
すなわち、制御部160は、ステップST704において携帯電話機100の現在地が精度低下地域に含まれると判定した場合、地図の表示をヘディングアップ表示からノースアップ表示に固定するとともに(ステップST716)、方位の算出処理ならびに地磁気センサ158の動作を停止させる(ステップST720)。また、ステップST704において現在地が精度低下地域から外れたと判定した場合、ノースアップ表示を解除してヘディングアップ表示を再開させるとともに(ステップST718)、方位の算出処理ならびに地磁気センサ158の動作を再開させる(ステップST722)。
以上のように、図30に示す第8の例の処理によれば、外部磁場の影響で方位の情報の精度が低下する地域において地磁気センサ158の動作を停止させるため、利用されない回路への無駄な電力の供給を抑えて、消費電力の削減を図ることができる。
次に、外部磁場の影響によって地磁気検出値に誤差が生じる場合における処理の第8の例について、図31に示すフローチャートを参照して述べる。
上述した第7の例(図30)に対する第8の例(図31)の違いは、携帯電話機100が精度低下地域から出たとを判定した場合、方位の算出値が安定してから、ヘディングアップ表示を再開させることにある。
すなわち、制御部160は、ステップST704において携帯電話機100の現在地が精度低下地域より外れたことを判定し、方位の算出処理ならびに地磁気センサ158の動作を再開させた後(ステップST722)、方位の算出値が安定したか否かを判定する(ステップST724)。例えば、制御部160は、方位の算出結果の所定時間における変動幅が所定範囲内に収まる場合、方位の算出値が安定したと判定する。そして、方位の算出値が安定したと判定した後、ノースアップ表示を解除して、ヘディングアップ表示を再開させる(ステップST718)。
以上のように、図31に示す第8の例の処理によれば、携帯電話機100の現在地が精度低下地域より外れたと判断された場合、方位の算出値が安定したことを確認してからヘディングアップ表示が再開される。そのため、例えば精度低下地域から外れた直後において、建物などからの磁界による地磁気検出値の変動が残っている場合に、精度の低い方位の情報が表示部155に表示されることを防ぐことができる。
次に、上述した第5〜第8の例の処理(図28〜図31)において、記憶部152に精度低下地域を登録する処理について、図32のフローチャートを参照して述べる。
キー入力部154におけるキー入力操作等によってナビゲーション処理の開始が選択されると(ステップST732)、制御部160は、地磁気センサ158の検出値が所定の異常状態になっているか調べる(ステップST734)。
ここで所定の異常状態は、例えば図20のオフセット誤差補正処理において述べたものと同様である。すなわち、‘0’〜‘255’までの整数値で表現される8ビットの検出値の何れか1つにオーバーフローが生じている状態や、地磁気検出値の何れか1つが所定の正常範囲を外れている状態を、異常状態として検知する。
制御部160は、このような地磁気検出値の異常状態を検知すると、該検知の時点から異常状態が持続する時間を計測する(ステップST736)。そして、異常状態が所定時間(例えば5秒間)以内で終了した場合、制御部160は、外部磁界によって地磁気検出地に誤差が生じたと判断し(ステップST738)、現在地を精度低下地域として記憶部152に登録する(ステップST740)。
記憶部152への精度低下地域の登録は、地磁気検出値の異常を検出した際に表示していた地図の識別番号と、該異常が生じた地図上の座標の情報(例えば異常発生地点を含む数メートル四方の領域の座標範囲など)とを関連付けて、記憶部152に割り当てられた所定の精度低下地域登録用データテーブルに格納することにより行う。
なお、記憶部152に登録する精度低下地域の数には上限を設けても良い。この場合、制御部160は、記憶部152に登録される精度低下地域の数がこの上限に達した場合、新たな精度低下地域を登録する際に、登録済みの精度低下地域の情報の中から最も古い情報を削除しても良い。
これにより、精度低下地域の登録情報によって記憶部152の記憶領域が際限なく消費されることを防止できるとともに、最新の情報を残すことによって精度低下地域の情報の信頼性を高めることができる。
記憶部152に精度低下地域を登録した後、制御部160は、ナビゲーション処理の終了が選択されているかどうかを調べ(ステップST742)、当該処理が続くと確認された場合、上述したステップST734〜ST740の処理を繰り返す。
また、ステップST734において地磁気検出値の異常状態が検知されない場合や、ステップST738において所定時間以上にわたって地磁気検出値の異常状態が続いたと判定された場合、同様にナビゲーション処理の続行を確認した上で、ステップST734〜ST740の処理を繰り返す。
ここまで、本発明の好ましい実施形態について述べてきたが、本発明は上述した形態にのみ限定されるものではなく、種々のバリエーションを含む。
上述の実施形態では、方位算出処理として第1〜第6の例、オフセット誤差補正処理として第1〜第3の例、外部磁場の影響により地磁気検出値に誤差が生じる場合の処理として第1〜第8の例を示したが、本発明の実施形態には、これらの処理例の少なくとも一部を任意に組み合わせた形態が含まれる。
上述の実施形態では、地磁気センサ158において3方向の地磁気が検出される例を示したが、これに限らず、例えば2方向でも良い。
上述の実施形態では、例えば図14のステップST208などにおいて、方位の情報の精度が低下していることを表示部155に表示させる例が示されているが、これに限定されず、例えばこの表示を行っているときに方位の情報の補正を行っている場合には、その補正中であることを表示部155に表示させても良い。あるいは、精度低下中と補正中とを両方示す情報を表示部155に表示させても良い。
また、精度低下中や補正中などの情報を表示する代わりに、方位の情報の表示を単に停止させても良い。この場合、方位の補正が完了した場合(あるいは精度低下地域から外れた場合)には、方位の情報の表示を再開することによって、方位の情報の精度が回復したことをユーザに示しても良い。
図26,27のステップST616およびST618ではノースアップ表示の固定とその解除を行っているが、これに限らず、例えば図24のステップST608およびST612と同様に、方位の精度低下、方位の精度回復の表示を行っても良い。
図30,31のステップST716およびST718ではノースアップ表示の固定とその解除を行っているが、これに限らず、例えば図28のステップST708およびST712と同様に、方位の精度低下、方位の精度回復の表示を行っても良い。
外部磁場の影響により地磁気検出値に誤差が生じる場合の処理である第5〜第8の例(図28〜図31)では、精度低下地域の情報を記憶部152のデータテーブルから取得しているが、これに限らず、例えば無線通信部150を介して接続されるサーバ装置から取得しても良い。
すなわち、制御部160は、携帯電話機100の現在地が精度低下地域に含まれるか否かを示す情報を、所定のサーバ装置から無線通信部150を介して取得し、この取得した情報において現在地が精度低下地域に含まれることが示されている場合、オフセット誤差補正処理を禁止しても良い。
上述の実施形態では、携帯電話機100において地図の回転処理(例えばヘディングアップ表示など)を行っているが、これに限らず、例えば携帯電話機100がナビゲーションサーバ装置402に対して地図の表示の向きを指定して地図情報を要求し、ナビゲーションサーバ装置402が、携帯電話機100から要求に応じた向きの地図情報を生成して携帯電話機100に提供しても良い。
すなわち、制御部160は、地磁気検出値に基づき算出した方位に応じた地図の画像情報を、ナビゲーションサーバ装置402から取得して表示部155に表示させる処理を行なっても良い。
そして、この処理中に、例えばGPS信号のレベルが所定値より低くなる等により、地磁気検出値の検出精度の低下が検知された場合、制御部160は、算出した方位とは関係なく予め設定された方位の地図の画像情報をナビゲーションサーバ装置402に要求してこれを取得し、表示部155に表示させても良い。
上述の実施形態では、GPS信号に応じた位置の算出処理をGPSサーバ装置401で行っているが、これに限らず、携帯電話機100においてGPS信号から位置を求める計算を行っても良い。
上述の実施形態では、地図情報をナビゲーションサーバ装置402から取得しているが、これに限らず、地図情報を携帯電話機100の内部の記憶装置に格納しても良い。
上述の実施形態では、制御部160の処理がコンピュータによってプログラムに基づいて実行される例を示したが、これらの処理の少なくとも一部をコンピュータによらずにハードウェアで実行させることも可能である。
逆に、制御部160以外の他のユニットにおける少なくとも一部の処理を、制御部160のコンピュータにおいて実行させても良い。
また、本発明の携帯通信端末は携帯電話機に限定されない。例えば、PDA(personal digital assistants)など、通信機能を有する携帯型の端末装置に本発明は広く適用可能である。
本発明の実施形態に係る携帯電話機において地理的位置および地図の情報を取得するためのシステムの構成例を示すブロック図である。 開状態にある携帯電話機の斜視図である。 閉状態にある携帯電話機の一側面からの斜視図である。 閉状態にある携帯電話機の他の側面からの斜視図である 基板実装筐体の内部における基板実装状態を示す斜視図である。 本発明の実施形態に係る携帯電話機の構成例を示すブロック図である。 携帯電話機におけるGPS信号受信処理の一例を図解したフローチャートである。 携帯電話機におけるナビゲーション処理の一例を図解したフローチャートである。 ナビゲーションサーバ装置から送信される地図情報の一例を示す図である。 携帯電話機における表示画像の回転処理の一例を図解したフローチャートである。 方位角の算出方法を説明するための図である。 携帯電話機における方位算出処理の第1の例を図解したフローチャートである。 補正用データの一例を示す図である。 携帯電話機における方位算出処理の第2の例を図解したフローチャートである。 携帯電話機における方位算出処理の第3の例を図解したフローチャートである。 携帯電話機における方位算出処理の第4の例を図解したフローチャートである。 携帯電話機における方位算出処理の第5の例を図解したフローチャートである。 メモリカードの装着の有無に応じた地磁気センサ検出値の時間的変化の一例を示す図である。 携帯電話機における方位算出処理の第6の例を図解したフローチャートである。 地磁気検出値に異常状態が生じた場合におけるオフセット誤差補正処理の第1の例を図解したフローチャートである。 外部磁界の影響により生じた地磁気検出値の異常状態の一例を示す図である。 携帯電話機におけるオフセット誤差補正処理の第2の例を図解したフローチャートである。 携帯電話機におけるオフセット誤差補正処理の第3の例を図解したフローチャートである。 外部磁場の影響によって地磁気検出値に誤差が生じる場合における処理の第1の例を図解したフローチャートである。 外部磁場の影響によって地磁気検出値に誤差が生じる場合における処理の第2の例を図解したフローチャートである。 外部磁場の影響によって地磁気検出値に誤差が生じる場合における処理の第3の例を図解したフローチャートである。 外部磁場の影響によって地磁気検出値に誤差が生じる場合における処理の第4の例を図解したフローチャートである。 外部磁場の影響によって地磁気検出値に誤差が生じる場合における処理の第5の例を図解したフローチャートである。 外部磁場の影響によって地磁気検出値に誤差が生じる場合における処理の第6の例を図解したフローチャートである。 外部磁場の影響によって地磁気検出値に誤差が生じる場合における処理の第7の例を図解したフローチャートである。 外部磁場の影響によって地磁気検出値に誤差が生じる場合における処理の第8の例を図解したフローチャートである。 図28〜図31に示す処理において、記憶部に精度低下地域を登録する処理の一例を図解したフローチャートである。
符号の説明
2…第1筐体、3…第2の筐体、4…可動機構部、21…表示パネル、100…携帯電話機、200…GPS衛星、300…基地局、401…GPSサーバ装置、402…ナビゲーションサーバ装置、150…無線通信部、151…GPS信号受信部、152…記憶部、153…開閉判定部、154…キー入力部、155…表示部、156…音声処理部、157…撮像部、158…地磁気センサ、159…メモリカード部、160…制御部。

Claims (7)

  1. 地磁気を検出する地磁気センサと、
    表示手段と、
    上記地磁気センサの検出値に基づいて地理的方位を算出し、該算出した方位の情報を上記表示手段に表示させる制御手段と、
    着脱可能な記憶媒体と、
    上記記憶媒体が装着される記憶媒体装着手段と、
    を有する携帯通信端末であって、
    上記制御手段は、上記方位の情報を上記表示手段に表示させているときに、上記記憶媒体装着手段における上記記憶媒体の装着状態の変化を監視し、該変化を検出した場合に、上記方位の情報を補正する
    ことを特徴とする携帯通信端末。
  2. 上記記憶媒体の装着状態の変化は、上記記憶媒体装着手段に上記記憶媒体が装着された状態から上記記憶媒体装着手段に上記記憶媒体が装着されていない状態への変化、および/または上記記憶媒体装着手段に上記記憶媒体が装着されていない状態から上記記憶媒体装着手段に上記記憶媒体が装着された状態への変化である
    ことを特徴とする請求項1に記載の携帯通信端末。
  3. 上記制御手段は、上記地磁気センサの検出値に所定の補正を行い、該補正後の検出値に基づいて上記方位を再算出することにより、上記方位の情報を補正する
    ことを特徴とする請求項1または2に記載の携帯通信端末。
  4. 上記記憶媒体装着手段に上記記憶媒体が装着された状態、および、上記記憶媒体装着手段に上記記憶媒体が装着されていない状態のそれぞれにおいて、上記地磁気センサの検出値の補正に用いる補正用データを記憶した記憶手段を有し、
    上記制御手段は、上記記憶媒体の装着状態の変化を検出した場合、変化後の装着状態に応じた補正用データを上記記憶手段から読み出して、上記地磁気センサの検出値を補正する
    ことを特徴とする請求項3に記載の携帯通信端末。
  5. 上記記憶媒体装着手段に上記記憶媒体が装着された状態において上記地磁気センサの検出値の補正に用いる補正用データを記憶した記憶手段を有し、
    上記制御手段は、上記記憶媒体装着手段に上記記憶媒体が装着されていない状態から上記記憶媒体装着手段に上記記憶媒体が装着された状態への変化を検出した場合、上記補正用データを上記記憶手段から読み出して上記地磁気センサの検出値を補正する
    ことを特徴とする請求項3に記載の携帯通信端末。
  6. 上記制御手段は、上記装着状態の変化を検出してから、上記方位を再算出して該再算出した方位の情報を上記表示手段に表示させるまでの間、上記表示手段に表示される方位の情報の精度が低いことを示す情報を上記表示手段に表示させる
    ことを特徴とする請求項1に記載の携帯通信端末。
  7. 地磁気を検出する地磁気センサと、上記地磁気センサの検出値に基づいて算出される地理的方位の情報を表示する表示手段と、着脱可能な記憶媒体と、上記記憶媒体が装着される記憶媒体装着手段とを有する携帯通信端末において、上記地磁気センサの誤差を補正する地磁気センサの誤差補正方法であって、
    上記方位の情報を上記表示手段に表示させているときに、上記記憶媒体装着手段における上記記憶媒体の装着状態の変化を監視する第1の工程と、
    上記第1の工程において上記記憶媒体の装着状態の変化を検出した場合、上記方位の情報を補正する第2の工程と
    を有することを特徴とする地磁気センサの誤差補正方法。

JP2004107773A 2004-03-31 2004-03-31 携帯通信端末とその地磁気センサの誤差補正方法 Expired - Fee Related JP4213072B2 (ja)

Priority Applications (7)

Application Number Priority Date Filing Date Title
JP2004107773A JP4213072B2 (ja) 2004-03-31 2004-03-31 携帯通信端末とその地磁気センサの誤差補正方法
US10/599,535 US8155884B2 (en) 2004-03-31 2005-03-31 Bearing display apparatus and bearing display method
KR1020107007096A KR101120204B1 (ko) 2004-03-31 2005-03-31 휴대 통신 단말 및 지자기 센서 오차 보정 방법
KR1020067022877A KR100972669B1 (ko) 2004-03-31 2005-03-31 방위 표시 장치 및 방위 표시 방법
PCT/JP2005/006334 WO2005095889A1 (ja) 2004-03-31 2005-03-31 方位表示装置および方位表示方法
KR1020087024225A KR100980538B1 (ko) 2004-03-31 2005-03-31 휴대 통신 단말 및 방위 표시 방법
CN2005800166237A CN1957226B (zh) 2004-03-31 2005-03-31 移动方位计算装置及方位校正方法

Applications Claiming Priority (1)

Application Number Priority Date Filing Date Title
JP2004107773A JP4213072B2 (ja) 2004-03-31 2004-03-31 携帯通信端末とその地磁気センサの誤差補正方法

Publications (2)

Publication Number Publication Date
JP2005291936A true JP2005291936A (ja) 2005-10-20
JP4213072B2 JP4213072B2 (ja) 2009-01-21

Family

ID=35325021

Family Applications (1)

Application Number Title Priority Date Filing Date
JP2004107773A Expired - Fee Related JP4213072B2 (ja) 2004-03-31 2004-03-31 携帯通信端末とその地磁気センサの誤差補正方法

Country Status (1)

Country Link
JP (1) JP4213072B2 (ja)

Cited By (15)

* Cited by examiner, † Cited by third party
Publication number Priority date Publication date Assignee Title
WO2007086581A1 (ja) 2006-01-30 2007-08-02 Kyocera Corporation 携帯電子機器とその方位表示方法
WO2007094333A1 (ja) 2006-02-16 2007-08-23 Kyocera Corporation 音響装置
WO2007097232A1 (ja) * 2006-02-27 2007-08-30 Kyocera Corporation 携帯機器装置および携帯機器装置の方位処理方法
WO2007114235A1 (ja) 2006-03-30 2007-10-11 Kyocera Corporation 携帯電子機器及び地磁気センサ較正方法
WO2007114236A1 (ja) 2006-03-30 2007-10-11 Kyocera Corporation 携帯電子機器及び地磁気センサ較正方法
WO2007114234A1 (ja) * 2006-03-30 2007-10-11 Kyocera Corporation 電子機器、およびその制御方法
JP2007274242A (ja) * 2006-03-30 2007-10-18 Kyocera Corp 電子機器、およびその制御方法
JP2007300227A (ja) * 2006-04-27 2007-11-15 Kyocera Corp 電子機器およびその制御方法
JP2010154538A (ja) * 2010-01-25 2010-07-08 Kyocera Corp 携帯電子機器及びその制御方法
JP2012029308A (ja) * 2005-10-20 2012-02-09 Qualcomm Inc 外部デバイスの位置決めを自動的にトリガする方法および装置
US20120070137A1 (en) * 2010-09-21 2012-03-22 Casio Computer Co., Ltd. Photographing device equipped with geomagnetic sensor
JP2015022712A (ja) * 2013-07-23 2015-02-02 カシオ計算機株式会社 携帯機器およびその制御プログラム
US20160080655A1 (en) * 2014-09-11 2016-03-17 Canon Kabushiki Kaisha Image capturing apparatus capable of detecting geomagnetism, control method, and storage medium
JP2018040652A (ja) * 2016-09-07 2018-03-15 カシオ計算機株式会社 磁場計測装置、電子時計、計測磁場の補正設定方法、及びプログラム
CN114373306A (zh) * 2022-01-12 2022-04-19 中国公路工程咨询集团有限公司 基于智能道钉的车辆通过检测方法、系统及可存储介质

Cited By (34)

* Cited by examiner, † Cited by third party
Publication number Priority date Publication date Assignee Title
JP2012029308A (ja) * 2005-10-20 2012-02-09 Qualcomm Inc 外部デバイスの位置決めを自動的にトリガする方法および装置
US7950160B2 (en) 2006-01-30 2011-05-31 Kyocera Corporation Mobile electronic apparatus and bearing display method of same
WO2007086581A1 (ja) 2006-01-30 2007-08-02 Kyocera Corporation 携帯電子機器とその方位表示方法
WO2007094333A1 (ja) 2006-02-16 2007-08-23 Kyocera Corporation 音響装置
JPWO2007097232A1 (ja) * 2006-02-27 2009-07-09 京セラ株式会社 携帯機器装置および携帯機器装置の方位処理方法
WO2007097232A1 (ja) * 2006-02-27 2007-08-30 Kyocera Corporation 携帯機器装置および携帯機器装置の方位処理方法
KR101126878B1 (ko) * 2006-02-27 2012-03-19 교세라 가부시키가이샤 휴대기기 장치 및 휴대기기 장치의 방위 처리 방법
JP4890533B2 (ja) * 2006-02-27 2012-03-07 京セラ株式会社 携帯機器装置および携帯機器装置の方位処理方法
US20090132198A1 (en) * 2006-02-27 2009-05-21 Kyocera Corporation Mobile Electronic Apparatus and Method for Processing Bearing of Mobile Electronic Apparatus
JP2010210638A (ja) * 2006-03-30 2010-09-24 Kyocera Corp 携帯電子機器及び地磁気センサ較正方法
WO2007114234A1 (ja) * 2006-03-30 2007-10-11 Kyocera Corporation 電子機器、およびその制御方法
JPWO2007114235A1 (ja) * 2006-03-30 2009-08-13 京セラ株式会社 携帯電子機器及び地磁気センサ較正方法
EP2009393A4 (en) * 2006-03-30 2012-11-07 Kyocera Corp MOBILE ELECTRONIC DEVICE AND METHOD FOR CALIBRATING AN ERDMAGNETIS MUST SENSOR
JP2010175553A (ja) * 2006-03-30 2010-08-12 Kyocera Corp 携帯電子機器及び地磁気センサ較正方法
JP4528342B2 (ja) * 2006-03-30 2010-08-18 京セラ株式会社 携帯電子機器及び地磁気センサ較正方法
JP4545814B2 (ja) * 2006-03-30 2010-09-15 京セラ株式会社 携帯電子機器及び地磁気センサ較正方法
US8266808B2 (en) 2006-03-30 2012-09-18 Kyocera Corporation Portable electronic apparatus and geomagnetism sensor calibration method
JP2007274242A (ja) * 2006-03-30 2007-10-18 Kyocera Corp 電子機器、およびその制御方法
US8326560B2 (en) 2006-03-30 2012-12-04 Kyocera Corporation Portable electronic apparatus and geomagnetism sensor calibration method
WO2007114236A1 (ja) 2006-03-30 2007-10-11 Kyocera Corporation 携帯電子機器及び地磁気センサ較正方法
WO2007114235A1 (ja) 2006-03-30 2007-10-11 Kyocera Corporation 携帯電子機器及び地磁気センサ較正方法
KR101220600B1 (ko) * 2006-03-30 2013-01-10 교세라 가부시키가이샤 휴대 전자 기기 및 지자기 센서 교정 방법
JPWO2007114236A1 (ja) * 2006-03-30 2009-08-13 京セラ株式会社 携帯電子機器及び地磁気センサ較正方法
US8265687B2 (en) 2006-03-30 2012-09-11 Kyocera Corporation Electronic apparatus and control method of same
JP2007300227A (ja) * 2006-04-27 2007-11-15 Kyocera Corp 電子機器およびその制御方法
JP2010154538A (ja) * 2010-01-25 2010-07-08 Kyocera Corp 携帯電子機器及びその制御方法
JP2012068022A (ja) * 2010-09-21 2012-04-05 Casio Comput Co Ltd 撮影装置
US20120070137A1 (en) * 2010-09-21 2012-03-22 Casio Computer Co., Ltd. Photographing device equipped with geomagnetic sensor
US8472796B2 (en) * 2010-09-21 2013-06-25 Casio Computer Co., Ltd. Photographing device equipped with geomagnetic sensor
JP2015022712A (ja) * 2013-07-23 2015-02-02 カシオ計算機株式会社 携帯機器およびその制御プログラム
US20160080655A1 (en) * 2014-09-11 2016-03-17 Canon Kabushiki Kaisha Image capturing apparatus capable of detecting geomagnetism, control method, and storage medium
US9800790B2 (en) * 2014-09-11 2017-10-24 Canon Kabushiki Kaisha Image capturing apparatus capable of detecting geomagnetism, control method, and storage medium
JP2018040652A (ja) * 2016-09-07 2018-03-15 カシオ計算機株式会社 磁場計測装置、電子時計、計測磁場の補正設定方法、及びプログラム
CN114373306A (zh) * 2022-01-12 2022-04-19 中国公路工程咨询集团有限公司 基于智能道钉的车辆通过检测方法、系统及可存储介质

Also Published As

Publication number Publication date
JP4213072B2 (ja) 2009-01-21

Similar Documents

Publication Publication Date Title
JP4434818B2 (ja) 携帯通信端末とその地磁気センサの誤差補正方法
JP4176040B2 (ja) 携帯通信端末とその地磁気センサの誤差補正方法
JP4213072B2 (ja) 携帯通信端末とその地磁気センサの誤差補正方法
JP4093981B2 (ja) 携帯通信端末とその情報表示方法および地磁気センサの誤差補正方法
JP4213071B2 (ja) 携帯通信端末とその地磁気センサの誤差補正方法
JP4093982B2 (ja) 携帯通信端末とその地磁気センサの誤差補正方法
KR100790603B1 (ko) 이동식 지도 표시 장치, 지도 표시 시스템 및 지도 표시방법
JP4637944B2 (ja) 携帯通信端末およびその方位情報の補正方法
JP4762501B2 (ja) 携帯通信端末とその情報表示方法および地磁気センサの誤差補正方法
KR100980538B1 (ko) 휴대 통신 단말 및 방위 표시 방법
JP4745373B2 (ja) 携帯方位算出装置と携帯方位算出装置における方位補正方法
JP4743722B2 (ja) 携帯通信端末とその地磁気センサの誤差補正方法
JP5312499B2 (ja) 携帯通信端末およびその情報表示方法

Legal Events

Date Code Title Description
A621 Written request for application examination

Free format text: JAPANESE INTERMEDIATE CODE: A621

Effective date: 20070213

TRDD Decision of grant or rejection written
A01 Written decision to grant a patent or to grant a registration (utility model)

Free format text: JAPANESE INTERMEDIATE CODE: A01

Effective date: 20080930

A01 Written decision to grant a patent or to grant a registration (utility model)

Free format text: JAPANESE INTERMEDIATE CODE: A01

A61 First payment of annual fees (during grant procedure)

Free format text: JAPANESE INTERMEDIATE CODE: A61

Effective date: 20081029

FPAY Renewal fee payment (event date is renewal date of database)

Free format text: PAYMENT UNTIL: 20111107

Year of fee payment: 3

R150 Certificate of patent or registration of utility model

Free format text: JAPANESE INTERMEDIATE CODE: R150

FPAY Renewal fee payment (event date is renewal date of database)

Free format text: PAYMENT UNTIL: 20111107

Year of fee payment: 3

FPAY Renewal fee payment (event date is renewal date of database)

Free format text: PAYMENT UNTIL: 20121107

Year of fee payment: 4

FPAY Renewal fee payment (event date is renewal date of database)

Free format text: PAYMENT UNTIL: 20121107

Year of fee payment: 4

FPAY Renewal fee payment (event date is renewal date of database)

Free format text: PAYMENT UNTIL: 20131107

Year of fee payment: 5

LAPS Cancellation because of no payment of annual fees