JP2005291886A - 湿度センサ素子の製造方法及び湿度センサ素子 - Google Patents
湿度センサ素子の製造方法及び湿度センサ素子 Download PDFInfo
- Publication number
- JP2005291886A JP2005291886A JP2004106683A JP2004106683A JP2005291886A JP 2005291886 A JP2005291886 A JP 2005291886A JP 2004106683 A JP2004106683 A JP 2004106683A JP 2004106683 A JP2004106683 A JP 2004106683A JP 2005291886 A JP2005291886 A JP 2005291886A
- Authority
- JP
- Japan
- Prior art keywords
- humidity sensor
- sensor element
- sensitive film
- moisture sensitive
- insulating substrate
- Prior art date
- Legal status (The legal status is an assumption and is not a legal conclusion. Google has not performed a legal analysis and makes no representation as to the accuracy of the status listed.)
- Withdrawn
Links
- 238000004519 manufacturing process Methods 0.000 title claims abstract description 26
- 239000000758 substrate Substances 0.000 claims abstract description 71
- 239000006185 dispersion Substances 0.000 abstract 1
- 238000005192 partition Methods 0.000 description 37
- 238000000034 method Methods 0.000 description 30
- 239000000463 material Substances 0.000 description 28
- 239000000243 solution Substances 0.000 description 25
- -1 polytetrafluoroethylene Polymers 0.000 description 16
- 238000005520 cutting process Methods 0.000 description 13
- XLYOFNOQVPJJNP-UHFFFAOYSA-N water Substances O XLYOFNOQVPJJNP-UHFFFAOYSA-N 0.000 description 13
- 230000008859 change Effects 0.000 description 12
- 230000000052 comparative effect Effects 0.000 description 12
- 230000008569 process Effects 0.000 description 10
- 230000008961 swelling Effects 0.000 description 9
- 238000000576 coating method Methods 0.000 description 8
- 150000001875 compounds Chemical class 0.000 description 8
- WABPQHHGFIMREM-UHFFFAOYSA-N lead(0) Chemical compound [Pb] WABPQHHGFIMREM-UHFFFAOYSA-N 0.000 description 8
- 229910052757 nitrogen Inorganic materials 0.000 description 7
- OKKJLVBELUTLKV-UHFFFAOYSA-N Methanol Chemical compound OC OKKJLVBELUTLKV-UHFFFAOYSA-N 0.000 description 6
- 229920001940 conductive polymer Polymers 0.000 description 6
- 239000004033 plastic Substances 0.000 description 6
- 229920003023 plastic Polymers 0.000 description 6
- 229910000077 silane Inorganic materials 0.000 description 6
- 229910000679 solder Inorganic materials 0.000 description 6
- 239000006087 Silane Coupling Agent Substances 0.000 description 5
- 239000000178 monomer Substances 0.000 description 5
- 125000004433 nitrogen atom Chemical group N* 0.000 description 5
- 229920001343 polytetrafluoroethylene Polymers 0.000 description 5
- 239000004810 polytetrafluoroethylene Substances 0.000 description 5
- 239000000126 substance Substances 0.000 description 5
- CSCPPACGZOOCGX-UHFFFAOYSA-N Acetone Chemical compound CC(C)=O CSCPPACGZOOCGX-UHFFFAOYSA-N 0.000 description 4
- 239000011248 coating agent Substances 0.000 description 4
- 229920001577 copolymer Polymers 0.000 description 4
- 239000010949 copper Substances 0.000 description 4
- 238000006073 displacement reaction Methods 0.000 description 4
- 230000002349 favourable effect Effects 0.000 description 4
- 239000011521 glass Substances 0.000 description 4
- 150000002500 ions Chemical class 0.000 description 4
- 239000002244 precipitate Substances 0.000 description 4
- 238000007650 screen-printing Methods 0.000 description 4
- XDLMVUHYZWKMMD-UHFFFAOYSA-N 3-trimethoxysilylpropyl 2-methylprop-2-enoate Chemical compound CO[Si](OC)(OC)CCCOC(=O)C(C)=C XDLMVUHYZWKMMD-UHFFFAOYSA-N 0.000 description 3
- QTBSBXVTEAMEQO-UHFFFAOYSA-N Acetic acid Chemical compound CC(O)=O QTBSBXVTEAMEQO-UHFFFAOYSA-N 0.000 description 3
- RYGMFSIKBFXOCR-UHFFFAOYSA-N Copper Chemical compound [Cu] RYGMFSIKBFXOCR-UHFFFAOYSA-N 0.000 description 3
- KFZMGEQAYNKOFK-UHFFFAOYSA-N Isopropanol Chemical compound CC(C)O KFZMGEQAYNKOFK-UHFFFAOYSA-N 0.000 description 3
- 230000015572 biosynthetic process Effects 0.000 description 3
- 239000000470 constituent Substances 0.000 description 3
- 229910052802 copper Inorganic materials 0.000 description 3
- 238000004132 cross linking Methods 0.000 description 3
- 238000001035 drying Methods 0.000 description 3
- 239000007789 gas Substances 0.000 description 3
- 239000007788 liquid Substances 0.000 description 3
- 230000000630 rising effect Effects 0.000 description 3
- YHRUOJUYPBUZOS-UHFFFAOYSA-N 1,3-dichloropropane Chemical compound ClCCCCl YHRUOJUYPBUZOS-UHFFFAOYSA-N 0.000 description 2
- FLCAEMBIQVZWIF-UHFFFAOYSA-N 6-(dimethylamino)-2-methylhex-2-enamide Chemical compound CN(C)CCCC=C(C)C(N)=O FLCAEMBIQVZWIF-UHFFFAOYSA-N 0.000 description 2
- CBENFWSGALASAD-UHFFFAOYSA-N Ozone Chemical compound [O-][O+]=O CBENFWSGALASAD-UHFFFAOYSA-N 0.000 description 2
- 239000002033 PVDF binder Substances 0.000 description 2
- 239000004813 Perfluoroalkoxy alkane Substances 0.000 description 2
- BQCADISMDOOEFD-UHFFFAOYSA-N Silver Chemical compound [Ag] BQCADISMDOOEFD-UHFFFAOYSA-N 0.000 description 2
- 125000000217 alkyl group Chemical group 0.000 description 2
- PNEYBMLMFCGWSK-UHFFFAOYSA-N aluminium oxide Inorganic materials [O-2].[O-2].[O-2].[Al+3].[Al+3] PNEYBMLMFCGWSK-UHFFFAOYSA-N 0.000 description 2
- 150000001450 anions Chemical class 0.000 description 2
- 238000007598 dipping method Methods 0.000 description 2
- SNRUBQQJIBEYMU-UHFFFAOYSA-N dodecane Chemical compound CCCCCCCCCCCC SNRUBQQJIBEYMU-UHFFFAOYSA-N 0.000 description 2
- 238000011156 evaluation Methods 0.000 description 2
- 230000004907 flux Effects 0.000 description 2
- 239000010931 gold Substances 0.000 description 2
- 125000002887 hydroxy group Chemical group [H]O* 0.000 description 2
- 230000006872 improvement Effects 0.000 description 2
- 230000000873 masking effect Effects 0.000 description 2
- 229910052751 metal Inorganic materials 0.000 description 2
- 239000002184 metal Substances 0.000 description 2
- 239000000203 mixture Substances 0.000 description 2
- KDLHZDBZIXYQEI-UHFFFAOYSA-N palladium Substances [Pd] KDLHZDBZIXYQEI-UHFFFAOYSA-N 0.000 description 2
- 229920011301 perfluoro alkoxyl alkane Polymers 0.000 description 2
- BASFCYQUMIYNBI-UHFFFAOYSA-N platinum Substances [Pt] BASFCYQUMIYNBI-UHFFFAOYSA-N 0.000 description 2
- 229920000642 polymer Polymers 0.000 description 2
- 229920002981 polyvinylidene fluoride Polymers 0.000 description 2
- 239000000047 product Substances 0.000 description 2
- 238000001226 reprecipitation Methods 0.000 description 2
- WOCIAKWEIIZHES-UHFFFAOYSA-N ruthenium(iv) oxide Chemical compound O=[Ru]=O WOCIAKWEIIZHES-UHFFFAOYSA-N 0.000 description 2
- 230000035945 sensitivity Effects 0.000 description 2
- 229910052709 silver Inorganic materials 0.000 description 2
- 239000004332 silver Substances 0.000 description 2
- 230000002194 synthesizing effect Effects 0.000 description 2
- RNXPZVYZVHJVHM-UHFFFAOYSA-N 1,12-dichlorododecane Chemical compound ClCCCCCCCCCCCCCl RNXPZVYZVHJVHM-UHFFFAOYSA-N 0.000 description 1
- VEFLKXRACNJHOV-UHFFFAOYSA-N 1,3-dibromopropane Chemical compound BrCCCBr VEFLKXRACNJHOV-UHFFFAOYSA-N 0.000 description 1
- JKNCOURZONDCGV-UHFFFAOYSA-N 2-(dimethylamino)ethyl 2-methylprop-2-enoate Chemical compound CN(C)CCOC(=O)C(C)=C JKNCOURZONDCGV-UHFFFAOYSA-N 0.000 description 1
- DPBJAVGHACCNRL-UHFFFAOYSA-N 2-(dimethylamino)ethyl prop-2-enoate Chemical compound CN(C)CCOC(=O)C=C DPBJAVGHACCNRL-UHFFFAOYSA-N 0.000 description 1
- ZNQVEEAIQZEUHB-UHFFFAOYSA-N 2-ethoxyethanol Chemical compound CCOCCO ZNQVEEAIQZEUHB-UHFFFAOYSA-N 0.000 description 1
- DOYKFSOCSXVQAN-UHFFFAOYSA-N 3-[diethoxy(methyl)silyl]propyl 2-methylprop-2-enoate Chemical compound CCO[Si](C)(OCC)CCCOC(=O)C(C)=C DOYKFSOCSXVQAN-UHFFFAOYSA-N 0.000 description 1
- LZMNXXQIQIHFGC-UHFFFAOYSA-N 3-[dimethoxy(methyl)silyl]propyl 2-methylprop-2-enoate Chemical compound CO[Si](C)(OC)CCCOC(=O)C(C)=C LZMNXXQIQIHFGC-UHFFFAOYSA-N 0.000 description 1
- URDOJQUSEUXVRP-UHFFFAOYSA-N 3-triethoxysilylpropyl 2-methylprop-2-enoate Chemical compound CCO[Si](OCC)(OCC)CCCOC(=O)C(C)=C URDOJQUSEUXVRP-UHFFFAOYSA-N 0.000 description 1
- KBQVDAIIQCXKPI-UHFFFAOYSA-N 3-trimethoxysilylpropyl prop-2-enoate Chemical compound CO[Si](OC)(OC)CCCOC(=O)C=C KBQVDAIIQCXKPI-UHFFFAOYSA-N 0.000 description 1
- CPELXLSAUQHCOX-UHFFFAOYSA-M Bromide Chemical compound [Br-] CPELXLSAUQHCOX-UHFFFAOYSA-M 0.000 description 1
- 229910000906 Bronze Inorganic materials 0.000 description 1
- VEXZGXHMUGYJMC-UHFFFAOYSA-M Chloride anion Chemical compound [Cl-] VEXZGXHMUGYJMC-UHFFFAOYSA-M 0.000 description 1
- LFQSCWFLJHTTHZ-UHFFFAOYSA-N Ethanol Chemical compound CCO LFQSCWFLJHTTHZ-UHFFFAOYSA-N 0.000 description 1
- KRHYYFGTRYWZRS-UHFFFAOYSA-M Fluoride anion Chemical compound [F-] KRHYYFGTRYWZRS-UHFFFAOYSA-M 0.000 description 1
- YCKRFDGAMUMZLT-UHFFFAOYSA-N Fluorine atom Chemical compound [F] YCKRFDGAMUMZLT-UHFFFAOYSA-N 0.000 description 1
- OAICVXFJPJFONN-UHFFFAOYSA-N Phosphorus Chemical compound [P] OAICVXFJPJFONN-UHFFFAOYSA-N 0.000 description 1
- 239000004642 Polyimide Substances 0.000 description 1
- 239000004809 Teflon Substances 0.000 description 1
- 229920006362 Teflon® Polymers 0.000 description 1
- IHWJXGQYRBHUIF-UHFFFAOYSA-N [Ag].[Pt] Chemical compound [Ag].[Pt] IHWJXGQYRBHUIF-UHFFFAOYSA-N 0.000 description 1
- 125000003647 acryloyl group Chemical group O=C([*])C([H])=C([H])[H] 0.000 description 1
- 125000005370 alkoxysilyl group Chemical group 0.000 description 1
- 229910045601 alloy Inorganic materials 0.000 description 1
- 239000000956 alloy Substances 0.000 description 1
- 238000013459 approach Methods 0.000 description 1
- 239000007864 aqueous solution Substances 0.000 description 1
- 230000001174 ascending effect Effects 0.000 description 1
- 229940006460 bromide ion Drugs 0.000 description 1
- 239000010974 bronze Substances 0.000 description 1
- 239000000919 ceramic Substances 0.000 description 1
- 238000006243 chemical reaction Methods 0.000 description 1
- KUNSUQLRTQLHQQ-UHFFFAOYSA-N copper tin Chemical compound [Cu].[Sn] KUNSUQLRTQLHQQ-UHFFFAOYSA-N 0.000 description 1
- 230000006866 deterioration Effects 0.000 description 1
- 239000012153 distilled water Substances 0.000 description 1
- 238000004453 electron probe microanalysis Methods 0.000 description 1
- 239000003822 epoxy resin Substances 0.000 description 1
- FWDBOZPQNFPOLF-UHFFFAOYSA-N ethenyl(triethoxy)silane Chemical compound CCO[Si](OCC)(OCC)C=C FWDBOZPQNFPOLF-UHFFFAOYSA-N 0.000 description 1
- NKSJNEHGWDZZQF-UHFFFAOYSA-N ethenyl(trimethoxy)silane Chemical compound CO[Si](OC)(OC)C=C NKSJNEHGWDZZQF-UHFFFAOYSA-N 0.000 description 1
- 229910052731 fluorine Inorganic materials 0.000 description 1
- 239000011737 fluorine Substances 0.000 description 1
- 229920002313 fluoropolymer Polymers 0.000 description 1
- 239000004811 fluoropolymer Substances 0.000 description 1
- 125000000524 functional group Chemical group 0.000 description 1
- PCHJSUWPFVWCPO-UHFFFAOYSA-N gold Chemical compound [Au] PCHJSUWPFVWCPO-UHFFFAOYSA-N 0.000 description 1
- 229910052737 gold Inorganic materials 0.000 description 1
- 238000007646 gravure printing Methods 0.000 description 1
- 238000010438 heat treatment Methods 0.000 description 1
- 238000007654 immersion Methods 0.000 description 1
- 229920000831 ionic polymer Polymers 0.000 description 1
- 229910044991 metal oxide Inorganic materials 0.000 description 1
- 150000004706 metal oxides Chemical class 0.000 description 1
- TXXWBTOATXBWDR-UHFFFAOYSA-N n,n,n',n'-tetramethylhexane-1,6-diamine Chemical compound CN(C)CCCCCCN(C)C TXXWBTOATXBWDR-UHFFFAOYSA-N 0.000 description 1
- 239000012299 nitrogen atmosphere Substances 0.000 description 1
- 229910052763 palladium Inorganic materials 0.000 description 1
- FYJQJMIEZVMYSD-UHFFFAOYSA-N perfluoro-2-butyltetrahydrofuran Chemical compound FC(F)(F)C(F)(F)C(F)(F)C(F)(F)C1(F)OC(F)(F)C(F)(F)C1(F)F FYJQJMIEZVMYSD-UHFFFAOYSA-N 0.000 description 1
- 230000002093 peripheral effect Effects 0.000 description 1
- 239000005011 phenolic resin Substances 0.000 description 1
- 239000004014 plasticizer Substances 0.000 description 1
- 229910052697 platinum Inorganic materials 0.000 description 1
- 229920000647 polyepoxide Polymers 0.000 description 1
- 229920001721 polyimide Polymers 0.000 description 1
- 239000003505 polymerization initiator Substances 0.000 description 1
- 239000010453 quartz Substances 0.000 description 1
- 230000009257 reactivity Effects 0.000 description 1
- 229920005989 resin Polymers 0.000 description 1
- 239000011347 resin Substances 0.000 description 1
- 229910001925 ruthenium oxide Inorganic materials 0.000 description 1
- 229920006395 saturated elastomer Polymers 0.000 description 1
- 229910052710 silicon Inorganic materials 0.000 description 1
- 239000010703 silicon Substances 0.000 description 1
- VYPSYNLAJGMNEJ-UHFFFAOYSA-N silicon dioxide Inorganic materials O=[Si]=O VYPSYNLAJGMNEJ-UHFFFAOYSA-N 0.000 description 1
- 238000005245 sintering Methods 0.000 description 1
- 239000002904 solvent Substances 0.000 description 1
- 229920002554 vinyl polymer Polymers 0.000 description 1
Images
Landscapes
- Investigating Or Analyzing Materials By The Use Of Fluid Adsorption Or Reactions (AREA)
- Investigating Or Analyzing Materials By The Use Of Electric Means (AREA)
Abstract
【課題】 初期出力のバラツキを低減できる湿度センサ素子の製造方法及び湿度センサ素子を提供する。
【解決手段】 本発明の湿度センサ素子は、絶縁基板1の一面1a上に、互いに対向するように設けられた一対の電極3と、一対の電極3上に設けられた感湿膜9とを備える。この感湿膜9は、一対の電極3間のギャップ17上に設けられる非盛り上がり部9cと、非盛り上がり部9cの外側に非盛り上がり部9cに隣接して設けられる盛り上がり部9a,9bとを有する。
【選択図】 図1
【解決手段】 本発明の湿度センサ素子は、絶縁基板1の一面1a上に、互いに対向するように設けられた一対の電極3と、一対の電極3上に設けられた感湿膜9とを備える。この感湿膜9は、一対の電極3間のギャップ17上に設けられる非盛り上がり部9cと、非盛り上がり部9cの外側に非盛り上がり部9cに隣接して設けられる盛り上がり部9a,9bとを有する。
【選択図】 図1
Description
本発明は、湿度センサ素子の製造方法及び湿度センサ素子に係り、より詳細には抵抗変化型湿度センサ素子の製造方法及び湿度センサ素子に関する。
気体中の相対湿度の変化を電気抵抗の変化として湿度の値を測定する抵抗変化型湿度センサ素子が知られている。この抵抗変化型湿度センサ素子は一般に、絶縁基板と、絶縁基板の一面上に形成される一対の電極と、一対の電極上に設けられる感湿膜とを備えている。
このような湿度センサ素子の製造方法として、絶縁基板上の一対の電極の周囲にダムを形成し、このダムの内側であって絶縁基板上に感湿膜を形成することにより、感湿膜の膜厚が十分で感度が高い湿度センサ素子を作製する方法が提案されている(例えば特許文献1参照)。
特開2002−214180号公報(図8)
本発明者らは、前述した特許文献1に記載の湿度センサ素子では、得られる湿度センサ素子ごとの初期出力のバラツキを小さくできるものの、製造歩留まりをより一層向上させる観点からは、この初期出力のバラツキについて未だ改良の余地があることを見出した。さらに、本発明者らは、このような初期出力のバラツキが、上記ダムを形成しない場合であっても改良の必要があることも見出した。
本発明は、上記事情に鑑みてなされたものであり、初期出力のバラツキを低減できる湿度センサ素子の製造方法及び湿度センサ素子を提供することを目的とする。
本発明者らは、上記のように初期出力にバラツキが生じる原因について検討した結果、感湿膜の周縁部に、中央部より膜厚の大きい盛り上がり部が存在し、この盛り上がり部と一対の電極間のギャップとの位置関係によって、湿度センサ素子における初期出力のバラツキの程度が左右されることを見出した。そして、本発明者らは、更に鋭意検討を重ねた結果、以下の発明により上記課題を解決し得ることを見出した。
すなわち、本発明の湿度センサ素子の製造方法は、絶縁基板の一面上に、互いに対向するように形成された一対の電極上に感湿膜を形成する感湿膜形成工程を含む湿度センサ素子の製造方法であって、感湿膜形成工程において、一対の電極間のギャップ上に非盛り上がり部が形成され、非盛り上がり部の外側に非盛り上がり部に隣接して盛り上がり部が形成されるように感湿膜を形成することを特徴とする。
一般に、湿度センサ素子では、感湿膜のうち、一対の電極間のギャップ上に位置する部分における抵抗変化が検出される。したがって、このギャップ上に位置する感湿膜の膜厚のバラツキが大きいと、湿度センサ素子の初期出力のバラツキも大きくなる。本発明の湿度センサ素子の製造方法では、このギャップ上に、盛り上がり部に比べて膜厚にバラツキが生じ難い非盛り上がり部を形成し、その外側に隣接して盛り上がり部を形成するように感湿膜を形成する。このため、目的の初期出力を有する湿度センサ素子、すなわち良好な出力特性を有する湿度センサ素子が得られる。言い換えると、得られる湿度センサ素子の初期出力のバラツキを低減できる。
また、本発明の湿度センサ素子は、絶縁基板の一面上に、互いに対向するように設けられた一対の電極と、一対の電極上に設けられた感湿膜とを備える湿度センサ素子であって、感湿膜が、一対の電極間のギャップ上に設けられる非盛り上がり部と、非盛り上がり部の外側に非盛り上がり部に隣接して設けられる盛り上がり部とを有することを特徴とする。
本発明の湿度センサ素子では、一対の電極間のギャップ上に非盛り上がり部が設けられて、その外側に隣接して盛り上がり部が設けられている。このため、本発明の湿度センサ素子によれば、良好な出力特性が得られる。
上記湿度センサ素子においては、非盛り上がり部の膜厚が均一であると好ましい。この場合、より良好な出力特性が得られる。
あるいは、上記湿度センサ素子においては、電極上に設けられた非盛り上がり部の膜厚と、一対の電極間のギャップ上に設けられた非盛り上がり部の膜厚とが同一であることが好ましい。
また、上記湿度センサ素子では、盛り上がり部の稜線の前記一面への投影稜線から一対の電極間のギャップまでの最短距離が50μm以上であると好ましい。この場合、上記最短距離が50μm未満の場合に比べて、湿度センサ素子についてより良好な出力特性が得られる。
本発明による湿度センサ素子の製造方法によれば、湿度センサ素子の初期出力のバラツキを低減できる。また、本発明による湿度センサ素子によれば、より良好な出力特性が得られる。
以下、図面とともに本発明の好適実施形態に係る湿度センサ素子及びその製造方法について詳細に説明する。なお、全図面中、同一又は同等の要素には同一符号を用い、重複する説明を省略する。
(湿度センサ素子)
図1は、本発明の好適な実施形態に係る湿度センサ素子100を模式的に示す平面図である。図2は、図1のII−II線に沿った概略断面図である。
図1は、本発明の好適な実施形態に係る湿度センサ素子100を模式的に示す平面図である。図2は、図1のII−II線に沿った概略断面図である。
図1に示すように、湿度センサ素子100は絶縁基板1を有し、絶縁基板1の一面1a上に一対の櫛形電極3が設けられている。一対の櫛形電極3は、一定のギャップGを介して互いに噛み合うように対向配置されている。各櫛形電極3の端部には端子2が接続されている。一対の櫛形電極3上には、下地膜7が設けられており、この下地膜7上に感湿膜9が設けられている。下地膜7は、感湿膜9を絶縁基板1に強固に固定させ、絶縁基板1からの感湿膜9の剥離を十分に防止するためのものである。下地膜7の膜厚は、0.1μm以下であると好ましい。
感湿膜9は、一対の櫛形電極3間のギャップ17上に設けられる非盛り上がり部9cと、非盛り上がり部9cに隣接して非盛り上がり部9cの外側に分離して設けられた一対の盛り上がり部9a,9bとを有する。一対の盛り上がり部9a,9bは互いに平行に配置されている。湿度センサ素子100では、感湿膜9のうち、ギャップ17上に設けられた非盛り上がり部9cの抵抗変化が検出される。
また、絶縁基板1の一面1a上においては、感湿膜9の一対の盛り上がり部9a,9bの外側に一対の仕切り部5a、5bが分離して配置されている。一対の端子2は、仕切り部5aに対して感湿膜9と反対側に設けられている。すなわち、この仕切り部5aによって、端子2と感湿膜9とが仕切られている。
以下、湿度センサ素子100のより具体的な構成について説明する。
(絶縁基板)
絶縁基板1としては、例えば、ガラス基板、アルミナ基板、石英基板、熱酸化シリコンからなる基板、プラスチック材料を主成分とする基板、水酸基を有する樹脂により被覆された金属基板等を用いることができる。これらのうち、プラスチック材料を主成分とする基板が好ましい。プラスチック材料を主成分とする基板を用いることにより、プラスチック材料以外の材料を主成分とする基板を用いる場合と比べて、湿度センサ素子の軽量化、及び耐衝撃性の向上を図ることができる。このプラスチック材料としては、湿度センサ素子の軽量化及び耐衝撃性の向上を図ることができ且つ耐熱温度が感湿膜9の熱処理温度以上であれば、公知の材料を用いることができ、例えば、ポリイミド、フッ素高分子、フェノール樹脂、エポキシ樹脂等を用いることができる。湿度センサ素子100の感度を高めるためには、このプラスチック材料は、感湿膜9より吸湿性が低いことが好ましい。なお、機械的強度や絶縁特性の安定性を考慮した場合、絶縁基板1としては、アルミナ基板が好ましい。
絶縁基板1としては、例えば、ガラス基板、アルミナ基板、石英基板、熱酸化シリコンからなる基板、プラスチック材料を主成分とする基板、水酸基を有する樹脂により被覆された金属基板等を用いることができる。これらのうち、プラスチック材料を主成分とする基板が好ましい。プラスチック材料を主成分とする基板を用いることにより、プラスチック材料以外の材料を主成分とする基板を用いる場合と比べて、湿度センサ素子の軽量化、及び耐衝撃性の向上を図ることができる。このプラスチック材料としては、湿度センサ素子の軽量化及び耐衝撃性の向上を図ることができ且つ耐熱温度が感湿膜9の熱処理温度以上であれば、公知の材料を用いることができ、例えば、ポリイミド、フッ素高分子、フェノール樹脂、エポキシ樹脂等を用いることができる。湿度センサ素子100の感度を高めるためには、このプラスチック材料は、感湿膜9より吸湿性が低いことが好ましい。なお、機械的強度や絶縁特性の安定性を考慮した場合、絶縁基板1としては、アルミナ基板が好ましい。
(端子)
端子2は、絶縁基板1上に設けられた電極パッド11と、電極パッド11に対して電気的に接続されたリード線13とを有している。電極パッド11は、半田15を介してリード線13と電気的に接続されている。
端子2は、絶縁基板1上に設けられた電極パッド11と、電極パッド11に対して電気的に接続されたリード線13とを有している。電極パッド11は、半田15を介してリード線13と電気的に接続されている。
なお、リード線13は、本体部13aの途中から分岐する挟持部13bを有しており、挟持部13bと本体部13aの先端部13cとによって絶縁基板1の縁及び電極パッド11が挟まれており、これによりリード線13が櫛形電極3に強固に固定されることになる。
電極パッド11の構成材料としては、半田との相溶性のある材料が好ましい。かかる材料としては、例えば銅(Cu)、銀(Ag)−パラジウム(Pd)合金、銀(Ag)−白金(Pt)等が挙げられる。より具体的には、電極パッド11は、銀−白金でコーティングされた銅パッドからなる。
リード線13の構成材料としては、例えば、リン青銅、銅等が挙げられる。
(櫛形電極)
一対の櫛形電極3は、例えば、金(Au)等の金属や酸化ルテニウム(RuO2)等の金属酸化物等により構成されている。なお、櫛形電極3は、必要に応じて、例えば、ガラスフリットを含有する低抵抗ペーストがスクリーン印刷された後に高温焼結された焼結体により構成される場合もある。特に、下地膜7との密着性を考慮すれば、例えば、櫛形電極3は、表面に水酸基を有する酸化ルテニウムにより構成されているのが好ましい。
一対の櫛形電極3は、例えば、金(Au)等の金属や酸化ルテニウム(RuO2)等の金属酸化物等により構成されている。なお、櫛形電極3は、必要に応じて、例えば、ガラスフリットを含有する低抵抗ペーストがスクリーン印刷された後に高温焼結された焼結体により構成される場合もある。特に、下地膜7との密着性を考慮すれば、例えば、櫛形電極3は、表面に水酸基を有する酸化ルテニウムにより構成されているのが好ましい。
(仕切り部)
仕切り部5a、5bは、感湿膜9を形成するための感湿膜形成溶液に対して撥液性を有する材料から構成されることが好ましい。感湿膜形成溶液に対して高い撥液性を有する材料としては、フッ素樹脂等が挙げられる。仕切り部5a、5bがフッ素樹脂から形成されていると、フッ素樹脂以外の材料から形成されている場合に比べて、感湿膜9の膜厚を大きくできるとともに、感湿膜9の膜厚の面内バラツキを低減できる。フッ素樹脂としては、例えばポリテトラフルオロエチレン(PTFE)、パーフルオロアルコキシアルカン(PFA)、パーフルオロエチレンプロペンコーポリマー(PFEP)、ポリテトラフルオロエチレン−パーフルオロジオキソールポリマー(TFE/PDD)、ポリビニルフルオライド(PVF)、ポリビニリデンフルオライド(PVDF)又はこれらの誘導体等が挙げられる。
仕切り部5a、5bは、感湿膜9を形成するための感湿膜形成溶液に対して撥液性を有する材料から構成されることが好ましい。感湿膜形成溶液に対して高い撥液性を有する材料としては、フッ素樹脂等が挙げられる。仕切り部5a、5bがフッ素樹脂から形成されていると、フッ素樹脂以外の材料から形成されている場合に比べて、感湿膜9の膜厚を大きくできるとともに、感湿膜9の膜厚の面内バラツキを低減できる。フッ素樹脂としては、例えばポリテトラフルオロエチレン(PTFE)、パーフルオロアルコキシアルカン(PFA)、パーフルオロエチレンプロペンコーポリマー(PFEP)、ポリテトラフルオロエチレン−パーフルオロジオキソールポリマー(TFE/PDD)、ポリビニルフルオライド(PVF)、ポリビニリデンフルオライド(PVDF)又はこれらの誘導体等が挙げられる。
(下地膜)
下地膜7は、例えば、シランカップリング剤(シラン化合物)により構成されている。このシランカップリング剤は、例えば、反応性の異なる2種類の官能基としてアルコキシシリル基と不飽和反応性基(例えばエチレン性不飽和反応性基)を含むアクリル系化合物である。より具体的には、3−メタクリロキシプロピルメチルジメトキシシラン、3−メタクリロキシプロピルトリメトキシシラン、3−メタクリロキシプロピルメチルジエトキシシラン、3−メタクリロキシプロピルトリエトキシシラン、3−アクリロキシプロピルトリメトキシシラン、ビニルトリメトキシシラン、ビニルトリエトキシシラン等が挙げられる。
下地膜7は、例えば、シランカップリング剤(シラン化合物)により構成されている。このシランカップリング剤は、例えば、反応性の異なる2種類の官能基としてアルコキシシリル基と不飽和反応性基(例えばエチレン性不飽和反応性基)を含むアクリル系化合物である。より具体的には、3−メタクリロキシプロピルメチルジメトキシシラン、3−メタクリロキシプロピルトリメトキシシラン、3−メタクリロキシプロピルメチルジエトキシシラン、3−メタクリロキシプロピルトリエトキシシラン、3−アクリロキシプロピルトリメトキシシラン、ビニルトリメトキシシラン、ビニルトリエトキシシラン等が挙げられる。
(感湿膜)
感湿膜9を構成する材料は感湿材料であり、気体中の水分量に応じて抵抗値が変化するものであれば特に制限されず、イオン性重合体(イオン導電性高分子)等が用いられる。感湿膜9を構成する材料として、例えば、感湿材料の架橋物を用いてもよい。感湿材料は、例えば、シランカップリング剤と結合可能なイオン導電性高分子(導電性ポリマー)により構成される。このイオン導電性高分子は、例えば、反応基として不飽和反応性基(例えばエチレン性不飽和反応性基)を含むものであり、具体的には、化1に示したモノマー及び化2に示したモノマーのうちの少なくとも1種以上が共重合された共重合体により構成されている。
感湿膜9を構成する材料は感湿材料であり、気体中の水分量に応じて抵抗値が変化するものであれば特に制限されず、イオン性重合体(イオン導電性高分子)等が用いられる。感湿膜9を構成する材料として、例えば、感湿材料の架橋物を用いてもよい。感湿材料は、例えば、シランカップリング剤と結合可能なイオン導電性高分子(導電性ポリマー)により構成される。このイオン導電性高分子は、例えば、反応基として不飽和反応性基(例えばエチレン性不飽和反応性基)を含むものであり、具体的には、化1に示したモノマー及び化2に示したモノマーのうちの少なくとも1種以上が共重合された共重合体により構成されている。
化1として示したモノマーは、例えば、アミン化合物とジハロゲン化合物とが合成されたものである。アミン化合物としては、例えば、メタクリル酸ジメチルアミノエチルエステルやアクリル酸ジメチルアミノエチルエステル等が挙げられ、ジハロゲン化合物としては、例えば、1,3−ジクロロプロパンや1,3−ジブロモプロパン等が挙げられる。一方、化2として示したモノマーは、例えば、ジアミン化合物とジハロゲン化合物とが合成されて中間体が形成された後、その中間体と所定の化合物とが合成されたものである。ジアミン化合物としては、例えば、N,N,N’,N’−テトラメチル−1,6−ヘキサンジアミン等が挙げられ、ジハロゲン化合物としては、例えば、1,3−ジクロロプロパンや1,12−ジブロモドデカン等が挙げられ、所定の化合物としては、例えば、ジメチルアミノプロピルメタクリルアミド等が挙げられる。
ところで、一般に、湿度センサ素子では、感湿膜のうち、一対の電極間のギャップ上に位置する部分における抵抗変化が検出される。したがって、このギャップ上に位置する感湿膜の膜厚のバラツキが大きいと、湿度センサ素子の初期出力のバラツキも大きくなるおそれがあり、盛り上がり部がギャップ上に設けられていると、ギャップ上における感湿膜の膜厚のバラツキが大きくなる。
本実施形態に係る湿度センサ素子100では、上述したように、ギャップ17上に非盛り上がり部9cが設けられて、その外側に隣接して盛り上がり部9a,9bが設けられている。このため、本実施形態に係る湿度センサ素子100によれば、初期出力のバラツキが低減される。言い換えると、湿度センサ素子100によれば、良好な出力特性が得られる。なお、盛り上がり部9a,9bの最大膜厚と非盛り上がり部9cの最大膜厚との差は、1〜10μmであると好ましい。
また、湿度センサ素子100においては、非盛り上がり部9cの膜厚D1が均一であると好ましい。この場合、より良好な出力特性が得られる。あるいは、電極3上における非盛り上がり部9cの膜厚D1とギャップ17上における非盛り上がり部9cの膜厚D1が同一であると好ましい。
また、図2に示すように、湿度センサ素子100では、盛り上がり部9aにおける稜線9dの一面1aへの投影稜線9fからギャップ17までの最短距離D2が50μm以上であると好ましい。この場合、最短距離D2が50μm未満の場合に比べて、より良好な出力特性が得られる。さらに、最短距離D2が100μm以上であるとより好ましい。この場合、最短距離D2が100μm未満の場合に比べて、更に良好な出力特性が得られる。
また、湿度センサ素子100では、仕切り部5bから電極3までの最短距離D4は、150μm以上であると好ましい。最短距離D4が150μm以上であると、最短距離D4が150μm未満の場合に比べて湿度センサ素子100の出力特性をより向上できる。この最短距離D4を調整することにより、上記最短距離D2を調整することができる。例えば、最短距離D4を大きくすれば、最短距離D2を大きくすることができる。
同様に、盛り上がり部9bにおける稜線9eの一面1aへの投影稜線9gからギャップ17までの最短距離D3が50μm以上であると好ましい。この場合、最短距離D3が50μm未満の場合に比べて、より良好な出力特性が得られる。さらに、最短距離D3が100μm以上であるとより好ましい。この場合、最短距離D3が100μm未満の場合に比べて、更に良好な出力特性が得られる。
また、仕切り部5aから電極3までの最短距離D5は、150μm以上であると好ましい。最短距離D5が150μm以上であると、最短距離D5が150μm未満の場合に比べて湿度センサ素子100の出力特性をより向上できる。この最短距離D5を調整することにより、上記最短距離D3を調整することができる。例えば、最短距離D5を大きくすれば、最短距離D3を大きくすることができる。
(湿度センサ素子の製造方法)
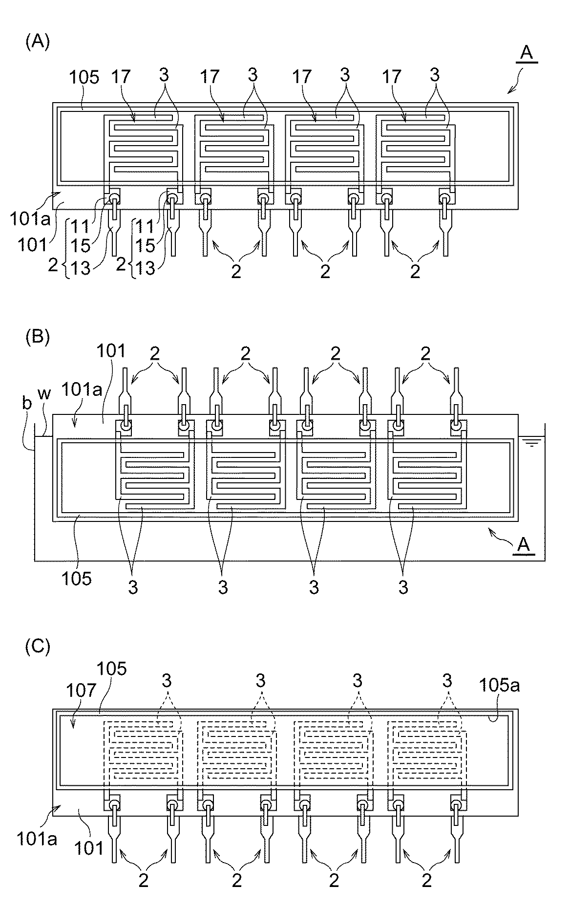
次に、図1、図2、図3(A)〜図3(C)、図4(A)及び図4(B)を参照して、上述した湿度センサ素子100の製造方法について説明する。図3(A)〜図3(C)、図4(A)及び図4(B)は、それぞれ湿度センサ素子100の製造工程を示す概略図である。
次に、図1、図2、図3(A)〜図3(C)、図4(A)及び図4(B)を参照して、上述した湿度センサ素子100の製造方法について説明する。図3(A)〜図3(C)、図4(A)及び図4(B)は、それぞれ湿度センサ素子100の製造工程を示す概略図である。
(櫛形電極及び端子形成工程)
まず、図3(A)に示す構造体Aを準備する。ここで、構造体Aは、絶縁基板101の一面101a上に、一列に配列された複数対の櫛形電極3と、各櫛形電極3に電気的に接続された一対の端子2と、各櫛形電極3によって構成されるギャップ17を取り囲む環状仕切り部105とを備えたものである。
まず、図3(A)に示す構造体Aを準備する。ここで、構造体Aは、絶縁基板101の一面101a上に、一列に配列された複数対の櫛形電極3と、各櫛形電極3に電気的に接続された一対の端子2と、各櫛形電極3によって構成されるギャップ17を取り囲む環状仕切り部105とを備えたものである。
構造体Aを製造するためにはまず絶縁基板101を用意する。絶縁基板101は、必要に応じて公知の方法により洗浄及び乾燥されてもよい。
続いて、絶縁基板101の一面101a上に、絶縁基板101の縁部に沿って、複数対の電極パッド11を一列に配列して形成する。その後、各対の電極パッド11に対して一対の櫛形電極3を接続する。これにより、複数対の櫛形電極3が、電極パッド11と同様に一列に配列される。ここで、櫛形電極3は、例えば、ガラスフリットを含有する低抵抗ペーストをスクリーン印刷した後に高温焼結して得ることができる。
続いて、電極パッド11にリード線13を取り付ける。その後、図3(A)に示すように、半田15によりリード線13を電極パッド11に固定する。なお、この後、必要に応じて、例えば半田フラックスを除去するためにリード線13の周辺をアルコール洗浄してもよい。このようにして、櫛形電極3に電気的に接続された端子2が形成される。
(仕切り部形成工程)
次に、図3(A)に示されるように、絶縁基板101の一面101a上に環状仕切り部105を形成する。環状仕切り部105は、ギャップ17が内側に配置され複数対の端子2が外側に配置されるようにギャップ17を取り囲む。環状仕切り部105の形成は、例えばディスペンサ法を用いてフッ素樹脂を環状に塗布した後に乾燥させることで行うことができる。ディスペンサ法を用いると、櫛形電極3及びギャップ17上にマスキング材等を塗布する必要がないので、可塑剤等の有機物が櫛形電極3及びギャップ17上に残存することがない。このため、マスキング材等に起因する異物の混入を防止できると共に、かかる異物に起因する感湿膜9の剥離及び湿度センサ素子100の特性劣化を十分に防止できる。こうして構造体Aが得られる。
次に、図3(A)に示されるように、絶縁基板101の一面101a上に環状仕切り部105を形成する。環状仕切り部105は、ギャップ17が内側に配置され複数対の端子2が外側に配置されるようにギャップ17を取り囲む。環状仕切り部105の形成は、例えばディスペンサ法を用いてフッ素樹脂を環状に塗布した後に乾燥させることで行うことができる。ディスペンサ法を用いると、櫛形電極3及びギャップ17上にマスキング材等を塗布する必要がないので、可塑剤等の有機物が櫛形電極3及びギャップ17上に残存することがない。このため、マスキング材等に起因する異物の混入を防止できると共に、かかる異物に起因する感湿膜9の剥離及び湿度センサ素子100の特性劣化を十分に防止できる。こうして構造体Aが得られる。
(水処理工程)
次に、図3(B)に示されるように、水槽bに収容された水wに、構造体Aを浸漬させる。このとき、複数対の端子2が水wに浸漬しないようにすると好ましい。これにより絶縁基板101の一面101aと水wとが接触する。また構造体Aを水wに浸漬させている間は、必要に応じて超音波をかける。その後、構造体Aを水wから引き上げて乾燥させる。
次に、図3(B)に示されるように、水槽bに収容された水wに、構造体Aを浸漬させる。このとき、複数対の端子2が水wに浸漬しないようにすると好ましい。これにより絶縁基板101の一面101aと水wとが接触する。また構造体Aを水wに浸漬させている間は、必要に応じて超音波をかける。その後、構造体Aを水wから引き上げて乾燥させる。
(下地膜形成工程)
次に、図3(C)に示されるように、絶縁基板101の一面101a上であって環状仕切り部105の内側に下地膜107を形成する。下地膜107は、環状仕切り部105の内側の面105aに接するように形成する。下地膜107は、例えば下地膜形成用溶液を絶縁基板101上に塗布した後に乾燥することで形成することができる。この場合、下地膜107の厚さは環状仕切り部105に近づくにつれて厚くなる傾向にある。下地膜形成用溶液の塗布方法としては、浸漬法等を用いることができる。なお、こうして形成される下地膜107の厚さは、EPMA等を用いて解析することができる。
次に、図3(C)に示されるように、絶縁基板101の一面101a上であって環状仕切り部105の内側に下地膜107を形成する。下地膜107は、環状仕切り部105の内側の面105aに接するように形成する。下地膜107は、例えば下地膜形成用溶液を絶縁基板101上に塗布した後に乾燥することで形成することができる。この場合、下地膜107の厚さは環状仕切り部105に近づくにつれて厚くなる傾向にある。下地膜形成用溶液の塗布方法としては、浸漬法等を用いることができる。なお、こうして形成される下地膜107の厚さは、EPMA等を用いて解析することができる。
下地膜形成用溶液は、上述のシラン化合物を含むと好ましい。この下地膜形成用溶液を用いて下地膜107を形成すると、絶縁基板101と下地膜107との接着性が向上する。
(感湿膜形成工程)
次に、図4(A)に示されるように、下地膜107上であって環状仕切り部105の内側に感湿膜109を形成する。より詳細には、ギャップ17上に非盛り上がり部109cが形成され、非盛り上がり部109cの外周に盛り上がり部109aが形成されるように感湿膜109を形成する。このとき、盛り上がり部109aは、環状仕切り部105の内側に沿って、非盛り上がり部109cを取り囲むように形成される。
次に、図4(A)に示されるように、下地膜107上であって環状仕切り部105の内側に感湿膜109を形成する。より詳細には、ギャップ17上に非盛り上がり部109cが形成され、非盛り上がり部109cの外周に盛り上がり部109aが形成されるように感湿膜109を形成する。このとき、盛り上がり部109aは、環状仕切り部105の内側に沿って、非盛り上がり部109cを取り囲むように形成される。
感湿膜109は、具体的には、感湿膜109を形成するための感湿膜形成溶液を環状仕切り部105の内側の下地膜107上に塗布した後に乾燥することで得ることができる。
塗布方法としてはディスペンス法が特に好ましい。その他には、例えば浸漬(ディッピング)法、刷毛塗り法、グラビア印刷法、スクリーン印刷法、スピナー塗布法、インクジェット法等種々の方法が使用でき、工程や製品の用途・種類等により選択すればよい。浸漬法は簡便な方法であるが、ディスペンス法に比べて塗布量の制御が困難となる傾向にある。ディスペンス法では、感湿膜形成溶液の滴下量の制御が可能であるので、塗布量の制御も容易である。
感湿膜形成溶液は、感湿材料と、これを溶解又は分散させる溶媒とを含む。感湿材料としては、イオン導電性高分子を用い、このイオン導電性高分子としては、例えば化1に示したモノマー及び化2に示したモノマーのうちの少なくとも1種以上が共重合された共重合体であって、化1中のX1−及びX2−又はこれらのいずれか一方が、臭化物イオン又は塩化物イオン等のハロゲン化物イオンであるものを用いると好ましい。
続いて、感湿膜形成溶液を乾燥させる。その後、感湿膜形成溶液中の感湿材料を必要に応じて架橋処理する。架橋処理は、具体的には、紫外線照射等によって行うことができる。これにより、図4(A)に示すように、下地膜107上に感湿膜109が形成される。
このとき、下地膜107がシラン化合物を用いて形成されている場合には、シラン化合物を用いないで下地膜107を形成する場合に比べて、下地膜107と感湿膜109との接着性が向上する。またシラン化合物を用いて下地膜107を形成する場合には、上記水処理工程が行われると、水処理工程を行わない場合に比べて、絶縁基板101とシラン化合物を含む下地膜107との接着性をより十分に向上させることができる。このため、下地膜107の剥離に伴う感湿膜109の剥離を十分に防止できる。また感湿材料が架橋処理されている場合、感湿膜109が気体中の水分によって溶出することが十分に防止される。なお、得られる感湿膜109の高さは通常、環状仕切り部105の高さより低くなる。
(切断工程)
次に、図4(B)に示されるように、切断線Lに沿って絶縁基板101、下地膜107及び感湿膜109を切断する。この切断線Lは、ギャップ17を挟み且つ環状仕切り部105を横切る線である。例えば、2本の切断線Lに沿って絶縁基板101、下地膜107及び感湿膜109を切断すると、図1及び図2に示される湿度センサ素子100が得られる。このとき、絶縁基板101が絶縁基板1となり、下地膜107が下地膜7となり、感湿膜109が感湿膜9となる。切断は、レーザ光の照射等により行うことができる。切断をより簡便に行うためには、切断線Lの位置における絶縁基板101の裏面に予め溝を形成しておくことが好ましい。なお、切断は、2本の切断線Lに沿って同時に絶縁基板101を切断してもよいし、1本の切断線Lに沿って絶縁基板101を切断した後、もう一方の切断線Lに沿って絶縁基板101を切断するようにしてもよい。
次に、図4(B)に示されるように、切断線Lに沿って絶縁基板101、下地膜107及び感湿膜109を切断する。この切断線Lは、ギャップ17を挟み且つ環状仕切り部105を横切る線である。例えば、2本の切断線Lに沿って絶縁基板101、下地膜107及び感湿膜109を切断すると、図1及び図2に示される湿度センサ素子100が得られる。このとき、絶縁基板101が絶縁基板1となり、下地膜107が下地膜7となり、感湿膜109が感湿膜9となる。切断は、レーザ光の照射等により行うことができる。切断をより簡便に行うためには、切断線Lの位置における絶縁基板101の裏面に予め溝を形成しておくことが好ましい。なお、切断は、2本の切断線Lに沿って同時に絶縁基板101を切断してもよいし、1本の切断線Lに沿って絶縁基板101を切断した後、もう一方の切断線Lに沿って絶縁基板101を切断するようにしてもよい。
以上の工程を経ることにより、湿度センサ素子100が得られる。
一般に、湿度センサ素子では、感湿膜のうち、一対の電極間のギャップ上に位置する部分における感湿膜の抵抗変化が検出される。したがって、このギャップ上に位置する感湿膜の膜厚のバラツキが大きいと、湿度センサ素子の初期出力のバラツキも大きくなるおそれがある。
しかしながら、上記湿度センサ素子100の製造方法によれば、ギャップ17上に、盛り上がり部109aに比べて膜厚にバラツキが生じ難い非盛り上がり部109cを形成し、その外側に隣接して盛り上がり部109aを形成するように感湿膜109を形成する。このため、目的の初期出力を有する湿度センサ素子100、すなわち良好な出力特性を有する湿度センサ素子100が得られる。言い換えると、得られる湿度センサ素子100の初期出力のバラツキを低減できる。
また、上記製造方法によれば、感湿膜形成工程において、感湿膜形成溶液の塗布量を変えても良好な出力特性を有する湿度センサ素子100が得られる。この要因としては、感湿膜形成溶液の塗布量を変えると、主として盛り上がり部9a,9bの膜厚が変化し、非盛り上がり部9cの膜厚はほとんど変化しないことが挙げられる。
以上、本発明の好適な実施形態について詳細に説明したが、本発明は上記実施形態に限定されない。
例えば、上記湿度センサ素子100において、仕切り部5a,5bを設けないとしてもよい。また、湿度センサ素子100が、仕切り部5a,5bのいずれか一方を有するとしてもよい。いずれの場合であっても、感湿膜は、非盛り上がり部と、その外側に隣接して設けられた盛り上がり部とを有する。このような盛り上がり部は、感湿膜の縁部に形成される。
また、上記湿度センサ素子100において、下地膜7を設けないとしてもよい。さらに、上記湿度センサ素子100では櫛形電極3を用いたが、電極の形状は櫛形に限られない。
また、上記湿度センサ素子100の製造方法において、仕切り部形成工程、水処理工程及び下地膜形成工程のうち1つ以上の工程を省略するとしてもよい。
以下、実施例及び比較例を用いて本発明を更に詳細に説明するが、本発明は以下の実施例に限定されるものではない。
(実施例1)
まず、以下の手順を経て感湿膜形成溶液を調製した(特開2003−262600号公報参照)。
まず、以下の手順を経て感湿膜形成溶液を調製した(特開2003−262600号公報参照)。
N,N,N’,N’−テトラメチルジアミノ−1,12−ドデカン6.30g(36.6mmol)と1,12−ジクロロドデカン9.62g(40.2mmol)を、23gのメタノール中で110℃48時間反応させ、アセトンによる再沈殿で6.04gの白色沈殿を得た。続いて、白色沈殿5.07gとジメチルアミノプロピルメタクリルアミド2.98gをメタノール中90℃で24時間反応させ、アセトン中の逆再沈操作により淡黄色沈殿を2.47g得た。
この淡黄色沈殿の構成材料の5(質量百分率)エチルセロソルブ溶液を10ml作成し、重合開始剤として0.2%(質量百分率)のKAYACURE ABQ(商品名;日本化薬社製)を添加し、感湿膜形成溶液とした。この感湿膜形成溶液は、4℃で保管された。
一方、5mm×8mmの矩形形状を呈する絶縁基板の一面上に、幅150μmの一対の櫛形電極及び電極パッドを形成した。絶縁基板としては、多孔性セラミック基板(商品名:AL100E06PL、ニッコー社製)を用いた。櫛形電極としては、RuO2及びガラスフリットを含む抵抗ペースト(商品名:ex−11、田中貴金属社製)を絶縁基板の一面上にスクリーン印刷によりパターニングした後、高温焼結したものを用いた。この櫛形電極は、絶縁基板の一面上におけるエッジから500μm離れた位置に形成された。電極パッドとしては、導体ペースト(商品名:LF−100、デュポン社製)を絶縁基板の一面上にスクリーン印刷によりパターニングした後、高温焼結したものを用いた。
続いて、半田を用いて電極パッドにリード線を取り付けた。続いて、半田フラックスを除去するために、100mlのイソプロピルアルコール中に超音波をかけながら10分間にわたって絶縁基板を浸漬させて洗浄した後、放置して乾燥させた。
次に、日本レーザ電子製のUVオゾンクリーナーNL−UV252を用いて、4.5W×2の条件で10分間、絶縁基板の一面に対してUVオゾン処理を行った。
他方、環状仕切り部を形成するために、環状仕切り部形成用溶液を調整した。環状仕切り部形成用溶液は、ポリテトラフルオロエチレン(商品名:テフロンAF、三井・デュポンフロロケミカル社製)とフッ素系不活性液体(商品名:フロリナートFC−75、住友スリーエム社製)とで構成した。
そして、ディスペンサ法を用いて、一対の櫛形電極間に形成されたギャップを取り囲むようにポリテトラフルオロエチレンを含む環状仕切り部形成溶液を絶縁基板上に塗布した後、乾燥させた。このようにして、ポリテトラフルオロエチレンからなる幅250μmの環状仕切り部を形成した。このとき、ギャップが環状仕切り部の内側に配置され、電極パッドが環状仕切り部の外側に配置されるようにした。
こうして、絶縁基板上に電極パッド及び櫛形電極が形成された構造体を得た。続いて、この構造体を、超音波をかけながら10分間にわたって蒸留水中に浸漬させた後、自然乾燥させた。
続いて、シランカップリング剤として3−メタクリロキシプロピルトリメトキシシラン(信越化学製KBM−503)を使用し、その1%(質量百分率)酢酸水溶液で絶縁基板を処理して乾燥させた後、120℃で20分間にわたって放置し、絶縁基板の表面にアクリロイル基を導入するようにした。こうして、シランカップリング剤を塗膜化して下地膜を形成した。
続いて、ディスペンサ法を用いて、各ギャップ上に上記感湿膜形成溶液をそれぞれ滴下した後、25℃で15分間にわたって乾燥させることにより、感湿膜形成溶液を塗膜化した。このとき、感湿膜形成溶液の滴下量を2.5μlとした。
次に、窒素雰囲気中で塗膜に1分間にわたって紫外線を照射して重合させることにより、環状仕切り部の内側に膜厚5μmの感湿膜を形成した。この際、紫外線照射量を1000mJ/cm2とした。
そして、各ギャップを分離するように絶縁基板を切断して、図1及び図2に示されるような湿度センサ素子を得た。この湿度センサ素子について、次のようにして盛り上がり部を確認した。
すなわち、本実施例の湿度センサ素子について、レーザーフォーカス変位計LT−8010−COM2を用いて、絶縁基板の一面からの変位量(高さ)を測定した。その結果を図5に示す。図5は、横軸を絶縁基板の一面に沿ったエッジからの距離(μm)、縦軸を絶縁基板の一面に垂直な方向の変位量(μm)とした場合のグラフである。図5において、チャートL1は感湿膜が設けられていない状態(リファレンス)を示し、チャートL2は感湿膜が設けられている状態を示す。すなわち、チャートL1は、絶縁基板の一面及び櫛形電極の表面のプロファイルを描いたものであり、チャートL2は、絶縁基板の一面及び櫛形電極の表面上に感湿膜を形成した場合の感湿膜表面のプロファイルを描いたものである。これらのチャートL1,L2の差分を取ると、絶縁基板のエッジから500〜600μm程度離れた場所に、感湿膜の盛り上がり部P1が確認された。一方、盛り上がり部P1に最も近いギャップR1までの距離はおよそ800μmであった。このことから、図5に示されるように、ギャップR1上には盛り上がり部P1が形成されていないことが確認された。
なお、本実施例の湿度センサ素子については、図2における最短距離D4は150μm、最短距離D5が150μmであった。
(実施例2)
最短距離D4が200μm、最短距離D5が200μmとなるように仕切り部及び櫛形電極を配置したこと以外は実施例1と同様にして湿度センサ素子を得た。
最短距離D4が200μm、最短距離D5が200μmとなるように仕切り部及び櫛形電極を配置したこと以外は実施例1と同様にして湿度センサ素子を得た。
この湿度センサ素子の盛り上がり部の位置を実施例1と同様にして確認した。その結果、実施例1と同様、ギャップR1上には盛り上がり部P1が形成されていないことが確認された。
(比較例1)
最短距離D4が100μm、最短距離D5が100μmとなるように仕切り部及び櫛形電極を配置したこと以外は実施例1と同様にして湿度センサ素子を得た。
最短距離D4が100μm、最短距離D5が100μmとなるように仕切り部及び櫛形電極を配置したこと以外は実施例1と同様にして湿度センサ素子を得た。
この湿度センサ素子の盛り上がり部の位置を実施例1と同様にして確認した。その結果、ギャップR1上に盛り上がり部P1が形成されていることが確認された。
(比較例2)
最短距離D4が120μm、最短距離D5が120μmとなるように仕切り部及び櫛形電極を配置したこと以外は実施例1と同様にして湿度センサ素子を得た。
最短距離D4が120μm、最短距離D5が120μmとなるように仕切り部及び櫛形電極を配置したこと以外は実施例1と同様にして湿度センサ素子を得た。
この湿度センサ素子の盛り上がり部の位置を実施例1と同様にして確認した。その結果、ギャップR1上に盛り上がり部P1が形成されていることが確認された。
(比較例3)
最短距離D4が80μm、最短距離D5が150μmとなるように仕切り部及び櫛形電極を配置したこと以外は実施例1と同様にして湿度センサ素子を得た。
最短距離D4が80μm、最短距離D5が150μmとなるように仕切り部及び櫛形電極を配置したこと以外は実施例1と同様にして湿度センサ素子を得た。
この湿度センサ素子の盛り上がり部の位置を、実施例1と同様にして確認した。その結果、ギャップR1上に盛り上がり部P1が形成されていることが確認された。
(実施例3〜18)
感湿膜溶液の滴下量、最短距離D4及び最短距離D5を表1及び表2に示される値としたこと以外は実施例1と同様にして湿度センサ素子を得た。これらの湿度センサ素子の盛り上がり部の位置を実施例1と同様にして確認した。その結果、実施例1と同様、ギャップR1上には盛り上がり部P1が形成されていないことが確認された。
感湿膜溶液の滴下量、最短距離D4及び最短距離D5を表1及び表2に示される値としたこと以外は実施例1と同様にして湿度センサ素子を得た。これらの湿度センサ素子の盛り上がり部の位置を実施例1と同様にして確認した。その結果、実施例1と同様、ギャップR1上には盛り上がり部P1が形成されていないことが確認された。
(比較例4〜27)
感湿膜溶液の滴下量、最短距離D4及び最短距離D5を表1及び表2に示される値としたこと以外は実施例1と同様にして湿度センサ素子を得た。これらの湿度センサ素子の盛り上がり部の位置を、実施例1と同様にして確認した。その結果、ギャップR1上に盛り上がり部P1が形成されていることが確認された。
感湿膜溶液の滴下量、最短距離D4及び最短距離D5を表1及び表2に示される値としたこと以外は実施例1と同様にして湿度センサ素子を得た。これらの湿度センサ素子の盛り上がり部の位置を、実施例1と同様にして確認した。その結果、ギャップR1上に盛り上がり部P1が形成されていることが確認された。
(出力特性評価)
上記実施例1〜18及び比較例1〜27の湿度センサ素子について耐水性試験を行い、これらの出力特性を評価した。
上記実施例1〜18及び比較例1〜27の湿度センサ素子について耐水性試験を行い、これらの出力特性を評価した。
耐水性試験は、以下の手順で行われた。すなわち、まず、湿度変化を周波数変化に変換する湿度−周波数変換回路(特開平3−28751号公報参照)に湿度センサ素子を組み込んだ後、分流式湿度発生装置モデルSRH−1(商品名、神栄株式会社製)を使用して、湿度センサ素子の出力電圧を測定した。
まず、25℃、5%RHの相対湿度下に湿度センサ素子を30分間放置して出力電圧を測定した。その後、相対湿度を95%RHまで上昇させた。このとき、10%RH、20%RH、30%RH、40%RH、50%RH、60%RH、70%RH、80%RH、90%RH、95%RHの各湿度条件において、湿度センサ素子を30分間放置してそれぞれ出力電圧を測定した。
次に、相対湿度を5%RHまで下降させた。このとき、90%RH、80%RH、70%RH、60%RH、50%RH、40%RH、30%RH、20%RH、10%RH、5%RHの各湿度条件において、湿度センサ素子を30分間放置してそれぞれ出力電圧を測定した。
そして、上昇過程での各湿度条件における出力電圧値と、下降過程での各湿度条件における出力電圧値との平均値を、当該湿度条件における出力電圧値とした。さらに、この出力電圧値から湿度センサ素子が表示する出力湿度を算出した。
図6は、設定湿度に対する実施例1の湿度センサ素子の出力湿度を示すグラフである。このグラフから、5〜95%RHの範囲内において実施例1の湿度センサ素子が良好な出力特性を有していることが確認された。同様に、実施例2〜18及び比較例1〜27の湿度センサ素子についても出力特性の評価を行ったところ、実施例2〜18の湿度センサ素子は、実施例1の湿度センサ素子と同様、比較例1〜27の湿度センサ素子に比べて、より良好な出力特性を有していることが分かった。
(初期出力のバラツキ評価)
実施例1〜18及び比較例1〜27の湿度センサ素子を、それぞれ80個ずつ作製した。続いて、各々の湿度センサ素子について、設定湿度50%RHにおける初期出力(作製直後の出力湿度)を測定した。
実施例1〜18及び比較例1〜27の湿度センサ素子を、それぞれ80個ずつ作製した。続いて、各々の湿度センサ素子について、設定湿度50%RHにおける初期出力(作製直後の出力湿度)を測定した。
表1及び表2に示されるように、滴下量が同一の場合を比較すると、実施例1〜18における湿度センサ素子の歩留まりは、比較例1〜27における湿度センサ素子の歩留まりよりも高かった。これは、実施例の湿度センサ素子では、比較例の湿度センサ素子に比べて初期出力のバラツキが小さいことに起因している。例えば、実施例1,2の湿度センサ素子では初期出力のバラツキが小さいので、出力湿度が49〜51%RHの湿度センサ素子が98.8%の歩留まりで得られた。これに対して、比較例1〜3の湿度センサ素子では92.5〜95%の歩留まりしか得られなかった。
以上の結果から、本発明による湿度センサ素子の製造方法によれば、湿度センサ素子の初期出力のバラツキを低減できることが確認された。また、本発明による湿度センサ素子によれば、より良好な出力特性が得られることが確認された。
1…絶縁基板、1a…絶縁基板一面、3…一対の電極、9…感湿膜、100…湿度センサ素子、17…一対の電極間のギャップ、9c…非盛り上がり部、9a,9b…盛り上がり部、D1…非盛り上がり部の膜厚、9d,9e…盛り上がり部の稜線、9f,9g…投影稜線。
Claims (4)
- 絶縁基板の一面上に、互いに対向するように形成された一対の電極上に感湿膜を形成する感湿膜形成工程を含む湿度センサ素子の製造方法であって、
前記感湿膜形成工程において、前記一対の電極間のギャップ上に非盛り上がり部が形成され、前記非盛り上がり部の外側に前記非盛り上がり部に隣接して盛り上がり部が形成されるように前記感湿膜を形成することを特徴とする湿度センサ素子の製造方法。 - 絶縁基板の一面上に、互いに対向するように設けられた一対の電極と、前記一対の電極上に設けられた感湿膜とを備える湿度センサ素子であって、
前記感湿膜が、前記一対の電極間のギャップ上に設けられる非盛り上がり部と、前記非盛り上がり部の外側に前記非盛り上がり部に隣接して設けられる盛り上がり部と、を有することを特徴とする湿度センサ素子。 - 前記非盛り上がり部の膜厚が均一であることを特徴とする請求項2に記載の湿度センサ素子。
- 前記盛り上がり部の稜線の前記一面への投影稜線から前記一対の電極間のギャップまでの最短距離が50μm以上であることを特徴とする請求項2又は3に記載の湿度センサ素子。
Priority Applications (1)
| Application Number | Priority Date | Filing Date | Title |
|---|---|---|---|
| JP2004106683A JP2005291886A (ja) | 2004-03-31 | 2004-03-31 | 湿度センサ素子の製造方法及び湿度センサ素子 |
Applications Claiming Priority (1)
| Application Number | Priority Date | Filing Date | Title |
|---|---|---|---|
| JP2004106683A JP2005291886A (ja) | 2004-03-31 | 2004-03-31 | 湿度センサ素子の製造方法及び湿度センサ素子 |
Publications (1)
| Publication Number | Publication Date |
|---|---|
| JP2005291886A true JP2005291886A (ja) | 2005-10-20 |
Family
ID=35324977
Family Applications (1)
| Application Number | Title | Priority Date | Filing Date |
|---|---|---|---|
| JP2004106683A Withdrawn JP2005291886A (ja) | 2004-03-31 | 2004-03-31 | 湿度センサ素子の製造方法及び湿度センサ素子 |
Country Status (1)
| Country | Link |
|---|---|
| JP (1) | JP2005291886A (ja) |
Cited By (7)
| Publication number | Priority date | Publication date | Assignee | Title |
|---|---|---|---|---|
| JP2007322184A (ja) * | 2006-05-31 | 2007-12-13 | Ngk Spark Plug Co Ltd | アンモニアガスセンサ |
| JP2008107166A (ja) * | 2006-10-24 | 2008-05-08 | Denso Corp | 湿度センサ及びその製造方法 |
| WO2008126897A1 (ja) * | 2007-04-10 | 2008-10-23 | Hokuriku Electric Industry Co., Ltd. | 感応センサ及びその製造方法 |
| WO2012169148A1 (ja) * | 2011-06-06 | 2012-12-13 | 株式会社デンソー | 湿度センサ及びその製造方法 |
| JP2017106886A (ja) * | 2015-12-11 | 2017-06-15 | 台湾ナノカーボンテクノロジー股▲ふん▼有限公司Taiwan Carbon Nano Technology Corporation | 気体センサ及びその製作方法 |
| JP2017104487A (ja) * | 2015-12-11 | 2017-06-15 | 台湾ナノカーボンテクノロジー股▲ふん▼有限公司Taiwan Carbon Nano Technology Corporation | 気体識別を利用し且つ肺炎感染及び肺炎菌種の疾患分析機能を有する人工呼吸器 |
| JP2022084164A (ja) * | 2020-11-26 | 2022-06-07 | 日本特殊陶業株式会社 | ガスセンサ |
-
2004
- 2004-03-31 JP JP2004106683A patent/JP2005291886A/ja not_active Withdrawn
Cited By (9)
| Publication number | Priority date | Publication date | Assignee | Title |
|---|---|---|---|---|
| JP2007322184A (ja) * | 2006-05-31 | 2007-12-13 | Ngk Spark Plug Co Ltd | アンモニアガスセンサ |
| JP2008107166A (ja) * | 2006-10-24 | 2008-05-08 | Denso Corp | 湿度センサ及びその製造方法 |
| WO2008126897A1 (ja) * | 2007-04-10 | 2008-10-23 | Hokuriku Electric Industry Co., Ltd. | 感応センサ及びその製造方法 |
| WO2012169148A1 (ja) * | 2011-06-06 | 2012-12-13 | 株式会社デンソー | 湿度センサ及びその製造方法 |
| US9239309B2 (en) | 2011-06-06 | 2016-01-19 | Denso Corporation | Humidity sensor and method of manufacturing the same |
| JP2017106886A (ja) * | 2015-12-11 | 2017-06-15 | 台湾ナノカーボンテクノロジー股▲ふん▼有限公司Taiwan Carbon Nano Technology Corporation | 気体センサ及びその製作方法 |
| JP2017104487A (ja) * | 2015-12-11 | 2017-06-15 | 台湾ナノカーボンテクノロジー股▲ふん▼有限公司Taiwan Carbon Nano Technology Corporation | 気体識別を利用し且つ肺炎感染及び肺炎菌種の疾患分析機能を有する人工呼吸器 |
| JP2022084164A (ja) * | 2020-11-26 | 2022-06-07 | 日本特殊陶業株式会社 | ガスセンサ |
| JP7453129B2 (ja) | 2020-11-26 | 2024-03-19 | 日本特殊陶業株式会社 | ガスセンサ |
Similar Documents
| Publication | Publication Date | Title |
|---|---|---|
| CN109932402B (zh) | 热线型气体传感器芯片、传感器及传感器的制备方法 | |
| JP4746009B2 (ja) | ゲート誘電体層及びパッシベーション層としてポリ(アリーレンエーテル)ポリマーを有する薄膜トランジスタ | |
| TW509791B (en) | Humidity sensor element and method for manufacture the same | |
| JP2005291886A (ja) | 湿度センサ素子の製造方法及び湿度センサ素子 | |
| JP2011507457A (ja) | 超音波トランスデューサ用複合受動材料 | |
| US20160370336A1 (en) | Micro Heater and Micro Sensor | |
| US5866800A (en) | Gas sensor and method for fabricating same | |
| JP2008509439A5 (ja) | ||
| CN113129776A (zh) | 一种防氧化的透明显示薄膜及其制作方法 | |
| JP2023053065A (ja) | 酸素電極、測定装置、及び酸素電極の製造方法 | |
| US20200033285A1 (en) | Humidity sensor | |
| WO1993016377A1 (fr) | Capteur d'humidite et son procede de fabrication | |
| JP2005283482A (ja) | 湿度センサ素子の製造方法 | |
| JP2018056247A (ja) | 電子部品収納用パッケージおよび電子装置および電子部品収納用パッケージの製造方法 | |
| JP5454839B2 (ja) | アンチヒューズ素子 | |
| WO2018165841A1 (en) | Ultrathin electrochemical gas sensor | |
| JP4236021B2 (ja) | 湿度検出機能を持つ電子部品及びその製造方法 | |
| CN1493080A (zh) | 金属电阻器装置及其制造方法 | |
| KR100289570B1 (ko) | 보조전극을 이용한 액츄에이터와 전원인가선의 연결방법 | |
| CN100382203C (zh) | 薄膜电阻的制造方法 | |
| JP3571299B2 (ja) | 湿度センサ及び湿度センサの製造方法 | |
| JP5262159B2 (ja) | 薄膜チップ抵抗器の製造方法 | |
| CN212624003U (zh) | 传感结构、发光模组以及电子设备 | |
| JPH0781975B2 (ja) | 感湿素子 | |
| JP2005291880A (ja) | 湿度センサ素子 |
Legal Events
| Date | Code | Title | Description |
|---|---|---|---|
| A300 | Withdrawal of application because of no request for examination |
Free format text: JAPANESE INTERMEDIATE CODE: A300 Effective date: 20070605 |
