JP2005291789A - 距離検出装置 - Google Patents

距離検出装置 Download PDF

Info

Publication number
JP2005291789A
JP2005291789A JP2004104121A JP2004104121A JP2005291789A JP 2005291789 A JP2005291789 A JP 2005291789A JP 2004104121 A JP2004104121 A JP 2004104121A JP 2004104121 A JP2004104121 A JP 2004104121A JP 2005291789 A JP2005291789 A JP 2005291789A
Authority
JP
Japan
Prior art keywords
case
electromagnetic wave
window part
projection window
distance
Prior art date
Legal status (The legal status is an assumption and is not a legal conclusion. Google has not performed a legal analysis and makes no representation as to the accuracy of the status listed.)
Pending
Application number
JP2004104121A
Other languages
English (en)
Inventor
Yoshiki Adachi
芳樹 足立
Takekazu Terui
武和 照井
Current Assignee (The listed assignees may be inaccurate. Google has not performed a legal analysis and makes no representation or warranty as to the accuracy of the list.)
Denso Corp
Original Assignee
Denso Corp
Priority date (The priority date is an assumption and is not a legal conclusion. Google has not performed a legal analysis and makes no representation as to the accuracy of the date listed.)
Filing date
Publication date
Application filed by Denso Corp filed Critical Denso Corp
Priority to JP2004104121A priority Critical patent/JP2005291789A/ja
Priority to DE102005013817A priority patent/DE102005013817A1/de
Priority to US11/093,838 priority patent/US20050219503A1/en
Publication of JP2005291789A publication Critical patent/JP2005291789A/ja
Pending legal-status Critical Current

Links

Images

Classifications

    • GPHYSICS
    • G02OPTICS
    • G02BOPTICAL ELEMENTS, SYSTEMS OR APPARATUS
    • G02B26/00Optical devices or arrangements for the control of light using movable or deformable optical elements
    • G02B26/08Optical devices or arrangements for the control of light using movable or deformable optical elements for controlling the direction of light
    • G02B26/10Scanning systems
    • G02B26/12Scanning systems using multifaceted mirrors
    • GPHYSICS
    • G01MEASURING; TESTING
    • G01SRADIO DIRECTION-FINDING; RADIO NAVIGATION; DETERMINING DISTANCE OR VELOCITY BY USE OF RADIO WAVES; LOCATING OR PRESENCE-DETECTING BY USE OF THE REFLECTION OR RERADIATION OF RADIO WAVES; ANALOGOUS ARRANGEMENTS USING OTHER WAVES
    • G01S7/00Details of systems according to groups G01S13/00, G01S15/00, G01S17/00
    • G01S7/48Details of systems according to groups G01S13/00, G01S15/00, G01S17/00 of systems according to group G01S17/00
    • G01S7/481Constructional features, e.g. arrangements of optical elements
    • G01S7/4811Constructional features, e.g. arrangements of optical elements common to transmitter and receiver
    • G01S7/4813Housing arrangements
    • GPHYSICS
    • G02OPTICS
    • G02BOPTICAL ELEMENTS, SYSTEMS OR APPARATUS
    • G02B5/00Optical elements other than lenses
    • G02B5/08Mirrors
    • G02B5/09Multifaceted or polygonal mirrors, e.g. polygonal scanning mirrors; Fresnel mirrors
    • GPHYSICS
    • G01MEASURING; TESTING
    • G01SRADIO DIRECTION-FINDING; RADIO NAVIGATION; DETERMINING DISTANCE OR VELOCITY BY USE OF RADIO WAVES; LOCATING OR PRESENCE-DETECTING BY USE OF THE REFLECTION OR RERADIATION OF RADIO WAVES; ANALOGOUS ARRANGEMENTS USING OTHER WAVES
    • G01S17/00Systems using the reflection or reradiation of electromagnetic waves other than radio waves, e.g. lidar systems
    • G01S17/02Systems using the reflection of electromagnetic waves other than radio waves
    • G01S17/06Systems determining position data of a target
    • G01S17/42Simultaneous measurement of distance and other co-ordinates
    • GPHYSICS
    • G01MEASURING; TESTING
    • G01SRADIO DIRECTION-FINDING; RADIO NAVIGATION; DETERMINING DISTANCE OR VELOCITY BY USE OF RADIO WAVES; LOCATING OR PRESENCE-DETECTING BY USE OF THE REFLECTION OR RERADIATION OF RADIO WAVES; ANALOGOUS ARRANGEMENTS USING OTHER WAVES
    • G01S17/00Systems using the reflection or reradiation of electromagnetic waves other than radio waves, e.g. lidar systems
    • G01S17/88Lidar systems specially adapted for specific applications
    • G01S17/93Lidar systems specially adapted for specific applications for anti-collision purposes
    • G01S17/931Lidar systems specially adapted for specific applications for anti-collision purposes of land vehicles
    • GPHYSICS
    • G01MEASURING; TESTING
    • G01SRADIO DIRECTION-FINDING; RADIO NAVIGATION; DETERMINING DISTANCE OR VELOCITY BY USE OF RADIO WAVES; LOCATING OR PRESENCE-DETECTING BY USE OF THE REFLECTION OR RERADIATION OF RADIO WAVES; ANALOGOUS ARRANGEMENTS USING OTHER WAVES
    • G01S7/00Details of systems according to groups G01S13/00, G01S15/00, G01S17/00
    • G01S7/48Details of systems according to groups G01S13/00, G01S15/00, G01S17/00 of systems according to group G01S17/00
    • G01S7/481Constructional features, e.g. arrangements of optical elements
    • G01S7/4817Constructional features, e.g. arrangements of optical elements relating to scanning

Landscapes

  • Physics & Mathematics (AREA)
  • General Physics & Mathematics (AREA)
  • Engineering & Computer Science (AREA)
  • Optics & Photonics (AREA)
  • Computer Networks & Wireless Communication (AREA)
  • Radar, Positioning & Navigation (AREA)
  • Remote Sensing (AREA)
  • Optical Radar Systems And Details Thereof (AREA)
  • Geophysics And Detection Of Objects (AREA)
  • Measurement Of Optical Distance (AREA)
  • Traffic Control Systems (AREA)

Abstract

【課題】 投射窓部や入射窓部を保護し、これらが損傷することによって距離検出装置が動作不良を起こしてしまうことを防止する。
【解決手段】 投射窓部1cおよび入射窓部1dの前方に合わせガラス10a、10bを配置する。このような構成とすれば、合わせガラス10a、10bによって投射窓部1cおよび入射窓部1dが覆われて保護される。したがって、飛び石などの物体が距離検出装置に当たったとしても、投射窓部1cおよび入射窓部1dが割れるのではなく、合わせガラス10a、10bが損傷を受けることになり、投射窓部1cおよび入射窓部1dが損傷を受けて距離検出装置が動作不良を起こすことを防止することができる
【選択図】 図1

Description

本発明は、例えば車両に搭載され、光波などの電磁波によって先行車等との距離を測定する距離検出装置に関するものである。
従来より、車両に搭載される距離検出装置として、例えばレーザ光によって先行車等の障害物との距離を測定するもの(レーザレーダ)が知られている。この距離検出装置は、レーザダイオードを断続的に発光させて車両の前方に照射し、前方の障害物からの反射光をフォトセンサで検出し、発光時刻と受光時刻との時間差に基づいて、障害物までの距離を測定する。
具体的には、距離検出装置は、レーザ光を照射する発光部と、そのレーザ光を反射する六角錐台形状の回転可能なスキャンミラーとなるポリゴンミラーと、反射してきたレーザ光を受け取る受光部とを備えた構成となっている。このような構成により、発光部が照射したレーザ光をポリゴンミラーにて反射させて車両前方に導く。このとき、ポリゴンミラーを回転させ、ポリゴンミラーの各側面に発光部からのレーザ光が当たるようにすることで、ポリゴンミラーでのレーザ光の反射角度を調整し、車両前方の所定範囲にレーザ光がスキャンされるようにする。そして、車両前方の障害物で反射したレーザ光を受光部で受け取ることで距離の測定を行うようにしている(例えば、特許文献1参照)。
この距離検出装置では、本装置が車両という過酷な環境下に晒されるものに用いられることから、埃などの異物や水分による結露などから上述したスキャニング機構や光学部品、電子回路を守るために、密閉されたケース内に各部品を収容している。このため、発光部からのレーザ光をケース外に投射するための投射窓部と反射してきたレーザ光を受け取る入射窓部とをケースに備え、これらを透光部材によって構成している。
特開2002−031685号公報
しかしながら、上記従来の距離検出装置では、投射窓部や入射窓部は、例えばガラス板やアクリル板によって構成されている。このため、物体が接触することにより、投射窓部や入射窓部が割れてしまうことがあり、距離検出装置の動作不良を引き起こすという問題がある。
本発明は上記点に鑑みて、投射窓部や入射窓部を保護し、これらが損傷することによって距離検出装置が動作不良を起こしてしまうことを防止することを目的とする。
上記目的を達成するため、請求項1ないし4に記載の発明では、ケース(1、1a、1b)と、ケース内に配置され、探査用電磁波を出射する電磁波発生部(2)と、ケースに形成され、電磁波発生部からの探査用電磁波を通過させる透波性材料で構成された投射窓部(1c)と、 ケース内に配置され、探査用電磁光の反射波を受け取る電磁波受光部(6)と、ケースに形成され、電磁波受取部が受け取る反射波を通過させる透波性材料で構成された入射窓部(1d)とを備え、電磁波発生部が出射した探査用電磁波を投射窓部を通じてケースの外部に向けて出射したのち、ケースの外部で反射してきた探査用電磁波を電磁波受取部で受け取り、それに基づいて探査用電磁波が反射させられた障害物までの距離を検出する距離検出装置であって、投射窓部および入射窓部の前方に配置され、電磁波を透過する透波性材料で構成された強化板部材(10a、10b)を備え、強化板部材によって投射窓部および入射窓部が覆われていることを特徴としている。
このように、強化板部材を投射窓部および入射窓部の前方に配置することにより、強化板部材によって覆われることで投射窓部および入射窓部が保護される。このため、飛び石など物体が距離検出装置に当たったとしても、投射窓部および入射窓部が割れるのではなく、強化板部材が損傷を受けることになり、投射窓部および入射窓部が損傷を受けて距離検出装置が動作不良を起こすことを防止することができる。
この場合、請求項3に示されるように、強化板部材をケースから取り外し可能な構成とすることにより、強化板部材を取り替えればメンテナンスを行うことができるため、メンテナンス性を良くすることが可能となる。
この強化板部材としては、例えば、請求項2に示されるように、合わせガラスを用いることができる。また、強化板部材は、例えば、請求項5に示されるように、ケースにおける投射窓部および入射窓部の両側に形成されたスライド溝(1g、1h)に挿入されることで固定される。
なお、上記各手段の括弧内の符号は、後述する実施形態に記載の具体的手段との対応関係を示すものである。
(第1実施形態)
本発明の一実施形態を適用した距離検出装置の正面図、側面図および断面図を図1〜図3に示す。以下、これらの図に基づいて距離検出装置の構造について説明する。
図1〜図3に示される距離検出装置は、車両に搭載されるもので、例えば、図2、図3における紙面右方向が車両前方を向くように配置され、例えばオートクルーズ時に車両前方の先行車等の障害物と自車両との距離を検出するレーザレーダとして用いられる。
距離検出装置は、略立方体形状で構成された樹脂製のケース1内に各種部品が収容されて構成されている。
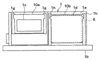
ケース1は、第1ケース部1aと第2ケース部1bとによって構成されている。第1ケース部1aは、一面が開口する箱型を成しており、この第1ケース部1aによって構成される収容スペース内に、各種部品が収容されるようになっている。第1ケース部1aは、基本的には同じ材料の樹脂によって構成されているが、第1ケース部1aのうち車両前方に向けられる面において、左右に並べられて、例えばガラスやアクリル樹脂等の透光性部材によって構成された投射窓部1cと入射窓部1dが備えられた構成となっている。
そして、図1に示されるように、投射窓部1cおよび入射窓部1dの前方には、それぞれ合わせガラス10a、10bが配置されている。合わせガラス10a、10bは、例えば、複数枚のガラス(例えばソーダ石灰ガラス)に樹脂フィルムを挟み込んで強力に密着させたもので、割れても破片が飛び散りにくく、また貫通しにくい性質を有しており、投射窓部1cおよび入射窓部1dよりも高い強度で構成されている。
図4(a)は、距離検出装置のケース1に合わせガラス10a、10bを取り付ける時の様子を示した斜視図、図4(b)、(c)は、合わせガラス10bを入射窓部1cの前方に取り付けたときの様子を示す正面図および側面図である。
各合わせガラス10a、10bは、投射窓部1cおよび入射窓部1dの外形よりも若干大きめに構成されている。第1ケース部1aにおける投射窓部1cおよび入射窓部1dの両側には、スライド溝1g、1hが構成されており、これらスライド溝1g、1h内に合わせガラス10a、10bのうち投射窓部1cおよび入射窓部1dからはみ出した部分、つまり合わせガラス10a、10bの外縁部が挿入されている。
具体的には、スライド溝1g、1hの上部は、弾性変形によって両側に広がるようになっており、この弾性変形によってスライド溝1g、1hの上部を広げた状態で、スライド溝1g、1h内に各合わせガラス10a、10bが挿入される。そして、各合わせガラス10a、10bを挿入した後、スライド溝1g、1hの上部を元の形状に戻すと、スライド溝1g、1hの上端がフックとして機能し、合わせガラス10a、10bがスライド溝1g、1h内に固定されるようになっている。
なお、各合わせガラス10a、10bと投射窓部1cおよび入射窓部1dとは互いに接触した状態となっていてもよいが、これらの間に、例えば、所定量の隙間が形成されるようにし、これらが密着しないようにするのが好ましい。もちろん、これらの間に、透明な樹脂フィルムを配置することで、これらが互いに密着した状態となるようにしても良い。
第2ケース部1bは、例えば樹脂などによって構成され、第1ケース部1aの開口した面に、シール部材1eを介して組みつけられている。
なお、図3に示されるように、第2ケース部1bの一部には、ケース1から部分的に突出したコネクタ1fが配置されている。そして、このコネクタ1fを介して、ケース1内外の電気的接続が行えるようになっている。
このように構成されるケース1内に、各種部品が収容されている。具体的には、ケース1内には、発光部2、反射ミラー3およびポリゴンミラー4が備えられていると共に、距離検出装置を制御するための制御部(図示せず)などが備えられた回路基板5が備えられている。また、ケース1内には、入射窓部1dと対向するように受光部6も配置されている。
発光部2は、回路基板5に備えられた制御部からの駆動信号に基づいて駆動されるもので、反射ミラー3に向けてレーザ光の照射を行うようになっている。例えば、この発光部2は、レーザダイオードによって構成され、パルス状の探査用電磁波となるレーザ光(探査光)を発生するようになっている。
反射ミラー3は、発光部2が発したレーザ光を反射し、ポリゴンミラー4に向けて照射するためのものである。この反射ミラー3は、ケース1の内壁に固定された支持部7により、ケース1に対して揺動可能に支持されている。そして、回路基板5に備えられた制御部によって駆動される図示しないモータにて反射ミラー3が揺動されることで、紙面垂直方向を軸とした反射角度の微調整(例えば、1度程度の調整)が行われるようになっている。
ポリゴンミラー4は、六角錐の先端部分を切り取ったような六角錐台状を成している。このポリゴンミラー4は、ケース1の上面側において、六角錐軸を中心として回転可能なように支持されており、回路基板5に備えられた制御部によって駆動される図示しないモータによって回転駆動されるようになっている。このポリゴンミラー4は、その側面がすべて反射ミラーとして働くようになっており、スキャンミラーとして機能する。
具体的には、ポリゴンミラー4は、発光部2が発したレーザ光が反射ミラー3で反射されると、そのレーザ光をさらに反射させ、第1ケース部1aの投射窓部1cを通じてその反射光を車両前方に導くようになっている。そして、モータによってポリゴンミラー4が駆動されると、その回転に応じてポリゴンミラー4の側面の角度が変わることから、反射光の投射角が変わり、車両前方における所定の範囲がスキャンされるようになっている。
受光部6は、フレネルレンズと例えばフォトダイオードによって構成される受光素子などによって構成され、フレネルレンズによってレーザ光を集光し、受光素子に集光されたレーザ光が照射されるとその受光強度に対応する出力電流もしくは出力電圧を発生するようになっている。この受光部6により、ケース1の上方に照射されたレーザ光を検出できるようになっている。そして、この受光部6の出力電流もしくは出力電圧は、回路基板5に備えられた制御部に入力されるようになっている。
また、受光部6は、ポリゴンミラー4に対して横置き、すなわちポリゴンミラー4の回転軸の垂直方向にずらされて配置されている。
次に、本実施形態のように構成された距離検出装置の作動について説明する。
上記構成の距離検出装置は、例えば車室内に備えられたオートクルーズコントロールのスイッチが投入されると、前方車両との距離の検出を行う。
まず、制御部からの駆動信号に基づいてモータが駆動され、反射ミラー3が所定の角度に調整される。そして、発光部2から所定のタイミングでレーザ光が照射され、そのレーザ光が反射ミラー3およびポリゴンミラー4で反射され、投射窓部1cから車両前方に照射される。このレーザ光が自車両の前方に位置する先行車両などによって反射すると、その反射光が入射窓部1dを通じてフレネルレンズで集められ、受光素子に照射される。
これにより、受光素子は受けたレーザ光の強度に応じた出力電流もしくは出力電圧を発生させる。これが制御部によって検知され、制御部は、そのレーザ光を照射したタイミングとレーザ光が検出されたタイミングの時間差、つまり入力時間差とレーザ光の速度とから次式より先行車両との距離を検出する。
(数1)
レーザ光の速度×入力時間差/2
このようにして先行車両と自車両との距離が検出されると、その検出結果に応じた出力がコネクタ1fを介してケース1の外部、例えばエンジンECUやブレーキECUなどに出力される。これにより、先行車両と自車両との距離が所定距離に維持されるように、エンジン出力もしくは制動力が制御されるようになっている。
続いて、本実施形態に示す距離検出装置により得られる効果について説明する。
上述したように、本実施形態に示す距離検出装置では、投射窓部1cおよび入射窓部1dの前方に合わせガラス10a、10bを配置した構成となっている。
このため、合わせガラス10a、10bによって投射窓部1cおよび入射窓部1dが覆われて保護される。したがって、飛び石などの物体が距離検出装置に当たったとしても、投射窓部1cおよび入射窓部1dが割れるのではなく、合わせガラス10a、10bが損傷を受けることになり、投射窓部1cおよび入射窓部1dが損傷を受けて距離検出装置が動作不良を起こすことを防止することができる。
また、合わせガラス10a、10bは、破損したときにクモの巣状にヒビが入るため、合わせガラス10a、10bが破損したことを誇張することが可能となる。これにより、例えば、距離検出装置に投射窓部1cに付着した汚れの検出が行える機能がついているものであれば、合わせガラス10a、10bの破損部分によってレーザ光が乱反射することから、合わせガラス10a、10bの破損を汚れと同様に検出することが可能である。また、距離検出装置が、システム的に機能しなくなったときに、その旨を警告ランプや液晶表示器を通じて表示するシステム構成となっている場合には、その表示を通じてドライバに合わせガラス10a、10bの破損を知らせることも可能である。
そして、スライド溝1g、1hの上部を弾性変形させれば、容易に合わせガラス10a、10bを取り外し可能であるため、合わせガラス10a、10bを取り替えさえすればメンテナンスを行うことができる。したがって、メンテナンス性を良くすることが可能となるという効果も得られる。
(他の実施形態)
上記実施形態では、合わせガラス10a、10bをスライド溝1g、1hによって固定する例について説明したが、その他の固定形態であっても構わない。例えば、第1ケース部1aの樹脂部のうち投射窓部1cおよび入射窓部1dの両側に位置する部分に接着剤を塗布し、この接着剤によって合わせガラス10a、10bを固定するようにしても良い。
この場合、合わせガラス10a、10bを固定している接着剤として、溶剤によって容易に溶かすことが可能なものを用いれば、接着剤を溶かすことにより、容易に合わせガラス10a、10bのみを第1ケース1aから脱着することが可能である。
そして、接着剤を溶剤で溶かせば容易に合わせガラス10a、10bを取り外し可能であるため、合わせガラス10a、10bを取り替えさえすればメンテナンスを行うことができる。したがって、メンテナンス性を良くすることが可能となるという効果も得られる。
もちろん、合わせガラス10a、10bをネジによって固定する手法、ピンによって固定する手法、バネによって固定する手法、どのようなものであっても構わない。
また、上記実施形態では、強化板部材として合わせガラスを用いる例について説明したが、強化ガラス等、他の板部材を採用することも可能である。
なお、上記実施形態では、距離検出に光波を使用するものを例に挙げて説明したが、ミリ波等の他の探査用電磁波を使うものについても本発明を適用することができる。すなわち、電磁波を電磁波発生部から出射し、それを障害物に反射させると共に、反射した電磁波を電磁波受取部によって受け取ることで、距離の検出を行うようなものであれば、どのようなものに関しても本発明を適用することができる。
勿論、距離検出装置を構成する各部品の配置形態についても、上記実施形態に限るものではなく、どのような配置形態とされていたも、本発明を適用することができる。
本発明の第1実施形態における距離検出装置の正面図である。 図1に示す距離検出装置の側面図である。 図1に示す距離検出装置の投射窓部での断面図である。 (a)は、距離検出装置のケースに合わせガラスを取り付ける時の様子を示した斜視図、(b)、(c)は、合わせガラスを入射窓部の前方に取り付けたときの様子を示す正面図および側面図である。
符号の説明
1…ケース、1a…第1ケース部、1b…第2ケース部、1c…投射窓部、
1d…入射窓部、1g、1h…スライド溝、2…発光部、3…反射ミラー、
4…ポリゴンミラー、5…回路基板、6…受光部、7…支持部、
10a、10b…合わせガラス。

Claims (5)

  1. ケース(1、1a、1b)と、
    前記ケース内に配置され、探査用電磁波を出射する電磁波発生部(2)と、
    前記ケースに形成され、前記電磁波発生部からの前記探査用電磁波を通過させる透波性材料で構成された投射窓部(1c)と、
    前記ケース内に配置され、前記探査用電磁光の反射波を受け取る電磁波受光部(6)と、
    前記ケースに形成され、前記電磁波受取部が受け取る前記反射波を通過させる透波性材料で構成された入射窓部(1d)とを備え、
    前記電磁波発生部が出射した前記探査用電磁波を前記投射窓部を通じて前記ケースの外部に向けて出射したのち、前記ケースの外部で反射してきた前記探査用電磁波を前記電磁波受取部で受け取り、それに基づいて前記探査用電磁波が反射させられた障害物までの距離を検出する距離検出装置であって、
    前記投射窓部および前記入射窓部の前方に配置され、前記電磁波を透過する透波性材料で構成された強化板部材(10a、10b)を備え、
    前記強化板部材によって前記投射窓部および前記入射窓部が覆われていることを特徴とする距離検出装置。
  2. 前記強化板部材は、合わせガラスであることを特徴とする請求項1に記載の距離検出装置。
  3. 前記強化板部材は、前記ケースから取り外し可能な構成となっていることを特徴とする請求項1または2に記載の距離検出装置。
  4. 前記強化板部材は、前記投射窓部および前記入射窓部を覆い、前記投射窓部の外縁部と前記入射窓部の外縁部にて、前記ケースに固定されていることを特徴とする請求項1ないし3のいずれか1つに記載の距離検出装置。
  5. 前記ケースにおける前記投射窓部および前記入射窓部の両側には、スライド溝(1g、1h)が配置されており、前記強化板部材は前記スライド溝に挿入されていることを特徴とする請求項1ないし4のいずれか1つに記載の距離検出装置。
JP2004104121A 2004-03-31 2004-03-31 距離検出装置 Pending JP2005291789A (ja)

Priority Applications (3)

Application Number Priority Date Filing Date Title
JP2004104121A JP2005291789A (ja) 2004-03-31 2004-03-31 距離検出装置
DE102005013817A DE102005013817A1 (de) 2004-03-31 2005-03-24 Objekterfassungsvorrichtung mit Verstärkungselement
US11/093,838 US20050219503A1 (en) 2004-03-31 2005-03-30 Object detecting apparatus having reinforcing member

Applications Claiming Priority (1)

Application Number Priority Date Filing Date Title
JP2004104121A JP2005291789A (ja) 2004-03-31 2004-03-31 距離検出装置

Publications (1)

Publication Number Publication Date
JP2005291789A true JP2005291789A (ja) 2005-10-20

Family

ID=35034273

Family Applications (1)

Application Number Title Priority Date Filing Date
JP2004104121A Pending JP2005291789A (ja) 2004-03-31 2004-03-31 距離検出装置

Country Status (3)

Country Link
US (1) US20050219503A1 (ja)
JP (1) JP2005291789A (ja)
DE (1) DE102005013817A1 (ja)

Cited By (3)

* Cited by examiner, † Cited by third party
Publication number Priority date Publication date Assignee Title
CN113454483A (zh) * 2018-12-21 2021-09-28 旭硝子欧洲玻璃公司 设有可释放保护层的激光雷达检测装置
JP2022530102A (ja) * 2019-04-26 2022-06-27 エージーシー グラス ユーロップ 検知装置用保護ハウジング
WO2024237176A1 (ja) * 2023-05-18 2024-11-21 スタンレー電気株式会社 レーダカバー着脱構造

Families Citing this family (3)

* Cited by examiner, † Cited by third party
Publication number Priority date Publication date Assignee Title
US7697120B2 (en) * 2006-11-27 2010-04-13 Riegl Laser Measurement Systems Gmbh Scanning apparatus
US8087875B2 (en) * 2007-09-28 2012-01-03 Krouse Wayne F Machine for increased hydro power generation
US20090281703A1 (en) * 2008-05-12 2009-11-12 Hudson Meilleur Cruise control cancel device for passengers in vehicles

Family Cites Families (5)

* Cited by examiner, † Cited by third party
Publication number Priority date Publication date Assignee Title
US6940418B2 (en) * 1999-05-04 2005-09-06 Intellimats, Llc Electronic floor display cleaning system and protective cover
JP2001272226A (ja) * 2000-03-24 2001-10-05 Koito Mfg Co Ltd 位置計測レーザ装置
JP3468212B2 (ja) * 2000-07-14 2003-11-17 株式会社デンソー 反射測定装置用筐体
SE522695C2 (sv) * 2000-11-17 2004-03-02 Foss Tecator Ab Metod och anordning för bildupptagning av små partiklar för analys av partiklarnas kvalitet
JP3814270B2 (ja) * 2003-10-09 2006-08-23 本田技研工業株式会社 車両用自動開閉装置

Cited By (5)

* Cited by examiner, † Cited by third party
Publication number Priority date Publication date Assignee Title
CN113454483A (zh) * 2018-12-21 2021-09-28 旭硝子欧洲玻璃公司 设有可释放保护层的激光雷达检测装置
JP2022516424A (ja) * 2018-12-21 2022-02-28 エージーシー グラス ユーロップ 取り外し可能な保護層を設けられたlidar検出装置
JP2022530102A (ja) * 2019-04-26 2022-06-27 エージーシー グラス ユーロップ 検知装置用保護ハウジング
JP7486520B2 (ja) 2019-04-26 2024-05-17 エージーシー グラス ユーロップ 検知装置用保護ハウジング
WO2024237176A1 (ja) * 2023-05-18 2024-11-21 スタンレー電気株式会社 レーダカバー着脱構造

Also Published As

Publication number Publication date
US20050219503A1 (en) 2005-10-06
DE102005013817A1 (de) 2005-10-20

Similar Documents

Publication Publication Date Title
US7382442B2 (en) Object detector of vehicle
CN111656215B (zh) 激光雷达装置、驾驶辅助系统以及车辆
KR101665938B1 (ko) 미러 회전 방식의 다채널 라이더 스캐너 광학계
US20120187283A1 (en) Laser radar system and light receiving device
JP2007304090A (ja) 光学センサー装置
JP4602303B2 (ja) 運転における補助のための、及び/又は自動車に設けられたシステムを自動的に作動させるための、自動車に搭載される光センサデバイス
JP2019144072A (ja) 対象物検出装置
JP4158725B2 (ja) 距離検出装置
JP2005291789A (ja) 距離検出装置
JP2005233777A (ja) 距離検出装置
JP2002040136A (ja) 反射測定装置
JP2005257324A (ja) 距離検出装置
JP4193724B2 (ja) 距離検出装置
JP4305231B2 (ja) 距離検出装置
US7059522B2 (en) Object detecting apparatus having hydrophilic light radiating window
JP4513681B2 (ja) 雨滴・結露検出装置
JP2005233773A (ja) 距離検出装置
JP2010064642A (ja) 移動体用照明装置
JP4341435B2 (ja) 距離検出装置
US20050200931A1 (en) Object detecting apparatus having operation monitoring function
JP2005233775A (ja) 距離検出装置
US20250334676A1 (en) Optical sensor and manufacturing method
KR102861410B1 (ko) 미디어 모듈, 미디어 모듈 제어방법 및 미디어 모듈을 포함하는 차량
JPH10300460A (ja) 距離測定装置
JP2024021730A (ja) 光学装置、及び制御システム

Legal Events

Date Code Title Description
A621 Written request for application examination

Free format text: JAPANESE INTERMEDIATE CODE: A621

Effective date: 20060619

A871 Explanation of circumstances concerning accelerated examination

Free format text: JAPANESE INTERMEDIATE CODE: A871

Effective date: 20061010

A975 Report on accelerated examination

Free format text: JAPANESE INTERMEDIATE CODE: A971005

Effective date: 20061027

A131 Notification of reasons for refusal

Free format text: JAPANESE INTERMEDIATE CODE: A131

Effective date: 20061114

A02 Decision of refusal

Free format text: JAPANESE INTERMEDIATE CODE: A02

Effective date: 20070313