JP2005291702A - 冷凍サイクル監視システム - Google Patents

冷凍サイクル監視システム Download PDF

Info

Publication number
JP2005291702A
JP2005291702A JP2005198569A JP2005198569A JP2005291702A JP 2005291702 A JP2005291702 A JP 2005291702A JP 2005198569 A JP2005198569 A JP 2005198569A JP 2005198569 A JP2005198569 A JP 2005198569A JP 2005291702 A JP2005291702 A JP 2005291702A
Authority
JP
Japan
Prior art keywords
refrigerant
refrigeration cycle
state
abnormality
abnormal
Prior art date
Legal status (The legal status is an assumption and is not a legal conclusion. Google has not performed a legal analysis and makes no representation as to the accuracy of the status listed.)
Granted
Application number
JP2005198569A
Other languages
English (en)
Other versions
JP4151680B2 (ja
Inventor
Koji Yamashita
浩司 山下
Masaki Toyoshima
正樹 豊島
Hiroshi Nakada
浩 中田
Current Assignee (The listed assignees may be inaccurate. Google has not performed a legal analysis and makes no representation or warranty as to the accuracy of the list.)
Mitsubishi Electric Corp
Original Assignee
Mitsubishi Electric Corp
Priority date (The priority date is an assumption and is not a legal conclusion. Google has not performed a legal analysis and makes no representation as to the accuracy of the date listed.)
Filing date
Publication date
Application filed by Mitsubishi Electric Corp filed Critical Mitsubishi Electric Corp
Priority to JP2005198569A priority Critical patent/JP4151680B2/ja
Publication of JP2005291702A publication Critical patent/JP2005291702A/ja
Application granted granted Critical
Publication of JP4151680B2 publication Critical patent/JP4151680B2/ja
Anticipated expiration legal-status Critical
Expired - Lifetime legal-status Critical Current

Links

Images

Landscapes

  • Air Conditioning Control Device (AREA)

Abstract

【課題】 冷凍サイクルの故障診断装置は流体を取り扱うため精度が悪く、故障の予兆の検出、故障判定における実機個体差の吸収、故障原因の判定が出来ないと言う問題があった。又、安く実用的な診断装置、方法が無かった。
【解決手段】 冷凍サイクル装置の圧力および温度等冷媒に関するもしくはその他の計測量を複数検出し、これらの計測量から複合変数のような状態量を演算し、演算結果を用いて装置の正常異常を判断する。正常運転時に学習させると現在の状態が判断できるし、強制的に異常運転を行わせて学習させたり、現在運転中に異常運転状態を演算させると、マハラノビスの距離の変化から運転限界などの故障予知が可能になる。これにより確実な診断を簡単な構成で実現できる。
【選択図】 図2

Description

本発明は冷凍装置や空調装置に使用される冷凍サイクル装置の圧縮機のような機器、流体回路、等や送風機他の機器や装置類の故障診断や監視に関する技術のものである。
空調機の故障診断として、センサーや設定値、異常信号などの制御データを取りこみ、更に圧力、温度などの運転データとで、各故障の場合の動作状態のシーケンスをマイコンに記憶させて故障診断を行う技術が提案されている。特許文献1参照。一方、故障診断に多変量解析の手法であるマハラノビスの距離を使用する試みが度々行われている。古くは振動センサの信号を正常時と比較するもの、特許文献2参照、や最近では、多種類のセンサを用いて劣化の兆候を見つけようとするもの、特許文献3参照、などが知られている。
又特許文献4に記載された従来の冷凍サイクル装置においては、液溜(受液タンク)と補助タンクとを連通管によって連通させることによって液溜と補助タンクとの液冷媒を同液面レベルとさせ、補助タンクに設置したフロート式レベルセンサにより液面レベルを検出し、検出した液溜の液面が予め定められた正常液面レベル以上か否かによって冷媒漏れの検知がなされていた。
また、特許文献5に記された従来の冷凍サイクル装置においては、液溜(レシーバタンク)の下部から延びる液取出し管にサイトグラス(フローサイト)を取り付け、サイトグラス内を流れる冷媒液に向けて、発光器から投光し受光器で受光し、受光器の検出信号のレベルに基づいて、冷媒液への気泡の混入、すなわち冷媒漏れの検知がなされていた。
特開平2−110242号公報(第4図〜第11図) 特開昭59−68643号公報(第23頁左上から右上欄) 特開2000−259222号公報(図3〜図9) 特開平10−103820号公報(請求項1、図1、図2、図4) 特開平6−185839号公報(請求項1、図1、図3)
従来のセンサーや設定値、異常信号などの制御データを取りこみ、更に圧力、温度などの運転データとで、各故障における動作状態の故障診断を行う試みは極端な異常状態は判断できるが精度の良い装置にはならないという問題があった。例えば測定値が予め設定された許容限界値を超えた場合に警報手段から異常信号を発生しようとしても、特定の運転データの閾値にしか注目しておらず、冷凍サイクル装置全体を含めた微妙なかつ複合的なデータの変化を捉えることができないために、故障の予兆が表れた時点で異常の可能性検知をすることはできなかった。
また、精度を上げようとするとあまりに多くのデータを取りこみ、且つ、さまざまな状態を仮定した判断が必要で、センサーのみならずマイコン容量の増大や対象機器が変わるたびにマイコンの変更など費用がかかりすぎるし、故障判定の閾値は設計値あるいは特定機の試験により決定するために、この決定に多大な時間がかかり実機の個体差を考慮することができず誤検知の可能性が高かった。
また、多変量解析の手法を用いたとしても、閾値に対する判定が不充分か、あるいはその対策に大量のデータが必要であるため、実用化できず、更に故障原因を特定することができず、故障に対する監視やメンテナンスに迅速に応じることができなかった。
また従来の冷凍サイクル装置は、液溜の液面または液溜から流出する冷媒液への気泡の混入を測定するために、即ち特定データ用の特別なセンサを取り付ける必要があり、非常に高価な装置になってしまうという問題点があった。
また、従来の冷凍サイクル装置は、必要なデータ用の特別なセンサを装置に組み付けるため、既存の冷凍サイクル装置への設置が困難であるという問題点があった。
また、従来の冷凍サイクル装置は、冷媒漏れ量が正常な冷却能力を維持できる限界に至ってから冷媒漏れを検知しており、冷媒漏れを早期に発見し、限界に至る前に対策することができないという問題点があった。
また、従来の冷凍サイクル装置は、特定のデータで冷媒漏れを検知しようとしているため、冷媒漏れと他の異常との異常判別を行うことができないという問題点があった。
本発明は、上述のような課題を解決するためになされたのもので、本発明の目的は、機器、例えば圧縮機単体に加え冷凍サイクルのように装置全体も含めた演算された状態量に基く、故障の早期予兆の検出を可能にするものを得ることである。又本発明の目的は、故障判定における実機個体差を吸収し、且つ閾値などの設定が容易であり、何時でも何処でも何にでも簡単に使える実用的な製品を得ることである。又本発明の目的は、故障判定における故障原因を特定出来、精度良く信頼性の高い技術を得ることである。
またこの発明は、一般的な温度測定手段および圧力測定手段のみの情報で冷媒漏れなどの冷凍サイクルの異常を検知できる安価で信頼性の高い冷凍サイクル装置または診断や監視の技術を得ることを目的としている。また、この発明は、既存の冷凍サイクル装置への適用が容易な冷凍サイクル装置または診断や監視の技術を得ることを目的としている。
また、この発明は、複数のデータの相関関係を利用することで、冷媒漏れなどの各異常の判別を行い異常を早期に発見できる冷凍サイクル装置または診断や監視の技術を得るだけでなく予測などが可能な実用的なものを得ること目的としている。
本発明の機器診断装置は、流体を吸引し吐出する機器の複数の計測量を計測する計測手段と、計測された複数の計測量の相関関係等を演算する演算手段と、運転が正常と判断される際に計測された計測量から求められた平均値などの演算値である状態量であって、少なくとも演算された複数の計測量の相関関係を含む状態量を機器の正常状態の状態量として記憶する正常状態量記憶手段と、を備え、正常状態量記憶手段の記憶する正常状態の状態量から演算して異常状態の状態量を求めるものである。
本発明の機器診断装置は、流体を吸引し吐出する機器の複数の計測量を計測する計測手段と、計測された複数の計測量の相関関係等を演算する演算手段と、運転が正常と判断される際に計測され計測量から求められた平均値などの演算値である状態量であって、少なくとも演算された複数の計測量の相関関係を含む状態量を機器の正常状態の状態量として記憶する、もしくは、機器が異常状態と判断される際に計測されたもしくは異常状態が得られるように設定された複数の計測量から演算手段にて演算された複数の計測量の相関関係を少なくとも含む状態量を機器の異常状態の状態量として記憶する状態量記憶手段と、機器の現在の運転中に演算手段にて流体の複数の計測量を変数として相関関係を演算し得られた状態量を少なくとも含む現在の状態量と、状態量記憶手段にて記憶されている正常状態の状態量及び異常状態の状態量の少なくとも一方とを比較して、現在の運転状態が正常状態ないと判断した場合に異常の程度もしくは異常原因の推測を行う判断手段と、を備えたものである。
本発明の本発明の冷凍サイクル装置は、圧縮機と凝縮器と膨張手段と蒸発器とを配管で接続しその内部に冷媒を流通させて形成する冷凍サイクルと、圧縮機の吐出側から膨張手段に至る流路のいずれかの位置の冷媒圧力の高圧を測定する高圧測定手段もしくは高圧の飽和温度を測定する凝縮温度測定手段である高圧側測定手段と、膨張手段から圧縮機の吸入側に至る流路のいずれかの位置の冷媒の圧力である低圧を測定する低圧測定手段もしくは低圧の飽和温度を測定する蒸発温度測定手段である低圧側測定手段と、凝縮器から膨張手段に至る流路のいずれかの位置の温度を測定する液温測定手段もしくは圧縮機から前記凝縮器に至る流路のいずれかの位置の温度を測定する吐出温度測定手段もしくは蒸発器から圧縮機に至る流路のいずれかの位置の温度を測定する吸入温度測定手段である冷媒温度測定手段と、高圧側測定手段、低圧側測定手段、及び、冷媒温度測定手段の測定値から複合変数などの演算値を演算する演算手段と、各測定値もしくは演算値を記憶するとともに、過去に記憶された値と現在の測定値または演算値とを比較し、この比較結果に基づき冷凍サイクルの異常を判断する判断手段と、を備えたものである。
本発明の冷凍サイクル装置は、圧縮機と凝縮器と膨張手段と蒸発器とを配管で接続しその内部に冷媒を流通させて形成する冷凍サイクルと、この冷凍サイクルが正常に運転している時の複数の測定値を複数の変数として演算した相関関係が少なくとも含まれる状態量を正常運転状態の状態量として記憶する正常状態量記憶手段と、冷凍サイクルに異常が生じた時の複数の測定値を複数の変数として演算した相関関係が少なくとも含まれる状態量を異常運転状態の状態量として記憶する異常状態量記憶手段と、冷凍サイクルの現在の運転状態から得られる複数の測定値を複数の変数として演算した相関関係が少なくとも含まれる状態量である現在運転状態量と、正常状態量記憶手段に記憶された状態量もしくは異常状態量記憶手段に記憶された複数の状態量との距離を比較する比較手段と、比較手段にて比較された距離もしくは距離の変化から冷凍サイクルの正常の度合いまたは異常の度合いまたは異常の原因を判断する判断手段と、を備えたものである。
本発明の冷凍サイクル装置は、圧縮機と凝縮器と膨張手段と蒸発器とを配管で接続しその内部に冷媒を流通させて構成する冷凍サイクルと、圧縮機の吐出側から膨張手段に至る流路のいずれかの位置の冷媒圧力の高圧を測定する高圧測定手段または高圧の飽和温度を測定する凝縮温度測定手段である高圧側測定手段と、膨張手段から圧縮機の吸入側に至る流路のいずれかの位置の冷媒の圧力である低圧を測定する低圧測定手段または低圧の飽和温度を測定する蒸発温度測定手段である低圧側測定手段と、凝縮器から膨張手段に至る流路のいずれかの位置の温度を測定する液温測定手段または圧縮機から凝縮器に至る流路のいずれかの位置の温度を測定する吐出温度測定手段または蒸発器から圧縮機に至る流路のいずれかの位置の温度を測定する吸入温度測定手段である冷媒温度測定手段と、各測定手段の測定値又は測定値から演算された演算値を記憶し、この記憶された値と現在の測定値または演算値とを比較し冷媒漏れを含む冷凍サイクルの異常かどうかを判断する判断手段と、冷媒漏れを判断した場合に他の冷凍サイクルの異常に優先して冷媒漏れ情報を出力する出力手段と、を備えたものである。
本発明の流体回路診断方法は、機器が吸引し吐出して回路内を流れる流体の物理量から複数の測定量を測定する測定ステップと、測定されたデータから得られた複数のパラメータを複数の変数として組み合わせ相互に関連する集合体を演算し演算結果を算出する演算ステップと、演算結果が設定された閾値内かどうかを比較して流体が正常な運転状態かどうかを判断する判断ステップと、を備えたものである。
本発明の流体回路診断方法は、流体回路内を循環させる機器が吸引し吐出する流体の物理量から複数の測定量を測定する測定ステップと、測定された測定量から得られた複数のパラメータを複数の変数として組み合わせ相互に関連する集合体を演算し演算結果を算出する演算ステップと、演算結果が記憶された正常運転時の演算結果及び異状運転時の演算結果の少なくとも一方と、且つ、運転された経過時間とから、流体回路内の流体が異常となる迄の時間を推測する故障予知ステップと、を備えたものである。
本発明の流体回路診断方法は、流体回路内を循環させる機器が吸引し吐出する流体の物理量から複数の測定量を測定する測定ステップと、測定された測定量から得られた複数のパラメータを複数の変数として組み合わせ相互に関連する集合体を演算し演算結果を算出する演算ステップと、演算結果が記憶された正常運転時の演算結果及び異状運転時の演算結果の少なくとも一方と、且つ、運転された経過時間とから、流体回路内の流体が異常となる迄の時間を推測する故障予知ステップと、を備えたものである。
本発明の冷凍サイクル監視システムは、機器診断装置により運転中の機器の運転状態を監視する機器監視システムであって、機器診断装置にて計測された計測量、演算された演算値、及び演算値が設定された閾値内かどうかを比較して機器が正常な運転状態かどうかの判断結果の少なくとも一つを通信線もしくは無線通信を介して機器の運転状態を監視する遠隔監視装置に伝送されるものである。
本発明の冷凍サイクル監視システムは、圧縮機と凝縮器と膨張手段と蒸発器とを配管で接続しその内部に冷媒を流通させて冷凍サイクルを構成する冷凍サイクル装置の圧縮機の吐出側から膨張手段に至る流路のいずれかの位置の冷媒圧力の高圧を測定する高圧測定手段もしくは高圧の飽和温度を測定する凝縮温度測定手段である高圧側測定手段と、膨張手段から圧縮機の吸入側に至る流路のいずれかの位置の冷媒の圧力である低圧を測定する低圧測定手段もしくは低圧の飽和温度を測定する蒸発温度測定手段である低圧側測定手段と、凝縮器から膨張手段に至る流路のいずれかの位置の温度を測定する液温測定手段もしくは圧縮機から凝縮器に至る流路のいずれかの位置の温度を測定する吐出温度測定手段もしくは蒸発器から圧縮機に至る流路のいずれかの位置の温度を測定する吸入温度測定手段である冷媒温度測定手段と、高圧側測定手段、低圧側測定手段及び冷媒温度測定手段の測定値から複合変数を求める演算手段と、各測定手段の測定値もしくはそれらから演算された複合変数などの演算値を記憶する記憶手段と、記憶手段により過去に記憶された値と現在の測定値または演算値とを比較し、この比較結果に基づき冷凍サイクルの異常を判断する判断手段と、を備え、冷凍サイクル装置から離れた地点に設けられ、測定値又は演算値又は判断手段の少なくとも1つで判断した結果を伝送する有線もしくは無線にて形成される伝送手段と、を備えたものである。
この発明は、流体の一般的な計測量から運転状態を診断するもので、簡単で確実な診断により、異常検知、更には異常時期予測などが可能となる。又本発明は精度が良く、実用的で、故障原因の特定等が可能となる診断技術が得られる。又本発明は機器や冷凍サイクルの監視が確実に行われる。
実施の形態1.
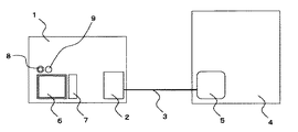
本発明の実施の形態1の構成について図1〜図8を用いて説明する。図1は本発明の全体概念図であって、1は例えば冷凍機、空調機などの冷凍サイクル装置、2は冷凍サイクル装置1の運転状態量を検出し、検出結果の演算、記憶、表示画面もしくは警告ランプなどへの出力およびデータを外部と送受信する装置などを内蔵した基板やマイコン、3は電話回線、LAN回線、無線などの外部との通信を行う手段、4は冷凍サイクル装置1の遠隔監視および制御などの集中管理を行なう遠隔監視室、5は遠隔監視室4内に設置され冷凍サイクル装置1とのデータ送受信を行なうための表示および演算機能を有する遠隔環視手段であるコンピュータ、6は冷凍サイクル装置1に設けられた液晶ディスプレイなどの表示装置、7はタッチパネルもしくはボタンなどの入力装置、8は異常発生を報知するための警告ランプ、9は異常発生を報知するための音を発生するスピーカーである。冷凍機、空調機などの冷凍サイクル装置1はビルに置かれた空調、スーパーなど大型店舗に設置された冷蔵庫や空調システム、あるいは小型店舗などの冷凍・空調装置、あるいは集合住宅の各家庭の空調装置などであり、遠隔監視室はそれらの複数の設備を監視するもので合っても、個別の設備を監視するものであっても良い。あるいは一戸建てなどの各住宅内で監視用コンピュータもしくは監視装置に接続されていても良い。なお、図1では、表示装置6、入力装置7、警告ランプ8、スピーカー9は冷凍サイクル装置1内に内蔵されている場合について示したが、当然、これら全部あるいはこれらのうち一部が冷凍サイクル装置1の外部に設置されていても構わないし、これらのうち一部あるいは全部を具備していない構成であっても、何らかの代替手段、例えば遠隔地点に通信手段3で接続されたコンピュータが設置されている場合など、があれば構わない。
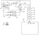
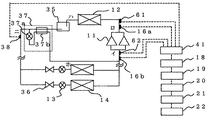
図2は本発明の図1の冷凍サイクル装置1の詳細を表す構成図で、11は圧縮機、12は凝縮器、35は液溜、37は過冷却手段、36は流路開閉手段、13は膨張手段、14は蒸発器であり、これらが配管で接続され、内部に冷媒を流通させ、冷凍サイクルを構成している。圧縮機11、流路開閉手段36、膨張手段13、蒸発器14は1つまたは複数個設置されており、凝縮器12は機械室または屋外に設置されており、蒸発器14は例えばショーケースなどに内蔵されている。16は冷凍サイクル装置1の圧力、温度などの冷媒状態を検出する冷媒計測量検出手段であって、16aは冷媒の高圧検出手段、16bは冷媒の低圧検出手段、38は液管温度検出手段、61は冷媒の吐出温度検出手段、62は冷媒の吸入温度検出手段、41はデータ収集手段、18は冷媒状態量検出手段16の検出結果を基に各種演算を行なう演算手段、19は過去の演算結果、基準値などを記憶する記憶手段、20は演算結果と記憶内容を比較する比較手段、21は比較の結果を踏まえて判断を行なう判断手段、22は判断結果を表示手段や遠隔に出力する出力手段である。図3は冷凍サイクル装置の冷凍サイクルの動作を示すモリエル線図であり、横軸にエンタルピー縦軸に圧力をとりイ〜ホの番号は図2のそれと対応している様に、冷凍サイクルの圧縮、凝縮、膨張、蒸発のサイクルが示されている。なお図2には図示していないが、凝縮器12、蒸発器14には空冷用の送風機が設けられている。又圧縮機11はスクロール式、ロータリー式、レシプロ式、スクリュー式などが知られているが、大半の圧縮機はその筐体内部で圧縮機構に直結されたモータ(図示せず)にて駆動されている。このモータは交流電源からの商用電力により略一定速度で回転する誘導電動機や、商用電力を直流に換えインバータで周波数を調整して圧縮機の回転数を換えるDCブラシレスモーターなどがある。この圧縮機を駆動するモーターには電圧が加えられ負荷に応じた電流が流れており、データー収集手段41は流体の物理量だけ出なく、この冷凍サイクル装置の流体を循環させる機器を駆動するモーターの電流、即ち機器駆動手段を駆動する電気量もデータとして検出し集めている。
図2において、各検出手段にて検出されデータ収集手段41にて収集された冷凍サイクルの各部圧力、温度などの状態量を基に演算手段18において複合変数演算処理を行う。そして過去のデータや設定閾値などが記憶されている記憶手段19、記憶データと現在値を比較する比較手段20、比較結果を基に総合的な判断を行う判断手段21、判断結果を出力する出力手段22、出力された判定結果は表示手段6にて表示、または遠隔地にて運転状態を監視する遠隔監視手段5へと情報伝達される。図1、図2の説明では、冷媒を循環させて暖房や冷房などの空調や冷蔵庫や冷凍倉庫などの冷蔵や冷凍を行う冷媒回路、この冷媒回路の運転状態を検出するセンサー類、演算などの制御に必要なマイコン、基板類を冷凍サイクル装置内に収納し、運転状態を計測し、演算し比較評価して判断するところまでをこの装置内で行う説明としている。しかしながら、冷凍サイクル近傍にはセンサー類にて計測するところまで設け、演算18以降は遠隔監視室4に設けても良い。
図2にて冷凍サイクル装置の動作について説明する。冷凍サイクル装置1の冷媒回路内には冷媒が封入されており、冷媒は圧縮機11にて圧縮加圧され、凝縮器12にて高温高圧の冷媒は空冷ファンもしくは水冷などの液体冷却方式(図示せず)にて冷却液化され、膨張弁13にて減圧膨張されて低温低圧の冷媒となり、蒸発器14にて空冷ファンもしくは水などの液体熱媒体(図示せず)との熱交換により蒸発して加熱気化される。そして、気化した冷媒は圧縮機11の吸入側へ戻り、再び圧縮加圧工程へと移る。またこのとき凝縮器12にて冷媒と熱交換された空気もしくは液体は高温加熱され暖房熱源に利用されるか外気と熱交換され、蒸発器14にて冷媒と熱交換された空気もしくは液体は低温冷却され冷房もしくは冷蔵・冷凍熱源として利用されるか外気と熱交換をする。使用される冷媒は二酸化炭素、炭化水素、ヘリウムのような自然冷媒、HFC410A、HFC407Cなどの代替冷媒など、塩素を含まない冷媒、もしくは既存の製品に使用されているR22、R134aなどのフロン系冷媒を使用し、冷媒を循環させる圧縮機などの流体機器は、レシプロ、ロータリー、スクロール、スクリューなどの各種タイプとする。なお、本発明の異常判定は新規製品のみならず既存の既に運転状態にあった製品に対しても、不足するセンサーを後付で追加することにより実現が可能である。
なお、図2に示したデータ収集手段41から出力手段22の構成は、各手段一式を基板として冷凍サイクル装置1内に内蔵する方式について説明したものであり、この他、例えば演算手段18から出力手段22までの機能を図1の遠隔監視室4内に設けられたコンピュータ5に持たせ、コンピュータ5にて各手段の処理を行う方式にしても構わない。また、冷凍サイクル装置1と遠隔監視室4内に設けられたコンピュータ5の両方に機能を分担や並存をさせてもよい。例えば両方に記憶手段19を持ち、記憶領域の少ない冷凍サイクル装置1内の記憶手段のデータを記憶容量の大きいコンピュータ5内の該当データで書き直すことをしてもよく、季節によって違うデータを使用したい場合などに有効な方法である。また、各手段の機能は冷凍サイクル装置1本体内あるいは遠隔監視室4のいずれに配置してもその機能を満たすことができればよい。なお、遠隔監視室4内に設けられたコンピュータ5として説明するが、これは複数の機器を集中監視するのに好都合であるからだが、特定機器を対象とする場合はモバイルのような移動用の監視装置を使用し、サービスマンが常に移動しながら監視できるようにしても良いし、家庭内の簡単な監視装置であっても良いことは当然である。
次に、本発明の一例の冷凍サイクル装置の診断や異常判定の動作について図2に基き説明を行う。冷凍サイクル装置の各検出手段によりデータ収集された計測量は、冷凍サイクルの運転状態を把握するために必要な冷媒回路を流れる冷媒の各部圧力、温度の計測量であり、冷媒計測量検出手段16にて各種データの検出が行なわれデータ収集手段41にて集められる。なお、冷凍サイクルの運転状態を把握するためには、図2において、圧縮機11と凝縮器12と膨張手段13と蒸発器14とを配管で接続し冷凍サイクルを形成させ、その循環回路内部に冷媒を流通させて、この冷凍サイクル装置1の圧縮機11の吐出側から膨張手段13に至る流路のいずれかの位置の冷媒圧力の高圧を測定する高圧測定手段もしくはこの高圧の飽和温度を測定する凝縮温度測定手段である高圧側測定手段16aと、膨張手段13から圧縮機11の吸入側に至る流路のいずれかの位置の冷媒の圧力である低圧を測定する低圧測定手段もしくは低圧の飽和温度を測定する蒸発温度測定手段である低圧側測定手段16bと、凝縮器12から膨張手段13に至る流路のいずれかの位置の温度を測定する液温測定手段38もしくは圧縮機11から凝縮器12に至る流路のいずれかの位置の温度を測定する吐出温度測定手段61もしくは蒸発器14から圧縮機11に至る流路のいずれかの位置の温度を測定する吸入温度測定手段62である冷媒温度測定手段と、言うごとく各部に冷媒の物理量を計測する測定手段を設ける。なおこれらの測定手段は通常冷凍サイクルに配置されているものを利用すると簡単であるが必要に応じて後から外付けしても構わない。
これらの高圧側測定手段、低圧側測定手段及び冷媒温度測定手段の測定値から演算によりデータの特徴を表す状態量とすることが出来る。例えば複合変数を演算手段18で演算し、各測定手段の複数の測定値を複合変数とし、もしくは測定量から特徴のある演算値を求めてそれらを複合変数とするなど測定値とともに演算値を記憶手段19にて記憶させる。この記憶手段に記憶された過去の値と現在の測定値または演算値とを比較し、この比較結果に基づき冷凍サイクルの異常を判断することができる。圧力の測定は冷媒の圧力を電気信号へ変換する圧力変換器などを用いて行い、温度の測定はサーミスタ、熱電対などの温度検出手段を用いる。なお、圧力、温度測定位置については、対象とする冷凍サイクルの構成、動作特性に合わせて、位置の変更、測定位置の増設を行い、より的確に冷凍サイクル運転状態を把握するように構成してもよい。状態量の測定は、ある一定間隔例えば1分という分単位や時間単位間隔などで測定が行われ、データ収集手段41へ情報伝達される。
冷媒の物理量の各測定手段による測定はデータが収集される流体回路である冷媒回路を流れる冷媒である流体に相互に関連している状態で計測されたものであり、同一時間帯又は関連した時間帯にて計測されたデータが使用される。なお、測定した複数のデータから演算して状態量が得られるが、測定データそれぞれを同列のデータとして扱うために測定間隔を合わせて演算処理を行ない、一定時間間隔ごとに演算処理を行なう。したがって状態量は関連したデータによるものが得られる。
次に測定された各データを組み合わせて複合変数にする方法、およびその複合変数を用いて圧縮機等の機器や冷凍サイクルなどのシステムにおける異常検知をする方法について説明する。複数の計測量を処理する方法の一例として、一般周知である、マハラノビスの距離、が挙げられる。マハラノビスの距離、とは、例えば、1992年10月26日に東京図書株式会社から発行された「すぐわかる多変量解析」に記載があり、多変量解析の分野で使われている手法である。以下、マハラノビスの距離を用いて圧縮機等の異常検知をする手法について説明する。なお漏れ、劣化、故障などは破損したり絶縁短絡など明確に表面に現れる最終段階を除き特に初期段階ほど運転諸量、データや表面に現れる現象は複雑である。これはデータなどが複雑な要因の組み合わせであり、これらを一元的に捉えるのではなく多元的に捉えることにより複雑な構造が単純化されてくることがあり、多変量解析と言う手法が取り入れられている。しかしながら、単に多変量解析を使用しただけでは目的の結果、例えば初期段階の不良を見つけることが出来ない。この発明は変量間の相関関係から実用的な診断の技術を得ることが出来たものである。
冷凍サイクル運転状態を表す各測定データの合計数をmとし、各計測量もしくは状態量をそれぞれ変数Xに割付け、X1〜Xmのm個の運転状態量を定義する。次に基準となる正常運転状態、例えば空調装置を据え付け試運転して正常であることを確認した状態、あるいは順調に設定された能力を出力している装置の運転時においてX1〜Xmの運転状態量を合計n組(2以上)の組合せ分の基準データを収集する。
そして、X1〜Xmのそれぞれの平均値miおよび標準偏差σi(基準データのバラツキ度合い)を、下記の(1)式と(2)式により求める。なお、iは項目数(パラメータの数)であって、ここでは1〜mに設定してX1〜Xmに対応する値を示す。ここでの標準偏差とは変数とその平均値との差を2乗したものの期待値の正平方根を取り上げるとする。
Figure 2005291702
Figure 2005291702
次に、演算され特徴を示す状態量である前述の平均値miおよび標準偏差σiを用いて元のX1〜Xmを、下記の(3)式によってX1〜Xmに変換するという基準化を行なう。すなわち変数を平均0、標準偏差1の確率変数に変換するものである。なお、下記の(3)式においてjは1〜nまでの何れかの値をとり、n個の各測定値に対応するものである。
Figure 2005291702
次に、変量を平均0、分散1に標準化したデータで分析を行うため、分散共分散行列としてX1〜Xmの相関関係、すなわち変量の間の関連性を示す相関行列Rおよび相関行列の逆行列R−1を、下記の(4)式で定義付ける。なお、下記の(4)式においてkは項目数(パラメータの数)であり、ここではmとする。また、iやpは各項目での値を示し、ここでは1〜mの値をとる。
Figure 2005291702
このような演算処理の後で、特徴を示す状態量であるマハラノビスの距離を下記の(5)式に基づいて求める。なお、(5)式においてjは1〜nまでの何れかの値をとり、n個の各測定値に対応するものである。また、kは項目数(パラメータの数)であり、ここではmとする。また、a11〜akkは上記の(4)式の相関行列の逆行列の係数であり、マハラノビスの距離は基準データすなわち正常運転状態のときは約1となり4以下に収まるが、異常になると数値が大きくなり、異常の度合い(正常からの離れ度合い)に応じて距離が大きくなるという性質を有する。なおここではクラスター分析に必要な非類似度、すなわち距離としてマハラノビスの距離を使用したが、標準化ユークリッド距離やミンコフスキー距離などや他の最短距離法や最長距離法を使うなどの多変量解析手法でも良い。
Figure 2005291702
ここで、マハラノビスの距離の概念および計算フローについて図4、図5を用いて説明する。図4は横軸にマハラノビスの距離を取りその出現率を縦軸として関係を図示したものである。図のように、パラメータの数が幾つの場合においても演算したマハラノビスの距離が、基準データ群に対してどういう位置関係に存在するかを判断し、冷凍サイクル装置の故障状態を確認できる。なお、基準データ群においてはマハラノビスの距離は平均値が約1となり、バラツキを考慮した場合でも4以下となる。
図5はマハラノビスの距離の計算フローチャートである。最初に基準データの平均値、標準偏差、相関行列の逆行列、項目数をセットし(ST1)、冷凍サイクル運転中に計測し演算した状態量を取得する(ST2)。次に、前記の(3)式に基づいてこれら取得データの基準化を行い(ST3)、この後でマハラノビスの距離を初期値として0、カウンターi、jを初期値の1にセットする(ST4)。そして、カウンターi、jが項目数kに至るまで変化させ、マハラノビスの距離を(5)式の演算をST5〜ST7の繰返し計算およびST8にて得られた積分値を項目数kで除することにより行い、マハラノビスの距離D2を求めることができる。
次に冷媒漏れの診断を冷凍サイクルの動作および異常の推測方法などを含め図2他にて説明する。先ず、冷凍サイクル内の冷媒量について説明する。例えばスーパーマーケットのショーケース用の冷却に用いる冷凍装置においては、ショーケースは食品売り場に設置されるが、その数、大きさ、種類、配置は設置される店によって異なり、それによってショーケース内に配置されている蒸発器14の内容積も異なる。また、圧縮機11、凝縮器12、液溜35の設置場所も店の構造によって異なり、例えば食品売り場の裏手に設置される場合や屋上に設置される場合があり、それによって蒸発器14と圧縮機11、凝縮器12、液溜35とを接続司令塔サイクルを形成する配管の長さが異なったものとなる。冷凍サイクルが所定の性能を発揮するためには冷凍サイクルの内容積に適した冷媒量を必要とし、蒸発器の内容積や配管の長さが異なると冷凍サイクル全体で必要とする冷媒量も異なったものとなるため、冷凍装置の冷媒は、現地に機器を設置した後で充填される。また、冷凍サイクルでの必要冷媒量は、冷凍サイクルの状態によっても異なり、冷凍サイクルの状態は外気温度やショーケースなどの負荷側機器の運転状態によって異なるため、通常、冷媒を充填する時は、運転状態によらず、常時、凝縮器や蒸発器などの各構成機器に必要な冷媒量が配分されるように、少し多めに冷媒を充填し、冷凍サイクルの各構成機器が適正冷媒量になった後の余剰冷媒は、液溜35の中に溜まる。
冷凍サイクルに充填された冷媒のうち、各構成機器が必要とする冷媒量は冷凍サイクルの状態により時々刻々変化し、それによって、液溜35内の余剰冷媒の量も変化する。そして、冷凍サイクルの各構成機器が必要とする冷媒量が、冷媒充填量に対して十分に大きくなると、液溜35内に余剰冷媒を持つことができなくなり、液溜35からガス混じりの二相冷媒が流出してしまう。多少ガスが混ざっているくらいであれば、過冷却手段37(周囲空気による液配管の冷却を含む)にて分岐路膨張手段37aを介して液管熱交換手段37bにて熱交換して液化されるため大事には至らないが、液溜35から流出する冷媒へのガスの混入量が更に増えた場合は、二相冷媒が膨張手段13に流入してしまい、必要な冷却能力が確保できなくなる不冷状態に陥り、冷蔵あるいは冷凍食品の周囲空気温度が高くなり、食品の品質が悪くなってしまう。
そのような事態を防ぐため、余剰冷媒を溜める液溜35が設置してあり、冷凍サイクルが必要とする冷媒量の変動分も見込んで冷媒を封入する。しかし、設置初期時の工事不良や振動による配管とバルブの接続部の緩みなどの経年的な変化により、冷凍サイクルから冷媒が抜ける冷媒漏れが発生する場合がある。冷媒漏れが発生すると冷凍サイクル内の冷媒が徐々に減少し、ついには不冷状態に陥ってしまう。
しかし、冷媒漏れは微小な配管隙間から漏れるため、非常にゆっくりとした速度で進行するスローリークが多い。スローリークは数週間あるいは数ヶ月かけて徐々に冷媒が抜けるため、冷媒の噴出音もほとんどなく、また冷媒が少なくなることによる冷凍サイクルの変化も日々の変化量が少ないため、発見するのが非常に困難である。また、冷凍装置においては、液溜35が余剰冷媒を保持しているため、冷媒が少し抜けても、液溜35内の冷媒液面が低下するだけで、冷凍サイクルの変化としては現れず、冷媒漏れを発見するのが更に困難になる。そして、液溜35内の冷媒液面が液溜下部の冷媒取出口にまで到達すると、液溜35からガス混じりの二相冷媒が流出し、それが更に進むと不冷状態に陥ってしまう。冷媒漏れは、漏れた分が蒸発し後に残らないなど発見が困難であり、また突然不冷状態に陥るため、市場でのクレームが最も多く、不冷状態に陥る前に冷媒漏れを発見し、再充填したり対策を取ることは非常に大きな意義を持つ。冷媒漏れにおける冷凍サイクルの状態は段階を追ってみると、3段階に分けられる。
まず、冷媒漏れの初期状態においては、液溜35内の冷媒液面が十分な高さにあるため、冷凍サイクルは変化しない。これが第一段階である。そして、冷媒漏れが進むと、液溜35内の液面が下がり、液溜35からの流出冷媒がガス混じりの二相冷媒になるが、過冷却手段37(周囲空気による液配管の冷却を含む)によって冷却され液化し、冷媒が膨張手段に至る前には液冷媒に戻るため、冷却性能としては十分に確保されている状態になる。これが第二段階である。そして、更に冷媒漏れが進むと、液溜35からの流出冷媒へのガスの混入量が増加し、過冷却手段37(周囲空気による液配管の冷却を含む)による冷却能力では十分に冷却できずに、ガス混じりの二相冷媒が膨張手段に流入してしまい、必要冷却能力が出せずに不冷状態に陥る。空調装置にしろ冷凍装置にしろ役に立たなくなる段階であり、これが第三段階である。この段階で冷媒漏れを発見しても、既に遅いため、第一段階または第二段階で冷媒漏れを検知する必要がある。
第一段階において冷媒漏れを検知するためには、液溜35内の液面を測定するための特別なセンサーが必須となり既設機には適用できないし個々の製品で異なるものとなる。しかし、ここでは、実用的で安価かつ標準の冷凍装置に使用できる冷媒漏れ検知を目的にしているため、第一段階での検知では無く、第二段階における冷媒漏れを検知する方法を考える。第二段階においては、過冷却手段37に流入する冷媒が二相冷媒になっているため、完全な液冷媒の時よりも過冷却手段37での冷却能力が落ち、膨張手段13の入口での冷媒のサブクール(過冷却度)が、冷媒漏れがない状態あるいは冷媒漏れの第一段階に比べて小さくなる。そこで、このサブクール(凝縮温度と液管温度との差)の変化を捉えられれば、冷媒漏れを特定することができる。
しかし、冷凍装置においては、外気温が異なると凝縮器12での熱交換量が異なる。また、ショーケースや冷蔵庫などの負荷側機器に内蔵されている蒸発器14の周囲空気温度は、流路開閉手段36の開閉および膨張手段13の開度によって常時制御されている。更に、圧縮機11は冷凍サイクルが正常に運転するように容量制御、台数制御あるいはON/OFF制御を行っている。冷凍装置においては、配管内を冷媒が循環することで冷凍サイクルが形成されているため、冷凍サイクルの各状態量はお互いに相関を持って変化しており、これら運転状態の変化によって高圧、低圧、サブクール(凝縮温度と液管温度との差)などの冷凍サイクルの各状態量が変化する。
すなわち、冷凍サイクルのサブクール(凝縮温度と液管温度との差)は、凝縮器12での熱交換量、流路開閉手段36や膨張手段13の制御状態、圧縮機11の制御状態、冷媒漏れ量のいずれの要因によっても変化し、サブクール以外の高圧や低圧などの他の冷凍サイクルの状態量も、同じように、凝縮器12での熱交換量、流路開閉手段36や膨張手段13の制御状態、圧縮機11の制御状態、冷媒漏れ量のいずれの要因によっても変化する。したがって、冷凍サイクルのサブクール(凝縮温度と液管温度との差)の変化のみを測定しても、サブクールの変化が冷媒漏れによるものなのか、冷凍サイクルの運転状態の変化によるものなのか特定することができない。
しかし、冷媒漏れ以外の変化要因は、通常の冷凍装置の運転において発生するものであるため、冷媒漏れが生じていない運転状態において冷凍サイクルのサブクールを含む複数の状態量を測定し、これらを互いに相関を持った集合体として扱うことができれば、冷媒漏れが発生した場合はその集合体から外れるため、冷媒漏れを特定できることになる。このように、複数の状態量を集合体として捉える方法としては、既に説明したマハラノビスの距離を利用する方法がある。
マハラノビスの距離による方法を冷凍サイクルの冷媒漏れ検出に利用するとしたとき、検討の結果、冷凍装置の冷媒漏れの特徴量は、高圧、低圧およびサブクールであることがわかった。特徴量とは、その現象が起きたときに、変化の現れる状態量のことである。今、冷凍サイクルの高圧をX1、低圧をX2、サブクールをX3とし、冷媒漏れが生じていない状態でX1〜X2を変化させて合計n個(2以上)の組み合わせを作り、それぞれにおけるX1〜X3を測定する。その測定された測定値を基準データとする。そして、X1〜X3それぞれの平均値および標準偏差(データのばらつき度合い)は既に式1、式2で説明している。次に、これらを用いて式3のように基準化してもとのX1〜X3をx1〜x3に変換する。なお、jは1〜nまでのいずれかの値をとり、n個の各測定値に対応するものである。式4のごとくx1〜x3の間の相関関係を示す相関行列Rと相関行列の逆行列R−1を求める。
この平均値、標準偏差、相関関係を示す行列によって、データをある分布をもった集合体として扱うことができる。このデータの集合体のことを単位空間と呼ぶ。そして、判断のベースとする正常状態、ここでは冷媒漏れなしの状態、に対する単位空間を基準空間と呼ぶ。また、この基準空間を構成するデータを基準データと呼ぶ。
マハラノビスの距離D2は式5で定義されている。なお、式におけるjは1〜nまでのいずれかの値をとり、n個の各測定値に対応するものである。また、kは項目数(パラメータの数)でここでは3である。また、a11〜akkは相関行列の逆行列の係数であり、マハラノビスの距離は基準空間、すなわち冷媒漏れなしの時は、約1になる。そして、検知したい冷媒漏れ量に対応する高圧X1、低圧X2、サブクール(凝縮温度と液管温度との差)X3を測定し、上述によって冷媒漏れ状態におけるマハラノビスの距離を求め、これを閾値として記憶する。なお、この時、相関行列の逆行列は基準となる冷媒漏れなしの状態で求めたものを用いる。
マハラノビスの距離の概念を図6に示す。図6は横軸に高圧を取りと縦軸にサブクール(凝縮温度と液管温度との差)を取った2つのパラメータの相関関係を示している。すなわち、高圧が上がればサブクールも大きくなる。そして、各測定データは運転状態や装置の制御などの違いによりばらつきはあるものの高圧とサブクールの間には相関関係があり、冷媒漏れがない状態においてはある範囲に収まる、これらを基準データとし、基準空間を作成する。その他の各状態量においても、この高圧とサブクールのように相関関係がある。そして、その基準空間(基準データ)に対して、判断すべきデータが正常か異常かをマハラノビスの距離によって判断するのである。
また、既に図4で説明したようにマハラノビスの距離とその出現率は、パラメータが幾つの場合でも、計算されたマハラノビスの距離が基準空間に対してどういう位置関係にあるかで正常か異常かの判断ができる。なお、基準空間においては、マハラノビスの距離は平均が約1になり、バラツキを考慮しても、4以下になる性質がある。そして、実機においては、冷凍装置の各計測量を測定する測定手段を備えておき、これらの測定値を先の式にて処理して状態量とし、マハラノビスの距離を求める。すると、このマハラノビスの距離の大きさが冷媒漏れ量と対応し、マハラノビスの距離の大きさから冷媒漏れを知ることができる。なお、マハラノビスの距離は基準空間(正常状態)においては通常は4以下の値になるため、この閾値までを正常とし、これを越えていた時に異常と見なす。しかし、実際には、検知誤差の問題もあるため、冷媒漏れを判断する閾値は4よりも大きい適切な値、例えば50に設定する。なお、閾値は冷凍サイクルが不冷に至る前の冷媒漏れの第二段階の冷媒量に相当する値に設定する。
図7は、横軸に冷媒回路内の冷媒量を示し、縦軸にマハラノビスの距離を取っている。すなわち実機における冷媒漏れ量とマハラノビスの距離の関係を示した一例である。図7において、正常は冷媒漏れがない状態でこのデータにて基準空間を作成し、液溜液面低下である三角は先に示した冷媒漏れの第一段階、四角で示す二相流出・液化は第二段階、バツで示す不冷直前・不冷は第三段階を示している。冷媒漏れなしと冷媒漏れの第一段階ではマハラノビスの距離に変化は見られないが、その後第二段階、第三段階と進むにつれ、マハラノビスの距離が徐々に大きくなっていくのが分かる。なお、ここでは特徴量を高圧、低圧、サブクールとしたため正常状態と第一段階とを区別できなかったが、液溜内の液面(液溜内冷媒量)変化を捉えられるセンサーを取り付けて液溜内冷媒量を特徴量に加えると正常状態と第一段階とではマハラノビスの距離が変化し、正常状態と第一段階とを区別できることも分かっている。したがって計測量をふやすことにより正常な範囲を更に厳密に設定することが出来る。このように正常な段階、故障もしくは故障に近い異常な段階以外に正常と異常の間に中間段階を設ける事により、この中間段階を検出して故障までにかかる時間を推測することで故障を予知することが出来、信頼性の高い機器や装置の運転を確保できる。このような中間段階として例えば電気部品などの特性劣化現象を捕まえたり、機構部品の部分的な異常接触や、面粗さの変化などの劣化を捕まえても良い。
次に、図8に示す動作フローチャートにしたがって説明する。まず、基準データの平均値、標準偏差、相関行列の逆行列、項目数をセットし(ST61)、マハラノビスの距離の閾値をセットする(ST62)。次に、高圧、低圧、液管温度を測定し高圧と液管温度からサブクールを算出し(ST63)、高圧、低圧、サブクールを順にX1〜X3に置く(ST64)。そして、先に示した式9によってデータの基準化を行い(ST65)、マハラノビスの距離を初期値の0、カウンターi、jを初期値の1にセットする(ST66)。次に、カウンターi、jをそれぞれが項目数kに至るまで変化させ、先に示した式5の計算を行う(ST67〜ST70)。以上の計算は演算手段にて行う。そして、計算されたマハラノビスの距離と閾値とを比較手段にて比較、マハラノビスの距離が閾値を超えているか否かを判断手段にて判断し(ST71)、YESの場合は冷媒漏れが起きているものと見なし出力手段へ出力をする、例えば冷媒漏れ表示や電圧出力をするなどである(ST72)。
なお、ここでは、冷媒漏れを、冷凍サイクルの高圧と低圧とサブクール(凝縮温度と液管温度との差)の3つの計測量もしくは状態量により推測することを例に説明を行ったが、これに限るものではない。高圧の代わりに凝縮温度(凝縮器の飽和温度)を使用してもよいし、低圧の代わりに蒸発温度(蒸発器の飽和温度)を使用してもよい。また、3つの状態量より多くの状態量を使用してマハラノビスの距離を求めるようにしてもよく、その方が検知精度が向上する。また、液管温度検出手段38は、過冷却手段の出口配管に設置されている場合を例に説明を行ったが、これに限るものではなく、液配管であればどこに設置してもよく、同様の効果を奏する。ただし、液管温度検出手段を設置した位置でのサブクール(凝縮温度と液管温度との差)がなるべく大きい方が、冷媒漏れの検知精度が高くなるため、高圧側でかつ膨張手段になるべく近い位置に設置することが、より好ましい。
また、ここでは、液溜35を有する冷凍装置を例に説明を行ったが、液溜35を有する空調機器など、他の機器でも液溜35を有し液溜に余剰冷媒を溜めているものであれば、同様の原理で同様の効果を奏するのは言うまでもない。また、液溜に余剰冷媒を溜めるように構成されていればその他の機器構成が異なっても、同様のことが言え、例えば液溜とアキュムレータを有する冷凍装置においても、余剰冷媒は液溜に溜めているため、同様の原理で同様の効果を奏する。
また、マハラノビスの距離を冷媒漏れ量としてそのまま出力してもよい。マハラノビスの距離の平方根をD値と呼ぶものとし、限界冷媒漏れ量に相当するD値を求めておき、それを最大出力電圧例えば5Vと対応させ、図9に示すように、冷媒漏れなし、漏れ量小、漏れ量中、漏れ量大から限界冷媒漏れ量まで、D値と電圧とを対応させて出力手段22から出力するという方法も考えられる。図9は図2と同様に冷凍サイクル装置の構成を示しており出力手段22から図に示すように漏れ量の大小のレベルを示す電圧が出力される。今まで説明してきたマハラノビスの距離は各状態量の偏差の二乗に比例する値であるが、D値は、マハラノビスの距離の平方根であるため、各状態量の偏差に比例する値であり、電圧などと対応させるのに扱いやすい値である。
図10は、横軸に時間、縦軸にD値(マハラノビスの距離の平方根)をとったグラフであり、ある異常が発生する場合の正常状態からのD値の時間経過による推移を表した図である。D値は、正常状態においては2以下の値であり、図のようにある異常に対し、D値は時間の推移に伴い次第に大きな値へと変化していく。従って、D値の増加傾向と故障の閾値との関係から故障に至るまでの時間が推測可能であり、推測された故障時期の前に的確なメンテナンスを行うことにより装置が異常停止することを未然に防ぐことが可能となる。例えば、初期の正常状態からD値が閾値の半分の値に到達するまでに1ヶ月かかったとすると、D値が閾値に至り故障状態に陥るまでにあと1ヶ月かかるものと予想できる。また、D値の変化の仕方が比例的でない場合、例えば、最近1週間のD値の増加速度が大きくなっている場合は、その1週間のD値の変化速度を用いて故障時期を予測することで、より正確な故障予知が可能となる。なお、D値の代わりにマハラノビスの距離を使っても当然同様のことが言える。
冷媒漏れを例にもう少し詳しく説明する。冷媒漏れは、一度発生すると、冷媒漏れの箇所を塞ぐか再充填しない限り冷媒漏れの拡大が止まらないため、マハラノビスの距離およびD値は増加の傾向を続ける。したがって、マハラノビスの距離またはD値の増加の傾向が続いている場合は冷媒漏れの可能性が高いと言え、マハラノビスの距離またはD値が閾値に至っていなくても、冷媒漏れと判断することができ、距離の変化速度から、閾値に至る時間、すなわち冷媒漏れが限界量に至る時間を予測することができる。なお、冷凍サイクルの状態量は常に変化しているため、マハラノビスの距離およびD値は冷媒漏れ量が変わらなくても変化する。したがって、ここでいう増加の傾向とは、単調増加でなければならないわけではなく、微小な増加あるいは減少は除いて、全体として増加傾向にあることを意味している。そして、その冷媒漏れが限界量に至る時間の予測に基づき、限界冷媒漏れ量に至る時期を電圧で出力手段から出力するようにしてもよい。
例えば、図11に別の冷凍サイクルの構成図を示す。図11は図2や図9と同様な構成であるが、出力手段22から、5Vなら1日以内、3Vなら1週間以内、1Vなら1ヶ月以内、0Vなら冷媒漏れなしのように距離に時間を比例させて冷媒漏れの状況を設定することができる。
また、ここでは各検出手段で測定して演算手段などに用いるデータが一定値であるかのように説明したが、データが変化している状態であっても一定時間のデータの平均値を取れば同様に扱え、同様の効果を奏することは言うまでもない。なお冷媒の圧力や温度のような流体の物理量を扱うものであり、この物理量は流体回路の状態変化などがあっても定常データとして扱えるような時間遅れを持って変動するため数十サイクルや数キロサイクルなどの特徴データを扱うものでなく時間間隔、例えば1分や10分、あるいは数時間、数日などのデータ検出結果を平均など行うことにより冷媒漏れを簡単に精度良く検出することができる。
また、ここでは複数の状態量を集合体として捉える方法として、マハラノビスの距離を使用することを例に説明を行ったが、他の多変量解析や複数の相関する検出データを演算して求める方法を使用してもよい。その他の方法としては、例えば、過冷却手段における熱交換量を計算する方法が考えられる。図2の構成図をもとに距離でない演算結果である状態量で判断する方法を説明する。
過冷却手段37における熱交換量は、メイン回路を流れる冷媒、すなわち流路開閉手段36および膨張手段13を経由して流れる冷媒の流量および温度と、分岐路を流れる冷媒、すなわち分岐路膨張手段37aを経由して流れる冷媒の流量および温度によって決まる。今、メイン回路を流れる冷媒の流量および温度をGMR、TMR、分岐路を流れる冷媒の流量および温度をGBR、TBR、液管熱交換手段37bにおける熱交換量をQSCとおき、液管熱交換手段37bの伝熱面積をASC、熱通過率をKSCとすると、簡易的に次式が成り立つ。
Figure 2005291702
ここで、伝熱面積ASCは定数で、熱通過率KSCはそれほど大きくは変化しないが、冷媒流量が大きくなると大きくなる関係にある。また、メイン回路の冷媒の温度TMRは液管温度検出手段38によって検出された液管温度で、高圧検出手段16aによって検出された高圧の飽和温度である凝縮温度と強い相関関係にあり、分岐路の冷媒の温度TBRは低圧検出手段16bによって検出された低圧の飽和温度である蒸発温度である。従って、液管熱交換手段37bにおける熱交換量QSCは、凝縮温度と蒸発温度との差に応じて変化し、この差が大きくなると大きくなる関係にあり、これらを複合変数化した値である。そして、液管熱交換手段37bへ流入する冷媒が通常は液であるが、冷媒が漏れて少なくなってくると二相状態になり、熱量の大半が二相冷媒を凝縮させるために使用されるため、液管熱交換手段37b出口でのサブクール(凝縮温度と液管温度との差)が小さくなる。
よって、正常状態におけるサブクール(もしくは液管温度)を、高圧(もしくは凝縮温度)および低圧(もしくは蒸発温度)または高圧と低圧との差(もしくは凝縮温度と蒸発温度との差)との関係で学習記憶しておき、その変化を見ることで、冷媒漏れを検知できる。すなわち今まで説明してきたマハラノビスの距離によらなくとも、特定のパラメータの変化などを取り出しこれを出力させればよい。
また、いずれの方法によっても、冷凍装置の冷凍サイクル内を流れる冷媒はどんなものでも良く、例えば、R22やR32などの単一成分の冷媒、R407Cのように3成分系からなる混合冷媒、R410Aのように2成分系からなる混合冷媒、プロパンなどのHC冷媒やCO2などの自然冷媒などが使用できる。地球環境保護に悪い影響を与える冷媒は漏れが少しでも始まれば冷媒交換を行うことができる。又可燃性冷媒の漏れに対しては規格などで定められた安全上の限界値を表示するようにしておけば問題発生前に事前に処理することができる。更に、可燃性冷媒や可燃性成分を少なからず含む冷媒、例えばプロパン、R32やR410Aなど、や人体に有害な冷媒を使用する冷凍装置においては、安全性の意味から、冷媒漏れは危険であり、冷媒漏れを検知し、電圧などの電気信号または通信コードとして出力する際に、他の冷凍装置の異常に優先して出力することにより安全性が著しく向上する。
図12に別の冷凍サイクル装置の構成図を示す。出力手段22は電圧出力または電流出力として、警報機54に接続し、音や光で警報を発することにより、冷媒漏れを早期に通達することができる。警報機54が事務所53に設けられているので漏れた場合は直ちに知ることができる。このように構成によれば流体が可燃性ガスや人体に有害な液体、例えば化学物質であったとしても早期に、影響が限られるうちに警報機により漏れを知ることができる。
また、ここでは、液溜および液管温度検出手段を有する冷凍装置を例に説明を行ったが、負荷側機器が何であっても冷凍サイクルが類似であれば同様に冷凍サイクル異常を判断できるため、高圧や中間圧に余剰冷媒を溜める機構を有する空気調和装置にても成り立つことは言うまでもない。又冷凍サイクル以外、例えば化学薬品製造装置や燃料貯蔵所における流体であっても関連する流体の物理量等計測量を複数検出し、これらの変数から演算した状態量として正常時と異常時を比較すれば異常を早期に判断することができる。
図13は別の冷凍サイクルの構成図である。図13のように、アキュムレータ10と吐出温度検出手段61および吸入温度検出手段62を有する空調装置においても上記説明と同様のことが言える。図13の構成の空調装置の場合、余剰冷媒はアキュムレータ10に溜められ、余剰冷媒がアキュムレータ10内にある場合はアキュムレータ10から流出する冷媒は飽和ガス冷媒となっているが、冷媒漏れが起こって余剰冷媒が少なくなりアキュムレータ内の冷媒液面がアキュムレータの出口管位置を下回ると、アキュムレータから冷媒ガスが流出するようになる。すると、検出手段の吸入温度62または吐出温度61が高くなるため、高圧または凝縮温度、低圧または蒸発温度、吸入温度または吐出温度を特徴量として、先と同様の処理を行うことで、冷媒漏れを判定できる。
また、液溜35やアキュムレータ10のない機器、例えばルームエアコンやチリングユニットなど、においては余剰冷媒は凝縮器内に溜まるが、異常発生時冷凍サイクルの状態量の変化挙動は簡単な計算にて予測できるため、同様の方法で冷媒漏れを判定できる。すなわち、普段は凝縮器の一部に余剰冷媒が溜まっているが、冷媒漏れが起きると凝縮器に溜まっている冷媒の量が少なくなり、凝縮器の伝熱に寄与する面積が増加するため、高圧が若干下がってサブクールが減る。従って、高圧または凝縮温度、低圧または蒸発温度、液管温度を特徴量として、先と同様の処理を行うことで、冷媒漏れを判定できる。また、吐出温度も下がるため、吐出温度を特徴量に選んでもよい。
また、ここでは、冷凍サイクル異常として、冷媒漏れを例に説明を行ったが、その他の異常についても簡単な計算にて異常発生時の冷凍サイクルの挙動を予測することができ、異常判別ができる。ここでいう異常とは、機器の故障だけではなく、機器の劣化などの経時変化をも含んでおり、運転状態が変わるものであればどんなものでも検知できる。図14、図15は別の冷凍サイクル装置の構成図である。図14に示す液溜35を有する冷凍装置や図15に示すアキュムレータを有する空気調和装置において、圧縮機11の寿命による劣化や液バック、凝縮器12や蒸発器14の熱交換器の熱交換を行う表面の汚れや破損、凝縮器12の送風装置45や蒸発器の送風装置46aの劣化や故障、流体である冷媒が循環している内部にあるごみなど取り除くストレーナ49aや冷媒の湿気防止用のドライヤ49bの詰り、配管の折れや破損や詰り、圧縮機11に使用される冷凍機油の劣化(配管の詰り、圧縮機の潤滑不良、伝熱量の変化などで検知)などを、同様の構成にて検知、判別できる。
また、演算上の単位空間は、各特徴量の平均値、標準偏差、相関係数で構成されるが、これらは、冷凍サイクル装置においては、基板上のメモリに記憶される。実機でこれら全部もしくは一部を学習する場合は、書き換え可能なメモリに格納されている必要がある。又単位空間を設定することで正常と異常の間に距離などという中間段階というものが把握できる。この中間段階を設けることにより、既に説明してきた冷媒漏れの様に徐々に変化する特性を捕まえることが出来、故障の予知が可能になる。漏れ以外でも圧縮機に液戻り量の大小のある液バック現象、電気部品劣化によるの電気特性の徐徐の低下、機械部品の部分的な変形や接触面の徐徐の荒損、関連機器や接続機器の不良、高温による膨張や変形、低温による動作不良など正常状態と故障状態の2つでは割り切れない途中段階の不良である異常状態の度合いを的確に見分ける診断が可能となる。
以上明らかなように、本発明の構成によれば、冷凍サイクル装置の高圧を測定する高圧測定手段または高圧の飽和温度を測定する凝縮温度測定手段と、低圧を測定する低圧測定手段または低圧の飽和温度を測定する蒸発温度測定手段と、液温測定手段または吐出温度測定手段または吸入温度測定手段とを具備し、これらの測定値から複合変数を求める演算手段と、各測定手段の測定値またはそれらから演算された複合変数などの演算値を記憶する記憶手段と、記憶手段により過去に記憶された値と現在の測定値または演算値とを比較する比較手段と、比較結果に基づき冷媒漏れを判断する判断手段とを備えることで、冷媒漏れなどの冷凍サイクル異常を精度よく検知することができる。なお温度測定のような呈示用データ測定手段は他の種類、例えば駆動用モーターの電源電流などでも良く、複合変数に取り入れる測定データを換えたり、あるいはより多くの測定データを複合変数とすることで精度が一層上がることになる。
また、演算手段により、冷凍サイクル内の冷媒漏れ量などの異常度を演算し、その値から所定の冷却能力を維持できる異常限界に至る時期を予測するようにすることで、冷凍サイクル異常を早期に発見することができる。また、更に、予測された異常限界に至る時期を電圧または電流の大小などの電気信号で出力する出力手段を備えることで、発見した異常を早期に伝達することができる。また、冷媒が可燃性の成分を少なからず含む冷媒であり、出力手段に音や光で警報を発する警報機を接続することで、発見した劣化のような異常を早期に伝達することができる。
冷凍サイクル装置の異常は、既に示したように、マハラノビスの距離またはD値の変化によって、ある程度捉えることができる。しかし、実機において、異常の原因が何であるかを特定する、あるいは冷媒漏れ量などの異常度を推測するのは非常に困難である。次に本発明では、異常の原因を特定し、異常度もしくは正常度を推測する方法について述べる。なお、説明においては、既に述べてきたと同様、主に液溜を有する冷凍装置における冷媒漏れを例に説明する。まず、異常の原因特定が困難な理由を以下に3つ示す。
第一の理由は、異常にはいろいろなものがある。異常が発生していない正常状態に対して、基準空間を作成し、基準空間においては、マハラノビスの距離またはD値は小さい値をとるため、その変化によって、正常でない状態すなわち異常が把握できる。しかし、異常には、冷媒漏れ、圧縮機への液バック、凝縮器や蒸発器の汚れ、凝縮器や蒸発器の送風装置の劣化や故障、配管やドライヤやストレーナの詰り、配管の折れや破損や詰り、冷凍機油の劣化など多種多様のものがあり、これらのどれが発生してもマハラノビスの距離およびD値は値が大きくなる。したがって、マハラノビスの距離またはD値の値だけを見ていても、異常の原因を特定することは困難である。
第二の理由は、マハラノビスの距離またはD値の値が、異常の度合いそのものを表すものではないということである。マハラノビスの距離またはD値の値から、異常原因が推測できたとして、その値が大きくなるということは確かに異常の度合いが大きくなっていることを表している。しかし、例えば冷媒漏れを例に取ると、マハラノビスの距離が10だった時に冷媒が何%漏れているかは、マハラノビスの距離の値だけからは分からない。これを特定するためには、例えば、マハラノビスの距離50が限界冷媒漏れ量である、という具合に、マハラノビスの距離と異常の度合いとの対応関係を明確にしておいかなければならない。しかし、全ての異常を事前に再現し、その定量化を行うのは非常に困難である。
第三の理由は、冷凍サイクル装置のように、現地で設置工事がなされるものがあるということである。例えば、スーパーマーケットに設置されている冷凍装置を例に取ると、冷凍装置とショーケースが同じメーカのものとは限らないため、冷凍装置としては接続されるショーケースがどんなもので、内容積がどのくらいあり、何台接続されるのか、把握できない。また、冷凍装置とショーケースとの距離も、店舗が平屋建ての店舗なのか、何階もあるビルの中にあるのかによって全く異なり、それによって、冷凍装置とショーケースとを接続する延長配管の長さが異なるため、充填する冷媒量も異なる。したがって、冷凍装置の冷媒は、現地で冷凍装置と負荷側機器と延長配管とを接続した後に、冷凍サイクルが適切に動作するような量が充填される。したがって、冷媒漏れのない状態で作成する基準空間は冷凍装置の工場出荷段階で作成することはできず、現地でシステム結合後に作成しなければならない。したがって、ますますマハラノビスの距離またはD値と冷媒漏れ量との対応がつき難くなる。
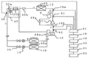
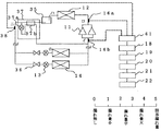
次に、これらを解決する方法について説明する。図16は、冷凍サイクル装置の構成図で、16aは高圧検出手段、16bは低圧検出手段、38は液管温度検出手段、61は吐出温度検出手段、62は吸入温度検出手段であり、高圧検出手段16aと液管温度検出手段38とからサブクールを、低圧検出手段16bと吸入温度検出手段62とからスーパーヒートを算出する。その他のものは、図2他の説明と同一である。
また、図17は、マハラノビスの距離により求められた基準空間と異常空間との関係を示した図である。ここで、基準空間は冷凍サイクル装置が正常な状態に対応する単位空間を表し、異常空間1〜3はそれぞれ別の異常原因が発生した際の状態に対応する単位空間を示しており、異常空間4は異常空間1と同じ異常原因が発生した場合で、異常の度合いが異常空間1よりも小さい場合に対応する単位空間を示している。単位空間の定義は既に説明した様に、平均値、標準偏差、相関関係を示す行列によって、データをある分布をもった集合体として扱うことができるので、このようなデータの集合体のことを単位空間と呼ぶ。
そして、高圧、低圧、吐出温度、スーパーヒート、サブクールの5つの状態量について、正常状態での一定時間の運転データから、データの平均値、式1乃至4のごとく標準偏差、各状態量の相関を表す行列を求め、それらを基準空間として記憶しておく。今、冷凍サイクル装置の異常として、冷媒漏れ、液バック、配管詰りを考えるものとする。そして、それぞれの異常における特徴量を、冷媒漏れにおいては、高圧、低圧、サブクール、の3つを、液バックにおいては、高圧、低圧、吐出温度、スーパーヒート、の4つを、配管詰りにおいては、高圧、低圧、サブクールの3つを変数として用いるものとする。
次に、異常空間を作成する仕方について述べる。冷凍装置における冷媒漏れを例に説明する。冷凍装置においては、冷媒漏れが発生した場合、液溜35の存在により、上記で説明した通り、漏れ量に応じて第一段階から第三段階までの3つの状態が考えられる。そして、第二段階においては、高圧、低圧はほとんど変化せずに、サブクールのみが小さくなる。したがって、正常状態において記憶しておいた高圧、低圧、サブクールの平均値、標準偏差、状態量の相関を表す行列のうち、サブクールの平均値のみを小さい値に加工し、これらを異常空間1として定義する。例えば、冷媒漏れ状態のサブクールを正常時の0.2倍にするなどである。このようにすると、データの分布を考慮した冷媒漏れに対する異常空間1という単位区間ができる。
同様にして、液バック時には、正常状態において記憶しておいた高圧、低圧、吐出温度、スーパーヒートを、配管詰り時には正常状態において記憶しておいた高圧、低圧、サブクールを、それぞれの状態を再現できるように加工し、それぞれを異常空間2、異常空間3として定義する。そして、その後の実際の運転データから、各異常空間からの距離(マハラノビスの距離またはその平方根であるD値)を求める。すると、例えば冷媒漏れが発生した場合には、異常空間1との距離(マハラノビスの距離またはD値)は徐々に小さくなっていくが、その他の異常空間との距離は小さくならないため、異常原因が冷媒漏れであることが特定できる。同様にして、液バック、配管詰りに関しても同様にして判別できる。
次に、図18に示す動作フローチャートにしたがって異常原因を判断する処理手順を説明する。まず、冷凍サイクル装置を据え付けてからの経過日数、学習状態などから初期学習が必要であるか否かを判断し(ST81)、初期学習が必要であれば正常状態の運転状態から基準空間を学習する(ST82)。基準空間とは図17や既に述べたように、各異常を判別するのに必要なすべてのデータの平均値、標準偏差および各状態量の相関を表す行列のことである。次に、各異常発生時の状態を推定し、基準空間のデータを強制的に加工し、異常空間を作成する(ST83)。例えば、冷凍装置の冷媒漏れを考えると、冷媒漏れ時はサブクールのみを強制的に小さくして相関係数を求めるなどである。また、実機で異常状態が再現できるものについては、実際に強制異常運転を行い、異常空間を学習してもよい。次に、基準空間と各異常空間との距離(D値)を算出し、初期D値として記憶しておく(ST84)。なお、距離はマハラノビスの距離を用いてもよいが、一次の値であるD値の方が扱いやすいため、ここではD値を用いる。以上の操作を、各単位空間を構成するのに十分なデータがそろったら、初期学習を終了する。
次に、実運転において、すなわち現在の運転状態の状態量からの演算などを既に述べてきた方法で行う。先ず時々刻々の各データの測定を行い(ST85)、これらのデータの基準化を行った後(ST86)、各異常空間に対するD値(マハラノビスの距離の平方根)を算出する(ST87)。そして、次の(8)式を用いて各異常の発生確率を算出する(ST88)。なお、次式の添字はそれぞれの異常空間に対する値を示している。
Figure 2005291702
そして、これらの異常発生確率を比較し、異常の有無、異常原因を判断し、異常原因を表示するなどの出力する(ST89)。図19は、以上の図18の動作処理フローチャートに従って、実際に冷凍装置の冷媒漏れ試験を行った結果を説明する図で横軸に冷凍サイクル装置運転の経過時間をとっている。試験は、冷凍装置にバルブを介して空のボンベを繋ぎ、バルブを操作してボンベに徐々に冷媒を回収することで冷媒が漏れている模擬を行った。図19(1)(2)の縦軸に示すに示す距離とはD値(マハラノビスの距離の平方根)である。また、異常空間は予め冷媒漏れ状態を仮想して作成しておいたものである。この図より、横軸の時間が経過し冷媒漏れ量が多くなるにつれて、基準空間からの距離が大きくなり、冷媒漏れで作成した異常空間との距離が小さくなり、図19(3)の示す冷媒漏れ発生確率が大きくなっていき、異常が冷媒漏れであることを判別できているのが分かる。なお、図でD値や異常発生確率が変動しているが、これは冷凍機が負荷側の温度を安定させるために自動制御を行っているからであり、このような実際的な運転状況においても冷媒漏れが検知できている。
なお、ここでは、別々の異常原因に対し異常空間を作成することを例に説明を行ったが、図17にも示してある通り、同一の異常に対して異常度の異なる2つの段階を取り上げ、それぞれに異常空間を作ることも可能である。このようにすると、別々の異常原因に対して作成した異常空間が近接している場合などに、異常の判別精度が向上するという効果がある。なお、ここでは異常空間が4つの場合を例に説明を行ったが、当然異常空間の数はこれに限るものではなく、幾つでも本発明の方法で求めることができる。
また、データとしては、高圧、低圧、吐出温度、スーパーヒート、サブクールの5つのデータがすべてであるかのように説明を行ったが、これに限るものではない。また、冷凍サイクル装置においては、高圧が低くなりすぎると機器の信頼性上好ましくないため高圧維持手段を具備しているものもある。この場合は、高圧の高い夏期と高圧の低い冬期では高圧維持手段が働くか否かが異なり、冷凍サイクルの動作の異なったものとなる。そのため、年間を通じて同じ基準空間および異常空間を使用すると異常の判別精度が悪化することがある。そのような場合は、複数の基準空間を使い分ける説明図である図20のように、年間で複数の基準空間および異常空間を持っておき、季節によってこれを使い分けるとよい。なお、この季節の使い分けは外気温度によって行ってもよいが、実機においては、外気温度検出手段を具備していないことが多く、その場合は検出した高圧の範囲から判断して、どの基準空間が望ましいか使い分ける。図20は縦軸に外気温度を横軸に年間を通しての時間の経過を記載しており、冬場に据え付けたときの基準空間を1とし、夏場の外気温度が暑いときの基準空間を4とするごとく外気温度の変化に応じて複数の基準空間を設けた説明が記載されている。
なお、ここでは、液溜がある冷凍装置について、説明を行ってきたが、他の空気調和装置やチラーなどの液溜のない機器であっても、異常状態の推定方法は多少異なるが、同一の方法で、冷媒漏れなどの異常発生の検知、異常限界時期の予測、異常原因の判別などが行えるのは言うまでもない。また、その他のものでも、冷凍サイクルを構成する機器であればどんなものでも適用でき、同様の効果が得られる。異常原因の判別を行うことができるので、異常の原因により対応策の優先順位もあらかじめ定めておくことができる。例えば人体に有害な流体を使用しているプラントでは他のトラブルに優先して冷媒漏れの対策を優先させるため、先ず異常原因の測定、演算、判断、報知を他の故障よりも多く行う。家庭用エアコンの様に何処にも冷媒をためる特別な容器がない場合、計測すべきは、高圧、低圧、サブクール又はスーパーヒート又は吐出温度で、これらの集合体が特徴的な量として、即ち状態量として得られる。このときの判定で余剰冷媒は凝縮器の内部しか溜まるところがないので回路内の冷媒量によって冷凍サイクル全体の測定する物理量は変化する。このとき冷媒が漏れると状態量全てに影響がありこの全体の変化を含めて判断することになる。
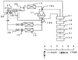
図21は別の遠隔監視システムの構成図で、11は圧縮機、12は凝縮器、35は液溜、37は過冷却手段、36は流路開閉手段、13は膨張手段、14は蒸発器であり、これらが配管で接続され、内部に冷媒を流通させ、図2他のものと同様に冷凍サイクルを構成している。圧縮機11、流路開閉手段36、膨張手段13、蒸発器14は1つまたは複数個設置されており、凝縮器12は機械室または屋外に設置されており、蒸発器14は例えばショーケースなどに内蔵されている。16aは高圧検出手段、16bは低圧検出手段、38は液管温度検出手段、41はデータ収集手段、18は演算手段、19は記憶手段、20は比較手段、21は判断手段、22は出力手段、55はデータ送受信手段、56はネットワークまたは公衆回線である。
冷凍サイクルの動作および異常の推測方法などは図1他にて説明した内容と同じであり説明を省略する。図21の構成では、データ収集手段41と演算手段18とのデータの授受がデータ送受信手段55およびネットワーク56を介して行われている。なお冷媒の物理量の測定として、高圧低圧は圧力センサー又は温度センサーで測定し飽和圧力を計算することで得られる。サブクールは高圧センサーの測定値から飽和温度である凝縮温度を算出するか凝縮温度を測定して、液管の温度から凝縮温度を引いて求める。スーパーヒートは低圧センサーの測定値から飽和温度である蒸発温度を算出するか蒸発温度を測定して、圧縮機吸入口付近にて計測した吸入温度から蒸発温度を引いて求める。
図21の構成により検知できる冷凍サイクルの異常としては、各種機器の故障および劣化(経時変化)など、運転状態が変わるものであればどんなものでも流体の物理量や圧縮機やファンなどを駆動するモーターの駆動電流の定常データから検知できる。例えば、圧縮機の寿命による劣化や液バック、凝縮器や蒸発器の汚れや破損、凝縮器の送風装置や蒸発器の送風装置の劣化や故障、ストレーナやドライヤの詰り、配管の折れや破損や詰り、冷凍機油の劣化(配管の詰り、圧縮機の潤滑不良、伝熱量の変化などで検知)などが検知、判別できる。更にこの検知したデータをデータ送受信手段55、ネットワーク56などを介して送信することで、集中監視装置のおかれている保守センターなどで監視が簡単に行える。
このように構成することで、機器の異常(故障及び劣化)を遠隔で監視することが可能となるため、現地に行かなくても機器の異常を発見することができ、異常の早期検知が可能となる。そして、従来は、まず現場に行って異常原因を把握した後、後日対策を施すという2段階必要だったのに対し、本発明の構成とすることで、現場に行かなくても遠隔で異常原因が特定できるため、事前に準備をして現場に行くことができ、復旧までの時間を短縮することができる。例えば、冷媒漏れが起きた時、遠隔でそれが分かるため、冷媒ボンベや保守道具を準備して現場に出動できる。
また、図21には、演算手段18、記憶手段19、比較手段20、判断手段21、出力手段22が別々のものであるかのように図示されているが、1つにまとまっていてもよく、例えばパソコンなどの汎用コンピュータを使って遠隔監視を行う場合はこれらの機能はすべてコンピュータのソフトにて実現することが可能であり、この場合の出力はディスプレイもしくはハードディスクなどの外部記憶媒体になされ、表示が可能である。
また、単位空間は、各特徴量の平均値、標準偏差、相関係数で構成されるが、これらは、遠隔監視システムにおいては、冷凍サイクル装置の基板上のメモリもしくは遠隔に設置されたパソコンなどに記憶される。実機でこれら全部もしくは一部を学習する場合、学習する必要のないデータは冷凍サイクル装置の基板上のメモリとパソコンのどちらに記憶されていてもよいが、学習する必要のあるデータはパソコンのハードディスクに記憶する。
本発明の冷凍サイクル装置は、圧縮機と凝縮器と膨張手段と蒸発器とを配管で接続しその内部に冷媒を流通させて冷凍サイクルを構成し、圧縮機の吐出側から膨張手段に至る流路のいずれかの位置の冷媒の圧力すなわち高圧を測定する高圧測定手段または高圧の飽和温度を測定する凝縮温度測定手段と、膨張手段から圧縮機の吸入側に至る流路のいずれかの位置の冷媒の圧力すなわち低圧を測定する低圧測定手段または低圧の飽和温度を測定する蒸発温度測定手段と、凝縮器から膨張手段に至る流路のいずれかの位置の温度を測定する液温測定手段または圧縮機から凝縮器に至る流路のいずれかの位置の温度を測定する吐出温度測定手段または蒸発器から圧縮機に至る流路のいずれかの位置の温度を測定する吸入温度測定手段とを具備し、高圧測定手段または凝縮温度測定手段、低圧測定手段または蒸発温度測定手段、液温測定手段または吐出温度測定手段または吸入温度測定手段の測定値から複合変数を求める演算手段と、各測定手段の測定値またはそれらから演算された複合変数などの演算値を記憶する記憶手段と、記憶手段により過去に記憶された値と現在の測定値または演算値とを比較する比較手段と、比較結果に基づき冷凍サイクルの異常を判断する判断手段とを備えたもので、簡単な構成で信頼性の高い装置が得られる。
又、判断手段で判断する冷凍サイクルの異常とは、冷媒漏れであり、地球環境保護や安全性の高い装置が得られる。又、記憶手段で記憶された各測定手段の測定値またはそれらから演算された演算値から、冷凍サイクル装置が正常に運転されている状態を抜き出し学習する手段を有しており、確実な故障診断が可能である。この学習手段にて学習する内容に、冷凍サイクルの複数の状態量間の相関を表す数値を含む。
本発明の記憶手段で記憶された各測定手段の測定値またはそれらから演算された演算値のうちのいずれか1つを強制的に別の値に変換し、その変換後に複合変数を新たに演算して、その新たに演算された複合変数を判断手段が冷媒漏れを判断する際の閾値に設定するため、簡単に冷媒漏れの条件を設定できる。この別の値に変換する値とは、液温測定手段による測定値、またはその測定値から演算される値を含むものである。なお別の値に変換する値は、1つでも良いし、2つ以上でも良い。
本発明の演算手段にて演算した値から、冷凍サイクルの異常度合いを判断し、冷凍サイクルが安定運転を継続できなくなる限界時期を予測するので、信頼性が向上し安心した運転が行える。例えば冷凍サイクル内の冷媒量または冷媒漏れ量またはそれらに相当する演算値を演算手段にて演算し、演算された冷媒漏れ量またはそれらに相当する演算値からあらかじめ記憶された冷却能力を維持できる限界冷媒量に至る時期を予測するもので、予測された限界時期を電圧または電流の大小などの電気信号で出力する出力手段を備えており、この出力手段により出力する電気信号が所定の冷却能力が維持できる限界異常量を最大値とする異常度合いに応じた電圧出力または電流出力であり誰でも異常の状態を知ることが出来メンテナンスも容易になる。
本発明の冷凍サイクル装置は、圧縮機と凝縮器と膨張手段と蒸発器とを配管で接続しその内部に冷媒を流通させて冷凍サイクルを構成し、冷媒は可燃性の成分を少なからず含むものであり、圧縮機の吐出側から前記膨張手段に至る流路のいずれかの位置の冷媒の圧力すなわち高圧を測定する高圧測定手段または高圧の飽和温度を測定する凝縮温度測定手段と、膨張手段から圧縮機の吸入側に至る流路のいずれかの位置の冷媒の圧力すなわち低圧を測定する低圧測定手段または低圧の飽和温度を測定する蒸発温度測定手段と、凝縮器から膨張手段に至る流路のいずれかの位置の温度を測定する液温測定手段または圧縮機から凝縮器に至る流路のいずれかの位置の温度を測定する吐出温度測定手段または蒸発器から圧縮機に至る流路のいずれかの位置の温度を測定する吸入温度測定手段と、各測定手段の測定値またはそれらから演算された演算値を記憶する記憶手段と、記憶手段により過去に記憶された値と現在の測定値または演算値とを比較する比較手段と、冷凍サイクル内の冷媒量または冷媒漏れ量またはそれらに相当する演算値を演算する演算手段と、冷凍サイクルの異常を電気信号として出力または通信コードとして他と通信するための出力手段とを備え、冷媒漏れを検知した場合に他の冷凍サイクルの異常に優先して出力するので、どんな冷媒を使用していても簡単な装置で安心した運転が可能である。この出力手段に音や光で警報を発する警報機を接続できるよう出力手段を電圧出力または電流出力としている。
本発明の機器診断装置は、機器が正常に運転している時の計測量または計測量からの演算値を記憶する手段と、機器に異常が生じた異常状態での状態量または状態量からの演算値を推測する手段または機器の異常状態を再現する手段と、正常状態と異常状態と機器の現在の運転状態との距離を演算する手段と、機器の現在の運転状態と正常状態との距離および異常状態との距離の変化から機器の正常状態または異常状態または異常度または異常原因を推定する手段とを備えたので、精度の良い診断が可能になる。
又、機器が正常に運転している時の計測量または計測量からの演算値である状態量を記憶する複数の手段と、機器に異常が生じた異常状態での計測量または計測量からの演算値を推測する手段または機器の異常状態を再現する手段と、正常状態と異常状態と機器の現在の運転状態との距離を演算する手段と、機器の現在の運転状態と正常状態との距離または異常状態との距離の変化から機器の正常状態または異常状態または異常度または異常原因を推定する手段とを備えたので、信頼性の高い異常診断が可能である。
又、1つの異常原因に対し機器の異常度に応じて複数の異常状態を定義し、機器の現在の運転状態と複数の異常状態との距離の変化から、機器の異常度を推測することで様様な状態での運転の継続など使い勝手の良い診断装置が得られる。更に機器の正常状態を、実運転データから抜き出し学習する手段を有し確実な判断が得られる。又、複合変数または冷凍サイクル装置の場合、冷媒量に相当する演算値または距離とは、マハラノビスの距離またはマハラノビスの距離を加工した数値であり精度の良いデータで判断できる。
本発明の遠隔監視システムは、圧縮機と凝縮器と膨張手段と蒸発器とを配管で接続しその内部に冷媒を流通させて冷凍サイクルを構成する冷凍サイクル装置に、圧縮機の吐出側から膨張手段に至る流路のいずれかの位置の冷媒の圧力すなわち高圧を測定する高圧測定手段または高圧の飽和温度を測定する凝縮温度測定手段と、膨張手段から圧縮機の吸入側に至る流路のいずれかの位置の冷媒の圧力すなわち低圧を測定する低圧測定手段または低圧の飽和温度を測定する蒸発温度測定手段と、凝縮器から膨張手段に至る流路のいずれかの位置の温度を測定する液温測定手段または圧縮機から凝縮器に至る流路のいずれかの位置の温度を測定する吐出温度測定手段または蒸発器から圧縮機に至る流路のいずれかの位置の温度を測定する吸入温度測定手段とを具備し、高圧測定手段または凝縮温度測定手段、低圧測定手段または蒸発温度測定手段、液温測定手段または吐出温度測定手段または吸入温度測定手段の測定値から複合変数を求める演算手段と、各測定手段の測定値またはそれらから演算された複合変数などの演算値を記憶する記憶手段と、記憶手段により過去に記憶された値と現在の測定値または演算値とを比較する比較手段と、比較結果に基づき冷凍サイクルの異常を判断する判断手段とを、冷凍サイクル装置の近辺またはネットワークもしくは公衆回線を介した遠隔に備え、ネットワークまたは公衆回線を介して測定データまたは演算値を伝送するように構成したので、どのような問題が起こっても対処が簡単で運転の継続に有効である。
本発明の遠隔監視システムは、圧縮機と凝縮器と膨張手段と蒸発器とを配管で接続しその内部に可燃性の成分を少なからず含む冷媒を流通させて冷凍サイクルを構成する冷凍サイクル装置に、圧縮機の吐出側から膨張手段に至る流路のいずれかの位置の冷媒の圧力すなわち高圧を測定する高圧測定手段または高圧の飽和温度を測定する凝縮温度測定手段と、膨張手段から圧縮機の吸入側に至る流路のいずれかの位置の冷媒の圧力すなわち低圧を測定する低圧測定手段または低圧の飽和温度を測定する蒸発温度測定手段と、凝縮器から膨張手段に至る流路のいずれかの位置の温度を測定する液温測定手段または圧縮機から凝縮器に至る流路のいずれかの位置の温度を測定する吐出温度測定手段または蒸発器から圧縮機に至る流路のいずれかの位置の温度を測定する吸入温度測定手段とを接続し、各測定手段の測定値またはそれらから演算された演算値を記憶する記憶手段と、記憶手段により過去に記憶された値と現在の測定値または演算値とを比較する比較手段と、冷凍サイクル内の冷媒量または冷媒漏れ量またはそれらに相当する演算値を演算する演算手段と、冷凍サイクルの異常を電気信号として出力または通信コードとして他と通信するための出力手段とを冷凍サイクル装置の近辺またはネットワークもしくは公衆回線を介した遠隔に備え、ネットワークまたは公衆回線を介して測定データまたは演算値を伝送し、冷媒漏れを検知した場合に他の冷凍サイクルの異常に優先して出力するので安心した運転が可能である。
又、機器が正常に運転している時の計測量または計測量からの演算値を記憶する手段と、機器に異常が生じた異常状態での計測量または計測量からの演算値を推測する手段または機器の異常状態を再現する手段と、正常状態と異常状態と機器の現在の運転状態との距離を演算する手段と、機器の現在の運転状態と正常状態との距離および異常状態との距離の変化から機器の正常状態または異常状態または異常度または異常原因を推定する手段とを冷凍サイクル装置の近辺またはネットワークもしくは公衆回線を介した遠隔に備え、ネットワークまたは公衆回線を介して測定データまたは演算値を伝送するように構成しているのでメンテナンスが容易である。
又、機器が正常に運転している時の計測量または計測量からの演算値を記憶する複数の手段と、機器に異常が生じた異常状態での計測量または計測量からの演算値を推測する手段または機器の異常状態を再現する手段と、正常状態と異常状態と機器の現在の運転状態との距離を演算する手段と、機器の現在の運転状態と正常状態との距離または異常状態との距離の変化から機器の正常状態または異常状態または異常度または異常原因を推定する手段とを冷凍サイクル装置の近辺またはネットワークもしくは公衆回線を介した遠隔に備え、ネットワークまたは公衆回線を介して測定データまたは演算値を伝送するように構成しているので機器の取り扱いが簡単である。
図18のフローチャートでは距離としてD値を使用したが、基準空間、各異常空間それぞれに対するマハラノビスの距離D2を先ず求め、次にD2の平方根を下記の(6)式により算出し、(8)式にて各異常の発生確立を算出し、各異常の発生確率から故障原因の評価・推定を行なう。ここで(6)式にてマハラノビスの距離D2を1/2乗している理由は、距離D2は2乗値であるため距離の増加に伴い2次式的に値が増加するが、平方根距離Dを用いることにより異常度合いに応じて距離が線形増加するため距離の増加と異常度合いの増加が比例し感覚的に扱い易いからである。また、(8)式において「初期D」とは初期正常状態データに対し異常空間を適用した場合のマハラノビスの距離であり、初期正常状態においては、異常を基準とした正常までの距離を表す。「現在のD」とは現在の測定データに対し異常空間を適用した場合の距離を表す。「現在のD」は初期正常状態では大きな値をとるが(異常状態と正常状態との差が大きいため)、異常の程度が進むにつれて「現在のD」は小さな値となり(徐々に正常から異常に近づくため)、異常発生確率は100%に近づいて行く。
Figure 2005291702
本発明の判断手段にて、すなわちフローチャートに示す距離と閾値の関係から、正常と判断できなければ故障の画面表示、音による報知、遠隔地への異常通知などの出力を行なう。そして、故障の報知を受けたサービスマンが故障の修理、オーバーホールなどのメンテナンスを行ない、設備が正常な状態へ修復される。この説明のフローチャートにおける各処理は図2他の演算手段18、記憶手段19、比較手段20、判断手段21、出力手段22にて行われている。初期学習有無判定ST81は判断手段21、学習関連処理ST82、83は演算手段18にて演算処理され、記憶手段19に記憶される。マハラノビスの距離の演算処理ST84、86、87は、演算手段18において記憶手段19に記憶されている基準空間、異常空間のデータを基に行われ、故障判定ST88、89は、比較手段20および判断手段21にて行われ、出力は出力手段22にて行われる。なお閾値を使用しなくとも基準空間、異常空間のデータの距離の関係から故障判定しても良いことは当然である。
上記説明の中で正常状態に対する基準空間もしくは各異常状態に対する異常空間の学習を行なうという学習動作は、マハラノビスの距離を計算する上で必要となる基準値を測定データから算出し、基準値として記憶する動作のことを表し、具体的には前記説明の式(1)の平均値m、式(2)の標準偏差σ、式(4)の相関行列の逆行列R−1を算出することを示す。
なお、各異常空間には、各パラメータの平均値と標準偏差および各パラメータの相関係数が記憶されている。この各異常空間の各パラメータの平均値を用いて、正常基準空間とのマハラノビスの距離を求めることで基準空間と各異常空間の距離を求めることができ、これを閾値として設定することができる。例えば、実機運転において先ず最初に、データ測定を行い、故障有無の判定を行ない各異常空間と正常基準空間との距離(マハラノビスの距離の平方根)を初期D1、初期D2とおく。次に測定された現在の運転状態量データと、正常基準空間との距離D0、各異常空間との距離D1、D2を求める。なお、D0は初期状態では2以下の値を取る。そして、式(8)より各異常空間への近づき度合いを算出し、各異常の発生確率を求める。そして、各異常発生確率を比較し、故障原因の判断を行なう。
以上のように、正常基準空間と異常空間を定義して各異常に対する発生確率を求めることにより、正常基準空間に対する距離(マハラノビスの距離もしくはマハラノビスの距離の平方根)の増加で異常度合いを把握することができ、各異常空間に対する距離(マハラノビスの距離もしくはマハラノビスの距離の平方根)の減少で異常原因の特定が可能となる。異常空間と正常空間のマハラノビスの距離の概念は図17で説明したが、正常基準空間は座標中心に、原点から離れた位置に各異常空間がそれぞれ存在するイメージ図である。なお、実際にはマハラノビスの距離は多次元空間となるため図17はこれを2次元に表したイメージ図である。正常基準空間と異常空間はそれぞれバラツキをもった領域を持つ空間であり、いずれの空間に属しているのかを判定することにより現在の運転状態が正常か、異常状態のいずれかを判定することが可能となる。各異常空間と正常空間との距離は、正常基準空間と異常空間の代表データ(平均値データ)とのマハラノビスの距離を求めることにより算出することができる。例えばこの距離が1000であれば、正常基準空間を用いて現在の冷凍サイクル運転状態量を計算し距離が1000であり、かつこの異常空間からの距離がゼロに近いときはこの異常である可能性が高い。各異常に対する閾値は、このように各異常における正常基準空間と各異常空間のマハラノビスの距離を演算し、例えばその異常を早期検知したいのであれば1/10をその異常に対する閾値に設定する、というように閾値を設定しても良い。
また、据付現場における故障模擬試験では、圧縮機破損に至るような極端に条件の悪い運転状態では試験ができないため、故障状態を数レベルに分け、各レベルに応じて異常空間の学習を行なうようにしてもよい。このレベル分けをマハラノビスの距離の多次元空間概念図である図22にて説明する。図22において異常空間1がその例を表しており、この例では異常度に応じて異常レベル1〜異常レベル3に分割しており、据付現場試験ではレベル1とレベル2の異常空間の学習を行なう。レベル3については実際に圧縮機破損に至るレベルであり、試験室にて予め測定を行なって学習を行なう異常空間である。
このように、異常を異常度に合わせてレベル分けすることにより、実機模擬運転が可能な異常度が小さいレベルの領域については現地にて実機現物合わせの異常空間を作成することが可能となり、実機に即した早期異常発見が可能となる。
また、異常度のレベル分けを行い、各異常レベルを対象に異常空間を作成することにより、異常レベルが低い場合においても正確な故障予知が可能となり、他の異常との判別もし易くなるため、異常が起こり冷凍サイクル装置が故障に至る前の早期段階における故障の予知・故障原因の特定が可能となる。
次に、異常空間の学習について説明する。異常空間には、設置現場にて機器据付後、実機にて学習する方法と、予め試験室にて同一機種の故障状態を模擬して得られるデータを用いて異常空間を作成する2種類の方法がある。前者については、設置現場で故障状態を模擬できる故障状態を対象としており、例えば先に説明した冷媒漏れのほかに、冷媒液バック、冷凍機油枯渇などを対象としている。これらの故障については、冷凍サイクルの膨張弁を開きぎみにして冷媒液バック状態を模擬、あるいは圧縮機底部から油を一時的に抜くなどの方法により、現場にて故障状態を模擬し、これらの運転状態から異常空間を作成する。作成された異常空間は記憶手段に記憶され、異常状態の判定に使用する。
後者の予め試験室にて故障模擬試験を行なう方法については、設置現場での故障模擬が困難な故障を対象としている。これらの故障については、異常状態を模擬可能な冷凍サイクル装置を作成し、試験室にてこの冷凍サイクル装置の試験を行い、異常運転状態量データを採取し、このデータを用いて異常空間を作成する。このように予め用意された異常空間は、冷凍サイクル装置の出荷時に予め記憶手段に記憶しておくことにより、実機での適用が可能となる。また、故障模擬試験の一部はシミュレーションによっても代用可能である。
また、その他の異常空間の学習方法として、対象となる故障が発生した場合に兆候が表れるパラメータが予め明確である場合には、正常基準空間学習後に、正常基準空間に使用した各パラメータのデータに対し、異常発生時に兆候が顕著に表れるパラメータの値のみを強制的に故障が発生したときに推定される値に変更し、異常運転状態量データを新たに作成する方法を既に説明している。なお別に変換する値は、1つでも良いし2つ以上でも良い。これにより、異常が発生した場合に兆候が表れるパラメータが予め明確である場合には、実機の正常状態を基にした異常空間を作成することが可能となり、実機のバラツキによる個体差を完全に吸収することが可能となる。
一方、冷凍サイクル装置の運転を続ける上で、当初予測していた異常空間ではカバーできない不測の故障が発生する場合がある。そのような場合の対応として、新規異常学習機能があり、その概念を図23のフローチャートに示す。図において、ST51は異常発生の検出であり、故障原因評価判定フローにおいて故障原因が特定できないがマハラノビスの距離が大きくなり、冷凍サイクル装置に異常をきたしていると判断できる状態である。このような状態になった場合には、まず図1の表示手段6に表示される過去の時間帯の中から該当する異常の発生した時間帯を図1の入力装置7による操作により選択する。なお、過去数日のデータは常に記憶手段に記憶されており、ST52ではこのデータの中から任意箇所の選定を行なう。ST53では選択された時間帯の運転データ(異常データ)を用いて異常空間の学習を行なう。ST54では学習された異常空間を新規異常空間として記憶手段へ記憶する。新規異常空間が記憶された後の故障原因評価においては新規異常空間についても判定を行なうことができる。
なお、上記説明は、実機冷凍サイクル装置の入力手段の操作装置における学習操作について説明したが、遠隔監視手段における遠隔地パソコンなどの情報端末による同様の学習操作も可能である。あるいは、入力手段は冷凍サイクル装置に常設しておく必要はなく、異常発生時に、サービスマンが、冷凍サイクル装置からのデータの吸い上げ、分析、冷凍サイクル装置への情報の書き込みができるメンテナンスツールのインストールされたパソコンを持ってメンテナンスに行くようにしてもよい。図23で説明した学習方法を使えば、既に製造時や据付時の情報が不明となり、現在は正常に運転している既設機などに対してもこの発明を適用できる。先ず図8で説明した正常時の学習を行い、次にこのデータを加工して異常空間を学習させる。次に運転中のデータを記憶させる様にして図23の新規異常学習を行うことが出来るようにセットしておけばよい。即ち、既に運転中のどのような装置に対しても本発明を適用できる。したがって、本発明の図21などのような遠隔監視装置を設けることにより、契約したユーザーが保有する冷凍サイクル装置などの機器からインターネットなどを介してデータを送信してもらうだけでメンテナンスを代行することが出来る。
図21のネットワーク56や図1の電話回線3を利用して先ず新たな保守注文発注者からメンテナンス担当部門や担当者が保守注文を受ける。このメンテナンス対象である図1の冷凍サイクル装置1が設置されているスーパーなどの現場に設けられている冷凍サイクルである流体回路には既に説明してきたような測定手段が取りつけられている。この計測量はマイコン2に設けられた記憶手段が記憶する。この測定手段で計測した計測量を通信手段を介してメンテナンス担当が引き出すことが出来、このように記憶された流体回路内を循環させる機器が吸引し吐出する流体の物理量を複数の測定手段にて測定し記憶されている計測量もしくはこの計測量から得られた複数のパラメータを複数の変数として組み合わせ相互に関連する集合体を演算した演算結果を得ることが出来る。もし現場にて演算するものであれば演算結果を通信を介して読み出しても良い。読み出された演算結果もしくは測定量から得られた複数のパラメータを複数の変数として組み合わせ相互に関連する集合体を演算した演算結果があらかじめ設定された範囲かどうかを判断することにより、冷凍サイクル装置の現在の状態量を把握することが出来る。現在の状態量の集積を続け、図8、図18、図23のフローチャートに基づき正常状態と異常状態との区分け、正常空間と異常空間の距離、などから正常か異常か、異常の度合い、漏れなどの許容限界までの時間、異常原因などを判断する。判断した結果を保守注文発注者へ通信するが、この判断した結果には保守の内容及び時期に関する複数の提案が含まれている。即ち異常の度合いや異常原因によって保守内容が異なるため、異常予知を行える本発明のシステムでは許容限界までの時期を複数に分けて各段階の保守内容を提案できる。この提案にはその保守を行う場合の見積もり費用が含まれており保守注文発注側は異常の程度を知り、時期と費用、内容から何時どのようなメンテナンスを行うかを決定することが出来る。このような保守システムが採用できれば装置や機器の運転はリスク無しに安心して行うことが出来る。又運転履歴やトラブルの内容の記録が自動的に行えるので報告など必要な時に何時でも簡単に処置できる。このように既設機に対しても、海外など遠隔地に存在するし様が明確でない装置などに対しても、通信手段を介して計測量を入手するだけで、あるいは、通信を介して機器の仕様や据付け状態、運転履歴などを入手することにより診断が行えると共にメンテナンスの推奨と判断が簡単に短時間で行える。このようなインターネットなどを使用して故障診断を行う業務を装置や機器を使用して設備を運用する業務、メンテナンス担当の業務などと独立して行うことも可能になる。なお故障予知を含めた精度の良いメンテナンスには装置の使用だけでなく履歴、例えば過去の運転記録、故障記録、保守記録などがあると都合が良い。更に、新たな故障に対しても追加学習機能を設けることにより、設計当初予測しえなかった故障に対しても後処理により的確な故障判定対処が可能となる。また、学習した新規異常空間の情報は機器診断装置や遠隔監視手段に蓄えられており、これらの情報を利用することにより、新たに出荷する同一機種あるいは類似の別機種の記憶手段に加えるなど同一多機種に展開することも可能である。
なお、上記説明では異常判定手段としてマハラノビスの距離を用い、多項目のパラメータをひとつの指標に変換して異常判定を行う方法について説明を行ったが、この他、例えば異常が表れる項目が予め特定できる場合には、標準偏差など特定の項目に注目して、この項目が閾値を越えるか否かにより異常の判別を行う方法などでもよい。以上の説明の状態量は変化の時間遅れの大きな冷媒などに関する物理量や電流実効値等を計測などして瞬時値とは無関係な電流などの計測量を求めて演算している。このようなデータから求められる多くの変数を組み合わせることにより、機械的、電気的、あるいは、事故によらない他からの影響を含め全体としての故障などの診断が可能になる。冷凍サイクルに使用される圧縮機は冷凍サイクルを流れる冷媒を吐出し吸入して循環させており、この冷媒の物理量などを含めた変数とすることが実用的な診断には有効である。同様なことが、駆動体を有し風の流れの物理量に関する送風機や水や食品、薬品の液体に関係するポンプなどの流体機械にもいえるし、FAXやプリンター、あるいは製造ラインなど物を動かす装置の駆動機器にも対応できる。特に冷凍サイクルに用いられた送風機の場合、上記説明と同様に流体として風の流れ以外に冷媒の物理量を計測してよいことは冷凍サイクルの性能、特性が変化することからる明らかである。
変数として測定する状態量の1つにモーター駆動の電流を使用することは述べてきたが、その他の電気量、例えばモーターの固定子回転子間の電磁力、これは駆動トルクと関係する、アース電流や周囲に漏らすノイズ電波など、あるいは軸電圧等異なる現象の測定データでも電気的に相互の関連があるばかりでなく、機械系などの事故との区別をつけるためにも複数測定しても良い。例えばモーターが誘導電動機の場合とDCブラシレスモーターなどの場合は高調波の出方が変わり定常的なアース電流、ノイズ電波、軸電圧なども違うものになる。更に設置現場にて異常を報知する場合には図1の警告ランプ8またはスピーカー9にて異常報知を行う方法と、液晶ディスプレイなどの表示装置6に異常内容を表示する方法のいずれかもしくは両方併用が可能である。異常事態が緊急かつ重大である場合には警告ランプ8、スピーカー9および表示装置6の併用が有効であり、異常が小さい段階もしくは予知段階では表示装置6のみにて報知を行い、メンテナンス時にサービスマンがその異常傾向を確認できるように構成すれば、適切なメンテナンス時期を把握することが可能となる。遠隔監視室への報知については、異常内容および異常度合を電話回線、LAN、無線などの通信手段により遠隔監視室に報知する。遠隔監視室では異常の状態に応じてサービスマンを派遣するが、この際異常原因が遠隔で把握できれば、現場に行く前に該当する異常に対処するために必要な部品を用意することができ、迅速なメンテナンスを行うことができる。この他、遠隔監視室へ報知するのと同時にサービスマンの携帯電話など情報受信手段へ直接情報を報知することも可能である。
モーター駆動の電源電流を測定量の一つとすることは説明済みであるが、電源電流そのものや直接計測しなくとも良いことは当然である。モーターの周囲にコイルなどモータに流れる電流を誘起電圧で拾ったり、モータ巻先各層に流れるアンバランス電流を拾って状態量としても良い。モーターの電流に関係する駆動トルクは圧縮機の場合冷媒の圧縮によるトルク脈動が大きく故障による影響が埋没してしまう。圧縮機では圧縮比、即ち高圧と低圧の比によりトルクが大きく変わるため電流の計測だけでなく高圧と低圧を合わせて測定しこれらの相関で演算して判断する必要がある。例えば圧縮機を起動してから数十分間は冷凍サイクルの高圧と低圧が安定しない。したがって本発明で説明してきた状態量として定常データを使う場合は冷媒の物理量が安定してから測定をはじめると良いが、一方このような冷媒の物理量が安定しない時に圧縮機のトルクに起因する信号やトルクの影響を受ける歯当たりなどの故障はその間信号が変化するので、このときにトルクの影響を受けないコンデンサなどの電気系の故障などと判別が可能になる。又ショーケースの電磁弁の開閉などの負荷側の機器の制御により圧縮機の周波数が変わらなくとも高圧、低圧などの冷凍サイクルの状態量は変化してトルクが変動する。これに対しては例えば基準状態をトルクや圧縮比との関係で記憶させておいたり、一定時間の平均を取ったりすると良い。
またこの発明の冷凍サイクル装置の診断方法は、記憶手段で記憶された各計測量検出手段による計測値もしくはそれらから演算された状態特徴値から、冷凍サイクル装置が正常に運転されている状態を抜き出し、学習するステップを有する。またこの発明の冷凍サイクル装置の診断方法は、学習された正常運転時の各計測量検出手段による計測値もしくはそれらから演算された状態特徴値のうちのいずれか1つを強制的に別の値に変換するステップと、その変換後に複合変数を新たに演算するステップと、その新たに演算された複合変数を判断手段が圧縮機異常を判断する際の閾値に設定するステップとを有し、実機で異常状態を起こさせて学習すること無しに、正常状態を基に異常状態を想定し学習することができる。又この発明の冷凍サイクル装置の診断方法は、正常状態での複合変数の値と演算手段による現在の複合変数の演算値と閾値もしくは予めユーザーが設定した閾値と経過時間とから、異常度合が閾値に至るまでの時間を算出するステップすなわち故障を予知するステップを有する。
この発明に係る冷凍サイクル装置は、冷凍装置の高圧を測定する高圧測定手段または高圧の飽和温度を測定する凝縮温度測定手段と、低圧を測定する低圧測定手段または低圧の飽和温度を測定する蒸発温度測定手段と、液温測定手段または吐出温度測定手段または吸入温度測定手段とを備え、これらの測定値から複合変数を求める演算手段と、各測定手段の測定値またはそれらから演算された複合変数などの演算値を記憶する記憶手段と、記憶手段により過去に記憶された値と現在の測定値または演算値とを比較する比較手段と、比較結果に基づき冷媒漏れを判断する判断手段とを備えることで、冷媒漏れなどの冷凍サイクル異常を精度よく検知することができる。
また、演算手段により、冷凍サイクル内の冷媒漏れ量などの異常度を演算し、その値から所定の冷却能力を維持できる異常限界に至る時期を予測するようにすることで、冷凍サイクル異常を早期に発見することができる。また、更に、予測された異常限界に至る時期を電圧または電流の大小などの電気信号で出力する出力手段を備えることで、発見した異常を早期に伝達することができる。また、冷媒が可燃性の成分を少なからず含む冷媒であり、出力手段に音や光で警報を発する警報機を接続することで、発見した異常を早期に伝達することができる。また、遠隔にてデータを監視、判断することで、異常を早期に発見することができる。
本発明の検知できる冷凍サイクルの異常の例としては、各種機器の故障および劣化(経時変化)など、運転状態が変わるものであればどんなものでも検知できる。例えば、圧縮機の寿命による劣化や液バック、凝縮器や蒸発器の汚れや破損、凝縮器の送風装置や蒸発器の送風装置の劣化や故障、ストレーナやドライヤの詰り、配管の折れや破損や詰り、冷凍機油の劣化(配管の詰り、圧縮機の潤滑不良、伝熱量の変化などで検知)などが検知、判別できる。
本発明はこのように構成することで、機器の異常(故障及び劣化)を遠隔で監視することが可能となるため、現地に行かなくても機器の異常を発見することができ、異常の早期検知が可能となる。そして、従来は、まず現場に行って異常原因を把握した後、後日対策を施すという2段階必要だったのに対し、本発明の構成とすることで、現場に行かなくても遠隔で異常原因が特定できるため、事前に準備をして現場に行くことができ、復旧までの時間を短縮することができる。例えば、冷媒漏れが起きた時、遠隔でそれが分かるため、冷媒ボンベを準備して現場に出動できる。
以上のように本発明の、判断手段で判断する冷凍サイクルは、流路からの冷媒漏れを検出できるので、可燃性冷媒や人体に有害な液体の流れを監視することにより安心できる装置が得られる。また記憶手段で記憶された各測定手段の測定値またはそれらから演算された演算値から、冷凍サイクル装置が正常に運転されている状態を抜き出し学習する手段を有しているので、常に安定したデータが得られる。更にこの学習手段にて学習する内容に、冷凍サイクルの複数の状態量間の相関を表す数値を含むので、精度の良い診断が可能になる。また記憶手段で記憶された各測定手段の測定値またはそれらから演算された演算値のうちのいずれか1つを強制的に別の値に変換するステップと、その変換後に前記複合変数を新たに演算するステップと、その新たに演算された複合変数を前記判断手段が流体漏れを判断する際の閾値に設定するステップとを有するので、簡単に異常を設定でき、実機で異常状態を起こさせて学習すること無しに、正常状態を基に異常状態を想定し学習することができる。
本発明の演算手段にて演算した値から、冷凍サイクルの異常度合いを判断し、冷凍サイクルが安定運転を継続できなくなる限界時期を予測することができ、信頼性の高い装置、運転が得られる。又流路サイクル内の冷媒や流体量または冷媒又は流体漏れ量またはそれらに相当する演算値を前記演算手段にて演算し、演算された漏れ量またはそれらに相当する演算値からあらかじめ記憶された冷却能力や供給量を維持できる限界量に至る時期を予測するので安心できるものが得られる。又、予測された限界時期を電圧または電流の大小などの電気信号で出力する出力手段を備え、この出力手段により出力する電気信号が所定の装置能力が維持できる限界を最大値とする異常度合いに応じた電圧出力または電流出力であるので、監視が容易である。
本発明は、圧縮機と凝縮器と膨張手段と蒸発器とを配管で接続しその内部に冷媒を流通させて冷凍サイクルを構成し、冷媒は可燃性の成分を少なからず含むものであり、圧縮機の吐出側から膨張手段に至る流路のいずれかの位置の冷媒の圧力すなわち高圧を測定する高圧測定手段または高圧の飽和温度を測定する凝縮温度測定手段と、膨張手段から圧縮機の吸入側に至る流路のいずれかの位置の冷媒の圧力すなわち低圧を測定する低圧測定手段または低圧の飽和温度を測定する蒸発温度測定手段と、凝縮器から膨張手段に至る流路のいずれかの位置の温度を測定する液温測定手段または圧縮機から凝縮器に至る流路のいずれかの位置の温度を測定する吐出温度測定手段または蒸発器から圧縮機に至る流路のいずれかの位置の温度を測定する吸入温度測定手段と、各測定手段の測定値またはそれらから演算された演算値を記憶する記憶手段と、記憶手段により過去に記憶された値と現在の測定値または演算値とを比較する比較手段と、冷凍サイクル内の冷媒量または冷媒漏れ量またはそれらに相当する演算値を演算する演算手段と、冷凍サイクルの異常を電気信号として出力または通信コードとして他と通信するための出力手段とを備え、冷媒漏れを検知した場合に他の冷凍サイクルの異常に優先して出力するのて、確実なメインテナンスが可能で、安価に信頼性の高いものが得られる。
本発明の冷凍サイクルは機器が正常に運転している時の計測量または計測量からの演算値を記憶する手段と、機器に異常が生じた異常状態での計測量または計測量からの演算値を推測する手段または機器の異常状態を再現する手段と、正常状態と前記異常状態と機器の現在の運転状態との距離を演算する手段と、機器の現在の運転状態と正常状態との距離および異常状態との距離の変化から機器の正常状態または異常状態または異常度または異常原因を推定する手段とを備えているので精度の良い使いやすい故障診断装置が得られる。
本発明は1つの異常原因に対し機器の異常度に応じて複数の異常状態を作成可能であり、機器の現在の運転状態と複数の異常状態との距離の変化から、機器の異常度を推測する。また複合変数または冷媒量に相当する演算値または距離とは、マハラノビスの距離またはマハラノビスの距離を加工した数値である。又本発明は圧縮機と凝縮器と膨張手段と蒸発器とを配管で接続しその内部に冷媒を流通させて冷凍サイクルを構成する冷凍サイクル装置に、圧縮機の吐出側から膨張手段に至る流路のいずれかの位置の冷媒の圧力すなわち高圧を測定する高圧測定手段または高圧の飽和温度を測定する凝縮温度測定手段と、膨張手段から圧縮機の吸入側に至る流路のいずれかの位置の冷媒の圧力すなわち低圧を測定する低圧測定手段または低圧の飽和温度を測定する蒸発温度測定手段と、凝縮器から膨張手段に至る流路のいずれかの位置の温度を測定する液温測定手段または圧縮機から凝縮器に至る流路のいずれかの位置の温度を測定する吐出温度測定手段または蒸発器から圧縮機に至る流路のいずれかの位置の温度を測定する吸入温度測定手段とを具備し、高圧測定手段または凝縮温度測定手段、低圧測定手段または蒸発温度測定手段、液温測定手段または吐出温度測定手段または吸入温度測定手段の測定値から複合変数を求める演算手段と、各測定手段の測定値またはそれらから演算された複合変数などの演算値を記憶する記憶手段と、記憶手段により過去に記憶された値と現在の測定値または演算値とを比較する比較手段と、比較結果に基づき冷凍サイクルの異常を判断する判断手段とを、冷凍サイクル装置の近辺またはネットワークもしくは公衆回線を介した遠隔に備え、ネットワークまたは公衆回線を介して測定データまたは演算値を伝送するように構成したので安価に監視が行える。
本発明は、圧縮機と凝縮器と膨張手段と蒸発器とを配管で接続しその内部に可燃性の成分を少なからず含む冷媒を流通させて冷凍サイクルを構成する冷凍サイクル装置に、圧縮機の吐出側から膨張手段に至る流路のいずれかの位置の冷媒の圧力すなわち高圧を測定する高圧測定手段または高圧の飽和温度を測定する凝縮温度測定手段と、膨張手段から圧縮機の吸入側に至る流路のいずれかの位置の冷媒の圧力すなわち低圧を測定する低圧測定手段または低圧の飽和温度を測定する蒸発温度測定手段と、凝縮器から膨張手段に至る流路のいずれかの位置の温度を測定する液温測定手段または圧縮機から凝縮器に至る流路のいずれかの位置の温度を測定する吐出温度測定手段または蒸発器から圧縮機に至る流路のいずれかの位置の温度を測定する吸入温度測定手段とを接続し、各測定手段の測定値またはそれらから演算された演算値を記憶する記憶手段と、記憶手段により過去に記憶された値と現在の測定値または演算値とを比較する比較手段と、冷凍サイクル内の冷媒量または冷媒漏れ量またはそれらに相当する演算値を演算する演算手段と、冷凍サイクルの異常を電気信号として出力または通信コードとして他と通信するための出力手段とを冷凍サイクル装置の近辺またはネットワークもしくは公衆回線を介した遠隔に備え、ネットワークまたは公衆回線を介して測定データまたは演算値を伝送し、冷媒漏れを検知した場合に他の冷凍サイクルの異常に優先して出力するものである。
本発明は、機器が正常に運転している時の計測量または計測量からの演算値を記憶する手段と、機器に異常が生じた異常状態での計測量または計測量からの演算値を推測する手段または機器の異常状態を再現する手段と、正常状態と異常状態と機器の現在の運転状態との距離を演算する手段と、機器の現在の運転状態と正常状態との距離および異常状態との距離の変化から機器の正常状態または異常状態または異常度または異常原因を推定する手段とを冷凍サイクル装置の近辺またはネットワークもしくは公衆回線を介した遠隔に備え、ネットワークまたは公衆回線を介して測定データまたは演算値を伝送するように構成したものである。
本発明は、機器が正常に運転している時の計測量または計測量からの演算値を記憶する複数の手段と、機器に異常が生じた異常状態での計測量または計測量からの演算値を推測する手段または機器の異常状態を再現する手段と、正常状態と異常状態と機器の現在の運転状態との距離を演算する手段と、機器の現在の運転状態と正常状態との距離または異常状態との距離の変化から機器の正常状態または異常状態または異常度または異常原因を推定する手段とを冷凍サイクル装置の近辺またはネットワークもしくは公衆回線を介した遠隔に備え、ネットワークまたは公衆回線を介して測定データまたは演算値を伝送するように構成したものである。
この発明に係る冷凍サイクル装置は、冷凍装置の高圧を測定する高圧測定手段または前記高圧の飽和温度を測定する凝縮温度測定手段と、低圧を測定する低圧測定手段または前記低圧の飽和温度を測定する蒸発温度測定手段と、液温測定手段または吐出温度測定手段または吸入温度測定手段とを備え、これらの測定値から複合変数を求める演算手段と、前記各測定手段の測定値またはそれらから演算された複合変数などの演算値を記憶する記憶手段と、前記記憶手段により過去に記憶された値と現在の測定値または演算値とを比較する比較手段と、前記比較結果に基づき冷媒漏れを判断する判断手段とを備えることで、冷媒漏れなどの冷凍サイクル異常を精度よく検知することができる。
また、演算手段により、冷凍サイクル内の冷媒漏れ量などの異常度を演算し、その値から所定の冷却能力を維持できる異常限界に至る時期を予測するようにすることで、冷凍サイクル異常を早期に発見することができる。また演算手段22、記憶手段23、比較手段24、判断手段25、出力手段26は1つにまとまっていてもよく、例えばパソコンなどの汎用コンピュータを使って遠隔監視を行う場合はこれらの機能はすべてコンピュータのソフトにて実現することが可能であり、この場合の出力はディスプレイもしくはハードディスクなどの外部記憶媒体になされる。
また、単位空間は、各特徴量の平均値、標準偏差、相関係数で構成されるが、他の条件を加えても良く、これらは、遠隔監視システムにおいては、冷凍サイクル装置の基板上のメモリもしくは遠隔に設置されたパソコンなどに記憶される。実機でこれら全部もしくは一部を学習する場合、学習する必要のないデータは冷凍サイクル装置の基板上のメモリとパソコンのどちらに記憶されていてもよいが、学習する必要のあるデータはパソコンのハードディスクに記憶する。
本発明は圧縮機と凝縮器と膨張手段と蒸発器とを配管で接続しその内部に冷媒を流通させて冷凍サイクルを構成し、圧縮機の吐出側から膨張手段に至る流路のいずれかの位置の冷媒の圧力すなわち高圧を測定する高圧測定手段または高圧の飽和温度を測定する凝縮温度測定手段と、膨張手段から圧縮機の吸入側に至る流路のいずれかの位置の冷媒の圧力すなわち低圧を測定する低圧測定手段または前記低圧の飽和温度を測定する蒸発温度測定手段と、凝縮器から膨張手段に至る流路のいずれかの位置の温度を測定する液温測定手段または圧縮機から凝縮器に至る流路のいずれかの位置の温度を測定する吐出温度測定手段または蒸発器から圧縮機に至る流路のいずれかの位置の温度を測定する吸入温度測定手段とを具備し、高圧測定手段または凝縮温度測定手段、低圧測定手段または蒸発温度測定手段、液温測定手段または吐出温度測定手段または吸入温度測定手段の測定値から複合変数を求める演算手段と、各測定手段の測定値またはそれらから演算された複合変数などの演算値を記憶する記憶手段と、記憶手段により過去に記憶された値と現在の測定値または演算値とを比較する比較手段と、比較結果に基づき冷凍サイクルの異常を判断する判断手段とを備えたものである。
また、更に、予測された異常限界に至る時期を電圧または電流の大小などの電気信号で出力する出力手段を備えることで、発見した劣化や漏れなどの異常を早期に伝達することができる。また、冷媒が可燃性の成分を少なからず含む冷媒であり、出力手段に音や光で警報を発する警報機を接続することで、発見した異常を早期に伝達することができる。また、遠隔にてデータを監視、判断することで、異常を早期に発見することができる。
本発明の実施の形態1の全体概念図である。 本発明の実施の形態1の冷凍サイクル装置の構成図である。 本発明の実施の形態1の冷凍サイクルの動作を示すモリエル線図である。 本発明の実施の形態1のマハラノビスの距離とその出現率の関係を説明する説明図である。 本発明の実施の形態1のマハラノビスの距離の計算フローチャートである。 本発明の実施の形態1のマハラノビスの距離の概念を示す図である。 本発明の実施の形態1の冷媒漏れ度合いとマハラノビスの距離の関係を示す図である。 本発明の実施の形態1の動作フローチャートである。 本発明の実施の形態1の冷凍サイクル装置の別の構成図である。 本発明の実施の形態1のマハラノビスの距離の時間推移を表した説明図である。 本発明の実施の形態1の冷凍サイクル装置の別の構成図である。 本発明の実施の形態1の冷凍サイクル装置の別の構成図である。 本発明の実施の形態1の冷凍サイクル装置の別の構成図である。 本発明の実施の形態1の冷凍サイクル装置の別の構成図である。 本発明の実施の形態1の冷凍サイクル装置の別の構成図である。 本発明の実施の形態1の冷凍サイクル装置の別の構成図である。 本発明の実施の形態1の基準空間と異常空間の関係を示す図である。 本発明の実施の形態1の動作フローチャートである。 本発明の実施の形態1の冷媒漏れの試験結果を示す図である。 本発明の実施の形態1の年間での基準空間の分割方法を示す図である。 本発明の実施の形態1の冷凍サイクル装置の別の構成図である。 本発明の実施の形態1の異常空間と正常空間のマハラノビスの距離の概念を表した説明図である。 本発明の実施の形態1の新規異常学習機能内容を表したフローチャートである。
符号の説明
1 冷凍サイクル装置、 2 マイコン、 3 電話回線またはLAN、 4 遠隔監視室、 5 コンピュータ、 6 表示装置、 7 入力装置、 8 警告ランプ、 9 スピーカー、 10 アキュムレータ、 11 圧縮機、 12 凝縮器、 13 膨張弁、 14 蒸発器、 35 液溜、 36 流路開閉手段、 37 過冷却手段、 38 液管温度検出手段、 41 データ収集手段、 45 凝縮起用送風機、 48 油分離機、 53 事務所、 54 警報機、 55 データ送受信手段、 56 ネットワークまたは公衆回線、 61 吹出温度検出手段、 62 吸入温度検出手段。

Claims (6)

  1. 圧縮機と凝縮器と膨張手段と蒸発器とを配管で接続しその内部に冷媒を流通させて冷凍サイクルを構成する冷凍サイクル装置の前記圧縮機の吐出側から前記膨張手段に至る流路のいずれかの位置の冷媒圧力の高圧を測定する高圧測定手段もしくは前記高圧の飽和温度を測定する凝縮温度測定手段である高圧側測定手段と、前記膨張手段から前記圧縮機の吸入側に至る流路のいずれかの位置の冷媒の圧力である低圧を測定する低圧測定手段もしくは前記低圧の飽和温度を測定する蒸発温度測定手段である低圧側測定手段と、前記凝縮器から前記膨張手段に至る流路のいずれかの位置の温度を測定する液温測定手段もしくは前記圧縮機から前記凝縮器に至る流路のいずれかの位置の温度を測定する吐出温度測定手段もしくは前記蒸発器から前記圧縮機に至る流路のいずれかの位置の温度を測定する吸入温度測定手段である冷媒温度測定手段と、前記高圧側測定手段、前記低圧側測定手段及び前記冷媒温度測定手段の測定値から複合変数を求める演算手段と、前記各測定手段の測定値もしくはそれらから演算された複合変数などの演算値を記憶する記憶手段と、前記記憶手段により過去に記憶された値と現在の測定値または演算値とを比較し、この比較結果に基づき前記冷凍サイクルの異常を判断する判断手段と、前記冷凍サイクル装置から離れた地点に設けられた遠隔監視装置に前記測定値又は演算値又は前記判断手段の判断結果を伝送する有線もしくは無線にて形成される伝送手段と、を備えたことを特徴とする冷凍サイクル監視システム。
  2. 圧縮機と凝縮器と膨張手段と蒸発器とを配管で接続しその内部に冷媒を流通させて形成する冷凍サイクルが正常に運転している時の測定結果を複数の変数として相関関係を演算して正常運転状態の状態量を演算する状態量を得てまたはこの状態量を推測して記憶する正常状態記憶手段と、前記冷凍サイクルの冷媒循環に異常が生じた時の運転の測定結果を複数の変数として相関関係を演算して異常運転状態の状態量を演算しこの複数の異常状態での状態量を記憶する、または複数の異常状態を再現させて得られる複数の異常状態量を記憶する異常状態記憶手段と、前記冷凍サイクルの現在の運転状態から得られる状態量に対し、前記正常状態記憶手段に記憶された状態量もしくは前記異常状態記憶手段に記憶された複数の状態量との距離を比較する比較手段と、前記比較手段にて比較された距離もしくはこの距離の変化する状態から前記冷凍サイクルの正常の度合いまたは異常の度合いまたは異常の原因を判断する判断手段と、を備え、前記現在の状態量又は前記比較手段にて比較された距離もしくは距離の変化する状態又は前記判断手段で判断した前記冷凍サイクルの正常の度合いまたは異常の度合いまたは異常の原因の少なくとも1つを有線もしくは無線にて形成される伝送手段にて伝送することを特徴とする冷凍サイクル監視システム。
  3. 現在の運転状態から測定され演算された演算値に対して、正常運転時に測定され演算された演算値と及び冷凍サイクルの運転経過時間とから、機器の故障を起すであろう迄の時間を推測した情報を、前記伝送手段を介して設けられた遠隔監視装置に伝送し表示することを特徴とする請求項1又は2記載の冷凍サイクル監視システム。
  4. 前記冷凍サイクルが正常に運転されている状態における前記演算手段の演算結果を正常な運転状態として学習し記憶する正常状態記憶手段と、前記冷凍サイクルの冷媒が漏れるなど異常な状態で運転されている時の前記演算手段の演算結果を異常な運転状態として学習し記憶する異常状態記憶手段と、前記記憶された正常状態と異常状態の間の距離の途中に設定された複数の閾値と、を備え、遠隔監視装置にて現在の運転状態の演算結果と前記閾値との距離又はこの距離の時間的な変化を表示することを特徴とする請求項1乃至3のいずれかに記載の冷凍サイクル監視システム。
  5. 前記冷凍サイクル内の冷媒量または冷媒漏れ量をそれら各量に相当する演算値として設定し、前記冷凍サイクルの異常を電気信号として出力または通信コードとして通信する出力手段と、を備え、冷媒漏れを検知した場合に前記判断手段の他の判断結果よりも優先して遠隔監視装置に出力することを特徴とする請求項1乃至4のいずれかに記載の冷凍サイクル監視システム。
  6. 冷凍サイクルを流れる冷媒が正常な状態における冷媒物理量の相関関係を演算した結果を正常な運転状態として記憶する正常状態記憶手段と、前記冷媒が前記冷凍サイクルから漏れて異常な状態における冷媒物理量の相関関係を演算した結果を異常な運転状態として記憶する異常状態記憶手段と、現在の運転状態における冷媒物理量の相関関係を演算した結果と前記記憶された正常な運転状態及び異常な運転状態の少なくとも一方の間の距離を比較して前記冷媒が前記冷凍サイクルから漏れる時期を予測する冷媒漏れ予測手段と、を備え、前記冷媒漏れ予測手段の予測結果を遠隔監視装置に伝送することを特徴とする冷凍サイクル監視システム。
JP2005198569A 2005-07-07 2005-07-07 冷凍サイクル監視システム Expired - Lifetime JP4151680B2 (ja)

Priority Applications (1)

Application Number Priority Date Filing Date Title
JP2005198569A JP4151680B2 (ja) 2005-07-07 2005-07-07 冷凍サイクル監視システム

Applications Claiming Priority (1)

Application Number Priority Date Filing Date Title
JP2005198569A JP4151680B2 (ja) 2005-07-07 2005-07-07 冷凍サイクル監視システム

Related Parent Applications (1)

Application Number Title Priority Date Filing Date
JP2004013165A Division JP4396286B2 (ja) 2004-01-21 2004-01-21 機器診断装置および機器監視システム

Publications (2)

Publication Number Publication Date
JP2005291702A true JP2005291702A (ja) 2005-10-20
JP4151680B2 JP4151680B2 (ja) 2008-09-17

Family

ID=35324817

Family Applications (1)

Application Number Title Priority Date Filing Date
JP2005198569A Expired - Lifetime JP4151680B2 (ja) 2005-07-07 2005-07-07 冷凍サイクル監視システム

Country Status (1)

Country Link
JP (1) JP4151680B2 (ja)

Cited By (12)

* Cited by examiner, † Cited by third party
Publication number Priority date Publication date Assignee Title
EP1938029A4 (en) * 2005-10-21 2014-02-26 Emerson Retail Services Inc MONITORING OF COOLING SYSTEM PERFORMANCE
JP2014231975A (ja) * 2013-05-30 2014-12-11 三菱電機株式会社 冷凍サイクル装置
WO2017022642A1 (ja) * 2015-08-03 2017-02-09 ダイキン工業株式会社 判定装置
WO2017026147A1 (ja) * 2015-08-07 2017-02-16 三菱電機株式会社 冷凍サイクル装置及び冷凍サイクルシステム
JP2019024305A (ja) * 2018-08-10 2019-02-14 株式会社安川電機 モータ制御システム
US10663518B2 (en) 2016-02-23 2020-05-26 Kabushiki Kaisha Yaskawa Denki Abnormality determining apparatus, abnormality determining method, and abnormality determining system
CN114777282A (zh) * 2022-06-23 2022-07-22 天津汉江流科技有限公司 基于动态规则的空调设备异常状态告警方法及系统
JP2023039078A (ja) * 2021-09-08 2023-03-20 ダイキン工業株式会社 異常診断システム、空気調和機、及び、空気調和システム
US11635241B2 (en) 2019-01-28 2023-04-25 Emerson Climate Technologies, Inc. Container refrigeration monitoring systems and methods
CN117804112A (zh) * 2024-02-29 2024-04-02 浙江恒隆智慧科技集团有限公司 冷热源系统Ai能源效率管理系统
CN120313188A (zh) * 2025-06-16 2025-07-15 成都明日蔚蓝科技有限公司 一种空调设备状态监控系统及方法
CN120833038A (zh) * 2025-09-10 2025-10-24 北京汇研中科科技发展有限公司 一种电厂空冷岛用智能巡检系统

Families Citing this family (1)

* Cited by examiner, † Cited by third party
Publication number Priority date Publication date Assignee Title
CN111692703B (zh) 2019-03-15 2023-04-25 开利公司 空气调节系统的故障检测方法

Citations (8)

* Cited by examiner, † Cited by third party
Publication number Priority date Publication date Assignee Title
JPS63297975A (ja) * 1987-05-29 1988-12-05 株式会社東芝 熱ポンプの異常検出方法及び異常検出装置
JPH09113077A (ja) * 1995-10-16 1997-05-02 Matsushita Refrig Co Ltd 空気調和機
JPH10267509A (ja) * 1997-03-24 1998-10-09 Sanyo Electric Co Ltd 機器の運転状態管理装置
JP2000046701A (ja) * 1998-07-23 2000-02-18 Japan Nuclear Cycle Development Inst States Of Projects 機器の診断方法
JP2000259222A (ja) * 1999-03-04 2000-09-22 Hitachi Ltd 機器監視・予防保全システム
JP2002081809A (ja) * 2000-09-01 2002-03-22 Mitsubishi Electric Building Techno Service Co Ltd 故障診断機能付き冷熱遠隔監視装置
JP2002277117A (ja) * 2001-03-21 2002-09-25 Mitsubishi Electric Corp 冷凍空調装置
JP2003207188A (ja) * 2002-01-16 2003-07-25 Mitsubishi Electric Corp 冷凍空気調和装置およびその運転制御方法

Patent Citations (8)

* Cited by examiner, † Cited by third party
Publication number Priority date Publication date Assignee Title
JPS63297975A (ja) * 1987-05-29 1988-12-05 株式会社東芝 熱ポンプの異常検出方法及び異常検出装置
JPH09113077A (ja) * 1995-10-16 1997-05-02 Matsushita Refrig Co Ltd 空気調和機
JPH10267509A (ja) * 1997-03-24 1998-10-09 Sanyo Electric Co Ltd 機器の運転状態管理装置
JP2000046701A (ja) * 1998-07-23 2000-02-18 Japan Nuclear Cycle Development Inst States Of Projects 機器の診断方法
JP2000259222A (ja) * 1999-03-04 2000-09-22 Hitachi Ltd 機器監視・予防保全システム
JP2002081809A (ja) * 2000-09-01 2002-03-22 Mitsubishi Electric Building Techno Service Co Ltd 故障診断機能付き冷熱遠隔監視装置
JP2002277117A (ja) * 2001-03-21 2002-09-25 Mitsubishi Electric Corp 冷凍空調装置
JP2003207188A (ja) * 2002-01-16 2003-07-25 Mitsubishi Electric Corp 冷凍空気調和装置およびその運転制御方法

Cited By (22)

* Cited by examiner, † Cited by third party
Publication number Priority date Publication date Assignee Title
EP1938029A4 (en) * 2005-10-21 2014-02-26 Emerson Retail Services Inc MONITORING OF COOLING SYSTEM PERFORMANCE
JP2014231975A (ja) * 2013-05-30 2014-12-11 三菱電機株式会社 冷凍サイクル装置
US11333381B2 (en) 2015-08-03 2022-05-17 Daikin Industries, Ltd. Determination device
WO2017022642A1 (ja) * 2015-08-03 2017-02-09 ダイキン工業株式会社 判定装置
US20180231267A1 (en) * 2015-08-03 2018-08-16 Daikin Industries, Ltd. Determination device
US11609011B2 (en) 2015-08-03 2023-03-21 Daikin Industries, Ltd. Determination device for refrigerant quality
EP3333508A4 (en) * 2015-08-03 2019-04-17 Daikin Industries, Ltd. DETERMINATION DEVICE
WO2017026147A1 (ja) * 2015-08-07 2017-02-16 三菱電機株式会社 冷凍サイクル装置及び冷凍サイクルシステム
JP6143977B1 (ja) * 2015-08-07 2017-06-07 三菱電機株式会社 冷凍サイクル装置及び冷凍サイクルシステム
CN107923684A (zh) * 2015-08-07 2018-04-17 三菱电机株式会社 制冷循环装置以及制冷循环系统
US10408488B2 (en) 2015-08-07 2019-09-10 Mitsubishi Electric Corporation Refrigeration cycle apparatus and refrigeration cycle system
CN107923684B (zh) * 2015-08-07 2021-03-19 三菱电机株式会社 制冷循环装置以及制冷循环系统
US10663518B2 (en) 2016-02-23 2020-05-26 Kabushiki Kaisha Yaskawa Denki Abnormality determining apparatus, abnormality determining method, and abnormality determining system
JP2019024305A (ja) * 2018-08-10 2019-02-14 株式会社安川電機 モータ制御システム
US11635241B2 (en) 2019-01-28 2023-04-25 Emerson Climate Technologies, Inc. Container refrigeration monitoring systems and methods
JP2023039078A (ja) * 2021-09-08 2023-03-20 ダイキン工業株式会社 異常診断システム、空気調和機、及び、空気調和システム
CN114777282A (zh) * 2022-06-23 2022-07-22 天津汉江流科技有限公司 基于动态规则的空调设备异常状态告警方法及系统
CN114777282B (zh) * 2022-06-23 2022-09-06 天津汉江流科技有限公司 基于动态规则的空调设备异常状态告警方法及系统
CN117804112A (zh) * 2024-02-29 2024-04-02 浙江恒隆智慧科技集团有限公司 冷热源系统Ai能源效率管理系统
CN117804112B (zh) * 2024-02-29 2024-05-07 浙江恒隆智慧科技集团有限公司 冷热源系统Ai能源效率管理系统
CN120313188A (zh) * 2025-06-16 2025-07-15 成都明日蔚蓝科技有限公司 一种空调设备状态监控系统及方法
CN120833038A (zh) * 2025-09-10 2025-10-24 北京汇研中科科技发展有限公司 一种电厂空冷岛用智能巡检系统

Also Published As

Publication number Publication date
JP4151680B2 (ja) 2008-09-17

Similar Documents

Publication Publication Date Title
JP4396286B2 (ja) 機器診断装置および機器監視システム
JP4151679B2 (ja) 冷凍サイクル装置
JP4749369B2 (ja) 冷凍サイクル装置の故障診断装置及びそれを搭載した冷凍サイクル装置
JP2005241089A (ja) 機器診断装置、冷凍サイクル装置、機器診断方法、機器監視システム、冷凍サイクル監視システム
JP2005351618A (ja) 流体回路診断方法
US7082380B2 (en) Refrigeration monitor
JP4151680B2 (ja) 冷凍サイクル監視システム
US9739513B2 (en) Air conditioning apparatus
KR100903815B1 (ko) 공기 조화 장치의 냉매량 판정 장치
JP5674452B2 (ja) 冷凍装置
KR102436213B1 (ko) 공조 관리 시스템, 공조 관리 방법, 및 프로그램
CN108278715A (zh) 一种空调机缺氟保护方法及具有缺氟保护功能的空调机
JP2008164265A (ja) 空気調和機及びその冷媒量判定方法
JPWO2016174734A1 (ja) 空気調和装置監視装置および方法
JP2011012958A (ja) 冷凍サイクル装置の制御方法
JP4479565B2 (ja) 異常検知システム
US12385679B2 (en) Refrigerant quantity diagnosis device, refrigerant system, and refrigerant quantity diagnosis method
Wichman et al. Fault detection and diagnostics for commercial coolers and freezers
JPWO2015111222A1 (ja) 冷凍装置
JP4290705B2 (ja) 空気調和機の診断方法及び診断システム
JP2006275303A (ja) 異常検知システム
JP2020003202A (ja) 空調管理システム、空調管理方法、及びプログラム
KR102373235B1 (ko) 냉동공조시스템 및 그 진단방법
KR20040033357A (ko) 공기조화기
JP2017053551A (ja) 遠隔監視装置、遠隔監視方法及び冷凍サイクル装置

Legal Events

Date Code Title Description
A977 Report on retrieval

Free format text: JAPANESE INTERMEDIATE CODE: A971007

Effective date: 20071219

A131 Notification of reasons for refusal

Free format text: JAPANESE INTERMEDIATE CODE: A131

Effective date: 20080122

A521 Request for written amendment filed

Free format text: JAPANESE INTERMEDIATE CODE: A523

Effective date: 20080321

TRDD Decision of grant or rejection written
A01 Written decision to grant a patent or to grant a registration (utility model)

Free format text: JAPANESE INTERMEDIATE CODE: A01

Effective date: 20080610

A01 Written decision to grant a patent or to grant a registration (utility model)

Free format text: JAPANESE INTERMEDIATE CODE: A01

A61 First payment of annual fees (during grant procedure)

Free format text: JAPANESE INTERMEDIATE CODE: A61

Effective date: 20080623

R151 Written notification of patent or utility model registration

Ref document number: 4151680

Country of ref document: JP

Free format text: JAPANESE INTERMEDIATE CODE: R151

FPAY Renewal fee payment (event date is renewal date of database)

Free format text: PAYMENT UNTIL: 20110711

Year of fee payment: 3

FPAY Renewal fee payment (event date is renewal date of database)

Free format text: PAYMENT UNTIL: 20110711

Year of fee payment: 3

FPAY Renewal fee payment (event date is renewal date of database)

Free format text: PAYMENT UNTIL: 20120711

Year of fee payment: 4

FPAY Renewal fee payment (event date is renewal date of database)

Free format text: PAYMENT UNTIL: 20120711

Year of fee payment: 4

FPAY Renewal fee payment (event date is renewal date of database)

Free format text: PAYMENT UNTIL: 20130711

Year of fee payment: 5

R250 Receipt of annual fees

Free format text: JAPANESE INTERMEDIATE CODE: R250

R250 Receipt of annual fees

Free format text: JAPANESE INTERMEDIATE CODE: R250

R250 Receipt of annual fees

Free format text: JAPANESE INTERMEDIATE CODE: R250

R250 Receipt of annual fees

Free format text: JAPANESE INTERMEDIATE CODE: R250

R250 Receipt of annual fees

Free format text: JAPANESE INTERMEDIATE CODE: R250

R250 Receipt of annual fees

Free format text: JAPANESE INTERMEDIATE CODE: R250

R250 Receipt of annual fees

Free format text: JAPANESE INTERMEDIATE CODE: R250

R250 Receipt of annual fees

Free format text: JAPANESE INTERMEDIATE CODE: R250

R250 Receipt of annual fees

Free format text: JAPANESE INTERMEDIATE CODE: R250

EXPY Cancellation because of completion of term