JP2005291544A - 水蒸気移動制御装置 - Google Patents
水蒸気移動制御装置 Download PDFInfo
- Publication number
- JP2005291544A JP2005291544A JP2004103604A JP2004103604A JP2005291544A JP 2005291544 A JP2005291544 A JP 2005291544A JP 2004103604 A JP2004103604 A JP 2004103604A JP 2004103604 A JP2004103604 A JP 2004103604A JP 2005291544 A JP2005291544 A JP 2005291544A
- Authority
- JP
- Japan
- Prior art keywords
- water
- water vapor
- gap
- drainage
- chamber unit
- Prior art date
- Legal status (The legal status is an assumption and is not a legal conclusion. Google has not performed a legal analysis and makes no representation as to the accuracy of the status listed.)
- Pending
Links
Images
Landscapes
- Air Humidification (AREA)
- Separation Using Semi-Permeable Membranes (AREA)
- Drying Of Gases (AREA)
Abstract
【課題】 水蒸気移動制御装置の組み立てが簡単にでき、又、水蒸気の処理能力を超える水が侵入した場合等に対処すべく、非常用の排水構造を備えている水蒸気移動制御装置の提供。
【解決手段】 膜体22によって区画された小室24が内部に形成されている小室ユニット2が形成され、小室ユニットが排水路間隙6を保持して外筒ケーシング3の内部に嵌合され、排水路間隙が水溶性シール物質によって常時は閉塞され、水の侵入時には水溶性シール物質が溶解して排水路間隙が外部に開通するように形成されている。
【選択図】 図1
【解決手段】 膜体22によって区画された小室24が内部に形成されている小室ユニット2が形成され、小室ユニットが排水路間隙6を保持して外筒ケーシング3の内部に嵌合され、排水路間隙が水溶性シール物質によって常時は閉塞され、水の侵入時には水溶性シール物質が溶解して排水路間隙が外部に開通するように形成されている。
【選択図】 図1
Description
本発明は、特殊な膜体とその配列で水蒸気の移動方向を制御することによって、主に、除湿装置として利用される水蒸気移動制御装置に関し、特に、この水蒸気移動制御装置内に侵入した水の排水技術に関する。
水蒸気移動制御装置は、外筒ケーシングの内部に、複数のスペーサ円筒体が直接に嵌合されると共に、前記複数のスペーサ円筒体の間に通気性及び透湿性を有する膜体が挟持されて、この膜体によって区画された小室が形成されている構造になっている(特許文献1参照)。
この水蒸気移動制御装置は、外筒ケーシングの一方を外気に開放し、他方を箱体等(箱体、容器等)の内部に開放する状態にして使用されるもので、前記各膜体の通気度及び透湿度を使用して、外気と箱体等の温度変動速度により、箱体等の内部の水蒸気の移動を制御するものである。
このような水蒸気移動制御装置の特徴は、水蒸気の移動量が大きい膜体を使用することで、電気箱や容器などの電気機器を収容する箱体等のシールに異常が発生した場合でも、可及的に水蒸気の排出を促進し、機器を収容する箱体等の内部の湿度調整を行うことができることである。
このような水蒸気移動制御装置の特徴は、水蒸気の移動量が大きい膜体を使用することで、電気箱や容器などの電気機器を収容する箱体等のシールに異常が発生した場合でも、可及的に水蒸気の排出を促進し、機器を収容する箱体等の内部の湿度調整を行うことができることである。
しかしながら、この水蒸気移動制御装置では、水蒸気の処理能力を超える水が、湿度調整の対象となる空間内に侵入した場合には、排水ができず、水が滞る結果を招いてしまうことがあるという問題があった。
水蒸気の処理のためには、湿度調整の対象となる空間が、環境温度変化に伴って、外部環境空気との間で呼吸現象を生じるようにする必要がある。
従来、この呼吸現象を調整する目的で、アキュムレータを併用したり圧力安全弁を併用したり、または、小室壁を伸縮可能な部材で構成したりして、湿度調整の能力を調整する態様はすでに明らかである。
しかしながら、ひとたび水蒸気の処理能力を超える水が、湿度調整の対象となる空間内に侵入した場合に、どのように排水路を確保するかという課題が残されていた。
従来、この呼吸現象を調整する目的で、アキュムレータを併用したり圧力安全弁を併用したり、または、小室壁を伸縮可能な部材で構成したりして、湿度調整の能力を調整する態様はすでに明らかである。
しかしながら、ひとたび水蒸気の処理能力を超える水が、湿度調整の対象となる空間内に侵入した場合に、どのように排水路を確保するかという課題が残されていた。
すなわち、湿度調整の対象となる空間の湿度調整を受ける機器を保護する場合、従来の装置では、水蒸気の移動量が大きな膜体を使用することで、各シール部へのストレスを低減する工夫が行われていた。
一方、箱体等のシール性(気密性確保の各種手段による気密性)の寿命が、環境温度変化を伴った外部環境空気との呼吸現象によって、直接的に水蒸気移動制御装置などの機能性の発揮に影響することになり、大きなシール性の破損や破壊、事故による水の浸入が発生してしまった場合などや、または外部環境空気との呼吸性が失われた条件下では、排水が困難であるという問題があった。
一方、箱体等のシール性(気密性確保の各種手段による気密性)の寿命が、環境温度変化を伴った外部環境空気との呼吸現象によって、直接的に水蒸気移動制御装置などの機能性の発揮に影響することになり、大きなシール性の破損や破壊、事故による水の浸入が発生してしまった場合などや、または外部環境空気との呼吸性が失われた条件下では、排水が困難であるという問題があった。
また、前記特許文献1では、毛細管現象を活用した排水機構を備えてもよいとの記載があるが、具体的な対策手段は記載されていないし、従来、このような水蒸気移動制御装置において、非常用の排水構造を備えたものは見当らない。
特開平5−322060号公報
本発明は、かかる従来の問題を解決するためになされたもので、水蒸気の処理能力を超える水が侵入した場合等に対処すべく、非常用の排水構造を備えた水蒸気移動制御装置を提供することを課題としている。
又、スペーサ円筒体と膜体とをインナ円筒体の内部に組み込んだ小室ユニットを形成することで、水蒸気移動制御装置の組み立てが簡単にできるようにする。
又、スペーサ円筒体と膜体とをインナ円筒体の内部に組み込んだ小室ユニットを形成することで、水蒸気移動制御装置の組み立てが簡単にできるようにする。
上記の課題を解決するために、本発明(請求項1)の水蒸気移動制御装置は、
複数のスペーサ円筒体がインナ円筒体の内部に嵌合されると共に、前記スペーサ円筒体の間に通気性及び透湿性を有する膜体が気密シール性を持って圧迫状態に挟持されて、この膜体によって区画された小室が内部に形成されている小室ユニットが形成され、
前記小室ユニットが排水路間隙を保持して外筒ケーシングの内部に嵌合され、
前記排水路間隙が水溶性シール物質によって常時は閉塞され、水の侵入時には水溶性シール物質が溶解して排水路間隙が外部に開通するように形成されている構成とした。
複数のスペーサ円筒体がインナ円筒体の内部に嵌合されると共に、前記スペーサ円筒体の間に通気性及び透湿性を有する膜体が気密シール性を持って圧迫状態に挟持されて、この膜体によって区画された小室が内部に形成されている小室ユニットが形成され、
前記小室ユニットが排水路間隙を保持して外筒ケーシングの内部に嵌合され、
前記排水路間隙が水溶性シール物質によって常時は閉塞され、水の侵入時には水溶性シール物質が溶解して排水路間隙が外部に開通するように形成されている構成とした。
また、前記請求項1記載の水蒸気移動制御装置において、外筒ケーシングの上部内面に形成した段部と、小室ユニットの上端との間に排水路間隙の上端口部が形成され、この上端口部に吸水性に優れた多孔質リング体が装着され、この多孔質リング体の透水空隙に水溶性シール物質が充填されている態様(請求項2)がある。
また、前記請求項2記載の水蒸気移動制御装置において、前記排水路間隙の上端口部に装着された多孔質リング体と、小室ユニットの間にスクイーズパッキンが装着されている態様(請求項3)がある。
本発明の水蒸気移動制御装置(請求項1)は、スペーサ円筒体と膜体とをインナ円筒体の内部に組み込んだ小室ユニットに形成したので、この小室ユニットを外筒ケーシングの内部に嵌合するだけの組み立て作業になり、その組み立て作業が簡単にできる。
又、小室ユニットと外筒ケーシングの間に形成し、この排水路間隙を、常時は水溶性シール物質によって閉塞させているので、ここから水蒸気や空気が侵入することは無く、正常な水蒸気移動制御を行なうことができる。
そして、水蒸気の処理能力を超える水が不測に侵入した場合、水溶性シール物質が溶解して排水路間隙が開通するため、この排水路間隙を通して水を外部に排水することができる。
又、排水路間隙は結露しにくい熱量的設計が行なわれ、例えば、合成樹脂により構成されるので、外気側から逆行性に水溶性シール物質が溶解してしまうことを予防することができる。
そして、水蒸気の処理能力を超える水が不測に侵入した場合、水溶性シール物質が溶解して排水路間隙が開通するため、この排水路間隙を通して水を外部に排水することができる。
又、排水路間隙は結露しにくい熱量的設計が行なわれ、例えば、合成樹脂により構成されるので、外気側から逆行性に水溶性シール物質が溶解してしまうことを予防することができる。
以下、本発明の実施の形態を図面に示す実施例により説明する。
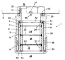
図1は本発明の水蒸気移動制御装置の実施例を示す縦断面図、図2は外筒ケーシングの分解断面図、図3は小室ユニットの分解断面図である。
図1は本発明の水蒸気移動制御装置の実施例を示す縦断面図、図2は外筒ケーシングの分解断面図、図3は小室ユニットの分解断面図である。
この水蒸気移動制御装置1は、小室ユニット2が外筒ケーシング3の内部に嵌合されたもので、下端の通気口38を外気に開放し、上端の通気口39を、例えば箱体等(箱体、容器等)4の内部に開放する状態にして使用される。
前記小室ユニット2は、複数のスペーサ円筒体20がインナ円筒体21の内部に嵌合されると共に、前記スペーサ円筒体20の間に通気性及び透湿性を有する膜体22及び導電性多孔体としての銅製のメッシュプレート23が気密シール性を持つように圧迫状態に挟持されて、内部に膜体22によって区画された小室24が形成されている。
実施例では、4個のスペーサ円筒体20と、3枚の膜体22とによって2個の小室24が区画形成されている。
実施例では、4個のスペーサ円筒体20と、3枚の膜体22とによって2個の小室24が区画形成されている。
なお、前記各膜体22は、通気性及び透湿性を有する膜体で、プレスによる打ち抜き加工等で所定直径の円形膜に形成され、その通気度及び透湿度を使用して、外気と箱体等4内の温度変動速度により、箱体等4の内部を除湿するように水蒸気の移動を制御するものである。
導電性多孔体としてのメッシュプレート23は、膜体22に近接して配置され、表面温度による影響を利用して通過する水蒸気の温度勾配及び湿度勾配を調整するためと、膜体22を補強する膜体支持部材として機能する。
又、箱体等4側の呼吸現象に伴なって、膜体22の伸長等により、膜体22とメッシュプレート23は接触することもある。
又、箱体等4側の呼吸現象に伴なって、膜体22の伸長等により、膜体22とメッシュプレート23は接触することもある。
前記スペーサ円筒体20は、膜体22及びメッシュプレート23を圧迫状態に挟持する側の外周端部は面取り加工され、気密シール性を持たせるための紫外線硬化樹脂9が確実に充填できるようにしている。
なお、前記紫外線硬化樹脂9は、インナ円筒体21に形成した注入穴(図示省略)に注射器(図示省略)をセットし、その状態でインナ円筒体21を固定させながら内部のスペーサ円筒体20及び膜体22及びメッシュプレート23を回転させて、注射器によりシール剤として紫外線硬化樹脂9(紫外線硬化性シリコンや紫外線硬化性アクリル{変性アクリル}等、その他、水溶性硬化樹脂等)を注入させることで充填される。
なお、前記紫外線硬化樹脂9は、インナ円筒体21に形成した注入穴(図示省略)に注射器(図示省略)をセットし、その状態でインナ円筒体21を固定させながら内部のスペーサ円筒体20及び膜体22及びメッシュプレート23を回転させて、注射器によりシール剤として紫外線硬化樹脂9(紫外線硬化性シリコンや紫外線硬化性アクリル{変性アクリル}等、その他、水溶性硬化樹脂等)を注入させることで充填される。
前記インナ円筒体21は、透明合成樹脂により形成され、内部に組み込んだスペーサ円筒体20及び膜体22及びメッシュプレート23及び紫外線硬化樹脂の充填状態を目視で確認できるようにしている。
又、インナ円筒体21及びスペーサ円筒体20の材質は、紫外線硬化樹脂9との化学的接合又は機械的嵌合を考慮して選択することができる。例えば、インナ円筒体21には透明アクリルを用いる。スペーサ円筒体20は紫外線の透過を考慮すると共に、完成した水蒸気移動制御装置1の性能に影響する各小室24の温度傾斜を配慮して選択することができる。又、接合を促進するプライマー等の表面処理を行なってもよい。
この接合部を緊密な接合を確保しない場合、図11に示すように、膜体22の通過方向に直角方向(矢印Q方向)の横漏れを生じるが、この横漏れを排水路7aとしてもよい。この場合、インナ円筒体21内のスペーサ円筒体20との間に繊維等を通気方向に縦列させて、例えば、スペーサ円筒体20を銅繊維や和紙などの繊維7で巻いて不完全に合着したり、縦長の繊維を添着して排水路7aとすることもできる。
また、図12に示すように、小室24に横漏れの空気と共に、矢印Pで示すように、排水路7aが確保されるようにしてもよい。この場合には、図10に示すように、小室ユニット2内に配置した膜体22の外周部分にパッキン22aを接着剤によって取り付ける際に、その接着剤として水溶性接着剤22bを使用して、著しい水が浸入した場合には、この水溶性接着剤22bを溶解させて膜体22の保持部を破壊させるようにする。
この場合には、膜体22の構成物質に依存性に吸湿性の差違が生じるので、水溶性接着剤22bの含浸性(しみ込み方)が異なり、また、膜体22とパッキン22aの固定が不完全になりやすい嫌いがある。
又、インナ円筒体21及びスペーサ円筒体20の材質は、紫外線硬化樹脂9との化学的接合又は機械的嵌合を考慮して選択することができる。例えば、インナ円筒体21には透明アクリルを用いる。スペーサ円筒体20は紫外線の透過を考慮すると共に、完成した水蒸気移動制御装置1の性能に影響する各小室24の温度傾斜を配慮して選択することができる。又、接合を促進するプライマー等の表面処理を行なってもよい。
この接合部を緊密な接合を確保しない場合、図11に示すように、膜体22の通過方向に直角方向(矢印Q方向)の横漏れを生じるが、この横漏れを排水路7aとしてもよい。この場合、インナ円筒体21内のスペーサ円筒体20との間に繊維等を通気方向に縦列させて、例えば、スペーサ円筒体20を銅繊維や和紙などの繊維7で巻いて不完全に合着したり、縦長の繊維を添着して排水路7aとすることもできる。
また、図12に示すように、小室24に横漏れの空気と共に、矢印Pで示すように、排水路7aが確保されるようにしてもよい。この場合には、図10に示すように、小室ユニット2内に配置した膜体22の外周部分にパッキン22aを接着剤によって取り付ける際に、その接着剤として水溶性接着剤22bを使用して、著しい水が浸入した場合には、この水溶性接着剤22bを溶解させて膜体22の保持部を破壊させるようにする。
この場合には、膜体22の構成物質に依存性に吸湿性の差違が生じるので、水溶性接着剤22bの含浸性(しみ込み方)が異なり、また、膜体22とパッキン22aの固定が不完全になりやすい嫌いがある。
前記外筒ケーシング3は、上側筒体30aと下側筒体30bで形成された本体円筒部30と、この本体円筒部30の上端面に形成した上側雄ネジ部31に螺合させる取り付けナット32と、前記本体円筒部30の下端に形成した下側雄ネジ部33に螺合させる組み立てナット34を備えている。
そして、前記本体円筒部30の内部に、前記小室ユニット2を嵌合することで、水蒸気移動制御装置1が組み立てられるもので、この場合、本体円筒部30の下端から後述する多孔質リング体51及び上端メッシュプレート52を本体円筒部30の内部に挿入し、次に、小室ユニット2を挿入したのち、リングプレート53を挿入して、組み立てナット34を下側雄ネジ部33に螺合させるものである。
上記のようにして、本体円筒部30の内部に小室ユニット2を嵌合した水蒸気移動制御装置1は、これを箱体等4に取り付けて、前記各膜体22の通気度及び透湿度を使用して、両通気口38,39間での水蒸気の移動を制御することで、外気と箱体等4の温度変動速度により、箱体等4の内部を除湿するように水蒸気の移動を制御する。
この場合、箱体等4に形成した取り付け穴40に、外筒ケーシング3の本体円筒部30に形成した上側雄ネジ部31を、Oリング35を介して挿入させ、上側雄ネジ部31に箱体等4の内部から前記取り付けナット32を螺合させることで水蒸気移動制御装置1を箱体等4に取り付けるようにしている。
この場合、箱体等4に形成した取り付け穴40に、外筒ケーシング3の本体円筒部30に形成した上側雄ネジ部31を、Oリング35を介して挿入させ、上側雄ネジ部31に箱体等4の内部から前記取り付けナット32を螺合させることで水蒸気移動制御装置1を箱体等4に取り付けるようにしている。
従来、水蒸気移動制御装置の組み立てに際しては、外筒ケーシングの内部に、直接にスペーサ円筒体と膜体を嵌め込んでいくもので、その組み立て作業に手間がかかるという問題があったが、本実施例のよう、小室ユニット2を形成して、これを外筒ケーシング3の内部に嵌合させるようにすると、組み立て作業が簡単になる。
本実施例の水蒸気移動制御装置1では、箱体等4に穴が明いたりして、不測に箱体等4の内部に水が侵入した場合、その水を箱体等4の外部に排水するための排水構造が設けられている。
水蒸気移動制御装置の理想的な機能発揮のためには、外部環境の温度変化に伴う湿度調整空間の内部と外気側との呼吸現象が必要であり、シール性は少なくとも10cmH2O程度の気密性に耐える微弱なシール性が必要である。しかし、ひとたび大きなシール性の破損や破壊、事故による水の浸入が発生してしまった場合等、呼吸性が失われた条件下では排水が困難である。
そこで、水の浸入が発生するまでは、湿度調整の対象となる空間の気密性を確実に確保すると共に、湿度調整機能を十分に発揮させる。
一方、シールなどの箱体等4側の不測の破損などが原因で水が浸入した場合には、湿度調整による水蒸気移動量を超える状況にあり、この状態が自然に復旧することは、電気機器などを収容する容器または箱体では考えにくい。そこで、水の浸入が発生した場合には、排水構造によって排水を確保することとした。この段階では、呼吸性よりも排水経路の確保が重要であり、湿度調整の能力は望めない。
そこで、水の浸入が発生するまでは、湿度調整の対象となる空間の気密性を確実に確保すると共に、湿度調整機能を十分に発揮させる。
一方、シールなどの箱体等4側の不測の破損などが原因で水が浸入した場合には、湿度調整による水蒸気移動量を超える状況にあり、この状態が自然に復旧することは、電気機器などを収容する容器または箱体では考えにくい。そこで、水の浸入が発生した場合には、排水構造によって排水を確保することとした。この段階では、呼吸性よりも排水経路の確保が重要であり、湿度調整の能力は望めない。
その排水構造は、外筒ケーシング3の本体円筒部30に形成した上側雄ネジ部31にスリット36を形成し、かつこの上側雄ネジ部31に螺合させる取り付けナット32にも切欠部37を形成して、水蒸気移動制御装置1を箱体等に取り付けた状態で、スリット36と切欠部37が符合するように形成されている。
又、前記小室ユニット2が排水路間隙6を保持して外筒ケーシング3の内部に嵌合されると共に、前記リングプレート53に、図4に示すように排水路間隙6に連通する貫通孔54が形成されている。
箱体等4に損崩が発生し、箱体等4内へ外部の水が流入したような場合には、箱体等4の内部に水が貯留してしまう。
このように箱体等4の底面に水が溜まったとしても、その水は取り付けナット32の切欠部37から上側雄ネジ部31のスリット36を通して水蒸気移動制御装置1の内部に流入し、前記排水路間隙6及びリングプレート53の貫通孔54を通して外部に排水することが可能になる。
このように箱体等4の底面に水が溜まったとしても、その水は取り付けナット32の切欠部37から上側雄ネジ部31のスリット36を通して水蒸気移動制御装置1の内部に流入し、前記排水路間隙6及びリングプレート53の貫通孔54を通して外部に排水することが可能になる。
そして、前記排水路間隙6の上端部において、外筒ケーシング3の上部内面に形成した段部60と、小室ユニット2の上端との間に、排水路間隙6の上端口部62を形成され、この上端口部62に吸水性に優れた多孔質リング体51を装着させ、この多孔質リング体51の透水空隙に水溶性シール物質を充填させることで、常時は透水空隙を閉塞させて排水路間隙6を閉塞させ、水の侵入時には水溶性シール物質が溶解して排水路間隙6が外部に開通するように形成されている。
なお、多孔質リング体51を使用せずに、水溶性シール物質自体で直接に排水路間隙6や上端口部61を閉塞させるようにしてもよい。
なお、多孔質リング体51を使用せずに、水溶性シール物質自体で直接に排水路間隙6や上端口部61を閉塞させるようにしてもよい。
なお、この実施例では、前記排水路間隙6の上端口部62に装着された多孔質リング体51と、小室ユニット2の間にスクイーズパッキン61が装着されている。この場合、スクイーズパッキン61によって、排水路間隙6を閉鎖してしまわないようにする。
スクイーズパッキン61は、排水路間隙6が外部からの吹き込み等によって湿潤したような場合、少々の湿潤では排水路間隙6が開通しないようにする作用を有している。また、多孔質リング体51の膨潤によって上端口部62の間隔が変化してしまったり、外筒ケーシング3の熱膨張により、箱体等4側が乾燥状態にあるにもかかわらず、排水路間隙6が開通してしまったりしないように、スクイーズパッキン61によって多孔質リング体51を弾性的に圧迫させている。
スクイーズパッキン61は、排水路間隙6が外部からの吹き込み等によって湿潤したような場合、少々の湿潤では排水路間隙6が開通しないようにする作用を有している。また、多孔質リング体51の膨潤によって上端口部62の間隔が変化してしまったり、外筒ケーシング3の熱膨張により、箱体等4側が乾燥状態にあるにもかかわらず、排水路間隙6が開通してしまったりしないように、スクイーズパッキン61によって多孔質リング体51を弾性的に圧迫させている。
上記のように、多孔質リング体51の透水空隙には、乾燥状態で固形で、かつ気密性を有する水溶性シール物質を充填(含浸させて乾燥)させている。
水が侵入すると、上端メッシュプレート52によって、多孔質リング体51の側に積極的に排水される。この結果、一定量を超える水が侵入した場合には、多孔質リング体51内に吸収される水によって、多孔質リング体51は膨潤して固形形態を維持できなくなり、かつ、多孔質リング体51の透水空隙に固形で存在していた水溶性シール物質が水中に溶出して、排水路間隙6が開通し、この排水路間隙6を通して外部に排水することができるようになる。
水が侵入すると、上端メッシュプレート52によって、多孔質リング体51の側に積極的に排水される。この結果、一定量を超える水が侵入した場合には、多孔質リング体51内に吸収される水によって、多孔質リング体51は膨潤して固形形態を維持できなくなり、かつ、多孔質リング体51の透水空隙に固形で存在していた水溶性シール物質が水中に溶出して、排水路間隙6が開通し、この排水路間隙6を通して外部に排水することができるようになる。
この際問題になるのは、外気側からのしめり空気による多孔質リング体51のシール性の維持である。
多孔質リング体51の湿り具合は、浸潤した水の量、すなわち、該多孔質リング体51に接触する水の量に依存する他、外気側からのしめり空気の逆行性の侵入によっても影響を受ける。このような二律背反による悪作用を解決するための解決手段としては、前記多孔質リング体51の素材を、たとえばフェルト状の多孔質繊維により形成し、これに、水溶性シール物質を含浸させたフェルト材を活用する。
この結果、フェルト材に含まれる水溶性シール物質は、直下の上端メッシュプレート52以下の膜体22にも影響し、表面汚損を生じるので、湿度調整能力は低下するが、この段階では、すでに外気との交通路が確保されている状況であり、呼吸現象に必要な気密性は破壊しており、もはや小室ユニット2の空間では空気の呼吸現象は発生しない。
又、排水路間隙6は、結露しにくい熱量的な設計が行われ、又、外気側のリングプレート53の貫通孔54により、可及的に乾燥し易い条件が維持される。貫通孔54の設計は、この条件下で任意に行なうことができる。
多孔質リング体51の湿り具合は、浸潤した水の量、すなわち、該多孔質リング体51に接触する水の量に依存する他、外気側からのしめり空気の逆行性の侵入によっても影響を受ける。このような二律背反による悪作用を解決するための解決手段としては、前記多孔質リング体51の素材を、たとえばフェルト状の多孔質繊維により形成し、これに、水溶性シール物質を含浸させたフェルト材を活用する。
この結果、フェルト材に含まれる水溶性シール物質は、直下の上端メッシュプレート52以下の膜体22にも影響し、表面汚損を生じるので、湿度調整能力は低下するが、この段階では、すでに外気との交通路が確保されている状況であり、呼吸現象に必要な気密性は破壊しており、もはや小室ユニット2の空間では空気の呼吸現象は発生しない。
又、排水路間隙6は、結露しにくい熱量的な設計が行われ、又、外気側のリングプレート53の貫通孔54により、可及的に乾燥し易い条件が維持される。貫通孔54の設計は、この条件下で任意に行なうことができる。
ところが、従来行われてきたように、外部への排水孔を箱体等の底部に設ける手段に比較すると、箱体等4の内部は、フェルト材によってフィルタリングされるので、何らかの原因によって不完全な呼吸現象が発生した場合でも、湿度調整機能は維持されやすい状態を保持する。
また、前記多孔質シール体51の圧迫度合いによっては、毛細管現象による排水能力の調整が可能である。
また、前記多孔質シール体51の圧迫度合いによっては、毛細管現象による排水能力の調整が可能である。
なお、多孔質シール体51の圧迫性の調整は、外筒ケーシング2の内部に収容される小室ユニット3に対する組み立てナット34による締め付け力の調整によって可能であるが、固定式として、圧迫性が装着時に調整できないようにすることもできる。
この締め付け力が強ければ、水溶性シール物質の有効断面積の排水路は小さくなり、緩ければ、緩慢な気密性となる。
この締め付け力が強ければ、水溶性シール物質の有効断面積の排水路は小さくなり、緩ければ、緩慢な気密性となる。
又、排水路間隙6は、小室ユニット2と外筒ケーシング3の間に設けられた空間を兼用しており、排水路として作用していない状況下では、保温腔としても作用し、湿度調整機能の維持に作用する。そのために、リングプレート53に設ける貫通孔54の有効断面積を調整し、保温性を調整することができる。
又、多孔質リング体51の素材として実施例ではフェルト材を示したが、このほか圧縮性を有した多孔性の素材を使用することができる。
また、水溶性シール物質の耐熱性は重要であって、屋外電気箱では65℃を超える場合も認められる。そこで、通常の乾燥状態で固形であって、気密性を有するオブラート、セルローズ、寒天たんぱく質、澱粉などが水溶性シール物質としては有用である。
前記した多孔質リング体51への水溶性シール物質8の充填部位は、図5の斜線部で示すように、多孔質リング体51の外周側部分とし、水溶性シール物質8が膜体22から離隔するように配置している。
このように、水溶性シール物質8を膜体22から離隔して位置させると、膜体22の劣化を予防できるし、また、箱体等4の空間を守るシール性の限界まで内部空間の湿度調整を行うことができと共に、限界に達したシール性の破壊に伴う直接的な不測の水の侵入による排水経路を確実に確保することができ、フェイルセーフであって、有用な構造である。
このように、水溶性シール物質8を膜体22から離隔して位置させると、膜体22の劣化を予防できるし、また、箱体等4の空間を守るシール性の限界まで内部空間の湿度調整を行うことができと共に、限界に達したシール性の破壊に伴う直接的な不測の水の侵入による排水経路を確実に確保することができ、フェイルセーフであって、有用な構造である。
又、吸水性の物質を、箱体等4の湿度調整を行う空間の気密性確保に使用するにあたっては、自然界に存在する細菌や黴などによって分解されることが考えられるので、前記水溶性シール物質8には、防黴剤や抗菌剤を混合使用するとよい。
これらの抗菌素材で最も有用であると考えられる物質は、銅や銀粉末やその他の化合物が有用であって、膜体に使用したオリゴジナミー効果を排水路系の安全確保時にも併用することで、廃棄物化した場合等も処理方法が限定され、経済的である。
又、水溶性シール物質8に虫避け剤等を混合してもよい。
これらの抗菌素材で最も有用であると考えられる物質は、銅や銀粉末やその他の化合物が有用であって、膜体に使用したオリゴジナミー効果を排水路系の安全確保時にも併用することで、廃棄物化した場合等も処理方法が限定され、経済的である。
又、水溶性シール物質8に虫避け剤等を混合してもよい。
多孔質リング体51の素材に使用した繊維が、図6に示すように吸湿性繊維51aの場合、水溶性シール物質8と同時又は低い湿度(65%PH)でも繊維に吸湿が生じることがあるのに対し、図7に示すように繊維が非吸湿性繊維51bの場合には、繊維に吸湿が生じ難いため、水が水溶性シール物質8に直接接触するまでは、図8のグラフに示すように、硬さ(気密性)を維持し易いという利点がある。
なお、図6及び図7は多孔質リング体51の外周側部分に水溶性シール物質8(斜線部で示す)を充填した状態の断面図であり、又、図8は吸湿性繊維51aと非吸湿性繊維51bの吸水による硬度変化を示すグラフである。
なお、図6及び図7は多孔質リング体51の外周側部分に水溶性シール物質8(斜線部で示す)を充填した状態の断面図であり、又、図8は吸湿性繊維51aと非吸湿性繊維51bの吸水による硬度変化を示すグラフである。
次に、図9及び図10は本発明の参考例を示している。
図9の参考例は、インナ円筒体21の肉厚内に、軸方向に貫通させて排水管70を設け、この排水管70を本発明においての排水路間6隙の代わりに形成したもので、この排水管70の上端部分をやや大径部71に形成し、この大径部70から上端口部62にかけて水溶性シール物質8を充填した構造になっている。
図9の参考例は、インナ円筒体21の肉厚内に、軸方向に貫通させて排水管70を設け、この排水管70を本発明においての排水路間6隙の代わりに形成したもので、この排水管70の上端部分をやや大径部71に形成し、この大径部70から上端口部62にかけて水溶性シール物質8を充填した構造になっている。
1 水蒸気移動制御装置
2 小室ユニット
20 スペーサ円筒体
21 インナ円筒体
22 膜体
22a パッキン
22b 水溶性接着剤
23 メッシュプレート(導電性多孔体)
24 小室
3 外筒ケーシング
30 本体円筒部
30a 上側筒体
30b 下側筒体
31 上側雄ネジ部
32 取り付けナット
33 下側雄ネジ部
34 組み立てナット
35 Oリング
36 スリット
37 切欠部
38 通気口
39 通気口
4 箱体等
40 取り付け穴
50 Oリング
51 多孔質リング体
51a 吸湿性繊維
51b 非吸湿性繊維
52 上端メッシュプレート(導電性多孔体)
53 リングプレート
54 貫通孔
6 排水路間隙
60 段部
61 上端口部
7 繊維
7a 排水路
70 排水管
71 大径部
8 水溶性シール物質
9 紫外線硬化樹脂
2 小室ユニット
20 スペーサ円筒体
21 インナ円筒体
22 膜体
22a パッキン
22b 水溶性接着剤
23 メッシュプレート(導電性多孔体)
24 小室
3 外筒ケーシング
30 本体円筒部
30a 上側筒体
30b 下側筒体
31 上側雄ネジ部
32 取り付けナット
33 下側雄ネジ部
34 組み立てナット
35 Oリング
36 スリット
37 切欠部
38 通気口
39 通気口
4 箱体等
40 取り付け穴
50 Oリング
51 多孔質リング体
51a 吸湿性繊維
51b 非吸湿性繊維
52 上端メッシュプレート(導電性多孔体)
53 リングプレート
54 貫通孔
6 排水路間隙
60 段部
61 上端口部
7 繊維
7a 排水路
70 排水管
71 大径部
8 水溶性シール物質
9 紫外線硬化樹脂
Claims (3)
- 複数のスペーサ円筒体がインナ円筒体の内部に嵌合されると共に、前記スペーサ円筒体の間に通気性及び透湿性を有する膜体が気密シール性を持って圧迫状態に挟持されて、この膜体によって区画された小室が内部に形成されている小室ユニットが形成され、
前記小室ユニットが排水路間隙を保持して外筒ケーシングの内部に嵌合され、
前記排水路間隙が水溶性シール物質によって常時は閉塞され、水の侵入時には水溶性シール物質が溶解して排水路間隙が外部に開通するように形成されていることを特徴とした水蒸気移動制御装置。 - 請求項1記載の水蒸気移動制御装置において、外筒ケーシングの上部内面に形成した段部と、小室ユニットの上端との間に排水路間隙の上端口部が形成され、この上端口部に吸水性に優れた多孔質リング体が装着され、この多孔質リング体の透水空隙に水溶性シール物質が充填されている水蒸気移動制御装置。
- 請求項2記載の水蒸気移動制御装置において、前記排水路間隙の上端口部に装着された多孔質リング体と、小室ユニットの間にスクイーズパッキンが装着されている水蒸気移動制御装置。
Priority Applications (1)
| Application Number | Priority Date | Filing Date | Title |
|---|---|---|---|
| JP2004103604A JP2005291544A (ja) | 2004-03-31 | 2004-03-31 | 水蒸気移動制御装置 |
Applications Claiming Priority (1)
| Application Number | Priority Date | Filing Date | Title |
|---|---|---|---|
| JP2004103604A JP2005291544A (ja) | 2004-03-31 | 2004-03-31 | 水蒸気移動制御装置 |
Publications (1)
| Publication Number | Publication Date |
|---|---|
| JP2005291544A true JP2005291544A (ja) | 2005-10-20 |
Family
ID=35324672
Family Applications (1)
| Application Number | Title | Priority Date | Filing Date |
|---|---|---|---|
| JP2004103604A Pending JP2005291544A (ja) | 2004-03-31 | 2004-03-31 | 水蒸気移動制御装置 |
Country Status (1)
| Country | Link |
|---|---|
| JP (1) | JP2005291544A (ja) |
Cited By (5)
| Publication number | Priority date | Publication date | Assignee | Title |
|---|---|---|---|---|
| WO2007032092A1 (ja) * | 2005-09-14 | 2007-03-22 | Kyushu Sankosha Inc. | 水蒸気移動制御装置 |
| WO2007032121A1 (ja) * | 2005-09-14 | 2007-03-22 | Kyushu Sankosha Inc. | 水蒸気移動制御装置 |
| JP2008200552A (ja) * | 2007-02-16 | 2008-09-04 | Kyushu Sankosha:Kk | 水蒸気移動制御装置 |
| JP2009154112A (ja) * | 2007-12-27 | 2009-07-16 | Kyushu Sankosha:Kk | 水蒸気移動制御装置 |
| JP2010512506A (ja) * | 2006-12-08 | 2010-04-22 | オプティ メディカル システムズ | センサ性能向上のための拡散層及び湿度コントロール層 |
Citations (7)
| Publication number | Priority date | Publication date | Assignee | Title |
|---|---|---|---|---|
| JPS63150262U (ja) * | 1987-03-23 | 1988-10-03 | ||
| JPH0518012U (ja) * | 1991-01-09 | 1993-03-05 | 株式会社日向精工 | 吸湿呼吸器 |
| JPH0540737U (ja) * | 1991-10-23 | 1993-06-01 | ダイキン工業株式会社 | 空調機の室外ユニツト |
| JPH05184020A (ja) * | 1991-12-28 | 1993-07-23 | Hitachi Cable Ltd | 多回路開閉器の除湿装置 |
| JPH05322060A (ja) * | 1992-05-22 | 1993-12-07 | Kunitaka Mizobe | 除湿装置 |
| JPH10192640A (ja) * | 1996-12-28 | 1998-07-28 | Fumitaka Mizobe | 水蒸気移動制御装置 |
| JPH1157379A (ja) * | 1997-08-26 | 1999-03-02 | Kunitaka Mizobe | 水蒸気移動制御装置 |
-
2004
- 2004-03-31 JP JP2004103604A patent/JP2005291544A/ja active Pending
Patent Citations (7)
| Publication number | Priority date | Publication date | Assignee | Title |
|---|---|---|---|---|
| JPS63150262U (ja) * | 1987-03-23 | 1988-10-03 | ||
| JPH0518012U (ja) * | 1991-01-09 | 1993-03-05 | 株式会社日向精工 | 吸湿呼吸器 |
| JPH0540737U (ja) * | 1991-10-23 | 1993-06-01 | ダイキン工業株式会社 | 空調機の室外ユニツト |
| JPH05184020A (ja) * | 1991-12-28 | 1993-07-23 | Hitachi Cable Ltd | 多回路開閉器の除湿装置 |
| JPH05322060A (ja) * | 1992-05-22 | 1993-12-07 | Kunitaka Mizobe | 除湿装置 |
| JPH10192640A (ja) * | 1996-12-28 | 1998-07-28 | Fumitaka Mizobe | 水蒸気移動制御装置 |
| JPH1157379A (ja) * | 1997-08-26 | 1999-03-02 | Kunitaka Mizobe | 水蒸気移動制御装置 |
Cited By (7)
| Publication number | Priority date | Publication date | Assignee | Title |
|---|---|---|---|---|
| WO2007032092A1 (ja) * | 2005-09-14 | 2007-03-22 | Kyushu Sankosha Inc. | 水蒸気移動制御装置 |
| WO2007032121A1 (ja) * | 2005-09-14 | 2007-03-22 | Kyushu Sankosha Inc. | 水蒸気移動制御装置 |
| JPWO2007032121A1 (ja) * | 2005-09-14 | 2009-03-19 | 株式会社九州山光社 | 水蒸気移動制御装置 |
| JP4509123B2 (ja) * | 2005-09-14 | 2010-07-21 | 株式会社九州山光社 | 水蒸気移動制御装置 |
| JP2010512506A (ja) * | 2006-12-08 | 2010-04-22 | オプティ メディカル システムズ | センサ性能向上のための拡散層及び湿度コントロール層 |
| JP2008200552A (ja) * | 2007-02-16 | 2008-09-04 | Kyushu Sankosha:Kk | 水蒸気移動制御装置 |
| JP2009154112A (ja) * | 2007-12-27 | 2009-07-16 | Kyushu Sankosha:Kk | 水蒸気移動制御装置 |
Similar Documents
| Publication | Publication Date | Title |
|---|---|---|
| EP3385584B1 (de) | Druckausgleichsvorrichtung für ein gehäuse | |
| CN205755229U (zh) | 用于壳体的除湿装置 | |
| JP4718540B2 (ja) | 金属製通気口 | |
| KR101381129B1 (ko) | 하우징용 압력 보상 소자 및 상기 압력 보상 소자를 구비한 차량 전기 부품 | |
| CA2593528C (en) | Automatic dehydrating breather apparatus and method | |
| KR102361235B1 (ko) | 벤트 | |
| US9677685B2 (en) | Valve having a leakage indicator | |
| KR910013291A (ko) | 원자로 냉각재 펌프의 개스 통기 장치 | |
| JP5710358B2 (ja) | 通気部材付き筐体 | |
| JP2007327739A (ja) | 除湿機のコアユニット | |
| US8459618B2 (en) | Humidity conditioning air system for pneumatically driven device | |
| JP2005291544A (ja) | 水蒸気移動制御装置 | |
| DE102014108780A1 (de) | Trockenmodul für einen Relativdruckmessaufnehmer | |
| CN103338838A (zh) | 压力平衡元件、带有压力平衡元件的电池和带有相应电池的机动车 | |
| JPWO2009004799A1 (ja) | 中空糸膜除湿装置 | |
| EP3348703B1 (en) | Water drainage pipe of the type with two valves for washing machines such as dishwashers and laundry machines | |
| JP2673477B2 (ja) | 除湿装置 | |
| DE102010003709A1 (de) | Relativdrucksensor | |
| CN114761776A (zh) | 包括干燥室的相对压力传感器 | |
| WO2007032092A1 (ja) | 水蒸気移動制御装置 | |
| KR20190076189A (ko) | 수분 유입 차단용 가스센서 모듈 | |
| CN104676560A (zh) | 呼吸装置及具有该呼吸装置的灯具 | |
| JP4509123B2 (ja) | 水蒸気移動制御装置 | |
| CN116782989A (zh) | 压力均衡装置和包括该压力均衡装置的壳体 | |
| JP5710359B2 (ja) | 通気部材 |
Legal Events
| Date | Code | Title | Description |
|---|---|---|---|
| A621 | Written request for application examination |
Free format text: JAPANESE INTERMEDIATE CODE: A621 Effective date: 20070314 |
|
| A977 | Report on retrieval |
Free format text: JAPANESE INTERMEDIATE CODE: A971007 Effective date: 20091130 |
|
| A131 | Notification of reasons for refusal |
Free format text: JAPANESE INTERMEDIATE CODE: A131 Effective date: 20091203 |
|
| A02 | Decision of refusal |
Free format text: JAPANESE INTERMEDIATE CODE: A02 Effective date: 20100325 |