JP2005291353A - 電動ブレーキ装置 - Google Patents

電動ブレーキ装置 Download PDF

Info

Publication number
JP2005291353A
JP2005291353A JP2004106796A JP2004106796A JP2005291353A JP 2005291353 A JP2005291353 A JP 2005291353A JP 2004106796 A JP2004106796 A JP 2004106796A JP 2004106796 A JP2004106796 A JP 2004106796A JP 2005291353 A JP2005291353 A JP 2005291353A
Authority
JP
Japan
Prior art keywords
parking
instruction signal
braking force
electric
actuator
Prior art date
Legal status (The legal status is an assumption and is not a legal conclusion. Google has not performed a legal analysis and makes no representation as to the accuracy of the status listed.)
Granted
Application number
JP2004106796A
Other languages
English (en)
Other versions
JP4618534B2 (ja
Inventor
Touma Yamaguchi
東馬 山口
Hirotaka Oikawa
浩隆 及川
Current Assignee (The listed assignees may be inaccurate. Google has not performed a legal analysis and makes no representation or warranty as to the accuracy of the list.)
Hitachi Ltd
Original Assignee
Hitachi Ltd
Priority date (The priority date is an assumption and is not a legal conclusion. Google has not performed a legal analysis and makes no representation as to the accuracy of the date listed.)
Filing date
Publication date
Application filed by Hitachi Ltd filed Critical Hitachi Ltd
Priority to JP2004106796A priority Critical patent/JP4618534B2/ja
Publication of JP2005291353A publication Critical patent/JP2005291353A/ja
Application granted granted Critical
Publication of JP4618534B2 publication Critical patent/JP4618534B2/ja
Anticipated expiration legal-status Critical
Expired - Fee Related legal-status Critical Current

Links

Images

Landscapes

  • Braking Systems And Boosters (AREA)
  • Valves And Accessory Devices For Braking Systems (AREA)
  • Braking Arrangements (AREA)

Abstract

【課題】 電動アクチュエータの高寿命化を図ることができる電動ブレーキ装置を提供する。
【解決手段】 車両のパーキング操作スイッチによる駐車解除指示信号152の出力時点(時刻T1)から所定時間t0内においては、駐車指示信号151〔時刻T2〕及び駐車解除指示信号152〔時刻T3)に基づくアクチュエータコイル67への通電は行わせないようにする。このため、駐車ブレーキ機構に設ける電動アクチュエータのアクチュエータコイル67の温度上昇が抑制され、電動アクチュエータひいては電動ブレーキ装置の寿命の低下を招かず、信頼性を向上できる。さらに、電動アクチュエータひいては電動ブレーキ装置の小型化を図ることができる。
【選択図】 図5

Description

本発明は、モータのトルクによって制動力を発生する電動ブレーキ装置に係り、特に駐車ブレーキとしての機能を付加した電動ブレーキ装置に関するものである。
電動ブレーキ装置としては、ピストンと、モータと、該モータの回転を直線運動に変換して前記ピストンに伝達する回転−直動変換機構とを配設してなるキャリパを備え、前記モータのロータの回転に応じて前記ピストンを推進し、ブレーキパッドをディスクロータに押圧して制動力を発生するものがある。このような電動ブレーキ装置では、通常、運転者によるブレーキペダルの踏力やストロークをセンサによって検出し、この検出値に応じて電動モータの回転(回転角)を制御することにより所望の制動力を得るようにしている。
そして、最近、この種の電動ブレーキ装置に駐車ブレーキ(PKB)の機能を発揮する駐車ブレーキ機構を内蔵し、利用価値を高めることが種々検討されている。
この一例として、駐車ブレーキ機構の電動アクチュエータのコイルに対する通電遮断によりプランジャが後退し、圧縮ばねの付勢力により揺動アームが初期の起立状態とされ、係合つめがつめ車に対する係合位置に位置決めされることを利用して駐車ブレーキを作動させる一方、電動アクチュエータへ通電し、これにより、電動アクチュエータのプランジャが前進して(伸張して)駐車ブレーキ機構の係合つめがつめ車の歯部とわずかに係合離脱する状態になることを利用して駐車ブレーキの作動解除を行なうようにした電動ブレーキ装置がある(特許文献1)。
特開2003−42199号公報
ところで、上述した従来技術では、駐車ブレーキの作動及びその解除が操作手段の操作におり行われるが、操作手段が不要に繰返し操作されると、電流が不要に流れて電動アクチュエータのコイルの温度上昇を招き、電動アクチュエータの寿命を低下させてしまうことが起こり得る。
本発明は、上記事情に鑑みてなされたもので、電動アクチュエータの高寿命化を図ることができる電動ブレーキ装置を提供することを目的とする。
請求項1記載の発明は、車両の回転部分へ摩擦部材を押圧して制動力を発生する制動力発生手段と、ブレーキ操作子の操作時に、その操作に応じた制動力を前記制動力発生手段に発生させるブレーキ制御手段と、前記車両に対する駐車指示信号及び駐車解除指示信号を出力するパーキング指示手段と、該パーキング指示手段からの各信号に基づいて前記制動力発生手段により発生する制動力を電動アクチュエータが駆動されることで機械的に保持する制動力保持機構と、を有する電動ブレーキ装置において、前記駐車解除信号の出力時点から所定時間内においては、当該所定時間内に出力される駐車指示信号又は駐車解除指示信号に基づく前記電動アクチュエータへの通電は行わせない保持機構制限制御手段を有することを特徴とする。
請求項2記載の発明は、請求項1記載の電動ブレーキ装置において、前記所定時間内に出力される駐車指示信号又は駐車解除指示信号に基づいて、前記所定時間経過後に、電動アクチュエータへの通電を行なわせることを特徴とする。
請求項3記載の発明は、車両の回転部分へ摩擦部材を押圧して制動力を発生する制動力発生手段と、ブレーキ操作子の操作時に、その操作に応じた制動力を前記制動力発生手段に発生させるブレーキ制御手段と、前記車両に対する駐車指示信号及び駐車解除指示信号を出力するパーキング指示手段と、該パーキング指示手段からの各信号に基づいて前記制動力発生手段により発生する制動力を電動アクチュエータが駆動されることで機械的に保持する制動力保持機構と、を有する電動ブレーキ装置において、前記駐車解除信号の出力時点から所定時間内に出力される駐車指示信号又は駐車解除指示信号で所定回数後の指示信号については、電動アクチュエータへの通電は行わせない保持機構制限制御手段を有することを特徴とする。
請求項4記載の発明は、請求項1から3までの何れかに記載の電動ブレーキ装置において、前記保持機構制限制御手段は、電動アクチュエータへの通電は行わせないとした駐車指示信号又は駐車解除指示信号に対応して、制動力発生手段に制動力の発生又は制動力の解除を行わせることを特徴とする。
請求項1又は2記載の発明によれば、保持機構制限制御手段が、前記駐車解除信号の出力時点から所定時間内においては、当該所定時間内に出力される駐車指示信号又は駐車解除指示信号に基づく前記電動アクチュエータへの通電は行わせないので、電動アクチュエータの温度上昇が抑制され、電動アクチュエータひいては装置の寿命の低下を招かず、信頼性を向上できる。さらに、電動アクチュエータひいては装置の小型化を図ることができる。
請求項3又は4記載の発明によれば、保持機構制限制御手段が前記駐車解除信号の出力時点から所定時間内に出力される駐車指示信号又は駐車解除指示信号で所定回数後の指示信号については、電動アクチュエータへの通電は行わせないので、電動アクチュエータの温度上昇が抑制され、電動アクチュエータひいては装置の寿命の低下を招かず、信頼性を向上できる。さらに、電動アクチュエータひいては装置の小型化を図ることができる。
請求項4記載の発明によれば、車両の駐車が保障され,駐車ブレーキの信頼性を確保することができる。
本発明の一実施の形態に係る電動ブレーキ装置を図1ないし図3に基づいて説明する。図1〜図3において、電動ブレーキ装置1は、ディスクロータ2より車両内側に位置する車両の非回転部(ナックル等)に固定されたキャリア3にキャリパ4を、ディスクロータ2の軸方向へ浮動可能に支持している。ディスクロータ2を挟んで一対のブレーキパッド5,6が対向して配置されている。ブレーキパッド5,6はディスクロータ2の軸方向に移動可能にキャリア3に支持されている。
キャリパ4は、先端側に爪部7を有し基端側に環状基体8を有する爪部材9と、この爪部材9に結合されたキャリパ本体10とからなっており、爪部7が車両外側のブレーキパッド6に対面して配置される。キャリパ本体10は、爪部材9の環状基体8に結合された環状体11と、環状体11に連結されたモータケース12とを有している。モータケース12は、環状体11に連結された筒状のモータケース本体13と、モータケース本体13の開口部を覆うモータ端板14と、モータケース本体13の側壁に形成された孔15の部分(以下、孔形成部という。)13aに設けられたハウジング16と、を備えている。
キャリパ4内には、車両内側のブレーキパッド5をディスクロータ2に押圧する分割タイプのピストン20と、電動モータ(以下、モータという。)21と、このモータ21の回転を直線運動に変換して前記ピストン20に伝えるボールランプ機構(回転−直動変換機構)22と、モータ21の回転を減速して前記ボールランプ機構22に伝える差動減速機構23と、ブレーキパッド5,6の摩耗に応じてピストン20の位置を変更してパッド摩耗を補償するパッド摩耗補償機構24と、駐車ブレーキを確立する駐車ブレーキ機構25(制動力保持機構)とが配設されている。また、キャリパ4は、駐車ブレーキ機構25のロックおよびアンロック動作を異なる極性の電流の短時間通電により切り換える一方向型自己保持型のアクチュエータ60(電動アクチュエータ)を備えている。本実施の形態では、キャリパ4、ピストン20、モータ21、ボールランプ機構22、及び差動減速機構23から制動力発生手段が構成されている。
ボールランプ機構22は、キャリパ本体10の環状基体8及び環状体11の結合部の内周部に軸受26を介して回動可能に支持されたリング状の第1ディスク27と、空間部を有しこの空間部に挿入したピストン20のピストン筒体部28と結合されたリング状の第2ディスク29と、両ディスク27,29との間に介装されたボール30とを備えている。第2ディスク29は、回転規制されて保持されており、ボール30を介して第1ディスク27から受けた回転力を直線動に変換してピストン20に伝達するようにしている。
ピストン20は、前記ピストン筒体部28と、ピストン筒体部28に比して大径のピストン本体31と、からなる分割タイプとされており、ピストン本体31は、ピストン筒体部28ひいてはボールランプ機構22(モータ21)からの力を受けるようになっている。ピストン筒体部28は、後述する支持用筒体35にピストン係合部材(符号省略)を介して回動不能に支持されている。ピストン筒体部28のピストン本体31側に形成された中空部の底部32とピストン本体31との間には反力センサ33が配置され、ピストン本体31からの反力を検出するようになっている。反力センサ33の信号線34は支持用筒体35に挿通されて、車体に設けたコントローラ40に接続されている。前記支持用筒体35は、モータケース12に筒体支持部材41を介して支持されている。
モータ21は、モータケース12に嵌合固定されたステータ43と、ステータ43内に配置された中空のロータ44とを備え、ロータ44は、モータケース12に回動可能に支持されている。モータ21は、コントローラ40からの指令でロータ44を所望トルクで所望角度だけ回転させるように作動し、そのロータ44の回転角は、該ロータ44の内部に配置された位置検出器42(レゾルバ等)により検出されるようになっている。本実施の形態では、モータ21は、コントローラ40からの制動力発生指令でロータ44を図2時計方向Rに回転させる。
コントローラ40は、モータ21の制御のみならず、後述するように駆動回路70を介してアクチュエータ60ひいては駐車ブレーキ機構25を制御するようにしている。
前記駐車ブレーキ機構25は、図1及び図2に示すように、モータ21のロータ44に連結されたつめ車50と、このつめ車50の回りに配置され、キャリパ本体10にピン51を用いて基端部(符号省略)が軸着された揺動アーム52と、備えている。つめ車50は、その外周部に複数個の歯部57を一体に備えている。
前記揺動アーム52の長手方向の略中間部分には、ピン53を介して係合つめ54が揺動可能に軸着され、かつ先端部(以下、係合つめ先端部という。)54aが歯部57に係合可能とされている。前記揺動アーム52の略中間部分には、長手方向と直交する方向に延びるフランジ(以下、揺動アームフランジという。)52aが形成されており、当該揺動アームフランジ52aには揺動アーム52の長手方向に沿って延びる長孔(以下、揺動アームフランジ長孔という。)52bが形成されている。
前記駐車ブレーキ機構25は、さらに、係合つめ54を図2右方向に常時付勢する固定ばね58と、揺動アーム52に軸着され固定ばね58と協働して係合つめ54をつめ車50に係合可能な起立姿勢に保持する突起59と、揺動アーム52の基端部とは反対側の端部(符号省略)を図2下方向に付勢する引っ張りばね61と、備えている。
前記つめ車50の各歯部57は、歯面57a及び歯面57bからなる略山形の歯形状をなしている。歯部57は、歯面57aが、制動解除時におけるロータ44の回転方向L(図2反時計方向)の前側に向けられ、歯面57bが、制動時におけるロータ44の回転方向R(図2時計方向)の前側に向けられるように設定されている。この場合、歯面57aは、ロータ44の径方向に略沿うように、すなわち、当該歯面57aを含む面がロータ44の軸中心(つめ車50の軸中心C)を含むように形成されている。
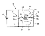
アクチュエータ60は、モータケース本体13の孔形成部13aに前記孔15を覆うようにして固定される略ハット形状のハウジング(以下、アクチュエータハウジングという。)62と、アクチュエータハウジング62の内部空間63の開口部分(符号省略)に配置してアクチュエータハウジング62に装着され、かつプランジャ64を軸方向(図2上下方向)に移動可能に挿通するプランジャ支持部材65と、プランジャ支持部材65の前記内部空間63側に配置された永久磁石66と、前記内部空間63に収納されたコイル(以下、アクチュエータコイルという。通電部材)67と、を備えている。永久磁石66は、プランジャ64に対して吸着力を発揮しプランジャ64の図2下方向への移動を抑制し得るようになっている。
アクチュエータコイル67はボビン67aに巻回されている。ボビン67aは、内部空間63に収納されるようにしてアクチュエータハウジング62に装着されている。アクチュエータコイル67に流れる電流(以下、コイル電流Iaという。)は、後述するように、極性を代えて利用される(コイル電流Iaにおける極性が異なる電流を、以下、便宜上、駐車ブレーキ用電流SIL及び解除用電流SIRという。)ようになっている。そして、アクチュエータコイル67は、極性を代えたコイル電流Ia(駐車ブレーキ用電流SIL及び解除用電流SIR)が通電されることにより、プランジャ64に対して前記極性(駐車ブレーキ用電流SIL及び解除用電流SIR)に応じた電磁力を発生し、永久磁石66による吸着力を打ち消して、プランジャ64の図2下方向への移動を可能(駐車ブレーキ作動を可能)とする一方、図2下方向に移動したプランジャ64に対して、前記発生する電磁力による吸着力を発揮し、プランジャ64を図2上方向に移動し得る(駐車ブレーキ作動を解除し得る)ようにしている。
プランジャ64は、軸方向がつめ車50の軸中心Cに向くようにして配置され、その先端部(符号省略)が、揺動アームフランジ長孔52bに挿通されたピン68を介して揺動アーム52に連結されている。そして、プランジャ64が図2中の上下方向に移動することにより、このプランジャ64の移動に連動して揺動アーム52がピン51を支点として反時計方向、時計方向に揺動するようになっている。
前記アクチュエータコイル67は、駆動回路70を介してバッテリ49に接続されている。駆動回路70は、図3に示すように、コントローラ40に制御される同等構成の2つのスイッチ(以下、第1、第2スイッチという。)71,72と、2つの抵抗(以下、第1、第2電流制限抵抗73,74という。)と、を備えている。第1スイッチ71は、第1、第2固定接点71a,71bと、この第1、第2固定接点71a,71bに接続可能な可動片71cと、を有している。第2スイッチ72は、第1スイッチ71と同様に、第1、第2固定接点72a,72bと、この第1、第2固定接点72a,72bに接続可能な可動片72cと、を有している
第1スイッチ71は、その第1固定接点71aが第1電流制限抵抗73を介してバッテリ49の負極(符号省略)に接続され、その第2固定接点71bがバッテリ49の正極(符号省略)に接続され、かつ、その可動片71cがアクチュエータコイル67の一端部67aに接続されている。また、第2スイッチ72は、その第1固定接点72aがバッテリ49の正極に接続され、その第2固定接点72bが第2電流制限抵抗74を介してバッテリ49の負極に接続され、かつ、その可動片72cがアクチュエータコイル67の他端部67bに接続されている。
第1スイッチ71の可動片71c及び第2スイッチ72の可動片72cは、コントローラ40に制御されて、第1固定接点71a,72aに対する接続、第2固定接点71b,72bに対する接続並びに各固定接点(第1固定接点71a,72b及び第2固定接点72a,72b)に対する非接続を選択的に実行し得るようになっている。
この場合、第1、第2スイッチ71,72の可動片71c,72cは、コントローラ40の制御により連動して作動し、第1スイッチ71の可動片71cがその第1固定接点71aに接続する場合、第2スイッチ72の可動片72cがその第1固定接点72aに接続するようになっている。第1スイッチ71の可動片71cの第2固定接点71bへの接続及び第2スイッチ72の可動片72cの第2固定接点72bへの接続も上述したのと同様に連動して行われる。また、可動片71cの第1固定接点71aに対する非接続及び可動片72cの第2固定接点72aに対する非接続も同様に連動して行われる。
そして、上述したように第1スイッチ71の可動片71cが第1固定接点71aに接続され、第2スイッチ72の可動片72cが第1固定接点72aに接続されると、バッテリ49の正極 → 第2スイッチ72 → アクチュエータコイル67 → 第1スイッチ71 → 第1電流制限抵抗73 → バッテリ49の負極からなる閉回路(以下、第1閉回路という。)80が形成される。そして、アクチュエータコイル67には、図3左方向の電流(一点鎖線の矢印)(駐車ブレーキ用電流SIL)が流れ、これにより、永久磁石66のプランジャ64に対する吸着力を打ち消すように電磁力が発生し、永久磁石66によるプランジャ64に対する吸着力が消滅する(小さくするようにしてもよい。)。そして、揺動アーム52は、永久磁石66によるプランジャ64に対する吸着力が消滅する(または小さくなる)ことに伴い、引っ張りばね61により、ピン51を支点として図2時計方向に揺動する。
一方、第1スイッチ71の可動片71cが第2固定接点71bに接続され、第2スイッチ72の可動片72cが第2固定接点72bに接続されると、バッテリ49の正極 → 第1スイッチ71 → アクチュエータコイル67 → 第2スイッチ72 → 第2電流制限抵抗74 → バッテリ49の負極からなる閉回路(以下、第2閉回路という。)81が形成される。そして、アクチュエータコイル67には、図3右方向の電流〔点線の矢印、すなわち、第1閉回路80(一点鎖線の矢印)に流れる電流(駐車ブレーキ用電流SIL)と逆極性の電流(解除用電流SIR)〕が流れ、これにより、アクチュエータコイル67はプランジャ64を吸着する電磁力を発生し、プランジャ64の図2上方向への移動を可能とするようになる。
本実施の形態では、駐車ブレーキ用電流SILは、永久磁石66の吸着力(駐車ブレーキ機構25に対するアンロック状態保持力)を打ち消す方向の電磁力を発生するように、アクチュエータコイル67に通電されるようになっており、駐車ブレーキ用電流SILの短時間通電により、アンロック状態が解除され、その後、引っ張りばね61の付勢力により駐車ブレーキ機構25がロック状態になるように構成されている。
また、解除用電流SIRは、引っ張りばね61の引っ張り力に抗する方向の電磁力ひいてはプランジャ64に対する保持力(駐車ブレーキ機構25に対するロック状態保持力)を打ち消す方向の電磁力を発生し、当該電磁力が単独でまたは永久磁石66の吸着力と合わせた力が、引っ張りばね61の引っ張り力より大きい値になるようにされている。
また、引っ張りばね61の付勢力は、アクチュエータコイル67への解除用電流SIRの短時間通電時の吸引力及び永久磁石66の吸着力を合わせた力より小さい値とされている。
この電動ブレーキ装置1は、初期状態では、アクチュエータコイル67には通電されておらず〔可動片71cは第1固定接点71a,72aに対して非接続で、かつ可動片72cは第2固定接点72a,72bに対して非接続とされている。〕、永久磁石66によりプランジャ64が吸着され、この状態で、係合つめ54は、つめ車50の歯部57とわずかに離脱した状態に位置決めされている。
この電動ブレーキ装置1が搭載される車両100は、図4に示すように、イグニッションスイッチ101を備え、イグニッションスイッチ101を操作することにより、電動ブレーキ装置1を含む当該車両100の本体システム(図示省略)が稼動され得るようになっている。
車両100は、さらに、ブレーキペダル(ブレーキ操作子)102と、ブレーキペダル102の動きに連動する踏力センサ103及びストロークセンサ104と、パーキング操作スイッチ(パーキング指示手段)105と、バッテリ106と、を備えている。バッテリ106には、電力供給制御部107を介してモータ12〔モータ12のコイル(符号省略)〕が接続されていると共に、アクチュエータ60〔アクチュエータコイル67〕駆動用の駆動回路70が接続されている。駆動回路70、イグニッションスイッチ101、踏力センサ103、ストロークセンサ104、パーキング操作スイッチ105及び電力供給制御部107は、コントローラ40に接続されている。
踏力センサ103又はストロークセンサ104は、ブレーキペダル102の操作量に対応して作動し、ひいてはブレーキペダル102の操作量を示す信号(ブレーキペダル操作信号)をコントローラ40に伝達するようになっている。
また、パーキング操作スイッチ105は、電動ブレーキ装置1を駐車ブレーキとして機能させる際〔駐車ブレーキ(PKB)作動要求及び駐車ブレーキ作動の解除要求の際〕、運転者により操作されることにより、操作に応じて駐車指示信号151又は駐車解除指示信号152(以下、適宜、駐車ブレーキ用指示信号150と総称する。)を発生し、駐車ブレーキ用指示信号150をコントローラ40に出力するようにしている。
コントローラ40は、前記ブレーキペダル操作信号に応じてモータ12を制御し、ひいてはモータ12(制動力発生手段)にブレーキペダル操作信号に応じた大きさの制動力を発生させるようになっており、ブレーキ制御手段を構成している。
コントローラ40は、駐車ブレーキ用指示信号150を受けることにより、その内容(駐車指示信号151及び駐車解除指示信号152)に応じて、駐車ブレーキ用電流SIL又は解除用電流SIRをコイル67に流すように駆動回路70を制御している。
また、コントローラ40は、図5に示すように、駐車解除指示信号152の出力時点(例えば図5で時刻T1)から所定時間(本実施の形態ではt0)内においては、所定時間t0内に出力される駐車指示信号151〔図5では例えば時刻T2の作動(駐車指示信号151)が相当する。〕及び駐車解除指示信号152〔図5では例えば時刻T3の解除(駐車解除指示信号152)が相当する。〕に基づくアクチュエータコイル67への通電は行わせないようにしており、請求項1の保持機構制限制御手段を構成している。
上述したように構成された電動ブレーキ装置1の作用を、(1a)通常制動作動時、(1b)通常制動解除時、(2a)駐車ブレーキ作動(基本作動)時、(2b)駐車ブレーキ解除(基本解除)時、(2c)駐車ブレーキ作動及びその解除(動作制限)時、に分けて、以下に説明する。なお、本実施の形態では、駐車ブレーキ作動及びその解除について、ある程度の動作制限を行なうようにしているものであり、この点が明確になるように、駐車ブレーキ作動及びその解除については、便宜上、上述したように基本的な作用〔(2a)項及び(2b)項〕と、その動作制限時の作用〔(2c)項〕とに分けて説明する。
(1a)通常制動時
電動ブレーキが作動する通常制動時には、運転者のブレーキ操作によりモータ21のロータ44が図2中の時計方向Rに回転し、ピストン20が推進(前進)し、モータ21のトルクに応じた制動力を発生する。
この通常制動時には、アクチュエータコイル67には通電されておらず、係合つめ54は、プランジャ64が永久磁石66の吸着力により吸着されていることから、つめ車50の歯部57とわずかに離脱した状態に位置決めされている。このため、ロータ44は、円滑に時計方向Rに回転し、通常制動の機能を良好に果たすことになる。
この場合、係合つめ54がつめ車50の歯部57から離脱した状態でロータ44が回転するので、騒音の発生が防止される共に、磨耗の進行が抑制され、ひいてはモータ21の効率が向上する。
(1b)通常制動解除時
電動ブレーキの解除時すなわち通常制動解除時には、運転者の解除操作に応じてモータ21のロータ44が図2中の反時計方向Lに回転し、ピストン20が後退し、制動が解除される。このとき、アクチュエータコイル67に対する非通電状態は維持され、プランジャ64が永久磁石66の吸着力により吸着されていることから、係合つめ54は、つめ車50の歯部57と離脱した状態が維持され、つめ車50は係合つめ54と接触することなくロータ44と一体に図2反時計方向Lへ円滑に回転し、これにより通常制動の解除が保障される。
(2a)駐車ブレーキ作動(基本作動)時
駐車ブレーキを作動させる場合は、運転者の駐車ブレーキ操作により、モータ21のロータ44が図2時計方向Rに回転し、前記通常制動時と同様にピストン20が推進して制動力が発生する。この制動力発生後、制動力が所定値になるのと略同時に、第1スイッチ71の可動片71cの第1固定接点71aへの接続(ひいては第2スイッチ72の可動片72cの第1固定接点72aへの接続)が行われ、第1閉回路80が形成され、駐車ブレーキ用電流SIL(一点鎖線)がアクチュエータコイル67に短時間通電され、その後、モータ21への通電を遮断するように制御される。
そして、アクチュエータコイル67への駐車ブレーキ用電流SILの短時間通電によりアクチュエータコイル67は、永久磁石66の吸着力を打ち消す電磁力を発生する。そして、引っ張りばね61の付勢力で揺動アーム52は、プランジャ64の図2下方向の移動と共に図2時計方向に揺動し、これに伴い、係合つめ54がつめ車50側に変位して、つめ車50の歯部57に当接し、引っ張りばね61の付勢力で保持(ロック)される。本実施の形態では、引っ張りばね61の付勢力により駐車ブレーキ機構25のロック状態が保持される。
また、モータ21への通電が遮断されることにより、キャリパ4の剛性の影響(例えば、制動の反力でのピストン20の後退)により、モータ21のロータ44に反時計方向Lの回転力が発生し、この回転力により係合つめ54に押付け力が働き、ロータ44の反時計方向Lの回転が規制され、その結果、駐車ブレーキが確立する。
本実施の形態では、前記駐車ブレーキ用電流SILは、永久磁石66の磁力を打ち消すのに相当する電磁力をアクチュエータコイル67が発生し得る電流値とされている。また、本実施の形態では、駐車ブレーキ用電流SILが、上記電流値を確保する等のために、前記第1電流制限抵抗73を設けている。また、前記短時間は、通電開始から、アクチュエータコイル67が永久磁石66の吸着力を打ち消す電磁力を発生し、電動ブレーキ機構25が作動する時点までの時間(100msec程度)とされている。
(2b)駐車ブレーキ解除(基本解除)時
上記駐車ブレーキを解除する場合は、運転者の駐車ブレーキ解除操作によりモータ21に通電して、そのロータ44をわずかに時計方向R(制動方向)へ回転させると同時に、第2閉回路81を形成し、アクチュエータコイル67に駐車ブレーキ用電流SILとは反対の極性の解除用電流SIRを駆動回路70から短時間通電する。すると、係合つめ54に前記回転力により作用していた押付け力が解除されると同時に、解除用電流SIRの通電により励磁されたアクチュエータコイル67の吸引力によりプランジャ64が吸引(図2上方向に移動)され、これにより係合つめ54が歯部57から離脱し、一定時間(前記短時間)経過後に解除用電流SIRの通電は遮断され、電流遮断後は、係合つめ54の歯部57からの離脱状態(駐車ブレーキ機構25のアンロック状態)は、永久磁石66の吸着力により保持される。本実施の形態では、永久磁石66の吸着力により駐車ブレーキ機構25のアンロック状態が保持される。
上述したように、本実施の形態では、引っ張りばね61の付勢力は、アクチュエータコイル67への解除用電流SIRの短時間通電時の吸引力及び永久磁石66の吸着力を合わせた力より小さい値とされているので、上述したように解除用電流SIRがアクチュエータコイル67に短時間通電されることにより、係合つめ54は、つめ車50の歯部57から離脱する。
したがって、その後、適宜タイミングでモータ21のロータ44を反時計方向L(制動力解除方向)に回転させれば、つめ車50は係合つめ54と接触することなく、ロータ44と一体に反時計方向Lへ円滑に回転し、これにより駐車ブレーキが解除される。
(2c)駐車ブレーキ作動及びその解除(動作制限)時
図5に示すように、時刻T0にて、パーキング操作スイッチ105が操作されて、駐車ブレーキの作動要求が行われる(駐車指示信号151が出力される)と、モータ21に電流が流されて、ロータ44が回転して駐車推力が発生し、その駐車推力値が所定の大きさに保持される。そして、コントローラ40が、駆動回路70を制御し、駐車指示信号151に応じて駐車ブレーキ用電流SILをアクチュエータコイル67に通電することにより、駐車ブレーキ機構25が作動して係合つめ54が所定位置に機械的に保持される(駐車ブレーキ作動状態となる。)。
駐車ブレーキ機構25が保持された状態で、僅かな時間twが経過すると、第1スイッチ71の可動片71c及び/又は第2スイッチ72の可動片72cが中立位置とされ、コイル電流Iaの大きさが0とされ(アクチュエータコイル67への通電を停止し)、その後、更に、規定時間tm経過後にモータ21への通電が停止され、モータ21の制動力を受けることなく、駐車ブレーキ機構25のみで駐車ブレーキ作動が行われる状態になる。
上述した過程において、コイル電流Ia(駐車ブレーキ用電流SIL)がアクチュエータコイル67に通電される間、図5の下の欄(アクチュエータコイル67の温度)に示すように、アクチュエータコイル67の温度が上昇する。
駐車ブレーキ機構25のみで駐車ブレーキ作動が行われた状態における時刻T1にて、パーキング操作スイッチ105が操作されて、駐車ブレーキの作動解除要求が行われる(駐車解除指示信号152が出力される)と、モータ21の制御が再開される(モータ21に電流が流される)と共に、コントローラ40が、駆動回路70を制御し、駐車解除指示信号152に応じて解除用電流SIRをアクチュエータコイル67に通電することにより、駐車ブレーキ機構25が稼動し、ある時間経過後に解除位置となる。
駐車ブレーキ機構25が解除位置とされた状態で、規定時間tkが経過すると、第1スイッチ71の可動片71c及び/又は第2スイッチ72の可動片72cが中立位置にされ、コイル電流Iaの大きさが0となり(アクチュエータコイル67への通電を停止する)する。一方、前記モータ21の制御再開によりモータ21に流された電流は逓減され、駐車推力は減少される。
上述した過程において、コイル電流Ia(解除用電流SIR)がアクチュエータコイル67に通電される間、図5の下の欄(アクチュエータコイル67の温度)に示すように、時刻T1以降、コイル電流Iaが0とされるまで、アクチュエータコイル67の温度は上昇する。
上述したように時刻T1にて、パーキング操作スイッチ105が操作されて、駐車ブレーキの作動解除要求が行われる(駐車解除指示信号152が出力される)が、本実施の形態は、上述したように、コントローラ40(保持機構制御制限手段)が、駐車解除指示信号152の出力時点(例えば図5で時刻T1)から所定時間(本実施の形態ではt0)内においては、所定時間t0内に出力される駐車指示信号151〔図5では例えば時刻T2の作動(駐車指示信号151)が相当する。〕及び駐車解除指示信号152〔図5では例えば時刻T3の解除(駐車解除指示信号152)が相当する。〕に基づくアクチュエータコイル67への通電は行わせないようにしている。
例えば、時刻T1の駐車ブレーキの作動解除要求(駐車解除指示信号152の出力)から、所定時間t0が経過する前における時刻T2に、駐車ブレーキの作動要求(駐車指示信号151の出力)があっても、駐車指示信号151に基づくアクチュエータコイル67への通電(駐車ブレーキ用電流SILの通電)は行わない(駐車ブレーキ機構25は作動していない)ようにしている。なお、本実施の形態では、時刻T2の駐車ブレーキの作動要求(駐車指示信号151の出力)に対し、モータ21に電流が流されて、ロータ44が回転することで発生する駐車推力が保持される(請求項4に相当する。)。
また、所定時間t0内における時刻T3に、駐車ブレーキの作動要求(駐車指示信号151の出力)があっても、時刻T2で駐車ブレーキ機構25は作動させていないため、駐車ブレーキ機構25の作動解除のためのアクチュエータコイル67への通電(駐車ブレーキ用電流SILの通電)は行わない。
時刻T1から所定時間t0が経過した後の時刻T4において、駐車ブレーキの作動要求が行われる(駐車指示信号151が出力される)と、上述した時刻T0で駐車ブレーキの作動要求が行われた(駐車指示信号151が出力された)場合と同様に、制御が行われる。
上述したように、時刻T1から所定時間t0が経過する前においては、所定時間t0内に出力される駐車指示信号151及び駐車解除指示信号152に基づくアクチュエータコイル67への通電は行わせないようにしているので、アクチュエータコイル67の温度上昇が抑制され、電動アクチュエータ60ひいては電動ブレーキ装置1の寿命の低下を招かず、信頼性を向上できる。さらに、電動アクチュエータ60ひいては電動ブレーキ装置1の小型化を図ることができる。
上記実施の形態では、所定時間t0が経過する前における時刻T2に、駐車ブレーキの作動要求(駐車指示信号151の出力)があった場合、駐車指示信号151に基づくアクチュエータコイル67への通電(駐車ブレーキ用電流SILの通電)は行わない(駐車ブレーキ機構25は作動していない)ようにするコントローラ40を用いている。これに対して、第1実施の形態のコントローラ40に代えて、図1、図2及び図7に示すように、時刻T2で受け取った駐車指示信号151に基づくアクチュエータコイル67への通電(駐車ブレーキ用電流SILの通電)を、時刻T1から所定時間t0が経過した時刻T3に実施するコントローラ40A(保持機構制御制限手段)を用いるようにしてもよい(第2実施の形態)。
この第2実施の形態によれば、第1実施の形態の場合と同様に、時刻T1から所定時間t0が経過する前においては、所定時間t0内に出力される駐車指示信号151及び駐車解除指示信号152に基づくアクチュエータコイル67への通電は行わせないようにしているので、アクチュエータコイル67の温度上昇を抑制することができる。このため、第1実施の形態と同様に、電動アクチュエータ60ひいては電動ブレーキ装置1の寿命の低下を招かず、信頼性を向上できる。さらに、電動アクチュエータ60ひいては電動ブレーキ装置1の小型化を図ることができる。また、上述したようにアクチュエータコイル67の温度上昇を抑制できることから、温度センサが不要である。また、時間管理しているため,温度推定などの複雑な計算が不要であり、安価なCPUを使用できる。
上記第1実施の形態では、所定時間t0が経過する前における時刻T2に、駐車ブレーキの作動要求(駐車指示信号151の出力)があった場合、駐車指示信号151に基づくアクチュエータコイル67への通電(駐車ブレーキ用電流SILの通電)は行わない(駐車ブレーキ機構25は作動していない)ようにするコントローラ40を用いている。これに対して、第1実施の形態のコントローラ40に代えて、図1、図2及び図7に示すように、前記駐車解除信号の出力時点から所定時間内に出力される駐車指示信号151又は駐車解除指示信号152で所定回数(ここでは2回)後の指示信号(3回目以降の指示信号)については、アクチュエータ60のアクチュエータコイル67への通電は行わせないコントローラ40B(保持機構制御制限手段)を用いるようにしてもよい(第3実施の形態)。
この第3実施の形態では、図7において、時刻T1にて、パーキング操作スイッチ105が操作されて、駐車ブレーキの作動解除要求が行われ(駐車解除指示信号152が出力され)、時刻T1から所定時間t0が経過する〔この時刻を便宜T45(T4<T45<T5)とする)〕までの間〔時刻T1〜T45〕における時刻T2、T3、T4にそれぞれ駐車ブレーキの作動要求(駐車指示信号151の出力)、駐車ブレーキの作動解除要求(駐車解除指示信号152の出力)、駐車ブレーキの作動要求(駐車指示信号151の出力)が、この順にあった場合に、この第3実施の形態のコントローラ40Bは、次のように制御を行なう。
すなわち、所定時間t0内の1回目(時刻T2)、2回目(時刻T3)の要求に対しては、それぞれの要求に対応して、駐車指示信号151に基づくアクチュエータコイル67への通電(駐車ブレーキ用電流SILの通電)、駐車解除指示信号152に基づくアクチュエータコイル67への通電(解除用電流SIRの通電)については、実施する。しかし、所定回数(2回)後となる3回目(時刻T4)の要求〔駐車ブレーキ用電流SILの通電〕に対しては、アクチュエータコイル67への通電は行わせないようにしている。
この第3実施の形態によれば、コントローラ40Bが、駐車解除指示信号152の出力時点から所定時間t0内に出力される指示信号(駐車指示信号151又は駐車解除指示信号152)で所定回数(2回)後の指示信号については、アクチュエータ60のアクチュエータコイル67への通電は行わせないので、所定時間t0内にアクチュエータコイル67に流れる電流を抑制でき、これにより温度上昇を防止できる。このため、電動アクチュエータ60ひいては電動ブレーキ装置1の寿命の低下を招かず、信頼性を向上できる。さらに、電動アクチュエータ60ひいては電動ブレーキ装置1の小型化を図ることができる。
なお、上記実施の形態では、制動力発生手段をキャリパ4、ピストン20、モータ21、ボールランプ機構22、及び差動減速機構23から構成し、電動モータを用いたものである場合を例にしたが、本発明はこれに限らず、制動力発生手段として液圧ポンプを用いるように構成してもよい。
本発明の第1ないし第3実施の形態に係る電動ブレーキ装置の全体構造を示す断面図である。 図1の駐車ブレーキ機構、アクチュエータ及び駆動回路を示す模式図である。 図2の駆動回路を示す図である。 本発明の第1ないし第3実施の形態に係る電動ブレーキ装置が搭載される車両の一部を模式的に示す図である。 本発明の第1実施の形態の作用を説明するための波形図である。 本発明の第2実施の形態の作用を説明するための波形図である。 本発明の第3実施の形態の作用を説明するための波形図である。
符号の説明
1…電動ブレーキ装置、4…キャリパ(制動力発生手段)、20…ピストン(制動力発生手段)、21…モータ(制動力発生手段)、22…ボールランプ機構(制動力発生手段)、23…差動減速機構(制動力発生手段)、25…駐車ブレーキ機構(制動力保持機構)、40,40A,40B…コントローラ(ブレーキ制御手段、保持機構制限制御手段)、60…アクチュエータ、67…アクチュエータコイル、105…パーキング操作スイッチ(パーキング指示手段)。

Claims (4)

  1. 車両の回転部分へ摩擦部材を押圧して制動力を発生する制動力発生手段と、
    ブレーキ操作子の操作時に、その操作に応じた制動力を前記制動力発生手段に発生させるブレーキ制御手段と、
    前記車両に対する駐車指示信号及び駐車解除指示信号を出力するパーキング指示手段と、
    該パーキング指示手段からの各信号に基づいて前記制動力発生手段により発生する制動力を電動アクチュエータが駆動されることで機械的に保持する制動力保持機構と、を有する電動ブレーキ装置において、
    前記駐車解除信号の出力時点から所定時間内においては、当該所定時間内に出力される駐車指示信号又は駐車解除指示信号に基づく前記電動アクチュエータへの通電は行わせない保持機構制限制御手段を有することを特徴とする電動ブレーキ装置。
  2. 前記所定時間内に出力される駐車指示信号又は駐車解除指示信号に基づいて、前記所定時間経過後に、電動アクチュエータへの通電を行なわせることを特徴とする請求項1記載の電動ブレーキ装置。
  3. 車両の回転部分へ摩擦部材を押圧して制動力を発生する制動力発生手段と、
    ブレーキ操作子の操作時に、その操作に応じた制動力を前記制動力発生手段に発生させるブレーキ制御手段と、
    前記車両に対する駐車指示信号及び駐車解除指示信号を出力するパーキング指示手段と、
    該パーキング指示手段からの各信号に基づいて前記制動力発生手段により発生する制動力を電動アクチュエータが駆動されることで機械的に保持する制動力保持機構と、を有する電動ブレーキ装置において、
    前記駐車解除信号の出力時点から所定時間内に出力される駐車指示信号又は駐車解除指示信号で所定回数後の指示信号については、電動アクチュエータへの通電は行わせない保持機構制限制御手段を有することを特徴とする電動ブレーキ装置。
  4. 前記保持機構制限制御手段は、電動アクチュエータへの通電は行わせないとした駐車指示信号又は駐車解除指示信号に対応して、制動力発生手段に制動力の発生又は制動力の解除を行わせることを特徴とする請求項1から3までの何れかに記載の電動ブレーキ装置。

JP2004106796A 2004-03-31 2004-03-31 電動ブレーキ装置 Expired - Fee Related JP4618534B2 (ja)

Priority Applications (1)

Application Number Priority Date Filing Date Title
JP2004106796A JP4618534B2 (ja) 2004-03-31 2004-03-31 電動ブレーキ装置

Applications Claiming Priority (1)

Application Number Priority Date Filing Date Title
JP2004106796A JP4618534B2 (ja) 2004-03-31 2004-03-31 電動ブレーキ装置

Publications (2)

Publication Number Publication Date
JP2005291353A true JP2005291353A (ja) 2005-10-20
JP4618534B2 JP4618534B2 (ja) 2011-01-26

Family

ID=35324512

Family Applications (1)

Application Number Title Priority Date Filing Date
JP2004106796A Expired - Fee Related JP4618534B2 (ja) 2004-03-31 2004-03-31 電動ブレーキ装置

Country Status (1)

Country Link
JP (1) JP4618534B2 (ja)

Cited By (3)

* Cited by examiner, † Cited by third party
Publication number Priority date Publication date Assignee Title
JP2009103168A (ja) * 2007-10-22 2009-05-14 Kayaba Ind Co Ltd 電動ブレーキ装置
WO2014084375A1 (ja) * 2012-11-30 2014-06-05 株式会社アドヴィックス 車両の電動制動装置
CN115279634A (zh) * 2020-03-12 2022-11-01 日立安斯泰莫株式会社 电动驻车制动装置

Families Citing this family (1)

* Cited by examiner, † Cited by third party
Publication number Priority date Publication date Assignee Title
JP6150080B2 (ja) * 2015-02-25 2017-06-21 株式会社アドヴィックス 車両の電動制動装置

Citations (8)

* Cited by examiner, † Cited by third party
Publication number Priority date Publication date Assignee Title
JPS641160U (ja) * 1987-06-24 1989-01-06
JPH07251731A (ja) * 1995-02-06 1995-10-03 Nippondenso Co Ltd 車両のトラクション制御装置
JPH08150910A (ja) * 1994-11-30 1996-06-11 Fuji Heavy Ind Ltd 自動ブレーキ装置の制御装置
JP2000025592A (ja) * 1998-07-09 2000-01-25 Toyota Motor Corp 車両用電動ブレーキ装置
JP2000335387A (ja) * 1999-05-25 2000-12-05 Bosch Braking Systems Co Ltd 車両のブレーキシステム
JP2002276704A (ja) * 2001-03-15 2002-09-25 Asmo Co Ltd 車両用電動ブレーキ装置
JP2003042199A (ja) * 2001-07-31 2003-02-13 Tokico Ltd 電動ブレーキ装置
JP2004060864A (ja) * 2002-07-31 2004-02-26 Tokico Ltd 電動ディスクブレーキ装置

Patent Citations (8)

* Cited by examiner, † Cited by third party
Publication number Priority date Publication date Assignee Title
JPS641160U (ja) * 1987-06-24 1989-01-06
JPH08150910A (ja) * 1994-11-30 1996-06-11 Fuji Heavy Ind Ltd 自動ブレーキ装置の制御装置
JPH07251731A (ja) * 1995-02-06 1995-10-03 Nippondenso Co Ltd 車両のトラクション制御装置
JP2000025592A (ja) * 1998-07-09 2000-01-25 Toyota Motor Corp 車両用電動ブレーキ装置
JP2000335387A (ja) * 1999-05-25 2000-12-05 Bosch Braking Systems Co Ltd 車両のブレーキシステム
JP2002276704A (ja) * 2001-03-15 2002-09-25 Asmo Co Ltd 車両用電動ブレーキ装置
JP2003042199A (ja) * 2001-07-31 2003-02-13 Tokico Ltd 電動ブレーキ装置
JP2004060864A (ja) * 2002-07-31 2004-02-26 Tokico Ltd 電動ディスクブレーキ装置

Cited By (5)

* Cited by examiner, † Cited by third party
Publication number Priority date Publication date Assignee Title
JP2009103168A (ja) * 2007-10-22 2009-05-14 Kayaba Ind Co Ltd 電動ブレーキ装置
WO2014084375A1 (ja) * 2012-11-30 2014-06-05 株式会社アドヴィックス 車両の電動制動装置
JP2014109315A (ja) * 2012-11-30 2014-06-12 Advics Co Ltd 車両の電動制動装置
CN115279634A (zh) * 2020-03-12 2022-11-01 日立安斯泰莫株式会社 电动驻车制动装置
CN115279634B (zh) * 2020-03-12 2024-05-10 日立安斯泰莫株式会社 电动驻车制动装置

Also Published As

Publication number Publication date
JP4618534B2 (ja) 2011-01-26

Similar Documents

Publication Publication Date Title
JP4512868B2 (ja) 電動ブレーキ装置
JP5360411B2 (ja) 電動ブレーキ装置
JP6213032B2 (ja) 電動駐車ブレーキ装置
JP6624094B2 (ja) 制動装置
JP7220281B2 (ja) ディスクブレーキ
JP2004324856A (ja) 電動ディスクブレーキ装置
JP5488909B2 (ja) ディスクブレーキ
JP2005114042A (ja) 電動駐車ブレーキ装置
JP4556176B2 (ja) 電動ブレーキ装置
JP4496515B2 (ja) 電動ブレーキ装置
KR102661697B1 (ko) 전동 브레이크 장치
JP4803372B2 (ja) 電動ブレーキ装置及び電動ブレーキ装置の制御装置
JP2013071642A (ja) ディスクブレーキ
JP4618534B2 (ja) 電動ブレーキ装置
JP4756244B2 (ja) 電動ディスクブレーキ装置
JP2003222172A (ja) 電動ブレーキ装置
JP2005009633A (ja) 電動ブレーキ装置
JP2000210338A (ja) 歩行器用車輪装置及び同装置を備えた自立歩行支援機
JP2021049880A (ja) ディスクブレーキ
JP2006232263A (ja) 電動ブレーキ装置
JP2005331022A (ja) 電動ディスクブレーキ装置
JP2005147170A (ja) 電動ブレーキ装置
JP2006070962A (ja) 電動駐車ブレーキ装置
JP4239162B2 (ja) 電動ブレーキ装置
JP4078550B2 (ja) 電動ブレーキ装置

Legal Events

Date Code Title Description
A621 Written request for application examination

Free format text: JAPANESE INTERMEDIATE CODE: A621

Effective date: 20060929

A521 Written amendment

Free format text: JAPANESE INTERMEDIATE CODE: A821

Effective date: 20061004

A977 Report on retrieval

Free format text: JAPANESE INTERMEDIATE CODE: A971007

Effective date: 20081023

A131 Notification of reasons for refusal

Free format text: JAPANESE INTERMEDIATE CODE: A131

Effective date: 20090507

A521 Written amendment

Free format text: JAPANESE INTERMEDIATE CODE: A523

Effective date: 20090706

A711 Notification of change in applicant

Free format text: JAPANESE INTERMEDIATE CODE: A712

Effective date: 20090902

RD03 Notification of appointment of power of attorney

Free format text: JAPANESE INTERMEDIATE CODE: A7423

Effective date: 20090902

A521 Written amendment

Free format text: JAPANESE INTERMEDIATE CODE: A523

Effective date: 20090904

A02 Decision of refusal

Free format text: JAPANESE INTERMEDIATE CODE: A02

Effective date: 20100331

A521 Written amendment

Free format text: JAPANESE INTERMEDIATE CODE: A523

Effective date: 20100629

A911 Transfer of reconsideration by examiner before appeal (zenchi)

Free format text: JAPANESE INTERMEDIATE CODE: A911

Effective date: 20100707

A131 Notification of reasons for refusal

Free format text: JAPANESE INTERMEDIATE CODE: A131

Effective date: 20100825

A521 Written amendment

Free format text: JAPANESE INTERMEDIATE CODE: A523

Effective date: 20100903

TRDD Decision of grant or rejection written
A01 Written decision to grant a patent or to grant a registration (utility model)

Free format text: JAPANESE INTERMEDIATE CODE: A01

Effective date: 20101006

A01 Written decision to grant a patent or to grant a registration (utility model)

Free format text: JAPANESE INTERMEDIATE CODE: A01

A61 First payment of annual fees (during grant procedure)

Free format text: JAPANESE INTERMEDIATE CODE: A61

Effective date: 20101014

FPAY Renewal fee payment (event date is renewal date of database)

Free format text: PAYMENT UNTIL: 20131105

Year of fee payment: 3

R150 Certificate of patent or registration of utility model

Free format text: JAPANESE INTERMEDIATE CODE: R150

LAPS Cancellation because of no payment of annual fees