JP2005291347A - 三方ボール弁 - Google Patents

三方ボール弁 Download PDF

Info

Publication number
JP2005291347A
JP2005291347A JP2004106583A JP2004106583A JP2005291347A JP 2005291347 A JP2005291347 A JP 2005291347A JP 2004106583 A JP2004106583 A JP 2004106583A JP 2004106583 A JP2004106583 A JP 2004106583A JP 2005291347 A JP2005291347 A JP 2005291347A
Authority
JP
Japan
Prior art keywords
port
valve body
ports
valve
way ball
Prior art date
Legal status (The legal status is an assumption and is not a legal conclusion. Google has not performed a legal analysis and makes no representation as to the accuracy of the status listed.)
Granted
Application number
JP2004106583A
Other languages
English (en)
Other versions
JP4523314B2 (ja
Inventor
Norio Nomaguchi
謙雄 野間口
Motohiro Furuya
元洋 古谷
Hideo Otani
秀雄 大谷
Current Assignee (The listed assignees may be inaccurate. Google has not performed a legal analysis and makes no representation or warranty as to the accuracy of the list.)
Azbil Corp
Original Assignee
Azbil Corp
Priority date (The priority date is an assumption and is not a legal conclusion. Google has not performed a legal analysis and makes no representation as to the accuracy of the date listed.)
Filing date
Publication date
Application filed by Azbil Corp filed Critical Azbil Corp
Priority to JP2004106583A priority Critical patent/JP4523314B2/ja
Publication of JP2005291347A publication Critical patent/JP2005291347A/ja
Application granted granted Critical
Publication of JP4523314B2 publication Critical patent/JP4523314B2/ja
Anticipated expiration legal-status Critical
Expired - Fee Related legal-status Critical Current

Links

Images

Landscapes

  • Taps Or Cocks (AREA)
  • Multiple-Way Valves (AREA)

Abstract

【課題】比例制御可能な三方ボール弁を提供する。
【解決手段】弁本体内に組み込まれるボール状の弁体32に、ステムの軸線と直交する方向においてそれぞれ開口する第1、第2、第3のポート45,46,47と、ステムの軸線方向でかつ弁体32の下面に開口する第4のポート48と、第1のポート45と第2のポート46を連通する第1の流体通路50と、第3のポート47と第4のポート48を連通する第2の流体通路51を形成し、さらに第1、第2の流体通路50,51を仕切壁55によって仕切る。第1、第2のポート45,46は、弁体32の回転方向に180°離間し、第3のポート47は第1、第2のポート45,46の中間に位置している。第1の流体通路50を水平方向のストレートな通路とし、第2の流体流路51を傾斜した通路とする。第1のポート45の一部周縁に高開度時における流量を弁体32の回動角度に比例して略リニアに増大させる特性変更部60を設けることにより、第1のポート45の断面積を減少させる。
【選択図】 図3

Description

本発明は、ビルの空調設備等に用いられる三方ボール弁に関する。
従来、三方ボール弁は、例えばビルの空調設備における湯水混合または分流等に使用されている(例えば、特許文献1,2参照)。
特開2002−130499号公報(第2頁、段落「0001」〜「0005」図5、図6) 特開平9−280390号公報
前記特開2002−130499号公報に記載されている三方ボール弁は、図7に示すように、弁本体2内に回動自在に組み込まれたボール状の弁体3と、前記弁本体2を貫通し前記弁体3を回動させるステム4とを備えている。弁体3は、外周面に開口する第1、第2、第3のポート5,6,7と嵌合凹部8を有している。第1、第2のポート5,6は、弁体3の外周面でステム4の軸線L方向と直交する方向において回転方向に90°離間して形成され、第3のポート7は、前記ステム4の軸線L方向で弁体3の下面側に形成されている。嵌合凹部8は弁体3の上面側に形成され、前記ステム4の内端が嵌合している。9,10,11は流体12,13を流す配管で、配管11には第3のポート7が常時連通している。
このような弁体3を備えた三方ボール弁1は、ステム4によって弁体3を90°の角度範囲内で往復回動させることにより弁体3によって独立した2つの流路を形成することができる。すなわち、弁体3を回動させて第1のポート5を配管9に対して全開状態、第2のポート6を配管9,10に対して全閉状態に切り替えると、第1のポート5と第3のポート7を介して配管9と配管11を接続する流路が形成される。したがって、配管9に導かれた流体(例えば、水)12は第1のポート5および第3のポート7を通って配管11に流れる。この状態から弁体3を反時計方向に90°回動させて第1のポート5を配管9,10に対して全閉状態、第2のポート6を配管10に対して全開状態に切り替えると、第2のポート6と第3のポート7を介して配管10と配管11を接続する流路が形成される。したがって、配管10に導かれた流体(例えば、温水)13は第2のポート6および第3のポート7を通って配管11に流れる。また、図7に示す状態から弁体3を反時計方向に45°回動させて第1、第2のポート5,6を配管9,10に対して中間開度にすると、第1、第2、第3のポート5,6,7を介して配管9,10と配管11を接続する流路が形成されるため、配管9,10を流れる流体12,13は弁体3内において混合され第3のポート7を通って配管11に流れる。
しかしながら、このような三方ボール弁1は、流体12,13の流れる方向を第1のポート5から第3のポート7、または第2のポート6から第3のポート7の2通りに規定しているので、配管9,10,11の設置状況によって流体12,13の流れる方向を第1のポート5から第2のポート6、第3のポート7から第2のポート6の2通りに変更したい場合、無理に流れの方向を変更しようとすると、第2、第3のポート6,7に接続される配管10,11の向きを変更ないし改修する必要があった。一方、配管の改修を避ける場合は回転型の三方弁の代わりに直動型の三方弁を使用せざるを得ないが、直動型三方弁はステムおよび操作軸が垂直方向に動作するので、回転型の三方弁に比べてステムの軸線方向(垂直方向)の移動分だけ、ステム軸線方向に大型化し、取り扱いや設置作業が煩わしく、また十分な設置スペースが確保できない場所には設置できないという難点があった。
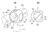
図8(a)、(b)は前記特開平9−280390号公報に記載されている三方ボール弁の弁体を示す外観斜視図および第1のポート側から見た正面図である。
この三方ボール弁は、ボール状の弁体20の外周面にステム用の嵌合凹部8と、第1〜第4のポート21〜24を形成し、内部に第1、第2のポート21,22を接続する第1の流体通路26と、第3、第4のポート23,24を接続する第2の流体通路27と、第1、第2の流体通路26,27を仕切る仕切壁28を形成したものである。第1、第2、第3のポート21,22,23は、ステムの軸線と直交する方向で弁体20の回転方向に90°離間して形成され、第4のポート24は弁体20の下面に形成されている。第1、第4のポート21,24は流入側ポートを形成し、第2、第3のポート22,23は流出側ポート(またはこの逆)を形成している。第4のポート24は配管11に常時連通している。
このような弁体20を備えた三方ボール弁は、ステムによって弁体20を90°の角度範囲内で往復回動させることにより、独立した2つの流路を形成することができる。すなわち、第1のポート21を配管9に対して全開状態、第2のポート22を配管10に対して全開状態、第3のポート23を配管9,10に対して全閉状態にすると、配管9、10を第1の流体通路26によって接続する流路が形成されるため、配管9に導かれた流体12は第1の流体通路26を通って配管10に流れる。この状態から弁体20を反時計に90°回動させて第1、第2のポート21,22を配管9,10に対して全閉状態、第3のポート23を配管10に対して全開状態にすると、第2の流体通路27を介して配管10と配管11を接続する流路が形成されるため、配管11に導かれた流体13は第2の流体通路27を通って配管10に流れる。また、図8(a)の状態から反時計方向に45°回動させて第1のポート21を配管9に対して中間開度とし、第2、第3のポート22,23を配管10に対して中間開度にすると、配管9,11と配管10を第1、第2の流体通路26,27によって接続する流路が形成されるため、配管9,11を流れる流体12,13は配管10に流れて混合される。
しかしながら、前記特開平9−280390号公報に記載されている三方ボール弁は、各ポート21〜24の形状を略真円に形成しているため、弁体20の回動角度に対する流体12の流量特性を測定すると、図9に曲線Aで示すように流入側である第1のポート21(第4のポート24も同様)の弁開度が70〜90°の高開度になるとCv値(流量)が飽和してしまうため、全域にわたって略リニアな容積流量制御(比例制御)する用途には不向きであり、現実的にはオンオフ制御弁としてしか使用することができないという問題があった。
そこで、所望の流量特性を得る方法として、流入側ポートを弁体の回転方向に長いスロット状(横長形状)または放物線形状(略三角形)に形成したボール弁も知られている(特許文献3)。この特許文献3は、流入側ポートを横長形状にした場合にリニア特性が得られ、放物線形状にした場合に相当パーセンテージ特性が得られるとしている。
特開平11−270711号公報
しかしながら、前記特開平11−270711号公報に記載されたボール弁は、二方ボール弁であるため、弁体の構造が異なる三方ボール弁にそのまま適用したとしても所望の流量特性を得ることができないという問題があった。また、スロット状の開口を有する容積制御インサートを別個に製作して弁体に取付けるようにしているため、部品点数および組立工数が増加し、製造コストが高くなるという問題もあった。
本発明は上記した従来の問題を解決するためになされたもので、その目的とするところは、高開度においてCv値が飽和せず略全域の弁開度において弁体の回動角度に比例してCv値を略リニアに増大させることができるようにした三方ボール弁を提供することにある。
上記目的を達成するために第1の発明は、弁本体内にボール状の弁体を組み込み、この弁体をステムによって回動させることにより流路を切り替える三方ボール弁において、前記弁体に前記ステムの軸線と直交する方向においてそれぞれ開口する第1、第2、第3のポートと、前記軸線方向において開口する第4のポートと、第1、第2の流体通路を形成してなり、前記第1、第2のポートを前記弁体の回転方向に180°離間するように形成するとともに、前記第1の流体通路によって連通し、前記第3のポートを前記弁体の回転方向でかつ前記第1、第2のポートに対して90°離間するように形成するとともに、前記第4のポートに前記第2の流体通路によって連通し、前記第1〜第4のポートのうち流入側となる2つのポートの少なくともいずれか一方の一部周縁にポート断面積を減少させ高開度時における流量を前記弁体の回動角度に比例して略リニアに増大させる特性変更部を設けたものである。
第2の発明は、上記第1の発明において、前記第1のポートを流入側ポートとし、このポートに形成される特性変更部を、少なくとも両端が第1のポートの内壁面と交差する傾斜した斜面と、この斜面より下方における第1のポートの弧の部分とによって囲まれた部分としたものである。
第1の発明においては、特性変更部の形成によって流入側ポートの断面積が減少するため流量増加率も小さくなり、弁開度が高開度時(70〜90°)の流量を略リニアに増大させることができる。したがって、流量を比例制御する場合に用いることができる流量特性が得られる。
第2の発明においては、流量特性をリニア特性にすることができる。
以下、本発明を図面に示す実施の形態に基づいて詳細に説明する。
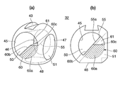
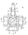
図1は本発明に係る三方ボール弁の一実施の形態を示す断面図、図2は流路を切り替えた状態を示す断面図、図3(a)、(b)は弁体の外観斜視図および第1のポート側から見た正面図である。これらの図において、全体を符号30で示す三方ボール弁は、十字型の弁本体31と、この弁本体31の内部中央に水平方向(矢印A,B方向)に回動自在に嵌挿されたボール状の弁体32と、この弁体32を略90°の角度範囲内で往復回動させるステム33等で構成されている。
前記弁本体31は、通常鋳物製の弁ケース34と管体35との二つの部材によって形成されている。弁ケース34は、上下および左右の4方向に開放する横向きT字状(または十字状)に形成されることにより、4つの孔、すなわち上方に開口し前記ステム33が回転自在に貫通するステム用孔36と、前記ステム33の軸線と直交する方向に開口する第1の流路孔37および接続孔38と、下方に開口する第3の流路孔40を有している。
前記管体35は直管からなり、上流側開口端部が前記弁ケース34の接続孔38にシール部材41を介して螺合により連結され、下流側開口端部が第2の流路孔39を形成している。
前記弁体32は、ステンレスやメッキされた黄銅で製作され、前記弁本体31の内部中央に左右一対のシートリング42,42を介して回動自在に嵌挿され、上面中央に前記ステム33の下端部が嵌合する嵌合凹部43が形成されている。また、弁体32は、図3に示すように内部が中空の殻構造体に形成され、互いに直交する4つのポート、すなわち第1、第2、第3、第4のポート45,46,47,48を有している。第1のポート45と第2のポート46は、前記ステム33の軸線と直交する方向で弁体32の回転方向に180°位相をずらして対向するように形成され、弁体32の中心を通る直線状の第1の流体通路50によって連通している。第3のポート47は、前記ステム33の軸線と直交する方向で各第1、第2のポート45,46に対して90°位相が異なるように形成されている。第4のポート48は前記ステム33の軸線方向で弁体32の下面側に形成され、前記第3のポート47と傾斜した第2の流体通路51によって連通している。第1、第4のポート45,48は流入側ポートを形成し、第2、第3のポート46,47は流出側ポートを形成している。前記弁本体31の第3の流路孔40と第4のポート48は常時連通している。前記第1の流体通路50と第2の流体通路51は、弁体32内に形成した隔壁52によって仕切られている。この隔壁52は、ステム33の軸線に対して略45°の角度をもって傾斜している。
前記ステム33は、前記弁本体31の上方に開放するステム用孔36に一対のOリング53,53を介して回動自在に嵌挿され、外端が弁本体31の上方に突出して図示しない電動アクチュエータに連結されるかまたは手動用のハンドルが取付けられ、内端に前記弁体32が取り付けられている。
このような構造からなる三方ボール弁30は、ステム33によって弁体32を矢印A,B方向に略90°の角度範囲内で往復回動されるように構成されている。ステム33によって弁体32を回動させて図1に示す状態、すなわち第1のポート45が第1の流路孔37と全開状態で連通し(弁開度100%)、第2のポート46が第2の流路孔39と同じく全開状態で連通し、第3のポート47が第1、第2の流路孔37,39に対して全閉した状態(弁開度0%)において、第1の流路孔37に供給される流体12は第1のポート45−第1の流体通路50−第2のポート46を通って第2の流路孔39に流れる。
図1に示す状態から、弁体32を矢印A方向に90°回動させると、図2に示すように第3のポート47が第2の流路孔39と全開状態で連通し(弁開度100%)、第2の流路孔39と第3の流路孔40を第2の流体通路51を介して連通させる。一方、第1、第2のポート45,46は、第1、第2の流路孔37,39に対して全閉状態(弁開度0%)となる。この状態において、第3の流路孔40に供給される流体13は第4のポート48−第2の流体通路51−第3のポート47を通って第2の流路孔39に流れる。
図1に示す状態から反時計方向に45°回動させて第1のポート45を第1の流路孔37に対して中間開度とし、第2、第3のポート46,47を第2の流路孔39に対して中間開度にすると、第1、第3の流路孔37,40と第2の流路孔39を第1、第2の流体通路50,51を介して接続する流路が形成されるため、第1、第3の流路孔37,40に供給される流体12,13は第1、第2の流体通路50,51を通って第2の流路孔39に流れて混合される。
ここで、図1に示す状態において、第1の流路孔37から弁体32の第1の流体通路50を経て第2の流路孔39に流れる流体12の流量特性は、図4に破線で示す曲線Iとなり、弁開度が70〜90°の高開度になるとCv値が飽和する。この流量特性は図8に示した従来のボール弁における流量特性曲線Aと同じである。
そこで、本発明は、図3に示すように第1のポート45の下端部で第3のポート47側周縁部に高開度時における流量を弁体32の回動角度に比例して略リニアに増大させる特性変更部60(斜線で示す部分)を設けている。特性変更部60は、弁体32の外部に臨む前面60aと、第1の流体通路50内に位置し仕切壁55の傾斜角度と略同一の傾斜角度を有する斜面60bと、略水平な上面60cとからなる台形状で、弁体32の内部において前記仕切壁55に接続されている。上面60cは、本体32の球心を含む水平面である。
このように特性変更部60を設けることにより、第1のポート45は本来円形であったものが、略半円形ではあるが、特性変更部60の上部に略三角形の張出通路部61を有する形状を呈している。このため、第1のポート45全体の形状は、中心角が230〜250°程度の扇型である。なお、第2、第3、第4のポート46,47,48は、穴径が第1のポート45と略同一の円形ポートである。張出通路部61は、図3(b)に示す正面視において仕切壁55の斜面55aと、特性変更部60の上面60cと、第1のポート45の周面の一部とによって囲まれた空間であり、第1のポート45の一部を構成している。
このように特性変更部60によって第1のポート45の断面積を減少させると、低開度〜中間開度における流量の増加率を低く抑えることができるため、高開度(弁開度:70〜90°)においてCv値が飽和することがなく、流量特性を図4に実線で示す曲線IIとなり、全開度にわたって弁体32の回動角度に比例してCv値を略リニアにすることができる。したがって、三方ボール弁30をリニアな容積流量制御(比例制御)に用いることが可能である。
図5は弁体の他の実施の形態を示す正面図である。
同図において、斜線で示す部分は上面60cが右上がりに傾斜した特性変更部60で、この特性変更部60は、点Xと点Yを結ぶ線分L1 と、同じく点Xと点Yを結ぶ弧L2 によって囲まれた部分である。点Xと点Yは特性変更部60の傾斜した上面60cが第1のポート45の内壁面と交わる点である。点Xは第1のポート45の球心Oを通る水平線上に位置している。すなわち、前記特性変更部60は、両端が第1のポートの内壁面と点X,Yで交差する傾斜した斜面60cと、この斜面60cより下方における第1のポート45の弧の部分とによって囲まれた部分である。
このように特性変更部60と張出通路部61の大きさ、形状を変更すると、流量特性を図6の曲線II,IIIで示すように変更することができる。すなわち、曲線IIは図3(a)の弁体32による流量特性、曲線IIは図5の弁体32による流量特性である。このように、特性変更部60を少なくとも図5の斜線部分とすれば流量特性をリニアとすることができる。
なお、上記した実施の形態においては、第1、第4のポート45,48を流入側(一次側)ポートとし、第2、第3のポート46,47を流出側(二次側)ポートとしたが、本発明はこれに何ら特定されるものではなく、配管接続によっては第2、第4のポート46,48を流入側ポートとし、第1、第3のポート45,47を流出側ポートとしてもよいことは勿論である。また、流入側の第1のポート45にのみ特性変更部60を形成したが、第4のポート47にも同様な特性変更部を形成してもよい。第2のポート46を流入側ポートとしてその一部周縁に特性変更部を形成する場合は、第3のポート47側の周縁部に形成すればよい。
本発明に係る三方ボール弁の一実施の形態を示す断面図である。 流路を切り替えた状態を示す断面図である。 (a)、(b)は弁体の外観斜視図および第1のポート側から見た正面図である。 流量特性を示す図である。 弁体の他の実施の形態を示す正面図である。 実施の形態の弁体の流量特性を示す図である。 従来の三方ボール弁の弁体を示す外観斜視図である。 (a)、(b)は従来の他の三方ボール弁の弁体を示す外観斜視図および正面図である。 図8に示す弁体の流量特性を示す図である。
符号の説明
30…三方ボール弁、31…弁本体、32…弁体、33…ステム、45…第1のポート、46…第2のポート、47…第3のポート、48…第4のポート、50…第1の流体通路、51…第2の流体通路、52…仕切壁、60…特性変更部、61…張出通路部。

Claims (2)

  1. 弁本体内にボール状の弁体を組み込み、この弁体をステムによって回動させることにより流路を切り替える三方ボール弁において、
    前記弁体に前記ステムの軸線と直交する方向においてそれぞれ開口する第1、第2、第3のポートと、前記軸線方向において開口する第4のポートと、第1、第2の流体通路を形成してなり、
    前記第1、第2のポートを前記弁体の回転方向に180°離間するように形成するとともに、前記第1の流体通路によって連通し、
    前記第3のポートを前記弁体の回転方向でかつ前記第1、第2のポートに対して90°離間するように形成するとともに、前記第4のポートに前記第2の流体通路によって連通し、
    前記第1〜第4のポートのうち流入側となる2つのポートの少なくともいずれか一方の一部周縁にポート断面積を減少させ高開度時における流量を前記弁体の回動角度に比例して略リニアに増大させる特性変更部を設けたことを特徴とする三方ボール弁。
  2. 請求項1記載の三方ボール弁において、
    前記第1のポートを流入側ポートとし、このポートに形成される特性変更部を、少なくとも両端が第1のポートの内壁面と交差する傾斜した斜面と、この斜面より下方における第1のポートの弧の部分とによって囲まれた部分としたことを特徴とする三方ボール弁。
JP2004106583A 2004-03-31 2004-03-31 三方ボール弁 Expired - Fee Related JP4523314B2 (ja)

Priority Applications (1)

Application Number Priority Date Filing Date Title
JP2004106583A JP4523314B2 (ja) 2004-03-31 2004-03-31 三方ボール弁

Applications Claiming Priority (1)

Application Number Priority Date Filing Date Title
JP2004106583A JP4523314B2 (ja) 2004-03-31 2004-03-31 三方ボール弁

Publications (2)

Publication Number Publication Date
JP2005291347A true JP2005291347A (ja) 2005-10-20
JP4523314B2 JP4523314B2 (ja) 2010-08-11

Family

ID=35324507

Family Applications (1)

Application Number Title Priority Date Filing Date
JP2004106583A Expired - Fee Related JP4523314B2 (ja) 2004-03-31 2004-03-31 三方ボール弁

Country Status (1)

Country Link
JP (1) JP4523314B2 (ja)

Cited By (15)

* Cited by examiner, † Cited by third party
Publication number Priority date Publication date Assignee Title
CN100462604C (zh) * 2007-08-06 2009-02-18 浙江大学 O型球阀流量特性的线性化方法
JP2009515094A (ja) * 2005-11-09 2009-04-09 キャタピラー インコーポレイテッド 可変圧力噴射用の多源燃料システム
WO2011114448A1 (ja) * 2010-03-17 2011-09-22 トヨタ自動車株式会社 内燃機関の制御装置
JP2016023787A (ja) * 2014-07-24 2016-02-08 株式会社不二工機 流路切換弁
JP2016023788A (ja) * 2014-07-24 2016-02-08 株式会社不二工機 流路切換弁
JP2017227324A (ja) * 2016-05-04 2017-12-28 ジョンソン エレクトリック ソシエテ アノニム ボール弁装置
KR101959396B1 (ko) * 2018-05-16 2019-03-19 지엠비코리아(주) 멀티웨이 밸브 및 이를 이용한 멀티웨이 밸브 장치
WO2020007690A1 (de) * 2018-07-03 2020-01-09 Flühs Drehtechnik GmbH Umschaltventil
JP2020070898A (ja) * 2018-11-01 2020-05-07 三菱電機株式会社 流路切替弁及び貯湯式給湯機
CN111649153A (zh) * 2020-07-06 2020-09-11 台州市路桥区马赛卫浴有限公司 一种可调节喷水位置的水龙头
KR20200127598A (ko) * 2019-05-03 2020-11-11 권영탁 급수전 장치
CN113738912A (zh) * 2021-08-30 2021-12-03 浙江理工大学 一种掺合球阀
CN114060606A (zh) * 2020-08-04 2022-02-18 浙江三花制冷集团有限公司 一种旋转阀
WO2022109352A1 (en) * 2020-11-19 2022-05-27 Cft Llc Valve and system
JP2024086817A (ja) * 2021-05-24 2024-06-28 株式会社不二工機 弁装置

Citations (4)

* Cited by examiner, † Cited by third party
Publication number Priority date Publication date Assignee Title
JPH0251670A (ja) * 1988-08-10 1990-02-21 Kitazawa Valve:Kk 立型三方ボールバルブ
JPH03100667U (ja) * 1990-02-02 1991-10-21
JPH09280390A (ja) * 1996-04-12 1997-10-28 Asahi Organic Chem Ind Co Ltd 三方ボールバルブ
JPH11270711A (ja) * 1998-01-09 1999-10-05 Griswold Controls Inc 流量を絞るボ―ル弁のインサ―ト

Patent Citations (4)

* Cited by examiner, † Cited by third party
Publication number Priority date Publication date Assignee Title
JPH0251670A (ja) * 1988-08-10 1990-02-21 Kitazawa Valve:Kk 立型三方ボールバルブ
JPH03100667U (ja) * 1990-02-02 1991-10-21
JPH09280390A (ja) * 1996-04-12 1997-10-28 Asahi Organic Chem Ind Co Ltd 三方ボールバルブ
JPH11270711A (ja) * 1998-01-09 1999-10-05 Griswold Controls Inc 流量を絞るボ―ル弁のインサ―ト

Cited By (22)

* Cited by examiner, † Cited by third party
Publication number Priority date Publication date Assignee Title
JP2009515094A (ja) * 2005-11-09 2009-04-09 キャタピラー インコーポレイテッド 可変圧力噴射用の多源燃料システム
CN100462604C (zh) * 2007-08-06 2009-02-18 浙江大学 O型球阀流量特性的线性化方法
WO2011114448A1 (ja) * 2010-03-17 2011-09-22 トヨタ自動車株式会社 内燃機関の制御装置
JP5170343B2 (ja) * 2010-03-17 2013-03-27 トヨタ自動車株式会社 内燃機関の制御装置
US9206734B2 (en) 2010-03-17 2015-12-08 Toyota Jidosha Kabushiki Kaisha Control apparatus for internal combustion engine
JP2016023787A (ja) * 2014-07-24 2016-02-08 株式会社不二工機 流路切換弁
JP2016023788A (ja) * 2014-07-24 2016-02-08 株式会社不二工機 流路切換弁
JP2017227324A (ja) * 2016-05-04 2017-12-28 ジョンソン エレクトリック ソシエテ アノニム ボール弁装置
KR101959396B1 (ko) * 2018-05-16 2019-03-19 지엠비코리아(주) 멀티웨이 밸브 및 이를 이용한 멀티웨이 밸브 장치
WO2020007690A1 (de) * 2018-07-03 2020-01-09 Flühs Drehtechnik GmbH Umschaltventil
JP2020070898A (ja) * 2018-11-01 2020-05-07 三菱電機株式会社 流路切替弁及び貯湯式給湯機
KR20200127598A (ko) * 2019-05-03 2020-11-11 권영탁 급수전 장치
KR102215395B1 (ko) 2019-05-03 2021-02-15 권영탁 급수전 장치
CN111649153A (zh) * 2020-07-06 2020-09-11 台州市路桥区马赛卫浴有限公司 一种可调节喷水位置的水龙头
CN111649153B (zh) * 2020-07-06 2022-08-16 宋伟杰 一种可调节喷水位置的水龙头
CN114060606A (zh) * 2020-08-04 2022-02-18 浙江三花制冷集团有限公司 一种旋转阀
WO2022109352A1 (en) * 2020-11-19 2022-05-27 Cft Llc Valve and system
JP2024086817A (ja) * 2021-05-24 2024-06-28 株式会社不二工機 弁装置
JP7720652B2 (ja) 2021-05-24 2025-08-08 株式会社不二工機 弁装置
US12398824B2 (en) 2021-05-24 2025-08-26 Fujikoki Corporation Valve gear
CN113738912A (zh) * 2021-08-30 2021-12-03 浙江理工大学 一种掺合球阀
CN113738912B (zh) * 2021-08-30 2023-02-24 浙江理工大学 一种掺合球阀

Also Published As

Publication number Publication date
JP4523314B2 (ja) 2010-08-11

Similar Documents

Publication Publication Date Title
JP5153349B2 (ja) 三方ボール弁
JP4523314B2 (ja) 三方ボール弁
US11781657B2 (en) 3-2 way expansion valve
US4378029A (en) Single control faucet
US6135152A (en) Pair of hard material plates for a sequential mixing valve
JP4627242B2 (ja) 流体制御弁用ディフューザおよび流体制御弁
JP3043664B2 (ja) 混合弁及び混合弁用ボール弁
JP2015014307A (ja) 流路切替弁
EP2565502B1 (en) Tap for water supply pipes
JP4950265B2 (ja) 低騒音回転弁
JP5388609B2 (ja) 混合弁ユニット及び貯湯式給湯機
JP4563770B2 (ja) 低騒音回転弁
KR20090008896A (ko) 다방향 밸브
US20060065313A1 (en) Regulator and mixer ball valve
EP1489342B1 (en) Three-way valve
CN219510182U (zh) 六通阀及温度控制系统
JP3256186B2 (ja) 混合バルブ装置
JPH094743A (ja) 電動式コントロールバルブ
RU2175735C1 (ru) Кран
JP2007064461A (ja) 3方ロータリバルブ
JP2007100894A (ja) 湯水混合弁
JPH05322058A (ja) 三方弁装置
JP2000179716A (ja) バルブ
CN216479076U (zh) 一种用于控制多向流体流量的摇杆阀
AU2004205172B2 (en) Three-way valve with independent quarter-turn outlets

Legal Events

Date Code Title Description
A621 Written request for application examination

Free format text: JAPANESE INTERMEDIATE CODE: A621

Effective date: 20051226

A977 Report on retrieval

Free format text: JAPANESE INTERMEDIATE CODE: A971007

Effective date: 20090331

A131 Notification of reasons for refusal

Free format text: JAPANESE INTERMEDIATE CODE: A131

Effective date: 20090407

A521 Written amendment

Free format text: JAPANESE INTERMEDIATE CODE: A523

Effective date: 20090522

A131 Notification of reasons for refusal

Free format text: JAPANESE INTERMEDIATE CODE: A131

Effective date: 20091027

A521 Written amendment

Free format text: JAPANESE INTERMEDIATE CODE: A523

Effective date: 20091201

A131 Notification of reasons for refusal

Free format text: JAPANESE INTERMEDIATE CODE: A131

Effective date: 20100309

A521 Written amendment

Free format text: JAPANESE INTERMEDIATE CODE: A523

Effective date: 20100423

TRDD Decision of grant or rejection written
A01 Written decision to grant a patent or to grant a registration (utility model)

Free format text: JAPANESE INTERMEDIATE CODE: A01

Effective date: 20100525

A01 Written decision to grant a patent or to grant a registration (utility model)

Free format text: JAPANESE INTERMEDIATE CODE: A01

A61 First payment of annual fees (during grant procedure)

Free format text: JAPANESE INTERMEDIATE CODE: A61

Effective date: 20100527

R150 Certificate of patent or registration of utility model

Ref document number: 4523314

Country of ref document: JP

Free format text: JAPANESE INTERMEDIATE CODE: R150

Free format text: JAPANESE INTERMEDIATE CODE: R150

FPAY Renewal fee payment (event date is renewal date of database)

Free format text: PAYMENT UNTIL: 20130604

Year of fee payment: 3

FPAY Renewal fee payment (event date is renewal date of database)

Free format text: PAYMENT UNTIL: 20130604

Year of fee payment: 3

FPAY Renewal fee payment (event date is renewal date of database)

Free format text: PAYMENT UNTIL: 20140604

Year of fee payment: 4

LAPS Cancellation because of no payment of annual fees