JP2005291155A - 送風装置 - Google Patents

送風装置 Download PDF

Info

Publication number
JP2005291155A
JP2005291155A JP2004110075A JP2004110075A JP2005291155A JP 2005291155 A JP2005291155 A JP 2005291155A JP 2004110075 A JP2004110075 A JP 2004110075A JP 2004110075 A JP2004110075 A JP 2004110075A JP 2005291155 A JP2005291155 A JP 2005291155A
Authority
JP
Japan
Prior art keywords
main body
body box
blower
air
suction port
Prior art date
Legal status (The legal status is an assumption and is not a legal conclusion. Google has not performed a legal analysis and makes no representation as to the accuracy of the status listed.)
Granted
Application number
JP2004110075A
Other languages
English (en)
Other versions
JP4554256B2 (ja
Inventor
Tadaaki Ishikawa
忠昭 石川
泰成 ▲高▼田
Yasunari Takada
Shunji Suzuki
俊二 鈴木
Current Assignee (The listed assignees may be inaccurate. Google has not performed a legal analysis and makes no representation or warranty as to the accuracy of the list.)
Mitsubishi Electric Corp
Original Assignee
Mitsubishi Electric Corp
Priority date (The priority date is an assumption and is not a legal conclusion. Google has not performed a legal analysis and makes no representation as to the accuracy of the date listed.)
Filing date
Publication date
Application filed by Mitsubishi Electric Corp filed Critical Mitsubishi Electric Corp
Priority to JP2004110075A priority Critical patent/JP4554256B2/ja
Publication of JP2005291155A publication Critical patent/JP2005291155A/ja
Application granted granted Critical
Publication of JP4554256B2 publication Critical patent/JP4554256B2/ja
Anticipated expiration legal-status Critical
Expired - Fee Related legal-status Critical Current

Links

Images

Landscapes

  • Structures Of Non-Positive Displacement Pumps (AREA)

Abstract

【課題】 ショートサーキットの起こらない遠心式の送風機で構成される送風装置を得る。
【解決手段】 内部にスクロールケーシング3を構成した本体箱体1、この本体箱体1に取付けられたモーター7によってスクロールケーシング3内で羽根車8が回転し、本体箱体1のモーター7側に形成された吸込口5からこれに隣接する側面に形成された吹出口9に向かう気流を形成する遠心式の送風機2からなり、吹出口9と吸込口5とを離隔する気流分離板11を設ける。また、本体箱体1の吸込口5側に吸込み風路空間を確保する取付脚10を設ける。さらには、本体箱体1の吸込口5の近傍に補助脚を設ける。
【選択図】 図1

Description

本発明は、床面や天井面あるいは壁面などに設置して滞留する空気を攪拌し換気を促進する遠心式の送風機により構成された送風装置に関するものである。
床面や天井面などに設置して滞留する空気を攪拌し換気を促進する送風装置としては、設置場所の制約を本体を支持する脚部の工夫により解消した例えば、特許文献1に示されたようなものがある。
特開2003−302085号公報
従来のこの種の送風装置は、本体を支持する脚部が伸縮可能で、その台座部が回転できるようになっていて、凹凸のある所でも、吊り下げたり設置したりすることができるようになっている。しかしながら、本体の取付け側の反対面に吸込口が有り、吹出口が吸込口に近接した外周に設けられているため、吹出された空気が吸込口から吸込まれるといったショートサーキットが起き易い。また、吸込量を確保するため大きく開放された吸込口には異物の吸込みを防止するネットが設けられ、例えば、床に設けられた配線溝等に設置すれば、ネットが踏まれることになり、使用に供せない。
本発明は、上記した問題を解決するためになされたものであり、その目的とするところは、ショートサーキットの起こらない遠心式の送風機で構成される送風装置を得ることであり、床でも天井でも壁でも設置するだけで、必要な吸込み空間が確保でき、吸込口への異物の侵入も防止できる送風装置を得ることである。
上記課題を解決するために本発明は、内部にスクロールケーシングを構成した本体箱体に取付けられたモーターによってスクロールケーシング内で羽根車が回転し、本体箱体のモーター側に形成された吸込口からこれに隣接する側面に形成された吹出口に向かう気流を形成する遠心式の送風機からなる送風装置について、吹出口と吸込口とを離隔する気流分離板を設ける手段を採用する。
本発明によれば、吹出口と吸込口とは気流分離板で離隔されているため、吹出口から吹出された気流が再度吸込口から吸込まれるといったショートサーキットは起こらない。
本発明の送風装置は、薄形の方形の本体箱体内に遠心式の送風機が組込まれて構成されている。本体箱体は鋼板製で内部にスクロールケーシングが構成され、本体箱体の底板中央に吸込口が設けられている。吸込口には支持脚によりモーターが取付けられ、このモーターの回転軸にスクロールケーシング内で回転する羽根車が装着されている。送風機の吹出口は、吸込口に隣接する側面に設けられ、本体箱体の吹出口以外の周側面は閉止されている。本体箱体の吹出口の臨む側面の下部は、本体箱体の底板より突出した取付脚で閉止されている。反対側の側面にも本体箱体の底板より突出す二個の取付脚がある。吹出口の臨む側面側の取付脚は、一連のアングル形をなし、設置用のネジ挿通孔が両端に設けられている。この取付脚の一部は、側面を閉止する部分とともに吹出口と吸込口とを離隔する気流分離板を構成している。この三つの取付脚により、本体箱体の吸込口側には三方の開放した吸込み風路空間が確保される。
この送風装置は設置場所に取付脚によって取付けるだけで、三方の開放した吸込み風路空間が確保され、吸込み風路空間を通じて本体箱体の下面の吸込口から吸込まれた空気は、吹出口から半径方向に吹出される。吹出口と吸込口とは気流分離板で離隔されているのでショートサーキットは起こらない。吸込口は、設置面に向合うことになり、異物が入り込むことも少ない。また、本体箱体の上面は、フラットで例えば、床に設置した場合、踏み付けても支障は来さない。
実施の形態1.
図1は、本実施の形態の送風装置の斜視図、図2は、同じく反対側から見た送風装置の斜視図、図3は、送風装置の断面図、図4は、同じく平面図、図5は、本体箱体の底板を示す斜視図、図6は、設置状態の一例を示す送風装置の略体側面図である。図7は、他の設置状態の一例を示す送風装置の略体側面図である。
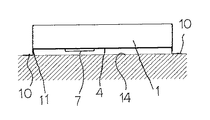
この送風装置は、薄形の方形の本体箱体1内に遠心式(シロッコファンやターボファン等)の送風機2が組込まれて構成されている。本体箱体1は鋼板製で内部にスクロールケーシング3が構成され、本体箱体1の底板4の中央に吸込口5が設けられている。吸込口5には支持脚6によりモーター7が取付けられ、このモーター7の回転軸にスクロールケーシング3内で回転する羽根車8が装着されている。送風機2の吹出口9は、吸込口5に隣接する側面に設けられ、本体箱体1の吹出口9以外の周側面は閉止されている(図1、図2参照)。本体箱体1の吹出口9の臨む側面の下部は、本体箱体1の底板4より突出した取付脚10で閉止されている。反対側の側面にも本体箱体1の底板4より突出す二個の取付脚10がある。吹出口9の臨む側面側の取付脚10は、一連のアングル形をなし、設置用のネジ挿通孔が両端に設けられている。この取付脚10の一部は、側面を閉止する部分とともに吹出口9と吸込口5とを離隔する気流分離板11を構成している。この三つの取付脚10により、本体箱体1の吸込口5側には三方の開放した吸込み風路空間が確保される。本体箱体1の底板4の下面には、二個の取付脚10間の吸込み風路空間から吸込まれる空気の抵抗にならない取付姿勢でアングル形の補助脚12が設けられている(図5参照)。本体箱体1内のスクロールケーシング3の外側には電気部品13が収められ、電気部品13の損傷や破壊が防止されている(図3参照)。
この送風装置は設置場所に取付脚10によって取付けるだけで、三方の開放した吸込み風路空間が本体箱体1の底板4と設置面14との間に図6に示すように確保され、吸込み風路空間を通じて本体箱体1の下面の吸込口5から吸込まれた空気は、吹出口9から半径方向に吹出される。これにより、室内に滞留する空気を攪拌し換気を促進することができる。吹出口9と吸込口5とは気流分離板11で離隔されているので吹出し気流と吸込み気流間でのショートサーキットは起こらない。吸込口5は、設置面14に向き合うことになり、異物が入り込むことも少ない。設置場所が、壁面や天井面であっても同様に機能する。また、本体箱体1の上面は、フラットで例えば、床に設置した場合、踏み付けても支障は来さない。補助脚12は、このように上からの荷重に対する耐力を備えさせるためのものであり、一本でも二本でもよい。
なお、図7に示すように、取付脚10を本体箱体1の天面に上向きに設けてもよい。これにより設置場所についての自由度が増す。
送風装置の斜視図である。(実施の形態1) 同じく反対側から見た送風装置の斜視図である。(実施の形態1) 送風装置の断面図である。(実施の形態1) 送風装置の平面図である。(実施の形態1) 本体箱体の底板を示す斜視図である。(実施の形態1) 設置状態の一例を示す送風装置の略体側面図である。(実施の形態1) 他の設置状態の一例を示す送風装置の略体側面図である。(実施の形態1)
符号の説明
1 本体箱体、 2 送風機、 3 スクロールケーシング、 5 吸込口、 7 モーター、 8 羽根車、 9 吹出口、 10 取付脚、 11 気流分離板、 12 補助脚、 13 電気部品。

Claims (5)

  1. 内部にスクロールケーシングを構成した本体箱体、この本体箱体に取付けられたモーターによって前記スクロールケーシング内で羽根車が回転し、前記本体箱体のモーター側に形成された吸込口からこれに隣接する側面に形成された吹出口に向かう気流を形成する遠心式の送風機からなり、前記吹出口と前記吸込口とを離隔する気流分離板を設けた送風装置。
  2. 請求項1に記載の送風装置であって、本体箱体の吸込口側に吸込み風路空間を確保する取付脚を設けた送風装置。
  3. 請求項2に記載の送風装置であって、本体箱体の吸込口の近傍に補助脚を設けた送風装置。
  4. 請求項1に記載の送風装置であって、本体箱体の吸込口側とは反対側に取付脚を設けた送風装置。
  5. 請求項1〜請求項4までのいずれかに記載の送風装置であって、スクロールケーシング外の本体箱体内に電気部品を収めた送風装置。
JP2004110075A 2004-04-02 2004-04-02 送風装置 Expired - Fee Related JP4554256B2 (ja)

Priority Applications (1)

Application Number Priority Date Filing Date Title
JP2004110075A JP4554256B2 (ja) 2004-04-02 2004-04-02 送風装置

Applications Claiming Priority (1)

Application Number Priority Date Filing Date Title
JP2004110075A JP4554256B2 (ja) 2004-04-02 2004-04-02 送風装置

Publications (2)

Publication Number Publication Date
JP2005291155A true JP2005291155A (ja) 2005-10-20
JP4554256B2 JP4554256B2 (ja) 2010-09-29

Family

ID=35324356

Family Applications (1)

Application Number Title Priority Date Filing Date
JP2004110075A Expired - Fee Related JP4554256B2 (ja) 2004-04-02 2004-04-02 送風装置

Country Status (1)

Country Link
JP (1) JP4554256B2 (ja)

Cited By (2)

* Cited by examiner, † Cited by third party
Publication number Priority date Publication date Assignee Title
US8812513B2 (en) 2009-12-25 2014-08-19 International Business Machines Corporation Hash pointer checking for hierarchical database logical relationship
JP2018168702A (ja) * 2017-03-29 2018-11-01 三菱電機株式会社 送風機

Citations (12)

* Cited by examiner, † Cited by third party
Publication number Priority date Publication date Assignee Title
JPS4725167Y1 (ja) * 1970-03-23 1972-08-07
JPS599238U (ja) * 1982-07-09 1984-01-20 株式会社東芝 温風機
JPS59191527U (ja) * 1983-06-06 1984-12-19 三菱電機株式会社 サ−キユレ−タ
JPS61175600U (ja) * 1985-04-19 1986-11-01
JPS61175598U (ja) * 1985-04-19 1986-11-01
JPH01153440U (ja) * 1988-04-18 1989-10-23
JP2000274767A (ja) * 1999-03-24 2000-10-06 Asahi Solar Kogyo Kk 床下の空気誘導補助装置
JP2001082780A (ja) * 1999-09-09 2001-03-30 Sharp Corp 床下換気装置
JP2001317485A (ja) * 2000-05-08 2001-11-16 Mitsuya Soufuuki Seisakusho:Kk 遠心式送風機
JP2002349921A (ja) * 2001-05-22 2002-12-04 Nippon Kobunshi Kk 空気攪拌装置
JP2002364597A (ja) * 2001-06-11 2002-12-18 Nippon Kobunshi Kk 空気攪拌装置
JP2003302085A (ja) * 2002-04-05 2003-10-24 Cosmo Denki Kk 換気装置

Patent Citations (12)

* Cited by examiner, † Cited by third party
Publication number Priority date Publication date Assignee Title
JPS4725167Y1 (ja) * 1970-03-23 1972-08-07
JPS599238U (ja) * 1982-07-09 1984-01-20 株式会社東芝 温風機
JPS59191527U (ja) * 1983-06-06 1984-12-19 三菱電機株式会社 サ−キユレ−タ
JPS61175600U (ja) * 1985-04-19 1986-11-01
JPS61175598U (ja) * 1985-04-19 1986-11-01
JPH01153440U (ja) * 1988-04-18 1989-10-23
JP2000274767A (ja) * 1999-03-24 2000-10-06 Asahi Solar Kogyo Kk 床下の空気誘導補助装置
JP2001082780A (ja) * 1999-09-09 2001-03-30 Sharp Corp 床下換気装置
JP2001317485A (ja) * 2000-05-08 2001-11-16 Mitsuya Soufuuki Seisakusho:Kk 遠心式送風機
JP2002349921A (ja) * 2001-05-22 2002-12-04 Nippon Kobunshi Kk 空気攪拌装置
JP2002364597A (ja) * 2001-06-11 2002-12-18 Nippon Kobunshi Kk 空気攪拌装置
JP2003302085A (ja) * 2002-04-05 2003-10-24 Cosmo Denki Kk 換気装置

Cited By (2)

* Cited by examiner, † Cited by third party
Publication number Priority date Publication date Assignee Title
US8812513B2 (en) 2009-12-25 2014-08-19 International Business Machines Corporation Hash pointer checking for hierarchical database logical relationship
JP2018168702A (ja) * 2017-03-29 2018-11-01 三菱電機株式会社 送風機

Also Published As

Publication number Publication date
JP4554256B2 (ja) 2010-09-29

Similar Documents

Publication Publication Date Title
JP2008223563A (ja) 軸流ファン装置、軸流羽根車及び電子機器
US20080145246A1 (en) Fan and fan housing thereof having flapper
JP2006336642A (ja) 遠心ファン及びそのフレーム
JP4554256B2 (ja) 送風装置
CN212548868U (zh) 过滤设备
JP2001295785A (ja) 保護ネット付きクロスフローファン
JPH10270879A (ja) 電子機器の冷却構造
JP2009127612A (ja) ファンモータのベンチュリー構造
JP2003097821A (ja) 空気調和機
JP4724101B2 (ja) 送風装置
CN111888876A (zh) 过滤设备
CN102562624A (zh) 风扇组合
JP4670273B2 (ja) ダクトファン
JP2024119651A (ja) 埋込形換気扇
CN109424569B (zh) 通风装置
JPH04288429A (ja) ダクト用換気扇
JP3021457B2 (ja) 送風装置
JP4503323B2 (ja) 換気装置
JP4300666B2 (ja) 床置形空気調和機
JP7678251B1 (ja) 換気扇用取付具
CN110474466A (zh) 电机安装机构、新风组件及空调器
JP3062198B2 (ja) 車両用送風機
JP2022045028A (ja) 送風装置
JP2005274026A (ja) 換気扇
JPH02136600A (ja) 換気扇

Legal Events

Date Code Title Description
A621 Written request for application examination

Free format text: JAPANESE INTERMEDIATE CODE: A621

Effective date: 20061026

RD01 Notification of change of attorney

Free format text: JAPANESE INTERMEDIATE CODE: A7421

Effective date: 20080220

A977 Report on retrieval

Free format text: JAPANESE INTERMEDIATE CODE: A971007

Effective date: 20100127

A131 Notification of reasons for refusal

Free format text: JAPANESE INTERMEDIATE CODE: A131

Effective date: 20100209

A521 Written amendment

Free format text: JAPANESE INTERMEDIATE CODE: A523

Effective date: 20100409

TRDD Decision of grant or rejection written
A01 Written decision to grant a patent or to grant a registration (utility model)

Free format text: JAPANESE INTERMEDIATE CODE: A01

Effective date: 20100713

A01 Written decision to grant a patent or to grant a registration (utility model)

Free format text: JAPANESE INTERMEDIATE CODE: A01

A61 First payment of annual fees (during grant procedure)

Free format text: JAPANESE INTERMEDIATE CODE: A61

Effective date: 20100714

FPAY Renewal fee payment (event date is renewal date of database)

Free format text: PAYMENT UNTIL: 20130723

Year of fee payment: 3

R150 Certificate of patent or registration of utility model

Free format text: JAPANESE INTERMEDIATE CODE: R150

R250 Receipt of annual fees

Free format text: JAPANESE INTERMEDIATE CODE: R250

R250 Receipt of annual fees

Free format text: JAPANESE INTERMEDIATE CODE: R250

R250 Receipt of annual fees

Free format text: JAPANESE INTERMEDIATE CODE: R250

LAPS Cancellation because of no payment of annual fees