JP2005290876A - 可動水路床を有するゲート設備 - Google Patents

可動水路床を有するゲート設備 Download PDF

Info

Publication number
JP2005290876A
JP2005290876A JP2004108587A JP2004108587A JP2005290876A JP 2005290876 A JP2005290876 A JP 2005290876A JP 2004108587 A JP2004108587 A JP 2004108587A JP 2004108587 A JP2004108587 A JP 2004108587A JP 2005290876 A JP2005290876 A JP 2005290876A
Authority
JP
Japan
Prior art keywords
gate
water channel
movable
channel floor
laying device
Prior art date
Legal status (The legal status is an assumption and is not a legal conclusion. Google has not performed a legal analysis and makes no representation as to the accuracy of the status listed.)
Granted
Application number
JP2004108587A
Other languages
English (en)
Other versions
JP4495999B2 (ja
Inventor
Masahiro Hayashi
昌浩 林
Takahiro Kitamikado
隆裕 北御門
Current Assignee (The listed assignees may be inaccurate. Google has not performed a legal analysis and makes no representation or warranty as to the accuracy of the list.)
Mizota Co Ltd
Original Assignee
Mizota Co Ltd
Priority date (The priority date is an assumption and is not a legal conclusion. Google has not performed a legal analysis and makes no representation as to the accuracy of the date listed.)
Filing date
Publication date
Application filed by Mizota Co Ltd filed Critical Mizota Co Ltd
Priority to JP2004108587A priority Critical patent/JP4495999B2/ja
Publication of JP2005290876A publication Critical patent/JP2005290876A/ja
Application granted granted Critical
Publication of JP4495999B2 publication Critical patent/JP4495999B2/ja
Anticipated expiration legal-status Critical
Expired - Fee Related legal-status Critical Current

Links

Images

Landscapes

  • Barrages (AREA)
  • Structures Of Non-Positive Displacement Pumps (AREA)

Abstract

【課題】低水位運転を可能としポンプ運転の信頼性を向上させたゲート設備の提供。
【解決手段】水門1の排水口2の下部の水路の底部に段落ち12を設け、この段落ち12に水路床敷設装置13を設けた。水路床敷設装置13をゲートポンプ11を有するゲート3の上下動作と連動させ、強制的に可動させる。ゲート3が開き水路の流れが自然流のとき水路床を水平状態にし、ゲート3が閉じ水路の流れが強制排水のとき水路床を段落ち12内に屈曲させてゲートポンプ11の吸い込み口を下げる。水路の流れが緩やかになり、ゲートポンプ11による空気吸い込み渦の影響が少なくなる。
【選択図】 図2

Description

本発明は、水路床が可動するゲート設備に関する。更に詳しくは、河川等を横断して設けられる水門の排水口を開閉するゲート設備において、ゲートポンプを有するゲート下部の水路底を可動可能な水路床にしたゲート設備に関する。
河川等の水路には多くの水門が設けられ、この水門には排水口があり、水中ポンプを有するゲートが備えられていることが多い。ゲートに水中ポンプが直接配置されているが、この水中ポンプはゲートが閉じたとき水路の水を強制的に排水するためのものである。この水中ポンプは種々のタイプがあり、同一出願人もゲートポンプ(本出願人の登録商標)として種々提案している。
このゲートポンプは主にポンプ回転軸の設置向きによって異なり、横軸形式のものと立軸形式のものがある。又、ポンプの吸い込み性能を向上させるためには、吸い込み口を出来るだけ水路底に近く設置しなければならない。水中ポンプは、水路側の事情で水位が低下した場合にポンプの必要没入深さを確保できないと、空気吸込渦、水中渦、旋回流等が発生し、吸い込みが悪くなる。立軸ポンプ又は立吸込管の最低運転可能水位は、一般にベルマウスの河床からの高さ(底面隙間C1)と、空気吸込渦を回避するために必要なベルマウスから自由水面までの距離(没水深さS1)より決定される。
ここでC1を小さくすると、吸い込み口の周辺を通過する流速は通過面積の減少に反比例して増加し、水中渦や旋回流の発生が起こりやすくなる。又、S1を小さくするとベルマウスから自由水面までの距離が短くなるため、空気吸い込み渦が発生しやすくなる。これらの空気吸い込み渦、水中渦、旋回流は揚水量低下、キャビテーション、揚程低下などのポンプの性能低下や騒音、振動、水中軸受け磨耗、羽根の壊食などの機械的問題を引き起こす。
従って、これらを回避するため、連続的な渦吸い込みが起きないよう一般的にポンプ口径dに対しC1≧d、S1≧1.5〜2dとなるように決められている。C1寸法、S1寸法が小さければ、掘り込み等をしないで低い水位まで運転は可能である。特に、最低運転可能水位を下げる必要がある場合、立軸ポンプでは河床を掘り込んでいる。一方、横軸ポンプについては、ポンプ上流側で空気吸い込み渦が発生しやすく、これを回避するため、立軸ポンプ同様にポンプ取り付け高さC2、必要没水深さS2の推奨値が決められている。
これを解決したゲートポンプの設備として、横軸のものでは例えば特許文献1及び特許文献2で低水位運転可能とする構成のものが提案されている。これはポンプの羽根車軸を傾斜させ、吸い込み口を水路底にできるだけ近づける構成のものであり、場合によってはピットを堀り、ポンプ吸い込み口を水底に寄せるようにしている。立軸ポンプの場合でピットを掘り吸い込み口を水底近くまで寄せている例として、例えば特許文献3に示す事例のものがある。これはピット内に河床を上下動させる装置を設ける構成のものである。
特開2001−304190号公報 特開2002−21050号公報 実公平7−21659号公報
しかしながら、前述の従来のゲート設備の技術は、例えば特許文献1や特許文献2に示されるもので横軸ポンプを傾斜させた場合は、河床と干渉するおそれがあるので、河床に段落ち(「ピット」ともいう)を設けることが多い。この従来の段落ち構成は、ごみや、土砂等の堆積があり、ポンプを運転位置まで下げることができなかった。又、ポンプにごみが絡まってポンプを破損させる原因ともなっていた。
段落ちを設けない場合は、ポンプが設置される場所の水位条件により、最低運転可能水位が確保できない場合はポンプを小型分割にし、最低運転可能水位を確保する方法がある。ポンプを小型分割により設備の占めるる面積が広がるという欠点が生じる。また、段落ちを設けない場合は、低水位になると、流速が早くなり、空気吸い込み渦が発生する。このようにポンプを傾斜させても設置構成には限界があり完全とは言い難い構成であった。
又、前述の特許文献3に示された立軸ポンプの事例では、土砂等の堆積物に対する対策が十分でないという問題点がある。上下動させる装置は、カバーが上下動するのみの構成であるから、ピット内にポンプ吸い込み口を寄せてピットを覆うカバーが下がったとき、ピットとカバーの間に段差が生じ、又、段差構成は水の流れが段落ちで急激に変化して乱れるので、空気吸い込み渦が発生し易い。更に、前述のようにポンプ運転時の段落ち内への土砂堆積の問題点も解消できておらず、塵芥類が絡みつく構成になっている。このため水流はスムースではない。又、水密が施されていないので、土砂等がピット内に入り込み堆積してしまう。
本発明は、このような従来の問題点を解決するために開発されたもので、次の目的を達成する。本発明の目的は、水路床を強制的に上下動させる屈曲構成にして、土砂等の堆積物の影響を受けず、空気吸い込み渦等の影響を少なくしたゲートポンプ設備を提供することにある。具体的にいうと、自然流下時は、水路床を引き上げて河床をフラットにし、ごみや土砂の堆積をなくし、ポンプ運転時は、水路床を押し下げて略V字状にし、上流側の傾斜を緩やかにすることで、水路の流速を穏やかに減速し、空気吸い込み渦等の影響を少なくして低水位でのポンプ運転の信頼性を向上させることにある。
本発明は、前記目的を達成するために次の手段をとる。
本発明1の可動水路床を有するゲート設備は、水路に設置されるゲート設備であって、前記水路の排水口に設けられ上下方向に開閉移動するゲートと、このゲートに設けられ前記ゲートが閉じたとき前記水路の水を排水させる水中ポンプと、前記排水口下部近傍の前記水路の底部に設けられ、前記ゲートが下降したとき前記水中ポンプの下部位置の水路底部に空間を構成する段落ちと、この段落ちに設けられ、上下方向に可動する水路床敷設装置と、この水路床敷設装置を可動させる可動装置とからなる。
本発明2の可動水路床を有するゲート設備は、本発明1において、前記可動装置は、前記ゲートとの間に設けられ前記水路床敷設装置を前記ゲート開閉動作に連動して引き上げ又は押下げ可能とする機構の装置であることを特徴とする。
本発明3の可動水路床を有するゲート設備は、本発明1において、前記水路床敷設装置は、可動する2つの部材から構成され、前記ゲートの上昇端では水平面を維持し前記ゲートの下降端では緩やかな屈曲面構成となることを特徴とする。
本発明4の可動水路床を有するゲート設備は、本発明1において、前記水路床敷設装置は、前記段落ちとの間で水密状態を維持する水密装置を設けた構成になっていることを特徴とする。
本発明5の可動水路床を有するゲート設備は、本発明3において、前記可動する2つの部材は、略V字形状を有して屈曲する構成のものであることを特徴とする。
本発明6の可動水路床を有するゲート設備は、本発明3において、前記可動装置は、前記水路床敷設装置に設けられ水中で浮力を生じて上下方向に可動するフロート体であることを特徴とする。
本発明7の可動水路床を有するゲート設備は、本発明3において、前記可動装置は、前記段落ち又は前記水路床敷設装置に設けられ、拡縮して前記水路床敷設装置を可動させる拡縮部材であることを特徴とする。
本発明8の可動水路床を有するゲート設備は、本発明3において、前記可動装置は、前記排水口近傍のコンクリート壁体に設けられ、一端を前記水路床敷設装置に取り付けられた引き上げ部材を介して駆動し前記水路床敷設装置を引き上げる装置であることを特徴とする可動水路床を有するゲート設備。
本発明9の可動水路床を有するゲート設備は、本発明3において、前記可動装置は、前記水路床敷設装置に設けられ前記水路床敷設装置を屈曲させるシリンダであることを特徴とする。
本発明の可動水路床を有するゲート設備は、従来ポンプ運転が不可能であった水路でもゲートポンプの設置が可能となり、低水位でのポンプ運転が可能となった。屈曲自在な水路床を設けたことで、自然流下時は河床をフラットにし、段落ちがなくごみや土砂等の堆積がない状態となった。又、強制排水の場合には、水路床を段落ち内にV字状に屈曲させて退避させ、ポンプの低水位位置設定を可能とさせた。この結果、水路の水流を緩やかに減速させ、空気吸い込み渦等の影響がなくなった。又、大口径のゲートポンプでも設置が可能となった。必要な運転水位を確保しポンプ運転の信頼性が向上し、更に、この状態であっても土砂等の堆積物の影響がなくなった。
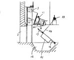
本発明による可動水路床を有するゲート設備の実施の形態を図にもとづき、詳細に説明する。図1は、本発明の可動水路床を有するゲート設備の全体構成を示す正面図である。図2は可動水路床を有するゲート設備の全体構成を示す側面図で、水路の流れが自然流下の状態を示している。図3は、図2と同様の側面図であるが、水路の流れが強制排水の状態を示した部分図である。
水路は、河川であったり市街地の用水路等の水路を対象としている。実施の形態においては、水路を河川に適用したものとして説明する。この河川には、本川と支川の境界点、あるいは河川から海に水路の形態が変わるような所があるが、このようなところには一般に水門が設置されている。この水門の形状は種々あるが、本実施の形態においては略四角形の門体の水門として説明する。また、水路の流れが自然流下の状態のときの自然流下方向を矢印F(図2参照)で示している。
この水門1は、コンクリートで構成され、下部が排水口2になっていて、ゲート3がこの排水口2を開閉する構成になっている。水門1の上部には、ゲート3を開閉するための開閉駆動装置4が取り付けられている。又、水門1の両側には、上下方向に案内ガイド5が設けられている。この案内ガイド5は溝を有する鋼板で、水門1のコンクリートに埋設されている。
一方、ゲート3は略四角形状で、排水口2を覆う状態で設置され、両側の側面には案内ローラ6が組み込まれている。この案内ローラ6は、両側に各々2つのローラを間隔を有して上下方向に設けられたものである。この案内ローラ6は水門1側の案内ガイド5の溝内にはまり込み、ゲート3は案内ローラ6を介してこの案内ガイド5に規制され上下方向に移動する。本実施の形態では、案内ローラを有したゲートとして説明しているが、小規模の水門には案内ローラを有しないゲートも使用されている。ゲートの案内はどのような形式でもよい。ゲート3の上部には、吊り金具7が設けられ、ラック棒8にピン9を介して連結している。
ラック棒8には長手方向にラック8aが設けられている。このラック棒8の移動機構は開閉駆動装置4内にあり、図示していないが公知の手段、例えば歯車とラックの噛み合わせの機構で、ラック棒8を上下方向に移動させることができる。この移動操作は開閉駆動装置4のハンドル4aを回転させて行なうこともできる。このラック棒8はゲート3のバランス維持のため2つ設けられている。ゲート3の幅が小さい場合は1つでもよい。ラック棒8の上端部はカバー10で覆われている。このような構成によりゲート3は図示しない電動モータの駆動による開閉駆動装置4で開閉を行なう。例えば、ゲート全閉の信号を受けポンプの運転を始める等の制御を行なっている。また、メンテナンス等においては、ハンドル4a操作で上下方向に移動させることができる。
他方、ゲート3の下部には水中ポンプであるゲートポンプ11が2つ設けられている。ゲート3の幅が狭く、水量が少ない場合は1つのゲートポンプ11でもよい。このゲートポンプ11は横軸タイプのもので、ポンプ軸を河川流の方向に傾斜させて設置し、吸い込み口を河川床に近い位置になるようにしている。ゲートポンプ11については、前述の特許文献に詳述されているので、構成上の詳細説明は省略する。ゲートポンプ11は、ゲート3が下がり排水口2を閉じたとき、水路の水を強制的に排水するためのポンプで、水流はポンプ内を通過する。
ゲート3下方向に当たる水門1の下部河床には段落ち12(ピット)が設けられている。この段落ち12の深さは、ゲートポンプ11がゲート3の下り動作で下方向位置したときの河床と干渉しない範囲の深さである。又、この段落ち12の底面は、上流側及び下流側に緩やかな傾斜面を構成している。この段落ち12には、本発明の主要部をなし上下方向に可動する水路床敷設装置13が設けられている。
この水路床敷設装置13の構造の詳細を示したのが図4及び図5である。図4は、水路床敷設装置13の詳細を示す断面図で、図5は、図4のX矢視図で、水路床敷設装置13の平面図である。次にこの水路床敷設装置13の構成について説明する。段落ち12は水路底に略三角形状に、言い換えるとV字状に、即ち後述する2つの鋼板の屈曲形状に沿った形状であり、その一端、即ち河床の水流方向に沿った段落ち12の端部12aに回転ヒンジ14が設けられている。この回転ヒンジ14は、河床のコンクリートに埋設固定された第1戸当金具15に取り付けられている。
一方、水路床敷設装置13の本体をなす河床板は、鋼板で構成され、第1鋼板16と第2鋼板17の2つに分割され、屈曲可能な構成になっている。第1鋼板16と第2鋼板17は、ともに補強されたフレーム構成のものである。第1鋼板16はその端部16aが回転ヒンジ14に回動可能に連結している。一方、第1鋼板16の他方の他端16bには、第2鋼板17の端部17aが突き当て状に蝶番18を介して連結している。従って、第1鋼板16と第2鋼板17とはこの蝶番18を支点に相互に折り曲げた状態で屈曲する。
第2鋼板17の他方の端部17bは段落ち12の端部12bの壁面に接している。この段落ち12の端部12b壁面で、第2鋼板17の接触する部分には、第2戸当金具19がコンクリートに埋設されて設けられている。第1鋼板16の上面で第2鋼板17寄りには、引き上げ金具20が設けられている。この引き上げ金具20には支軸21を介して駆動棒22が取り付けられている。引き上げ動作のとき、駆動棒22は引き上げ金具20に対し若干揺動するのでそのための支軸21を設けている。この引き上げ金具20は、第2鋼板17に設けられてもよい。
駆動棒22は第1鋼板16の両側に各々設けられている。又、この第1鋼板16と第2鋼板17には水密装置が設けられている。段落ち12の端部に設けられた第1戸当金具15の上面の端部、即ち水流を横切る方向の全幅にわたって、第1水密装置23が取り付けられている。この第1水密装置23は板状のもので、一端が第1戸当金具15に固定され、他端が第1鋼板16の回転ヒンジ14側の端部16aを覆っている。従って、段落ち12に対し第1戸当金具15、回転ヒンジ14、第1鋼板16との間で生じる隙間をこの第1水密装置23で覆い、水流中の塵芥類が段落ち12内に浸入するのを防止している。
第1鋼板16の側面側にも第3戸当金具24が第1鋼板16の屈曲動作範囲にわたってコンクリートに埋設されており、この第3戸当金具24に接する状態で第1鋼板16の側面に第2水密装置25が設けられている。この第2水密装置25は回動するゲート3等に適用されている公知の水密装置と同様構成である。他方、第2鋼板17側の側面側にも第4戸当金具26が第2鋼板17の屈曲動作範囲にわたってコンクリートに埋設されており、この第4戸当金具26は第3戸当金具24と一体であってもよい。
この第4戸当金具26に接する状態で第2鋼板の側面に第1鋼板16と同様構成の第3水密装置27が設けられている。蝶番18側と反対側の第2鋼板17の端部17bは前述のとおり第2戸当金具19に接していて、屈曲動作で第2鋼板17が可動するとき、その動きに応じて端部17bは自重等で第2戸当金具19上を接しながら移動する。屈曲動作のとき蝶番18の部分にも隙間が生じるので、この部分の第1鋼板16の端部16bと第2鋼板17の端部17aにも水密構成が施され第4水密装置28を構成している。このような水密構成により土砂等のピット内浸入を防止することができる。
第1鋼板16の端部16bと第2鋼板17の端部17aが突き合わせられたとき、両鋼板は密着するようになっている。段落ち12に対する第1鋼板16と第2鋼板17の構成は以上のようになっていて、段落ち12内に塵芥類を浸入させずに屈曲動作を可能としている。この屈曲動作は、ゲート3が開き水門1が開放されるとき、河川の流れは自然流下となるので、これに合わせ駆動棒22を介して第1鋼板16及び第2鋼板17を上方に引き上げ、この2つの鋼板の面が河川の水路底に一直線上になるように一致させ、河川床を平坦にして水平状態を維持する。この状態は通常の河川床と同一平面の流れと同様になるので、塵芥類や土砂等は河川床に留まることなく水流によりこの上面をスムースに流れ通過する。
ゲート3が閉じるときは、自然流が遮断されるので、ゲート3に設けられたゲートポンプ11で強制的に水路の水を排水することになる。この場合は、駆動棒22が下がり、これに伴い第1鋼板16と第2鋼板17は自重等で回転ヒンジ14、蝶番18を支点に回動し、屈曲しながら段落ち12内に下がる。この第1鋼板16と第2鋼板17は自重で下がるが、尚も下方の所定位置まではこの駆動棒22によって強制的に押し下げることも可能である。屈曲動作は前述のように駆動棒22の上下動作で行なうが、次にその動作のための構成について説明する。
ゲート3には、駆動棒22の案内をしながら引き上げるための案内部材29が設けられている。この案内部材29は、ゲート3の両端部に設けられ、駆動棒22を規制しながら案内する案内部29aが設けられたものである。又、駆動棒22の端部22aには係止部材30が設けられ、駆動棒22が案内動作の過程でこの案内部材29から外れないように設けられたものである。この案内部29aは穴を有しているものであるが、溝であってもよい。ゲート3が上昇し排水口2を開放するときは、ゲート3の上昇に伴い案内部材29は駆動棒22と相対的に動き、当初は案内部材29のみが上昇する。
次にこの上昇過程で駆動棒22の係止部材30が案内部材29の端部に衝接すると、駆動棒22は案内部材29と一体になり共に上昇する。図6に示すように、駆動棒22の端部は雄ねじとなっていて、ナットである係止部材30がこの雄ねじにねじ込まれ固定されている。この係止方法はピン方式であってもよい。駆動棒22が上昇すると、このとき第1鋼板16及び第2鋼板17が引き上げられる。ゲート3が上昇端に位置したとき第1鋼板16及び第2鋼板17は水平状態の面構成となり、河川床の底面に一致する。
ゲート3が下がり排水口2を閉じるときは、ゲート3の下降とともに第1鋼板16及び第2鋼板17も自重等で下がる。第1鋼板16及び第2鋼板17が所定位置、即ち、段落ち12の底部側でゲートポンプ11の吸い込み口11aの適正位置まで下がると、第1鋼板16及び第2鋼板17はこの位置で下降を停止し、駆動棒22は下降しないので案内部材29のみが駆動棒22との相対動作で下降する。必要があれば、途中に係止部材を設けた(図示せず)駆動棒22を強制的に下げて、水路床敷設装置13をさらに下方へ屈曲させることもできる。第1鋼板16及び第2鋼板17の下降位置は、決められた位置になっているが、ストッパー等により位置調整を可能とする構成にしてもよい。
下降端に達し排水口2がゲート3により閉じられると、ゲートポンプ11は河川床面よりさらに下がり、ゲートポンプ11の吸い込み口11aが段落ち12の空間部12cに位置する。水門1の下部に位置する河川床をこのような構成にすることで、水路の流れを緩やかに減速し、又空気吸い込み渦等の影響を少なくすることができる。図7は、段落ち12の点検を行なう場合の構成を示している。水路床敷設装置13は、時間の経過とともにごみが付着したり、流れの中で塵芥類が絡みつくこともあり、完全に段落ち12への土砂等による浸入を防止することはできない。
従って、段落ち12に設置された水路床敷設装置13に覆われた段落ち12の内部は水の流れもないこともあってヘドロ状になることもある。このため必要に応じて点検を行なう。点検を行なうときは水路床敷設装置13に覆われた段落ち12の内部が開放状態でなければならない。このためゲート3を図2に示す状態より更に上方へ移動させる。即ち、駆動棒22を案内部材29に係止させ、水路床敷設装置13の第1鋼板16と第2鋼板17を同一面状態を維持して回転ヒンジ14を支点に上方に揺動させ引き上げる。これにより水路床敷設装置13の下流側が開放され作業者が入って段落ち12内部の点検ができ、また清掃もできる。
次に水路床敷設装置13を可動させる可動装置に関わる他の実施の形態について説明する。図8は、水路床敷設装置13の下部に可動装置としてのフロート31を設けた例である。このフロート31は内部に空気を密封して閉じ込めた箱体で浮力で浮き上がる。なお、箱体は鉄板等の材料で形成されるのが好ましい。図8はゲート3が上昇して水路が開放状態にあることを示している。この場合水路の流れは自然流下であり、フロート31には浮力により上方へ移動する力が作用して、水路床敷設装置13は水平状態を維持している。一方、ゲート3には水路床敷設装置押し下げ用パイプ32が設けられ、その先端部32aは水中ポンプの下部に張出して位置している。
ゲート3の移動で水路を閉じるときは、ゲート3が下降し水路底に達したときに、図9に示すように水路床敷設装置押し下げ用パイプ32の先端部32aが水路床敷設装置13の第1鋼板16に当接し、この第1鋼板16及び第2鋼板17を段落ち12内部に押し込む。このとき水路底と第1鋼板16及び第2鋼板17との間に空間部12cが構成される。この空間部12cにはゲートポンプ11の一部が部分的に装入可能である。図10はメンテナンスの場合で、水路床敷設装置13を水路底より上方へ引き上げる場合に、排水口2近傍のコンクリート壁面に固定された引き上げ装置33によりワイヤー34を介して持ち上げる構成を示す。この場合ゲート3は上昇し所定位置に待機している。
図11は、水路床敷設装置13の下部に可動装置としての袋体35を設けた例である。この袋体35は内部に空気または水を入れたり出したりして拡縮することが可能な袋である。送り込まれた空気又は水が密封して閉じ込められると弾力で変形自在な構成になる。この袋体35は、段落ち12又は水路床敷設装置13に設けられる。空気又は水を密封して閉じ込めたとき袋体35は膨らみ水路床敷設装置13又は段落ち12の底面に接し、この水路床敷設装置13を持ち上げ水路底面と一致させ図11に示すように水平状態を維持する。図12は、ゲート3が降下したとき袋体35から空気又は水を抜き萎ませ、水路床敷設装置13を屈曲させた状態を示す。図13は図10と同様に、メンテナンスの場合で、水路床敷設装置13を水路底より上方へ引き上げる場合に、排水口2近傍の壁面に固定された引き上げ装置33によりワイヤー34を介して持ち上げる構成を示す。この場合のゲート3も上昇し所定位置に待機している。
図14は、水路床敷設装置13の下部に可動装置としてのシリンダー36を設けた例である。このシリンダー36は本体が第1鋼板16に取り付けられ、シリンダーロッド36aが第2鋼板17に固定され、シリンダーロッド36aの伸縮で水路床敷設装置13が水平状態になったり、屈曲したりする。図14は、ゲート3が上昇したときで、水路床敷設装置13はシリンダーロッド36aの縮みで水平状態を維持し水路底面と一致させている。図15はゲート3が降下したときの状態で、シリンダーロッド36aが伸び水路床敷設装置13が屈曲した状態を示す。図16は、図10、図13と同様に、メンテナンスの場合で、水路床敷設装置13を水路底より上方へ引き上げる場合に、排水口2近傍の壁面に固定された引き上げ装置33によりワイヤー34を介して持ち上げる構成を示す。この場合のゲート3も上昇し所定位置に待機している。
以上、本発明の実施の形態について説明したが、本発明は、これに限定されないことはいうまでもない。本発明の特徴は、以上の説明のとおり、運転可能最低水位をさらに低く設定することが可能であり、強制排水時は水路床を押し下げて必要な運転水位を確保し、水路の水流を穏やかに減速し、空気吸い込み渦等の影響を少なくし、自然流下時は水路床を引き上げてフラットにし、ごみや土砂の堆積をなくし、ポンプ運転の信頼性を向上させたことである。従って、この趣旨に合致する構成であればいずれも適用される。
例えば、可動装置はバネ等であってもよく、水路床敷設装置は河床に平行に上下方向に可動させる構成であってもよい。又、図2〜図7において、可動装置の引き上げ部材は、駆動棒として説明したがワイヤ、ロープあるいはチェーン等であってもよい。更に、水路床敷設装置は2つの鋼板による屈曲部材として説明したが、例えば1つのバネ鋼板であってもよい。ゲートが下降したとき水中ポンプ下部位置の空間は押し棒あるいは押し下げ用パイプで押しバネ鋼板を弾力で凹ませ、ゲートが上昇するとき弾力で水平状態に復元する構成である。
図1は、可動水路床を有するゲート設備の正面図である。 図2は、可動水路床を有するゲート設備の側面図でゲートが上昇端にある場合を示す。 図3は、可動水路床を有するゲート設備の側面図でゲートが下降端にある場合を示す部分図である。 図4は、水路床敷設装置の詳細を示す断面図である。 図5は、水路床敷設装置の部分平面図である。 図6は、図2のA部を示す可動装置の部分詳細図である。 図7は、メンテナンスの場合で、水路床敷設装置を水路底より上方へ引き上げ開放した状態を示す側面図である。 図8は、水路床敷設装置に可動装置としてフロートを設けた他の実施の形態を示す側面図で、ゲートが上昇し水路床敷設装置が水平状態の場合を示す。 図9は、水路床敷設装置に可動装置としてフロートを設けた他の実施の形態を示す側面図で、ゲートが下降し水路床敷設装置が屈曲状態の場合を示す。 図10は、水路床敷設装置に可動装置としてフロートを設けたメンテナンスの場合の他の実施の形態を示す側面図で、水路床敷設装置を水路底より上方へ引き上げ開放した状態を示す。 図11は、水路床敷設装置に可動装置として袋体を設けた他の実施の形態を示す側面図で、ゲートが上昇し水路床敷設装置が水平状態の場合を示す。 図12は、水路床敷設装置に可動装置として袋体を設けた他の実施の形態を示す側面図で、ゲートが下降し水路床敷設装置が屈曲状態の場合を示す。 図13は、水路床敷設装置に可動装置として袋体を設けたメンテナンスの場合の他の実施の形態を示す側面図で、水路床敷設装置を水路底より上方へ引き上げ開放した状態を示す。 図14は、水路床敷設装置に可動装置としてシリンダーを設けた他の実施の形態を示す側面図で、ゲートが上昇し水路床敷設装置が水平状態の場合を示す。 図15は、水路床敷設装置に可動装置としてシリンダーを設けた他の実施の形態を示す側面図で、ゲートが下降し水路床敷設装置が屈曲状態の場合を示す。 図16は、水路床敷設装置に可動装置としてシリンダーを設けたメンテナンスの場合の他の実施の形態を示す側面図で、水路床敷設装置を水路底より上方へ引き上げ開放した状態を示す。
符号の説明
1…水門
2…排水口
3…ゲート
4…開閉駆動装置
8…ラック棒
11…ゲートポンプ
12…段落ち
12a、12b…端部
13…水路床敷設装置
22…駆動棒
29…案内部材

Claims (9)

  1. 水路に設置されるゲート設備であって、
    前記水路の排水口に設けられ上下方向に開閉移動するゲートと、
    このゲートに設けられ前記ゲートが閉じたとき前記水路の水を排水させる水中ポンプと、
    前記排水口下部近傍の前記水路の底部に設けられ、前記ゲートが下降したとき前記水中ポンプの下部位置の水路底部に空間を構成する段落ちと、
    この段落ちに設けられ、上下方向に可動する水路床敷設装置と、
    この水路床敷設装置を可動させる可動装置と
    からなる可動水路床を有するゲート設備。
  2. 請求項1に記載の可動水路床を有するゲート設備において、
    前記可動装置は、前記ゲートとの間に設けられ前記水路床敷設装置を前記ゲートの開閉動作に連動して引き上げ又は押下げを可能とする機構の装置であることを特徴とする可動水路床を有するゲート設備。
  3. 請求項1に記載の可動水路床を有するゲート設備において、
    前記水路床敷設装置は、可動する2つの部材から構成され、前記ゲートの上昇端では水平面を維持し前記ゲートの下降端では緩やかな屈曲面構成となることを特徴とする可動水路床を有するゲート設備。
  4. 請求項1に記載の可動水路床を有するゲート設備において、
    前記水路床敷設装置は、前記段落ちとの間で水密状態を維持する水密装置を設けた構成になっていることを特徴とする可動水路床を有するゲート設備。
  5. 請求項3に記載の可動水路床を有するゲート設備において、
    前記可動する2つの部材は、略V字形状を有して屈曲する構成のものであることを特徴とする可動水路床を有するゲート設備。
  6. 請求項3に記載の可動水路床を有するゲート設備において、
    前記可動装置は、前記水路床敷設装置に設けられ水中で浮力を生じて上下方向に可動するフロート体であることを特徴とする可動水路床を有するゲート設備。
  7. 請求項3に記載の可動水路床を有するゲート設備において、
    前記可動装置は、前記段落ち又は前記水路床敷設装置に設けられ、拡縮して前記水路床敷設装置を可動させる拡縮部材であることを特徴とする可動水路床を有するゲート設備。
  8. 請求項3に記載の可動水路床を有するゲート設備において、
    前記可動装置は、前記排水口近傍のコンクリート壁体に設けられ、一端を前記水路床敷設装置に取り付けられた引き上げ部材を介して駆動し前記水路床敷設装置を引き上げる装置であることを特徴とする可動水路床を有するゲート設備。
  9. 請求項3に記載の可動水路床を有するゲート設備において、
    前記可動装置は、前記水路床敷設装置に設けられ前記水路床敷設装置を屈曲させるシリンダであることを特徴とする可動水路床を有するゲート設備。
JP2004108587A 2004-03-31 2004-03-31 可動水路床を有するゲート設備 Expired - Fee Related JP4495999B2 (ja)

Priority Applications (1)

Application Number Priority Date Filing Date Title
JP2004108587A JP4495999B2 (ja) 2004-03-31 2004-03-31 可動水路床を有するゲート設備

Applications Claiming Priority (1)

Application Number Priority Date Filing Date Title
JP2004108587A JP4495999B2 (ja) 2004-03-31 2004-03-31 可動水路床を有するゲート設備

Publications (2)

Publication Number Publication Date
JP2005290876A true JP2005290876A (ja) 2005-10-20
JP4495999B2 JP4495999B2 (ja) 2010-07-07

Family

ID=35324120

Family Applications (1)

Application Number Title Priority Date Filing Date
JP2004108587A Expired - Fee Related JP4495999B2 (ja) 2004-03-31 2004-03-31 可動水路床を有するゲート設備

Country Status (1)

Country Link
JP (1) JP4495999B2 (ja)

Cited By (4)

* Cited by examiner, † Cited by third party
Publication number Priority date Publication date Assignee Title
CN111155493A (zh) * 2020-02-21 2020-05-15 诸暨新伏给排水设备有限公司 一种基于水利工程的水道排水闸
CN112900371A (zh) * 2021-01-15 2021-06-04 蒋红英 一种清淤防卡死水利闸门设备
CN114370406A (zh) * 2022-02-16 2022-04-19 黄河勘测规划设计研究院有限公司 明渠渠道输水能力提升装置
CN115539443A (zh) * 2022-09-30 2022-12-30 浙江江南春建设集团有限公司 一种水泵壳体固定结构及其施工方法

Citations (9)

* Cited by examiner, † Cited by third party
Publication number Priority date Publication date Assignee Title
JPH01226910A (ja) * 1988-03-07 1989-09-11 Daido Kiko Kk 手動ワイヤーロープ式転倒堰用開閉装置
JPH0721659Y2 (ja) * 1990-01-18 1995-05-17 溝田工業株式会社 ゲート取付ポンプにおける吸込用ピット装置
JPH09221736A (ja) * 1996-02-15 1997-08-26 Kurimoto Ltd 起伏ゲート
JPH11323884A (ja) * 1998-05-13 1999-11-26 Hitachi Ltd 排水ポンプシステム
JP2001020261A (ja) * 1999-07-08 2001-01-23 Sanuki Tekko Kk 可撓性膜起伏ゲート
JP2001064949A (ja) * 1999-08-27 2001-03-13 Hitachi Zosen Corp 緩流化ゲート
JP2003064651A (ja) * 2001-08-27 2003-03-05 Akio Iida 起伏ゲート
JP2003253912A (ja) * 2002-03-01 2003-09-10 Kumagai Gumi Co Ltd 水位追従式起伏ゲート装置
JP2004003238A (ja) * 2002-05-31 2004-01-08 Fudo Constr Co Ltd 高潮防止用水門

Patent Citations (9)

* Cited by examiner, † Cited by third party
Publication number Priority date Publication date Assignee Title
JPH01226910A (ja) * 1988-03-07 1989-09-11 Daido Kiko Kk 手動ワイヤーロープ式転倒堰用開閉装置
JPH0721659Y2 (ja) * 1990-01-18 1995-05-17 溝田工業株式会社 ゲート取付ポンプにおける吸込用ピット装置
JPH09221736A (ja) * 1996-02-15 1997-08-26 Kurimoto Ltd 起伏ゲート
JPH11323884A (ja) * 1998-05-13 1999-11-26 Hitachi Ltd 排水ポンプシステム
JP2001020261A (ja) * 1999-07-08 2001-01-23 Sanuki Tekko Kk 可撓性膜起伏ゲート
JP2001064949A (ja) * 1999-08-27 2001-03-13 Hitachi Zosen Corp 緩流化ゲート
JP2003064651A (ja) * 2001-08-27 2003-03-05 Akio Iida 起伏ゲート
JP2003253912A (ja) * 2002-03-01 2003-09-10 Kumagai Gumi Co Ltd 水位追従式起伏ゲート装置
JP2004003238A (ja) * 2002-05-31 2004-01-08 Fudo Constr Co Ltd 高潮防止用水門

Cited By (5)

* Cited by examiner, † Cited by third party
Publication number Priority date Publication date Assignee Title
CN111155493A (zh) * 2020-02-21 2020-05-15 诸暨新伏给排水设备有限公司 一种基于水利工程的水道排水闸
CN112900371A (zh) * 2021-01-15 2021-06-04 蒋红英 一种清淤防卡死水利闸门设备
CN114370406A (zh) * 2022-02-16 2022-04-19 黄河勘测规划设计研究院有限公司 明渠渠道输水能力提升装置
CN114370406B (zh) * 2022-02-16 2024-02-27 黄河勘测规划设计研究院有限公司 明渠渠道输水能力提升装置
CN115539443A (zh) * 2022-09-30 2022-12-30 浙江江南春建设集团有限公司 一种水泵壳体固定结构及其施工方法

Also Published As

Publication number Publication date
JP4495999B2 (ja) 2010-07-07

Similar Documents

Publication Publication Date Title
JP6775268B1 (ja) フラップゲート用水密構造体およびこれを備えたフラップゲート
JP5905152B1 (ja) フラップゲート
KR101023798B1 (ko) 다목적 이중 수문
KR101355949B1 (ko) 플랩게이트
JP4495999B2 (ja) 可動水路床を有するゲート設備
KR200355906Y1 (ko) 수문의 구조
JP2013096122A (ja) フラップゲート
KR101129042B1 (ko) 수문 구조체
KR101926810B1 (ko) 상향 밀폐식 비금속 수문
KR20100010477U (ko) 수문
JP3500116B2 (ja) 自動可動式魚道水路設備
JP5401334B2 (ja) 水路の臭気遮断装置
KR101407911B1 (ko) 래크바를 이용한 펌프일체형 수문
JP4115380B2 (ja) ピアレス型ゲート
KR100594630B1 (ko) 가변 수량 자동 수문
JPH11256555A (ja) 水力利用装置
JP4046517B2 (ja) 段階的開閉式ゲートポンプ設備
JP4486765B2 (ja) 排水路の排水設備
KR100890029B1 (ko) 수문 수납형 조력발전 방조제용 수로
JP2001311130A (ja) ゲート
KR102225204B1 (ko) 수문 시스템
KR970043621A (ko) 수위 조절장치가 부착된 수문
JP4066356B2 (ja) ポンプの取付構造
JP3972027B2 (ja) 遮水膜昇降式選択取水設備
KR100640150B1 (ko) 하천 수중보 및 댐용 하향식 수문의 덮개

Legal Events

Date Code Title Description
A621 Written request for application examination

Free format text: JAPANESE INTERMEDIATE CODE: A621

Effective date: 20070330

A977 Report on retrieval

Free format text: JAPANESE INTERMEDIATE CODE: A971007

Effective date: 20090126

A131 Notification of reasons for refusal

Free format text: JAPANESE INTERMEDIATE CODE: A131

Effective date: 20090128

A521 Written amendment

Free format text: JAPANESE INTERMEDIATE CODE: A523

Effective date: 20090316

TRDD Decision of grant or rejection written
A01 Written decision to grant a patent or to grant a registration (utility model)

Free format text: JAPANESE INTERMEDIATE CODE: A01

Effective date: 20100329

A01 Written decision to grant a patent or to grant a registration (utility model)

Free format text: JAPANESE INTERMEDIATE CODE: A01

A61 First payment of annual fees (during grant procedure)

Free format text: JAPANESE INTERMEDIATE CODE: A61

Effective date: 20100412

R150 Certificate of patent or registration of utility model

Ref document number: 4495999

Country of ref document: JP

Free format text: JAPANESE INTERMEDIATE CODE: R150

Free format text: JAPANESE INTERMEDIATE CODE: R150

FPAY Renewal fee payment (event date is renewal date of database)

Free format text: PAYMENT UNTIL: 20130416

Year of fee payment: 3

FPAY Renewal fee payment (event date is renewal date of database)

Free format text: PAYMENT UNTIL: 20160416

Year of fee payment: 6

R250 Receipt of annual fees

Free format text: JAPANESE INTERMEDIATE CODE: R250

R250 Receipt of annual fees

Free format text: JAPANESE INTERMEDIATE CODE: R250

LAPS Cancellation because of no payment of annual fees