JP2005290695A - Building wall body and building - Google Patents

Building wall body and building Download PDF

Info

Publication number
JP2005290695A
JP2005290695A JP2004103635A JP2004103635A JP2005290695A JP 2005290695 A JP2005290695 A JP 2005290695A JP 2004103635 A JP2004103635 A JP 2004103635A JP 2004103635 A JP2004103635 A JP 2004103635A JP 2005290695 A JP2005290695 A JP 2005290695A
Authority
JP
Japan
Prior art keywords
horizontal
wall
ventilation
heat insulating
insulating layer
Prior art date
Legal status (The legal status is an assumption and is not a legal conclusion. Google has not performed a legal analysis and makes no representation as to the accuracy of the status listed.)
Pending
Application number
JP2004103635A
Other languages
Japanese (ja)
Inventor
Tomoo Matsuyama
知生 松山
Current Assignee (The listed assignees may be inaccurate. Google has not performed a legal analysis and makes no representation or warranty as to the accuracy of the list.)
Kaneka Corp
Original Assignee
Kaneka Corp
Priority date (The priority date is an assumption and is not a legal conclusion. Google has not performed a legal analysis and makes no representation as to the accuracy of the date listed.)
Filing date
Publication date
Application filed by Kaneka Corp filed Critical Kaneka Corp
Priority to JP2004103635A priority Critical patent/JP2005290695A/en
Publication of JP2005290695A publication Critical patent/JP2005290695A/en
Pending legal-status Critical Current

Links

Images

Landscapes

  • Building Environments (AREA)

Abstract

<P>PROBLEM TO BE SOLVED: To provide a building wall body for holding facing material supporting strength and a ventilation cross section to shield flames under high temperature circumstances while permitting ventilation in a wall body inside a heat insulating layer. <P>SOLUTION: This building has a wall body air duct 17 provided inside the heat insulating layer 15 for communicating an underfloor space 2a with an attic space 13, the wall body 11 covering the heat insulating layer 15 with the facing material 14. It comprises a girth (a horizontal material) 22 laid along the outer periphery of a housing 1 in the horizontal direction and a lateral wood bar 55 extending in the longitudinal direction of the girth, driven into the side face of the girth 22 with metal nails (connection fittings) 53 and extending perpendicular to heat insulating layer portions 15a, 15b. Between the lateral wood bar 55 and the girth 22, a communication passage 51 is formed for communicating the underfloor space 2a with the hutch space 13. The facing material 14 is driven and supported into the lateral wood bar 55 with other metal nails (connection fittings). <P>COPYRIGHT: (C)2006,JPO&NCIPI

Description

本発明は、壁体での断熱をする断熱層の内側に床下空間と小屋裏空間との通気をとる壁体内通気路を有した在来軸組構造の建物の壁体、並びにこの壁体を備える木造住宅等の在来軸組構造の建物に関する。   The present invention relates to a wall body of a conventional frame structure having a wall ventilation path for ventilating an underfloor space and a shed space inside a heat insulation layer that insulates the wall body, and the wall body. The present invention relates to a conventional frame structure building such as a wooden house.

従来、断熱を施した住宅で、火災発生時に壁体内通気路を通って階上に延焼することを抑制するために、熱に感応して流通を遮断する防火遮断板を壁体内通気路に配設する技術が知られている(例えば、特許文献1参照。)。   Conventionally, in a heat-insulated house, in order to suppress the spread of fire through the wall ventilation path to the floor in the event of a fire, a fire barrier plate that shuts off the distribution in response to heat is arranged in the wall ventilation path. The technique to install is known (for example, refer patent document 1).

特許文献1の技術では、階上重量を支持する端根太などの支持材を避けて設けられた壁体内通気路に防火遮断板を取付け、この遮断板は複数の通気孔を有しているとともに各通気孔の内側に加熱によって発泡する無機質発泡体を設けている。この技術では、非火災時には通気孔により規制された通気断面積を確保して壁体内通気を可能とし、火災発生時には無機質発泡体の発泡により通気孔が閉じて、火炎が壁体内通気路を伝って他の空間に回って延焼することを抑制可能である。   In the technique of Patent Document 1, a fire barrier plate is attached to a wall vent passage provided avoiding a support material such as a joist that supports the floor weight, and the shield plate has a plurality of vent holes. An inorganic foam that foams by heating is provided inside each air hole. With this technology, in the non-fire, the ventilation cross-section restricted by the ventilation hole is secured and ventilation in the wall is possible.In the event of a fire, the ventilation hole is closed by foaming of the inorganic foam, and the flame travels through the ventilation path in the wall. It is possible to suppress spreading around other spaces.

又、外装材を支持する縦胴縁を外部火災から守るために、縦胴縁を釘打ち可能で防火性能を有する材料で形成し、この縦胴縁を縦枠材にこれとの間に下地面材を挟んで釘打ちするとともに、縦胴縁にこれを被う外装材を釘打ちする技術が知られている(例えば、特許文献2参照。)。
特開平8−135038号公報(段落0005−0018、図1−図4) 特開2000−234404号公報(段落0010−0011、図1)
In addition, in order to protect the vertical trunk edge that supports the exterior material from an external fire, the vertical trunk edge is formed of a material that can be nailing and has fire prevention performance, and the vertical trunk edge is provided between the vertical frame member and the vertical frame member. A technique is known in which nailing is performed with a ground material interposed therebetween, and an exterior material covering the vertical trunk edge is nailed (see, for example, Patent Document 2).
Japanese Laid-Open Patent Publication No. 8-135538 (paragraphs 0005-0018, FIGS. 1 to 4) JP 2000-234404 A (paragraphs 0010-0011, FIG. 1)

特許文献1は、壁体内通気路の流通を火災発生時に遮断する技術を開示しているに過ぎず、壁体内通気路に火炎が仮に及んだ場合に、外装材の支持強度を保持することについては言及していない。   Patent Document 1 only discloses a technique for blocking the circulation of the wall ventilation path when a fire occurs, and maintains the support strength of the exterior material when a flame temporarily reaches the wall ventilation path. Is not mentioned.

通常外装材は壁体での断熱のための断熱層の外側に配置された縦胴縁に釘打ちされ、縦胴縁は断熱層を貫通する釘によって建物の重みを支持する胴差し等の躯体要素に支持されている。したがって、火災発生時に壁体内通気路を通る火炎等によって前記金釘が異常な熱変形を起こした場合には、外装材の支持強度を保持できなくなる可能性が考えられる。   Ordinarily, the exterior material is nailed to the vertical trunk edge arranged outside the heat insulation layer for heat insulation in the wall, and the vertical trunk edge is a casing such as a trunk that supports the weight of the building by a nail penetrating the thermal insulation layer. Supported by the element. Therefore, when the gold nail is abnormally deformed due to a flame passing through the air passage in the wall in the event of a fire, there is a possibility that the support strength of the exterior material cannot be maintained.

壁体での断熱を行う断熱層が例えばプラスチック系発泡材のような耐熱性に劣る材料で形成される場合、壁体内通気路に火炎が侵入すると、この壁体内通路に臨んでいる断熱層が高熱によって、溶けるに伴い縦胴縁を止めている釘が高熱に晒されて、外装材の支持強度が劣化する恐れが考えられるので、こうした点に配慮して壁体内通気をする壁体を構成することが要請されている。   When the heat insulation layer that insulates the wall body is formed of a material having poor heat resistance, such as a plastic foam material, when a flame enters the wall ventilation passage, the heat insulation layer facing the wall passage is As the nail that stops the vertical trunk edge is exposed to high heat as it melts due to high heat, the support strength of the exterior material may deteriorate. It is requested to do.

更に、既述のように断熱層が熱により溶けると、壁体内通路に断熱層が占めていたスペースを加味した大きな空間が形成される。このような通気断面積の拡大の伴い、火炎が通りやすくなり延焼が容易となる可能性が考えられるので、こうした点にも配慮して壁体内通気をする壁体を構成することが要請されている。なお、特許文献1の発泡体は、規制された通気断面積での遮炎には有効であるが、既述のように断熱層の溶解により通気断面積が大きく不定に拡大する情況には対応できない。   Further, as described above, when the heat insulating layer is melted by heat, a large space is formed in consideration of the space occupied by the heat insulating layer in the wall passage. With such an increase in the ventilation cross-sectional area, there is a possibility that the flame will easily pass and the spread of fire may be easier. Yes. Note that the foam of Patent Document 1 is effective in shielding the flame with a regulated ventilation cross-sectional area, but as described above, it corresponds to the situation where the ventilation cross-sectional area increases greatly and unsteadily due to the dissolution of the heat insulating layer. Can not.

又、特許文献2は、外部火災に対して縦胴縁を保護する技術を開示したに過ぎず、壁体での断熱をする断熱層については記載がない。当然に、断熱層の内側に壁体内通気路を確保することについても記載がないので、この壁体内通気路に万が一火炎が侵入した場合の対策についても記載されていない。   Moreover, patent document 2 only disclosed the technique which protects a vertical trunk edge with respect to an external fire, and there is no description about the heat insulation layer which insulates with a wall. Naturally, since there is no description about securing a wall ventilation path inside the heat insulating layer, there is no description about a countermeasure when a flame should enter the wall ventilation path.

そこで、断熱を施す建物に特許文献2の技術を応用して、縦胴縁を躯体要素に釘で直接打付ける構成とすることが考えられる。この場合、縦胴縁を固定した釘が、壁体内通路に侵入した火炎に晒されることを、縦胴縁によって妨げて、釘が過熱されないようにできる。   In view of this, it is conceivable to apply the technique of Patent Document 2 to a building to be thermally insulated so that the longitudinal body edge is directly struck with a nail to the frame element. In this case, it is possible to prevent the nail from being overheated by preventing the nail having the vertical trunk edge fixed from being exposed to the flame that has entered the passage in the wall by the vertical trunk edge.

しかし、この構成では、躯体要素に釘打ちされ多数本の縦胴縁によって断熱層が建物の周囲方向に沿って分断され、各縦胴縁の数に相当する多くの部分で断熱欠損を発生するので好ましくない。しかも、地域によって異なる断熱層の厚みを貫通できる大きさの縦胴縁を必要とするだけではなく、前記分断により断熱層が小片化して、取付け工数が増えるなど、施工上も好ましくない。   However, in this configuration, the thermal insulation layer is divided along the peripheral direction of the building by nailing to the frame element and a plurality of vertical body edges, and heat insulation defects are generated in many parts corresponding to the number of each vertical body edge. Therefore, it is not preferable. Moreover, not only is it necessary to have a vertical trunk edge that can penetrate the thickness of the heat insulating layer that varies depending on the region, but the heat insulating layer is reduced to smaller pieces due to the above-mentioned division, which increases the number of mounting steps, which is not preferable in terms of construction.

本発明の目的は、断熱層の内側での壁体内通気が可能であって、高温環境に晒されても外装材の支持強度とともに遮炎のための通気断面積を保持することが可能な建物の壁体及びこの壁体を備えた建物を提供することにある。   The object of the present invention is to enable the ventilation of the inside of the wall inside the heat insulating layer, and to maintain the ventilation cross-sectional area for flame shielding as well as the support strength of the exterior material even when exposed to a high temperature environment. It is providing the building provided with this wall body and this wall body.

前記課題を解決するために、本発明に係る建物の外壁は、床下空間と小屋裏空間とを連通する壁体内通気路を断熱層の内側に有するとともにこの断熱層を外装材で被った建物の壁体において、建物の外周に沿って水平方向に置かれる横架材と、この横架材の長手方向に連続して延びて前記横架材の側面に連結金具で連結されるとともに前記断熱層に対して上下方向に連続する横桟木とを備え、前記横桟木と前記横架材との間に前記床下空間と小屋裏空間とにわたる通気のための連通路を形成し、前記横桟木に縦胴縁を介して前記外装材を他の連結金具で連結したことを特徴としている。   In order to solve the above-mentioned problems, the outer wall of a building according to the present invention has a wall ventilation path that communicates the underfloor space and the attic space inside the heat insulation layer, and the heat insulation layer is covered with an exterior material. In the wall, a horizontal member placed in a horizontal direction along the outer periphery of the building, and continuously extending in a longitudinal direction of the horizontal member and connected to a side surface of the horizontal member by a connecting metal fitting and the heat insulating layer And a horizontal passage that is continuous in the vertical direction, and a communication passage for ventilation between the horizontal floor and the horizontal member is formed between the horizontal floor and the horizontal member. It is characterized in that the exterior material is connected by another connecting metal via a trunk edge.

本発明で、横架材として、通し柱に直角に連結される胴差しやこの胴差しと平行に配置される部材等を挙げることができる。本発明で、横桟木とは、連結金具が挿通可能な材料、例えば木製角材を好適に使用できるが、木製に限らず例えば無機質材料を主体として作られたものも使用可能である。本発明で、連結金具とは壁体を組立るため使用される金属製の連結具を指しており、代表的には金釘を例示できる。   In the present invention, examples of the horizontal member include a body insert that is connected to the through column at a right angle and a member that is disposed in parallel with the body insert. In the present invention, as the crosspiece, a material through which the connecting fitting can be inserted, for example, a wooden square, can be suitably used, but not only wooden but also a material mainly made of an inorganic material can be used. In the present invention, the connection fitting refers to a metal connection tool used for assembling the wall body, and a typical example is a gold nail.

本発明では、横架材の側面に連結した横桟木と横架材との間に連通路を形成したことによって、横桟木が横架材の長手方向に連続して延びて設けられているにも拘わらず、前記連通路を通して床下空間と小屋裏空間とにわたる通気が可能である。そして、横架材に連結した横桟木に縦胴縁を介して外装材を連結してあるため、万一、火災時等に壁体内通路に火炎が侵入して断熱層が仮に溶けて壁体内通路が高温環境となっても、外装材を横桟木に連結する連結金具及び横桟木を横架材に連結する連結金具が高温に晒されないように縦胴縁及び横桟木で保護できる。この結果、連結金具の熱劣化が抑制されて、外装材の支持強度が保持される。更に、この火災時に既述のように断熱層が溶けることがあっても、横架材の側面に連結されている横桟木によって、これと外装材裏面との間の通気断面積及び連通路の断面積(言い換えれば通気断面積)を変化しないように維持できることに加えて、横桟木がファイヤストップ材として機能するので、壁体内を通る延焼を抑制できる。   In the present invention, since the communication path is formed between the horizontal beam connected to the side surface of the horizontal member and the horizontal member, the horizontal beam is continuously provided in the longitudinal direction of the horizontal member. Nevertheless, it is possible to ventilate the under floor space and the attic space through the communication passage. And since the exterior material is connected to the horizontal pier connected to the horizontal member via the vertical trunk edge, in the unlikely event of a fire, a flame penetrates into the wall passage and the heat insulation layer temporarily melts, Even when the passage is in a high temperature environment, it is possible to protect the connecting metal that connects the exterior material to the horizontal pier and the connecting metal that connects the horizontal pier to the horizontal member with the vertical trunk edge and the horizontal pier so that they are not exposed to high temperatures. As a result, the thermal deterioration of the connection fitting is suppressed, and the support strength of the exterior material is maintained. Furthermore, even if the heat insulation layer may melt as described above in the event of a fire, the cross-sectional area of the ventilation and the communication path between this and the back of the exterior material will be reduced by the crosspiece connected to the side of the horizontal member. In addition to being able to maintain the cross-sectional area (in other words, the ventilation cross-sectional area) so as not to change, the horizontal crosspiece functions as a fire-stop material, so that it is possible to suppress the spread of fire through the wall.

又、本発明の好ましい形態では、前記横架材の長手方向に沿って間隔的に配置される複数のスペーサを、前記横架材に前記横桟木とともに前記連結金具で連結するとよい。この発明で、スペーサとは、上下に開放する連通路を規定するための部材を指しており、連結金具が挿通可能で、好ましくは熱収縮が木材に比較して小さくかつ金属より熱伝導性が小さい耐熱材料で作るとよい。そうした材料として無機質材料を主体として作られたものを好適に例示できるが、スペーサには、木材を用いることもできる。木製のスペーサを用いる場合には、このスペーサが所定時間高温に晒されても、連結金具を連通路に露出させないだけの燃え代を予め考慮した大ききに木製スペーサを形成して用いればよい。   Moreover, in the preferable form of this invention, it is good to connect the several spacer arrange | positioned at intervals along the longitudinal direction of the said horizontal member with the said connecting member with the said horizontal member to the said horizontal member. In the present invention, the spacer refers to a member for defining a communicating path that opens up and down, and a fitting can be inserted. Preferably, the thermal contraction is smaller than that of wood and is more thermally conductive than metal. It is good to make with small heat-resistant material. As such a material, a material mainly made of an inorganic material can be suitably exemplified, but wood can also be used for the spacer. In the case of using a wooden spacer, the wooden spacer may be formed in a large size in consideration of a burning allowance that does not expose the connecting fitting to the communication path even if the spacer is exposed to a high temperature for a predetermined time.

この発明の形態では、スペーサによって横架材と横桟木との間に壁体内通気路の連通路を確保できる。そして、横桟木を横架材に固定する連結金具がスペーサを通っているので、火災時等に万一連通路が火炎などにより高温環境となっても、スペーサによって連結金具が高温に晒されないよう保護して、連結金具の熱劣化を抑制できる。   In the embodiment of the present invention, the communication path of the wall ventilation path can be secured between the horizontal member and the horizontal pier by the spacer. And since the connecting bracket that fixes the crosspiece to the horizontal member passes through the spacer, even if a series of passages become a high temperature environment due to flame etc. at the time of fire etc., the connecting bracket is not exposed to high temperature by the spacer It protects and can suppress the thermal deterioration of a connection metal fitting.

又、本発明の好ましい形態では、前記スペーサの上下方向の寸法を、前記横桟木の上下方向の寸法より大きくするとよい。   Moreover, in the preferable form of this invention, it is good to make the dimension of the up-down direction of the said spacer larger than the dimension of the up-down direction of the said horizontal crosspiece.

この発明の形態では、スペーサの上下方向の少なくともいずれか一方の端部が横桟木の上下方向に突出して、横桟木に下向きに加えられる外装材重量を支える耐力を向上できる点で好ましい。   In the embodiment of the present invention, at least one of the end portions in the vertical direction of the spacer protrudes in the vertical direction of the horizontal pier, which is preferable in that the strength of supporting the weight of the exterior material applied downward to the horizontal pier can be improved.

又、本発明の好ましい形態では、スペーサを、熱収縮が木材に比較して小さくかつ金属より熱伝導性が小さい耐熱材料で形成するとよい。   In a preferred embodiment of the present invention, the spacer may be formed of a heat resistant material that has a smaller thermal shrinkage than wood and a lower thermal conductivity than metal.

この発明の形態では、スペーサが、木材に比較して熱収縮が小さくかつ熱伝導性が金属より小さい耐熱材料で形成されるので、火災時に、スペーサとこれに隣接した支持材等の部材との間に熱収縮による隙間ができることを抑制して、高温が連結金具に及ぶことを抑制できるとともに、スペーサがその周囲の高温の熱を連結金具に伝導することも抑制でき、かつ、耐熱性によりスペーサが焼失することもなく、既述の抑制作用を維持できる点で好ましい。   In the embodiment of the present invention, since the spacer is formed of a heat-resistant material that has a smaller thermal shrinkage than that of wood and has a thermal conductivity smaller than that of a metal, in the event of a fire, the spacer and a member such as a support material adjacent to the spacer. It is possible to suppress gaps due to heat shrinkage between them, and to prevent high temperatures from reaching the connection fitting, and also to prevent the spacer from conducting high-temperature heat around it to the connection fitting, and the heat resistance makes the spacer Is preferable in that the above-described inhibitory action can be maintained without burning out.

又、本発明の好ましい形態では、所定温度以下では前記連通路を開いた状態に維持し、所定温度を超える温度では前記連通路を閉じるように発泡膨張する閉塞要素を、前記横桟木に支持させるとよい。   Further, in a preferred embodiment of the present invention, the horizontal pier supports a closing element that expands and expands so that the communication path is kept open at a predetermined temperature or lower and closes the communication path at a temperature exceeding a predetermined temperature. Good.

この発明の形態では、火災時に熱で閉塞要素が加熱されてその温度が所定温度を超えると、閉塞要素が発泡膨張して連通路を通る通気を断つことができる。この場合、連通路の通気断面積は既述のように火災時にも変わることがないので、閉塞要素の発泡膨張によって連通路の通気を断つ性能に優れている。しかも、連通路の通気断面積は、その上下に連なる通気部分よりも小さいので、閉塞要素の使用量が少なくてすみ、且つ、閉塞要素の発泡膨張による閉塞時間も短くできる点で好ましい。   In the embodiment of the present invention, when the closing element is heated by heat at the time of a fire and the temperature exceeds a predetermined temperature, the closing element is expanded and expanded, and ventilation through the communication path can be cut off. In this case, the ventilation cross-sectional area of the communication path does not change even in the event of a fire as described above, so that the performance of cutting off the ventilation of the communication path by foaming expansion of the closing element is excellent. In addition, since the cross-sectional area of the communication passage is smaller than that of the upper and lower ventilation portions, the amount of use of the closing element can be reduced, and the closing time due to expansion and expansion of the closing element can be shortened.

又、前記課題を解決するために、本発明に係る建物は、前記各発明の内のいずれかの発明に係る壁体を具備しているので、既述の作用を得て、断熱層の内側での床下空間と小屋裏空間とにわたる壁体内通気が可能であって、高温環境に晒されても外装材の支持強度とともに遮炎のための通気断面積を保持することが可能な壁体を備えた建物を提供できる。   Moreover, in order to solve the said subject, since the building which concerns on this invention has comprised the wall body which concerns on either invention among each said invention, it acquired the above-mentioned effect | action and is the inside of a heat insulation layer. A wall that can be ventilated in the wall across the underfloor space and the attic space, and that can maintain the ventilation cross-sectional area for flame shielding as well as the support strength of the exterior material even when exposed to high temperature environments. Can provide a building with

本発明によれば、横架材とこれに連結した横桟木との間に連通路を形成するとともに、横桟木に縦胴縁を介して外装材を連結したことによって、断熱層の内側での床下空間と小屋裏空間とにわたる壁体内通気が可能であって、万が一、壁体内通気路に火炎が侵入して壁体内通気路が高温環境に晒されても、外装材の支持強度とともに遮炎のための通気断面積を保持することが可能な建物の壁体及びこの壁体を備えた建物を提供できる。   According to the present invention, a communication path is formed between the horizontal member and the horizontal pier connected to the horizontal member, and the exterior member is connected to the horizontal pier via the vertical trunk edge so that the inner side of the heat insulating layer is formed. Ventilation inside the wall between the under floor space and the attic space is possible, and even if a flame enters the wall ventilation path and the wall ventilation path is exposed to a high-temperature environment, the flame shielding with the support strength of the exterior material It is possible to provide a wall of a building capable of maintaining a ventilation cross-sectional area for a wall and a building including the wall.

図1〜図5を参照して本発明の第1実施形態に係る在来軸組構造の二階建て木造住宅を説明する。   With reference to FIGS. 1-5, the two-story wooden house of the conventional frame structure which concerns on 1st Embodiment of this invention is demonstrated.

図1中に示すように住宅1が備えるコンクリート製の基礎2は、その内側に床下空間2aを形成する。この床下空間2aを断熱するために、基礎2の主体をなす基礎コンクリートの屋外面又は屋内面の内の少なくとも一方に断熱層(図示しない)が被着されている。基礎2は1以上の床下換気口3を有している。この床下換気口3を開閉する床下ダンパー4が基礎2に取付けられている。床下ダンパー4は手動又は電動により任意に開閉される。符号5は基礎2上に構築された階下居室として1階居室を示している。符号6は1階居室5上に構築された階上居室として2階居室を示している。なお、符号5aは床下空間2aに臨んだ1階居室5の床板、5bは1階居室5の天井板を示している。符号6aは2階居室6の床板、6bは小屋裏空間13に臨んだ2階居室6の天井板を示している。又、図1中符号7は土台を示している。   As shown in FIG. 1, the concrete base 2 provided in the house 1 forms an underfloor space 2 a inside thereof. In order to insulate the underfloor space 2a, a heat insulating layer (not shown) is attached to at least one of the outdoor surface and the indoor surface of the foundation concrete that forms the main body of the foundation 2. The foundation 2 has one or more underfloor ventilation openings 3. An underfloor damper 4 that opens and closes the underfloor ventilation port 3 is attached to the foundation 2. The underfloor damper 4 is arbitrarily opened or closed manually or electrically. Reference numeral 5 denotes a first-floor room as a lower-floor room constructed on the foundation 2. Reference numeral 6 denotes a second-floor room as an upper-floor room constructed on the first-floor room 5. In addition, the code | symbol 5a has shown the floor board of the 1st floor room 5 which faced the underfloor space 2a, and 5b has shown the ceiling board of the 1st floor room 5. FIG. Reference numeral 6 a denotes a floor board of the second-floor room 6, and 6 b denotes a ceiling board of the second-floor room 6 facing the back space 13. Moreover, the code | symbol 7 in FIG. 1 has shown the foundation.

居室5,6は住宅1の外郭で被われている。外郭は、壁体11及び屋根12等を備えている。壁体11は1、2階の居室5、6を囲んで設けられている。屋根12は壁体11の上側に連続して設けられていて、この屋根12と最上階の2階居室6との間には小屋裏空間13が形成されている。   The living rooms 5 and 6 are covered by the outline of the house 1. The outer shell includes a wall body 11, a roof 12, and the like. The wall 11 is provided surrounding the living rooms 5 and 6 on the first and second floors. The roof 12 is continuously provided on the upper side of the wall body 11, and a shed space 13 is formed between the roof 12 and the second-floor room 6 on the uppermost floor.

前記外郭は、壁体での断熱のための断熱層15と、この断熱層15を間に置いて設けられた外側通気路16と壁体内通気路17とを備えている。断熱層15には、プラスチック系断熱材例えば独立発泡された発泡ポリスチレンを一層又は複層したボードを好適に使用でき、この他に難燃性又は不燃性のフェノールフォーム、ALC、又はグラスウールやロックウールなどの繊維系断熱材を層状としたものも使用可能である。断熱層15の内側に、居室5,6、小屋裏空間13、及び壁体11の壁体内通気路17が設けられている。   The outer shell includes a heat insulating layer 15 for heat insulation in the wall, and an outer air passage 16 and a wall internal air passage 17 provided with the heat insulating layer 15 interposed therebetween. For the heat insulating layer 15, a plastic heat insulating material, for example, a board in which one or more layers of foamed polystyrene foamed independently is used can be suitably used. In addition, flame retardant or non-flammable phenol foam, ALC, glass wool or rock wool. It is also possible to use a layered fiber-based heat insulating material. Inside the heat insulating layer 15, the living rooms 5 and 6, the shed space 13, and the wall ventilation path 17 of the wall body 11 are provided.

住宅1の上部に、断熱層15によって外側通気路16から区画された小屋裏空間13と屋外との連通を開閉する換気部として例えば強制換気装置18が設けられている。強制換気装置18は、小屋裏空間13と屋外とを連通した排気路18aと、この排気路18a中に少なくともファンが配置された電動式の換気扇18bと、この換気扇18bの好ましくは下流側に配置されて排気路18aを開閉する排気ダンパー18cとを有して形成されている。強制換気装置18等からなる換気部は、排気ダンパー18cを備えない構成でもよい。更に、換気部は、手動又は電動により開閉されてその開放により自然換気をする排気ダンパーであってもよく、更に、ドレーキップ窓や天窓などの開口部開閉要素のような通常の建具も包含する。   For example, a forced ventilation device 18 is provided in the upper part of the house 1 as a ventilation part that opens and closes communication between the cabin space 13 partitioned from the outer ventilation path 16 by the heat insulating layer 15 and the outside. The forced ventilation device 18 is disposed on the exhaust path 18a that connects the attic space 13 and the outside, the electric ventilation fan 18b in which at least a fan is disposed in the exhaust path 18a, and preferably on the downstream side of the ventilation fan 18b. And an exhaust damper 18c that opens and closes the exhaust passage 18a. The ventilation part which consists of the forced ventilation apparatus 18 grade | etc., May be the structure which is not provided with the exhaust damper 18c. Further, the ventilation unit may be an exhaust damper that is opened and closed manually or electrically and is naturally ventilated by opening the ventilator, and further includes ordinary fittings such as opening / closing elements such as a drake window and a skylight.

外側通気路16は、断熱層15と壁体11の外装材14及び屋根材との間にこれらに沿って形成されている。外側通気路16の下端16aは、常時開口されていて、屋外の大気中に連通されている。屋根12の上部には屋外に連通されるように開放された排気部19が設けられていて、この排気部19に外側通気路16の上端部が連通されている。   The outer air passage 16 is formed between the heat insulating layer 15 and the exterior material 14 and the roof material of the wall 11 along these. The lower end 16a of the outer ventilation path 16 is always open and communicates with the outdoor atmosphere. An exhaust portion 19 that is open so as to communicate with the outdoors is provided on the upper portion of the roof 12, and the upper end portion of the outer air passage 16 is communicated with the exhaust portion 19.

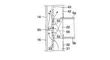
壁体内通気路17は、住宅1の躯体をなす例えば通し柱等の柱21(図3参照)及び胴差し22(図1〜図5参照)を利用して、断熱層15と居室5,6との間にこれらに沿って形成されていて、床下空間2aと小屋裏空間13とを連通している。この壁体内通気路17は、階下側通気路部分31と、階上側通気路部分41と、これらの通気路部分31,41を連通して設けられた連通路51とで形成されている。垂直棒材である柱21は住宅1の外周部に垂直に延びて配置されている。胴差し22は、横架材として機能するものであって、その端を柱21に連結して住宅1の外周部に沿って水平方向に配置されている。   The in-wall ventilation path 17 uses, for example, a pillar 21 such as a through pillar (see FIG. 3) and a torso 22 (see FIGS. 1 to 5) that form a housing of the house 1, and the heat insulating layer 15 and the living rooms 5 and 6. The underfloor space 2a and the attic space 13 are communicated with each other. The in-wall air passage 17 is formed by a downstairs air passage portion 31, an upstairs air passage portion 41, and a communication passage 51 provided by connecting the air passage portions 31 and 41. The column 21 that is a vertical bar is arranged to extend perpendicularly to the outer periphery of the house 1. The torso 22 functions as a horizontal member, and its end is connected to the column 21 and is disposed in the horizontal direction along the outer periphery of the house 1.

階下側通気路部分31は、柱21及び胴差し22の一面に周部を固定された垂直面材であって耐火性内被材として機能する例えば石膏ボード32と、柱21及び胴差し22の他面側に配置された断熱層15の中で1階居室5に対応する断熱層部分15aとの間に形成されている。石膏ボード32は1階居室5に臨んでいる。図2及び図3等に示すように柱21及び胴差し22の他面には、胴差し22の下側に配置される木摺り33が貼られていて、これは断熱層部分15aに重ねられている。木摺り33は複数の細長い木摺り材を互に平行に配して、その両端を柱21及び胴差し22に金釘で打付けたものであって、隣接した木摺り材相互間に間隙33aを有している。この間隙33aにより、胴差し22及びこの側面に対向した断熱層部分15aの間と階下側通気路部分31とが連通されている(図2参照)。更に、階下側通気路部分31は床下空間2aに連通されている。この床下空間2aへの連通は例えば間隙33aが担っている(図1参照)。   The downstairs air passage portion 31 is a vertical surface member having a peripheral portion fixed to one surface of the column 21 and the trunk 22, and functions as a fireproof inner covering material, for example, a gypsum board 32, and the column 21 and the barrel 22. It is formed between the heat insulating layer 15 disposed on the other side and the heat insulating layer portion 15a corresponding to the first-floor room 5. The gypsum board 32 faces the first-floor room 5. As shown in FIG. 2 and FIG. 3 and the like, a wooden rail 33 disposed on the lower side of the trunk 22 is pasted on the other surface of the column 21 and the trunk 22 and is superposed on the heat insulating layer portion 15a. ing. The wood shaving 33 is formed by arranging a plurality of elongated wood shaving materials in parallel to each other and hitting both ends of the wood shaving material to the pillar 21 and the trunk 22 with a gold nail, and a gap 33a between adjacent wood shaving materials. have. The gap 33a communicates between the trunk 22 and the heat insulating layer portion 15a facing the side surface and the downstairs air passage portion 31 (see FIG. 2). Further, the downstairs air passage portion 31 communicates with the underfloor space 2a. For example, a gap 33a is in communication with the underfloor space 2a (see FIG. 1).

階上側通気路部分41は、柱21及び胴差し22の一面に周部を固定された垂直面材であって耐火性内被材として機能する例えば石膏ボード42と、柱21及び胴差し22の他面側に配置された断熱層15の中で2階居室6に対応する断熱層部分15bとの間に形成されている。石膏ボード42は2階居室6に臨んでいる。図2及び図3等に示すように柱21及び胴差し22の他面には、胴差し22の下側に配置される木摺り43が貼られていて、これは断熱層部分15bに重ねられている。木摺り43は複数の細長い木摺り材を互に平行に配して、その両端を柱21及び胴差し22に金釘で打付けたものであって、隣接した木摺り材相互間に間隙43aを有している。この間隙43aにより、胴差し22及びこの側面に対向した断熱層部分15bの間と階上側通気路部分41とが連通されている(図2参照)。更に、間隙43aにより、階上側通気路部分41と小屋裏空間13とが連通されている(図1参照)。   The upper-side airflow passage portion 41 is a vertical surface member having a peripheral portion fixed to one surface of the column 21 and the torso 22, and functions as a fireproof inner covering material, for example, a gypsum board 42, and the column 21 and the torso 22 It is formed between the heat insulating layer 15 arranged on the other surface side and the heat insulating layer portion 15b corresponding to the second-floor room 6. The gypsum board 42 faces the second-floor room 6. As shown in FIG. 2 and FIG. 3 and the like, a wooden rail 43 disposed on the lower side of the trunk 22 is pasted on the other surface of the column 21 and the trunk 22 and this is overlaid on the heat insulating layer portion 15b. ing. The wood shaver 43 is formed by arranging a plurality of elongated wood shaving materials in parallel with each other and hitting both ends of the wood 21 to the pillar 21 and the body holder 22 with a gold nail, and a gap 43a between adjacent wood shaving materials. have. The gap 43a communicates between the trunk 22 and the heat insulating layer portion 15b opposed to the side surface and the upper air passage portion 41 (see FIG. 2). Further, the upper-side air passage portion 41 and the cabin space 13 are communicated with each other by the gap 43a (see FIG. 1).

なお、木摺り33、44は、耐力壁又は準耐力壁として機能するものであって、図3の例では、複数の細長い木摺り材を斜めに配置したが、これに限らず、複数の細長い木摺り材を、水平に配置してもよく、又は垂直に配置することに可能である。   In addition, although the wooden scrapers 33 and 44 function as a load-bearing wall or a semi-bearing wall, in the example of FIG. 3, a plurality of elongated wooden scrapers are disposed obliquely. It is possible to arrange the lumber material horizontally or vertically.

階上の重みを受ける胴差し22の側面には、この胴差し22の長手方向に沿って間隔的にスペーサ52(なお、パッキンと称することも可能である。)が配置されている。これら複数のスペーサ52は、図3に例示するように四角形であって、その上下端部に夫々打ち込まれた1以上の連結金具例えば金釘53によって胴差し22に連結されている。なお、胴差し22の側面と面一に連続する柱21の側面にもスペーサ52が金釘53によって打付けられている。柱21に配置されたスペーサ52と胴差し22に配置されたスペーサ52とは水平方向に沿って一列に並べられている。柱21に配置されたスペーサ52は省略可能である。これら複数のスペーサ52の板厚は、前記木摺り材33,34の板厚と略同じであり、同じ板厚とであることが好ましい。   Spacers 52 (which can also be referred to as packing) are disposed on the side surface of the barrel 22 receiving the weight on the floor at intervals along the longitudinal direction of the barrel 22. The plurality of spacers 52 are rectangular as illustrated in FIG. 3, and are connected to the barrel 22 by one or more connecting fittings, for example, gold nails 53, which are driven into the upper and lower ends thereof. A spacer 52 is also struck by a gold nail 53 on the side surface of the column 21 that is flush with the side surface of the body 22. The spacers 52 arranged on the pillars 21 and the spacers 52 arranged on the barrel 22 are arranged in a line along the horizontal direction. The spacer 52 arranged on the column 21 can be omitted. The plate thicknesses of the plurality of spacers 52 are substantially the same as the plate thicknesses of the lumber materials 33 and 34, and preferably the same plate thickness.

スペーサ52は、金釘を打ち込み可能であって、熱収縮が木材に比較して小さくかつ金属より熱伝導性が小さい耐熱材料で形成することが好ましい。こうしたものとして防耐火性能を有する材料、例えば無機質材料を主とする材料、具体的には石膏ボード、珪酸カルシウム板、スラグ石膏ボードなどを好適に用いることができる。しかし、スペーサ52は金属より熱伝導性が小さい無機質材料以外の材料例えば木材で形成することもできる。この場合、スペーサ52が所定時間高温に晒されても、このスペーサ52を挿通した金釘を連通路51に露出させないだけの燃え代を予め考慮した大ききに形成した木製スペーサを用いればよい。   The spacer 52 is preferably formed of a heat-resistant material that can be driven with a gold nail, has a thermal contraction smaller than that of wood, and has a lower thermal conductivity than metal. As such materials, materials having fireproof performance, such as materials mainly made of inorganic materials, specifically, gypsum board, calcium silicate board, slag gypsum board, etc. can be suitably used. However, the spacer 52 can also be formed of a material other than an inorganic material having a thermal conductivity smaller than that of metal, such as wood. In this case, even if the spacer 52 is exposed to a high temperature for a predetermined time, a wooden spacer formed in a large size in consideration of a burning allowance that does not expose the gold nail inserted through the spacer 52 to the communication path 51 may be used.

胴差し22の側面にはその長手方向に連続して延びる1本又は複数本の横桟木55が、1以上の連結金具例えば金釘56によって胴差し22に連結されている。金釘56はスペーサ52を貫通して胴差し22に打付けられている。複数のスペーサ52にわたって配置された横桟木55の上下方向の寸法は、スペーサ52の上下方向の寸法より小さい。これにより、スペーサ52の少なくとも一端部が横桟木55の上方又は下方から突出され、本実施例に場合にはスペーサ52の上下両端部が横桟木55からはみ出している。   One or a plurality of horizontal crosspieces 55 that extend continuously in the longitudinal direction are connected to the side of the case 22 by one or more connecting fittings such as gold nails 56. The gold nail 56 passes through the spacer 52 and is struck to the barrel 22. The vertical dimension of the horizontal crosspiece 55 arranged over the plurality of spacers 52 is smaller than the vertical dimension of the spacers 52. Thereby, at least one end part of the spacer 52 protrudes from the upper side or the lower side of the horizontal bar 55, and in this embodiment, the upper and lower ends of the spacer 52 protrude from the horizontal bar 55.

横桟木55のスペーサ52からの出幅は、断熱層部分15a,15bの厚さ(30mm〜100mm)と略同じであるが、同じ厚さとすることが好ましい。横桟木55には、木製角材を好適に使用できるが、金釘56等の連結金具を打込み可能な防耐火性能を有する材料、例えば既述の無機質材料を主とする材料を使用することも可能である。この横桟木55は、断熱層部分15a,15bに対して上下方向に連続して配置され、本実施形態では断熱層部分15a,15bで上下から挟まれている。   The width of the horizontal bridge 55 from the spacer 52 is substantially the same as the thickness (30 mm to 100 mm) of the heat insulating layer portions 15a and 15b, but is preferably the same thickness. Although the wooden crosspiece 55 can be used suitably for the crosspiece 55, the material which has fireproof performance which can drive in connection fittings, such as a gold nail 56, for example, the material which mainly mentioned the inorganic material mentioned above can also be used. It is. The horizontal crosspiece 55 is continuously arranged in the vertical direction with respect to the heat insulating layer portions 15a and 15b, and is sandwiched from above and below by the heat insulating layer portions 15a and 15b in this embodiment.

この横桟木55と胴差し22との間には、スペーサ52の厚みに相当する隙間からなり上下両端が開放された複数の連通路51が形成されている。この連通路51は、木摺り33の間隙33aを通して階下側通気路部分31と連通されているとともに、木摺り43の間隙43aを通して階上側通気路部分41と連通されている。   A plurality of communication passages 51 having a gap corresponding to the thickness of the spacer 52 and having both upper and lower ends opened are formed between the horizontal bridge 55 and the trunk 22. The communication path 51 communicates with the downstairs air passage portion 31 through the gap 33 a of the wood rail 33 and also communicates with the upper air passage portion 41 through the gap 43 a of the wood rail 43.

断熱層部分15a,15bの外面には、これらの外面にわたって上下方向に連続して延びる複数本の縦胴縁58(図4参照)が、住宅1の外周に沿って所定間隔で配置されている。これら縦胴縁58は横桟木55及び図示しない他の水平材に図示しない金釘(連結金具)により打付けられている。   A plurality of vertical waist edges 58 (see FIG. 4) that extend continuously in the vertical direction across these outer surfaces are arranged at predetermined intervals along the outer periphery of the house 1 on the outer surfaces of the heat insulating layer portions 15 a and 15 b. . These vertical trunk edges 58 are struck to the crosspiece 55 and other horizontal members (not shown) by gold nails (connecting brackets) (not shown).

断熱層部分15a,15bの外面は、防耐火性能を有する材料からなる外装材14で覆われている。この外装材14は、各縦胴縁58に図示しない金釘(連結金具)により打付けられている。このように取付けられた外装材14と断熱層部分15a,15bとの間には前記外側通気路16が形成されている。この外側通気路16には横桟木55の側面も臨んでいる。壁体11は、以上説明した外装材14、断熱層部分15a,15b、外側通気路16、壁体内通気路17、スペーサ52、横桟木55、及び縦胴縁58を備えている。   The outer surfaces of the heat insulating layer portions 15a and 15b are covered with an exterior material 14 made of a material having fireproof performance. The exterior material 14 is struck to each vertical body edge 58 by a gold nail (connection fitting) (not shown). The outer ventilation path 16 is formed between the exterior member 14 and the heat insulating layer portions 15a and 15b attached in this manner. The side surface of the horizontal pier 55 also faces the outer ventilation path 16. The wall body 11 includes the above-described exterior material 14, heat insulating layer portions 15 a and 15 b, the outer air passage 16, the wall air passage 17, the spacer 52, the crosspiece 55, and the vertical trunk edge 58.

前記構成を備えた住宅1の壁体11は、住宅1の外周に沿って水平方向に置かれて階上の重みを受ける胴差し22と、この長手方向に連続して延びて胴差し22に金釘56で打付けられた横桟木55との間に、胴差し22に金釘53で打付けられて胴差し22と横桟木55とに挟まれたスペーサ52の厚みに相当する連通路51を有している。そして、この連通路51で壁体内通気路17の階下側通気路部分31と階上側通気路部分41とを連通したので、断熱層15の内側での壁体内通気が可能である。   The wall 11 of the house 1 having the above-described structure is placed in the horizontal direction along the outer periphery of the house 1 to receive the weight on the floor, and the trunk 22 extends continuously in the longitudinal direction to the trunk 22. A communication passage 51 corresponding to the thickness of the spacer 52 that is struck by the gold nail 53 to the barrel 22 and sandwiched between the barrel 22 and the horizontal sill 55 between the horizontal pier 55 struck by the gold nail 56. have. Further, since the downstairs air passage portion 31 and the upstairs air passage portion 41 of the in-wall passage 17 are communicated with each other through the communication passage 51, the in-wall ventilation inside the heat insulating layer 15 is possible.

この住宅1は、夏場は、床下ダンパー4を開放するとともに、強制換気装置18の排気ダンパー18cを開けて換気扇18bを運転して使用される。これにより、外郭の内側に配置された断熱層15で外断熱をしつつ、この断熱層15の外側の外側通気路16による外側通気と、断熱層15の内側の壁体内通気路17による内側通気とが行われる。   In the summer, the house 1 is used by opening the under-floor damper 4 and opening the exhaust damper 18c of the forced ventilation device 18 to operate the ventilation fan 18b. As a result, the outside ventilation by the outside ventilation path 16 outside the heat insulation layer 15 and the inside ventilation by the wall ventilation path 17 inside the insulation layer 15 are performed while performing the outside heat insulation with the heat insulation layer 15 arranged inside the outer shell. And done.

自然換気による外側通気で、外側通気路16の下端16aの開口から取込まれた屋外空気が、外側通気路16を上昇して屋根12の排気部19から屋外に排出される。この外側通気により住宅1の外郭での排熱及び排湿がなされる。   Outdoor air taken in from the opening at the lower end 16a of the outer ventilation passage 16 is raised by the outside ventilation by the natural ventilation, rises up the outer ventilation passage 16, and is discharged to the outside from the exhaust portion 19 of the roof 12. This outside ventilation exhausts heat and exhausts moisture in the outer wall of the house 1.

一方、強制換気装置18の換気力によって、床下換気口3から床下空間2aに吸い込まれた空気は、この床下空間2aで冷やされた空気と混じり合ってから、壁体内通気路17の階下側通気路部分31に吸込まれて上昇し、この階下側通気路部分31から胴差し22回りの連通路51を通って階上側通気路部分41に吸込まれて、ここから小屋裏空間13に吸込まれた後に、強制換気装置18を通って屋外に排気される。これにより、壁体内通気路17を通って小屋裏空間13に集まった熱気や湿気が屋外に逃がされて、居室5,6の温度上昇が抑えられるので、夏場でのより良好な居住性・快適性を確保できる。   On the other hand, the air sucked into the underfloor space 2a from the underfloor ventilation port 3 by the ventilation force of the forced ventilator 18 is mixed with the air cooled in the underfloor space 2a, and then the downstairs ventilation of the wall ventilation passage 17 is used. The air is sucked into the road portion 31 and rises. From the downstairs air passage portion 31, the air passes through the communication passage 51 around the trunk 22 and is sucked into the upper airflow passage portion 41, and is sucked into the cabin space 13 from here. Later, it is exhausted to the outside through the forced ventilation device 18. As a result, the heat and moisture gathered in the shed space 13 through the wall ventilation path 17 are released to the outside, and the temperature rise of the living rooms 5 and 6 is suppressed. Comfort can be secured.

前記住宅1は、冬場は、床下ダンパー4を閉じるとともに、強制換気装置18の排気ダンパー18cを閉じて換気扇18bの運転を停止して使用される。これにより、外郭の内側に配置された断熱層15で断熱をしつつ、この断熱層15の外側での外側通気路16による外側通気と、断熱層15の内側での自然循環による通気が行われる。断熱層15の内側での自然循環による通気は、日射を受けている側では断熱層15の内側の空気が暖められて上昇し、日陰となっている側では断熱層15の内側の空気が冷たくなって下降することにより形成され、断熱層15の内側の暖気は屋外に排気されない。これにより、居室5,6が暖かい環境に置かれて、冬場での良好な居住性・快適性を確保できる。   The house 1 is used in winter when the underfloor damper 4 is closed and the exhaust damper 18c of the forced ventilation device 18 is closed to stop the operation of the ventilation fan 18b. Thus, while heat insulation is performed with the heat insulation layer 15 disposed inside the outer shell, the outside ventilation by the outer ventilation path 16 outside the heat insulation layer 15 and the ventilation by natural circulation inside the heat insulation layer 15 are performed. . The ventilation by the natural circulation inside the heat insulating layer 15 rises by heating the air inside the heat insulating layer 15 on the side receiving solar radiation, and the air inside the heat insulating layer 15 is cold on the shade side. The warm air inside the heat insulating layer 15 is not exhausted to the outside. As a result, the living rooms 5 and 6 are placed in a warm environment, and it is possible to ensure good comfort and comfort in winter.

以上のように断熱層15の内側で壁体内通気ができる在来軸組構造の住宅1が火災に遭って、万一、屋外や居室内の火炎が壁体内に侵入した場合には、壁体内通気路17を火炎が上昇しようとするので、連通路51が高温に晒されることがあるが、それにも拘わらず金釘53,56等を高温から保護できる。   As described above, in the event that a conventional frame structure house 1 that allows ventilation in the wall inside the heat insulating layer 15 encounters a fire and a flame in the outdoors or in the room enters the wall body, Since the flame is going to rise in the air passage 17, the communication passage 51 may be exposed to a high temperature, but the gold nails 53, 56 and the like can be protected from the high temperature nevertheless.

すなわち、金釘53は連通路51を確保するスペーサ52を通って胴差し22に打付けられていて、連通路51には露出していない。同様に、金釘56は、横桟木55及びスペーサ52を通って胴差し22に打付けられていて、連通路51には露出していない。このため、火災時等に連通路51が火炎などにより高温環境となっても、スペーサ52又はこのスペーサ52及び横桟木55によって金釘53,56が高温に晒されないようにできる。この場合、スペーサ52及び横桟木55は金属より遥かに低熱伝導性であるので、スペーサ52及び横桟木55を介して連通路51内の高熱が金釘53,56に伝導することも抑制できる。   That is, the gold nail 53 is struck to the barrel 22 through the spacer 52 that secures the communication path 51, and is not exposed to the communication path 51. Similarly, the gold nail 56 is struck to the trunk 22 through the crosspiece 55 and the spacer 52 and is not exposed to the communication path 51. For this reason, even if the communication path 51 becomes a high temperature environment due to a flame or the like at the time of a fire or the like, the gold nail 53, 56 can be prevented from being exposed to the high temperature by the spacer 52 or the spacer 52 and the crosspiece 55. In this case, since the spacer 52 and the horizontal crosspiece 55 have a much lower thermal conductivity than metal, it is possible to suppress high heat in the communication path 51 from being conducted to the gold nails 53 and 56 via the spacer 52 and the horizontal crosspiece 55.

こうして金釘53,56が、高温によって異常に伸びたり溶けたりする等、熱劣化することが抑制されるので、これら金釘53,56によるスペーサ52及び横桟木55の胴差し22に対する連結が維持されて、スペーサ52及び横桟木55を所定位置に保持できる。このため、横桟木55に縦胴縁58を介して打付けにより連結された外装材14の支持強度を保持できる。これに伴い、火災によって外装材14が脱落することを抑制できる。   In this way, since the gold nails 53 and 56 are prevented from being thermally deteriorated such as abnormally extending or melting due to high temperature, the connection of the spacers 52 and the crosspieces 55 to the trunk 22 of the gold nails 53 and 56 is maintained. Thus, the spacer 52 and the horizontal crosspiece 55 can be held at predetermined positions. For this reason, it is possible to maintain the supporting strength of the exterior member 14 connected to the horizontal crosspiece 55 by driving through the vertical trunk edge 58. Along with this, it is possible to suppress the exterior material 14 from falling off due to a fire.

又、壁体11の断熱層である断熱層部分15a,15bが発泡ポリスチレン等のプラスチック系断熱材である場合には、例えば階下側の断熱層部分15aが、階下側通気路部分31に侵入した火炎の高熱によって溶かされることがある。なお、この高熱による断熱層部分15aの溶融は、木摺り33の存在により遅延させることが可能である。又、断熱層部分15a、15bが溶かされた場合に、横桟木55回りを火炎が流通する状況を、図5中矢印で示す。   Further, when the heat insulating layer portions 15a and 15b which are the heat insulating layers of the wall body 11 are plastic heat insulating materials such as expanded polystyrene, for example, the heat insulating layer portion 15a on the downstairs side has entered the downstairs air passage portion 31. May be melted by the high heat of the flame. The melting of the heat insulating layer portion 15a due to the high heat can be delayed by the presence of the wood shaving 33. Moreover, when the heat insulation layer portions 15a and 15b are melted, a situation where a flame circulates around the horizontal crosspiece 55 is indicated by an arrow in FIG.

こうした事態に至っても、既述のようにスペーサ52及び横桟木55が所定位置に保持されているので、横桟木55と外装材14の裏面との間の通気断面積、及び横桟木55と胴差し22との間の連通路51の断面積(言い換えれば通気断面積)を変化しないように維持できる。なお、これらの通気断面積は、非火災時の通気性を確保し、かつ、壁体11内での延焼を抑制する遮炎に有効な大きさに設定されている。これに加えて、スペーサ52及び横桟木55が無機材料製である場合には、これらが燃えることがなく、これらスペーサ52及び横桟木55がファイヤストップ材として機能する。又、スペーサ52及び横桟木55が木製である場合には、その表面が燃えて炭化層となるので、これらスペーサ52及び横桟木55がファイヤストップ材として機能する。これにより、壁体11内を通る延焼を抑制することができる。   Even in such a situation, since the spacer 52 and the horizontal crosspiece 55 are held at predetermined positions as described above, the cross-sectional area of the ventilation between the horizontal crosspiece 55 and the back surface of the exterior member 14, and the horizontal crosspiece 55 and the trunk It is possible to maintain the cross-sectional area (in other words, the ventilation cross-sectional area) of the communication path 51 between the insertion 22 and the communication path 51 so as not to change. In addition, these ventilation | gas_flowing cross-sectional areas are set to the magnitude | size effective for the flame insulation which ensures the air permeability at the time of a non-fire, and suppresses a fire spread in the wall 11. In addition, when the spacer 52 and the horizontal crosspiece 55 are made of an inorganic material, they do not burn, and the spacer 52 and the horizontal crosspiece 55 function as a fire stop material. Further, when the spacer 52 and the horizontal crosspiece 55 are made of wood, the surface thereof burns to become a carbonized layer, so that the spacer 52 and the horizontal crosspiece 55 function as a fire stop material. Thereby, the fire spread through the wall 11 can be suppressed.

しかも、横桟木55に縦胴縁58を打付けて連結した金釘(図示しない)は縦胴縁58を貫通していて外側通気路16には露出していないとともに、縦胴縁58に外装材14を打付けて連結した金釘(図示しない)は外装材14を貫通していて外側通気路16には露出していない。このため、既述のように階下側の断熱層部分15aが溶かされた場合にも、外装材14を支えるための金釘が高温に晒されないようにできる。したがって、火災によって外装材14が脱落することを抑制できる。   In addition, a gold nail (not shown) in which the vertical trunk edge 58 is struck and connected to the horizontal crosspiece 55 passes through the vertical trunk edge 58 and is not exposed to the outer ventilation passage 16, and is externally attached to the vertical trunk edge 58. A gold nail (not shown) connected by striking the material 14 penetrates the exterior material 14 and is not exposed to the outer air passage 16. For this reason, even when the downstairs heat insulating layer portion 15a is melted as described above, the gold nail for supporting the exterior member 14 can be prevented from being exposed to high temperature. Therefore, it is possible to suppress the exterior material 14 from falling off due to a fire.

又、前記構成の壁体11は、既述のように断熱層部分15a,15bの厚みに応じた横桟木55を用いて、これに外装材14を支持する縦胴縁58を打付けて連結したことで、縦胴縁58に断熱層部分15a,15bの厚みを貫通する大きさのものを使用する必要がなくなり、縦胴縁58には、一般的に使用されている大きさ、つまり、厚さ15mm〜30mm、幅20mm〜50mmのサイズで、市場流通性の良い、縦胴縁58を使用できる。   Further, the wall body 11 having the above-described structure is connected by using the horizontal crosspiece 55 according to the thickness of the heat insulating layer portions 15a and 15b as described above, and hitting the vertical trunk edge 58 for supporting the exterior member 14 thereto. As a result, it is not necessary to use a size that penetrates the thickness of the heat insulating layer portions 15a and 15b in the vertical body edge 58, and the vertical body edge 58 has a generally used size, that is, It is possible to use a vertical trunk edge 58 having a thickness of 15 mm to 30 mm and a width of 20 mm to 50 mm and having good market distribution.

更に、縦胴縁58を、胴差し22に直接固定するのではなく、胴差し22に固定された横桟木55に支持したので、縦胴縁58による断熱層部分15a,15bの断面欠損がなくなり、壁体11の断熱性能の低下もない。なお、横桟木55によって下側の断熱層部分15aと上側の断熱層部分15bとに分断されるが、横桟木55は胴差し22に固定されているので、横桟木55による断熱欠損は実用上無視できる。   Further, since the vertical trunk edge 58 is not directly fixed to the trunk 22 but is supported by the horizontal pier 55 fixed to the trunk 22, cross-sectional defects of the heat insulating layer portions 15 a and 15 b due to the vertical trunk edge 58 are eliminated. There is also no deterioration in the heat insulation performance of the wall 11. In addition, although it divides | segments into the lower heat insulation layer part 15a and the upper heat insulation layer part 15b by the horizontal crosspiece 55, since the horizontal crosspiece 55 is being fixed to the trunk 22, the heat insulation defect by the horizontal crosspiece 55 is practically used. Can be ignored.

しかも、横桟木55によって断熱層部分15a,15bを分断したが、横桟木55は縦胴縁58の使用数に比較して遥かに少なく、多数の縦胴縁58で断熱層15が分断されるよりも遥かに断熱層15の分断数を少なくできるので、分断された断熱層部分15a,15bが大きい。このため、断熱層15を施工する際の工数が減るので施工上好ましい。   Moreover, although the heat insulating layer portions 15a and 15b are divided by the horizontal crosspiece 55, the horizontal crosspiece 55 is far smaller than the number of the vertical trunk edges 58 used, and the heat insulating layer 15 is divided by a large number of vertical trunk edges 58. Since the number of divisions of the heat insulating layer 15 can be reduced far more than that, the divided heat insulating layer portions 15a and 15b are large. For this reason, since the man-hour at the time of constructing the heat insulation layer 15 reduces, it is preferable on construction.

又、前記構成の壁体11では、胴差し22と横桟木55との間に連通路51を設ける手段として設けられ胴差し22の打付けて連結されたスペーサ52の上下方向の寸法を、横桟木55の上下方向の寸法より大きして、スペーサ52の上下方向の両端部を、横桟木55の上下方向に突出させている。したがって、横桟木55に対して下向きに加えられる外装材14の重量を支える耐力を向上できる。すなわち、通気路51を確保するスペーサ52の厚みに相当する分、横桟木55の屋外方向への出幅が短くなって、外装材14の重量により横桟木55が下向きに回転しようとする耐力を向上できる。更に、横桟木55の上下方向に突出しているスペーサ52の上下両端部が胴差し22に夫々釘打ちされていて、この横桟木55よりも上下方向に広い領域で横桟木55を支持するので、外装材14の重量により横桟木55が下向きに回転しようとする耐力を向上できる。したがって、外装材14を支える耐力を向上できる。   Further, in the wall body 11 having the above-described structure, the vertical dimension of the spacer 52 provided as a means for providing the communication path 51 between the trunk 22 and the horizontal pier 55 and connected by striking the trunk 22 is set to the horizontal direction. Larger than the vertical dimension of the crosspiece 55, both ends of the spacer 52 in the vertical direction protrude in the vertical direction of the horizontal crosspiece 55. Therefore, the proof stress which supports the weight of the exterior material 14 added downward with respect to the horizontal crosspiece 55 can be improved. That is, the width corresponding to the thickness of the spacer 52 that secures the air passage 51 is reduced in the width of the horizontal pier 55 in the outdoor direction, and the strength of the horizontal pier 55 to rotate downward due to the weight of the exterior material 14 is increased. It can be improved. Furthermore, since the upper and lower ends of the spacer 52 projecting in the vertical direction of the horizontal beam 55 are respectively nailed to the barrel 22 and support the horizontal beam 55 in a region wider than the horizontal beam 55 in the vertical direction, It is possible to improve the yield strength of the horizontal pier 55 trying to rotate downward due to the weight of the exterior member 14. Therefore, the proof stress which supports the exterior material 14 can be improved.

更に、胴差し22との間に連通路51を設けて配置される横桟木55は、胴差し22の長手方向に沿って連続して延びたものであるため、その取付けが容易である。これとともに、この横桟木55には市場流通性の良い角材を、それに何らの加工を施すことなくそのまま使用できる点で好ましい。すなわち、連通路51を設ける手段として、スペーサ52を省略する代わりに、このスペーサ52の厚みを加味した寸法の角材を横桟木55として用いて、この角材の側面に上下方向に延びる溝を多数加工して、これらの溝を胴差し22の側面に対向させて、胴差し22に前記角材(横桟木55)を直接金釘で打付けることも可能である。この場合、横桟木55の多数個所に溝を加工する手間が必要となり、コストが嵩むが、こうしたことは、既述のスペーサ52を用いることにより解消できる。   Further, the horizontal crosspiece 55 disposed with the communication path 51 provided between it and the trunk 22 extends continuously along the longitudinal direction of the trunk 22, so that it can be easily attached. At the same time, it is preferable that the horizontal crosspiece 55 can be used as it is without being subjected to any processing. That is, as a means for providing the communication passage 51, instead of omitting the spacer 52, a square bar having a dimension in consideration of the thickness of the spacer 52 is used as the cross beam 55, and a number of grooves extending in the vertical direction are processed on the side surface of the square bar. Then, it is possible to strike these square members (horizontal crosspieces 55) directly on the barrel insert 22 with a gold nail so that these grooves face the side surface of the barrel insert 22. In this case, it takes time and labor to process grooves at a large number of locations on the crosspiece 55, and the cost increases. However, this can be solved by using the spacer 52 described above.

その上、胴差し22の長手方向に沿って連続して延びる横桟木55と複数のスペーサ52とを組合せて使用することは、断熱層部分15a,15bの縁を横桟木55に沿わせるだけで、この横桟木55を介して断熱層部分15a,15bによる断熱の連続性を確保できるので、断熱層の加工の手間も簡単である。つまり、連通路51を設けるために、多数の短い横桟木を互いの間に隙間からなる連通路51を設けて、胴差し22の長手方向に沿って横一列に並べることも可能である。しかし、この場合には、多数の短い横桟木を逐一胴差し22に固定するための手間が必要となるだけではなく、連通路51を残して隙間の外側通気路16及び外装材14側を断熱材で埋めるために、前記隙間に合わせた形状の断熱材片を加工して、それを前記隙間に逐一埋め込んで接着するなどの手間が掛かる。しかし、こうしたことは、既述のように一直線状の連続して延びる横桟木55と複数のスペーサ52とを組合わせて用いることにより解消できる。   In addition, the use of a combination of the horizontal crosspiece 55 that continuously extends along the longitudinal direction of the trunk 22 and the plurality of spacers 52 can be achieved by simply placing the edges of the heat insulating layer portions 15a and 15b along the horizontal crosspiece 55. Since the heat insulation continuity by the heat insulation layer portions 15a and 15b can be ensured through the horizontal crosspiece 55, it is easy to process the heat insulation layer. In other words, in order to provide the communication path 51, it is possible to arrange a large number of short horizontal bars in a horizontal row along the longitudinal direction of the barrel 22 by providing the communication path 51 including gaps therebetween. In this case, however, not only is it necessary to fix a large number of short crosspieces to the barrel 22 one by one, but also the outer air passage 16 and the exterior member 14 side of the gap are insulated by leaving the communication passage 51. In order to fill it with a material, it takes time and effort to process a piece of heat insulating material having a shape corresponding to the gap, and embed it in the gap one by one. However, such a problem can be solved by using a combination of the horizontal crosspiece 55 extending in a straight line and the plurality of spacers 52 as described above.

以上説明したように本実施形態の住宅1は、胴差し22の側面とこれに釘止めされた横桟木55との間に形成された連通路51により、階下側通気路部分31と階上側通気路部分41とを連通させて、断熱層15の内側での壁体内通気路17を確保しつつ、火災中及び消火後においても外装材14の支持強度を保持できるとともに、火災時には遮炎のための通気断面積、つまり、連通路51及び横桟木55と外装材14との間の隙間を所定の大きさに保持することが可能である。   As described above, the house 1 according to the present embodiment has the downstairs air passage portion 31 and the upstairs airflow by the communication passage 51 formed between the side surface of the trunk 22 and the horizontal pier 55 nailed to the trunk 22. It is possible to maintain the support strength of the exterior member 14 even during and after a fire while keeping the wall ventilation path 17 inside the heat insulating layer 15 by communicating with the road portion 41, and for flame insulation in the event of a fire. It is possible to keep the ventilation cross-sectional area, that is, the gaps between the communication passage 51 and the horizontal pier 55 and the exterior material 14 at a predetermined size.

図6(A)(B)(C)は本発明の第2実施形態を示している。この実施形態は、基本的には第1実施形態と同じであるので、同じ構成については第1実施形態と同じ符号を付してその説明を省略し、以下、第1実施形態とは異なる事項を説明する。   6A, 6B, and 6C show a second embodiment of the present invention. Since this embodiment is basically the same as the first embodiment, the same components are denoted by the same reference numerals as those of the first embodiment, and the description thereof is omitted. Hereinafter, matters different from the first embodiment are described. Will be explained.

第2実施形態では、火災時に連通路を通る通気を遮断して住宅1の防耐火性能を得る構成が付加されている。すなわち、図6(A)の場合には、閉塞要素61が、横桟木55とその上側の断熱層部分15bの下縁との間に、これらに接着されることなく挟み込まれている。なお、これに代えて、或いは追加して、横桟木55とその下側の断熱層部分15aの上縁との間に閉塞要素61を挟み込んでもよい。この場合には、閉塞要素61は横桟木55に接着などにより保持される。   In 2nd Embodiment, the structure which interrupts | blocks the ventilation | gas_flowing which passes along a communicating path at the time of a fire and obtains the fireproof performance of the house 1 is added. That is, in the case of FIG. 6 (A), the blocking element 61 is sandwiched between the horizontal crosspiece 55 and the lower edge of the heat insulating layer portion 15b on the upper side without being bonded thereto. Instead of or in addition to this, the closing element 61 may be sandwiched between the crosspiece 55 and the upper edge of the heat insulating layer portion 15a below the crosspiece 55. In this case, the closing element 61 is held on the crosspiece 55 by bonding or the like.

又、いずれも場合にも、閉塞要素61に弾性変形が可能なものを用いて、既述のように挟み込んで配置することは、閉塞要素61の弾性変形によって、階下側の断熱層部分15a又は階上側の断熱層部分15bと横桟木55との間の気密性、及び断熱層部分15a又は断熱層部分15bが前記弾性により押し付けられる部分との間の気密性を確保できる点でも好ましい。   Further, in any case, using the element that can be elastically deformed as the closing element 61 and sandwiching and arranging it as described above, the heat insulating layer portion 15a on the downstairs side or due to the elastic deformation of the closing element 61 It is also preferable in that the airtightness between the heat insulating layer portion 15b on the upper floor and the horizontal pier 55 and the airtightness between the heat insulating layer portion 15a or the portion to which the heat insulating layer portion 15b is pressed by the elasticity can be secured.

更に、既述のように閉塞要素61を横桟木55と断熱層部分15a又は断熱層部分15bとの間に挟設することは、閉塞要素61の面を空気に晒されないように覆ってこの閉塞要素61を挟んだ部材によって、閉塞要素61の経年劣化を抑制することを兼ねることが可能である。このため、経年劣化を抑制する保護層を有さない廉価な閉塞要素61を使用できる点でも好ましい。   Furthermore, as described above, the closing element 61 is sandwiched between the cross pier 55 and the heat insulating layer portion 15a or the heat insulating layer portion 15b so that the surface of the closing element 61 is covered so as not to be exposed to air. The member sandwiching the element 61 can also serve to suppress the aging deterioration of the closing element 61. For this reason, it is preferable also in the point which can use the cheap closure element 61 which does not have a protective layer which suppresses aged deterioration.

図6(B)の場合には、閉塞要素61が、連通路51に臨んだ横桟木55の側面に接着材等を用いて取付けられている。なお、これに代えて、或いは追加して、閉塞要素61を連通路51に臨んだ胴差し22の側面に接着材等を用いて取付けることもできる。   In the case of FIG. 6B, the closing element 61 is attached to the side surface of the crosspiece 55 facing the communication path 51 using an adhesive or the like. Instead of or in addition to this, the closing element 61 may be attached to the side surface of the barrel 22 facing the communication path 51 using an adhesive or the like.

図6(B)の場合には、閉塞要素61が、外側通気路16に臨んだ横桟木55の側面に接着材等を用いて取付けられている。   In the case of FIG. 6 (B), the blocking element 61 is attached to the side surface of the crosspiece 55 facing the outer ventilation path 16 using an adhesive or the like.

横桟木55又は胴差し22の長手方向に沿って連続して延びる前記閉塞要素61は、所定温度以下では連通路51又は外側通気路16を通る通気を維持し、所定温度を超える温度では前記通気を閉じるように発泡膨張するものであって、本実施形態では未発泡の耐火性発泡剤を使用している。   The closing element 61 extending continuously along the longitudinal direction of the crosspiece 55 or the barrel 22 maintains the ventilation through the communication path 51 or the outer ventilation path 16 at a predetermined temperature or less, and the ventilation at a temperature exceeding the predetermined temperature. In this embodiment, an unfoamed fireproof foaming agent is used.

この発泡剤としては、炭化成分、炭化促進剤、発泡主剤、及びバインダ、そして必要に応じて添加される可塑剤、並びに充填剤を含む耐熱性樹脂組成物を例示できる。炭化成分はカーボンを生成させる主成分である。炭化促進剤は炭化成分のカーボン化を促進させる成分である。発泡主剤は発泡を担う主成分である。バインダは前記各材料を結合して耐熱性樹脂組成物の物性を改善するものである。そして、可塑剤は、耐熱性樹脂組成物に柔軟性を付与して塗膜の成形性を高める機能を有し、充填剤は、耐熱性樹脂組成物の不燃性を高めかつ発泡密度を高める機能を有する。   Examples of the foaming agent include a heat-resistant resin composition containing a carbonizing component, a carbonization accelerator, a foaming main agent, and a binder, and a plasticizer added as necessary, and a filler. A carbonization component is a main component which produces | generates carbon. The carbonization accelerator is a component that promotes carbonization of the carbonized component. The main foaming agent is the main component responsible for foaming. The binder improves the physical properties of the heat resistant resin composition by combining the above materials. The plasticizer has the function of imparting flexibility to the heat-resistant resin composition to increase the moldability of the coating film, and the filler has the function of increasing the nonflammability of the heat-resistant resin composition and increasing the foaming density. Have

未発泡の耐火性発泡剤からなる閉塞要素61は、支持材をなす木材の耐熱温度以下の所定温度で発泡して、この発泡を完了する性能を有している。前記発泡を開始する温度は、例えば60℃〜250℃、好ましくは200℃〜250℃であり、この温度を超える温度では発泡が完了して、この発泡により、連通路51を通る通気が実質的に遮断されるようになっている。なお、閉塞要素61をなす発泡剤には、前記例示のものの他に、熱で燃えて、膨らんで、この膨らみ状態で固体となる一般市販品を用いることができる。   The closing element 61 made of an unfoamed fire-resistant foaming agent has a performance of foaming at a predetermined temperature lower than the heat resistant temperature of the wood forming the support material and completing the foaming. The temperature at which the foaming is started is, for example, 60 ° C. to 250 ° C., preferably 200 ° C. to 250 ° C. When the temperature exceeds this temperature, the foaming is completed. It is supposed to be blocked by. As the foaming agent constituting the closing element 61, in addition to the above-mentioned examples, a general commercial product that burns with heat and swells and becomes solid in this swelled state can be used.

第2実施形態において、火災時に壁体内通気路17に万が一火炎が侵入して、階下側の断熱層部分15a及び階上側の断熱層部分15bが溶けるような高温状態になると、その温度雰囲気によって閉塞要素61が発泡膨張する。   In the second embodiment, in the event of a fire, if a flame enters the wall ventilation path 17 and the heat insulation layer portion 15a on the lower floor side and the heat insulation layer portion 15b on the lower floor are melted, they are blocked by the temperature atmosphere. Element 61 expands and expands.

この場合、図6(A)の例では、横桟木55の上側において胴差し22の側面と外装材14の裏面との間にわたって閉塞要素61が発泡膨張して、胴差し22の側面と外装材14の裏面との間を発泡した閉塞要素61が横桟木55とともに塞いで、外側通気路16及び壁体内通気路17を通る通気及び火炎を断つことができる。これにより、壁体11内での上方への火災の延焼を抑制できる。   In this case, in the example of FIG. 6A, the closing element 61 is expanded and expanded between the side surface of the barrel 22 and the back surface of the exterior member 14 on the upper side of the horizontal crosspiece 55, so The sealing element 61 foamed between the back surface of 14 and the horizontal crosspiece 55 is closed together, and ventilation and flame passing through the outer ventilation path 16 and the wall ventilation path 17 can be cut off. Thereby, the fire spread of the upward flame in the wall 11 can be suppressed.

図6(B)の例では、横桟木55の側面に保持されている閉塞要素61が発泡膨張して、胴差し22と横桟木55との間の連通路51が膨張した閉塞要素61で塞がれる。これにより、壁体11内で連通路51を通って上方へ火災が延焼することを抑制できる。   In the example of FIG. 6 (B), the closing element 61 held on the side surface of the horizontal pier 55 is expanded and expanded, and the communication path 51 between the barrel 22 and the horizontal pier 55 is expanded and closed. Can be removed. Thereby, it can suppress that a fire spreads upward through the communicating path 51 within the wall body 11. FIG.

図6(C)の例では、横桟木55の他側面に保持されている閉塞要素61が発泡膨張して、外装材14と横桟木55との間の外側通気路16が膨張した閉塞要素61で塞がれる。これにより、壁体11内で外側通気路16を通って上方へ火災が延焼することを抑制できる。   In the example of FIG. 6C, the closing element 61 held on the other side surface of the horizontal pier 55 is expanded by foaming, and the outer ventilation path 16 between the exterior member 14 and the horizontal pier 55 is expanded. It is blocked by. Thereby, it can suppress that a fire spreads through the outer ventilation path 16 in the wall 11 upwards.

そして、既述のように階下側の断熱層部分15a等が、侵入した火炎の高熱で溶かされる事態に至っても、スペーサ52及び横桟木55が所定位置に保持され、横桟木55と外装材14の裏面との間の通気断面積、及び横桟木55と胴差し22との間の連通路51の通気断面積が変化しないように維持される。言い換えれば、壁体11の断熱層部分15a,15bの少なくとも一方が溶けても、閉塞要素61の発泡で閉塞すべき通気断面積が変化しないので、既述の発泡による延焼抑制が確実であることは勿論のこと、そのために使用する閉塞要素61を無闇に要することがなく効率的に使用できる。   As described above, even when the heat insulation layer portion 15a on the downstairs side is melted by the high heat of the intruding flame, the spacer 52 and the horizontal beam 55 are held at predetermined positions, and the horizontal beam 55 and the exterior material 14 are retained. The ventilation cross-sectional area between the back surface of the pier and the ventilation cross-sectional area of the communication passage 51 between the horizontal bridge 55 and the trunk 22 is maintained so as not to change. In other words, even if at least one of the heat insulating layer portions 15a and 15b of the wall 11 is melted, the ventilation cross-sectional area to be blocked by foaming of the closing element 61 does not change, so that the above-described suppression of fire spread by foaming is sure. Needless to say, the closing element 61 used for this purpose can be used efficiently without requiring darkness.

しかも、図6(A)及び図6(B)の構成は、火災に伴い所定温度以上で発泡膨張する閉塞要素61は、横桟木55の長手方向に沿って連続して伸びていて、閉塞要素支持材として機能する横桟木55と断熱層部分15b又はスペーサ52との間に挟まれている。これにより、閉塞要素61が所定位置に取付け保持されているので、その保持性能が優れ、数十年にわたる長期の経過に拘わらず閉塞要素61が脱落する恐れがない。このため、火災時において確実に閉塞要素61を機能させて、連通路51を通る通気及び火炎を断つことができる。   Moreover, in the configuration of FIGS. 6A and 6B, the closing element 61 that foams and expands at a predetermined temperature or more due to a fire extends continuously along the longitudinal direction of the crosspiece 55, and the closing element 61 It is sandwiched between the crosspiece 55 functioning as a support material and the heat insulating layer portion 15b or the spacer 52. Thereby, since the closing element 61 is attached and held at a predetermined position, its holding performance is excellent, and there is no possibility that the closing element 61 falls off over a long period of time over several decades. For this reason, the closure element 61 can be made to function reliably at the time of a fire, and the ventilation | gas_flowing and flame which pass along the communicating path 51 can be cut off.

更に、図6(B)の構成では、横桟木55及びスペーサ52が木製である場合、それらは火災に伴う温度上昇により乾燥して熱収縮することがある。しかし、連通路51内の温度雰囲気が所定の高温状態になると、発泡膨張して連通路51を塞ぐ閉塞要素61が、これを横桟木55との間に挟んでいるスペーサ52を胴差し22に押し付けるため、横桟木55とスペーサ52との間及びスペーサ52と胴差し22との間に隙間が形成されることが抑制される。このため、スペーサ52とこれを挟む胴差し22及び横桟木55との間を通して高温が金釘53に及ぶことを抑制できる。この結果、横桟木55の支持強度、ひいては外装材14の支持強度を保持する上で好ましい。   Further, in the configuration of FIG. 6B, when the crosspiece 55 and the spacer 52 are made of wood, they may be dried and thermally contracted due to a temperature rise caused by a fire. However, when the temperature atmosphere in the communication path 51 reaches a predetermined high temperature state, the closing element 61 that foams and expands and closes the communication path 51 has the spacer 52 sandwiching it between the crosspiece 55 and the trunk 22. As a result of the pressing, the formation of gaps between the crosspiece 55 and the spacer 52 and between the spacer 52 and the trunk 22 is suppressed. For this reason, it is possible to suppress the high temperature from reaching the gold nail 53 through the space between the spacer 52 and the barrel 22 and the cross pier 55 sandwiching the spacer 52. As a result, it is preferable to maintain the supporting strength of the horizontal crosspiece 55 and, consequently, the supporting strength of the exterior material 14.

以上説明した事項以外の第2実施形態の構成及び作用は第1実施形態と同じである。したがって、第2実施形態の住宅1は、胴差し22の側面とこれに釘止め等により連結された横桟木55との間に形成された連通路51により、階下側通気路部分31と階上側通気路部分41とを連通させて、断熱層15の内側での壁体内通気路17を確保しつつ、火災中及び消火後においても外装材14の支持強度を保持できるとともに、火災の際には閉塞要素61により連通路51を通る通気を遮断して住宅1の防耐火性能を得ることができる。   The configuration and operation of the second embodiment other than those described above are the same as those of the first embodiment. Therefore, the house 1 according to the second embodiment is configured such that the downstairs airway portion 31 and the upper floor are connected to each other by the communication path 51 formed between the side surface of the trunk 22 and the horizontal crosspiece 55 connected to the sidebar by a nail or the like. While communicating with the air passage portion 41 to secure the in-wall air passage 17 inside the heat insulating layer 15, the support strength of the exterior material 14 can be maintained even during and after a fire, and in the event of a fire The fire-proof performance of the house 1 can be obtained by blocking the ventilation through the communication path 51 by the closing element 61.

図7及び図8は本発明の第3実施形態を示している。この実施形態は、基本的には第1実施形態と同じであるので、同じ構成については第1実施形態と同じ符号を付してその説明を省略し、以下、第1実施形態とは異なる事項を説明する。   7 and 8 show a third embodiment of the present invention. Since this embodiment is basically the same as the first embodiment, the same components are denoted by the same reference numerals as those of the first embodiment, and the description thereof is omitted. Hereinafter, matters different from the first embodiment are described. Will be explained.

第3実施形態では、胴差し22の側面に、その長手方向に沿って間隔的に複数の凸部22aとこれに隣接して連通路51として機能する複数の溝22bとを設けている。溝22bの上下両端は夫々開放されている。胴差し22の凸部22aとこれを横切るように配置された横桟木55との間には、横桟木55にその長手方向に沿って連続して延びる閉塞要素61が挟まれており、この閉塞要素61を挿通して凸部22aに金釘56が打ち込まれることによって、横桟木55が胴差し22の側面にこの胴差し22の長手方向に連続して延びて連結されている。これにより、胴差し22と横桟木55との間に溝22bからなる上下両端が開放された複数の連通路51が形成されている。第3実施形態では以上のように連通路51を構成したので、木摺り及びスペーサは省略されている。又、凸部22aと横桟木55とで挟まれていない閉塞要素61の非挟設部分は連通路51に臨んでいる。   In 3rd Embodiment, the some convex part 22a and the some groove | channel 22b which function as the communicating path 51 adjacent to this are provided in the side surface of the trunk 22 at intervals along the longitudinal direction. The upper and lower ends of the groove 22b are open. Between the convex part 22a of the trunk 22 and the horizontal crosspiece 55 arranged so as to cross this, a closing element 61 continuously extending along the longitudinal direction is sandwiched between the horizontal crosspieces 55. By inserting the element 61 and driving the gold nail 56 into the convex portion 22 a, the crosspiece 55 is continuously connected to the side surface of the barrel 22 in the longitudinal direction of the barrel 22. As a result, a plurality of communication passages 51 are formed between the barrel 22 and the horizontal crosspiece 55 and open at both the upper and lower ends formed by the grooves 22b. In the third embodiment, the communication path 51 is configured as described above, so that the woodcutter and the spacer are omitted. Further, the non-clamping portion of the closing element 61 that is not sandwiched between the convex portion 22 a and the horizontal crosspiece 55 faces the communication path 51.

以上説明した事項以外の第3実施形態の構成は第1実施形態と同じである。したがって、この第3実施形態でも、第1実施形態と同様な作用により本発明の課題を解決できる。更に、閉塞要素61を備えているので、第2実施形態の図6(B)に示した構成と同様の作用効果を得て、火災の際には閉塞要素61により連通路51を通る通気を遮断して住宅1の防耐火性能を得ることができる。   The configuration of the third embodiment other than the items described above is the same as that of the first embodiment. Therefore, even in the third embodiment, the problem of the present invention can be solved by the same operation as in the first embodiment. Further, since the closure element 61 is provided, the same effect as the configuration shown in FIG. 6B of the second embodiment is obtained, and ventilation through the communication path 51 is performed by the closure element 61 in the event of a fire. The fireproof performance of the house 1 can be obtained by blocking.

本発明は前記各実施形態には制約されない。例えば、前記各実施形態では、床下空間と小屋裏空間とにわたる通気経路の中で、壁体内通気路の高さ方向中間位置に配置した連通路によって、壁体内通気路の上下に隣接した壁体内通気路部分同士を連通させたが、本発明は、壁体内通気路と床下空間とを連通させるために、壁体内通気路の高さ方向下端に連通路を配置して実施することも可能であり、又、壁体内通気路と小屋裏空間とを連通させるために、壁体内通気路の高さ方向上端に連通路を配置して実施することも可能である。   The present invention is not limited to the above embodiments. For example, in each of the above-described embodiments, the wall body adjacent to the upper and lower sides of the intra-wall ventilation path is formed by the communication path disposed at the intermediate position in the height direction of the intra-wall ventilation path in the ventilation path extending between the underfloor space and the attic space. Although the vent passage portions are communicated with each other, the present invention can be practiced by arranging a communication passage at the lower end in the height direction of the vent passage in the wall in order to communicate the vent passage in the wall and the underfloor space. In addition, it is also possible to arrange a communication path at the upper end in the height direction of the wall ventilation path in order to communicate the wall ventilation path and the cabin space.

又、本発明は、外側通気路を有さないで断熱層の内側に壁体内通気路を形成した住宅等の建物にも適用可能である。   The present invention is also applicable to a building such as a house that does not have an outer air passage and has a wall air passage formed inside the heat insulating layer.

本発明の第1実施形態に係る壁体を備えた住宅を示す概略断面図。The schematic sectional drawing which shows the house provided with the wall body which concerns on 1st Embodiment of this invention. 図1の住宅が備えた胴差し回りを示す断面図。FIG. 2 is a cross-sectional view showing a case where the house shown in FIG. 断熱層を除去した状態で図2中F3−F3線に沿って胴差し回りを示す正面図。The front view which shows the circumference of a trunk along F3-F3 line | wire in FIG. 2 in the state which removed the heat insulation layer. 図2中F4−F4線に沿って胴差し回りを示す断面図。FIG. 3 is a cross-sectional view showing the body insertion along the line F4-F4 in FIG. 2; 断熱層を除去した状態で図1の住宅が備えた胴差し回りを示す断面図。Sectional drawing which shows the trunk periphery with which the house of FIG. 1 was equipped in the state which removed the heat insulation layer. (A)から(C)は本発明の第2実施形態に係る閉塞要素付きの壁体を備えた住宅の胴差し回りの夫々異なる例を示す断面図。(A) to (C) is a cross-sectional view showing different examples around the torso of a house provided with a wall with a closure element according to a second embodiment of the present invention. 本発明の第3実施形態に係る壁体を備えた住宅の胴差し回りを示す断面図。Sectional drawing which shows the trunk periphery of the house provided with the wall body which concerns on 3rd Embodiment of this invention. 図7中F8−F8線に沿って胴差し回りを示す断面図。FIG. 8 is a cross-sectional view showing the circumference of the trunk along the line F8-F8 in FIG. 7;

符号の説明Explanation of symbols

1…住宅(建物)
2a…床下空間
3…床下換気口
11…壁体
13…小屋裏空間
14…外装材
15…断熱層
15a…階下側の断熱層部分
15b…階上側の断熱層部分
16…外側通気路
17…壁体内通気路
18…強制換気装置(換気部)
21…柱
22…胴差し(横架材)
22a…胴差しの凸部
22b…胴差しの溝
31…壁体内通気路の階下側通気路部分
32…石膏ボード
33…木摺り
33a…木摺りの間隙
41…壁体内通気路の階上側通気路部分
42…石膏ボード
43…木摺り
43a…木摺りの間隙
51…連通路
52…スペーサ
53…金釘(連結金具)
55…横桟木
56…金釘(連結金具)
58…縦胴縁
61…閉塞要素
1 ... Housing (building)
2a ... Under-floor space 3 ... Under-floor ventilation port 11 ... Wall body 13 ... Hut space 14 ... Exterior material 15 ... Heat insulation layer 15a ... Heat insulation layer portion on the lower floor 15b ... Heat insulation layer portion on the upper floor 16 ... Outer air passage 17 ... Wall Body ventilation path 18 ... Forced ventilation system (ventilation part)
21 ... pillar 22 ... torso (horizontal material)
22a ... Projection portion of torso 22b ... Groove in torso 31 ... Downstairs airway part of wall ventilation path 32 ... Gypsum board 33 ... Wood scraping 33a ... Wood scraping gap 41 ... Upper floor air passage of wall ventilation path Portion 42 ... Gypsum board 43 ... Wood scraper 43a ... Wood scraper gap 51 ... Communication path 52 ... Spacer 53 ... Gold nail (connecting bracket)
55 ... Horizontal piers 56 ... Gold nails (connecting brackets)
58 ... Vertical trunk edge 61 ... Occlusion element

Claims (6)

床下空間と小屋裏空間とを連通する壁体内通気路を断熱層の内側に有するとともにこの断熱層を外装材で被った建物の壁体において、
建物の外周に沿って水平方向に置かれる横架材と、この横架材の長手方向に連続して延びて前記横架材の側面に連結金具で連結されるとともに前記断熱層に対して上下方向に連続する横桟木とを備え、前記横桟木と前記横架材との間に前記床下空間と小屋裏空間とにわたる通気のための連通路を形成し、前記横桟木に縦胴縁を介して前記外装材を他の連結金具で連結したことを特徴とする建物の外壁。
In the wall of the building that has a wall ventilation path that communicates the underfloor space and the attic space inside the heat insulation layer and this heat insulation layer is covered with an exterior material,
A horizontal member placed in a horizontal direction along the outer periphery of the building, and continuously extending in the longitudinal direction of the horizontal member and connected to the side surface of the horizontal member by a connecting bracket and vertically with respect to the heat insulating layer A transverse pier that is continuous in a direction, and a communication passage is formed between the horizontal pier and the horizontal member for ventilation between the underfloor space and the shed space, and a vertical trunk rim is provided on the horizontal pier. The exterior wall of the building, wherein the exterior material is connected by another connecting bracket.
前記横架材の長手方向に沿って間隔的に配置される複数のスペーサを、前記横架材に前記横桟木とともに前記連結金具で連結したことを特徴とする請求項1に記載の建物の外壁。   The outer wall of the building according to claim 1, wherein a plurality of spacers arranged at intervals along the longitudinal direction of the horizontal member are connected to the horizontal member together with the horizontal pier by the connecting bracket. . 前記スペーサの上下方向の寸法を、前記横桟木の上下方向の寸法より大きくしたことを特徴とする請求項2に記載の建物の外壁。   The outer wall of the building according to claim 2, wherein the vertical dimension of the spacer is larger than the vertical dimension of the horizontal pier. 前記スペーサを、熱収縮が木材に比較して小さくかつ金属より熱伝導性が小さい耐熱材料で形成したことを特徴とする請求項2又は3に記載の建物の壁体。   The building wall according to claim 2 or 3, wherein the spacer is formed of a heat-resistant material having a thermal contraction smaller than that of wood and having a thermal conductivity smaller than that of metal. 所定温度以下では前記連通路を開いた状態に維持し、所定温度を超える温度では前記連通路を閉じるように発泡膨張する閉塞要素を、前記横桟木に支持させたことを特徴とする請求項1から4の内のいずれか1項に記載の建物の壁体。   2. The horizontal pier supports a closing element that expands and expands so that the communication path is kept open at a temperature lower than a predetermined temperature and closes the communication path at a temperature exceeding a predetermined temperature. 5. The building wall according to any one of items 1 to 4. 請求項1から5の内のいずれか1項に記載の壁体を具備した建物。   A building comprising the wall according to any one of claims 1 to 5.
JP2004103635A 2004-03-31 2004-03-31 Building wall body and building Pending JP2005290695A (en)

Priority Applications (1)

Application Number Priority Date Filing Date Title
JP2004103635A JP2005290695A (en) 2004-03-31 2004-03-31 Building wall body and building

Applications Claiming Priority (1)

Application Number Priority Date Filing Date Title
JP2004103635A JP2005290695A (en) 2004-03-31 2004-03-31 Building wall body and building

Publications (1)

Publication Number Publication Date
JP2005290695A true JP2005290695A (en) 2005-10-20

Family

ID=35323944

Family Applications (1)

Application Number Title Priority Date Filing Date
JP2004103635A Pending JP2005290695A (en) 2004-03-31 2004-03-31 Building wall body and building

Country Status (1)

Country Link
JP (1) JP2005290695A (en)

Cited By (1)

* Cited by examiner, † Cited by third party
Publication number Priority date Publication date Assignee Title
JP2015121033A (en) * 2013-12-24 2015-07-02 大和ハウス工業株式会社 Building ventilation structure

Cited By (1)

* Cited by examiner, † Cited by third party
Publication number Priority date Publication date Assignee Title
JP2015121033A (en) * 2013-12-24 2015-07-02 大和ハウス工業株式会社 Building ventilation structure

Similar Documents

Publication Publication Date Title
O’Connor The building envelope: fire spread, construction features and loss examples
JP6240546B2 (en) Ventilator for sash window and sash window
JP7337827B2 (en) Back-ventilated building facade and its manufacturing method
JP4113064B2 (en) Wall of building, building, and fire prevention method
JP3961356B2 (en) Building
JP2005290695A (en) Building wall body and building
JP4086715B2 (en) Wall structure and building
KR102178344B1 (en) Structure for preventing fire diffusion and construction method thereof
EP4347971B1 (en) A ventilated façade cladding system
JP4426889B2 (en) Building walls and buildings
JP4477917B2 (en) Building walls and buildings
JP2007120252A (en) Heat-resistant outside heat insulation structure and its construction method
JP4846328B2 (en) Architectural wall body with flame barrier function, building with flame barrier function, and fire prevention method for building
EP3739140B1 (en) A fire retaining wall structure assembly for partitioning adjacent spaces
JP7468581B2 (en) Building
RU2820736C1 (en) Heat-insulating plate and method of its application for facade heat-insulating composite system
JP2011185039A (en) Wall body for construction with fire shielding function and construction with fire shielding function as well as fire protection method of construction
JP4017640B2 (en) Fireproof structure of wooden outer wall
JP5060932B2 (en) Fireproof eaves structure
JP3214116U (en) Exterior wall structure of wooden house
JP3961357B2 (en) Flameproof body, building wall, and building
JP2004052246A (en) Flame-proof ventilation cylinders, building walls, and buildings
JP3139731U (en) Fireproof eaves structure
JP4060780B2 (en) Building
JPH04128449A (en) Fire spreading preventive device

Legal Events

Date Code Title Description
A621 Written request for application examination

Free format text: JAPANESE INTERMEDIATE CODE: A621

Effective date: 20070129

A977 Report on retrieval

Free format text: JAPANESE INTERMEDIATE CODE: A971007

Effective date: 20080801

A131 Notification of reasons for refusal

Free format text: JAPANESE INTERMEDIATE CODE: A131

Effective date: 20090825

A02 Decision of refusal

Free format text: JAPANESE INTERMEDIATE CODE: A02

Effective date: 20100105