JP2005166364A - フラットケーブル用端子 - Google Patents
フラットケーブル用端子 Download PDFInfo
- Publication number
- JP2005166364A JP2005166364A JP2003401942A JP2003401942A JP2005166364A JP 2005166364 A JP2005166364 A JP 2005166364A JP 2003401942 A JP2003401942 A JP 2003401942A JP 2003401942 A JP2003401942 A JP 2003401942A JP 2005166364 A JP2005166364 A JP 2005166364A
- Authority
- JP
- Japan
- Prior art keywords
- ffc
- flat cable
- cable terminal
- contact
- folded
- Prior art date
- Legal status (The legal status is an assumption and is not a legal conclusion. Google has not performed a legal analysis and makes no representation as to the accuracy of the status listed.)
- Pending
Links
- 239000004020 conductor Substances 0.000 claims abstract description 17
- 238000003780 insertion Methods 0.000 abstract description 18
- 230000037431 insertion Effects 0.000 abstract description 18
- 238000004080 punching Methods 0.000 abstract description 7
- 238000004519 manufacturing process Methods 0.000 abstract description 5
- 238000000034 method Methods 0.000 abstract description 5
- 238000003860 storage Methods 0.000 description 9
- 239000000463 material Substances 0.000 description 6
- 238000007747 plating Methods 0.000 description 5
- 238000005452 bending Methods 0.000 description 4
- 239000002184 metal Substances 0.000 description 4
- 229910000679 solder Inorganic materials 0.000 description 3
- 230000004308 accommodation Effects 0.000 description 2
- 238000000465 moulding Methods 0.000 description 2
- 238000005476 soldering Methods 0.000 description 2
- ATJFFYVFTNAWJD-UHFFFAOYSA-N Tin Chemical compound [Sn] ATJFFYVFTNAWJD-UHFFFAOYSA-N 0.000 description 1
- 238000011161 development Methods 0.000 description 1
- 238000010586 diagram Methods 0.000 description 1
- 230000000694 effects Effects 0.000 description 1
- 230000001788 irregular Effects 0.000 description 1
- 239000007769 metal material Substances 0.000 description 1
- 238000012986 modification Methods 0.000 description 1
- 230000004048 modification Effects 0.000 description 1
- 238000005192 partition Methods 0.000 description 1
- 230000002093 peripheral effect Effects 0.000 description 1
- 238000012545 processing Methods 0.000 description 1
- 230000003014 reinforcing effect Effects 0.000 description 1
- 239000012779 reinforcing material Substances 0.000 description 1
- 239000011347 resin Substances 0.000 description 1
- 229920005989 resin Polymers 0.000 description 1
- 238000007493 shaping process Methods 0.000 description 1
Images
Landscapes
- Coupling Device And Connection With Printed Circuit (AREA)
Abstract
【課題】 製造コストの上昇を招くことなく、コネクタに対するフラットケーブルの組み付け性の改善を図ることを目的とする。
【解決手段】 フラットケーブル用端子60は、回路基板10に接続される脚部61とFFC30に接続されるジョイント部63よりなる。ジョイント部63は上下一対の弾性変位可能な対向片、すなわち上側片部64と下側片部68とからなる。上側片部64の先端部65の下部には弧状の接面66が形成されている。FFC30が差し込まれると、上側片部64はFFC30に押されて上方へ弾性変形しFFC30の挿入動作を許容するとともに、接面66の頂点部66AがFFC30の導電体31に弾接する。この接面66は折り返し縁によって構成されるから、その表面は打ち抜き加工の影響を受けず凹凸のない滑らかな面となる。従って、FFC30を挿入する際の挿入抵抗が小さくなり、組み付け性に優れる。
【選択図】 図8
Description
本発明は、フラットケーブル用端子に関する。
FFC(フレキシブルフラットケーブル)等のシート状導電体に接続される端子金具として、回路基板側に接続される脚部と、FFCに弾接される弾性接触片を備えたものが知られている(特許文献1)。
端子金具は平板状の板材を略V字状に打ち抜いて形成される。端子金具の一辺には前記脚部が設けられており、回路基板に対してはんだ付けにより固定されるようになっている。一方、端子金具の他方側の辺は弾性変位可能な弾性接触片とされている。この弾性接触片はFFCがコネクタ内に挿入される過程においては、FFCに摺接した状態にあって、FFCの挿入動作が完了したときには、その板厚面がFFCの導電路に対して弾接するようになっている。
実開平6−88079号公報
端子金具は平板状の板材を略V字状に打ち抜いて形成される。端子金具の一辺には前記脚部が設けられており、回路基板に対してはんだ付けにより固定されるようになっている。一方、端子金具の他方側の辺は弾性変位可能な弾性接触片とされている。この弾性接触片はFFCがコネクタ内に挿入される過程においては、FFCに摺接した状態にあって、FFCの挿入動作が完了したときには、その板厚面がFFCの導電路に対して弾接するようになっている。
上記構造によれば、コネクタに対してFFCを挿入する際に、FFCの導電体と弾性片の板厚面とが擦れ合った状態にあるが、端子金具は板材を打ち抜いて形成されるから、その板厚面には剪断面と破断面が現れる。そのため、FFCの挿入作業の際に、FFCが端子金具の破断面に引っ掛ってしまうと、挿入抵抗が大きくなる場合があり組み付け性が悪くなってしまう。これを、解消しようとすると、端子金具を加工した後に、後メッキをする方策が考えられるが、この場合には製造工程数の増加に伴い製造コストが高くなってしまい、改善の余地があった。
本発明は上記のような事情に基づいて完成されたものであって、製造コストの上昇を招くことなく、コネクタに対するフラットケーブルの組み付け性の改善を図ることを目的とする。
本発明は上記のような事情に基づいて完成されたものであって、製造コストの上昇を招くことなく、コネクタに対するフラットケーブルの組み付け性の改善を図ることを目的とする。
上記の目的を達成するための手段として、請求項1の発明は、回路基板上に取り付けられて同回路基板上の導電路と、少なくともフラットケーブルの端末の一面に露出される導電体とを導通させるフラットケーブル用端子であって、前記回路基板の導電路に対して接続可能とされた脚部と、前記フラットケーブルの導電体に対して弾接可能とされた接点を設けたジョイント部とを備えてなるとともに、前記ジョイント部はその一部を折り返して形成され、当該折り返し縁によって前記接点が構成される構成であるところに特徴を有する。
請求項2の発明は、請求項1に記載のものにおいて、前記ジョイント部のうち前記折り返し縁を形成する折り返し部は、折り返し前の状態においては、その板厚寸法が当該折り返し部以外の他の部分の板厚寸法のほぼ半分の厚さとされるが、密着状に折り返されることで、折り返し後には、当該密着部分の板厚寸法が当該折り返し部以外の他の部分の板厚寸法とほぼ等しくなる寸法設定であるところに特徴を有する。
請求項3の発明は、請求項1又は請求項2に記載のものにおいて、前記折り返し縁は、弧状をなす構成であるところに特徴を有する。
<請求項1の発明>
請求項1の発明によれば、フラットケーブルに対する接点は折り返し縁よりなる。従って、その表面は板材の表面と同様の滑らかな面となるから、コネクタハウジングに対するフラットケーブルの挿入性に優れる。
請求項1の発明によれば、フラットケーブルに対する接点は折り返し縁よりなる。従って、その表面は板材の表面と同様の滑らかな面となるから、コネクタハウジングに対するフラットケーブルの挿入性に優れる。
<請求項2の発明>
請求項2の発明によれば、折り返し後における折り返し部の板厚は、他の部分の板厚と同幅であるから、端子金具の幅が板厚方向に関して拡張されることがない。
請求項2の発明によれば、折り返し後における折り返し部の板厚は、他の部分の板厚と同幅であるから、端子金具の幅が板厚方向に関して拡張されることがない。
<請求項3の発明>
請求項3の発明によれば、折り返し縁は弧状をなすから、フラットケーブルの導電体に対する接圧が高くなる。
請求項3の発明によれば、折り返し縁は弧状をなすから、フラットケーブルの導電体に対する接圧が高くなる。
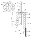
本発明の一実施形態を図1ないし図11によって説明する。
図1に示す10は回路基板であって、その上面の端部にはFFC(フレキシブルフラットケーブル)30を回路基板10に接続するためのコネクタ40が固定されている。FFC30は、内部に一定ピッチ間隔で配された複数本の導電体31の上下両面を樹脂製のフィルム32で被覆してなるとともに、先端部(図1中、奥側)では上側のフィルム32が剥ぎ取られて導電体31が露出されている。また、先端部の下面には樹脂性の薄板よりなる補強材33が貼り付けられており、先端部が屈曲しないように補強されている。
図1に示す10は回路基板であって、その上面の端部にはFFC(フレキシブルフラットケーブル)30を回路基板10に接続するためのコネクタ40が固定されている。FFC30は、内部に一定ピッチ間隔で配された複数本の導電体31の上下両面を樹脂製のフィルム32で被覆してなるとともに、先端部(図1中、奥側)では上側のフィルム32が剥ぎ取られて導電体31が露出されている。また、先端部の下面には樹脂性の薄板よりなる補強材33が貼り付けられており、先端部が屈曲しないように補強されている。
コネクタ40は直方体形状のコネクタハウジング50とフラットケーブル用端子(以下、単に端子金具という。)60とを備えてなる。コネクタハウジング50の内部には、FFC30を挿入するための収容室51が形成されており、前面50Aに形成された差し込み口52を介してFFC30の先端部が収容室51内に差し込まれるようになっている。差し込み口52の内周のうち上下両縁部は内方へ斜めに切り欠かれて、案内面52Aが形成されており、収容室51内へのFFC30の挿入動作を案内するようになっている。また、図2に示すように、収容室51の後部(同図の奥側)は収容室51を複数の隔壁53が一定ピッチ間隔で設けられており、各隔壁53間を通じて、後方から次述する端子金具60が収容室51内に個別に挿入されるようになっている。
端子金具60はメッキ処理(本実施形態においてはスズメッキ)が施された金属板製であって、回路基板10に接続される脚部61とFFC30に接続されるジョイント部63よりなる。脚部61はブロック状をなすとともに、組み付け状態においてはコネクタハウジング50の後面下縁部から後方へ突出するようになっている。更に、脚部61の下面が回路基板10の上面に設けられる導電路11に対して対面するようになっており、図4に示すように、導電路11に対してその前端及び後端がはんだ付けされるようになっている。また、本実施形態においては、はんだ付け可能な部位として前記した脚部61の前後に加えて、脚部61の下面であって長さ方向の中央部分にはんだ溝62が形成されている。はんだ溝62は脚部61を左右に貫通して設けられており、そこへは、溶融はんだが進入可能とされている。このように、脚部63の複数箇所をはんだ付けすることによって、回路基板10に対する脚部63の接続強度の向上を図っている。
ジョイント部63はコネクタ40に対するFFC30の挿入方向に沿って伸びる上下一対の弾性変位可能な対向片、すなわち上側片部64と下側片部68とからなるとともに、図2に示すようにコネクタハウジング50の収容室51内に収容されるようになっている。これら両片部のうち下側片部68の前端面は切り立つ垂直面とされ、収容室51の差し込み口52の周縁の内壁に対する当て面68Bとなっている。そのため、組み付け時においては当て面68Bが収容室51の内壁に干渉することで、端子金具60の挿入規制を行うようになっている。また、下側片部68の上面は平坦面とされており、そこはFFC30を下支えするための受け面68Aとなっている。
一方、上側片部64の上面には段差64Aが設けられており、収容室51の天井面51Aとの間に僅かな隙間を保有している。また、上側片部64の先端部(図3に示すように先端からの幅寸法がBである部分)65の下部側は前記受け面68Aに向けて延設されており、受け面68Aと対向する部分には弧状の接面66が形成されている。この接面66は受け面68Aとの間に、FFC30に対する収容口71を形成している。この収容口71は、図3に示すようにコネクタハウジング50に設けられる差し込み口52の奥側(組み付け方向)に位置するとともに、その開口幅はFFC30の厚さより若干狭く設定されている。
そのため、差し込み口52にFFC30が差し込まれると、上側片部64はFFC30に押されて上記僅かな隙間(撓み空間)内へ弾性変形しFFC30の挿入動作を許容するとともに、接面66の頂点部66AがFFC30の導電体31に弾接するようになっている。尚、先端部65が本発明の折り返し部に相当するものであり、頂点部66Aが接点に相当するものである。
ところで、端子金具60は予め前記メッキ処理が施された金属製の板材を打ち抜いて形成されるが、上側片部64の先端部65は打ち抜き加工後の状態では、図10に示すように、下方に張り出している。この張り出し部Sは、同図において一点鎖線で示す折れ線Lで図示上方、すなわち下縁側(図10の下側)から上縁側(図10の上側)へ折り返されるようになっており、その折り返し縁によって前記接面66が構成されるようになっている。
このように接面66が板材を折り曲げた曲げ面によって構成されるから、その表面は打ち抜き加工の影響(板厚面であればいわゆる破断面が出来る)を受けることがなく凹凸のない滑らかな面となるし、その表面には前記メッキ処理が施されている。従って、FFC30を組み付ける際の挿入抵抗が小さくなる。
また、折れ線Lは奥行き方向(FFC30の挿入方向)の中央部分に最下点があるような弧状をなす。そのため、FFC30を組み付ける際に、FFC30が接面(折り返し縁)66の端部に引っかかることがなく、また、接圧も大きくとることが可能となる。
更に、図11に示すように、上側片部64の先端部65の板厚は、その他の部分の板厚に比べてその厚さがほぼ半分となっており、更に、張り出し部Sの折り返し角度はほぼ180°とされ、折り返された部分が折り返されていない部分の板面に密着するようになっている(密着曲げ)。従って、図9に示すように、折り曲げ加工後の先端部65の板厚が他の部分の板厚とほぼ等しくなるような構成となっている。このような構成とすることで、端子金具60の幅寸法が板厚方向に関して拡張されることがない。
尚、折り返し前の状態において先端部65の板厚が他の部分の板厚に比べて薄くなっているが(部分的に金属材の板厚が異なる構成となっている)、これにはロール成形によって板材の断面そのものを異形とするもの、或いはプレスによって圧力を加えることで部分的に板厚を変化させるもの等が考えられるが、本実施形態においては、後者を採用することとしている。また、下側片部68の付け根部には係止突起(図示せず)が形成される一方、収容室51の底面には係止突起に対する受け部(図示せず)が設けられており収容室51内に収容された各端子金具60を抜け止めするようになっている。
続いて、本実施形態の作用効果について説明する。
FFC30をコネクタ40に対して組み付けるには、FFC30を補強材33を下に向けた状態でコネクタ40の差し込み口52に対して位置合わせするとともに、その状態から、FFC30をコネクタ40の収容室51に向けて押し込む。すると、FFC30は差し込み口52に設けられる案内面52Aによる案内作用をうけて水平姿勢を保ったまま収容室51内へと挿入されてゆき、やがて、FFC30の導電体31が各端子金具60の接面66に対して当接する。
FFC30をコネクタ40に対して組み付けるには、FFC30を補強材33を下に向けた状態でコネクタ40の差し込み口52に対して位置合わせするとともに、その状態から、FFC30をコネクタ40の収容室51に向けて押し込む。すると、FFC30は差し込み口52に設けられる案内面52Aによる案内作用をうけて水平姿勢を保ったまま収容室51内へと挿入されてゆき、やがて、FFC30の導電体31が各端子金具60の接面66に対して当接する。
この状態から、更に、FFC30を収容室51内に押し込むと、各端子金具60の上側片部64が弾性変位するため、FFC30は導電体31と接面66が擦れ合いながら両片部64、68間の隙間に差し込まれてゆく。かくして、FFC30は両片部64、68によって強く挟み付けられる。この状態においては、端子金具60の接面66の頂点部66AがFFC30の導電体31に導通接触するため、FFC30と回路基板10とが接続されることとなる。
このように、コネクタ40に対してFFC30を組み付ける際に導電体31と接面66とが摺接した状態にあるが、接面66はメッキ面であり、その表面は打ち抜き加工の影響を受けず滑らかなものである。従って、組み付け作業を円滑に行うことが出来る。また、折り返し後における先端部65の板厚は、他の部分の板厚と同幅であるから、端子金具60の幅が板厚方向に関して拡張されることがない。
また、接面66が予めメッキ処理が施された板材のメッキ面を折り返して形成されるから、成形後に、あらためてメッキ処理等と行う場合と比較して、製造コストの低減にもなる。
<他の実施形態>
本発明は上記記述及び図面によって説明した実施形態に限定されるものではなく、例えば次のような実施形態も本発明の技術的範囲に含まれ、さらに、下記以外にも要旨を逸脱しない範囲内で種々変更して実施することができる。
本発明は上記記述及び図面によって説明した実施形態に限定されるものではなく、例えば次のような実施形態も本発明の技術的範囲に含まれ、さらに、下記以外にも要旨を逸脱しない範囲内で種々変更して実施することができる。
(1)本実施形態では、上側片部64と下側片部68によってFFC30を挟み付ける構成としたが、接面66がFFC30の導電体31に弾接する構成であればよく、例えば、下側片部68を廃止して収容室51の内壁と上側片部64によってFFC30を挟み付ける構成でもよい。
(2)本実施形態では、下側片部68の上面を平坦な構成としたが、図13に示すように、打ち抜き加工時における加工性向上のために張り出し部Sに対する逃がし凹部81を設けてもよい。
(3)本実施形態では、接面66を弧状をなす形態としたが、FFC30の挿入方向に沿った水平面により構成してもよい。
10…回路基板
11…導電路
30…フラットケーブル
31…導電体
60…フラットケーブル用端子
61…脚部
63…ジョイント部
65…先端部
66…接面
66A…接点
11…導電路
30…フラットケーブル
31…導電体
60…フラットケーブル用端子
61…脚部
63…ジョイント部
65…先端部
66…接面
66A…接点
Claims (3)
- 回路基板上に取り付けられて同回路基板上の導電路と、少なくともフラットケーブルの端末の一面に露出される導電体とを導通させるフラットケーブル用端子であって、
前記回路基板の導電路に対して接続可能とされた脚部と、
前記フラットケーブルの導電体に対して弾接可能とされた接点を設けたジョイント部とを備えてなるとともに、
前記ジョイント部はその一部を折り返して形成され、当該折り返し縁によって前記接点が構成されることを特徴とするフラットケーブル用端子。 - 前記ジョイント部のうち前記折り返し縁を形成する折り返し部は、
折り返し前の状態においては、その板厚寸法が当該折り返し部以外の他の部分の板厚寸法のほぼ半分の厚さとされるが、
密着状に折り返されることで、折り返し後には、当該密着部分の板厚寸法が当該折り返し部以外の他の部分の板厚寸法とほぼ等しくなる寸法設定であることを特徴とする請求項1記載のフラットケーブル用端子。 - 前記折り返し縁は、弧状をなす構成であることを特徴とする請求項1又は請求項2記載のフラットケーブル用端子。
Priority Applications (1)
| Application Number | Priority Date | Filing Date | Title |
|---|---|---|---|
| JP2003401942A JP2005166364A (ja) | 2003-12-01 | 2003-12-01 | フラットケーブル用端子 |
Applications Claiming Priority (1)
| Application Number | Priority Date | Filing Date | Title |
|---|---|---|---|
| JP2003401942A JP2005166364A (ja) | 2003-12-01 | 2003-12-01 | フラットケーブル用端子 |
Publications (1)
| Publication Number | Publication Date |
|---|---|
| JP2005166364A true JP2005166364A (ja) | 2005-06-23 |
Family
ID=34725711
Family Applications (1)
| Application Number | Title | Priority Date | Filing Date |
|---|---|---|---|
| JP2003401942A Pending JP2005166364A (ja) | 2003-12-01 | 2003-12-01 | フラットケーブル用端子 |
Country Status (1)
| Country | Link |
|---|---|
| JP (1) | JP2005166364A (ja) |
Cited By (4)
| Publication number | Priority date | Publication date | Assignee | Title |
|---|---|---|---|---|
| JP2005190680A (ja) * | 2003-12-24 | 2005-07-14 | Sumitomo Wiring Syst Ltd | 基板用コネクタの基板配列構造 |
| JP2007141784A (ja) * | 2005-11-22 | 2007-06-07 | Auto Network Gijutsu Kenkyusho:Kk | コネクタ端子およびフラット配線材用コネクタ |
| US7467970B2 (en) | 2006-06-30 | 2008-12-23 | J.S.T. Mfg. Co., Ltd. | Pair of flat-type flexible cable connectors and harness of flat-type flexible cable |
| CN107230849A (zh) * | 2016-03-25 | 2017-10-03 | 日本压着端子制造株式会社 | 压接触头和压接连接器 |
-
2003
- 2003-12-01 JP JP2003401942A patent/JP2005166364A/ja active Pending
Cited By (5)
| Publication number | Priority date | Publication date | Assignee | Title |
|---|---|---|---|---|
| JP2005190680A (ja) * | 2003-12-24 | 2005-07-14 | Sumitomo Wiring Syst Ltd | 基板用コネクタの基板配列構造 |
| JP2007141784A (ja) * | 2005-11-22 | 2007-06-07 | Auto Network Gijutsu Kenkyusho:Kk | コネクタ端子およびフラット配線材用コネクタ |
| US7467970B2 (en) | 2006-06-30 | 2008-12-23 | J.S.T. Mfg. Co., Ltd. | Pair of flat-type flexible cable connectors and harness of flat-type flexible cable |
| CN107230849A (zh) * | 2016-03-25 | 2017-10-03 | 日本压着端子制造株式会社 | 压接触头和压接连接器 |
| CN107230849B (zh) * | 2016-03-25 | 2019-04-26 | 日本压着端子制造株式会社 | 压接触头和压接连接器 |
Similar Documents
| Publication | Publication Date | Title |
|---|---|---|
| US20070202736A1 (en) | Flat circuit board electrical connector | |
| JP4519172B2 (ja) | コネクタ | |
| JP2007287664A (ja) | 電気コネクタ | |
| JP5794363B1 (ja) | コネクタ端子 | |
| JP2003346957A (ja) | 端子金具 | |
| JP2005183173A (ja) | コネクタ | |
| JP4168986B2 (ja) | Fpc用コネクタ | |
| JP7039435B2 (ja) | コネクタ組立体 | |
| US6652310B2 (en) | Connecting member for flat circuit member and method of connecting the connecting member and the flat circuit member | |
| JP2016173998A (ja) | コンタクト及び該コンタクトを使用するコネクタ | |
| JP2005294217A (ja) | 圧接型コンタクトおよびそれを用いた電気コネクタ | |
| JPH08162230A (ja) | 基板用接触端子 | |
| JP2004178959A (ja) | コネクタ | |
| JP2017084599A (ja) | 端子 | |
| JP2005166364A (ja) | フラットケーブル用端子 | |
| JP2001043914A (ja) | 基板用コネクタ | |
| US20040147145A1 (en) | Straddle-mount electrical connector | |
| JP2008171627A (ja) | 雌型端子金具 | |
| KR20150018387A (ko) | 압접 커넥터, 전선 부착 압접 커넥터, 및, 압접 커넥터와 피복 전선과의 접속 방법 | |
| US20090298345A1 (en) | Connector | |
| JP2004192825A (ja) | Fpc用コネクタ | |
| JP6440236B6 (ja) | コネクタ | |
| JP2002100427A (ja) | 配線基板接続用端子 | |
| JP4044822B2 (ja) | コネクタ | |
| JP2003022851A (ja) | コネクタ |