JP2005123761A - 超電導平面回路フィルタおよびそれを用いた無線受信機 - Google Patents

超電導平面回路フィルタおよびそれを用いた無線受信機 Download PDF

Info

Publication number
JP2005123761A
JP2005123761A JP2003354565A JP2003354565A JP2005123761A JP 2005123761 A JP2005123761 A JP 2005123761A JP 2003354565 A JP2003354565 A JP 2003354565A JP 2003354565 A JP2003354565 A JP 2003354565A JP 2005123761 A JP2005123761 A JP 2005123761A
Authority
JP
Japan
Prior art keywords
filter
pattern
resonators
circuit board
dielectric substrate
Prior art date
Legal status (The legal status is an assumption and is not a legal conclusion. Google has not performed a legal analysis and makes no representation as to the accuracy of the status listed.)
Withdrawn
Application number
JP2003354565A
Other languages
English (en)
Inventor
Takashi Uchida
貴 内田
Masaki Sudo
雅樹 須藤
Noriyuki Kagaya
範行 加賀屋
Current Assignee (The listed assignees may be inaccurate. Google has not performed a legal analysis and makes no representation or warranty as to the accuracy of the list.)
Kokusai Denki Electric Inc
Original Assignee
Hitachi Kokusai Electric Inc
Priority date (The priority date is an assumption and is not a legal conclusion. Google has not performed a legal analysis and makes no representation as to the accuracy of the date listed.)
Filing date
Publication date
Application filed by Hitachi Kokusai Electric Inc filed Critical Hitachi Kokusai Electric Inc
Priority to JP2003354565A priority Critical patent/JP2005123761A/ja
Publication of JP2005123761A publication Critical patent/JP2005123761A/ja
Withdrawn legal-status Critical Current

Links

Images

Landscapes

  • Control Of Motors That Do Not Use Commutators (AREA)
  • Structure Of Receivers (AREA)

Abstract

【課題】 大きさを変えずに、高温超電導体の複数の共振器の間の電磁結合量を所望のフィルタ特性に従って調節できる超電導平面回路フィルタを提供する。
【解決手段】 本発明に係る超電導平面回路フィルタは、高温超電導体パターンを用いて誘電体基板11の表面に複数の共振器12が形成されたフィルタ回路基板10を用いる。このフィルタ回路基板においては、共振器と共振器との間の誘電体基板の表面に、共振器間の電磁結合量をパターン形状、例えば、パターン幅Mなどの変更により調節できる結合制御用パターン30を配置する。したがって、フィルタ特性は所望によって変化されても、フィルタ回路基板およびそれを収納するキャビティの大きさは変わらない。この場合、結合制御用パターン30は、原則的に高温超電導体パターンで形成するが、その替わりに誘電体からなるプレートを用いてもよい。
【選択図】 図1

Description

本発明は、超電導平面回路フィルタに関し、特に、高温超電導体パターンを用いて誘電体基板の表面に複数の共振器が形成されたフィルタ回路基板を用いる超電導平面回路フィルタおよびそれを用いた無線受信機に関する。
携帯電話サービスなどの移動無線通信の飛躍的な普及により、準マイクロ波、マイクロ波、ミリ波などの高周波帯域を利用する無線通信機器において希望周波数信号のみを通過させるために、急峻な濾波特性をもったフィルタが必要とされている。このような急峻な濾波特性をもったフィルタを実現するために、誘電体基板の上に、高温超電導体で構成した複数の共振器を多段に配置することが提案されている。このような例のものを、従来の常導電体で作ったものと比較すると、Q値を2桁以上改良できることが分かった。
図5(A)は、上述の提案の超電導平面回路フィルタに用いられるフィルタ回路基板の従来例を示す平面図、図5(B)は、図5(A)のラインP1−P1から見たフィルタ回路基板の断面図である。図5のフィルタ回路基板の誘電体基板101の表面には、1/2波長U字形状(ヘアピン形状)の複数の共振器102がラインP1−P1に沿って順次に上下の向きを変えながら配置され、全体として帯域通過フィルタを形成している。また、誘電体基板101の裏面にはグランドパターン106が形成されている。この共振器102、電極用パターン103,104およびグランドパターン106は、高温超電導体材料から形成されている。入力信号は、電極用パターン103に入力され、濾波されて電極用パターン104から出力される。この場合、共振器102と共振器102との間の間隔108a,108bが共振器102と共振器102との間の電磁結合量(共振器結合量)を決定している。
上述の電磁結合をも含めて図5で示されるものを等価回路で示すと図6のようになる。すなわち、等価回路は、図5の共振器102に基づき並列共振の中心周波数が同じである4つの共振素子202と、相互間が図5(B)の間隔108a,108bに対応して決まる結合量に基づく結合素子208a,208bとで示されている。また、電極用パターン103,104は、誘電体基板101の両端近くに配置された共振器102に対して間隔107をもって電磁結合をするように配置されている。このような構造の場合、図5で示される回路の通過帯域幅を変更しようとすると、共振器間の間隔108a,108bを変更しなければならない。これらの間隔108a,108bを変更すると、それに伴って誘電体基板101の大きさ、例えば、長さLも変わってくる。
図7(A)は、図5および図6で示された誘電体基板101を超電導平面回路フィルタとして組み立てたところを示している平面図、図7(B)は、図7(A)のラインP3−P3から見た断面図である。RF入力コネクタ303と、RF出力コネクタ304とが組み付けられたキャビティ306の底面に誘電体基板101の裏面のグランドパターン106が接触するように配置し、誘電体基板101の外縁の数個所を固定用板ばね309によってキャビティ306の底面に固定する。その後に、RF入出力コネクタ303,304と、電極用パターン103,104とを接続部305のようにボンディング接続する。
このように組み立てられる超電導平面回路フィルタにおいて、上述したように誘電体基板101の長さLが変わってくると、誘電体基板101を収納するためのキャビティ306の大きさも変更しなければならなくなる場合がある。また、急峻なスカート特性をもつフィルタを作成しようとするときには、共振器を図8のようにさらに多段に配置しなければならなくなる。しかし、このように常電導体パターンの共振器を多段に配置すると挿入損失が著しく増加してしまうという問題がある。そこで、フィルタの形成に超電導材料を利用することが提案されている。(例えば、特許文献1参照)。
特開2003−101431号公報 (第2図)
上述した多段構成のフィルタも超電導体パターンの共振器を用いれば、挿入損失が著しく増加すること無く作成することが比較的に容易である。しかし、共振器を多段に配置し、所望の特性を得るためには、共振器の間隔と結合量とに関する詳細なデータが必要であり、フィルタを実際に設計あるいは試作するには多大な時間が必要となる。また、これらの間隔の決定にはキャビティの大きさも関係し、それによっては誘電体基板の大きさも再設定する必要が生じてくる。すなわち、共振器と共振器との間の結合量が所望の値となるように、共振器と共振器の間隔だけで制御しようとすると、フィルタに与えようとする帯域幅などの特性が変わる毎にフィルタの誘電基板やキャビティの大きさを変えなければならず、開発、設計、試作に多大な時間や費用を必要とし、コスト高の主要な原因となっている。
本発明は上述した問題点を解決するためになされたものであり、誘電体基板やキャビティの寸法を変えないでも、共振器の間の電磁結合量を調節できるようにし、所望のフィルタ特性の獲得を可能にさせることにより、類似しているフィルタに関しては、特性が異なっていたとしても、同じ寸法の誘電体基板やキャビティを使用することができるファミリ化構造とし、フィルタの開発、設計、試作に要する時間およびコストを大幅に低減できる超電導平面回路フィルタおよびそれを用いた無線受信機を提供することを目的とする。
上述した課題を解決するために本発明に係る超電導平面回路フィルタは、高温超電導体パターンを用いて誘電体基板の表面に複数の共振器が形成されたフィルタ回路基板を用いる超電導平面回路フィルタにおいて、前記共振器と共振器との間の誘電体基板の表面に、前記共振器間の電磁結合量をパターン形状変更により調節できる結合制御用パターンを有する。
このような構成によれば、フィルタを形成する各部のパターンは高温超電導体パターンで形成されているので、挿入損失は小さくすることができる。また、帯域幅などを決定する共振器間の電磁結合量は、結合制御用パターンのパターン幅などのパターン形状を変更することにより、誘電体基板の大きさを変えること無く容易に調整でき、所望のフィルタ特性を実現することができる。さらに、誘電体基板の大きさを変える必要がないことから、フィルタ特性が異なってもフィルタ回路基板を収納して超電導平面回路フィルタを完成するためのキャビティの寸法も変える必要が無く、ファミリ化が容易になる。
また、本発明に係る無線受信機は、請求項1記載の超電導平面回路フィルタと、増幅器と、前記超伝導平面回路フィルタ及び前記増幅器を収容する断熱容器と、前記断熱容器を冷却する冷却手段とを用いている。したがって、その無線受信機に必要なフィルタの帯域幅などを容易に設定することができる。
以上に詳述したように本発明の超電導平面回路フィルタによれば、フィルタを形成する各部のパターンは高温超電導体パターンで形成されているので、挿入損失は小さくすることができる。また、帯域幅などを決定する共振器間の電磁結合量は、結合制御用パターンのパターン幅などのパターン形状を変更することにより、誘電体基板の大きさを変えること無く容易に調整でき、容易に所望のフィルタ特性を実現することができる。さらに、誘電体基板の大きさを変える必要がないことから、フィルタ特性が異なってもフィルタ回路基板を収納して超電導平面回路フィルタを完成するためのキャビティの寸法も変える必要が無く、設計、試作、ファミリ化などが容易になる。
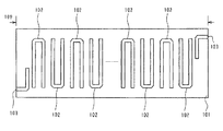
以下、本発明の実施の形態について図面を参照しつつ説明する。図1は本発明の超電導平面回路フィルタに用いられるフィルタ回路基板の第1の実施の形態を示す平面図、図2は、図1のフィルタ回路基板を用いて超電導平面回路フィルタを構成した場合の結合制御用パターンのパターン幅と、共振器結合量との関係を特性曲線で示すグラフ、図3(A)は、本発明の超電導平面回路フィルタに用いられるフィルタ回路基板の第2の実施の形態を示す平面図、図3(B)は、図3(A)のラインP7−P7から見たフィルタ回路基板の断面図、図4(A)は、超電導平面回路フィルタに用いられるフィルタ回路基板の第3の実施の形態を示す平面図、図4(B)は、図4(A)のラインP8−P8から見たフィルタ回路基板の断面図である。
図1に示されたフィルタ回路基板10に用いられる誘電体基板11の上には、電極用パターン13と、電極用パターン13から間隔をあけて配置された下向きのU字形状(ヘアピン形状)の共振器12と、下向きのU字形状の共振器12から所定の間隔をあけて配置されたパターン幅Mの結合制御用パターン30と、結合制御用パターン30から間隔をあけて配置された上向きのU字形状の共振器12と、上向きのU字形状の共振器12から間隔をあけて配置された電極用パターン14とが形成されている。また、誘電体基板11の裏面にはグランドパターン(不図示)が形成されている。この例における共振器12、結合制御用パターン30、電極用パターン13,14およびグランドパターンは、高温超電導体材料から形成されている。入力信号は、電極用パターン13に入力され、濾波されて電極用パターン14から出力される。
上述のフィルタ回路基板10を用いて超電導平面回路フィルタを図7に示されると同様な構成で作成すると、結合制御用パターン30のパターン幅Mと、共振器間の電磁結合を示す共振器結合量との関係は、図2のように表される。したがって、図1に示されるようなフィルタ回路基板10を設計する場合には、共振器12を図1のように配置するとともに、所望のフィルタ特性を得るための共振器間の共振器結合量を設定するために、結合制御用パターン30の図1のような形状およびパターン幅Mを図2の特性曲線に従って決定する。図2の特性曲線によれば、結合制御用パターン30を配置しないフィルタ回路基板10を用いた場合には、共振器結合量が“0.003”であり、2.3mmのパターン幅Wの結合制御用パターン30を配置するとその共振器結合量が“0.025”に増加することが分かる。
図2の特性曲線から明らかなように、超電導平面回路フィルタの所望のフィルタ特性を実現するように、結合制御用パターン30のパターン幅Mを“0.0mm”から“2.3mm”の間の適宜な値に設定することにより、結共振器間の共振器結合量を“0.003”から“0.025”までの値に設定することができる。このようにすれば、作成する超電導平面回路フィルタの特性が異なっていても、特性が類似している限り、結合制御用パターン30のパターン幅Mを変更するだけで所望の特性の超電導平面回路フィルタを実現でき、その場合、誘電体基板およびキャビティの寸法を同じ寸法にすることができる。この例においては、結合制御用パターン30は、形状が矩形で、パターン幅Mのみを変更することとしたが、矩形を他の形状に変えてもよいし、共振器との相互位置関係を適宜に変更してもよいことはいうまでもない。
上述の例において、誘電体基板11の材料としては、酸化チタン、ランタンアルミネート、酸化セリウムコートサファイア、酸化マグネシューム、チタン酸ストロンチウム、チタン酸マグネシウムが好ましい。また、この例における共振器12、結合制御用パターン30、電極用パターン13,14およびグランドパターンを形成するための高温超電導体材料からなる高温超電導体パターンは、YB2Cu3O7_δを用いて、例えば、厚さ0.4μm〜1.0μmの膜に形成するのが好ましい。なお、共振器12は、高温超電導体材料から形成するが、その他のパターンは、高温超電導体材料以外の材料から構成してもよい。例えば、結合制御用パターン30を誘電体材料のパターンあるいは誘電体材料のプレートに置き換えてもよい。
次に、この発明の超電導平面回路フィルタの第2の実施の形態について説明する。図3(A)は、本発明の超電導平面回路フィルタに用いられるフィルタ回路基板の第2の実施の形態を示す平面図、図3(B)は、図3(A)のラインP7−P7から見たフィルタ回路基板の断面図である。図3のフィルタ回路基板10aにおいて、誘電体基板11の表面には、1/2波長U字形状(ヘアピン形状)の複数の共振器12がラインP7−P7に沿って順次に上下の向きを変えながら配置され、共振器間には、幅wa,wbの結合制御用パターン38a,38bが配置され、両端縁は電極用パターン13,14が配置され、全体として帯域通過フィルタを形成している。また、誘電体基板11の裏面にはグランドパターン16が形成されている。
図3のフィルタ回路基板10aにおいて、これらの共振器12、結合制御用パターン38a,38b、電極用パターン13,14およびグランドパターン16は、高温超電導体材料から形成されている。入力信号は、電極用パターン13に入力され、濾波されて電極用パターン14から出力される。この場合、共振器間の結合制御用パターン38a,38bが共振器間の共振器結合量を決定している。その他、誘電基板11の材料、共振器12、結合制御用パターン38a,38b、電極用パターン13,14およびグランドパターンを形成するための高温超電導体材料などについては図1で示されたものと同様なことが言える。特に、例えば、結合制御用パターン38a,38bを誘電体材料のパターンあるいは誘電体材料のプレートに置き換えることも可能である。
次に、この発明の超電導平面回路フィルタの第3の実施の形態について図4(A)および図4(B)を参照して説明する。図4(A)は、超電導平面回路フィルタに用いられるフィルタ回路基板の第3の実施の形態を示す平面図、図4(B)は、図4(A)のラインP8−P8から見たフィルタ回路基板の断面図である。図4のフィルタ回路基板10bにおいては、2枚の誘電体基板11の間で図3と同様に、高温超電導材料からなる共振器12、結合制御用パターン38a,38b、電極用パターン13,14が形成されているとともに、フィルタ回路基板10bの上下の外面には高温超電導材料からなるグランドパターン16が形成され、いわゆるトリプレートストリップライン構造の4段帯域通過フィルタとして形成されている。
図4の場合においても、通過帯域幅に主に関係する共振器間の結合量を共振器間の間隔の調整に依存せずに、結合制御用パターン38a,38bのパターン幅wa,wbの調節で実現できるので、異なる通過帯域幅のフィルタを開発・設計・試作する際に同じ大きさのフィルタ回路基板に形成することができる。したがって、誘電体基板やキャビティをファミリ化することができ、設計時間の短縮、部品の共通化、コストの低減が可能となる点は、図1および図3の場合と同じである。同様に、結合制御用パターン38a,38bを誘電体材料のパターンあるいは誘電体材料のプレートに置き換えることも可能である。
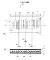
携帯電話サービスなどの移動無線通信の飛躍的な普及により、準マイクロ波、マイクロ波、ミリ波などの高周波帯域を利用する無線通信機器において希望周波数信号のみを通過させるために、急峻な濾波特性をもったフィルタが必要とされているが、このような急峻な濾波特性をもったフィルタを実現するために、上述の超電導平面回路フィルタを用いれば、Q値が非常に高く保つことができ、フィルタ特性も容易に調節できる。したがって、例えば、新規な無線受信機などを短時間で設計・試作を行うことができ、ひいては、コストを大幅に低減することができる。例えば、図9は本発明の無線受信機の一例を示すブロック図であり、本発明の超伝導平面回路フィルタによる帯域フィルタ1と、増幅器(例えば低雑音増幅器)2と、これら帯域フィルタ1と増幅器2を断熱して収容する断熱容器3と、断熱容器3を冷却する冷却手段4と、増幅器2の出力端に設けられるチョークコイル5及びコンデンサ6とを備えている。
なお、増幅器2を動作させる直流電源は外部より供給される。そして、上記直流電源はチョークコイル5を通過して増幅器2に供給される。チョークコイル5では、直流は通過させるが、高周波は通過させない。よって、図9の回路では増幅器2によって増幅された信号がチョーク回路5を通過することはない。同様に、コンデンサ6はバイパスコンデンサであり、チョークコイル5から増幅器2に供給される直流電力をコンデンサ6で遮断して、直流はすべて増幅器2に供給されるようにしている。増幅器2で増幅された高周波信号はコンデンサ6を通過することができる。
本発明の超電導平面回路フィルタに用いられるフィルタ回路基板の第1の実施の形態を示す平面図である。 図1のフィルタ回路基板を用いて超電導平面回路フィルタを構成した場合の結合制御用パターンのパターン幅と、共振器結合量との関係を特性曲線で示すグラフである。 (A)は、本発明の超電導平面回路フィルタに用いられるフィルタ回路基板の第2の実施の形態を示す平面図である。 (B)は、(A)のラインP7−P7から見たフィルタ回路基板の断面図である。 (A)は、超電導平面回路フィルタに用いられるフィルタ回路基板の第3の実施の形態を示す平面図である。 (B)は、(A)のラインP8−P8から見たフィルタ回路基板の断面図である。 (A)は、超電導平面回路フィルタに用いられるフィルタ回路基板の従来例を示す平面図である。 (B)は、(A)のラインP1−P1から見たフィルタ回路基板の断面図である。 図5で示される超電導平面回路フィルタを示す等価回路である。 (A)は、図5および図6で示された誘電体基板を超電導平面回路フィルタとして組み立てたところを示している平面図である。 (B)は、(A)のラインP3−P3から見た断面図である。 共振器を多段に配置した場合の超電導平面回路フィルタの従来例を示す平面図である。 本発明の超伝導平面回路フィルタを用いた無線受信機の構成を示すブロック図である。
符号の説明
1 帯域フィルタ、2 増幅器、3 断熱容器、4 冷却手段、5 チョークコイル、6 コンデンサ、10,10a,10b フィルタ回路基板、11 誘電体基板、12 共振器、13,14 電極用パターン、16 グランドパターン

Claims (2)

  1. 高温超電導体パターンを用いて誘電体基板の表面に複数の共振器が形成されたフィルタ回路基板を用いる超電導平面回路フィルタにおいて、
    前記共振器と共振器との間の誘電体基板の表面に、前記共振器間の電磁結合量をパターン形状変更により調節できる結合制御用パターンを有することを特徴とする超電導平面回路フィルタ。
  2. 請求項1記載の超電導平面回路フィルタと、増幅器と、前記超伝導平面回路フィルタ及び前記増幅器を収容する断熱容器と、前記断熱容器を冷却する冷却手段とを用いた無線受信機。
JP2003354565A 2003-10-15 2003-10-15 超電導平面回路フィルタおよびそれを用いた無線受信機 Withdrawn JP2005123761A (ja)

Priority Applications (1)

Application Number Priority Date Filing Date Title
JP2003354565A JP2005123761A (ja) 2003-10-15 2003-10-15 超電導平面回路フィルタおよびそれを用いた無線受信機

Applications Claiming Priority (1)

Application Number Priority Date Filing Date Title
JP2003354565A JP2005123761A (ja) 2003-10-15 2003-10-15 超電導平面回路フィルタおよびそれを用いた無線受信機

Publications (1)

Publication Number Publication Date
JP2005123761A true JP2005123761A (ja) 2005-05-12

Family

ID=34612438

Family Applications (1)

Application Number Title Priority Date Filing Date
JP2003354565A Withdrawn JP2005123761A (ja) 2003-10-15 2003-10-15 超電導平面回路フィルタおよびそれを用いた無線受信機

Country Status (1)

Country Link
JP (1) JP2005123761A (ja)

Cited By (6)

* Cited by examiner, † Cited by third party
Publication number Priority date Publication date Assignee Title
CN1925212B (zh) * 2005-08-31 2010-05-12 中国科学院物理研究所 一种平面超导微带谐振器
JP2012222725A (ja) * 2011-04-13 2012-11-12 Toshiba Corp アクティブアレイアンテナ装置
JP2014082794A (ja) * 2014-01-31 2014-05-08 Toshiba Corp アクティブアレイアンテナ装置
CN104871363A (zh) * 2012-12-24 2015-08-26 上海贝尔股份有限公司 用于与带通滤波器的输入谐振器和/或输出谐振器一起使用的可调节耦合
RU2763482C1 (ru) * 2020-12-16 2021-12-29 Федеральное государственное бюджетное образовательное учреждение высшего образования "Сибирский государственный университет науки и технологий имени академика М.Ф. Решетнева" (СибГУ им. М.Ф. Решетнева) Полосковый полосно-пропускающий фильтр
JP2022522294A (ja) * 2019-02-28 2022-04-15 キョーセラ・エイブイエックス・コンポーネンツ・コーポレーション 表面実装可能な高周波マイクロストリップバンドパスフィルタ

Cited By (9)

* Cited by examiner, † Cited by third party
Publication number Priority date Publication date Assignee Title
CN1925212B (zh) * 2005-08-31 2010-05-12 中国科学院物理研究所 一种平面超导微带谐振器
JP2012222725A (ja) * 2011-04-13 2012-11-12 Toshiba Corp アクティブアレイアンテナ装置
US8749430B2 (en) 2011-04-13 2014-06-10 Kabushiki Kaisha Toshiba Active array antenna device
CN104871363A (zh) * 2012-12-24 2015-08-26 上海贝尔股份有限公司 用于与带通滤波器的输入谐振器和/或输出谐振器一起使用的可调节耦合
CN104871363B (zh) * 2012-12-24 2017-03-15 上海贝尔股份有限公司 用于与带通滤波器的输入谐振器和/或输出谐振器一起使用的可调节耦合装置
JP2014082794A (ja) * 2014-01-31 2014-05-08 Toshiba Corp アクティブアレイアンテナ装置
JP2022522294A (ja) * 2019-02-28 2022-04-15 キョーセラ・エイブイエックス・コンポーネンツ・コーポレーション 表面実装可能な高周波マイクロストリップバンドパスフィルタ
JP7498189B2 (ja) 2019-02-28 2024-06-11 キョーセラ・エイブイエックス・コンポーネンツ・コーポレーション 表面実装可能な高周波マイクロストリップバンドパスフィルタ
RU2763482C1 (ru) * 2020-12-16 2021-12-29 Федеральное государственное бюджетное образовательное учреждение высшего образования "Сибирский государственный университет науки и технологий имени академика М.Ф. Решетнева" (СибГУ им. М.Ф. Решетнева) Полосковый полосно-пропускающий фильтр

Similar Documents

Publication Publication Date Title
US7567153B2 (en) Compact bandpass filter for double conversion tuner
Chen et al. Design of microstrip bandpass filters with multiorder spurious-mode suppression
Velazquez-Ahumada et al. Application of stub loaded folded stepped impedance resonators to dual band filters
US6255914B1 (en) TM mode dielectric resonator and TM mode dielectric filter and duplexer using the resonator
Abdelfattah et al. High-selectivity tunable filters with dual-mode SIW resonators in an L-shaped coupling scheme
CN107579317B (zh) 基于槽线和微带多模谐振器的巴伦带通滤波器
Chen et al. A miniaturized multilayer quasi-elliptic bandpass filter with aperture-coupled microstrip resonators
CN109193087B (zh) 一种新型的高性能双通带四功分滤波器
EP0917231B1 (en) Dielectric filter, dielectric duplexer, and communication device
JP2005123761A (ja) 超電導平面回路フィルタおよびそれを用いた無線受信機
US6184760B1 (en) Half-wavelength resonator type high frequency filter
JP2009055576A (ja) 複数組の減衰極を有するフィルタ回路
JP2004112668A (ja) 共振器及びフィルタ
JPH0234001A (ja) 帯域阻止フイルタ
JP4731515B2 (ja) チューナブルフィルタおよびその作製方法
KR101250060B1 (ko) 전기적으로 튜닝가능한 대역통과필터
JPH10322155A (ja) 帯域阻止フィルタ
JP2007281601A (ja) フィルタ回路及びフィルタ回路の特性調整方法
JP3750420B2 (ja) 平面フィルタおよびそれを用いたデュプレクサおよびそれらを用いた高周波モジュールおよびそれを用いた通信装置
JP2002280806A (ja) デュアルモード・バンドパスフィルタ及びデュアルモード・バンドパスフィルタの特性調整方法並びにデュプレクサ及び無線通信装置
del Castillo Velazquez-Ahumada et al. Design of a dual band-pass filter using modified folded stepped-impedance resonators
Yang et al. 60 GHz compact integrated cross-coupled SIR-MH bandpass filter on bulk CMOS
US20230352805A1 (en) Electric coupling of a substrate integrated waveguide cavity resonator to a suspended substrate stripline low pass filter for introducing a notch response
Djaiz et al. A design and fabrication of a new stacked bandpass filter using multilayer microstrip structure for wireless applications
KR100344228B1 (ko) 공진기 결합형 유전체 필터

Legal Events

Date Code Title Description
A300 Withdrawal of application because of no request for examination

Free format text: JAPANESE INTERMEDIATE CODE: A300

Effective date: 20070109