JP2005076868A - 流体制御弁および液滴吐出装置 - Google Patents
流体制御弁および液滴吐出装置 Download PDFInfo
- Publication number
- JP2005076868A JP2005076868A JP2003311851A JP2003311851A JP2005076868A JP 2005076868 A JP2005076868 A JP 2005076868A JP 2003311851 A JP2003311851 A JP 2003311851A JP 2003311851 A JP2003311851 A JP 2003311851A JP 2005076868 A JP2005076868 A JP 2005076868A
- Authority
- JP
- Japan
- Prior art keywords
- tank
- control valve
- fluid control
- cleaning liquid
- fluid
- Prior art date
- Legal status (The legal status is an assumption and is not a legal conclusion. Google has not performed a legal analysis and makes no representation as to the accuracy of the status listed.)
- Withdrawn
Links
- 239000012530 fluid Substances 0.000 title claims abstract description 73
- 239000007788 liquid Substances 0.000 claims description 109
- 238000004140 cleaning Methods 0.000 claims description 83
- 239000011344 liquid material Substances 0.000 claims description 11
- 238000007599 discharging Methods 0.000 claims description 6
- 230000007547 defect Effects 0.000 abstract description 3
- 238000001514 detection method Methods 0.000 description 34
- 239000011261 inert gas Substances 0.000 description 21
- 210000003128 head Anatomy 0.000 description 13
- 238000010586 diagram Methods 0.000 description 12
- 238000000034 method Methods 0.000 description 11
- 230000002265 prevention Effects 0.000 description 11
- 230000008030 elimination Effects 0.000 description 7
- 238000003379 elimination reaction Methods 0.000 description 7
- 230000002093 peripheral effect Effects 0.000 description 6
- 230000002950 deficient Effects 0.000 description 5
- 239000000463 material Substances 0.000 description 5
- 239000003595 mist Substances 0.000 description 5
- 238000003860 storage Methods 0.000 description 5
- 239000000126 substance Substances 0.000 description 5
- 230000001105 regulatory effect Effects 0.000 description 4
- 230000005611 electricity Effects 0.000 description 3
- 238000005498 polishing Methods 0.000 description 3
- 238000012545 processing Methods 0.000 description 3
- 238000005086 pumping Methods 0.000 description 3
- 230000003068 static effect Effects 0.000 description 3
- IJGRMHOSHXDMSA-UHFFFAOYSA-N Atomic nitrogen Chemical compound N#N IJGRMHOSHXDMSA-UHFFFAOYSA-N 0.000 description 2
- 238000005452 bending Methods 0.000 description 2
- 229910001873 dinitrogen Inorganic materials 0.000 description 2
- 238000012423 maintenance Methods 0.000 description 2
- 238000005192 partition Methods 0.000 description 2
- 238000003825 pressing Methods 0.000 description 2
- 229910001220 stainless steel Inorganic materials 0.000 description 2
- 239000010935 stainless steel Substances 0.000 description 2
- 239000000758 substrate Substances 0.000 description 2
- 238000004804 winding Methods 0.000 description 2
- 238000004891 communication Methods 0.000 description 1
- 238000011437 continuous method Methods 0.000 description 1
- 230000001276 controlling effect Effects 0.000 description 1
- 239000000428 dust Substances 0.000 description 1
- 230000000694 effects Effects 0.000 description 1
- 238000011010 flushing procedure Methods 0.000 description 1
- 239000011521 glass Substances 0.000 description 1
- 230000020169 heat generation Effects 0.000 description 1
- 238000004519 manufacturing process Methods 0.000 description 1
- 238000012986 modification Methods 0.000 description 1
- 230000004048 modification Effects 0.000 description 1
- 230000003020 moisturizing effect Effects 0.000 description 1
- 229920000728 polyester Polymers 0.000 description 1
- 239000007921 spray Substances 0.000 description 1
- 238000011144 upstream manufacturing Methods 0.000 description 1
- 239000002699 waste material Substances 0.000 description 1
- XLYOFNOQVPJJNP-UHFFFAOYSA-N water Substances O XLYOFNOQVPJJNP-UHFFFAOYSA-N 0.000 description 1
- 239000002759 woven fabric Substances 0.000 description 1
Images
Classifications
-
- B—PERFORMING OPERATIONS; TRANSPORTING
- B41—PRINTING; LINING MACHINES; TYPEWRITERS; STAMPS
- B41J—TYPEWRITERS; SELECTIVE PRINTING MECHANISMS, i.e. MECHANISMS PRINTING OTHERWISE THAN FROM A FORME; CORRECTION OF TYPOGRAPHICAL ERRORS
- B41J2/00—Typewriters or selective printing mechanisms characterised by the printing or marking process for which they are designed
- B41J2/005—Typewriters or selective printing mechanisms characterised by the printing or marking process for which they are designed characterised by bringing liquid or particles selectively into contact with a printing material
- B41J2/01—Ink jet
- B41J2/17—Ink jet characterised by ink handling
- B41J2/19—Ink jet characterised by ink handling for removing air bubbles
-
- B—PERFORMING OPERATIONS; TRANSPORTING
- B41—PRINTING; LINING MACHINES; TYPEWRITERS; STAMPS
- B41J—TYPEWRITERS; SELECTIVE PRINTING MECHANISMS, i.e. MECHANISMS PRINTING OTHERWISE THAN FROM A FORME; CORRECTION OF TYPOGRAPHICAL ERRORS
- B41J2/00—Typewriters or selective printing mechanisms characterised by the printing or marking process for which they are designed
- B41J2/005—Typewriters or selective printing mechanisms characterised by the printing or marking process for which they are designed characterised by bringing liquid or particles selectively into contact with a printing material
- B41J2/01—Ink jet
- B41J2/135—Nozzles
- B41J2/165—Prevention or detection of nozzle clogging, e.g. cleaning, capping or moistening for nozzles
- B41J2/16517—Cleaning of print head nozzles
-
- B—PERFORMING OPERATIONS; TRANSPORTING
- B41—PRINTING; LINING MACHINES; TYPEWRITERS; STAMPS
- B41J—TYPEWRITERS; SELECTIVE PRINTING MECHANISMS, i.e. MECHANISMS PRINTING OTHERWISE THAN FROM A FORME; CORRECTION OF TYPOGRAPHICAL ERRORS
- B41J2/00—Typewriters or selective printing mechanisms characterised by the printing or marking process for which they are designed
- B41J2/005—Typewriters or selective printing mechanisms characterised by the printing or marking process for which they are designed characterised by bringing liquid or particles selectively into contact with a printing material
- B41J2/01—Ink jet
- B41J2/135—Nozzles
- B41J2/165—Prevention or detection of nozzle clogging, e.g. cleaning, capping or moistening for nozzles
- B41J2/16517—Cleaning of print head nozzles
- B41J2/16552—Cleaning of print head nozzles using cleaning fluids
-
- B—PERFORMING OPERATIONS; TRANSPORTING
- B41—PRINTING; LINING MACHINES; TYPEWRITERS; STAMPS
- B41J—TYPEWRITERS; SELECTIVE PRINTING MECHANISMS, i.e. MECHANISMS PRINTING OTHERWISE THAN FROM A FORME; CORRECTION OF TYPOGRAPHICAL ERRORS
- B41J2/00—Typewriters or selective printing mechanisms characterised by the printing or marking process for which they are designed
- B41J2/005—Typewriters or selective printing mechanisms characterised by the printing or marking process for which they are designed characterised by bringing liquid or particles selectively into contact with a printing material
- B41J2/01—Ink jet
- B41J2/17—Ink jet characterised by ink handling
- B41J2/175—Ink supply systems ; Circuit parts therefor
-
- B—PERFORMING OPERATIONS; TRANSPORTING
- B41—PRINTING; LINING MACHINES; TYPEWRITERS; STAMPS
- B41J—TYPEWRITERS; SELECTIVE PRINTING MECHANISMS, i.e. MECHANISMS PRINTING OTHERWISE THAN FROM A FORME; CORRECTION OF TYPOGRAPHICAL ERRORS
- B41J2/00—Typewriters or selective printing mechanisms characterised by the printing or marking process for which they are designed
- B41J2/005—Typewriters or selective printing mechanisms characterised by the printing or marking process for which they are designed characterised by bringing liquid or particles selectively into contact with a printing material
- B41J2/01—Ink jet
- B41J2/17—Ink jet characterised by ink handling
- B41J2/175—Ink supply systems ; Circuit parts therefor
- B41J2/17596—Ink pumps, ink valves
Landscapes
- Coating Apparatus (AREA)
- Ink Jet (AREA)
- Valve Housings (AREA)
Abstract
【課題】 気泡が内部に滞留することを防止するとともに、下流に配置された他の流体機器が気泡に起因する不具合を発生することを防止することができる流体制御弁およびその流体制御弁を用いた液滴吐出装置を提供する。
【解決手段】 流体がその内部を流過するタンク211と、タンク211に流体が流入する流入口212aと、タンク211から流体が流出する流出口213aと、流入口212aまたは流出口213aを開閉する弁体222と、を備えた流体制御弁47、71であって、流入口212aが流出口213aよりも下方に設けられていることを特徴とする。
【選択図】 図5
【解決手段】 流体がその内部を流過するタンク211と、タンク211に流体が流入する流入口212aと、タンク211から流体が流出する流出口213aと、流入口212aまたは流出口213aを開閉する弁体222と、を備えた流体制御弁47、71であって、流入口212aが流出口213aよりも下方に設けられていることを特徴とする。
【選択図】 図5
Description
本発明は、流体制御弁および液滴吐出装置に関する。
従来、流体の流れをオンオフ制御する流体制御弁としてさまざまな形式の流体制御弁が提案されている。
例えば、上述した流体制御弁として、流路に形成された弁座と、その弁座と当接または離間する弁体と、によりその内部を流過する流体の流れをオンオフ制御する流体制御弁が知られている(例えば、特許文献1参照。)。
特開2002−310316号公報
例えば、上述した流体制御弁として、流路に形成された弁座と、その弁座と当接または離間する弁体と、によりその内部を流過する流体の流れをオンオフ制御する流体制御弁が知られている(例えば、特許文献1参照。)。
上述したように、従来の流体制御弁においては、流体制御弁に流体を初期充填すると、流体制御弁内に流体が完全に満たされず、内部に気泡が残る恐れがあった。また、流体制御弁内に複数の気泡が滞留すると、気泡同士が合体して大きな気泡となる恐れがあった。
このような気泡が流体と共に下流に流れ出すと、流体制御弁の下流に配置された他の流体機器における不具合の原因になる恐れがあるという問題があった。
このような気泡が流体と共に下流に流れ出すと、流体制御弁の下流に配置された他の流体機器における不具合の原因になる恐れがあるという問題があった。
また、上述した流体制御弁を、各種基材へ溶液を吐出する液滴吐出装置におけるインクおよび洗浄液供給系に適用した場合、例えば、インク供給系に備えられた流体制御弁内に気泡が存在すると、その気泡が下流にインクと共に流れ出して、液滴を吐出する液滴吐出ヘッド内部に流入する。気泡が液滴吐出ヘッド内に侵入すると、気泡により液滴の吐出が不安定になる。
また、洗浄液供給系の流体制御弁内に滞留して大きくなった気泡が流路を塞ぐと、ヘッドクリーニング時の洗浄液の吐出量が不均一になり、十分に洗浄されず液滴吐出ヘッドのノズル部に汚れが残る恐れがある。
そのため、インク液滴の吐出時にインクが吐出されず描画抜けが発生したり、インクの飛行曲がりが発生したりして、液滴吐出ヘッドの初期吐出品質を確保できなくなってしまう問題があった。
また、洗浄液供給系の流体制御弁内に滞留して大きくなった気泡が流路を塞ぐと、ヘッドクリーニング時の洗浄液の吐出量が不均一になり、十分に洗浄されず液滴吐出ヘッドのノズル部に汚れが残る恐れがある。
そのため、インク液滴の吐出時にインクが吐出されず描画抜けが発生したり、インクの飛行曲がりが発生したりして、液滴吐出ヘッドの初期吐出品質を確保できなくなってしまう問題があった。
本発明は、上記の課題を解決するためになされたものであって、気泡が内部に滞留することを防止するとともに、下流に配置された他の流体機器が気泡に起因する不具合を発生することを防止することができる流体制御弁およびその流体制御弁を用いた液滴吐出装置を提供することを目的とする。
上記目的を達成するために、本発明の流体制御弁は、流体がその内部を流過するタンクと、タンクに流体が流入する流入口と、タンクから流体が流出する流出口と、流入口または流出口を開閉する弁体と、を備えた流体制御弁であって、流入口が流出口よりも下方に設けられていることを特徴とする。
すなわち、本発明の流体制御弁は、流入口が流出口よりも下方に設けられているため、流体制御弁に流体を初期充填すると、流出口より下方に設けられた流入口から流体が流入し、流入口より上方に設けられた流出口から空気が流出する。そのため、タンク内の空気は全て流出口から流出し、タンク内に気泡が滞留することがない。タンク内に気泡が滞留しないので、下流に気泡が流れ出ることがなく、下流に配置された他の流体機器が気泡に起因する不具合を発生することを防止することができる。
上記の構成を実現するために、流入口がタンクの最下部に設けられていることが望ましい。
この構成によれば、流入口がタンクの最下部に設けられているため、流体はタンクの最下部から流入するため、流入口よりも下方に向かう流体の流れがなくなる。そのため、
気泡が下方に向かう流れに乗ってタンク内を循環することがなくなるため、気泡はより流出口に向かって流れやすくなり、タンク内に気泡が滞留しにくくなる。
この構成によれば、流入口がタンクの最下部に設けられているため、流体はタンクの最下部から流入するため、流入口よりも下方に向かう流体の流れがなくなる。そのため、
気泡が下方に向かう流れに乗ってタンク内を循環することがなくなるため、気泡はより流出口に向かって流れやすくなり、タンク内に気泡が滞留しにくくなる。
上記の構成を実現するために、より具体的には、タンクには外部から流体を流入口に導く流入流路が備えられ、流入流路がタンクに向かって水平方向から上向きになるように配置されていることが望ましい。
この構成によれば、流入流路がタンクに向かって水平方向から上向きになるように配置されているため、流入流路内に気泡が滞留することがなくなり、タンク内に気泡が滞留しにくくなる。
この構成によれば、流入流路がタンクに向かって水平方向から上向きになるように配置されているため、流入流路内に気泡が滞留することがなくなり、タンク内に気泡が滞留しにくくなる。
上記の構成を実現するために、より具体的には、流出口がタンク上面の略中央部に設けられていることが望ましい。
この構成によれば、流出口がタンク上面の略中央部に設けられているため、タンク上面に集まった気泡が流体の流れによって流出口に集まりやすくなる。そのため、気泡がタンクから流出しやすくなり、タンク内に気泡が滞留しにくくなる。
この構成によれば、流出口がタンク上面の略中央部に設けられているため、タンク上面に集まった気泡が流体の流れによって流出口に集まりやすくなる。そのため、気泡がタンクから流出しやすくなり、タンク内に気泡が滞留しにくくなる。
上記の構成を実現するために、より具体的には、タンク上面の形状が流出口に向けて上方に傾斜するテーパ形状に形成されていることが望ましい。
この構成によれば、タンク上面の形状が流出口に向けて上方に傾斜するテーパ形状に形成されているため、タンク内の気泡がタンク上面の傾斜に沿って上昇し流出口近傍に集まりやすくなる。そのため、気泡がタンクから流出しやすくなり、タンク内に気泡が滞留しにくくなる。
この構成によれば、タンク上面の形状が流出口に向けて上方に傾斜するテーパ形状に形成されているため、タンク内の気泡がタンク上面の傾斜に沿って上昇し流出口近傍に集まりやすくなる。そのため、気泡がタンクから流出しやすくなり、タンク内に気泡が滞留しにくくなる。
上記の構成を実現するために、より具体的には、タンク内部の面は親液処理が施されていることが望ましい。
この構成によれば、タンク内部の面は親液性が高くなっているため、液体が容易に付着できる。そのため、気泡は逆にタンク内部の面に付着しにくくなり、タンク内に気泡が滞留しにくくなる。
この構成によれば、タンク内部の面は親液性が高くなっているため、液体が容易に付着できる。そのため、気泡は逆にタンク内部の面に付着しにくくなり、タンク内に気泡が滞留しにくくなる。
上記の構成を実現するために、より具体的には、タンク内部の面には、化学研磨が施されていることが望ましい。
この構成によれば、タンク内部の面には化学研磨が施されているため、タンク内部の面に加工による損傷や加工目等の凹凸がなくなる。そのため、気泡がタンク内部の面に引っかかって付着しにくくなり、タンク内に気泡が滞留しにくくなる。
この構成によれば、タンク内部の面には化学研磨が施されているため、タンク内部の面に加工による損傷や加工目等の凹凸がなくなる。そのため、気泡がタンク内部の面に引っかかって付着しにくくなり、タンク内に気泡が滞留しにくくなる。
上記目的を達成するために、本発明の液滴吐出装置は、流動性を有した液状体を吐出する複数のノズルが設けられた液滴吐出ヘッドと、ノズル周辺部をクリーニングする洗浄手段と、洗浄手段に洗浄液を吐出する洗浄液供給部と、液状体を液滴吐出装置に供給する第1供給流路と、洗浄液を前記洗浄液供給部に供給する第2供給流路と、第1供給流路を流れる液状体および第2供給流路を流れる洗浄液の流れを制御する流体制御弁と、を備えた液滴吐出装置であって、流体制御弁は上記本発明の流体制御弁を用いることを特徴とする。
すなわち、本発明の液滴吐出装置は、上記本発明の流体制御弁を用いることにより、液滴吐出ヘッドおよび洗浄液供給部に流体制御弁内に滞留した気泡が流入することを防止することができる。そのため、液滴吐出ヘッドからの液状体吐出不良や、洗浄液供給部からの洗浄液吐出不良によるノズル周辺部のクリーニング不足を防止することができる。その結果、液状体の吐出不良による描画抜けや、ノズル周辺部のクリーニング不足による液状体の飛行曲がりを防止することができ、液滴吐出ヘッドの初期吐出品質を確保することができる。
また、流体制御弁内の気泡の滞留を防止することができるため、気泡を取り除く工程が不要となり、メンテナンス時間が削減でき生産性が向上する。
また、流体制御弁内の気泡の滞留を防止することができるため、気泡を取り除く工程が不要となり、メンテナンス時間が削減でき生産性が向上する。
以下、本発明における実施の形態について図1から図6を参照して説明する。
図1は本実施の形態における液滴吐出装置の概略構成図である。図2は、本実施の形態における液滴吐出装置のドット抜け検出・防止ユニットの概略構成図である。
液滴吐出装置10は、図1および図2に示すように、液滴吐出ユニット30と、キャップユニット60と、ワイピングユニット(洗浄手段)70と、ドット抜け検出・防止ユニット150とから概略構成されている。
液滴吐出ユニット30は、液滴吐出ヘッド53からインク液滴Rを基板(ガラス基板。以下、ウェハWfと称する)上の所定の位置に吐出、着弾させるユニットである。
液滴吐出ユニット30は、図1に示すように、所定圧力の不活性ガスを供給する加圧系30Aと、インク液滴を液滴吐出ヘッドに導くインク液滴供給系(第1供給流路)30Bと、インク液滴を吐出する液滴吐出ヘッド53とから概略構成されている。
図1は本実施の形態における液滴吐出装置の概略構成図である。図2は、本実施の形態における液滴吐出装置のドット抜け検出・防止ユニットの概略構成図である。
液滴吐出装置10は、図1および図2に示すように、液滴吐出ユニット30と、キャップユニット60と、ワイピングユニット(洗浄手段)70と、ドット抜け検出・防止ユニット150とから概略構成されている。
液滴吐出ユニット30は、液滴吐出ヘッド53からインク液滴Rを基板(ガラス基板。以下、ウェハWfと称する)上の所定の位置に吐出、着弾させるユニットである。
液滴吐出ユニット30は、図1に示すように、所定圧力の不活性ガスを供給する加圧系30Aと、インク液滴を液滴吐出ヘッドに導くインク液滴供給系(第1供給流路)30Bと、インク液滴を吐出する液滴吐出ヘッド53とから概略構成されている。
この液滴吐出ユニット30では、加圧系30Aで不活性ガスg(例えば、窒素ガスなど)を所定圧力に調圧し、調圧された不活性ガスgをインク液滴供給系30Bに供給している。
まず、加圧系30Aについて説明する。
加圧系30Aには、不活性ガスg中に含まれる塵埃などの異物を除去するエアフィルタ31、36と、ミストを除去するミストセパレータ32と、圧力を適切に調圧するインク液滴圧送圧力調整弁33、33および洗浄液圧送圧力調整弁39と、インク液滴側残圧排気弁34、34および洗浄液側残圧排気弁40と、不活性ガスgの圧力を測定する不活性ガス圧力検出センサ37と、が備えられている。
加圧系30Aにおいては、まず、窒素ガス等の不活性ガスgがエアフィルタ31に供給され、不活性ガスg中に含まれる異物が除去される。その後、不活性ガスgはミストセパレータ32において、その中に含まれるミストが除去される。
異物およびミストが除去された不活性ガスgは、液滴吐出装置10の作業内容に応じて、インク液滴供給系30Bと、後述する洗浄液供給系(第2供給流路)70Aとのどちらか一方に送られる。このインク液滴供給系30Bと、洗浄液供給系70Aとの切替には、後述するインク液圧送ON/OFF切替弁(流体制御弁)47と、洗浄液ON/OFF切替弁(流体制御弁)71とを交互にON/OFF切り替えることによって行われる。これらインク液圧送ON/OFF切替弁47、洗浄液ON/OFF切替弁71の2つのON/OFF切替弁およびヘッド気泡排除弁54には、本発明のON/OFF切替弁(流体制御弁)が用いられている。
まず、加圧系30Aについて説明する。
加圧系30Aには、不活性ガスg中に含まれる塵埃などの異物を除去するエアフィルタ31、36と、ミストを除去するミストセパレータ32と、圧力を適切に調圧するインク液滴圧送圧力調整弁33、33および洗浄液圧送圧力調整弁39と、インク液滴側残圧排気弁34、34および洗浄液側残圧排気弁40と、不活性ガスgの圧力を測定する不活性ガス圧力検出センサ37と、が備えられている。
加圧系30Aにおいては、まず、窒素ガス等の不活性ガスgがエアフィルタ31に供給され、不活性ガスg中に含まれる異物が除去される。その後、不活性ガスgはミストセパレータ32において、その中に含まれるミストが除去される。
異物およびミストが除去された不活性ガスgは、液滴吐出装置10の作業内容に応じて、インク液滴供給系30Bと、後述する洗浄液供給系(第2供給流路)70Aとのどちらか一方に送られる。このインク液滴供給系30Bと、洗浄液供給系70Aとの切替には、後述するインク液圧送ON/OFF切替弁(流体制御弁)47と、洗浄液ON/OFF切替弁(流体制御弁)71とを交互にON/OFF切り替えることによって行われる。これらインク液圧送ON/OFF切替弁47、洗浄液ON/OFF切替弁71の2つのON/OFF切替弁およびヘッド気泡排除弁54には、本発明のON/OFF切替弁(流体制御弁)が用いられている。
すなわち、インク液圧送ON/OFF切替弁47をON、洗浄液ON/OFF切替弁71をOFFにして、インク液滴供給系30Bに不活性ガスgを圧送する場合、不活性ガスgは液滴圧送圧力調整弁33に供給され、所定の圧力に調圧される。調圧された不活性ガスgは、インク液滴側残圧排気弁34、エアフィルタ36を流過し、不活性ガス圧力検出センサ37において供給圧チェックされてから、インク液滴加圧タンク38へと供給される。
一方、インク液圧送ON/OFF切替弁47をOFF、洗浄液ON/OFF切替弁71をONにして、洗浄液供給系70Aに不活性ガスgを圧送する場合、不活性ガスgは洗浄液圧送圧力調整弁39に供給され、所定の圧力に調圧される。調圧された不活性ガスgは、洗浄液側残圧排気弁40、エアフィルタ71を流過し、不活性ガス圧力検出センサ72において供給圧チェックされ、洗浄液圧送タンク73へと供給される。
次に、インク供給系30Bについて説明する。
インク液滴供給系30Bは、図1に示すように、インク液滴を貯溜するインク液滴加圧タンク38およびメインタンク48と、インク液滴の圧力を測定するインク液圧送圧力検出センサ46と、インク液滴の圧送を制御するインク液圧送ON/OFF切替弁47と、液滴吐出ヘッド53内の気泡を排除する際に使用するヘッド部気泡排除弁54とから概略構成されている。
インク液滴加圧タンク38には、タンク内の過剰な圧力を逃がすタンク排圧弁44と、インク液滴の液面位置を検出することにより、インク液滴が所定量あるかないかを確認するインク液滴有無検出センサ45と、が備えられている。これにより、例えば、インク液滴加圧タンク38内のインク液滴残量が所定レベルを下回った場合には、インク液滴有無検出センサ45がこれを検知し、この検知信号に基づいて、インク液滴加圧タンク38にインク液滴が補給される。
メインタンク48には、エアフィルタ50と、メインタンク部上限検出センサ51と、インク液滴液面制御用検出センサ52と、が備えられている。これにより、例えば、メインタンク48内のインク液滴液面が所定レベルを超えた場合には、メインタンク部上限検出センサ51がこれを検出し、この検知信号に基づいて、メインタンク48へのインク液滴の供給が止められる。また、インク液滴液面制御用検出センサ52は、複数の液滴吐出ヘッド53の各ノズル面53aに対するメインタンク48内のインク液滴液面の水頭値headを所定の範囲(例えば25mm±0.5mm)内に調整するための検出センサである。
また、インク液圧送ON/OFF切替弁47とメインタンク48との間には静電気を逃がすための流路部アース継手49が配置され、メインタンク48とヘッド部気泡排除弁54との間には同じく静電気を逃がすための流路部アース継手55が配置されている。
インク液滴供給系30Bは、図1に示すように、インク液滴を貯溜するインク液滴加圧タンク38およびメインタンク48と、インク液滴の圧力を測定するインク液圧送圧力検出センサ46と、インク液滴の圧送を制御するインク液圧送ON/OFF切替弁47と、液滴吐出ヘッド53内の気泡を排除する際に使用するヘッド部気泡排除弁54とから概略構成されている。
インク液滴加圧タンク38には、タンク内の過剰な圧力を逃がすタンク排圧弁44と、インク液滴の液面位置を検出することにより、インク液滴が所定量あるかないかを確認するインク液滴有無検出センサ45と、が備えられている。これにより、例えば、インク液滴加圧タンク38内のインク液滴残量が所定レベルを下回った場合には、インク液滴有無検出センサ45がこれを検知し、この検知信号に基づいて、インク液滴加圧タンク38にインク液滴が補給される。
メインタンク48には、エアフィルタ50と、メインタンク部上限検出センサ51と、インク液滴液面制御用検出センサ52と、が備えられている。これにより、例えば、メインタンク48内のインク液滴液面が所定レベルを超えた場合には、メインタンク部上限検出センサ51がこれを検出し、この検知信号に基づいて、メインタンク48へのインク液滴の供給が止められる。また、インク液滴液面制御用検出センサ52は、複数の液滴吐出ヘッド53の各ノズル面53aに対するメインタンク48内のインク液滴液面の水頭値headを所定の範囲(例えば25mm±0.5mm)内に調整するための検出センサである。
また、インク液圧送ON/OFF切替弁47とメインタンク48との間には静電気を逃がすための流路部アース継手49が配置され、メインタンク48とヘッド部気泡排除弁54との間には同じく静電気を逃がすための流路部アース継手55が配置されている。
インク液滴供給系30Bのインク液滴加圧タンク38に不活性ガスgが供給されると、不活性ガスgによりインク液滴液面が下方に押圧され、インク液滴加圧タンク38から圧送される。圧送されたインク液滴はインク液圧送圧力検出センサ46において測圧され、インク液圧送ON/OFF切替弁47を流過し、メインタンク48に供給される。
メインタンク48に供給されたインク液滴は、メインタンク48からさらにヘッド部気泡排除弁54を経て、液滴吐出ヘッド53に供給される。
ヘッド部気泡排除弁54は、液滴吐出ヘッド53の上流側流路を閉じることにより、該液滴吐出ヘッド53内の液滴を後述のキャップユニット60で吸引する際の吸引流速を高め、液滴吐出ヘッド53内の気泡を速く排気することができるようになっている。
ヘッド部気泡排除弁54は、液滴吐出ヘッド53の上流側流路を閉じることにより、該液滴吐出ヘッド53内の液滴を後述のキャップユニット60で吸引する際の吸引流速を高め、液滴吐出ヘッド53内の気泡を速く排気することができるようになっている。
次に、液滴吐出ヘッド53について説明する。
図3(a)、(b)は液滴吐出ヘッドの概略構成図である。
本実施形態では、液滴吐出法としてインクジェット法を用いることにする。このインクジェット法は、液滴吐出ヘッド53として、例えば図3(a)に示すようにステンレス製のノズルプレート112と振動板113とを備え、両者を仕切部材(リザーバプレート)114を介して接合したものを用いる。ノズルプレート112と振動板113との間には、仕切部材114によって複数のキャビティ115…とリザーバ116とが形成されており、これらキャビティ115…とリザーバ116とは流路117を介して連通している。
図3(a)、(b)は液滴吐出ヘッドの概略構成図である。
本実施形態では、液滴吐出法としてインクジェット法を用いることにする。このインクジェット法は、液滴吐出ヘッド53として、例えば図3(a)に示すようにステンレス製のノズルプレート112と振動板113とを備え、両者を仕切部材(リザーバプレート)114を介して接合したものを用いる。ノズルプレート112と振動板113との間には、仕切部材114によって複数のキャビティ115…とリザーバ116とが形成されており、これらキャビティ115…とリザーバ116とは流路117を介して連通している。
各キャビティ115とリザーバ116の内部とは吐出するための液状体(レンズ材料)で満たされるようになっており、これらの間の流路117はリザーバ116からキャビティ115に液状体を供給する供給口として機能するようになっている。また、ノズルプレート112には、キャビティ115から液状体を噴射するための孔状のノズル118が縦横に整列した状態で複数形成されている。一方、振動板113には、リザーバ116内に開口する孔119が形成されており、この孔119には液状体タンク(図示せず)がチューブ(図示せず)を介して接続されるようになっている。
また、振動板113のキャビティ115に向く面と反対の側の面上には、図3(b)に示すように圧電素子(ピエゾ素子)120が接合されている。この圧電素子120は、一対の電極121、121間に挟持され、通電により外側に突出するようにして撓曲するよう構成されたもので、本発明における吐出手段として機能するものである。
このような構成のもとに圧電素子120が接合された振動板113は、圧電素子120と一体になって同時に外側へ撓曲し、これによりキャビティ115の容積を増大させる。すると、キャビティ115内とリザーバ116内とが連通しており、リザーバ116内に液状体が充填されている場合には、キャビティ15内に増大した容積分に相当する液状体が、リザーバ116から流路117を介して流入する。
そして、このような状態から圧電素子120への通電を解除すると、圧電素子120と振動板113はともに元の形状に戻る。よって、キャビティ115も元の容積に戻ることから、キャビティ115内部の液状体の圧力が上昇し、ノズル118から液状体の液滴122が吐出される。
そして、このような状態から圧電素子120への通電を解除すると、圧電素子120と振動板113はともに元の形状に戻る。よって、キャビティ115も元の容積に戻ることから、キャビティ115内部の液状体の圧力が上昇し、ノズル118から液状体の液滴122が吐出される。
なお、液滴吐出ヘッドの吐出手段としては、前記の圧電素子(ピエゾ素子)120を用いた電気機械変換体以外でもよく、例えば、エネルギー発生素子として電気熱変換体を用いた方式や、帯電制御型、加圧振動型といった連続方式、静電吸引方式、さらにはレーザなどの電磁波を照射して発熱させ、この発熱による作用で液状体を吐出させる方式を採用することもできる。
以上説明の液滴吐出ユニット30に続き、キャップユニット60について説明する。
キャップユニット60は、図1に示すように、液滴吐出ヘッド53に押し当てられるキャップ61と、液滴を吸引する液滴吸引ポンプ62と、吸引された液滴を貯溜する液滴再利用タンク65と、吸引圧力を調節するために使用されるニードルバルブ63および液滴吸引圧検出センサ64と、から概略構成されている。
液滴再利用タンク65には再利用タンク上限検出センサ66が備えられている。例えば、液滴再利用タンク65内の液面高さが所定レベルを超えると再利用タンク上限検出センサ66に検出され、この検出信号に基づき、液滴再利用タンク65内のインク液滴は再利用工程に移される。
キャップユニット60は、図1に示すように、液滴吐出ヘッド53に押し当てられるキャップ61と、液滴を吸引する液滴吸引ポンプ62と、吸引された液滴を貯溜する液滴再利用タンク65と、吸引圧力を調節するために使用されるニードルバルブ63および液滴吸引圧検出センサ64と、から概略構成されている。
液滴再利用タンク65には再利用タンク上限検出センサ66が備えられている。例えば、液滴再利用タンク65内の液面高さが所定レベルを超えると再利用タンク上限検出センサ66に検出され、この検出信号に基づき、液滴再利用タンク65内のインク液滴は再利用工程に移される。
上述したキャップユニット60によれば、まず、各液滴吐出ヘッド53からの液滴Rの吐出開始前に、各液滴吐出ヘッド53のノズル面53aに対して真下よりキャップ61を押し当てる。そして、液滴吸引ポンプ62の吸引力を利用して、液滴吐出ヘッド53の各ノズルに負圧を加えてノズル面53aまで液滴を充填させたり、各ノズルの目詰まりを取るために各液滴吐出ヘッド53の各ノズルに負圧を加えて吸引したり、または製造を行わない待機時に、各ノズル内の液滴が乾燥することのないようにキャップ61でノズル面53を覆って保湿したりする。
以上説明のキャップユニット60に続き、ワイピングユニット70について説明する。
図4は、ワイピングユニットの概略構成を示す図である。
図1および図4に示すワイピングユニット70は、定期的あるいは随時に、前記各液滴吐出ヘッド53の各ノズル面53aを一括清掃するものである。
また、ワイピングユニット70は、図1および図4に示すように、洗浄液を供給する洗浄液供給系70Aと、ノズル面53aを洗浄するノズル面洗浄系70Bとから概略構成されている。
図4は、ワイピングユニットの概略構成を示す図である。
図1および図4に示すワイピングユニット70は、定期的あるいは随時に、前記各液滴吐出ヘッド53の各ノズル面53aを一括清掃するものである。
また、ワイピングユニット70は、図1および図4に示すように、洗浄液を供給する洗浄液供給系70Aと、ノズル面53aを洗浄するノズル面洗浄系70Bとから概略構成されている。
洗浄液供給系70Aは、洗浄液を蓄える洗浄液タンク73と、洗浄液の流れを制御する洗浄液ON/OFF切替弁71と、後述するワイピングシート75に洗浄液を吹き付ける洗浄液供給部77と、から構成されている。洗浄液ON/OFF切替弁71と洗浄液供給部77との間には、流路から静電気を逃がすための流路部アース継手72が備えられている。
また、洗浄液タンク73には、洗浄液の液面位置を検出することにより、洗浄液が所定量あるかないかを確認する洗浄液有無検出センサ74と、タンク内の過剰な圧力を逃がすタンク排圧弁80が備えられている。例えば、洗浄液タンク73内の洗浄液残量が所定レベルを下回ると、洗浄液有無検出センサ74がこれを検知し、この検知信号に基づいて、洗浄液タンク73に洗浄液が補給される。
また、洗浄液タンク73には、洗浄液の液面位置を検出することにより、洗浄液が所定量あるかないかを確認する洗浄液有無検出センサ74と、タンク内の過剰な圧力を逃がすタンク排圧弁80が備えられている。例えば、洗浄液タンク73内の洗浄液残量が所定レベルを下回ると、洗浄液有無検出センサ74がこれを検知し、この検知信号に基づいて、洗浄液タンク73に洗浄液が補給される。
ノズル面洗浄系70Bは、図4に示すように、各ノズル面53aを拭うワイピングシート75と、ワイピングシート75を各ノズル面53aに向けて押し付けるローラ76と、ワイピングシート75を供給する巻き出しローラ78と、各ノズル面53aを拭った後のワイピングシート75を巻き取る巻取りローラ79と、巻取りローラ79を回転駆動する電動モータ153とを備えて構成されている。
なお、ワイピングシート75としては、例えばポリエステル100%の織布が好適に用いられる。また、ローラ76はゴムローラであり、その周面に対する押圧力に対して反発する弾性を備えている。
なお、ワイピングシート75としては、例えばポリエステル100%の織布が好適に用いられる。また、ローラ76はゴムローラであり、その周面に対する押圧力に対して反発する弾性を備えている。
このワイピングユニット70の洗浄液供給系70Aによれば、上述したように、洗浄液圧送タンク73に調圧された不活性ガスgが供給される。そのため、洗浄液圧送タンク73内が加圧され、内部に貯留されている洗浄液が洗浄液ON/OFF切替弁71を流過して洗浄液供給部77へと圧送され、ワイピングシート75に吹き付けられる。
また、上述したノズル面洗浄系70Bによれば、巻き出しローラ78から巻き出されるワイピングシート75を各ノズル面53aに向かって供給しながらローラ76で押し付けることができ、ワイピングシート75の新しい清掃面を絶えず各ノズル面53aに対して供給することができる。しかも、ローラ76の押し付け力によりワイピングシート75を各ノズル面53aに押し付ける構成であるため、各ノズル面53aに対して清掃面を確実に当てることもできる。
また、上述したノズル面洗浄系70Bによれば、巻き出しローラ78から巻き出されるワイピングシート75を各ノズル面53aに向かって供給しながらローラ76で押し付けることができ、ワイピングシート75の新しい清掃面を絶えず各ノズル面53aに対して供給することができる。しかも、ローラ76の押し付け力によりワイピングシート75を各ノズル面53aに押し付ける構成であるため、各ノズル面53aに対して清掃面を確実に当てることもできる。
以上説明のワイピングユニット70に続き、ドット抜け検出・防止ユニット150について説明する。
図2に示すこのドット抜け検出・防止ユニット150は、各ノズルユニット53の各ノズルの目詰まりを調べ、防止するためのものである。
ドット抜け検出・防止ユニット150は、図2に示すように、ドット抜け検出部151と、ドット抜け防止部161と、ドット抜け検出部151およびドット抜け防止部161に接続された吸引ポンプ171と、吸引ポンプ171に吸引されたインク液滴を貯める廃液タンク172と、から概略構成されている。
ドット抜け検出部151には、その内部にレーザ光を出射するレーザ装置(図示せず)と、出射されたレーザ光を検知するレーザ検出部(図示せず)と、が備えられている。
ドット抜け防止部161は、ウェハWfをその上に載置するテーブル162と、テーブル162の端部に設けられた予備吐出部163とから概略構成されている。
図2に示すこのドット抜け検出・防止ユニット150は、各ノズルユニット53の各ノズルの目詰まりを調べ、防止するためのものである。
ドット抜け検出・防止ユニット150は、図2に示すように、ドット抜け検出部151と、ドット抜け防止部161と、ドット抜け検出部151およびドット抜け防止部161に接続された吸引ポンプ171と、吸引ポンプ171に吸引されたインク液滴を貯める廃液タンク172と、から概略構成されている。
ドット抜け検出部151には、その内部にレーザ光を出射するレーザ装置(図示せず)と、出射されたレーザ光を検知するレーザ検出部(図示せず)と、が備えられている。
ドット抜け防止部161は、ウェハWfをその上に載置するテーブル162と、テーブル162の端部に設けられた予備吐出部163とから概略構成されている。
このドット抜け検出・防止ユニット150のドット抜け検出部151によれば、ドット抜け検出部151上方に各液滴吐出ヘッド53を移動させ、レーザ装置(図示せず)から出射されるレーザ光を遮るようにして各液滴吐出ヘッド53からインク液滴を捨て撃ちさせて検査を行うことができる。
例えば、捨て撃ちの指示をしたにもかかわらずレーザ検出部(図示せず)がレーザ光を検出し続ければ、ノズルが目詰まりを起こして液滴が出ておらず、製造品にドット抜けが生じる恐れがあると判断される。そして、前記キャップユニット60により問題となっている液滴吐出ヘッド53のノズルが吸引・目詰まり除去されるようになっている。
例えば、捨て撃ちの指示をしたにもかかわらずレーザ検出部(図示せず)がレーザ光を検出し続ければ、ノズルが目詰まりを起こして液滴が出ておらず、製造品にドット抜けが生じる恐れがあると判断される。そして、前記キャップユニット60により問題となっている液滴吐出ヘッド53のノズルが吸引・目詰まり除去されるようになっている。
また、ドット抜け防止部161によれば、ウェハWfにインク液滴を吐出させる前に、予備吐出部163上方に各液滴吐出ヘッド53を移動させ、各液滴吐出ヘッド53からインク液滴を予備吐出(フラッシング)させることができる。つまり、インク液滴の飛行が不安定な吐出初期には、予備吐出部163にインク液滴を予備吐出させ、インク液滴の飛行が安定してから、ウェハWf上にインク液滴を吐出させることができ、その結果、ドット抜けを防止することができる。
次に本実施の形態の特徴部分であるインク液圧送ON/OFF切替弁、洗浄液ON/OFF切替弁およびヘッド気泡排除弁54について説明する。
図5は、インク液圧送ON/OFF切替弁のON時の概略構成図である。図6は、インク液圧送ON/OFF切替弁のOFF時の概略構成図である。
なお、インク液圧送ON/OFF切替弁47、洗浄液ON/OFF切替弁71および
ヘッド気泡排除弁54の構成および作用、効果は略同一であるため、ここではインク液圧送ON/OFF切替弁47について説明し、洗浄液ON/OFF切替弁71およびヘッド気泡排除弁54の説明は省略する。
図5は、インク液圧送ON/OFF切替弁のON時の概略構成図である。図6は、インク液圧送ON/OFF切替弁のOFF時の概略構成図である。
なお、インク液圧送ON/OFF切替弁47、洗浄液ON/OFF切替弁71および
ヘッド気泡排除弁54の構成および作用、効果は略同一であるため、ここではインク液圧送ON/OFF切替弁47について説明し、洗浄液ON/OFF切替弁71およびヘッド気泡排除弁54の説明は省略する。
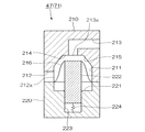
インク液圧送ON/OFF切替弁47は、図5および図6に示すように、例えばステンレス材からなる上部筐体210と、下部筐体220とを組み合わせることにより概略構成されている。上部筐体210には、下部筐体220に向けて開口しているタンク211と、タンク211の側面最下部に接続する流入流路212と、タンク211の上面略中央部に接続する流出流路213とが形成されている。
下部筐体220には、上部筐体210に向けて開口している凹部221と、ダイヤフラム216を押し上げ弁座214と当接、離間する弁体222と、弁体222がその内部をスライド移動する弁体収納部223と、弁体収納部223の下面に設けられ弁体222を下方に向けて付勢するバネ224と、弁体収納部223に弁体222駆動用のエアを供給するエア供給部(図示せず)が設けられている。
下部筐体220には、上部筐体210に向けて開口している凹部221と、ダイヤフラム216を押し上げ弁座214と当接、離間する弁体222と、弁体222がその内部をスライド移動する弁体収納部223と、弁体収納部223の下面に設けられ弁体222を下方に向けて付勢するバネ224と、弁体収納部223に弁体222駆動用のエアを供給するエア供給部(図示せず)が設けられている。
タンク211の上面には、流出流路213の流出口213a周辺に後述する弁体222と当接する弁座214が形成され、弁座214に向かって上方に傾斜するテーパ面215が形成されている。タンク211の側面最下部には流入流路212の流入口212aが形成されている。タンク211の下部筐体220側の開口部には、この開口部を塞ぐように可撓性を持つダイヤフラム216が設けられている。また、タンク211の内面には、上部筐体210の材質(本実施例においてはステンレス)を溶かす化学薬品による化学研磨が施され、タンク211内面の加工目のような凹凸が除去されている。
なお、流入通路212は、本実施の形態においては略水平方向に設けられているが、タンク211に向かって上方に傾斜して設けられてもよい。このように流入流路212を上方に傾斜して設けることで、流入流路212内に気泡が滞留することを防止することができる。また、タンク211内面に親水性の被膜を形成したり、タンク211内面自体に親水性を持たせる処理を行ったりしてもよい。このような処理を行うことにより、タンク211内部の面の親液性が高くなり液体が容易に付着することができる。そのため、気泡は逆にタンク内部の面に付着しにくくなり、タンク内に気泡が滞留しにくくなる。
流出流路213は、まずタンク211から略垂直上方に設けられ、その後略水平方向に設けられているが、略水平方向に限られることなく、タンク211から外側に向かって上方に傾斜して設けられてもよい。このように流出流路213を上方に傾斜して設けることで、流出流路213内に気泡が滞留することを防止することができる。
なお、流入通路212は、本実施の形態においては略水平方向に設けられているが、タンク211に向かって上方に傾斜して設けられてもよい。このように流入流路212を上方に傾斜して設けることで、流入流路212内に気泡が滞留することを防止することができる。また、タンク211内面に親水性の被膜を形成したり、タンク211内面自体に親水性を持たせる処理を行ったりしてもよい。このような処理を行うことにより、タンク211内部の面の親液性が高くなり液体が容易に付着することができる。そのため、気泡は逆にタンク内部の面に付着しにくくなり、タンク内に気泡が滞留しにくくなる。
流出流路213は、まずタンク211から略垂直上方に設けられ、その後略水平方向に設けられているが、略水平方向に限られることなく、タンク211から外側に向かって上方に傾斜して設けられてもよい。このように流出流路213を上方に傾斜して設けることで、流出流路213内に気泡が滞留することを防止することができる。
上述したインク液圧送ON/OFF切替弁47がON状態になると、図5に示すように、弁体収納部223へのエア供給が停止され、バネ224により弁体222が下方に引き寄せられる。すると、弁座214と弁体222とが離間し、インク液滴は弁座214と弁体222との間隙を流過して流出流路213に流入する。
また、インク液圧送ON/OFF切替弁47がOFF状態になると、図6に示すように、弁体収納部223へのエアが供給され、エアの圧力により弁体222が上方へ押し上げられる。すると、弁座214と弁体222とがダイヤフラム216を介して当接し、タンク211内のインク液滴の流出流路213への流入が止められる。
また、インク液圧送ON/OFF切替弁47がOFF状態になると、図6に示すように、弁体収納部223へのエアが供給され、エアの圧力により弁体222が上方へ押し上げられる。すると、弁座214と弁体222とがダイヤフラム216を介して当接し、タンク211内のインク液滴の流出流路213への流入が止められる。
上記の構成のインク液圧送ON/OFF切替弁47によれば、流入口212aが流出口213aよりも下方に設けられているため、インク液圧送ON/OFF切替弁47にインク液滴を初期充填する際には、流入口212aからインク液滴が流入し、流出口213aから空気が流出する。そのため、タンク211内の空気は全て流出口213aから流出し、タンク内に気泡が滞留することがない。タンク211内に気泡が滞留しないので、下流に気泡が流れ出ることがなく、下流に配置された液滴吐出ヘッド53が気泡に起因する不具合を発生することを防止することができる。
また、流入口212aがタンク211の最下部に設けられているため、インク液滴はタンク211の最下部から流入し、流入口212aよりも下方に向かうインク液滴の流れがなくなる。そのため、気泡が下方に向かう流れに乗ってタンク211内を循環することがなくなり、気泡はより流出口に向かって流れやすくなるため、タンク211内に気泡が滞留しにくくなる。
流出口213aがタンク211上面の略中央部に設けられ、かつタンク211上面の形状が流出口213aに向けて上方に傾斜するテーパ形状に形成されているため、タンク211内の気泡が流出口近傍に集まりやすくなっている。そのため、気泡がタンク211から流出しやすくなり、タンク211内に気泡が滞留しにくくなる。
タンク211内部の面が化学研磨により滑らかに仕上げ加工されているため、気泡がタンク211内部の面における加工目のような凹凸がなくなる。上記凹凸がなくなっているため、気泡がタンク211内部の面に付着しにくくなり、タンク211内に気泡が滞留しにくくなる。
また、インク液圧送ON/OFF切替弁47、洗浄液ON/OFF切替弁71およびヘッド気泡排除弁54を用いた滴吐出装置10によれば、液滴吐出ヘッド53および洗浄液供給部77にインク液圧送ON/OFF切替弁47、洗浄液ON/OFF切替弁71およびヘッド気泡排除弁54内に滞留した気泡が流入することを防止することができる。そのため、液滴吐出ヘッド53からのインク液滴吐出不良や、洗浄液供給部77からの洗浄液吐出不良によるノズル118周辺部のクリーニング不足を防止することができる。
その結果、インク液滴の吐出不良による描画抜けや、ノズル118周辺部のクリーニング不足によるインク液滴の飛行曲がりを防止することができ、液滴吐出ヘッド53の初期吐出品質を確保することができる。
また、インク液圧送ON/OFF切替弁47、洗浄液ON/OFF切替弁71およびヘッド気泡排除弁54内の気泡の滞留を防止することができるため、気泡を取り除く工程が不要となり、メンテナンス時間が削減でき生産性が向上する。
その結果、インク液滴の吐出不良による描画抜けや、ノズル118周辺部のクリーニング不足によるインク液滴の飛行曲がりを防止することができ、液滴吐出ヘッド53の初期吐出品質を確保することができる。
また、インク液圧送ON/OFF切替弁47、洗浄液ON/OFF切替弁71およびヘッド気泡排除弁54内の気泡の滞留を防止することができるため、気泡を取り除く工程が不要となり、メンテナンス時間が削減でき生産性が向上する。
なお、本発明の技術範囲は上記実施形態に限定されるものではなく、本発明の趣旨を逸脱しない範囲において種々の変更を加えることが可能である。
例えば、上記の実施の形態においては、この発明を液滴吐出装置に適応して説明したが、この発明は液滴吐出装置に限られることなく、その他各種の流体制御装置に適応できるものである。
例えば、上記の実施の形態においては、この発明を液滴吐出装置に適応して説明したが、この発明は液滴吐出装置に限られることなく、その他各種の流体制御装置に適応できるものである。
10・・・液滴吐出装置、 30B・・・インク液滴供給系(第1供給流路)、 47・・・インク液圧送ON/OFF切替弁(流体制御弁)、 53・・・液滴吐出ヘッド、 70・・・ワイピングユニット(洗浄手段)、 70A・・・洗浄液供給系(第2供給流路)、 71・・・洗浄液ON/OFF切替弁(流体制御弁)、 77・・・洗浄液供給部、 118・・・ノズル、 211・・・タンク、 212a・・・流入口、 213a・・・流出口、 222・・・弁体
Claims (8)
- 流体がその内部を流過するタンクと、該タンクに流体が流入する流入口と、前記タンクから流体が流出する流出口と、前記流入口または前記流出口を開閉する弁体と、を備えた流体制御弁であって、
前記流入口が前記流出口よりも下方に設けられていることを特徴とする流体制御弁。 - 前記流入口が前記タンクの最下部に設けられていることを特徴とする請求項1記載の流体制御弁。
- 前記タンクには、外部から流体を前記流入口に導く流入流路が備えられ、
該流入流路が、前記タンクに向かって水平方向から上向きになるように配置されていることを特徴とする請求項1または2に記載の流体制御弁。 - 前記流出口が前記タンク上面の略中央部に設けられていることを特徴とする請求項1から3のいずれかに記載の流体制御弁。
- 前記タンク上面の形状が、前記流出口に向けて上方に傾斜するテーパ形状に形成されていることを特徴とする請求項4記載の流体制御弁。
- 前記タンク内部の面は、親液処理が施されていることを特徴とする請求項1から5のいずれかに記載の流体制御弁。
- 前記タンク内部の面には、化学研磨が施されていることを特徴とする請求項1から5のいずれかに記載の流体制御弁。
- 流動性を有した液状体を吐出する複数のノズルが設けられた液滴吐出ヘッドと、
前記ノズル周辺部をクリーニングする洗浄手段と、
該洗浄手段に洗浄液を吐出する洗浄液供給部と、
前記液状体を前記液滴吐出装置に供給する第1供給流路と、
前記洗浄液を前記洗浄液供給部に供給する第2供給流路と、
前記第1供給流路を流れる液状体および前記第2供給流路を流れる洗浄液の流れを制御する流体制御弁と、
を備えた液滴吐出装置であって、
前記流体制御弁は請求項1から7のいずれかに記載の流体制御弁を用いることを特徴とする液滴吐出装置。
Priority Applications (6)
| Application Number | Priority Date | Filing Date | Title |
|---|---|---|---|
| JP2003311851A JP2005076868A (ja) | 2003-09-03 | 2003-09-03 | 流体制御弁および液滴吐出装置 |
| TW093125842A TW200510667A (en) | 2003-09-03 | 2004-08-27 | Fluid control valve and droplet discharge device |
| US10/930,757 US7029094B2 (en) | 2003-09-03 | 2004-09-01 | Fluid control valve and droplet discharging device |
| CNA2004100749401A CN1590821A (zh) | 2003-09-03 | 2004-09-01 | 流体控制阀及液滴喷出装置 |
| KR1020040069947A KR100655872B1 (ko) | 2003-09-03 | 2004-09-02 | 유체 제어 밸브 및 액적 토출 장치 |
| US11/367,585 US20060146103A1 (en) | 2003-09-03 | 2006-03-06 | Fluid control valve and droplet discharging device |
Applications Claiming Priority (1)
| Application Number | Priority Date | Filing Date | Title |
|---|---|---|---|
| JP2003311851A JP2005076868A (ja) | 2003-09-03 | 2003-09-03 | 流体制御弁および液滴吐出装置 |
Publications (1)
| Publication Number | Publication Date |
|---|---|
| JP2005076868A true JP2005076868A (ja) | 2005-03-24 |
Family
ID=34413306
Family Applications (1)
| Application Number | Title | Priority Date | Filing Date |
|---|---|---|---|
| JP2003311851A Withdrawn JP2005076868A (ja) | 2003-09-03 | 2003-09-03 | 流体制御弁および液滴吐出装置 |
Country Status (5)
| Country | Link |
|---|---|
| US (2) | US7029094B2 (ja) |
| JP (1) | JP2005076868A (ja) |
| KR (1) | KR100655872B1 (ja) |
| CN (1) | CN1590821A (ja) |
| TW (1) | TW200510667A (ja) |
Cited By (8)
| Publication number | Priority date | Publication date | Assignee | Title |
|---|---|---|---|---|
| JP2005140257A (ja) * | 2003-11-07 | 2005-06-02 | Seiko Epson Corp | 流体制御弁および液滴吐出装置 |
| JP2011051241A (ja) * | 2009-09-02 | 2011-03-17 | Seiko Epson Corp | 液体供給方法 |
| JP2015189203A (ja) * | 2014-03-28 | 2015-11-02 | セイコーエプソン株式会社 | 流路部材、液体吐出ヘッドおよび液体吐出装置 |
| JP2015189202A (ja) * | 2014-03-28 | 2015-11-02 | セイコーエプソン株式会社 | 液体吐出ヘッドおよび液体吐出装置 |
| JP2015189201A (ja) * | 2014-03-28 | 2015-11-02 | セイコーエプソン株式会社 | 流路部材、液体吐出ヘッドおよび液体吐出装置 |
| JP2016150495A (ja) * | 2015-02-17 | 2016-08-22 | セーレン株式会社 | インクジェットプリントユニットおよびインクジェットプリント装置 |
| JP2018202729A (ja) * | 2017-06-02 | 2018-12-27 | 京セラドキュメントソリューションズ株式会社 | 供給液タンクユニットおよびそれを備えたインクジェット記録装置 |
| JP2023149934A (ja) * | 2022-03-31 | 2023-10-16 | ブラザー工業株式会社 | 液体吐出装置 |
Families Citing this family (22)
| Publication number | Priority date | Publication date | Assignee | Title |
|---|---|---|---|---|
| US7258407B1 (en) * | 2003-03-28 | 2007-08-21 | Eastman Kodak Company | Custom color printing apparatus and process |
| US20070097175A1 (en) * | 2004-03-24 | 2007-05-03 | Stelter Eric C | Custom color printing apparatus and process |
| JP2006075687A (ja) * | 2004-09-08 | 2006-03-23 | Seiko Epson Corp | 液滴吐出装置、ヘッドのクリーニング方法、電気光学装置の製造方法、電気光学装置および電子機器 |
| WO2007146892A2 (en) | 2006-06-13 | 2007-12-21 | Advanced Technology Materials, Inc. | Liquid dispensing systems encompassing gas removal |
| US20080043076A1 (en) * | 2006-06-28 | 2008-02-21 | Johnnie Coffey | Vacuum Pump and Low Pressure Valve Inkjet Ink Supply |
| KR100955494B1 (ko) * | 2008-01-08 | 2010-04-30 | 주식회사 케이디파워 | 접지 구조 |
| WO2009096965A1 (en) * | 2008-01-31 | 2009-08-06 | Hewlett-Packard Development Company, L.P. | Apparatus and methods for purging air from a fluid conveying tube |
| US20090241998A1 (en) * | 2008-03-26 | 2009-10-01 | Multimetrixs, Llc | Apparatus for foam-assisted wafer cleaning with use of universal fluid supply unit |
| WO2010137625A1 (ja) * | 2009-05-27 | 2010-12-02 | ギガフォトン株式会社 | ターゲット出力装置及び極端紫外光源装置 |
| CN102548868B (zh) | 2009-07-09 | 2014-12-10 | 先进技术材料股份有限公司 | 基于衬里的存储系统和将流体材料输送给半导体工艺的方法 |
| WO2011085012A2 (en) | 2010-01-06 | 2011-07-14 | Advanced Technology Materials, Inc. | Liquid dispensing systems with gas removal and sensing capabilities |
| JP5776148B2 (ja) * | 2010-08-18 | 2015-09-09 | 株式会社リコー | 画像形成装置 |
| JP5717381B2 (ja) * | 2010-08-31 | 2015-05-13 | キヤノン株式会社 | インクジェット記録ヘッド |
| EP2643094A4 (en) | 2010-11-23 | 2017-05-24 | Advanced Technology Materials, Inc. | Liner-based dispenser |
| EP2681124A4 (en) | 2011-03-01 | 2015-05-27 | Advanced Tech Materials | NESTED BLASHED INNER CLADDING AND PACKAGING AND MANUFACTURING METHOD THEREFOR |
| JP5998602B2 (ja) * | 2012-04-17 | 2016-09-28 | セイコーエプソン株式会社 | 液体循環装置および液体吐出装置 |
| JP5941770B2 (ja) * | 2012-06-28 | 2016-06-29 | 株式会社ミマキエンジニアリング | インクジェット記録装置、液体供給装置および記録ヘッドのクリーニング方法 |
| CN105328995A (zh) * | 2015-12-15 | 2016-02-17 | 李星 | 喷头清洗保湿装置 |
| CN107806525A (zh) * | 2017-11-29 | 2018-03-16 | 嘉孚朗机器人设备(苏州)有限公司 | Ab胶循环阀体 |
| WO2021070602A1 (ja) * | 2019-10-07 | 2021-04-15 | 株式会社スリーボンド | 吐出装置、移動部材及び流通制御方法 |
| US11117386B2 (en) | 2019-12-06 | 2021-09-14 | Xerox Corporation | Ink reservoir with pneumatically driven integrated piston and shut-off valves |
| CN113042308B (zh) * | 2020-12-11 | 2022-07-12 | 苏州卓兆点胶股份有限公司 | 双组份点胶装置 |
Family Cites Families (9)
| Publication number | Priority date | Publication date | Assignee | Title |
|---|---|---|---|---|
| JPS5176026A (en) * | 1974-12-09 | 1976-07-01 | Ricoh Kk | Inkufunshashikipurintano mezumarijokyosochi |
| JPS55158974A (en) * | 1979-05-26 | 1980-12-10 | Ricoh Co Ltd | Choking detector in ink jet printer and remover thereof |
| US4573742A (en) * | 1983-11-07 | 1986-03-04 | Tegtmeier & Sons, Inc. | Hydraulic stabilizing mechanism for use with hydraulic elevating system |
| US4836236A (en) * | 1987-07-29 | 1989-06-06 | Ladisch Thomas P | Flush sealing tank valve with diaphgram |
| GB9719705D0 (en) * | 1997-09-16 | 1997-11-19 | Domino Printing Sciences Plc | Ink jet printer |
| US6145810A (en) * | 1998-04-14 | 2000-11-14 | Asepco, Inc. | Aseptic valve construction with diaphragm having straight neck |
| WO2001032424A2 (fr) * | 1999-11-05 | 2001-05-10 | Seiko Epson Corporation | Dispositif d'impression de type jet d'encre, procede d'alimentation en encre de reservoir secondaire et procede d'evaluation de quantite d'encre fournie a ce reservoir par le meme dispositif |
| JP4633292B2 (ja) | 2001-04-09 | 2011-02-16 | シーケーディ株式会社 | 流体制御弁 |
| US6824256B2 (en) * | 2003-01-24 | 2004-11-30 | Hewlett-Packard Development Company, L.P. | Low air transmission rate ink valve |
-
2003
- 2003-09-03 JP JP2003311851A patent/JP2005076868A/ja not_active Withdrawn
-
2004
- 2004-08-27 TW TW093125842A patent/TW200510667A/zh not_active IP Right Cessation
- 2004-09-01 CN CNA2004100749401A patent/CN1590821A/zh active Pending
- 2004-09-01 US US10/930,757 patent/US7029094B2/en not_active Expired - Fee Related
- 2004-09-02 KR KR1020040069947A patent/KR100655872B1/ko not_active Expired - Fee Related
-
2006
- 2006-03-06 US US11/367,585 patent/US20060146103A1/en not_active Abandoned
Cited By (12)
| Publication number | Priority date | Publication date | Assignee | Title |
|---|---|---|---|---|
| JP2005140257A (ja) * | 2003-11-07 | 2005-06-02 | Seiko Epson Corp | 流体制御弁および液滴吐出装置 |
| JP2011051241A (ja) * | 2009-09-02 | 2011-03-17 | Seiko Epson Corp | 液体供給方法 |
| US8585191B2 (en) | 2009-09-02 | 2013-11-19 | Seiko Epson Corporation | Liquid supply method |
| US8764140B2 (en) | 2009-09-02 | 2014-07-01 | Seiko Epson Corporation | Liquid supply method |
| US9067428B2 (en) | 2009-09-02 | 2015-06-30 | Seiko Epson Corporation | Liquid supply method |
| JP2015189203A (ja) * | 2014-03-28 | 2015-11-02 | セイコーエプソン株式会社 | 流路部材、液体吐出ヘッドおよび液体吐出装置 |
| JP2015189202A (ja) * | 2014-03-28 | 2015-11-02 | セイコーエプソン株式会社 | 液体吐出ヘッドおよび液体吐出装置 |
| JP2015189201A (ja) * | 2014-03-28 | 2015-11-02 | セイコーエプソン株式会社 | 流路部材、液体吐出ヘッドおよび液体吐出装置 |
| JP2016150495A (ja) * | 2015-02-17 | 2016-08-22 | セーレン株式会社 | インクジェットプリントユニットおよびインクジェットプリント装置 |
| JP2018202729A (ja) * | 2017-06-02 | 2018-12-27 | 京セラドキュメントソリューションズ株式会社 | 供給液タンクユニットおよびそれを備えたインクジェット記録装置 |
| JP2023149934A (ja) * | 2022-03-31 | 2023-10-16 | ブラザー工業株式会社 | 液体吐出装置 |
| JP7815936B2 (ja) | 2022-03-31 | 2026-02-18 | ブラザー工業株式会社 | 液体吐出装置 |
Also Published As
| Publication number | Publication date |
|---|---|
| TW200510667A (en) | 2005-03-16 |
| KR20050024265A (ko) | 2005-03-10 |
| US7029094B2 (en) | 2006-04-18 |
| KR100655872B1 (ko) | 2006-12-11 |
| US20050083367A1 (en) | 2005-04-21 |
| TWI292020B (ja) | 2008-01-01 |
| CN1590821A (zh) | 2005-03-09 |
| US20060146103A1 (en) | 2006-07-06 |
Similar Documents
| Publication | Publication Date | Title |
|---|---|---|
| JP2005076868A (ja) | 流体制御弁および液滴吐出装置 | |
| JP4744243B2 (ja) | インクタンク、インクジェット記録装置並びにインク充填方法及び装置 | |
| KR102222708B1 (ko) | 인쇄장치 및 인쇄방법 | |
| US8132898B2 (en) | Recording head and recording apparatus | |
| JP5383341B2 (ja) | インクジェット記録装置の停止処理方法 | |
| JP2004508985A (ja) | インクジェットプリンタ用セルフクリーニング式プリントヘッド | |
| JP2017222086A (ja) | インクジェット式記録装置 | |
| US20200254778A1 (en) | Liquid ejecting apparatus | |
| JP2005131969A (ja) | インクジェットプリンタ用ヘッド清掃装置及び該清掃装置を備えたプリンタ | |
| JP2020006598A (ja) | 液滴吐出装置及び液滴吐出装置のメンテナンス方法 | |
| CN102083629B (zh) | 液体喷射头、液体喷射记录装置以及液体喷射头的液体填充方法 | |
| JP4064739B2 (ja) | インクジェットヘッドのメンテナンス方法及びメンテナンス装置 | |
| JP4049084B2 (ja) | 流体制御弁および液滴吐出装置 | |
| JP5179409B2 (ja) | インクジェット装置 | |
| US9242469B2 (en) | Liquid ejecting apparatus and maintenance method | |
| JP7196664B2 (ja) | 液体噴射装置、及び液体噴射装置の制御方法 | |
| US6715855B2 (en) | Ink jet recording device and bubble removing method | |
| JP2011245733A (ja) | 液滴吐出装置及びクリーニング方法 | |
| JP2020082370A (ja) | 液体噴射装置、液体噴射装置の制御方法 | |
| EP3527383B1 (en) | Liquid discharge device and liquid discharge apparatus | |
| JP4042348B2 (ja) | インクジェット記録装置および気泡除去方法 | |
| JP2008221620A (ja) | 流体噴射装置、及び流体噴射装置のクリーニング方法 | |
| JP4802835B2 (ja) | 液滴吐出ヘッドの清掃装置ならびにそれを備えた液滴吐出装置 | |
| JP2008221749A (ja) | 流体噴射装置、及び流体噴射装置のクリーニング方法 | |
| JP2009178691A (ja) | 液滴吐出ヘッドの清掃装置ならびにそれを備えた液滴吐出装置 |
Legal Events
| Date | Code | Title | Description |
|---|---|---|---|
| A300 | Application deemed to be withdrawn because no request for examination was validly filed |
Free format text: JAPANESE INTERMEDIATE CODE: A300 Effective date: 20061107 |