JP2005073791A - 棚受部材の取付構造 - Google Patents
棚受部材の取付構造 Download PDFInfo
- Publication number
- JP2005073791A JP2005073791A JP2003305495A JP2003305495A JP2005073791A JP 2005073791 A JP2005073791 A JP 2005073791A JP 2003305495 A JP2003305495 A JP 2003305495A JP 2003305495 A JP2003305495 A JP 2003305495A JP 2005073791 A JP2005073791 A JP 2005073791A
- Authority
- JP
- Japan
- Prior art keywords
- shelf
- receiving member
- shelf receiving
- surface portion
- slit
- Prior art date
- Legal status (The legal status is an assumption and is not a legal conclusion. Google has not performed a legal analysis and makes no representation as to the accuracy of the status listed.)
- Pending
Links
- 210000000078 claw Anatomy 0.000 claims abstract description 29
- 239000007769 metal material Substances 0.000 claims description 6
- 230000000630 rising effect Effects 0.000 claims description 3
- 238000010276 construction Methods 0.000 claims 1
- 239000000463 material Substances 0.000 abstract description 7
- 230000002093 peripheral effect Effects 0.000 description 12
- 230000009471 action Effects 0.000 description 9
- 238000000034 method Methods 0.000 description 8
- 238000003780 insertion Methods 0.000 description 6
- 230000037431 insertion Effects 0.000 description 6
- 238000000926 separation method Methods 0.000 description 4
- 229910000831 Steel Inorganic materials 0.000 description 3
- 239000010959 steel Substances 0.000 description 3
- 238000013459 approach Methods 0.000 description 2
- 238000005452 bending Methods 0.000 description 2
- 230000004048 modification Effects 0.000 description 2
- 238000012986 modification Methods 0.000 description 2
- 229920003002 synthetic resin Polymers 0.000 description 2
- 239000000057 synthetic resin Substances 0.000 description 2
- 235000012438 extruded product Nutrition 0.000 description 1
- 230000002349 favourable effect Effects 0.000 description 1
- 230000006872 improvement Effects 0.000 description 1
- 230000009467 reduction Effects 0.000 description 1
Images
Landscapes
- Assembled Shelves (AREA)
- Display Racks (AREA)
Abstract
【課題】極めて簡単な操作によって棚受部材を支柱等の縦材間に取り付けることができる棚受部材の取付構造を提供する。
【解決手段】両棚受支柱5の相互に対向する対向面部51に棚受支柱5の起立方向に対して斜めに設けたスリット51Sと、棚受部材6に設けられスリット51Sに案内され得る係合爪62とからなる案内手段を備え、この案内手段を利用して棚受部材6を棚受支柱5の起立方向に対して斜め下方にスライド移動させることにより棚受部材6の棚受支柱5に対する係合深さが漸次深くなるように構成した。
【選択図】図13
【解決手段】両棚受支柱5の相互に対向する対向面部51に棚受支柱5の起立方向に対して斜めに設けたスリット51Sと、棚受部材6に設けられスリット51Sに案内され得る係合爪62とからなる案内手段を備え、この案内手段を利用して棚受部材6を棚受支柱5の起立方向に対して斜め下方にスライド移動させることにより棚受部材6の棚受支柱5に対する係合深さが漸次深くなるように構成した。
【選択図】図13
Description
本発明は、対向位置に起立姿勢で配置された一対の縦材間に、棚板支持用の棚受部材を係わり合わせて取り付ける際に適用される棚受部材の取付構造に関するものである。
対向位置に起立姿勢で配置された一対の縦材(例えば支柱)間に、棚板支持用の棚体部材を取り付ける態様としては、両支柱の相互に対向する対向面部に、支柱の起立方向に沿って縦長のスリットを複数形成し、このスリットを利用して棚受部材を支柱間に取付可能に構成したものが知られている。具体的には、棚受部材の長手方向両端部に下向きの鍵状をなすフックをそれぞれ設け、各フックをそれぞれ前記スリットに係合させている(例えば特許文献1参照)。また、棚受部材と棚受支柱との取付強度を高めるために、ビスや係合ピン等を用いる態様も採用されている。
特開2001−178567号公報(第3〜4頁、第1図、第7図)
ところが、従来のものは、支柱間に棚受部材を取り付けるために、先ず、支柱の起立方向に略直行する方向からフックをスリットに挿入し、次いで、フックをスリットに係合させるように棚受部材を下方に落とし込むという作業が必要であった。すなわち、支柱間に棚受部材を取り付けるために少なくともツーアクション必要であり、取付作業をスムーズに行うことができない恐れがあり、今ひとつ実用性に欠けるものである。また、支柱間に取り付けている棚受部材を取り外す場合にも、先ずフックとスリットとの係合が解除される高さ位置まで棚受部材を持ち上げ、次いで、支柱の起立方向に略直行する方向に棚受部材を移動させてフックをスリットから引き出すという作業が必要であり、上記同様、取外し作業をスムーズに行うことができないという不具合が生じる。さらに、ビスや係合ピン等を用いたものであれあれば、作業効率をより低下させることはいうまでもない。
本発明は、このような課題に着目してなされたものであって、主たる目的は、極めて簡単な操作によって棚受部材を支柱等の縦材間に取り付けることができる棚受部材の取付構造を提供することにある。
すなわち、本発明の棚受部材の取付構造は、対向位置に起立姿勢で配置された一対の縦材間に、棚板支持用の棚受部材を係わり合わせて取り付ける際に適用されるものであって、前記両縦材の相互に対向する対向面部に縦材の起立方向に対して斜めに設けた案内部と、前記棚受部材に設けられ前記案内部に案内され得る被案内部とからなる案内手段を備え、当該案内手段を利用して前記棚受部材を前記縦材の起立方向に対して斜め下方にスライド移動させることにより棚受部材の縦材に対する係合深さが漸次深くなるように構成したことを特徴とする。
このようなものであれば、棚受部材を斜め下方にスライド移動させる(落とし込む)というワンアクションのみで案内手段を介して棚受部材を縦材に係合させることが可能となり、ビスや係合ピン等を用いることなく、棚受部材を縦材間に簡単に取り付けることができる。また、棚受部材を縦材間に取り付けた状態において両部材の係合深さが最も深くなるように設定していれば、両部材の取付状態もより良好なものとなる。加えて、縦材間に取り付けた棚受部材を斜め上方にスライドさせることによって、棚受部材を容易に取り外すことができ、棚板の高さ位置を変更する場合等も極めて簡単な操作で行うことができる。このように、ワンアクションで棚受部材を取り付けたり、又は取り外すことができ、作業効率を飛躍的に高め、使い勝手に優れたものである。
具体的な実施態様としては、前記案内部が前記対向面部に形成したスリットであり、前記棚受部材に設けた被案内部が前記スリットに係合可能な係合爪であるものが挙げられる。
前記縦材が、前記対向面部と、当該対向面部に略直交する直交面部とを備え、前記対向面部の長手方向に沿った縁部に連続して前記直交面部を設けたものであり、前記各スリットの一端を前記直交面部に開口させるとともに、当該直交面部に、前記各スリットに連続する第2のスリットを設けているものが好ましい。
また、良好な取付状態を維持するためには、前記第2のスリットが、前記各スリットに連続して所定方向に延ばしたものであり、前記縦材間に前記棚受部材を取り付けた状態において、前記係合爪の一部と、前記第2のスリットの延出方向の開口縁部とが当接又は近接し、各縦材が互いに相寄る方向に移動することを規制するように構成していることが望ましい。
特に、前記案内部を、前記対向面部の長手方向に沿って間欠的に複数設けていれば、棚受部材の取付高さ位置を選択することができる。
前記案内部を前記縦材の起立方向に沿って2列に設け、一方の案内部又は両方の案内部を利用して、前記棚受部材を前記縦材間に取付可能に構成していれば、棚受部材を2方向から縦材に取り付けることができる。
特に、前記2列の案内部を、前記対向面部の起立方向に沿った所定の仮想直線に関して対称となるように設けていることが好ましい。
前記棚受部材の好適な実施態様としては、前記縦材間に略水平姿勢で取り付けられる長尺のものであり、棚板を支持する棚受部材本体と、前記案内部の傾斜角度に対応する角度をなして前記棚受部材本体から突出する被案内部とを備えたものが挙げられる。
前記棚受部材本体に、棚受部材を縦材間に取り付けた状態において前記直交面部に当接または近接する当たり部を設けていれば、棚受部材と縦材との取付状態をより良好なものとすることができる。
前記縦材は、支柱として使用されるものであってもよく、また、対向位置に起立姿勢で配置された支柱に取付可能に構成したものであってもよい。後者の場合、スリットを形成してない既存の支柱をそのまま利用することができ、汎用的利用が可能となる。
特に、前記縦材及び前記棚受部材が金属製素材からなるものであることが望ましい。
以上説明したように本発明によれば、棚受部材を斜め下方にスライド移動させる、つまり落とし込むというワンアクションで案内手段を介して棚受部材を縦材に係合させることが可能となり、ビスや係合ピン等を用いることなく、棚受部材を縦材間に簡単に取り付けることができる。また、棚受部材を縦材間に取り付けた状態において両部材の係合深さが最も深くなるように設定しているので、両部材の取付状態もより良好なものとなる。また、縦材間に取り付けた棚受部材を斜め上方にスライドさせることによって、棚受部材を取り外すことができる。このように、ワンアクションで棚受部材を取り付けたり、又は取り外すことができ、作業効率を飛躍的に高めることができる。
以下、本発明の一実施形態を、図面を参照して説明する。
本発明に係る棚受部材の取付構造は、対向位置に起立姿勢で配置された一対の本発明の縦材たる棚受支柱5間に、棚板支持用の棚受部材6を係わり合わせて取り付ける際に適用されるものである。本実施形態においては、図1に図示するラックRに適用している。
このラックRは、図1及び図2等に示すように、主として起立姿勢で配置される支柱1と、この支柱1間に架け渡される横架材2とをコーナー部材4を介して取り付けてなる略直方体状のものである。
先ず、支柱1及び横架材2について説明する。
支柱1は図1及び図2等に示すように、長尺のものであり、角パイプ状の第1支柱要素11と、この第1支柱要素11の内周面に少なくとも一部が添接するように配設される複数の角パイプ状の第2支柱要素12とを備えたものである。両支柱要素11、12は、所定の長手寸法に切断することによって長手方向に沿って等断面形状をなすようにしたものであり、主として紙素材からなる。第1支柱要素11の内周面側に3本の第2支柱要素12を並列的に配設している(図3参照)。3本の第2支柱要素12のうち、両端に位置する第2支柱要素12は前記第1支柱要素11と略同一の高さ寸法を長手寸法を有するものであり、中央に位置する第2支柱要素12は、両端に位置する第2支柱要素12の長手寸法より小さい長手寸法を有するものである。
横架材2は、図1及び図2等に示すように、長尺のものであり、本実施形態においては、角パイプ状の横架材要素21を2本用いて構成している。各横架材要素21は、所定の長手寸法に切断することによって長手方向に沿って等断面形状をなすようにしたものであり、主として紙素材からなる。横架材要素21の縦断面形状と、前記第2支柱要素12の縦断面形状とを略同一形状に設定している。各横架材要素21は略同一の長手寸法を有し、長手方向両端部にエンド部材3を取り付けている。
エンド部材3は、図4及び図5に示すように、例えば合成樹脂素材からなり、略矩形をなす板状の基体部31と、この基体部31から突出し前記横架材要素21の端部に嵌合可能な一対の嵌合突出部32とを備えたものである。なお、以下、基体部31の説明において、嵌合突出部32の基端部が位置する面を基体部31の表面とし、表面の反対側の面を基体部31の裏面とする。基体部31の裏面には、後述するコーナー部材4の第1係合部4Kに係合可能な第2係合部3Kを形成している。この第2係合部3Kは、主として、基体部31の長手方向一端部側に設けた略コ字形のコ字形係合片3k1と、他端部に設けた略ハ字形のハ字形係合片3k2とからなる。コ字形係合片3k1は、基体部31の長手方向一端部側において基体部31の短手方向に沿って延びる基片3k11と、基片3k11の両端から基体部31の長手方向に沿って延びる一対の対向片3k12とからなる。ハ字形係合片3k2は、基体部31の長手方向他端部側において、基体部31の短手方向両端部を長手方向に沿って且つ先端部を基体部31の中心に向かうように延ばしてなる一対の対向片3k21からなる。また、基体部31の短手方向両端部を長手方向に沿って直線状に延ばしてなる一対のレール部3k3を備えている。レール部3k3の一端部は、前記ハ字形係合片3k2の対向片3k21に連続している。
一対の嵌合突出部32は、基体部31の表面における長手方向略中央領域を挟んだ位置からそれぞれ突出した長尺のものである。各嵌合突出部32は、等角度で放射状に延出する4枚の羽根片を用いて形成された縦断面視略十字形のものであり、この十字形の縦断面形状が先端部に向かって漸次小さくなるように設定している。各嵌合突出部32の基端部における各羽根板を結んでなる仮想四角形が、前記横架材要素21及び第2支柱要素12の縦断面内周形状に略対応する。また、前記基体部31に、アジャスタJ等のオプション部材が取付可能な取付部33を設けている。この取付部33は、両嵌合突出部32の間に設けられた略円筒形状の筒部331に内設したナット332を用いて構成している。
コーナー部材4は、図6乃至図9等に示すように、第1半割部材41と、この第1半割部材41と対をなす第2半割部材42とを具備するものである。各半割部材41、42は、例えば合成樹脂素材からなる平面視略コ字形状の押出成形品であり、これら半割部材41、42を概略筒状となるように組付可能に構成している。具体的に説明すると、各半割部材41、42は、組み付けた状態において相対向する対向面部41a、42aと、各対向面部41a、42aの両端部から対向面部41a、42aに直交する方向に延出する延出面部41b、42bとを有する。
各対向面部41a、42aの外周面に第1係合部4Kを設けている。この第1係合部4Kは、対向面部41a、42aの上端部近傍領域、及び下端部近傍領域に設けた一対の単位係合部4kからなる。各単位係合部4kは、前記第2係合部3Kのコ字形係合片3k1が係合し得る第1単位係合片4k1と、第2係合部3Kのハ字形係合片3k2が係合し得る第2単位係合片4k2とを有するものである(図6(a)参照)。第2単位係合片4k2は、一対の対向片4k21から構成され、正面視略ハ字形をなすものである。第1単位係合片4k1は、第2単位係合片4k2の対向片4k21間に設けた一対の対向片4k11から構成されている。この第1単位係合片4k1は、第2単位係合片4k2とは逆向きの正面視略ハ字形をなす。これら第1単位係合片4k1と第2単位係合片4k2とを備えた単位係合部4kを、対向面部41a、42aの上端部近傍領域及び下端部近傍領域に対称となるように設けている。対向面部41a、42aの内周面には、所定部位を内方に突出させてなる突出部4Tを一体に設けている。
各半割部材41、42の一方の延出面部41b、42bには、前記第1係合部4Kを構成する係合要素4k3を設けている。係合要素4k3は、対向面部41a、42aに設けた第1係合部4Kを対向面部41a、42aの高さ方向に沿って略2等分したものである。そして、各半割部材41、42を組み付けた状態において、第1半割部材41に設けた係合要素4k3と、第2半割部材42に設けた係合要素4k3とが隣接することにより第1係合部4Kを形成するように設定している(図9(a)参照)。
各半割部材41、42の他方の延出面部41b、42bには、ヒンジ部4Hを構成する第1ヒンジ要素4h1、第2ヒンジ要素4h2をそれぞれ設けている。 以上の構成を有する各半割部材41、42を、各ヒンジ要素4h1、4h2を相互に嵌合させることにより、上方及び下方を開放させてなる平面視略矩形筒状のコーナー部材4が形成される。このコーナー部材4は、各ヒンジ要素4h1、4h2によって形成されるヒンジ部4Hを利用して、図9(a)に示す開成状態と、同図(b)に示す閉止状態との間で開閉動作可能に構成している。しかして、このコーナー部材4は、各半割部材41、42の外周面にそれぞれ設けた第1係合部4K、及びヒンジ部4Hに対向する位置に各係合要素4k3からなる第1係合部4Kを有する。すなわち、コーナー部材4の外周面にそれぞれ異なる方向を向くように設けた3つの第1係合部4Kを有するものとなる。また、このコーナー部材4の上方から前記エンド部材3を挿入できるようにコーナー部材4の内周寸法を設定している。さらに、エンド部材3をコーナー部材4の上方から挿入した場合に、エンド部材3のそれ以上の挿入を規制する規制部4Sを設けている。
このコーナー部材4に設けた第1係合部4Kと、エンド部材3に設けた第2係合部3Kとから構成される係合手段を介して、コーナー部材4に一又は複数のエンド部材3を取付可能に構成している。
係合手段を用いたコーナー部材4とエンド部材3との取り付けるには、先ず、一の第1係合部4Kを構成する一対の単位係合部4k間に、第2係合部3Kのハ字形係合片3k2を位置させる(図10(a)、なお、同図においては、エンド部材3のコ字形係合片3k1、ハ字形係合片3k2、及びレール部3k3をパターンで示している)。次いで、エンド部材3とコーナー部材4との高さ位置を一致させ得る方向にエンド部材3をコーナー部材4の外周面に沿ってスライド移動させる。エンド部材3のスライド移動時には、エンド部材3の裏面に設けたレール部3k3が第1係合部4Kの一部に当接または近接し、コーナー部材4に対するエンド部材3の相対位置を位置決めする。このエンド部材3のスライド移動に伴って、ハ字形係合片3k2が一方の単位係合部4kの第2単位係合片4k2に係合するとともに、コ字形係合片3k1が他方の単位係合部4kの第1単位係合片4k1に係合する(同図(b))。以上の手順によりコーナー部材4とエンド部材3とを取り付ける。また、上記と逆の手順を経ることによりコーナー部材4に取り付けたエンド部材3を取り外すことができる。
次に、複数の支柱1及び横架材2をコーナー部材4を用いて連結し、略直方体状のラックRを組み立てる一手順を説明する。
先ず、支柱1の上端部に、ヒンジ部4Hを利用して支柱1を抱くようにコーナー部材4を取り付ける。その際、図11に示すように、コーナー部材4を構成する各半割部材41、42の内周面に設けた各突出部4Tが第1支柱要素11の外周面に当接し、第1支柱要素11の長手方向と略直交する方向に押圧力が作用しする。次いで、コーナー部材4の上方からエンド部材3を挿入する。この挿入動作に伴い、エンド部材3の嵌合突出部32が、支柱1を構成する3本の第2支柱要素12のうち、両端に位置する各第2支柱要素12に嵌合する。エンド部材3を所定位置まで挿入すると、エンド部材3の基体部31が、コーナー部材4に設けた規制部4Sに当接し、エンド部材3のそれ以上の挿入が規制される。支柱1の下端部にもほぼ同様の手順によりコーナー部材4を取り付ける。上記手順と異なる点は、コーナー部材4を上下反転させた状態で支柱1の下端部に取り付ける点である。また、支柱1の下端部に取り付けたコーナー部材4の下方から挿入したエンド部材3に、図12に示すように、前記取付部33を利用してアジャスタJを取り付ける。このアジャスタJは、接地体J1と、取付部33のナット332に螺合可能なねじ部J2とからなるものであり、取付部33のナット332に対するねじ部J2の螺合深さ(挿入深さ)を調節することにより支柱1の高さ寸法を所定範囲内で適宜調節できるように設定している。引き続き、支柱1の上端部及び下端部に取り付けたコーナー部材4と、横架材要素21の両端部に取り付けたエンド部材3とを、前記係合手段を介して係合させる。これにより、支柱1間に横架材2が取り付けられ、略直方体状のラックRが形成される。
しかして、本実施形態においては、図1に示すように、ラックRの所定の高さ位置に棚板B1を配設している。棚板B1を配設するために、ラックRの短手方向に対向する支柱1に棚受支柱5を添接し、この棚受支柱5間に、棚板支持用の棚受部材6を係わり合わせて取り付けている。
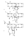
各棚受支柱5は、例えばスチール等の金属製素材からなり、図13乃至15等に図示するように、主として、他方の棚受支柱5に対向する対向面部51と、前記対向面部51の長手方向に沿った両縁部から対向面部51に略直交する方向に延びる直交面部52とを設けた平面視略コ字形をなす長尺のものである。対向面部51に、棚受支柱5の起立方向に沿って間欠的に本発明の案内部たるスリット51Sを複数設けている。各スリット51Sは、対向面部51の長手方向に沿った両縁部から棚受支柱5の起立方向に対して斜め下方に延びるものである。各スリット51Sの一端は直交面部52に開口している。これらスリット51Sを棚受支柱5の起立方向に沿って2列に設け、2列のスリット51Sを、対向面部51の起立方向に沿った所定の仮想直線(対向面部51の短手方向中心線)mに関して対称となるように設けている(図15(c)参照)。直交面部52には、各スリット51Sに連続する第2のスリット52Sを設けている。第2のスリット52Sは、棚受支柱5の起立方向に対して略直交する方向に延びるものである。すなわち第2のスリット52は略水平に延びるものである。各直交面部52の高さ方向に沿った一端部に、所定部位を除いて対向面部51に対して略平行となるように屈曲させてなる折曲面部53を設けている。各直交面部52の高さ方向に沿った一端部において折曲面部53を形成していない部位には、前記支柱1を挟持し得る挟持片54を設けている。本実施形態においては、挟持片54を棚受支柱5の長手方向略中央部にのみ設けたものを採用しているが、適宜その個数を増加したものを用いても勿論構わない。この挟持片54は、直交面部52と略平行するものであり、挟持片54間の離間距離を、直交面部52間の離間距離より若干大きくなるように設定するとともに、挟持片54間の内法寸法と、直交面部52間の外法寸法とが略一致するようにしている(同図(a)参照)。なお、直交面部52間の外法寸法は、第1支柱要素1の平面視短手寸法と略同一となるように設定されている。また、各直交面部52の上端部及び下端部にそれぞれ切欠き521を設けている。この切欠き521の開口寸法を、エンド部材3の基体部31の肉厚に略対応させている。このような構成をなす棚受支柱5の支柱1への取り付けは、各切欠き521をエンド部材3の基体部31に嵌め合わせるとともに、挟持片54を支柱1に外嵌させるようにして行う。具体的には支柱1の下端部に位置するコーナー部材4に取り付けたエンド部材3の基体部31に、直交面部52の下端部に設けた切欠521を嵌合させるとともに、折曲面部53を支柱1に当接または近接させて挟持片54によって支柱1を外嵌し得るようにする。次いで、支柱1の上端部に位置するコーナー部材4にエンド部材3を取り付けることにより、エンド部材3の基体部31が直交面部52の上端部に設けた切欠521に嵌合する。この取付状態においては、各切欠き521がエンド部材3の基体部31に嵌合することにより棚受支柱5の上下方向の移動が規制され、挟持片54が支柱1を外嵌することにより棚受支柱5の横方向の移動が規制される。
一方、棚受部材6は、例えばスチール等の金属性素材からなり、図16等に示すように、棚受支柱5間に略水平姿勢で取り付けられる長尺のものである。この棚受部材6は、棚受部材本体61と、前記スリット51Sの傾斜角度に対応する角度をなして棚受部材本体61から突出する本発明の被案内部たる係合爪62とを備えたものである。棚受部材本体61は、棚板B1の一部を載置し得る載置部611と、載置部611の長手方向両端部を起立させてなる第1起立部612と、載置部611の長手方向に沿った一端部を起立させてなる第2起立部613とを有するものである。この第2起立部613の上端部に前記係合爪62を一体に設けている。係合爪62は、第2起立部613の上端部から斜め後下方に向かって延出するものである。この斜め後下方に向かって延出する係合爪62の延出寸法を、斜め方向に延びる前記棚受支柱5のスリット51Sの延出寸法と略同一又は若干短く設定している。また、係合爪62の長手寸法を、棚受部材本体61の長手寸法より短く設定し、第2起立部613の長手方向両端部に係合爪62を設けていない領域を形成している。係合爪62の長手寸法62xは、対向配置された棚受支柱5の対向面部51間の離間距離51xより大きく、且つ第2のスリット52Sの延出方向の開口縁部52Sa間の離間距離52xより若干小さく設定されている(図18参照)。
この棚受支柱5に設けたスリット51Sと、棚受部材6に設けた係合爪62とから構成される案内手段を介して、棚受支柱5間に棚受部材6を取付可能に構成している。
案内手段を用いて棚受支柱5間に棚受部材6を取り付ける手順、及び棚受部材6を利用して棚板Bを配設する手順を図17を参照して説明する。なお、この棚板B1は、木質のもの、又はスチール素材のもの等、周知のものを採用している。
棚受支柱5間に棚受部材6を取り付けるには、先ず、棚受部材6を所望の取付高さ位置に形成したスリット51Sの近傍に持ち来る(同図(a))。次いで、棚受部材6の係合爪62をスリット51Sに斜め上方から挿入する。係合爪62をスリット51Sに挿入するにあたっては、係合爪62の長手方向両端部を直行面部52に形成した第2のスリット52Sに挿入する(同図(b))。このように、直交面部52に形成した第2のスリット52Sは、係合爪62の挿入口(導入口)としての役割を担う。引き続き、係合爪62をスリット51Sに案内させるようにして棚受部材6を棚受支柱5の起立方向に対して斜め下方にスライド移動させる。このスライド動作に伴って棚受部材6の棚受支柱5に対する係合深さが漸次深くなる。また、棚受部材6を所定距離スライド移動させると、棚受部材6の第2起立部613の長手方向両端部近傍領域が、棚受支柱5の直交面部52及び支柱1(第1支柱要素11)に当接する(同図(c))。つまり、第2起立部613の一部が本発明の当たり部として機能する。以上の手順を経て対向位置に起立姿勢で配置された一対の棚受支柱5間に棚受部材6を取り付ける。この取付状態において係合爪62とスリット52との係合深さが最も深くなるように設定している。また、この取付状態においては、図18に示すように、係合爪62の長手方向両端部と、第2のスリット52Sの延出方向の開口縁部52Saとが当接又は近接し、各棚受支柱5が互いに相寄る方向に移動することを規制している。そして、平面視矩形の板状の棚板B1の一部を棚受部材6の載置部611に載置するようにして棚受部材6に支持させる。これにより、ラックRの所定の高さ位置に棚板B1が配設される。また、棚受支柱5間に取り付けた棚受部材6を取り外すには、係合爪62をスリット51Sに案内させながら棚受部材6を棚受支柱5の起立方向に対して斜め上方にスライド移動させる。このスライド動作に伴って、係合爪62とスリット51Sとの係合が解除され、棚受部材6を取り外すことができる。
なお、本実施形態においては、ラックRの上端部に天板B2を配設するとともに、下端部に底板B3を配設している(図1参照)。天板B2又は底板B3を配設するために、ラックRの平面視短手方向に対向する横架材2間に、各板材支持用の支持部材7を架け渡すようにして取り付けている。
支持部材7は、図19に示すように、一枚の金属製素材を折曲成形してなるものである。長尺の基部71と、基部71の長手方向両端部を略コ字形に折り曲げてなる掛止部72とを備えたものである。この掛止部72は、横架材2を構成する横架材要素21の外周面に添接し得るように設定したものである。そして、各掛止部72を横架材要素21に引っ掛けるようにして横架材2間に支持部材7を取り付ける。このようにして複数の支持部材7を横架材2間に取り付け、各支持部材7の基部71上に天板B2又は底板B3を載置するようにして配設する。なお、本実施形態においては、ラックRの平面視短手方向に対向する横架材2間に支持部材7を取り付けているが、ラックRの平面視長手方向に対向する横架材2間に支持部材7を取り付けてもよい。このように、本実施形態においては、対向する横架材2間に支持部材7を取付可能に構成している。また、ラックRの組立強度を向上させるために、図20に示すように、コーナー部材4を介して直交する横架材2(横架材要素21)間を跨ぐ位置に支持部材7を取り付けるようにしても構わない。支持部材7は上記各取付位置に合わせて基部71の長手寸法等を適宜変更しているのはもちろんである。また、支持部材7の取付位置を選択することによって、天板B2または底板B3の高さ位置を変更することができるように構成している。具体的には、横架材2を構成する一方の横架材要素21に取り付けている支持部材7を、他方の横架材要素21に取り付けることにより、天板B2または底板B3の高さ位置を変更することができる。なお、棚板B1、天板B2又は底板B3の替わりに、複数の紙管を敷設しても構わない。この紙管として例えば架材要素や第2支柱要素12を用いるようにしてもよい。
このように、本実施形態に係る棚受部材の取付構造は、対向配置される棚受支柱5の相対向する対向面部51に、棚受支柱5の起立方向に対して斜めに設けたスリット51Sと、棚受部材6に設けられスリット51Sに案内され得る係合爪62とからなる案内手段を備え、この案内手段を利用して棚受部材6を棚受支柱5の起立方向に対して斜め下方にスライド移動させることにより棚受部材6の棚受支柱5に対する係合深さが漸次深くなるように構成しているため、棚受部材5を斜め下方に落とし込むという操作のみで案内手段を介して棚受部材5を支柱に係合させることが可能となり、ビスや係合ピン等を用いることなく、棚受部材6を棚受支柱5間に簡単に取り付けることができる。また、上記実施形態においては、棚受部材6を棚受支柱5間に取り付けた状態において棚受部材6と棚受支柱5との係合深さが最も深くなるように設定しているため、棚受部材6と棚受支柱5との取付状態もより良好なものとなる。また、棚受支柱5間に取り付けた棚受部材6を斜め上方にスライドさせることによって棚受部材6を取り外すことができる。このように、棚受支柱5間に棚受部材6を取り付ける作業、及び棚受支柱5間から棚受部材を取り外す作業をワンアクションで行うことができ、極めて操作性に優れたものである。
前記棚受支柱5が、対向面部51と、この対向面部51に略直交する直交面部52とを備え、対向面部51の長手方向に沿った縁部に連続して直交面部52を設けたものであり、各スリット51Sの一端を直交面部52に開口させるとともに、この直交面部52に、各スリット51Sに連続する第2のスリット52Sを設けているため、第2のスリット52Sを、係合爪62をスリット51Sに挿入する際の目印として視認することができるとともに、係合爪62を第2のスリット52Sから挿入してそのままスリットに係合させることが可能となり、取付作業性の向上に資する。
加えて、第2のスリット52Sが、各スリット51Sに連続して略水平方向に延ばしたものであり、棚受支柱5間に棚受部材6を取り付けた状態において、係合爪62の一部と、第2のスリット52Sの延出方向の開口縁部52Saとが当接又は近接し、各棚受支柱5が互いに相寄る方向に移動することを規制するように構成しているため、良好な取付状態を維持することができる。
また、スリット51Sを、対向面部51の長手方向に沿って間欠的に複数設けているため、所望の高さ位置に位置するスリット51Sに棚受部材6を取り付けることができる。このように、棚受部材6の取付位置を選択可能に構成しているため、棚板B1の配置変更も容易に行うことができる。また、棚受支柱5の起立方向に沿って複数の棚受部材6を取り付けることも可能であり、実用的である。
さらに、スリット51Sを棚受支柱5の起立方向に沿って2列に設け、一方の列のスリット51S又は両列のスリット51Sを利用して、棚受部材6を棚受支柱5間に取付可能に構成しているため、一対の棚受支柱5に対して2方向からそれぞれ棚受部材6を取り付けることもでき、種々の使用態様に柔軟に対応させることができる。
2列に形成したスリット51Sを、対向面部51の起立方向に沿った所定の仮想直線mに関して対称となるように設けているため、一対の棚受支柱5に対して2方向からそれぞれ棚受部材6を取り付けた場合、各棚受部材6の取付高さ位置を揃えることができる。
棚受部材6が、棚板B1を支持する棚受部材本体61と、スリット51Sの傾斜角度に対応する角度をなして棚受部材本体61から突出する係合爪62とを備えたものであり、棚受部材本体61に、棚受部材6を棚受支柱5間に取り付けた状態において直交面部51に当接または近接する当たり部(上記実施形態における第2起立部613の長手方向両端部近傍領域)を設けているため、当たり部が直交面部52に当たることにより、棚受部材6を棚受支柱5間に取り付けた状態において棚受部材6がガタつくことなく、取付状態をより良好なものとすることができる。
また、棚受支柱5が、対向位置に起立姿勢で配置された支柱1に取付可能に構成したものであるため、対向配置された各支柱1にそれぞれ棚受支柱5を取り付けて、この棚受支柱5間に棚受部材6を取り付けることにより支柱1間に棚受部材6を架設することができる。この場合、支柱1自体にスリット等を形成する必要はなく、例えば既存の支柱1を利用することができる。
特に、棚受支柱5及び棚受部材6が金属製素材からなるものであるため、棚受支柱5及び棚受部材6の剛性を強くすることができる。これにより、スリットの開口縁がちぎれる等して開口幅が拡がる等の不具合が生じることなく、スリット51Sと係合爪62との係合状態を良好なものにすることができる。また、分別廃棄にも適するものとなる。
なお、本発明は、以上に詳述した実施形態に限られるものではない。
例えば、案内部として、溝や突状のものを用いて構わない。案内部に合わせて被案内部も係合爪に替えて適宜のものを採用してもよい。
また、案内部を棚受支柱の起立方向に沿って1列のみに設けたものであってもよい。
また、縦材間に棚受部材を取り付けた状態において、棚受部材本体の長手方向両端部によって各縦材の外周面を抱え込むように設定し、各縦材が互いに相離反する方向に移動することを規制するように構成してもよい。
上記実施形態においては、縦材として、支柱1に添接するように配設される棚受支柱6を明示したが、縦材が支柱そのものとして機能するものであっても構わない。このようなものであれば、上記実施形態と比較して部品点数の削減を図ることができる。また、支柱に添接するように取り付けられ縦材自体は支柱として機能しないものであっても構わない。
本願に係る棚受部材の取付構造を前記ラックR以外の構造体に適用してもよいのはもちろんである。
その他、各部の具体的構成についても上記実施形態に限られるものではなく、本発明の趣旨を逸脱しない範囲で種々変形が可能である。
5…棚受支柱
51…対向面部
51S…案内部(スリット)
52…直交面部
52S…第2のスリット
52Sa…開口縁部
6…棚受部材
62…被案内部(係合爪)
51…対向面部
51S…案内部(スリット)
52…直交面部
52S…第2のスリット
52Sa…開口縁部
6…棚受部材
62…被案内部(係合爪)
Claims (12)
- 対向位置に起立姿勢で配置された一対の縦材間に、棚板支持用の棚受部材を係わり合わせて取り付ける際に適用される棚受部材の取付構造であって、
前記両縦材の相互に対向する対向面部に縦材の起立方向に対して斜めに設けた案内部と、前記棚受部材に設けられ前記案内部に案内され得る被案内部とからなる案内手段を備え、当該案内手段を利用して前記棚受部材を前記縦材の起立方向に対して斜め下方にスライド移動させることにより棚受部材の縦材に対する係合深さが漸次深くなるように構成したことを特徴とする棚受部材の取付構造。 - 前記案内部が前記対向面部に形成したスリットであり、前記棚受部材に設けた被案内部が前記スリットに係合可能な係合爪である請求項1記載の棚受部材の取付構造。
- 前記縦材が、前記対向面部と、当該対向面部に略直交する直交面部とを備え、前記対向面部の長手方向に沿った縁部に連続して前記直交面部を設けたものであり、前記各スリットの一端を前記直交面部に開口させるとともに、当該直交面部に、前記各スリットに連続する第2のスリットを設けている請求項2記載の棚受部材の取付構造。
- 前記第2のスリットが、前記各スリットに連続して所定方向に延ばしたものであり、前記縦材間に前記棚受部材を取り付けた状態において、前記係合爪の一部と、前記第2のスリットの延出方向の開口縁部とが当接又は近接し、各縦材が互いに相寄る方向に移動することを規制するように構成している請求項3記載の棚受部材の取付構造。
- 前記案内部を、前記対向面部の長手方向に沿って間欠的に複数設けている請求項1、2、3又は4記載の棚受部材の取付構造。
- 前記案内部を前記縦材の起立方向に沿って2列に設け、一方の案内部又は両方の案内部を利用して、前記棚受部材を前記縦材間に取付可能に構成している請求項1、2、3、4又は5記載の棚受部材の取付構造。
- 前記2列の案内部を、前記対向面部の起立方向に沿った所定の仮想直線に関して対称となるように設けている請求項6記載の棚受部材の取付構造。
- 前記棚受部材が、前記縦材間に略水平姿勢で取り付けられる長尺のものであり、棚板を支持する棚受部材本体と、前記案内部の傾斜角度に対応する角度をなして前記棚受部材本体から突出する被案内部とを備えたものである請求項1、2、3、4、5、6又は7記載の棚受部材の取付構造。
- 前記棚受部材本体に、棚受部材を縦材間に取り付けた状態において前記直交面部に当接または近接する当たり部を設けている請求項8記載の棚受部材の取付構造。
- 前記縦材が、支柱として使用されるものである請求項1、2、3、4、5、6、7、8又は9記載の棚受部材の取付構造。
- 前記縦材が、対向位置に起立姿勢で配置された支柱に取付可能に構成したものである請求項1、2、3、4、5、6、7、8又は9記載の棚受部材の取付構造。
- 前記縦材及び前記棚受部材が金属製素材からなる請求項1、2、3、4、5、6、7、8、9、10又は11記載の棚受部材の取付構造。
Priority Applications (1)
| Application Number | Priority Date | Filing Date | Title |
|---|---|---|---|
| JP2003305495A JP2005073791A (ja) | 2003-08-28 | 2003-08-28 | 棚受部材の取付構造 |
Applications Claiming Priority (1)
| Application Number | Priority Date | Filing Date | Title |
|---|---|---|---|
| JP2003305495A JP2005073791A (ja) | 2003-08-28 | 2003-08-28 | 棚受部材の取付構造 |
Publications (1)
| Publication Number | Publication Date |
|---|---|
| JP2005073791A true JP2005073791A (ja) | 2005-03-24 |
Family
ID=34408838
Family Applications (1)
| Application Number | Title | Priority Date | Filing Date |
|---|---|---|---|
| JP2003305495A Pending JP2005073791A (ja) | 2003-08-28 | 2003-08-28 | 棚受部材の取付構造 |
Country Status (1)
| Country | Link |
|---|---|
| JP (1) | JP2005073791A (ja) |
-
2003
- 2003-08-28 JP JP2003305495A patent/JP2005073791A/ja active Pending
Similar Documents
| Publication | Publication Date | Title |
|---|---|---|
| US11375812B2 (en) | Wall-mounted, configurable storage system | |
| US20200323340A1 (en) | Wall-Mounted, Configurable Storage System | |
| US7243887B2 (en) | Suspension system | |
| US20130063003A1 (en) | Upper Corner Cabinet | |
| US20170190046A1 (en) | Adjustable tool holder | |
| JP2008062011A (ja) | 家具 | |
| JP2005073791A (ja) | 棚受部材の取付構造 | |
| US20030037712A1 (en) | Vertical support panel for use with a wire shelf | |
| JP6715202B2 (ja) | 棚板取付具およびそれを用いることにより取付けられた棚 | |
| JP3135217U (ja) | 書棚及びそれに用いる棚板係止具 | |
| KR200483664Y1 (ko) | 책장선반에 설치되는 서류 지지대 | |
| JP5203678B2 (ja) | デスク装置 | |
| CN201097828Y (zh) | 三角形支撑架 | |
| US20130334153A1 (en) | Organizational structure for supporting an object in a vertical manner | |
| JP2012245244A (ja) | 書物落下防止具 | |
| KR100715759B1 (ko) | 가구형 종이절단기 | |
| WO2005020753A1 (en) | A system for detachable suspension of shelves | |
| CN222548776U (zh) | 一种可拼接的桌子 | |
| JP3817917B2 (ja) | 什器における幕板取付装置 | |
| JP7084597B2 (ja) | 組立式ラック | |
| JP5148193B2 (ja) | 上棚付き机 | |
| JPH0350745Y2 (ja) | ||
| KR20040038942A (ko) | 레일 및 고정핀을 이용한 조립식 책선반(서가) | |
| JP6925662B1 (ja) | 壁面固定具 | |
| CN215920641U (zh) | 一种led灯条加工用切割装置 |
Legal Events
| Date | Code | Title | Description |
|---|---|---|---|
| A621 | Written request for application examination |
Free format text: JAPANESE INTERMEDIATE CODE: A621 Effective date: 20051114 |
|
| A977 | Report on retrieval |
Free format text: JAPANESE INTERMEDIATE CODE: A971007 Effective date: 20081128 |
|
| A131 | Notification of reasons for refusal |
Free format text: JAPANESE INTERMEDIATE CODE: A131 Effective date: 20090113 |
|
| A02 | Decision of refusal |
Free format text: JAPANESE INTERMEDIATE CODE: A02 Effective date: 20090512 |