JP2004265755A - 有機elディスプレイ - Google Patents
有機elディスプレイ Download PDFInfo
- Publication number
- JP2004265755A JP2004265755A JP2003055455A JP2003055455A JP2004265755A JP 2004265755 A JP2004265755 A JP 2004265755A JP 2003055455 A JP2003055455 A JP 2003055455A JP 2003055455 A JP2003055455 A JP 2003055455A JP 2004265755 A JP2004265755 A JP 2004265755A
- Authority
- JP
- Japan
- Prior art keywords
- organic
- color
- blue
- display
- current
- Prior art date
- Legal status (The legal status is an assumption and is not a legal conclusion. Google has not performed a legal analysis and makes no representation as to the accuracy of the status listed.)
- Pending
Links
Images
Landscapes
- Electroluminescent Light Sources (AREA)
- Control Of Indicators Other Than Cathode Ray Tubes (AREA)
- Control Of El Displays (AREA)
Abstract
【課題】燐光に由来する青色の有機EL素子を利用したときに、青色の輝度劣化を低減する有機ELディスプレイを提供する。
【解決手段】R色(赤)、G色(緑)、B色(青)の3種類の有機EL素子を形成してカラー化する有機ELディスプレイにおいて、前記B色(赤)の有機EL素子は燐光に由来する発光であって、前記R色(赤)、G色(緑)、B色(青)の3種類の有機EL素子の単位面積当たりの駆動電流を同じとすることを特徴とする有機ELディスプレイ。
【選択図】 図2
【解決手段】R色(赤)、G色(緑)、B色(青)の3種類の有機EL素子を形成してカラー化する有機ELディスプレイにおいて、前記B色(赤)の有機EL素子は燐光に由来する発光であって、前記R色(赤)、G色(緑)、B色(青)の3種類の有機EL素子の単位面積当たりの駆動電流を同じとすることを特徴とする有機ELディスプレイ。
【選択図】 図2
Description
【0001】
【発明の属する技術分野】
本発明は有機ELディスプレイに関し、さらに詳しくは、R色(赤)、G色(緑)およびB色(青)の3種類の有機EL素子を形成してカラー化する有機ELディスプレイに関するものである。
【0002】
【従来の技術】
有機ELディスプレイにおけるカラー化する手段として、白色の有機EL素子とカラーフィルタを組み合わせて分光する方法、青色の有機EL素子と色変換層を組み合わせて分光する方法、およびR色(赤)、G色(緑)、B色(青)の3色独立の発光層をパラレルに形成する方法等が知られている。
【0003】
前述の3色独立の発光層をパラレルに形成する方法においては、高精度な塗り分け技術が必要ではあるが、3原色を直接外部に取り出すことができるので色純度や発光効率を低下させないという長所を有している。
【0004】
ここで、3色独立の発光層をパラレルに形成する方法における有機ELディスプレイにつて図面を参照して説明する。図9は3色独立の発光層をパラレルに形成する方法における有機ELディスプレイの模式図である。図9に示すように、有機ELディスプレイは、データ処理部71、シフトレジスタ72、ラッチ73、データ駆動回路74、定電流回路75、走査駆動回路76、表示部77、複数のR色(赤)、B色(青)、G色(緑)各色の有機EL素子31等を有している。先ず、データ処理部71はデータ信号を作成し、シフトレジスタ72は走査線Lの1ライン分のデータを込み、ラッチ73は所定のタイミングで駆動回路にデータを送るようになっている。定電流回路75は、R色(赤)、B色(青)およびG色(緑)のそれぞれに駆動電流を各色の有機EL素子31に供給する。
【0005】
有機ELディスプレイは、ガラス等の透明基板上にストライプ状に形成したデータ線Kと、データ線Kに対して直交する方向に形成したストライプ状の走査線Lが配置されている。データ線Kと走査線Lが交差する位置に有機EL素子31を形成して、例えば、有機EL素子31の陰極に走査線L、有機EL素子31の陽極にデータ線Kを接続している。有機EL素子31は、R色(赤)、B色(青)およびG色(緑)の3色独立に各色の輝度バランスを考慮して配置されている。1つの走査線Lが選択されたとき、走査線Lに接続する有機EL素子31は、データ線Kからの信号に基づいて発光する。走査線LをL1、L2、・・・Lnの順に順次走査を行うことによりR色(赤)、B色(青)およびG色(緑)の各色の有機EL素子を発光させて得るカラーの画面表示が可能となっている。
【0006】
なお、この有機ELディスプレイでは、定電流回路75において、B色(青)、R色(赤)またはG色(緑)の各有機EL素子に、発光輝度に応じてそれぞれ異なる駆動電流IB、IR、およびIGをそれぞれ供給している。
【0007】
有機ELディスプレイは、データ線K、走査線Lをそのまま有機EL素子31の電極として、交差した部分を発光領域とするパッシブマトリクス型、あるいは各有機EL素子31にスイッチングトランジスタを配置し、走査線Lが選択されていないときも発光する構成のアクティブ型のどちらの駆動方法でもよい。
【0008】
ここで、有機エレクトロルミネッセンス(以下、有機EL素子、またはEL素子ともいう)について説明する。有機EL素子は、陰極から注入された電子と、陽極から注入されたホールが発光層において再結合により生じた励起エネルギーを発光に利用するものであるが、発光層として一重項励起エネルギーを発光(蛍光に由来する発光)に利用するシングレット化合物と、三重項励起エネルギーを発光(燐光に由来する発光)に利用するトリプレット化合物があげられる。
【0009】
ここで、蛍光を利用したR色(赤)、B色(青)およびG色(緑)の有機EL素子における電流と外部取出量子効率の関係について説明する。図10はR色(赤)、B色(青)およびG色(緑)の有機EL素子における電流Iと外部取出量子効率eの関係を示す模式図である。外部取出量子効率eとは、有機EL素子に流れる電子または正孔1個当たりのフォトンが何個、有機EL素子から放出されるかで定義される。図10に示すように、B色(青)の外部取出量子効率eは他のR色(赤)、G色(緑)に比べ低くなっている。
【0010】
有機EL素子は、一重項励起エネルギーを利用するものより、三重項励起エネルギーを利用した方が、光の外部取出効率を飛躍的に高めることが可能となる。そのため、他の色に比べ発光輝度が低いB色(青)の有機EL素子にトリプレト化合物を利用する有機ELディスプレイが開発されている。三重項励起エネルギーを利用したB色(青)のトリプレト化合物の例が特開2002−100476号公報(特許文献1)に開示されている。
【0011】
【特許文献1】
特開2002−100476号公報
【0012】
【発明が解決しようとする課題】
しかしながら、三重項励起エネルギーを利用したトリプレット化合物によるB色(青)の有機EL素子の発光は、光の外部取出効率を高めて輝度を向上させることはできるが、特に、B色(青)は三重項励起エネルギーが大きいため、輝度減衰が大きい。従って、B色(青)の有機EL素子にトリプレット化合物を利用した有機ELディスプレイでは、B色(青)の輝度減衰により画質劣化が起きやすいという問題がある。
【0013】
本発明は上記の課題に鑑みなされたもので、本発明の目的は、燐光に由来するB色(青)の有機EL素子を利用したときに、B色(青)の輝度劣化を低減できる有機ELディスプレイを提供することにある。
【0014】
【課題を解決するための手段】
上記の発明の目的は下記のいずれかの手段により達成される。
【0015】
(1)R色(赤)、G色(緑)およびB色(青)の3種類の有機EL素子を形成してカラー化する有機ELディスプレイにおいて、前記B色(青)の有機EL素子は燐光に由来する発光であって、前記R色(赤)、前記G色(緑)および前記B色(青)の3種類の有機EL素子における単位面積当たりの駆動電流を同一とすることを特徴とする有機ELディスプレイ。
【0016】
(2)R色(赤)、G色(緑)およびB色(青)の3種類の有機EL素子を形成してカラー化する有機ELディスプレイにおいて、前記B色(青)の有機EL素子は燐光に由来する発光であって、前記B色(青)の有機EL素子における外部取出量子効率が最大となる単位面積当たりの駆動電流の±20%範囲の駆動電流によって、前記R色(赤)、前記G色(緑)および前記B色(青)の3種類の有機EL素子の駆動を行うことを特徴とする有機ELディスプレイ。
【0017】
【発明の実施の形態】
本発明に係わる実施の形態の有機ELディスプレイについて、図面を参照して説明する。
【0018】
(実施の形態1)
図1は、実施の形態の有機ELディスプレイを備えた携帯電話の斜視図である。携帯電話Aは有機ELディスプレイ10、操作部20、表示部30、有機EL素子や各部に電流を供給する図示しない電源、図示しない電話通信機能を備えた通信部、装置全体の制御を行うCPU等を有している。本発明の有機ELディスプレイは、携帯電話に限らず、ラップトップコンピュータ、テレビ、デジタルカメラ、カーナビ等の画像情報を視覚的に表示する装置である。
【0019】
次に、有機ELディスプレイについて説明する。図2は有機ELディスプレイの画像を表示する表示部のブロック図である。有機ELディスプレイは、メモリ42、補正手段41、データ処理部43、シフトレジスタ44、ラッチ45、データ駆動回路46、定電流回路47、走査駆動回路48、表示部30、複数のR色(赤)、B色(青)、G色(緑)各色の有機EL素子31等を有している。
【0020】
補正手段41は、R色(赤)、B色(青)、G色(緑)の有機EL素子の共通の所定電流での発光輝度に基づいて、CPUから送られた各色のデジタルデータを補正する。補正後はデータ処理部43に送られる。なお、補正の詳しい方法については後述する。
【0021】
データ処理部43は、後述する時分割の階調表現に対応したデータ信号を作成する。シフトレジスタ44は、走査線Lの1ライン分のデータを込み、ラッチ45は所定のタイミングで駆動回路にデータを送るようになっている。
【0022】
定電流回路47は、R色(赤)、B色(青)およびG色(緑)共通の所定の駆動電流Iを各色の有機EL素子31に供給する。
【0023】
表示部30は、有機EL素子31と走査線L(L1〜Ln)とデータ線K(K1〜Kn)の配線部を有し、走査線Lとデータ線Kのそれぞれが直交するようにマトリクス状に配線され電流を有機EL素子31へ供給する。この表示部30は保持機構を持つアクティブマトリクスである。有機EL素子31は、走査線Lとデータ線Kが直交する付近に配置され、図示しない陽極がデータ線K1〜Knのいずれか1つに接続され、図示しない陰極が走査線L1〜Lnのいずれか1つに接続されている。順次走査により走査線L1〜Lnのうち、1つの走査線が順番に選択される。一方、データ処理部43に送られたデジタルデータは、シフトレジスタ44、ラッチ45を経由して、選択した走査線Lに接続された有機EL素子31にデータ線から送られる。
【0024】
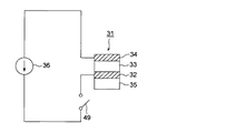
ここで、前述の有機EL素子31についてさらに説明する。図3は有機EL素子の模式図である。図3に示すように、有機EL素子31は、透明基板35上に、透明電極32、有機層33、反射電極34が積層されたものである。透明基板35は、有機EL素子を積層する透明性の基板である。透明電極32は、インジウムチンオキサイド(ITO)、インジウムジンクオキサイド(IZO)、金、酸化スズ、酸化亜鉛等の導電材料からなり、仕事関数が4eV以上で透過率が60%以上の導電材料が望ましい。また、有機層33は、発光する発光層を含む数nmから数μmの有機化合物または錯体の単層または複数層で形成され、フッ化リチウム層や無機金属塩の層、または、それらを含有する層などが任意の位置に配置されていてもよい。反射電極34は、アルミニウム、ナトリウム、リチウム、マグネシウム、銀、カルシウム等の金属材料からなり、仕事関数が4eV未満で、反射率が50%以上の金属材料が好ましい。
【0025】
有機EL素子31は、透明電極32(陽極)、反射電極34(陰極)に電源36を接続して供給された電流により、有機層33の少なくとも1層以上の発光層において電子および正孔が結合し、蛍光または燐光に由来して発光する素子である。
【0026】
複数の有機EL素子のうち、B色は燐光に由来する発光の有機EL素子である。有機EL素子31の発光は、発光層から透明電極32、透明基板35を透過して面状に射出する。あるいは、透明電極32と反射電極34の位置を入れ替えて、反射電極34を透過して面上に発光するトップエミッション構造にしてもよい。
【0027】
また、有機化合物は、水分や大気中の酸素による劣化が激しいため、窒素等の不活性ガスの雰囲気下において、透明基板35上で金属管やガラス管等により有機層33を遮蔽して封止するのが一般的であるが、本発明の詳細な説明においては、有機EL素子31の封止図面や説明は省略している。
【0028】
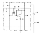
次に、有機EL素子の駆動方法について説明する。図4は図2における回路を示す図である。52はスイッチング用TFTであり、ゲート信号を入力する走査線Lとビデオ信号を入力するデータ線Kに接続されている。また、53は電流制御用TFTであり、そのゲートはスイッチング用TFT52のドレインに接続される。そして、電流制御用TFT53のドレインは有機EL素子31に接続され、ソースは電流供給線54に接続される。有機EL素子31は電流制御用TFT53に接続された陽極(画素電極)と、EL層を挟んで陽極に対向して設けられた陰極(対向電極)とからなり、陰極は所定の電源36に接続されている。
【0029】
順次走査により走査線Lが選択されるとスイッチング用TFT52のゲートが開き、信号線Kのデジタルデータ信号がコンデンサ51に蓄積されて、電流制御用TFT53のゲートが開き、有機EL素子31に定電流回路からの定電流Iが流れ込み、有機EL素子が発光する。走査線Lの選択が終了した後も、コンデンサ51の電荷によって、電流制御用TFT53のゲートが開いたままとなり、有機EL素子31に電流Iが流れて発光が継続する。スイッチ部49は、後述する表示区間において、ONとなり、有機EL素子に定電流回路からの一定電流Iを供給するようになっている。そして、書込区間においてはOFFとなり有機EL素子に電流を送らないようになっている。ここで、スイッチ部49がONのときに流れる一定の定電流は、図11(a)に示すように、直流電流でもよいし、図10(b)に示すように一定間隔のパルスでもよい。
【0030】
次に、有機EL素子に流す電流について以下に説明する。有機EL素子に流す電流は、R色、G色、B色の各色で同一にすることにより電流回路のコストダウンを計ることができる。また、同一にする電流値はどのような値でも良いが、以下に説明する電流値であれば好ましい。
【0031】
図5は、各色の有機EL素子の電流Iと外部取出量子効率eの関係(a)、および各色の有機EL素子の電流Iと輝度Hとの関係(b)を示す図である。詳しくは、図5(a)は、横軸は電流I(A/m2)、縦軸は外部取出量子効率eであり、図中で、電流Iaは燐光のB色(青)の外部取出量子効率が良い位置での値を示している。また、図5(b)は、横軸は電流I(A/m2)、縦軸は輝度Hで、輝度HaGは電流Iaに対するG色(緑)の値を示し、輝度HaRは電流Iaに対するR色(赤)の値を示し、輝度HaBは電流Iaに対する燐光のB色(青)の値をそれぞれ示している。また、図6は輝度階調補正方法の説明図であり、横軸は補正前のB色(青)、G色(緑)、R色(赤)のデジタルデータを示し、縦軸は補正後のB色(青)、G色(緑)、R色(赤)のデジタルデータを示している。
【0032】
図5および図6に示すように、B色(青)の外部取出量子効率がR色、G色より高い位置での電流Iaを求め、電流Iaを一定にして、R色(赤)、B色(青)、G色(緑)の輝度HaG、輝度HaR、輝度HaBを求める。
【0033】
ここで、B色(青)を基準にして、G色(緑)、R色(赤)の輝度をそろえる場合について説明する。仮に、B色(青)の輝度HaBを100としたとき、R色(赤)の輝度HaRがHaBの2倍である場合は、補正後の輝度を50とするように発光輝度に対するデジタルデータ信号を補正することにより、G色(緑)についても同様に補正する。このことによりB色(青)、G色(緑)、R色(赤)の有機EL素子に同じ駆動電流Iaによる各色の発光輝度の差を補正できる。
【0034】
次に、実施の形態の有機ELディスプレイにおける階調表示について図7を参照して説明する。階調表示は有機EL素子が点灯している時間の違いにより階調を変化させるもである。図7は時分割により階調表示を行う際の駆動タイミングを示す図である。
【0035】
ここで、一例として、6ビットのデジタル駆動により64階調の表示を行う場合について説明する。図7(a)、(b)に示すように、1フレームを構成するすべての画素に信号が書き込まれるのに要する時間を書込期間といい、書込みに対して画素表示が行われる期間を表示期間ということにすると、この書込期間では、有機EL素子の駆動電流を切り、画素内の有機EL素子に電圧がかからない状態にする。また、表示期間では有機EL素子の駆動電源を入れ、画素内の有機EL素子に電圧がかかる状態にして、画素が点灯データ信号が入力されると画素は点灯するようになる。
【0036】
また、表示領域の画像が完全に表示される期間を1フレームと呼び、通常のELディスプレイの発振周波数は60Hzであるので、1秒間には60フレームが存在することになる。例えば、5番目の1フレームにおいて、6ビットのデジタル階調表示を行う場合、1フレームを16分割して書込期間と表示期間の比率を6:10に決めると、図7(b)に示すように書込期間に6回の書き込みができるようになる。ここで、書込区間は走査線Lの順次走査によりすべての有機EL素子に信号線Kのデータをセットする時間であり、また、表示区間はスイッチをONして有機EL素子に一定電流を送り発光させる時間である。
【0037】
ここで、実施の形態1に係わる有機ELディスプレイの作用について説明する。送られてきたデジタルデータを、Nビット(Nは2以上の整数で、例えば整数6)の階調で表示する時は、1フレームをNビット階調に対応させたM個のフィールドに時間分割した制御信号を作成する。例えば、6回の書き込み順に書込1から書込6とすると、書込期間(書込1から書込6)に対応する表示期間をそれぞれ表示1から表示6となる。
【0038】
また、表示期間については、例えば、表示1:表示2:表示3:表示4:表示5:表示6=1:1/2:1/4:1/8:1/16:1/32となるように設定する。1書込期間(書込)と1表示期間(表示)をあわせて1フィールドという。実際のタイミングは、図7(b)に示すように、表示期間の異なる6つのフィールドを分散させた組み合わせにする。表示1の期間、書込1のデータ信号に基づいて所定のEL素子を点灯させると、次に書込2に入り、データ信号に基づいてEL素子にデータ信号を入力したら表示2に入り、有機EL素子を点灯させる。同様にして、6つのフィールドで有機EL素子を点灯させる。この実施の形態1では、輝度(明るさ)の度合いは、表示1を点灯させた時を100%とすると、表示6は100/32%となり、任意の組み合わせにより、デジタルデータに対応した階調表現が行えるようになる。従って、表示区間を適当に組み合わせることにより輝度を可変することができる。
【0039】
(実施の形態2)
実施の形態2は、実施の形態1において定電流回路の駆動電流をB色(青)の外部取出量子効率が最大となる単位面積当たりの駆動電流の±20%範囲内の電流値を使用したものである。実施の形態1と機構的に異なる部分を中心に説明する。実施の形態1における、各色の有機EL素子の輝度の変化させ方、有機ELディスプレイの作用は前述の実施の形態1と同様につき省略する。
【0040】
有機ELディスプレイにおけるR色(赤)、B色(青)、G色(緑)の輝度差の補正方法について図8を参照して説明する。図8は有機EL素子の電流Iと外部取出量子効率eの関係、および、有機EL素子の電流Iと輝度Hとの関係を示している。詳しくは、図8(a)は横軸は電流I(A/m2)、縦軸は外部取出量子効率eで、図中で電流Ibは燐光のB色(青)の外部取出量子効率が最大となる単位面積当たりの駆動電流の±20%範囲の値を示している。図8(b)は横軸は電流I(A/m2)、縦軸は輝度Hで、輝度HbGは電流Ibに対するG色(緑)の値を示し、輝度HbRは電流Ibに対するR色(赤)の値を示し、さらに輝度HbBは電流Ibに対する燐光のB色(青)の値をそれぞれ示している。
【0041】
図8に示すように、B色(青)の外部取出量子効率が外部取出量子効率が最大となる単位面積当たりの駆動電流の±20%範囲内の電流Ibを選び、電流Ibを一定にして、R色(赤)、B色(青)、G色(緑)の輝度を求める。なお、実施の形態ではB色(青)の所定輝度は100cd/m2以上としている。
【0042】
以上により、エネルギーの高い部分のB色の発光輝度に基づいて、G色、R色を補正するので、ディスプレイの寿命が延びるようになった。
【0043】
なお、実施の形態1、実施の形態2では、R色(赤)、G色(緑)およびB色(青)の3種類の有機EL素子の発光面積を同じとしたが、有機EL素子の発光輝度に基づいて発光面積が異なるようにすることにより、各色間の見かけ上の発光輝度差を変化させることができる。例えば、他の色に比べ単位面積当たりの輝度が低いB色(青)の発光面積を、他の色の発光面積より大きくすることにより、見かけ上の輝度差を少なくすることができる。
【0044】
また、実施の形態1、実施の形態2では有機EL素子のG色(緑)、R色(赤)については、蛍光に由来する発光、燐光に由来する発光のどちらでも良い。
【0045】
【発明の効果】
以上のように構成したので下記のような効果を奏する。
【0046】
請求項1、2に記載の発明によれば、B色(赤)の有機EL素子は燐光に由来する発光であって、R色(赤)、G色(緑)、B色(青)の3種類の有機EL素子の単位面積当たりの駆動電流を同じとするので、省電力のディスプレイとなり、各色が同じ駆動電流により制御回路の構成が簡単となり、制御回路の負荷が小さく、安価となった。
【0047】
請求項3に記載の発明によれば、B色(赤)の有機EL素子は燐光に由来する発光であって、B色(青)の有機EL素子の外部取出量子効率が最大となる単位面積当たりの駆動電流の±20%の範囲の駆動電流によって、R色(赤)、G色(緑)、B色(青)の3種類の有機EL素子の駆動を行うので、エネルギーの高い部分のB色の発光輝度に基づいて、G色、R色を補正するので、ディスプレイの寿命が延びるようになった。他の色に比べ発光輝度が低いB色(青)を効率よく発光させることができ、また、各色が同じ駆動電流により制御回路の構成が簡単となり、制御回路の負荷が小さく、また安価となった。
【0048】
請求項4に記載の発明によれば、R色(赤)、G色(緑)およびB色(青)の3種類の有機EL素子は、各色の発光輝度に基づいて画像情報の階調補正を行うので、各色の階調補正が簡易になった。
【0049】
請求項5に記載の発明によれば、R色(赤)、G色(緑)、B色(青)の3種類の有機EL素子は、各色の発光輝度に基づいて発光面積が異なるので、各色間の見かけ上の発光輝度を変化させることができる。例えば、他の色に比べ単位面積当たりの輝度が低いB色(青)の発光面積を、他の色の発光面積より大きくすることにより、見かけ上の輝度差を少なくすることができるようになった。
【0050】
請求項6に記載の発明によれば、駆動電流は、所定間隔のパルス電流であるので、制御が簡単で、各色の輝度を変化させることができようになった。
【図面の簡単な説明】
【図1】実施の形態の有機ELディスプレイを備えた携帯電話の斜視図である。
【図2】有機ELディスプレイの画像を表示する表示部のブロック図である。
【図3】有機EL素子の駆動回路の模式図である。
【図4】図2の回路を示す図である。
【図5】有機EL素子における電流と外部取出量子効率の関係(a)、および、有機EL素子の電流と輝度の関係(b)を示す図である。
【図6】輝度階調補正方法の説明図である。
【図7】時分割階調表示を行う際の書込期間と表示期間の駆動タイミング全体を示す図である。
【図8】他の有機EL素子における電流と外部取出量子効率の関係(a)、および、他の有機EL素子の電流と輝度の関係(b)を示す図である。
【図9】従来の有機ELディスプレイの画像を表示する表示部のブロック図である。
【図10】有機EL素子の駆動波形の模式図である。
【図11】R色(赤)、B色(青)、G色(緑)の有機EL素子における電流と外部取出量子効率の関係を示す図である。
【符号の説明】
10 有機ディプレイ
30 表示部
31 有機EL素子
41 補正手段
46 データ駆動回路
47 定電流回路
48 走査駆動回路
L 走査線
K データ線
A 携帯電話
e 外部取出量子効率
Ia、Ib 駆動電流
【発明の属する技術分野】
本発明は有機ELディスプレイに関し、さらに詳しくは、R色(赤)、G色(緑)およびB色(青)の3種類の有機EL素子を形成してカラー化する有機ELディスプレイに関するものである。
【0002】
【従来の技術】
有機ELディスプレイにおけるカラー化する手段として、白色の有機EL素子とカラーフィルタを組み合わせて分光する方法、青色の有機EL素子と色変換層を組み合わせて分光する方法、およびR色(赤)、G色(緑)、B色(青)の3色独立の発光層をパラレルに形成する方法等が知られている。
【0003】
前述の3色独立の発光層をパラレルに形成する方法においては、高精度な塗り分け技術が必要ではあるが、3原色を直接外部に取り出すことができるので色純度や発光効率を低下させないという長所を有している。
【0004】
ここで、3色独立の発光層をパラレルに形成する方法における有機ELディスプレイにつて図面を参照して説明する。図9は3色独立の発光層をパラレルに形成する方法における有機ELディスプレイの模式図である。図9に示すように、有機ELディスプレイは、データ処理部71、シフトレジスタ72、ラッチ73、データ駆動回路74、定電流回路75、走査駆動回路76、表示部77、複数のR色(赤)、B色(青)、G色(緑)各色の有機EL素子31等を有している。先ず、データ処理部71はデータ信号を作成し、シフトレジスタ72は走査線Lの1ライン分のデータを込み、ラッチ73は所定のタイミングで駆動回路にデータを送るようになっている。定電流回路75は、R色(赤)、B色(青)およびG色(緑)のそれぞれに駆動電流を各色の有機EL素子31に供給する。
【0005】
有機ELディスプレイは、ガラス等の透明基板上にストライプ状に形成したデータ線Kと、データ線Kに対して直交する方向に形成したストライプ状の走査線Lが配置されている。データ線Kと走査線Lが交差する位置に有機EL素子31を形成して、例えば、有機EL素子31の陰極に走査線L、有機EL素子31の陽極にデータ線Kを接続している。有機EL素子31は、R色(赤)、B色(青)およびG色(緑)の3色独立に各色の輝度バランスを考慮して配置されている。1つの走査線Lが選択されたとき、走査線Lに接続する有機EL素子31は、データ線Kからの信号に基づいて発光する。走査線LをL1、L2、・・・Lnの順に順次走査を行うことによりR色(赤)、B色(青)およびG色(緑)の各色の有機EL素子を発光させて得るカラーの画面表示が可能となっている。
【0006】
なお、この有機ELディスプレイでは、定電流回路75において、B色(青)、R色(赤)またはG色(緑)の各有機EL素子に、発光輝度に応じてそれぞれ異なる駆動電流IB、IR、およびIGをそれぞれ供給している。
【0007】
有機ELディスプレイは、データ線K、走査線Lをそのまま有機EL素子31の電極として、交差した部分を発光領域とするパッシブマトリクス型、あるいは各有機EL素子31にスイッチングトランジスタを配置し、走査線Lが選択されていないときも発光する構成のアクティブ型のどちらの駆動方法でもよい。
【0008】
ここで、有機エレクトロルミネッセンス(以下、有機EL素子、またはEL素子ともいう)について説明する。有機EL素子は、陰極から注入された電子と、陽極から注入されたホールが発光層において再結合により生じた励起エネルギーを発光に利用するものであるが、発光層として一重項励起エネルギーを発光(蛍光に由来する発光)に利用するシングレット化合物と、三重項励起エネルギーを発光(燐光に由来する発光)に利用するトリプレット化合物があげられる。
【0009】
ここで、蛍光を利用したR色(赤)、B色(青)およびG色(緑)の有機EL素子における電流と外部取出量子効率の関係について説明する。図10はR色(赤)、B色(青)およびG色(緑)の有機EL素子における電流Iと外部取出量子効率eの関係を示す模式図である。外部取出量子効率eとは、有機EL素子に流れる電子または正孔1個当たりのフォトンが何個、有機EL素子から放出されるかで定義される。図10に示すように、B色(青)の外部取出量子効率eは他のR色(赤)、G色(緑)に比べ低くなっている。
【0010】
有機EL素子は、一重項励起エネルギーを利用するものより、三重項励起エネルギーを利用した方が、光の外部取出効率を飛躍的に高めることが可能となる。そのため、他の色に比べ発光輝度が低いB色(青)の有機EL素子にトリプレト化合物を利用する有機ELディスプレイが開発されている。三重項励起エネルギーを利用したB色(青)のトリプレト化合物の例が特開2002−100476号公報(特許文献1)に開示されている。
【0011】
【特許文献1】
特開2002−100476号公報
【0012】
【発明が解決しようとする課題】
しかしながら、三重項励起エネルギーを利用したトリプレット化合物によるB色(青)の有機EL素子の発光は、光の外部取出効率を高めて輝度を向上させることはできるが、特に、B色(青)は三重項励起エネルギーが大きいため、輝度減衰が大きい。従って、B色(青)の有機EL素子にトリプレット化合物を利用した有機ELディスプレイでは、B色(青)の輝度減衰により画質劣化が起きやすいという問題がある。
【0013】
本発明は上記の課題に鑑みなされたもので、本発明の目的は、燐光に由来するB色(青)の有機EL素子を利用したときに、B色(青)の輝度劣化を低減できる有機ELディスプレイを提供することにある。
【0014】
【課題を解決するための手段】
上記の発明の目的は下記のいずれかの手段により達成される。
【0015】
(1)R色(赤)、G色(緑)およびB色(青)の3種類の有機EL素子を形成してカラー化する有機ELディスプレイにおいて、前記B色(青)の有機EL素子は燐光に由来する発光であって、前記R色(赤)、前記G色(緑)および前記B色(青)の3種類の有機EL素子における単位面積当たりの駆動電流を同一とすることを特徴とする有機ELディスプレイ。
【0016】
(2)R色(赤)、G色(緑)およびB色(青)の3種類の有機EL素子を形成してカラー化する有機ELディスプレイにおいて、前記B色(青)の有機EL素子は燐光に由来する発光であって、前記B色(青)の有機EL素子における外部取出量子効率が最大となる単位面積当たりの駆動電流の±20%範囲の駆動電流によって、前記R色(赤)、前記G色(緑)および前記B色(青)の3種類の有機EL素子の駆動を行うことを特徴とする有機ELディスプレイ。
【0017】
【発明の実施の形態】
本発明に係わる実施の形態の有機ELディスプレイについて、図面を参照して説明する。
【0018】
(実施の形態1)
図1は、実施の形態の有機ELディスプレイを備えた携帯電話の斜視図である。携帯電話Aは有機ELディスプレイ10、操作部20、表示部30、有機EL素子や各部に電流を供給する図示しない電源、図示しない電話通信機能を備えた通信部、装置全体の制御を行うCPU等を有している。本発明の有機ELディスプレイは、携帯電話に限らず、ラップトップコンピュータ、テレビ、デジタルカメラ、カーナビ等の画像情報を視覚的に表示する装置である。
【0019】
次に、有機ELディスプレイについて説明する。図2は有機ELディスプレイの画像を表示する表示部のブロック図である。有機ELディスプレイは、メモリ42、補正手段41、データ処理部43、シフトレジスタ44、ラッチ45、データ駆動回路46、定電流回路47、走査駆動回路48、表示部30、複数のR色(赤)、B色(青)、G色(緑)各色の有機EL素子31等を有している。
【0020】
補正手段41は、R色(赤)、B色(青)、G色(緑)の有機EL素子の共通の所定電流での発光輝度に基づいて、CPUから送られた各色のデジタルデータを補正する。補正後はデータ処理部43に送られる。なお、補正の詳しい方法については後述する。
【0021】
データ処理部43は、後述する時分割の階調表現に対応したデータ信号を作成する。シフトレジスタ44は、走査線Lの1ライン分のデータを込み、ラッチ45は所定のタイミングで駆動回路にデータを送るようになっている。
【0022】
定電流回路47は、R色(赤)、B色(青)およびG色(緑)共通の所定の駆動電流Iを各色の有機EL素子31に供給する。
【0023】
表示部30は、有機EL素子31と走査線L(L1〜Ln)とデータ線K(K1〜Kn)の配線部を有し、走査線Lとデータ線Kのそれぞれが直交するようにマトリクス状に配線され電流を有機EL素子31へ供給する。この表示部30は保持機構を持つアクティブマトリクスである。有機EL素子31は、走査線Lとデータ線Kが直交する付近に配置され、図示しない陽極がデータ線K1〜Knのいずれか1つに接続され、図示しない陰極が走査線L1〜Lnのいずれか1つに接続されている。順次走査により走査線L1〜Lnのうち、1つの走査線が順番に選択される。一方、データ処理部43に送られたデジタルデータは、シフトレジスタ44、ラッチ45を経由して、選択した走査線Lに接続された有機EL素子31にデータ線から送られる。
【0024】
ここで、前述の有機EL素子31についてさらに説明する。図3は有機EL素子の模式図である。図3に示すように、有機EL素子31は、透明基板35上に、透明電極32、有機層33、反射電極34が積層されたものである。透明基板35は、有機EL素子を積層する透明性の基板である。透明電極32は、インジウムチンオキサイド(ITO)、インジウムジンクオキサイド(IZO)、金、酸化スズ、酸化亜鉛等の導電材料からなり、仕事関数が4eV以上で透過率が60%以上の導電材料が望ましい。また、有機層33は、発光する発光層を含む数nmから数μmの有機化合物または錯体の単層または複数層で形成され、フッ化リチウム層や無機金属塩の層、または、それらを含有する層などが任意の位置に配置されていてもよい。反射電極34は、アルミニウム、ナトリウム、リチウム、マグネシウム、銀、カルシウム等の金属材料からなり、仕事関数が4eV未満で、反射率が50%以上の金属材料が好ましい。
【0025】
有機EL素子31は、透明電極32(陽極)、反射電極34(陰極)に電源36を接続して供給された電流により、有機層33の少なくとも1層以上の発光層において電子および正孔が結合し、蛍光または燐光に由来して発光する素子である。
【0026】
複数の有機EL素子のうち、B色は燐光に由来する発光の有機EL素子である。有機EL素子31の発光は、発光層から透明電極32、透明基板35を透過して面状に射出する。あるいは、透明電極32と反射電極34の位置を入れ替えて、反射電極34を透過して面上に発光するトップエミッション構造にしてもよい。
【0027】
また、有機化合物は、水分や大気中の酸素による劣化が激しいため、窒素等の不活性ガスの雰囲気下において、透明基板35上で金属管やガラス管等により有機層33を遮蔽して封止するのが一般的であるが、本発明の詳細な説明においては、有機EL素子31の封止図面や説明は省略している。
【0028】
次に、有機EL素子の駆動方法について説明する。図4は図2における回路を示す図である。52はスイッチング用TFTであり、ゲート信号を入力する走査線Lとビデオ信号を入力するデータ線Kに接続されている。また、53は電流制御用TFTであり、そのゲートはスイッチング用TFT52のドレインに接続される。そして、電流制御用TFT53のドレインは有機EL素子31に接続され、ソースは電流供給線54に接続される。有機EL素子31は電流制御用TFT53に接続された陽極(画素電極)と、EL層を挟んで陽極に対向して設けられた陰極(対向電極)とからなり、陰極は所定の電源36に接続されている。
【0029】
順次走査により走査線Lが選択されるとスイッチング用TFT52のゲートが開き、信号線Kのデジタルデータ信号がコンデンサ51に蓄積されて、電流制御用TFT53のゲートが開き、有機EL素子31に定電流回路からの定電流Iが流れ込み、有機EL素子が発光する。走査線Lの選択が終了した後も、コンデンサ51の電荷によって、電流制御用TFT53のゲートが開いたままとなり、有機EL素子31に電流Iが流れて発光が継続する。スイッチ部49は、後述する表示区間において、ONとなり、有機EL素子に定電流回路からの一定電流Iを供給するようになっている。そして、書込区間においてはOFFとなり有機EL素子に電流を送らないようになっている。ここで、スイッチ部49がONのときに流れる一定の定電流は、図11(a)に示すように、直流電流でもよいし、図10(b)に示すように一定間隔のパルスでもよい。
【0030】
次に、有機EL素子に流す電流について以下に説明する。有機EL素子に流す電流は、R色、G色、B色の各色で同一にすることにより電流回路のコストダウンを計ることができる。また、同一にする電流値はどのような値でも良いが、以下に説明する電流値であれば好ましい。
【0031】
図5は、各色の有機EL素子の電流Iと外部取出量子効率eの関係(a)、および各色の有機EL素子の電流Iと輝度Hとの関係(b)を示す図である。詳しくは、図5(a)は、横軸は電流I(A/m2)、縦軸は外部取出量子効率eであり、図中で、電流Iaは燐光のB色(青)の外部取出量子効率が良い位置での値を示している。また、図5(b)は、横軸は電流I(A/m2)、縦軸は輝度Hで、輝度HaGは電流Iaに対するG色(緑)の値を示し、輝度HaRは電流Iaに対するR色(赤)の値を示し、輝度HaBは電流Iaに対する燐光のB色(青)の値をそれぞれ示している。また、図6は輝度階調補正方法の説明図であり、横軸は補正前のB色(青)、G色(緑)、R色(赤)のデジタルデータを示し、縦軸は補正後のB色(青)、G色(緑)、R色(赤)のデジタルデータを示している。
【0032】
図5および図6に示すように、B色(青)の外部取出量子効率がR色、G色より高い位置での電流Iaを求め、電流Iaを一定にして、R色(赤)、B色(青)、G色(緑)の輝度HaG、輝度HaR、輝度HaBを求める。
【0033】
ここで、B色(青)を基準にして、G色(緑)、R色(赤)の輝度をそろえる場合について説明する。仮に、B色(青)の輝度HaBを100としたとき、R色(赤)の輝度HaRがHaBの2倍である場合は、補正後の輝度を50とするように発光輝度に対するデジタルデータ信号を補正することにより、G色(緑)についても同様に補正する。このことによりB色(青)、G色(緑)、R色(赤)の有機EL素子に同じ駆動電流Iaによる各色の発光輝度の差を補正できる。
【0034】
次に、実施の形態の有機ELディスプレイにおける階調表示について図7を参照して説明する。階調表示は有機EL素子が点灯している時間の違いにより階調を変化させるもである。図7は時分割により階調表示を行う際の駆動タイミングを示す図である。
【0035】
ここで、一例として、6ビットのデジタル駆動により64階調の表示を行う場合について説明する。図7(a)、(b)に示すように、1フレームを構成するすべての画素に信号が書き込まれるのに要する時間を書込期間といい、書込みに対して画素表示が行われる期間を表示期間ということにすると、この書込期間では、有機EL素子の駆動電流を切り、画素内の有機EL素子に電圧がかからない状態にする。また、表示期間では有機EL素子の駆動電源を入れ、画素内の有機EL素子に電圧がかかる状態にして、画素が点灯データ信号が入力されると画素は点灯するようになる。
【0036】
また、表示領域の画像が完全に表示される期間を1フレームと呼び、通常のELディスプレイの発振周波数は60Hzであるので、1秒間には60フレームが存在することになる。例えば、5番目の1フレームにおいて、6ビットのデジタル階調表示を行う場合、1フレームを16分割して書込期間と表示期間の比率を6:10に決めると、図7(b)に示すように書込期間に6回の書き込みができるようになる。ここで、書込区間は走査線Lの順次走査によりすべての有機EL素子に信号線Kのデータをセットする時間であり、また、表示区間はスイッチをONして有機EL素子に一定電流を送り発光させる時間である。
【0037】
ここで、実施の形態1に係わる有機ELディスプレイの作用について説明する。送られてきたデジタルデータを、Nビット(Nは2以上の整数で、例えば整数6)の階調で表示する時は、1フレームをNビット階調に対応させたM個のフィールドに時間分割した制御信号を作成する。例えば、6回の書き込み順に書込1から書込6とすると、書込期間(書込1から書込6)に対応する表示期間をそれぞれ表示1から表示6となる。
【0038】
また、表示期間については、例えば、表示1:表示2:表示3:表示4:表示5:表示6=1:1/2:1/4:1/8:1/16:1/32となるように設定する。1書込期間(書込)と1表示期間(表示)をあわせて1フィールドという。実際のタイミングは、図7(b)に示すように、表示期間の異なる6つのフィールドを分散させた組み合わせにする。表示1の期間、書込1のデータ信号に基づいて所定のEL素子を点灯させると、次に書込2に入り、データ信号に基づいてEL素子にデータ信号を入力したら表示2に入り、有機EL素子を点灯させる。同様にして、6つのフィールドで有機EL素子を点灯させる。この実施の形態1では、輝度(明るさ)の度合いは、表示1を点灯させた時を100%とすると、表示6は100/32%となり、任意の組み合わせにより、デジタルデータに対応した階調表現が行えるようになる。従って、表示区間を適当に組み合わせることにより輝度を可変することができる。
【0039】
(実施の形態2)
実施の形態2は、実施の形態1において定電流回路の駆動電流をB色(青)の外部取出量子効率が最大となる単位面積当たりの駆動電流の±20%範囲内の電流値を使用したものである。実施の形態1と機構的に異なる部分を中心に説明する。実施の形態1における、各色の有機EL素子の輝度の変化させ方、有機ELディスプレイの作用は前述の実施の形態1と同様につき省略する。
【0040】
有機ELディスプレイにおけるR色(赤)、B色(青)、G色(緑)の輝度差の補正方法について図8を参照して説明する。図8は有機EL素子の電流Iと外部取出量子効率eの関係、および、有機EL素子の電流Iと輝度Hとの関係を示している。詳しくは、図8(a)は横軸は電流I(A/m2)、縦軸は外部取出量子効率eで、図中で電流Ibは燐光のB色(青)の外部取出量子効率が最大となる単位面積当たりの駆動電流の±20%範囲の値を示している。図8(b)は横軸は電流I(A/m2)、縦軸は輝度Hで、輝度HbGは電流Ibに対するG色(緑)の値を示し、輝度HbRは電流Ibに対するR色(赤)の値を示し、さらに輝度HbBは電流Ibに対する燐光のB色(青)の値をそれぞれ示している。
【0041】
図8に示すように、B色(青)の外部取出量子効率が外部取出量子効率が最大となる単位面積当たりの駆動電流の±20%範囲内の電流Ibを選び、電流Ibを一定にして、R色(赤)、B色(青)、G色(緑)の輝度を求める。なお、実施の形態ではB色(青)の所定輝度は100cd/m2以上としている。
【0042】
以上により、エネルギーの高い部分のB色の発光輝度に基づいて、G色、R色を補正するので、ディスプレイの寿命が延びるようになった。
【0043】
なお、実施の形態1、実施の形態2では、R色(赤)、G色(緑)およびB色(青)の3種類の有機EL素子の発光面積を同じとしたが、有機EL素子の発光輝度に基づいて発光面積が異なるようにすることにより、各色間の見かけ上の発光輝度差を変化させることができる。例えば、他の色に比べ単位面積当たりの輝度が低いB色(青)の発光面積を、他の色の発光面積より大きくすることにより、見かけ上の輝度差を少なくすることができる。
【0044】
また、実施の形態1、実施の形態2では有機EL素子のG色(緑)、R色(赤)については、蛍光に由来する発光、燐光に由来する発光のどちらでも良い。
【0045】
【発明の効果】
以上のように構成したので下記のような効果を奏する。
【0046】
請求項1、2に記載の発明によれば、B色(赤)の有機EL素子は燐光に由来する発光であって、R色(赤)、G色(緑)、B色(青)の3種類の有機EL素子の単位面積当たりの駆動電流を同じとするので、省電力のディスプレイとなり、各色が同じ駆動電流により制御回路の構成が簡単となり、制御回路の負荷が小さく、安価となった。
【0047】
請求項3に記載の発明によれば、B色(赤)の有機EL素子は燐光に由来する発光であって、B色(青)の有機EL素子の外部取出量子効率が最大となる単位面積当たりの駆動電流の±20%の範囲の駆動電流によって、R色(赤)、G色(緑)、B色(青)の3種類の有機EL素子の駆動を行うので、エネルギーの高い部分のB色の発光輝度に基づいて、G色、R色を補正するので、ディスプレイの寿命が延びるようになった。他の色に比べ発光輝度が低いB色(青)を効率よく発光させることができ、また、各色が同じ駆動電流により制御回路の構成が簡単となり、制御回路の負荷が小さく、また安価となった。
【0048】
請求項4に記載の発明によれば、R色(赤)、G色(緑)およびB色(青)の3種類の有機EL素子は、各色の発光輝度に基づいて画像情報の階調補正を行うので、各色の階調補正が簡易になった。
【0049】
請求項5に記載の発明によれば、R色(赤)、G色(緑)、B色(青)の3種類の有機EL素子は、各色の発光輝度に基づいて発光面積が異なるので、各色間の見かけ上の発光輝度を変化させることができる。例えば、他の色に比べ単位面積当たりの輝度が低いB色(青)の発光面積を、他の色の発光面積より大きくすることにより、見かけ上の輝度差を少なくすることができるようになった。
【0050】
請求項6に記載の発明によれば、駆動電流は、所定間隔のパルス電流であるので、制御が簡単で、各色の輝度を変化させることができようになった。
【図面の簡単な説明】
【図1】実施の形態の有機ELディスプレイを備えた携帯電話の斜視図である。
【図2】有機ELディスプレイの画像を表示する表示部のブロック図である。
【図3】有機EL素子の駆動回路の模式図である。
【図4】図2の回路を示す図である。
【図5】有機EL素子における電流と外部取出量子効率の関係(a)、および、有機EL素子の電流と輝度の関係(b)を示す図である。
【図6】輝度階調補正方法の説明図である。
【図7】時分割階調表示を行う際の書込期間と表示期間の駆動タイミング全体を示す図である。
【図8】他の有機EL素子における電流と外部取出量子効率の関係(a)、および、他の有機EL素子の電流と輝度の関係(b)を示す図である。
【図9】従来の有機ELディスプレイの画像を表示する表示部のブロック図である。
【図10】有機EL素子の駆動波形の模式図である。
【図11】R色(赤)、B色(青)、G色(緑)の有機EL素子における電流と外部取出量子効率の関係を示す図である。
【符号の説明】
10 有機ディプレイ
30 表示部
31 有機EL素子
41 補正手段
46 データ駆動回路
47 定電流回路
48 走査駆動回路
L 走査線
K データ線
A 携帯電話
e 外部取出量子効率
Ia、Ib 駆動電流
Claims (6)
- R色(赤)、G色(緑)およびB色(青)の3種類の有機EL素子を形成してカラー化する有機ELディスプレイにおいて、
前記B色(青)の有機EL素子は燐光に由来する発光であって、前記R色(赤)、前記G色(緑)および前記B色(青)の3種類の有機EL素子における単位面積当たりの駆動電流を同一とすることを特徴とする有機ELディスプレイ。 - 前記駆動電流において、前記B色(青)の有機EL素子の輝度が最も低いことを特徴とする請求項1に記載の有機ELディスプレイ。
- R色(赤)、G色(緑)およびB色(青)の3種類の有機EL素子を形成してカラー化する有機ELディスプレイにおいて、
前記B色(青)の有機EL素子は燐光に由来する発光であって、前記B色(青)の有機EL素子における外部取出量子効率が最大となる単位面積当たりの駆動電流の±20%範囲の駆動電流によって、前記R色(赤)、前記G色(緑)および前記B色(青)の3種類の有機EL素子の駆動を行うことを特徴とする有機ELディスプレイ。 - 前記R色(赤)、前記G色(緑)および前記B色(青)の3種類の有機EL素子は、各色の発光輝度に基づいて画像情報の階調補正が行なわれることを特徴とする請求項1、2または3に記載の有機ELディスプレイ。
- 前記R色(赤)、前記G色(緑)および前記B色(青)の3種類の有機EL素子は、各色の発光輝度に基づいて発光面積が異なることを特徴とする請求項1、2または3に記載の有機ELディスプレイ。
- 前記駆動電流は、所定間隔のパルス電流であることを特徴とする請求項1から5のいずれか1項に記載の有機ELディスプレイ。
Priority Applications (1)
| Application Number | Priority Date | Filing Date | Title |
|---|---|---|---|
| JP2003055455A JP2004265755A (ja) | 2003-03-03 | 2003-03-03 | 有機elディスプレイ |
Applications Claiming Priority (1)
| Application Number | Priority Date | Filing Date | Title |
|---|---|---|---|
| JP2003055455A JP2004265755A (ja) | 2003-03-03 | 2003-03-03 | 有機elディスプレイ |
Publications (1)
| Publication Number | Publication Date |
|---|---|
| JP2004265755A true JP2004265755A (ja) | 2004-09-24 |
Family
ID=33119463
Family Applications (1)
| Application Number | Title | Priority Date | Filing Date |
|---|---|---|---|
| JP2003055455A Pending JP2004265755A (ja) | 2003-03-03 | 2003-03-03 | 有機elディスプレイ |
Country Status (1)
| Country | Link |
|---|---|
| JP (1) | JP2004265755A (ja) |
Cited By (4)
| Publication number | Priority date | Publication date | Assignee | Title |
|---|---|---|---|---|
| JP2006269294A (ja) * | 2005-03-24 | 2006-10-05 | Konica Minolta Holdings Inc | 有機エレクトロルミネッセンス素子ならびにこれを備えた照明装置および表示装置 |
| WO2010016446A1 (en) * | 2008-08-06 | 2010-02-11 | Canon Kabushiki Kaisha | Organic electroluminescence display apparatus |
| JP2011528137A (ja) * | 2008-07-14 | 2011-11-10 | グローバル・オーエルイーディー・テクノロジー・リミテッド・ライアビリティ・カンパニー | ディスプレイ寿命を改善するための方法 |
| JP2015079760A (ja) * | 2008-10-01 | 2015-04-23 | ユニバーサル・ディスプレイ・コーポレーション | 新規のoledディスプレイ構造 |
-
2003
- 2003-03-03 JP JP2003055455A patent/JP2004265755A/ja active Pending
Cited By (4)
| Publication number | Priority date | Publication date | Assignee | Title |
|---|---|---|---|---|
| JP2006269294A (ja) * | 2005-03-24 | 2006-10-05 | Konica Minolta Holdings Inc | 有機エレクトロルミネッセンス素子ならびにこれを備えた照明装置および表示装置 |
| JP2011528137A (ja) * | 2008-07-14 | 2011-11-10 | グローバル・オーエルイーディー・テクノロジー・リミテッド・ライアビリティ・カンパニー | ディスプレイ寿命を改善するための方法 |
| WO2010016446A1 (en) * | 2008-08-06 | 2010-02-11 | Canon Kabushiki Kaisha | Organic electroluminescence display apparatus |
| JP2015079760A (ja) * | 2008-10-01 | 2015-04-23 | ユニバーサル・ディスプレイ・コーポレーション | 新規のoledディスプレイ構造 |
Similar Documents
| Publication | Publication Date | Title |
|---|---|---|
| JP4869661B2 (ja) | 表示装置 | |
| CN102568376B (zh) | 用于驱动有机发光显示装置的设备和方法 | |
| US7510454B2 (en) | OLED device with improved power consumption | |
| JP4114216B2 (ja) | 表示装置及びその駆動方法 | |
| US6191764B1 (en) | Method of driving display device | |
| JP2006018297A (ja) | 逆多重化装置および逆多重化装置を用いる表示装置,逆多重化装置を用いる表示装置の表示パネルとその駆動方法 | |
| CN107111974B (zh) | 显示装置和电子设备 | |
| US20060290623A1 (en) | Light emitting device using organic electroluminescent element | |
| EP3010310B1 (en) | Method for driving an organic electroluminescent element | |
| JP4650726B2 (ja) | 表示装置 | |
| KR20020093568A (ko) | 전기발광 디스플레이, 전기발광 조명장치 및 그 구동방법,및 액정장치 및 전자기기 | |
| JP4161454B2 (ja) | 表示素子及びその駆動方法、並びに表示装置 | |
| KR20040062065A (ko) | 능동행렬 유기전기발광소자 | |
| JP2004265755A (ja) | 有機elディスプレイ | |
| CN100356429C (zh) | 显示装置及其控制方法 | |
| JP2007178837A (ja) | 有機elディスプレイ装置 | |
| CN100405440C (zh) | 显示装置 | |
| JP4939608B2 (ja) | 表示装置 | |
| JP2006106673A (ja) | 表示装置 | |
| JP5073920B2 (ja) | 固定フォーマット発光型表示装置を較正するための較正方法、および、固定フォーマット発光型表示装置 | |
| JP4910333B2 (ja) | 表示装置 | |
| KR100620323B1 (ko) | 유기전기발광소자 및 그의 구동회로 | |
| CN100559439C (zh) | 显示器件及其驱动方法 | |
| CN112599096B (zh) | 像素驱动结构、像素驱动方法以及显示设备 | |
| JP5087820B2 (ja) | 表示装置 |
Legal Events
| Date | Code | Title | Description |
|---|---|---|---|
| A621 | Written request for application examination |
Free format text: JAPANESE INTERMEDIATE CODE: A621 Effective date: 20060227 |
|
| A977 | Report on retrieval |
Free format text: JAPANESE INTERMEDIATE CODE: A971007 Effective date: 20090127 |
|
| A131 | Notification of reasons for refusal |
Free format text: JAPANESE INTERMEDIATE CODE: A131 Effective date: 20090203 |
|
| A02 | Decision of refusal |
Free format text: JAPANESE INTERMEDIATE CODE: A02 Effective date: 20090616 |