JP2004020249A - 放射線検出装置 - Google Patents

放射線検出装置 Download PDF

Info

Publication number
JP2004020249A
JP2004020249A JP2002172364A JP2002172364A JP2004020249A JP 2004020249 A JP2004020249 A JP 2004020249A JP 2002172364 A JP2002172364 A JP 2002172364A JP 2002172364 A JP2002172364 A JP 2002172364A JP 2004020249 A JP2004020249 A JP 2004020249A
Authority
JP
Japan
Prior art keywords
electrode
conductive container
electrode support
support portion
ionization current
Prior art date
Legal status (The legal status is an assumption and is not a legal conclusion. Google has not performed a legal analysis and makes no representation as to the accuracy of the status listed.)
Granted
Application number
JP2002172364A
Other languages
English (en)
Other versions
JP3984110B2 (ja
Inventor
Akira Yunoki
柚木 彰
Current Assignee (The listed assignees may be inaccurate. Google has not performed a legal analysis and makes no representation or warranty as to the accuracy of the list.)
Toshiba Corp
Original Assignee
Toshiba Corp
Priority date (The priority date is an assumption and is not a legal conclusion. Google has not performed a legal analysis and makes no representation as to the accuracy of the date listed.)
Filing date
Publication date
Application filed by Toshiba Corp filed Critical Toshiba Corp
Priority to JP2002172364A priority Critical patent/JP3984110B2/ja
Publication of JP2004020249A publication Critical patent/JP2004020249A/ja
Application granted granted Critical
Publication of JP3984110B2 publication Critical patent/JP3984110B2/ja
Anticipated expiration legal-status Critical
Expired - Lifetime legal-status Critical Current

Links

Images

Landscapes

  • Measurement Of Radiation (AREA)
  • Electron Tubes For Measurement (AREA)

Abstract

【課題】ガス電離箱を用いた放射線検出装置においては、測定対象とする放射線強度のダイナミックレンジが狭いと高線量では信号電荷の飽和が起こり、低線量では検出器容器から発生するα波がバックグランドとなって測定に影響する。そのため、放射線強度に対する装置出力の直線性を単一検出器で実現することが困難となっている。
【解決手段】球形電離箱において、信号電流が集中する中心電極の電極末端部と、それ以外で信号電流の集中が少ない電極支柱部からの信号を別々に測定し、低線量時は両方からの信号を使用し、高線量時には電極支柱部からの信号のみを使用する。またパルス測定でα波に起因するパルスを弁別して電荷量を測定することによりバックグランドに対するα線の寄与を把握して補正する。
【選択図】 図1

Description

【0001】
【発明の属する技術分野】
本発明は、例えば原子力施設等で使用されるガス電離箱を使用したγ線を測定する放射線検出装置に関するものである。
【0002】
【従来の技術】
従来から、一般公衆の外部被曝を評価することを目的として、原子力発電所等の原子力施設がある地域、地方にγ線検出器を設置し、バックグランドレベルから事故時の高レベルまでのγ線の常時監視を行っている。そこで使用されるγ線検出器はバックグランドレベルから事故時の高い放射線レベルまで広いダイナミックレンジにわたって連続的に測定できなければならない。さらに人間の外部被曝の評価に使用することからレスポンスのエネルギー特性も厳しいものとなり、測定対象が環境γ線であることから報告特性も4π方向に対して一様であることが要求されている。このため従来はアルゴンガス等の不活性ガスを封入した容器内に中心電極を設け、容器内に放射線が入射するとガスが電離しイオンを発生し、中心電極から流れる電流を検出することにより放射線の強度、線量、エネルギーを測定する球形のガス電離箱を使用している。
【0003】
図12にこの種の放射線検出器に使用される従来の球形のガス電離箱の構成例を示す。図12においてガス電離箱1には検出ガス2が封入され、ガス電離箱1内に設けられた中心電極3からの出力電流は微少電流測定回路4によって測定される。
【0004】
【発明が解決しようとする課題】
ガス電離箱1から得られる出力信号は小さいため、バックグランドレベルにおいても測定可能な電流が得られるように設計すると、事故時に想定される高レベルγ線の照射時に電荷収集が飽和してしまう恐れがあるためガス電離箱1の測定ダイナミックレンジを広げる必要があった。
【0005】
また、ガス電離箱1では軽量であること、および処理が不要であることから検出器容器の材料としてアルミニウムが使用されることが多い。しかしながらアルミニウムはα線を出す放射性同位元素を比較的多く含むことからバックグランドレベルに匹敵する電離電流が生じてしまう。このためα線バックグランドを低減することが必要であった。
【0006】
本発明は、以上の課題を解決し、測定ダイナミックレンジが広く、α線バックグランドが低いガス電離箱を使用した放射線検出装置を提供することを目的とする。
【0007】
【課題を解決するための手段】
上記目的を達成するために請求項1に記載の放射線検出装置の発明は、検出ガスを封入した導電性容器と、導電性容器から電気的に絶縁されながら導電性容器を気密に貫通して導電容器内に設けられた電極支柱部と、電極支柱部の先端に位置し電極支柱部から絶縁されながら電極支柱部の先端部を覆う電極末端部と、電極支柱部と電極末端部とに接続された電離電流測定回路とからなることを特徴とする。
【0008】
この発明によれば、ガス電離箱からの信号を電極支柱部からと電極末端部とから分けて測定し、同一検出器内の信号から線量直線性の良い部分を抜き出して測定する。
【0009】
請求項2に記載の放射線検出装置の発明は、検出ガスを封入した導電性容器と、導電性容器から電気的に絶縁されながら導電性容器を気密に貫通して導電容器内に設けられた筒状の電極支柱部と、電極支柱部の先端に位置し電極支柱部から絶縁されながら電極支柱部の先端部を覆う電極末端部と、電極支柱部の筒内を通って電極末端部と電気的に接続され導電性容器を貫通する電流導入端子と、電極支柱部と電極末端部とに接続された電離電流測定回路とからなることを特徴とする。
この発明によれば、電極末端部からの信号への電界集中を防ぎ、線量直線性を高線量まで延ばす。
【0010】
請求項3に記載の放射線検出装置の発明は、検出ガスを封入した導電性容器と、導電性容器から電気的に絶縁されながら導電性容器を気密に貫通して導電容器内に設けられた電極支柱部と、電極支柱部の先端に位置し電極支柱部から絶縁されながら電極支柱部の先端部を覆う電極末端部と、電極支柱部と電極末端部とに各々接続された複数の電離電流測定回路と、複数の電離電流測定回路に接続された電離電流比較回路と、複数の電離電流測定回路に接続された信号切替補正回路とからなることを特徴とする。
【0011】
この発明によれば、第1の電離電流測定回路と第2の電離電流測定回路との出力を比較することにより、電極末端部における電流の飽和度が分かり、その情報を用いて信号切替補正回路において、第1の電離電流測定回路からの信号を使うのか、第2の電離電流測定回路からの信号を使うのか、第1の電離電流測定回路と第2の電離電流測定回路との出力に重み付けをして加え合わせたものを使うのかを選択する。
【0012】
請求項4に記載の放射線検出装置の発明は検出ガスを封入した導電性容器と、導電性容器から電気的に絶縁されながら導電性容器を気密に貫通して導電容器内に設けられた筒状の電極支柱部と、電極支柱部の先端に位置し電極支柱部から絶縁されながら電極支柱部の先端部を覆う電極末端部と、電極支柱部の筒内を通って電極末端部と電気的に接続され導電性容器を貫通する電流導入端子と、電極支柱部と電極末端部とに各々接続された複数の電離電流測定回路と、複数の電離電流測定回路に接続された電離電流比較回路と、複数の電離電流測定回路に接続された信号切替補正回路とからなることを特徴とする。
【0013】
この発明によれば、第1の電離電流測定回路と第2の電離電流測定回路との出力を比較することにより、電極末端部における電流の飽和度が分かり、その情報を用いて信号切替補正回路において、第1の電離電流測定回路からの信号を使うのか、第2の電離電流測定回路からの信号を使うのか、第1の電離電流測定回路と第2の電離電流測定回路との出力に重み付けをして加え合わせたものを使うのかを選択する。
【0014】
請求項5に記載の放射線検出装置の発明は、請求項1乃至4のいずれかに記載の放射線検出装置において、電極末端部が電極支柱部よりおきな曲率半径を有することを特徴とする。
この発明によれば、電極末端部への泳動電子の集中を緩和し、高線量照射時の飽和特性が改善され、広いダイナミックレンジにわたって直線性を保つ。
【0015】
請求項6に記載の放射線検出装置の発明は、検出ガスを封入した導電性容器と、導電性容器から電気的に絶縁されながら導電性容器を気密に貫通して導電性容器内に設けられた電極支柱部と、電極支柱部の先端に位置し電極支柱部と電気的に一体となり電極表面の電界強度が電極支柱部と同程度になる曲率半径を有した電極末端部と、電極支柱部と電極末端部とに接続された電離電流測定回路とからなることを特徴とする。
この発明によれば、電極末端部への泳動電子の集中を緩和し、高線量照射時の飽和特性を改善する。
【0016】
請求項7に記載の放射線検出装置の発明は、請求項1乃至6のいずれかに記載の放射線検出装置において、検出ガスを封入した導電性容器内にガス吸着材を設けたことを特徴とする。
【0017】
この発明によれば、検出ガス中の不純物が少なくなり、泳動電子の捕獲が減り、電荷収集率の飽和特性を改善し、照射線量に対するダイナミックレンジを拡大する。
【0018】
請求項8に記載の放射線検出装置の発明は、不活性ガスを主成分とする検出ガスを封入した導電性容器と、導電性容器から電気的に絶縁されながら導電性容器を気密に貫通して導電性容器内に設けられた電極と、導電性容器内の光を検出する光検出器と、光検出器の出力信号から放射線量を測定する処理回路とからなることを特徴とする。
この発明によれば、電極に達する前に再結合した電子はシンチレーション光として光検出器18により検出する。
【0019】
【発明の実施の形態】
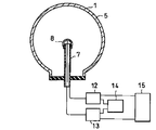
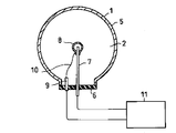
以下本発明の実施の形態について図面を参照して説明する。図1は本発明の第1の実施の形態を示す図で、検出ガス2を封入したガス電離箱1の導電性容器5から絶縁板6によって電気的に絶縁された中心電極の電極支柱部7が導電性容器5を気密に貫通して導電性容器5のほぼ中心部まで突き出して設けられている。電極支柱部7の先端には丸いキャップ状の電極末端部8があり電極支柱部7から絶縁されながら電極支柱部7の先端部を覆っている。電極末端部8は導電性容器5を貫通する電流導入端子9とリード線10を介して電気的に接続され、電極支柱部7と電極末端部8とはそれぞれ電離電流測定回路11に接続されている。電極末端部8の外側は球形で、内側は円柱状の電極支柱部7が差し込めるような穴が明けられた構造と成っている。
【0020】
このような構成の本発明の第1の実施の形態による放射線検出装置であると、導電性容器5内で発生した電荷は、導電性容器5と電極支柱部7、あるいは電極末端部8との間に加えられた電気力線に沿って泳動する。一方電気力線は電極支柱部7より電極末端部8に集中する。そのため泳動する電子は電極末端部8に多く集まることになる。電子親和性の不純物ガスが検出ガス2に含まれると泳動電子を捕獲して負イオンとなりやすい。そうすると泳動速度が1000分の1程度に遅くなり、見かけ上電極周辺に空間電荷層として蓄積する。この空間電荷層は照射線量が大きくなるとともに大きくなり、電極近傍の電界を小さくすることになり、泳動電子の捕獲、再結合を促進する。従って電極支柱部7に集められる電荷量は電極末端部8に集められる電荷量より飽和特性が良く、より高い照射線量に対してまで照射線量に対する出力電流の直線性が確保される。電極支柱部7に集められた電荷は、電離電流測定回路11に入力され電流量が測定される。電極末端部8に集められた電荷は、電流導入端子9を通して、電離電流測定回路11に入力され電流量が測定される。そのため電極支柱部7からの電離電流値は電極末端部8からの電離電流値より飽和特性が良く、より高い照射線量に対してまで照射線量に対する出力電流の直線性が確保されることになる。
【0021】
このようにガス電離箱1からの信号を電極支柱部7からと電極末端部8とから分けて測定することで、同一検出器内の信号から線量直線性の良い部分を抜き出すことができ、測定のダイナミックレンジを拡大することができる。
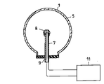
【0022】
次に本発明の第2の実施の形態について図2を参照して説明する。図2において図1と同一部分は同一の符号を付し、詳細な説明は省略する。図2において、電極支柱部7を円筒状に形成し、電極末端部8に接続される電流導入端子9を電極支柱部7の先端開口部から円筒内部を通して電極支柱部7とは絶縁紙ながら導電性容器5の外部に引き出している。
【0023】
このような構成の本発明の第2の実施の形態による放射線検出装置であると、電極末端部8からの信号への電界の集中がないため、電極支柱部7でより高線量まで電荷収集効率が下がらず、飽和特性が改善され、照射線量に対する直線性が高線量にまで伸び、直線性が改善される。
【0024】
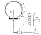
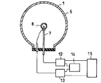
次に本発明の第3の実施の形態について図3を参照して説明する。図3において図1と同一部分は同一の符号を付し、詳細な説明は省略する。図3において、第1、第2の実施の形態で示す電離電流測定回路11の代わりに電極支柱部7からの電離電流を測定する第1の電離電流測定回路12と、電極末端部8からの電離電流を測定する第2の電離電流測定回路13と、第1の電離電流測定回路12の出力と第2の電離電流測定回路13の出力とを比較する電離電流比較回路14とを設け、さらにそれらに接続された信号切替補正回路15とを設ける。信号切替補正回路15の内部には信号切替補正回路15の出力として、第1の電離電流測定回路12からの信号を使うのか、第2の電離電流測定回路13からの信号を使うのか、または第1の電離電流測定回路12と第2の電離電流測定回路13との出力に重み付けをして加え合わせたものを使うのかを選択する選択回路が含まれている。
【0025】
このような構成の本発明の第3の実施の形態による放射線検出装置であると、第1の電離電流測定回路12と第2の電離電流測定回路13との出力を比較することにより、電極末端部8における電流の飽和度が分かる。その情報を用いて信号切替補正回路15において、第1の電離電流測定回路12からの信号を使うのか、第2の電離電流測定回路13からの信号を使うのか、第1の電離電流測定回路12と第2の電離電流測定回路13との出力に重み付けをして加え合わせたものを使うのかが選択される。これにより、放射線検出装置としての1個の出力について電離電流信号出力が広いダイナミックレンジにわたって直線性を保つことが出来る。
【0026】
次に本発明の第4の実施の形態について図4を参照して説明する。図4において図3と同一部分は同一の符号を付し、詳細な説明は省略する。図4においては、図2に示す電極構造に対して図3に示す電離電流比較回路14と信号切替補正回路15とを設けた例で作用効果は図3に示す第三の実施の形態と同様の作用効果が得られる。
【0027】
次に本発明の第5の実施の形態について図5を参照して説明する。図5において、電極末端部8の曲率半径を電極支柱部7の半径より大きくする。
このような構成の本発明の第5の実施の形態による放射線検出装置であると、電極末端部8への泳動電子の集中が緩和されるため、高線量照射時の飽和特性が改善され、さらに広いダイナミックレンジにわたって直線性を保つことができる。
【0028】
次に本発明の第6の実施の形態について図6を参照して説明する。図6において、電極表面近傍での電界強度が電極末端部8と電極支柱部7とで同程度になるよう、電極末端部8の曲率半径を大きくする。そして電極末端部8は電極支柱部7に電気的に接続するかあるいは一体のものとして構成し、その出力を電離電流測定回路に接続する。
【0029】
このような構成の本発明の第6の実施の形態による放射線検出装置であると、電極末端部8への泳動電子の集中が緩和され、高線量照射時の飽和特性が改善されるうえに、電離電流測定回路が電離箱1個につき1系統が必要されるだけとなり、より簡素化した測定システムとなる。
【0030】
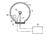
次に本発明の第7の実施の形態について図7を参照して説明する。図7において図1と同一部分は同一の符号を付し、詳細な説明は省略する。図7において、検出ガス2を封入した導電性容器5から電気的に絶縁された電極支柱部7が導電性容器5を気密に貫通して導電性容器5のほぼ中心部まで突き出して設けられている。電極支柱部7の先端には丸いキャップ状の電極末端部8があって電極支柱部7から絶縁されながら電極支柱部7の先端部を覆っている。電極末端部8は導電性容器5を貫通する電流導入端子9とリード線10を介して電気的に接続され、電極支柱部7と電極末端部8とはそれぞれ電離電流測定回路11に接続されている。電極末端部8の外側は球形で、内側は円柱状の電極支柱部7が差し込めるような穴が明けられた構造と成っている。
【0031】
このようなガス電離箱1において酸素分子および窒素酸化物を吸着する能力を持ったガス吸着剤16を導電性容器5内に設けている。ガス吸着剤16の形状および導電性容器5内での取り付け位置は適宜任意である。
【0032】
このような構成の本発明の第7の実施の形態による放射線検出装置であると、泳動電子は検出ガス2中に含まれる酸素分子や窒素酸化物のように電子親和性の大きい不純物に捕獲されることで空間電荷層を形成するようになる。導電性容器5内で発生した電荷は、導電性容器5と電極支柱部7あるいは電極末端部8との間に加えられた電気力線に沿って泳動する。一方電気力線は電極支柱部7より電極末端部8に集中する。そのため泳動する電子は電極末端部8に多く集まることになる。電子親和性の不純物ガスが検出ガス2中に含まれると泳動電子を捕獲して負イオンとなりやすい。そうすると泳動速度が1000分の1程度に遅くなり、見かけ上電極周辺に空間電荷層として蓄積する。この空間電荷層は照射線量が大きくなるとともに大きくなり、電極近傍の電界を小さくすることになり、泳動電子の捕獲、再結合を促進する。従って電極支柱部7に集められる電荷量は電極末端部8に集められる電荷量より飽和特性が良く、より高い照射線量に対してまで照射線量に対する出力電流の直線性が確保される。電極支柱部7に集められた電荷は、電離電流測定回路11に入力され電流量が測定される。電極末端部8に集められた電荷は、電流導入端子9を通して、電離電流測定回路11に入力され電流量が測定される。そのため電極支柱部7からの電離電流値は電極末端部8からの電離電流値より飽和特性が良く、より高い照射線量に対してまで照射線量に対する出力電流の直線性が確保されることになる。
【0033】
このように、検出ガス2中の不純物が少なくなることで泳動電子の捕獲が減り、電荷収集率の飽和特性が改善され、照射線量に対するダイナミックレンジを拡大することができる。
【0034】
次に本発明の第8の実施の形態について図8を参照して説明する。図8において図1と同一部分は同一の符号を付し、詳細な説明は省略する。図8において、不活性ガスを主成分とした検出ガス2を封入した導電性容器5から絶縁蓋6によって電気的に絶縁された電極7aが導電性容器5を気密に貫通して導電性容器5のほぼ中心部まで突き出して設けられている。導電性容器5に透明な窓17を気密に設け、その窓17の外側に光検出器18を取り付ける。窓17の材質は検出ガス2のシンチレーション光を透過する材質とし、真空紫外光の場合のように透過する材質が入手し難い場合は窓17の導電性容器5内側にサイリチルサンメチルやPOPOPのような波長変換物質19を塗布する。光検出器18の出力は一般的な微少電流測定回路またはパルス計数回路20に入力される。また、導電性容器5内の電極7aからの信号は電離電流測定回路11に入力される。さらに一般的な微少電流測定回路またはパルス計数回路20と電離電流測定回路11との出力は光検出系の信号に基づいて電離電流測定回路11の出力を補正する出力補正回路21に入力される。
【0035】
このような構成の本発明の第8の実施の形態による放射線検出装置であると、検出ガス2のシンチレーション光は電離に至るまでエネルギーを付与されなかった検出ガス2の分子、あるいは一旦は電離したものの再結合した検出ガス2のイオンによって発生する。従って電極7a近傍の空間電荷層により電子泳動が滞留すると、滞留した電子は電極7aに達する前に再結合する確率が大きくなる。従来の検出器では電極に達しない電子を測定することはできなかったが、本発明による検出装置においては再結合した電子はシンチレーション光として光検出器18により検出可能になる。電極7aにより測定される電離電流をI、シンチレーション光を測定した光検出器18からの出力電流等をS、放射線により付与されたエネルギーをEとすると、補正係数をαと換算係数βを用いて、E=β(I+αS)と表されることが実験的に示されているので出力補正回路21においてE=β(I+αS)と同様の補正をすることにより、電荷収集の飽和を補正することが可能になり、再結合電子が線量測定に寄与することで、電荷収集率の飽和特性を補正により改善することができ、照射線量に対するダイナミックレンジを拡大することができる。
【0036】
次に本発明の第9の実施の形態について図9を参照して説明する。図9において図8と同一部分は同一の符号を付し、詳細な説明は省略する。図9において、光検出器18の出力は電流測定回路22、パルス波形弁別回路23およびパルス計数回路24を介してγ線識別計数回路25に接続される。電極および電離電流測定回路は設けない。
【0037】
このような構成の本発明の第9の実施の形態による放射線検出装置であると、γ線に起因する2次電子と検出ガス2との相互作用によるものに比べて、α線や宇宙線と検出ガス2との相互作用によるものは、検出ガス2のシンチレーション光のパルス減衰時間が短い。そこでパルス波形弁別回路23で2次電子によるシンチレーションとα線、宇宙線によるシンチレーションを識別する。一方パルス計数回路24では放射線の種別を区別せずに計数している。そこでγ線識別計数回路25に放射線種類と計数に関する情報を供給することで、γ線識別計数回路25はガンマ線のみの計数を行うことが可能になる。
【0038】
したがって、このような構成の放射線検出装置であると、γ線による信号のみを識別して線量測定を行うことで、導電性容器5に起因するα線バックグランド等のバックグランドの影響を排除し低バックグランドの測定が行える。
【0039】
次に本発明の第10の実施の形態について図10を参照して説明する。図10において図8と同一部分は同一の符号を付し、詳細な説明は省略する。図10において、導電性容器5を気密に貫通して導電性容器5のほぼ中心部まで突き出して設けられた電極7aが電離電流測定回路11、パルス計数回路24とパルス電荷量測定回路26に接続される。パルス電荷量測定回路26の出力は、パルス計数回路24の出力と共に電荷量、電流換算回路27に入力される。電荷量、電流換算回路27の出力は、電離電流測定回路11の出力とともに出力電流補正回路28に入力され、電離電流測定回路11の出力から電荷量、電流換算回路27の出力が差し引かれる。
【0040】
このような構成の本発明の第10の実施の形態による放射線検出装置であると、第9の実施の形態で説明したしたパルス計数により、α線等パルス幅が比較的短い信号の発生電荷量および発生頻度を測定できる。従って電荷量、電流変換回路27の出力は、主にα線に起因するバックグランド電流となる。従って出力電流補正回路28において電離電流測定回路11の出力から電荷量、電流換算回路27の出力を差し引くことで、当該バックグランド電流の補正が行え、導電性容器5に起因するα線バックグランド等のバックグランドの影響を排除し低バックグランドの測定が行える。
【0041】
次に本発明の第11の実施の形態について図11を参照して説明する。図11において図8と同一部分は同一の符号を付し、詳細な説明は省略する。図11において、光検出器18の出力は電流測定回路22、パルス波形弁別回路23およびパルス計数回路24を介しγ線識別計数回路25に入力される。電離電流測定回路11については、導電性容器5を気密に貫通して導電性容器5のほぼ中心部まで突き出して設けられた電極7aと接続されている。さらに、光検出器18の信号に基づいてγ線以外の放射線による発生電荷量を計算する電流計算回路29と、電流計算回路29の出力と電離電流測定回路11の出力とを用いて電離電流測定回路11の出力を補正する出力補正回路30を設ける。
【0042】
このような構成の本発明の第11の実施の形態による放射線検出装置であると、第9の実施の形態で説明したγ線識別によりγ線以外の放射線による計数値が求まる。この結果に基づき電流計算回路29において、γ線以外の放射線の入射によって発生する平均的な電流値を計算する。得られた電流値を出力補正回路30に入力し、電離電流測定回路11の出力から差し引くことにより、γ線のみの寄与による電離電流値を求めることができ、γ線による信号のみを識別して線量測定を行う事で、導電性容器5に起因するα線バックグランド等のバックグランドの影響を排除し低バックグランドの測定が行える。
【0043】
【発明の効果】
以上説明したように本発明によれば、検出ガスを封入した導電性容器と、導電性容器から電気的に絶縁されながら導電性容器を気密に貫通して導電容器内に設けられた電極支柱部と、電極支柱部の先端に位置し電極支柱部から絶縁されながら電極支柱部の先端部を覆う電極末端部と、電極支柱部と電極末端部とに接続された電離電流測定回路とから構成したので、測定ダイナミックレンジが広く、かつα線バックグランドが低い放射線検出装置を提供することができる。
【図面の簡単な説明】
【図1】本発明の第1の実施の形態による放射線検出装置を示すブロック構成図。
【図2】本発明の第2の実施の形態による放射線検出装置を示すブロック構成図。
【図3】本発明の第3の実施の形態による放射線検出装置を示すブロック構成図。
【図4】本発明の第4の実施の形態による放射線検出装置を示すブロック構成図。
【図5】本発明の第5の実施の形態による放射線検出装置を示すブロック構成図。
【図6】本発明の第6の実施の形態による放射線検出装置を示すブロック構成図。
【図7】本発明の第7の実施の形態による放射線検出装置を示すブロック構成図。
【図8】本発明の第8の実施の形態による放射線検出装置を示すブロック構成図。
【図9】本発明の第9の実施の形態による放射線検出装置を示すブロック構成図。
【図10】本発明の第10の実施の形態による放射線検出装置を示すブロック構成図。
【図11】本発明の第11の実施の形態による放射線検出装置を示すブロック構成図。
【図12】従来の放射線検出装置を示すブロック構成図。
【符号の説明】
1…ガス電離箱、2…検出ガス、5…導電性容器、7…電極支柱部、7a…電極、8…電極末端部、9…電流導入端子、11…電離電流測定回路、12…第1の電離電流測定回路、13…第2の電離電流測定回路、14…電離電流比較回路、15…信号切替補正回路、16…ガス吸着材、17…窓、18…光検出器、19…波長変換物質、20…微少電流測定回路またはパルス計数回路、21…出力補正回路、22…電流測定回路、23…パルス波形弁別回路、24…パルス計数回路、25…γ線識別計数回路、26…パルス電荷量測定回路、27…電荷量、電流換算回路、28…出力電流補正回路、29…電流計算回路、30…出力補正回路。

Claims (8)

  1. 検出ガスを封入した導電性容器と、導電性容器から電気的に絶縁されながら導電性容器を気密に貫通して導電容器内に設けられた電極支柱部と、電極支柱部の先端に位置し電極支柱部から絶縁されながら電極支柱部の先端部を覆う電極末端部と、電極支柱部と電極末端部とに接続された電離電流測定回路とからなる放射線検出装置。
  2. 検出ガスを封入した導電性容器と、導電性容器から電気的に絶縁されながら導電性容器を気密に貫通して導電容器内に設けられた筒状の電極支柱部と、電極支柱部の先端に位置し電極支柱部から絶縁されながら電極支柱部の先端部を覆う電極末端部と、電極支柱部の筒内を通って電極末端部と電気的に接続され導電性容器を貫通する電流導入端子と、電極支柱部と電極末端部とに接続された電離電流測定回路とからなる放射線検出装置。
  3. 検出ガスを封入した導電性容器と、導電性容器から電気的に絶縁されながら導電性容器を気密に貫通して導電容器内に設けられた電極支柱部と、電極支柱部の先端に位置し電極支柱部から絶縁されながら電極支柱部の先端部を覆う電極末端部と、電極支柱部と電極末端部とに各々接続された複数の電離電流測定回路と、複数の電離電流測定回路に接続された電離電流比較回路と、複数の電離電流測定回路に接続された信号切替補正回路とからなる放射線検出装置。
  4. 検出ガスを封入した導電性容器と、導電性容器から電気的に絶縁されながら導電性容器を気密に貫通して導電容器内に設けられた筒状の電極支柱部と、電極支柱部の先端に位置し電極支柱部から絶縁されながら電極支柱部の先端部を覆う電極末端部と、電極支柱部の筒内を通って電極末端部と電気的に接続され導電性容器を貫通する電流導入端子と、電極支柱部と電極末端部とに各々接続された複数の電離電流測定回路と、複数の電離電流測定回路に接続された電離電流比較回路と、複数の電離電流測定回路に接続された信号切替補正回路とからなる放射線検出装置。
  5. 電極末端部が電極支柱部よりおきな曲率半径を有することを特徴とする請求項1乃至4のいずれかに記載の放射線検出装置。
  6. 検出ガスを封入した導電性容器と、導電性容器から電気的に絶縁されながら導電性容器を気密に貫通して導電性容器内に設けられた電極支柱部と、電極支柱部の先端に位置し電極支柱部と電気的に一体となり電極表面の電界強度が電極支柱部と同程度になる曲率半径を有した電極末端部と、電極支柱部と電極末端部とに接続された電離電流測定回路とからなる放射線検出装置。
  7. 検出ガスを封入した導電性容器内にガス吸着材を設けたことを特徴とする請求項1乃至6のいずれかに記載の放射線検出装置。
  8. 不活性ガスを主成分とする検出ガスを封入した導電性容器と、導電性容器から電気的に絶縁されながら導電性容器を気密に貫通して導電性容器内に設けられた電極と、導電性容器内の光を検出する光検出器と、光検出器の出力信号から放射線量を測定する処理回路とからなる放射線検出装置。
JP2002172364A 2002-06-13 2002-06-13 放射線検出装置 Expired - Lifetime JP3984110B2 (ja)

Priority Applications (1)

Application Number Priority Date Filing Date Title
JP2002172364A JP3984110B2 (ja) 2002-06-13 2002-06-13 放射線検出装置

Applications Claiming Priority (1)

Application Number Priority Date Filing Date Title
JP2002172364A JP3984110B2 (ja) 2002-06-13 2002-06-13 放射線検出装置

Publications (2)

Publication Number Publication Date
JP2004020249A true JP2004020249A (ja) 2004-01-22
JP3984110B2 JP3984110B2 (ja) 2007-10-03

Family

ID=31171952

Family Applications (1)

Application Number Title Priority Date Filing Date
JP2002172364A Expired - Lifetime JP3984110B2 (ja) 2002-06-13 2002-06-13 放射線検出装置

Country Status (1)

Country Link
JP (1) JP3984110B2 (ja)

Cited By (7)

* Cited by examiner, † Cited by third party
Publication number Priority date Publication date Assignee Title
JP2007205769A (ja) * 2006-01-31 2007-08-16 Toshiba Corp 放射線検出器
WO2011135682A1 (ja) * 2010-04-27 2011-11-03 株式会社リガク ガス封入型比例計数管
CN103472476A (zh) * 2013-09-16 2013-12-25 中国船舶重工集团公司第七一九研究所 一种用于环境辐射剂量率监测的探测器
EP3086139A1 (fr) * 2015-04-24 2016-10-26 Commissariat A L'energie Atomique Et Aux Energies Alternatives Canne de maintien d'un dispositif de detection spherique
CN111696845A (zh) * 2019-03-15 2020-09-22 浜松光子学株式会社 电子管
WO2022071549A1 (ja) * 2020-10-01 2022-04-07 大日本印刷株式会社 検出装置
WO2023095576A1 (ja) * 2021-11-25 2023-06-01 学校法人東京理科大学 放射線検出装置

Cited By (12)

* Cited by examiner, † Cited by third party
Publication number Priority date Publication date Assignee Title
JP2007205769A (ja) * 2006-01-31 2007-08-16 Toshiba Corp 放射線検出器
WO2011135682A1 (ja) * 2010-04-27 2011-11-03 株式会社リガク ガス封入型比例計数管
CN103472476A (zh) * 2013-09-16 2013-12-25 中国船舶重工集团公司第七一九研究所 一种用于环境辐射剂量率监测的探测器
EP3086139A1 (fr) * 2015-04-24 2016-10-26 Commissariat A L'energie Atomique Et Aux Energies Alternatives Canne de maintien d'un dispositif de detection spherique
FR3035516A1 (fr) * 2015-04-24 2016-10-28 Commissariat Energie Atomique Canne de maintien d’un dispositif de detection spherique
CN111696845A (zh) * 2019-03-15 2020-09-22 浜松光子学株式会社 电子管
WO2022071549A1 (ja) * 2020-10-01 2022-04-07 大日本印刷株式会社 検出装置
JPWO2022071549A1 (ja) * 2020-10-01 2022-04-07
JP7215639B2 (ja) 2020-10-01 2023-01-31 大日本印刷株式会社 検出装置
JP2025061266A (ja) * 2020-10-01 2025-04-10 大日本印刷株式会社 検出装置
US12352908B2 (en) 2020-10-01 2025-07-08 Dai Nippon Printing Co., Ltd. Detection device
WO2023095576A1 (ja) * 2021-11-25 2023-06-01 学校法人東京理科大学 放射線検出装置

Also Published As

Publication number Publication date
JP3984110B2 (ja) 2007-10-03

Similar Documents

Publication Publication Date Title
US6333504B1 (en) Semiconductor radiation detector with enhanced charge collection
EP3014301B1 (en) Semiconductor scintillation detector
JP2010133879A (ja) 放射線測定装置
US4785168A (en) Device for detecting and localizing neutral particles, and application thereof
JPS5853470B2 (ja) 格子付き電離箱
Breskin et al. On the low-pressure operation of multistep avalanche chambers
CN117607241A (zh) 一种α粒子电离室及降低其中氡及其子体本底的方法
US6420710B1 (en) Device for spectrometric measurement in the field of gamma photon detection
JP3984110B2 (ja) 放射線検出装置
Bolotnikov et al. Dual-anode high-pressure xenon cylindrical ionization chamber
JP4499262B2 (ja) 電離箱型放射線検出装置及び電離箱検査方法
JP4136301B2 (ja) 放射性イオン検出器
Charpak et al. Development of new hole-type avalanche detectors and the first results of their applications
JP3151487B2 (ja) 放射線検出方法
US4179608A (en) Right/left assignment in drift chambers and proportional multiwire chambers (PWC's) using induced signals
Segui et al. Characterization and first beam loss detection with one ESS-nBLM system detector
CN114488269B (zh) 一种正比计数器
Alfonsi et al. Advances in fast multi-GEM based detector operation for high-rate charged-particle triggering
Charpak Some prospects with gaseous detectors
JP3534456B2 (ja) 放射線測定装置
Breskin et al. The use of rise-time information in drift or proportional chambers for neutral radiation localization
US6452190B1 (en) Radiation detector provided with an absorption chamber and a plurality of avalanche chambers
JPH10186036A (ja) ラドン濃度測定方法並びにラドン濃度測定装置
JP2007163399A (ja) 放射線弁別検出器
Breskin et al. A multistep parallax-free X-ray imaging counter

Legal Events

Date Code Title Description
A621 Written request for application examination

Free format text: JAPANESE INTERMEDIATE CODE: A621

Effective date: 20050404

RD04 Notification of resignation of power of attorney

Free format text: JAPANESE INTERMEDIATE CODE: A7424

Effective date: 20060825

RD02 Notification of acceptance of power of attorney

Free format text: JAPANESE INTERMEDIATE CODE: A7422

Effective date: 20070220

A977 Report on retrieval

Free format text: JAPANESE INTERMEDIATE CODE: A971007

Effective date: 20070403

A131 Notification of reasons for refusal

Free format text: JAPANESE INTERMEDIATE CODE: A131

Effective date: 20070410

A521 Written amendment

Free format text: JAPANESE INTERMEDIATE CODE: A523

Effective date: 20070606

TRDD Decision of grant or rejection written
A01 Written decision to grant a patent or to grant a registration (utility model)

Free format text: JAPANESE INTERMEDIATE CODE: A01

Effective date: 20070703

A61 First payment of annual fees (during grant procedure)

Free format text: JAPANESE INTERMEDIATE CODE: A61

Effective date: 20070705

FPAY Renewal fee payment (prs date is renewal date of database)

Free format text: PAYMENT UNTIL: 20100713

Year of fee payment: 3

FPAY Renewal fee payment (prs date is renewal date of database)

Year of fee payment: 3

Free format text: PAYMENT UNTIL: 20100713