JP2004019477A - 内燃機関の回転数制御方法 - Google Patents
内燃機関の回転数制御方法 Download PDFInfo
- Publication number
- JP2004019477A JP2004019477A JP2002172104A JP2002172104A JP2004019477A JP 2004019477 A JP2004019477 A JP 2004019477A JP 2002172104 A JP2002172104 A JP 2002172104A JP 2002172104 A JP2002172104 A JP 2002172104A JP 2004019477 A JP2004019477 A JP 2004019477A
- Authority
- JP
- Japan
- Prior art keywords
- internal combustion
- combustion engine
- correction amount
- intake air
- load
- Prior art date
- Legal status (The legal status is an assumption and is not a legal conclusion. Google has not performed a legal analysis and makes no representation as to the accuracy of the status listed.)
- Pending
Links
- 238000002485 combustion reaction Methods 0.000 title claims abstract description 46
- 238000000034 method Methods 0.000 title claims abstract description 16
- 238000012937 correction Methods 0.000 claims abstract description 85
- 238000013178 mathematical model Methods 0.000 claims abstract description 23
- 238000012546 transfer Methods 0.000 claims abstract description 13
- 238000001514 detection method Methods 0.000 claims description 4
- 238000004364 calculation method Methods 0.000 description 18
- 239000000446 fuel Substances 0.000 description 12
- 238000002347 injection Methods 0.000 description 10
- 239000007924 injection Substances 0.000 description 10
- 238000010586 diagram Methods 0.000 description 6
- 230000004044 response Effects 0.000 description 5
- 239000000498 cooling water Substances 0.000 description 3
- 238000002474 experimental method Methods 0.000 description 3
- 230000006978 adaptation Effects 0.000 description 2
- QVGXLLKOCUKJST-UHFFFAOYSA-N atomic oxygen Chemical compound [O] QVGXLLKOCUKJST-UHFFFAOYSA-N 0.000 description 2
- 238000011161 development Methods 0.000 description 2
- 230000007613 environmental effect Effects 0.000 description 2
- 239000001301 oxygen Substances 0.000 description 2
- 229910052760 oxygen Inorganic materials 0.000 description 2
- 238000012545 processing Methods 0.000 description 2
- XLYOFNOQVPJJNP-UHFFFAOYSA-N water Substances O XLYOFNOQVPJJNP-UHFFFAOYSA-N 0.000 description 2
- 230000005540 biological transmission Effects 0.000 description 1
- 239000003054 catalyst Substances 0.000 description 1
- 230000007423 decrease Effects 0.000 description 1
- 238000013461 design Methods 0.000 description 1
- 230000000694 effects Effects 0.000 description 1
- 239000007789 gas Substances 0.000 description 1
- 239000000203 mixture Substances 0.000 description 1
- 238000012986 modification Methods 0.000 description 1
- 230000004048 modification Effects 0.000 description 1
- 230000004043 responsiveness Effects 0.000 description 1
- 238000011144 upstream manufacturing Methods 0.000 description 1
Images
Landscapes
- Electrical Control Of Air Or Fuel Supplied To Internal-Combustion Engine (AREA)
- Combined Controls Of Internal Combustion Engines (AREA)
Abstract
【課題】アイドル運転状態において、外部負荷が加わった場合、無負荷時に対し目標エンジン回転数を上昇させるが、目標エンジン回転数の設定を変更すると、負荷に対する吸入空気量の補正量を再度適合する必要があった。
【解決手段】内燃機関の機関回転数を目標回転数となるように制御する内燃機関の回転数制御方法において、内燃機関の吸入空気量を検出し、内燃機関の負荷となる機器が作動することにより内燃機関に加わる外部トルクを推定し、推定した外部トルクを相殺するように、検出した吸入空気量に基づいて内燃機関に対応する数学モデルにおける逆伝達関数により吸入空気量の吸気補正量を演算し、演算した吸気補正量により補正した目標回転数となるように機関回転数を制御する。
【選択図】図2
【解決手段】内燃機関の機関回転数を目標回転数となるように制御する内燃機関の回転数制御方法において、内燃機関の吸入空気量を検出し、内燃機関の負荷となる機器が作動することにより内燃機関に加わる外部トルクを推定し、推定した外部トルクを相殺するように、検出した吸入空気量に基づいて内燃機関に対応する数学モデルにおける逆伝達関数により吸入空気量の吸気補正量を演算し、演算した吸気補正量により補正した目標回転数となるように機関回転数を制御する。
【選択図】図2
Description
【0001】
【発明の属する技術分野】
本発明は、例えばアイドル運転時に目標回転数となるように機関回転数を制御する内燃機関の回転数制御方法に関するものである。
【0002】
【従来の技術】
従来、内燃機関すなわちエンジンは、アイドル運転時において、スロットルバルブあるいはスロットルバルブを迂回するバイパス通路に設けられた流量制御バルブであるISCバルブの開度を調整して、設定された目標回転数になるようにエンジン回転数が制御されるものである。このようなアイドル運転時に、例えばエアコンディショナ(以下、エアコンと称する)が作動すると、エンジンに対してこのエアコンが外部負荷となる。したがって、その外部負荷のために、エンジン回転数が変動するので、アイドル運転時の目標回転数にエンジン回転数を維持しようとすると、吸入空気量を増加する必要がある。この一方で、外部負荷が作動することにより、その外部負荷に応じた目標回転数を設定するものである。
【0003】
この場合、エアコンが作動したことをエアコンのスイッチがオンになったことにより判断して外部負荷が入力されたことを検出し、スロットルバルブあるいはISCバルブの開度の補正量を設定したエンジン回転数補正用のテーブルを参照して入力された外部負荷に対応する補正量を決定し、決定した補正量によりスロットルバルブあるいはISCバルブの開度を補正して、エンジン回転数が目標回転数となるようにエンジン回転数をフィードバック制御するものである。
【0004】
このようなアイドル回転数制御にあっては、負荷毎に補正量を設定しているため、同一の負荷に対しては、運転環境のいかんにかかわらず一定の補正量となる。しかしながら、例えばエアコンのように、外気温等の影響を受けて実質的な負荷の大きさが変化すると、エアコンのスイッチが入ったことにより、外部負荷としてエアコンを判定するので、あらかじめ設定されたエアコンに対する補正量で補正を行うことになる。したがって、運転環境によっては、補正量が過少であったり、あるいは逆に過多であったりすることがある。
【0005】
このような不具合を解消するために、例えば特開平7−197828号公報のもののように、スロットルバルブの開度とエンジン回転数とからエンジンの出力トルクを推定するとともに、外部負荷を駆動するために必要な負荷トルクをあらかじめ記憶しておき、推定した出力トルクと記憶した負荷トルクとから目標出力トルクを算出し、エンジン回転数と算出した目標出力トルクとから目標とするスロットルバルブの開度つまり目標スロットル開度を設定して、フィードバック制御の代えてスロットルバルブの開度が目標スロットル開度となるように制御するものが知られている。
【0006】
【発明が解決しようとする課題】
ところが、このような構成のものであると、エンジン回転数とスロットルバルブの開度とから出力トルクを推定するものの、外部負荷については記憶された負荷トルクを用いているため、依然としてエンジンの運転環境の変化に対して補正量を対応させることが困難であった。つまり、記憶された負荷トルクは、外部負荷が作動した際のエンジンの運転環境を必ずしも反映した値ではない。したがって、運転環境によっては、負荷トルクが記憶されたものより大きい場合やその逆の場合があり、補正量がその時の運転環境に適合したものとならない場合があった。この結果、エンジン回転数が変動し、目標回転数に収束させるまでに長時間を費やすことになった。
【0007】
また、外部負荷が作動することによりその外部負荷の作動に応じて目標回転数を変更した場合、外部負荷に対する吸入空気の補正量を設定しても、目標回転数の変更によりその補正量が適合しない状態が発生する。したがって、変更された目標回転数に対して、外部負荷に対する補正量が整合するように、再度適合する必要があった。
【0008】
本発明は、このような不具合を解消することを目的としている。
【0009】
【課題を解決するための手段】
すなわち、本発明の内燃機関の機関回転数を目標回転数となるように制御する内燃機関の回転数制御方法において、内燃機関の吸入空気量を検出し、内燃機関の負荷となる機器が作動することにより内燃機関に加わる外部トルクを推定し、推定した外部トルクを相殺するように、検出した吸入空気量に基づいて内燃機関に対応する数学モデルにおける逆伝達関数により吸入空気量の吸気補正量を演算し、演算した吸気補正量により補正した目標回転数となるように機関回転数を制御することを特徴とする内燃機関の回転数制御方法である。
【0010】
本発明における数学モデルとは、内燃機関を制御するにあたって、内燃機関に関する知識を制御理論に対応する一定の形式により表したものを指す。このような数学モデルを作成するためには、同定実験を行い、観測データと整合のとれた同定モデルを作成して、その同定モデルを数学モデルとするものである。
【0011】
数学モデルとしては、アイドル運転状態における吸入空気が燃焼室に達した後燃焼により内部トルクが発生するまでをモデリングした駆動力発生系と、駆動力発生系にて発生した内部トルクにより内燃機関が回転された際の機関回転数の変化をモデリングした回転系とを備えるものが挙げられる。
【0012】
補正した目標回転数とは、無負荷運転状態における目標回転数に対して、負荷が内燃機関にかかった運転状態で内燃機関が停止しない、あるいは機関回転が不安定にならない状態に維持するのに必要な回転数とするために、無負荷運転状態における目標回転数を補正して得た目標回転数を指すものである。この補正した目標回転数は、無負荷時の目標回転数に対して負荷に応じて高く設定するものである。
【0013】
このような構成によれば、内燃機関にとっての外部の負荷に対応する外部トルクを推定し、その推定した外部トルクを相殺するように、内燃機関に対応する数学モデルにおける逆伝達関数により吸入空気量の吸気補正量を演算して、機関回転数を補正した目標回転数となるようにその吸気補正量により制御するので、負荷毎に適合することがなくなり、迅速にかつ精度よく機関回転数を補正した目標回転数に収束させることが可能になる。
【0014】
上記の構成において、外部トルクの推定は、数学モデルにおいてオブザーバ理論に基づいて行うものが好ましい。また、機関回転数を目標回転数に迅速に収束させるためには、推定した外部トルクに基づいて負荷の負荷補正量を、吸入空気量の補正量とは独立に演算するものが好適である。このような構成にすることにより、伝達関数を簡素化することができ、外部トルクを容易にかつ正確に推定することが可能になる。
【0015】
また、このような内燃機関の回転数制御方法を適用する内燃機関としては、スロットルバルブを迂回する迂回路を備え、その迂回路に流量制御バルブを設けてなるものが好ましく、吸入空気量の検出を、流量制御バルブの開度に基づいて行うものが好適である。このような構成のものであれば、アイドル運転時の吸入空気量の調整をスロットルバルブとは独立に調整して、アイドル運転時の機関回転数を精密に制御することが可能になる。
【0016】
【発明の実施の形態】
以下、本発明の一実施形態を、図面を参照して説明する。
【0017】
図1に概略的に示したエンジン100は自動車用のもので、その吸気系1には図示しないアクセルペダルに応動して開閉するスロットルバルブ2が配設され、その下流側にはサージタンク3が設けられている。また、吸気系1には、スロットルバルブ2を迂回するバイパス通路4が設けてあり、そのバイパス通路4にはアイドル運転時の吸入空気量を制御するための流量制御弁であるアイドルスピード制御バルブ(以下、ISCバルブと称する)5が取り付けてある。ISCバルブ5は、大流量VSVと略称される電子開閉式のもので、駆動電圧のデューティ比を制御することにより、その開度が制御されるものである。
【0018】
サージタンク3に連通する吸気系1の吸気マニホルドの一方の端部近傍には、さらに燃料噴射弁6が設けてあり、この燃料噴射弁6を、電子制御装置7により制御するようにしている。また排気系8には、排気ガス中の酸素濃度を測定するための空燃比センサであるO2センサ9が、図示しないマフラに至るまでの管路に配設された三元触媒10の上流の位置に取り付けられている。このO2センサ9からは、酸素濃度に対応して電圧信号Sgが出力される。
【0019】
電子制御装置7は、中央演算処理装置7aと、記憶装置7bと、入力インターフェース7cと、出力インターフェース7dとを具備してなるマイクロコンピュータシステムを主体に構成されている。入力インターフェース7cには、サージタンク3に連通し、吸入空気圧を吸気圧センサ11から出力される吸気圧信号Sa、エンジン回転数NE、気筒判別、及びクランク角度基準位置を検出するためのカムポジションセンサ12から出力される回転数信号Ne、気筒判別信号G1、及びクランク角度基準位置信号G2、車速を検出するための車速センサ13から出力される車速信号Sc、スロットルバルブ2の開度を検出するためのスロットルセンサ14から出力されるスロットル開度信号Sd、ISCバルブの開度(以下、ISC開度と称する)を検出するためのISC開度検出手段であるISC開度センサ15から出力されるISC開度信号Se、エンジン100の冷却水温を検出するための水温センサ16から出力される水温信号Sf、上記したO2センサ9から出力される電圧信号Sg等が入力される。一方、出力インターフェース7dからは、燃料噴射弁6に対して燃料噴射信号Shが、またスパークプラグ17に対してイグニッションパルスSkが出力されるようになっている。
【0020】
電子制御装置7には、スロットルセンサ14から出力されるスロットル開度信号Sdとカムポジションセンサ12から出力される回転数信号Neとを主な情報として基本燃料噴射時間TP(基本燃料噴射量)を決定し、定常時ではO2センサ9からの電圧信号Sgに基づいてその基本燃料噴射時間TPを空燃比フィードバック補正係数FAFを含む各種の補正係数により補正して有効噴射時間TAU(燃料噴射量)を決定し、決定した有効噴射時間TAUに基づいて燃料をエンジン回転に同期して噴射するようにプログラムしてある。
【0021】
また、電子制御装置7は、外乱となる外部負荷により発生する外部トルクである負荷トルクを、電気機器のスイッチのオンオフ状態を検出して推定し、推定した負荷トルクを相殺するための、ISCバルブ5を駆動する駆動電圧のデューティ比Dutyを後述する数学モデルに基づいて演算するもので、図2に示す機能ブロックを具現するものである。機能ブロックFBは、負荷スイッチ入力検出部F1、負荷補正量算出部F2、目標エンジン回転数設定部F3、目標回転補正量算出部F4、フィードバック補正量算出部F5及びISC開度決定部F6からなる。
【0022】
具体的には、負荷スイッチ入力検出部F1は、例えばヘッドライトやエアコン等のスイッチの作動状態を検出するもので、電気負荷となる電気要素のスイッチがオンになったことにより、負荷が作動したことを検出するものである。
【0023】
負荷補正量算出部F2は、スイッチ入力を検出した負荷による負荷トルクを相殺するのに必要な吸入空気量の補正量つまり負荷補正量を、例えば負荷に対応して設定された補正量を記憶するテーブルにより補間計算をして算出する。この実施の形態にあっては、外部負荷に対する負荷補正量が、目標エンジン回転数Naに収束させるための補正量とは別に、独立して算出されるものである。
【0024】
目標エンジン回転数設定部F3は、アイドル運転状態における目標エンジン回転数Naを、例えばエンジン100の冷却水温と作動している負荷とに基づいて設定する。具体的には、冷却水温が低いほど目標エンジン回転数Naは高く設定してあり、また、負荷を検出した場合には、負荷のない場合に比較して目標エンジン回転数Naを高く設定するものである。この場合、高くする割合は、検出した負荷の大きさに応じて決定される。
【0025】
目標回転補正量算出部F4は、目標エンジン回転数設定部F3において設定された目標エンジン回転数Na、すなわちエンジン100の運転状態に応じて、その都度補正される目標エンジン回転数Naとなるように、数学モデルに基づいてアイドル回転制御系の逆伝達関数を用いて吸気補正量である目標回転補正量を算出する。
【0026】
フィードバック補正量算出部F5は、目標エンジン回転数Naと検出されたエンジン回転数NEとの差に基づいてエンジン回転数NEを目標エンジン回転数Naに収束させるのに必要な吸入空気量の補正量すなわちフィードバック補正量を、PI制御により演算する。したがって、エンジン回転数NEが目標エンジン回転数Naとなるようにする吸入空気量の補正量は、前記目標回転補正量とフィードバック補正量とを加算したものであり、負荷補正量とは独立に演算されるものである。
【0027】
ISC開度決定部F6は、負荷補正量算出部F2が算出した負荷補正量と目標回転補正量算出部F4が算出した目標回転補正量とフィードバック補正量算出部F5が算出したフィードバック補正量とに基づいてISCバルブ5の開度を決定して、ISCバルブ5を決定されたISC開度に基づいて駆動信号すなわちデューティ信号Dutyのデューティ比を演算する。
【0028】
以上のように、この実施の形態では、負荷に対応して算出される負荷補正量と、目標エンジン回転数Naに対する目標回転補正量及びフィードバック補正量とを個別に演算し、演算した各補正量に基づいて最終的な補正量に対応するISC開度を決定するものである。そして、それぞれの補正量の内、目標回転補正量及びフィードバック補正量の演算は、以下のようにして行う。
【0029】
目標回転補正量の演算は、エンジン100に関する知識を制御理論に対応する一定の形式により表してモデリングした数学モデルを用いて行う。数学モデルを作成するために、同定実験を行う。この同定実験については、この実施の形態のようなアイドル運転における回転制御にあっては、スロットルバルブ2を迂回するバイパス通路4にISCバルブ5を設けてなるアイドル回転制御系を想定し、このISCバルブ5を様々な周波数成分からなる2値信号(M系列)からなるデューティ信号Dutyで駆動してエンジン回転数NEを制御し、その時のエンジン回転数NEをカムポジションセンサ12にて観測し、これらの入出力信号を用いてその入出力データから数学モデルを作成する。
【0030】
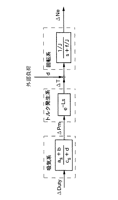
同定に先立って、アイドル回転制御系を線形化した制御対象のブロック線図を、図3に示す。同図において、ISCバルブ5が開いてからサージタンク3を経由しシリンダに吸気されるまでの吸気系1を一次遅れ、吸気後混合気が膨張してトルクを発生するまでの燃焼室を含むトルク発生系を無駄時間、トルク発生から回転までの変化を回転系としてこれを一次遅れとして表し、回転系の入力側に外乱が入力されるものである。吸気系とトルク発生系とが、アイドル運転状態における吸入空気が燃焼室に達した後、燃焼により内部トルクが発生するまでをモデリングした駆動力発生系を構成する。また、回転系は、この駆動力発生系において発生した内部トルクによりエンジン100が回転された際のエンジン回転数NEの変化をモデリングしたものである。なお、同図における、ΔDutyはデューティ信号Dutyの変化分、ΔPmは吸気圧の変化分、ΔTはトルクの変化分、dは外部負荷、ΔNeはエンジン回転数NEの変化分である。
【0031】
次に、このアイドル回転制御系に、外乱オブザーバ理論を含んでなる制御理論を適用したものを、図4に示す。この実施の形態のものにあっては、二自由度を有するコントローラとなっている。すなわち、この実施の形態のものは、目標エンジン回転数Naに対して最適応答とする純粋なフィードバック部FBDと、他方は外部負荷に対して最適応答とするための外乱相殺制御のためのフィードフォワード部FFDとを備えるものである。フィードバック部FBDは、上述の目標エンジン回転数設定部F3とフィードバック補正量算出部F5とISC開度決定部F6とにより実現されるもので、フィードフォワード部FFDは目標回転補正量算出部F4とISC開度決定部F6とにより実現されるものである。
【0032】
まず、フィードバック部FBDは、ハンチングを防止して応答性を高めるために、PI制御としている。PI制御における微分定数Kp及び積分定数Kiの各ゲインは、逐次二次計画法により最適化を行っている。制御理論により、位相−180degの時のゲイン0dBまでの余裕で示すゲイン余裕が10〜20dB、ゲイン0dBの時の位相−180degまでの余裕を示す位相余裕が40〜60deg以上であれば安定であることがわかっているので、これらを満たすように、図5に示す周波数特性となるゲインに最適化を行った。そして、エンジン回転数NEと目標エンジン回転数Naとの差に応じて、エンジン回転数NEが目標エンジン回転数Naとなるよう、ISC開度の補正量を演算するものである。
【0033】
一方、フィードフォワード部FFDは、外乱オブザーバ部分と、外乱相殺部分とを有している。外乱オブザーバ部分は、以下の式(1)〜(4)により設計される。
【0034】
回転系の伝達関数をPr(s)とした場合の状態方程式を示す。
【0035】
【数1】
【0036】
また、外部負荷dの外乱推定値d^を求める外乱オブザーバ理論における状態方程式を示す。
【0037】
【数2】
【0038】
外乱相殺部分は、ISCバルブ15を制御してから、回転系Pr(s)に制御入力が入力されるまでに、吸気系1における遅れと燃焼の遅れとの伝達遅れPa(s)が存在するので、この遅れを考慮して外乱推定値d^を相殺するように、以下の式(5)、(6)により設計するものである。すなわち、このようにして得た外乱推定値d^を相殺するためには、所望の応答を示す規範モデルを Gm(s)とすると、外乱推定値d^を相殺するための伝達関数Cd(s)は、
【0039】
【数3】
【0040】
を満たす必要がある。
【0041】
この式を展開して、
【0042】
【数4】
【0043】
を得る。そして、得られた外乱推定値d^を相殺するための伝達関数Cd(s)より、負荷トルクを打ち消すためのISC開度、したがって負荷トルクを相殺するのに必要な吸入空気量の補正量に対応するISC開度を演算するものである。
【0044】
目標回転補正量の演算は、図6に示す手順により実行するものである。
【0045】
まず、ステップS1において、ISC開度を検出する。ISC開度は、ISC開度センサ15から出力されるISC開度信号eから検出する。ステップS2において、検出したISC開度に対する発生トルクを数学モデルを用いて算出する。ステップS3では、目標エンジン回転数設定部F3から出力される目標エンジン回転数Naを検出する。ステップS4では、エンジン回転を保つために必要な保持トルクを数学モデルを用いて算出する。
【0046】
ステップS5では、算出した発生トルクと保持トルクとの減算により、外乱トルクを算出する。ステップS6では、算出したつまり推定した外乱トルクを相殺するように、上述した外乱オブザーバ理論を含んでなる制御理論を適用したアイドル回転制御系における伝達関数の逆伝達関数より目標回転補正量を算出する。ステップS2、ステップS4、ステップS5及びステップS6は、上述した外乱オブザーバ理論を含んでなる制御理論の中で式(1)〜(6)により演算されるものである。
【0047】
このような構成において、例えばヘッドライトが点灯されることにより、オルタネータがエンジン100に対して外部負荷となる。外部負荷が入ると、エンジン回転数NEが低下することになるが、検出したエンジン回転数NEが目標エンジン回転数Naを下回っている場合は、エンジン回転数NEが目標エンジン回転数設定部F3で設定した目標エンジン回転数Naとなるように、フィードバック補正量算出部F4においてPI制御を行ってフィードバック補正量を算出するとともに、検出した外部負荷に対応する負荷補正量を負荷補正量算出部F2において算出する。
【0048】
また、目標エンジン回転数設定部F3で設定した目標エンジン回転数Naに対応して、設定された目標エンジン回転数Naとするための目標回転補正量を、目標回転補正量算出部F4において数学モデルに基づいて逆伝達関数から算出する。そして、算出した負荷補正量とフィードバック補正量と目標回転補正量とにより、外部負荷が作動した際のエンジン回転数NEの変動に対応する最終的なISCバルブのISC開度を決定して、必要な吸入空気量の補正量に対応するデューティ比の電圧からなるデューティ信号Dutyを出力する。
【0049】
このようにエンジン100に対応した数学モデルを用いて、目標エンジン回転数Naとするための負荷トルクを推定し、その推定した負荷トルクを打ち消すように目標回転補正量を演算するので、種々の運転条件において目標エンジン回転数Naを変更した場合であっても、その変更に迅速に対応して吸入空気量を補正することができる。加えて、適合により吸入空気量の補正量を設定する場合に、様々な環境条件や運転条件によりその最適値を決定しなければならないために生じる開発効率の低下を改善することができる。
【0050】
また、負荷補正量と目標エンジン回転数Naに対する補正量である目標回転補正量とを独立に設定し、かつスロットルバルブ2とは独立にISCバルブ15の開度を制御するので、アイドル回転数を精密に制御することができる。したがって、外部負荷の作動による回転変動を迅速に目標エンジン回転数Naに収束させることができる。
【0051】
なお、本発明は上記実施の形態に限定されるものではない。
【0052】
上記実施の形態にあっては、負荷の検出をその負荷のスイッチの作動により行い、検出した負荷の負荷トルクをテーブルを用いて推定したが、上記した数学モデルにおいてオブザーバ理論に基づいて行うものであってもよい。すなわち、フィードフォワード部FFDにおいて、目標エンジン回転数Naに代えて負荷が作動した場合のエンジン回転数NEを入力として、負荷トルクを推定するように構成するものであってもよい。
【0053】
このように数学モデルにおいてオブザーバ理論に基づいて負荷トルクを推定するように構成すれば、適合により吸入空気量の吸気補正量を設定する場合に、様々な環境条件や運転条件によりその最適値を決定しなければならないために生じる開発効率の低下を改善することができる。
【0054】
その他、各部の具体的構成についても上記実施形態に限られるものではなく、本発明の趣旨を逸脱しない範囲で種々変形が可能である。
【0055】
【発明の効果】
以上のように、本発明によれば、内燃機関にとっての外部の負荷に対応する外部トルクを推定し、その推定した外部トルクを相殺するように、内燃機関に対応する数学モデルにおける逆伝達関数により吸入空気量の吸気補正量を演算して、機関回転数を補正した目標回転数となるようにその吸気補正量により制御するので、負荷毎に適合することがなくなり、迅速にかつ精度よく機関回転数を補正した目標回転数に収束させることができる。
【図面の簡単な説明】
【図1】本発明の実施の形態におけるエンジンの概略構成を示す構成説明図。
【図2】同実施の形態の機能ブロックを示すブロック図。
【図3】同実施の形態のアイドル回転制御系のブロック線図。
【図4】同実施の形態の制御理論を適用したアイドル回転制御系のブロック線図。
【図5】同実施の形態のフィードバック部のPI制御特性を示すボード線図。
【図6】同実施の形態の概略制御手順を示すフローチャート。
【符号の説明】
2…スロットルバルブ
4…バイパス通路
5…アイドルスピード制御バルブ
7…電子制御装置
7a…中央演算処理装置
7b…記憶装置
7c…入力インターフェース
7d…出力インターフェース
【発明の属する技術分野】
本発明は、例えばアイドル運転時に目標回転数となるように機関回転数を制御する内燃機関の回転数制御方法に関するものである。
【0002】
【従来の技術】
従来、内燃機関すなわちエンジンは、アイドル運転時において、スロットルバルブあるいはスロットルバルブを迂回するバイパス通路に設けられた流量制御バルブであるISCバルブの開度を調整して、設定された目標回転数になるようにエンジン回転数が制御されるものである。このようなアイドル運転時に、例えばエアコンディショナ(以下、エアコンと称する)が作動すると、エンジンに対してこのエアコンが外部負荷となる。したがって、その外部負荷のために、エンジン回転数が変動するので、アイドル運転時の目標回転数にエンジン回転数を維持しようとすると、吸入空気量を増加する必要がある。この一方で、外部負荷が作動することにより、その外部負荷に応じた目標回転数を設定するものである。
【0003】
この場合、エアコンが作動したことをエアコンのスイッチがオンになったことにより判断して外部負荷が入力されたことを検出し、スロットルバルブあるいはISCバルブの開度の補正量を設定したエンジン回転数補正用のテーブルを参照して入力された外部負荷に対応する補正量を決定し、決定した補正量によりスロットルバルブあるいはISCバルブの開度を補正して、エンジン回転数が目標回転数となるようにエンジン回転数をフィードバック制御するものである。
【0004】
このようなアイドル回転数制御にあっては、負荷毎に補正量を設定しているため、同一の負荷に対しては、運転環境のいかんにかかわらず一定の補正量となる。しかしながら、例えばエアコンのように、外気温等の影響を受けて実質的な負荷の大きさが変化すると、エアコンのスイッチが入ったことにより、外部負荷としてエアコンを判定するので、あらかじめ設定されたエアコンに対する補正量で補正を行うことになる。したがって、運転環境によっては、補正量が過少であったり、あるいは逆に過多であったりすることがある。
【0005】
このような不具合を解消するために、例えば特開平7−197828号公報のもののように、スロットルバルブの開度とエンジン回転数とからエンジンの出力トルクを推定するとともに、外部負荷を駆動するために必要な負荷トルクをあらかじめ記憶しておき、推定した出力トルクと記憶した負荷トルクとから目標出力トルクを算出し、エンジン回転数と算出した目標出力トルクとから目標とするスロットルバルブの開度つまり目標スロットル開度を設定して、フィードバック制御の代えてスロットルバルブの開度が目標スロットル開度となるように制御するものが知られている。
【0006】
【発明が解決しようとする課題】
ところが、このような構成のものであると、エンジン回転数とスロットルバルブの開度とから出力トルクを推定するものの、外部負荷については記憶された負荷トルクを用いているため、依然としてエンジンの運転環境の変化に対して補正量を対応させることが困難であった。つまり、記憶された負荷トルクは、外部負荷が作動した際のエンジンの運転環境を必ずしも反映した値ではない。したがって、運転環境によっては、負荷トルクが記憶されたものより大きい場合やその逆の場合があり、補正量がその時の運転環境に適合したものとならない場合があった。この結果、エンジン回転数が変動し、目標回転数に収束させるまでに長時間を費やすことになった。
【0007】
また、外部負荷が作動することによりその外部負荷の作動に応じて目標回転数を変更した場合、外部負荷に対する吸入空気の補正量を設定しても、目標回転数の変更によりその補正量が適合しない状態が発生する。したがって、変更された目標回転数に対して、外部負荷に対する補正量が整合するように、再度適合する必要があった。
【0008】
本発明は、このような不具合を解消することを目的としている。
【0009】
【課題を解決するための手段】
すなわち、本発明の内燃機関の機関回転数を目標回転数となるように制御する内燃機関の回転数制御方法において、内燃機関の吸入空気量を検出し、内燃機関の負荷となる機器が作動することにより内燃機関に加わる外部トルクを推定し、推定した外部トルクを相殺するように、検出した吸入空気量に基づいて内燃機関に対応する数学モデルにおける逆伝達関数により吸入空気量の吸気補正量を演算し、演算した吸気補正量により補正した目標回転数となるように機関回転数を制御することを特徴とする内燃機関の回転数制御方法である。
【0010】
本発明における数学モデルとは、内燃機関を制御するにあたって、内燃機関に関する知識を制御理論に対応する一定の形式により表したものを指す。このような数学モデルを作成するためには、同定実験を行い、観測データと整合のとれた同定モデルを作成して、その同定モデルを数学モデルとするものである。
【0011】
数学モデルとしては、アイドル運転状態における吸入空気が燃焼室に達した後燃焼により内部トルクが発生するまでをモデリングした駆動力発生系と、駆動力発生系にて発生した内部トルクにより内燃機関が回転された際の機関回転数の変化をモデリングした回転系とを備えるものが挙げられる。
【0012】
補正した目標回転数とは、無負荷運転状態における目標回転数に対して、負荷が内燃機関にかかった運転状態で内燃機関が停止しない、あるいは機関回転が不安定にならない状態に維持するのに必要な回転数とするために、無負荷運転状態における目標回転数を補正して得た目標回転数を指すものである。この補正した目標回転数は、無負荷時の目標回転数に対して負荷に応じて高く設定するものである。
【0013】
このような構成によれば、内燃機関にとっての外部の負荷に対応する外部トルクを推定し、その推定した外部トルクを相殺するように、内燃機関に対応する数学モデルにおける逆伝達関数により吸入空気量の吸気補正量を演算して、機関回転数を補正した目標回転数となるようにその吸気補正量により制御するので、負荷毎に適合することがなくなり、迅速にかつ精度よく機関回転数を補正した目標回転数に収束させることが可能になる。
【0014】
上記の構成において、外部トルクの推定は、数学モデルにおいてオブザーバ理論に基づいて行うものが好ましい。また、機関回転数を目標回転数に迅速に収束させるためには、推定した外部トルクに基づいて負荷の負荷補正量を、吸入空気量の補正量とは独立に演算するものが好適である。このような構成にすることにより、伝達関数を簡素化することができ、外部トルクを容易にかつ正確に推定することが可能になる。
【0015】
また、このような内燃機関の回転数制御方法を適用する内燃機関としては、スロットルバルブを迂回する迂回路を備え、その迂回路に流量制御バルブを設けてなるものが好ましく、吸入空気量の検出を、流量制御バルブの開度に基づいて行うものが好適である。このような構成のものであれば、アイドル運転時の吸入空気量の調整をスロットルバルブとは独立に調整して、アイドル運転時の機関回転数を精密に制御することが可能になる。
【0016】
【発明の実施の形態】
以下、本発明の一実施形態を、図面を参照して説明する。
【0017】
図1に概略的に示したエンジン100は自動車用のもので、その吸気系1には図示しないアクセルペダルに応動して開閉するスロットルバルブ2が配設され、その下流側にはサージタンク3が設けられている。また、吸気系1には、スロットルバルブ2を迂回するバイパス通路4が設けてあり、そのバイパス通路4にはアイドル運転時の吸入空気量を制御するための流量制御弁であるアイドルスピード制御バルブ(以下、ISCバルブと称する)5が取り付けてある。ISCバルブ5は、大流量VSVと略称される電子開閉式のもので、駆動電圧のデューティ比を制御することにより、その開度が制御されるものである。
【0018】
サージタンク3に連通する吸気系1の吸気マニホルドの一方の端部近傍には、さらに燃料噴射弁6が設けてあり、この燃料噴射弁6を、電子制御装置7により制御するようにしている。また排気系8には、排気ガス中の酸素濃度を測定するための空燃比センサであるO2センサ9が、図示しないマフラに至るまでの管路に配設された三元触媒10の上流の位置に取り付けられている。このO2センサ9からは、酸素濃度に対応して電圧信号Sgが出力される。
【0019】
電子制御装置7は、中央演算処理装置7aと、記憶装置7bと、入力インターフェース7cと、出力インターフェース7dとを具備してなるマイクロコンピュータシステムを主体に構成されている。入力インターフェース7cには、サージタンク3に連通し、吸入空気圧を吸気圧センサ11から出力される吸気圧信号Sa、エンジン回転数NE、気筒判別、及びクランク角度基準位置を検出するためのカムポジションセンサ12から出力される回転数信号Ne、気筒判別信号G1、及びクランク角度基準位置信号G2、車速を検出するための車速センサ13から出力される車速信号Sc、スロットルバルブ2の開度を検出するためのスロットルセンサ14から出力されるスロットル開度信号Sd、ISCバルブの開度(以下、ISC開度と称する)を検出するためのISC開度検出手段であるISC開度センサ15から出力されるISC開度信号Se、エンジン100の冷却水温を検出するための水温センサ16から出力される水温信号Sf、上記したO2センサ9から出力される電圧信号Sg等が入力される。一方、出力インターフェース7dからは、燃料噴射弁6に対して燃料噴射信号Shが、またスパークプラグ17に対してイグニッションパルスSkが出力されるようになっている。
【0020】
電子制御装置7には、スロットルセンサ14から出力されるスロットル開度信号Sdとカムポジションセンサ12から出力される回転数信号Neとを主な情報として基本燃料噴射時間TP(基本燃料噴射量)を決定し、定常時ではO2センサ9からの電圧信号Sgに基づいてその基本燃料噴射時間TPを空燃比フィードバック補正係数FAFを含む各種の補正係数により補正して有効噴射時間TAU(燃料噴射量)を決定し、決定した有効噴射時間TAUに基づいて燃料をエンジン回転に同期して噴射するようにプログラムしてある。
【0021】
また、電子制御装置7は、外乱となる外部負荷により発生する外部トルクである負荷トルクを、電気機器のスイッチのオンオフ状態を検出して推定し、推定した負荷トルクを相殺するための、ISCバルブ5を駆動する駆動電圧のデューティ比Dutyを後述する数学モデルに基づいて演算するもので、図2に示す機能ブロックを具現するものである。機能ブロックFBは、負荷スイッチ入力検出部F1、負荷補正量算出部F2、目標エンジン回転数設定部F3、目標回転補正量算出部F4、フィードバック補正量算出部F5及びISC開度決定部F6からなる。
【0022】
具体的には、負荷スイッチ入力検出部F1は、例えばヘッドライトやエアコン等のスイッチの作動状態を検出するもので、電気負荷となる電気要素のスイッチがオンになったことにより、負荷が作動したことを検出するものである。
【0023】
負荷補正量算出部F2は、スイッチ入力を検出した負荷による負荷トルクを相殺するのに必要な吸入空気量の補正量つまり負荷補正量を、例えば負荷に対応して設定された補正量を記憶するテーブルにより補間計算をして算出する。この実施の形態にあっては、外部負荷に対する負荷補正量が、目標エンジン回転数Naに収束させるための補正量とは別に、独立して算出されるものである。
【0024】
目標エンジン回転数設定部F3は、アイドル運転状態における目標エンジン回転数Naを、例えばエンジン100の冷却水温と作動している負荷とに基づいて設定する。具体的には、冷却水温が低いほど目標エンジン回転数Naは高く設定してあり、また、負荷を検出した場合には、負荷のない場合に比較して目標エンジン回転数Naを高く設定するものである。この場合、高くする割合は、検出した負荷の大きさに応じて決定される。
【0025】
目標回転補正量算出部F4は、目標エンジン回転数設定部F3において設定された目標エンジン回転数Na、すなわちエンジン100の運転状態に応じて、その都度補正される目標エンジン回転数Naとなるように、数学モデルに基づいてアイドル回転制御系の逆伝達関数を用いて吸気補正量である目標回転補正量を算出する。
【0026】
フィードバック補正量算出部F5は、目標エンジン回転数Naと検出されたエンジン回転数NEとの差に基づいてエンジン回転数NEを目標エンジン回転数Naに収束させるのに必要な吸入空気量の補正量すなわちフィードバック補正量を、PI制御により演算する。したがって、エンジン回転数NEが目標エンジン回転数Naとなるようにする吸入空気量の補正量は、前記目標回転補正量とフィードバック補正量とを加算したものであり、負荷補正量とは独立に演算されるものである。
【0027】
ISC開度決定部F6は、負荷補正量算出部F2が算出した負荷補正量と目標回転補正量算出部F4が算出した目標回転補正量とフィードバック補正量算出部F5が算出したフィードバック補正量とに基づいてISCバルブ5の開度を決定して、ISCバルブ5を決定されたISC開度に基づいて駆動信号すなわちデューティ信号Dutyのデューティ比を演算する。
【0028】
以上のように、この実施の形態では、負荷に対応して算出される負荷補正量と、目標エンジン回転数Naに対する目標回転補正量及びフィードバック補正量とを個別に演算し、演算した各補正量に基づいて最終的な補正量に対応するISC開度を決定するものである。そして、それぞれの補正量の内、目標回転補正量及びフィードバック補正量の演算は、以下のようにして行う。
【0029】
目標回転補正量の演算は、エンジン100に関する知識を制御理論に対応する一定の形式により表してモデリングした数学モデルを用いて行う。数学モデルを作成するために、同定実験を行う。この同定実験については、この実施の形態のようなアイドル運転における回転制御にあっては、スロットルバルブ2を迂回するバイパス通路4にISCバルブ5を設けてなるアイドル回転制御系を想定し、このISCバルブ5を様々な周波数成分からなる2値信号(M系列)からなるデューティ信号Dutyで駆動してエンジン回転数NEを制御し、その時のエンジン回転数NEをカムポジションセンサ12にて観測し、これらの入出力信号を用いてその入出力データから数学モデルを作成する。
【0030】
同定に先立って、アイドル回転制御系を線形化した制御対象のブロック線図を、図3に示す。同図において、ISCバルブ5が開いてからサージタンク3を経由しシリンダに吸気されるまでの吸気系1を一次遅れ、吸気後混合気が膨張してトルクを発生するまでの燃焼室を含むトルク発生系を無駄時間、トルク発生から回転までの変化を回転系としてこれを一次遅れとして表し、回転系の入力側に外乱が入力されるものである。吸気系とトルク発生系とが、アイドル運転状態における吸入空気が燃焼室に達した後、燃焼により内部トルクが発生するまでをモデリングした駆動力発生系を構成する。また、回転系は、この駆動力発生系において発生した内部トルクによりエンジン100が回転された際のエンジン回転数NEの変化をモデリングしたものである。なお、同図における、ΔDutyはデューティ信号Dutyの変化分、ΔPmは吸気圧の変化分、ΔTはトルクの変化分、dは外部負荷、ΔNeはエンジン回転数NEの変化分である。
【0031】
次に、このアイドル回転制御系に、外乱オブザーバ理論を含んでなる制御理論を適用したものを、図4に示す。この実施の形態のものにあっては、二自由度を有するコントローラとなっている。すなわち、この実施の形態のものは、目標エンジン回転数Naに対して最適応答とする純粋なフィードバック部FBDと、他方は外部負荷に対して最適応答とするための外乱相殺制御のためのフィードフォワード部FFDとを備えるものである。フィードバック部FBDは、上述の目標エンジン回転数設定部F3とフィードバック補正量算出部F5とISC開度決定部F6とにより実現されるもので、フィードフォワード部FFDは目標回転補正量算出部F4とISC開度決定部F6とにより実現されるものである。
【0032】
まず、フィードバック部FBDは、ハンチングを防止して応答性を高めるために、PI制御としている。PI制御における微分定数Kp及び積分定数Kiの各ゲインは、逐次二次計画法により最適化を行っている。制御理論により、位相−180degの時のゲイン0dBまでの余裕で示すゲイン余裕が10〜20dB、ゲイン0dBの時の位相−180degまでの余裕を示す位相余裕が40〜60deg以上であれば安定であることがわかっているので、これらを満たすように、図5に示す周波数特性となるゲインに最適化を行った。そして、エンジン回転数NEと目標エンジン回転数Naとの差に応じて、エンジン回転数NEが目標エンジン回転数Naとなるよう、ISC開度の補正量を演算するものである。
【0033】
一方、フィードフォワード部FFDは、外乱オブザーバ部分と、外乱相殺部分とを有している。外乱オブザーバ部分は、以下の式(1)〜(4)により設計される。
【0034】
回転系の伝達関数をPr(s)とした場合の状態方程式を示す。
【0035】
【数1】
【0036】
また、外部負荷dの外乱推定値d^を求める外乱オブザーバ理論における状態方程式を示す。
【0037】
【数2】
【0038】
外乱相殺部分は、ISCバルブ15を制御してから、回転系Pr(s)に制御入力が入力されるまでに、吸気系1における遅れと燃焼の遅れとの伝達遅れPa(s)が存在するので、この遅れを考慮して外乱推定値d^を相殺するように、以下の式(5)、(6)により設計するものである。すなわち、このようにして得た外乱推定値d^を相殺するためには、所望の応答を示す規範モデルを Gm(s)とすると、外乱推定値d^を相殺するための伝達関数Cd(s)は、
【0039】
【数3】
【0040】
を満たす必要がある。
【0041】
この式を展開して、
【0042】
【数4】
【0043】
を得る。そして、得られた外乱推定値d^を相殺するための伝達関数Cd(s)より、負荷トルクを打ち消すためのISC開度、したがって負荷トルクを相殺するのに必要な吸入空気量の補正量に対応するISC開度を演算するものである。
【0044】
目標回転補正量の演算は、図6に示す手順により実行するものである。
【0045】
まず、ステップS1において、ISC開度を検出する。ISC開度は、ISC開度センサ15から出力されるISC開度信号eから検出する。ステップS2において、検出したISC開度に対する発生トルクを数学モデルを用いて算出する。ステップS3では、目標エンジン回転数設定部F3から出力される目標エンジン回転数Naを検出する。ステップS4では、エンジン回転を保つために必要な保持トルクを数学モデルを用いて算出する。
【0046】
ステップS5では、算出した発生トルクと保持トルクとの減算により、外乱トルクを算出する。ステップS6では、算出したつまり推定した外乱トルクを相殺するように、上述した外乱オブザーバ理論を含んでなる制御理論を適用したアイドル回転制御系における伝達関数の逆伝達関数より目標回転補正量を算出する。ステップS2、ステップS4、ステップS5及びステップS6は、上述した外乱オブザーバ理論を含んでなる制御理論の中で式(1)〜(6)により演算されるものである。
【0047】
このような構成において、例えばヘッドライトが点灯されることにより、オルタネータがエンジン100に対して外部負荷となる。外部負荷が入ると、エンジン回転数NEが低下することになるが、検出したエンジン回転数NEが目標エンジン回転数Naを下回っている場合は、エンジン回転数NEが目標エンジン回転数設定部F3で設定した目標エンジン回転数Naとなるように、フィードバック補正量算出部F4においてPI制御を行ってフィードバック補正量を算出するとともに、検出した外部負荷に対応する負荷補正量を負荷補正量算出部F2において算出する。
【0048】
また、目標エンジン回転数設定部F3で設定した目標エンジン回転数Naに対応して、設定された目標エンジン回転数Naとするための目標回転補正量を、目標回転補正量算出部F4において数学モデルに基づいて逆伝達関数から算出する。そして、算出した負荷補正量とフィードバック補正量と目標回転補正量とにより、外部負荷が作動した際のエンジン回転数NEの変動に対応する最終的なISCバルブのISC開度を決定して、必要な吸入空気量の補正量に対応するデューティ比の電圧からなるデューティ信号Dutyを出力する。
【0049】
このようにエンジン100に対応した数学モデルを用いて、目標エンジン回転数Naとするための負荷トルクを推定し、その推定した負荷トルクを打ち消すように目標回転補正量を演算するので、種々の運転条件において目標エンジン回転数Naを変更した場合であっても、その変更に迅速に対応して吸入空気量を補正することができる。加えて、適合により吸入空気量の補正量を設定する場合に、様々な環境条件や運転条件によりその最適値を決定しなければならないために生じる開発効率の低下を改善することができる。
【0050】
また、負荷補正量と目標エンジン回転数Naに対する補正量である目標回転補正量とを独立に設定し、かつスロットルバルブ2とは独立にISCバルブ15の開度を制御するので、アイドル回転数を精密に制御することができる。したがって、外部負荷の作動による回転変動を迅速に目標エンジン回転数Naに収束させることができる。
【0051】
なお、本発明は上記実施の形態に限定されるものではない。
【0052】
上記実施の形態にあっては、負荷の検出をその負荷のスイッチの作動により行い、検出した負荷の負荷トルクをテーブルを用いて推定したが、上記した数学モデルにおいてオブザーバ理論に基づいて行うものであってもよい。すなわち、フィードフォワード部FFDにおいて、目標エンジン回転数Naに代えて負荷が作動した場合のエンジン回転数NEを入力として、負荷トルクを推定するように構成するものであってもよい。
【0053】
このように数学モデルにおいてオブザーバ理論に基づいて負荷トルクを推定するように構成すれば、適合により吸入空気量の吸気補正量を設定する場合に、様々な環境条件や運転条件によりその最適値を決定しなければならないために生じる開発効率の低下を改善することができる。
【0054】
その他、各部の具体的構成についても上記実施形態に限られるものではなく、本発明の趣旨を逸脱しない範囲で種々変形が可能である。
【0055】
【発明の効果】
以上のように、本発明によれば、内燃機関にとっての外部の負荷に対応する外部トルクを推定し、その推定した外部トルクを相殺するように、内燃機関に対応する数学モデルにおける逆伝達関数により吸入空気量の吸気補正量を演算して、機関回転数を補正した目標回転数となるようにその吸気補正量により制御するので、負荷毎に適合することがなくなり、迅速にかつ精度よく機関回転数を補正した目標回転数に収束させることができる。
【図面の簡単な説明】
【図1】本発明の実施の形態におけるエンジンの概略構成を示す構成説明図。
【図2】同実施の形態の機能ブロックを示すブロック図。
【図3】同実施の形態のアイドル回転制御系のブロック線図。
【図4】同実施の形態の制御理論を適用したアイドル回転制御系のブロック線図。
【図5】同実施の形態のフィードバック部のPI制御特性を示すボード線図。
【図6】同実施の形態の概略制御手順を示すフローチャート。
【符号の説明】
2…スロットルバルブ
4…バイパス通路
5…アイドルスピード制御バルブ
7…電子制御装置
7a…中央演算処理装置
7b…記憶装置
7c…入力インターフェース
7d…出力インターフェース
Claims (5)
- 内燃機関の機関回転数を目標回転数となるように制御する内燃機関の回転数制御方法において、
内燃機関の吸入空気量を検出し、
内燃機関の負荷となる機器が作動することにより内燃機関に加わる外部トルクを推定し、
推定した外部トルクを相殺するように、検出した吸入空気量に基づいて内燃機関に対応する数学モデルにおける逆伝達関数により吸入空気量の吸気補正量を演算し、
演算した吸気補正量により補正した目標回転数となるように機関回転数を制御することを特徴とする内燃機関の回転数制御方法。 - 数学モデルが、アイドル運転状態における吸入空気が燃焼室に達した後燃焼により内部トルクが発生するまでをモデリングした駆動力発生系と、駆動力発生系にて発生した内部トルクにより内燃機関が回転された際の機関回転数の変化をモデリングした回転系とを備えることを特徴とする請求項1記載の内燃機関の回転数制御方法。
- 外部トルクの推定を、数学モデルにおいてオブザーバ理論に基づいて行うことを特徴とする請求項1又は2記載の内燃機関の回転数制御方法。
- 推定した外部トルクに基づいて負荷の負荷補正量を、吸入空気量の吸気補正量とは独立に演算することを特徴とする請求項記載の1、2又は3内燃機関の回転数制御方法。
- 内燃機関がスロットルバルブを迂回する迂回路を備え、その迂回路に流量制御バルブを設けてなるものであって、吸入空気量の検出を、流量制御バルブの開度に基づいて行うことを特徴とする請求項1、2、3又は4記載の内燃機関の回転数制御方法。
Priority Applications (1)
| Application Number | Priority Date | Filing Date | Title |
|---|---|---|---|
| JP2002172104A JP2004019477A (ja) | 2002-06-12 | 2002-06-12 | 内燃機関の回転数制御方法 |
Applications Claiming Priority (1)
| Application Number | Priority Date | Filing Date | Title |
|---|---|---|---|
| JP2002172104A JP2004019477A (ja) | 2002-06-12 | 2002-06-12 | 内燃機関の回転数制御方法 |
Publications (1)
| Publication Number | Publication Date |
|---|---|
| JP2004019477A true JP2004019477A (ja) | 2004-01-22 |
Family
ID=31171751
Family Applications (1)
| Application Number | Title | Priority Date | Filing Date |
|---|---|---|---|
| JP2002172104A Pending JP2004019477A (ja) | 2002-06-12 | 2002-06-12 | 内燃機関の回転数制御方法 |
Country Status (1)
| Country | Link |
|---|---|
| JP (1) | JP2004019477A (ja) |
Cited By (7)
| Publication number | Priority date | Publication date | Assignee | Title |
|---|---|---|---|---|
| JP2009121348A (ja) * | 2007-11-15 | 2009-06-04 | Nikki Co Ltd | エンジンの燃料噴射制御方法及びその燃料噴射制御装置 |
| JP2009121240A (ja) * | 2007-11-12 | 2009-06-04 | Nikki Co Ltd | エンジンの空燃比制御方法及びその空燃比制御装置 |
| JP2012140897A (ja) * | 2010-12-28 | 2012-07-26 | Mitsubishi Motors Corp | エンジントルク制御装置 |
| CN103069135A (zh) * | 2010-09-08 | 2013-04-24 | 三井造船株式会社 | 船舶用发动机控制系统及方法 |
| JP2014101849A (ja) * | 2012-11-21 | 2014-06-05 | Daihatsu Motor Co Ltd | 制御装置 |
| KR20190013532A (ko) * | 2017-07-27 | 2019-02-11 | 로베르트 보쉬 게엠베하 | 내연 기관의 회전수 제어를 실행하기 위한 방법 및 장치 |
| KR20190051830A (ko) * | 2017-11-07 | 2019-05-15 | 로베르트 보쉬 게엠베하 | 부동 시간이 보상되는 연소 엔진의 회전수를 제어하기 위한 방법 |
-
2002
- 2002-06-12 JP JP2002172104A patent/JP2004019477A/ja active Pending
Cited By (9)
| Publication number | Priority date | Publication date | Assignee | Title |
|---|---|---|---|---|
| JP2009121240A (ja) * | 2007-11-12 | 2009-06-04 | Nikki Co Ltd | エンジンの空燃比制御方法及びその空燃比制御装置 |
| JP2009121348A (ja) * | 2007-11-15 | 2009-06-04 | Nikki Co Ltd | エンジンの燃料噴射制御方法及びその燃料噴射制御装置 |
| CN103069135A (zh) * | 2010-09-08 | 2013-04-24 | 三井造船株式会社 | 船舶用发动机控制系统及方法 |
| JP2012140897A (ja) * | 2010-12-28 | 2012-07-26 | Mitsubishi Motors Corp | エンジントルク制御装置 |
| JP2014101849A (ja) * | 2012-11-21 | 2014-06-05 | Daihatsu Motor Co Ltd | 制御装置 |
| KR20190013532A (ko) * | 2017-07-27 | 2019-02-11 | 로베르트 보쉬 게엠베하 | 내연 기관의 회전수 제어를 실행하기 위한 방법 및 장치 |
| KR102506909B1 (ko) * | 2017-07-27 | 2023-03-08 | 로베르트 보쉬 게엠베하 | 내연 기관의 회전수 제어를 실행하기 위한 방법 및 장치 |
| KR20190051830A (ko) * | 2017-11-07 | 2019-05-15 | 로베르트 보쉬 게엠베하 | 부동 시간이 보상되는 연소 엔진의 회전수를 제어하기 위한 방법 |
| KR102558906B1 (ko) * | 2017-11-07 | 2023-07-25 | 로베르트 보쉬 게엠베하 | 부동 시간이 보상되는 연소 엔진의 회전수를 제어하기 위한 방법 |
Similar Documents
| Publication | Publication Date | Title |
|---|---|---|
| JP4144272B2 (ja) | 内燃機関の燃料噴射量制御装置 | |
| JP3316955B2 (ja) | 内燃機関の制御装置 | |
| JP3408753B2 (ja) | 内燃機関の制御装置 | |
| JP2002201998A (ja) | 内燃機関の制御装置 | |
| JP2008138630A (ja) | 内燃機関の制御装置 | |
| JP2005171979A (ja) | 内燃機関の制御装置 | |
| US8196569B2 (en) | Method for operating an internal combustion engine having exhaust gas recirculation | |
| JP4455956B2 (ja) | 内燃機関のアイドル回転速度制御装置 | |
| JP4174821B2 (ja) | 車両用制御装置 | |
| JP2001303990A (ja) | 内燃機関の可変バルブタイミング制御装置 | |
| JP4242182B2 (ja) | 応答指定型制御を用いてプラントを制御する装置 | |
| JP5482718B2 (ja) | エンジン適合装置 | |
| JP2008215320A (ja) | トルク制御装置 | |
| JP2004019477A (ja) | 内燃機関の回転数制御方法 | |
| JPWO2012137331A1 (ja) | 内燃機関の制御装置 | |
| JPH10184431A (ja) | エンジン制御方式 | |
| JPS6232241A (ja) | 電子式内燃機関制御装置 | |
| JP2004019478A (ja) | 内燃機関の回転数制御方法 | |
| JP2002309990A (ja) | 内燃機関の制御装置 | |
| JP4534914B2 (ja) | 内燃機関の燃料噴射制御装置 | |
| JP2016211504A (ja) | 内燃機関の制御装置 | |
| JP2847851B2 (ja) | 車両用内燃機関の制御装置 | |
| JP5241694B2 (ja) | エンジン始動時のシリンダ流入空気量補正方法、及びその方法を備えた燃料制御装置 | |
| JP2006063802A (ja) | 内燃機関の空気量推定装置 | |
| JP2021095859A (ja) | スロットル制御装置 |
