EP4516985A2 - Dosiereinrichtung - Google Patents

Dosiereinrichtung Download PDF

Info

Publication number
EP4516985A2
EP4516985A2 EP25150305.8A EP25150305A EP4516985A2 EP 4516985 A2 EP4516985 A2 EP 4516985A2 EP 25150305 A EP25150305 A EP 25150305A EP 4516985 A2 EP4516985 A2 EP 4516985A2
Authority
EP
European Patent Office
Prior art keywords
dosing
information
dosing device
target device
target
Prior art date
Legal status (The legal status is an assumption and is not a legal conclusion. Google has not performed a legal analysis and makes no representation as to the accuracy of the status listed.)
Pending
Application number
EP25150305.8A
Other languages
English (en)
French (fr)
Other versions
EP4516985A3 (de
Inventor
Michael Saier
Beatrice Saier
Current Assignee (The listed assignees may be inaccurate. Google has not performed a legal analysis and makes no representation or warranty as to the accuracy of the list.)
Herbert Saier GmbH
Original Assignee
Herbert Saier GmbH
Priority date (The priority date is an assumption and is not a legal conclusion. Google has not performed a legal analysis and makes no representation as to the accuracy of the date listed.)
Filing date
Publication date
Application filed by Herbert Saier GmbH filed Critical Herbert Saier GmbH
Publication of EP4516985A2 publication Critical patent/EP4516985A2/de
Publication of EP4516985A3 publication Critical patent/EP4516985A3/de
Pending legal-status Critical Current

Links

Images

Classifications

    • DTEXTILES; PAPER
    • D06TREATMENT OF TEXTILES OR THE LIKE; LAUNDERING; FLEXIBLE MATERIALS NOT OTHERWISE PROVIDED FOR
    • D06FLAUNDERING, DRYING, IRONING, PRESSING OR FOLDING TEXTILE ARTICLES
    • D06F33/00Control of operations performed in washing machines or washer-dryers 
    • D06F33/30Control of washing machines characterised by the purpose or target of the control 
    • D06F33/32Control of operational steps, e.g. optimisation or improvement of operational steps depending on the condition of the laundry
    • D06F33/37Control of operational steps, e.g. optimisation or improvement of operational steps depending on the condition of the laundry of metering of detergents or additives
    • DTEXTILES; PAPER
    • D06TREATMENT OF TEXTILES OR THE LIKE; LAUNDERING; FLEXIBLE MATERIALS NOT OTHERWISE PROVIDED FOR
    • D06FLAUNDERING, DRYING, IRONING, PRESSING OR FOLDING TEXTILE ARTICLES
    • D06F39/00Details of washing machines not specific to a single type of machines covered by groups D06F9/00 - D06F27/00 
    • D06F39/02Devices for adding soap or other washing agents
    • AHUMAN NECESSITIES
    • A47FURNITURE; DOMESTIC ARTICLES OR APPLIANCES; COFFEE MILLS; SPICE MILLS; SUCTION CLEANERS IN GENERAL
    • A47LDOMESTIC WASHING OR CLEANING; SUCTION CLEANERS IN GENERAL
    • A47L15/00Washing or rinsing machines for crockery or tableware
    • A47L15/0018Controlling processes, i.e. processes to control the operation of the machine characterised by the purpose or target of the control
    • A47L15/0063Controlling processes, i.e. processes to control the operation of the machine characterised by the purpose or target of the control using remote monitoring or controlling of the dishwasher operation, e.g. networking systems
    • AHUMAN NECESSITIES
    • A47FURNITURE; DOMESTIC ARTICLES OR APPLIANCES; COFFEE MILLS; SPICE MILLS; SUCTION CLEANERS IN GENERAL
    • A47LDOMESTIC WASHING OR CLEANING; SUCTION CLEANERS IN GENERAL
    • A47L15/00Washing or rinsing machines for crockery or tableware
    • A47L15/42Details
    • A47L15/44Devices for adding cleaning agents; Devices for dispensing cleaning agents, rinsing aids or deodorants
    • A47L15/4418Devices for adding cleaning agents; Devices for dispensing cleaning agents, rinsing aids or deodorants in the form of liquids
    • DTEXTILES; PAPER
    • D06TREATMENT OF TEXTILES OR THE LIKE; LAUNDERING; FLEXIBLE MATERIALS NOT OTHERWISE PROVIDED FOR
    • D06FLAUNDERING, DRYING, IRONING, PRESSING OR FOLDING TEXTILE ARTICLES
    • D06F2103/00Parameters monitored or detected for the control of domestic laundry washing machines, washer-dryers or laundry dryers
    • DTEXTILES; PAPER
    • D06TREATMENT OF TEXTILES OR THE LIKE; LAUNDERING; FLEXIBLE MATERIALS NOT OTHERWISE PROVIDED FOR
    • D06FLAUNDERING, DRYING, IRONING, PRESSING OR FOLDING TEXTILE ARTICLES
    • D06F2105/00Systems or parameters controlled or affected by the control systems of washing machines, washer-dryers or laundry dryers
    • D06F2105/42Detergent or additive supply
    • DTEXTILES; PAPER
    • D06TREATMENT OF TEXTILES OR THE LIKE; LAUNDERING; FLEXIBLE MATERIALS NOT OTHERWISE PROVIDED FOR
    • D06FLAUNDERING, DRYING, IRONING, PRESSING OR FOLDING TEXTILE ARTICLES
    • D06F34/00Details of control systems for washing machines, washer-dryers or laundry dryers
    • D06F34/04Signal transfer or data transmission arrangements
    • D06F34/05Signal transfer or data transmission arrangements for wireless communication between components, e.g. for remote monitoring or control

Definitions

  • the invention relates firstly to a dosing device according to the preamble of claim 1.
  • dosing devices according to the present patent application are understood to be devices as described in the German patent applications DE 10 2011 108 396 A1 , DE 10 2011 119 021 A1 , EP 1181567 A2 , EP 12846800 A2 described.
  • Such dosing devices have at least one inlet or inlet connection and at least one outlet or outlet connection.
  • the dosing devices preferably have several inlets for the purpose of connection to several containers containing different media.
  • the dosing devices also have several outputs, so that a connection of the dosing device to several - parallel connected - target devices is possible.
  • malfunctions can occur in the dosing device or the target device.
  • a malfunction can include, for example, a disturbed operating functionality of the dosing device or the target device itself, or a defective water supply line on the target device, or, for example, an empty media container on the Dosing device.
  • Many other different malfunctions are also conceivable.
  • the invention has the object of further developing a dosing device of the generic type in such a way that the occurrence of malfunctions is reduced or can be better controlled.
  • control unit is assigned a communication interface which, after completion of the dosing process, transmits information about the successful execution of the dosing process to the target device.
  • the principle of the invention essentially consists in assigning a communication interface to the dosing device, in particular to the control unit on the dosing device.
  • the communication interface is designed and configured to transmit information about the dosing process to the target device after it has been carried out, and thus in particular after it has been carried out successfully.
  • a successful or completed dosing process can be determined by the dosing device, for example, if the dosing device was able to meet the corresponding requirements of the target device.
  • a completed or successful execution of the dosing process can be certified by the dosing device if the requested medium has been pumped in sufficient quantity, i.e. in accordance with the requested volume, by the pump assigned to the dosing device to the target device.
  • a message from the dosing device pump can help determine whether the dosing process is successful.
  • a pump is understood to mean any conveying device, in particular a hose pump, a diaphragm pump, a piston pump, but also any other suitable conveying device, such as a screw conveyor or a powder conveying device.
  • Other sensors or detectors that can be assigned to the dosing device can also be queried or taken into account when determining that a successful dosing has taken place.
  • the dosing device in particular its control unit, can detect conductivity or flow measurements and determine a positive dosing result when the correct measurement results are received. If the dosing device has a motor-driven actuator that can, for example, address different media inlets and can manage different communicative switching connections to the target device, the dosing device can also rely on a proper feedback or response function of the motor that a corresponding control has been carried out successfully.
  • control unit can address the communication interface on the dosing device side, from which information about the successful execution of the dosing process is transmitted to the target device.
  • a second communication interface on the target device side can be arranged on the target device, which receives the corresponding information.
  • a control device can be arranged on the target device, which can process this information.
  • the target device can therefore obtain the information that the dosing process has taken place or has been carried out successfully.
  • the invention enables the target device to take measures if necessary if appropriate information about the successful execution of the dosing process is not transmitted to the target device, or is not transmitted to the target device within a predetermined time. For example, if the target device does not receive information about the successful execution of the dosing process from the dosing device, it can take measures to prevent subsequent errors from occurring. For example, in the case of a target device designed as a textile commercial washing machine, the laundry to be treated could otherwise be damaged.
  • the target device can cancel or interrupt the washing or cleaning program to be carried out on the target device, or give the user an appropriate warning, for example acoustic or visual, about the presence of a fault.
  • the information transmitted to the target device that the dosing process has been carried out correctly enables further steps to be carried out on the target device within the scope of the washing or cleaning program selected or set there. This increases process reliability.
  • a dosing device for dosing and supplying media to a target device is capable of removing a predetermined amount, i.e. a predetermined volume, of medium from at least one container connected to the dosing device.
  • the dosing device is connected on the input side to a plurality of different containers, which are preferably filled with different media.
  • the dosing device can carry out a corresponding switching of the communication paths between the different inputs and the at least one output of the dosing device by activating a motor, in particular an actuator, and thus, for example, successively supply different components of the detergent to a commercial textile washing machine, or supply different media, i.e. different chemicals, at different times according to different washing steps of a washing process.
  • the target device is understood to be any suitable washing or cleaning device, in particular a commercial textile washing machine or a commercial dishwasher, or another device in which a washing, cleaning or disinfection process is carried out.
  • a dosing device is basically arranged separately from the target device and is not integrated into a conventional household washing machine or conventional dishwasher.
  • a dosing device according to the type according to the invention is designed to enable connection to a plurality of target devices, even a plurality of target devices of different types.
  • the dosing device has a control unit, which can be formed by a microprocessor, for example.
  • the control unit receives a request signal from the target device, in particular from a control unit of the target device.
  • the transmission of request signals can also take place via the communication interface that is assigned to the control unit.
  • the dosing device can remove the predetermined volume of the medium (predetermined in the case of different media present) from the corresponding container. Furthermore, this volume can be conveyed to the target device. In one embodiment of the invention, this is done by the control unit addressing a pump, i.e. a conveying device in the sense of the patent application, which removes and conveys the corresponding amount of media from the container for a predetermined time or a predetermined speed or, depending on the type of pump, by directly setting a volume.
  • a pump i.e. a conveying device in the sense of the patent application, which removes and conveys the corresponding amount of media from the container for a predetermined time or a predetermined speed or, depending on the type of pump, by directly setting a volume.
  • a communication interface is assigned to the control unit.
  • the communication interface can, for example, be designed as a connection socket for the plug of a connecting cable.
  • the communication interface can also carry out a wireless transmission of information to the target device.
  • a conventional transmission and reception standard can be used, for example using WLAN or BLUETOOTH.
  • the communication interface transmits information about the completion of the dosing process to the target device.
  • the information transmission can take place, for example, in the form of coded information, for example a bit sequence.
  • the invention also encompasses the transmission of information about the completion of the dosing process to the target device as a relay output signal, for example by applying a voltage or a voltage sequence.
  • the target device recognizes the transmitted information in the form of the applied voltage or in the form of the transmitted signal as information that the dosing process has been carried out by the dosing device.
  • a dosing device can be provided in terms of its structural design in particular by a device according to the applicants' patent applications mentioned at the outset.
  • the disclosure content of these patent applications described at the outset is hereby included in the content of the present patent application for the purpose of avoiding repetition and for the purpose of referring to individual features, including the inclusion of features in the features of this patent application.
  • the invention relates to a dosing device according to the preamble of claim 2.
  • the principle of the invention essentially consists in the exchange of data between a first communication interface on the dosing device side and a second communication interface on the target device side.
  • a large number of different pieces of information or details can be transmitted via the target device and/or the dosing device. This makes it possible to control dosing processes in an efficient and improved manner and to avoid faults or to treat the occurrence of faults in such a way that the resulting impairments can be kept to a minimum.
  • the invention solves the problem according to a third aspect with the features of claim 3, and is accordingly characterized in that the control unit is assigned a device for collision prevention, which, when colliding, in particular simultaneous, requirements for carrying out dosing processes from both target devices occur, prioritizes the dosing processes, in particular determines a processing sequence.
  • the principle of the invention is essentially that in a dosing device connected to two or more target devices is, in the event of a collision, a prioritization measure can be taken.
  • a collision prevention device is provided which is arranged in or on the dosing device.
  • the collision prevention device can, if necessary, carry out a prioritization of colliding dosing processes. For example, a processing sequence can be determined in the course of prioritizing dosing processes.
  • the collision prevention device is also designed and constructed in such a way that it can detect the existence of conflicting dosing requests. It is advantageously designed in such a way that, after detecting the existence of conflicting dosing requests, it initiates measures to prioritize the conflicting dosing processes.
  • Dosing processes can be prioritized, for example, according to importance or, alternatively, according to the order in which dosing requests are received. Other ordering or prioritization criteria can also be considered.
  • prioritization of the dosing processes can, according to the invention, in particular include that the dosing process that has already started is first - in every case - terminated and the second dosing process is only started after the first dosing process has been completed. This enables particularly reliable processing of conflicting dosing requests.
  • the dosing device transmits information to the target device whose request for a dosing process has been given lower priority, which takes the collision that has occurred into account.
  • the dosing device can transmit information to the target device that now has to wait or that has been given lower priority.
  • the information can be transmitted that the corresponding target device has to pause for a while.
  • it can also be communicated, for example, how long the target device has to wait, i.e. a period of time is transmitted that the dosing device will probably still need to complete the first - prioritized - dosing process that is currently taking place.
  • the target device can, for example, take measures - if necessary - to optimally carry out the washing or cleaning process that is being carried out on the target device - despite the required pause - for example by interrupting it.
  • the dosing device enables particularly efficient dosing and transmission of media to different target devices.
  • this enables the The design effort can be kept to a minimum because only one dosing device is required for several target devices.
  • only containers with the corresponding media need to be connected centrally to the dosing device, while still ensuring that all target devices are supplied with the medium. This can also significantly simplify the storage and warehousing as well as the procurement of media.
  • a first communication interface is assigned to the dosing device and a second communication interface is assigned to the target device. This enables bi-directional transmission of information about the target device and/or about the dosing device between the dosing device and the target device.
  • the two communication interfaces are connected to one another via an electrical line, in particular a signal line.
  • an electrical line in particular a signal line.
  • Such a wired connection between the two communication interfaces enables a particularly secure and optically visible connection. In the simplest case, this can be achieved using a cable that has plugs at both ends. The plugs can be inserted into the sockets provided on the dosing device and on the target device.
  • each communication interface is assigned a plug socket.
  • the two communication interfaces on the dosing device and on the target device are wirelessly connected to one another.
  • a wireless connection between two communication interfaces can be made using conventional standards. Standards such as WLAN or BLUETOOTH are particularly suitable.
  • each communication interface is assigned a transmitting and/or receiving module for wirelessly transmitting and/or receiving signals.
  • the dosing device is arranged and designed externally, i.e. separately, from the target device. It is therefore a dosing device that is not an integral part of the target device.
  • the invention relates to a method according to claim 12.
  • the subject matter of claim 12 is based on the task of specifying a method with which the occurrence of disturbances during the processing of dosing processes is reduced or made better controllable.
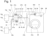
  • the dosing device - for the different embodiments - has been designated with the reference number 10, in particular with the addition of lower case letters.
  • a first embodiment of a dosing device 10a comprises a mixing distributor device 34 which - similar to the applicants' patent applications described at the outset - can consist of two disks, in particular an input disk 17 and an output disk 18, or comprises such disks 17, 18.
  • the input disk 17 of the dosing device 10a is assigned a pair of input-side connections 15a, 15b. These are connected via media lines 14a, 14b to two containers 12a, 12b, on each of which a medium 13a, 13b is arranged.
  • the medium is in particular a liquid, in particular a detergent, or a cleaning agent, or a disinfectant, or a component of one of the agents listed above, or an aid for a washing, or cleaning, or disinfection process.
  • the media are in powder form or provided by a fluid.
  • the number of media is arbitrary in the different embodiments. The same applies to the number of connected containers, the number of connections 15 on the input side of the dosing device 10a, and the number of outputs 16 on the output side of the respective dosing device 10, 10a.
  • the dosing device 10a has only a single output connection 16, which connects the dosing device 10a to a target device 11 via a conveying line 26.
  • this target device also serves as an example for other suitable target devices, such as commercial dishwashers, or other washing or cleaning or disinfection or processing or treatment facilities or systems or machines.
  • the input disk 17 and the output disk 18 are rotatable relative to each other about a rotation axis 19.
  • One disk 18 can be set in relative motion relative to the other disk 17 by a motor 20 which is only indicated schematically. Construction details are shown in Fig. 1 not shown, and are left to the expert, who can derive corresponding suggestions, for example, from the applicants' patent applications described at the beginning.
  • the dosing device 10a has a control device 21, which is only indicated in block diagram form as a black box.
  • the control unit 21 is connected to a communication interface 22 on the dosing device side via a signal or control line 27a.
  • the communication interface 22 is in turn connected to a Fig. 1 shown communication line 25 is connected to the target device 11.
  • the control unit 21 is also connected to a pump 23 via a control or signal line 27b.
  • the control unit 21 can control the pump 23 via the signal line 27b and cause it to suck a certain amount of medium through the mixing distributor device 34 out of the respective container 12a or 12b and then convey it through the fluid line 26 to the target device 11.
  • the control unit 21 is further connected to the motor 20 via the signal line 27d and can address the motor to cause one of the input-side terminals 15a, 15b to be communicatively connected to the output 26.
  • a certain amount of medium 13a, 13b can be removed from the corresponding container 12a, 12b, that is, pumped out and at the same time pumped through the delivery line 26 to the target device 11.
  • the control unit 21 is also connected via a signal line 27c to a schematically indicated sensor 24, or detector.
  • the detector can be, for example, a flow meter, i.e. a flow measuring device, or alternatively a conductivity sensor. There could also be several, in Fig. 1 Detectors or sensors 24 (not shown) can be used, all of which can report their measurement results to the control unit 21.
  • the control unit 21 is thus able to carry out or initiate dosing processes and to determine whether dosing processes have been carried out successfully. For example, such a determination as to whether a dosing process has been carried out correctly can depend on whether the control unit 21 receives corresponding, expected or possibly within an expected range of feedback after the motor 20 and/or pump 23 and/or a corresponding sensor 24 have responded. For example, in the event that the sensor 24 is designed as a conductivity measuring sensor, when the pump 23 responds and a certain medium 13a, 13b is conveyed, it can be expected that a certain conductivity will be detected by the conductivity measuring sensor at a certain point in time. If the expected conductivity is measured, the dosing process can be classified as completed or successful by the control unit 21.
  • control unit 21 can be expected to pump a specific amount, i.e. a specific volume, of fluid through a specific measuring range, for example a measuring range of a flowmeter 24, when the pump 23 responds. If the control unit 21 detects a corresponding response signal from the flowmeter, or at least does not receive a corresponding interference signal from the connected unit 23, 24 or 20, the control unit 21 can assume that the dosing process to be carried out was successful or carried out correctly.
  • control unit 21 receives corresponding interference signals or does not receive the expected feedback, it can assume that the dosing process has not taken place or has not been carried out successfully.
  • the first communication interface 22 is designed and configured to transmit a corresponding signal or corresponding information about a completed dosing to the target device 11 via the communication line 25.
  • the target device 11 has Fig. 1 a program selector switch 28 which enables the setting of a washing or cleaning program.
  • This program selector switch is connected to a control unit 29 of the target device 11 via a signal line 32b.
  • the control unit 29 corresponds, at least with regard to its block diagram function, to the control unit 21 of the dosing device 10a of the Fig. 1 .
  • the control unit 29 is connected to a target device-side communication interface 30 via a signal line 32a. This is in turn connected to the signal or connection line or communication line 25.
  • the control unit 29 is shown Fig. 1 furthermore connected to a sensor or detector 31b via a signal line 32d, and connected to a sensor or detector 31a via a signal line 32c.
  • the two sensors 31a, 31b can, for example, determine or monitor the presence of liquid or medium, in particular the presence of water, or the presence of a certain conductivity, or temperature, or pH value, or a certain quantity, for example a maximum or minimum amount of liquid present, for example a fill level, and transmit corresponding measured values or measurement results to the control unit 29.
  • the execution of a washing process and the transmission of dosing information can be carried out in one embodiment of the Fig. 1 for example, as follows: After a user has set a washing program on the target device 11 via the program selector switch 28, the control device 29 can use the second communication interface 30 to send a dosing request to the dosing device 10a. For example, in order to carry out a specific washing program, it may be required in a first step that the medium 13a is supplied in a predetermined amount at a predetermined time.
  • the control unit 29 transmits this information via the second communication interface 30 and the connecting line 25 to the first communication interface 22 and to the control unit 21 of the dosing device 10a.
  • the dosing device 10a can now initiate the corresponding dosing process and, by activating the motor 20 and subsequently activating the pump 23, initiate a corresponding delivery of the required amount of medium to the target device 11.
  • a corresponding success signal can be transmitted via the communication interface 22 by feedback via the connecting line 25 to the communication interface 30 on the target device side.
  • the control unit 29 can take note of the dosing success and then, in a second step, for example, make a subsequent dosing request or carry out a suitable measure on the target device itself, for example introducing fresh water, or increasing the temperature, or carrying out a washing drum rotation, etc.
  • the control device 29 In the event that one of the sensors 31b, 31a in the target device 11 or the control device 29 detects the occurrence of any fault, for example that the water supply to the target device 11 is interrupted, or incorrect feedback values are received from the units connected to the control device 29, in particular the sensors 31a, 31b, information that a fault is present can be transmitted to the dosing device 10a. This can then, for example, interrupt the dosing process for this target device 11.
  • control unit 21 determines after carrying out a dosing process that this is not has been properly completed, a corresponding signal is transmitted to the target device 11, or at least a signal indicating that dosing has been carried out successfully is not transmitted. From this, the control device 29 of the target device 11 can recognize or conclude that the dosing has not been carried out properly. Upon receipt and knowledge of this signal, the control device 29 can then initiate appropriate measures to ensure that no further subsequent problems arise. In particular, the control device 29 can, for example, interrupt the further washing process and/or initiate an appropriate acoustic or optical display for the user of the target device, which draws attention to the fact that an error has occurred during the dosing process.
  • information can be exchanged about the manufacturer of the target device and/or the manufacturer of the dosing device. This allows the other device to adjust to the device, depending on the specifics of the manufacturer's information. For example, it can be stipulated that different manufacturers expect or take into account different special features when carrying out the washing or cleaning process, so that an optimized working method can be achieved.
  • technical information about the target device and/or the dosing device can be transmitted. This includes, for example, information about a performance class of the target device or information about the possible number of different media or containers that can be connected or are connected to a dosing device and/or about the number of target devices that can be connected or are connected to a dosing device.
  • the status of the target device and/or the status of the dosing device can be transmitted. This can ensure, for example, that dosing only actually takes place when the target device is in a corresponding status of a washing or cleaning process.
  • information about the presence or absence of a fault on the target device and/or information about the presence or absence of a fault on the dosing device can be transmitted.
  • the other device can take the status of the device into account and initiate appropriate measures with the aim of preventing a fault or preventing subsequent faults from occurring.
  • the target device can transmit information about the washing program to be carried out to the dosing device. This can include information about the media to be used in the washing program or cleaning program to be carried out and the times at which they are to be used. There is also the possibility, particularly in the case that several target devices are connected to the dosing device, that the dosing device can Goals of optimized dosing overall, decides for itself when to carry out certain dosing processes.
  • it can be designed to handle the prioritization of conflicting dosing requests. In particular, it can be further designed to prevent such a possible collision of conflicting dosing requests in advance. This can be done, for example, by the dosing device transmitting information to the corresponding target device or, if necessary, to several target devices that dosing will be ready at certain times. The target device can then adapt or optimize its own washing and/or cleaning process based on knowledge of the operating status of the dosing device or on knowledge of a soon-to-be-expected, possibly changing operating status of the dosing device.
  • the metering device designated there with 10b has two mixing distributor devices 34a and 34b. These are connected to one another via an intermediate line 35 and are arranged geometrically inverted to one another.
  • the first mixing distribution device 34b has an input disk 17a with three connections 15a, 15b, 15c, and an output disk 18a that can be rotated relative thereto and can be controlled via a motor 20b.
  • the only output 16d is connected via the intermediate line 35 to the only input 15d of the second mixing distribution device 34a. Its input disk 17b can be rotated about the axis of rotation 19, i.e. relative to the second output disk 18b, via the second motor 20a.
  • Three output connections 16a, 16b, 16c are connected to the output disk 18b.
  • Fluid delivery lines 26a, 26b are only shown for the two output connections 16a, 16c, which lead to corresponding target devices 11a, 11b.
  • a first pump 23a is connected to the first fluid line 26a and a second pump 23b is connected to the second fluid line 26b.
  • the target device that can be connected to the third connection line 26c is in Fig. 2 not shown for the sake of clarity.
  • control unit 21 is designed to carry out a control via the several signal lines 27a, 27b, 27c, 27d, 27e, 27f, which functions approximately as follows:
  • a dosing request is received from a corresponding target device 11a or 11b via the corresponding signal line 25a or 25b
  • a corresponding fluid connection is first established between the relevant container 12a, 12b, 12c and the corresponding delivery line 26a and 26b by activating the two motors 20a, 20b.
  • the specified delivery quantity of volume is then delivered to the corresponding target device 11a or 11b by activating the respective pump 23a or 23b.
  • only a single pump 23c can be provided in the region of the intermediate line 35, as shown in dashed lines.
  • control unit 21 can contain an integrated or separate device 36 for collision prevention, which ensures, for example, that if a dosing process has begun, this is first completed before a second dosing process requested at the same time as the first dosing process is carried out is started and processed.
  • an importance scale can be introduced - and used when processing dosing processes - which takes into account, for example, that certain target devices should not or may not pause for an indefinite length of time, at least at certain times during certain washing or cleaning processes.
  • dosing processes could be brought forward under certain circumstances, including the possibility that dosing processes that have already begun are aborted and paused in order to be continued again later, after a second dosing process has been carried out.
  • the dosing device 10b or the The collision prevention device 36 integrated in the control unit 21 ensures that the target device that has a lower priority, i.e. that has to wait a little, for example, is informed that the dosing process cannot or will only begin later, for example a few minutes later.
  • the control unit 21 or the communication interface 22 can transmit a corresponding collision signal via the respective connecting line 25a, 25b to the respective control device 29a, 29b, or to the respective target device-side communication interface 30a, 30b of the target device 11a, 11b.
  • the corresponding target device 11a, 11b After receiving corresponding collision information, the corresponding target device 11a, 11b can adjust to it, and the control device 29a, 29b connected to the corresponding target device 11a, 11b can initiate a corresponding measure on the corresponding target device 11a, 11b if necessary.
  • the mixing distributor device designated 34a in the Fig. 2 illustrated embodiment is designed such that when a communication path is provided between the input connection 15d of the input disk 17b and one of the output connections 16a, 16b, 16c of the output disk 18b, for example the output connection 16a, the remaining output connections 16b, 16c are blocked.
  • the second mixing distributor device 34a is designed such that the output connections (for example 16b, 16c) that are not connected to the input connection 15d are not blocked, but remain open after the corresponding flushing of the associated fluid delivery line 26b, 26c.
  • the output connections for example 16b, 16c
  • a first mixing distributor device 34a has an input disk 17a and an output disk 18a.
  • the input disk 17a has - for the sake of simplicity - only one input connection 15a
  • the output disk 18a has - also for the sake of simplicity - only two output connections 16a, 16b.
  • the output connection 16a is connected to a second mixing distribution device 34b via a first intermediate line 35a and the second connection 16b is connected to a third mixing distribution device 34c via a second intermediate line 35b.
  • the second mixing distributor device 34b also has an input disk 17b and an output disk 18b, which are rotatable relative to each other about a rotation axis 19b.
  • the third mixing distributor device 34c has a first input disk 17c and a second output disk 18c, which are rotatable relative to each other about a rotation axis 19c.
  • Each of the two output disks 18b, 18c has three output connections 16c, 16d, 16e and 16f, 16g, 16h.
  • Fig. 3 it is possible to connect a plurality of, in the present embodiment, Fig. 3 , a total of six target devices can be connected. For the sake of clarity, Fig. 3 but only two target devices 11a and 11f are shown.
  • the dosing device 10c can also control or prevent a collision of simultaneous dosing requests from different target devices 11a, 11f via the communication interface 22 by means of the collision prevention device 36 integrated in the control unit 21.
  • Fig. 3 shows a cascade of mixing distribution devices 34a, 34b, 34c with the result that a plurality of target devices 11a, 11b can be supplied with one medium or with different media by means of a single dosing device 10c.
  • the embodiment of the Fig. 3 also includes variants in which a plurality of containers, in particular a plurality of different media, are connected to the dosing device 10.
  • the device 36 for preventing collisions can be an integral part of the corresponding control unit 21 on the dosing device 10, or can also be designed separately from this.
  • the device 36 for preventing collisions can be formed by a microprocessor or be part of the control unit 21 of the dosing device 10, 10a, 10b, 10c.

Landscapes

  • Engineering & Computer Science (AREA)
  • Textile Engineering (AREA)
  • Devices For Dispensing Beverages (AREA)
  • Loading And Unloading Of Fuel Tanks Or Ships (AREA)
  • Detail Structures Of Washing Machines And Dryers (AREA)

Abstract

Dargestellt und beschrieben ist unter anderem eine Dosiereinrichtung (10, 10a, 10b, 10c) zur Dosierung und Zuführung von Medien (13a, 13b, 13c) zu einem Zielgerät (11, 11a, 11b, 11c, 11d, 11e, 11f), insbesondere zu einer gewerblichen textilen Waschmaschine, wobei die Dosiereinrichtung mit wenigstens einem Behältnis (12a, 12b, 12c) verbunden ist, das mit einem Medium befüllt ist, und wobei der Dosiereinrichtung eine Steuereinheit (21) zugeordnet ist, die nach Erhalt eines Anforderungssignals von dem Zielgerät einen Dosierprozess durchführt, und hierzu unter Zuhilfenahme einer Pumpe (23, 23a, 23b, 23c) eine Entnahme eines vorherbestimmten Volumens an Medium aus dem Behältnis und eine Förderung dieses Volumens hin zu dem Zielgerät vornimmt, wobei der Steuereinheit eine Kommunikationsschnittstelle (22) zugeordnet ist, die nach Abschluss des Dosierprozesses eine Information über die erfolgte Durchführung des Dosierprozesses an das Zielgerät übermittelt.

Description

  • Die Erfindung betriff zunächst eine Dosiereinrichtung gemäß Oberbegriff des Anspruches 1.
  • Dosiereinrichtungen der gattungsgemäßen Art werden von der Anmeldergemeinschaft und dem damit im Zusammenhang stehenden Unternehmen seit geraumer Zeit entwickelt und gefertigt.
  • Insbesondere werden als Dosiereinrichtungen gemäß der vorliegenden Patentanmeldung solche Einrichtungen verstanden, wie sie in den deutschen Patentanmeldungen DE 10 2011 108 396 A1 , DE 10 2011 119 021 A1 , EP 1181567 A2 , EP 12846800 A2 beschrieben sind.
  • Derartige Dosiereinrichtungen weisen mindestens einen Eingang oder Eingangsanschluss und mindestens einen Ausgang oder Ausgangsanschluss auf. Vorzugweise weisen die Dosiereinrichtungen mehrere Eingänge auf, zwecks Anschluss an mehrere Behältnisse, die unterschiedliche Medien aufweisen.
  • Gemäß einer Ausführungsform weisen die Dosiereinrichtungen auch mehrere Ausgänge auf, so dass ein Anschluss der Dosiereinrichtung an mehrere - parallel geschaltete - Zielgeräte möglich ist.
  • Beim Betrieb der Dosiereinrichtungen der gattungsgemäßen Art können Situationen auftreten, die aus dem Regelbetrieb herausfallen. Beispielsweise können an der Dosiereinrichtung oder am Zielgerät Störungen auftreten. Eine Störung kann beispielsweise eine gestörte Betriebsfunktionalität der Dosiereinrichtung oder des Zielgeräts selbst beinhalten, oder eine defekte Wasserzuleitung am Zielgerät, oder zum Beispiel einen Leerstand eines Medienbehältnisses an der Dosiereinrichtung. Auch viele andere, unterschiedliche Störfälle sind denkbar.
  • Die Erfindung stellt sich die Aufgabe, eine Dosiereinrichtung der gattungsgemäßen Art derartig weiterzuentwickeln, dass ein Auftreten von Störungen reduziert oder besser beherrschbar ist.
  • Die Erfindung löst diese Aufgabe mit den Merkmalen des Anspruches 1, insbesondere mit denen des Kennzeichenteils, und ist demgemäß dadurch gekennzeichnet, dass der Steuereinheit eine Kommunikationsschnittstelle zugeordnet ist, die nach Abschluss des Dosierprozesses eine Information über die erfolgte Durchführung des Dosierprozesses an das Zielgerät übermittelt.
  • Das Prinzip der Erfindung besteht im wesentlichen darin, der Dosiereinrichtung, insbesondere der Steuereinheit an der Dosiereinrichtung, eine Kommunikationsschnittstelle zuzuordnen. Die Kommunikationsschnittstelle ist dazu ausgebildet, und eingerichtet, nach erfolgter, und damit insbesondere nach erfolgreicher, Durchführung des Dosierprozesses eine Information darüber an das Zielgerät zu übermitteln.
  • Ein erfolgreicher bzw. erfolgter Dosierprozess kann von der Dosiereinrichtung beispielsweise festgestellt werden, wenn die Dosiereinrichtung den entsprechenden Anforderungen des Zielgerätes gerecht werden konnte. Beispielsweise kann eine erfolgte bzw. erfolgreiche Durchführung des Dosierprozesses von der Dosiereinrichtung testiert werden, wenn das angeforderte Medium in ausreichender Menge, also gemäß dem angeforderten Volumen, von der der Dosiereinrichtung zugeordneten Pumpe hin zu dem Zielgerät gepumpt worden ist.
  • Beispielsweise kann insoweit eine Meldung der Pumpe der Dosiereinrichtung zu der Feststellung eines erfolgreichen Dosierprozesses beitragen.
  • An dieser Stelle sei angemerkt, dass als Pumpe im Rahmen der vorliegenden Patentanmeldung jede Fördereinrichtung, insbesondere eine Schlauchpumpe, eine Membranpumpe, eine Kolbenpumpe, aber auch eine beliebige andere, geeignete Fördereinrichtung, wie eine Förderschnecke oder eine Pulverfördereinrichtung, verstanden wird.
  • Auch andere Sensoren, bzw. Detektoren, die der Dosiereinrichtung zugeordnet sein können, können im Rahmen der Feststellung, dass eine erfolgreiche Dosierung erfolgt ist, abgefragt oder berücksichtigt werden. Beispielsweise kann die Dosiereinrichtung, insbesondere deren Steuereinheit, eine Detektierung von Leitfähigkeiten oder Strömungs-Messungen durchführen, und bei Erhalt ordnungsgemäßer Messergebnisse ein positives Dosierergebnis feststellen. Auch kann die Dosiereinrichtung, für den Fall, dass die Dosiereinrichtung ein motorisch angetriebenes Stellglied aufweist, welches zum Beispiel unterschiedliche Medieneinlässe ansprechen kann, und unterschiedliche kommunikative Schaltverbindungen zu dem Zielgerät hin bewerkstelligen kann, auf eine ordnungsgemäße Rückkopplungs- oder Antwortfunktion des Motors, dass eine entsprechende Ansteuerung erfolgreich durchgeführt worden ist, zurückgreifen.
  • Sobald die Dosiereinrichtung das Vorliegen einer erfolgten oder erfolgreichen Durchführung des Dosierprozesses festgestellt hat, kann die Steuereinheit die dosiereinrichtungsseitige Kommunikationsschnittstelle ansprechen, von der eine Information über die erfolgte Durchführung des Dosierprozesses an das Zielgerät übermittelt wird.
  • An dem Zielgerät kann eine zielgerätseitige, zweite Kommunikationsschnittstelle angeordnet sein, die die entsprechenden Informationen empfängt. An dem Zielgerät kann insbesondere ein Steuergerät angeordnet sein, welches diese Informationen verarbeiten kann.
  • Das Zielgerät kann also die Information erlangen, dass der Dosierprozess erfolgt ist, bzw. erfolgreich durchgeführt worden ist.
  • Die Erfindung ermöglicht dem Zielgerät im Bedarfsfalle Maßnahmen zu ergreifen, falls eine entsprechende Information über eine erfolgte Durchführung des Dosierprozesses nicht an das Zielgerät übermittelt wird, oder nicht innerhalb einer vorgegebenen Zeit an das Zielgerät übermittelt wird. Beispielsweise kann das Zielgerät für den Fall, dass es eine Information über eine erfolgte Durchführung des Dosierprozesses von der Dosiereinrichtung nicht erhält, Maßnahmen ergreifen, um zu verhindern, dass Folgefehler entstehen. Beispielsweise im Falle eines als textile gewerbliche Waschmaschine ausgebildeten Zielgerätes könnte ansonsten die zu behandelnde Wäsche Schaden nehmen. Beispielsweise kann das Zielgerät im Falle des Nicht-Erhalts einer ordnungsgemäßen Rückmeldung von der Dosiereinrichtung über einen erfolgten Dosierprozess das an dem Zielgerät durchzuführende Wasch- oder Reinigungsprogramm abbrechen, oder unterbrechen, oder dem Benutzer einen entsprechenden Warnhinweis, zum Beispiel akustischer oder optischer Art, über das Vorliegen einer Störung ausgeben.
  • Andererseits ermöglicht die an das Zielgerät übermittelte Information einer ordnungsgemäß erfolgten Abarbeitung des Dosierprozesses die Einleitung weiterer, am Zielgerät durchzuführender Schritte im Rahmen des dort gewählten oder eingestellten Wasch- oder Reinigungsprogramms. Die Prozesssicherheit wird dadurch erhöht.
  • Gemäß der Erfindung ist eine Dosiereinrichtung zur Dosierung und Zuführung von Medien zu einem Zielgerät in der Lage, eine vorherbestimmte Menge, also ein vorherbestimmtes Volumen, an Medium, aus wenigstens einem an die Dosiereinrichtung angeschlossenen Behältnis zu entnehmen.
  • Gemäß einer Ausführungsform der Erfindung ist die Dosiereinrichtung eingangsseitig mit einer Vielzahl unterschiedlicher Behältnisse verbunden, die vorzugsweise mit unterschiedlichen Medien befüllt sind. Die Dosiereinrichtung kann gemäß einer Ausführungsform der Erfindung zwischen den unterschiedlichen Eingängen und dem wenigstens einem Ausgang der Dosiereinrichtung durch Ansprechen eines Motors, insbesondere eines Stellgliedes, eine entsprechende Schaltung der Kommunikationswege vornehmen, und so beispielsweise sukzessive einer gewerblichen Textilwaschmaschine unterschiedliche Bestandteile des Waschmittels zuführen, oder zu unterschiedlichen Zeitpunkten gemäß unterschiedlichen Waschschritten eines Waschprozesses unterschiedliche Medien, das heißt, unterschiedliche Chemikalien, zukommen lassen.
  • Als Zielgerät wird im Sinne der vorliegenden Patentanmeldung jegliches geeignete Wasch- oder Reinigungsgerät, insbesondere eine gewerbliche Textilwaschmaschine oder eine gewerbliche Spülmaschine, oder ein anderes Gerät verstanden, in dem ein Wasch- oder Reinigungs- oder Desinfektionsprozess durchgeführt wird.
  • Eine Dosiereinrichtung gemäß der erfindungsgemäßen Art ist grundsätzlich gesondert von dem Zielgerät angeordnet, und nicht in eine herkömmliche Haushaltswaschmaschine, oder herkömmliche Geschirrspülmaschine integriert.
  • Insbesondere ist eine Dosiereinrichtung gemäß der erfindungsgemäßen Art dazu ausgebildet, einen Anschluss an mehrere Zielgeräte, auch mehrere Zielgeräte unterschiedlicher Art, zu ermöglichen.
  • Die Dosiereinrichtung weist gemäß der Erfindung eine Steuereinheit auf, die beispielsweise von einem Mikroprozessor gebildet sein kann. Die Steuereinheit erhält von dem Zielgerät, insbesondere von einem Steuergerät des Zielgerätes, ein Anforderungssignal. Die Übermittlung von Anforderungssignalen kann ebenfalls über die Kommunikationsschnittstelle erfolgen, die der Steuereinheit zugeordnet ist.
  • Nach Erhalt des Anforderungssignals kann die Dosiereinrichtung eine Entnahme des vorherbestimmten Volumens des (im Falle unterschiedlicher vorhandener Medien vorherbestimmten) Mediums aus dem entsprechenden Behältnis vornehmen. Des weiteren kann eine Förderung dieses Volumens zu dem Zielgerät hin vorgenommen werden. Dies geschieht in einem Ausführungsbeispiel der Erfindung dadurch, dass die Steuereinheit eine Pumpe, also im Sinne der Patentanmeldung eine Fördereinrichtung, anspricht, die für eine vorgegebene Zeit oder eine vorgegebene Drehzahl oder je nach Pumpenart durch unmittelbare Einstellung eines Volumens die entsprechende Medienmenge aus dem Behältnis entnimmt und fördert.
  • Gemäß der Erfindung ist der Steuereinheit eine Kommunikationsschnittstelle zugeordnet. Die Kommunikationsschnittstelle kann beispielsweise als Anschlussbuchse für den Stecker einer Verbindungsleitung ausgebildet sein. Die Kommunikationsschnittstelle kann allerdings auch eine drahtlose Übermittlung von Informationen zu dem Zielgerät vornehmen. Beispielsweise kann im Falle einer drahtlosen Kommunikation ein herkömmlicher Sende- und Empfangsstandard, zum Beispiel unter der Benutzung von WLAN oder BLUETOOTH erfolgen.
  • Gemäß der Erfindung übermittelt die Kommunikationsschnittstelle nach Abschluss des Dosierprozesses eine Information über die erfolgte Durchführung des Dosierprozesses an das Zielgerät. Die Informationsübermittlung kann beispielsweise in Form einer kodierten Information, zum Beispiel einer bit-Folge, erfolgen. Dies ist insbesondere von Vorteil, wenn die Verbindung zwischen der dosiereinrichtungsseitigen Kommunikationsschnittstelle und der zielgerätseitigen Kommunikationsschnittstelle als Signalleitung, sei es als kabelgebundene, oder als drahtlose Signalleitung, ausgestaltet ist.
  • Von der Erfindung ist allerdings auch umfasst, wenn eine Informationsübermittlung über die erfolgte Durchführung des Dosierprozesses an das Zielgerät als Relais-Ausgangssignal, beispielsweise durch Anlegen einer Spannung oder einer Spannungsfolge, erfolgt.
  • Wesentlich ist, dass das Zielgerät die übermittelte Information in Form der anliegenden Spannung oder in Form des übermittelten Signals als Information erkennt, dass eine Durchführung des Dosierprozesses von der Dosiereinrichtung vorgenommen worden ist.
  • Eine Dosiereinrichtung gemäß der erfindungsgemäßen Art kann bezüglich ihres konstruktiven Aufbaus insbesondere durch eine Vorrichtung gemäß der eingangs erwähnten Patentanmeldungen der Anmelderinnen bereitgestellt werden. Der Offenbarungsgehalt dieser eingangs geschilderten Patentanmeldungen wird hiermit zum Zwecke der Vermeidung von Wiederholungen und zum Zwecke der Bezugnahme auf einzelne Merkmale, einschließlich der Aufnahme von Merkmalen in die Merkmale dieser Patentanmeldung, in den Inhalt der vorliegenden Patentanmeldung mit eingeschlossen.
  • Die Erfindung betrifft gemäß einem weiteren Aspekt eine Dosiereinrichtung nach dem Oberbegriff des Anspruches 2.
  • Die Erfindung löst die oben gestellte Aufgabe auch mit den Merkmalen des Anspruches 2, und ist demgemäß dadurch gekennzeichnet, dass der Steuereinheit eine dosiereinrichtungsseitige Kommunikationsschnittstelle und dem Steuergerät eine zielgerätseitige Kommunikationsschnittstelle zugeordnet ist, wobei zwischen Steuergerät und Steuereinheit über die beiden, miteinander verbundenen Kommunikationsschnittstellen ein Austausch von Daten erfolgt, die zumindest eine der nachfolgend aufgeführten Informationen über das Zielgerät und/oder über die Dosiereinrichtung enthalten:
    1. a) Informationen über das Zielgerät:
      1. i) Angaben über den Hersteller des Zielgerätes,
      2. ii) technische Angaben über das Zielgerät, insbesondere Angabe einer Leistungsklasse,
      3. iii) Angaben über den Status des Zielgerätes, insbesondere Angaben über ein eingestelltes Wasch- oder Reinigungsprogramm und/oder über einen Status eines Wasch- oder Reinigungsprogramms
      4. iv) Angaben über das Vorliegen oder das Nicht-Vorliegen einer Störung am Zielgerät,
      5. v) Angaben über eine Dosieranforderung,
      6. vi) Angaben über die das durchzuführenden Waschprogramm, insbesondere Angaben über die in einem durchzuführenden Waschprogramm einzusetzenden Medien,
      7. vii) Angaben über einen spezifischen Schritt oder über mehrere spezifische Schritte eines Waschprogramms, insbesondere Angaben über die einzusetzenden Medien,
      8. viii) Angaben über einen Abbruch eines Waschprogramms.
    2. b) Informationen über die Dosiereinrichtung:
      • ix) Angaben über den Hersteller des Dosiereinrichtung,
      • x) technische Angaben über die Dosiereinrichtung,
      • xi) Angaben über die an die Dosiereinrichtung angeschlossenen Medien
      • xii) Angaben über die an die Dosiereinrichtung angeschlossenen weiteren Zielgeräte
      • xiii) Angaben über den Status der Dosiereinrichtung, insbesondere Angaben über einen Status eines Dosierprozesses oder Angabe eines Bereitschaftszustandes der Dosiereinrichtung oder Angabe eines Belegt-Zustandes der Dosiereinrichtung,
      • xiv) Angaben über einen Zeitpunkt, zu dem die Dosiereinrichtung voraussichtlich wieder in einen Bereitschaftszustand zurückkehren wird,
      • xv) Angaben über das Vorliegen oder das Nicht-Vorliegen einer Störung an der Dosiereinrichtung,
      • xvi) Angaben über einen Abbruch eines Dosierprozesses,
      • xvii) Angaben über einen erfolgten und/oder erfolgreich durchgeführten Dosierprozess,
      • xviii) Angaben über einen Füllzustand eines Behältnisses eines Mediums, insbesondere Angaben über einen Leerstand eines Mediums.
  • Das Prinzip der Erfindung besteht im wesentlichen darin, dass zwischen einer dosiereinrichtungsseitigen ersten Kommunikationsschnittstelle und einer zielgeräteseitigen zweiten Kommunikationsschnittstelle ein Datenaustausch erfolgt. Übermittelt werden können eine Vielzahl unterschiedlicher Informationen oder Angaben über das Zielgerät und/oder über die Dosiereinrichtung. Hierdurch besteht die Möglichkeit, in effizienter und verbesserter Weise Dosierprozesse zu steuern, und Störungen zu vermeiden, bzw. das Auftreten von Störungen so zu behandeln, dass die sich daraus ergebenden Beeinträchtigungen gering gehalten werden können.
  • Bezüglich der Vorteile einer Dosiereinrichtung nach Anspruch 2 und der diesbezüglichen Auslegung der Merkmale kann auf die oben, zu Anspruch 1 erfolgten Ausführungen verwiesen werden.
  • Die Erfindung löst die Aufgabe gemäß einem dritten Aspekt mit den Merkmalen des Anspruches 3, und ist demgemäß dadurch gekennzeichnet, dass der Steuereinheit eine Vorrichtung zur Kollisionsverhinderung zugeordnet ist, die bei Auftreten kollidierender insbesondere zeitgleicher, Anforderungen der Durchführung von Dosierprozessen von beiden Zielgeräten eine Priorisierung der Dosierprozesse vornimmt, insbesondere eine Bearbeitungsreihenfolge festlegt.
  • Das Prinzip der Erfindung besteht im wesentlichen darin, dass bei einer Dosiereinrichtung, die an zwei oder mehr Zielgeräte angeschlossen ist, im Kollisionsfalle eine Priorisierungs-Maßnahme ergriffen werden kann. Hierzu ist gemäß der Erfindung eine Kollisionsverhinderungsvorrichtung vorgesehen, die in oder an der Dosiereinrichtung angeordnet ist. Die Kollisionsverhinderungsvorrichtung kann im Bedarfsfalle eine Priorisierung kollidierender Dosierprozesse vornehmen. Beispielsweise kann im Zuge der Priorisierung von Dosierprozessen eine Bearbeitungsreihenfolge festgelegt werden.
  • Die Vorrichtung zur Kollisionsverhinderung ist darüber hinaus so eingerichtet und ausgebildet, dass sie das Vorliegen kollidierender Dosieranforderungen feststellen kann. Sie ist vorteilhafterweise so ausgerichtet, dass sie nach Feststellung des Bestehens kollidierender Dosieranforderungen Maßnahmen zur Priorisierung der kollidierenden Dosierprozesse einleitet.
  • Eine Priorisierung der Dosierprozesse kann zum Beispiel nach Wichtigkeit, oder alternativ nach der Reihenfolge des zeitlichen Eingangs der Dosieranforderungen vorgenommen werden. Auch andere Ordnungs- oder Priorisierungskriterien kommen in Betracht.
  • Für den Fall, dass ein Dosierprozess bereits begonnen worden ist, und nachfolgend eine zweite Dosierprozessanforderung bei der Dosiereinrichtung eingeht, kann erfindungsgemäß eine Priorisierung der Dosierprozesse insbesondere umfassen, dass der bereits begonnene Dosierprozess zunächst - in jedem Falle - beendet wird, und erst nach Abschluss des ersten Dosierprozesses der zweite Dosierprozess begonnen wird. Dies ermöglicht eine besonders sichere Abarbeitung kollidierender Dosieranforderungen.
  • Bezüglich der Vorteile der Lehre des Anspruches 3 und der Auslegung der Merkmale des Anspruches 3 kann - zur Vermeidung von Wiederholungen - auf die obigen Ausführungen zu den Ansprüchen 1 und 2 verwiesen werden.
  • Gemäß einer vorteilhaften Ausgestaltung der Erfindung ist vorgesehen, dass die Dosiereinrichtung an das Zielgerät, dessen Anforderung an einen Dosierprozess nachranging priorisiert worden ist, eine Information übermittelt, die die aufgetretene Kollision berücksichtigt. Beispielsweise kann die Dosiereinrichtung demjenigen Zielgerät, welches nun warten muss, oder welches nachrangig priorisiert worden ist, eine diesbezügliche Information übermitteln. Beispielsweise kann - in einem einfachsten Fall - die Information übermittelt werden, dass das entsprechende Zielgerät eine zeitlang pausieren muss. Es kann aber zum Beispiel auch mitgeteilt werden, wie lange das Zielgerät warten muss, das heißt, es wird eine Zeitdauer übermittelt, die die Dosiereinrichtung voraussichtlich noch benötigt, um den gerade stattfindenden ersten - priorisierten - Dosierprozess abzuschließen.
  • Das Zielgerät kann nach Erhalt einer entsprechenden Information beispielsweise - soweit erforderlich - Maßnahmen durchführen, um den Wasch- oder Reinigungsprozess, der am Zielgerät durchgeführt wird - trotz der erforderlichen Pausierung - optimal durchzuführen, zum Beispiel zu unterbrechen.
  • Gemäß einer weiteren vorteilhaften Ausgestaltung der Erfindung sind an die Dosiereinrichtung mehrere Behältnisse mit unterschiedlichen Medien angeschlossen. Dies ermöglicht eine Durchführung auch sehr komplexer Wasch- oder Reinigungsprozesse.
  • Gemäß einer weiteren vorteilhaften Ausgestaltung der Erfindung sind an die Dosiereinrichtung mehrere Zielgeräte angeschlossen. Dies ermöglicht eine besonders effiziente Dosierung und Übermittlung von Medien an unterschiedliche Zielgeräte. Dadurch kann einerseits der konstruktive Aufwand gering gehalten werden, weil für mehrere Zielgeräte nur eine Dosiereinrichtung erforderlich ist. Zum anderen müssen für mehrere Zielgeräte jeweils nur Behältnisse mit entsprechenden Medien zentral an der Dosiereinrichtung angeschlossen werden, wobei dennoch eine Versorgung sämtlicher Zielgeräte mit dem Medium gewährleistet ist. Auch die Vorrats- und Lagerhaltung sowie die Beschaffung von Medien kann hierdurch erheblich vereinfacht werden.
  • Gemäß einer weiteren vorteilhaften Ausgestaltung der Erfindung sind mehrere Dosiereinrichtungen, insbesondere unter Bildung einer Kaskade, in Reihe geschaltet. Dies ermöglicht einerseits die Bereitstellung einer Vielzahl unterschiedlicher Medien. Zum anderen können gemäß dieser Ausführungsform der Erfindung eine Vielzahl unterschiedlicher Zielgeräte gemeinsam an eine Dosiereinrichtung angeschlossen werden.
  • Gemäß einer weiteren vorteilhaften Ausgestaltung der Erfindung ist der Dosiereinrichtung eine erste Kommunikationsschnittstelle und dem Zielgerät eine zweite Kommunikationsschnittstelle zugeordnet. Dies ermöglicht eine bi-direktionale Übermittlung von Informationen über das Zielgerät und/oder über die Dosiereinrichtung zwischen der Dosiereinrichtung und dem Zielgerät.
  • Des weiteren besteht die Möglichkeit, die beiden Kommunikationsschnittstellen zu normen, so dass auch unterschiedliche Geräte unterschiedlicher Hersteller über die gleichen Standards miteinander kommunizieren können.
  • Gemäß einer weiteren vorteilhaften Ausgestaltung der Erfindung sind die beiden Kommunikationsschnittstellen über eine elektrische Leitung, insbesondere eine Signalleitung, miteinander verbunden. Eine solche drahtgebundene Verbindung zwischen den beiden Kommunikationsschnittstellen ermöglicht eine besonders sichere und optisch sichtbare Verbindung. Sie kann im einfachsten Fall über ein Kabel bewerkstelligt werden, welches an seinen beiden Enden Stecker aufweist. Die Stecker können an den entsprechend vorgesehenen Buchsen an der Dosiereinrichtung und an dem Zielgerät eingesetzt werden. Bei dieser Ausführungsform ist jeder Kommunikationsschnittstelle eine Steckerbuchse zugeordnet.
  • Gemäß einer weiteren vorteilhaften alternativen Ausgestaltung der Erfindung sind die beiden Kommunikationsschnittstellen an der Dosiereinrichtung und am Zielgerät drahtlos miteinander verbunden. Insbesondere kann eine solche drahtlose Verbindung von zwei Kommunikationsschnittstellen miteinander unter Rückgriff auf herkömmliche Standards erfolgen. Insbesondere sind dabei vor allem Standards wie WLAN oder BLUETOOTH geeignet. Bei diesem Ausführungsbeispiel ist insoweit jeder Kommunikationsschnittstelle ein Sende- und/oder Empfangsmodul für ein drahtloses Senden und/oder Empfangen von Signalen zugeordnet.
  • Gemäß einer weiteren vorteilhaften Ausgestaltung der Erfindung ist vorgesehen, dass die Dosiereinrichtung extern, das heißt, gesondert, von dem Zielgerät angeordnet ist, und ausgebildet ist. Es handelt sich also um eine Dosiereinrichtung, die nicht integraler Bestandteil des Zielgerätes ist.
  • Die Erfindung betrifft gemäß einem weiteren Aspekt ein Verfahren nach Anspruch 12.
  • Dem Gegenstand des Anspruches 12 liegt die Aufgabe zugrunde, ein Verfahren anzugeben, mit dem ein Auftreten von Störungen bei der Abarbeitung von Dosierprozessen verringert wird, bzw. besser beherrschbar wird.
  • Die Erfindung löst diese Aufgabe mit den Merkmalen des Anspruches 12.
  • Bezüglich der Auslegung der Merkmale, der Funktionsweise und der Vorteile des Verfahrens nach Anspruch 12 kann auf die obigen Ausführungen zur Vermeidung von Wiederholungen verwiesen werden.
  • Weitere Vorteile der Erfindung ergeben sich aus den nicht-zitierten Unteransprüchen, und aus der nachfolgenden Beschreibung der in den Figuren dargestellten Ausführungsbeispielen. Darin zeigen:
  • Fig. 1
    in einer schematischen blockschaltbildartigen Darstellung ein erstes Ausführungsbeispiel einer Dosiereinrichtung, an die zwei mit Medien befüllte Behältnisse angeschlossen sind, und ein Zielgerät, wobei eine leitungsgebundene Verbindung zwischen einer dosiereinrichtungsseitigen Kommunikationsschnittstelle und einer zielgerätseitigen Kommunikationsschnittstelle vorgesehen ist,
    Fig. 2
    in einer Darstellung gemäß Fig. 1 ein weiteres Ausführungsbeispiel einer erfindungsgemäßen Dosiereinrichtung, bei dem die Dosiereinrichtung zwei geometrisch invertiert zueinander angeordnete Mischverteiler-Vorrichtungen aufweist, und wobei an die Dosiereinrichtung zwei Zielgeräte und drei Behältnisse angeschlossen sind, und
    Fig. 3
    ein weiteres Ausführungsbeispiel einer erfindungsgemäßen Dosiereinrichtung in einer Darstellung gemäß Fig. 2, wobei die dargestellte Dosiereinrichtung insgesamt drei Mischverteiler-Anordnungen umfasst, die kaskadenartig angeordnet sind, und wobei an die Dosiereinrichtung zwei Zielgeräte, und beispielhaft nur ein Behältnis angeschlossen sind.
  • Ausführungsbeispiele der Erfindung sind in der nachfolgenden Figurenbeschreibung, auch unter Bezugnahme auf die Zeichnungen, beispielhaft beschrieben. Dabei werden der Übersichtlichkeit halber - auch soweit unterschiedliche Ausführungsbespiele betroffen sind - gleiche oder vergleichbare Teile oder Elemente oder Bereiche mit gleichen Bezugszeichen, teilweise unter Hinzufügung kleiner Buchstaben, bezeichnet.
  • Merkmale, die nur in Bezug zu einem Ausführungsbeispiel beschrieben sind, können im Rahmen der Erfindung auch bei jedem anderen Ausführungsbeispiel der Erfindung vorgesehen werden. Derartig geänderte Ausführungsbeispiele sind - auch wenn sie in den Zeichnungen nicht dargestellt sind - von der Erfindung mit umfasst.
  • Alle offenbarten Merkmale sind für sich erfindungswesentlich. In die Offenbarung der Anmeldung wird hiermit auch der Offenbarungsinhalt der zitierten Druckschriften und der beschriebenen Vorrichtungen des Standes der Technik vollinhaltlich mit einbezogen, auch zu dem Zweck, einzelne oder mehrere Merkmale dieser Unterlagen in einen oder in mehrere Ansprüche der vorliegenden Anmeldung mit aufzunehmen.
  • In den Figuren ist die Dosiereinrichtung - für die unterschiedlichen Ausführungsbeispiele - mit dem Bezugszeichen 10, insbesondere unter Hinzufügung kleiner Buchstaben, bezeichnet worden.
  • Ausweislich Fig. 1 umfasst ein erstes Ausführungsbeispiel einer Dosiereinrichtung 10a eine Mischverteiler-Vorrichtung 34, die - ähnlich wie in den eingangs beschriebenen Patentanmeldungen der Anmelder - aus zwei Scheiben, insbesondere einer Eingangsscheibe 17 und einer Ausgangsscheibe 18 bestehen kann, bzw. solche Scheiben 17, 18 umfasst.
  • Bei dem Ausführungsbeispiel der Fig. 1 ist der Eingangsscheibe 17 der Dosiereinrichtung 10a ein Paar von eingangsseitigen Anschlüssen 15a, 15b zugeordnet. Diese stehen über Medienleitungen 14a, 14b mit zwei Behältnissen 12a, 12b in Verbindung, an denen jeweils ein Medium 13a, 13b angeordnet ist. Das Medium ist insbesondere eine Flüssigkeit, insbesondere ein Waschmittel, oder ein Reinigungsmittel, oder ein Desinfektionsmittel, oder ein Bestandteil eines der zuvor aufgezählten Mittel, oder ein Hilfsmittel für einen Wasch-, oder Reinigungs-, oder Desinfektionsprozess.
  • Bei anderen, nicht dargestellten Ausführungsbeispielen der Erfindung sind die Medien pulverförmig, oder von einem Fluid bereitgestellt.
  • Die Zahl der Medien ist bei den unterschiedlichen Ausführungsbeispielen beliebig. Das Gleiche gilt für die Zahl der angeschlossenen Behältnisse, für die Zahl der Anschlüsse 15 an der Eingangsseite der Dosiereinrichtung 10a, und die Zahl der Ausgänge 16 an der Ausgangsseite der jeweiligen Dosiereinrichtung 10, 10a.
  • Bei dem Ausführungsbeispiel der Fig. 1 weist die Dosiereinrichtung 10a nur einen einzigen Ausgangsanschluss 16 auf, der die Dosiereinrichtung 10a über eine Förderleitung 26 mit einem Zielgerät 11 verbindet. Bei dem Ausführungsbeispiel der Fig. 1 ist das Zielgerät - wie auch bei den Ausführungsbeispielen der Fig. 2 und 3 - als gewerbliche textile Waschmaschine ausgebildet.
  • Wie eingangs erwähnt, steht dieses Zielgerät beispielhaft auch für andere geeignete Zielgeräte, wie beispielsweise Geschirrspülmaschinen gewerblicher Art, oder andere Wasch- oder Reinigungs- oder Desinfektions- oder Bearbeitungs- oder Behandlungseinrichtungen- oder -Anlagen oder -Maschinen.
  • Ausweislich des Ausführungsbeispiels der Fig. 1 sind die Eingangsscheibe 17 und die Ausgangsscheibe 18 relativ zueinander um eine Drehachse 19 drehbar. Von einem lediglich schematisch angedeuteten Motor 20 kann die eine Scheibe 18 relativ zu der anderen Scheibe 17 in eine Relativbewegung versetzt werden. Konstruktive Details sind in Fig. 1 nicht dargestellt, und bleiben dem Fachmann überlassen, der entsprechende Anregungen beispielsweise aus den eingangs beschriebenen Patentanmeldungen der Anmelder entnehmen kann.
  • Die Dosiereinrichtung 10a weist eine Steuereinrichtung 21 auf, die lediglich blockschaltbildartig als Blackbox angedeutet ist. Über eine Signal- oder Steuerleitung 27a steht die Steuereinheit 21 mit einer dosiereinrichtungsseitigen Kommunikationsschnittstelle 22 in Verbindung. Die Kommunikationsschnittstelle 22 ist ihrerseits über eine in Fig. 1 dargestellte Kommunikationsleitung 25 mit dem Zielgerät 11 verbunden.
  • Die Steuereinheit 21 steht darüber hinaus über eine Steuer- oder Signalleitung 27b mit einer Pumpe 23 in Verbindung. Die Steuereinheit 21 kann über die Signalleitung 27b die Pumpe 23 ansteuern, und dazu veranlassen, eine bestimmte Menge an Medium durch die Mischverteiler-Vorrichtung 34 hindurch aus dem jeweils angesprochenen Behältnis 12a oder 12b heraus zu saugen, und sodann durch die Fluidleitung 26 hindurch zu dem Zielgerät 11 zu fördern.
  • Die Steuereinheit 21 ist über die Signalleitung 27d darüber hinaus mit dem Motor 20 verbunden, und kann den Motor ansprechen, um zu bewirken, dass einer der eingangsseitigen Anschlüsse 15a, 15b mit dem Ausgang 26 in kommunikative Verbindung gebracht wird.
  • Durch Ansprechen der Pumpe 23 kann auf diese Weise aus dem entsprechenden Behältnis 12a, 12b eine bestimmte Menge an Medium 13a, 13b entnommen, das heißt, heraus gepumpt und zugleich durch die Förderleitung 26 zu dem Zielgerät 11 hin gepumpt werden.
  • Die Steuereinheit 21 steht darüber hinaus über eine Signalleitung 27c mit einem schematisch angedeuteten Sensor 24, oder Detektor, in Verbindung. Der Detektor kann beispielsweise ein Flow-Meter, das heißt, ein Durchfluss-Messgerät sein, oder ein alternativ Leitfähigkeitssensor. Es könnten auch mehrere, in Fig. 1 nicht dargestellte, Detektoren oder Sensoren 24 eingesetzt werden, die sämtlich ihre Messergebnisse an die Steuereinheit 21 vermelden können.
  • Die Steuereinheit 21 ist insoweit in der Lage, Dosierprozesse durchzuführen bzw. zu initiieren, und festzustellen, ob Dosierprozesse erfolgreich durchgeführt worden sind. Beispielsweise kann eine solche Feststellung, ob ein Dosierprozessvorgang ordnungsgemäß erfolgt ist, davon abhängen, ob die Steuereinheit 21 nach Ansprechen von Motor 20 und/oder Pumpe 23 und/oder von einem entsprechenden Sensor 24 entsprechende, zu erwartende, oder ggf. innerhalb eines Erwartungsbereiches liegende, Rückmeldungen erhält. Beispielsweise kann, für den Fall, dass der Sensor 24 als Leitfähigkeitsmesssensor ausgebildet ist, bei Ansprechen der Pumpe 23 und Fördern eines bestimmten Mediums 13a, 13b, erwartet werden, dass von dem Leitfähigkeitsmesssensor zu einem bestimmten Zeitpunkt eine bestimmte Leitfähigkeit detektiert wird. Wird die erwartete Leitfähigkeit gemessen, kann der Dosierprozess von der Steuereinheit 21 als erfolgt oder erfolgreich eingestuft werden.
  • Andererseits kann von der Steuereinheit 21 erwartet werden, dass bei Ansprechen der Pumpe 23 eine bestimmte Menge, das heißt, ein bestimmtes Volumen, an Fluid durch einen bestimmten Messbereich, zum Beispiel einen Messbereich eines Flowmeters 24, hindurch gepumpt wird. Stellt die Steuereinheit 21 ein entsprechendes Antwortsignal von dem Flowmeter fest, oder erhält sie zumindest kein entsprechendes Störsignal von der angeschlossenen Einheit 23, 24 oder 20, kann die Steuereinheit 21 davon ausgehen, dass der durchzuführende Dosierprozess erfolgreich oder ordnungsgemäß erfolgt ist.
  • Andererseits kann für den Fall, dass die Steuereinheit 21 entsprechende Störsignale erhält, oder die erwarteten Rückmeldungen nicht erhält, diese davon ausgehen, dass der Dosierprozess nicht erfolgt ist, oder nicht erfolgreich durchgeführt worden ist.
  • Gemäß der Erfindung ist die erste Kommunikationsschnittstelle 22 dazu ausgebildet und eingerichtet, an das Zielgerät 11 über die Kommunikationsleitung 25 ein entsprechendes Signal oder eine entsprechende Information über eine erfolgte Dosierung zu übermitteln.
  • Das Zielgerät 11 weist ausweislich Fig. 1 einen Programmwahlschalter 28 auf, der die Einstellung eines Wasch- oder Reinigungsprogramms ermöglicht. Über eine Signalleitung 32b ist dieser Programmwahlschalter mit einem Steuergerät 29 des Zielgerätes 11 verbunden. Das Steuergerät 29 entspricht, jedenfalls bezüglich seiner blockschaltbildartigen Funktion, der Steuereinheit 21 der Dosiereinrichtung 10a der Fig. 1.
  • Das Steuergerät 29 ist über eine Signalleitung 32a mit einer zielgerätseitigen Kommunikationsschnittstelle 30 verbunden. Diese ist wiederum an die Signal- oder Verbindungsleitung oder Kommunikationsleitung 25 angeschlossen.
  • Das Steuergerät 29 ist ausweislich Fig. 1 darüber hinaus über eine Signalleitung 32d mit einem Sensor oder Detektor 31b verbunden, und über eine Signalleitung 32c mit einem Sensor oder Detektor 31a verbunden. Die beiden Sensoren 31a, 31b können beispielsweise das Feststellen des Vorhandenseins von Flüssigkeit oder Medium, insbesondere das Vorhandensein von Wasser, oder das Vorliegen einer bestimmten Leitfähigkeit, oder Temperatur oder eines pH-Wertes oder einer bestimmten Menge, zum Beispiel einer maximalen oder minimalen vorhandenen Menge einer Flüssigkeit, zum Beispiel eines Füllstandes, feststellen, oder überwachen, und entsprechende Messwerte oder Messergebnisse an das Steuergerät 29 übermitteln.
  • Die Durchführung eines Waschprozesses und die Übermittlung von Dosierinformationen kann bei einem Ausführungsbeispiel der Fig. 1 zum Beispiel wie folgt ablaufen:
    Nach Einstellung eines Waschprogramms am Zielgerät 11 über den Programmwahlschalter 28 durch einen Benutzer kann das Steuergerät 29 über die zweite Kommunikationsschnitte 30 veranlassen, dass eine Dosieranforderung an die Dosiereinrichtung 10a versandt wird. Beispielsweise kann für die Durchführung eines bestimmten Waschprogramms in einem ersten Schritt gefordert sein, dass das Medium 13a in einer vorgegebenen Menge zu einem vorgegebenen Zeitpunkt zugeführt wird.
  • Diese Information übermittelt das Steuergerät 29 über die zweite Kommunikationsschnittstelle 30 und die Verbindungsleitung 25 an die erste Kommunikationsschnittstelle 22 und an die Steuereinheit 21 der Dosiereinrichtung 10a. Die Dosiereinrichtung 10a kann nun den entsprechenden Dosierprozess veranlassen, und durch Ansprechen des Motors 20 und nachfolgendes Ansprechen der Pumpe 23 eine entsprechende Förderung der geforderten Menge an Medium zum Zielgerät 11 hin veranlassen.
  • Sobald die Steuereinheit 21 feststellt, dass der Dosierprozess ordnungsgemäß erfolgt, oder abgeschlossen ist, kann über die Kommunikationsschnittstelle 22 eine Übermittlung eines entsprechenden Erfolgssignals durch Rückmeldung über die Verbindungsleitung 25 an die zielgerätseitige Kommunikationsschnittstelle 30 erfolgen.
  • Das Steuergerät 29 kann von dem Dosiererfolg Kenntnis nehmen, und sodann in einem zweiten Schritt beispielsweise eine nachfolgende Dosieranforderung stellen, oder an dem Zielgerät selbst eine geeignete Maßnahme durchführen, beispielsweise Frischwasser einleiten, oder eine Temperaturerhöhung vornehmen, oder eine Waschtrommelrotation durchführen etc.
  • Für den Fall, dass einer der Sensoren 31b, 31a im Zielgerät 11, oder das Steuergerät 29 aber ein Auftreten irgendeiner Störung feststellt, beispielsweise, dass die Wasserzufuhr des Zielgerätes 11 unterbrochen ist, oder nicht ordnungsgemäße Rückmeldungswerte von dem an das Steuergerät 29 angeschlossenen Einheiten, insbesondere den Sensoren 31a, 31b erhalten werden, kann eine entsprechende Übermittlung einer Information, dass eine Störung vorliegt, an die Dosiereinrichtung 10a erfolgen. Diese kann dann zum Beispiel eine Unterbrechung des Dosierprozesses für dieses Zielgerät 11 vornehmen.
  • Andererseits kann für den Fall, dass die Steuereinheit 21 nach Durchführung eines Dosierprozesses feststellt, dass dieser nicht ordnungsgemäß abgeschlossen worden ist, eine Übermittlung eines entsprechenden Signals an das Zielgerät 11 erfolgen, oder jedenfalls die Übermittlung eines Signals, das anzeigt, dass erfolgreich dosiert worden ist, unterbleiben. Hieraus kann das Steuergerät 29 des Zielgerätes 11 erkennen oder schlussfolgern, dass die Dosierung nicht ordnungsgemäß durchgeführt worden ist. In Erhalt und in Kenntnis dieses Signals kann das Steuergerät 29 sodann entsprechende Maßnahmen einleiten, die dafür sorgen, dass keine weiteren Folgeprobleme auftreten. Insbesondere kann das Steuergerät 29 zum Beispiel den weiteren Waschprozess unterbrechen, und/oder für den Benutzer des Zielgerätes eine entsprechende akustische oder optische Anzeige initiieren, die darauf aufmerksam macht, dass bei der Durchführung des Dosierprozesses ein Fehler aufgetreten ist.
  • An dieser Stelle sei angemerkt, dass anstelle der in Fig. 1 (und in den übrigen Figuren) dargestellten Verbindungsleitung 25 eine Kommunikation zwischen der ersten Kommunikationsschnittstelle 22 an der Dosiereinrichtung 10 und der zweiten Kommunikationsschnittstelle 30 an dem Zielgerät 11 auch drahtlos erfolgen kann.
  • Anhand des Ausführungsbeispiels der Fig. 1 soll nun noch erläutert werden, dass über die Kommunikationsschnittstellen 22 und 30 auch weitere Informationen ausgetauscht werden können.
  • Beispielsweise kann ein Austausch von Angaben über den Hersteller des Zielgerätes und/oder über den Hersteller der Dosiereinrichtung erfolgen. So kann sich das jeweils andere Gerät - in Abhängigkeit von der Besonderheit der Herstellerangaben - zum Beispiel auf das Gerät einstellen. Beispielsweise kann vorgesehen sein, dass unterschiedliche Hersteller unterschiedliche Besonderheiten bei der Durchführung des Wasch- oder Reinigungsprozessen erwarten oder berücksichtigen, so dass hier eine optimierte Arbeitsweise erreicht werden kann.
  • Alternativ und/oder zusätzlich können technische Angaben über das Zielgerät und/oder die Dosiereinrichtung übermittelt werden. Hierzu gehören beispielsweise auch Angaben über eine Leistungsklasse des Zielgerätes oder Angaben über die mögliche Zahl der an eine Dosiereinrichtung anschließbaren oder angeschlossenen unterschiedlichen Medien oder Behältnisse und/oder über die Zahl der an einer Dosiereinrichtung anzuschließenden oder anschließbaren oder angeschlossenen Zielgeräte.
  • Schließlich kann eine Übermittlung über den Status des Zielgerätes und/oder über den Status der Dosiereinrichtung erfolgen. So kann beispielsweise sichergestellt werden, dass eine Dosierung tatsächlich auch nur dann erfolgt, wenn sich das Zielgerät in einem entsprechenden Status eines Wasch-, oder Reinigungsprozesses befindet.
  • Des weiteren können Angaben über das Vorliegen oder über das Nicht-Vorliegen einer Störung am Zielgerät und/oder Angaben über das Vorliegen oder Nicht-Vorliegen einer Störung an der Dosiereinrichtung übermittelt werden. Das jeweils andere Gerät kann insoweit den Status des Gerätes berücksichtigen, und mit dem Ziel der Verhinderung einer Störung oder Verhinderung des Auftretens von Folgestörungen entsprechende, geeignete Maßnahmen einleiten.
  • Schließlich kann das Zielgerät an die Dosiereinrichtung zum Beispiel Angaben über das durchzuführende Waschprogramm übermitteln. Hierzu können beispielsweise Angaben über die in dem durchzuführenden, eingestellten Waschprogramm oder Reinigungsprogramm einzusetzenden Medien und deren Einsatzzeitpunkte gehören. Dabei besteht auch die Möglichkeit, insbesondere für den Fall, dass an der Dosiereinrichtung mehrere Zielgeräte angeschlossen sind, dass die Dosiereinrichtung zum Ziele einer optimierten Dosierung insgesamt, selbst entscheidet, wann sie bestimmte Dosierprozesse durchführt.
  • Sie kann insbesondere dazu ausgebildet sein, eine Priorisierung von kollidierenden Dosieranforderungen zu beherrschen. Sie kann insbesondere weiter dazu ausgebildet sein, eine solche mögliche Kollision von kollidierenden Dosieranforderungen bereits im Vorfeld zu vermeiden. Dies kann beispielsweise dadurch geschehen, dass die Dosiereinrichtung an das entsprechende Zielgerät oder ggf. auch an mehrere Zielgeräte Informationen übermittelt, dass zu bestimmten Zeitpunkten Dosierbereitschaft bestehen wird. Das Zielgerät kann dann in Kenntnis des Betriebsstatus der Dosiereinrichtung bzw. in Kenntnis eines zeitnah zu erwartenden, sich ggf. ändernden Betriebsstatus der Dosiereinrichtung den eigenen Wasch- und/oder Reinigungsprozess anpassen oder optimieren.
  • Ausweislich des Ausführungsbeispiels der Fig. 2 weist die dort mit 10b bezeichnete Dosiereinrichtung zwei Mischverteiler-Einrichtungen 34a und 34b auf. Diese sind - geometrisch invertiert zueinander angeordnet - über eine Zwischenleitung 35 miteinander verbunden.
  • Die erste Mischverteileinrichtung 34b weist eine Eingangsscheibe 17a mit drei Anschlüssen 15a, 15b, 15c auf, und eine relativ dazu drehbare Ausgangsscheibe 18a auf, die über einen Motor 20b ansprechbar ist. Der einzige Ausgang 16d ist über die Zwischenleitung 35 mit dem einzigen Eingang 15d der zweiten Mischverteileinrichtung 34a verbunden. Deren Eingangsscheibe 17b kann über den zweiten Motor 20a um die Drehachse 19, also relativ zu der zweiten Ausgangsscheibe 18b, drehbar sein. An die Ausgangsscheibe 18b sind drei Ausgangsanschlüsse 16a, 16b, 16c angeschlossen. Lediglich für die beiden Ausgangsanschlüsse 16a, 16c sind Fluidförderleitungen 26a, 26b dargestellt, die zu entsprechenden Zielgeräten 11a, 11b führen.
  • Hier besteht insoweit die Möglichkeit, mittels der Dosiereinrichtung 10b der Fig. 2 mehrere Zielgeräte 11a, 11b sukzessive mit unterschiedlichen Medien 13a, 13b, 13c 'zu versorgen.
  • Bei dem Ausführungsbeispiel der Fig. 2 ist vorgesehen, dass an die erste Fluidleitung 26a eine erste Pumpe 23a angeschlossen ist, und an die zweite Fluidleitung 26b eine zweite Pumpe 23b.
  • Das an die dritte Anschlussleitung 26c anschließbare Zielgerät ist in Fig. 2 der Übersichtlichkeit halber nicht dargestellt.
  • Bei dem Ausführungsbeispiel der Fig. 2 ist die Steuereinheit 21 dazu ausgerichtet, über die mehreren Signalleitungen 27a, 27b, 27c, 27d, 27e, 27f eine Ansteuerung vorzunehmen, die etwa wie folgt funktioniert:
    Bei Erhalt einer Dosieranforderung von einem entsprechenden Zielgerät 11a oder 11b über die entsprechende Signalleitung 25a oder 25b wird zunächst durch Ansprechen der beiden Motoren 20a, 20b eine entsprechende Fluidverbindung zwischen dem betreffenden Behältnis 12a, 12b, 12c und der entsprechenden Förderleitung 26a und 26b hergestellt. Sodann wird durch Ansprechen der jeweiligen Pumpe 23a oder 23b die vorgegebene Fördermenge an Volumen zu dem entsprechenden Zielgerät 11a oder 11b hin gefördert.
  • Alternativ zu der Verwendung von zwei Pumpen 23a und 23b kann - wie gestrichelt dargestellt - bei einem weiteren Ausführungsbeispiel auch nur eine einzige Pumpe 23c im Bereich der Zwischenleitung 35 vorgesehen werden.
  • Gleichermaßen besteht auch die Möglichkeit, nur einen einzigen - gestrichelt angedeuteten - Fluidmesssensor 24c (anstelle der beiden dargestellten Fluidmesssensoren 24a, 24b) vorzusehen.
  • Gemäß der Erfindung besteht die Möglichkeit, im Falle kollidierender, also gleichzeitiger oder zeitgleich auftretender Kollisionsanforderungen von unterschiedlichen Zielgeräten 11a, 11b, eine Priorisierung der Dosieranforderungen vorzunehmen. Hierzu kann die Steuereinheit 21 eine integrierte oder gesonderte Vorrichtung 36 zur Kollisionsverhinderung enthalten, die beispielsweise dafür sorgt, dass im Falle eines begonnenen Dosierprozesses dieser zunächst zu Ende geführt wird, bevor ein zeitgleich, während der Durchführung des ersten Dosierprozesses angeforderter, zweiter Dosierprozess, in Angriff genommen wird, und bearbeitet wird.
  • Es besteht aber auch die Möglichkeit, eine andere Bearbeitungsreihenfolge im Zuge der Vornahme einer Priorisierung vorzusehen, und eine Priorisierung nach anderen Ordnungsmerkmalen vorzunehmen. So kann beispielsweise auch eine Wichtigkeitsskala eingeführt - und bei der Abarbeitung von Dosierprozessen verwendet - werden, die zum Beispiel berücksichtigt, dass bestimmte Zielgeräte, zumindest zu bestimmten Zeitpunkten während bestimmter Wasch- oder Reinigungsprozesse, nicht beliebig lange pausieren sollen oder dürfen. Insoweit könnten Dosierprozesse unter Umständen vorgezogen werden, dies auch beinhaltend die Möglichkeit, dass bereits begonnene Dosierprozesse abgebrochen und pausiert werden, um später, nach Durchführung eines zweiten Dosiervorganges, wieder weitergeführt zu werden.
  • Für den Fall, dass von den beiden Zielgeräten 11a, 11b zeitgleich ein Anforderungssignal zur Durchführung eines Dosierprozesses an die Dosiereinrichtung 10b ergeht, kann die Dosiereinrichtung 10b bzw. die in der Steuereinheit 21 integrierte Vorrichtung 36 zur Kollisionsverhinderung dafür Sorge tragen, dass dasjenige Zielgerät, das nachrangig priorisiert ist, also beispielsweise etwas warten muss, darüber unterrichtet wird, dass der Dosiervorgang erst später, zum Beispiel einige Minuten später, begonnen werden kann, oder beginnen wird. Hierzu kann die Steuereinheit 21 oder die Kommunikationsschnittstelle 22 ein entsprechendes Kollisionssignal über die jeweilige Verbindungsleitung 25a, 25b an das jeweilige Steuergerät 29a, 29b, bzw. an die jeweilige zielgeräteseitige Kommunikationsschnittstelle 30a, 30b des Zielgerätes 11a, 11b, übermitteln.
  • Nach Erhalt einer entsprechenden Kollisionsinformation kann sich das entsprechende Zielgerät 11a, 11b darauf einstellen, und das an dem entsprechenden Zielgerät 11a, 11b angeschlossene Steuergerät 29a, 29b bei Bedarf eine entsprechende Maßnahme an dem entsprechenden Zielgerät 11a, 11b veranlassen.
  • Bezüglich sämtlicher Ausführungsbeispiele dieser Patentanmeldung sei an dieser Stelle angemerkt, dass die Zahl der angeschlossenen Behältnisse bzw. die Zahl der unterschiedlichen verfügbaren Medien 13 sowie die Zahl der an eine Dosiereinrichtung 10, 10a, 10b, 10c angeschlossenen Zielgeräte 11, 11a, 11b, 11c beliebig ist.
  • Bezüglich des Ausführungsbeispiels der Fig. 2 sei angemerkt, dass die dort mit 34a bezeichnete Mischverteiler-Vorrichtung in dem im Fig. 2 dargestellten Ausführungsbeispiel derartig ausgestaltet ist, dass bei Bereitstellung eines Kommunikationsweges zwischen dem Eingangsanschluss 15d der Eingangsscheibe 17b und einem der Ausgangsanschlüsse 16a, 16b, 16c der Ausgangsscheibe 18b, zum Beispiel dem Ausgangsanschluss 16a, die jeweils übrigen Ausgangsanschlüsse 16b, 16c gesperrt sind.
  • Bei einem weiteren, nicht dargestellten Ausführungsbeispiel der Erfindung ist die zweite Mischverteiler-Vorrichtung 34a derartig ausgestaltet, dass die Ausgangsanschlüsse (zum Beispiel 16b, 16c), die nicht mit dem Eingangsanschluss 15d verbunden sind, nicht gesperrt sind, sondern nach dem entsprechenden Spülen der zugehörigen Fluid-Förderleitung 26b, 26c offen bleiben. Bei diesem Ausführungsbeispiel ist es insoweit möglich, anstelle eines in den eingangs beschriebenen Patentanmeldungen der Anmelderinnen offenbarten Mischverteilers eine andere variable Schlauchverbindungs-Vorrichtung, beispielsweise unter Verwendung von Schlauch-Quetsch-Elementen, oder dergleichen, einzusetzen.
  • Ausweislich des Ausführungsbeispiels der Fig. 3 wird noch eine Kaskadenanordnung von mehreren Mischverteilereinrichtungen 34a, 34b, 34c einer Dosiereinrichtung 10c beschrieben. Hier weist eine erste Mischverteilereinrichtung 34a eine Eingangsscheibe 17a, und eine Ausgangsscheibe 18a auf. Die Eingangsscheibe 17a weist - der Einfachheit halber - nur einen Eingangsanschluss 15a auf, und die Ausgangsscheibe 18a weist - ebenfalls der Einfachheit halber - nur zwei Ausgangsanschlüsse 16a, 16b auf.
  • Der Ausgangsanschluss 16a ist über eine erste Zwischenleitung 35a mit einer zweiten Mischverteilereinrichtung 34b und der zweite Anschluss 16b ist über eine zweite Zwischenleitung 35b mit einer dritten Mischverteilereinrichtung 34c verbunden.
  • Die zweite Mischverteilereinrichtung 34b weist ebenfalls eine Eingangsscheibe 17b und eine Ausgangsscheibe 18b auf, die relativ zueinander um eine Drehachse 19b drehbar sind.
  • Die dritte Mischverteilereinrichtung 34c weist eine erste Eingangsscheibe 17c und eine zweite Ausgangsscheibe 18c auf, die relativ zueinander um eine Drehachse 19c drehbar sind.
  • Jede der beiden Ausgangsscheiben 18b, 18c, weist jeweils drei Ausgangsanschlüsse 16c, 16d, 16e bzw. 16f, 16g, 16h auf.
  • Es besteht insoweit die Möglichkeit, an die Dosiereinrichtung 10c eine Vielzahl, im vorliegenden Ausführungsbeispiel der Fig. 3, insgesamt sechs Zielgeräte anzuschließen. Der Übersichtlichkeit halber sind in Fig. 3 aber nur zwei Zielgeräte 11a und 11f dargestellt.
  • Gemäß der erfindungsgemäßen Lehre kann auch die Dosiereinrichtung 10c über die Kommunikationsschnittstelle 22 mittels der in die Steuereinheit 21 integrierten Vorrichtung 36 zur Kollisionsverhinderung eine Kollision gleichzeitiger Dosieranforderungen unterschiedlicher Zielgeräte 11a, 11f beherrschen bzw. verhindern.
  • Fig. 3 zeigt dabei eine Kaskade von Mischverteilereinrichtungen 34a, 34b, 34c mit der Folge, dass eine Vielzahl von Zielgeräten 11a, 11b mittels einer einzigen Dosiereinrichtung 10c mit einem Medium oder mit unterschiedlichen Medien beschickt werden kann.
  • Dem Fachmann ist deutlich, dass das Ausführungsbeispiel der Fig. 3 auch solche Varianten umfasst, bei denen an die Dosiereinrichtung 10 eine Vielzahl von Behältnissen, insbesondere eine Vielzahl unterschiedlicher Medien, angeschlossen sind.
  • Der guten Ordnung halber sei angemerkt, dass die Vorrichtung 36 zur Kollisionsverhinderung integraler Bestandteil der entsprechenden Steuereinheit 21 an der Dosiereinrichtung 10 sein kann, oder auch von dieser gesondert ausgebildet sein kann.
  • Insbesondere kann die Vorrichtung 36 zur Kollisionsverhinderung von einem Mikroprozessor gebildet sein, oder Bestandteil der Steuereinheit 21 der Dosiereinrichtung 10, 10a, 10b, 10c sein.

Claims (12)

  1. Dosiereinrichtung (10, 10a, 10b, 10c) zur Dosierung und Zuführung von Medien (13a, 13b, 13c) zu einem Zielgerät (11, 11a, 11b, 11c, 11d, 11e, 11f), insbesondere zu einer gewerblichen textilen Waschmaschine, wobei die Dosiereinrichtung mit wenigstens einem Behältnis (12a, 12b, 12c) verbunden ist, das mit einem Medium befüllt ist, und wobei der Dosiereinrichtung eine Steuereinheit (21) zugeordnet ist, die nach Erhalt eines Anforderungssignals von dem Zielgerät einen Dosierprozess durchführt, und hierzu unter Zuhilfenahme einer Pumpe (23, 23a, 23b, 23c) eine Entnahme eines vorherbestimmten Volumens an Medium aus dem Behältnis und eine Förderung dieses Volumens hin zu dem Zielgerät vornimmt, dadurch gekennzeichnet, dass der Steuereinheit eine Kommunikationsschnittstelle (22) zugeordnet ist, die nach Abschluss des Dosierprozesses eine Information über die erfolgte Durchführung des Dosierprozesses an das Zielgerät übermittelt.
  2. Dosiereinrichtung (10, 10a, 10b, 10c), insbesondere nach Anspruch 1, zur Dosierung und Zuführung von Medien zu einem Zielgerät (11a, 11a, 11b, 11c, 11d, 11e, 11f), insbesondere zu einer gewerblichen textilen Waschmaschine, wobei die Dosiereinrichtung mit wenigstens einem Behältnis (12a, 12b, 12c) verbunden ist, das mit einem Medium (13a, 13b, 13c) befüllt ist, und wobei der Dosiereinrichtung eine Steuereinheit (21) zugeordnet ist, die nach Erhalt eines Anforderungssignals von einem Steuergerät (29) des Zielgerätes einen Dosierprozess durchführt, und hierzu unter Zuhilfenahme einer Pumpe (23, 23a, 23b, 23c) eine Entnahme eines vorherbestimmten Volumens an Medium aus dem Behältnis und eine Förderung dieses Volumens hin zu dem Zielgerät vornimmt, dadurch gekennzeichnet, dass der Steuereinheit eine Dosiereinrichtung-seitige Kommunikationsschnittstelle (22) und dem Steuergerät eine Zielgerät-seitige Kommunikationsschnittstelle (30) zugeordnet ist, wobei zwischen Steuergerät und Steuereinheit über die beiden, miteinander verbundenen Kommunikationsschnittstellen ein Austausch von Daten erfolgt, die zumindest eine der nachfolgend aufgeführten Informationen enthalten:
    a) Informationen über das Zielgerät:
    i) Angaben über den Hersteller des Zielgerätes,
    ii) technische Angaben über das Zielgerät, insbesondere Angabe einer Leistungsklasse,
    iii) Angaben über den Status des Zielgerätes, insbesondere Angaben über ein eingestelltes Wasch- oder Reinigungsprogramm und/oder über einen Status eines Wasch- oder Reinigungsprogramms
    iv) Angaben über das Vorliegen oder das Nicht-Vorliegen einer Störung am Zielgerät,
    v) Angaben über eine Dosieranforderung,
    vi) Angaben über die das durchzuführenden Waschprogramm, insbesondere Angaben über die in einem durchzuführenden Waschprogramm einzusetzenden Medien,
    vii) Angaben über einen spezifischen Schritt oder über mehrere spezifische Schritte eines Waschprogramms, insbesondere Angaben über die einzusetzenden Medien,
    viii) Angaben über einen Abbruch eines Waschprogramms.
    b) Informationen über die Dosiereinrichtung:
    ix) Angaben über den Hersteller des Dosiereinrichtung,
    x) technische Angaben über die Dosiereinrichtung,
    xi) Angaben über die an die Dosiereinrichtung angeschlossenen Medien
    xii) Angaben über die an die Dosiereinrichtung angeschlossenen weiteren Zielgeräte
    xiii) Angaben über den Status der Dosiereinrichtung, insbesondere Angaben über einen Status eines Dosierprozesses oder Angabe eines Bereitschaftszustandes der Dosiereinrichtung oder Angabe eines Belegt-Zustandes der Dosiereinrichtung,
    xiv) Angaben über einen Zeitpunkt, zu dem die Dosiereinrichtung voraussichtlich wieder in einen Bereitschaftszustand zurückkehren wird,
    xv) Angaben über das Vorliegen oder das Nicht-Vorliegen einer Störung an der Dosiereinrichtung,
    xvi) Angaben über einen Abbruch eines Dosierprozesses,
    xvii) Angaben über einen erfolgten und/oder erfolgreich durchgeführten Dosierprozess,
    xviii) Angaben über einen Füllzustand eines Behältnisses eines Mediums, insbesondere Angaben über einen Leerstand eines Mediums.
  3. Dosiereinrichtung (10, 10a, 10b, 10c), insbesondere nach Anspruch 1 oder Anspruch 2, zur Dosierung und Zuführung von Medien zu wenigstens einem ersten Zielgerät (11a), insbesondere zu einer gewerblichen textilen Waschmaschine, und zu wenigstens einem zweiten Zielgerät (11b, 11f), wobei die Dosiereinrichtung mit wenigstens einem Behältnis (12a, 12b, 12c) verbunden ist, das mit einem Medium (13a, 13b, 13c) befüllt ist, und wobei der Dosiereinrichtung eine Steuereinheit (21) zugeordnet ist, die nach Erhalt eines Anforderungssignals von einem Zielgerät einen Dosierprozess durchführt, und hierzu unter Zuhilfenahme einer Pumpe (23, 23a, 23b, 23c) eine Entnahme eines vorherbestimmten Volumens an Medium aus dem Behältnis und eine Förderung dieses Volumens hin zu dem Zielgerät vornimmt, dadurch gekennzeichnet, dass der Steuereinheit eine Vorrichtung (36) zur Kollisionsverhinderung zugeordnet ist, die bei Auftreten kollidierender, insbesondere zeitgleicher, Anforderungen der Durchführung von Dosierprozessen von beiden Zielgeräten eine Priorisierung der Dosierprozesse vornimmt, insbesondere eine Bearbeitungsreihenfolge festlegt.
  4. Dosiereinrichtung nach Anspruch 3, dadurch gekennzeichnet, dass die Dosiereinrichtung an das Zielgerät, dessen Anforderung an einen Dosierprozess nachrangig priorisiert worden ist, eine Information übermittelt, die die aufgetretene Kollision berücksichtigt.
  5. Dosiereinrichtung nach einem der vorangegangenen Ansprüche, dadurch gekennzeichnet, dass an die Dosiereinrichtung mehrere Behältnisse (12a, 12b, 12c) mit unterschiedlichen Medien angeschlossen sind.
  6. Dosiereinrichtung nach einem der vorangegangenen Ansprüche, dadurch gekennzeichnet, dass an die Dosiereinrichtung mehrere Zielgeräte (11a, 11b, 11c, 11d, 11e, 11f) angeschlossen sind.
  7. Dosiereinrichtung nach einem der vorangegangenen Ansprüche, dadurch gekennzeichnet, dass mehrere Dosiereinrichtungen, insbesondere unter Bildung einer Kaskade, in Reihe geschaltet sind.
  8. Dosiereinrichtung nach einem der vorangegangenen Ansprüche, dadurch gekennzeichnet, dass der Dosiereinrichtung eine erste Kommunikationsschnittstelle (22) und dem Zielgerät eine zweite Kommunikationsschnittstelle (30) zugeordnet ist.
  9. Dosiereinrichtung nach Anspruch 8, dadurch gekennzeichnet, dass die beiden Kommunikationsschnittstellen über eine elektrische Leitung (25), insbesondere über eine Signalleitung, miteinander verbunden sind.
  10. Dosiereinrichtung nach Anspruch 8, dadurch gekennzeichnet, dass die beiden Kommunikationsschnittstellen drahtlos miteinander verbunden sind, insbesondere unter Rückgriff auf herkömmliche Standards wie WLAN oder BLUETOOTH.
  11. Dosiereinrichtung nach einem der vorangegangenen Ansprüche, dadurch gekennzeichnet, dass die Dosiereinrichtung extern, gesondert, von dem Zielgerät angeordnet ist.
  12. Verfahren zur Durchführung eines Austausches von Informationen zwischen einer Dosiereinrichtung (10a, 10c) zur Dosierung und Zuführung von Medien (13a, 13c) zu einem Zielgerät (11a, 11b), insbesondere zu einer gewerblichen textilen Waschmaschine, und dem Zielgerät, wobei die Dosiereinrichtung mit wenigstens einem Behältnis (12a, 12c) verbunden ist, das mit einem Medium befüllt ist, und wobei der Dosiereinrichtung eine Steuereinheit (21) zugeordnet ist, die nach Erhalt eines Anforderungssignals von einem Steuergerät (29) des Zielgerätes einen Dosierprozess durchführt, und hierzu unter Zuhilfenahme einer Pumpe (23, 23a, 23c) eine Entnahme eines vorherbestimmten Volumens an Medium aus dem Behältnis und eine Förderung dieses Volumens hin zu dem Zielgerät vornimmt, wobei der Steuereinheit eine Dosiereinrichtung-seitige Kommunikationsschnittstelle (22) und dem Steuergerät eine Zielgerät-seitige Kommunikationsschnittstelle (30) zugeordnet ist, gekennzeichnet durch die folgenden Schritte:
    a) Verbinden der beiden Kommunikationsschnittstellen (22, 30) miteinander zwecks Bereitstellen einer kommunikativen Verbindung zwischen Steuergerät (29) und Steuereinheit (21),
    b) Übermitteln von Daten von dem Zielgerät (11) zu der Dosiereinrichtung (10), die zumindest eine der nachfolgend aufgeführten Informationen enthalten:
    i) Angaben über den Hersteller des Zielgerätes,
    ii) Technische Angaben über das Zielgerät, insbesondere Angabe einer Leistungsklasse,
    iii) Angaben über den Status des Zielgerätes, insbesondere Angaben über ein eingestelltes Wasch- oder Reinigungsprogramm und/oder über einen Status eines Wasch- oder Reinigungsprogramms,
    iv) Angaben über das Vorliegen oder das Nicht-Vorliegen einer Störung am Zielgerät,
    v) Angaben über eine Dosieranforderung,
    vi) Angaben über die das durchzuführenden Waschprogramm, insbesondere Angaben über die in einem durchzuführenden Waschprogramm einzusetzenden Medien,
    vii) Angaben über einen spezifischen Schritt oder über mehrere spezifische Schritte eines Waschprogramms, insbesondere Angaben über die einzusetzenden Medien,
    viii) Angaben über einen Abbruch eines Waschprogramms
    und/oder
    c) Übermitteln von Daten von der Dosiereinrichtung zu dem Zielgerät, die zumindest eine der nachfolgend aufgeführten Informationen enthalten:
    ix) Angaben über den Hersteller des Dosiereinrichtung,
    x) Technische Angaben über die Dosiereinrichtung, insbesondere Angabe einer Leistungsklasse,
    xi) Angaben über die an die Dosiereinrichtung angeschlossenen Medien,
    xii) Angaben über die an die Dosiereinrichtung angeschlossenen weiteren Zielgeräte,
    xiii) Angaben über den Status der Dosiereinrichtung, insbesondere Angaben über einen Status eines Dosierprozesses oder Angabe eines Bereitschaftszustandes der Dosiereinrichtung oder Angabe eines Belegt-Zustandes der Dosiereinrichtung,
    xiv) Angaben über einen Zeitpunkt, zu dem die Dosiereinrichtung voraussichtlich wieder in einen Bereitschaftszustand zurückkehren wird,
    xv) Angaben über das Vorliegen oder das Nicht-Vorliegen einer Störung an der Dosiereinrichtung,
    xvi) Angaben über einen Abbruch eines Dosierprozesses,
    xvii) Angaben über einen erfolgten und/oder erfolgreich durchgeführten Dosierprozess,
    xviii) Angaben über einen Füllzustand eines Behältnisses eines Mediums, insbesondere Angaben über einen Leerstand eines Mediums.
EP25150305.8A 2015-05-20 2016-05-18 Dosiereinrichtung Pending EP4516985A3 (de)

Applications Claiming Priority (3)

Application Number Priority Date Filing Date Title
DE102015107976.3A DE102015107976A1 (de) 2015-05-20 2015-05-20 Dosiereinrichtung u.a.
EP16001125.0A EP3095907B1 (de) 2015-05-20 2016-05-18 Dosiereinrichtung
EP20186553.2A EP3754089B1 (de) 2015-05-20 2016-05-18 Dosiereinrichtung

Related Parent Applications (3)

Application Number Title Priority Date Filing Date
EP16001125.0A Division EP3095907B1 (de) 2015-05-20 2016-05-18 Dosiereinrichtung
EP20186553.2A Division EP3754089B1 (de) 2015-05-20 2016-05-18 Dosiereinrichtung
EP20186553.2A Division-Into EP3754089B1 (de) 2015-05-20 2016-05-18 Dosiereinrichtung

Publications (2)

Publication Number Publication Date
EP4516985A2 true EP4516985A2 (de) 2025-03-05
EP4516985A3 EP4516985A3 (de) 2025-04-23

Family

ID=56120884

Family Applications (3)

Application Number Title Priority Date Filing Date
EP16001125.0A Active EP3095907B1 (de) 2015-05-20 2016-05-18 Dosiereinrichtung
EP20186553.2A Active EP3754089B1 (de) 2015-05-20 2016-05-18 Dosiereinrichtung
EP25150305.8A Pending EP4516985A3 (de) 2015-05-20 2016-05-18 Dosiereinrichtung

Family Applications Before (2)

Application Number Title Priority Date Filing Date
EP16001125.0A Active EP3095907B1 (de) 2015-05-20 2016-05-18 Dosiereinrichtung
EP20186553.2A Active EP3754089B1 (de) 2015-05-20 2016-05-18 Dosiereinrichtung

Country Status (3)

Country Link
EP (3) EP3095907B1 (de)
DE (1) DE102015107976A1 (de)
ES (2) ES2828926T3 (de)

Families Citing this family (32)

* Cited by examiner, † Cited by third party
Publication number Priority date Publication date Assignee Title
DE102015110862B4 (de) * 2015-07-06 2019-03-07 Beatrice Saier Dosiereinrichtung zur Dosierung und Zuführung von Medien und Verfahren
DE102016102829A1 (de) 2016-02-18 2017-08-24 Beatrice Saier Dosiereinrichtung und Verfahren zum Betreiben einer Dosiereinrichtung
CN108884622B (zh) 2016-03-24 2021-05-04 伊莱克斯家用电器股份公司 包括水软化装置和局部电子控制单元的洗衣机
DE102017103168B3 (de) 2016-11-08 2018-03-01 Beatrice Saier Dosiereinrichtung
DE102016225854A1 (de) * 2016-12-21 2018-06-21 Henkel Ag & Co. Kgaa Nachrüstbare Sensoreinheit zur Steuerung einer Dosiervorrichtung
DE102016225828A1 (de) 2016-12-21 2018-06-21 Henkel Ag & Co. Kgaa Verfahren zur Dosierung von Reinigungsmitteln
DE102016125928A1 (de) 2016-12-30 2018-07-05 Beatrice Saier Dosiereinrichtung und Verfahren zum Betreiben einer Dosiereinrichtung
PL3348700T3 (pl) * 2017-01-12 2021-10-04 Electrolux Appliances Aktiebolag Urządzenie gospodarstwa domowego zawierające moduł dopływu wody
DE102017114767A1 (de) 2017-04-04 2018-10-04 Beatrice Saier Dosiereinrichtung und Verfahren zum Betreiben einer Dosiereinrichtung
DE102017114665A1 (de) 2017-06-30 2019-01-03 Beatrice Saier Dosiereinrichtung u.a.
DE102017215258A1 (de) * 2017-08-31 2019-02-28 BSH Hausgeräte GmbH Wäschepflegegerät mit einem Dosiermodul
CN111247283B (zh) * 2017-10-25 2023-05-30 E.G.O.电气设备制造股份有限公司 洗衣机贮槽、洗衣机和用于操作洗衣机的方法
DE102018113644A1 (de) 2018-06-07 2019-12-12 Beatrice Saier Dosiereinrichtung
CN110656469B (zh) * 2018-06-29 2021-05-18 杭州神林电子有限公司 洗涤剂投放器
DE102019135125A1 (de) * 2019-12-19 2021-06-24 Miele & Cie. Kg Einrichtung zum Zuführen von Behandlungsmittel für eine Waschmaschine und Waschmaschine
EP3865831B1 (de) 2020-02-13 2024-03-20 Herbert Saier GmbH Sauglanze
DE102020113828A1 (de) 2020-02-13 2021-08-19 Beatrice Saier Sauglanze
DE102020118060B3 (de) 2020-06-12 2021-09-09 Beatrice Saier Dosiereinrichtung
DE102020116298A1 (de) 2020-06-19 2021-12-23 Beatrice Saier Pulver-Dosiereinrichtung
EP4162856A1 (de) 2021-10-07 2023-04-12 Michael Saier Dosiereinrichtung
DE102022116396A1 (de) 2022-06-02 2023-12-07 Beatrice Saier Dosiereinrichtung zur Dosierung pulverförmiger oder feststoffartiger Medien
DE102022117015A1 (de) 2022-07-07 2024-01-18 Herbert Saier GmbH Elektrische Steuerungen Sauglanze
EP4306913A1 (de) 2022-07-14 2024-01-17 Herbert Saier GmbH Anschlussvorrichtung
DE102022126804A1 (de) 2022-07-14 2024-01-25 Herbert Saier GmbH Elektrische Steuerungen Anschlussvorrichtung
DE102022117813A1 (de) 2022-07-15 2024-01-18 Herbert Saier GmbH Elektrische Steuerungen Vorrichtung zur Bereitstellung einer Medienlösung
DE102023108275A1 (de) 2023-03-31 2024-10-02 Herbert Saier Gmbh Dosiereinrichtung
EP4636152A1 (de) 2024-04-18 2025-10-22 Herbert Saier GmbH Dosiereinrichtung
DE102024119640A1 (de) * 2024-07-03 2026-01-08 Herbert Saier Gmbh Dosiereinrichtung
EP4675032A3 (de) 2024-07-03 2026-02-25 Herbert Saier GmbH Dosiereinrichtung
DE102024120420A1 (de) 2024-07-18 2026-01-22 Herbert Saier Gmbh Dosiereinrichtung
DE102024120607A1 (de) * 2024-07-19 2026-01-22 Herbert Saier Gmbh Dosiereinrichtung
DE102024120873A1 (de) * 2024-07-23 2026-01-29 Herbert Saier Gmbh Dosiereinrichtung

Citations (3)

* Cited by examiner, † Cited by third party
Publication number Priority date Publication date Assignee Title
EP1181567A1 (de) 1999-04-21 2002-02-27 Sunrise Telecom, Inc. BRüCKENABGRIFFSERMITTLUNG UNTER VERWENDUNG VON FREQUENZBEREICHANALYSE
DE102011108396A1 (de) 2010-07-28 2012-06-28 Beatrice Saier Vorrichtung zur Dosierung und Mischung von Fluiden-Mischverteiler
DE102011119021B3 (de) 2011-11-22 2013-05-16 Beatrice Saier Vorrichtung und Verfahren zum schaltbaren Verbinden

Family Cites Families (7)

* Cited by examiner, † Cited by third party
Publication number Priority date Publication date Assignee Title
DE3907361A1 (de) * 1989-03-08 1990-09-20 Henkel Kgaa Pulverdosiergeraet
US5014211A (en) * 1989-06-16 1991-05-07 Diversey Corporation Microprocessor controlled liquid chemical delivery system and method
US5897671A (en) * 1997-11-07 1999-04-27 Diversey Lever, Inc. System and method for washing machine cycle identification and chemical dosing identification
US6375935B1 (en) 2000-04-28 2002-04-23 Brent R. Constantz Calcium phosphate cements prepared from silicate solutions
DE10114256A1 (de) * 2001-03-22 2002-10-02 Henkel Kgaa Dosiersystem für Waschsubstanzen
DE202008001532U1 (de) * 2008-02-01 2008-04-10 Weber, Lothar Ernst Wilhelm Vorrichtung zum Waschen oder Reinigen von Gegenständen
US9447536B2 (en) * 2011-10-14 2016-09-20 Delaware Capital Formation, Inc. Intelligent network for chemical dispensing system

Patent Citations (3)

* Cited by examiner, † Cited by third party
Publication number Priority date Publication date Assignee Title
EP1181567A1 (de) 1999-04-21 2002-02-27 Sunrise Telecom, Inc. BRüCKENABGRIFFSERMITTLUNG UNTER VERWENDUNG VON FREQUENZBEREICHANALYSE
DE102011108396A1 (de) 2010-07-28 2012-06-28 Beatrice Saier Vorrichtung zur Dosierung und Mischung von Fluiden-Mischverteiler
DE102011119021B3 (de) 2011-11-22 2013-05-16 Beatrice Saier Vorrichtung und Verfahren zum schaltbaren Verbinden

Also Published As

Publication number Publication date
DE102015107976A1 (de) 2016-11-24
EP3754089A1 (de) 2020-12-23
EP3095907A1 (de) 2016-11-23
EP3754089C0 (de) 2025-03-26
EP3095907B1 (de) 2020-09-02
ES2828926T3 (es) 2021-05-28
ES3018135T3 (en) 2025-05-14
EP3754089B1 (de) 2025-03-26
EP4516985A3 (de) 2025-04-23

Similar Documents

Publication Publication Date Title
EP3095907B1 (de) Dosiereinrichtung
EP3091114B2 (de) System zur dosierung von medien für wasch- und/oder reinigungsanlagen
EP3115498B1 (de) Dosiereinrichtung zur dosierung und zuführung von medien und verfahren
EP2913431B1 (de) System zur Erfassung des Verbrauchs eines Mediums in einer Wasch- oder Reinigungsanlage u.a.
DE102018113644A1 (de) Dosiereinrichtung
DE102017103168B3 (de) Dosiereinrichtung
EP0946120B1 (de) Unabhängige dosiersteuerung für waschmachinen
EP3343186A2 (de) Dosiereinrichtung und verfahren zum betreiben einer dosiereinrichtung
DE102017200481A1 (de) Schmierstoffverteilsystem und Verfahren zu seinem Betrieb
DE102014101079A1 (de) Verfahren zum Betrieb einer Küchenmaschine und Küchenmaschine
DE112012004029T5 (de) Slave-Vorrichtung, Master-Vorrichtung und Kommunikationsverfahren
EP3349627B1 (de) Reinigungssystem für eine vorrichtung zur ausgabe von flüssigen lebensmitteln
DE112018002555T5 (de) Automatische USB-Host-zu-Host-Umschaltung
DE102011081640A1 (de) Steuersystem
EP2143366B1 (de) Verfahren zum Dosieren von einem ersten Behandlungsmittel und einem zweiten Behandlungsmittel in den Spülbehälter einer Geschirrspülmaschine
DE19649577B4 (de) Kommunikationssystem
DE102010029839B4 (de) Steuersystem
DE10155886B4 (de) Automatisierbare Mess-, Reinigungs-und/oder Kalibriereinrichtung für Elektroden zur Messung von ph-Werten oder Redoxpotentialen
BE1031619B1 (de) Filtervorrichtung für ein Reinigungsgerät, Verfahren und Vorrichtung zum Betreiben zumindest eines Reinigungsgerätes im Zusammenhang mit einer Filtervorrichtung und Reinigungssystem
EP4512285A1 (de) Kaffeeautomat mit einer anzeige die einen vor-/warnbereich umfasst sowie computerprogrammprodukt
DE102014117259B4 (de) Automatisierungsanlage und Verfahren zur externen Steuerung eines Selbsttestalgorithmus in einer dezentralen Sicherheitseinrichtung
DE102024110795A1 (de) Filtervorrichtung für ein Reinigungsgerät, Verfahren und Vorrichtung zum Betreiben zumindest eines Reinigungsgerätes im Zusammenhang mit einer Filtervorrichtung und Reinigungssystem
EP4675032A2 (de) Dosiereinrichtung
DE19912977B4 (de) Vorrichtung und Verfahren zur Bestimmung einfacher Leitungsstörungen in bidirektional betriebenen Netzwerken von Kraftfahrzeugen
DE60009790T2 (de) Vorrichtung zur Proportionaldosierung von flüssigem Waschmittel in gewerblichen Geschirrspülmaschinen

Legal Events

Date Code Title Description
PUAI Public reference made under article 153(3) epc to a published international application that has entered the european phase

Free format text: ORIGINAL CODE: 0009012

STAA Information on the status of an ep patent application or granted ep patent

Free format text: STATUS: THE APPLICATION HAS BEEN PUBLISHED

AC Divisional application: reference to earlier application

Ref document number: 3095907

Country of ref document: EP

Kind code of ref document: P

Ref document number: 3754089

Country of ref document: EP

Kind code of ref document: P

AK Designated contracting states

Kind code of ref document: A2

Designated state(s): AL AT BE BG CH CY CZ DE DK EE ES FI FR GB GR HR HU IE IS IT LI LT LU LV MC MK MT NL NO PL PT RO RS SE SI SK SM TR

REG Reference to a national code

Ref country code: DE

Ref legal event code: R079

Free format text: PREVIOUS MAIN CLASS: D06F0039020000

Ipc: D06F0033370000

PUAL Search report despatched

Free format text: ORIGINAL CODE: 0009013

AK Designated contracting states

Kind code of ref document: A3

Designated state(s): AL AT BE BG CH CY CZ DE DK EE ES FI FR GB GR HR HU IE IS IT LI LT LU LV MC MK MT NL NO PL PT RO RS SE SI SK SM TR

RIC1 Information provided on ipc code assigned before grant

Ipc: D06F 105/42 20200101ALN20250320BHEP

Ipc: D06F 103/00 20200101ALN20250320BHEP

Ipc: A47L 15/00 20060101ALN20250320BHEP

Ipc: A47L 15/44 20060101ALN20250320BHEP

Ipc: D06F 39/02 20060101ALI20250320BHEP

Ipc: D06F 33/37 20200101AFI20250320BHEP

STAA Information on the status of an ep patent application or granted ep patent

Free format text: STATUS: REQUEST FOR EXAMINATION WAS MADE

17P Request for examination filed

Effective date: 20250903