EP4516160A2 - Vorrichtungen und verfahren zum trocknen eines objekts - Google Patents

Vorrichtungen und verfahren zum trocknen eines objekts Download PDF

Info

Publication number
EP4516160A2
EP4516160A2 EP24214918.5A EP24214918A EP4516160A2 EP 4516160 A2 EP4516160 A2 EP 4516160A2 EP 24214918 A EP24214918 A EP 24214918A EP 4516160 A2 EP4516160 A2 EP 4516160A2
Authority
EP
European Patent Office
Prior art keywords
airflow
radiation
radiation energy
energy source
airflow channel
Prior art date
Legal status (The legal status is an assumption and is not a legal conclusion. Google has not performed a legal analysis and makes no representation as to the accuracy of the status listed.)
Pending
Application number
EP24214918.5A
Other languages
English (en)
French (fr)
Other versions
EP4516160A3 (de
Inventor
Mingyu Wang
Yin Tang
Xingwang XU
Lei Zhang
Current Assignee (The listed assignees may be inaccurate. Google has not performed a legal analysis and makes no representation or warranty as to the accuracy of the list.)
SZ Zuvi Technology Co Ltd
Original Assignee
SZ Zuvi Technology Co Ltd
Priority date (The priority date is an assumption and is not a legal conclusion. Google has not performed a legal analysis and makes no representation as to the accuracy of the date listed.)
Filing date
Publication date
Application filed by SZ Zuvi Technology Co Ltd filed Critical SZ Zuvi Technology Co Ltd
Publication of EP4516160A2 publication Critical patent/EP4516160A2/de
Publication of EP4516160A3 publication Critical patent/EP4516160A3/de
Pending legal-status Critical Current

Links

Images

Classifications

    • AHUMAN NECESSITIES
    • A45HAND OR TRAVELLING ARTICLES
    • A45DHAIRDRESSING OR SHAVING EQUIPMENT; EQUIPMENT FOR COSMETICS OR COSMETIC TREATMENTS, e.g. FOR MANICURING OR PEDICURING
    • A45D20/00Hair drying devices; Accessories therefor
    • A45D20/04Hot-air producers
    • A45D20/08Hot-air producers heated electrically
    • A45D20/10Hand-held drying devices, e.g. air douches
    • AHUMAN NECESSITIES
    • A45HAND OR TRAVELLING ARTICLES
    • A45DHAIRDRESSING OR SHAVING EQUIPMENT; EQUIPMENT FOR COSMETICS OR COSMETIC TREATMENTS, e.g. FOR MANICURING OR PEDICURING
    • A45D20/00Hair drying devices; Accessories therefor
    • AHUMAN NECESSITIES
    • A45HAND OR TRAVELLING ARTICLES
    • A45DHAIRDRESSING OR SHAVING EQUIPMENT; EQUIPMENT FOR COSMETICS OR COSMETIC TREATMENTS, e.g. FOR MANICURING OR PEDICURING
    • A45D20/00Hair drying devices; Accessories therefor
    • A45D20/04Hot-air producers
    • A45D20/08Hot-air producers heated electrically
    • A45D20/10Hand-held drying devices, e.g. air douches
    • A45D20/12Details thereof or accessories therefor, e.g. nozzles, stands
    • HELECTRICITY
    • H05ELECTRIC TECHNIQUES NOT OTHERWISE PROVIDED FOR
    • H05BELECTRIC HEATING; ELECTRIC LIGHT SOURCES NOT OTHERWISE PROVIDED FOR; CIRCUIT ARRANGEMENTS FOR ELECTRIC LIGHT SOURCES, IN GENERAL
    • H05B3/00Ohmic-resistance heating
    • H05B3/0033Heating devices using lamps
    • HELECTRICITY
    • H05ELECTRIC TECHNIQUES NOT OTHERWISE PROVIDED FOR
    • H05BELECTRIC HEATING; ELECTRIC LIGHT SOURCES NOT OTHERWISE PROVIDED FOR; CIRCUIT ARRANGEMENTS FOR ELECTRIC LIGHT SOURCES, IN GENERAL
    • H05B3/00Ohmic-resistance heating
    • H05B3/02Details
    • AHUMAN NECESSITIES
    • A45HAND OR TRAVELLING ARTICLES
    • A45DHAIRDRESSING OR SHAVING EQUIPMENT; EQUIPMENT FOR COSMETICS OR COSMETIC TREATMENTS, e.g. FOR MANICURING OR PEDICURING
    • A45D2200/00Details not otherwise provided for in A45D
    • A45D2200/20Additional enhancing means
    • A45D2200/205Radiation, e.g. UV, infrared

Definitions

  • Infrared (IR) radiation is utilized as a source of heat energy in the drying apparatus of the disclosure to remove water and moisture from objects.
  • An infrared radiation energy source can emit infrared energy to provide stable and consistent heat.
  • the infrared energy can be directed onto the object (e.g., hair), therefore heat is transferred to the object directly in a radiation heat transfer manner, which increases a heat transfer efficiency.
  • a cordless drying apparatus of the disclosure can be powered by rechargeable and/or replaceable embedded batteries, making the drying apparatus portable and convenient.
  • an operating time of the battery powered cordless drying apparatus can be extended while maintaining a high output power density to guarantee a satisfactory drying effect.
  • the apparatus for drying hair can be provided with a plurality of sensors to measure parameters of the user's hair, the surrounding environment and/or operation of the apparatus.
  • the apparatus for drying hair can give tactile feedback to the user if, for example, the user holds the apparatus too close to the hair or a malfunction is detected in the apparatus, such that the user can adjust or stop operating the apparatus.
  • the apparatus can comprise a housing configured to provide an airflow channel having an airflow inlet and an airflow outlet; an airflow generating element contained in the housing and configured to effect an airflow through the airflow channel; one or more radiation energy sources configured to generate infrared radiation and direct the infrared radiation toward an exterior of the housing, at least one of the one or more radiation energy sources comprising a first portion that is positioned not contacting the airflow channel; and a power element configured to provide power at least to the radiation energy source and the airflow generating element.
  • a method for drying an object is also disclosed.
  • the method can comprise providing an airflow channel, via a housing, the airflow channel having an airflow inlet and an airflow outlet; effecting airflow, via an airflow generating element contained in the housing, through the airflow channel; generating infrared radiation, via one or more radiation energy sources contained in the housing, and directing the infrared radiation toward an exterior of the housing; dissipating heat, via a thermal coupling coupled to at least one of the one or more radiation energy sources, of the at least one of the one or more radiation energy source; and providing power, via a power element to at least the radiation energy source and the airflow generating element.
  • the apparatus can comprise a housing; one or more radiation energy sources configured to generate infrared radiation and direct the infrared radiation toward an exterior of the housing, each of the one or more radiation energy sources comprising a reflector, the reflector having an opening toward the exterior of the housing; and a power element configured to provide power at least to the radiation energy source.
  • At least one of the reflectors of the one or more radiation energy sources can have a cut-away shape.
  • the radiation energy source can comprise a radiation emitter, the radiation emitter being configured to generate an infrared radiation; and a reflector, the reflector having at least one vertex and an opening toward an exterior of the radiation energy source, the reflector being configured to direct the infrared radiation toward the exterior of the radiation energy source.
  • the radiation emitter can be positioned and oriented such that a distal end of the radiation emitter does not point to the opening. A radiation emitter is also disclosed.
  • the radiation emitter can comprise a radiation generating element configured to generate a radiation when powered; a radiation reflecting element positioned beneath the radiation generating element and configured to reflect at least a portion of the radiation toward an exterior of the radiation emitter; and a sealing member configured to seal the radiation generating element and the radiation reflecting element.
  • the apparatus can comprise a housing configured to provide an airflow channel having an airflow inlet and an airflow outlet; an airflow generating element contained in the housing and configured to effect an airflow through the airflow channel, the airflow generating element comprising at least a low noise motor; a radiation energy source contained in the housing and configured to generate infrared radiation and direct the infrared radiation toward an exterior of the housing; and a power element configured to provide power at least to the radiation energy source and the airflow generating element.
  • the method can comprise providing an airflow channel, via a housing, the airflow channel having an airflow inlet and an airflow outlet; effecting airflow, via an airflow generating element contained in the housing, through the airflow channel, the airflow generating element comprising at least a low noise motor; generating infrared radiation, via a radiation energy source contained in the housing, and directing the infrared radiation toward an exterior of the housing; and providing power, via a power element to at least the radiation energy source and the airflow generating element.
  • the drying apparatus of the disclosure can remove water and moisture from objects (e.g., hair, fabrics) by utilizing an infrared (IR) radiation energy source as source of heat energy.
  • the infrared radiation energy source can emit infrared energy having predetermined wavelength range and power density to heat the object.
  • the heat carried by the infrared energy is directly transferred to the object in a radiation heat transfer manner, such that a heat transfer efficiency is improved as compared with the conventional convective heat transfer manner (e.g., substantially no heat is absorbed by surrounding air in the radiation heat transfer manner, while a big portion of heat is absorbed by the surrounding air and then blown away in the conventional convective heat transfer manner).
  • the infrared radiation energy source can be used in combination with an airflow generating element (e.g., a motor-driven impeller), which airflow further accelerates an evaporation of water from the object.
  • infrared radiation as source of heat energy
  • the infrared heat penetrates the hair shaft down to the cortex of the hair cuticle, therefore it dries hair faster and also relaxes and softens the hair.
  • the infrared energy is also believed to aid scalp health and stimulates hair growth by increasing blood flow of scalp.
  • the utilization of infrared radiation energy source can enable a compact and lightweight drying apparatus because no resistive wire grid is needed to heat the airflow up.
  • the improved heat transfer efficiency and energy efficiency of infrared radiation energy source can also enable a cordless drying apparatus, which is powered by embedded battery, to operate at an extended operating time.
  • FIG. 1 is a cross-sectional view showing an exemplary hair dryer in accordance with embodiments of the disclosure.
  • the hair dryer can comprise a housing 101.
  • Various electric, mechanical and electromechanical components such as an airflow generating element 102, a radiation energy source 103, a control circuit (not shown) and a power adaptor (not shown), can be received in the housing 101.
  • the radiation energy source 103 can be configured to generate radiation heat energy and direct the heat energy to the user's hair.
  • the airflow generating element 102 can be configured to generate an airflow which facilitates an evaporation of water from user's hair.
  • the hair dryer can comprise a power element configured to energize at least the radiation energy source and the airflow generating element.
  • the hair dryer can be powered with an external power source.
  • the power element can comprise a power adapter which regulates a voltage and/or a current received from the external power source.
  • the hair dryer can be energized by electrically connecting to an external battery or a power grid via a power cord.
  • the hair dryer can be powered with an embedded power source.
  • the power element can comprise one or more batteries which are received within the housing.
  • the one or more batteries can be rechargeable (e.g., secondary battery) and/or replaceable.
  • one or more batteries 104 can be received in the housing (e.g., a handle of the housing) of the hair dryer.
  • a status of the battery e.g., a battery charge status, a remaining power
  • LED light-emitting diode
  • the housing can comprise a body and a handle, each of which can receive therein at least a portion of the electric, mechanical and electromechanical components.
  • the body and the handle can be integral.
  • the body and the handle can be separate components.
  • the handle can be detachable from the body.
  • the detachable handle can contain therein one or more batteries which are used to power the hair dryer.
  • the housing can be made from an electrical insulating material having a high resistance to electrical flow.
  • the electrical insulating material can include polyvinyl chloride (PVC), polyethylene terephthalate (PET), acrylonitrile-butadiene-styrene copolymer (ABS), polyester, polyolefins, polystyrene, polyurethane, thermoplastic, silicone, glass, fiberglass, resin, rubber, ceramic, nylon, and wood.
  • the housing can also be made from a metallic material coated with an electrical insulating material or a combination of electrical insulation material and metallic material coated or not coated with electrical insulation material.
  • the electrical insulating material can form an inner layer of the housing, while the metallic material can form an outer layer of the housing.
  • the housing can provide one or more airflow channels therein.
  • the airflow generated by the airflow generating element can be directed and/or regulated through an airflow channel and toward the user's hair.
  • the airflow channel can be shaped to regulate at least a velocity, a throughput, an angle of divergence or a vorticity of the airflow exiting the hair dryer.
  • the airflow channel can include an airflow inlet and an airflow outlet.
  • the airflow inlet and the airflow outlet can be positioned at opposite ends of the hair dryer along a longitudinal direction thereof.
  • the airflow inlet and the airflow outlet can each be vent that allows efficient airflow throughput.
  • the environment air can be extracted into the airflow channel via the airflow inlet to generate the airflow, and the generated airflow can exit the airflow channel via the airflow outlet.
  • one or more air filters can be provided at the airflow inlet to prevent dust or hair from entering the airflow channel.
  • an air filter can be a mesh having appropriate mesh size.
  • the air filter can be detachable or replaceable for cleaning and maintenance.
  • an airflow regulator can be provided at the airflow outlet.
  • the airflow regulator can be a detachable nozzle, comb or curler.
  • the airflow regulator can be configured to modulate a velocity, a throughput, an angle of divergence or a vorticity of the airflow blowing out from the airflow outlet.
  • the airflow regulator can be shaped to converge (e.g., concentrate) the airflow at a predetermined distance in front from the airflow outlet.
  • the airflow regulator can be shaped to diffuse the airflow exiting the airflow outlet.
  • the airflow generating element 102 can comprise an impeller 1021 driven by a motor 1022.
  • the impeller can comprise a plurality of blades.
  • a rotation of the impeller can extract environment air into the airflow channel via the airflow inlet to generate the airflow, push the generated airflow through the airflow channel and eject the airflow out of the airflow outlet.
  • the motor can be supported by a motor holder or housed in a motor shroud.
  • the motor can be a brushless motor of which a speed of rotation can be regulated under the control of a controller (not shown). For instance, a speed of rotation of the motor can be controlled by a preset program, a user's input or a sensor data.
  • a dimension of the motor, measured in any direction, can be in a range from 14 mm (millimeter) to 21 mm.
  • a power output of the motor can be in a range from 35 to 80 watts (W).
  • a maximum velocity of the airflow exiting from the airflow outlet can be at least 8 meters/second (m/s).
  • the airflow generating element 102 is illustrated in FIG. 1 and FIG. 2 as being received in the body of the housing, those skilled in the art can appreciate that it can also be positioned in the handle.
  • a rotation of the impeller can extract air into a vent (e.g., airflow inlet) provided at the handle and push the air through the airflow channel to the airflow outlet provided at an end of the body of the housing.
  • the airflow channel can accordingly extend through the handle and body of the housing.
  • the radiation energy source 103 can be configured to generate an infrared radiation and direct the infrared radiation toward an exterior of the housing.
  • the radiation energy source can be supported by a radiation energy source holder or housed in a radiation energy source shroud.
  • the radiation energy source can be an infrared lamp which converts electric energy into infrared radiation energy.
  • the infrared lamp can comprise a radiation emitter configured to emit a radiation having a predetermined wavelength and a reflector configured to reflect the radiation toward the outlet of the airflow channel.
  • the infrared lamp can also be an infrared Light Emitting Diode (LED) or a laser device such as Carbon Dioxide Laser.
  • a reflector may not necessarily needed.
  • An optical element can be provided to diverge the radiation from the laser device to increase an area that is radiated by the infrared radiation.
  • the radiation energy can be directed to user's hair. Therefore, heat is transferred to the hair in a radiation heat transfer manner, which increases a heat transfer efficiency of the hair dryer. Details of the infrared lamp will be provided in the disclosure hereinafter.
  • an airflow channel enclosure 105 can be provided to define the airflow channel 107 (e.g., as a boundary of the airflow channel).
  • the airflow channel enclosure 105 can substantially extend from one longitudinal end of the hair dryer to the other longitudinal end.
  • the motor and impeller can be positioned adjacent to an inlet end of the airflow channel enclosure.
  • a property of the airflow e.g., a velocity, an angle of divergence or a vorticity
  • a cross-sectional shape of the airflow channel enclosure can vary along a longitudinal direction thereof to generate a desired velocity distribution and/or angle of divergence of the airflow exiting the airflow outlet.
  • the infrared lamp can be housed within an infrared lamp enclosure 106.
  • the infrared lamp enclosure can serve to protect the infrared lamp.
  • a space between an outer surface of the infrared lamp and an inner surface of the infrared lamp enclosure can be provided with a degree of vacuum.
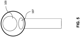
  • the infrared lamp enclosure 106 can be positioned within the airflow channel enclosure 105. At least a portion of the airflow channel 107 can be defined by the airflow channel enclosure 105 and the infrared lamp enclosure 106, as shown in FIG. 2 .
  • a lateral view of a hair dryer having this configuration is shown in FIG.
  • the infrared lamp enclosure can be positioned external to the airflow channel enclosure (for example, the infrared lamp enclosure is not encompassed by the airflow channel enclosure).
  • a lateral view of a hair dryer having this configuration is shown in FIG. 5 , where an output of the infrared lamp 103 is separated from the airflow outlet of the airflow channel 107.
  • the airflow channel is illustrated in FIG. 1 and FIG. 2 as extending from the airflow inlet at one longitudinal end of the body of the housing to the airflow outlet at the other longitudinal end of the body of the housing, those skilled in the art can appreciate that the airflow inlet and/or airflow outlet can be distributed over the housing of the hair dryer of the disclosure, and more than one airflow channel and/or branches of the airflow channel can be provided within the housing of the hair dryer.
  • at least a portion of the airflow inlet can be positioned at the handle of the housing.
  • at least a portion of the airflow outlet can be positioned at the handle of the housing, such that a portion of the airflow can be introduced to and flow through the one or more batteries received in the handle, thereby cooling down the one or more batteries.
  • FIG. 3 is a schematic showing an exemplary radiation energy source in accordance with embodiments of the disclosure.
  • the radiation energy source can be an infrared lamp.
  • the infrared lamp 103 can comprise a reflector 1032 having an opening directed to the airflow outlet of the airflow channel and a radiation emitter 1031 positioned within an interior of the reflector.
  • the radiation emitter 1031 can be configured to emit a radiation within a predetermined wavelength range.
  • the radiation emitted from the radiation emitter can be reflected by a reflecting surface (e.g., inner surface) of the reflector 1032 toward an exterior of the hair dryer.
  • the radiation emitter can be a conductive heater (e.g., a heater operated on a metal resistor or a carbon fiber) or a ceramic heater.
  • Example of the metal resistor can include tungsten filament and Chromel (e.g., an alloy of nickel and chrome, also known as nichrome) filament.
  • Examples of the ceramic heater can comprise a positive temperature coefficient (PTC) heater and a metal-ceramic heater (MCH).
  • a ceramic heater includes metal heating elements buried inside the ceramics, for example tungsten inside silicon nitride or silicon carbide.
  • the radiation emitter can be provided in a form of wire (e.g., filament).
  • the wire can be patterned (e.g., spiral filament) to increase a length and/or surface thereof.
  • the radiation emitter can also be provided in a form of rod.
  • the radiation emitter can be a silicon nitride rod, a silicon carbide rod or a carbon fiber rod having a predetermine diameter and length.
  • the radiation emitted by the radiation emitter can substantially cover visible spectrum from 0.4 ⁇ m to 0.7 ⁇ m and infrared spectrum above 0.7 ⁇ m. In some instances, the radiation emitted by the radiation emitter can substantially cover infrared spectrum only. In an exemplary example, the radiation emitter, when energized, can emit a radiation having a wavelength from 0.7 ⁇ m to 20 ⁇ m.
  • a power density of radiation emitted by the radiation emitter can be at least 1 kW/m2, 2 kW/m2, 3 kW/m2, 4 kW/m2, 5 kW/m2, 6 kW/m2, 7 kW/m2, 8 kW/m2, 9 kW/m2, 10 kW/m2, 20 kW/m2, 30 kW/m2, 40 kW/m2, 50 kW/m2, 60 kW/m2, 70 kW/m2, 80 kW/m2, 90 kW/m2, 100 kW/m2, 120 kW/m2, 140 kW/m2, 160 kW/m2, 180 kW/m2, 200 kW/m2, 220 kW/m2, 240 kW/m2, 260 kW/m2, 280 kW/m2, 300 kW/m2, 350 kW/m2, 400 kW/m2, 450 kW/m2, 500 kW/m2, or more.
  • Object will radiate in the infrared to visible wavelength range as a form of heat transfer.
  • This heat transfer is referred to blackbody radiation.
  • Blackbody radiation can be utilized as infrared source. Blackbody is a broadband radiation. The central wavelength as well as spectrum bandwidth decrease as the temperature increases. The total energy will be proportional to S x T4, where S refers to the surface area and T is the temperature. It is essential to raise the temperature in order to have a higher infrared emission.
  • a temperature of the radiation emitter 1031 can be at least 500, 600, 700, 800, 900, 1000, 1100, 1200, 1300, 1400, 1500, 1600, 1700, 1800, 1900 or 2000 degrees centigrade (°C).
  • the temperature of the radiation emitter can be 900 to 1500 degrees centigrade.
  • the central wavelength or range of wavelength of radiation emitted by the radiation emitter can be tunable, for example, by at least 0.5, 1.0, 105, 2.0, 2.5, 3.0, 3.5, 4.0, 4.5, 5.0, 5.5, 6.0, 6.5, 7.0, 7.5, 8.0, 8.5, 9.0, 9.5 or 10.0 ⁇ m.
  • the power density of radiation emitted from the radiation emitter can be adjustable under different operation mode of the hair dryer (e.g., a rapid-dry mode, a hair-health mode, etc.), for example, by changing an electric voltage and/or current supplied thereto.
  • the reflector 1032 can be configured to regulate the radiation emitted from the radiation emitter.
  • the reflector can be shaped to reduce a divergence angle of the reflected beam of radiation.
  • the reflector 1032 can have a substantially cone shape as shown in FIG. 2 .
  • a cross section of a reflecting surface of the reflector can be parabolic.
  • the radiation emitter 1031 can be positioned at a focal point of the parabola, such that the reflected beam of radiation can be a substantially parallel beam of radiation.
  • the radiation emitter can also be positioned offset the focal point of the parabola, such that the reflected beam of radiation can be convergent or divergent at a distance in front of the hair dryer.
  • a position of the radiation emitter 1031 in the reflector 1032 can be adjustable, therefore, a degree of convergence and/or a direction of the output beam of radiation can be changed.
  • the shape of the reflector and shape of the radiation emitter can be optimized and varied with respective to each other for desired heating power output at a desired position exterior to the hair dryer.
  • the reflecting surface of the reflector can be coated with a coating material having a high reflectivity to a wavelength or a range of wavelength of the radiation emitted by the radiation emitter.
  • the coating material can have a high reflectivity to a wavelength in both visible spectrum and infrared light spectrum.
  • a material having high reflectivity can have a high effectiveness in reflecting radiant energy.
  • the coating material can include metallic material and dielectric material.
  • the metallic material can include, for example, gold, silver and aluminum.
  • the dielectric coating can have layers of alternating dielectric materials such as magnesium fluoride and calcium fluoride.
  • the reflectivity of the coated reflecting surface of the reflector can be at least 90% (e.g., 90% of the incident radiation is reflected by the reflecting surface of the reflector), 90.5%, 91%, 91.5%, 92%, 92.5%, 93%, 93.5%, 94%, 94.5%, 95%, 95.5%, 96%, 96.5%, 97%, 97.5%, 98%, 98.5%, 99%, 99.5%, 99.6%, 99.7%, 99.8%, 99.9% or higher.
  • the reflectivity of the coated reflecting surface of the reflector can be substantially 100%, meaning that substantially all the radiation emitted by the radiation emitter can be reflected toward an exterior of the hair dryer. As a result, a temperature on an surface of the reflector is substantially not increased by the radiation emitted from the radiation emitter, even if a temperature of the radiation emitter is high.
  • An optical element 1033 can be provided at the opening of the reflector.
  • the optical element can abut against the opening of the reflector in an air-tight manner.
  • the optical element can include lens, reflector, prism, grating, beam splitter, filter or a combination thereof that modifies or redirects light.
  • the optical element can be a lens.
  • the optical element can be a Fresnel lens.
  • the interior of the reflector can be configured to have a degree of vacuum.
  • a pressure within the interior of the reflector can be less than 0.9 standard atmosphere (atm), 0.8 atm, 0.7 atm, 0.6 atm, 0.5 atm, 0.4 atm, 0.3 atm, 0.2 atm, 0.1 atm, 0.05 atm, 0.01 atm, 0.001 atm, 0.0001 atm or less.
  • the pressure within the interior of the reflector can be about 0.001 atm or less.
  • the vacuum can suppress an evaporation and/or oxidation of the radiation emitter 1031 and expand a life span of the infrared lamp.
  • the vacuum can also prevent a thermal convection or a thermal conduction between the radiation emitter and the optical element and/or reflector.
  • the interior of the reflector can be filled with an amount of non-oxidizing gas while still maintaining a certain level of vacuum to reduce an increase in a temperature of the air inside the space formed by the inner surface of optical element and coated reflector, which increase in temperature being caused by thermal convection and conduction though minimal.
  • the non-oxidizing gas can include nitrogen (N2), helium (He), argon (Ar), neon (Ne), krypton (Kr), xenon (Xe), radon (Rn), and nitrogen (N2).
  • inert gas can further protect the material of the radiation emitter from oxidation and evaporation.
  • the optical element can be made from a material having a high infrared transmissivity.
  • the material for optical element can include oxides (e.g., silicon dioxide), metal fluorides (e.g., calcium fluoride, barium fluoride), metal sulfide or metal selenide (e.g., zinc sulfide, zinc selenide), and crystals (e.g., crystalline silicon, crystalline germanium).
  • oxides e.g., silicon dioxide
  • metal fluorides e.g., calcium fluoride, barium fluoride
  • metal sulfide or metal selenide e.g., zinc sulfide, zinc selenide
  • crystals e.g., crystalline silicon, crystalline germanium
  • either or both sides of the optical element can be coated with a material absorbing visible spectrum and ultraviolet spectrum, such that only wavelength in infrared range can pass through the optical element. The radiation not in the infrared spectrum can be filtered out (e.g.
  • the infrared transmissivity of the optical element can be at least 95% (e.g., 95% of the incident radiation in infrared spectrum transmits through the optical element), 95.5%, 96.0%, 96.5%, 97.0%, 97.5%, 98.0%, 98.5%, 99%, 99.1%, 99.2%, 99.3%, 99.4%, 99.5%, 99.6%, 99.7%, 99.8%, 99.9% or higher.
  • the infrared transmissivity of the optical element can be 99%.
  • the optical element can filter out (e.g., absorb) a radiation having a particular wavelength or a radiation having a predetermined range of wavelength from the radiation reflected by the reflector.
  • the optical element can selectively remove visible light spectrum and/or ultraviolet spectrum from the arriving radiation, such that only radiation in the infrared spectrum can be directed to the user's hair.
  • the radiation emitter can emit a radiation having a wavelength from 0.4 ⁇ m to 20 ⁇ m
  • the reflector can reflect all the radiation toward the optical element (e.g., no radiation is absorbed at the reflecting surface)
  • the optical element can filter out any visible spectrum wavelength of 0.4 ⁇ m to 0.7 ⁇ m from the reflected radiation, leaving only radiation in infrared spectrum exiting the infrared lamp.
  • the optical element can be shaped to converge or diverge the arriving radiation in a predetermined direction or to reduce a divergence angle of the arriving radiation beam.
  • the optical element can be a convex lens, a concave lens, a set of convex lenses and/or concave lenses, or a Fresnel lens.
  • the optical element can be configured to converge the reflected radiation in a predetermined direction with a predetermined convergency angle to form a radiation spot having a predetermined shape and a predetermined size at a predetermined distance in front of the hair dryer.
  • the optical element can be configured to diverge the generated radiation beam in a predetermined direction with a predetermined divergency angle to increase an area on the user's hair that is radiated by the infrared radiation.
  • a temperature increase at the optical element can be further suppressed by the vacuum in the interior of the reflector (e.g., the space enclosed by the optical element and the reflecting surface of the reflector), which vacuum prevents a thermal convection or a thermal conduction between the radiation emitter and the optical element.
  • a portion of the airflow can be introduced from the airflow channel onto an outer surface of the optical element (e.g., blowing across the optical element), such that a temperature of the optical element and a surrounding area can be maintained substantially unchanged during an operation of the infrared lamp.
  • an increase in temperature of the optical element can be minor even if a temperature of the radiation emitter is high.
  • An increase in temperature of the airflow caused by the infrared lamp can be less than 5 degrees centigrade (°C), 4.5 °C, 4.0 °C, 3.5 °C, 3.0 °C, 2.5 °C, 2.0 °C, 1.5 °C, 1.0 °C, 0.5 °C, 0.1 °C or less.
  • an increase in temperature of the airflow caused by the infrared lamp can be less than 3 °C. In other words, the radiation generated at the infrared lamp does not substantially account for the increase in temperature of the airflow.
  • the room temperature is 25 °C
  • an increase in temperature of the airflow travelling through the entire airflow channel of the hair dryer of the disclosure is at most 15 °C, resulting in a temperature of airflow at the airflow outlet at most 40 °C, which is much lower than the temperature of the airflow blowing out of a conventional hot air-based hair dryer.
  • the temperature of the airflow blowing out of a conventional hair dryer No. 1 (Dyson@ HD01) is about 140 °C.
  • the temperature of the airflow blowing out of a conventional hair dryer No. 2 Panasonic@ EH-JNA9C
  • the temperature of airflow arriving at the user's hair can be lower than the temperature measured at the airflow outlet of the hair dryer due to a heat dissipation in the air.
  • the airflow temperature at 10 cm in front of the airflow outlet of the hair dryer of the disclosure is about 28 °C under a condition that the room temperature being 25 °C and the temperature of airflow at the airflow outlet being about 40 °C.
  • the airflow temperature at 10 cm in front of the airflow outlet of the conventional hair dryer No. 1 is about 74.4 °C under a condition that the room temperature being 25 °C and the temperature of airflow at the airflow outlet being about 140 °C.
  • the relative cool airflow can be beneficial in drying and styling user's hair. For instance, frizz, dry and damaged hair can be avoided, which otherwise may occur with conventional hair dryer blowing a hot airflow.
  • the hair dryer can be equipped with various sensors which otherwise do not work under a high temperature.
  • the sensors can comprise a temperature sensor, a proximity/range-finding sensor and/or a humidity sensor.
  • the sensors can be positioned, for example, at an airflow outlet side of the housing to monitor a status the user's hair (e.g., degree of humidity).
  • An area within which the airflow being applied onto the hair can substantially encompass an area of infrared radiation on the hair (e.g., the radiation spot).
  • the airflow can accelerate an evaporation of the heated water from the hair by blowing away the humid air surrounding the hair.
  • the airflow can also decrease a temperature of the hair radiated by the infrared radiation to avoid a hair damage.
  • a temperature of the hair and water on the hair has to be maintained at an appropriate range to accelerate an evaporation of water from hair while keeping the hair not too hot.
  • the appropriate temperature range can be 50 to 60 degrees centigrade.
  • a velocity of the airflow blowing onto the hair can be regulated to maintain the temperature of the hair within the appropriate temperature range, for example by blowing away heated water and excess heat.
  • a proximity/range-finding sensor and a temperature sensor can operate collectively to determine the temperature of the hair and regulate the velocity of the airflow via a feedback loop control to maintain a constant or programmed temperature of the hair.
  • FIG. 6 is a cross-sectional view showing another exemplary hair dryer in accordance with embodiments of the disclosure.
  • FIG. 7 is an enlarged cross-sectional view showing body of the hair dryer of FIG. 6 .
  • the hair dryer can be powered by an external power source and/or embedded batteries.
  • the hair dryer can comprise a housing 601.
  • the housing can include a body and a handle.
  • An airflow generating element 602, a radiation energy source 603 and various other electric and mechanical components can be received in the housing.
  • the radiation energy source 603 can be configured to generate and direct heat energy toward user's hair.
  • the airflow generating element 602 can be configured to generate an airflow passing through an airflow channel provided in the housing.
  • the airflow generating element 602 can comprise an impeller 6021 driven by a motor 6022.
  • the generated airflow can be pushed through the airflow channel 607 to an exterior of the hair dryer.
  • the radiation energy source 603 can be an infrared lamp having a substantially ring shape.
  • the ring-shaped radiation energy source 603 can comprise a substantially ring-shaped reflector 6032 and a substantially ring-shaped radiation emitter 6031 positioned within an interior of the reflector.
  • the radiation emitter can be a filament having a substantially ring shape.
  • the radiation emitter 6031 can also comprises a plurality of sections which collectively form a substantially ring shape.
  • the radiation emitter can be configured to emit a radiation within a predetermined wavelength range. In some instances, the radiation emitted by the radiation emitter can substantially cover visible spectrum and infrared spectrum.
  • the reflector 6032 can have an opening directed to an exterior of the hair dryer.
  • the radiation emitted from the radiation emitter can be reflected by a reflecting surface (e.g., inner surface) of the reflector 6032 toward user's hair.
  • a divergency angle of the reflected radiation beam can be reduced by the reflecting surface to concentrate the reflected radiation energy within a radiation spot having a predetermined shape and a predetermined size at a predetermined distance in front of the hair dryer.
  • a cross section of the reflecting surface of the reflector can be parabolic.
  • the radiation emitter 6031 can be positioned at a focal point of the parabolic reflecting surface of the reflector (e.g., parabola) or offset the focal point of the parabola.
  • a position of the radiation emitter in the reflector can be adjustable by a movement of the radiation emitter with respect to the reflector.
  • the reflecting surface of the reflector can be coated with a coating material having a high reflectivity to a wavelength range of radiation generated by the radiation emitter, such that substantially all the radiation emitted by the radiation emitter can be reflected toward the user's hair.
  • a temperature on an external surface of the reflector is substantially not increased by the radiation from the radiation emitter because substantially no energy is absorbed by the reflecting surface of the reflector.
  • a substantially ring-shaped optical element 6033 can be provided at the opening of the reflector.
  • the optical element can remove (e.g., absorb) a radiation having a predetermined range of wavelength from the radiation reflected by the reflector. For instance, the optical element can selectively remove visible light spectrum and/or ultraviolet spectrum from the reflected radiation, such that only radiation in the infrared spectrum can be directed to the user's hair.
  • the interior of the reflector can be configured to have a degree of vacuum to prevent a thermal convection or a thermal conduction between the radiation emitter and the optical element and/or reflector. In some instance, the interior of the reflector can be filled with an amount of inert gas to prevent the radiation emitter from oxidation and/or evaporation. As discussed hereinabove, a temperature of the airflow is substantially not increased by the infrared lamp while traveling through the airflow channel, and the relative cool airflow can be beneficial in drying and styling user's hair.
  • a dimension of the housing in an axial direction (e.g., the direction from the airflow generating element to the opening of the infrared lamp, which is shown in FIG. 6 and FIG. 7 as a horizontal direction) can be further reduced as a result of the ring-shaped infrared lamp configuration.
  • at least a portion of the airflow generating element can be received in a space encompassed by the ring-shaped infrared lamp, resulting in a shortened airflow channel in the axial direction.
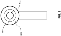
  • a chamber 611 can be positioned in the space encompassed by the infrared lamp. An opening of the chamber can direct toward the user's hair.
  • the opening can be covered by a transparent sealing member (e.g., SiO2 glass).
  • the opening can be covered by a colored sealing member (e.g., a coated SiO2 glass) for an aesthetic appearance.
  • the chamber can be provided to accommodate various components such as sensors. Examples of the sensors can comprise a temperature sensor, a proximity/range-finding sensor, and a humidity sensor.
  • a wall of the chamber can be made from electrically and/or thermal insulting material.
  • a temperature in the chamber can be maintained at room temperature to improve an accuracy in measurement of the sensors, since the airflow flowing through the airflow channel is substantially not heated by the infrared lamp, as discussed herein above.
  • the airflow outlet of the airflow channel 607 can be positioned between the infrared lamp 603 and the chamber 611.
  • FIG. 9 shows a lateral view of the hair dryer of FIG. 6 and FIG. 7 , where the chamber is centrally positioned while the airflow outlet of the airflow channel 607 is encompassed by the infrared lamp 603.
  • the airflow outlet of the airflow channel 607 can be positioned between the housing 601 and the infrared lamp 603 to form a configuration where the infrared lamp is encompassed by the airflow out of the airflow channel.
  • the radiation energy source 603 in FIG. 6 and FIG. 7 can alternatively or additionally comprise a plurality of infrared lamps.
  • the plurality of infrared lamps can be arranged along a contour of any geometry, such as a ring, a triangle, a square or a sector.
  • FIG. 10 and FIG. 11 schematically illustrate the radiation energy source 603 having a plurality of infrared lamps arranged along a ring.
  • Each of the plurality of infrared lamps can have substantially the same configuration as described hereinabove with reference to FIG. 3 .
  • each of the plurality of infrared lamps can comprise a reflector 6032 having an opening directed to an exterior of the hair dryer, an optical element which abuts against an opening of the reflector, and a radiation emitter 6031 positioned within an interior of the reflector.
  • the reflecting surface of the reflector can be coated with a coating material having a high reflectivity to the wavelength range of radiation generated by the radiation emitter.
  • the optical element can remove radiation having a predetermined wavelength or wavelength range, such as radiation in visible light spectrum and/or ultraviolet spectrum.
  • a cross section of a reflecting surface of each reflector can be parabolic.
  • a divergence angle of the reflected beam of radiation can be reduced by the parabolic reflector of each infrared lamp.
  • a shape of the radiation emitter and a shape of the reflector can be optimized using an optical simulation software to maximize the radiation output at a desired distance exterior to the hair dryer.
  • An axis of the respective parabolic reflecting surface of the reflector in the plurality can be substantially parallel with each other.
  • the axis of a parabola can refer to an axis of symmetry of the parabola that is a vertical line passing through the vertex of the parabola and dividing the parabola into two congruent halves.
  • An axis of the respective parabolic reflecting surface of the reflector in the plurality infrared lamps can also intersect with each other, as shown in FIG. 11 in combination with FIG. 12 .
  • the angle of intersection between the axis of the respective parabolic reflecting surface of the reflector in the plurality of infrared lamps can be adjustable, for example by changing a tilting angle of one or more infrared lamps with respect to axial direction of the housing of the hair dryer.
  • the airflow can be thermally isolated from the plurality of infrared lamps. The airflow is not heated by the radiation generated by the infrared lamps.
  • the infrared radiation exiting the plurality of infrared lamps can at least partially overlap at a predetermined distance in front of the hair dryer, such that a radiation spot having a predetermined shape and size can be formed.
  • the radiation spot can have, for example, a circular shape.
  • a circular spot having a diameter of about 10 centimeters can be formed at a distance of about 10 centimeters in front of the hair dryer.
  • the shape and/or size of the radiation spot at a certain distance in front of the hair dryer can be adjusted by regulating at least one of a size (e.g., diameter) of respective infrared lamp, an offset of radiation emitter from the focal point of the respective reflector, an angle of intersection between the axis of the respective reflector, and an optical property of the optical element of respective infrared lamp.
  • the radiation spot can accounts for at least 50%, 55%, 60%, 65%, 70%, 75%, 80%, 85%, 90%, 95% or more of the total energy carried by the infrared radiation emitted from respective one of the plurality of infrared lamps.
  • An average power density in the radiation spot can be at least 1 x 103, 2 x 103, 3 x 103, 4 x 103, 5 x 103, 6 x 103, 7 x 103, 8 x 103, 9 x 103, 1 x 104, 2 x 104, 3 x 104, 4 x 104, 5 x 104, 6 x 104, 7 x 104, 8 x 104, 9 x 104, 1 x 105 watt per square meter (W/m2) or more.
  • the plurality of infrared lamps can also be arranged in an array of any shape.
  • the plurality of infrared lamps arranged in an array can be coplanar or not.
  • the plurality of infrared lamps can also be arranged to cover an area having any geometry such as a circle, a triangle, a square or a sector.
  • An offset of the radiation emitter from the focal point of respective reflector and an angle of intersection between the axis of the respective reflector in the arrayed plurality of infrared lamps can have substantially same configuration as those described hereinabove with reference to FIG. 10 and FIG. 11 .
  • the infrared radiation emitted from respective one of the arrayed infrared lamps can overlap at a predetermined distance in front of the hair dryer to form a radiation spot having a desired size and power density.
  • the plurality of infrared lamps either arranged as a ring or an array, are not necessarily positioned continuously.
  • the plurality of infrared lamps can be positioned at either an inner side or an outer side of the ring-shaped airflow outlet of the airflow channel.
  • the plurality of infrared lamps can be positioned to encompass the airflow outlet or to be encompassed by the airflow outlet when viewed from a lateral side of the hair dryer.
  • the plurality of infrared lamps can also be positioned apart from the airflow outlet of the airflow channel. For instance, an area covered by the plurality of infrared lamps may not overlap with an area covered by the airflow outlet when viewed from a lateral side of the hair dryer.
  • a chamber can be provided, for example, in the space encompassed by the infrared lamp.
  • a transparent sealing member can be covered on an opening of the chamber, which opening directing to an exterior of the hair dryer.
  • the chamber can be provided to receive therein various components such as sensors.
  • a temperature in the chamber can be maintained at room temperature to improve an accuracy in measurement of the sensors, since the airflow flowing through the airflow channel is substantially not heated by the infrared lamp.
  • the hair dryer of the disclosure can have a reduced dimension at least in an axial direction (e.g., the horizontal direction shown in FIG. 1 and FIG. 6 ) as compared with conventional designs.
  • an infrared lamp having a compact size can be utilized as the radiation energy source. Therefore, a conventional heater cavity receiving a grid of nichrome wire is not provided in the hair dryer of the disclosure.
  • a dimension of the hair dryer in the axial direction can be further reduced as described hereinabove.
  • the hair dryer can comprise a housing having a body and a handle.
  • the body can have a dimension no more than 25, 24, 23, 22, 21, 20, 19, 18, 17, 16, 15, 14, 13, 12, 11, 10, 9, 8, 7, 6, 5 or 4 centimeters in at least one direction thereof, for example an axial direction and a radial direction (e.g., the direction perpendicular to the plane of FIG. 1 and FIG. 6 ).
  • the body can have a dimension no more than 10 centimeter in at least one direction.
  • the body can have a dimension no more than 8 centimeters in at least one direction.
  • the body can have a dimension no more than 6.5 centimeters in at least one direction.
  • the body can have a dimension no more than 25, 24, 23, 22, 21, 20, 19, 18, 17, 16, 15, 14, 13, 12, 11, 10, 9, 8, 7, 6, or 5 centimeters in any direction thereof. In an exemplary example, the body can have a dimension no more than 8 centimeters in any direction thereof. In another exemplary example, the body can have a dimension no more than 6.5 centimeters in any direction thereof.
  • the hair dryer of the disclosure can have a reduced weight.
  • a radiation energy source having a light weight can be utilized as the source of heat energy, instead of the conventional heavy nichrome wires or rods.
  • the hair dryer can comprise a housing having a body and a handle.
  • the hair dryer can be operated by either one or more batteries received within the handle or an external power source.
  • the handle can be detachable from the body of the housing.
  • the hair dryer, including the one or more batteries can have a weight no more than 1500, 1450, 1400, 1350, 1300, 1250, 1200, 1150, 1100, 1050, 1000, 950, 900, 850, 800, 750, 700, 650, 600, 550, 500, 450, 400, 350 or 300 grams.
  • the hair dryer, including the one or more batteries can have a weight no more than 800 grams. In an exemplary example, the hair dryer, including the one or more batteries, can have a weight no more than 600 grams. In a further exemplary example, the body of hair dryer, excluding the handle, can have a weight no more than 300 grams. In a still further exemplary example, the body of hair dryer, excluding the handle, can have a weight no more than 250 grams. The user can therefore easily hold and operate the hair dryer during the process of drying the hair.
  • the hair dryer of the disclosure can have a reduced power consumption.
  • a radiation energy source such as an infrared lamp can be utilized as the source of heat energy in the hair dryer of the disclosure.
  • a ratio of effective energy transferred to the user's hair and water on the hair in the total radiation energy generated by the infrared lamp can be at least 80% because a majority of the radiation generated by the infrared lamp is in the infrared spectrum, as discussed hereinabove.
  • the heat carried by the infrared energy can be directly transferred and applied to the hair and water on the hair in a radiation heat transfer manner, resulting in an improved heat transfer efficiency.
  • about 90% of the radiation generated by the infrared lamp is in the infrared spectrum.
  • the air temperature at airflow outlet is around 140 °C, however the temperature of airflow drops to 74 °C at a distance of 10 cm from the hair dryer, and 60 °C at a distance of 20 cm from the hair dryer.
  • the rapid drop in temperature of airflow in the convective heat transfer manner is caused by the fact that some of the heat is absorbed by the surrounding air prior to arriving at the hair. If the room temperature is 25 °C, then at least 50% of the energy carried by the hot airflow is lost before reaching the hair. After reaching the hair, a portion of hot air is reflected to various directions without contributing in heating the hair or water on the hair, leading to a low ratio of effective energy and heat transfer efficiency.
  • the hair dryer of the disclosure can be operated with one or more embedded batteries.
  • the battery can have a total capacity of at least 50, 55, 60, 65, 70, 75, 80, 85, 90 Watt-hour (Wh, for example, 100 Watt-hour battery can deliver 100 watt power for 1 hour or 20 watt power for 5 hours).
  • Wh for example, 100 Watt-hour battery can deliver 100 watt power for 1 hour or 20 watt power for 5 hours.
  • the battery having a total capacity of 66.6 Wh can effect a continuous operation of the hair dryer about 20 minutes at a total power output (e.g., the total power output of all electricity-consuming components, including the motor, the infrared lamp and any circuits) of 200 W or 13 minutes at a total power output of 350 W, which operation time is sufficient to dry a user's hair completely.
  • a total power output e.g., the total power output of all electricity-consuming components, including the motor, the infrared lamp and any circuits
  • the hair dryer of the disclosure can provide a strong airflow which accelerates an evaporation of water from the hair.
  • the airflow generated by the airflow generating element can travel along the airflow channel without passing through the grid of nichrome wire and thus not being decelerated, resulting in an output airflow having an increased velocity blowing out of the hair dryer.
  • a velocity of the output airflow can be at least 10, 11, 12, 13, 14, 15, 16, 17, 18, 19, 20, 21, 22, 23, 24 or 25 m/s. In an exemplary example, the velocity of the output airflow can be at least 18 m/s.
  • the temperature of the airflow is substantially not increased by the radiation generated at the infrared lamp, as discussed hereinabove.
  • the relative cool airflow can be beneficial to a health of hair in drying and styling user's hair.
  • the hair dryer can be equipped with various sensors which otherwise do not work under a high temperature.
  • a multi-stage warning mechanism can be provided where an alert can be sent to the user if an attitude of the hair dryer is maintained unchanged for a first duration threshold, a velocity of airflow from the airflow generating element is increased and/or an output power of the radiation energy source is decreased if an attitude of the hair dryer is maintained unchanged for a second duration threshold which is larger than the first duration threshold, and the radiation energy source is switched off if an attitude of the hair dryer is maintained unchanged for a third duration threshold which is larger than the second duration threshold.
  • FIG 14A show cross-sectional views showing exemplary configuration of the radiation energy source which are used in the hair dryer of the disclosure.
  • a respective radiation energy source 1403 can have a reflector 1432 and a radiation emitter 1431 that is positioned within the reflector.
  • An axial cross section (e.g., a cross section along an axis) and/or a radial cross section (e.g., a cross section perpendicular to an axis) of the reflector can be provided as a parabolic or polynomial shape.
  • a profile of the axial cross-section and/or the radial cross section can be a polynomial having multiple segments. For example, a first segment of the profile can be expressed by a polynomial of a first set of parameters, and a second segment of the profile can be expressed by a polynomial of a second set of parameters.
  • heat generated at the radiation emitter can be partially transferred to the reflector. At least a portion of the emitted radiation can be absorbed by the inner wall of the reflector. Therefore, a temperature at the reflector can be increased when the radiation energy source is powered. There is a need to manage the operating temperature of the radiation energy source within a predetermined temperature range to expand the life span of the radiation emitter and the reflector, and in the meantime, to avoid adverse effect to the radiation efficiency (e.g., at a temperature lower than the predetermined operating temperature range).
  • excessive heat dissipation from the radiation energy source can cause the operating temperature of the radiation energy source lower than the predetermined operating temperature range, which requires more electrical energy to be converted into thermal energy to maintain the temperature required for black body radiation of the radiation emitter.
  • the disclosure provides a configuration for controlled heat dissipation and operating temperature management of the radiation energy source, where at least one of the one or more radiation energy sources comprise a first portion that is positioned not contacting the airflow channel or the airflow within the airflow channel.
  • the controlled heat dissipation and operating temperature management of the radiation energy source can result in an improved power efficiency which increases an operating duration of the apparatus (e.g., a handheld apparatus powered by battery) after a charging.
  • the hair dryer can be powered by a power element (e.g., embedded batteries and/or an external power source) that is configured to provide power at least to the radiation energy source and the airflow generating element.
  • the apparatus can further comprise a controller in connection with the power element and optionally coupled to the one or more radiation energy sources. In some instances, no additional heat source other than the one or more radiation energy sources can be provided to the apparatus.
  • the first portion can have a larger surface area than the second portion, or vice versa.
  • the second portion can partially protrude into the airflow channel.
  • a protruding member e.g., a fin
  • the protruding member can be made of a material having a high thermal conductivity, thereby transferring heat from the radiation energy source to the airflow channel and/or airflow within the airflow channel.
  • the material having a high thermal conductivity can include, for example, silver, copper, gold, aluminum Nitride, silicon carbide, aluminum, tungsten, graphite or Zinc.
  • FIG. 15A to FIG. 15C show exemplary configuration of the radiation energy source(s) with respect to the airflow channel in which at least one of the one or more radiation energy sources 1403 is positioned between the airflow channel 1407 and the housing 1401.
  • Panels A are schematic views
  • panels B are various exemplary cross-sectional view of panels A.
  • the one or more radiation energy sources can be positioned in various configuration with respect to the airflow channel.
  • panel B in FIG. 15A shows the radiation energy sources positioned along an outer peripheral of the airflow channel.
  • the one or more radiation energy sources can be positioned along an outer peripheral of the airflow outlet.
  • panel B in FIG. 15B shows the one or more radiation energy sources positioned in juxtaposition to the airflow channel.
  • the one or more radiation energy sources can be positioned in juxtaposition to the airflow outlet.
  • the one or more radiation energy sources can be arranged in an array.
  • the one or more radiation energy sources can be provided in various shapes such as a circular shape, a ring shape or an arc shape.
  • Panel B in FIG. 15C shows the radiation energy sources in a ring shape or arc shapes (e.g., a central angle substantially 180 degrees, 120 degrees or 90 degrees).
  • a controller in connection with the power element can be positioned along a peripheral of the airflow channel.
  • a contour (e.g., inner surface) of the controller follows a contour of the airflow channel.
  • the controller e.g., a circuit board
  • the controller can be provided as a circular band which wraps around an outer wall of the airflow channel.
  • At least one of the one or more radiation energy sources 1403 can comprise a first portion 1432a that is positioned not contacting the airflow channel or the airflow within the airflow channel.
  • the first portion can be a portion facing away from the airflow channel or being positioned closer to the housing than to the airflow channel.
  • the at least one of the one or more radiation energy sources does not have a portion that is positioned contacting the airflow channel or the airflow. For instance, at least one radiation energy sources from among the radiation energy sources that are positioned in juxtaposition to the airflow channel does not have a portion that is positioned contacting the airflow channel.
  • the at least one radiation energy source can further comprise a second portion 1432b that is positioned to contact the airflow channel or the airflow within the airflow channel.
  • the second portion can be a side of the radiation energy sources 1403 that is opposite to the first portion 1432a, which second portion is not seen in panel A of FIG. 15C .
  • the second portion can physically contact an outer wall of the airflow channel.
  • the second portion can be formed integral with an outer wall of the airflow channel.
  • the second portion can form at least a portion of an outer wall of the airflow channel.
  • the second portion can be thermally coupled to an outer wall of the airflow channel while the second portion not physically contacts the airflow channel.
  • the thermal coupling can be effected by a thermal coupling member connecting the second portion and the airflow channel. Heat can therefore transfer from the second portion 1432b of the at least one radiation energy source to maintain or decrease an operating temperature of the radiation energy source within a predetermined range.
  • FIG. 16A to FIG. 16C show exemplary configuration of the radiation energy source(s) with respect to the airflow channel in which at least one of the one or more radiation energy sources 1403 is positioned within the airflow channel 1407.
  • Panels A are schematic views, and panels B and C are various exemplary cross-sectional views of panels A.
  • the term "positioned within” can mean at least one of the one or more radiation energy sources is within an area of the airflow channel as viewed in a cross sectional view of the hair dryer.
  • the one or more radiation energy sources can be provided in various shapes such as a circular shape (e.g., as shown in FIG. 16A or FIG. 16C ), a ring shape or an arc shape (as shown in FIG. 16B ).
  • one airflow channel can be provided in the housing.
  • the one or more radiation energy sources can be positioned within an area of the airflow channel.
  • the one or more radiation energy sources can be positioned substantially at a geometrical center of the airflow channel, as shown in FIG. 16A and FIG. 16B .
  • the plurality of radiation energy sources can be distributed within an area of the airflow channel, as shown in panel B in FIG. 16C .
  • a plurality of airflow channels can be provided in the housing, one of the airflow channels being apart from another.
  • An area of one radiation energy source can at least partially overlay with an area of one airflow outlet.
  • the chamber can have at least one opening towards an exterior of the apparatus.
  • the chamber can be configured to isolate at least a portion of the radiation energy sources.
  • the chamber can further receive a portion of at least one of a controller, the power element or a sensor.
  • the controller which is in connection with the power element and the radiation energy sources, can also be positioned in the airflow channel, in which case a contour of an outer wall of the controller can follows a contour of an inner wall of the airflow channel.
  • the airflow can flow through a passage between the airflow channel and the chamber. At least a portion of the chamber contacting the airflow can be streamlined to reduce a resistance of airflow.
  • the chamber can comprise a cooling element configured to dissipate heat generated by the radiation energy source that is partially or entirely contained therein. For instance, one or more fins can protrude from an exterior of the chamber and transfer heat from the radiation energy source into the airflow, thereby decrease or maintain an operating temperature of the radiation energy source within a predetermined range.
  • the chamber can be positioned within the airflow channel by a supporting structure.
  • the supporting structure can include arms extending from an internal wall of the apparatus housing to support the chamber in a predetermined position within an interior of the airflow channel.
  • the chamber can be coupled to at least one of the housing or the airflow channel by an airflow guiding member.
  • the airflow guiding member can be configured to guide the airflow in the airflow channel.
  • the apparatus can comprise a housing configured to provide an airflow channel having an airflow inlet and an airflow outlet; an airflow generating element contained in the housing and configured to effect an airflow through the airflow channel; one or more radiation energy sources contained in the housing and configured to generate an infrared radiation and direct the infrared radiation toward an exterior of the housing; a thermal coupling coupled to at least one of the one or more radiation energy sources and configured to dissipate heat from the at least one of the one or more radiation energy source; and a power element configured to provide power at least to the radiation energy sources and the airflow generating element.
  • the thermal coupling can effect heat dissipation from the at least one of the one or more radiation energy sources to which the thermal coupling is coupled.
  • the radiation energy source can physically contact either an outer or inner wall of the airflow channel, the housing of the apparatus and/or the airflow generating element.
  • the thermal coupling can comprise a portion of the radiation energy source which physically contact the airflow channel, the housing of the apparatus or the airflow generating element. In some instances, the radiation energy source does not physically contact either one of the airflow channel, the housing of the apparatus or the airflow generating element.
  • the thermal coupling can comprise a thermal coupling member which is coupled to or integral with the radiation energy source and either one of the airflow channel, the housing of the apparatus or the airflow generating element.
  • the thermal coupling can be made of the same material with the airflow generating element, the housing or the airflow channel and/or have the same thermal expansion property with the airflow generating element, the housing or the airflow channel.
  • the thermal coupling can be coupled to a support that is connected to the airflow generating element, the housing or the airflow channel.
  • the thermal coupling can dissipate heat by at least one of a heat conduction or a heat convection.
  • the method can comprise providing an airflow channel, via a housing, the airflow channel having an airflow inlet and an airflow outlet; effecting airflow, via an airflow generating element contained in the housing, through the airflow channel; generating infrared radiation, via one or more radiation energy sources contained in the housing, and directing the infrared radiation toward an exterior of the housing; dissipating heat, via a thermal coupling coupled to at least one of the one or more radiation energy sources, of the at least one of the one or more radiation energy source; and providing power, via a power element to at least the radiation energy source and the airflow generating element.
  • FIG. 17 shows an exemplary configuration of an apparatus in which the thermal coupling comprises a second portion 1732b of the at least one of the one or more radiation energy sources 1707 that is positioned to contact the airflow channel 1703.
  • the second portion can be an area of the radiation energy source at which the radiation energy source is coupled to an outer wall (e.g., the radiation energy source is positioned between the airflow channel and the housing of the apparatus) or an inner wall (e.g., the radiation energy source is positioned in an interior of the airflow channel) of the airflow channel.
  • the radiation energy source can be welded or adhered or otherwise affixed to the airflow channel at the second portion.
  • the second portion can form a portion of either the outer wall or inner wall of the airflow channel.
  • the second portion can at least partially protrude into the airflow channel.
  • the protruding part of the second portion can comprise an airflow guide that is configured to regulate a property (e.g., direction, volume, velocity, a velocity distribution, a field area, a resistance, a direction, a vortex, pressure, and a divergence, etc.) of the airflow.
  • the protruding part of the second portion can be in proximity to the airflow outlet.
  • Heat can be dissipate from the radiation energy source to the airflow channel and/or the airflow in the airflow channel by a heat conduction, thereby decreasing or maintaining an operating temperature of the radiation energy source within a predetermined temperature range and/or increasing a temperature of the airflow in the airflow channel.
  • An area of the second portion can be determined by a heat dissipation efficiency and an operating temperature of the radiation energy source.
  • the radiation energy source is coupled to airflow channel in the example of FIG. 17
  • the radiation energy source can be coupled to either the housing of the apparatus or the airflow generating element at the second portion, such that heat can be transferred from the radiation energy source to the housing of the apparatus or the airflow generating element.
  • FIG. 18A is a cutaway lateral view
  • FIG. 18B is a cross-sectional view of FIG. 18A , showing an exemplary configuration of an apparatus in which the thermal coupling comprises a thermal coupling member.
  • the thermal coupling member 1741 can be an integral part of the at least one of the one or more radiation energy sources and thermally coupled with the airflow channel 1703, the airflow generating element or the housing of the apparatus.
  • the thermal coupling member 1741 can be an integral part of the airflow channel, the airflow generating element and/or the housing of the apparatus and thermally coupled with the radiation energy source.
  • the thermal coupling member can comprise a material with a thermal conductivity of at least 20, 50, 100, 150, 200, 250, 300, 350, 400, 450, 500 watts per meter-kelvin (W/(m-K)) or higher.
  • the material having a high thermal conductivity can include, for example, silver, copper, gold, aluminum Nitride, silicon carbide, aluminum, tungsten, graphite or Zinc.
  • the thermal coupling member can be a cooling member or a heat sink.
  • the at least one of the one or more radiation energy sources can physically not contact the airflow channel, the airflow generating element and/or the housing of the apparatus.
  • the radiation energy source does not comprise a portion that is positioned to contact the airflow channel, the airflow generating element and/or the housing of the apparatus.
  • the thermal coupling member can be coupled between arbitrary portion of the radiation energy source and the airflow channel, the airflow generating element and/or the housing of the apparatus. More than one thermal coupling member can be coupled to one radiation energy source.
  • the at least one of the one or more radiation energy sources can partially contact the airflow channel, the airflow generating element and/or the housing of the apparatus.
  • the at least one of the one or more radiation energy sources can have a first portion that is positioned not contacting the airflow channel, the airflow generating element and/or the housing of the apparatus and a second portion that contacts the airflow channel, the airflow generating element and/or the housing of the apparatus.
  • the thermal coupling member can be coupled between the first portion of the radiation energy source and the airflow channel, the airflow generating element and/or the housing of the apparatus.
  • the at least one of the one or more radiation energy sources 1707 can be positioned between the apparatus housing 1701 and the airflow channel 1703.
  • the thermal coupling member or cooling member 1741 can be thermally coupled between at least one of the one or more radiation energy sources 1707 and at least one of an out wall of the airflow channel 1703 and the housing 1701 of the apparatus, and configured to dissipate heat from the at least one of the one or more radiation energy sources.
  • the at least one radiation energy source can be positioned in the airflow channel (e.g., the radiation energy source is at least partially enclosed in a chamber, as discussed in FIG. 16A to FIG. 16C ).
  • the thermal coupling member can be provided as long as a portion thereof contacts the airflow, such that the heat from the at least one radiation energy source can be dissipated.
  • the thermal coupling member optionally thermally coupled between the at least one radiation energy source and at least one of an inner wall of the airflow channel, the chamber wall or the chamber, thereby conducting heat from the at least one radiation energy source to the least one of an inner wall of the airflow channel, the chamber wall or the chamber.
  • the at least one radiation energy source does not physically contact the airflow channel, in some other examples, the at least one radiation energy source can physically contact the airflow channel at a second portion thereof, and the thermal coupling member or cooling member can be a thermal coupling in addition to the second portion of the at least one radiation energy source.
  • the thermal coupling member 1741 can at least partially protrudes into the airflow channel 1703.
  • the protruding part of the thermal coupling member can comprise an airflow guide, such as a fin.
  • the airflow guide can be configured to regulate a property (e.g., a volume, a velocity, a velocity distribution, a field area, a resistance, a pressure, a direction, a vortex, and a divergence, etc.) of the airflow.
  • the protruding part of the thermal coupling member can be positioned at a downstream of the airflow with respect to the airflow generating element.
  • the axis of the respective parabolic or polynomial reflector in the plurality of radiation energy sources can intersect with each other, thereby radiation exiting the plurality of radiation energy sources can at least partially overlap at a predetermined distance in front of the apparatus.
  • FIG. 19A to FIG. 19C show exemplary configuration of an apparatus in which the thermal coupling comprises a first through-hole 1951 that is in communication with an interior of the at least one of the one or more radiation energy sources 1707.
  • the first through-hole can be configured to introduce airflow into the interior of the least one of the one or more radiation energy sources, thereby decreasing or maintaining an operating temperature of the radiation energy source by heat convection.
  • the first through-hole 1951 can be positioned at a first portion of the radiation energy source, which first portion does not contacts the airflow channel 1703, as illustrated in FIG. 19A .
  • Air from exterior of the airflow channel e.g., air from exterior of the apparatus
  • the first through-hole 1951 can be positioned at a second portion of the at least one of the one or more radiation energy sources, which second portion contacts the airflow channel 1703, as illustrated in FIG. 19B . Air from interior of the airflow channel can enter the interior of the radiation energy source through the first through-hole.
  • the thermal coupling can further comprise a second through-hole 1952 which is configured to exit air from the interior of the least one of the one or more radiation energy sources.
  • the second through-hole can be positioned at an exit of the infrared radiation (e.g., the opening of the reflector of the radiation energy source).
  • the second through-hole can be provided at the optical element.
  • the second through-hole can be positioned at a portion of the at least one radiation energy source.
  • the portion of the at least one radiation energy source can be at a second portion of the at least one radiation energy source, which second portion contacts the airflow channel, as shown in FIG. 19A .
  • Air can be introduced from an exterior of the radiation energy source (e.g., an exterior of the apparatus via a vent on the housing of the apparatus) into the interior of the radiation energy source, and exited from the interior of the radiation energy source into the air channel.
  • the portion of the at least one radiation energy source can be at a first portion of the at least one radiation energy source, which first portion does not contact the airflow channel, as shown in FIG. 19B .
  • Air can be introduced from the air channel into the interior of the radiation energy source, and exited from the interior of the radiation energy source into exterior of the apparatus (e.g., via vent on the housing of the apparatus).
  • both the first through-hole and the second through-hole can be provided at the first portion of the at least one radiation energy source.
  • Air can be introduced from the exterior of the apparatus into the interior of the radiation energy source via vent on the housing, and exited from the interior of the radiation energy source back to exterior of the apparatus via the vent.
  • both the first through-hole and the second through-hole can be provided at the second portion of the at least one radiation energy source. Air can be introduced from the air channel into the interior of the radiation energy source, and exited from the interior of the radiation energy source back into the air channel.
  • FIG. 19C shows an exemplary configuration of an apparatus in which the at least one of the one or more radiation energy sources does not physically contact the airflow channel 1703.
  • the thermal coupling can comprise an air duct 1956 that is in communication with the first through-hole 1951.
  • the air duct can be further in communication with either the airflow in the airflow channel or an exterior of the housing.
  • the air duct can be made of a thermal conductive material.
  • a second through-hole configured to exist air from the interior of the radiation energy source can be additionally provided to the configuration in FIG. 19C , and an air duct can be provided to the second through-hole.
  • the first or second through-hole can be provided at either the first or second portion of the radiation energy source, as discussed in FIG. 19A and FIG. 19B . Though the examples in FIG.
  • the one or more radiation energy sources can also be positioned within the airflow channel while the first and second through-holes effecting an introducing and existing of the air into and from the interior of the radiation energy source.
  • FIG. 20A to FIG. 20D show exemplary configuration of an apparatus in which the thermal coupling comprises a third through-hole 1953 that is in communication with the airflow in the airflow channel.
  • the third through-hole can be provided at the wall of the airflow channel.
  • the third through-hole can be configured to direct air from the airflow channel 1703 to at least an exterior surface of the at least one of the one or more radiation energy sources 1707. Air introduced from the airflow channel and blown onto at least the exterior surface of the at least one radiation energy source take at least a portion of the heat away from the exterior surface of the radiation energy source, thereby lower the temperature of the radiation energy source.
  • the thermal coupling can further comprise a fourth through-hole which is configured to exit the air, which is introduced from the airflow channel, to an exterior of the apparatus or back into the airflow channel.
  • the circulating air from the third through-hole to the fourth through-hole can facilitate a removal of heat from the radiation energy source and thereby lower a temperature of the radiation energy source.
  • the fourth through-hole 1955 can be provided at a housing 1701 of the apparatus. Air introduced from the airflow channel can flow through at least a portion of exterior surface of the radiation energy source and exit from the fourth through-hole to an exterior of the apparatus. In the example shown in FIG.
  • an optical element 1733 can be provided to cover the opening of the reflector of the radiation energy source and a gap between a rim of the opening of the reflector and the housing 1701 of apparatus.
  • the fourth through-hole 1955 can be provided at a part of the optical element that covers the gap. Air introduced from the airflow channel can flow through at least a portion of exterior surface of the radiation energy source and exit from the fourth through-hole to an exterior of the apparatus. In the example shown in FIG. 20D , the fourth through-hole 1955 can be provided at the wall of the airflow channel 1703. Air introduced from the airflow channel can flow through at least a portion of exterior surface of the radiation energy source and enter back into the airflow channel via the fourth through-hole. It is apparent that more than one fourth through-hole can be provided at the housing of the apparatus, the optical element of the radiation energy source and/or the wall of the airflow channel.
  • the disclosure also provides a configurations of an apparatus for drying an object in which a reflector of the one or more radiation energy sources has a cut-away shape.
  • a reflector of the one or more radiation energy sources has a cut-away shape.
  • the reflectors may occupy an interior space of the apparatus and thus affect a configuration and/or arrangement of the airflow channel, which in turn affect a property of the airflow.
  • the velocity and volume of the airflow can affect the efficiency of drying the object, and an increased noise can be generated by an increased airflow resistance.
  • an infrared radiation lamp having a reflector with reduced size may result in an attenuated radiation efficiency.
  • a size of the reflector e.g., a diameter of the opening, a longitudinal length from the opening to the vertex
  • a radiation energy sources having a reflector which balances a radiation efficiency, airflow property (e.g., a volume, a velocity, a velocity distribution, a field area, a resistance, a pressure, a direction, a vortex, and a divergence, etc.) , a functionality and spatial efficiency.
  • FIG. 21 is a schematic view showing an exemplary configuration of an apparatus for drying an object in which a reflector of the one or more radiation energy sources has a cut-away shape.
  • Panel B is a lateral view of the schematic view of panel A.
  • the apparatus for drying an object can comprise a housing, one or more radiation energy sources configured to generate infrared radiation and direct the infrared radiation toward an exterior of the housing, and a power element configured to provide power at least to the radiation energy source.
  • Each of the one or more radiation energy sources can comprise a reflector.
  • the reflector can have an opening toward the exterior of the housing.
  • a radial cross section (e.g., a cross section perpendicular to an axis) of the reflector can be a portion of a curve.
  • a profile of the axial cross-section and/or a radial cross section of the reflector can be a polynomial having multiple segments.
  • a first segment of the profile can be expressed by a polynomial of a first set of parameters
  • a second segment of the profile can be expressed by a polynomial of a second set of parameters.
  • the axis of the respective parabolic reflecting surface of the reflector in the plurality can intersect with each other, thereby radiation exiting the plurality of radiation energy sources can at least partially overlap at a predetermined distance in front of the apparatus.
  • the one or more radiation energy sources can be positioned between the airflow channel and the housing of the apparatus.
  • At least one of the reflectors of the one or more radiation energy sources can have a cut-away shape.
  • the term "cut-away shape" can refer to a three dimensional shape that is not an intact cone, truncated-cone, cylinder shape, sphere or spheroid. In a cut-away shape, at least a portion of a circumference of the three dimensional shape is removed.
  • at least one of the cut-away shaped reflector of the radiation energy source can comprise at least a first part 2161 that is coupled to, integral with or form the outer wall of the airflow channel 2103.
  • the first part is described as a part of the cut-away shaped reflector. However, it is apparent for those in the art that the first part can also be considered a part of the wall of the airflow channel or a shared or joined part of the reflector and the airflow channel.
  • the first part can contact the airflow within the airflow channel.
  • the first part can be configured to transfer heat generated at the radiation energy source to the airflow channel by heat conduction.
  • the first part of the cut-away shaped reflector can follow the contour of the airflow channel.
  • a shape of the first part of the cut-away shaped reflector can have a curvature. In some instances, the curvature can be concave relative to a geometric center of the apparatus, as shown in FIG. 21 .
  • a radial cross section of the reflector can be a portion of a curve. In some instances, the radial cross section can vary along an axis of the reflector.
  • the at least one of the cut-away shaped reflector can further comprise a second part 2162 that is located at a side of the reflector opposing the first part 2161.
  • the second part can have a substantially same or different curvature from that of the first part.
  • the second part can be positioned to not contact the airflow channel.
  • the second part can comprise a portion that is coupled to the housing of the apparatus.
  • the at least one of the cutaway shaped reflector can further comprise a third part 2163 connecting the first and the second parts.
  • the third part of the cut-away shaped reflector can be coupled to the third part of an adjacent cut-away shaped reflector, as shown in FIG. 21 .
  • the material of the first part 2161 can be different from the second part and/or the third part, for example with higher thermal conductivity.
  • Panels C and D in FIG. 21 provide schematic views showing exemplary configuration of an apparatus for drying an object in which a reflector of the one or more radiation energy sources has a cut-away shape in accordance with other embodiments of the disclosure.
  • Panel D is a cutaway lateral view of the schematic view of panel C.
  • the airflow channel 2103 can be provided between the housing 2101 of the apparatus and the one or more radiation energy sources 2107.
  • At least one of the reflectors of the one or more radiation energy sources can have a cut-away shape.
  • at least one of the cut-away shaped reflector of the radiation energy source can comprise at least a first part 2161 that follows a contour of the housing.
  • the first part can comprise a portion that is coupled to the inner surface of the housing.
  • the at least one of the cut-away shaped reflector can further comprise a second part 2162 that is located at a side of the reflector opposing the first part 2161.
  • the at least one of the cutaway shaped reflector can further comprise a third part 2163 connecting the first and the second parts.
  • the third part of the cut-away shaped reflector can be coupled to the third part of an adjacent cut-away shaped reflector, as shown in panels C and D in FIG. 21 .
  • the experiments and simulation, as illustrated in FIG. 22 show a comparison of a radiation power distribution pattern and a radiation efficiency (e.g., a ratio between the output radiation power at the opening of the reflector and an input power of the radiation energy source) of a radiation energy source having a cut-away shaped reflector against a radiation energy source having an intact cone-shaped reflector which has a same size (e.g., diameter) at the opening.
  • the radiation efficiency of a radiation energy source having a cut-away shaped reflector is 88.1%, which is comparably high with the radiation efficiency 88.93% of a radiation energy source having an intact cone-shaped reflector, while keeping the contour of the cutaway reflector smaller.
  • FIG. 23 shows another exemplary configuration of an apparatus for drying an object.
  • at least one radiation energy source comprise a first portion that is positioned to not contact the airflow channel.
  • radiation energy source 2307a can comprise a first portion that is positioned opposing to the airflow channel, though the radiation energy source 2307a can further comprise a second portion that is positioned to contact the airflow channel.
  • the radiation energy source 2307b can be positioned away from the airflow channel thus comprising no portion contacting the airflow channel.
  • a thermal coupling can be coupled to the radiation energy source 2307b and configured to dissipate heat from the radiation energy source 2307b.
  • the thermal coupling can comprise a thermal coupling member or a cooling member that is connected with the airflow channel or the housing of the apparatus.
  • the thermal coupling can comprise a first through-hole that is in communication with an interior of the radiation energy source 2307b.
  • the first through-hole can be configured to introduce air into the interior of the radiation energy source 2307b.
  • the thermal coupling can comprise a third through-hole that is in communication with the airflow in the airflow channel.
  • the third through-hole can be configured to direct air from the airflow channel to an exterior surface or an interior of the radiation energy source 2307b.
  • the radiation energy source 2307a can be positioned to be adjacent to the airflow channel. A second portion of the radiation energy source 2307a can contact the airflow channel.
  • the reflector of the radiation energy source 2307a can have a cut-away shape.
  • the cut-away shaped reflector can comprise at least a first part that is coupled to the airflow channel.
  • the first part can follow the contour of the airflow channel.
  • FIG. 24 shows yet another exemplary configuration of an apparatus for drying an object.
  • a plurality of radiation energy sources 2407 can be positioned within the housing 2401 of the apparatus.
  • the airflow channel can be provided in a space defined between the radiation energy sources.
  • a first airflow channel 2403a can be provided in the space between any two or more radiation energy sources.
  • a second airflow channel 2403b can be additionally or alternatively provided in the space enclosed by the radiation energy sources which are positioned in proximity to a geometrical center of the housing.
  • a thermal coupling can be coupled to at least one of the radiation energy sources and configured to dissipate heat from the radiation energy source, as discussed elsewhere in the disclosure.
  • the reflector of at least one of the radiation energy source can have a cut-away shape, as discussed elsewhere in the disclosure.
  • the axis of the respective parabolic reflector in the plurality of radiation energy sources can intersect with each other, thereby radiation exiting the plurality of radiation energy sources can at least partially overlap at a predetermined distance in front of the apparatus.
  • the disclosure further provides a radiation energy source (e.g., radiation bulb) in which the generated radiation can be efficiently reflected.
  • the radiation energy source can be used in the apparatus for drying an object of the disclosure.
  • FIG. 25 shows exemplary configuration of radiation energy source of the disclosure.
  • the radiation energy source can comprise a radiation emitter 2531 and a reflector 2532.
  • the radiation emitter can be configured to generate an infrared radiation when powered.
  • the reflector can have a parabolic or polynomial cross-section with at least one vertex and an opening toward an exterior of the radiation energy source.
  • the reflector can be configured to direct the infrared radiation toward the exterior of the radiation energy source.
  • the opening of the reflector can be covered by an optical element 2533.
  • the opening of the plurality of reflectors can be covered by one optical element.
  • the optical element can be a lens, a lens coated with a coating film, or an optic other than a lens.
  • the radiation emitter can be positioned and oriented such that a distal end 2534 (e.g., the tip portion) of the radiation emitter does not point to the opening.
  • the radiation emitter can be oriented such that its longitudinal axis (e.g., from the leads to the tip) is substantially perpendicular relative to the opening of the reflector.
  • the radiation emitter can be supported at or near a side portion 2535 of the reflector or in proximity to the vertex of the reflector, which side portion is a portion of the reflector that does not include the vertex.
  • the reflector can have at least one through hole to accommodate a coupling (e.g., a wire) between the power source and the emitter.
  • the at least one through hole can be sealed by a sealing member capable of insulating at least one of electricity, radiation or water.
  • the radiation emitter can be oriented in a substantially opposite direction relative to the opening of the radiation energy source.
  • the distal portion 2534 of the radiation bulb can point to the vertex of the reflector, while the base portion of the radiation bulb points to the opening of the reflector.
  • the radiation emitter 2531 can be supported by a support 2536 which extends into the opening of the radiation energy source, such that the radiation emitter is oriented to direct radiation toward the vertex of the reflector.
  • the support can include a groove to accommodate a coupling (e.g., a wire) between a power source and power leads of the radiation emitter.
  • Benefit of the radiation energy source as shown in FIG. 25 and FIG. 26 can include improved reflection efficiency and optical properties.
  • the radiation emitter e.g., the filament
  • the radiation emitter can be positioned substantially at or in proximity to a focal point of the parabolic reflector or polynomial reflector, resulting in the reflected beam of radiation being a substantially parallel.
  • the disclosure also provides a radiation emitter (e.g., such as an infrared lamp) which has improved radiation emission.
  • the radiation emitter can be used in the radiation energy source for the apparatus for drying an object of the disclosure.
  • FIG. 27 shows an exemplary embodiment of an radiation emitter of the disclosure.
  • the radiation emitter can comprise a radiation generating element 2704 which is sealed in a bulb 2701 and configured to generate a radiation when powered.
  • a tip portion of the bulb can include a lens 2703 which modulate a divergency and/or direction of radiation exiting the radiation emitter.
  • the radiation generating element 2704 can be a filament (e.g., Tungsten wire filament) having a predetermined width and height.
  • Leads or pins 2705 can support the filament and couple between the filament and the power element.
  • the radiation emitter can include a first radiation reflecting element 2706 which is positioned beneath the radiation generating element 2704 and configured to reflect at least a portion of the radiation toward an exterior of the radiation emitter.
  • the first radiation reflecting element can have a reflecting surface facing the radiation generating element.
  • the reflecting surface can be substantially parabolic having a focal point, the radiation generating element being positioned in proximity to or at the focal point.
  • the reflecting surface can have a coating that reflects an infrared radiation.
  • the first radiation reflecting element can be made from a heat-resistant metal. Examples of the heat-resistant metal can include molybdenum, tantalum, niobium, copper and steel.
  • the radiation emitter can further comprise a second reflecting element 2707 which is located at an opposite side of the radiation generating element 2704 with respect to the first reflecting element 2706.
  • the second reflecting element can have a reflecting surface facing the emitting element to reflect at least a portion of the radiation to the first reflecting element.
  • the reflecting surface can be substantially parabolic having a focal point, the radiation generating element being positioned in proximity to or at the focal point.
  • the second reflecting element can have a hole 2708 in its geometric center. The second reflecting element is provided to regulate an angle of divergence of the radiation exiting the radiation emitter.
  • the radiation having an angle of divergence equal to or smaller than a predetermined angle of divergence can pass the hole in the second reflecting element and exit the radiation emitter.
  • Any radiation, which is emitted from the filament or reflected by the first radiation reflecting element but has an angle of divergence larger than the predetermined angle of divergence, can be reflected back to the first reflecting element by the second radiation reflecting element.
  • a portion of the radiation emitted from the filament can be reflected between the first reflecting element, the second reflecting element and/or the inner surface of the reflector multiple times prior it exits the radiation emitter and/or opening of the reflector, resulting in the radiation exiting the radiation emitter and/or opening of the reflector in a collimated manner.
  • the first and/or second radiation reflecting element can be supported by a supporting member.
  • the supporting member can be insulated.
  • the supporting member can made of a non-conductive material.
  • the supporting member can be separate and different from a support which supports the radiation generating element.
  • the supporting member can also support and transmit power to the radiation generating element. In the latter case, an insulation can be provided to the portion where the supporting member contacts the first and/or second radiation reflecting element.
  • the disclosure also provides an apparatus for drying an object which generates a low noise.
  • the apparatus can comprise a housing configured to provide an airflow channel having an airflow inlet and an airflow outlet, an airflow generating element contained in the housing and configured to effect an airflow through the airflow channel, a radiation energy source contained in the housing and configured to generate infrared radiation and direct the infrared radiation toward an exterior of the housing, and a power element configured to provide power at least to the radiation energy source and the airflow generating element.
  • the airflow generating element can be positioned at a downstream of the airflow with respect to at least a portion of the power element.
  • At least a portion of the radiation energy source can be located at a downstream of the airflow with respect to the airflow generating element.
  • At least a portion of the radiation energy source can be coupled to at least a portion of the airflow channel.
  • the airflow generating element can comprise at least a low noise motor.
  • the airflow generating element can comprise a fan driven by the motor, when actuated, a rotation of the fan effects the airflow through the airflow channel.
  • the fan can comprises a plurality of blades.
  • a rotating speed of the motor can be determined based on the number of the blades, such that a blade-passing frequency, which is correlated to a product of a rotating speed of the motor and the number of blades, is substantially within a frequency range of ultrasonic.
  • a noise of the motor can thus be suppressed since humans are not sensitive to a sound having frequency in the range of ultrasonic.
  • the motor can be a high-speed motor.
  • the rotating speed of the motor can exceed at least 10,000, 20,000, 30,000, 40,000, 50,000, 60,000, 70,000, 80,000, 90,000, 100,000 or even more revolutions per minute (rpm).
  • the number of the blades can be a prime number other than 2. In an example, the number of the blades can be equal or exceed 3, 5, 7, 9, 11 or 13 or 17.
  • the high-speed motor can be combined with any other aspect(s) of the disclosure in an apparatus for drying an object.
  • at least one of the one or more radiation energy sources can comprise a first portion that is positioned not contacting the airflow channel.
  • This configuration can be effected since a large volume of airflow is generated within the airflow channel by the high-speed motor, which large volume of airflow lowers an increase in the temperature of the airflow channel and the airflow even if heat is transferred from the radiation energy source.
  • the volume of airflow generated by the motor can be at least 5, 10, 15, 20, 25 or 30 cubic feet per minute (CFM) as measure at the output opening of the apparatus.
  • a heat dissipation efficiency of the radiation energy source can be determined from the volume of airflow generated at the motor and the temperature required for black body radiation of the radiation emitter, and an area of the radiation energy source that is required for heat dissipation can be determined based on the heat dissipation efficiency.
  • the area required for heat dissipation can be a portion of the entire area of the external wall of the radiation energy source to maintain the operating temperature of the radiation energy source within a predetermined temperature range (e.g., the temperature range required for maintaining the radiation emitter at a black body radiation status).
  • an increase in the temperature of the airflow in the airflow channel due to the heat transferred from the radiation energy source can be less than 1, 2, 3, 4, or 5 degrees.
  • the motor can be coupled in the housing by a mounting element, which mounting element can be a part of the airflow generating element.
  • the motor can be received in a chamber of the mounting element.
  • the mounting element can prevent or reduce a vibration and/or noise, which is generated by the motor, from transmitting to the housing.
  • the mounting element can include, for example, a support member of an elastomeric material.
  • the mounting element can comprise a portion coupled to at least one of the housing, the airflow channel or the radiation energy source.
  • the disclosure also provides a method for drying an object.
  • the method can comprise providing an airflow channel, via a housing, the airflow channel having an airflow inlet and an airflow outlet; effecting airflow, via an airflow generating element contained in the housing, through the airflow channel, the airflow generating element comprising at least a low noise motor; generating infrared radiation, via a radiation energy source contained in the housing, and directing the infrared radiation toward an exterior of the housing; and providing power, via a power element to at least the radiation energy source and the airflow generating element.
  • the apparatus for drying an object of the disclosure is descried with reference to drawings where a hair dryer is illustrated, those skilled in the art can appreciate that the apparatus for drying an object is not limited to a hair dryer as long as an radiation energy source (e.g., one or more infrared lamps) is utilized as the source of heat energy.
  • the apparatus for drying an object of the disclosure can be implemented as a clothes dryer or a hand dryer.
  • the clothes dryer can utilize one or more infrared lamps as heat source in association with an airflow generating element to facilitate an evaporation of water from various fabric such as clothes, bed sheets, curtains, and plush toys.
  • the housing of the clothes dryer can comprise a support or a stand. A height of the support or stand can be adjusted.
  • FIG. 29 shows an example of a device control system, in accordance with embodiments of the invention.
  • the device control system can be programmed to implement methods and devices of the disclosure.
  • the device control system includes a central processing unit (CPU, also "processor” and “computer processor” herein) 2905, which can be a single core or multi core processor, or a plurality of processors for parallel processing.
  • the device control system also includes memory or memory location 2910 (e.g., random-access memory, read-only memory, flash memory), electronic storage unit 2915 (e.g., hard disk), communication interface 2920 (e.g., network adapter) for communicating with one or more other systems, and peripheral devices 2925, such as cache, other memory, data storage and/or electronic display adapters.
  • the memory 2910, storage unit 2915, interface 2920 and peripheral devices 2925 are in communication with the CPU 2905 through a communication bus (solid lines), such as a motherboard.
  • the storage unit 2915 can be a data storage unit (or data repository) for storing data.
  • the device control system can be operatively coupled to a computer network ("network") 2930 with the aid of the communication interface 2920.
  • the network 2930 can be the Internet, an internet and/or extranet, or an intranet and/or extranet that is in communication with the Internet.
  • the network 2930 in some cases is a telecommunication and/or data network.
  • the network 2930 can include one or more computer servers, which can enable distributed computing, such as cloud computing.
  • one or more computer servers may enable cloud computing over the network 2930 ("the cloud") to perform various aspects of analysis, calculation, and generation of the present disclosure, such as, for example, capturing a configuration of one or more experimental environments; performing usage analyses of products (e.g., applications); and providing outputs of statistics of projects.
  • cloud computing may be provided by cloud computing platforms such as, for example, Amazon Web Services (AWS), Microsoft Azure, Google Cloud Platform, and IBM cloud.
  • the network 2930 in some cases with the aid of the device control system, can implement a peer-to-peer network, which may enable devices coupled to the device control system to behave as a client or a server.
  • the CPU 2905 can execute a sequence of machine-readable instructions, which can be embodied in a program or software.
  • the instructions may be stored in a memory location, such as the memory 2910.
  • the instructions can be directed to the CPU 2905, which can subsequently program or otherwise configure the CPU 2905 to implement methods of the present disclosure. Examples of operations performed by the CPU 2905 can include fetch, decode, execute, and writeback.
  • the CPU 2905 can be part of a circuit, such as an integrated circuit.
  • a circuit such as an integrated circuit.
  • One or more other components of the system can be included in the circuit.
  • the circuit is an application specific integrated circuit (ASIC).
  • ASIC application specific integrated circuit
  • the storage unit 2915 can store files, such as drivers, libraries and saved programs.
  • the storage unit 2915 can store user preference data , e.g., user preferences and user programs.
  • the device control system in some cases can include one or more additional data storage units that are external to the device control system, such as located on a remote server that is in communication with the device control system through an intranet or the Internet.
  • the device control system can communicate with one or more remote device control systems through the network 2930.
  • the device control system can communicate with a remote device control system of a user (e.g., a user of an experimental environment).
  • remote device control systems include personal computers (e.g., portable PC), slate or tablet PC's (e.g., Applet iPad, Samsung ® Galaxy Tab), telephones, Smart phones (e.g., Applet iPhone, Android-enabled device, Blackberry ® ), or personal digital assistants.
  • the user can access the device control system via the network 2930.
  • Methods as described in the disclosure can be implemented by way of machine (e.g., computer processor) executable code stored on an electronic storage location of the device control system, such as, for example, on the memory 2910 or electronic storage unit 2915.
  • the machine executable or machine readable code can be provided in the form of software.
  • the code can be executed by the processor 2905.
  • the code can be retrieved from the storage unit 2915 and stored on the memory 2910 for ready access by the processor 2905.
  • the electronic storage unit 2915 can be precluded, and machine-executable instructions are stored on memory 2910.
  • the code can be pre-compiled and configured for use with a machine having a processer adapted to execute the code, or can be compiled during runtime.
  • the code can be supplied in a programming language that can be selected to enable the code to execute in a pre-compiled or as-compiled fashion.
  • aspects of the systems and methods provided herein can be embodied in programming.
  • Various aspects of the technology may be thought of as “products” or “articles of manufacture” typically in the form of machine (or processor) executable code and/or associated data that is carried on or embodied in a type of machine readable medium.
  • Machine-executable code can be stored on an electronic storage unit, such as memory (e.g., read-only memory, random-access memory, flash memory) or a hard disk.
  • “Storage” type media can include any or all of the tangible memory of the computers, processors or the like, or associated modules thereof, such as various semiconductor memories, tape drives, disk drives and the like, which may provide non-transitory storage at any time for the software programming.
  • All or portions of the software may at times be communicated through the Internet or various other telecommunication networks. Such communications, for example, may enable loading of the software from one computer or processor into another, for example, from a management server or host computer into the computer platform of an application server.
  • another type of media that may bear the software elements includes optical, electrical and electromagnetic waves, such as used across physical interfaces between local devices, through wired and optical landline networks and over various air-links.
  • the physical elements that carry such waves, such as wired or wireless links, optical links or the like, also may be considered as media bearing the software.
  • terms such as computer or machine "readable medium” refer to any medium that participates in providing instructions to a processor for execution.
  • a machine readable medium such as computer-executable code
  • a tangible storage medium such as computer-executable code
  • Non-volatile storage media include, for example, optical or magnetic disks, such as any of the storage devices in any computer(s) or the like, such as may be used to implement the databases, etc. shown in the drawings.
  • Volatile storage media include dynamic memory, such as main memory of such a computer platform.
  • Tangible transmission media include coaxial cables; copper wire and fiber optics, including the wires that comprise a bus within a device control system.
  • Carrier-wave transmission media may take the form of electric or electromagnetic signals, or acoustic or light waves such as those generated during radio frequency (RF) and infrared (IR) data communications.
  • RF radio frequency
  • IR infrared
  • Common forms of computer-readable media therefore include for example: a floppy disk, a flexible disk, hard disk, magnetic tape, any other magnetic medium, a CD-ROM, DVD or DVD-ROM, any other optical medium, punch cards, paper tape, any other physical storage medium with patterns of holes, a RAM, a ROM, a PROM and EPROM, a FLASH-EPROM, any other memory chip or cartridge, a carrier wave transporting data or instructions, cables or links transporting such a carrier wave, or any other medium from which a computer may read programming code and/or data.
  • Many of these forms of computer readable media may be involved in carrying one or more sequences of one or more instructions to a processor for execution.
  • the device control system can include or be in communication with an electronic display 2935 that comprises a user interface (UI) 2940 for providing, for example, the various components (e.g., lab, launch pad, control center, knowledge center, etc) of the model management system.
  • UI user interface
  • Examples of UI's include, without limitation, a graphical user interface (GUI) and web-based user interface.
  • the electronic display can be a display of a user equipment such as a smartphone.
  • Methods and devices of the disclosure can be implemented by way of one or more algorithms.
  • An algorithm can be implemented by way of software upon execution by the central processing unit 2905.
  • the algorithm can, for example, generate instructions to operate one or more component of a sample transport system.
  • all aspects of the invention are not limited to the specific depictions, configurations or relative proportions set forth herein which depend upon a variety of conditions and variables. Various modifications in form and detail of the embodiments of the invention will be apparent to a person skilled in the art. It is therefore contemplated that the invention shall also cover any such modifications, variations and equivalents.
  • the present invention can be described alternatively by the following numbered aspects:

Landscapes

  • Cleaning And Drying Hair (AREA)
  • Drying Of Solid Materials (AREA)
  • Radiation-Therapy Devices (AREA)
  • Control Of Washing Machine And Dryer (AREA)
  • Radiation Pyrometers (AREA)
  • Detail Structures Of Washing Machines And Dryers (AREA)
EP24214918.5A 2020-05-09 2021-03-24 Vorrichtungen und verfahren zum trocknen eines objekts Pending EP4516160A3 (de)

Applications Claiming Priority (4)

Application Number Priority Date Filing Date Title
PCT/CN2020/089408 WO2021226749A1 (en) 2020-05-09 2020-05-09 Apparatuses and methods for drying an object
PCT/CN2020/095146 WO2021227165A1 (en) 2020-05-09 2020-06-09 Apparatuses and methods for drying an object
PCT/CN2021/082835 WO2021227675A1 (en) 2020-05-09 2021-03-24 Apparatuses and methods for drying an object
EP21803737.2A EP4132319B1 (de) 2020-05-09 2021-03-24 Vorrichtungen und verfahren zum trocknen eines objekts

Related Parent Applications (2)

Application Number Title Priority Date Filing Date
EP21803737.2A Division-Into EP4132319B1 (de) 2020-05-09 2021-03-24 Vorrichtungen und verfahren zum trocknen eines objekts
EP21803737.2A Division EP4132319B1 (de) 2020-05-09 2021-03-24 Vorrichtungen und verfahren zum trocknen eines objekts

Publications (2)

Publication Number Publication Date
EP4516160A2 true EP4516160A2 (de) 2025-03-05
EP4516160A3 EP4516160A3 (de) 2025-05-28

Family

ID=77257784

Family Applications (3)

Application Number Title Priority Date Filing Date
EP21803737.2A Active EP4132319B1 (de) 2020-05-09 2021-03-24 Vorrichtungen und verfahren zum trocknen eines objekts
EP24214918.5A Pending EP4516160A3 (de) 2020-05-09 2021-03-24 Vorrichtungen und verfahren zum trocknen eines objekts
EP21805203.3A Pending EP4146037A4 (de) 2020-05-09 2021-05-07 Vorrichtungen und verfahren zum sicheren trocknen eines objekts

Family Applications Before (1)

Application Number Title Priority Date Filing Date
EP21803737.2A Active EP4132319B1 (de) 2020-05-09 2021-03-24 Vorrichtungen und verfahren zum trocknen eines objekts

Family Applications After (1)

Application Number Title Priority Date Filing Date
EP21805203.3A Pending EP4146037A4 (de) 2020-05-09 2021-05-07 Vorrichtungen und verfahren zum sicheren trocknen eines objekts

Country Status (3)

Country Link
EP (3) EP4132319B1 (de)
CN (3) CN113615953B (de)
WO (8) WO2021226749A1 (de)

Families Citing this family (7)

* Cited by examiner, † Cited by third party
Publication number Priority date Publication date Assignee Title
WO2021226749A1 (en) * 2020-05-09 2021-11-18 Sz Zuvi Technology Co., Ltd. Apparatuses and methods for drying an object
CN113568074B (zh) * 2021-09-24 2022-01-04 深圳汝原科技有限公司 颜色镀膜方法、系统、存储介质、辐射源组件和干燥设备
CN114081259A (zh) * 2021-09-30 2022-02-25 深圳汝原科技有限公司 红外光源、辐射源和干燥装置
WO2024082119A1 (zh) * 2022-10-18 2024-04-25 深圳汝原科技有限公司 一种附件、干燥设备、干燥组件以及控制方法
GB2626150A (en) * 2023-01-11 2024-07-17 Dyson Technology Ltd Hair care appliance
GB2629372A (en) * 2023-04-25 2024-10-30 Dyson Technology Ltd Hairdryer
FR3158020A1 (fr) * 2024-01-05 2025-07-11 L'oreal Ensemble et procédé de séchage de cheveux avec détection de proximité

Family Cites Families (51)

* Cited by examiner, † Cited by third party
Publication number Priority date Publication date Assignee Title
US4263500A (en) * 1978-06-19 1981-04-21 Clairol Incorporated Infrared heating hair dryer
US4323761A (en) * 1979-11-26 1982-04-06 Huebner Otto Radiant heat hair dryer
DE2950001A1 (de) * 1979-12-12 1981-06-19 Bosch-Siemens Hausgeräte GmbH, 7000 Stuttgart Elektischer haartrockner
US4382174A (en) * 1981-01-09 1983-05-03 Clairol Incorporated Infra-red hair dryer
CN2049872U (zh) * 1988-11-25 1989-12-27 陈非力 多功能头发干燥器
US5016152A (en) * 1989-09-21 1991-05-14 Fiberstars, Inc. Focused light source and method
CN2063025U (zh) * 1989-12-07 1990-10-03 广州无线电研究所 远红外理疗干发器
CN2111677U (zh) * 1992-03-19 1992-08-05 曾利庆 无风远红外干发器
CN1140211C (zh) * 1997-11-21 2004-03-03 皇家菲利浦电子有限公司 利用遥感头发含水量使头发干燥的方法和头发干燥器
US6732449B2 (en) * 2000-09-15 2004-05-11 Walter Evanyk Dryer/blower appliance with efficient waste heat dissipation
US6901214B2 (en) * 2003-08-26 2005-05-31 Tek Maker Corporation Multiple-setting portable dryer and circuit designs thereof
JP2005177234A (ja) * 2003-12-22 2005-07-07 Matsushita Electric Works Ltd ヘアドライヤー
KR200369961Y1 (ko) * 2004-09-09 2004-12-13 김유수 레이저 방사 기능을 갖는 헤어 드라이기
KR200373154Y1 (ko) * 2004-10-20 2005-01-15 유닉스전자주식회사 헤어드라이어
KR101155135B1 (ko) * 2008-12-09 2012-06-11 (주)비앤피테크 엘이디 탈부착형 헤어드라이기
JP5848350B2 (ja) * 2010-09-21 2016-01-27 フェデラル−モーグル・イグニション・カンパニーFederal−Mogul Ignition Company Led光モジュール
GB2493506B (en) * 2011-07-27 2013-09-11 Dyson Technology Ltd A fan assembly
CN202233647U (zh) * 2011-09-07 2012-05-30 深圳拓邦股份有限公司 一种电吹风
CN202820034U (zh) * 2012-09-28 2013-03-27 惠州学院 一种电吹风
JPWO2014129072A1 (ja) 2013-02-20 2017-02-02 日本碍子株式会社 ノズル付きヒーター及び乾燥炉
AU2014200576A1 (en) * 2014-02-03 2015-08-20 Grice, James Alexander MR The Cordless hair dryer uses Lithium-Ion cells combined in a battery pack to supply power to control circuitry, a DC blower or fan and a heating element. All components are enclosed in a cavity in which the heating element heats up air which is extruded by the blower or fan. The Control System provides a master cut off switch to the battery pack as well as speed selection for the blower or fan and also cool blast and heat blast buttons.
CN103815644A (zh) * 2014-02-28 2014-05-28 王红 温度监测控制电吹风
EP3289912A4 (de) * 2015-04-27 2018-12-12 Metras, Inc. Lichtbestrahlungsvorrichtung
CN105286263A (zh) * 2015-11-19 2016-02-03 深圳市纳顿科技有限公司 一种吹风机
CN205162245U (zh) * 2015-11-20 2016-04-20 常州烯旺新材料科技有限公司 便携式可充电电吹风
JP6718679B2 (ja) * 2015-12-28 2020-07-08 マクセルホールディングス株式会社 温風乾燥機
CN205696318U (zh) * 2016-03-25 2016-11-23 中国地质大学(武汉) 一种智能变频电吹风机及其控制系统
CN105639981B (zh) * 2016-03-25 2019-01-01 中国地质大学(武汉) 一种智能变频电吹风机及其控制系统与方法
CN106175024A (zh) * 2016-07-20 2016-12-07 柳州六品科技有限公司 一种断电保护式智能型电吹风
US10405630B2 (en) * 2016-07-29 2019-09-10 Spur Concepts Inc Systems and methods for delivering heat in a battery powered blow dryer
JP2018023754A (ja) * 2016-07-29 2018-02-15 マクセルホールディングス株式会社 ヘアードライヤー
WO2018021309A1 (ja) * 2016-07-29 2018-02-01 日立マクセル株式会社 ヘアードライヤー
CN106617613A (zh) * 2016-11-09 2017-05-10 安徽工业大学 一种吹风机及其恒温智能控制电路和方法
JP2019050945A (ja) * 2017-09-13 2019-04-04 マクセルホールディングス株式会社 ヘアードライヤー
IT201700102853A1 (it) * 2017-09-14 2019-03-14 Carlo Rupnik Reattore per irraggiamento ravvicinato e perpendicolare di onde elettromagnetiche su letto fluido sottile
JP6980484B2 (ja) * 2017-10-18 2021-12-15 マクセル株式会社 ドライヤー
CN208129714U (zh) * 2018-01-20 2018-11-23 东莞市瑞迪三维电子科技有限公司 一种红外加热吹风筒
JP2019136191A (ja) * 2018-02-07 2019-08-22 マクセルホールディングス株式会社 ドライヤー
JP7002447B2 (ja) * 2018-02-08 2022-01-20 マクセル株式会社 ドライヤー
CN208676494U (zh) * 2018-05-22 2019-04-02 长沙梦龙智能科技有限责任公司 一种吹风机
JP7270949B2 (ja) * 2018-09-18 2023-05-11 タカラベルモント株式会社 毛髪処理装置
JP7129298B2 (ja) 2018-09-28 2022-09-01 マクセル株式会社 ドライヤー
JP6559862B1 (ja) * 2018-10-02 2019-08-14 株式会社スリーエス 光学ユニット及びその光学ユニットを使ったled照明器具
KR102144480B1 (ko) * 2018-10-26 2020-08-13 강시열 카본히터가 구비된 헤어드라이기
JP7179585B2 (ja) * 2018-11-07 2022-11-29 マクセル株式会社 ドライヤー
CN209898564U (zh) * 2018-12-10 2020-01-07 揭阳市爱惠智能科技有限公司 一种电吹风及其控制电路
CN209769390U (zh) * 2019-02-22 2019-12-13 中山市瑞驰泰克电子有限公司 一种便于加热的快干吹风梳
CN209732899U (zh) * 2019-03-15 2019-12-06 莱克电气股份有限公司 一种吹风机保护装置及吹风机
CN209915247U (zh) * 2019-04-11 2020-01-10 碳翁(北京)科技有限公司 一种远红外辐射吹风机
CN209862627U (zh) * 2019-04-28 2019-12-31 南昌航空大学 一种可自动断电的触控电吹风
WO2021226749A1 (en) * 2020-05-09 2021-11-18 Sz Zuvi Technology Co., Ltd. Apparatuses and methods for drying an object

Also Published As

Publication number Publication date
WO2021227675A1 (en) 2021-11-18
EP4132319A4 (de) 2023-10-04
WO2021227962A1 (zh) 2021-11-18
CN113615953B (zh) 2025-11-11
WO2021227165A1 (en) 2021-11-18
CN213962188U (zh) 2021-08-17
WO2021227960A1 (zh) 2021-11-18
EP4132319B1 (de) 2025-01-01
EP4132319C0 (de) 2025-01-01
EP4146037A1 (de) 2023-03-15
EP4132319A1 (de) 2023-02-15
CN113615952B (zh) 2025-12-02
WO2021227957A1 (en) 2021-11-18
CN113615953A (zh) 2021-11-09
WO2021227961A1 (zh) 2021-11-18
EP4146037A4 (de) 2023-11-01
WO2021226749A1 (en) 2021-11-18
EP4516160A3 (de) 2025-05-28
WO2021227963A1 (zh) 2021-11-18
CN113615952A (zh) 2021-11-09

Similar Documents

Publication Publication Date Title
US11464313B2 (en) Apparatuses and methods for drying an object
US11832698B2 (en) Apparatuses and methods for drying an object
US11672318B2 (en) Apparatuses and methods for safely drying an object
EP4132319B1 (de) Vorrichtungen und verfahren zum trocknen eines objekts
US12402704B2 (en) Apparatuses and methods for safely drying an object
US12480709B2 (en) Apparatuses and methods for drying an object
CN116261297B (zh) 干燥设备
CN114794699B (zh) 干燥设备

Legal Events

Date Code Title Description
PUAI Public reference made under article 153(3) epc to a published international application that has entered the european phase

Free format text: ORIGINAL CODE: 0009012

STAA Information on the status of an ep patent application or granted ep patent

Free format text: STATUS: REQUEST FOR EXAMINATION WAS MADE

17P Request for examination filed

Effective date: 20241122

AC Divisional application: reference to earlier application

Ref document number: 4132319

Country of ref document: EP

Kind code of ref document: P

AK Designated contracting states

Kind code of ref document: A2

Designated state(s): AL AT BE BG CH CY CZ DE DK EE ES FI FR GB GR HR HU IE IS IT LI LT LU LV MC MK MT NL NO PL PT RO RS SE SI SK SM TR

REG Reference to a national code

Ref country code: DE

Ref legal event code: R079

Free format text: PREVIOUS MAIN CLASS: A45D0020000000

Ipc: H05B0003000000

PUAL Search report despatched

Free format text: ORIGINAL CODE: 0009013

STAA Information on the status of an ep patent application or granted ep patent

Free format text: STATUS: EXAMINATION IS IN PROGRESS

AK Designated contracting states

Kind code of ref document: A3

Designated state(s): AL AT BE BG CH CY CZ DE DK EE ES FI FR GB GR HR HU IE IS IT LI LT LU LV MC MK MT NL NO PL PT RO RS SE SI SK SM TR

RIC1 Information provided on ipc code assigned before grant

Ipc: A45D 20/00 20060101ALI20250424BHEP

Ipc: A45D 20/12 20060101ALI20250424BHEP

Ipc: A45D 20/10 20060101ALI20250424BHEP

Ipc: H05B 3/00 20060101AFI20250424BHEP

17Q First examination report despatched

Effective date: 20250526