EP4477960A1 - Wärmetechnisches gerät - Google Patents

Wärmetechnisches gerät Download PDF

Info

Publication number
EP4477960A1
EP4477960A1 EP24181293.2A EP24181293A EP4477960A1 EP 4477960 A1 EP4477960 A1 EP 4477960A1 EP 24181293 A EP24181293 A EP 24181293A EP 4477960 A1 EP4477960 A1 EP 4477960A1
Authority
EP
European Patent Office
Prior art keywords
thermal device
insulating body
functional component
housing
designed
Prior art date
Legal status (The legal status is an assumption and is not a legal conclusion. Google has not performed a legal analysis and makes no representation as to the accuracy of the status listed.)
Pending
Application number
EP24181293.2A
Other languages
English (en)
French (fr)
Inventor
Jörg Bätzel
Roman Fallenbüchel
Heiko Schneider
Daniel Stahlschmidt
Lars Vogeley
Current Assignee (The listed assignees may be inaccurate. Google has not performed a legal analysis and makes no representation or warranty as to the accuracy of the list.)
Viessmann Holding International GmbH
Original Assignee
Viessmann Climate Solutions SE
Priority date (The priority date is an assumption and is not a legal conclusion. Google has not performed a legal analysis and makes no representation as to the accuracy of the date listed.)
Filing date
Publication date
Application filed by Viessmann Climate Solutions SE filed Critical Viessmann Climate Solutions SE
Publication of EP4477960A1 publication Critical patent/EP4477960A1/de
Pending legal-status Critical Current

Links

Images

Classifications

    • FMECHANICAL ENGINEERING; LIGHTING; HEATING; WEAPONS; BLASTING
    • F24HEATING; RANGES; VENTILATING
    • F24DDOMESTIC- OR SPACE-HEATING SYSTEMS, e.g. CENTRAL HEATING SYSTEMS; DOMESTIC HOT-WATER SUPPLY SYSTEMS; ELEMENTS OR COMPONENTS THEREFOR
    • F24D19/00Details
    • F24D19/0097Casings or frame structures for hydraulic components
    • FMECHANICAL ENGINEERING; LIGHTING; HEATING; WEAPONS; BLASTING
    • F24HEATING; RANGES; VENTILATING
    • F24DDOMESTIC- OR SPACE-HEATING SYSTEMS, e.g. CENTRAL HEATING SYSTEMS; DOMESTIC HOT-WATER SUPPLY SYSTEMS; ELEMENTS OR COMPONENTS THEREFOR
    • F24D3/00Hot-water central heating systems
    • F24D3/10Feed-line arrangements, e.g. providing for heat-accumulator tanks, expansion tanks ; Hydraulic components of a central heating system
    • F24D3/1058Feed-line arrangements, e.g. providing for heat-accumulator tanks, expansion tanks ; Hydraulic components of a central heating system disposition of pipes and pipe connections
    • F24D3/1066Distributors for heating liquids
    • FMECHANICAL ENGINEERING; LIGHTING; HEATING; WEAPONS; BLASTING
    • F24HEATING; RANGES; VENTILATING
    • F24HFLUID HEATERS, e.g. WATER OR AIR HEATERS, HAVING HEAT-GENERATING MEANS, e.g. HEAT PUMPS, IN GENERAL
    • F24H1/00Water heaters, e.g. boilers, continuous-flow heaters or water-storage heaters
    • F24H1/18Water-storage heaters
    • F24H1/181Construction of the tank
    • F24H1/182Insulation
    • FMECHANICAL ENGINEERING; LIGHTING; HEATING; WEAPONS; BLASTING
    • F24HEATING; RANGES; VENTILATING
    • F24HFLUID HEATERS, e.g. WATER OR AIR HEATERS, HAVING HEAT-GENERATING MEANS, e.g. HEAT PUMPS, IN GENERAL
    • F24H9/00Details
    • F24H9/02Casings; Cover lids; Ornamental panels
    • FMECHANICAL ENGINEERING; LIGHTING; HEATING; WEAPONS; BLASTING
    • F24HEATING; RANGES; VENTILATING
    • F24HFLUID HEATERS, e.g. WATER OR AIR HEATERS, HAVING HEAT-GENERATING MEANS, e.g. HEAT PUMPS, IN GENERAL
    • F24H9/00Details
    • F24H9/06Arrangement of mountings or supports

Definitions

  • the invention relates to a thermal device according to the preamble of patent claim 1.
  • a thermal device of the type mentioned above is known from the patent document DE 10 2018 132 504 A1
  • This consists of a housing, an insulating body arranged in the housing, a receiving area formed on the insulating body and a functional component of the thermal device arranged in the receiving area and having a longitudinal axis.
  • this device is a hot water tank with an insulating body made of particle foam (in particular EPP), to which a pipe, for example, is fixed as a functional component, in particular by clipping it in.
  • EPP particle foam
  • the invention is based on the object of improving a thermal device of the type mentioned at the beginning.
  • the positioning of the functional component should be made easier during assembly and the position or location of the functional component should be secured in the long term during operation of the device.
  • a first form-locking element and on the other hand a second form-locking element is provided on the functional component to fix it in the direction of its longitudinal axis and to match the first form-locking element.
  • the solution according to the invention is characterized by the fact that, in addition to the already known radial fixation, an axial fixation of the functional component to the insulating body is now also provided in the receiving area. This facilitates assembly and also ensures in the long term that the functional component does not slip during operation of the thermal device. In addition, no additional fixation elements are necessary because these are contained in the insulating body.
  • the thermal device in particular a heating device, shown in the figures consists of a housing 1, an insulating body 2 arranged in the housing 1, a receiving area 2.1 formed on the insulating body 2 and a functional component 3 of the thermal device arranged in the receiving area 2.1 and having a longitudinal axis 3.1.
  • Figure 1 and 4 the rear side of a new VITOCAL device from the applicant can be seen, more precisely, the rear side of an internal unit of a heat pump, with which the device faces a wall in the room in which it is installed.
  • a hot water tank is preferably arranged in the preferably cuboid-shaped housing 1 (but not shown separately).
  • the insulating body 2 is connected to the housing 1 in a form-fitting manner, preferably clipped onto the housing 1. Looking at it in a little more detail, it is preferably provided that the insulating body 2 is plugged on and then clamped in by a rear wall. This makes it possible to install the insulating body 2 without tools.
  • the thermal device is not installed on a solid stone or concrete wall, but rather on a less stable plasterboard wall, for example is to be mounted, with reference to Figure 7
  • at least one preferably telescopic or movable floor support 6 is assigned to the housing 1.
  • the floor support 6 is designed to extend between the housing 1 and a building floor. It is very particularly preferred, as shown, that two strut-like floor supports 6 are arranged under the housing 1.
  • the housing 1 has a support frame 1.2. It is further preferably provided that the support frame 1.2 of the housing 1 - preferably with the wall fastening device 5 - is mounted on the at least one floor support 6.
  • the base support 6 is designed as a component that can be separated from the housing 1 without destruction.
  • a first form-locking element 2.1.1 is provided on the receiving area 2.1 and on the other hand a second form-locking element 3.2 is provided on the functional component 3, which fits together with the first form-locking element 2.1.1 to fix it in the direction of its longitudinal axis 3.1.
  • the longitudinal axis 3.1 of the functional component 3 is arranged or designed to run vertically in the receiving area 2.1.
  • the functional component 3 is at least partially arranged between the said insulating body 2 and a counter-insulating body 4.
  • This counter-insulating body 4 serves together with the insulating body 2 to create a liquid-tight closure for the piping and, if applicable, the cabling (see also further below) within the housing 1, which is particularly advantageous in order to significantly reduce the amount of condensate that accumulates within the housing, particularly during cooling.
  • the insulating body 2 and/or the counter-insulating body 4 are formed from a foam material, preferably from a particle foam, particularly preferably from expanded polypropylene (EPP) or expanded polystyrene (EPS).
  • EPP expanded polypropylene
  • EPS expanded polystyrene
  • the density of the foam material is preferably between 30 and 90 grams per liter, particularly preferably 60 grams per liter.
  • At least three, preferably at least five, particularly preferably at least seven, receiving areas 2.1 for several functional components 3 are arranged, preferably in a horizontally running row, optionally on the insulating body 2 and/or on the counter-insulating body 4.
  • the counter-insulating body 4 (with corresponding lateral overlapping areas) is designed to at least partially enclose the insulating body 2.
  • a third form-locking element 4.3 is provided on the counter-insulating body 4 and on the other hand a fourth form-locking element 3.4 that matches the third form-locking element 4.3 is provided on the functional component 3.
  • the functional component 3 is completely fixed between the insulating body 2 and the counter-insulating body 4.
  • a fixing section at least partially enclosing the functional component 3 forms the second and fourth form-fitting elements 3.2, 3.4.
  • the aforementioned axial fixation is thus realized or ensured not only between the functional component 3 and the insulating body 2, but also between the functional component 3 and the counter-insulating body 4.
  • the functional component 3 is designed either as a tube or as a plug.
  • the second form-locking element 3.2 and/or the fourth form-locking element 3.4 is designed as a compression of the pipe provided on the pipe, which could also be called a flanging. This compression then preferably forms the above-mentioned fixing section, which ensures the axial fixation of the functional component 3.
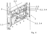
  • the above mentioned plug is in Figure 4 It is used either to completely seal the receiving area 2.1 in a liquid-tight manner or to provide a liquid-tight passage for a cable or line of the thermal device (liquid-tight also includes preventing or preventing the passage of moist air).
  • the plug is provided with a through-opening 3.3 for an additional functional component 3.5, in particular the cable in question.
  • the through-opening 3.3 can preferably and optionally lie so tightly against the cable that it cannot slip axially, or the plug is directly connected to the cable in a materially bonded manner, ie the through-opening is created by separating the cable and the plug.
  • either the second form-fitting element 3.2 facing the insulating body 2 and/or the fourth form-fitting element 3.4 facing the counter-insulating body 4 is formed by an edge of the plug.
  • the plug can preferably, as in Figure 4 shown, have at least two form-locking elements 3.2 of different diameters in order to be able to be positioned in receiving areas 2.1 of different diameters (for thicker and thinner pipes).
  • a contact area 3.6 shaped like half an inner cylinder is provided for the functional component 3 on the insulating body 2 and/or on the counter-insulating body 4, optionally above and/or below optionally the first and/or third form-locking element 2.1.1, 4.3.
  • the first form-locking element 2.1.1 and/or the third form-locking element 4.3 is designed as a preferably semi-annular groove on the insulating body 2 or on the counter-insulating body 4.
  • the The insulating body 2 and the counter-insulating body 4 are designed to accommodate the functional component 3 and/or the additional functional component 3.5 (for example a cable with a plug-like injection molding) between them in a liquid-tight manner.
  • the functional component 3 and/or the additional functional component 3.5 for example a cable with a plug-like injection molding
  • connecting elements 2.2, 4.2 which match one another and are designed for preferably horizontal mutual attachment to one another are provided on the insulating body 2 and the counter-insulating body 4.
  • At least one handle element 4.1 is provided on the counter-insulating body 4.
  • the handle element 4.1 is particularly preferably designed as a projection arranged in a recess on the counter-insulating body 4.
  • a cable duct 1.1 preferably made of a rubber-elastic material, in particular ethylene-propylene-diene rubber (EPDM), is also preferably provided on the housing 1.
  • EPDM ethylene-propylene-diene rubber
  • the assembly of the thermal device according to the invention is carried out as follows: First, the insulating body 2 is fixed to the housing 1 by snapping it into place. The pipes are then guided through the receiving areas 2.1 and are preferably and optionally fixed axially there with the compressions (or preferably flanges). The lines or cables are sealed in the same way with the plugs. Unused receiving areas 2.1 can also be sealed with a plug. Finally, the counter-insulating body 4 is pressed onto the insulating body 2 using the handle element 4.1, of which two are preferably provided, so that the connecting elements 2.2 and 4.2 are connected to one another in a form-fitting manner and thus ensure a liquid-tight seal. This means that the entire system can be assembled without tools. No screw connections or similar are necessary; fastening is carried out exclusively using form-fitting geometries.
  • the thermal device In order to be able to attach the thermal device to uneven walls in the simplest possible way, it is also necessary to refer to the Figures 5 and 6 preferably on the housing 1 (here - because it is easily conceivable - not shown separately) preferably arranged on a support frame 1.2 of the housing 1 (see Figure 1 ) and preferably at least one, preferably (as shown here) at least four wall anchors 5.1 having wall fastening device 5 are provided.
  • the wall anchor 5.1 has a first fastening section 5.1.1 for fastening to the housing 1 and a second fastening section 5.1.2 for fastening to a building wall.
  • the wall anchor 5.1 is preferably designed as an angled sheet metal, wherein the first fastening section 5.1.1 preferably forms a first sheet metal section and the second fastening section 5.1.2 forms a second sheet metal section angled to the first sheet metal section.
  • the wall anchor 5.1 has a tolerance compensation device 5.1.3.
  • the tolerance compensation device 5.1.3 is designed as an adjustable and fixable slotted screw connection, preferably provided on the first fastening section 5.1.1.

Landscapes

  • Engineering & Computer Science (AREA)
  • Physics & Mathematics (AREA)
  • Thermal Sciences (AREA)
  • Chemical & Material Sciences (AREA)
  • Combustion & Propulsion (AREA)
  • Mechanical Engineering (AREA)
  • General Engineering & Computer Science (AREA)
  • Thermal Insulation (AREA)

Abstract

Die Erfindung betrifft ein wärmetechnisches Gerät, umfassend ein Gehäuse (1), einen im Gehäuse (1) angeordneten Dämmkörper (2), einen am Dämmkörper (2) ausgebildeten Aufnahmebereich (2.1) und ein im Aufnahmebereich (2.1) angeordnetes, eine Längsachse (3.1) aufweisendes Funktionsbauteil (3) des wärmetechnischen Gerätes. Nach der Erfindung ist einerseits am Aufnahmebereich (2.1) ein erstes Formschlusselement (2.1.1) und andererseits am Funktionsbauteil (3) ein zu dessen Fixierung in Richtung seiner Längsachse (3.1) mit dem ersten Formschlusselement (2.1.1) zusammenpassendes, zweites Formschlusselement (3.2) vorgesehen.

Description

  • Die Erfindung betrifft ein wärmetechnisches Gerät gemäß dem Oberbegriff des Patentanspruchs 1.
  • Ein wärmetechnisches Gerät der eingangs genannten Art ist aus dem Patentdokument DE 10 2018 132 504 A1 bekannt. Dieses besteht aus einem Gehäuse, einem im Gehäuse angeordneten Dämmkörper, einem am Dämmkörper ausgebildeten Aufnahmebereich und einem im Aufnahmebereich angeordneten, eine Längsachse aufweisenden Funktionsbauteil des wärmetechnischen Gerätes. Noch etwas genauer betrachtet, handelt es sich bei diesem Gerät um einen Warmwasserspeicher mit einem Dämmkörper aus einem Partikelschaumstoff (insbesondere EPP), an dem als Funktionsbauteil beispielsweise ein Rohr insbesondere durch Einklippen fixiert ist.
  • Der Erfindung liegt die Aufgabe zugrunde, ein wärmetechnisches Gerät der eingangs genannten Art zu verbessern. Insbesondere soll die Positionierbarkeit des Funktionsbauteils während der Montage erleichtert und die Position bzw. Lage des Funktionsbauteils während des Betriebs des Geräts langfristig gesichert werden.
  • Diese Aufgabe ist mit einem wärmetechnischen Gerät der eingangs genannten Art durch die im Kennzeichen des Patentanspruchs 1 aufgeführten Merkmale gelöst.
  • Nach der Erfindung ist also vorgesehen, dass einerseits am Aufnahmebereich ein erstes Formschlusselement und andererseits am Funktionsbauteil ein zu dessen Fixierung in Richtung seiner Längsachse mit dem ersten Formschlusselement zusammenpassendes, zweites Formschlusselement vorgesehen ist.
  • Mit anderen Worten zeichnet sich die erfindungsgemäße Lösung somit dadurch aus, dass neben der bereits bekannten radialen Fixierung nunmehr im Aufnahmebereich auch eine axiale Fixierung des Funktionsbauteils am Dämmkörper vorgesehen ist. Diese erleichtert die Montage und stellt auch langfristig sicher, dass das Funktionsbauteil während des Betriebs des wärmetechnischen Gerätes nicht verrutscht. Darüber hinaus sind keine zusätzlichen Fixierungselement notwendig, weil diese in dem Dämmkörper enthalten sind.
  • Andere vorteilhafte Weiterbildungen des erfindungsgemäßen wärmetechnischen Geräts ergeben sich aus den abhängigen Patentansprüchen.
  • Das erfindungsgemäße wärmetechnische Gerät einschließlich seiner vorteilhaften Weiterbildungen gemäß der abhängigen Patentansprüche wird nachfolgend anhand der zeichnerischen Darstellung zweier Ausführungsbeispiele näher erläutert.
  • Es zeigt perspektivisch
  • Figur 1
    das erfindungsgemäße wärmetechnische Gerät (teilweise) bei noch nicht montiertem Gegendämmkörper;
    Figur 2
    den Dämmkörper gemäß Figur 1 als Einzelteil;
    Figur 3
    den Gegendämmkörper gemäß Figur 1 als Einzelteil;
    Figur 4
    eine weitere Ausführungsform des erfindungsgemäßen wärmetechnischen Geräts (teilweise) mit insgesamt drei Stopfen, von denen einer nur der Abdichtung dient und die beiden anderen mit einer Durchgangsöffnung für ein Kabel versehen sind;
    Figur 5
    eine Wandbefestigungseinrichtung für das Gehäuse mit vier Wandankern;
    Figur 6
    eine vergrößerte Ansicht des Wandankers; und
    Figur 7
    zwei unterhalb der Wandbefestigungseinrichtung für das in einer Gebäudeecke positionierte Gehäuse angeordnete Bodenstützen.
  • Das in den Figuren dargestellte wärmetechnische Gerät, insbesondere Heizgerät, besteht aus einem Gehäuse 1, einem im Gehäuse 1 angeordneten Dämmkörper 2, einem am Dämmkörper 2 ausgebildeten Aufnahmebereich 2.1 und einem im Aufnahmebereich 2.1 angeordneten, eine Längsachse 3.1 aufweisenden Funktionsbauteil 3 des wärmetechnischen Gerätes. In Figur 1 und 4 ist dabei jeweils die Rückseite eines neuen VITOCAL-Gerätes der Anmelderin zu sehen, genauer gesagt, die Rückseite einer Inneneinheit einer Wärmepumpe, mit der das Gerät einer Raumwand ihres Aufstellungsraumes zugewandt ist. Im vorzugsweise quaderförmigen Gehäuse 1 ist dabei vorzugsweise (aber nicht extra dargestellt) unter anderem ein Warmwasserspeicher angeordnet. Außerdem ist bevorzugt vorgesehen, dass der Dämmkörper 2 formschlüssig mit dem Gehäuse 1 verbunden, bevorzugt am Gehäuse 1 eingeklippt, ausgebildet ist. Noch etwas genauer betrachtet, ist dabei vorzugsweise vorgesehen, dass der Dämmkörper 2 aufgesteckt und anschließend durch eine Rückwand eingeklemmt wird. Dadurch ist eine werkzeuglose Montage des Dämmkörpers 2 möglich.
  • Insbesondere für den Fall, dass das wärmetechnische Gerät bei alledem nicht an einer festen Stein- oder Betonwand, sondern zum Beispiel an einer weniger stabilen Gipskartonständerwand montiert werden soll, ist mit Verweis auf Figur 7 besonders bevorzugt vorgesehen, dass dem Gehäuse 1 mindestens eine vorzugsweise teleskopierbare oder verschiebbare Bodenstütze 6 zugeordnet ist. Dabei ist weiterhin bevorzugt vorgesehen, dass sich die Bodenstütze 6 zwischen dem Gehäuse 1 und einem Gebäudeboden erstreckend ausgebildet ist. Ganz besonders bevorzugt ist, wie dargestellt, vorgesehen, dass zwei strebenartig ausgebildete Bodenstützen 6 unter dem Gehäuse 1 angeordnet sind.
  • Ferner ist bevorzugt vorgesehen (siehe hierzu Figur 1), dass das Gehäuse 1 einen Tragrahmen 1.2 aufweist. Dabei ist weiterhin bevorzugt vorgesehen, dass der Tragrahmen 1.2 des Gehäuses 1 - vorzugsweise mit der Wandbefestigungseinrichtung 5 - auf der mindestens einen Bodenstütze 6 gelagert angeordnet ist.
  • Außerdem ist bevorzugt vorgesehen, dass die Bodenstütze 6 als vom Gehäuse 1 zerstörungsfrei separierbares Bauteil ausgebildet ist.
  • Wesentlich für die erfindungsgemäße Lösung ist nun, dass einerseits am Aufnahmebereich 2.1 ein erstes Formschlusselement 2.1.1 und andererseits am Funktionsbauteil 3 ein zu dessen Fixierung in Richtung seiner Längsachse 3.1 mit dem ersten Formschlusselement 2.1.1 zusammenpassendes, zweites Formschlusselement 3.2 vorgesehen ist. Wie eingangs bereits erläutert, wird dadurch die Montage des Funktionsbauteils einerseits vereinfacht (sonst typischer Weise erforderliche Rohrclips können entfallen), andererseits wird dessen Position innerhalb des Gehäuses 1 langfristig gewährleistet. Dabei ist, wie dargestellt, besonders bevorzugt vorgesehen, dass die Längsachse 3.1 des Funktionsbauteils 3 im Aufnahmebereich 2.1 vertikal verlaufend angeordnet bzw. ausgebildet ist.
  • Noch etwas genauer betrachtet, ist bei alledem besonders bevorzugt vorgesehen, dass das Funktionsbauteil 3 jedenfalls teilweise zwischen dem besagten Dämmkörper 2 und einem Gegendämmkörper 4 angeordnet ist. Dieser Gegendämmkörper 4 dient zusammen mit dem Dämmkörper 2 dazu, einen gegenüber Flüssigkeiten dichten bzw. einen feuchten Luftstrom verhindernden Abschluss der Verrohrung und gegebenenfalls der Verkabelung (siehe hierzu auch noch weiter unten) innerhalb des Gehäuses 1 zu realisieren, was besonders vorteilhaft ist, um die Menge des insbesondere im Kühlfall innerhalb des Gehäuses anfallenden Kondensats erheblich zu reduzieren. Dabei ist weiterhin besonders bevorzugt vorgesehen, dass wahlweise der Dämmkörper 2 und/oder der Gegendämmkörper 4 aus einem Schaummaterial, bevorzugt aus einem Partikelschaumstoff, besonders bevorzugt aus expandiertem Polypropylen (EPP) oder expandiertem Polystyrol (EPS), gebildet sind bzw. ist. Die Dichte des Schaummaterials beträgt dabei vorzugsweise zwischen 30 und 90 Gramm pro Liter, besonders bevorzugt 60 Gramm pro Liter.
  • Wie insbesondere aus den Figuren 2 und 3 ersichtlich, ist dabei weiterhin bevorzugt vorgesehen, dass wahlweise am Dämmkörper 2 und/oder am Gegendämmkörper 4 mindestens drei, vorzugsweise mindestens fünf, besonders bevorzugt mindestens sieben, Aufnahmebereiche 2.1 für mehrere Funktionsbauteile 3, vorzugsweise in einer horizontal verlaufenden Reihe, angeordnet sind. Außerdem ist noch bevorzugt vorgesehen, dass der Gegendämmkörper 4 (mit entsprechenden seitlichen Überlappungsbereichen) den Dämmkörper 2 mindestens teilweise umschließend ausgebildet ist.
  • Noch etwas genauer betrachtet, ist bevorzugt vorgesehen, dass einerseits am Gegendämmkörper 4 ein drittes Formschlusselement 4.3 und andererseits am Funktionsbauteil 3 ein mit dem dritten Formschlusselement 4.3 zusammenpassendes, viertes Formschlusselement 3.4 vorgesehen ist. Auf diese Weise ist das Funktionsbauteil 3 vollumfänglich zwischen dem Dämmkörper 2 und dem Gegendämmkörper 4 fixiert.
  • Ferner ist noch bevorzugt vorgesehen, dass ein das Funktionsbauteil 3 mindestens teilweise umschließender Fixierabschnitt das zweite und vierte Formschlusselement 3.2, 3.4 bildet. Die vorgenannte Axialfixierung ist damit nicht nur zwischen dem Funktionsbauteil 3 und dem Dämmkörper 2, sondern auch zwischen dem Funktionsbauteil 3 und dem Gegendämmkörper 4 realisiert bzw. gewährleistet.
  • Noch genauer betrachtet, ist bei alledem bevorzugt vorgesehen, dass das Funktionsbauteil 3 wahlweise als Rohr oder als Stopfen ausgebildet ist.
  • Wie aus Figur 1 ersichtlich, ist dabei besonders bevorzugt vorgesehen, dass wahlweise das zweite Formschlusselement 3.2 und/oder das vierte Formschlusselement 3.4 als am Rohr vorgesehene Stauchung des Rohres, die man auch Bördelung nennen könnte, ausgebildet ist. Diese Stauchung bildet dann vorzugsweise den oben genannten Fixierabschnitt, der die axiale Fixierung des Funktionsbauteils 3 gewährleistet.
  • Der vorstehend genannte Stopfen ist in Figur 4 dargestellt. Er dient wahlweise dazu den Aufnahmebereich 2.1 vollständig flüssigkeitsdicht zu verschließen oder einen ebenfalls flüssigkeitsdichten Durchgang für ein Kabel bzw. eine Leitung des wärmetechnischen Gerätes zu schaffen (flüssigkeitsdicht umfasst dabei auch, den Durchgang von feuchter Luft zu vermeiden bzw. zu unterbinden). Für die zuletzt genannte Option ist dabei bevorzugt vorgesehen, dass der Stopfen mit einer Durchgangsöffnung 3.3 für ein Zusatzfunktionsbauteil 3.5, insbesondere das besagte Kabel, versehen ausgebildet ist. Dabei kann die Durchgangsöffnung 3.3 vorzugs- und wahlweise so eng am Kabel anliegen, dass dieses axial nicht verrutschen kann, oder aber der Stopfen ist direkt stoffschlüssig mit dem Kabel verbunden ausgebildet, d. h. die Durchgangsöffnung ergibt sich durch Trennen von Kabel und Stopfen. Ferner ist bei alledem bevorzugt vorgesehen, dass wahlweise das zweite, dem Dämmkörper 2 zugewandte Formschlusselement 3.2 und/oder das vierte, dem Gegendämmkörper 4 zugewandte Formschlusselement 3.4 von einem Rand des Stopfens gebildet ist. Außerdem kann der Stopfen vorzugsweise, wie in Figur 4 dargestellt, mindestens zwei durchmesserunterschiedliche Formschlusselemente 3.2 aufweisen, um in durchmesserunterschiedlichen Aufnahmebereichen 2.1 (für dickere und dünnere Rohre) positioniert werden zu können.
  • Ferner ist noch bevorzugt vorgesehen, dass wahlweise am Dämmkörper 2 und/oder am Gegendämmkörper 4 wahlweise ober- und/ oder unterhalb wahlweise des ersten und/oder dritten Formschlusselements 2.1.1, 4.3 ein wie ein halber Innenzylinder geformter Anlagebereich 3.6 für das Funktionsbauteil 3 vorgesehen ist. Außerdem ist bevorzugt vorgesehen, dass wahlweise das erste Formschlusselement 2.1.1 und/oder das dritte Formschlusselement 4.3 als bevorzugt halbringförmige Nut am Dämmkörper 2 bzw. am Gegendämmkörper 4 ausgebildet ist.
  • Nochmals in anderen Worten ausgedrückt, ist zur vorgenannten Kondensatreduzierung besonders bevorzugt vorgesehen, dass der Dämmkörper 2 und der Gegendämmkörper 4 wahlweise das Funktionsbauteil 3 und/oder das Zusatzfunktionsbauteil 3.5 (also zum Beispiel ein Kabel mit einer stopfenartigen Anspritzung) zwischen sich flüssigkeitsabgedichtet aufnehmend ausgebildet sind.
  • Ferner ist besonders bevorzugt vorgesehen, dass am Dämmkörper 2 und am Gegendämmkörper 4 zueinander passende, zum vorzugsweise horizontalen gegenseitigen Aufstecken aufeinander ausgebildete Verbindungselemente 2.2, 4.2 vorgesehen sind.
  • Für eine besonders gute Handhabung bzw. insbesondere zur Reduktion der Verletzungsgefahr bei der Montage des erfindungsgemäßen wärmetechnischen Geräts ist mit Verweis auf Figur 1 ferner noch am Gegendämmkörper 4 mindestens ein vorzugsweise aus seinem eigenen Material ausgeformtes Griffelement 4.1 vorgesehen. Dabei ist das Griffelement 4.1 besonders bevorzugt als in einer Vertiefung am Gegendämmkörper 4 angeordneter Vorsprung ausgebildet.
  • Darüber hinaus ist am Gehäuse 1 ferner vorzugsweise auch noch eine vorzugsweise aus einem gummielastische Material, insbesondere Ethylen-Propylen-Dien-Kautschuk (EPDM), gebildete Kabeldurchführung 1.1 vorgesehen.
  • Die Montage des erfindungsgemäßen wärmetechnischen Gerätes geschieht wie folgt:
    Zunächst wird der Dämmkörper 2 am Gehäuse 1 durch Einrasten fixiert. Anschließend werden die Rohre durch die Aufnahmebereiche 2.1 geführt und dort vorzugs- und wahlweise mit den Stauchungen (bzw. vorzugsweise Bördelungen) axial fixiert. Analog die Leitungen bzw. Kabel mit den Stopfen. Unbenutzte Aufnahmebereiche 2.1 können außerdem mit einem Stopfen verschlossen werden. Abschließend wird der Gegendämmkörper 4 mit Hilfe des Griffelements 4.1, von dem vorzugsweise zwei vorgesehen sind, auf den Dämmkörper 2 gedrückt, so dass sich die Verbindungselemente 2.2 und 4.2 formschlüssig miteinander verbinden und so für einen flüssigkeitsdichten Abschluss sorgen. Damit kann das komplette System ohne Werkzeug montiert werden. Es sind keine Schraubverbindungen oder ähnliches notwendig, sondern die Befestigung erfolgt ausschließlich durch formschlüssige Geometrien.
  • Um bei alledem das wärmetechnische Gerät auf möglichst einfache Art und Weise auch an unebenen Wänden befestigen zu können, ist ferner mit Verweis auf die Figuren 5 und 6 bevorzugt am Gehäuse 1 (hier - weil ohne weiteres vorstellbar - nicht extra dargestellt) eine vorzugsweise an einem Tragrahmen 1.2 des Gehäuses 1 angeordnete (siehe hierzu Figur 1) und vorzugsweise mindestens einen, vorzugsweise (wie hier gezeigt) mindestens vier Wandanker 5.1 aufweisende Wandbefestigungseinrichtung 5 vorgesehen.
  • Dabei ist weiterhin genauer betrachtet (siehe Figur 6) bevorzugt vorgesehen, dass der Wandanker 5.1 einen ersten Befestigungsabschnitt 5.1.1 zur Befestigung am Gehäuse 1 und einen zweiten Befestigungsabschnitt 5.1.2 zur Befestigung an einer Gebäudewand aufweist. Noch genauer betrachtet, ist der Wandanker 5.1 dabei bevorzugt als abgewinkeltes Blech ausgebildet, wobei vorzugsweise der erste Befestigungsabschnitt 5.1.1 einen ersten Blechabschnitt und der zweite Befestigungsabschnitt 5.1.2 einen zum ersten Blechabschnitt abgewinkelten, zweiten Blechabschnitt bildet.
  • Zum tatsächlichen Ausgleich möglicher, oben bereits erwähnter Wandunebenheiten ist ferner bevorzugt vorgesehen, dass der Wandanker 5.1 eine Toleranzausgleichseinrichtung 5.1.3 aufweist. Ganz konkret betrachtet, ist dabei schließlich besonders bevorzugt vorgesehen, dass die Toleranzausgleichseinrichtung 5.1.3 als vorzugsweise am ersten Befestigungsabschnitt 5.1.1 vorgesehene, verstell- und fixierbare Langlochschraubverbindung ausgebildet ist.
  • Bezugszeichenliste
  • 1
    Gehäuse
    1.1
    Kabeldurchführung
    1.2
    Tragrahmen
    2
    Dämmkörper
    2.1
    Aufnahmebereich
    2.1.1
    erstes Formschlusselement
    2.2
    Verbindungselement
    3
    Funktionsbauteil
    3.1
    Längsachse
    3.2
    zweites Formschlusselement
    3.3
    Durchgangsöffnung
    3.4
    viertes Formschlusselement
    3.5
    Zusatzfunktionsbauteil
    3.6
    Anlagebereich
    4
    Gegendämmkörper
    4.1
    Griffelement
    4.2
    Verbindungselement
    4.3
    drittes Formschlusselement
    5
    Wandbefestigungseinrichtung
    5.1
    Wandanker
    5.1.1
    erster Befestigungsabschnitt
    5.1.2
    zweiter Befestigungsabschnitt
    5.1.3
    Toleranzausgleichseinrichtung
    6
    Bodenstütze

Claims (21)

  1. Wärmetechnisches Gerät, umfassend ein Gehäuse (1), einen im Gehäuse (1) angeordneten Dämmkörper (2), einen am Dämmkörper (2) ausgebildeten Aufnahmebereich (2.1) und ein im Aufnahmebereich (2.1) angeordnetes, eine Längsachse (3.1) aufweisendes Funktionsbauteil (3) des wärmetechnischen Gerätes,
    dadurch gekennzeichnet,
    dass einerseits am Aufnahmebereich (2.1) ein erstes Formschlusselement (2.1.1) und andererseits am Funktionsbauteil (3) ein zu dessen Fixierung in Richtung seiner Längsachse (3.1) mit dem ersten Formschlusselement (2.1.1) zusammenpassendes, zweites Formschlusselement (3.2) vorgesehen ist.
  2. Wärmetechnisches Gerät nach Anspruch 1,
    dadurch gekennzeichnet,
    dass das Funktionsbauteil (3) wahlweise als Rohr oder als Stopfen ausgebildet ist.
  3. Wärmetechnisches Gerät nach Anspruch 2,
    dadurch gekennzeichnet,
    dass das zweite Formschlusselement (3.2) als am Rohr vorgesehene Stauchung des Rohres ausgebildet ist.
  4. Wärmetechnisches Gerät nach Anspruch 2,
    dadurch gekennzeichnet,
    dass das zweite Formschlusselement (3.2) von einem Rand des Stopfens gebildet ist.
  5. Wärmetechnisches Gerät nach Anspruch 2 oder 4,
    dadurch gekennzeichnet,
    dass der Stopfen mit einer Durchgangsöffnung (3.3) für ein Zusatzfunktionsbauteil (3.5) versehen ausgebildet ist.
  6. Wärmetechnisches Gerät nach einem der Ansprüche 1 bis 5, dadurch gekennzeichnet,
    dass die Längsachse (3.1) des Funktionsbauteils (3) im Aufnahmebereich (2.1) vertikal verlaufend ausgebildet ist.
  7. Wärmetechnisches Gerät nach einem der Ansprüche 1 bis 6, dadurch gekennzeichnet,
    dass am Dämmkörper (2) wahlweise ober- und/oder unterhalb des ersten Formschlusselements (2.1.1) ein wie ein halber Innenzylinder geformter Anlagebereich (3.6) für das Funktionsbauteil (3) vorgesehen ist.
  8. Wärmetechnisches Gerät nach einem der Ansprüche 1 bis 7, dadurch gekennzeichnet,
    dass der Dämmkörper (2) formschlüssig mit dem Gehäuse (1) verbunden ausgebildet ist.
  9. Wärmetechnisches Gerät nach einem der Ansprüche 1 bis 8, dadurch gekennzeichnet,
    dass dem Gehäuse (1) mindestens eine vorzugsweise teleskopierbare oder verschiebbare Bodenstütze (6) zugeordnet ist.
  10. Wärmetechnisches Gerät nach einem der Ansprüche 1 bis 9, dadurch gekennzeichnet,
    dass das Funktionsbauteil (3) jedenfalls teilweise zwischen dem Dämmkörper (2) und einem Gegendämmkörper (4) angeordnet ist.
  11. Wärmetechnisches Gerät nach Anspruch 10,
    dadurch gekennzeichnet,
    dass einerseits am Gegendämmkörper (4) ein drittes Formschlusselement (4.3) und andererseits am Funktionsbauteil (3) ein mit dem dritten Formschlusselement (4.3) zusammenpassendes, viertes Formschlusselement (3.4) vorgesehen ist.
  12. Wärmetechnisches Gerät nach Anspruch 11,
    dadurch gekennzeichnet,
    dass ein das Funktionsbauteil (3) mindestens teilweise umschließender Fixierabschnitt das zweite und vierte Formschlusselement (3.2, 3.4) bildet.
  13. Wärmetechnisches Gerät nach einem der Ansprüche 10 bis 12, dadurch gekennzeichnet,
    dass am Dämmkörper (2) und am Gegendämmkörper (4) zueinander passende, zum vorzugsweise horizontalen gegenseitigen Aufstecken aufeinander ausgebildete Verbindungselemente (2.2, 4.2) vorgesehen sind.
  14. Wärmetechnisches Gerät nach einem der Ansprüche 10 bis 13, dadurch gekennzeichnet,
    dass der Dämmkörper (2) und der Gegendämmkörper (4) das Funktionsbauteil (3) zwischen sich flüssigkeitsabgedichtet aufnehmend ausgebildet sind.
  15. Wärmetechnisches Gerät nach einem der Ansprüche 10 bis 14, dadurch gekennzeichnet,
    dass am Gegendämmkörper (4) mindestens ein Griffelement (4.1) vorgesehen ist.
  16. Wärmetechnisches Gerät nach Anspruch 15,
    dadurch gekennzeichnet,
    dass das Griffelement (4.1) als in einer Vertiefung am Gegendämmkörper (4) angeordneter Vorsprung ausgebildet ist.
  17. Wärmetechnisches Gerät nach einem der Ansprüche 1 bis 16, dadurch gekennzeichnet,
    dass am Gehäuse (1) eine vorzugsweise an einem Tragrahmen (1.2) des Gehäuses (1) angeordnete und vorzugsweise mindestens einen, vorzugsweise mindestens vier Wandanker (5.1) aufweisende Wandbefestigungseinrichtung (5) vorgesehen ist.
  18. Wärmetechnisches Gerät nach Anspruch 17,
    dadurch gekennzeichnet,
    dass der Wandanker (5.1) einen ersten Befestigungsabschnitt (5.1.1) zur Befestigung am Gehäuse (1) und einen zweiten Befestigungsabschnitt (5.1.2) zur Befestigung an einer Gebäudewand aufweist.
  19. Wärmetechnisches Gerät nach Anspruch 18,
    dadurch gekennzeichnet,
    dass der Wandanker (5.1) als abgewinkeltes Blech ausgebildet ist, wobei vorzugsweise der erste Befestigungsabschnitt (5.1.1) einen ersten Blechabschnitt und der zweite Befestigungsabschnitt (5.1.2) einen zum ersten Blechabschnitt abgewinkelten, zweiten Blechabschnitt bildet.
  20. Wärmetechnisches Gerät nach einem der Ansprüche 17 bis 19, dadurch gekennzeichnet,
    dass der Wandanker (5.1) eine Toleranzausgleichseinrichtung (5.1.3) aufweist.
  21. Wärmetechnisches Gerät nach Anspruch 20,
    dadurch gekennzeichnet,
    dass die Toleranzausgleichseinrichtung (5.1.3) als vorzugsweise am ersten Befestigungsabschnitt (5.1.1) vorgesehene, verstell- und fixierbare Langlochschraubverbindung ausgebildet ist.
EP24181293.2A 2023-06-13 2024-06-11 Wärmetechnisches gerät Pending EP4477960A1 (de)

Applications Claiming Priority (1)

Application Number Priority Date Filing Date Title
DE102023115377.3A DE102023115377A1 (de) 2023-06-13 2023-06-13 Wärmetechnisches Gerät

Publications (1)

Publication Number Publication Date
EP4477960A1 true EP4477960A1 (de) 2024-12-18

Family

ID=91481822

Family Applications (1)

Application Number Title Priority Date Filing Date
EP24181293.2A Pending EP4477960A1 (de) 2023-06-13 2024-06-11 Wärmetechnisches gerät

Country Status (2)

Country Link
EP (1) EP4477960A1 (de)
DE (1) DE102023115377A1 (de)

Citations (7)

* Cited by examiner, † Cited by third party
Publication number Priority date Publication date Assignee Title
DE1917009U (de) * 1965-04-01 1965-06-03 Wolfgang Prinz Heizkoerper-konsole.
EP0507104B1 (de) * 1991-03-19 1994-06-08 WILO GmbH Vorrichtung zur Versorgung einer Fussbodenheizung
EP0597342B1 (de) * 1992-11-10 1996-09-25 VIESSMANN WERKE GmbH & CO. Heizkessel
EP2778544B1 (de) * 2013-03-11 2017-10-04 Gebr. Tuxhorn GmbH & Co. KG Armaturengruppe
DE102018132504A1 (de) 2018-12-17 2020-06-18 Stiebel Eltron Gmbh & Co. Kg Warmwasserspeicher und zugehöriges Montageverfahren
DE102021118041A1 (de) * 2021-07-13 2023-01-19 Stiebel Eltron Gmbh & Co. Kg Haustechnikgerät
DE102021118038A1 (de) * 2021-07-13 2023-02-09 Stiebel Eltron Gmbh & Co. Kg Haustechnikgerät und Bedienelement für ein Haustechnikgerät

Family Cites Families (1)

* Cited by examiner, † Cited by third party
Publication number Priority date Publication date Assignee Title
DE202004012263U1 (de) * 2004-08-05 2004-10-07 Stiebel Eltron Gmbh & Co. Kg Durchlauferhitzer

Patent Citations (7)

* Cited by examiner, † Cited by third party
Publication number Priority date Publication date Assignee Title
DE1917009U (de) * 1965-04-01 1965-06-03 Wolfgang Prinz Heizkoerper-konsole.
EP0507104B1 (de) * 1991-03-19 1994-06-08 WILO GmbH Vorrichtung zur Versorgung einer Fussbodenheizung
EP0597342B1 (de) * 1992-11-10 1996-09-25 VIESSMANN WERKE GmbH & CO. Heizkessel
EP2778544B1 (de) * 2013-03-11 2017-10-04 Gebr. Tuxhorn GmbH & Co. KG Armaturengruppe
DE102018132504A1 (de) 2018-12-17 2020-06-18 Stiebel Eltron Gmbh & Co. Kg Warmwasserspeicher und zugehöriges Montageverfahren
DE102021118041A1 (de) * 2021-07-13 2023-01-19 Stiebel Eltron Gmbh & Co. Kg Haustechnikgerät
DE102021118038A1 (de) * 2021-07-13 2023-02-09 Stiebel Eltron Gmbh & Co. Kg Haustechnikgerät und Bedienelement für ein Haustechnikgerät

Also Published As

Publication number Publication date
DE102023115377A1 (de) 2024-12-19

Similar Documents

Publication Publication Date Title
EP3384567B1 (de) Rahmengestell für eine schaltschrankanordnung
DE2357992C2 (de) Lötloser Wärmetauscher
DE69816934T2 (de) Kabeldurchführung
DE69902550T2 (de) Langgestreckte tragstruktur mit hohlprofilträger mit einem querflansch an beiden endflächen
EP2763256B1 (de) Kabelkanal mit Durchgangsabschluss, Bausatz für einen Durchgangsabschluss und Verfahren zum Montieren eines Durchgangsabschlusses für einen Kabelkanal
EP3791454A1 (de) Wanddurchführung
EP3433912B1 (de) Flachteilhalter für die befestigung eines flachteils an einem rahmengestell eines schaltschranks und ein entsprechender schaltschrank
DE29719639U1 (de) Vorrichtung zum Beheizen von Innenräumen, insbesondere von Kraftfahrzeugen
DE102010043165B4 (de) Aggregatlager mit integrierten Wegbegrenzern und Verfahren zur Fertigung
DE3000196A1 (de) Klemmanordnung
EP1516402A1 (de) Kabelhalterung
EP0939980A1 (de) Rahmengestell mit einem boden- und einem deckrahmen aus einem profilstrang
EP4477960A1 (de) Wärmetechnisches gerät
DE3645083C2 (en) Sound dampener for use in refrigeration compressor
DE2901250A1 (de) Stromschienenhalterung
DE60100008T2 (de) Kabelrinnenabschnitte und daraus hergestellte Kabelrinne durch Verbinbung von mindestens zwei Abschnitten und deren Herstellungsverfahren
DE29808031U1 (de) Paneel- bzw. Flachheizkörper
DE102020114176A1 (de) Kühleinrichtung für eine Kraftfahrzeugbatterie
DE3832399A1 (de) Rohrhalter und verfahren zur rohrmontage mittels eines rohrhalters
EP4249782B1 (de) Schalldämmeinlage aus einem dämmmaterial für eine rohrschelle und rohrschelle, die eine derartige schalldämmeinlage umfasst
DE69905814T2 (de) Verstellbare Eck-Verbindung für Kabelkanäle
DE3301229A1 (de) Breitbandschelle zum abgedichteten verbinden von glattzylindrischen rohrenden, insbesondere von abwasserrohren mittels eines dichtungselements
DE202019102525U1 (de) Montagerahmen zum Montieren eines Luftauslasses eines Dunstabzugsystems in einer Öffnung und eine entsprechende Anordnung
EP1652704B1 (de) Elektrische Heizungsanordnung, inbesondere für ein Kraftfahrzeug
EP1565695B1 (de) Kondensator

Legal Events

Date Code Title Description
PUAI Public reference made under article 153(3) epc to a published international application that has entered the european phase

Free format text: ORIGINAL CODE: 0009012

STAA Information on the status of an ep patent application or granted ep patent

Free format text: STATUS: THE APPLICATION HAS BEEN PUBLISHED

AK Designated contracting states

Kind code of ref document: A1

Designated state(s): AL AT BE BG CH CY CZ DE DK EE ES FI FR GB GR HR HU IE IS IT LI LT LU LV MC ME MK MT NL NO PL PT RO RS SE SI SK SM TR

RAP1 Party data changed (applicant data changed or rights of an application transferred)

Owner name: VIESSMANN HOLDING INTERNATIONAL GMBH

STAA Information on the status of an ep patent application or granted ep patent

Free format text: STATUS: REQUEST FOR EXAMINATION WAS MADE

17P Request for examination filed

Effective date: 20250527