EP4008958B1 - Gasturbinenbrennkammersystem und verfahren zum betreiben eines gasturbinenbrennkammersystems - Google Patents

Gasturbinenbrennkammersystem und verfahren zum betreiben eines gasturbinenbrennkammersystems Download PDF

Info

Publication number
EP4008958B1
EP4008958B1 EP21204913.4A EP21204913A EP4008958B1 EP 4008958 B1 EP4008958 B1 EP 4008958B1 EP 21204913 A EP21204913 A EP 21204913A EP 4008958 B1 EP4008958 B1 EP 4008958B1
Authority
EP
European Patent Office
Prior art keywords
combustion chamber
mixed air
flame tube
chamber system
air openings
Prior art date
Legal status (The legal status is an assumption and is not a legal conclusion. Google has not performed a legal analysis and makes no representation as to the accuracy of the status listed.)
Active
Application number
EP21204913.4A
Other languages
English (en)
French (fr)
Other versions
EP4008958A1 (de
EP4008958C0 (de
Inventor
Jan Zanger
Current Assignee (The listed assignees may be inaccurate. Google has not performed a legal analysis and makes no representation or warranty as to the accuracy of the list.)
Deutsches Zentrum fuer Luft und Raumfahrt eV
Original Assignee
Deutsches Zentrum fuer Luft und Raumfahrt eV
Priority date (The priority date is an assumption and is not a legal conclusion. Google has not performed a legal analysis and makes no representation as to the accuracy of the date listed.)
Filing date
Publication date
Application filed by Deutsches Zentrum fuer Luft und Raumfahrt eV filed Critical Deutsches Zentrum fuer Luft und Raumfahrt eV
Publication of EP4008958A1 publication Critical patent/EP4008958A1/de
Application granted granted Critical
Publication of EP4008958B1 publication Critical patent/EP4008958B1/de
Publication of EP4008958C0 publication Critical patent/EP4008958C0/de
Active legal-status Critical Current
Anticipated expiration legal-status Critical

Links

Images

Classifications

    • FMECHANICAL ENGINEERING; LIGHTING; HEATING; WEAPONS; BLASTING
    • F23COMBUSTION APPARATUS; COMBUSTION PROCESSES
    • F23RGENERATING COMBUSTION PRODUCTS OF HIGH PRESSURE OR HIGH VELOCITY, e.g. GAS-TURBINE COMBUSTION CHAMBERS
    • F23R3/00Continuous combustion chambers using liquid or gaseous fuel
    • F23R3/02Continuous combustion chambers using liquid or gaseous fuel characterised by the air-flow or gas-flow configuration
    • F23R3/26Controlling the air flow
    • FMECHANICAL ENGINEERING; LIGHTING; HEATING; WEAPONS; BLASTING
    • F23COMBUSTION APPARATUS; COMBUSTION PROCESSES
    • F23RGENERATING COMBUSTION PRODUCTS OF HIGH PRESSURE OR HIGH VELOCITY, e.g. GAS-TURBINE COMBUSTION CHAMBERS
    • F23R2900/00Special features of, or arrangements for continuous combustion chambers; Combustion processes therefor
    • F23R2900/00001Arrangements using bellows, e.g. to adjust volumes or reduce thermal stresses

Definitions

  • the invention relates to a gas turbine combustion chamber system, in particular a micro gas turbine combustion chamber system, with a combustion chamber which has a longitudinally extending flame tube surrounding a flame zone, which is provided with a burner on its inlet side and is coupled or can be coupled to a turbine arrangement on its outlet side facing away from this and is provided with mixed air openings in an outlet section, with a pressure housing surrounding the combustion chamber, between the inside of which and the outside of the flame tube for supplying an air mass flow an inflow channel is formed leading from its outlet side to the inlet side, via which a mixed air portion is guided via the mixed air openings into the interior of the flame tube and a burner air portion is guided to the burner for combustion with the fuel flowing in, and with a control device via which the burner air portion supplied to the burner can be controlled by varying the mixed air portion depending on the load point of the turbine arrangement by adjusting the clear flow width of the mixed air openings.
  • the GB 1 601 218 A shows a gas turbine combustion chamber system with mixed air openings on a flame tube, which are arranged in an inflow channel and whose flow width can be controlled mechanically by means of a valve via a pressure difference between the inflow channel and the outside air.
  • the pressure in the supply channel acts via an opening on a piston arranged in a cylinder chamber and the outside pressure via an opening in a valve arrangement.
  • a primary air inlet is controlled via another valve.
  • This combustion chamber system therefore contains several coordinated, interacting valves with a relatively large number of individual system components, which require associated effort in terms of construction and maintenance and can cause malfunctions.
  • the printed matter DE 19 45 921 A shows a gas turbine combustion chamber system in which mixed air openings on a flame tube in an air inflow channel are controlled in their flow width depending on a pressure difference between the pressure in the supply channel and the external environment.
  • a jacket-shaped aperture can be moved by an actuator using a spring-loaded piston.
  • a gas turbine combustor system and a method for operating a gas turbine combustor system are also described in the DE 41 20 831 A1
  • hot gases from the combustion are generated from a compressed air stream.
  • means are used which respond to a pressure difference between the combustion chamber itself and the compressed air.
  • the means consist, for example, of spring components with a check valve and cause a bypass flow of part of the compressed air into a mixing zone on the outlet side of the flame zone or Combustion zone, for which the spring element of the means travels a distance depending on the pressure difference, which causes the relevant valve to open for a bypass flow of part of the compressed air into the mixing zone.
  • the means of the control device which are constructed from several individual parts and individually assigned to the mixed air openings, for controlling the proportion of mixed air through the mixed air nozzles and thus also the proportion of burner air supplied to the burner, result in a relatively high level of construction effort, particularly in micro gas turbine combustion chamber systems, which also makes it difficult to set the fuel/air ratio in the burner or the combustion air ratio (air ratio ⁇ ) as reliably as possible for consistently low-emission and efficient combustion.
  • This structure also involves a relatively high level of commissioning and maintenance effort and also an increased risk of failure.
  • a gas turbine combustion chamber system and a method for operating it are also described in DE 43 04 201 A1
  • a flame tube is surrounded concentrically by an outer casing at a distance, forming an annular air channel, and in turn encloses a combustion chamber.
  • Compressed air is supplied via the air channel to a burner that projects through the outer casing and the flame tube into the combustion chamber, and mixed air nozzles are arranged on the circumference of the flame tube, which connect the air channel to the combustion chamber in order to introduce secondary air (mixed air) into the hot gas flow in the flame tube through the mixed air nozzles.
  • the mixed air nozzles can be individually controlled to vary the mixed air proportion, since a previously tested solution with an adjustment ring common to all mixed air openings was considered disadvantageous there.
  • the individual control components of the individual mixed air nozzles also result in the disadvantages mentioned above.
  • the AT 6 537 E shows a displacement of an inner shell in a combustion chamber system according to the balance of the pneumatic force of a fuel pressure on the left side of a bottom and a pressure on the right side of the The force acting on the turbine side of the ground is caused by pressure built up there. A bellows-like structure is also shown.
  • the EP 0 088 933 A1 shows a flame tube with an adjustment device in the form of an adjusting ring that surrounds the flame tube and by means of which the ratio of primary air quantity to secondary air quantity can be controlled depending on the load.
  • the control is carried out by changing the flow cross sections of the primary air openings and the secondary air openings by means of rotation and/or axial displacement of the adjusting ring.
  • the adjusting ring can be rotated by means of a motor, pneumatic or hydraulic drive.
  • the JP H05 231645 A shows a three-part combustion chamber with a swirl body and secondary air openings for the addition of secondary combustion air. There is also an additional mixed air opening.
  • the flow cross-sections of the secondary air openings are completely closed at idle and increase with increasing load. The flow cross-section of the mixed air opening remains constant over the load range.
  • a disadvantage is that this is associated with increased commissioning effort and the various components and actuators result in a relatively high maintenance effort and an increased risk of failure, which leads to disadvantages, particularly in connection with micro gas turbine combustion chamber systems. with the aim of achieving low-emission, reliable combustion across the entire load range.
  • the air mass flow through the turbo components varies greatly with the load point of the connected turbine arrangement over its load range or the required electrical power. There is also a greatly varying need for fuel power and thus fuel mass flow between minimum and full load.
  • the respective ratio between air mass flow and fuel mass flow is not constant over the load range, but is shifted towards larger air mass flows at partial load.
  • combustion chambers with fixed geometries are used in micro gas turbines. This results in an almost constant distribution over the entire load range between the air that is passed through the burner and the mixed air that is mixed in after the combustion zone in the flame tube.
  • blocking the flow path to the burner leads to an increased pressure loss in the gas turbine combustion chamber system, in particular the micro gas turbine combustion chamber system, whereby the efficiency of the gas turbine, in particular the micro gas turbine, is adversely affected by components of the control device installed in the air path, such as throttles and valve components.
  • the invention is based on the object of developing a gas turbine combustion chamber system, in particular a micro gas turbine combustion chamber system, in such a way that low-emission, reliable combustion is achieved over the entire load range of an associated turbine arrangement, and of providing a corresponding method.
  • the invention provides that the control device has an adjusting device which responds to a pressure difference ( ⁇ p) between the inflow channel of the air and the environment of the combustion chamber system (usually atmospheric pressure), by means of which the clear flow width (flow cross section) of the mixed air openings can be reduced as a function of the load point, in particular continuously, with an increasing load point and increased with a decreasing load point.
  • ⁇ p a pressure difference between the inflow channel of the air and the environment of the combustion chamber system
  • the clear flow width of the mixed air openings is regulated as a function of the pressure difference ( ⁇ p) between the inflow channel and the external environment of the combustion chamber system by reducing the clear flow width with an increase in the load point of a coupled turbine arrangement and increasing it with a reduction in the load point.
  • the pressure difference of the air in the inflow channel or an inflow pipe arranged there and the surroundings of the combustion chamber system around the pressure housing is used advantageously to regulate the burner air flow and thus the fuel/air ratio during combustion, whereby the air ratio can be maintained at different load points over the load range of a coupled turbine in order to achieve optimal exhaust gas values.
  • Optimized control is also promoted by the fact that moderate temperatures of the installation point are present in the area of the control device and the detection of the pressure difference.
  • the pressure gradient between the air in the feed channel and the environment correlates very well with the mass flow behavior required for combustion over the load range of the gas turbine.
  • the actuating device to be mechanically constructed, and in particular passively operating, with the pressure difference being used indirectly or, preferably, directly as a drive source.
  • the structure can be implemented with little effort using a few components, with high reliability and at low cost. If the pressure difference is used directly as a drive source, only one pressure-utilizing unit is required, with the mechanism being separated from extremely hot components of the flame tube, which contributes to the high reliability.
  • the passively constructed control device in particular for the passively controlled portion of the mixed air flow, advantageously allows industrially available components to be used, and there is a low risk of failure as a result of low complexity and low maintenance costs.
  • the flow channel can also be designed to be aerodynamically efficient and as unobstructed as possible in order to keep the pressure loss across the flow path of the air mass flow with the burner air portion small, which has a positive effect on the efficiency of the micro gas turbine combustion chamber in particular.
  • the pressure difference can be fed indirectly via the converter unit to control another mechanical or other physical energy source in order to control the at least one actuator to change the clear flow width of the mixed air openings via the closing unit, whereby the pressure difference between the inflow channel and the environment is also used. If the pressure difference is used as a direct drive source for the actuator, a particularly simple structure results.
  • the actuating device has a bellows, in particular made of metal, as at least one actuating element, which is firmly connected to the pressure housing with one of its front end areas and is connected to the closing unit comprising at least one closing element with its other front end area, which is spaced apart in the longitudinal direction, at a connecting section via at least one intermediate element, and the interior of the bellows is connected to the air inflow channel via at least one pressure compensation channel.
  • a bellows in particular made of metal, is commercially available in various designs, with its deflection for adjusting the closing unit being brought about on the one hand by the pressure change depending on the load point and on the other hand, counteracting the pressure, by its inherent elastic restoring force.
  • the required force parameters can be easily adapted to the respective combustion chamber system, e.g. by simulation and/or real tests, whereby other parameters to be taken into account, such as adjustment path, size and shape of the mixed air openings, can be determined in a suitable manner in each case.
  • the closing unit is designed as a diaphragm which can be moved in translation and/or rotated in the circumferential direction by means of the actuator in the longitudinal direction of the flame tube, more or less closing the mixed air openings to vary the clear flow width or the flow cross-section.
  • the mixed air openings can be easily varied by a simple adjustment mechanism depending on the pressure difference via the diaphragm, which is designed, for example, like a sleeve.
  • the material of the closing unit and Their physical and mechanical properties can be suitably selected to achieve good functionality, e.g. with regard to good sliding properties at different temperatures of the flame tube.
  • connecting section, the intermediate link and the closing unit are rigidly connected to one another also contributes to an advantageous structure.
  • a further advantageous design of the combustion chamber system for the structure and function is that the pressure housing has a front wall section on its front side adjacent to the inlet side of the flame tube, on the outside of which facing the environment of the combustion chamber system several actuators are attached, and that several intermediate members running along the outside of the flame tube, in particular through the inflow channel, are designed as support struts or support rods, which are connected to the closing unit at their rear end region facing the outlet section of the flame tube and are connected to the actuators assigned to them via the connecting section at their front end region spaced apart from it.
  • the front wall section of the pressure housing is formed, for example, by a burner flange of the installed burner.
  • the closing unit designed as a baffle is designed as a ring baffle which runs around the flame tube in the area of the mixed air openings and extends axially over the flame tube with a constant inner cross section adapted to the outer cross section of the flame tube so that the clear flow width of the mixed air openings can be varied at least largely from completely open to partially (or not completely for functional reasons) closed via the maximum change in the pressure difference ( ⁇ p), whereby the flame tube has a constant outer cross section at least in the area of the mixed air openings and the displacement path of the ring baffle over an axial extension section.
  • the flame tube has a plurality of mixed air openings in the circumferential direction, preferably equidistantly, spaced from one another, for example arranged in the same or in several planes perpendicular to the flame tube axis, and if the annular aperture has a plurality of aperture openings in the same or in several aperture planes perpendicular to the flame tube axis, which are spaced apart in the circumferential direction corresponding to the mixed air openings and can be brought largely or completely into line with the mixed air openings for complete or at least extensive opening thereof at a minimal pressure difference ( ⁇ p) and as largely or completely out of line as possible for complete or at least extensive closing of the mixed air openings at a maximum pressure difference ( ⁇ p), further good coordination options are achieved with regard to precise regulation of the air mass flow and low-emission combustion, for example.
  • ⁇ p minimal pressure difference
  • ⁇ p maximum pressure difference
  • the geometric shape of the mixed air openings and the orifice openings can be selected depending on the combustion requirements at different load points of the turbine, such as size, shape and the resulting change in the clear flow width for the mixed air portion at the pressure differences present depending on the load point.
  • Another advantageous design for a stable construction and reliable function is that the support rods in their position push the burner forward projecting section through holes made in the front wall section of the pressure housing into the interior of the bellows assigned to them and are attached to them via the respective connecting section.
  • the holes can also advantageously serve as connecting openings for a pressure equalization connection. Additional pressure equalization holes between the inside of the bellows and the combustion chamber are also conceivable.
  • a stable structure which also promotes reliable function, also consists in the fact that the holding rods are connected to a common circumferential stabilization ring, which forms a stop against the inside of the front wall section of the pressure housing when the aperture is adjusted in the direction of the minimum flow width or when the mixed air openings are closed.
  • the adjustment of the aperture is also facilitated by the fact that the holding rods are guided in the direction of displacement by additional guide elements along the flame tube.
  • control device operates passively, with a control mechanism responding to the pressure difference ( ⁇ p) in such a way that the pressure difference ( ⁇ p) drives an actuator and moves an orifice by which the clear flow width of the mixed air openings is varied depending on the load point over the load range in order to obtain optimum exhaust gas values.
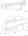
  • Fig. 1 shows a combustion chamber system 1 (partially) in longitudinal section with an outer pressure housing 2, which is provided on the outside, towards the environment, on its front side with a front wall section that is formed by a burner flange 22, and is surrounded on the circumference by an outer wall 20 (outer shell, preferably cast body) and on the inside by insulation 21.
  • a flame tube 34 is arranged, which is provided on its front side (inlet side) with a burner 31 and on its rear side facing away from the front side (outlet side) is connected or can be connected to a turbine arrangement (not shown) via a coupling section with coupling elements designed for this purpose.
  • the space between the inside of the pressure housing 2 or the insulation 21 and the outside of the wall of the flame tube 34 is designed as an inflow channel 330 with a ring-shaped cross-section, in particular a circular cylindrical inflow channel, via which compressed air can be fed to the burner 31 from the rear (outlet side) of the combustion chamber system 1 in order to burn fuel introduced into it in a combustion chamber 30 inside the flame tube 34.
  • an inflow pipe 33 between the inside of which and the outside of the flame tube 34 the air is fed to the burner 31, as shown in Fig. 1 indicated flow arrows.
  • Mixing air openings 320 are arranged in the flame tube 34, preferably in an output section located behind the combustion chamber 30 towards the output side, in particular behind a flame zone 32 (combustion zone) towards the output side. These can be spaced equidistantly from one another in the direction of rotation, for example, and can be located in one or more cross-sectional planes perpendicular to the longitudinal extension of the flame tube 34, for example. Air from the compressed air mass flow introduced from the rear of the combustion chamber system 1 can be mixed into the combustion gases flowing from the input side to the output side inside the flame tube 34 via the mixing air openings 320.
  • the combustion processes can be stabilized and optimized with regard to the exhaust gas values emitted via the mixed air portion branched off from the supplied air mass flow, whereby the burner air portion supplied to the burner is adjusted over the load range of the associated gas turbine depending on the load point to specify a suitable fuel/air ratio or the combustion air ratio (air ratio ⁇ ), as explained in more detail at the beginning.
  • air ratio ⁇ combustion air ratio
  • the clear flow width through the mixed air openings 320 is adjusted depending on the load point the gas turbine is varied by means of a control device via an adjusting device 4 depending on the pressure difference ⁇ p between the air pressure prevailing in the inflow channel 330 and the air pressure present in the environment of the combustion chamber system 1.
  • the control device has an actuating device 4 with a displaceable closing unit 40, which, as shown in the Fig. 1 to 4 shown, is designed as an annular aperture 400, similar to a cuff, and is provided with aperture openings 401, which are designed in their position and size such that they can be brought into alignment with the mixed air openings 320 as completely as possible, so that their clear flow width is as completely or at least largely available for the passage of the mixed air portion.
  • the mixed air openings 320 are designed as round mixed air bores; however, it is also conceivable to provide mixed air openings 320 with a different geometric shape, such as rectangular or non-symmetrical shapes, in order to suitably vary the clear flow width to achieve an optimal fuel/air ratio or air ratio ⁇ for combustion and optimal exhaust gas values at the respective load point of the gas turbine.
  • the diaphragm is moved by means of retaining struts in the form of retaining rods 41 arranged outside along the flame tube 34 by means of the actuator 43, which is directly responds to the pressure difference ⁇ p and is designed in the present case as a bellows 430, in particular a metallic one, as a pressure-utilizing component.
  • the closing unit thus consists of the movable cover 400, several holding rods 41, and several metal bellows 430, wherein the holding struts in their front section facing away from the cover 400 are additionally held in their relative position to one another by a circumferential stabilizing ring 42.
  • the holding struts or holding rods 41 protrude with their front end section through through openings in the front wall section or the burner flange 22 into the interior of the respectively associated bellows 430, which are aligned and fastened on the outside of the burner flange 22 with their longitudinal axis parallel or concentric to the holding rods 41.
  • the holding rods 41 are guided in the through-openings so that they can move and can also be guided by further guide elements on the outside of the flame tube 34.
  • the front ends of the holding rods 41 are fastened inside the bellows 430 via connecting sections to their front end walls.
  • the interior of the bellows 430 is in pressure equalization connection with the inflow channel 330 via connection openings 220 present in the burner flange 22 or the front wall section of the pressure housing 2, so that the respective (essentially static) pressure correlating with the load point of the gas turbine and the combustion prevails in the interior of the bellows 430 and thus the respective pressure difference ⁇ p dependent on the load point is established, by means of which the bellows 430, which is designed in particular as a metal bellows, is expanded against its spring force caused by its elasticity.
  • the orifice 400 is displaced via the support rods 41 depending on the pressure difference ⁇ p and the clear flow width for the mixed air portion through the mixed air openings 320 is adjusted accordingly, so that as a result of the burner air portion, which is also regulated, the fuel/air ratio or the air ratio ⁇ is adapted to the power requirement of the gas turbine given by the respective load point, whereby the change the clear flow width of the mixed air openings is adjusted with regard to optimum exhaust gas values and combustion efficiency.
  • the bellows 430 are made of a highly heat-resistant stainless steel and are designed to follow the pressure difference ⁇ p between the combustion chamber 30 or the inflow channel 330 and the environment over the load range of the gas turbine. Since the pressure level in the combustion chamber is lower at partial load than at full load, the bellows are expanded further at full load so that the orifice 400 slides in the direction of the burner 31. This means that the unobstructed area of the mixed air openings 320 is smaller at full load than at partial load and thus a smaller proportion of mixed air is passed through the mixed air openings 320. This increases the proportion of burner air at full load, which leads to a larger air ratio ⁇ .
  • the stabilizing ring 42 which serves to stabilize the holding rods 41 so that they can only move axially (in the direction of the longitudinal axis of the flame tube 34), also serves in the present case to limit the expansion (the adjustment path) so that the bellows 430 cannot expand any further as soon as the stabilizing ring 42 abuts the inside of the burner flange 22.

Landscapes

  • Engineering & Computer Science (AREA)
  • Chemical & Material Sciences (AREA)
  • Combustion & Propulsion (AREA)
  • Mechanical Engineering (AREA)
  • General Engineering & Computer Science (AREA)

Description

  • Die Erfindung bezieht sich auf ein Gasturbinenbrennkammersystem, insbesondere Mikrogasturbinenbrennkammersystem, mit einer Brennkammer, die ein sich längs erstreckendes, eine Flammzone umgebendes Flammrohr aufweist, welches auf seiner Eingangsseite mit einem Brenner versehen ist und an seiner von dieser abgekehrten Ausgangsseite an eine Turbinenanordnung angekoppelt oder ankoppelbar ist und in einem Ausgangsabschnitt mit Mischluftöffnungen versehen ist, mit einem die Brennkammer umgebenden Druckgehäuse, zwischen dessen Innenseite und der Außenseite des Flammrohrs zum Zuführen eines Luftmassenstroms ein von dessen Ausgangsseite zur Eingangsseite führender Zuströmkanal gebildet ist, über den ein Mischluftanteil über die Mischluftöffnungen in das Innere des Flammrohrs und ein Brennerluftanteil zu dem Brenner zur Verbrennung mit eingeströmtem Brennstoff geführt wird, und mit einer Regelvorrichtung, über die der dem Brenner zugeführte Brennerluftanteil regelbar ist, indem der Mischluftanteil in Abhängigkeit des Lastpunkts der Turbinenanordnung durch Verstellen der lichten Durchströmweite der Mischluftöffnungen variiert wird. Ferner bezieht sich die Erfindung auf ein Verfahren zum Betreiben eines Gasturbinenbrennkammersystems, insbesondere eines Mikrogasturbinenbrennkammersystems, nach einem der vorhergehenden Ansprüche, bei dem ein Luftmassenstrom über einen Zuströmkanal zwischen der Innenseite eines umgebenden Druckgehäuses und der Außenseite eines Flammrohrs von dessen Ausgangsseite her zugeführt und mittels in einem Ausgangsabschnitt des Flammrohrs angeordneter Mischluftöffnungen in einen Mischluftanteil, der hinter einer Flammzone in das Innere des Flammrohrs geleitet wird, und einen Brennerluftanteil aufgeteilt wird, der einem auf der Eingangsseite des Flammrohrs angeordneten Brenner zur Verbrennung mit Brennstoff zugeführt wird, wobei das Brennstoff-/Luftverhältnis durch Variieren der lichten Durchströmweite der Mischluftöffnungen mittels einer Regelvorrichtung geregelt wird.
  • Die GB 1 601 218 A zeigt ein Gasturbinenbrennkammersystem mit Mischluftöffnungen an einem Flammrohr, die in einem Zuströmkanal angeordnet und in ihrer Durchströmweite mittels eines Ventils mechanisch über eine Druckdifferenz zwischen Zuströmkanal und Außenluft steuerbar ist. Dazu wirkt der Druck im Zuführkanal über eine Öffnung auf einen in einem Zylinderraum angeordneten Kolben und der Außendruck über eine Öffnung einer Ventilanordnung. Ein Primärlufteinlass wird über ein weiteres Ventil gesteuert. Dieses Brennkammersystem beinhaltet somit mehrere abgestimmt zusammenwirkende Ventile mit einer relativ großen Anzahl einzelner Systemkomponenten die damit einhergehenden Aufwand hinsichtlich Aufbau und Instandhaltung bedingen und Störungen verursachen können.
  • Auch die Druckschrift DE 19 45 921 A zeigt ein Gasturbinenbrennkammersystem, bei dem Mischluftöffnungen an einem Flammrohr in einem Zuströmkanal der Luft in ihrer Durchströmweite in Abhängigkeit von einer Druckdifferenz zwischen dem Druck im Zuführkanal und der äußeren Umgebung gesteuert werden. Dabei ist eine mantelförmige Blende durch ein Stellorgan mittels eines federbelasteten Kolbens verschiebbar.
  • Ein Gasturbinenbrennkammersystem und ein Verfahren zum Betreiben eines Gasturbinenbrennkammersystems sind auch in der DE 41 20 831 A1 angegeben. Bei diesem bekannten Gasturbinenbrennkammersystem und Verfahren zu dessen Betrieb bei unterschiedlichen Betriebszuständen, wie z. B. Lastpunkt einer Turbine bei Teillast bis Volllast, werden Heißgase aus der Verbrennung aus einem verdichteten Luftstrom erzeugt. Um einen Luftüberschuss in der Flammenzone zu verhindern, treten dabei Mittel in Funktion, welche auf eine Druckdifferenz zwischen dem Brennraum selbst und der verdichteten Luft ansprechen. Die Mittel bestehen dabei z. B. in Federkomponenten mit Rückschlagventil und bewirken eine Bypassströmung eines Teils der verdichteten Luft in eine Mischzone ausgangsseitig der Flammzone oder Brennzone, wozu das federnde Element der Mittel in Abhängigkeit der Druckdifferenz eine Wegstrecke zurücklegt, welche eine Öffnung des betreffenden Ventils für eine Bypassströmung eines Teils der verdichteten Luft in die Mischzone bewirkt. Die so aus mehreren Einzelteilen aufgebauten, den Mischluftöffnungen individuell zugeordneten Mittel der Regelungsvorrichtung zur Regelung des Mischluftanteils durch die Mischluftdüsen und damit auch des Anteils der dem Brenner zugeführten Brennerluft ergibt einen relativ hohen konstruktiven Aufwand, insbesondere bei Mikrogasturbinenbrennkammersystemen, womit auch eine möglichst zuverlässige Einstellung des Brennstoff-/Luftverhältnisses im Brenner bzw. der Verbrennungsluftzahl (Luftzahl λ) für eine gleichbleibend schadstoffarme und dabei effiziente Verbrennung schwierig ist. Auch ist mit diesem Aufbau ein relativ hoher Kommissionierungsaufwand und Wartungsaufwand und dabei auch ein erhöhtes Versagensrisiko verbunden.
  • Ein Gasturbinenbrennkammersystem und ein Verfahren zu dessen Betrieb ist auch in der DE 43 04 201 A1 angegeben. Dabei ist ein Flammrohr beabstandet, unter Bildung eines ringförmigen Luftkanals, von einem Außenmantel konzentrisch umgeben und umschließt seinerseits einen Brennraum. Über den Luftkanal wird einem durch den Außenmantel und das Flammrohr hindurch in den Brennraum ragenden Brenner verdichtete Luft zugeführt und am Umfang des Flammrohrs sind Mischluftdüsen angeordnet, welche den Luftkanal mit dem Brennraum verbinden, um Sekundärluft (Mischluft) durch die Mischluftdüsen in den Heißgasstrom im Flammrohr einzubringen. Die Mischluftdüsen sind dabei zum Variieren des Mischluftanteils individuell regelbar, da eine bereits erprobte Lösung mit einem allen Mischluftöffnungen gemeinsamen Verstellring dort als nachteilig angesehen worden ist. Mit den individuellen Regelkomponenten der einzelnen Mischluftdüsen ergeben sich jedoch ebenfalls die vorstehend genannten Nachteile.
  • Die AT 6 537 E zeigt bei einem Brennkammersystem eine Verschiebung eines Innenmantels entsprechend dem Gleichgewicht der pneumatischen Kraft eines Brennstoffdrucks auf der linken Seite eines Bodens und einer auf der rechten Seite des Bodens, turbinenseitig, wirkenden Kraft durch einen dort aufgebauten Druck. Auch ist eine faltenbalgartige Struktur gezeigt.
  • Die EP 0 088 933 A1 zeigt ein Flammrohr mit einer Verstelleinrichtung in Form eines das Flammrohr umschließenden Stellrings, mittels dem das Verhältnis von Primärluftmenge zu Sekundärluftmenge lastabhängig steuerbar ist. Die Steuerung erfolgt über Änderung der Strömungsquerschnitte der Primärluftöffnungen und der Sekundärluftöffnungen mittels Drehung und/oder axialer Verschiebung des Stellrings. Die Drehung des Stellrings kann mittels eines motorischen, pneumatischen oder hydraulischen Antriebs erfolgen.
  • Die JP H05 231645 A zeigt eine dreiteilige Brennkammer mit einem Drallkörper und Sekundärluft-Öffnungen zur Zugabe von sekundärer Verbrennungsluft. Zudem ist eine zusätzliche Mischluftöffnung vorhanden. Die Strömungsquerschnitte der Sekundärluft-Öffnungen sind bei Leerlauf vollständig verschlossen und vergrößern sich mit steigender Last. Der Strömungsquerschnitt der Mischluftöffnung bleibt über den Lastbereich konstant.
  • Verschiedene weitere Lösungsvorschläge zur Regelung der einem Brenner in einem Gasturbinenbrennkammersystem zugeführten Brennerluft zeigen die GB 1257610 A , die EP 2778531 A1 , die FR 2133832 A1 , die GB 2277582 A , die US 3952501 A und die DE 19545311 B4 , wobei verschiedene, meist durch aktive Regelung angesprochene Stellglieder, im Zuströmkanal des Luftmassenstroms angeordnet sind und Verstellwege, Kräfte, Temperaturen oder Drücke manipuliert werden. Zwar ist bei solchen aktiv geregelten Vorrichtungen eine direkte Anpassung des Systems an die spezifischen Gegebenheiten jeder einzelnen Gasturbine ermöglicht. Ein Nachteil ist jedoch auch dabei, dass dies mit einem erhöhten Kommissionierungsaufwand verbunden ist und die verschiedenen Komponenten und Stellglieder einen relativ hohen Wartungsaufwand und ein erhöhtes Versagensrisiko zur Folge haben, wodurch insbesondere im Zusammenhang mit Mikrogasturbinenbrennkammersystemen Nachteile bei dem Ziel entstehen, eine schadstoffarme, zuverlässige Verbrennung über den gesamten Lastbereich zu erreichen.
  • Bei Mikrogasturbinenbrennkammersystemen variiert der Luftmassenstrom durch die Turbokomponenten stark mit dem Lastpunkt der angeschlossenen Turbinenanordnung über deren Lastbereich bzw. der geforderten elektrischen Leistung. Ebenso besteht zwischen Minimal- und Volllast ein stark variierender Bedarf an Brennstoffleistung und damit an Brennstoffmassenstrom. Dabei ist das jeweilige Verhältnis zwischen Luftmassenstrom und Brennstoffmassenstrom über den Lastbereich nicht konstant, sondern wird bei Teillast in Richtung von größeren Luftmassenströmen verschoben. Im Stand der Technik werden bei Mikrogasturbinen Brennkammern mit fest vorgegebenen Geometrien verwendet. Daher ergibt sich über den gesamten Lastbereich eine annähernd konstante Aufteilung zwischen der Luft, welche über den Brenner geleitet wird, und der Mischluft, welche nach der Verbrennungszone im Flammrohr eingemischt wird.
  • Aufgrund dieser konstanten Luftaufteilung ergibt sich im Reaktionsraum der Brennkammer eine Verschiebung des Verhältnisses zwischen Luft und Brennstoff, was zu einer deutlichen Änderung der Verbrennungsluftzahl λ führt, wie in Fig. 5 gezeigt, in der über der Luftzahl λ (Abszisse 5) Emissionen e (Ordinate 6) von CO (Bezugszeichen 60) und NOx (Bezugszeichen 61) bei Volllast und Teillast dargestellt sind. Somit liegen bei Teillast deutlich magerere Bedingungen im Brennraum vor als bei Volllast. Dies führt dazu, dass bei Brennern, welche auf Volllast hinsichtlich NOx optimiert sind, die CO-Emissionen bei Teillast den Gleichgewichtspfad verlassen und durch Nichtgleichgewichtseffekte aufgrund von unzureichenden Aufenthaltszeiten bei den hohen Luftzahlen λ bestimmt sind. Daher steigen die CO-Emissionen bei Teillast zum Teil stark an.
  • Ebensolches gilt auch für die unverbrannten Kohlenwasserstoffe (UHCs). Dieser Effekt kann durch eine Brennstoffstufung teilweise kompensiert werden, indem eine Pilotstufe bei Teillast angefettet wird. Dies wird jedoch durch eine Steigerung der NOx-Emissionen bei Teillast erkauft. Des Weiteren kann die Pilotierung den Einfluss der Luftzahlverschiebung auch nur begrenzt kompensieren, so dass auch für diesen Fall stets eine Abwägung zwischen Abgasemissionen bei Volllast und bei Teillast getroffen werden muss.
  • Bei der Brennstoffstufung wird der einzubringende Brennstoffmassenstrom ungleich auf verschiedene Brennerstufen verteilt, so dass sich lokal fettere und damit heißere Gebiete der Vormischverbrennung ergeben. Dies führt dazu, dass die Verbrennung stabilisiert wird und gleichzeitig die CO- und UHC-Emissionen bei Lastpunkten sinken, welche global mit einem sehr mageren Zustand einhergehen. Dies ist typischerweise bei Teillast der Fall. Durch die lokal höheren Verbrennungstemperaturen steigen jedoch gleichzeitig die NOx-Emissionen an. Ferner ist ein Senken der CO-Emissionen bei global extrem mageren Bedingungen, wie sie zum Teil bei Mikrogasturbinen nahe des Minimallastpunkts vorkommen, nur sehr begrenzt durch eine Brennstoffstufung möglich, so dass bei diesen Lastpunkten immer noch erhebliche CO- und UHC-Emissionen emittiert werden.
  • Hinzu kommt, dass eine Verbauung des Strömungspfads zum Brenner zu einem erhöhten Druckverlust des Gasturbinenbrennkammersystems, insbesondere Mikrogasturbinenbrennkammersystem führt, wodurch der Wirkungsgrad der Gasturbine, insbesondere Mikrogasturbine, negativ durch Einbaukomponenten der Regelungsvorrichtung, wie Drosseln und Ventilkomponenten im Luftpfad nachteilig beeinflusst wird.
  • Ausgehend von diesen Nachteilen bekannter Gasturbinenbrennkammersysteme mit Luftregelvorrichtungen und unter Berücksichtigung vorstehender Vorüberlegungen und Erkenntnisse liegt der Erfindung die Aufgabe zugrunde, ein Gasturbinenbrennkammersystem, insbesondere Mikrogasturbinenbrennkammersystem, so weiterzubilden, dass eine schadstoffarme, zuverlässige Verbrennung über den gesamten Lastbereich einer zugeordneten Turbinenanordnung erreicht wird, und ein entsprechendes Verfahren zur Verfügung zu stellen.
  • Diese Aufgabe wird bei einem Gasturbinenbrennkammersystem mit den Merkmalen des Anspruchs 1 und bei einem Verfahren zum Betreiben eines solchen mit den Merkmalen des Anspruchs 11 gelöst.
  • Bei dem Gasturbinenbrennkammersystem (nachfolgend auch kurz als Brennkammersystem bezeichnet) ist erfindungsgemäß vorgesehen, dass die Regelvorrichtung eine auf eine Druckdifferenz (Δp) zwischen dem Zuströmkanal der Luft und der Umgebung des Brennkammersystems (in der Regel Atmosphärendruck) ansprechende Stellvorrichtung aufweist, mittels der die lichte Durchströmweite (Strömungsquerschnitt) der Mischluftöffnungen in Abhängigkeit des Lastpunkts, insbesondere kontinuierlich, mit sich erhöhendem Lastpunkt verringerbar und mit abnehmendem Lastpunkt vergrößerbar ist.
  • Bei dem Verfahren zum Betreiben eines Gasturbinenbrennkammersystems ist im Zusammenhang mit den Merkmalen des Oberbegriffs vorgesehen, dass die lichte Durchströmweite der Mischluftöffnungen in Abhängigkeit der Druckdifferenz (Δp) zwischen dem Zuströmkanal und der äußeren Umgebung des Brennkammersystems geregelt wird, indem die lichte Durchströmweite mit einer Erhöhung des Lastpunkts einer angekoppelten Turbinenanordnung verringert und mit einer Reduzierung des Lastpunkts vergrößert wird.
  • Mit diesen Maßnahmen wird die Druckdifferenz der Luft in dem Zuströmkanal bzw. einem dort angeordneten Zuströmrohr und der Umgebung des Brennkammersystems um das Druckgehäuse vorteilhaft zur Regelung des Brennerluftstroms und damit des bei der Verbrennung vorliegenden Brennstoff-/Luftverhältnisses genutzt, wodurch die Luftzahl bei unterschiedlichen Lastpunkten über den Lastbereich einer angekoppelten Turbine zum Erreichen optimaler Abgaswerte eingehalten werden kann. Eine optimierte Regelung wird dabei auch dadurch begünstigt, dass im Bereich der Stellvorrichtung und der Erfassung der Druckdifferenz moderate Temperaturen der Einbaustelle vorliegen. Das Druckgefälle zwischen der Luft des Zuführkanals und der Umgebung korreliert über den Lastbereich der Gasturbine sehr gut mit dem für die Verbrennung erforderlichen Massenstromverhalten.
  • Dabei ist vorgesehen, dass die Stellvorrichtung mechanisch, und insbesondere passiv arbeitend, aufgebaut ist, wobei die Druckdifferenz mittelbar oder, vorzugsweise, unmittelbar als Antriebsquelle genutzt ist. So kann der Aufbau bei geringem Aufwand mit wenigen Komponenten mit hoher Zuverlässigkeit und kostengünstig verwirklicht werden. Bei unmittelbarer Nutzung der Druckdifferenz als Antriebsquelle wird nur eine druckausnutzende Einheit benötigt, wobei der Mechanismus von extrem heißen Komponenten des Flammrohrs abgesetzt ist, was zur hohen Zuverlässigkeit beiträgt. Zudem können durch die passiv aufgebaute Regelvorrichtung, insbesondere für den passiv geregelten Anteil der Mischluftströmung, vorteilhaft industriell erhältliche Komponenten verwendet werden und es ergibt sich ein geringes Versagensrisiko in Folge geringer Komplexität und ein geringer Wartungsaufwand. Auch kann der Strömungskanal strömungsgünstig, möglichst unverbaut ausgeführt werden, um den Druckverlust über den Strömungspfad des Luftmassenstroms mit dem Brennerluftanteil klein zu halten, was sich positiv auf den Wirkungsgrad insbesondere der Mikrogasturbinenbrennkammer auswirkt.
  • Das Erreichen dieser Vorteile wird dadurch gewährleistet, dass bei Nutzung der Druckdifferenz (Δp) als mittelbare Antriebsquelle eine Stelleinheit mit einem Druckaufnehmer, einer Wandlereinheit und mindestens einem von dieser angetriebenen Stellglied vorhanden ist, mittels dessen die lichte Durchströmweite der Mischluftöffnungen über eine Schließeinheit variierbar ist, und dass bei Nutzung der Druckdifferenz (Δp) als unmittelbare Antriebsquelle das mindestens eine Stellglied selbst als Druckaufnehmer ausgebildet ist, mittels dessen die lichte Durchströmweite der Mischluftöffnungen über die Schließeinheit variierbar ist. Bei der mittelbaren Nutzung der Druckdifferenz als Antriebsquelle kann die Druckdifferenz über die Wandlereinheit indirekt zur Ansteuerung einer anderen mechanischen oder anderen physikalischen Energiequelle zugeführt werden, um das mindestens eine Stellglied zur Änderung der lichten Durchströmweite der Mischluftöffnungen über die Schließeinheit anzutreiben, wobei gleichwohl die Druckdifferenz zwischen dem Zuströmkanal und der Umgebung genutzt ist. Ist die Druckdifferenz als unmittelbare Antriebsquelle des Stellglieds genutzt, ergibt sich ein besonders einfacher Aufbau.
  • Erfindungsgemäß weist die Stellvorrichtung als mindestens ein Stellglied einen Faltenbalg, insbesondere aus Metall, auf, der mit seinem einen stirnseitigen Endbereich fest mit dem Druckgehäuse verbunden ist und mit seinem in Längsrichtung beabstandeten anderen stirnseitigen Endbereich an einem Verbindungsabschnitt über mindestens ein Zwischenglied mit der mindestens ein Schließelement umfassenden Schließeinheit verbunden ist und dass der Innenraum des Faltenbalgs über mindestens einen Druckausgleichskanal mit dem Luft-Zuströmkanal in Verbindung gebracht ist. Ein solcher Faltenbalg, insbesondere aus Metall, ist kommerziell in verschiedenen Ausführungen erhältlich, wobei seine Auslenkung zum Verstellen der Schließeinheit einerseits über die Druckänderung in Abhängigkeit des Lastpunkts und andererseits, dem Druck entgegenwirkend, durch die ihm innewohnende elastische Rückstellkraft bewirkt wird. Dabei lassen sich die erforderlichen wirkenden Kraftparameter gut, z. B. durch Simulation und/oder reale Versuche, auf das jeweilige Brennkammersystem abstimmen, wobei weitere zu berücksichtigende Parameter, wie Verstellweg, Größe und Form der Mischluftöffnungen jeweils geeignet ermittelt werden können.
  • Eine für einen einfachen Aufbau und zuverlässige Funktion weitere vorteilhafte Ausgestaltung besteht darin, dass die Schließeinheit als Blende ausgebildet ist, die mittels des Stellglieds in Längsrichtung des Flammrohrs, die Mischluftöffnungen zum Variieren der lichten Durchströmweite bzw. des Strömungsquerschnitts mehr oder weniger verschließend, translatorisch verschiebbar und/oder rotatorisch in Umfangsrichtung verstellbar ist. Über die z. B. manschettenartig ausgebildete Blende lassen sich die Mischluftöffnungen durch einen einfachen Verstellmechanismus in Abhängigkeit von der Druckdifferenz leicht variieren. Das Material der Schließeinheit und ihre physikalischen bzw. mechanischen Eigenschaften lassen sich zum Erreichen einer guten Funktionsfähigkeit z. B. hinsichtlich guter Gleiteigenschaften bei unterschiedlichen Temperaturen des Flammrohrs geeignet wählen.
  • Zu einem vorteilhaften Aufbau trägt auch bei, dass der Verbindungsabschnitt, das Zwischenglied und die Schließeinheit starr miteinander verbunden sind.
  • Eine für den Aufbau und die Funktion weitere vorteilhafte Ausgestaltung des Brennkammersystems besteht darin, dass das Druckgehäuse auf seiner der Eingangsseite des Flammrohrs benachbarten Vorderseite einen Vorderwandabschnitt aufweist, auf dessen der Umgebung des Brennkammersystems zugekehrter Außenseite mehrere Stellglieder angebracht sind, und dass mehrere längs der Außenseite des Flammrohrs, insbesondere durch den Zuströmkanal, verlaufende Zwischenglieder als Haltestreben bzw. Haltestäbe ausgebildet sind, die an ihrem dem Ausgangsabschnitt des Flammrohrs zugewandten rückseitigen Endbereich mit der Schließeinheit verbunden sind und mit ihrem davon beabstandeten vorderen Endbereich über den Verbindungsabschnitt mit den ihnen zugeordneten Stellgliedern verbunden sind. Der Vorderwandabschnitt des Druckgehäuses wird dabei z. B. durch einen Brennerflansch des eingebauten Brenners gebildet.
  • In weiterer konstruktiver Ausgestaltung ist vorteilhaft vorgesehen, dass die als Blende ausgestaltete Schließeinheit als Ringblende ausgebildet ist, welche im Bereich der Mischluftöffnungen um das Flammrohr umläuft und sich mit gleichbleibendem, an den Außenquerschnitt des Flammrohrs angepassten Innenquerschnitt soweit axial über das Flammrohr erstreckt, dass die lichte Durchströmweite der Mischluftöffnungen über die maximale Änderung der Druckdifferenz (Δp) zumindest weitgehend von vollständig offen bis teilweise (bzw. aus Funktionsgründen nicht vollständig) geschlossen variierbar ist, wobei das Flammrohr zumindest im Bereich der Mischluftöffnungen und des Verschiebewegs der Ringblende über einen axialen Erstreckungsabschnitt gleichbleibenden Außenquerschnitt besitzt. Mit diesen Maßnahmen lässt sich eine vorteilhafte Abstimmung der Funktion auf die Steuerung bzw. Regelung des Brennerluftanteils über den gesamten Lastbereich der Turbine zum Erreichen optimaler Abgaswerte vorteilhaft verwirklichen.
  • Zu einer zuverlässigen Funktionsfähigkeit trägt dabei weiterhin bei, dass die Außenfläche des Flammrohrs zumindest über den axialen Erstreckungsabschnitt im Bereich der Mischluftöffnungen und des Verschiebewegs und der Innenquerschnitt der Ringblende über ihre axiale Erstreckung Kreiszylinderform aufweisen, wodurch ein einfacher Aufbau und eine gute Verstellbarkeit erreicht werden.
  • Ist des Weiteren vorgesehen, dass das Flammrohr in Umfangsrichtung mehrere, vorzugsweise äquidistant, voneinander beabstandete, beispielsweise in derselben oder in mehreren Ebenen senkrecht zur Flammrohrachse angeordnete Mischluftöffnungen aufweist und dass die Ringblende mehrere in derselben oder in mehreren zur Flammrohrachse senkrechten Blendenebenen liegende Blendenöffnungen aufweist, die in Umlaufrichtung entsprechend den Mischluftöffnungen beabstandet und zum vollständigen oder zumindest weitgehenden Öffnen der Mischluftöffnungen mit diesen bei minimaler Druckdifferenz (Δp) weitgehend oder vollständig in Deckung und zum vollständigen oder zumindest weitgehenden Schließen der Mischluftföffnungen bei maximaler Druckdifferenz (Δp) möglichst weitgehend oder vollständig außer Deckung bringbar sind, so werden weitere gute Abstimmungsmöglichkeiten hinsichtlich einer genauen Regelung des Luftmassenstroms und einer schadstoffarmen Verbrennung erreicht, wobei z. B. die geometrische Form der Mischluftöffnungen und der Blendenöffnungen in Abhängigkeit der Anforderungen an die Verbrennung bei verschiedenen Lastpunkten der Turbine gewählt werden können, wie Größe, Form und damit erreichter Änderung der lichten Durchströmweite für den Mischluftanteil bei den jeweils in Abhängigkeit des Lastpunkts vorliegenden Druckdifferenzen.
  • Eine für einen stabilen Aufbau und eine zuverlässige Funktion weitere vorteilhafte Ausgestaltung besteht darin, dass die Haltestäbe in ihrem den Brenner nach vorne überragenden Abschnitt durch in den Vorderwandabschnitt des Druckgehäuses eingebrachte Bohrungen in das Innere der ihnen zugeordneten Faltenbalge geführt und an diesen über den jeweiligen Verbindungsabschnitt befestigt sind. Die Bohrungen können dabei vorteilhaft auch als Verbindungsöffnungen für eine Druckausgleichsverbindung dienen. Auch zusätzliche Druckausgleichsbohrungen zwischen dem Balginnern und der Brennkammer sind denkbar.
  • Ein stabiler Aufbau, der auch eine zuverlässige Funktion begünstigt, besteht ferner darin, dass die Haltestäbe mit einem gemeinsamen umlaufenden Stabilisierungsring verbunden sind, der bei Verstellung der Blende in Richtung minimaler Durchströmweite bzw. Verschluss der Mischluftöffnungen einen Anschlag gegen die Innenseite des Vorderwandabschnitts des Druckgehäuses bildet.
  • Die Verstellung der Blende wird auch dadurch begünstigt, dass die Haltestäbe durch weitere Führungselemente entlang dem Flammrohr in Verschieberichtung geführt sind.
  • Eine für die Funktion und eine zuverlässige Regelung vorteilhafte Ausgestaltung des Verfahrens besteht darin, dass die Regelvorrichtung passiv arbeitet, wobei eine Regelmechanik auf die Druckdifferenz (Δp) in der Weise anspricht, dass durch die Druckdifferenz (Δp) ein Stellglied angetrieben und von diesem eine Blende bewegt wird, durch welche die lichte Durchströmweite der Mischluftöffnungen in Abhängigkeit des Lastpunkts über den Lastbereich variiert wird, um optimale Abgaswerte zu erhalten.
  • Die Erfindung wird nachfolgend anhand von Ausführungsbeispielen unter Bezugnahme auf die Zeichnungen näher erläutert. Es zeigen:
  • Fig. 1
    ein Gasturbinenbrennkammersystem im Längsschnitt mit einer schematisch dargestellten Regelvorrichtung für einen Luftmassenstrom,
    Fig. 2
    wesentliche erfindungsgemäße Komponenten eines Gasturbinenbrennkammersystems mit einem Flammrohr und einer Regelvorrichtung in perspektivischer seitlicher Ansicht,
    Fig. 3
    einen Ausschnitt des Gasturbinenbrennkammersystems in aufgeschnittener perspektivischer Ansicht teilweise von innen,
    Fig. 4
    einen vergrößerten Ausschnitt des Gasturbinenbrennkammersystems nach Fig. 3 mit einem Abschnitt einer Verstelleinheit im Bereich eines Stellglieds und
    Fig. 5
    ein Schaubild mit einem Verlauf von emittierten Schadstoffkomponenten über der Luftzahl λ bei verschiedenen Lastpunkten einer Turbine.
  • Fig. 1 zeigt ein Brennkammersystem 1 (teilweise) im Längsschnitt mit einem äußeren Druckgehäuse 2, welches außen, zur Umgebung hin, auf seiner Vorderseite mit einem Vorderwandabschnitt versehen ist, der durch einen Brennerflansch 22 gebildet ist, und umfangseitig von einer Außenwandung 20 (Außenschale, vorzugsweise Gusskörper) und innenseitig von einer Isolierung 21 umgeben ist. Im Innern des Druckgehäuses 2 ist, mit seiner Außenseite von der Innenseite der Isolierung 21 beabstandet, ein Flammrohr 34 angeordnet, welches auf seiner Vorderseite (Eingangsseite) mit einem Brenner 31 versehen ist und auf seiner von der Vorderseite abgekehrten Rückseite (Ausgangsseite) an eine (nicht gezeigte) Turbinenanordnung über einen dafür ausgestalteten Koppelabschnitt mit Koppelelementen angeschlossen bzw. anschließbar ist.
  • Der Raum zwischen der Innenseite des Druckgehäuses 2 bzw. der Isolierung 21 und der Außenseite der Wandung des Flammrohrs 34 ist als im Querschnitt ringförmig umlaufender, insbesondere kreiszylindrischer, Zuströmkanal 330 ausgebildet, über den von der Rückseite (Ausgangsseite) des Brennkammersystem 1 her komprimierte Luft dem Brenner 31 zuführbar ist, um in diesen eingebrachten Brennstoff in einer Brennkammer 30 im Innern des Flammrohrs 34 zu verbrennen. Um in den Zuströmkanal 330 möglichst günstige Strömungsverhältnisse zu erreichen, ist dieser mit einem Zuströmrohr 33 versehen, zwischen dessen Innenseite und der Außenseite des Flammrohrs 34 die Luft zum Brenner 31 geleitet wird, wie die in Fig. 1 eingezeichneten Strömungspfeile zeigen.
  • In dem Flammrohr 34 sind, vorzugsweise in einem zur Ausgangsseite hin hinter der Brennkammer 30 liegenden Ausgangsabschnitt, insbesondere hinter einer Flammzone 32 (Brennzone) zur Ausgangsseite hin liegenden Ausgangsabschnitt Mischluftöffnungen 320 angeordnet. Diese können z. B. in Umlaufrichtung äquidistant voneinander beabstandet sein und z. B. in einer oder mehreren zur Längserstreckung des Flammrohrs 34 senkrechten Querschnittsebenen liegen. Über die Mischluftöffnungen 320 kann den im Innern des Flammrohrs 34 von der Eingangsseite zur Ausgangsseite strömenden Verbrennungsgasen Luft aus dem von der Rückseite des Brennkammersystems 1 her eingeleiteten komprimierten Luftmassenstrom beigemischt werden.
  • Über den aus dem zugeführten Luftmassenstrom abgezweigten Mischluftanteil können die Verbrennungsvorgänge stabilisiert und hinsichtlich der emittierten Abgaswerte optimiert werden, wobei der dem Brenner zugeführte Brennerluftanteil über den Lastbereich der zugeordneten Gasturbine in Abhängigkeit des Lastpunkts zum Vorgeben eines geeigneten Brennstoff-/Luftverhältnisses bzw. der Verbrennungsluftzahl (Luftzahl λ) eingestellt wird, wie eingangs näher erläutert. Hierzu wird die lichte Durchströmweite durch die Mischluftöffnungen 320 in Abhängigkeit des Lastpunkts der Gasturbine mittels einer Regelvorrichtung über eine Stellvorrichtung 4 in Abhängigkeit der Druckdifferenz Δp zwischen dem in dem Zuströmkanal 330 herrschenden Luftdruck und dem in der Umgebung des Brennkammersystems 1 vorliegenden Luftdruck variiert.
  • Bei dem vorliegenden Gasturbinenbrennkammersystem 1, insbesondere in Ausgestaltung als Mikrogasturbinenbrennkammersystem (ein solches ist in der Regel für Brennerleistungsbereiche von 10 kW bis 1,5 MW und gelegentlich bis 2 MW ausgelegt), weist die Regelvorrichtung eine Stellvorrichtung 4 mit einer verschiebbaren Schließeinheit 40 auf, die, wie in den Fig. 1 bis 4 gezeigt, als ringförmige Blende 400, ähnlich einer Manschette, ausgestaltet ist und mit Blendenöffnungen 401 versehen ist, die in ihrer Position und Größe so ausgebildet sind, dass sie mit den Mischluftöffnungen 320 möglichst vollständig in Deckung bringbar sind, so dass deren lichte Durchströmweite möglichst vollständig oder zumindest weitgehend zum Durchtritt des Mischluftanteils verfügbar ist.
  • Eine vorteilhafte nähere Ausgestaltung der Regelvorrichtung mit der Schließeinheit 40 und einer Stelleinheit mit einem auf die Druckdifferenz Δp zwischen dem Druck im Zuströmkanal 330, insbesondere in dessen Pfad für den abgezweigten Brennerluftanteil, und dem Umgebungsdruck auf der Außenseite des Druckgehäuses 2 ansprechenden Stellglied ist in den Fig. 2, 3 und 4 anhand eines Ausführungsbeispiels näher dargestellt. Bei der gezeigten Ausführung sind die Mischluftöffnungen 320 als runde Mischluftbohrungen ausgebildet; es ist jedoch auch denkbar, geometrisch anders geformte Mischluftöffnungen 320 vorzusehen, wie rechteckige oder nicht symmetrische Formen, um die lichte Durchströmweite zum Erreichen eines optimalen Brennstoff-/Luftverhältnisses bzw. Luftzahl λ für die Verbrennung und optimale Abgaswerte bei dem jeweiligen Lastpunkt der Gasturbine geeignet zu variieren.
  • Die Blende wird mittels außen entlang des Flammrohrs 34 angeordneter Haltestreben in Form von Haltestäben 41 mittels des Stellglieds 43 verschoben, welches unmittelbar auf die Druckdifferenz Δp anspricht und vorliegend als, insbesondere metallischer, Faltenbalg 430 als Druck ausnutzendes Bauteil ausgebildet ist. Die Schließeinheit besteht somit aus der verschiebbaren Blende 400, mehreren Haltestäben 41, und mehreren Metallfaltenbalgen 430, wobei die Haltestreben in ihrem von der Blende 400 abgekehrten vorderen Abschnitt zusätzlich durch einen umlaufenden Stabilisierungsring 42 in ihrer relativen Position zueinander gehalten sind. Die Haltestreben bzw. Haltestäbe 41 ragen mit ihrem vorderen Endabschnitt durch Durchführöffnungen in dem Vorderwandabschnitt bzw. dem Brennerflansch 22 in das Innere des jeweils zugeordneten Faltenbalgs 430, die auf der Außenseite des Brennerflansches 22 mit ihrer Längsachse parallel bzw. konzentrisch zu den Haltestäben 41 ausgerichtet und befestigt sind. Die Haltestäbe 41 sind dabei in den Durchführöffnungen verschieblich geführt und können zusätzlich durch weitere Führungselemente auf der Außenseite des Flammrohrs 34 geführt sein. Die vorderen Enden der Haltestäbe 41 sind im Innern der Faltenbälge 430 über Verbindungsabschnitte an deren vorderen Abschlusswänden befestigt.
  • Das Innere der Faltenbälge 430 steht über in dem Brennerflansch 22 bzw. dem Vorderwandabschnitt des Druckgehäuses 2 vorhandene Verbindungsöffnungen 220 in Druckausgleichsverbindung mit dem Zuströmkanal 330, so dass im Innern des Faltenbalgs 430 der jeweilige mit dem Lastpunkt der Gasturbine und der Verbrennung korrelierende (im Wesentlichen statische) Druck herrscht und sich somit die von dem Lastpunkt abhängige jeweilige Druckdifferenz Δp einstellt, durch die der insbesondere als Metallfaltenbalg ausgebildete Faltenbalg 430 entgegen seiner durch seine Elastizität bewirkten Federkraft ausgedehnt wird. Dadurch wird die Blende 400 über die Haltestäbe 41 in Abhängigkeit von der Druckdifferenz Δp verschoben und die lichte Durchströmweite für den Mischluftanteil durch die Mischluftöffnungen 320 entsprechend eingeregelt, so dass sich infolge des dabei ebenfalls geregelten Brennerluftanteils das Brennstoff-/Luftverhältnis bzw. die Luftzahl λ der durch den jeweiligen Lastpunkt gegebenen Leistungsanforderung der Gasturbine anpasst, wobei die Änderung der lichten Durchströmweite der Mischluftöffnungen hinsichtlich optimaler Abgaswerte und Verbrennungseffizienz eingestellt ist.
  • Die Faltenbalge 430 bestehen aus einem hochwarmfesten Edelstahl und sind auf den Verlauf der vorliegenden Druckdifferenz Δp zwischen der Brennkammer 30 bzw. dem Zuströmkanal 330 und der Umgebung über den Lastbereich der Gasturbine ausgelegt. Da bei Teillast ein geringeres Druckniveau in der Brennkammer vorherrscht als bei Volllast, werden die Faltenbalge bei Volllast weiter ausgedehnt, so dass die Blende 400 in Richtung des Brenners 31 gleitet. Dies führt dazu, dass die unversperrte Fläche der Mischluftöffnungen 320 bei Volllast kleiner ist als bei Teillast und somit ein geringerer Mischluftanteil über die Mischluftöffnungen 320 geleitet wird. Dadurch erhöht sich bei Volllast der Brennerluftanteil, was somit zu einer größeren Luftzahl λ führt. Durch das Zusammenspiel aus der Ausdehnung der Faltenbalge 430 und der sich damit ergebenden Änderung der unversperrten Fläche der Mischluftöffnungen 320 kann durch die Auslegung der Regelvorrichtung mit ihren Komponenten eine annähernd konstante Luftzahl über den Brenner 31 für den gesamten Lastbereich der Gasturbine realisiert werden.
  • Der Stabilisierungsring 42, der zur Stabilisierung der Haltestäbe 41 dient, so dass sich diese ausschließlich axial (in Richtung der Längsachse des Flammrohrs 34) bewegen können, dient vorliegend des Weiteren als Begrenzung der Ausdehnung (des Verstellwegs), so dass sich die Faltenbalge 430 nicht weiter ausdehnen können, sobald der Stabilisierungsring 42 an der Innenseite des Brennerflanschs 22 anstößt.
  • Mit dem gezeigten Aufbau wird somit eine aus wenigen Komponenten bestehende, passiv arbeitende, robuste Regelvorrichtung erreicht, die eine zuverlässige, schadstoffarme Regelung der Verbrennung in Gasturbinenbrennkammersystemen, insbesondere Mikrogasturbinenbrennkammersystemen, über den gesamten Lastbereich ergibt.

Claims (11)

  1. Gasturbinenbrennkammersystem (1), insbesondere Mikrogasturbinenbrennkammersystem, mit
    - einer Brennkammer (30), die ein sich längs erstreckendes, eine Flammzone umgebendes Flammrohr (34) aufweist, welches auf seiner Eingangsseite mit einem Brenner (31) versehen ist und an seiner von dieser abgekehrten Ausgangsseite an eine Turbinenanordnung angekoppelt oder ankoppelbar ist und in einem Ausgangsabschnitt mit Mischluftöffnungen (320) versehen ist,
    - mit einem die Brennkammer (30) umgebenden Druckgehäuse (2), zwischen dessen Innenseite und der Außenseite des Flammrohrs (34) zum Zuführen eines Luftmassenstroms ein von dessen Ausgangsseite zur Eingangsseite führender Zuströmkanal (330) gebildet ist, über den ein Mischluftanteil über die Mischluftöffnungen (320) in das Innere des Flammrohrs (34) und ein Brennerluftanteil zu dem Brenner (31) zur Verbrennung mit eingeströmtem Brennstoff geführt wird, und
    - mit einer Regelvorrichtung, über die der dem Brenner (31) zugeführte Brennerluftanteil regelbar ist, indem der Mischluftanteil in Abhängigkeit des Lastpunkts der Turbinenanordnung durch Verstellen der lichten Durchströmweite der Mischluftöffnungen (320) variiert wird,
    wobei
    - die Regelvorrichtung eine auf eine Druckdifferenz (Δp) zwischen dem Zuströmkanal (330) der Luft und der Umgebung des Brennkammersystems (1) ansprechende Stellvorrichtung (4) aufweist, mittels der die lichte Durchströmweite der Mischluftöffnungen (320) in Abhängigkeit des Lastpunkts, insbesondere kontinuierlich, mit sich erhöhendem Lastpunkt verringert wird und mit abnehmendem Lastpunkt vergrößert wird, und
    - die Stellvorrichtung (4) mechanisch aufgebaut ist, wobei die Druckdifferenz (Δp) mittelbar oder, insbesondere, unmittelbar als Antriebsquelle
    - bei Nutzung der Druckdifferenz (Δp) als mittelbare Antriebsquelle eine Stelleinheit mit einem Druckaufnehmer, einer Wandlereinheit und mindestens einem von dieser angetriebenen Stellglied (43) vorhanden ist, mittels dessen die lichte Durchströmweite der Mischluftöffnungen (320) über eine Schließeinheit (40) variierbar ist, und bei Nutzung der Druckdifferenz (Δp) als unmittelbare Antriebsquelle das mindestens eine Stellglied (43) selbst als Druckaufnehmer ausgebildet ist, mittels dessen die lichte Durchströmweite der Mischluftöffnungen (320) über die Schließeinheit (40) variierbar ist,
    dadurch gekennzeichnet, dass
    - die Stellvorrichtung (4) als mindestens ein Stellglied (43) einen Faltenbalg (430), insbesondere aus Metall, aufweist, der mit seinem einen stirnseitigen Endbereich fest mit dem Druckgehäuse (2) verbunden ist und mit seinem in Längsrichtung beabstandeten anderen stirnseitigen Endbereich an einem Verbindungsabschnitt über mindestens ein Zwischenglied mit der mindestens ein Schließelement umfassenden Schließeinheit (40) verbunden ist und
    - der Innenraum des Faltenbalgs über mindestens einen Druckausgleichskanal mit dem Luft-Zuströmkanal (330) in Verbindung gebracht ist.
  2. Brennkammersystem nach Anspruch 1,
    dadurch gekennzeichnet,
    dass die Schließeinheit (40) als Blende (400) ausgebildet ist, die mittels des Stellglieds (43) in Längsrichtung des Flammrohrs (34), die Mischluftöffnungen (320) zum Variieren der Durchströmweite mehr oder weniger überdeckend, verschiebbar und/oder in Umfangsrichtung verstellbar ist.
  3. Brennkammersystem nach Anspruch 1 oder 2,
    dadurch gekennzeichnet,
    dass der Verbindungsabschnitt, das Zwischenglied und die Schließeinheit (40) starr miteinander verbunden sind.
  4. Brennkammersystem nach einem der vorhergehenden Ansprüche,
    dadurch gekennzeichnet,
    dass das Druckgehäuse (2) auf seiner der Eingangsseite des Flammrohrs (34) benachbarten Vorderseite einen Vorderwandabschnitt aufweist, auf dessen der Umgebung des Brennkammersystems (1) zugekehrter Außenseite die Stellglieder (43) angebracht sind, und
    dass mehrere längs der Außenseite des Flammrohrs (34), insbesondere durch den Zuströmkanal (330), verlaufende Zwischenglieder als Haltestäbe (41) ausgebildet sind, die an ihrem dem Ausgangsabschnitt des Flammrohrs (34) zugewandten rückseitigen Endbereich mit der Schließeinheit (40) verbunden sind und mit ihrem davon beabstandeten vorderen Endbereich über den Verbindungsabschnitt mit den ihnen zugeordneten Stellgliedern (43) verbunden sind.
  5. Brennkammersystem nach einem der Ansprüche 2 bis 4,
    dadurch gekennzeichnet,
    dass die als Blende (400) ausgestaltete Schließeinheit (40) als Ringblende ausgebildet ist, welche im Bereich der Mischluftöffnungen (320) um das Flammrohr (34) umläuft und sich mit gleichbleibendem, an den Außenquerschnitt des Flammrohrs (34) angepassten Innenquerschnitt soweit axial über das Flammrohr (34) erstreckt, dass die lichte Durchströmweite der Mischluftöffnungen (320) über die maximale Änderung der Druckdifferenz (Δp) zumindest weitgehend von vollständig offen bis teilweise geschlossen variierbar ist, wobei das Flammrohr (34) zumindest im Bereich der Mischluftöffnungen (320) und des Verschiebewegs der Ringblende über einen axialen Erstreckungsabschnitt gleichbleibenden Außenquerschnitt besitzt.
  6. Brennkammersystem nach Anspruch 5,
    dadurch gekennzeichnet,
    dass die Außenfläche des Flammrohrs (34) zumindest über den axialen Erstreckungsabschnitt im Bereich der Mischluftöffnungen (320) und des Verschiebewegs und der Innenquerschnitt der Ringblende über ihre axiale Erstreckung Kreiszylinderform aufweisen.
  7. Brennkammersystem nach Anspruch 5 oder 6,
    dadurch gekennzeichnet,
    dass das Flammrohr (32) in Umfangsrichtung mehrere, vorzugsweise äquidistant, voneinander beabstandete, beispielsweise in derselben oder in mehreren Ebenen senkrecht zur Flammrohrachse angeordnete Mischluftöffnungen (320) aufweist und
    dass die Ringblende mehrere in derselben oder in mehreren zur Flammrohrachse senkrechten Blendenebenen liegende Blendenöffnungen aufweist, die in Umlaufrichtung entsprechend den Mischluftöffnungen (320) beabstandet und zum vollständigen oder zumindest weitgehenden Öffnen der Mischluftöffnungen (320) mit diesen bei minimaler Druckdifferenz (Δp) weitgehend oder vollständig in Deckung und zum vollständigen oder zumindest weitgehenden Schließen der Mischluftföffnungen (320) bei maximaler Druckdifferenz (Δp) möglichst weitgehend oder vollständig außer Deckung bringbar sind.
  8. Brennkammersystem nach einem der Ansprüche 4 bis 7,
    dadurch gekennzeichnet,
    dass die Haltestäbe (41) in ihrem den Brenner (31) nach vorne überragenden Abschnitt durch in den Vorderwandabschnitt des Druckgehäuses (2) eingebrachte Bohrungen in das Innere der ihnen zugeordneten Faltenbalge (430) geführt und an diesen über den jeweiligen Verbindungsabschnitt befestigt sind.
  9. Brennkammersystem nach einem der Ansprüche 4 bis 8,
    dadurch gekennzeichnet,
    dass die Haltestäbe (41) mit einem gemeinsamen umlaufenden Stabilisierungsring (42) verbunden sind, der bei Verstellung der Blende (400) in Richtung minimaler Durchströmweite bzw. Verschluss der Mischluftöffnungen (320) einen Anschlag gegen die Innenseite des Vorderwandabschnitts des Druckgehäuses (2) bildet.
  10. Brennkammersystem nach einem der Ansprüche 4 bis 9,
    dadurch gekennzeichnet,
    dass die Haltestäbe (41) durch weitere Führungselemente entlang dem Flammrohr (34) in Verschieberichtung geführt sind.
  11. Verfahren zum Betreiben eines Gasturbinenbrennkammersystems (1), insbesondere eines Mikrogasturbinenbrennkammersystems, nach einem der vorhergehenden Ansprüche, bei dem ein Luftmassenstrom über einen Zuströmkanal (330) zwischen der Innenseite eines umgebenden Druckgehäuses (2) und der Außenseite eines Flammrohrs (34) von dessen Ausgangsseite her zugeführt und mittels in einem Ausgangsabschnitt des Flammrohrs (31) angeordneter Mischluftöffnungen (320) in einen Mischluftanteil, der hinter einer Flammzone in das Innere des Flammrohrs (31) geleitet wird, und einen Brennerluftanteil aufgeteilt wird, der einem auf der Eingangsseite des Flammrohrs (34) angeordneten Brenner (31) zur Verbrennung mit Brennstoff zugeführt wird, wobei das Brennstoff-/Luftverhältnis durch Variieren der lichten Durchströmweite der Mischluftöffnungen (320) mittels einer Regelvorrichtung geregelt wird, wobei die lichte Durchströmweite der Mischluftöffnungen (320) in Abhängigkeit der Druckdifferenz (Δp) zwischen dem Zuströmkanal (330) und der äußeren Umgebung des Brennkammersystems (1) geregelt wird, indem die lichte Durchströmweite mit einer Erhöhung des Lastpunkts einer angekoppelten Turbinenanordnung verringert und mit einer Reduzierung des Lastpunkts ver-größert wird, und wobei
    die Regelvorrichtung passiv arbeitet, wobei eine Regelmechanik auf die Druckdifferenz (Δp) in der Weise anspricht, dass durch die Druckdifferenz (Δp) ein Stellglied (43) angetrieben und von diesem eine Blende (400) bewegt wird, durch welche die lichte Durchströmweite der Mischluftöffnungen (320) in Abhängigkeit des Lastpunkts über den Lastbereich variiert wird, um optimale Abgaswerte zu erhalten.
EP21204913.4A 2020-12-07 2021-10-27 Gasturbinenbrennkammersystem und verfahren zum betreiben eines gasturbinenbrennkammersystems Active EP4008958B1 (de)

Applications Claiming Priority (1)

Application Number Priority Date Filing Date Title
DE102020132494.4A DE102020132494B4 (de) 2020-12-07 2020-12-07 Gasturbinenbrennkammersystem und Verfahren zum Betreiben eines Gasturbinenbrennkammersystems

Publications (3)

Publication Number Publication Date
EP4008958A1 EP4008958A1 (de) 2022-06-08
EP4008958B1 true EP4008958B1 (de) 2024-12-11
EP4008958C0 EP4008958C0 (de) 2024-12-11

Family

ID=78413751

Family Applications (1)

Application Number Title Priority Date Filing Date
EP21204913.4A Active EP4008958B1 (de) 2020-12-07 2021-10-27 Gasturbinenbrennkammersystem und verfahren zum betreiben eines gasturbinenbrennkammersystems

Country Status (2)

Country Link
EP (1) EP4008958B1 (de)
DE (1) DE102020132494B4 (de)

Families Citing this family (2)

* Cited by examiner, † Cited by third party
Publication number Priority date Publication date Assignee Title
US20240318821A1 (en) * 2023-03-20 2024-09-26 General Electric Company Combustor with a dilution passage
CN117053230B (zh) * 2023-07-25 2025-08-08 中国船舶集团有限公司第七〇三研究所 一种带有空气调节系统的双燃料低排放燃气轮机燃烧室

Citations (2)

* Cited by examiner, † Cited by third party
Publication number Priority date Publication date Assignee Title
DE1945921A1 (de) * 1969-09-11 1971-03-25 Motoren Turbinen Union Brennkammer
GB1601218A (en) * 1978-03-20 1981-10-28 Rolls Royce Combustion equipment for gas turbine engines

Family Cites Families (15)

* Cited by examiner, † Cited by third party
Publication number Priority date Publication date Assignee Title
GB1257610A (de) 1967-11-10 1971-12-22
US3952501A (en) 1971-04-15 1976-04-27 United Aircraft Of Canada Limited Gas turbine control
FR2133832B1 (de) 1971-04-15 1975-10-24 United Aircraft Canada
US3869246A (en) * 1973-12-26 1975-03-04 Gen Motors Corp Variable configuration combustion apparatus
US3927520A (en) * 1974-02-04 1975-12-23 Gen Motors Corp Combustion apparatus with combustion and dilution air modulating means
FR2472082A1 (fr) * 1979-12-19 1981-06-26 France Etat Perfectionnements apportes aux moteurs a combustion interne suralimentes, notamment aux moteurs diesel
DE3209135A1 (de) * 1982-03-12 1983-09-15 Kraftwerk Union AG, 4330 Mülheim Gasturbinenbrennkammer
DE4120831A1 (de) 1991-06-24 1993-01-07 Asea Brown Boveri Verfahren zum betrieb einer feuerungsanlage oder brennkammer
JP2914006B2 (ja) * 1991-12-25 1999-06-28 トヨタ自動車株式会社 ガスタービンエンジンの燃焼器
DE4304201A1 (de) 1993-02-12 1994-08-18 Abb Management Ag Brennkammer für eine Gasturbine
FR2704628B1 (fr) 1993-04-29 1995-06-09 Snecma Chambre de combustion comportant un système d'injection de comburant à géométrie variable.
DE19545311B4 (de) 1995-12-05 2006-09-14 Alstom Verfahren zur Betrieb einer mit Vormischbrennern bestückten Brennkammer
EP2778531A1 (de) 2013-03-13 2014-09-17 Siemens Aktiengesellschaft Gasturbine mit optimierter Verbrennung im Teillastbetrieb durch Luftmengenregelung
JP2017032221A (ja) * 2015-08-03 2017-02-09 三菱日立パワーシステムズ株式会社 ガスタービン燃焼器
US10712007B2 (en) * 2017-01-27 2020-07-14 General Electric Company Pneumatically-actuated fuel nozzle air flow modulator

Patent Citations (2)

* Cited by examiner, † Cited by third party
Publication number Priority date Publication date Assignee Title
DE1945921A1 (de) * 1969-09-11 1971-03-25 Motoren Turbinen Union Brennkammer
GB1601218A (en) * 1978-03-20 1981-10-28 Rolls Royce Combustion equipment for gas turbine engines

Also Published As

Publication number Publication date
DE102020132494B4 (de) 2025-04-17
DE102020132494A1 (de) 2022-06-09
EP4008958A1 (de) 2022-06-08
EP4008958C0 (de) 2024-12-11

Similar Documents

Publication Publication Date Title
DE2020416A1 (de) Brennkammer fuer Gasturbinentriebwerke
DE4220060C2 (de) Einrichtung zur Betätigung einer den Durchsatz von Verbrennungsluft steuernden Dralleinrichtung eines Brenners für Gasturbinentriebwerke
EP3559551B1 (de) Mischvorrichtung und brennerkopf für einen brenner mit reduziertem nox-ausstoss
CH702825A2 (de) Turbinenbrennkammer-Einsatzanordnung.
EP1621811B1 (de) Betriebsverfahren für eine Feuerungsanlage
EP4008958B1 (de) Gasturbinenbrennkammersystem und verfahren zum betreiben eines gasturbinenbrennkammersystems
EP3004743B1 (de) Brenner für eine gasturbine und verfahren zur reduzierung von thermoakustischen schwingungen in einer gasturbine
EP2103876A2 (de) Brenner für Gasturbine mit Spülmechanismus für die Brennstoffdüse
DE60027356T2 (de) Brennkammer für eine Gasturbine
DE3109269C2 (de)
EP2071156B1 (de) Brennstoffverteilungssystem für eine Gasturbine mit mehrstufiger Brenneranordnung
DE60225411T2 (de) Flammrohr oder Bekleidung für die Brennkammer einer Gasturbine mit niedriger Schadstoffemission
EP2264370B1 (de) Brenneranordnung für eine Verfeuerungsanlage zum Verfeuern fluidischer Brennstoffe und Verfahren zum Betrieb einer solchen Brenneranordnung
EP2409086B1 (de) Brenneranordnung für eine gasturbine
WO2011117042A1 (de) Brenner zur stabilisierung der verbrennung einer gasturbine
DE4010471C2 (de)
EP4008955B1 (de) Vorrichtung und verfahren zur verbrennungsluftzufuhr und abgasrezirkulation für einen brenner
EP3926238B1 (de) Baugruppe einer gasturbine mit brennkammerluftbypass
EP1724526A1 (de) Brennkammerschale, Gasturbinenanlage und Verfahren zum An- oder Abfahren einer Gasturbinenanlage
CH250563A (de) Rückstossantrieb für Fahrzeuge, insbesondere Flugzeuge.
EP2271876B1 (de) Brenneranordnung für fluidische brennstoffe und verfahren zum herstellen einer brenneranordnung
DE102017120370B4 (de) Brennerkopf, Brennersystem und Verfahren zum Betreiben des Brennersystems
DE10345137B4 (de) Verfahren zum Betrieb einer Brennstoffeinspritzvorrichtung sowie eine Brennstoffeinspritzvorrichtung zur Durchführung des Verfahrens
DE4304201A1 (de) Brennkammer für eine Gasturbine
EP2808612A1 (de) Gasturbinen-Brennkammer mit Tangentialeindüsung als späte Mager-Einspritzung

Legal Events

Date Code Title Description
PUAI Public reference made under article 153(3) epc to a published international application that has entered the european phase

Free format text: ORIGINAL CODE: 0009012

STAA Information on the status of an ep patent application or granted ep patent

Free format text: STATUS: THE APPLICATION HAS BEEN PUBLISHED

AK Designated contracting states

Kind code of ref document: A1

Designated state(s): AL AT BE BG CH CY CZ DE DK EE ES FI FR GB GR HR HU IE IS IT LI LT LU LV MC MK MT NL NO PL PT RO RS SE SI SK SM TR

STAA Information on the status of an ep patent application or granted ep patent

Free format text: STATUS: REQUEST FOR EXAMINATION WAS MADE

17P Request for examination filed

Effective date: 20221208

RBV Designated contracting states (corrected)

Designated state(s): AL AT BE BG CH CY CZ DE DK EE ES FI FR GB GR HR HU IE IS IT LI LT LU LV MC MK MT NL NO PL PT RO RS SE SI SK SM TR

STAA Information on the status of an ep patent application or granted ep patent

Free format text: STATUS: EXAMINATION IS IN PROGRESS

17Q First examination report despatched

Effective date: 20230414

GRAP Despatch of communication of intention to grant a patent

Free format text: ORIGINAL CODE: EPIDOSNIGR1

STAA Information on the status of an ep patent application or granted ep patent

Free format text: STATUS: GRANT OF PATENT IS INTENDED

INTG Intention to grant announced

Effective date: 20240801

GRAS Grant fee paid

Free format text: ORIGINAL CODE: EPIDOSNIGR3

GRAA (expected) grant

Free format text: ORIGINAL CODE: 0009210

STAA Information on the status of an ep patent application or granted ep patent

Free format text: STATUS: THE PATENT HAS BEEN GRANTED

AK Designated contracting states

Kind code of ref document: B1

Designated state(s): AL AT BE BG CH CY CZ DE DK EE ES FI FR GB GR HR HU IE IS IT LI LT LU LV MC MK MT NL NO PL PT RO RS SE SI SK SM TR

REG Reference to a national code

Ref country code: GB

Ref legal event code: FG4D

Free format text: NOT ENGLISH

REG Reference to a national code

Ref country code: CH

Ref legal event code: EP

REG Reference to a national code

Ref country code: DE

Ref legal event code: R096

Ref document number: 502021006069

Country of ref document: DE

REG Reference to a national code

Ref country code: IE

Ref legal event code: FG4D

Free format text: LANGUAGE OF EP DOCUMENT: GERMAN

U01 Request for unitary effect filed

Effective date: 20241213

U07 Unitary effect registered

Designated state(s): AT BE BG DE DK EE FI FR IT LT LU LV MT NL PT RO SE SI

Effective date: 20250103

PG25 Lapsed in a contracting state [announced via postgrant information from national office to epo]

Ref country code: HR

Free format text: LAPSE BECAUSE OF FAILURE TO SUBMIT A TRANSLATION OF THE DESCRIPTION OR TO PAY THE FEE WITHIN THE PRESCRIBED TIME-LIMIT

Effective date: 20241211

PG25 Lapsed in a contracting state [announced via postgrant information from national office to epo]

Ref country code: ES

Free format text: LAPSE BECAUSE OF FAILURE TO SUBMIT A TRANSLATION OF THE DESCRIPTION OR TO PAY THE FEE WITHIN THE PRESCRIBED TIME-LIMIT

Effective date: 20241211

PG25 Lapsed in a contracting state [announced via postgrant information from national office to epo]

Ref country code: NO

Free format text: LAPSE BECAUSE OF FAILURE TO SUBMIT A TRANSLATION OF THE DESCRIPTION OR TO PAY THE FEE WITHIN THE PRESCRIBED TIME-LIMIT

Effective date: 20250311

PG25 Lapsed in a contracting state [announced via postgrant information from national office to epo]

Ref country code: GR

Free format text: LAPSE BECAUSE OF FAILURE TO SUBMIT A TRANSLATION OF THE DESCRIPTION OR TO PAY THE FEE WITHIN THE PRESCRIBED TIME-LIMIT

Effective date: 20250312

PG25 Lapsed in a contracting state [announced via postgrant information from national office to epo]

Ref country code: RS

Free format text: LAPSE BECAUSE OF FAILURE TO SUBMIT A TRANSLATION OF THE DESCRIPTION OR TO PAY THE FEE WITHIN THE PRESCRIBED TIME-LIMIT

Effective date: 20250311

PG25 Lapsed in a contracting state [announced via postgrant information from national office to epo]

Ref country code: SM

Free format text: LAPSE BECAUSE OF FAILURE TO SUBMIT A TRANSLATION OF THE DESCRIPTION OR TO PAY THE FEE WITHIN THE PRESCRIBED TIME-LIMIT

Effective date: 20241211

PG25 Lapsed in a contracting state [announced via postgrant information from national office to epo]

Ref country code: PL

Free format text: LAPSE BECAUSE OF FAILURE TO SUBMIT A TRANSLATION OF THE DESCRIPTION OR TO PAY THE FEE WITHIN THE PRESCRIBED TIME-LIMIT

Effective date: 20241211

PG25 Lapsed in a contracting state [announced via postgrant information from national office to epo]

Ref country code: IS

Free format text: LAPSE BECAUSE OF FAILURE TO SUBMIT A TRANSLATION OF THE DESCRIPTION OR TO PAY THE FEE WITHIN THE PRESCRIBED TIME-LIMIT

Effective date: 20250411

PG25 Lapsed in a contracting state [announced via postgrant information from national office to epo]

Ref country code: SK

Free format text: LAPSE BECAUSE OF FAILURE TO SUBMIT A TRANSLATION OF THE DESCRIPTION OR TO PAY THE FEE WITHIN THE PRESCRIBED TIME-LIMIT

Effective date: 20241211

PG25 Lapsed in a contracting state [announced via postgrant information from national office to epo]

Ref country code: CZ

Free format text: LAPSE BECAUSE OF FAILURE TO SUBMIT A TRANSLATION OF THE DESCRIPTION OR TO PAY THE FEE WITHIN THE PRESCRIBED TIME-LIMIT

Effective date: 20241211

PLBE No opposition filed within time limit

Free format text: ORIGINAL CODE: 0009261

STAA Information on the status of an ep patent application or granted ep patent

Free format text: STATUS: NO OPPOSITION FILED WITHIN TIME LIMIT

REG Reference to a national code

Ref country code: CH

Ref legal event code: L10

Free format text: ST27 STATUS EVENT CODE: U-0-0-L10-L00 (AS PROVIDED BY THE NATIONAL OFFICE)

Effective date: 20251022

U20 Renewal fee for the european patent with unitary effect paid

Year of fee payment: 5

Effective date: 20250915

REG Reference to a national code

Ref country code: CH

Ref legal event code: U11

Free format text: ST27 STATUS EVENT CODE: U-0-0-U10-U11 (AS PROVIDED BY THE NATIONAL OFFICE)

Effective date: 20251101

26N No opposition filed

Effective date: 20250912