EP3699358B1 - Automatisches plattenlegesystem mit mess- und positionierungsstruktur - Google Patents

Automatisches plattenlegesystem mit mess- und positionierungsstruktur Download PDF

Info

Publication number
EP3699358B1
EP3699358B1 EP18867968.2A EP18867968A EP3699358B1 EP 3699358 B1 EP3699358 B1 EP 3699358B1 EP 18867968 A EP18867968 A EP 18867968A EP 3699358 B1 EP3699358 B1 EP 3699358B1
Authority
EP
European Patent Office
Prior art keywords
measuring
positioning
upright post
support structure
auto
Prior art date
Legal status (The legal status is an assumption and is not a legal conclusion. Google has not performed a legal analysis and makes no representation as to the accuracy of the status listed.)
Active
Application number
EP18867968.2A
Other languages
English (en)
French (fr)
Other versions
EP3699358A4 (de
EP3699358A1 (de
Inventor
Changqing Chen
Shujie PAN
Jun He
Anqi TONG
Kai Lu
Current Assignee (The listed assignees may be inaccurate. Google has not performed a legal analysis and makes no representation or warranty as to the accuracy of the list.)
China State Construction Engineering Hong Kong Ltd
Original Assignee
China State Construction Engineering Hong Kong Ltd
Priority date (The priority date is an assumption and is not a legal conclusion. Google has not performed a legal analysis and makes no representation as to the accuracy of the date listed.)
Filing date
Publication date
Application filed by China State Construction Engineering Hong Kong Ltd filed Critical China State Construction Engineering Hong Kong Ltd
Publication of EP3699358A1 publication Critical patent/EP3699358A1/de
Publication of EP3699358A4 publication Critical patent/EP3699358A4/de
Application granted granted Critical
Publication of EP3699358B1 publication Critical patent/EP3699358B1/de
Active legal-status Critical Current
Anticipated expiration legal-status Critical

Links

Images

Classifications

    • EFIXED CONSTRUCTIONS
    • E02HYDRAULIC ENGINEERING; FOUNDATIONS; SOIL SHIFTING
    • E02DFOUNDATIONS; EXCAVATIONS; EMBANKMENTS; UNDERGROUND OR UNDERWATER STRUCTURES
    • E02D27/00Foundations as substructures
    • E02D27/32Foundations for special purposes
    • E02D27/52Submerged foundations, i.e. submerged in open water
    • EFIXED CONSTRUCTIONS
    • E01CONSTRUCTION OF ROADS, RAILWAYS, OR BRIDGES
    • E01CCONSTRUCTION OF, OR SURFACES FOR, ROADS, SPORTS GROUNDS, OR THE LIKE; MACHINES OR AUXILIARY TOOLS FOR CONSTRUCTION OR REPAIR
    • E01C19/00Machines, tools or auxiliary devices for preparing or distributing paving materials, for working the placed materials, or for forming, consolidating, or finishing the paving
    • E01C19/12Machines, tools or auxiliary devices for preparing or distributing paving materials, for working the placed materials, or for forming, consolidating, or finishing the paving for distributing granular or liquid materials
    • E01C19/18Devices for distributing road-metals mixed with binders, e.g. cement, bitumen, without consolidating or ironing effect
    • E01C19/185Devices for distributing road-metals mixed with binders, e.g. cement, bitumen, without consolidating or ironing effect for both depositing and spreading-out or striking-off the deposited mixture
    • EFIXED CONSTRUCTIONS
    • E02HYDRAULIC ENGINEERING; FOUNDATIONS; SOIL SHIFTING
    • E02BHYDRAULIC ENGINEERING
    • E02B3/00Engineering works in connection with control or use of streams, rivers, coasts, or other marine sites; Sealings or joints for engineering works in general
    • E02B3/04Structures or apparatus for, or methods of, protecting banks, coasts, or harbours
    • E02B3/12Revetment of banks, dams, watercourses, or the like, e.g. the sea-floor
    • E02B3/121Devices for applying linings on banks or the water bottom
    • EFIXED CONSTRUCTIONS
    • E02HYDRAULIC ENGINEERING; FOUNDATIONS; SOIL SHIFTING
    • E02BHYDRAULIC ENGINEERING
    • E02B5/00Artificial water canals, e.g. irrigation canals
    • E02B5/02Making or lining canals
    • EFIXED CONSTRUCTIONS
    • E02HYDRAULIC ENGINEERING; FOUNDATIONS; SOIL SHIFTING
    • E02DFOUNDATIONS; EXCAVATIONS; EMBANKMENTS; UNDERGROUND OR UNDERWATER STRUCTURES
    • E02D13/00Accessories for placing or removing piles or bulkheads, e.g. noise attenuating chambers
    • E02D13/06Accessories for placing or removing piles or bulkheads, e.g. noise attenuating chambers for observation while placing
    • EFIXED CONSTRUCTIONS
    • E02HYDRAULIC ENGINEERING; FOUNDATIONS; SOIL SHIFTING
    • E02DFOUNDATIONS; EXCAVATIONS; EMBANKMENTS; UNDERGROUND OR UNDERWATER STRUCTURES
    • E02D15/00Handling building or like materials for hydraulic engineering or foundations
    • E02D15/10Placing gravel or light material under water inasmuch as not provided for elsewhere
    • EFIXED CONSTRUCTIONS
    • E02HYDRAULIC ENGINEERING; FOUNDATIONS; SOIL SHIFTING
    • E02DFOUNDATIONS; EXCAVATIONS; EMBANKMENTS; UNDERGROUND OR UNDERWATER STRUCTURES
    • E02D29/00Independent underground or underwater structures; Retaining walls
    • E02D29/06Constructions, or methods of constructing, in water

Definitions

  • the present disclosure relates to the technical field of underwater paving, and more particularly relates to an auto-paver system with a measuring and positioning structure.
  • the operation ship in the existing art generally adopts a floating leveling ship with positioning piles or a platform leveling ship.
  • the floating leveling ship and the platform leveling ship with positioning piles generally include a distributing pipe, the distributing pipe is directly penetrated into the water bottom, as the whole length of the distributing pipe is long, the underwater part of the distributing pipe is easy to be directly influenced by water flows and waves, so that the leveling accuracy is reduced.
  • JP-S-6062332 discloses a reference ruler having four or more legs, each of which is extendable and retractable, at a lower portion of a framed frame, and an equalizer mounted on the frame so as to be movable along the reference ruler and having a hopper at an upper portion.
  • a plate for widening the contact area is removed at the lower end of each leg of the reference ruler of the grading mound construction device having a grading stone supply chute and a vibrating compactor connected to one side in the moving direction of the grading stone supply chute.
  • the construction device is hung down on the water floor in a range where an underwater structure or the like in which foundation rubble has been previously placed has been set down, and then the legs of the reference ruler are expanded and contracted to level the construction device.
  • the leveling chute is adjusted to the desired height, and the leveling chute is leveled from the hopper with the leveling chute along the reference ruler toward the side where the vibrating compactor is connected. Stones are emitted to the bottom of the water.
  • the stone supply chute is moved along the standard ruler in the direction opposite to the side where the vibratory compactor is connected, and the leveling stone is supplied to the water bottom and rolled to form a leveling stone mound.
  • the main purpose of the present disclosure is to provide an auto-paver system with a measuring and positioning structure, which aims to ensure that the present disclosure of the auto-paver system for underwater gravel paving is less affected by water flows and waves and has a high paving precision.
  • the present disclosure provides an auto-paver system with a measuring and positioning structure, which includes a paver, the paver includes:
  • the support structure of the auto-paver system is supported on the water bottom surface, the transport structure is slidably connected with the support structure, the support structure provides a support and s guidance for a movement track of the transport structure, so that the transport structure can move relatively close to the water bottom surface.
  • the distributing structure is connected with the transport structure, so that the distributing structure can also move close to the water bottom surface under the drive of the transport structure, materials are input from a feed port of the distributing structure, and is output by a discharge port which is extended towards the water bottom surface.
  • the materials output by the discharge port can fall to a designated position of the water bottom surface through a short distance, and the whole blanking process is almost not affected by water flows, so that the laying position of the materials on the water bottom surface is accurate.
  • the support structure is also provided with a measuring and positioning structure, a positioning structure of the measuring and positioning structure is configured for acquiring self position information of the measuring and positioning structure, position information of the support structure can be obtained by combining a known form of the measuring frame and the self position information, and the support structure can be accurately placed at a designated position according to the obtained position information of the support structure, so that a distributing position of the distributing structure is more accurate.
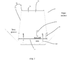
  • Table 1 Label Name Label Name 100 auto-paver system 161 leg 10 paver 162 driving part 11 support structure 163 connecting part 111 guide rail 17 positioning structure 1111 longitudinal guide rail 171 measuring frame 1113 transverse guide rail 1711 upright post 113 support frame 1713 connecting bracket 1131 first crossbeam 1713a connecting beam 1133 second crossbeam 1713b reinforcing rod 121 pin shaft 172 second connecting piece 123 bolt 173 positioning structure 13 transport structure 174 fourth connecting piece 141 storage structure 18 buoyancy column 143 suction pipe 182 first connecting piece 145 sludge suction structure 184 third connecting piece 1451 sludge suction port 30 workbench 1453 sludge discharge port 31 first workbench 151 blanking hopper 33 second workbench 153 distributing pipe 35 third workbench 155 distributing structure 50 retraction structure 1551 feed port 51 driving piece 1553 discharge port 53 connecting piece 16 measuring positioning structure
  • an auto-paver system 100 with a measuring and positioning structure proposed in this present disclosure includes a paver 10 including:
  • the support structure 11 of the auto-paver system 100 is supported on the water bottom surface, and the transport structure 13 is slidably connected to the support structure 11.
  • the support structure 11 can limit a movement track of the transport structure 13 and enable the transport structure 13 to move relatively close to the water bottom surface.
  • the distributing structure 155 is connected to the transport structure 13, so that the distributing structure 155 can also move at a position close to the water bottom surface under the drive of the transport structure 13. Materials are input through the feed port 1551 of the distributing structure 155 and output through the discharge port 1553, and the discharge port 1553 is extended towards the water bottom surface.
  • the materials output by the distributing structure 155 can fall to a designated position of the water bottom surface through a short distance, and the whole laying process is hardly influenced by water flows, so that the laying position of the materials on the water bottom surface is accurate.
  • the support structure 11 is also provided with a measuring and positioning structure 17.
  • the positioning structure 173 of the measuring and positioning structure 17 is used for acquiring self position information of the measuring and positioning structure 17.
  • Position information of the support structure 11 can be obtained by combing the self position information with the known form of the measuring frame 171, and the support structure 11 can be accurately placed at a designated position according to the obtained position information of the support structure 11, so that the distributing position of the distributing structure 155 is more accurate.
  • the measuring frame 171 is rotatably connected to the support frame 11, so that an overall height of the measuring and positioning structure 17 can be adjusted, thereby achieving the purpose of not occupying the navigation channel.
  • the measuring frame 171 is configured to rotate relative to the support structure 11 to have a first state and a second state, the positioning structure 173 on the measuring frame 171 in the first state is higher than the positioning structure 173 on the measuring frame 171 in the second state.
  • the detection effect of the positioning structure 173 is more accurate, and in the second state, the overall height of the measuring and positioning structure 17 is reduced, so that the paver 10 achieves the purpose of less or no obstruction to the navigation channel.
  • the measuring frame 171 includes at least one upright post 1711, one end of the upright post 1711 is rotatably connected to the support structure 11, and the positioning structure 173 is fixed to the other end of the upright post 1711.
  • the positioning structure 173 supported by the upright post 1711 can be extended by a certain distance, so that the positioning structure 173 is close to the water surface or extended out of the water surface, so that the positioning structure 173 is less interfered by underwater, and the positioning is accurate.
  • the upright post 1711 is provided with a first connecting piece 172, the first connecting piece 172 is provided with a first connecting hole, the support structure 11 is provided with a second connecting piece 182 matched with the first connecting piece 172, the second connecting piece 182 is provided with a second connecting hole matched with the first connecting hole, and a pin shaft 121 is passed through the first connecting hole and the second connecting hole matched with the first connecting hole to rotatably connect the upright post 1711 and the support structure 11. Under the restriction of the pin shaft 121, the upright post 1711 can rotate relative to the support structure 11, and the rotating structure is simple.
  • the paver 10 further includes a limiting structure, which is configured to limit and fix the upright post 1711 and the support structure 11 when the upright post 1711 is rotated to form an included angle with the support structure 11.
  • the upright post 1711 is rotatably connected to a side of the support structure 11 facing away from the water bottom surface. Therefore, the upright post 1711 is rotated only on the side of the support structure 11 facing away from the water bottom surface during the rotation of the support structure 11.
  • the upright post 1711 is rotated to form an included angle with the support structure 11, which is greater than zero, that is, the position where the positioning structure 173 is located is relatively high with respect to the water bottom surface. In this state, the positioning detection effect of the positioning structure 173 is better, that is, the first state is reached.
  • the angle between the upright post 1711 and the support structure 11 is zero, that is, it is measured that the whole positioning structure 17 is at a lowest position with respect to the water bottom surface. In this state, the paver 10 can be completely accommodated in the base groove to reach the second state without blocking the navigation channel.
  • the limiting structure includes a third connecting piece 174 arranged on the upright post 1711 and a fourth connecting piece 184 arranged on the support structure 11, the third connecting piece 174 is provided with a third connecting hole, the fourth connecting piece 184 is provided with a fourth connecting hole matched with the third connecting hole, a bolt 123 is detachably passed through the third connecting hole and the fourth connecting hole, to detachably connect the upright post 1711 and the support structure 11, and when the upright post 1711 is rotated to form an included angle with the support structure 11 the bolt 123 is configured to limit and fix the upright post 1711 and the support structure 11.
  • the third connecting member 174 is disposed at an end of the upright post 1711 remote from the positioning structure 11, and the rotating joint between the upright post 1711 and the support structure 11 is spaced apart from the third connecting member 174 along a length direction of the upright post 1711.
  • the end of the upright post 1711 is fixed by the limiting structure to reach the first state.
  • An axial direction of the bolt 174 of the limiting structure is consistent with an axial direction of the upright post 1711.
  • a portion of the upright post 1711 near the limiting structure is rotatably connected with the support structure 11.
  • the rotating shaft of the upright post 1711 is perpendicular to the axial direction of the upright post 1711, that is, the axial direction of the pin shaft 121 is perpendicular to the axial direction of the upright post 1711.
  • An opening is formed at the end of the upright post 1711 remote from the positioning structure 173, the opening is extended along the axial direction of the upright post 1711, the third connecting plate 174 is defined as two parallel plates, the plate surfaces of the two plates are perpendicular to the axial direction of the upright post 1711, one plate is positioned in the opening, the other plate is configured to block the opening, and the two plates are provided with a third connecting hole, the two connecting holes are matched with each other.
  • the support structure 11 is provided with a fourth connecting plate 174 perpendicular to the axis of the upright post 1711 when the upright post 1711 is rotated to be perpendicular to the support structure 11.
  • the bolt 174 is passed through the fourth connecting hole and the two third connecting holes along the axis direction of the upright post 1711.
  • the limiting structure can limit the rotation of the upright post 1711 on the support structure 11.
  • the upright post 1711 can rotate on the support structure 11 to make the measuring and positioning structure 17 to be in a lower position.
  • the measuring and positioning structure 17 includes two positioning structures 173, the measuring frame 171 includes two upright posts 1711 which are oppositely arranged, a connecting bracket 1713 is connected between the two upright posts 1711, and the two positioning structures 173 are respectively fixed to the two upright posts 1711.
  • the obtained position of the support structure 11 is more accurate, and the two upright posts 1711 are connected by the connecting bracket 1713, so that the two upright posts 1711 of the measuring frame 171 can rotate relative to the support structure 11 at the same time, and the structure is simple.
  • the connecting bracket 1713 includes a connecting beams 1713a connected with two upright posts 1711.
  • a quantity of the connecting beams 1713a is two, and the two connecting beams 1713a are arranged in parallel.
  • the two connecting beams 1713a can connect the two uprights 1711 well, so that the two uprights 1711 can rotate at the same time, and the structure is simple.
  • the connecting bracket 1713 further includes a plurality of reinforcing rods 1713b, and the reinforcing rods 1713b are connected to an area enclosed by the two upright posts 1711 and the two connecting beams 1713a.
  • a connecting plate is fixed at each joint of the two upright posts 1711 and the connecting beam 1713a adjacent to the positioning structure 173.
  • One connecting plate is fixed at the middle of the other connecting beam 1713a.
  • the support structure 11 includes a support frame 113 and a buoyancy column 18, the support frame 113 is supported on the water bottom surface, the buoyancy column 18 is convexly arranged on one side of the support frame 113 facing away from the water bottom surface, the transport structure 13 is slidably connected to the support frame 113, and the measuring frame 171 is rotatably connected to the buoyancy column 18.
  • the buoyancy column 18 is convexly arranged on one side of the support frame 113 facing away from the water bottom surface, so that the measuring frame 171 rotatably connected to the buoyancy column 18 is lifted by a distance in the direction facing away from the water bottom surface, so that when the measuring frame 171 is rotated to form a zero degree included angle with the support structure 11, the measuring frame 171 can abut against an end surface of the buoyancy column 18, so that the whole measuring and positioning structure 17 and the support frame 113 maintain a certain distance, and the measuring and positioning structure 17 cannot interfere with the transport structure 13 and the distributing structure 155 moving on the support frame 113.
  • the buoyancy column 18 is a hollow cylinder, which has a certain floating effect on the underwater support structure 11, thus reducing the total weight of the support structure 11 and facilitating the change of the position of the support structure 11.
  • the upright post 1711 When the upright post 1711 is rotated to the first state, the upright post 1711 rotates until the axial direction of the upright post 1711 is consistent with the axial direction of the buoyancy column 18, and the upright post 1711 and the buoyancy column 18 partially overlap along the axial direction.
  • One end of the upright post 1711 facing away from the positioning structure 173 is detachably connected to the buoyancy column 18 through the limiting structure, so that the positioning structure 173 positioned at the end of the upright post 1711 can reach the highest position.
  • a portion of the upright post 1711 near the limiting structure is rotatably connected to a free end of the buoyancy column 18, and the free end is an end of the buoyancy column 18 facing away from the support frame 113.
  • one end of the upright post 1711 facing away from the positioning structure 173 is separated from the buoyancy column 18.
  • the upright post 1711 is rotated to abut against the free end of the buoyancy column 18 and is parallel to the plane where the support structure 11 is located, to reach the second state. It is measured that the overall height of the positioning structure 17 is decreased, so that the paver 10 is integrally accommodated in the base groove.
  • one end of the upright post 1711 fixed with the positioning structure 173 is extended out of the water surface, so that the positioning effect of the positioning structure 173 is better.
  • the positioning structure 173 is a GPS (Global Positioning System), specifically, a RTK (Real-time kinematic, Carrier Phase Difference Technology).
  • the RTK can provide three-dimensional positioning results of the measured position in a specified coordinate system in real time and achieve centimeter-level accuracy. So that, the obtained position information of the support structure 11 is more accurate.
  • the support frame 113 includes two opposite first crossbeams 1131 and two opposite second crossbeams 1133.
  • the first crossbeams 1131 and the second crossbeams 1133 are connected end to end.
  • Each buoyancy column 18 is arranged at one joint of the first crossbeam 1131 and the first second crossbeams 1133.
  • the measuring structure 171 is rotatably connected to the two buoyancy columns 18 which are positioned on the same side.
  • the support frame 113 also includes a plurality of support legs 16.
  • the plurality of support legs 16 are symmetrically connected to the two first crossbeams and/or the two second crossbeams, and are supported on the water bottom surface.
  • the first crossbeams 1131 and/or the second crossbeams 133 are provided with guide rails 111, and the transport structure 13 is slidably connected to the guide rails 111.
  • the paver 10 is supported on the water bottom surface by the support leg 16, and can directly perform laying and paving work under water. While the work platform of the existing floating leveling ship or the platform leveling ship with positioning piles is located on or above the water surface, and partial structural of the leveling ship needs to be adjusted according to the water depth.
  • the auto-paver system 100 of the present disclosure can be suitable for requirements of different water depths, and has wide applicability.
  • the support leg 16 includes a driving part 162, a leg 161, and a connecting part 163.
  • the driving part 162 is configured to drive the leg 161 and the connecting part 163 to move relative to each other in an up-down direction, so that the height of the support structure 11 on the water bottom surface can be adjusted, and the height of the distributing structure 155 on the water bottom surface can be adjusted, so that the distributing structure 155 can be applied to the bottom surfaces of the base grooves with different concavities and convexities, and the applicability range of the auto-paver system 100 of the present disclosure is wider.
  • the distance between the lower surfaces of the first crossbeam 1131 and the second crossbeam 1133 and the water bottom surface is in a range of 800 mm to 2800 mm, so that a distance between the discharge port 1553 of the distributing structure 155 and the water bottom surface is in a range of 0 mm to 2000 mm.
  • the paver 10 is close to the water bottom surface, so that the transport structure 13 slidably connected to the support frame 113 and the distributing structure 155 connected to the transport structure are close to the water bottom surface, and the material transported by the distributing structure 155 during the movement of the support frame 113 is short, so that the output process is less affected by water flows and the laying is accurate. That is, under the adjustment of the support leg 16, the distance between the support frame 113 and the water bottom surface (that is, the bottom surface of the base groove) can be adjusted between 800 mm and 2800 mm, so that the distance between the discharge port 1553 of the distributing structure 155 and the water bottom surface can be adjusted between 0 mm and 2000 mm.
  • the guide rail 111 can restrict the transport structure 13 to move along a certain track, so that the material distribution structure 155 can evenly lay the material in the area where the guide rail 111 can reach.
  • the structure and shape of the guide rail 111 determine the laying trajectory of the distributing structure 155.
  • the structure and shape of the guide rail 111 can be changed according to different requirements, so that the auto-paver system 100 can adapt to different working requirements.
  • the rationality of the arrangement of the guide rail 111 can affect the smoothness of gravel laying on the water floor.
  • the shape of the discharge port 1553 of the distribution structure 155 and the amount of the laying material need to be well matched, so that the water bottom surface to be laid can achieve a required forming effect.
  • the guide rail 111 is disposed on the second crossbeam 1133, the transport structure 13 is slidably connected to the guide rail 111, and the support legs 16 are symmetrically connected to the two second crossbeams 1133.
  • Each support leg 16 can be adjusted separately, so that the height of the position where any support leg 16 is connected to the support frame 113 can be adjusted separately, thereby controlling the inclination angle of the support frame 113.
  • the transport structure 13 and the distributing structure 155 are mainly carried by the second crossbeam 1133. So that, the support leg 16 is connected to the second crossbeam 1133, and the load-bearing capacity of the second crossbeam 1133 is stronger, the transport structure 13 and the distributing structure 155 can maintain high consistency during their movements on the guide rail 111, and the paving effect of the distributing structure 155 is better.
  • the guide rail 111 includes two symmetrically arranged longitudinal guide rails 1111 and two symmetrically arranged transverse guide rails 1113, the longitudinal guide rails 1111 are arranged in parallel with the first crossbeam 1131, and the transverse guide rails 1113 are arranged in parallel with the second crossbeam 1133.
  • two symmetrically arranged transverse guide rails 1113 are respectively fixed to two second crossbeams 1133, and two longitudinal guide rails 1111 are slidably connected to the two transverse guide rails 1113.
  • each longitudinal guide rail 1111 is slidably connected to one transverse guide rail 1113, and the other end of each longitudinal guide rail 1111 is slidably connected to another transverse guide rail 1113.
  • the second crossbeam 1133 is provided with a drive motor and a chain arranged along an extension direction of the second crossbeam 1133.
  • the chain is connected with the two longitudinal guide rails 1111. Under the drive of the motor, the chain is configured to drive the longitudinal guide rails 1111 to reciprocate along the transverse guide rails 1113 (i.e., to reciprocate along the extension direction of the second crossbeam 1133).
  • the longitudinal guide rail 1111 can also be slidably connected to the transverse guide rail 1113 by other driving means, for example, a roller and a driving structure provided on the longitudinal guide rail.
  • the driving structure is configured to drive the roller to roll on the transverse guide rail, so that the longitudinal guide rail can slide relative to the transverse guide rail on the transverse guide rail.
  • a sludge suction structure 145 needs to be arranged on the transport structure 13 to suck sludge, so as to prevent sludge from being mixed with crushed stones and affecting the supporting effect of the bottom surface of the base tank on the sinking pipe.
  • the paver 10 further includes a sludge suction structure 145 connected to the transport structure 13, the sludge suction structure 145 is provided with a sludge discharge port 1453 and a sludge suction port 1451 extending in the direction towards the water bottom surface, and is provided with a sludge suction driving member communicating the sludge suction port 1451 and the sludge discharge port 1453.
  • the sludge suction port 1451 of the sludge suction structure 145 is extended towards the water bottom surface.
  • the transport structure 13 is configured to move along the guide rail 111 and drive the sludge suction structure 145 to move to the position where sludge needs to be sucked.
  • the sludge suction driving member is turned on, submerged sludge is entered into the sludge suction structure 145 through the sludge suction port 1451 and is discharged through the sludge discharge port 1453 to remove the accumulated sludge and prepare for paving work.
  • the auto-paver system 100 includes a workbench 30 arranged on the water surface, the workbench 30 is provided with a main controller (not shown), the main controller is electrically connected with the transport structure 13, to control the transport structure 13 ito drive the distributing structure 155 to move on the support structure 13 and lay materials through the discharge port 1553;
  • the main controller is electrically connected to the positioning structure 173 to acquire the position information obtained by the positioning structure 173.
  • the main controller is configured to calculate the position information of the support structure 11 according to the position information acquired by the positioning structure 17, so that the external structure can be controlled to place the support structure 11 at a specified position.
  • the measuring frame is rotatably connected to the support frame 113, and the main controller can be electrically connected to the measuring frame to control the measuring frame to rotate relative to the support frame 113, so that the measuring frame is extended out of the water surface or is folded on the support frame 113.
  • the main controller controls the measuring frame to fold on the support frame 113, so that the measuring frame does not obstruct the navigation channel when the auto-paver system 100 stops working, and when the auto-paver system 100 starts running again, the main controller controls the measuring frame to extend out of the water surface to position the support frame 113.
  • the support positioning structure 17 can also be rotatably covered on the support structure by an external structure.
  • Workers operate the transport structure 13 on the workbench 30, which can automatically control the auto-paver system 100, for reducing the underwater workload of workers and ensuring the personal safety of workers.
  • the auto-paver system 100 further includes a blanking hopper 151 and a distributing pipe 153, the blanking hopper 151 is arranged on the workbench 30, one end of the distributing pipe 153 is communicated with the blanking hopper 151, and the other end of the distributing pipe 153 is communicated with the feed port 1551 of the distributing structure 155.
  • the materials in the blanking hopper 151 can slide down the distributing pipe 153 into the distributing structure 155 under the action of gravity only, and finally fall to the bottom surface of the base groove from the discharging port 1553 of the distributing structure 155. Understandably, the blanking hopper 151 may be provided with a power structure to accelerate the falling of materials.
  • the main controller is configured to control the amount of material dropped into the distributing pipe 153 by the blanking hopper 151, thereby controlling the amount of material discharged from the distributing structure 155 through the distributing pipe 153; or the main controller directly is configured to control the discharging amount of the discharging port 1553 of the distributing structure 155.
  • the workers can control the discharge amount of materials by operating the main controller on the workbench 30. Combined the control of the main controller on the running track of the transport structure 13, the distributing structure 155 can evenly lay materials on the water bottom surface.
  • the lower end of the distributing pipe 153 is driven by the distributing structure 155 to move, while the upper end of the distributing pipe 153 is connected to the blanking hopper 151 on the water surface without moving, so the paver 10 is less affected by water flows during paving.
  • the distributing structure 155 is also provided with an underwater camera, which is electrically connected to a detection screen (not shown) on the workbench 30.
  • a detection screen not shown
  • the worker can observe the height of the materials stored in the distributing structure 155 through the detection screen on the workbench 30, so as to better operate the main controller and adjust the blanking amount of the blanking hopper 151.
  • the auto-paver system 100 further includes a sludge suction pipe 143 and a storage structure 141 arranged on the workbench 30.
  • One end of the sludge suction pipe 143 is communicated with the sludge discharge port 1453 of the sludge suction structure 145, and the other end of the sludge suction pipe 143 is communicated with the storage structure 141.
  • the main controller is electrically connected with the sludge suction driving member, to control the sludge suction structure 145 to suck sludge on the water bottom.
  • the sludge suction driving member is a hydraulic pump, and the transport structure 13 moves on the support frame 113 to transport the sludge suction structure 145 to a designated position for sludge suction.
  • the lower part of the suction pipe 143 is driven to move by the suction structure 145 while the upper part of the suction pipe 143 is fixed to the storage structure 141 during the suction process of the suction structure 145, keeping the position unchanged, and the suction process is hardly affected by water flow.
  • the auto-paver system 100 further includes a retraction structure 50
  • the retraction structure 50 includes a driving piece 51 and a connecting piece 53 connected with the driving piece 51
  • the driving piece 51 is connected with the workbench 30
  • the connecting piece 53 is detachably connected with the support frame 113
  • the main controller is electrically connected with the driving piece 51, to control the driving part 162 to move to a specified position of the support frame 113 when the connecting piece 53 is connected with the support frame 113.
  • the connecting piece 53 of the retraction structure 50 is connected to the support frame 113 by a manual operation or under a control of the main controller.
  • the driving piece 51 is configured to drive the connecting piece 53 to lift the support frame 113 from the water bottom until the measuring positioning structure 16 leaves the water bottom for a distance, and moves the support frame 113 to a next area to be paved, and then sinks the support frame 113 to the water bottom until the measuring positioning structure 16 is supported on the water bottom surface of the next area to be paved.
  • the connecting piece 53 is separated from the support frame 113 by the manual operation or under the control of the main controller. The paver 10 performs the next paving operation.
  • the auto-paver system 100 adopts automatic operation, so that workers can operate and monitor the underwater paving work on the working table 30 on the water, almost no underwater operation is needed, thus ensuring the safety of workers, and the automatic control process enables the auto-paver system 100 to have high construction efficiency for underwater paving.
  • the driving member 51 of the retraction structure 50 can be a motor and is installed on the workbench 30.
  • the connecting member 53 can be a steel cable, one end of the steel cable is connected to the motor and the other end of the steel cable is submerged by a worker and tied to the support frame 113 of the support structure 11.
  • the main controller is configured to control the starting motor to lift the support structure 11 for a certain distance through the steel cable, then after the workbench moves for a certain distance along the length direction of the base groove the main controller is configured to control the motor to drive the steel cable to sink the support frame 113 in the next area to be paved.
  • the connecting piece 53 can also be a connecting frame.
  • the main controller is configured to control the driving piece (motor or air cylinder) to combine with the positioning structure to provide the positioning information, to control the connecting frame to automatically extend to the position where the support frame 113 is located.
  • the connecting frame is manually fixed to the support frame 113 through bolts, screws or snap structures, or the connecting frame is automatically fixed to the support frame 113 under the control of the main controller. Under the further control of the main controller, the connecting piece 53 is configured to move the support frame 113 to the next area to be paved.
  • the distributing structure 155 is further provided with a detection piece (not shown), which is configured to detect flat value information of the water bottom surface, and detect the flat degree of the area to be paved on which the material has been laid, and feed back the result to the main controller for further work.
  • a detection piece (not shown), which is configured to detect flat value information of the water bottom surface, and detect the flat degree of the area to be paved on which the material has been laid, and feed back the result to the main controller for further work.
  • the workbench 30 may include a first workbench 31, a second workbench 33, and a third workbench 35.
  • the first workbench 31 is configured to set the main controller and the blanking hopper 151.
  • the main controller is configured to control all the required electrical control structures on the paver 10.
  • the first workbench 31 is also provided with a water pump. Gravel in the blanking hopper 151 is fed into the distributing pipe 153 together with water pumped by the water pump.
  • the second workbench 33 is provided with a storage structure 141, and the main controller for driving the sludge suction driving member may also be provided on the second workbench 33.
  • the storage structure 141 is configured to store sludge transported by the sludge suction structure 145 through the sludge suction pipe 143.
  • the third workbench 35 is configured to set the retraction structure 50, and the third workbench 35 is provided with the main controller electrically connected with the retraction structure 50.
  • the main controller is configured to control the movement of the driving piece 51 of the retraction structure 50 and drive the connecting piece 53 to perform actions.

Landscapes

  • Engineering & Computer Science (AREA)
  • General Engineering & Computer Science (AREA)
  • Structural Engineering (AREA)
  • Civil Engineering (AREA)
  • General Life Sciences & Earth Sciences (AREA)
  • Paleontology (AREA)
  • Mining & Mineral Resources (AREA)
  • Life Sciences & Earth Sciences (AREA)
  • Environmental & Geological Engineering (AREA)
  • Mechanical Engineering (AREA)
  • Ocean & Marine Engineering (AREA)
  • Architecture (AREA)
  • Road Paving Machines (AREA)
  • Revetment (AREA)

Claims (11)

  1. Automatisches Fertigersystem (100) mit einer Mess- und Positionierstruktur (17), umfassend einen Fertiger (10), wobei der Fertiger (10) Folgendes umfasst:
    eine Stützstruktur (11), die auf einer Wasserbodenoberfläche gestützt wird;
    eine Transportstruktur (13), die verschiebbar mit der Stützstruktur (11) verbunden ist; und
    eine Verteilungsstruktur (155), die mit der Transportstruktur (13) verbunden ist und eine Zuführöffnung (1551) und eine Entladungsöffnung (1553) umfasst, durch die die Materialien durchlaufen, wobei die Entladungsöffnung (1553) so konfiguriert ist, dass sie sich auf die Wasserbodenoberfläche erstreckt, und wobei die Transportstruktur (13) so konfiguriert ist, dass sie die Verteilungsstruktur (155) dazu antreibt, sich auf der Stützstruktur (11) zu bewegen, um die Materialien durch die Entladungsöffnung (1553) zu legen;
    dadurch gekennzeichnet, dass die Mess- und Positionierstruktur (17) einen Messrahmen (171) und mindestens eine Positionierstruktur (173) umfasst, wobei ein Ende des Messrahmens (171) drehbar mit der Stützstruktur (11) verbunden ist, und wobei die Positionierstruktur (173) am anderen Ende des Messrahmens (171) befestigt ist.
  2. Automatisches Fertigersystem (10) mit einer Mess- und Positionierstruktur (17) nach Anspruch 1, wobei der Messrahmen (171) mindestens einen aufrechten Pfosten (1711) umfasst, und wobei ein Ende des aufrechten Pfostens (1711) drehbar mit der Stützstruktur (11) verbunden ist, und wobei die Positionierstruktur (173) an dem anderen Ende des aufrechten Pfostens (1711) befestigt ist.
  3. Automatisches Fertigersystem (10) mit einer Mess- und Positionierstruktur (17) nach Anspruch 2, wobei der aufrechte Pfosten (1711) ein erstes Verbindungsstück (182) umfasst, das ein erstes Verbindungsloch definiert, und wobei die Stützstruktur (11) ein mit dem ersten Verbindungsstück (182) zusammenpassendes zweites Verbindungsstück (172) umfasst, das ein mit dem ersten Verbindungsloch zusammenpassendes zweites Verbindungsloch definiert, und wobei ein Stiftschaft (121) so konfiguriert ist, dass sie durch das erste Verbindungsloch und das mit dem ersten Verbindungsloch zusammenpassende zweite Verbindungsloch hindurchgeht, um den aufrechten Pfosten (1711) und die Stützstruktur (11) drehbar zu verbinden.
  4. Automatisches Fertigersystem (10) mit einer Mess- und Positionierstruktur (17) nach Anspruch 2, wobei der Straßenfertiger (10) weiterhin eine Begrenzungsstruktur umfasst, und wobei, wenn der aufrechte Pfosten (1711) gedreht wird, um mit der Stützstruktur (11) einen eingeschlossenen Winkel zu bilden, die Begrenzungsstruktur dazu konfiguriert ist, den aufrechten Pfosten (1711) und die Stützstruktur (11) zu begrenzen und zu fixieren.
  5. Automatisches Fertigersystem (10) mit einer Mess- und Positionierstruktur (17) nach Anspruch 4, wobei die Begrenzungsstruktur ein an dem aufrechten Pfosten (1711) angeordnetes drittes Verbindungsstück (184) und ein an der Stützstruktur (11) angeordnetes viertes Verbindungsstück (174) umfasst, und wobei das dritte Verbindungsstück (184) ein drittes Verbindungsloch und das vierte Verbindungsstück (174) ein mit dem dritten Verbindungsloch zusammenpassendes viertes Verbindungsloch definiert, und wobei ein Bolzen (123) lösbar durch das dritte Verbindungsloch und das vierte Verbindungsloch hindurchgeführt ist, um den aufrechten Pfosten (1711) und die Stützstruktur (11) lösbar zu verbinden, und wobei, wenn der aufrechte Pfosten (1711) gedreht wird, um mit der Stützstruktur (11) den eingeschlossenen Winkel zu bilden, der Bolzen (123) dazu konfiguriert ist, den aufrechten Pfosten (1711) und die Stützstruktur (11) zu begrenzen und zu fixieren.
  6. Automatisches Fertigersystem (10) mit einer Mess- und Positionierstruktur (17) nach Anspruch 5, wobei das dritte Verbindungsstück (184) an einem weit von der Positionierstruktur (173) liegenden Ende des aufrechten Pfostens (1711) angeordnet ist, und wobei ein Drehgelenk des aufrechten Pfostens (1711) und der Stützstruktur (11) von dem dritten Verbindungsstück (184) entlang einer Längsrichtung des aufrechten Pfostens (1711) beabstandet ist.
  7. Automatisches Fertigersystem (10) mit einer Mess- und Positionierstruktur (17) nach Anspruch 2, wobei die Mess- und Positionierstruktur (17) zwei Positionierstrukturen (173) umfasst, und wobei der Messrahmen (171) zwei gegenüberliegende aufrechte Pfosten (1711) umfasst, und wobei eine Verbindungsklammer (1713) zwischen den beiden aufrechten Pfosten (1711) verbunden ist, und wobei die beiden Positionierstrukturen (173) jeweils an den beiden aufrechten Pfosten (1711) befestigt sind.
  8. Automatisches Fertigersystem (10) mit einer Mess- und Positionierstruktur (17) nach einem der Ansprüche 1 bis 5, wobei die Stützstruktur (11) einen Stützrahmen (113) und eine Auftriebssäule (18) umfasst, und wobei der Stützrahmen (113) auf der Wasserbodenoberfläche gestützt ist, und wobei die Auftriebssäule (18) auf einer der Wasserbodenoberfläche abgewandten Seite des Stützrahmens (113) hervorstehend angeordnet ist, und wobei die Transportstruktur (13) mit dem Stützrahmen (113) verschiebbar verbunden ist, und wobei der Messrahmen (171) drehbar mit der Auftriebssäule (18) verbunden ist; und/oder wobei die Positionierstruktur (173) ein GPS ist.
  9. Automatisches Fertigersystem (10) mit einer Mess- und Positionierstruktur (17) nach einem der Ansprüche 1 bis 3, umfassend weiterhin eine Werkbank (30), die auf einer Wasseroberfläche angeordnet ist, wobei die Werkbank (30) mit einer Hauptsteuerung ausgestattet ist, die dazu konfiguriert ist, mit der Transportstruktur (13) elektrisch verbunden zu werden und die Transportstruktur (13) dazu anzusteuern, die Verteilungsstruktur (155) dazu anzutreiben, sich auf der Stützstruktur (11) zu bewegen, um die Materialien durch die Entladungsöffnung (1553) zu pflastern; und wobei die Hauptsteuerung mit der Positionierstruktur (173) elektrisch verbunden ist, um die von der Positionierstruktur (173) erhaltenen Positionsinformationen zu erfassen.
  10. Automatisches Fertigersystem (10) mit einer Mess- und Positionierstruktur (17) nach Anspruch 4 oder 5, umfassend weiterhin eine Werkbank (30), die auf einer Wasseroberfläche angeordnet ist, wobei die Werkbank (30) mit einer Hauptsteuerung ausgestattet ist, die dazu konfiguriert ist, mit der Transportstruktur (13) elektrisch verbunden zu werden und die Transportstruktur (13) dazu anzusteuern, die Verteilungsstruktur (155) dazu anzutreiben, sich auf der Stützstruktur (11) zu bewegen, um die Materialien durch die Entladungsöffnung (1553) zu pflastern; und wobei die Hauptsteuerung mit der Positionierstruktur (173) elektrisch verbunden ist, um die von der Positionierstruktur (173) erhaltenen Positionsinformationen zu erfassen.
  11. Automatisches Fertigersystem (10) mit einer Mess- und Positionierstruktur (17) nach Anspruch 9, wobei das automatische Fertigersystem (10) weiterhin einen Einfülltrichter (151) und ein Verteilerrohr (153) umfasst, und wobei der Einfülltrichter (151) auf der Werkbank (30) angeordnet ist, und wobei ein Ende des Verteilerrohrs (153) mit dem Einfülltrichter (151) und das andere Ende des Verteilerrohrs (153) mit der Zuführöffnung (1551) der Verteilungsstruktur (155) verbunden ist, und wobei die Hauptsteuerung mit dem Einfülltrichter (151) oder der Verteilungsstruktur (155) verbunden ist;
    und/oder das automatische Fertigersystem (10) mit einer Mess- und Positionierstruktur (17) nach Anspruch 9 weiterhin eine Einfahrstruktur umfasst, wobei die Einfahrstruktur ein Antriebsstück (51) und ein mit dem Antriebsstück (51) verbundenes Verbindungsstück (53) umfasst, und wobei das Antriebsstück (51) mit der Werkbank (30) verbunden ist, und wobei das Verbindungsstück (53) lösbar mit der Stützstruktur (11) verbunden ist, und wobei die Hauptsteuerung mit dem Antriebsstück (51) elektrisch verbunden ist, um das Antriebsstück (51) dazu anzusteuern, die Stützstruktur (11), wenn das Verbindungsstück (53) mit der Stützstruktur (11) verbunden ist, in eine bestimmte Position zu bewegen.
EP18867968.2A 2017-10-18 2018-05-25 Automatisches plattenlegesystem mit mess- und positionierungsstruktur Active EP3699358B1 (de)

Applications Claiming Priority (2)

Application Number Priority Date Filing Date Title
CN201710976990.6A CN107916607B (zh) 2017-10-18 2017-10-18 具有测量定位结构的自动摊铺机系统
PCT/CN2018/088442 WO2019076059A1 (zh) 2017-10-18 2018-05-25 具有测量定位结构的自动摊铺机系统

Publications (3)

Publication Number Publication Date
EP3699358A1 EP3699358A1 (de) 2020-08-26
EP3699358A4 EP3699358A4 (de) 2021-07-21
EP3699358B1 true EP3699358B1 (de) 2022-06-29

Family

ID=61894748

Family Applications (1)

Application Number Title Priority Date Filing Date
EP18867968.2A Active EP3699358B1 (de) 2017-10-18 2018-05-25 Automatisches plattenlegesystem mit mess- und positionierungsstruktur

Country Status (3)

Country Link
EP (1) EP3699358B1 (de)
CN (1) CN107916607B (de)
WO (1) WO2019076059A1 (de)

Families Citing this family (9)

* Cited by examiner, † Cited by third party
Publication number Priority date Publication date Assignee Title
CN107916607B (zh) * 2017-10-18 2019-09-17 中国建筑工程(香港)有限公司 具有测量定位结构的自动摊铺机系统
CN111691266B (zh) * 2020-06-02 2021-11-05 合肥蓝川生态科技有限公司 一种盲人通道水泥铺路设备
CN112344096B (zh) * 2020-11-13 2022-07-29 中船华南船舶机械有限公司 一种海底管道整平、铺设、锁固、埋设设备的施工方法
CN112962531B (zh) * 2021-02-09 2022-07-26 宁夏诚建建设工程有限公司 一种水利工程用河道护坡自动铺设设备
CN113322961B (zh) * 2021-06-17 2022-09-06 中冶建工集团有限公司 全自动混凝土震动收面施工方法
CN114094457B (zh) * 2021-12-02 2024-06-11 广东电网有限责任公司 一种防溅水的配电设备支撑装置
CN114525776B (zh) * 2022-03-14 2023-08-18 河南沃克曼建设工程有限公司 一种湿陷性黄土地基水泥土换填装置及施工方法
CN114837197B (zh) * 2022-05-29 2023-11-10 中铁五局集团第二工程有限责任公司 一种具有测量基坑施工参数的基坑支护结构
CN115807373B (zh) * 2022-11-21 2025-03-14 福建省同源建设工程有限公司 一种市政施工用路面平整设备

Family Cites Families (30)

* Cited by examiner, † Cited by third party
Publication number Priority date Publication date Assignee Title
FR1598185A (de) * 1968-11-08 1970-07-06
JPS6048895A (ja) * 1983-08-24 1985-03-16 株式会社小松製作所 水中作業機械の作業機けん引装置
JPS6062332A (ja) * 1983-09-14 1985-04-10 Wakachiku Kensetsu Kk 均し石マウンドの構築方法及び装置
JP3220836B2 (ja) * 1993-12-28 2001-10-22 東洋建設株式会社 水中作業機械の吊下装置
JP3295809B2 (ja) * 2000-05-15 2002-06-24 潔 斎藤 重錘自由落下式水中捨石基礎圧密均し工法
CN201065510Y (zh) * 2007-06-19 2008-05-28 王培革 摊铺机的实时动态测量式数控自动找平系统
JP2009030366A (ja) * 2007-07-27 2009-02-12 Toyo Constr Co Ltd 水底窪地埋戻し工法
CN101718105B (zh) * 2009-11-18 2011-06-15 中交第一航务工程局有限公司 基槽清淤与碎石整平施工一体装置
CN103215957B (zh) * 2012-03-15 2015-08-05 厦门国新世纪科技股份有限公司 大型物件水下施工方法及所使用的装置
CN103061329B (zh) * 2012-08-28 2015-01-07 中铁十八局集团有限公司 基于软基下大型沉管隧道基础水下注浆浆液及其注浆工艺
CN103924597B (zh) * 2013-01-10 2016-02-03 中交第一航务工程局有限公司 平台式抛石整平船及其施工方法
HK1232730A2 (zh) * 2017-07-11 2018-01-12 中国建筑工程(香港)有限公司 一种适用於不同水深要求的水底碎石垫层自动摊铺整平装置
CN107916607B (zh) * 2017-10-18 2019-09-17 中国建筑工程(香港)有限公司 具有测量定位结构的自动摊铺机系统
CN107724207B (zh) * 2017-10-18 2021-04-30 中国建筑工程(香港)有限公司 具有吸淤结构的自动摊铺机系统
CN107724396B (zh) * 2017-10-18 2020-05-22 中国建筑工程(香港)有限公司 具有浮力调节结构的自动摊铺机系统及其工作方法
CN107724395B (zh) * 2017-10-18 2020-05-22 中国建筑工程(香港)有限公司 具有调节支脚的自动摊铺机系统及其工作方法
CN207553106U (zh) * 2017-10-18 2018-06-29 中国建筑工程(香港)有限公司 具有刮板式落料斗的自动摊铺机系统
CN107724398B (zh) * 2017-10-18 2020-10-09 中国建筑工程(香港)有限公司 具有刮板式落料斗的自动摊铺机系统
CN207553144U (zh) * 2017-10-18 2018-06-29 中国建筑工程(香港)有限公司 具有检测调节结构的自动摊铺机系统
CN107724397B (zh) * 2017-10-18 2020-05-22 中国建筑工程(香港)有限公司 具有检测调节结构的自动摊铺机系统及其工作方法
CN207567613U (zh) * 2017-10-18 2018-07-03 中国建筑工程(香港)有限公司 具有测量定位结构的自动摊铺机系统
CN107740441B (zh) * 2017-10-18 2020-10-09 中国建筑工程(香港)有限公司 具有高强度连接结构的自动摊铺机系统
CN207567615U (zh) * 2017-10-18 2018-07-03 中国建筑工程(香港)有限公司 具有吸淤结构的自动摊铺机系统
CN207659993U (zh) * 2017-10-18 2018-07-27 中国建筑工程(香港)有限公司 具有浮力调节结构的自动摊铺机系统
CN107916679B (zh) * 2017-10-18 2020-10-09 中国建筑工程(香港)有限公司 具有活动落料结构的自动摊铺机系统及其工作方法
CN207553143U (zh) * 2017-10-18 2018-06-29 中国建筑工程(香港)有限公司 具有高强度连接结构的自动摊铺机系统
CN207553142U (zh) * 2017-10-18 2018-06-29 中国建筑工程(香港)有限公司 适用于不同水深的自动摊铺机系统
CN207567817U (zh) * 2017-10-18 2018-07-03 中国建筑工程(香港)有限公司 具有活动落料结构的自动摊铺机系统
CN207567816U (zh) * 2017-10-18 2018-07-03 中国建筑工程(香港)有限公司 具有调节支脚的自动摊铺机系统
CN107938708B (zh) * 2017-10-18 2020-10-09 中国建筑工程(香港)有限公司 适用于不同水深的自动摊铺机系统及其工作方法

Also Published As

Publication number Publication date
CN107916607A (zh) 2018-04-17
CN107916607B (zh) 2019-09-17
WO2019076059A1 (zh) 2019-04-25
EP3699358A4 (de) 2021-07-21
EP3699358A1 (de) 2020-08-26

Similar Documents

Publication Publication Date Title
EP3699358B1 (de) Automatisches plattenlegesystem mit mess- und positionierungsstruktur
US9637872B1 (en) Methods for paving a trail between obstacles
CN205368974U (zh) 建筑机械设备和滑模摊铺设备
CN104975554B (zh) 自动推进的建筑机械和控制自动推进的建筑机械的方法
CN107724396B (zh) 具有浮力调节结构的自动摊铺机系统及其工作方法
CN107724395B (zh) 具有调节支脚的自动摊铺机系统及其工作方法
CN107326871B (zh) 用于沟渠成型的滑模设备、滑模方法及其施工方法
CN107724397B (zh) 具有检测调节结构的自动摊铺机系统及其工作方法
CN207553144U (zh) 具有检测调节结构的自动摊铺机系统
CN207553106U (zh) 具有刮板式落料斗的自动摊铺机系统
CN107938708B (zh) 适用于不同水深的自动摊铺机系统及其工作方法
CN107724398B (zh) 具有刮板式落料斗的自动摊铺机系统
CN109853575B (zh) 浮式水下碎石基床整平船
US10596639B1 (en) Precision drilling platform
CN207567816U (zh) 具有调节支脚的自动摊铺机系统
CN110821191B (zh) 一种移动式砌墙方法
CN207553142U (zh) 适用于不同水深的自动摊铺机系统
CN107916679B (zh) 具有活动落料结构的自动摊铺机系统及其工作方法
CN207567613U (zh) 具有测量定位结构的自动摊铺机系统
CN107724207B (zh) 具有吸淤结构的自动摊铺机系统
ES2564940T3 (es) Máquina de enrasar y método para nivelar bases de suelo
CN207553143U (zh) 具有高强度连接结构的自动摊铺机系统
CN207567817U (zh) 具有活动落料结构的自动摊铺机系统
CN207567615U (zh) 具有吸淤结构的自动摊铺机系统
CN119083517A (zh) 一种水下碎石基床整平装置及其整平方法

Legal Events

Date Code Title Description
STAA Information on the status of an ep patent application or granted ep patent

Free format text: STATUS: THE INTERNATIONAL PUBLICATION HAS BEEN MADE

PUAI Public reference made under article 153(3) epc to a published international application that has entered the european phase

Free format text: ORIGINAL CODE: 0009012

STAA Information on the status of an ep patent application or granted ep patent

Free format text: STATUS: REQUEST FOR EXAMINATION WAS MADE

17P Request for examination filed

Effective date: 20200518

AK Designated contracting states

Kind code of ref document: A1

Designated state(s): AL AT BE BG CH CY CZ DE DK EE ES FI FR GB GR HR HU IE IS IT LI LT LU LV MC MK MT NL NO PL PT RO RS SE SI SK SM TR

AX Request for extension of the european patent

Extension state: BA ME

RIN1 Information on inventor provided before grant (corrected)

Inventor name: TONG, ANQI

Inventor name: CHEN, CHANGQING

Inventor name: PAN, SHUJIE

Inventor name: LU, KAI

Inventor name: HE, JUN

DAV Request for validation of the european patent (deleted)
DAX Request for extension of the european patent (deleted)
REG Reference to a national code

Ref country code: DE

Ref legal event code: R079

Ref document number: 602018037443

Country of ref document: DE

Free format text: PREVIOUS MAIN CLASS: E01C0019180000

Ipc: E02B0003120000

A4 Supplementary search report drawn up and despatched

Effective date: 20210618

RIC1 Information provided on ipc code assigned before grant

Ipc: E02B 3/12 20060101AFI20210614BHEP

Ipc: E02D 15/10 20060101ALI20210614BHEP

STAA Information on the status of an ep patent application or granted ep patent

Free format text: STATUS: EXAMINATION IS IN PROGRESS

17Q First examination report despatched

Effective date: 20210930

GRAP Despatch of communication of intention to grant a patent

Free format text: ORIGINAL CODE: EPIDOSNIGR1

STAA Information on the status of an ep patent application or granted ep patent

Free format text: STATUS: GRANT OF PATENT IS INTENDED

INTG Intention to grant announced

Effective date: 20220222

GRAS Grant fee paid

Free format text: ORIGINAL CODE: EPIDOSNIGR3

GRAA (expected) grant

Free format text: ORIGINAL CODE: 0009210

STAA Information on the status of an ep patent application or granted ep patent

Free format text: STATUS: THE PATENT HAS BEEN GRANTED

AK Designated contracting states

Kind code of ref document: B1

Designated state(s): AL AT BE BG CH CY CZ DE DK EE ES FI FR GB GR HR HU IE IS IT LI LT LU LV MC MK MT NL NO PL PT RO RS SE SI SK SM TR

REG Reference to a national code

Ref country code: CH

Ref legal event code: EP

REG Reference to a national code

Ref country code: AT

Ref legal event code: REF

Ref document number: 1501433

Country of ref document: AT

Kind code of ref document: T

Effective date: 20220715

REG Reference to a national code

Ref country code: IE

Ref legal event code: FG4D

REG Reference to a national code

Ref country code: DE

Ref legal event code: R096

Ref document number: 602018037443

Country of ref document: DE

REG Reference to a national code

Ref country code: NL

Ref legal event code: FP

REG Reference to a national code

Ref country code: LT

Ref legal event code: MG9D

PG25 Lapsed in a contracting state [announced via postgrant information from national office to epo]

Ref country code: SE

Free format text: LAPSE BECAUSE OF FAILURE TO SUBMIT A TRANSLATION OF THE DESCRIPTION OR TO PAY THE FEE WITHIN THE PRESCRIBED TIME-LIMIT

Effective date: 20220629

Ref country code: NO

Free format text: LAPSE BECAUSE OF FAILURE TO SUBMIT A TRANSLATION OF THE DESCRIPTION OR TO PAY THE FEE WITHIN THE PRESCRIBED TIME-LIMIT

Effective date: 20220929

Ref country code: LT

Free format text: LAPSE BECAUSE OF FAILURE TO SUBMIT A TRANSLATION OF THE DESCRIPTION OR TO PAY THE FEE WITHIN THE PRESCRIBED TIME-LIMIT

Effective date: 20220629

Ref country code: HR

Free format text: LAPSE BECAUSE OF FAILURE TO SUBMIT A TRANSLATION OF THE DESCRIPTION OR TO PAY THE FEE WITHIN THE PRESCRIBED TIME-LIMIT

Effective date: 20220629

Ref country code: GR

Free format text: LAPSE BECAUSE OF FAILURE TO SUBMIT A TRANSLATION OF THE DESCRIPTION OR TO PAY THE FEE WITHIN THE PRESCRIBED TIME-LIMIT

Effective date: 20220930

Ref country code: FI

Free format text: LAPSE BECAUSE OF FAILURE TO SUBMIT A TRANSLATION OF THE DESCRIPTION OR TO PAY THE FEE WITHIN THE PRESCRIBED TIME-LIMIT

Effective date: 20220629

Ref country code: BG

Free format text: LAPSE BECAUSE OF FAILURE TO SUBMIT A TRANSLATION OF THE DESCRIPTION OR TO PAY THE FEE WITHIN THE PRESCRIBED TIME-LIMIT

Effective date: 20220929

REG Reference to a national code

Ref country code: AT

Ref legal event code: MK05

Ref document number: 1501433

Country of ref document: AT

Kind code of ref document: T

Effective date: 20220629

PG25 Lapsed in a contracting state [announced via postgrant information from national office to epo]

Ref country code: RS

Free format text: LAPSE BECAUSE OF FAILURE TO SUBMIT A TRANSLATION OF THE DESCRIPTION OR TO PAY THE FEE WITHIN THE PRESCRIBED TIME-LIMIT

Effective date: 20220629

Ref country code: LV

Free format text: LAPSE BECAUSE OF FAILURE TO SUBMIT A TRANSLATION OF THE DESCRIPTION OR TO PAY THE FEE WITHIN THE PRESCRIBED TIME-LIMIT

Effective date: 20220629

PG25 Lapsed in a contracting state [announced via postgrant information from national office to epo]

Ref country code: SM

Free format text: LAPSE BECAUSE OF FAILURE TO SUBMIT A TRANSLATION OF THE DESCRIPTION OR TO PAY THE FEE WITHIN THE PRESCRIBED TIME-LIMIT

Effective date: 20220629

Ref country code: SK

Free format text: LAPSE BECAUSE OF FAILURE TO SUBMIT A TRANSLATION OF THE DESCRIPTION OR TO PAY THE FEE WITHIN THE PRESCRIBED TIME-LIMIT

Effective date: 20220629

Ref country code: RO

Free format text: LAPSE BECAUSE OF FAILURE TO SUBMIT A TRANSLATION OF THE DESCRIPTION OR TO PAY THE FEE WITHIN THE PRESCRIBED TIME-LIMIT

Effective date: 20220629

Ref country code: PT

Free format text: LAPSE BECAUSE OF FAILURE TO SUBMIT A TRANSLATION OF THE DESCRIPTION OR TO PAY THE FEE WITHIN THE PRESCRIBED TIME-LIMIT

Effective date: 20221031

Ref country code: ES

Free format text: LAPSE BECAUSE OF FAILURE TO SUBMIT A TRANSLATION OF THE DESCRIPTION OR TO PAY THE FEE WITHIN THE PRESCRIBED TIME-LIMIT

Effective date: 20220629

Ref country code: EE

Free format text: LAPSE BECAUSE OF FAILURE TO SUBMIT A TRANSLATION OF THE DESCRIPTION OR TO PAY THE FEE WITHIN THE PRESCRIBED TIME-LIMIT

Effective date: 20220629

Ref country code: AT

Free format text: LAPSE BECAUSE OF FAILURE TO SUBMIT A TRANSLATION OF THE DESCRIPTION OR TO PAY THE FEE WITHIN THE PRESCRIBED TIME-LIMIT

Effective date: 20220629

PG25 Lapsed in a contracting state [announced via postgrant information from national office to epo]

Ref country code: PL

Free format text: LAPSE BECAUSE OF FAILURE TO SUBMIT A TRANSLATION OF THE DESCRIPTION OR TO PAY THE FEE WITHIN THE PRESCRIBED TIME-LIMIT

Effective date: 20220629

Ref country code: IS

Free format text: LAPSE BECAUSE OF FAILURE TO SUBMIT A TRANSLATION OF THE DESCRIPTION OR TO PAY THE FEE WITHIN THE PRESCRIBED TIME-LIMIT

Effective date: 20221029

REG Reference to a national code

Ref country code: DE

Ref legal event code: R097

Ref document number: 602018037443

Country of ref document: DE

PG25 Lapsed in a contracting state [announced via postgrant information from national office to epo]

Ref country code: AL

Free format text: LAPSE BECAUSE OF FAILURE TO SUBMIT A TRANSLATION OF THE DESCRIPTION OR TO PAY THE FEE WITHIN THE PRESCRIBED TIME-LIMIT

Effective date: 20220629

PG25 Lapsed in a contracting state [announced via postgrant information from national office to epo]

Ref country code: DK

Free format text: LAPSE BECAUSE OF FAILURE TO SUBMIT A TRANSLATION OF THE DESCRIPTION OR TO PAY THE FEE WITHIN THE PRESCRIBED TIME-LIMIT

Effective date: 20220629

Ref country code: CZ

Free format text: LAPSE BECAUSE OF FAILURE TO SUBMIT A TRANSLATION OF THE DESCRIPTION OR TO PAY THE FEE WITHIN THE PRESCRIBED TIME-LIMIT

Effective date: 20220629

PLBE No opposition filed within time limit

Free format text: ORIGINAL CODE: 0009261

STAA Information on the status of an ep patent application or granted ep patent

Free format text: STATUS: NO OPPOSITION FILED WITHIN TIME LIMIT

26N No opposition filed

Effective date: 20230330

PG25 Lapsed in a contracting state [announced via postgrant information from national office to epo]

Ref country code: SI

Free format text: LAPSE BECAUSE OF FAILURE TO SUBMIT A TRANSLATION OF THE DESCRIPTION OR TO PAY THE FEE WITHIN THE PRESCRIBED TIME-LIMIT

Effective date: 20220629

REG Reference to a national code

Ref country code: CH

Ref legal event code: PL

PG25 Lapsed in a contracting state [announced via postgrant information from national office to epo]

Ref country code: MC

Free format text: LAPSE BECAUSE OF FAILURE TO SUBMIT A TRANSLATION OF THE DESCRIPTION OR TO PAY THE FEE WITHIN THE PRESCRIBED TIME-LIMIT

Effective date: 20220629

REG Reference to a national code

Ref country code: BE

Ref legal event code: MM

Effective date: 20230531

PG25 Lapsed in a contracting state [announced via postgrant information from national office to epo]

Ref country code: MC

Free format text: LAPSE BECAUSE OF FAILURE TO SUBMIT A TRANSLATION OF THE DESCRIPTION OR TO PAY THE FEE WITHIN THE PRESCRIBED TIME-LIMIT

Effective date: 20220629

Ref country code: LU

Free format text: LAPSE BECAUSE OF NON-PAYMENT OF DUE FEES

Effective date: 20230525

Ref country code: LI

Free format text: LAPSE BECAUSE OF NON-PAYMENT OF DUE FEES

Effective date: 20230531

Ref country code: IT

Free format text: LAPSE BECAUSE OF FAILURE TO SUBMIT A TRANSLATION OF THE DESCRIPTION OR TO PAY THE FEE WITHIN THE PRESCRIBED TIME-LIMIT

Effective date: 20220629

Ref country code: CH

Free format text: LAPSE BECAUSE OF NON-PAYMENT OF DUE FEES

Effective date: 20230531

REG Reference to a national code

Ref country code: IE

Ref legal event code: MM4A

PG25 Lapsed in a contracting state [announced via postgrant information from national office to epo]

Ref country code: IE

Free format text: LAPSE BECAUSE OF NON-PAYMENT OF DUE FEES

Effective date: 20230525

PG25 Lapsed in a contracting state [announced via postgrant information from national office to epo]

Ref country code: IE

Free format text: LAPSE BECAUSE OF NON-PAYMENT OF DUE FEES

Effective date: 20230525

PG25 Lapsed in a contracting state [announced via postgrant information from national office to epo]

Ref country code: FR

Free format text: LAPSE BECAUSE OF NON-PAYMENT OF DUE FEES

Effective date: 20230531

Ref country code: BE

Free format text: LAPSE BECAUSE OF NON-PAYMENT OF DUE FEES

Effective date: 20230531

PG25 Lapsed in a contracting state [announced via postgrant information from national office to epo]

Ref country code: BG

Free format text: LAPSE BECAUSE OF FAILURE TO SUBMIT A TRANSLATION OF THE DESCRIPTION OR TO PAY THE FEE WITHIN THE PRESCRIBED TIME-LIMIT

Effective date: 20220629

PG25 Lapsed in a contracting state [announced via postgrant information from national office to epo]

Ref country code: BG

Free format text: LAPSE BECAUSE OF FAILURE TO SUBMIT A TRANSLATION OF THE DESCRIPTION OR TO PAY THE FEE WITHIN THE PRESCRIBED TIME-LIMIT

Effective date: 20220629

PGFP Annual fee paid to national office [announced via postgrant information from national office to epo]

Ref country code: NL

Payment date: 20250528

Year of fee payment: 8

PGFP Annual fee paid to national office [announced via postgrant information from national office to epo]

Ref country code: DE

Payment date: 20250617

Year of fee payment: 8

PGFP Annual fee paid to national office [announced via postgrant information from national office to epo]

Ref country code: GB

Payment date: 20250625

Year of fee payment: 8

PG25 Lapsed in a contracting state [announced via postgrant information from national office to epo]

Ref country code: CY

Free format text: LAPSE BECAUSE OF FAILURE TO SUBMIT A TRANSLATION OF THE DESCRIPTION OR TO PAY THE FEE WITHIN THE PRESCRIBED TIME-LIMIT; INVALID AB INITIO

Effective date: 20180525

PG25 Lapsed in a contracting state [announced via postgrant information from national office to epo]

Ref country code: HU

Free format text: LAPSE BECAUSE OF FAILURE TO SUBMIT A TRANSLATION OF THE DESCRIPTION OR TO PAY THE FEE WITHIN THE PRESCRIBED TIME-LIMIT; INVALID AB INITIO

Effective date: 20180525

PG25 Lapsed in a contracting state [announced via postgrant information from national office to epo]

Ref country code: TR

Free format text: LAPSE BECAUSE OF FAILURE TO SUBMIT A TRANSLATION OF THE DESCRIPTION OR TO PAY THE FEE WITHIN THE PRESCRIBED TIME-LIMIT

Effective date: 20220629