EP3699343B1 - Verfahren und system zur überwachung der produktion einer strickmaschine mit mehreren fadenliefergeräten - Google Patents
Verfahren und system zur überwachung der produktion einer strickmaschine mit mehreren fadenliefergeräten Download PDFInfo
- Publication number
- EP3699343B1 EP3699343B1 EP20156279.0A EP20156279A EP3699343B1 EP 3699343 B1 EP3699343 B1 EP 3699343B1 EP 20156279 A EP20156279 A EP 20156279A EP 3699343 B1 EP3699343 B1 EP 3699343B1
- Authority
- EP
- European Patent Office
- Prior art keywords
- signal
- thread delivery
- monitoring
- knitting machine
- machine
- Prior art date
- Legal status (The legal status is an assumption and is not a legal conclusion. Google has not performed a legal analysis and makes no representation as to the accuracy of the status listed.)
- Active
Links
- 238000009940 knitting Methods 0.000 title claims description 64
- 238000012544 monitoring process Methods 0.000 title claims description 54
- 238000000034 method Methods 0.000 title claims description 14
- 238000004519 manufacturing process Methods 0.000 title claims description 11
- 238000012806 monitoring device Methods 0.000 claims description 22
- 230000003287 optical effect Effects 0.000 claims description 8
- 239000004753 textile Substances 0.000 description 5
- 238000010586 diagram Methods 0.000 description 3
- 230000006870 function Effects 0.000 description 1
- 238000007726 management method Methods 0.000 description 1
Images
Classifications
-
- D—TEXTILES; PAPER
- D04—BRAIDING; LACE-MAKING; KNITTING; TRIMMINGS; NON-WOVEN FABRICS
- D04B—KNITTING
- D04B15/00—Details of, or auxiliary devices incorporated in, weft knitting machines, restricted to machines of this kind
- D04B15/94—Driving-gear not otherwise provided for
- D04B15/99—Driving-gear not otherwise provided for electrically controlled
-
- D—TEXTILES; PAPER
- D04—BRAIDING; LACE-MAKING; KNITTING; TRIMMINGS; NON-WOVEN FABRICS
- D04B—KNITTING
- D04B35/00—Details of, or auxiliary devices incorporated in, knitting machines, not otherwise provided for
- D04B35/10—Indicating, warning, or safety devices, e.g. stop motions
- D04B35/14—Indicating, warning, or safety devices, e.g. stop motions responsive to thread breakage
Definitions
- the invention relates to a method and a system with thread feed devices for monitoring the production of a knitting machine.
- the thread delivery of the thread feeding devices is monitored with a monitoring device, e.g. B. with a running monitor or an optical sensor, and the knitting machine is stopped if there is no thread delivery.
- a monitoring device may also indicate an error when the knitting machine is at a standstill or when individual threads are moved manually by the operating personnel.
- an electronic device for monitoring several running threads on a textile machine has a drive device common to all thread running points (work stations).
- a running monitor is assigned to each thread to generate signals indicating thread breakage.
- the outputs of the running monitors are connected to a disconnection device via a common line.
- the electronic device has a circuit for generating a control signal within the interval in which the drive device is switched on.
- a display device with a memory element and a display element connected to this for continuous display of a thread breakage and a switching element which causes a signal from the movement sensor indicating a thread break to only set the memory element for the duration of the control signal are provided for each movement monitor.
- the monitoring device only triggers a shutdown when the control signal indicates that the machine is running.
- the control signal is generated from the motor control circuit of the common drive device.
- a method for determining the stopping of the thread delivery from a weft thread feeding device or from a positive thread feeding device to a textile machine is from US Pat EP 3 269 857 A1 known.
- the thread feeding device is provided with a monitoring device, namely with a sensor which is designed to generate delivery pulses which indicate the unwinding of the thread.
- position pulses are used by the machine, which indicate the operating position of the textile machine.
- a stop signal is generated when the number of position pulses since the last delivery pulse exceeds a threshold value.
- the EP 2 857 567 A1 describes a method for monitoring the production of a knitting machine with several thread feeding devices, each of which has a sensor device for generating a sensor signal and a control unit for evaluating the sensor signal.
- the knitting machine is also provided with a control unit for the yarn feeders and a communication link to which the yarn feeders, the control unit and the machine control are connected.
- the control units evaluate the sensor signals as a function of a clock signal generated by the control unit and, if necessary, generate a stop signal.
- the clock signal is generated by the control unit from sensor signals from a plurality of storage thread delivery devices and made available to the control units of the thread delivery devices via the communication link.
- the object of the invention is to develop a method and a system with thread feeding devices for monitoring the production of a knitting machine, in which a signal that indicates whether the knitting machine is running is generated independently of the knitting machine.
- the thread delivery of each thread feeding device is monitored by a monitoring device and, if necessary, a stop signal for the knitting machine is sent via the monitoring connection. It is used by a machine running signal to detect whether the knitting machine is in operation.
- a sensor unit of the monitoring device For each yarn feeding device, a sensor unit of the monitoring device generates a sensor signal which is checked for a stop condition by a control unit of the monitoring device. If necessary, a stop signal is generated when the operation of the knitting machine is recognized with the aid of the machine running signal, i. H. when the machine running signal indicates the operation of the knitting machine.
- the machine running signal is generated by the control units of at least two yarn feeding devices with the aid of the sensor signals.
- I. E. Sensor signals are used, if necessary, to generate the machine running signal.
- Via the monitoring connection between the A monitoring signal is sent to the knitting machine and the parallel-connected control units of the yarn feeders, which contains both the machine running signal and, if necessary, the stop signal.
- the monitoring signal is an alternating voltage signal, the machine running signal being applied as half-waves and possibly a stop signal as the other half-waves.
- the machine running signal is generated with the positive half-waves and the stop signal with the negative half-waves of the AC voltage signal.
- the thread feeding devices are divided into a master thread feeding device and at least two groups of thread feeding devices.
- a first half-wave of the machine running signal is switched on by the master yarn feeder.
- a subsequent half-wave of the machine running signal is switched on by thread feed devices of each group each time the thread is delivered.
- the operation of the knitting machine is recognized by the control units of the monitoring devices of the thread feeders on the basis of the machine running signal if a half-wave has been switched on by the master thread feeder and by all groups within the control interval; ie when all groups have reported.
- the master thread feeder is also assigned to the first group. At the start of the control interval, a first half-wave and then a second half-wave of the machine running signal for the first group are switched on by the master yarn feeder.
- control interval is 80 ms to 300 ms or more.
- the control interval is in particular 80 ms to 120 ms.
- the sensor signal is in each case formed by an optical sensor device of the sensor unit, which is arranged on the yarn feeder.
- a system for monitoring the production of a knitting machine is provided with several thread feeders and a monitoring connection with which the thread feeders and the knitting machine are connected.
- Each thread feed device has a monitoring device for monitoring the thread delivery and, if necessary, for sending a stop signal for the knitting machine via the monitoring connection.
- the system is designed to use a machine running signal to detect whether the knitting machine is in operation.
- the monitoring device of each thread feeding device comprises a sensor unit for generating a sensor signal and a control unit for checking the sensor signal for a stop condition and possibly for generating a stop signal when the machine running signal indicates the operation of the knitting machine.
- the control units of at least two yarn feeding devices are designed to generate the machine running signal with the aid of the sensor signals.
- the monitoring connection (communication connection) is designed between the knitting machine and the to send a monitoring signal to the control units of the yarn feeding devices connected in parallel, which signal contains both the machine running signal and, if necessary, a stop signal.
- the monitoring connection is designed to send an AC voltage signal as a monitoring signal, one half-wave of which is formed by the machine running signal and the other half-wave of which is possibly formed by a stop signal.
- one of the yarn feeding devices is designed as a master yarn feeding device, the remaining yarn feeding devices being subdivided into at least two groups of yarn feeding devices.
- the master thread feeder is designed to switch on a first half-wave of the machine running signal within a control interval, and the thread feeders of each group are designed to switch on a subsequent half-wave of the machine running signal each time the thread is delivered.
- the control units of the sensor units are designed to recognize the operation of the knitting machine on the basis of the machine running signal when a half-wave has been switched on by the master thread feeder and by all groups within the control interval.
- the master yarn feeder is designed to switch on a first half-wave of the machine running signal at the start of the control interval and then a second half-wave for the first group.
- each sensor unit has an optical sensor device which is arranged on the thread feeding device and which is designed to generate the sensor signal.
- an optical sensor device is arranged on the outgoing thread of the thread feeding device.
- a system according to the invention with several thread delivery devices is designed for the delivery of threads to a knitting machine.
- the knitting machine is a circular knitting machine or a flat knitting machine or a knitting machine or a similar machine.
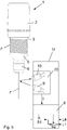
- a system for monitoring the production of a knitting machine has several thread feed devices 1, one of which is shown schematically in FIG Figure 1 is shown.
- the yarn feeder 1 shown is a storage yarn feeder. It comprises a housing 2, a storage device 3 on which a thread F can be wound and from which the thread F can be pulled off, a braking device with a braking body 5 and with an adjusting unit 6.
- Each thread feeding device 1 comprises a monitoring device U for monitoring the thread delivery and, if necessary, for sending a stop signal for the knitting machine.
- the monitoring device U comprises a sensor unit 7 for generating a sensor signal and a control unit 8 for checking the sensor signal for a stop condition and, if necessary, for generating a stop signal.
- the sensor unit 7 has an optical sensor device which is arranged on the yarn feeding device 1.
- the sensor device is designed as a withdrawal sensor which is arranged in the area of a withdrawal end of the storage device 3.
- the sensor unit 7 has a transmitter 9 and a receiver 10. It generates a sensor signal with withdrawal pulses I, a withdrawal pulse I being generated when a yarn turn is withdrawn from the storage device 3.
- the system is designed to generate a machine running signal by means of which it is recognized whether the knitting machine is in operation.
- the control unit 8 of the thread feeding devices 1 is each designed to check the sensor signal, specifically when the operation of the knitting machine is recognized with the aid of the machine running signal. I. E. the control unit 8 checks whether the sensor signal indicates at least one withdrawal pulse I when the knitting machine is running.
- the system shown has several thread feed devices 1 and a monitoring connection.
- the knitting machine and the thread feeding devices 1 are connected to the monitoring connection.
- the control units 8 of the yarn feeders 1 are connected in parallel.
- the monitoring connection is designed to send a monitoring signal between the knitting machine and the control units 8 of the thread feeding devices 1. It is designed in particular to send an AC voltage signal as a monitoring signal.
- the monitoring connection is designed as a communication connection with four lines L1 to L4.
- a three-phase current of 42 volts with a frequency of 50 Hz is applied to the three lines L1 to L3.
- d. H. Line L4 is used to transmit the monitoring signal in the form of an AC voltage signal.
- the control units 8 are designed to generate the machine running signal with the aid of the sensor signals.
- the control units 8 are designed to check the sensor signals for draw-off pulses I independently of information from the knitting machine and to generate a machine running signal if draw-off pulses I are present.
- the monitoring connection is designed to send the monitoring signal between the knitting machine and the control units 8 of the yarn feeding devices 1 connected in parallel.
- the monitoring signal contains both the machine running signal and the stop signal.
- the system in this example comprises a yarn feeder 1 designed as a master yarn feeder M, at least one yarn feeder 1 from a first group G1, at least one yarn feeder 1 from a second group G2 and at least one yarn feeder 1 from a third group G3.
- Each control unit 8 of the yarn feeder 1 comprises a control unit (not shown separately in the drawing), a diode D1 and a switch S1 for the negative half-wave of the alternating voltage signal and a diode D2 and a switch S2 for the positive half-wave of the alternating voltage signal.
- the monitoring connection is designed to send an alternating voltage signal whose positive half-waves generate a machine running signal and whose negative half-waves may generate a stop signal for the knitting machine.
- Figure 2 also shows a relay unit R of the knitting machine with a relay S3 and a diode D3.
- the diode D3 is acted upon, which leads to the actuation of the relay S3 and thus to the switching off of the knitting machine.
- Figure 3 shows a monitoring signal with the half-waves of the master yarn feeder M and each of a yarn feeder 1 of the groups G1, G2 and G3.
- the master thread feeder M is designed to switch on a first half-wave within a control interval when withdrawal pulses I are present by the control unit of its control unit 8 via switch S1, i.e. H. to deliver a start pulse of the machine run signal. This is used for synchronization.
- the thread feeding devices 1 of each group G1, G2 and G3 are designed to be activated by the control units of their control units 8 via the switches S1, in each case during thread delivery, i.e. H. when trigger pulses I are present, one of the following half-waves of the machine running signal is switched on.
- the control units 8 are designed to recognize a machine running signal when all groups G1, G2 and G3 have reported yarn delivery within the control interval started by the master yarn feeder M.
- the master yarn feeder M is also the yarn feeder 1 of the first group G1.
- Figure 4 shows a flow diagram of a control unit 8 of a yarn feeding device 1.
- control unit 8 specifically the control unit of the control unit 8, checks each thread feeding device 1 to determine whether the machine running signal is present. To this end, the control unit 8 checks whether all positive half-waves M, G1, G2, and G3 are applied to the monitoring signal.
- control unit of the control unit 8 checks whether trigger pulses I are present.
- control unit 8 specifically the control unit, generates a stop signal.
- switch S1 is actuated by the control unit.
- the stop signal is sent to the relay unit R of the knitting machine via the other (lower) half-wave and the knitting machine is stopped.
- control unit 8 checks whether withdrawal pulses I are present.
- Figure 5 shows an alternative to the monitoring device in which the sensor unit 70 of the monitoring device U, which is also designed as an optical sensor device, is arranged on the thread F at the outlet of the thread feeding device 1.
Landscapes
- Engineering & Computer Science (AREA)
- Textile Engineering (AREA)
- Knitting Machines (AREA)
Description
- Die Erfindung betrifft ein Verfahren und ein System mit Fadenliefergeräten zur Überwachung der Produktion einer Strickmaschine. Die Fadenlieferung der Fadenliefergeräte wird mit einer Überwachungsvorrichtung, z. B. mit einem Laufwächter oder einem optischen Sensor, überwacht und die Strickmaschine bei fehlender Fadenlieferung gestoppt. Problematisch dabei ist, dass eine Überwachungsvorrichtung möglicherweise auch dann einen Fehler anzeigt, wenn die Strickmaschine steht oder wenn vom Bedienpersonal einzelne Fäden manuell bewegt werden.
- Aus der
DE 29 23 511 C3 ist eine elektronische Einrichtung zur Überwachung mehrerer laufender Fäden an einer Textilmaschine bekannt. Die Einrichtung weist eine allen Fadenlaufstellen (Arbeitsstellen) gemeinsame Antriebsvorrichtung auf. Jedem Faden ist ein Laufwächter zur Erzeugung von einen Fadenbruch anzeigenden Signalen zugeordnet. Die Ausgänge der Laufwächter sind über eine gemeinsame Leitung an eine Abschaltvorrichtung angeschlossen. - Damit bei einem Fadenbruch eine stehende Einzelanzeige nur an der betreffenden Arbeitsstelle erfolgt, weist die elektronische Einrichtung eine Schaltung zur Erzeugung eines Kontrollsignals innerhalb des Intervalls auf, in dem die Antriebsvorrichtung eingeschaltet ist. Für jeden Laufwächter sind eine Anzeigevorrichtung mit einem Speicherglied und ein an dieses angeschlossenes Anzeigeorgan zur Daueranzeige eines Fadenbruchs sowie ein Schaltglied, das bewirkt, dass ein einen Fadenbruch anzeigendes Signal des Laufwächters nur während der Dauer des Kontrollsignals das Speicherglied setzt, vorgesehen.
- Die Überwachungseinrichtung löst nur dann ein Abschalten aus, wenn das Kontrollsignal anzeigt, dass die Maschine läuft. Das Kontrollsignal wird aus dem Motorsteuerkreis der gemeinsamen Antriebsvorrichtung generiert.
- Ein Verfahren zur Ermittlung des Anhaltens der Fadenlieferung von einem Schussfaden-Fadenliefergerät oder von einem Positiv-Fadenliefergerät zu einer Textilmaschine ist aus der
EP 3 269 857 A1 bekannt. Das Fadenliefergerät ist mit einer Überwachungsvorrichtung, nämlich mit einem Sensor versehen, der dazu ausgebildet ist, Lieferpulse zu generieren, die das Abwickeln des Fadens anzeigen. Zusätzlich werden Positionspulse von der Maschine verwendet, die die Betriebsposition der Textilmaschine anzeigen. Ein Stoppsignal wird generiert, wenn die Zahl der Positionspulse seit dem letzten Lieferpuls einen Schwellenwert überschreitet. - In beiden Fällen werden zur Überwachung der Produktion Signale von der Textilmaschine benötigt, und damit eine Kommunikationsverbindung zu der Textilmaschine.
- Die
EP 2 857 567 A1 beschreibt ein Verfahren zur Überwachung der Produktion einer Strickmaschine mit mehreren Fadenliefergeräten, die jeweils eine Sensorvorrichtung zur Erzeugung eines Sensorsignals und eine Kontrolleineinheit zur Auswertung des Sensorsignals aufweisen. Die Strickmaschine ist außerdem mit einer Steuereinheit für die Fadenliefergeräte und einer Konmmunikationsverbindung versehen, an die Fadenliefergeräte, die Steuereinheit und die Maschinensteuerung angeschlossen sind. Die Kontrolleinheiten werten die Sensorsignale in Abhängigkeit von einem durch die Steuereinheit erzeugten Taktsignal aus und erzeugen ggf. ein Stoppsignal. - In einem Beispiel wird das Taktsignal durch die Steuereinheit aus Sensorsignalen mehrerer Speicher-Fadenliefergeräte erzeugt und den Kontrolleinheiten der Fadenliefergeräte über die Kommunikationsverbindung zur Verfügung gestellt. D. h. das in der
EP 2 857 567 A1 beschriebene Überwachungsverfahren verwendet eine zentrale Steuereinheit für die Fadenliefergeräte sowie eine CAN-BUS Kommunikationsverbindung zur Strickmaschine. - Aufgabe der Erfindung ist es, ein Verfahren und ein System mit Fadenliefergeräten zur Überwachung der Produktion einer Strickmaschine zu entwickeln, bei dem ein Signal, das anzeigt, ob die Strickmaschine läuft, unabhängig von der Strickmaschine generiert wird.
- Die Aufgabe wird durch die Merkmale der unabhängigen Ansprüche gelöst.
- Bei einem Verfahren zur Überwachung der Produktion einer Strickmaschine mit mehreren Fadenliefergeräten und einer Überwachungsverbindung wird die Fadenlieferung jedes Fadenliefergerätes durch eine Überwachungsvorrichtung überwacht und ggf. ein Stoppsignal für die Strickmaschine über die Überwachungsverbindung gesendet. Es wird durch ein Maschinenlaufsignal zur Erkennung, ob die Strickmaschine in Betrieb ist, verwendet.
- Für jedes Fadenliefergerät wird durch eine Sensoreinheit der Überwachungsvorrichtung ein Sensorsignal erzeugt, das durch eine Kontrolleinheit der Überwachungsvorrichtung auf eine Stoppbedingung geprüft wird. Es wird ggf. ein Stoppsignal erzeugt, wenn mit Hilfe des Maschinenlaufsignals der Betrieb der Strickmaschine erkannt wird, d. h. wenn das Maschinenlaufsignal den Betrieb der Strickmaschine anzeigt.
- Das Maschinenlaufsignal wird durch die Kontrolleinheiten mindestens zweier Fadenliefergeräte mit Hilfe der Sensorsignale erzeugt. D. h. Sensorsignale werden ggf. zur Erzeugung des Maschinenlaufsignals verwendet. Über die Überwachungsverbindung zwischen der Strickmaschine und den parallel geschalteten Kontrolleinheiten der Fadenliefergeräte wird ein Überwachungssignal gesendet, das sowohl das Maschinenlaufsignal als auch ggf. das Stoppsignal enthält.
- In einer Ausführungsform ist das Überwachungssignal ein Wechselspannungssignal, wobei das Maschinenlaufsignal als Halbwellen und ggf. ein Stoppsignal als die anderen Halbwellen aufgeschaltet werden.
- In einem Beispiel wird das Maschinenlaufsignal mit den positiven Halbwellen und das Stoppsignal mit den negativen Halbwellen des Wechselspannungssignals erzeugt.
- In einer Ausführungsform werden die Fadenliefergeräte in ein Master-Fadenliefergerät und mindestens zwei Gruppen von Fadenliefergeräten unterteilt. Innerhalb eines Kontrollintervalls wird durch das Master-Fadenliefergerät eine erste Halbwelle des Maschinenlaufsignals aufgeschaltet. Anschließend wird aufeinander folgend durch Fadenliefergeräte jeder Gruppe jeweils bei Fadenlieferung eine folgende Halbwelle des Maschinenlaufsignals aufgeschaltet. Durch die Kontrolleinheiten der Überwachungsvorrichtungen der Fadenliefergeräte wird der Betrieb der Strickmaschine anhand des Maschinenlaufsignals erkannt, wenn durch das Master-Fadenliefergerät und durch alle Gruppen innerhalb des Kontrollintervalls jeweils eine Halbwelle aufgeschaltet worden ist; d. h. wenn sich alle Gruppen gemeldet haben.
- In einer Ausführungsform wird das Master-Fadenliefergerät auch der ersten Gruppe zugeordnet. Durch das Master-Fadenliefergerät wird zum Start des Kontrollintervalls eine erste Halbwelle und anschließend eine zweite Halbwelle des Maschinenlaufsignals für die erste Gruppe aufgeschaltet.
- In einer Ausführungsform beträgt das Kontrollintervall 80 ms bis 300 ms oder mehr. Das Kontrollintervall beträgt insbesondere 80 ms bis 120 ms.
- In einer Ausführungsform wird das Sensorsignal jeweils durch eine optische Sensorvorrichtung der Sensoreinheit, die an dem Fadenliefergerät angeordnet ist, gebildet.
- Merkmale und Vorteile eines Systems zur Überwachung der Produktion einer Strickmaschine mit mehreren Fadenliefergeräten entsprechen denen des Verfahrens.
- Ein System zur Überwachung der Produktion einer Strickmaschine ist mit mehreren Fadenliefergeräten und einer Überwachungsverbindung versehen, mit der die Fadenliefergeräte und die Strickmaschine verbunden sind. Jedes Fadenliefergerät weist eine Überwachungsvorrichtung zur Überwachung der Fadenlieferung und ggf. zum Senden eines Stoppsignals für die Strickmaschine über die Überwachungsverbindung auf. Das System ist dazu ausgebildet, ein Maschinenlaufsignal zur Erkennung, ob die Strickmaschine in Betrieb ist, zu verwenden.
- Die Überwachungsvorrichtung jedes Fadenliefergerätes umfasst eine Sensoreinheit zur Erzeugung eines Sensorsignals und eine Kontrolleinheit zur Überprüfung des Sensorsignals auf eine Stoppbedingung und ggf. zur Erzeugung eines Stoppsignals, wenn das Maschinenlaufsignal den Betrieb der Strickmaschine anzeigt.
- Die Kontrolleinheiten mindestens zweier Fadenliefergeräte sind dazu ausgebildet sind, mit Hilfe der Sensorsignale das Maschinenlaufsignal zu erzeugen. Die Überwachungsverbindung (Kommunikationsverbindung) ist dazu ausgebildet, zwischen der Strickmaschine und den parallel geschalteten Kontrolleinheiten der Fadenliefergeräte ein Überwachungssignal zu senden, das sowohl das Maschinenlaufsignal als auch ggf. ein Stoppsignal enthält.
- In einer Ausführungsform ist die Überwachungsverbindung dazu ausgebildet, als Überwachungssignal ein Wechselspannungssignal zu senden, dessen eine Halbwellen durch das Maschinenlaufsignal gebildet sind und dessen andere Halbwellen ggf. durch ein Stoppsignal gebildet sind.
- In einer Ausführungsform ist eines der Fadenliefergeräte als ein Master-Fadenliefergerät ausgebildet, wobei die übrigen Fadenliefergeräte in mindestens zwei Gruppen von Fadenliefergeräten unterteilt sind. Das Master-Fadenliefergerät ist dazu ausgebildet, innerhalb eines Kontrollintervalls eine erste Halbwelle des Maschinenlaufsignals aufzuschalten, und die Fadenliefergeräte jeder Gruppe sind dazu ausgebildet, jeweils bei Fadenlieferung eine folgende Halbwelle des Maschinenlaufsignals aufzuschalten. Die Kontrolleinheiten der Sensoreinheiten sind dazu ausgebildet, den Betrieb der Strickmaschine anhand des Maschinenlaufsignals zu erkennen, wenn durch das Master-Fadenliefergerät und durch alle Gruppen innerhalb des Kontrollintervalls jeweils eine Halbwelle aufgeschaltet worden sind.
- In einer alternativen Ausführungsform ist das Master-Fadenliefergerät dazu ausgebildet, zum Start des Kontrollintervalls eine erste Halbwelle des Maschinenlaufsignals und anschließend eine zweite Halbwelle für die erste Gruppe aufzuschalten.
- In einer Ausführungsform weist jede Sensoreinheit eine optische Sensorvorrichtung auf, die an dem Fadenliefergerät angeordnet ist und die dazu ausgebildet ist, das Sensorsignal zu erzeugen.
- In einer Ausführungsform ist eine optische Sensorvorrichtung am auslaufenden Faden des Fadenliefergerätes angeordnet.
- Ein erfindungsgemäßes System mit mehreren Fadenliefergeräten ist zur Lieferung von Fäden zu einer Strickmaschine ausgebildet. Die Strickmaschine ist eine Rundstrickmaschine oder eine Flachstrickmaschine oder eine Wirkmaschine oder eine ähnliche Maschine.
- Die Erfindung wird anhand in den Zeichnungen schematisch dargestellter Beispiele weiter erläutert. Es zeigen:
-
Fig. 1 eine schematische Darstellung eines Fadenliefergerätes mit einer Überwachungsvorrichtung eines erfindungsgemäßen Systems; -
Fig. 2 ein schematisches Blockdiagramm eines erfindungsgemäßen Systems; -
Fig. 3 eine schematische Darstellung des Überwachungssignals; -
Fig. 4 ein schematisches Ablaufdiagramm einer Kontrolleinheit eines Fadenliefergerätes; und -
Fig. 5 eine schematische Darstellung eines Fadenliefergerätes mit einer alternativen Überwachungsvorrichtung. - Ein System zur Überwachung der Produktion einer Strickmaschine weist mehrere Fadenliefergeräte 1 auf, von denen eines schematisch in
Figur 1 dargestellt ist. - Das in
Figur 1 dargestellte Fadenliefergerät 1 ist ein Speicher-Fadenliefergerät. Es umfasst ein Gehäuse 2, eine Speichervorrichtung 3, auf die ein Faden F aufwickelbar und von der der Faden F abziehbar ist, eine Bremsvorrichtung mit einem Bremskörper 5 und mit einer Einstelleinheit 6. - Jedes Fadenliefergerät 1 umfasst eine Überwachungsvorrichtung U zur Überwachung der Fadenlieferung und ggf. zum Senden eines Stoppsignals für die Strickmaschine. Die Überwachungsvorrichtung U umfasst eine Sensoreinheit 7 zur Erzeugung eines Sensorsignals und eine Kontrolleinheit 8 zur Überprüfung des Sensorsignals auf eine Stoppbedingung und ggf. zur Erzeugung eines Stoppsignals.
- Die Sensoreinheit 7 weist eine optische Sensorvorrichtung auf, die an dem Fadenliefergerät 1 angeordnet ist. In diesem Beispiel ist die Sensorvorrichtung als ein Abzugssensor ausgebildet, der im Bereich eines Abzugsendes der Speichervorrichtung 3 angeordnet ist. Die Sensoreinheit 7 weist einen Sender 9 und einen Empfänger 10 auf. Sie erzeugt ein Sensorsignal mit Abzugsimpulsen I, wobei ein Abzugsimpuls I erzeugt wird, wenn eine Garnwindung von der Speichervorrichtung 3 abgezogen wird.
- Das System ist dazu ausgebildet, ein Maschinenlaufsignal zu erzeugen, durch das erkannt wird, ob die Strickmaschine in Betrieb ist.
- Die Kontrolleinheit 8 der Fadenliefergeräte 1 ist jeweils dazu ausgebildet, das Sensorsignal zu überprüfen und zwar, wenn mit Hilfe des Maschinenlaufsignals der Betrieb der Strickmaschine erkannt wird. D. h. die Kontrolleinheit 8 überprüft, ob das Sensorsignal mindestens einen Abzugsimpuls I anzeigt, wenn die Strickmaschine läuft.
- Das in
Figur 2 dargestellte System weist mehrere Fadenliefergeräte 1 und eine Überwachungsverbindung auf. Die Strickmaschine und die Fadenliefergeräte 1 sind mit der Überwachungsverbindung verbunden. Dabei sind die Kontrolleinheiten 8 der Fadenliefergeräte 1 parallel geschaltet. - Die Überwachungsverbindung ist dazu ausgebildet, zwischen der Strickmaschine und den Kontrolleinheiten 8 der Fadenliefergeräte 1 ein Überwachungssignal zu senden. Sie ist insbesondere dazu ausgebildet, als Überwachungssignal ein Wechselspannungssignal zu senden.
- Die Überwachungsverbindung ist als eine Kommunikationsverbindung mit vier Leitungen L1 bis L4 ausgebildet. An den drei Leitungen L1 bis L3 ist ein Drehstrom von 42 Volt mit einer Frequenz von 50 Herz angelegt. Zur Überwachung, d. h. zur Übersendung des als Wechselspannungssignal ausgebildeten Überwachungssignals, wird die Leitung L4 verwendet.
- Die Kontrolleinheiten 8 sind dazu ausgebildet, mit Hilfe der Sensorsignale das Maschinenlaufsignal zu erzeugen. Die Kontrolleinheiten 8 sind dazu ausgebildet, unabhängig von einer Information von der Strickmaschine, die Sensorsignale auf Abzugsimpulse I zu überprüfen und bei Vorliegen von Abzugsimpulsen I ein Maschinenlaufsignal zu erzeugen.
- Die Überwachungsverbindung ist dazu ausgebildet, das Überwachungssignal zwischen der Strickmaschine und den parallel geschalteten Kontrolleinheiten 8 der Fadenliefergeräte 1 zu senden.
- Das Überwachungssignal enthält sowohl das Maschinenlaufsignal als auch das Stoppsignal.
- Zur Erzeugung eines Maschinenlaufsignals umfasst das System in diesem Beispiel ein als Master-Fadenliefergerät M ausgebildetes Fadenliefergerät 1, mindestens ein Fadenliefergerät 1 einer ersten Gruppe G1, mindestens ein Fadenliefergerät 1 einer zweiten Gruppe G2 und mindestens ein Fadenliefergerät 1 einer dritten Gruppe G3.
- Jede Kontrolleinheit 8 der Fadenliefergeräte 1 umfasst eine in der Zeichnung nicht separat dargestellte Steuereinheit, eine Diode D1 und einen Schalter S1 für die negative Halbwelle des Wechselspannungssignals und eine Diode D2 und einen Schalter S2 für die positive Halbwelle des Wechselspannungssignals.
- Bei Schließen des Schalters S1 durch die Steuereinheit der Kontrolleinheit 8 wird die negative Halbwelle des Wechselspannungssignals aufgeschaltet.
- Bei Schließen des Schalters S2 durch die Steuereinheit der Kontrolleinheit 8 wird die positive Halbwelle des Wechselspannungssignals aufgeschaltet.
- Die Überwachungsverbindung ist dazu ausgebildet ist, ein Wechselspannungssignal zu senden, durch dessen positive Halbwellen ein Maschinenlaufsignal erzeugt wird und durch dessen negative Halbwellen ggf. ein Stoppsignal für die Strickmaschine erzeugt wird.
-
Figur 2 zeigt auch eine Relaiseinheit R der Strickmaschine mit einem Relais S3 und einer Diode D3. Durch Schließen des Schalters S1 wird die Diode D3 beaufschlagt, was zur Betätigung des Relais S3 und damit zum Abschalten der Strickmaschine, führt. -
Figur 3 zeigt ein Überwachungssignal mit den Halbwellen des Master-Fadenliefergerätes M und jeweils eines Fadenliefergerätes 1 der Gruppen G1, G2 und G3. - Das Master-Fadenliefergerät M ist dazu ausgebildet, bei Vorliegen von Abzugsimpulsen I durch die Steuereinheit seiner Kontrolleinheit 8 über den Schalter S1, innerhalb eines Kontrollintervalls eine erste Halbwelle aufzuschalten, d. h. einen Startimpuls des Maschinenlaufsignals zu liefern. Dies dient der Synchronisation. Die Fadenliefergeräte 1 jeder Gruppe G1, G2 und G3 sind dazu ausgebildet, durch die Steuereinheiten ihrer Kontrolleinheiten 8 über die Schalter S1, jeweils bei Fadenlieferung, d. h. bei Vorliegen von Abzugsimpulsen I, eine der folgenden Halbwellen des Maschinenlaufsignals aufzuschalten.
- Die Kontrolleinheiten 8 sind dazu ausgebildet, ein Maschinenlaufsignal zu erkennen, wenn alle Gruppen G1, G2 und G3 innerhalb des durch das Master-Fadenliefergerät M gestarteten Kontrollintervalls Fadenlieferung gemeldet haben.
- In einer alternativen Ausführungsform ist das Master-Fadenliefergerät M auch Fadenliefergerät 1 der ersten Gruppe G1.
-
Figur 4 zeigt ein Ablaufschema einer Kontrolleinheit 8 eines Fadenliefergerätes 1. - Nach einem Start A überprüft die Kontrolleinheit 8, und zwar die Steuereinheit der Kontrolleinheit 8, jedes Fadenliefergerätes 1, ob das Maschinenlaufsignal vorhanden ist. Dazu überprüft die Kontrolleineinheit 8, ob alle positiven Halbwellen M, G1, G2, und G3 auf dem Überwachungssignal aufgeschaltet sind.
- Falls ja, überprüft die Steuereinheit der Kontrolleinheit 8, ob Abzugsimpulse I vorhanden sind.
- Falls ja, sind die Strickmaschine und auch das Fadenliefergerät 1 in Betrieb. Die Überprüfung wird wiederholt.
- Falls nein, d. h. falls bei laufender Strickmaschine keine Abzugsimpulse I vorhanden sind, erzeugt die Kontrolleinheit 8, und zwar die Steuereinheit, ein Stoppsignal. Dazu wird der Schalter S1 durch die Steuereinheit betätigt. Über die andere (untere) Halbwelle wird das Stoppsignal zur Relaiseinheit R der Strickmaschine gesendet und die Strickmaschine gestoppt.
- Falls kein Maschinenlaufsignal vorhanden ist, überprüft die Kontrolleinheit 8, ob Abzugsimpulse I vorhanden sind.
- Falls ja, wird das Maschinenlaufsignal gebildet.
- Falls nein, wird die Überprüfung wiederholt.
-
Figur 5 zeigt eine Alternative der Überwachungsvorrichtung, bei der die, ebenfalls als optische Sensorvorrichtung ausgebildete, Sensoreinheit 70 der Überwachungsvorrichtung U am Auslauf des Fadenliefergerätes 1 am Faden F angeordnet ist. -
- 1
- Fadenliefergerät
- 2
- Gehäuse
- 3
- Speicherkörper
- 5
- Bremskörper
- 6
- Einstelleinheit
- 7
- Sensoreinheit
- 8
- Kontrolleinheit
- 9
- Sender
- 10
- Empfänger
- 70
- Sensoreinheit
- F
- Faden
- U
- Überwachungsvorrichtung
- L1 - L4
- Leitung der Überwachungsverbindung
- R
- Relaiseinheit
- M
- Master-Fadenliefergerät
- G1
- Gruppe
- G2
- Gruppe
- G3
- Gruppe
- D1
- Diode
- D2
- Diode
- D3
- Diode
- S1
- Schalter
- S2
- Schalter
- S3
- Relais
Claims (10)
- Verfahren zur Überwachung der Produktion einer Strickmaschine mit mehreren Fadenliefergeräten (1) und einer Überwachungsverbindung, mit der die Fadenliefergeräte (1) und die Strickmaschine verbunden sind, bei dem die Fadenlieferung jedes Fadenliefergerätes (1) durch eine Überwachungsvorrichtung (U) überwacht wird und ggf. ein Stoppsignal für die Strickmaschine über die Überwachungsverbindung gesendet wird,wobei ein Maschinenlaufsignal zur Erkennung, ob die Strickmaschine in Betrieb ist, verwendet wird,wobei für jedes Fadenliefergerät (1) ein Sensorsignal durch eine Sensoreinheit (7) der Überwachungsvorrichtung (U) erzeugt wird,wobei das Sensorsignal durch eine Kontrolleinheit (8) der Überwachungsvorrichtung (U) auf eine Stoppbedingung geprüft wird, und ggf. ein Stoppsignal erzeugt wird, wenn mit Hilfe des Maschinenlaufsignals der Betrieb der Strickmaschine erkannt wird, dadurch gekennzeichnet, dass die Fadenliefergeräte (1) über die Überwachungsverbindung mit einer Relaiseinheit (R) der Strickmaschine verbunden sind, undwobei das Maschinenlaufsignal durch die Kontrolleinheiten (8) mindestens zweier Fadenliefergeräte (1) mit Hilfe der Sensorsignale erzeugt wird, und über die Überwachungsverbindung zwischen der Relaiseinheit (R) der Strickmaschine und den parallel geschalteten Kontrolleinheiten (8) der Fadenliefergeräte (1) ein Überwachungssignal gesendet wird, das sowohl das Maschinenlaufsignal, als auch ggf. das Stoppsignal enthält.
- Verfahren nach Anspruch 1, dadurch gekennzeichnet, dass das Überwachungssignal ein Wechselspannungssignal ist, wobei das Maschinenlaufsignal als Halbwellen und ggf. ein Stoppsignal als die anderen Halbwellen aufgeschaltet werden.
- Verfahren nach Anspruch 1 oder 2, dadurch gekennzeichnet, dass die Fadenliefergeräte (1) in ein Master-Fadenliefergerät (M) und mindestens zwei Gruppen (G1, G2, ...) von Fadenliefergeräten (1) unterteilt werden, wobei, innerhalb eines Kontrollintervalls, durch das Master-Fadenliefergerät (M) eine erste Halbwelle des Maschinenlaufsignals und durch die Fadenliefergeräte (1) jeder Gruppe (G1, G2, ...) jeweils bei Fadenlieferung eine folgende Halbwelle des Maschinenlaufsignals aufgeschaltet werden, wobei durch die Kontrolleinheiten (8) der Betrieb der Strickmaschine anhand des Maschinenlaufsignals erkannt wird, wenn durch das Master-Fadenliefergerät (M) und durch alle Gruppen (G1, G2, ...) innerhalb des Kontrollintervalls jeweils eine Halbwelle aufgeschaltet worden sind.
- Verfahren nach Anspruch 3, dadurch gekennzeichnet, dass das Kontrollintervall 80 ms bis 300 ms oder
- Verfahren nach Anspruch 4, dadurch gekennzeichnet, dass das Kontrollintervall 80 ms bis 120 ms beträgt.
- Verfahren nach einem der Ansprüche 1 bis 5, dadurch gekennzeichnet, dass das Sensorsignal jeweils durch eine optische Sensorvorrichtung der Sensoreinheit (7), die an dem Fadenliefergerät (1) angeordnet ist, gebildet wird.
- System zur Überwachung der Produktion einer Strickmaschine mit mehreren Fadenliefergeräten (1) und mit einer Überwachungsverbindung, mit der die Fadenliefergeräte (1) und die Strickmaschine verbunden sind,bei dem jedes Fadenliefergerät (1) eine Überwachungsvorrichtung (U) zur Überwachung der Fadenlieferung und ggf. zum Senden eines Stoppsignals für die Strickmaschine über die Überwachungsverbindung aufweist undwobei das System dazu ausgebildet ist, ein Maschinenlaufsignal zur Erkennung, ob die Strickmaschine in Betrieb ist, zu verwenden,wobei die Überwachungsvorrichtung (U) jedes Fadenliefergerätes (1) eine Sensoreinheit (7) zur Erzeugung eines Sensorsignals und eine Kontrolleinheit (8) zur Überprüfung des Sensorsignals auf eine Stoppbedingung und ggf. zur Erzeugung eines Stoppsignals, wenn das Maschinenlaufsignal den Betrieb der Strickmaschine anzeigt, aufweist,dadurch gekennzeichnet, dassdie Fadenliefergeräte (1) über die Überwachungsverbindung mit einer Relaiseinheit (R) der Strickmaschine verbunden sind, undwobei die Kontrolleinheiten (8) mindestens zweier Fadenliefergeräte (1) dazu ausgebildet sind, mit Hilfe der Sensorsignale das Maschinenlaufsignal zu erzeugen, und die Überwachungsverbindung dazu ausgebildet ist, zwischen der Relaiseinheit (R) der Strickmaschine und den parallel geschalteten Kontrolleinheiten (8) der Fadenliefergeräte (1) ein Überwachungssignal zu senden, das sowohl das Maschinenlaufsignal als auch ggf. das Stoppsignal enthält.
- System nach Anspruch 7, dadurch gekennzeichnet, dass die Überwachungsverbindung dazu ausgebildet ist, als Überwachungssignal ein Wechselspannungssignal zu senden, dessen eine Halbwellen durch das Maschinenlaufsignal gebildet sind und dessen andere Halbwellen ggf. durch ein Stoppsignal gebildet sind.
- System nach Anspruch 8, dadurch gekennzeichnet, dass eines der Fadenliefergeräte (1) als ein Master-Fadenliefergerät (M) ausgebildet ist, wobei die übrigen Fadenliefergeräte (1) in mindestens zwei Gruppen (G1, G2, ...) von Fadenliefergeräten (1) unterteilt sind, wobei das Master-Fadenliefergerät (M) dazu ausgebildet ist, innerhalb eines Kontrollintervalls eine erste Halbwelle des Maschinenlaufsignals aufzuschalten, und die Fadenliefergeräte (1) jeder Gruppe (G1, G2, ...) dazu ausgebildet sind, jeweils bei Fadenlieferung eine folgende Halbwelle des Maschinenlaufsignals aufzuschalten, wobei die Kontrolleinheiten (8) der Sensoreinheiten (7) dazu ausgebildet sind, den Betrieb der Strickmaschine anhand des Maschinenlaufsignals zu erkennen, wenn durch das Master-Fadenliefergerät (M) und durch alle Gruppen (G1, G2, ...) innerhalb des Kontrollintervalls jeweils eine Halbwelle aufgeschaltet worden sind.
- System nach einem der Ansprüche 7 bis 9, dadurch gekennzeichnet, dass jeweils die Sensoreinheit (7) eine optische Sensorvorrichtungen aufweist, die an dem Fadenliefergerät (1) angeordnet ist und die dazu ausgebildet ist, das Sensorsignal zu erzeugen.
Applications Claiming Priority (1)
| Application Number | Priority Date | Filing Date | Title |
|---|---|---|---|
| DE102019104681.5A DE102019104681B3 (de) | 2019-02-25 | 2019-02-25 | Verfahren und System mit Fadenliefergeräten zur Überwachung der Produktion einer Strickmaschine |
Publications (2)
| Publication Number | Publication Date |
|---|---|
| EP3699343A1 EP3699343A1 (de) | 2020-08-26 |
| EP3699343B1 true EP3699343B1 (de) | 2022-01-05 |
Family
ID=69528672
Family Applications (1)
| Application Number | Title | Priority Date | Filing Date |
|---|---|---|---|
| EP20156279.0A Active EP3699343B1 (de) | 2019-02-25 | 2020-02-10 | Verfahren und system zur überwachung der produktion einer strickmaschine mit mehreren fadenliefergeräten |
Country Status (4)
| Country | Link |
|---|---|
| EP (1) | EP3699343B1 (de) |
| CN (1) | CN111607891B (de) |
| DE (1) | DE102019104681B3 (de) |
| TW (1) | TWI760670B (de) |
Families Citing this family (1)
| Publication number | Priority date | Publication date | Assignee | Title |
|---|---|---|---|---|
| CN118771098A (zh) * | 2023-04-06 | 2024-10-15 | 爱吉尔电子股份公司 | 用于在纺织工艺中同时配置多个电子控制的纱线供给器的设置方法 |
Family Cites Families (12)
| Publication number | Priority date | Publication date | Assignee | Title |
|---|---|---|---|---|
| CH629456A5 (de) | 1978-06-19 | 1982-04-30 | Loepfe Ag Geb | Elektronische einrichtung zur ueberwachung einer mehrzahl laufender faeden an einer textilmaschine. |
| DE4105450A1 (de) * | 1991-02-21 | 1992-08-27 | Frei Gmbh & Co Geb | Schaltungsanordnung zum anschluss einer vielzahl von sensoren an eine zentrale steuereinheit |
| IT1275465B (it) * | 1995-07-03 | 1997-08-07 | Tiziano Barea | Dispositivo di controllo dell'alimentazione di una pluralita' di fili o filati ad una macchina tessile avente mezzi sensori codificati e metodo per il suo controllo |
| DE10112795A1 (de) * | 2001-03-16 | 2002-09-26 | Iro Ab | Verfahren zur Produktionsüberwachungs/Einstellung einer Strickmaschine, und Produktionsüberwachungs/Einstellungs-Vorrichtung |
| DE10228794A1 (de) * | 2002-06-27 | 2004-01-15 | Iropa Ag | Fadenverarbeitendes System und Verfahren zum Steuern und/oder Überwachen des Systems |
| CN2671223Y (zh) * | 2003-12-23 | 2005-01-12 | 中国科学院安徽光学精密机械研究所 | 无主变压器式激光脉冲电源 |
| WO2009059438A1 (de) * | 2007-11-06 | 2009-05-14 | Rotorcraft Ag | Strickmaschine und verfahren zur erzeugung von maschenware aus vorgarn |
| DE102013110988B4 (de) * | 2013-10-02 | 2019-08-29 | Memminger-Iro Gmbh | Verfahren und Vorrichtung zur Überwachung der Produktion einer Strickmaschine sowie Strickmaschine |
| CN104131410B (zh) * | 2014-08-14 | 2016-06-01 | 江南大学 | 经编机无线控制器和无线控制方法 |
| WO2016091286A1 (en) * | 2014-12-09 | 2016-06-16 | Memminger-Iro Gmbh | Method and device for monitoring a knitting machine |
| DE102015104903B3 (de) * | 2015-03-30 | 2016-06-16 | Memminger-Iro Gmbh | Verfahren und Vorrichtung zur Überwachung der Produktion einer Strickmaschine sowie Strickmaschine |
| IT201600074062A1 (it) | 2016-07-15 | 2018-01-15 | Lgl Electronics Spa | Metodo per il controllo dello svolgimento di filato da un alimentatore di trama |
-
2019
- 2019-02-25 DE DE102019104681.5A patent/DE102019104681B3/de not_active Expired - Fee Related
- 2019-12-23 TW TW108147164A patent/TWI760670B/zh active
-
2020
- 2020-02-10 EP EP20156279.0A patent/EP3699343B1/de active Active
- 2020-02-25 CN CN202010115167.8A patent/CN111607891B/zh active Active
Also Published As
| Publication number | Publication date |
|---|---|
| CN111607891B (zh) | 2022-02-22 |
| TW202031955A (zh) | 2020-09-01 |
| DE102019104681B3 (de) | 2020-04-23 |
| CN111607891A (zh) | 2020-09-01 |
| TWI760670B (zh) | 2022-04-11 |
| EP3699343A1 (de) | 2020-08-26 |
Similar Documents
| Publication | Publication Date | Title |
|---|---|---|
| DE2153605C2 (de) | Fernüberwachungssystem für ein PCM- Übertragungssystem | |
| EP1269274B2 (de) | Sicherheitsschaltgerät und verfahren zur einstellung eines betriebsmodus eines sicherheitsschaltgeräts | |
| DE69620684T2 (de) | Vorrichtung zur Überwachung der Zufuhr einer Vielzahl von Fäden in einer Textilmaschine mit kodierten Sensoren und Steuerungsverfahren dafür | |
| EP1638880B2 (de) | Sicherheitssystem einer aufzugsanlage | |
| EP1068109B1 (de) | Verfahren zur energie- und datenübertragung in einem bussystem für insassenschutzeinrichtungen | |
| EP1493064A2 (de) | Vorrichtung zum fehlersicheren abschalten eines elektrischen verbrauchers, insbesondere in industriellen produktionsanlagen | |
| EP0389849A2 (de) | Steuersystem für eine Textilmaschine | |
| CH629456A5 (de) | Elektronische einrichtung zur ueberwachung einer mehrzahl laufender faeden an einer textilmaschine. | |
| DE19907684B4 (de) | Textilmaschine mit Prozessoren an den Arbeitsstellen | |
| EP0279168A2 (de) | Schaltungsanordnung zur Stromversorgung einer Vielzahl von Verbrauchern | |
| EP0322698A1 (de) | Verfahren für die Übertragung von Informationen | |
| EP2393073B1 (de) | Verfahren zum Betreiben einer Gefahrenmeldeanlage | |
| EP3699343B1 (de) | Verfahren und system zur überwachung der produktion einer strickmaschine mit mehreren fadenliefergeräten | |
| EP3645772A1 (de) | Schmelzspinnvorrichtung | |
| EP0421471A1 (de) | Kommunikationsverfahren für eine Schaltungsanordnung, die aus einer Zentrale und mehreren Peripherieeinheiten besteht | |
| EP2917795A1 (de) | Verfahren zur identifizierung der relativen einbauposition der in einem modularen elektronischen system zur verwendung kommenden module | |
| EP2846462A1 (de) | Verfahren zum Überwachen einer Stromversorgung | |
| WO1988005570A1 (fr) | Procede et dispositif de surveillance d'organes de commande terminaux commandes par un ordinateur | |
| DE19547068B4 (de) | Serviceeinrichtung an einer Spinnmaschine | |
| DE4327848A1 (de) | Steuereinrichtung für eine Druckmaschine | |
| EP2645887A1 (de) | Anordnung und verfahren zum überführen von stabförmigen artikeln der tabak verarbeitenden industrie | |
| EP3075690B1 (de) | Verfahren und vorrichtung zur überwachung der produktion einer strickmaschine sowie strickmaschine | |
| EP0809361B1 (de) | Elektronisches Schaltgerät und Schaltungsanordnung zur Überwachung einer Anlage | |
| DE2519221C2 (de) | Verfahren und Vorrichtung zum Fühlen von Fadenbrüchen an Spinn- oder Zwirnmaschinen | |
| EP2746892A1 (de) | Automatisierte Anlage und Verfahren zur Synchronisation elner automatisierten Anlage |
Legal Events
| Date | Code | Title | Description |
|---|---|---|---|
| PUAI | Public reference made under article 153(3) epc to a published international application that has entered the european phase |
Free format text: ORIGINAL CODE: 0009012 |
|
| STAA | Information on the status of an ep patent application or granted ep patent |
Free format text: STATUS: THE APPLICATION HAS BEEN PUBLISHED |
|
| AK | Designated contracting states |
Kind code of ref document: A1 Designated state(s): AL AT BE BG CH CY CZ DE DK EE ES FI FR GB GR HR HU IE IS IT LI LT LU LV MC MK MT NL NO PL PT RO RS SE SI SK SM TR |
|
| AX | Request for extension of the european patent |
Extension state: BA ME |
|
| STAA | Information on the status of an ep patent application or granted ep patent |
Free format text: STATUS: REQUEST FOR EXAMINATION WAS MADE |
|
| 17P | Request for examination filed |
Effective date: 20210222 |
|
| RBV | Designated contracting states (corrected) |
Designated state(s): AL AT BE BG CH CY CZ DE DK EE ES FI FR GB GR HR HU IE IS IT LI LT LU LV MC MK MT NL NO PL PT RO RS SE SI SK SM TR |
|
| GRAP | Despatch of communication of intention to grant a patent |
Free format text: ORIGINAL CODE: EPIDOSNIGR1 |
|
| STAA | Information on the status of an ep patent application or granted ep patent |
Free format text: STATUS: GRANT OF PATENT IS INTENDED |
|
| INTG | Intention to grant announced |
Effective date: 20211021 |
|
| GRAS | Grant fee paid |
Free format text: ORIGINAL CODE: EPIDOSNIGR3 |
|
| GRAA | (expected) grant |
Free format text: ORIGINAL CODE: 0009210 |
|
| STAA | Information on the status of an ep patent application or granted ep patent |
Free format text: STATUS: THE PATENT HAS BEEN GRANTED |
|
| AK | Designated contracting states |
Kind code of ref document: B1 Designated state(s): AL AT BE BG CH CY CZ DE DK EE ES FI FR GB GR HR HU IE IS IT LI LT LU LV MC MK MT NL NO PL PT RO RS SE SI SK SM TR |
|
| REG | Reference to a national code |
Ref country code: GB Ref legal event code: FG4D Free format text: NOT ENGLISH |
|
| REG | Reference to a national code |
Ref country code: CH Ref legal event code: EP |
|
| REG | Reference to a national code |
Ref country code: AT Ref legal event code: REF Ref document number: 1460688 Country of ref document: AT Kind code of ref document: T Effective date: 20220115 |
|
| REG | Reference to a national code |
Ref country code: DE Ref legal event code: R096 Ref document number: 502020000511 Country of ref document: DE |
|
| REG | Reference to a national code |
Ref country code: IE Ref legal event code: FG4D Free format text: LANGUAGE OF EP DOCUMENT: GERMAN |
|
| REG | Reference to a national code |
Ref country code: LT Ref legal event code: MG9D |
|
| REG | Reference to a national code |
Ref country code: NL Ref legal event code: MP Effective date: 20220105 |
|
| PG25 | Lapsed in a contracting state [announced via postgrant information from national office to epo] |
Ref country code: NL Free format text: LAPSE BECAUSE OF FAILURE TO SUBMIT A TRANSLATION OF THE DESCRIPTION OR TO PAY THE FEE WITHIN THE PRESCRIBED TIME-LIMIT Effective date: 20220105 |
|
| PG25 | Lapsed in a contracting state [announced via postgrant information from national office to epo] |
Ref country code: SE Free format text: LAPSE BECAUSE OF FAILURE TO SUBMIT A TRANSLATION OF THE DESCRIPTION OR TO PAY THE FEE WITHIN THE PRESCRIBED TIME-LIMIT Effective date: 20220105 Ref country code: RS Free format text: LAPSE BECAUSE OF FAILURE TO SUBMIT A TRANSLATION OF THE DESCRIPTION OR TO PAY THE FEE WITHIN THE PRESCRIBED TIME-LIMIT Effective date: 20220105 Ref country code: PT Free format text: LAPSE BECAUSE OF FAILURE TO SUBMIT A TRANSLATION OF THE DESCRIPTION OR TO PAY THE FEE WITHIN THE PRESCRIBED TIME-LIMIT Effective date: 20220505 Ref country code: NO Free format text: LAPSE BECAUSE OF FAILURE TO SUBMIT A TRANSLATION OF THE DESCRIPTION OR TO PAY THE FEE WITHIN THE PRESCRIBED TIME-LIMIT Effective date: 20220405 Ref country code: LT Free format text: LAPSE BECAUSE OF FAILURE TO SUBMIT A TRANSLATION OF THE DESCRIPTION OR TO PAY THE FEE WITHIN THE PRESCRIBED TIME-LIMIT Effective date: 20220105 Ref country code: HR Free format text: LAPSE BECAUSE OF FAILURE TO SUBMIT A TRANSLATION OF THE DESCRIPTION OR TO PAY THE FEE WITHIN THE PRESCRIBED TIME-LIMIT Effective date: 20220105 Ref country code: ES Free format text: LAPSE BECAUSE OF FAILURE TO SUBMIT A TRANSLATION OF THE DESCRIPTION OR TO PAY THE FEE WITHIN THE PRESCRIBED TIME-LIMIT Effective date: 20220105 Ref country code: BG Free format text: LAPSE BECAUSE OF FAILURE TO SUBMIT A TRANSLATION OF THE DESCRIPTION OR TO PAY THE FEE WITHIN THE PRESCRIBED TIME-LIMIT Effective date: 20220405 |
|
| PG25 | Lapsed in a contracting state [announced via postgrant information from national office to epo] |
Ref country code: PL Free format text: LAPSE BECAUSE OF FAILURE TO SUBMIT A TRANSLATION OF THE DESCRIPTION OR TO PAY THE FEE WITHIN THE PRESCRIBED TIME-LIMIT Effective date: 20220105 Ref country code: LV Free format text: LAPSE BECAUSE OF FAILURE TO SUBMIT A TRANSLATION OF THE DESCRIPTION OR TO PAY THE FEE WITHIN THE PRESCRIBED TIME-LIMIT Effective date: 20220105 Ref country code: GR Free format text: LAPSE BECAUSE OF FAILURE TO SUBMIT A TRANSLATION OF THE DESCRIPTION OR TO PAY THE FEE WITHIN THE PRESCRIBED TIME-LIMIT Effective date: 20220406 Ref country code: FI Free format text: LAPSE BECAUSE OF FAILURE TO SUBMIT A TRANSLATION OF THE DESCRIPTION OR TO PAY THE FEE WITHIN THE PRESCRIBED TIME-LIMIT Effective date: 20220105 |
|
| PG25 | Lapsed in a contracting state [announced via postgrant information from national office to epo] |
Ref country code: IS Free format text: LAPSE BECAUSE OF FAILURE TO SUBMIT A TRANSLATION OF THE DESCRIPTION OR TO PAY THE FEE WITHIN THE PRESCRIBED TIME-LIMIT Effective date: 20220505 |
|
| REG | Reference to a national code |
Ref country code: DE Ref legal event code: R097 Ref document number: 502020000511 Country of ref document: DE |
|
| REG | Reference to a national code |
Ref country code: BE Ref legal event code: MM Effective date: 20220228 |
|
| PG25 | Lapsed in a contracting state [announced via postgrant information from national office to epo] |
Ref country code: SM Free format text: LAPSE BECAUSE OF FAILURE TO SUBMIT A TRANSLATION OF THE DESCRIPTION OR TO PAY THE FEE WITHIN THE PRESCRIBED TIME-LIMIT Effective date: 20220105 Ref country code: SK Free format text: LAPSE BECAUSE OF FAILURE TO SUBMIT A TRANSLATION OF THE DESCRIPTION OR TO PAY THE FEE WITHIN THE PRESCRIBED TIME-LIMIT Effective date: 20220105 Ref country code: RO Free format text: LAPSE BECAUSE OF FAILURE TO SUBMIT A TRANSLATION OF THE DESCRIPTION OR TO PAY THE FEE WITHIN THE PRESCRIBED TIME-LIMIT Effective date: 20220105 Ref country code: MC Free format text: LAPSE BECAUSE OF FAILURE TO SUBMIT A TRANSLATION OF THE DESCRIPTION OR TO PAY THE FEE WITHIN THE PRESCRIBED TIME-LIMIT Effective date: 20220105 Ref country code: LU Free format text: LAPSE BECAUSE OF NON-PAYMENT OF DUE FEES Effective date: 20220210 Ref country code: EE Free format text: LAPSE BECAUSE OF FAILURE TO SUBMIT A TRANSLATION OF THE DESCRIPTION OR TO PAY THE FEE WITHIN THE PRESCRIBED TIME-LIMIT Effective date: 20220105 Ref country code: DK Free format text: LAPSE BECAUSE OF FAILURE TO SUBMIT A TRANSLATION OF THE DESCRIPTION OR TO PAY THE FEE WITHIN THE PRESCRIBED TIME-LIMIT Effective date: 20220105 Ref country code: CZ Free format text: LAPSE BECAUSE OF FAILURE TO SUBMIT A TRANSLATION OF THE DESCRIPTION OR TO PAY THE FEE WITHIN THE PRESCRIBED TIME-LIMIT Effective date: 20220105 |
|
| PLBE | No opposition filed within time limit |
Free format text: ORIGINAL CODE: 0009261 |
|
| STAA | Information on the status of an ep patent application or granted ep patent |
Free format text: STATUS: NO OPPOSITION FILED WITHIN TIME LIMIT |
|
| PG25 | Lapsed in a contracting state [announced via postgrant information from national office to epo] |
Ref country code: AL Free format text: LAPSE BECAUSE OF FAILURE TO SUBMIT A TRANSLATION OF THE DESCRIPTION OR TO PAY THE FEE WITHIN THE PRESCRIBED TIME-LIMIT Effective date: 20220105 |
|
| 26N | No opposition filed |
Effective date: 20221006 |
|
| PG25 | Lapsed in a contracting state [announced via postgrant information from national office to epo] |
Ref country code: IE Free format text: LAPSE BECAUSE OF NON-PAYMENT OF DUE FEES Effective date: 20220210 Ref country code: FR Free format text: LAPSE BECAUSE OF NON-PAYMENT OF DUE FEES Effective date: 20220305 |
|
| PG25 | Lapsed in a contracting state [announced via postgrant information from national office to epo] |
Ref country code: SI Free format text: LAPSE BECAUSE OF FAILURE TO SUBMIT A TRANSLATION OF THE DESCRIPTION OR TO PAY THE FEE WITHIN THE PRESCRIBED TIME-LIMIT Effective date: 20220105 Ref country code: BE Free format text: LAPSE BECAUSE OF NON-PAYMENT OF DUE FEES Effective date: 20220228 |
|
| REG | Reference to a national code |
Ref country code: CH Ref legal event code: PL |
|
| PG25 | Lapsed in a contracting state [announced via postgrant information from national office to epo] |
Ref country code: LI Free format text: LAPSE BECAUSE OF NON-PAYMENT OF DUE FEES Effective date: 20230228 Ref country code: CH Free format text: LAPSE BECAUSE OF NON-PAYMENT OF DUE FEES Effective date: 20230228 |
|
| REG | Reference to a national code |
Ref country code: DE Ref legal event code: R082 Ref document number: 502020000511 Country of ref document: DE Representative=s name: PAUL & ALBRECHT PATENTANWAELTE PARTG MBB, DE |
|
| PG25 | Lapsed in a contracting state [announced via postgrant information from national office to epo] |
Ref country code: MK Free format text: LAPSE BECAUSE OF FAILURE TO SUBMIT A TRANSLATION OF THE DESCRIPTION OR TO PAY THE FEE WITHIN THE PRESCRIBED TIME-LIMIT Effective date: 20220105 Ref country code: CY Free format text: LAPSE BECAUSE OF FAILURE TO SUBMIT A TRANSLATION OF THE DESCRIPTION OR TO PAY THE FEE WITHIN THE PRESCRIBED TIME-LIMIT Effective date: 20220105 |
|
| PG25 | Lapsed in a contracting state [announced via postgrant information from national office to epo] |
Ref country code: HU Free format text: LAPSE BECAUSE OF FAILURE TO SUBMIT A TRANSLATION OF THE DESCRIPTION OR TO PAY THE FEE WITHIN THE PRESCRIBED TIME-LIMIT; INVALID AB INITIO Effective date: 20200210 |
|
| P01 | Opt-out of the competence of the unified patent court (upc) registered |
Effective date: 20240507 |
|
| PG25 | Lapsed in a contracting state [announced via postgrant information from national office to epo] |
Ref country code: MT Free format text: LAPSE BECAUSE OF FAILURE TO SUBMIT A TRANSLATION OF THE DESCRIPTION OR TO PAY THE FEE WITHIN THE PRESCRIBED TIME-LIMIT Effective date: 20220105 |
|
| GBPC | Gb: european patent ceased through non-payment of renewal fee |
Effective date: 20240210 |
|
| PG25 | Lapsed in a contracting state [announced via postgrant information from national office to epo] |
Ref country code: GB Free format text: LAPSE BECAUSE OF NON-PAYMENT OF DUE FEES Effective date: 20240210 |
|
| PG25 | Lapsed in a contracting state [announced via postgrant information from national office to epo] |
Ref country code: GB Free format text: LAPSE BECAUSE OF NON-PAYMENT OF DUE FEES Effective date: 20240210 |
|
| PGFP | Annual fee paid to national office [announced via postgrant information from national office to epo] |
Ref country code: DE Payment date: 20250218 Year of fee payment: 6 |
|
| PGFP | Annual fee paid to national office [announced via postgrant information from national office to epo] |
Ref country code: AT Payment date: 20250417 Year of fee payment: 5 |
|
| PGFP | Annual fee paid to national office [announced via postgrant information from national office to epo] |
Ref country code: IT Payment date: 20250228 Year of fee payment: 6 |
|
| PGFP | Annual fee paid to national office [announced via postgrant information from national office to epo] |
Ref country code: TR Payment date: 20250203 Year of fee payment: 6 |