EP3667086B1 - Verdrängermaschine nach dem spiralprinzip, insbesondere scrollverdichter für eine fahrzeugklimaanlage - Google Patents

Verdrängermaschine nach dem spiralprinzip, insbesondere scrollverdichter für eine fahrzeugklimaanlage Download PDF

Info

Publication number
EP3667086B1
EP3667086B1 EP18212076.6A EP18212076A EP3667086B1 EP 3667086 B1 EP3667086 B1 EP 3667086B1 EP 18212076 A EP18212076 A EP 18212076A EP 3667086 B1 EP3667086 B1 EP 3667086B1
Authority
EP
European Patent Office
Prior art keywords
compressor
scroll
pressure
chamber
pressure chamber
Prior art date
Legal status (The legal status is an assumption and is not a legal conclusion. Google has not performed a legal analysis and makes no representation as to the accuracy of the status listed.)
Active
Application number
EP18212076.6A
Other languages
English (en)
French (fr)
Other versions
EP3667086A1 (de
Inventor
Dennis RYMA
Current Assignee (The listed assignees may be inaccurate. Google has not performed a legal analysis and makes no representation or warranty as to the accuracy of the list.)
Brose Fahrzeugteile SE and Co KG
Original Assignee
Brose Fahrzeugteile SE and Co KG
Priority date (The priority date is an assumption and is not a legal conclusion. Google has not performed a legal analysis and makes no representation as to the accuracy of the date listed.)
Filing date
Publication date
Application filed by Brose Fahrzeugteile SE and Co KG filed Critical Brose Fahrzeugteile SE and Co KG
Priority to EP19191561.0A priority Critical patent/EP3670915B1/de
Priority to EP18212076.6A priority patent/EP3667086B1/de
Priority to CN201980080121.2A priority patent/CN113167273B/zh
Priority to PCT/EP2019/084837 priority patent/WO2020120659A1/de
Publication of EP3667086A1 publication Critical patent/EP3667086A1/de
Application granted granted Critical
Publication of EP3667086B1 publication Critical patent/EP3667086B1/de
Active legal-status Critical Current
Anticipated expiration legal-status Critical

Links

Images

Classifications

    • FMECHANICAL ENGINEERING; LIGHTING; HEATING; WEAPONS; BLASTING
    • F04POSITIVE - DISPLACEMENT MACHINES FOR LIQUIDS; PUMPS FOR LIQUIDS OR ELASTIC FLUIDS
    • F04CROTARY-PISTON, OR OSCILLATING-PISTON, POSITIVE-DISPLACEMENT MACHINES FOR LIQUIDS; ROTARY-PISTON, OR OSCILLATING-PISTON, POSITIVE-DISPLACEMENT PUMPS
    • F04C18/00Rotary-piston pumps specially adapted for elastic fluids
    • F04C18/02Rotary-piston pumps specially adapted for elastic fluids of arcuate-engagement type, i.e. with circular translatory movement of co-operating members, each member having the same number of teeth or tooth-equivalents
    • F04C18/0207Rotary-piston pumps specially adapted for elastic fluids of arcuate-engagement type, i.e. with circular translatory movement of co-operating members, each member having the same number of teeth or tooth-equivalents both members having co-operating elements in spiral form
    • F04C18/0246Details concerning the involute wraps or their base, e.g. geometry
    • F04C18/0253Details concerning the base
    • F04C18/0261Details of the ports, e.g. location, number, geometry
    • FMECHANICAL ENGINEERING; LIGHTING; HEATING; WEAPONS; BLASTING
    • F04POSITIVE - DISPLACEMENT MACHINES FOR LIQUIDS; PUMPS FOR LIQUIDS OR ELASTIC FLUIDS
    • F04CROTARY-PISTON, OR OSCILLATING-PISTON, POSITIVE-DISPLACEMENT MACHINES FOR LIQUIDS; ROTARY-PISTON, OR OSCILLATING-PISTON, POSITIVE-DISPLACEMENT PUMPS
    • F04C18/00Rotary-piston pumps specially adapted for elastic fluids
    • F04C18/02Rotary-piston pumps specially adapted for elastic fluids of arcuate-engagement type, i.e. with circular translatory movement of co-operating members, each member having the same number of teeth or tooth-equivalents
    • F04C18/0207Rotary-piston pumps specially adapted for elastic fluids of arcuate-engagement type, i.e. with circular translatory movement of co-operating members, each member having the same number of teeth or tooth-equivalents both members having co-operating elements in spiral form
    • F04C18/0246Details concerning the involute wraps or their base, e.g. geometry
    • F04C18/0269Details concerning the involute wraps
    • F04C18/0292Ports or channels located in the wrap
    • FMECHANICAL ENGINEERING; LIGHTING; HEATING; WEAPONS; BLASTING
    • F04POSITIVE - DISPLACEMENT MACHINES FOR LIQUIDS; PUMPS FOR LIQUIDS OR ELASTIC FLUIDS
    • F04CROTARY-PISTON, OR OSCILLATING-PISTON, POSITIVE-DISPLACEMENT MACHINES FOR LIQUIDS; ROTARY-PISTON, OR OSCILLATING-PISTON, POSITIVE-DISPLACEMENT PUMPS
    • F04C27/00Sealing arrangements in rotary-piston pumps specially adapted for elastic fluids
    • F04C27/005Axial sealings for working fluid
    • FMECHANICAL ENGINEERING; LIGHTING; HEATING; WEAPONS; BLASTING
    • F04POSITIVE - DISPLACEMENT MACHINES FOR LIQUIDS; PUMPS FOR LIQUIDS OR ELASTIC FLUIDS
    • F04CROTARY-PISTON, OR OSCILLATING-PISTON, POSITIVE-DISPLACEMENT MACHINES FOR LIQUIDS; ROTARY-PISTON, OR OSCILLATING-PISTON, POSITIVE-DISPLACEMENT PUMPS
    • F04C29/00Component parts, details or accessories of pumps or pumping installations, not provided for in groups F04C18/00 - F04C28/00
    • F04C29/0021Systems for the equilibration of forces acting on the pump

Definitions

  • the invention is in the field of displacement machines according to the spiral principle and relates to a scroll compressor, in particular an electric motor, as a refrigerant compressor for a vehicle air conditioning system, according to the preamble of claim 1 DE 10 2017 110 913 B3 known.
  • Air conditioning systems are regularly installed in motor vehicles, which air-condition the vehicle interior with the aid of a system forming a refrigerant circuit.
  • Such systems basically have a circuit in which a refrigerant is guided.
  • the refrigerant for example carbon dioxide (CO 2 ) or R-134a (1,1,1,2-tetrafluoroethane) or R-744 (carbon dioxide), is heated in an evaporator and compressed by means of a (refrigerant) compressor or compressor, where the refrigerant then releases the heat it has absorbed via a heat exchanger before it is fed back to the evaporator via a throttle.
  • Scroll technology is often used as a refrigerant compressor to compress a refrigerant-oil mixture.
  • the resulting gas-oil mixture is separated, with the separated gas being introduced into the air conditioning circuit, while the separated oil can be fed to the scroll compressor as a suitably electric motor-driven refrigerant compressor for lubricating moving parts.
  • Such a scroll compressor for the refrigerant or the refrigerant-oil mixture of a motor vehicle air conditioning system is, for example, in DE 10 2012 104 045 A1 and in " A Scroll Compressor for Air Conditioners", Tojo et al., Purdue e-Pubs (Purdue University), International Compressor Engineering Conference, 1984 , described.
  • a model calculation of a self-adjusting back-preasure or counter-pressure mechanism in a scroll compressor (scroll compressor) is given in " Computer Modeling of Scroll Compressor with Self Adjusting Back-Pressure Mechanism", Tojo et al., Purdue e-Pubs (Purdue University), International Compressor Engineering Conference, 1986 , described.
  • Essential components of the scroll compressor are a fixed scroll (fixed scroll) and a movable, orbiting scroll (movable, orbiting scroll).
  • the two scrolls are basically constructed in the same way and each have a base plate and a spiral-shaped wall (wrap) extending in the axial direction starting from the base plate. In the assembled state, the spiral walls of the two scrolls lie within one another and form several compression chambers between the scroll walls that touch one another in sections.
  • the sucked-in gas-oil mixture reaches a first, radially outer compression chamber via an inlet and from there via further compression chambers to the radially innermost compression chamber and from there via a central outlet, for example in the form of a bore, and possibly two adjacent auxiliary valves in the form of also bores in the base plate of the fixed scroll into a discharge or high-pressure chamber.
  • the chamber volume in the compression chambers decreases from radially outside to radially inside, and the pressure of the increasingly compressing medium increases. During operation of the scroll compressor, the pressure in the compressor chambers thus increases from radially outside to radially inside.
  • the central gas-oil outlet (and each of the auxiliary valves or bores, if applicable) is located on the baseplate rear of the fixed scroll through a Spring valve closed.
  • the spring valve opens as a result of the pressure difference between the compression chambers and the high-pressure chamber. If necessary, after the spring valve has been triggered, the compressed gas-oil mixture flows into the high-pressure chamber of the scroll compressor (on the back of the fixed scroll) where it is separated into oil and gas. Then, when the pressure in the compression chambers opposite the high-pressure chamber has dropped accordingly, the spring valve closes automatically.
  • the two scrolls are pressed apart due to the pressure generated in the compressor chambers and the resulting axial force, so that a gap and thus leaks can arise between the compressor chambers.
  • the orbiting scroll is pressed against the fixed scroll - if necessary in addition to an oil film between the friction surfaces of the two scrolls.
  • the corresponding axial force (counterforce) is generated by providing a pressure chamber (back pressure chamber) on the back of the base plate of the orbiting scroll, in which a specific pressure is generated.
  • the pressure in the back-pressure chamber in the known scroll compressor increases to, for example, approx. 6 bar to approx. 9 bar at a pressure ratio of, for example, 3 bar (low pressure) to 25 bar (high pressure).
  • the medium-pressure channel is positioned at approximately 405°, starting from the start of the scroll spiral (spiral wall) of the movable (orbiting) scroll.
  • FIG. 12 shows a range of the relative compressor chamber volume in which the back-pressure port (with different port diameters) should be open (fluid-connected). This range is between 55% and approx. 100% of the (relative) chamber volume.
  • a (relative) pressure drop or pressure increase by a factor of 2 can be seen in the volume range under consideration.
  • the opening starting value of the back pressure port is therefore approximately 100% or approximately 95% of the relative compressor chamber volume.
  • a spiral compressor with a housing in which a fixed scroll with a base plate and a spiral formed thereon and a movable scroll revolving around an axis of rotation, also with a base plate and a spiral formed thereon, are arranged.
  • a discharge chamber (high pressure chamber) is formed between the base plate of the fixed scroll and a housing portion.
  • a bearing partition with a shaft bearing located in the housing delimits a suction or inlet chamber and forms with the base plate of the moving scroll a back pressure chamber (backpressure chamber) which communicates with the compression chamber between the scrolls via a delivery channel in the moving scroll.
  • the delivery chamber and the back pressure chamber communicate via a secondary delivery passage that extends generally axially through an outer wall of the fixed scroll.
  • the secondary supply passage supplies oil or refrigerant gas separated in the discharge chamber by an oil separator into the back pressure chamber to restore the pressure in the back pressure chamber after a pressure drop in a short time.
  • a scroll compressor with a support body, with which one of the scrolls can be supported on one side is known.
  • the scroll compressor has an infeed cylinder with which the support body can be acted upon in such a way that it keeps the scrolls in contact with one another, the support body being guided with a guide so that it cannot be tilted substantially.
  • the supporting body is guided transversely to an axis in a floating manner relative to the housing.
  • the invention is based on the object of specifying a particularly suitable scroll compressor, in particular one that is or can be driven by an electric motor, as a refrigerant compressor for a vehicle air conditioning system.
  • a suitable pressure duct system should be used to adapt the pressure in the counter-pressure chamber (back-pressure chamber) to operating points of the scroll compressor for a vehicle air-conditioning system, preferably in the cooling and heat pump mode, as flexibly and effectively as possible. Leakages should also be reduced as much as possible and friction losses between the fixed scroll and the orbiting scroll should be avoided or at least kept as minimal as possible.
  • the scroll compressor In a housing with a high-pressure chamber and with compression chambers and with a back-pressure chamber, the scroll compressor has a fixed scroll and a movable, ie in the driven state—ie in operation (compressor operation)—orbiting (oscillating) scroll.
  • the scrolls or scroll parts each have a base plate and a spiral wall, with between the interlocking spiral walls of the two scrolls (scroll parts) form the compression chambers.
  • the base plate of the fixed scroll defines the high pressure chamber and the base plate of the movable scroll defines the back pressure chamber.
  • the counter-pressure chamber is connected to at least one of the compression chambers via a pressure line that runs at least partially in the stationary scroll.
  • the pressure line is connected via a first channel to at least one of the compression chambers and also via a second channel to the high-pressure chamber.
  • a static pressure that also acts in the back-pressure chamber is created in the pressure line, via which the back-pressure chamber communicates in terms of flow with the high-pressure chamber and with the at least one compression chamber.
  • the scroll compressor is intended and set up in particular for refrigerants in a vehicle air conditioning system.
  • the channels is located in the base plate of the fixed scroll.
  • the first passage connected to the compression chamber and the second passage connected to the high-pressure chamber are located in the base plate of the fixed scroll.
  • the second channel is arranged in a filter (filter insert), which is inserted in the high-pressure chamber in a borehole that is introduced into the base plate on the high-pressure chamber plate side and is supported there by a positioning and holding collar for the filter insert is surrounded.
  • the pressure line expediently has at least a first line section, which is arranged in the base plate of the fixed scroll, and a second line section which is connected to the first line section and is arranged in a boundary wall of the fixed scroll.
  • the boundary wall can be part of the fixed scroll or the housing.
  • the first line section extends radially into the base plate and the second line section extends axially or obliquely into the boundary wall of the fixed scroll, each in the form of one Bore are introduced, the holes within the base plate to form the pressure line open into each other or merge into one another.
  • first line sections are provided starting from the bore opening in the base plate of the fixed scroll.
  • One of these first line sections runs to the second line section in the boundary wall and opens into it.
  • the other of these first line sections runs to the first channel, i. H. within the base plate of the fixed scroll towards the (selected) position of the first channel.
  • the counter-pressure chamber is separated from a low-pressure chamber by means of an intermediate wall.
  • a (third) line section of the pressure line leading to the back pressure chamber is arranged in this intermediate wall, which suitably serves as an end shield for a shaft driving the movable scroll.
  • This line section can in turn be designed in a simple manner as a radial bore in the intermediate wall.
  • this line section of the pressure line is designed as a groove in the intermediate wall in connection with a plate (wear plate) covering it.
  • the cross-sectional area of the pressure line is at least a factor of two (2) larger than the cross-sectional area of the first channel connected to the compression chamber and the second channel connected to the high-pressure chamber. Additionally or alternatively, the invention provides that the cross-sectional area of the first channel connected to the compression chamber is in turn larger than the cross-sectional area of the second channel connected to the high-pressure chamber.
  • the ratio between the cross-sectional area of the first passage connected to the compression chamber and the cross-sectional area of the second passage connected to the high-pressure chamber is between 3 (three) and 5 (five), preferably 4 (four).
  • the cross-sectional areas of the two channels should expediently be as small as possible.
  • the cross-sectional area of the first duct connected to the compression chamber is expediently between 0.03 mm 2 and 1.5 mm 2 , preferably 0.2 mm 2 .
  • the cross-sectional area of the second channel connected to the high-pressure chamber is expediently between 0.008 mm 2 and 0.2 mm 2 , preferably 0.05 mm 2 .
  • the diameter of the first channel should be between 0.2 mm and 1 mm, preferably 0.5 mm, and that of the second channel should be between 0.1 mm and 0.5 mm, preferably 0.25 mm.
  • the first and/or the second channel are designed as a bore which opens into the pressure line. Due to the small wall thickness (wall thickness) of the base plate of the fixed scroll in the area of the two channels, the respective bore or the respective channel thus acts as an orifice or throttle.
  • This flow control and an effective adaptive adjustment of the pressure in the counter-pressure chamber to different operating points of the scroll compressor (in cooling or heat pump mode) is supported or can be further improved by the fact that the first channel connected to the compressor chamber - based on a relative chamber volume of about 100% in the radially outermost compressor chamber and a rotation or shaft angle of 0° - is fully open at a rotation or shaft angle of (63.5 ⁇ 5.5)° and up to a rotation or shaft angle of ( 343.5 ⁇ 5.5)° remains open. This corresponds to a relative volume change in the compressor chamber volume from (91.15 ⁇ 0.75)° to (23.0 ⁇ 0.3)°.
  • the radial distances between the two channels and a central outlet which is arranged in the fixed base plate and leads into the high-pressure chamber are suitably of different sizes, so that the operating channels are deliberately not arranged directly (axially) opposite one another.
  • the radial Distance of the second channel leading into the high-pressure chamber may be greater or smaller than the radial distance of the first channel connected to the compression chamber to the central outlet.
  • the two flow-regulating channels in their connection with the pressure line in the fixed scroll allow an effective and self-adjusting adjustment of the pressure in the counter-pressure chamber to the respective operating point of the scroll compressor without additional flow-regulating components for flow throttling, such as valves, nozzles, throttles or other channels, bores or orifices.
  • the adaptive control of the pressure in the counter-pressure chamber takes place by means of the two channels and the pressure line in the fixed scroll at a pressure ratio between suction pressure (low pressure) and high pressure of 5 (at a suction pressure of 3 bar and a high pressure of 15 bar) and is self-adjusting, just as reliably. as at a pressure ratio of about 8 (at a suction pressure of 3 bar and a high pressure of 25 bar) or 10 (at a suction pressure of 1.5 bar and a high pressure of 15 bar) for the refrigerant R-134A (working point when operating as heat pump).
  • this two-channel pressure line system in the fixed scroll can be used to achieve high process stability for series production.
  • the two channels in the stationary scroll are subject to virtually the same conditions during the course of a scroll coating, for example a paint coating, so that tolerances that can lead to fluctuations in the back pressure level cancel each other out (reduce).
  • the scroll compressor can be operated with high efficiency at operating points in cooling and heat pump mode, in particular because leakage can be reduced and friction losses between the scroll parts can be kept to a minimum. So is the result of the self-adjusting pressure in the Back pressure chamber effective axial force due to the adaptive adjustment not or always only a small amount greater than the sum of the axial forces in the compressor chambers, in which there are typically different pressures during compressor operation.
  • the particularly effective flow control and adaptive adjustment of the pressure in the counter-pressure chamber to different operating points of the scroll compressor is advantageously determined or influenced by the specified cross-sectional ratios of the pressure line and the two channels and their positioning in relation to the compressor chamber(s).
  • the positioning is suitably selected in such a way that in particular the first channel opens at a relative volume of the compression chamber (compression chamber volume) of approx. 90% and remains open in the course of a relative pressure change up to a relative volume of the compression chamber of approx. 23% before the respective channel is covered or overlapped by its spiral wall during the orbiting movement of the orbiting scroll and is connected (overlapping) to a compressor chamber lying radially further outside.
  • the first channel connecting the compression chamber with the penstock should be positioned in the fixed scroll at an angle (spiral angle ⁇ ) of 350° to 390°, especially 370°, this angle ⁇ starting from both the beginning and the end the spiral wall (scroll spiral) of the fixed scroll can be measured (applied).
  • the two axially spaced channels can be arranged at mutually different radial and/or azimuthal positions.
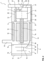
  • the inside 1 Refrigerant compressor 1 shown is installed in a refrigerant circuit, not shown, of an air conditioning system of a motor vehicle.
  • the electric motor refrigerant compressor 1 has an electric (electric motor) drive module 2 and a compressor module coupled to it in the form of a scroll compressor 3 .
  • the scroll compressor 3 is connected in drive terms to the drive module 2 via a mechanical interface 4 formed between the drive module 2 and the scroll compressor 3 .
  • the mechanical interface 4 serves as a bearing plate on the drive side and forms an intermediate wall 5 (FIGS. 2 and 3).
  • the scroll compressor 3 is connected (joined, screwed) to the drive module 2 by means of flange connections 6 distributed on the circumference and extending in the axial direction A of the refrigerant compressor 1 .
  • a partial housing area of a drive housing 7 of the refrigerant compressor 1 is designed as a motor housing 7a for accommodating an electric motor 13 ( 2 ) educated and on the one hand by an integrated housing partition 7b ( 2 ) to an electronics housing 7d provided with a housing cover 7c with motor electronics (electronics) 8 controlling the electric motor 13 and on the other hand closed by the mechanical interface 4 with the end shield and the intermediate wall 5 .
  • the drive housing 7 has a connection section 9 with motor connections 9a and 9b routed to the electronics 8 for electrically contacting the electronics 8 to an on-board network of the motor vehicle.
  • the drive housing 7 has a refrigerant inlet or refrigerant feed 10 for connection to the refrigerant circuit and a refrigerant outlet 11 .
  • the outlet 11 is formed on the bottom of a compressor housing 12 of the scroll compressor 3 .
  • the inlet 10 forms the low-pressure or suction side (suction gas side) and the outlet 11 forms the high-pressure or pump side (pump side) of the refrigerant compressor 1.
  • FIG. 2 shows schematically the electric motor refrigerant compressor 1 in a sectional view along a rotation axis 14 of the electric motor 13, which is a brushless direct current motor (BLDC) and has a cylindrical rotor 15. This is surrounded on the circumference by a hollow-cylindrical stator 16 .
  • the rotor 15 comprises a number of permanent magnets and is rotatably mounted about the axis of rotation 14 by means of a shaft 17 .
  • the stator 16 has a number of electrical coils, which are energized by means of the electronics 8, which in turn is connected, for example, to a bus system and the on-board network of the motor vehicle.
  • the electronics 8 are arranged in the electronics housing 7d of the drive housing 7, which is separated from the stator 16 and the rotor 15 by means of the intermediate wall 5.
  • the housing cover 7c which is detachably attached to the electronics housing 7d by means of screws, closes an access opening in the electronics housing 7b.
  • the motor electronics 8 has printed circuit boards 18, 19 which are arranged one above the other in the axial direction A.
  • the bridge circuit is fed by the vehicle electrical system and controlled by a control circuit on the other printed circuit board 19, which is connected to the bus system in terms of signals.
  • the scroll compressor 3 has a movable scroll (scroll part) 21 arranged in the compressor housing 12 .
  • This is coupled via an eccentric shaft journal 17a with, for example, two joining pins, of which only one joining journal 17b is visible, to the shaft 17 of the electric motor 13, which is guided into the mechanical interface 4 with the A-side end shield.
  • the eccentric shaft journal 17a is mounted in a roller or ball bearing 22a held in the movable scroll 21.
  • Another roller or ball bearing 22b supporting the shaft 17 is arranged in the mechanical interface 4 serving as the A-side end shield and in the intermediate wall 5 there.
  • the movable scroll (scroll part) 21 is orbitally driven in operation of the scroll compressor 3 .
  • the scroll compressor 3 also has a fixed scroll (scroll part) 23 rigidly fastened in the compressor housing 12 .
  • the two scrolls (scroll parts) 21, 23 mesh with their snail or spiral scroll walls (scroll spirals) 21a, 23a, which protrude axially from a respective base plate 21b, 23b.
  • Compressor chambers 24 are formed between their scroll walls or scroll spirals 21a, 23a and the base plates 21b, 23b, the volume of which is changed when the electric motor 13 is in operation.
  • a counter-pressure chamber (back-pressure chamber) 25 in the intermediate wall 5.
  • This is in the compressor housing 12, referred to simply as the housing below, from the base plate 21b of the movable scroll 21 and/or from an intermediate plate (wear plate) 5a ( 3 ) limited in the form of a steel plate, which has good sliding properties for the orbiting scroll 21.
  • the back pressure chamber 25 partially extends into the base plate 21b of the movable scroll 21 .
  • the coolant is introduced through the inlet 10 into the drive housing 7 and there into the motor housing 7a.
  • This area of the drive housing 7 forms the suction or low-pressure side 26.
  • the intermediate wall 7b of the housing prevents the coolant from penetrating into the electronics housing 7d.
  • the refrigerant is mixed with oil present in the refrigerant circuit and passed along the rotor 15 and the stator 16 through an opening (or several openings, 3 ) 27 in the intermediate wall 5 to the scroll compressor 3.
  • the mixture of refrigerant and oil is compressed by means of the scroll compressor 3, with the oil being used to lubricate the two scrolls 21, 23, so that friction is reduced and consequently efficiency is increased.
  • the oil also serves as a seal in order to prevent the coolant located between the two scrolls (scroll parts) 21, 23 from escaping in an uncontrolled manner.
  • the compressed refrigerant and oil mixture is directed into a high pressure chamber 29 within the compressor housing 12 via a central outlet 28 in the base plate 23b of the fixed scroll 23 .
  • an oil separator (cyclone separator) 30 In the high-pressure chamber 29 there is an oil separator (cyclone separator) 30. Inside the oil separator 30, the mixture of refrigerant and oil is set in a rotary motion, with the heavier oil due to increased inertia and increased mass being directed to the walls of the oil separator 30 and in a lower portion of the oil separator 30 while the refrigerant is discharged upward or sideways through the outlet 11.
  • the high pressure chamber 29 is defined within the housing 12 by the base plate 23b of the fixed scroll 23.
  • the central outlet 28 into the high pressure or discharge chamber 29, which is located in the radially innermost chamber region 24' of the compression chambers 24, is drilled into the base plate 23b of the fixed scroll 23.
  • the central outlet 28 is closed with a spring valve (finger spring valve) 33 as long as the pressure in the compression chambers 24 is lower than the pressure in the high-pressure chamber 29. If If the pressure of the compressed refrigerant-oil mixture in the compressor chambers 24, in particular in the central chamber region 24', is greater than the pressure in the high-pressure chamber 29, the spring valve 33 opens more or less automatically.
  • a stop element 34 which is fixed in the high-pressure chamber 29 to the fixed scroll 23, for example to its base plate 23b, limits the stroke of the spring valve 33.
  • the spring valve 33 closes the outlet 28 again automatically due to its spring preload. In this way, the compressed refrigerant-oil mixture - depending on the speed of the shaft 17 or depending on the operating point of the scroll compressor 3 - passes continuously (continuously) or intermittently or pulsating via the central outlet 28 from the compressor chamber 24 into the high-pressure chamber 29.
  • a pressure line 35 is provided in the stationary scroll 23 , via which the compression chambers 24 and the high-pressure chamber 29 communicate with the counter-pressure chamber 25 in terms of flow.
  • the pressure line 35 is connected via a first channel 36 to the compressor chambers 24 formed between the scroll walls 21a, 23a and via a second channel 37 to the high-pressure chamber 29 in an area which, during operation, essentially contains the refrigerant and only a small amount of oil having.
  • FIG. 4 shows schematically in a block diagram the fluidic or pressure-carrying connection of the counter-pressure chamber 25 via the pressure line 35 and the two channels 36, 37, which act as orifices or throttles, on the one hand with the high-pressure chamber 29 and on the other hand with the compressor chambers 24.
  • the in the base plate 23b of the fixed scroll 23, for example as a bore, is provided with the reference numeral 36, as is its diaphragm or throttle symbol.
  • An oil return 38 including a throttle element 39, is shown as a broken (dashed) line, from the high-pressure chamber 29 in the region of the oil separator 30 into the low-pressure chamber (Suction gas chamber) 26. This is fluidically connected to the compressor chambers 24 of the scroll compressor 3 via the suction gas opening 27, as illustrated by the broken arrow line 40.
  • the pressure line 35 is made up of a first line section 35a, which is introduced into the base plate 23b of the fixed scroll 23, suitably as a radially running bore, and a second line section 35b, which is suitably made as an axially running bore in a cup-shaped boundary wall 23c of the fixed scroll 23 is arranged.
  • the second line section 35b can also be introduced into the (axial) housing wall of the compressor housing 12 .
  • the bores or line sections 35a, 35b open into one another within the base plate 23b or merge into one another.
  • the inlet opening of the radial bore of the first line section 35a is closed on the circumference of the boundary wall 23c in a manner not shown in detail.
  • the counter-pressure chamber 25 is separated from the suction or low-pressure chamber 26 by means of the intermediate wall 5 .
  • the intermediate wall 5 which accommodates the bearing 22a and 22b for the shaft journal 17a and the shaft 17 as an end shield, a third line section 35c of the pressure line 35 leading to the counter-pressure chamber 25 is arranged.
  • This line section 35c can be designed analogously as a radially running bore in the intermediate wall 5 .
  • the third line section 35c in the intermediate wall (interface) 5 can be designed as a groove which is open toward the orbiting scroll 21 and is closed by the intermediate plate (ware plate) 5a.
  • the cross-sectional area of the pressure line 35 is many times, for example ten times smaller than the cross-sectional area of the central outlet 28. However, the cross-sectional area of the pressure line 35 is many times larger than the cross-sectional area of the two channels 36 and 37. In addition, the cross-sectional area of the with the compression chambers 24 connected to the first duct 36 is larger than the cross-sectional area of the second duct 37 connected to the high-pressure chamber 29.
  • the diameter of the central outlet 28 is between 5mm and 10mm.
  • the diameter of the pressure line 35 is between 1 mm and 10 mm.
  • the diameter of the first channel 36 is 0.5 mm, for example, and the diameter of the second channel 37 is 0.25 mm, for example, each with a circular bore or channel cross section.
  • the first channel 36 and the second channel 37 are designed as bores and (in terms of flow) act as an orifice plate or throttle. With this, from the pressure line 35 and the two channels 36, 37 formed channel system a particularly effective flow control of the (static) pressure in the back pressure chamber 25 is achieved.
  • the radial distance between the first channel 36, which is connected to the compressor chambers 24, and the central outlet 28, which is arranged in the base plate 23b of the fixed scroll 23 and leads into the high-pressure chamber 29, is greater than the radial distance between the second channel 37, which is connected to the high-pressure chamber 29, and the central outlet Outlet 28.
  • the second channel 37 can also be arranged closer to the central outlet 28 than the first channel 36. It is essential that the two channels 36 and 37 are not arranged directly axially opposite one another.
  • the Figures 5 and 6 show in a perspective representation and in a plan view the fixed scroll 23 with the first channel 36 in the base plate 23b is arranged at a predetermined angular position P K1 within the scroll wall (scroll spiral) 23a and leads there to the pressure line 35, ie to its first line section 35a running inside the base plate 23b.
  • the channel exit of the second line section 35b, which opens into the third line section 35c, within the boundary wall 23c of the fixed scroll 23, which is preferably closed all the way around, can also be seen.
  • the Figures 7 and 8 show a perspective representation or a plan view of the fixed scroll 23 with a view of its plate side of the base plate 23b located in the high-pressure chamber 29.
  • a filter (filter insert) 42 is received in this receiving opening 41, which has a filter shaft 42a and an orifice or throttle head 42b, in which the second channel 37, for example as a central bore , is provided.
  • the opening 41 is surrounded in the manner of a collar by a wall 43 for receiving, positioning and/or stabilizing the position of the screen or throttle head 42b of the filter (filter insert) 42 .
  • the first line section 35a of the pressure line 35 is formed by two sections a 1 , a 2 in the form of oblique bores which are made in the base plate 23b from the receiving opening 41 .
  • the first section a 1 runs in the direction of the center or the central region of the base plate 23b.
  • the second section a 2 runs to the second line section 35b of the pressure line 35 in the boundary wall 35c of the fixed scroll 23 and opens there into the second line section 35b of the pressure line 35.
  • the first channel 36 opens out, producing the connection (in terms of pressure and/or flow) of the compression chambers 24 to the pressure line 35 and via this to the in figure 9 counter-pressure chamber 25, not shown.
  • the two flow-regulating channels 36, 37 and their connection to the pressure line 35 leading into the counter-pressure chamber 25 in the fixed scroll 23 achieve a particularly effective, self-adjusting adjustment of the pressure in the counter-pressure chamber 25 in practically all working areas or points of the scroll compressor 3 .
  • the adaptive control of the pressure in the counter-pressure chamber 25 by means of the two channels 36, 37 and the pressure line 35 in the fixed scroll 23 is just as reliable and self-adjusting at a suction pressure (low pressure) of 3 bar and a high pressure of 15 bar as with a Suction pressure of 3 bar and a high pressure of 25 bar or a suction pressure of 1.5 bar and a high pressure of 15 bar (working point in heat pump operation).
  • the scroll compressor 3 and thus the refrigerant compressor 1 can therefore be operated with high efficiency at operating points in the cooling mode and in the heat pump mode of a vehicle air conditioning system.
  • the flow control and adaptive adjustment of the pressure in the counter-pressure chamber 25, also at different operating points of the scroll compressor 3, can be influenced by the cross-sectional ratios of the pressure line 35 and the two channels 36, 37 and their positioning in relation to the compressor chamber(s) 24.
  • the position P K1 , P K2 of the first channel 36 is selected such that it opens at a relative volume of the compressor chamber 24 of approximately 90% and remains open up to a relative chamber volume of approximately 25%.
  • the scroll compressor 3 which is provided and set up in particular for refrigerants of a vehicle air conditioning system, has in a compressor housing 12 with a high-pressure chamber 27 and with compressor chambers 24 as well as with a counter-pressure chamber (back-pressure chamber) 25, a fixed scroll 23 and a movable scroll 23 that orbits (oscillates) during compressor operation , performing a rolling motion) Scroll 21 up.
  • the scrolls 21, 23, which each have a base plate 21a, 23a and a scroll or spiral wall 21a integral with this (formed onto it), form the compressor chamber(s) 24 between their intermeshing scroll or spiral walls 21a or 23a
  • the base plate 23b of the fixed scroll 23 defines the high pressure chamber 27, and the base plate 21b of the movable scroll 21 defines the back pressure chamber 25.
  • the counter-pressure chamber 25 is connected to at least one of the compression chambers 24 via a pressure line 35 running at least partially in the fixed scroll 23 and a first channel 36 and to the high-pressure chamber 27 via a second channel 37 . Due to the operation, a static pressure is created or prevails in the pressure line 35, via which the counter-pressure chamber 25 communicates fluidically with the high-pressure chamber 27 and with the at least one of the compressor chambers 24, and also acts in the counter-pressure chamber 25.

Landscapes

  • Engineering & Computer Science (AREA)
  • Mechanical Engineering (AREA)
  • General Engineering & Computer Science (AREA)
  • Rotary Pumps (AREA)
  • Applications Or Details Of Rotary Compressors (AREA)

Description

  • Die Erfindung liegt auf dem Gebiet der Verdrängermaschinen nach dem Spiralprinzip und betrifft einen, insbesondere elektromotorischen, Scrollverdichter als Kältemittelkompressor für eine Fahrzeugklimaanlage, gemäß dem Oberbegriff des Anspruchs 1. Eine derartige Verdrängermaschiene und insbesondere ein solcher Scrollverdichter ist aus der DE 10 2017 110 913 B3 bekannt.
  • Bei Kraftfahrzeugen sind regelmäßig Klimaanlagen eingebaut, die mit Hilfe einer einen Kältemittelkreislauf bildenden Anlage den Fahrzeuginnenraum klimatisieren. Derartige Anlagen weisen grundsätzlich einen Kreislauf auf, in dem ein Kältemittel geführt ist. Das Kältemittel, beispielsweise Kohlenstoffdioxid (CO2) oder R-134a (1,1,1,2-Tetrafluorethan) oder R-744 (Kohlenstoffdioxid), wird an einem Verdampfer erwärmt und mittels eines (Kältemittel-)Verdichters beziehungsweise Kompressors verdichtet, wobei das Kältemittel anschließend über einen Wärmetauscher die aufgenommene Wärme wieder abgibt, bevor es über eine Drossel erneut zum Verdampfer geführt wird.
  • Als Kältemittelverdichter wird häufig die Scroll-Technologie eingesetzt, um ein Kältemittel-Öl-Gemisch zu verdichten. Das dabei entstehende Gas-Öl-Gemisch wird getrennt, wobei das abgetrennte Gas in den Klimakreislauf eingebracht wird, während das abgetrennte Öl gegebenenfalls innerhalb des Scrollverdichters als geeigneterweise elektromotorisch angetriebenen Kältemittelverdichter zur Schmierung von bewegten Teile an diese herangeführt werden kann.
  • Der Aufbau und die Funktionsweise eines solchen Scrollverdichters für das Kältemittels bzw. das Kältemittel-ÖI-Gemisch einer Kraftfahrzeugklimaanlage ist beispielsweise in der DE 10 2012 104 045 A1 und in "A Scroll Compressor for Air Conditioners", Tojo et al., Purdue e-Pubs (Purdue University), International Compressor Engineering Conferenz, 1984, beschrieben. Eine Modellrechnung eines selbsteinstellenden Back-Preasure- oder Gegendruck-Mechanismus bei einem Scrollverdichter (Scrollkompressor) ist in "Computer Modeling of Scroll Compressor with Self Adjusting Back-Pressure Mechanism", Tojo et al., Purdue e-Pubs (Purdue University), International Compressor Engineering Conferenz, 1986, beschrieben.
  • Wesentliche Bestandteile des Scrollverdichters sind ein feststehender Scroll (fixed scroll) und ein beweglicher, orbitierender Scroll (movable, orbiting scroll). Die beiden Scrolls (Scrollteile) sind grundsätzlich gleichartig aufgebaut und weisen jeweils eine Basisplatte (base plate) und eine spiralförmige, ausgehend von der Basisplatte sich in Axialrichtung erstreckende Wandung (wrap) auf. Im zusammengesetzten Zustand liegen die Spiralwände der beiden Scrolls ineinander und bilden zwischen den sich abschnittsweise berührenden Scroll-Wandungen mehrere Verdichterkammern.
  • Wenn der bewegliche Scroll orbitiert, gelangt das angesaugte Gas-Öl-Gemisch über einen Einlass zu einer ersten, radial äußeren Verdichterkammer und von dort über weitere Verdichterkammern zur radial innersten Verdichterkammer sowie von dort über einen zentralen Auslass, beispielsweise in Form einer Bohrung, und gegebenenfalls zwei benachbarte Nebenventile in Form ebenfalls von Bohrungen in der Basisplatte des feststehenden Scrolls in eine Auslass- oder Hochdruckkammer. Das Kammervolumen in den Verdichterkammern wird von radial außen nach radial innen kleiner, und der Druck des zunehmend verdichtenden Mediums wird größer. Während des Betriebs des Scrollverdichters steigt somit der Druck in den Verdichterkammern von radial außen nach radial innen an.
  • Der zentrale Gas-Öl-Auslass (und gegebenenfalls jedes der Nebenventile bzw. - bohrungen) ist auf der Basisplattenrückseite des feststehenden Scrolls durch ein Federventil verschlossen. Das Federventil öffnet in Folge der Druckdifferenz zwischen den Verdichterkammern und der Hochdruckkammer. Gegebenenfalls strömt das verdichtete Gas-Öl-Gemisch nach Auslösen des Federventils in die Hochdruckkammer des Scrollverdichters (auf der Rückseite des feststehenden Scrolls), um dort in Öl und Gas getrennt zu werden. Anschließend, wenn der Druck in den der Hochdruckkammer gegenüberliegenden Verdichterkammern entsprechend abgesunken ist, schließt das Federventil automatisch.
  • Während des Betriebs des Scrollverdichters werden aufgrund des in den Verdichterkammern erzeugten Drucks und der dadurch bedingten Axialkraft die beiden Scrolls auseinander gedrückt, so dass ein Spalt und somit Leckagen zwischen den Verdichterkammern entstehen können. Um dies möglichst zu vermeiden, wird - gegebenenfalls zusätzlich zu einem Ölfilm zwischen den Reibflächen der beiden Scrolls - der orbitierende Scroll gegen den feststehenden Scroll gedrückt. Die entsprechende Axialkraft (Gegenkraft) wird erzeugt, indem auf der Basisplattenrückseite des orbitierenden Scrolls ein Druckraum (Gegendruckkammer, back pressure chamber) vorgesehen ist, in der ein spezifischer Druck erzeugt wird.
  • Dies kann gemäß der bereits genannten DE 10 2012 104 045 A1 dadurch erfolgen, dass in der Basisplatte des orbitierenden Scrolls an einer bestimmten Position ein Mitteldruckkanal (Durchgang, Öffnung, Backpressure-Port) eingebracht ist, der zumindest eine der von den Scrolls gebildeten Verdichterkammern mit der Gegendruckkammer (Back-Pressure-Kammer) verbindet, so dass Kältemittelgas aus dem Verdichtungsprozess zwischen den Scroll-Spiralen direkt in die Gegen- bzw. Mitteldruckkammer gelangt. Aufgrund des Mitteldruckkanals im beweglichen Scroll in Verbindung mit der Gegendruckkammer (back pressure chamber) wird somit der bewegliche Scroll selbst einstellend (automatisch) gegen den feststehenden Scroll gedrückt, sodass eine ausreichende Dichtigkeit (axiale Dichtigkeit) gegeben ist. Alternativ kann der Mitteldruckkanal im feststehenden Scroll angeordnet und um den beweglichen Scroll herum zur Gegen- bzw. Mitteldruckkammer geführt werden.
  • In Abhängigkeit von der Positionierung des Mitteldruckkanals (back pressure port) steigt bei dem bekannten Scrollverdichter der Druck in der Gegendruckkammer bei einem Druckverhältnis von beispielsweise 3 bar (Niederdruck) zu 25 bar (Hochdruck) auf beispielsweise ca. 6 bar bis ca. 9 bar an. Bei dem bekannten Kältemittelscrollverdichter für eine Kraftfahrzeugklimaanlage ist der Mitteldruckkanal, ausgehend vom Anfang der Scrollspirale (Spiralwand) des beweglichen (orbitierenden) Scrolls bei etwa 405° positioniert.
  • In "Comuter Modeling of Scroll Compressor with Self Adjusting Back-Pressure Mechanism", Tojo et al., Purdue e-Pubs (Purdue University), International Compressor Engineering Conferenz, 1986, ist eine Modellrechnung des selbsteinstellenden Back-Preasure-Mechanismus bei einem Scrollverdichter beschrieben. Im Ergebnis der Untersuchung wird in Figur 12 ein Bereich des relativen Verdichterkammervolumens angegeben, in dem der Back-Pressure-Port (bei unterschiedlichen Port-Durchmessern) offen (fluidverbunden) sein soll. Dieser Bereich befindet sich zwischen 55% und ca. 100% des (relativen) Kammervolumens.
  • In "A Scroll Compressor for Air Conditioners", Tojo et al., Purdue e-Pubs (Purdue University), International Compressor Engineering Conferenz, 1984, ist in Figur 11 das praktisch gleiche p-v-Diagramm gezeigt, wobei dort der Bereich des relativen Verdichterkammervolumens, in dem der Back-Pressure-Port offen sein soll, zwischen 55% und ca. 95% liegt.
  • In beiden p-v-Diagrammen ist in dem betrachten Volumenbereich ein (relativer) Druckabfall bzw. Druckanstieg um den Faktor 2 (von 2.0 auf 1.0 bzw. von 1.0 auf 2.0) erkennbar. Der Öffnungs-Startwert des back pressure ports liegt somit bei ca. 100% bzw. bei ca. 95% des relativen Verdichterkammervolumens.
  • In "Comuter Modeling of Scroll Compressor with Self Adjusting Back-Pressure Mechanism", Tojo et al., Purdue e-Pubs (Purdue University), International Compressor Engineering Conferenz, 1986, zeigt Figur 5 den Verlauf des relativen Verdichterkammervolumens in Abhängigkeit vom Rotationswinkel (Roll- oder Wellenwinkel Theta, Θ) des orbitierenden Scrolls. Der gezeigte Verlauf ist unterteilt in den Ansaugprozess, welcher dem Niederdruckbereich entspricht, den Kompressionsprozess und den Auslassprozess. Bei dem auf das relative Volumen bezogenen Öffnungsbereich des Ports zwischen 55% und 100% bzw. 95% aus Figur 12 ergibt sich ein Winkelbereich von 0° bis 335° (bei 100% Öffnungs-Startvolumen) bzw. 0° bis 300° (bei 95% Öffnungs-Startvolumen), in welchem der Port positioniert sein soll.
  • In "Dynamics of Compliance Mechanisms in Scroll Compressors, Part I: Axial Compliance", Nieter et al., Purdue e-Pubs (Purdue University), International Compressor Engineering Conferenz, 1990, ist die Winkelposition des back pressure ports (Figuren 7 und 8) diskutiert. Aus Figur 3 und Seite 309, vorletzter Absatz, vorletzer Satz, ergibt sich ein Winkelbereich von 360°, innerhalb dessen der Gegen- oder Mitteldruckkanal (Back-Pressure-Port) positioniert sein sollte.
  • Aus der EP 2 369 182 B1 ist ein Spiralkompressor mit einem Gehäuse bekannt, in dem ein feststehender Scroll mit einer Basisplatte und daran angeformter Spirale und ein um eine Umlaufachse umlaufender beweglicher Scroll mit ebenfalls einer Basisplatte und daran angeformter Spirale angeordnet sind. Zwischen der Basisplatte des feststehenden Scrolls und einem Gehäuseabschnitt ist eine Abgabekammer (Hochdruckkammer) gebildet. Eine im Gehäuse angeordnete Lagerzwischenwand mit einem Wellenlager begrenzt eine Saug- oder Zulaufkammer und bildet mit der Basisplatte des beweglichen Scrolls einen Gegendruckkammer (Backpressure-Kammer), die über einen Lieferkanal im beweglichen Scroll mit der Verdichterkammer zwischen den Scrolls kommuniziert. Die Abgabekammer und die Gegendruckkammer stehen über einen Sekundärlieferkanal in Verbindung, der sich im Wesentlichen axial durch eine Außenwand des feststehenden Scroll erstreckt. Der Sekundärlieferkanal liefert in der Abgabekammer mittels eines Ölseparator abgetrenntes Öl oder Kühlmittelgas in die Gegendruckkammer, um den Druck in der Gegendruckkammer nach einem Druckabfall in kurzer Zeit wiederherzustellen.
  • In der JP H09 177683 A und in der JP 3146963 B2 ist ein Scrollverdichter mit zwei asymmetrischen Spiralwänden beschrieben, welche unterschiedliche Spiralwinkel aufweisen. Dadurch weisen die Druckanstiegskurven in den zwischen den Spiralwänden gebildeten Verdichterkammern eine vorgegebene Phasendifferenz auf. Über eine Öffnung zu einer Gegendruckkammer sind die Verdichterkammern miteinander in schaltbarer Weise verbunden.
  • Aus der DE 197 20 790 A1 ist ein Scrollverdichter mit einem Stützkörper, mit welchem einer der Scrolls auf einer Seite abstützbar ist, bekannt. Der Scrollverdichter weist hierbei einen Zustellzylinder auf, mit welchem der Stützkörper derart beaufschlagbar ist, dass dieser die Scrolls aneinander anliegend hält, wobei der Stützkörper mit einer Führung im Wesentlichen unverkippbar geführt ist. In der DE 198 53 240 A1 ist weiterhin ausgeführt, dass hierbei der Stützkörper quer zu einer Achse schwimmend relativ zum Gehäuse geführt ist.
  • Der Erfindung liegt die Aufgabe zugrunde, einen besonders geeigneten, insbesondere elektromotorisch angetriebenen oder antreibbaren, Scrollverdichter als Kältemittelverdichter für eine Fahrzeugklimaanlage anzugeben. Insbesondere soll durch ein geeignetes Druckkanalsystem eine möglichst flexible und effektive Anpassung des Drucks in der Gegendruckkammer (Backpressure-Kammer) an Arbeitspunkte des Scrollverdichters für eine Fahrzeugklimaanlage, vorzugsweise im Kühlungs- und Wärmepumpenmodus, erzielt werden. Auch sollen Leckagen möglichst weitgehend reduziert und Reibungsverluste zwischen dem feststehenden Scroll und dem orbitierenden Scroll vermieden oder zumindest möglichst minimal gehalten werden.
  • Diese Aufgabe wird erfindungsgemäß gelöst durch die Merkmale des Anspruchs 1. Vorteilhafte Ausgestaltungen und Weiterbildungen sind Gegenstand der Unteransprüche.
  • Der Scrollverdichter weist in einem Gehäuse mit einer Hochdruckkammer und mit Verdichterkammern sowie mit einer Gegendruckkammer einen feststehenden Scroll und einen beweglich, d. h. im angetriebenen Zustand - also im Betreib (Verdichterbetrieb) - orbitierenden (oszillierenden) Scroll auf. Die Scrolls oder Scrollteile weisen jeweils eine Basisplatte und eine Spiralwand auf, wobei zwischen den ineinandergreifenden Spiralwänden der beiden Scrolls (Scrollteile) die Verdichterkammern gebildet sind. Die Basisplatte des feststehenden Scrolls begrenzt die Hochdruckkammer, und die Basisplatte des beweglichen Scrolls begrenzt die Gegendruckkammer.
  • Die Gegendruckkammer steht über eine zumindest teilweise im feststehenden Scroll verlaufende Druckleitung mit zumindest einer der Verdichterkammern in Verbindung. Die Druckleitung steht über einen ersten Kanal mit zumindest einer der Verdichterkammern und zudem über einen zweiten Kanal mit der Hochdrucckammer in Verbindung. Auf diese Weise entsteht in der Druckleitung, über welche die Gegendruckkammer strömungstechnisch mit der Hochdruckkammer und mit der zumindest einen Verdichterkammer kommuniziert, ein auch in der Gegendruckkammer wirkender statischer Druck. Der Scrollverdichter ist insbesondere für Kältemittel einer Fahrzeugklimaanlage vorgesehene und eingerichtete.
  • Geeigneterweise ist zumindest einer der Kanäle in der Basisplatte des feststehenden Scrolls angeordnet. Vorzugsweise sind der mit der Verdichterkammer verbundene erste Kanal und der mit der Hochdruckkammer verbundene zweite Kanal in der Basisplatte des feststehenden Scrolls angeordnet. In einer vorteilhaften Ausgestaltung ist der zweite Kanal in einem Filter (Filter-Einsatz) angeordnet, der in der Hochdruckkammer in eine Bohrungsöffnung eingesetzt ist, die in die Basisplatte auf deren Hochdruckkammer-Plattenseite eingebracht und dort von einem Positionier- und Haltekragen für den Filter-Einsatz umgeben ist.
  • Die Druckleitung weist zweckmäßigerweise mindestens einen ersten Leitungsabschnitt, der in der Basisplatte des feststehenden Scrolls angeordnet ist, und einen mit dem ersten Leitungsabschnitt verbundenen zweiten Leitungsabschnitt auf, der in einer Begrenzungswand des feststehenden Scrolls angeordnet ist. Die Begrenzungswand kann Bestandteil des feststehenden Scrolls oder des Gehäuses sein.
  • Gemäß einer ersten Alternative ist in einfacher Weise der erste Leitungsabschnitt radial in die Basisplatte und der zweiten Leitungsabschnitt axial oder schräg verlaufend in die Begrenzungswand des feststehenden Scrolls in Form jeweils einer Bohrung eingebracht werden, wobei die Bohrungen innerhalb der Basisplatte unter Bildung der Druckleitung ineinander münden bzw. ineinander übergehen.
  • Gemäß einer zweiten Alternative, bei der der zweite Kanal in einem Filter (Filter-Einsatz) angeordnet bzw. von diesem gebildet ist, sind ausgehend von der Bohrungsöffnung in der Basisplatte des feststehenden Scrolls zwei schräg verlaufende, erste Leitungsabschnitte vorgesehen. Eine dieser ersten Leitungsabschnitte verläuft zum zweiten Leitungsabschnitt in der Begrenzungswand und mündet in diese ein. Der andere dieser ersten Leitungsabschnitte verläuft zum ersten Kanal, d. h. innerhalb der Basisplatte des feststehenden Scrolls in Richtung der (gewählten) Position des ersten Kanals.
  • Die Gegendruckkammer ist mittels einer Zwischenwand von einer Niederdrucckammer abgegrenzt. In diese Zwischenwand, die geeigneterweise als Lagerschild für eine den beweglichen Scroll antreibende Welle dient, ist ein zur Gegendrucckammer führender (dritter) Leitungsabschnitt der Druckleitung angeordnet. Dieser Leitungsabschnitt kann wiederum in einfacher Weise als radiale Bohrung in der Zwischenwand ausgeführt sein. Alternativ ist dieser Leitungsabschnitt der Druckleitung als Nut in der Zwischenwand in Verbindung mit einer diese überdeckenden Platte (Wear-Plate) ausgeführt.
  • Die Querschnittsfläche der Druckleitung ist erfindungsgemäß um mindestens den Faktor zwei (2) größer als die Querschnittsfläche des mit der Verdichterkammer verbundenen ersten Kanals und des mit der Hochdruckkammer verbundenen zweiten Kanals. Zusätzlich oder alternativ ist erfindungsgemäß vorgesehen, dass die Querschnittsfläche des mit der Verdichterkammer verbundenen ersten Kanals wiederum größer ist als die Querschnittsfläche des mit der Hochdruckkammer verbundenen zweiten Kanals.
  • Geeigneterweise ist das Verhältnis zwischen der Querschnittsfläche des mit der Verdichterkammer verbundenen ersten Kanals und der Querschnittsfläche des mit der Hochdruckkammer verbundenen zweiten Kanals zwischen 3 (drei) und 5 (fünf), vorzugsweise 4 (vier). Zweckmäßigerweise sollten die Querschnittsflächen der beiden Kanäle möglichst klein sein.
  • Die Querschnittsfläche des mit der Verdichterkammer verbundenen ersten Kanals beträgt zweckmäßigerweise zwischen 0,03 mm2 und 1,5 mm2, vorzugsweise 0,2 mm2. Die Querschnittsfläche des mit der Hochdruckkammer verbundenen zweiten Kanals beträgt zweckmäßigerweise zwischen 0,008 mm2 und 0,2 mm2, vorzugsweise 0,05 mm2. Bezogen auf einen kreisrunden Kanalquerschnitt sollte der Durchmesser des ersten Kanals zwischen 0,2 mm und 1 mm, vorzugsweise 0,5 mm, und derjenige des zweiten Kanals zwischen 0,1 mm und 0,5 mm, vorzugsweise 0,25 mm, betragen.
  • In vorteilhafter Ausgestaltung sind der erste und/oder der zweite Kanal als Bohrung ausgeführt, welche in die Druckleitung mündet. Aufgrund der geringen Wanddicke (Wandstärke) der Basisplatte des feststehenden Scrolls im Bereich der beiden Kanäle wirkt die jeweilige Bohrung bzw. der jeweilige Kanal somit als Blende oder Drossel.
  • Diese strömungstechnische Regelung und eine effektive adaptive Anpassung des Drucks in der Gegendruckkammer an unterschiedliche Arbeitspunkte des Scrollverdichters (im Kühlungs- oder Wärmepumpen-Modus) wird dadurch unterstützt oder kann dadurch weiter verbessert werden, dass der mit der Verdichterkammer verbundene erste Kanal - ausgehend von einem relativen Kammervolumen von etwa 100% in der radial äußersten Verdichterkammer und einem Rotations- oder Wellenwinkel von 0° - bei einem Rotations- oder Wellenwinkel von (63,5 ± 5,5)° vollständig geöffnet ist und bis zu einem Rotations- oder Wellenwinkel von (343,5 ± 5,5)° geöffnet bleibt. Dies entspricht einer relativen Volumenänderung des Verdicherkammervolumens von (91,15 ± 0,75)° auf (23,0 ± 0,3)°.
  • Die radialen Abstände der beiden Kanäle zu einem in der feststehenden Basisplatte angeordneten und in die Hochdruckkammer führenden zentralen Auslass sind geeigneterweise unterschiedlich groß, so dass die bedien Känale bewusst nicht einander direkt (axial) gegenüberliegend angeordnet sind. Dabei kann der radiale Abstand des in die Hochdruckkammer führenden zweiten Kanals größer oder kleiner sein als der radiale Abstand des mit der Verdichterkammer verbundenen ersten Kanals zum zentralen Auslass.
  • Die mit der Erfindung erzielten Vorteile bestehen insbesondere darin, dass durch die beiden strömungsregelnden Kanäle in deren Verbindung mit der Druckleitung in dem feststehenden Scroll eine effektive und selbst einstellende Anpassung des Drucks in der Gegendruckkammer an den jeweiligen Arbeitspunkt des Scrollverdichters ohne zusätzliche strömungsregelnde Bauteile zur Strömungsdrosselung, wie beispielsweise Ventile, Düsen, Drosseln oder weitere Känale, Bohrungen oder Blenden erfolgt.
  • Die adaptive Regelung des Drucks in der Gegendruckkammer erfolgt mittels der beiden Kanäle und der Druckleitung im feststehenden Scroll bei einem Druckverhältnis zwischen Saugdruck (Niederdruck) und Hochdruck von 5 (bei einem Saugdruck von 3 bar und einem Hochdruck von 15 bar) ebenso zuverlässig selbst einstellend, wie bei einem Druckverhältnis von etwa 8 (bei einem Saugdruck von 3 bar und einem Hochdruck von 25 bar) oder 10 (bei einem Saugdruck von 1,5 bar und einem Hochdruck von 15 bar) für das Kältemittel R-134A (Arbeitspunkt beim Betrieb als Wärmepumpe).
  • Zudem kann mittels dieses Zwei-Kanal-Druckleitungs-Systems im feststehenden Scroll eine hohe Prozessstabilität für Serienfertigungen erreicht werden. So unterliegen die beiden Kanäle in dem feststehenden Scroll im Zuge einer Scroll-Beschichtung, beispielsweise einer Farbbeschichtung, quasi gleichen Bedingungen, so dass sich Toleranzen, die zu Schwankungen im Gegendruck- bzw. Backpressure-Niveau führen können, gegenseitig aufheben (herauskürzen).
  • Des Weiteren kann der Scrollverdichter aufgrund der adaptiven Anpassung des Drucks in der Gegendruckkammer bei Arbeitspunkten im Kühlungs- und im Wärmepumpenmodus mit hoher Effizienz betrieben werden, weil insbesondere Leckagen reduziert und Reibungsverluste zwischen den Scrollteilen auf ein Minimum gehalten werden können. So ist die in Folge des selbst einstellenden Drucks in der Gegendruckkammer wirksame Axialkraft aufgrund der adaptiven Anpassung nicht oder stets lediglich um einen geringen Betrag größer als die Summe der Axialkräfte in den Verdichterkammern, in denen im Verdichterbetrieb typischerweise unterschiedliche Drücke herrschen.
  • Die besonders effektive strömungstechnische Regelung und adaptive Anpassung des Drucks in der Gegendruckkammer an unterschiedliche Arbeitspunkte des Scrollverdichters wird vorteilhaft bestimmt bzw. beeinflusst durch die angegebenen Querschnittsverhältnisse der Druckleitung und der beiden Kanäle sowie deren Positionierung in Bezug auf die Verdichterkammer(n). So ist die Positionierung geeigneterweise derart gewählt, dass insbesondere der erste Kanal bei einem relativen Volumen der Verdichterkammer (Verdichterkammervolumen) von ca. 90% öffnet und im Zuge einer relativen Druckänderung bis zu einem relativen Volumen der Verdichterkammer von ca. 23% geöffnet bleibt, bevor der jeweilige Kanal während der orbitierenden Bewegung des orbitierenden Scrolls von dessen Spiralwand abgedeckt bzw. übergriffen wird und mit einer radial weiter außen liegenden Verdichterkammer in Verbindung (Überdeckung) steht.
  • Wenn der orbitierende Scroll vom Kompressionsvorgang des Kältemittel-Gas-Gemisches in den Verdichterkammern bis zum Ausstoßprozess des verdichteten Kältemittel-Gas-Gemisches in die Hochdruckkammer des Scrollverdichters typischerweise 2,5 Umdrehungen - und somit zwischen 0% und 100% relativem Verdichterkammervolumen - einen Winkelbereich von 900° durchläuft, sollte der die Verdichterkammer mit der Druckleitung verbindende erste Kanal im feststehenden Scroll bei einem Winkel (Spiralwinkel ϕ) von 350° bis 390°, insbesondere 370°, positioniert sein, wobei dieser Winkel ϕ ausgehend sowohl vom Anfang als auch vom Ende der Spiralwand (Scrollspirale) des feststehenden Scrolls gemessen (angelegt) sein kann.
  • Die Position des zweiten Kanals, der die Druckleitung mit der Hochdruckkammer innerhalb des Gehäuses des Scrollverdichters verbindet, ergibt sich praktisch zwangsläufig entlang derselben Radius- oder Winkellinie, wenn die Druckleitung bzw. deren erster Leitungsabschnitt geradlinig ist. Bei der Variante mit schräg verlaufenden ersten Leitungsabschnitten können die beiden axial beabstandeten Kanäle an zueinander unterschiedlichen Radial- und/oder Azimutalposionen angerordnet sein.
  • Nachfolgend wird ein Ausführungsbeispiel der Erfindung anhand einer Zeichnung näher erläutert. Darin zeigen:
  • Fig. 1
    in einer perspektivischen Seitenansicht einen Scrollverdichter mit einem elektromotorischen Antriebsmodul und mit einem Verdichtermodul,
    Fig. 2
    in einer Schnittdarstellung schematisch vereinfacht den elektromotorisch angetrieben Scrollverdichter mit einer Hochdruckkammer und mit einer Gegendruckkamer (Back-Pressure-Kammer) sowie mit in diese führendem Druckleitungs- bzw. Kanalsystem,
    Fig. 3
    in einer Schnittdarstellung den Scrollverdichter mit in einem Verdichtergehäuse einem feststehenden und einem beweglichen Scroll sowie mit einer zur Gegendruckkammer führenden Druckleitung mit jeweils einem Verbindungskanal (erster Kanal und zweiter Kanal) in die zwischen den Scrolls gebildeten Verdichterkammern einerseits und in die Hochdrucckammer andererseits,
    Fig. 4
    in einem Blockschaltbild die Druckrückführung aus der Hochdruckkammer und aus den scrollseitigen Verdichterkammern in die Gegendrucckammer sowie mit einer Ölrückführung in eine saug- bzw. motorseitige Niederdruckkammer,
    Fig. 5
    in einer perspektivischen Darstellung den feststehenden Scroll mit einem an einer innerhalb der Scrollwand (Scrollspirale) vorbestimmten Position (Winkel-Position) in der Basisplatte angeordneten Kanal (Bohrung) zur Druckleitung,
    Fig. 6
    in einer Draufsicht den feststehenden Scroll mit zwei eingezeichneten Winkelpositionen (Spiralwinkel) des zu einer Verdichterkammer führenden ersten Verbindungskanals in der Basisplatte,
    Fig. 7
    in einer perspektivischen Darstellung den feststehenden Scroll mit Blick auf die hochdruckkammerseitige Plattenfläche (Plattenseite) dessen Basisplatte und darin angeordneter Aufnahmeöffnung für einen Filtereinsatz mit dem (zweiten) Verbindungskanal zur Hochdruckkammer,
    Fig. 8
    den feststehenden Scroll gemäß Fig. 7 in einer Draufsicht, und
    Fig. 9
    einen Schnitt IX-IX aus Fig. 8 mit von der Aufnahmeöffnung für den Filtereinsatz ausgehenden Leitungsabschnitten der Druckleitung zum ersten Verbindungskanal und zu einem Leitungsabschnitt in einer (radial äußeren) Begrenzungswand des feststehenden Scrolls.
  • Einander entsprechende Teile und Größen sind in allen Figuren stets mit den gleichen Bezugszeichen versehen.
  • Der in Fig. 1 dargestellte Kältemittelverdichter 1 ist in einem nicht näher dargestellten Kältemittelkreislauf einer Klimaanlage eines Kraftfahrzeugs verbaut. Der elektromotorische Kältemittelverdichter 1 weist ein elektrisches (elektromotorisches) Antriebsmodul 2 sowie ein mit diesem gekoppeltes Verdichtermodul in Form eines Scrollverdichter 3 auf. Über eine zwischen dem Antriebsmodul 2 und dem Scrollverdichter 3 gebildete mechanische Schnittstelle 4 ist der Scrollverdichter 3 antriebstechnisch an das Antriebsmodul 2 angebunden. Die mechanische Schnittstelle 4 dient als antriebsseitiges Lagerschild und bildet eine Zwischenwand 5 (Figuren 2 und 3). Der Scrollverdichter 3 ist mittels umfangsseitig verteilten, sich in Axialrichtung A des Kältemittelverdichters 1 erstreckenden Flanschverbindungen 6 mit dem Antriebsmodul 2 verbunden (gefügt, verschraubt).
  • Ein Gehäuseteilbereich eines Antriebsgehäuses 7 des Kältemittelverdichters 1 ist als ein Motorgehäuse 7a zur Aufnahme eines Elektromotors 13 (Fig. 2) ausgebildet und einerseits durch eine integrierte Gehäusezwischenwand 7b (Fig. 2) zu einem mit einem Gehäusedeckel 7c versehenen Elektronikgehäuse 7d mit einer den Elektromotor 13 ansteuernden Motorelektronik (Elektronik) 8 und andererseits durch die mechanische Schnittstelle 4 mit dem Lagerschild und der Zwischenwand 5 verschlossen. Das Antriebsgehäuse 7 weist im Bereich des Elektronikgehäuses 7b einen Anschlussabschnitt 9 mit zur Elektronik 8 geführten Motoranschlüssen 9a und 9b zur elektrischen Kontaktierung der Elektronik 8 an ein Bordnetz des Kraftfahrzeugs auf.
  • Das Antriebsgehäuse 7 weist einen Kältemittel-Einlass oder Kältemittel-Zulauf 10 zum Anschluss an den Kältemittelkreislauf und einen Kältemittel-Auslass 11 auf. Der Auslass 11 ist an dem Boden eines Verdichtergehäuses 12 des Scrollverdichter 3 angeformt. Im angeschlossenen Zustand bildet der Einlass 10 die Niederdruck- oder Saugseite (Sauggasseite) und der Auslass 11 die Hochdruck- oder Pumpseite (Pumpenseite) des Kältemittelverdichters 1.
  • Fig. 2 zeigt schematisch den elektromotorischen Kältemittelverdichter 1 in einer Schnittdarstellung entlang einer Rotationsachse 14 des Elektromotors 13, der hier ein bürstenloser Gleichstrommotor (BLDC) ist und einen zylindrischen Rotor 15 aufweist. Dieser ist umfangsseitig mittels eines hohlzylindrischen Stators 16 umgeben. Der Rotor 15 umfasst eine Anzahl an Permanentmagneten und ist mittels einer Welle 17 drehbar um die Rotationsachse 14 gelagert. Der Stator 16 weist eine Anzahl von elektrischen Spulen auf, die mittels der Elektronik 8 bestromt sind, welche wiederum die beispielsweise mit einem Bus-Systems und dem Bordnetz des Kraftfahrzeugs verbunden ist.
  • Die Elektronik 8 ist im Elektronikgehäuse 7d des Antriebsgehäuses 7 angeordnet, das von dem Stator 16 und dem Rotor 15 mittels der Zwischenwand 5 getrennt ist. Der Gehäusedeckel 7c, der mittels Schrauben am Elektronikgehäuse 7d lösbar befestigt ist, verschließt eine Zugangsöffnung des Elektronikgehäuses 7b. Die Motorelektronik 8 weist Leiterplatten 18, 19 auf, die in Axialrichtung A übereinander angeordnet sind. Eine Brückenschaltung der Leiterplatte 18, welche der Gehäusezwischenwand 7b nächstgelegen ist, ist über Bestromungsleitungen 19, welche durch die Gehäusezwischenwand 7b geführt sind, mit den elektrischen Spulen des Stators 16 kontaktiert. Die Brückenschaltung wird mittels des Bordnetzes gespeist und mittels einer Ansteuerschaltung der anderen Leiterplatte 19 gesteuert, die signaltechnisch mit dem Bus-System verbunden ist.
  • Wie in Verbindung mit Fig. 3 vergleichsweise deutlich ersichtlich ist, weist der Scrollverdichter 3 einen im Verdichtergehäuse 12 angeordneten beweglichen Scroll (Scrollteil) 21 auf. Dieser ist über einen exzentrischen Wellenzapfen 17a mit beispielsweise zwei Fügestiften, von denen nur ein Fügezapfen 17b sichtbar ist, an die Welle 17 des Elektromotors 13 gekoppelt, die in die mechanischen Schnittstelle 4 mit A-seitigem Lagerschild geführt ist. Der exzentrische Wellenzapfen 17a ist in einem im beweglichen Scroll 21 gehaltenen Wälz- oder Kugellager 22a gelagert. Ein weiteres, die Welle 17 lagerndes Wälz- oder Kugellager 22b ist in der als A-seitiges Lagerschild dienenden mechanischen Schnittstelle 4 und dort in der Zwischenwand 5 angeordnet. Der bewegliche Scroll (Scrollteil) 21 ist im Betrieb des Scrollverdichters 3 orbitierend angetrieben.
  • Der Scrollverdichter 3 weist zudem einen starr im Verdichtergehäuse 12 befestigten feststehenden Scroll (Scrollteil) 23 auf. Die beiden Scrolls (Scrollteile) 21, 23 greifen mit deren schnecken- oder spiralförmigen Scrollwänden (Scrollspiralen) 21a, 23a ineinander, die von einer jeweiligen Basisplatte 21b, 23b axial emporragen. Zwischen den Scrolls 21, 23, d. h. zwischen deren Scrollwänden bzw. Scrollspiralen 21a, 23a und den Basisplatten 21b, 23b sind Verdichterkammern 24 gebildet, deren Volumen bei Betrieb des Elektromotors 13 verändert wird.
  • Zwischen dem A-seitigen Lagerschild und dem beweglicher Scroll 21 befindet sich in der Zwischenwand 5 eine Gegendruckkammer (Backpressure-Kammer) 25. Diese ist im - nachfolgend einfach als Gehäuse bezeichneten - Verdichtergehäuse 12 von der Basisplatte 21b des beweglichen Scrolls 21 und/oder von einer Zwischenplatte (Wear-Plate) 5a (Fig. 3) in Form einer Stahlplatte begrenzt, welche als gute Gleiteigenschaften für den orbitierenden Scroll 21 aufweist. Die Gegendrucckammer 25 erstreckt sich bereichsweise in die Basisplatte 21b des beweglichen Scrolls 21 hinein.
  • Beim Betrieb wird das Kältemittel durch den Zulauf 10 in das Antriebsgehäuse 7 und dort in das Motorgehäuse 7a eingeleitet. Dieser Bereich des Antriebsgehäuses 7 bildet die Saug- oder Niederdruckseite 26. Mittels der Gehäusezwischenwand 7b wird ein Eindringen des Kältemittels in das Elektronikgehäuse 7d verhindert. Innerhalb des Antriebsgehäuses 7 wird das Kältemittel mit in dem Kältemittelkreislauf vorhandenem Öl vermischt und entlang des Rotors 15 und des Stators 16 durch eine Öffnung (oder mehrere Öffnungen, Fig. 3) 27 in der Zwischenwand 5 zum Scrollverdichter 3 gesaugt. Mittels des Scrollverdichters 3 wird das Gemisch aus Kältemittel und Öl verdichtet, wobei das Öl der Schmierung der beiden Scrolls 21, 23 dient, sodass eine Reibung verringert und folglich ein Wirkungsgrad erhöht ist. Auch dient das Öl der Abdichtung, um ein unkontrolliertes Entweichen von dem zwischen den beiden Scrolls (Scrollteilen) 21, 23 befindlichen Kältemittel zu vermeiden.
  • Das verdichtete Gemisch aus Kältemittel und Öl wird über einen zentralen Auslass 28 in der Basisplatte 23b des feststehenden Scrolls 23 in eine Hochdruckkammer 29 innerhalb des Verdichtergehäuses 12 geleitet. In der Hochdruckkammer 29 befindet sich ein Ölabscheider (Zyklonabscheider) 30. Innerhalb des Ölabscheiders 30 wird das Gemisch aus Kältemittel und Öl in eine Rotationsbewegung versetzt, wobei das schwerere Öl aufgrund der erhöhten Trägheit und erhöhten Masse zu den Wänden des Ölabscheiders 30 geleitet und in einem unteren Bereich des Ölabscheiders 30 gesammelt wird, während das Kältemittel nach oben oder seitlich durch den Auslass 11 abgeführt wird.
  • Wie in Fig. 3 vergleichsweise deutlich ersichtlich ist, ist die Hochdruckkammer 29 innerhalb des Gehäuses 12 mittels der Basisplatte 23b des feststehenden Scrolls 23 begrenzt. Der zentrale Auslass 28 in die Hochdruck- oder Auslasskammer 29, der sich in der radial innersten Kammerbereich 24' der Verdichterkammern 24 befindet, ist in die Basisplatte 23b des feststehenden Scrolls 23 als Bohrung eingebracht. Innerhalb der Hochdruckkammer 29 ist der zentrale Auslass 28 mit einem Federventil (Fingerfeder-Ventil) 33 verschlossen, solange der Druck in den Verdichterkammern 24 geringer ist als der Druck in der Hochdruckkammer 29. Wird der Druck des verdichteten Kältemittel-Öl-Gemisches in den Verdichterkammern 24, insbesondere im der zentralen Kammerbereich 24`, größer als der Druck in der Hochdruckkammer 29, so öffnet das Federventil 33 quasi automatisch.
  • Ein Anschlagelement 34, das in der Hochdruckkammer 29 am feststehenden Scroll 23, beispielsweise an dessen Basisplatte 23b, befestigt ist, begrenzt den Hub des Federventils 33. Wenn der Druck auf unterhalb des Drucks in der Hochdruckkammer 29 abgesunken ist, verschließt das Federventil 33 den Auslass 28 erneut selbsttätig aufgrund dessen Federvorspannung. Auf diese Weise gelangt das verdichtete Kältemittel-Öl-Gemisches -je nach Drehzahl der Welle 17 bzw. in Abhängigkeit vom Arbeitspunkt des Scrollverdichters 3 - kontinuierliche (durchgängig) oder stoßweise oder pulsierend über den zentralen Auslass 28 aus den Verdichterkammer 24 in die Hochdruckkammer 29.
  • Im feststehenden Scroll 23 ist eine Druckleitung 35 vorgesehen, über welche die Verdichterkammern 24 und die Hochdruckkammer 29 strömungstechnisch mit der Gegendruckkammer 25 kommunizieren. Hierzu steht die Druckleitung 35 über einen ersten Kanal 36 mit den zwischen den Scrollwänden 21a, 23a gebildeten Verdichterkammern 24 und über einen zweiten Kanal 37 mit der Hochdruckkammer 29 in einem Bereich in Verbindung, der bei Betrieb im Wesentlichen das Kältemittel und nur eine geringe Menge Öl aufweist.
  • Fig. 4 zeigt schematisch in einem Blockschaltbild die strömungstechnische bzw. druckführende Verbindung der Gegendruckkammer 25 über die Druckleitung 35 und die beiden Kanäle 36, 37, die als Blenden bzw. als Drosseln wirksam sind, einerseits mit der Hochdruckkammer 29 und andererseits mit den Verdichterkammern 24. Der in die Basisplatte 23b des feststehenden Scrolls 23, beispielsweise als Bohrung, eingebrachte erste Kanal ist ebenso wie dessen Blenden- oder Drosselsymbol mit dem Bezugszeichen 36 versehen.
  • Ebenfalls in Fig. 4 veranschaulicht ist eine als unterbrochene (strichlinierte) Linie dargestellte Ölrückführung 38, inklusive Drosselorgan 39, aus der Hochdrucckammer 29 im Bereiche des Ölabscheiders 30 in die Niederdruckkammer (Sauggaskammer) 26. Diese steht über die Sauggasöffnung 27 mit den Verdichterkammern 24 des Scrollverdichters 3 strömungstechnisch in Verbindung, wie durch die unterbrochene Pfeillinie 40 veranschaulicht.
  • Bei der Ausführungsform gemäß Fig. 3 ist die Druckleitung 35 aus einem ersten Leitungsabschnitt 35a, der in die Basisplatte 23b des feststehenden Scrolls 23 geeigneterweise als radial verlaufende Bohrung eingebracht ist, und aus einem zweiten Leitungsabschnitt 35b gebildet, der geeigneterweise als axial verlaufende Bohrung in eine topfförmige Begrenzungswand 23c des feststehenden Scrolls 23 angeordnet ist. Auch kann der zweiten Leitungsabschnitt 35b in die (axiale) Gehäusewand des Verdichtergehäuses 12 eingebracht sein. Die Bohrungen bzw. Leitungsabschnitte 35a, 35b münden innerhalb der Basisplatte 23b ineinander bzw. gehen ineinander über. Die Eintrittsöffnung der radialen Bohrung des ersten Leitungsabschnitts 35a ist am Umfang der Begrenzungswand 23c in nicht näher dargestellter Art und Weise verschlossen.
  • Die Gegendruckkammer 25 ist mittels der Zwischenwand 5 von der Saug- oder Niederdruckkammer 26 abgegrenzt. In die Zwischenwand 5, welche als Lagerschild die Lager 22a und 22b für den Wellenzapfen 17a und die Welle 17 aufnimmt, ist ein zur Gegendruckkammer 25 führender dritter Leitungsabschnitt 35c der Druckleitung 35 angeordnet. Dieser Leitungsabschnitt 35c kann analog als radial verlaufende Bohrung in der Zwischenwand 5 ausgeführt sein. Alternativ kann der dritte Leitungsabschnitt 35c in die Zwischenwand (Schnittstelle) 5 als zum orbitierenden Scroll 21 hin offene und durch die Zwischenplatte (Ware-Plate) 5a verschlossene Nut ausgeführt sein.
  • Die Querschnittsfläche der Druckleitung 35 ist um ein Vielfaches, beispielsweise um das zehnfache, kleiner als die Querschnittsfläche des zentralen Auslasses 28. Die Querschnittsfläche der Druckleitung 35 ist jedoch um ein Vielfaches größer als die Querschnittsfläche der beiden Kanäle 36 und 37. Zudem ist die Querschnittsfläche des mit den Verdichterkammern 24 verbundenen ersten Kanals 36 größer als die Querschnittsfläche des mit der Hochdruckkammer 29 verbundenen zweiten Kanals 37.
  • Der Durchmesser des zentralen Auslasses 28 beträgt zwischen 5 mm und 10 mm. Der Durchmesser der Druckleitung 35 beträgt zwischen 1 mm und 10 mm. Der Durchmesser des ersten Kanals 36 beträgt beispielsweise 0,5 mm, und der Durchmesser des zweiten Kanals 37 beträgt beispielsweise 0,25 mm, jeweils bei kreisförmigem Bohrungs- oder Kanalquerschnitt.
  • Der erste Kanal 36 und der zweite Kanal 37 sind als Bohrungen ausgeführt und (strömungstechnisch) als Blende bzw. Drossel wirksam. Mit diesem, aus der Druckleitung 35 und den beiden Kanälen 36, 37 gebildeten Kanalsystem wird eine strömungstechnisch besonders effektive Regelung des (statischen) Drucks in der Gegendruckkammer 25 erreicht. Der radiale Abstand des mit den Verdichterkammern 24 verbundenen ersten Kanals 36 zum in der Basisplatte 23b des feststehenden Scrolls 23 angeordneten und in die Hochdruckkammer 29 führenden zentralen Auslass 28 ist im Ausführungsbeispiel größer als der radiale Abstand des mit der Hochdruckkammer 29 verbundenen zweiten Kanals 37 zum zentralen Auslass 28. Jedoch kann der zweite Kanal 37 auch näher am zentralen Auslass 28 angeordnet sein als der erste Kanal 36. Wesentlich ist, dass die beiden Kanäle 36 und 37 nicht direkt axial einander gegenüberliegend angeordnet sind.
  • Aufgrund des bei Betrieb vorherrschenden statischen Drucks innerhalb der Gegendruckkammer 25 ist der bewegliche Scroll 21 druckbeaufschlagt und wird, wie durch die mit FG bezeichneten Kraftpfeile veranschaulicht, entlang der Rotationsachse 14 gegen den feststehenden Scroll 23 gepresst. Diese Kraft (Gegenkraft) FG wirkt der durch die Kraftpfeile veranschaulichten Axialkraft Fv entgegen, die in Folge des in den Verdichterkammern 24 herrschenden Drucks wiederum auf den beweglichen Scroll 21 wirkt. Zusammen mit dem aus der Hochdruckkammer 29 über die Druckleitung 35 an die Gegendruckkammer 25 übertragenen (weitergegebenen) Druck stellt sich ein Kräftegleichgewicht (FG = Fv) und damit die gewünschte Dichtwirkung zwischen den beiden Scrolls 21, 23 ein.
  • Die Figuren 5 und 6 zeigen in einer perspektivischen Darstellung bzw. in einer Draufsicht den feststehenden Scroll 23 mit dem ersten Kanal 36, der in der Basisplatte 23b an einer innerhalb der Scrollwand (Scrollspirale) 23a vorbestimmten Winkelposition PK1 angeordnet ist und dort zur Druckleitung 35, d. h. zu deren innerhalb der Basisplatte 23b verlaufenden ersten Leitungsabschnitt 35a führt. Die Position PK1 des ersten Kanals 36 befindet sich ausgehend von dem in Fig. 6 als Winkellinie ϕ1s eingezeichneten Spiral-Anfang der Spiralwand 23a des feststehenden Scrolls 23 vorzugsweise bei dem Spiralwinkel ϕ1 = 370°. Auch ist eine Position PK2 des ersten Kanals 36 ausgehend vom in Fig. 6 als Winkellinie ϕ2s eingezeichneten Spiral-Ende der Spiralwand 23a des feststehenden Scrolls 23 bei dem Spiralwinkel ϕ2 = 370 zweckmäßig. Erkennbar ist auch der in den dritten Leitungsabschnitt 35c mündende Kanalaustritt des zweiten Leitungsabschnitts 35b innerhalb der, vorzugsweise umlaufend geschlossenen, Begrenzungswand 23c des feststeheden Scrolls 23.
  • Die Figuren 7 und 8 zeigen in einer perspektivischen Darstellung bzw. in einer Draufsicht den feststehenden Scroll 23 mit Blick auf dessen in der Hochdrucckammer 29 befindlichen Plattenseite der Basisplatte 23b. Dort befindet sich eine Aufnahmeöffnung 41 in die Verdichterkammern 24. In diese Aufnahmeöffnung 41 ist eine Filter (Filter-Einsatz) 42 aufgenommen, der einen Filterschaft 42a und einen Blenden- oder Drosselkopf 42b aufweist, in welchem der zweite Kanal 37, beispielsweise als zentrale Bohrung, vorgesehen ist. Die Öffnung 41 ist zur Aufnahme, Positionierung und/oder Lagestabilisierung des Blenden- oder Drosselkopfes 42b des Filters (Filter-Einsatzes) 42 von einer Wandung 43 kragenartig umgeben.
  • Fig. 9 zeigt eine Schnittdarstellung des feststehenden Scrolls 23 entlang der Linien IX-IX in Fig. 8. Bei dieser Ausführungsform ist der erste Leitungsabschnitt 35a der Druckleitung 35 durch zwei Abschnitte a1, a2 in Form schräg verlaufender Bohrungen gebildet, die von der Aufnahmeöffnung 41 her in die Basisplatte 23b eingebracht sind. Der erste Abschnitt a1 verläuft in Richtung des Zentrums bzw. zum mittleren Bereich der Basisplatte 23b. Der zweite Abschnitt a2 verläuft zum zweiten Leitungsabeschnitt 35b der Druckleitung 35 in der Begrenzungswand 35c des feststehenden Scrolls 23 und mündet dort in den zweiten Leitungsabschnitt 35b der Druckleitung 35. In den ersten Abschnitt a1 des ersten Leitungsabschnitts 35a der Druckleitung 35 mündet der erste Kanal 36 unter Herstellung der (druck- und/oder strömungstechnischen) Verbindung der Verdichterkammern 24 mit der Druckleitung 35 und über diese mit der in Figur 9 nicht gezeigten Gegendrucckammer 25.
  • Durch die beiden strömungsregelnden Kanäle 36, 37 und deren Verbindung zu der in die Gegendruckkammer 25 führenden Druckleitung 35 in dem feststehenden Scroll 23 wird eine besonders effektive, selbst einstellende Anpassung des Drucks in der Gegendruckkammer 25 in praktisch allen Arbeitsbereichen oder - punkten des Scrollverdichters 3 erreicht. So erfolgt die adaptive Regelung des Drucks in der Gegendruckkammer 25 mittels der beiden Kanäle 36, 37 und der Druckleitung 35 im feststehenden Scroll 23 bei einem Saugdruck (Niederdruck) von 3 bar und einem Hochdruck von 15 bar ebenso zuverlässig und selbst einstellende, wie bei einem Saugdruck von 3 bar und einem Hochdruck von 25 bar oder einem Saugdruck von 1,5 bar und einem Hochdruck von 15 bar (Arbeitspunkt im Wärmepumpenbetrieb). Der Scrollverdichter 3 und somit der Kältemittelverdichter 1 kann daher bei Arbeitspunkten im Kühlungs- und im Wärmepumpenmodus einer Fahrzeugklimaanlage mit hoher Effizienz betrieben werden.
  • Die strömungstechnische Regelung und adaptive Anpassung des Drucks in der Gegendruckkammer 25, auch an unterschiedlichen Arbeitspunkte des Scrollverdichters 3, kann durch die Querschnittsverhältnisse der Druckleitung 35 und der beiden Kanäle 36, 37 sowie deren Positionierung in Bezug auf die Verdichterkammer(n) 24 beeinflusst werden. So ist die Position PK1, PK2 des ersten Kanals 36 derart gewählt, dass dieser bei einem relativen Volumen der Verdichterkammer 24 von ca. 90% öffnet und bis zu einem relativen Kammervolumen von ca. 25% geöffnet bleibt.
  • Der orbitierenden Scroll 21 durchläuft vom Kompressionsvorgang des Kältemittel-Gas-Gemisches in den Verdichterkammern 24 bis zum Ausstoßprozess des verdichteten Kältemittel-Gas-Gemisches über den zentralen Auslass 28 in die Hochdruckkammer 29 des Scrollverdichters 3 typischerweise einen Winkelbereich von 900°. Daher ist der die Verdichterkammern 24 mit der Druckleitung 35 verbindende erste Kanal 36 im feststehenden Scroll 23 geeigneterweise an der in Fig. 4 veranschaulichten Position PK1, PK2 bei dem entsprechenden Spralwinkel ϕ1,2 = 370° positioniert.
  • Zusammenfassend weist der, insbesondere für Kältemittel einer Fahrzeugklimaanlage vorgesehene und eingerichtete, Scrollverdichter 3 in einem Verdichtergehäuse 12 mit einer Hochdruckkammer 27 und mit Verdichterkammern 24 sowie mit einer Gegendruckkammer (Backpressure-Kammer) 25 einen feststehenden Scroll 23 und einen beweglich, im Verdichterbetrieb orbitierenden (oszillierenden, eine Rollbewegung durchführenden) Scroll 21 auf. Dabei bilden die Scrolls 21, 23, die jeweils eine Basisplatte 21a, 23a und eine mit dieser einteilige (an diese angeformte) Scroll- oder Spiralwand 21a, aufweisen, zwischen deren ineinandergreifenden Scroll- oder Spiralwänden 21a bzw. 23a die Verdichterkammer(n) 24. Die Basisplatte 23b des feststehenden Scrolls 23 begrenzt die Hochdruckkammer 27, und die Basisplatte 21b des beweglichen Scrolls 21 begrenzt die Gegendrucckammer 25.
  • Die Gegendruckkammer 25 steht über eine zumindest teilweise im feststehenden Scroll 23 verlaufende Druckleitung 35 und einen ersten Kanal 36 mit zumindest einer der Verdichterkammern 24 und über einen zweiten Kanal 37 mit der Hochdruckkammer 27 in Verbindung. Dabei entsteht bzw. herrscht betriebsbedingt in der Druckleitung 35, über welche die Gegendruckkammer 25 strömungstechnisch mit der Hochdruckkammer 27 und mit der zumindest einen der Verdichterkammern 24 kommuniziert, ein auch in der Gegendruckkammer 25 wirkender statischer Druck.
  • Die beanspruchte Erfindung ist nicht auf die vorstehend beschriebenen Ausführungsbeispiele beschränkt. Vielmehr können auch andere Varianten der Erfindung von dem Fachmann hieraus im Rahmen der Ansprüche abgeleitet werden, ohne den Gegenstand der beanspruchten Erfindung zu verlassen.
  • Bezugszeichenliste
  • 1
    Kältemittelverdichter
    2
    Antriebsmodul
    3
    Scrollverdichter/Verdichtermodul
    4
    Schnittstelle
    5
    Lagerschild/Zwischenwand
    5a
    Zwischenplatte/Ware-Plate
    6
    Flanschverbindung
    7
    Antriebsgehäuse
    7a
    Motorgehäuse
    7b
    Gehäusezwischenwand
    7c
    Gehäusedeckel
    7d
    Elektronikgehäuse
    8
    Motorelektronik
    9
    Anschlussabschnitt
    9a,b
    Motoranschluss
    10
    Einlass/Zulauf
    11
    Auslass
    12
    Verdichtergehäuse
    13
    Elektromotor
    14
    Rotorachse
    15
    Rotor
    16
    Stator
    17
    Welle
    17a
    Wellenzapfen
    17b
    Fügestift
    18,19
    Leiterplatte
    20
    Bestromungsleitung
    21
    beweglicher/orbitierender Scroll/-teil
    21a
    Scrollwand/-spirale
    21b
    Basisplatte
    22a,b
    Wälz-/Kugellager
    23
    feststehender Scroll/-teil
    23a
    Scrollwand/-spirale
    23b
    Basisplatte
    23c
    Begrenzungswand
    24
    Verdichterkammer
    24'
    Kammerbereich
    25
    Gegendruckkammer
    26
    Niederdruck-/Saugseite
    27
    Öffnung
    28
    zentraler Auslass
    29
    Hochdruck-/Auslasskammer
    30
    Ölabscheider
    31
    Bypasskanal
    32
    Drosselorgan
    33
    Federventil
    34
    Anschlagelement
    35
    Druckleitung
    35a
    erster Leitungsabschnitt
    35b
    zweiter Leitungsabschnitt
    35c
    dritter Leitungsabschnitt
    36
    erster Kanal
    37
    zweiter Kanal
    38
    Ölrückführung
    39
    Drosselorgan
    40
    (unterbrochene) Pfeillinie
    41
    Aufnahmeöffnung
    42
    Filter-/Einsatz
    42a
    Filterschaft
    42b
    Drossel-/Blendenkopf
    a1
    erster Abschnitt
    a2
    zweiter Abschnitt
    ϕ1,2
    Spiralwinkel
    ϕ1s
    Spiral-Anfang
    ϕ2s
    Spiral-Ende
    A
    Axialrichtung
    FG
    Gegenkraft
    FV
    Axialkraft
    PK1,2
    Position von 36

Claims (12)

  1. Scrollverdichter (3) für Kältemittel einer Fahrzeugklimaanlage, aufweisend
    - ein Gehäuse (12) mit einer Hochdruckkammer (29) und mit Verdichterkammern (24) sowie mit einer Gegendruckkammer (25),
    - einen feststehenden Scroll (23) mit einer Basisplatte (23b) und mit einer Spiralwand (23a), wobei die Basisplatte (23b) des feststehenden Scrolls (23) die Hochdruckkammer (29) begrenzt,
    - einen beweglichen Scroll (21) mit einer Basisplatte (21b) und mit einer Spiralwand (21a), die in die Spiralwand (23b) des feststehenden Scrolls (23) eingreift und mit dieser die Verdichterkammern (24) bildet, wobei die Basisplatte (21b) des beweglichen Scrolls (21) die Gegendruckkammer (25) begrenzt,
    dadurch gekennzeichnet,
    - dass die Gegendruckkammer (25) über eine Druckleitung (35) mit den Verdichterkammern (24) und mit der Hochdruckkammer (29) in Verbindung steht, wobei die Druckleitung (35) zumindest teilweise im feststehenden Scroll (23) verläuft und über einen ersten Kanal (36) mit zumindest einer der Verdichterkammern (24) sowie über einen zweiten Kanal (37) mit der Hochdruckkammer (29) verbunden ist,
    - dass die Querschnittsfläche der Druckleitung (35) um mindestens den Faktor zwei größer ist als die Querschnittsfläche des mit der Verdichterkammer (24) verbundenen ersten Kanals (36) und des mit der Hochdruckkammer verbundenen zweiten Kanals (37) und/oder
    - dass die Querschnittsfläche des mit der Verdichterkammer (24) verbundenen ersten Kanals (36) größer ist als die Querschnittsfläche des mit der Hochdruckkammer (29) verbundenen zweiten Kanals (37).
  2. Scrollverdichter (3) nach Anspruch 1,
    dadurch gekennzeichnet,
    dass der erste Kanal (36), der mit der zumindest einen der Verdichterkammern (24) verbunden ist, und/oder der mit der Hochdruckkammer (29) verbundene zweite Kanal (37) in der Basisplatte (23b) des feststehenden Scrolls (23) angeordnet sind bzw. ist.
  3. Scrollverdichter (3) nach Anspruch 1 oder 2,
    dadurch gekennzeichnet,
    - dass die Druckleitung (35) einen ersten Leitungsabschnitt (35a) aufweist, der in der Basisplatte (23b) des feststehenden Scrolls (23) angeordnet ist, und
    - dass die Druckleitung (35) einen mit dem ersten Leitungsabschnitt (35a) verbundenen zweiten Leitungsabschnitt (35b) aufweist, der in einer Begrenzungswand (23c) des feststehenden Scrolls (23) oder in einer Gehäusewand des Gehäuses (12) angeordnet ist.
  4. Scrollverdichter (3) nach einem der Ansprüche 1 bis 3,
    dadurch gekennzeichnet,
    dass die Gegendruckkammer (25) von einer Niederdruckkammer (26) mittels einer Zwischenwand (5) abgegrenzt ist, in welcher ein zur Gegendrucckammer (25) führender, insbesondere als Bohrung oder Nut ausgebildeter, dritter Leitungsabschnitt (35c) der Druckleitung (35) angeordnet ist.
  5. Scrollverdichter (3) nach einem der Ansprüche 1 bis 4,
    dadurch gekennzeichnet,
    dass das Verhältnis der Querschnittsfläche der Druckleitung (35) zur Querschnittsfläche des mit der Verdichterkammer (24) verbundenen ersten Kanals (36) zwischen 10 und 100 ist, vorzugsweise zwischen 15 und 70.
  6. Scrollverdichter (3) nach einem der Ansprüche 1 bis 4,
    dadurch gekennzeichnet,
    dass das Verhältnis der Querschnittsfläche der Druckleitung (35) zur Querschnittsfläche des mit der Hochdruckkammer (29) verbundenen zweiten Kanals (36) zwischen 50 und 500 ist.
  7. Scrollverdichter (3) nach einem der Ansprüche 1 bis 6,
    dadurch gekennzeichnet,
    dass die Querschnittsfläche des mit der Verdichterkammer (24) verbundenen ersten Kanals (36) zwischen 0,03 mm2 und 1,5 mm2, vorzugsweise 0,2 mm2, beträgt.
  8. Scrollverdichter (3) nach einem der Ansprüche 1 bis 7,
    dadurch gekennzeichnet,
    dass die Querschnittsfläche des mit der Hochdruckkammer (29) verbundenen zweiten Kanals (37) zwischen zwischen 0,008 mm2 und 0,2 mm2, vorzugsweise 0,05 mm2, beträgt.
  9. Scrollverdichter (3) nach einem der Ansprüche 1 bis 8,
    dadurch gekennzeichnet,
    dass das Verhältnis zwischen der Querschnittsfläche des mit der Verdichterkammer (24) verbundenen ersten Kanals (36) und der Querschnittsfläche des mit der Hochdruckkammer (29) verbundenen zweiten Kanals (37) zwischen 2 und 10, vorzugsweise zwischen 3 und 5, weiter vorzugsweise 4, beträgt.
  10. Scrollverdichter (3) nach einem der Ansprüche 1 bis 9,
    dadurch gekennzeichnet,
    dass der erste Kanal (36) und/oder der zweite Kanal (37) als Bohrung ausgeführt und/oder als Blende oder Drossel wirksam ist bzw. sind.
  11. Scrollverdichter (3) nach einem der Ansprüche 1 bis 10,
    dadurch gekennzeichnet,
    - dass der orbitierende Scroll (21) vom Kompressionsvorgang in den Verdichterkammern (24) bis zum Ausstoßprozess über einen zentralen Auslass (28) in die Hochdruckkammre (29) einen Winkelbereich von 900° durchläuft, und
    - dass der mit der Verdichterkammer (24) verbundene erste Kanal (36) ausgehend vom radial außenseitigen Anfang und/oder vom radial innenseitigen Ende der Spiralwand (23a) des feststehenden Scrolls (23) bei einem Spiralwinkel (ϕ1,2) von 350° bis 390°, vorzugsweise 370°, angeordnet ist.
  12. Scrollverdichter (3) nach einem der Ansprüche 1 bis 11,
    dadurch gekennzeichnet,
    dass der radiale Abstand des mit der Verdichterkammer (24) verbundenen ersten Kanals (36) zu einem in der Basisplatte (23b) des feststehenden Scrolls (23) angeordneten und in die Hochdruckkammer (29) führenden zentralen Auslass (28) größer oder kleiner ist als der radiale Abstand des mit der Hochdruckkammer (29) verbundenen zweiten Kanals (37) zum zentralen Auslass (28).
EP18212076.6A 2018-12-12 2018-12-12 Verdrängermaschine nach dem spiralprinzip, insbesondere scrollverdichter für eine fahrzeugklimaanlage Active EP3667086B1 (de)

Priority Applications (4)

Application Number Priority Date Filing Date Title
EP19191561.0A EP3670915B1 (de) 2018-12-12 2018-12-12 Verdrängermaschine nach dem spiralprinzip, insbesondere scrollverdichter für eine fahrzeugklimaanlage
EP18212076.6A EP3667086B1 (de) 2018-12-12 2018-12-12 Verdrängermaschine nach dem spiralprinzip, insbesondere scrollverdichter für eine fahrzeugklimaanlage
CN201980080121.2A CN113167273B (zh) 2018-12-12 2019-12-12 根据螺旋原理的容积式机器,特别是用于车辆空调机组的涡旋式压缩机
PCT/EP2019/084837 WO2020120659A1 (de) 2018-12-12 2019-12-12 Verdrängermaschine nach dem spiralprinzip, insbesondere scrollverdichter für eine fahrzeugklimaanlage

Applications Claiming Priority (1)

Application Number Priority Date Filing Date Title
EP18212076.6A EP3667086B1 (de) 2018-12-12 2018-12-12 Verdrängermaschine nach dem spiralprinzip, insbesondere scrollverdichter für eine fahrzeugklimaanlage

Related Child Applications (2)

Application Number Title Priority Date Filing Date
EP19191561.0A Division EP3670915B1 (de) 2018-12-12 2018-12-12 Verdrängermaschine nach dem spiralprinzip, insbesondere scrollverdichter für eine fahrzeugklimaanlage
EP19191561.0A Division-Into EP3670915B1 (de) 2018-12-12 2018-12-12 Verdrängermaschine nach dem spiralprinzip, insbesondere scrollverdichter für eine fahrzeugklimaanlage

Publications (2)

Publication Number Publication Date
EP3667086A1 EP3667086A1 (de) 2020-06-17
EP3667086B1 true EP3667086B1 (de) 2023-03-29

Family

ID=64665193

Family Applications (2)

Application Number Title Priority Date Filing Date
EP18212076.6A Active EP3667086B1 (de) 2018-12-12 2018-12-12 Verdrängermaschine nach dem spiralprinzip, insbesondere scrollverdichter für eine fahrzeugklimaanlage
EP19191561.0A Active EP3670915B1 (de) 2018-12-12 2018-12-12 Verdrängermaschine nach dem spiralprinzip, insbesondere scrollverdichter für eine fahrzeugklimaanlage

Family Applications After (1)

Application Number Title Priority Date Filing Date
EP19191561.0A Active EP3670915B1 (de) 2018-12-12 2018-12-12 Verdrängermaschine nach dem spiralprinzip, insbesondere scrollverdichter für eine fahrzeugklimaanlage

Country Status (3)

Country Link
EP (2) EP3667086B1 (de)
CN (1) CN113167273B (de)
WO (1) WO2020120659A1 (de)

Families Citing this family (3)

* Cited by examiner, † Cited by third party
Publication number Priority date Publication date Assignee Title
US8049523B2 (en) 2007-12-05 2011-11-01 Solaredge Technologies Ltd. Current sensing on a MOSFET
GB2499991A (en) 2012-03-05 2013-09-11 Solaredge Technologies Ltd DC link circuit for photovoltaic array
KR102817799B1 (ko) * 2023-04-03 2025-06-10 엘지전자 주식회사 스크롤 압축기

Family Cites Families (9)

* Cited by examiner, † Cited by third party
Publication number Priority date Publication date Assignee Title
JP3146963B2 (ja) * 1995-12-27 2001-03-19 ダイキン工業株式会社 スクロール形流体機械
DE19720790A1 (de) * 1997-05-17 1998-12-03 Bitzer Kuehlmaschinenbau Gmbh Kompressor
DE19853240A1 (de) * 1998-11-18 2000-05-31 Bitzer Kuehlmaschinenbau Gmbh Kompressor
JP5315933B2 (ja) * 2008-06-05 2013-10-16 株式会社豊田自動織機 電動スクロール型圧縮機
JP5201113B2 (ja) 2008-12-03 2013-06-05 株式会社豊田自動織機 スクロール型圧縮機
JP5199951B2 (ja) * 2009-06-01 2013-05-15 日立アプライアンス株式会社 スクロール圧縮機
KR101810461B1 (ko) * 2011-03-24 2017-12-19 엘지전자 주식회사 스크롤 압축기
DE102012104045A1 (de) 2012-05-09 2013-11-14 Halla Visteon Climate Control Corporation 95 Kältemittelscrollverdichter für Kraftfahrzeugklimaanlagen
DE102017110913B3 (de) 2017-05-19 2018-08-23 OET GmbH Verdrängermaschine nach dem Spiralprinzip, Verfahren zum Betreiben einer Verdrängermaschine, Fahrzeugklimaanlage und Fahrzeug

Also Published As

Publication number Publication date
CN113167273A (zh) 2021-07-23
EP3670915A1 (de) 2020-06-24
EP3667086A1 (de) 2020-06-17
WO2020120659A1 (de) 2020-06-18
EP3670915B1 (de) 2023-02-08
CN113167273B (zh) 2023-06-27

Similar Documents

Publication Publication Date Title
DE69618612T2 (de) Einrichtung zur erzeugung einer nachgiebigen radialen andruckkraft mit hilfe eines gleitenden blocks für spiral verdrängermaschine
EP3545195B1 (de) Verdrängermaschine nach dem spiralprinzip, verfahren zum betreiben einer verdrängermaschine, verdrängerspirale, fahrzeugklimaanlage und fahrzeug
DE3438262C2 (de)
DE3623825A1 (de) Fluegelzellenverdichter mit variabler foerdermenge
DE102017122327B4 (de) Spiralverdichter
DE69532902T2 (de) Rotierende Spiralverdichter
DE3445321A1 (de) Abgedichteter spiralkompressor
DE112013001840T5 (de) Kompressor
DE69202399T2 (de) Strömungsmaschine in Spiralbauweise.
EP3667086B1 (de) Verdrängermaschine nach dem spiralprinzip, insbesondere scrollverdichter für eine fahrzeugklimaanlage
DE69405040T2 (de) Drehkolbenverdichter mit Öleinspritzung
WO2020201477A1 (de) Scrollverdichter für eine fahrzeugklimaanlage
DE102020210453B4 (de) Scrollverdichter eines elektrischen Kältemittelantriebs
DE69020434T2 (de) Rotationsverdichter.
DE102008008860B4 (de) Verdichter
DE102005001462B4 (de) Spiralkompressor
DE102019201477A1 (de) Motorbetriebener Kompressor
DE69111737T2 (de) Spiralverdichter.
DE3826548C2 (de) Flügelzellenverdichter mit variabler Förderleistung
DE102019208680A1 (de) Verdrängermaschine nach dem Spiralprinzip, insbesondere Scrollverdichter für eine Fahrzeugklimaanlage
DE102017104063A1 (de) Elektrische Gerotorpumpe mit Steuerspiegel
DE3812487C2 (de) Flügelzellenverdichter mit variabler Förderleistung
DE102017102645B4 (de) Kältemittel-Scrollverdichter für die Verwendung innerhalb einer Wärmepumpe
DE3834278C2 (de)
EP4226044B1 (de) Filter- und drosseleinheit für einen scrollkompressor sowie scrollkompressor für einen kältemittelkreislauf

Legal Events

Date Code Title Description
PUAI Public reference made under article 153(3) epc to a published international application that has entered the european phase

Free format text: ORIGINAL CODE: 0009012

STAA Information on the status of an ep patent application or granted ep patent

Free format text: STATUS: THE APPLICATION HAS BEEN PUBLISHED

AK Designated contracting states

Kind code of ref document: A1

Designated state(s): AL AT BE BG CH CY CZ DE DK EE ES FI FR GB GR HR HU IE IS IT LI LT LU LV MC MK MT NL NO PL PT RO RS SE SI SK SM TR

AX Request for extension of the european patent

Extension state: BA ME

STAA Information on the status of an ep patent application or granted ep patent

Free format text: STATUS: REQUEST FOR EXAMINATION WAS MADE

17P Request for examination filed

Effective date: 20201217

RAV Requested validation state of the european patent: fee paid

Extension state: MA

Effective date: 20201217

Extension state: TN

Effective date: 20201217

Extension state: KH

Effective date: 20201217

Extension state: MD

Effective date: 20201217

RAX Requested extension states of the european patent have changed

Extension state: ME

Payment date: 20201217

Extension state: BA

Payment date: 20201217

RBV Designated contracting states (corrected)

Designated state(s): AL AT BE BG CH CY CZ DE DK EE ES FI FR GB GR HR HU IE IS IT LI LT LU LV MC MK MT NL NO PL PT RO RS SE SI SK SM TR

GRAP Despatch of communication of intention to grant a patent

Free format text: ORIGINAL CODE: EPIDOSNIGR1

STAA Information on the status of an ep patent application or granted ep patent

Free format text: STATUS: GRANT OF PATENT IS INTENDED

INTG Intention to grant announced

Effective date: 20221103

GRAS Grant fee paid

Free format text: ORIGINAL CODE: EPIDOSNIGR3

GRAA (expected) grant

Free format text: ORIGINAL CODE: 0009210

STAA Information on the status of an ep patent application or granted ep patent

Free format text: STATUS: THE PATENT HAS BEEN GRANTED

AK Designated contracting states

Kind code of ref document: B1

Designated state(s): AL AT BE BG CH CY CZ DE DK EE ES FI FR GB GR HR HU IE IS IT LI LT LU LV MC MK MT NL NO PL PT RO RS SE SI SK SM TR

REG Reference to a national code

Ref country code: CH

Ref legal event code: EP

REG Reference to a national code

Ref country code: DE

Ref legal event code: R096

Ref document number: 502018011851

Country of ref document: DE

REG Reference to a national code

Ref country code: AT

Ref legal event code: REF

Ref document number: 1556842

Country of ref document: AT

Kind code of ref document: T

Effective date: 20230415

REG Reference to a national code

Ref country code: IE

Ref legal event code: FG4D

Free format text: LANGUAGE OF EP DOCUMENT: GERMAN

REG Reference to a national code

Ref country code: LT

Ref legal event code: MG9D

PG25 Lapsed in a contracting state [announced via postgrant information from national office to epo]

Ref country code: RS

Free format text: LAPSE BECAUSE OF FAILURE TO SUBMIT A TRANSLATION OF THE DESCRIPTION OR TO PAY THE FEE WITHIN THE PRESCRIBED TIME-LIMIT

Effective date: 20230329

Ref country code: NO

Free format text: LAPSE BECAUSE OF FAILURE TO SUBMIT A TRANSLATION OF THE DESCRIPTION OR TO PAY THE FEE WITHIN THE PRESCRIBED TIME-LIMIT

Effective date: 20230629

Ref country code: LV

Free format text: LAPSE BECAUSE OF FAILURE TO SUBMIT A TRANSLATION OF THE DESCRIPTION OR TO PAY THE FEE WITHIN THE PRESCRIBED TIME-LIMIT

Effective date: 20230329

Ref country code: LT

Free format text: LAPSE BECAUSE OF FAILURE TO SUBMIT A TRANSLATION OF THE DESCRIPTION OR TO PAY THE FEE WITHIN THE PRESCRIBED TIME-LIMIT

Effective date: 20230329

Ref country code: HR

Free format text: LAPSE BECAUSE OF FAILURE TO SUBMIT A TRANSLATION OF THE DESCRIPTION OR TO PAY THE FEE WITHIN THE PRESCRIBED TIME-LIMIT

Effective date: 20230329

REG Reference to a national code

Ref country code: NL

Ref legal event code: MP

Effective date: 20230329

PG25 Lapsed in a contracting state [announced via postgrant information from national office to epo]

Ref country code: SE

Free format text: LAPSE BECAUSE OF FAILURE TO SUBMIT A TRANSLATION OF THE DESCRIPTION OR TO PAY THE FEE WITHIN THE PRESCRIBED TIME-LIMIT

Effective date: 20230329

Ref country code: NL

Free format text: LAPSE BECAUSE OF FAILURE TO SUBMIT A TRANSLATION OF THE DESCRIPTION OR TO PAY THE FEE WITHIN THE PRESCRIBED TIME-LIMIT

Effective date: 20230329

Ref country code: GR

Free format text: LAPSE BECAUSE OF FAILURE TO SUBMIT A TRANSLATION OF THE DESCRIPTION OR TO PAY THE FEE WITHIN THE PRESCRIBED TIME-LIMIT

Effective date: 20230630

Ref country code: FI

Free format text: LAPSE BECAUSE OF FAILURE TO SUBMIT A TRANSLATION OF THE DESCRIPTION OR TO PAY THE FEE WITHIN THE PRESCRIBED TIME-LIMIT

Effective date: 20230329

PG25 Lapsed in a contracting state [announced via postgrant information from national office to epo]

Ref country code: SM

Free format text: LAPSE BECAUSE OF FAILURE TO SUBMIT A TRANSLATION OF THE DESCRIPTION OR TO PAY THE FEE WITHIN THE PRESCRIBED TIME-LIMIT

Effective date: 20230329

Ref country code: RO

Free format text: LAPSE BECAUSE OF FAILURE TO SUBMIT A TRANSLATION OF THE DESCRIPTION OR TO PAY THE FEE WITHIN THE PRESCRIBED TIME-LIMIT

Effective date: 20230329

Ref country code: PT

Free format text: LAPSE BECAUSE OF FAILURE TO SUBMIT A TRANSLATION OF THE DESCRIPTION OR TO PAY THE FEE WITHIN THE PRESCRIBED TIME-LIMIT

Effective date: 20230731

Ref country code: ES

Free format text: LAPSE BECAUSE OF FAILURE TO SUBMIT A TRANSLATION OF THE DESCRIPTION OR TO PAY THE FEE WITHIN THE PRESCRIBED TIME-LIMIT

Effective date: 20230329

Ref country code: EE

Free format text: LAPSE BECAUSE OF FAILURE TO SUBMIT A TRANSLATION OF THE DESCRIPTION OR TO PAY THE FEE WITHIN THE PRESCRIBED TIME-LIMIT

Effective date: 20230329

VS25 Lapsed in a validation state [announced via postgrant information from nat. office to epo]

Ref country code: MD

Free format text: LAPSE BECAUSE OF FAILURE TO SUBMIT A TRANSLATION OF THE DESCRIPTION OR TO PAY THE FEE WITHIN THE PRESCRIBED TIME-LIMIT

Effective date: 20230329

PG25 Lapsed in a contracting state [announced via postgrant information from national office to epo]

Ref country code: SK

Free format text: LAPSE BECAUSE OF FAILURE TO SUBMIT A TRANSLATION OF THE DESCRIPTION OR TO PAY THE FEE WITHIN THE PRESCRIBED TIME-LIMIT

Effective date: 20230329

Ref country code: PL

Free format text: LAPSE BECAUSE OF FAILURE TO SUBMIT A TRANSLATION OF THE DESCRIPTION OR TO PAY THE FEE WITHIN THE PRESCRIBED TIME-LIMIT

Effective date: 20230329

Ref country code: IS

Free format text: LAPSE BECAUSE OF FAILURE TO SUBMIT A TRANSLATION OF THE DESCRIPTION OR TO PAY THE FEE WITHIN THE PRESCRIBED TIME-LIMIT

Effective date: 20230729

REG Reference to a national code

Ref country code: DE

Ref legal event code: R097

Ref document number: 502018011851

Country of ref document: DE

PG25 Lapsed in a contracting state [announced via postgrant information from national office to epo]

Ref country code: DK

Free format text: LAPSE BECAUSE OF FAILURE TO SUBMIT A TRANSLATION OF THE DESCRIPTION OR TO PAY THE FEE WITHIN THE PRESCRIBED TIME-LIMIT

Effective date: 20230329

Ref country code: CZ

Free format text: LAPSE BECAUSE OF FAILURE TO SUBMIT A TRANSLATION OF THE DESCRIPTION OR TO PAY THE FEE WITHIN THE PRESCRIBED TIME-LIMIT

Effective date: 20230329

PLBE No opposition filed within time limit

Free format text: ORIGINAL CODE: 0009261

STAA Information on the status of an ep patent application or granted ep patent

Free format text: STATUS: NO OPPOSITION FILED WITHIN TIME LIMIT

26N No opposition filed

Effective date: 20240103

PG25 Lapsed in a contracting state [announced via postgrant information from national office to epo]

Ref country code: SI

Free format text: LAPSE BECAUSE OF FAILURE TO SUBMIT A TRANSLATION OF THE DESCRIPTION OR TO PAY THE FEE WITHIN THE PRESCRIBED TIME-LIMIT

Effective date: 20230329

PG25 Lapsed in a contracting state [announced via postgrant information from national office to epo]

Ref country code: SI

Free format text: LAPSE BECAUSE OF FAILURE TO SUBMIT A TRANSLATION OF THE DESCRIPTION OR TO PAY THE FEE WITHIN THE PRESCRIBED TIME-LIMIT

Effective date: 20230329

Ref country code: IT

Free format text: LAPSE BECAUSE OF FAILURE TO SUBMIT A TRANSLATION OF THE DESCRIPTION OR TO PAY THE FEE WITHIN THE PRESCRIBED TIME-LIMIT

Effective date: 20230329

REG Reference to a national code

Ref country code: CH

Ref legal event code: PL

PG25 Lapsed in a contracting state [announced via postgrant information from national office to epo]

Ref country code: LU

Free format text: LAPSE BECAUSE OF NON-PAYMENT OF DUE FEES

Effective date: 20231212

PG25 Lapsed in a contracting state [announced via postgrant information from national office to epo]

Ref country code: MC

Free format text: LAPSE BECAUSE OF FAILURE TO SUBMIT A TRANSLATION OF THE DESCRIPTION OR TO PAY THE FEE WITHIN THE PRESCRIBED TIME-LIMIT

Effective date: 20230329

GBPC Gb: european patent ceased through non-payment of renewal fee

Effective date: 20231212

REG Reference to a national code

Ref country code: BE

Ref legal event code: MM

Effective date: 20231231

PG25 Lapsed in a contracting state [announced via postgrant information from national office to epo]

Ref country code: MC

Free format text: LAPSE BECAUSE OF FAILURE TO SUBMIT A TRANSLATION OF THE DESCRIPTION OR TO PAY THE FEE WITHIN THE PRESCRIBED TIME-LIMIT

Effective date: 20230329

Ref country code: LU

Free format text: LAPSE BECAUSE OF NON-PAYMENT OF DUE FEES

Effective date: 20231212

REG Reference to a national code

Ref country code: IE

Ref legal event code: MM4A

PG25 Lapsed in a contracting state [announced via postgrant information from national office to epo]

Ref country code: IE

Free format text: LAPSE BECAUSE OF NON-PAYMENT OF DUE FEES

Effective date: 20231212

PG25 Lapsed in a contracting state [announced via postgrant information from national office to epo]

Ref country code: GB

Free format text: LAPSE BECAUSE OF NON-PAYMENT OF DUE FEES

Effective date: 20231212

PG25 Lapsed in a contracting state [announced via postgrant information from national office to epo]

Ref country code: BE

Free format text: LAPSE BECAUSE OF NON-PAYMENT OF DUE FEES

Effective date: 20231231

PG25 Lapsed in a contracting state [announced via postgrant information from national office to epo]

Ref country code: FR

Free format text: LAPSE BECAUSE OF NON-PAYMENT OF DUE FEES

Effective date: 20231231

PG25 Lapsed in a contracting state [announced via postgrant information from national office to epo]

Ref country code: CH

Free format text: LAPSE BECAUSE OF NON-PAYMENT OF DUE FEES

Effective date: 20231231

PG25 Lapsed in a contracting state [announced via postgrant information from national office to epo]

Ref country code: IE

Free format text: LAPSE BECAUSE OF NON-PAYMENT OF DUE FEES

Effective date: 20231212

Ref country code: GB

Free format text: LAPSE BECAUSE OF NON-PAYMENT OF DUE FEES

Effective date: 20231212

Ref country code: FR

Free format text: LAPSE BECAUSE OF NON-PAYMENT OF DUE FEES

Effective date: 20231231

Ref country code: CH

Free format text: LAPSE BECAUSE OF NON-PAYMENT OF DUE FEES

Effective date: 20231231

Ref country code: BE

Free format text: LAPSE BECAUSE OF NON-PAYMENT OF DUE FEES

Effective date: 20231231

PG25 Lapsed in a contracting state [announced via postgrant information from national office to epo]

Ref country code: BG

Free format text: LAPSE BECAUSE OF FAILURE TO SUBMIT A TRANSLATION OF THE DESCRIPTION OR TO PAY THE FEE WITHIN THE PRESCRIBED TIME-LIMIT

Effective date: 20230329

PG25 Lapsed in a contracting state [announced via postgrant information from national office to epo]

Ref country code: BG

Free format text: LAPSE BECAUSE OF FAILURE TO SUBMIT A TRANSLATION OF THE DESCRIPTION OR TO PAY THE FEE WITHIN THE PRESCRIBED TIME-LIMIT

Effective date: 20230329

REG Reference to a national code

Ref country code: AT

Ref legal event code: MM01

Ref document number: 1556842

Country of ref document: AT

Kind code of ref document: T

Effective date: 20231212

PGFP Annual fee paid to national office [announced via postgrant information from national office to epo]

Ref country code: DE

Payment date: 20250109

Year of fee payment: 7

PG25 Lapsed in a contracting state [announced via postgrant information from national office to epo]

Ref country code: AT

Free format text: LAPSE BECAUSE OF NON-PAYMENT OF DUE FEES

Effective date: 20231212

PG25 Lapsed in a contracting state [announced via postgrant information from national office to epo]

Ref country code: CY

Free format text: LAPSE BECAUSE OF FAILURE TO SUBMIT A TRANSLATION OF THE DESCRIPTION OR TO PAY THE FEE WITHIN THE PRESCRIBED TIME-LIMIT; INVALID AB INITIO

Effective date: 20181212

PG25 Lapsed in a contracting state [announced via postgrant information from national office to epo]

Ref country code: HU

Free format text: LAPSE BECAUSE OF FAILURE TO SUBMIT A TRANSLATION OF THE DESCRIPTION OR TO PAY THE FEE WITHIN THE PRESCRIBED TIME-LIMIT; INVALID AB INITIO

Effective date: 20181212

VS25 Lapsed in a validation state [announced via postgrant information from nat. office to epo]

Ref country code: MA

Free format text: FAILURE TO ELECT DOMICILE IN THE NATIONAL COUNTRY

Effective date: 20230630

PG25 Lapsed in a contracting state [announced via postgrant information from national office to epo]

Ref country code: TR

Free format text: LAPSE BECAUSE OF FAILURE TO SUBMIT A TRANSLATION OF THE DESCRIPTION OR TO PAY THE FEE WITHIN THE PRESCRIBED TIME-LIMIT

Effective date: 20230329