EP3633074B1 - Cathode plate for metal electrodeposition and manufacturing method for same - Google Patents

Cathode plate for metal electrodeposition and manufacturing method for same Download PDF

Info

Publication number
EP3633074B1
EP3633074B1 EP18809926.1A EP18809926A EP3633074B1 EP 3633074 B1 EP3633074 B1 EP 3633074B1 EP 18809926 A EP18809926 A EP 18809926A EP 3633074 B1 EP3633074 B1 EP 3633074B1
Authority
EP
European Patent Office
Prior art keywords
conductive film
cathode plate
section
metal plate
nickel
Prior art date
Legal status (The legal status is an assumption and is not a legal conclusion. Google has not performed a legal analysis and makes no representation as to the accuracy of the status listed.)
Active
Application number
EP18809926.1A
Other languages
German (de)
English (en)
French (fr)
Other versions
EP3633074A1 (en
EP3633074A4 (en
Inventor
Hiroto Watanabe
Itsumi Matsuoka
Yusuke SENBA
Hiroshi Kobayashi
Current Assignee (The listed assignees may be inaccurate. Google has not performed a legal analysis and makes no representation or warranty as to the accuracy of the list.)
Sumitomo Metal Mining Co Ltd
Original Assignee
Sumitomo Metal Mining Co Ltd
Priority date (The priority date is an assumption and is not a legal conclusion. Google has not performed a legal analysis and makes no representation as to the accuracy of the date listed.)
Filing date
Publication date
Application filed by Sumitomo Metal Mining Co Ltd filed Critical Sumitomo Metal Mining Co Ltd
Publication of EP3633074A1 publication Critical patent/EP3633074A1/en
Publication of EP3633074A4 publication Critical patent/EP3633074A4/en
Application granted granted Critical
Publication of EP3633074B1 publication Critical patent/EP3633074B1/en
Active legal-status Critical Current
Anticipated expiration legal-status Critical

Links

Images

Classifications

    • CCHEMISTRY; METALLURGY
    • C25ELECTROLYTIC OR ELECTROPHORETIC PROCESSES; APPARATUS THEREFOR
    • C25DPROCESSES FOR THE ELECTROLYTIC OR ELECTROPHORETIC PRODUCTION OF COATINGS; ELECTROFORMING; APPARATUS THEREFOR
    • C25D17/00Constructional parts, or assemblies thereof, of cells for electrolytic coating
    • C25D17/16Apparatus for electrolytic coating of small objects in bulk
    • CCHEMISTRY; METALLURGY
    • C23COATING METALLIC MATERIAL; COATING MATERIAL WITH METALLIC MATERIAL; CHEMICAL SURFACE TREATMENT; DIFFUSION TREATMENT OF METALLIC MATERIAL; COATING BY VACUUM EVAPORATION, BY SPUTTERING, BY ION IMPLANTATION OR BY CHEMICAL VAPOUR DEPOSITION, IN GENERAL; INHIBITING CORROSION OF METALLIC MATERIAL OR INCRUSTATION IN GENERAL
    • C23FNON-MECHANICAL REMOVAL OF METALLIC MATERIAL FROM SURFACE; INHIBITING CORROSION OF METALLIC MATERIAL OR INCRUSTATION IN GENERAL; MULTI-STEP PROCESSES FOR SURFACE TREATMENT OF METALLIC MATERIAL INVOLVING AT LEAST ONE PROCESS PROVIDED FOR IN CLASS C23 AND AT LEAST ONE PROCESS COVERED BY SUBCLASS C21D OR C22F OR CLASS C25
    • C23F1/00Etching metallic material by chemical means
    • C23F1/02Local etching
    • CCHEMISTRY; METALLURGY
    • C23COATING METALLIC MATERIAL; COATING MATERIAL WITH METALLIC MATERIAL; CHEMICAL SURFACE TREATMENT; DIFFUSION TREATMENT OF METALLIC MATERIAL; COATING BY VACUUM EVAPORATION, BY SPUTTERING, BY ION IMPLANTATION OR BY CHEMICAL VAPOUR DEPOSITION, IN GENERAL; INHIBITING CORROSION OF METALLIC MATERIAL OR INCRUSTATION IN GENERAL
    • C23FNON-MECHANICAL REMOVAL OF METALLIC MATERIAL FROM SURFACE; INHIBITING CORROSION OF METALLIC MATERIAL OR INCRUSTATION IN GENERAL; MULTI-STEP PROCESSES FOR SURFACE TREATMENT OF METALLIC MATERIAL INVOLVING AT LEAST ONE PROCESS PROVIDED FOR IN CLASS C23 AND AT LEAST ONE PROCESS COVERED BY SUBCLASS C21D OR C22F OR CLASS C25
    • C23F1/00Etching metallic material by chemical means
    • C23F1/02Local etching
    • C23F1/04Chemical milling
    • CCHEMISTRY; METALLURGY
    • C25ELECTROLYTIC OR ELECTROPHORETIC PROCESSES; APPARATUS THEREFOR
    • C25CPROCESSES FOR THE ELECTROLYTIC PRODUCTION, RECOVERY OR REFINING OF METALS; APPARATUS THEREFOR
    • C25C1/00Electrolytic production, recovery or refining of metals by electrolysis of solutions
    • C25C1/06Electrolytic production, recovery or refining of metals by electrolysis of solutions or iron group metals, refractory metals or manganese
    • C25C1/08Electrolytic production, recovery or refining of metals by electrolysis of solutions or iron group metals, refractory metals or manganese of nickel or cobalt
    • CCHEMISTRY; METALLURGY
    • C25ELECTROLYTIC OR ELECTROPHORETIC PROCESSES; APPARATUS THEREFOR
    • C25CPROCESSES FOR THE ELECTROLYTIC PRODUCTION, RECOVERY OR REFINING OF METALS; APPARATUS THEREFOR
    • C25C7/00Constructional parts, or assemblies thereof, of cells; Servicing or operating of cells
    • C25C7/02Electrodes; Connections thereof
    • CCHEMISTRY; METALLURGY
    • C25ELECTROLYTIC OR ELECTROPHORETIC PROCESSES; APPARATUS THEREFOR
    • C25DPROCESSES FOR THE ELECTROLYTIC OR ELECTROPHORETIC PRODUCTION OF COATINGS; ELECTROFORMING; APPARATUS THEREFOR
    • C25D1/00Electroforming
    • C25D1/0033D structures, e.g. superposed patterned layers
    • CCHEMISTRY; METALLURGY
    • C25ELECTROLYTIC OR ELECTROPHORETIC PROCESSES; APPARATUS THEREFOR
    • C25DPROCESSES FOR THE ELECTROLYTIC OR ELECTROPHORETIC PRODUCTION OF COATINGS; ELECTROFORMING; APPARATUS THEREFOR
    • C25D1/00Electroforming
    • C25D1/20Separation of the formed objects from the electrodes with no destruction of said electrodes
    • CCHEMISTRY; METALLURGY
    • C25ELECTROLYTIC OR ELECTROPHORETIC PROCESSES; APPARATUS THEREFOR
    • C25DPROCESSES FOR THE ELECTROLYTIC OR ELECTROPHORETIC PRODUCTION OF COATINGS; ELECTROFORMING; APPARATUS THEREFOR
    • C25D17/00Constructional parts, or assemblies thereof, of cells for electrolytic coating
    • C25D17/10Electrodes, e.g. composition, counter electrode
    • C25D17/12Shape or form

Definitions

  • the present invention relates to a cathode plate for metal electrodeposition and a manufacturing method for the same.
  • electric nickel used as an anode raw material of nickel plating is used by being put into a titanium basket that is an anode retainer, and by being hanged in a nickel plating bath. At this time, as the electric nickel that is the anode raw material, plate-shaped electric nickel that is electrodeposited on a cathode plate is used by being cut into a small piece.
  • the small piece-shaped electric nickel has a sharp corner section, and thus, it is difficult to handle the small piece-shaped electric nickel at the time of being put into the titanium basket.
  • the corner section is caught by the reticulation of the titanium basket after the small piece-shaped electric nickel is put into the titanium basket, and thus, so-called shelf hanging occurs, a filled state in the titanium basket is changed, and there is a case where plating unevenness is caused.
  • the small mass-shaped electric nickel for example, can be manufactured by using a cathode plate on which a plurality of circular conductive sections are arranged at regular intervals, by precipitating nickel on the conductive section with electrolysis, and then, by peeling off electrodeposited nickel from the conductive section. According to such a method, it is possible to effectively manufacture a plurality of small mass-shaped electric nickels from one cathode plate.
  • Fig. 5 is a diagram illustrating an example of a cathode plate of the related art that is used for manufacturing small mass-shaped electric nickel.
  • a cathode plate 11 is masked with a non-conductive film 13 by leaving a portion to be a conductive section 12a on a flat plate-shaped metal plate 12, and in the cathode plate 11, the conductive section 12a is a concave section, and the non-conductive film 13 is a convex section.
  • nickel having a suitable size is electrodeposited on the conductive section 12a, and small mass-shaped electric nickel is manufactured.
  • Examples of a method of forming the non-conductive film 13 on the metal plate 12, as with the cathode plate 11, include a method in which a thermosetting non-conductive resin such as an epoxy resin is applied onto the flat plate-shaped metal plate 12 by a screen printing method, and is heated, and thus, the non-conductive film 13 having a desired pattern is formed, as illustrated in Fig. 6A (refer to Patent Documents 1 and 2). Furthermore, Fig. 6B illustrates a state in which nickel (electric nickel) 14 is electrodeposited on the conductive section 12a by using the cathode plate 11 on which the non-conductive film 13 is formed.
  • a thermosetting non-conductive resin such as an epoxy resin
  • the nickel 14 starts to be electrodeposited from the conductive section 12a, and grows not only in a thickness (vertical) direction but also in a planar (horizontal) direction, and thus, is in a state where the nickel 14 rises to the upper section of the non-conductive film 13.
  • a method has been also proposed in which a photosensitive non-conductive resin is applied onto a metal plate 22, and is exposed and developed, and the non-conductive resin in a portion corresponding to a conductive section 22a is removed, and thus, a non-conductive film 23 having a desired pattern is formed.
  • Fig. 7B illustrates a state in which the nickel (electric nickel) 24 is electrodeposited on the conductive section 22a by using the cathode plate 21 on which the non-conductive film 23 is formed. Even in the cathode plate 21, the nickel 24 starts to be electrodeposited from the conductive section 22a, and grows not only in the thickness direction but also in the planar direction.
  • Patent Document 3 shows a cathode plate for metal deposition, wherein the cathode plate has a plate shape.
  • the small mass-shaped electric nickel is manufactured by using the cathode plate as described above, it is required that the lifetime of the non-conductive film formed on the cathode plate (the non-conductive section) is long, and even in a case where the non-conductive film is lost (degraded), the maintenance can be easily performed.
  • a film thickness of the non-conductive film 13 gradually decreases as being close to the conductive section 12a, and thus, becomes extremely thin on the boundary with respect to the conductive section 12a.
  • Such a change in the film thickness of the non-conductive film 13 depends on a coating amount of the non-conductive resin, the viscosity of the non-conductive resin, temperature properties of the viscosity, a curing temperature of the non-conductive resin, surface roughness of a metal surface, surface free energy, and the like. For this reason, the film thickness of the non-conductive film 13 becomes extremely thin on the boundary with respect to the conductive section 12a.
  • the nickel 14 starts to be electrodeposited from the conductive section 12a, grows not only in the vertical direction but also in the horizontal direction, and thus, is in a state where the nickel 14 gradually rises to the non-conductive film 13.
  • adhesiveness with respect to the metal plate 12 easily decreases due to the permeation of an electrolysis solution, and the non-conductive film is easily lost due to a stress at the time of electrodepositing the nickel 14 or an impact at the time of peeling off the electric nickel.
  • the non-conductive film 13 in the vicinity of the lost portion floats from the surface of the metal plate 12, and thus, the electrolysis solution more easily permeates through the gap, and as a result thereof, in the case of continuously electrodepositing nickel, the electrolysis solution is sunk into the gap of the non-conductive film 13 that floats from the surface of the metal plate 12, and thus, the nickel 14 is electrodeposited. Then, in the case of peeling off the nickel 14 that is sunk into the gap and is electrodeposited, the non-conductive film 13 that is bitten by the nickel 14 is further lost.
  • the cathode plate 11 of the related art in a case where the non-conductive film 13 is lost in a chain reaction, and the lost portion spreads, the nickels 14 grown from the adjacent conductive section 12a are easily joined to each other, and thus, it is not possible to obtain electric nickel having a desired shape, and a defective product is obtained. Therefore, it is necessary to maintain the cathode plate 11 by peeling off the entire non-conductive film 13 before the non-conductive film 13 is lost, and by forming again the non-conductive film 13.
  • it is necessary to maintain the cathode plate 11 in a step where an electrodeposition treatment of nickel is performed several times to less than 10 times at a maximum and thus, not only does productivity decrease, but also a maintenance cost increases.
  • the non-conductive film 23 is formed by being exposed and developed by using the photosensitive non-conductive resin, it is possible to form the non-conductive film 23 with a uniform film thickness.
  • the nickel 24 is peeled off after the electrodeposition, the nickel 24 is caught by a step of the non-conductive film 23 configuring the convex section, and a large impact is easily applied to the non-conductive film 23, and thus, the non-conductive film 23 is lost.
  • the present invention has been made in consideration of such circumstances of the related art, an object thereof is to provide a cathode plate for metal electrodeposition in which a non-conductive film on a metal plate is less likely to be lost, and thus, can be repeatedly used, and even in a case where the non-conductive film is lost, maintenance becomes easy, and a manufacturing method for the same.
  • the present inventors have conducted intensive studies in order to solve the problems described above. As a result thereof, it has been found that a conductive section is formed by providing protrusions on a metal plate, and a non-conductive film is provided on a metal surface other than the protrusion, and thus, the non-conductive film is less likely to be lost. Further, it has been found that a side face of the protrusion has a predetermined shape, and thus, the non-conductive film is more effectively prevented from being lost, and even in a case where the non-conductive film is formed again, and thus, maintenance is necessary, the non-conductive film does not remain at the time of peeling off the non-conductive film, and the maintenance is easily performed, and the present invention has been completed.
  • a preferred embodiment of the first aspect of the present invention is the cathode plate for metal electrodeposition in which the metal plate is formed of titanium or stainless steel.
  • a second aspect of the present invention is the use of the cathode plate for manufacturing electric nickel by electrodeposition of nickel onto the cathode plate.
  • a third aspect of the present invention is a method of manufacturing the cathode plate for metal electrodeposition according to the first invention or the second invention, the method comprising forming the plurality of disk-shaped protrusions on at least one surface of the metal plate by wet etching processing or end mill processing.
  • a preferred embodiment of the third aspect of the present invention is the method of manufacturing the cathode plate for metal electrodeposition in which in the end mill processing, a radius end mill is used.
  • the present invention it is possible to provide a cathode plate for metal electrodeposition in which a non-conductive film is less likely to be lost, and thus, can be repeatedly used, and even in a case where the non-conductive film is lost, maintenance becomes easy, and a manufacturing method for the same.
  • this embodiment a cathode plate for metal electrodeposition of the present invention is applied to a cathode plate for metal electrodeposition that is used for manufacturing electric nickel.
  • this embodiment a cathode plate for metal electrodeposition that is used for manufacturing electric nickel
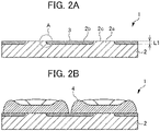
  • a cathode plate 1 includes a metal plate 2 on which a plurality of disk-shaped protrusions 2a are arranged and a non-conductive film 3 that is formed on a surface of the metal plate 2 other than the protrusion 2a.
  • the cathode plate 1 is used by being hung in an electrolysis bath in which an electrolysis solution containing nickel or an anode is contained by a hanging member 5, and nickel is electrodeposited on the surface into a desired shape.
  • the metal plate 2 is a flat plate-shaped metal plate, and includes the plurality of disk-shaped protrusions 2a.
  • the surface other than the protrusion 2a is referred to as a "flat section 2b" with respect to the protrusion 2a.
  • a "height L1 of the protrusion” is a protruding height from the surface of the flat section 2b in the metal plate 2.
  • Fig. 2 an example in which the protrusions 2a are provided on one face of the metal plate 2 is illustrated, and the protrusions 2a may be provided on both faces.
  • the size of the metal plate 2 is not particularly limited, and may be suitably set in accordance with a desired size or the number of electric nickels to be manufactured.
  • the size of the metal plate 2 can be a rectangular size in which one side is greater than or equal to 100 mm and less than or equal to 2000 mm.
  • the thickness of the metal plate 2 is greater than 1.5 mm and less than or equal to 5 mm, and in a case where the protrusions 2a are provided on both surfaces, the thickness of the metal plate is greater than or equal to 3 mm and less than or equal to 10 mm.
  • the material of the metal plate 2 is not particularly limited insofar as the material is a metal that is less corrosive with respect to an electrolysis solution to be used, and forms only loose adhesion with respect to an electrodeposition such as nickel, and examples of the material preferably include titanium and stainless steel.
  • the plurality of disk-shaped protrusions 2a have a function as a conductive section by exposing the upper face from the non-conductive film 3 described below, and the adjacent protrusions 2a form a concave step such that the non-conductive film 3 is formed to have a predetermined thickness.
  • the upper face exposed from the non-conductive film 3 may be referred to as a "conductive section 2c".
  • nickel 4 is electrodeposited by an electrolysis treatment.
  • the size of the disk-shaped protrusion 2a may be suitably set in accordance with the size of desired electric nickel, and the diameter of the disk-shaped protrusion 2a, for example, can be greater than or equal to 5 mm and less than or equal to 30 mm.
  • the height L1 of the protrusion 2a is greater than or equal to 50 ⁇ m and less than or equal to 500 ⁇ m and is preferably greater than or equal to 100 ⁇ m.
  • the height L1 of the protrusion 2a is excessively small, a film thickness of the non-conductive film 3 that is formed on the flat section 2b of the metal plate 2 becomes insufficient, and thus, the non-conductive film 3 is easily lost due to a stress at the time of electrodepositing the nickel 4 or an impact at the time of peeling off the electric nickel.
  • the height L1 of the protrusion 2a is excessively large, for example, when the non-conductive film is formed by screen printing, the number of times of performing coating increases, and thus, productivity decreases.
  • the distortion of the metal plate 2 easily occurs at the time of processing the protrusion 2a, and the metal plate 2 is easily warped, and thus, it is difficult to form the non-conductive film 3. Furthermore, in order to decrease the influence of the distortion of the metal plate 2, it is also possible to increase the thickness of the metal plate 2, but the weight of the metal plate 2 increases, and thus, it is difficult to handle the metal plate 2.
  • Fig. 3 is an enlarged sectional view of main parts enlarging an A section in Fig. 2 , and is an enlarged sectional view of main parts describing the shape of the side face of the protrusion on the metal plate.
  • the side face of the protrusion 2a is in a shape formed of a substantially vertical section 2d and an inclined section 2e.
  • the substantially vertical section 2d is a portion that is substantially vertically formed with respect to the upper face formed of the conductive section 2c of the protrusion 2a.
  • the inclined section 2e is a portion that is formed by being inclined towards flat section 2c from the substantially vertical section 2d.
  • the side face of the protrusion 2a is configured to be in the shape formed of the substantially vertical section 2d and the inclined section 2e, and thus, even in a case where the electrodeposition treatment is repeatedly performed, it is possible to more effectively prevent the non-conductive film 3 from being lost, and to repeatedly use the non-conductive film 3.
  • the non-conductive film 3 is formed again due to degradation such as the loss of the non-conductive film 3, and thus, the maintenance is necessary, a phenomenon that the non-conductive film 3 remains on the side face of the protrusion 2a at the time of peeling off the non-conductive film 3 from the metal plate 2, a so-called peeling residue is less likely to be generated, and thus, the maintenance becomes easy.
  • the non-conductive film in a case where the side face of the protrusion is in a shape formed only of the substantially vertical section without the inclined section, the non-conductive film easily remains on the corner of the side face of the protrusion that is formed at an approximately right angle, even in the case of peeling off the non-conductive film from the metal plate.
  • the side face of the protrusion in a case where the side face of the protrusion is in a shape formed only of the inclined section without the substantially vertical section, the non-conductive film in the vicinity of the conductive section becomes thin, and the degradation of the non-conductive film is accelerated, for example, the non-conductive film is easily lost by the electrodeposition treatment.
  • a length L2 from X to Y is greater than or equal to 40 ⁇ m, and is preferably greater than or equal to 100 ⁇ m.
  • the outer peripheral edge of the protrusion 2a is an outer peripheral edge (an edge portion) of an upper face that is the conductive section 2c of the protrusion 2a.
  • the length L2 is less than or equal to 0.8 times the height L1 of the protrusion 2a (L1 ⁇ 0.8 pm).
  • the length L2 is less than or equal to L1 ⁇ 0.8 ⁇ m, it is possible to effectively ensure the inclined section 2e, and as described above, the peeling residue of the non-conductive film 3 is less likely to be generated on the side face of the protrusion 2a, at the time of peeling off the non-conductive film 3 from the metal plate 2.
  • the length L2 from X to Y corresponds to the height of the substantially vertical section 2d, but it is not necessary that the intersection Y is a branch point from which the shape of the side face of the protrusion 2a is obviously divided into the substantially vertical section 2d and the inclined section 2e.
  • the length L2 is referred to as the "height L2 of the substantially vertical section 2d".
  • a length L3 that is a difference between the height L1 of the protrusion 2a and the length L2 is preferably greater than or equal to 10 ⁇ m, is more preferably greater than or equal to 25 ⁇ m and less than or equal to 0.7 ⁇ L1 ⁇ m.
  • the length L3 is referred to as the "height of the inclined section 2e".
  • L3/L4 is greater than or equal to 0.2 and less than or equal to 1.
  • L3/L4 corresponds to an inclined angle of the inclined section 2e.
  • the length L3 or L3/L4 By setting the length L3 or L3/L4 to be in the range described above, even in a case where the non-conductive film 3 is formed again, and thus, the maintenance is necessary, the peeling residue of the non-conductive film 3 is less likely to be generated on the side face of the protrusion 2a, at the time of peeling off the non-conductive film 3 from the metal plate 2, and the maintenance becomes easy.
  • fine roughness may be provided on the surface of the metal plate 2, that is, the upper face of the disk-shaped protrusion 2a in the metal plate 2 by sandblasting or etching. Accordingly, the nickel 4 that is electrodeposited on the protrusion 2a can be peeled off by a suitable impact without dropping out during the electrolysis treatment.
  • the film thickness of the non-conductive film 3 described below is greater than or equal to twice maximum surface roughness Rz of the metal plate 2. In a case where the film thickness of the non-conductive film 3 is less than twice the maximum surface roughness Rz of the metal plate 2, there is a concern that a pinhole or an insulation failure portion is generated in the non-conductive film 3.
  • the non-conductive film 3 is formed on the flat section 2b that is the surface of the metal plate 2 other than the protrusion 2a, and thus, is in a state where the upper face of the plurality of protrusions 2a arranged on the metal plate 2, that is, the conductive section 2c is exposed. Then, the nickel 4 is electrodeposited in such a conductive section 2c of the metal plate 2, and thus, the nickel 4 is formed by being divided into each small mass.
  • the non-conductive film 3 is formed on the flat section 2b on which the concave step formed by the adjacent protrusions 2a is provided. For this reason, in the non-conductive film 3, the film thickness of the end section is less likely to be thin as with the non-conductive film 13 of the related art illustrated in Fig. 6 , and thus, the non-conductive film 3 is less likely to be lost due to a stress at the time of electrodepositing the nickel 4 or an impact at the time of peeling off the nickel 4 after the electrodeposition. In addition, the non-conductive film 3 does not concavely protrude as with the non-conductive film 23 of the related art illustrated in Fig. 7 , and thus, the end section is protected from the concave step.
  • the impact of the nickel 4 that is applied to the end section of the non-conductive film 3 is small even at the time of peeling off the nickel 4 from the cathode plate 1, and thus, the non-conductive film 3 is less likely to be lost.
  • the non-conductive film 3 is less likely to be lost, and thus, it is possible to repeatedly use the non-conductive film 3 in the electrodeposition without replacing the non-conductive film 3, and it is possible to reduce a maintenance cost and to improve the productivity.
  • the material of the non-conductive film 3 is also applied onto the upper face of the protrusion 2a, and thus, a surface area of the conductive section 2c may decrease, and an initial current density may increase, but there is no problem insofar as the properties of the electrodeposited nickel 4 are not degraded.
  • the film thickness of the non-conductive film 3 attached onto the upper face of the protrusion 2a is extremely thin, and thus, the non-conductive film 3 is easily lost, but the film thickness of the non-conductive film 3 that is formed on the flat section 2b is thick, and thus, the non-conductive film 3 is prevented from being lost, and therefore, there is no problem.
  • the non-conductive film 3 is not particularly limited insofar as the non-conductive film has non-conductivity, and is formed of a material that is less corrosive with respect to an electrolysis solution to be used.
  • the non-conductive film 3 is configured of a thermosetting resin or a photocurable resin (an ultraviolet curable resin or the like), from the viewpoint of easy film formation.
  • an insulating resin such as an epoxybased resin, a phenolic resin, a polyamide-based resin, a polyimide-based resin is exemplified.
  • the upper face of the protrusion 2a that is exposed from the non-conductive film 3 is the conductive section 2c, and the nickel 4 is electrodeposited.
  • the nickel 4 grows not only in a thickness direction but also in a planar direction, and thus, is in a state where the nickel 4 rises to the upper section of the non-conductive film 3. For this reason, it is preferable that the electrodeposition is ended before the nickels 4 grown from the conductive section 2c are in contact with each other in the adjacent protrusions 2a.
  • the nickel 4 is peeled off from the cathode plate 1 after the electrodeposition of the nickel 4 is ended, and thus, a plurality of small mass-shaped electric nickels can be obtained by one cathode plate 1.
  • the non-conductive film 3 is less likely to be lost, and thus, it is possible to repeatedly use the non-conductive film 3 in the electrodeposition without replacing the non-conductive film 3, and it is possible to reduce the maintenance cost and to improve the productivity.
  • the nickel 4 is electrodeposited, but the present invention is not limited to nickel, and silver, gold, zinc, tin, chromium, cobalt, or an alloy thereof may be electrodeposited.
  • a manufacturing method of the cathode plate 1 includes a first step of forming the plurality of disk-shaped protrusions 2a on at least one surface of the metal plate 2 ( Fig. 4A ), and a second step of forming the non-conductive film 3 on the surface of the metal plate 2 other than the protrusion 2a ( Fig. 4B ).
  • the plurality of disk-shaped protrusions 2a are formed on the surface of the metal plate 2. For example, a portion other than the protrusions 2a is removed from the flat plate-shaped metal plate 2 to leave the protrusions 2a having the height L1, and thus, the flat section 2b is formed.
  • a processing method wet etching processing or end mill processing is preferable, and the wet etching processing is more preferable in order to process a large area.
  • a photosensitive etching resist is applied onto a surface of a stainless steel plate, and then, is exposed through a film or glass on which desired pattern is drawn, the etching resist on a portion to be etched is removed by a development treatment. Then, the stainless steel plate subjected to the development treatment is applied to an etching solution (for example, a ferric chloride solution), a part of the stainless steel plate from which the etching resist is removed is removed, and finally, the etching resist is peeled off, and thus, the plurality of disk-shaped protrusions 2a corresponding to a desired pattern can be formed.
  • an etching solution for example, a ferric chloride solution
  • a sectional shape of the protrusion 2a is a shape formed of the substantially vertical section 2d and the inclined section 2e.
  • the metal plate 2 is processed by a radius end mill having a desired shape in which a tip end of a blade of a drill is rounded, and thus, the substantially vertical section 2d and the inclined section 2e can be more precisely formed.
  • the protrusion 2a may be formed on only one surface of the metal plate 2, or may be formed on both surfaces of the metal plate 2.
  • the non-conductive film 3 is formed on the flat section 2b that is the surface of the metal plate 2 other than the protrusion 2a.
  • a formation method of the non-conductive film 3 is not particularly limited, and the non-conductive film 3 can be formed by screen printing. In a case where the material of the non-conductive film 3 is a thermosetting resin or a photocurable resin, as necessary, thermal curing or photo curing may be performed.
  • the manufacturing method of the cathode plate according to this embodiment it is possible to obtain the cathode plate 1 in which the non-conductive film 3 on the metal plate 2 is less likely to be lost, and thus, can be repeatedly used, by a simple method described above.
  • the non-conductive film 3 is formed again due to degradation such as the loss of the non-conductive film 3, and thus, the maintenance is necessary, the peeling residue of the non-conductive film 3 is less likely to be generated on the side face of the protrusion 2a, at the time of peeling off the non-conductive film 3, and the maintenance is easy.
  • the cathode plate 1 as illustrated in Fig. 1 and Fig. 2 was prepared. Specifically, first, the metal plate 2 of stainless steel (a cold rolling material) having a size of 200 mm ⁇ 100 mm ⁇ 4 mm was subjected to wet etching, and thus, the (18) disk-shaped protrusions 2a were formed. At this time, in the size of the protrusion 2a, the diameter was 14 mm, the height L1 was 300 ⁇ m, and a minimum distance between centers of the adjacent protrusions 2a was 21 mm.
  • stainless steel a cold rolling material
  • the shape was measured by a laser displacement meter, and thus, the height L2 of the substantially vertical section 2d was 120 ⁇ m on average, the height L3 of the inclined section 2e was 180 ⁇ m on average, and the length L4 of the inclined section 2e was 420 ⁇ m on average.
  • thermosetting epoxy resin was applied onto the flat section 2b of the metal plate 2 by a screen printing method, and was cured by being heated at 150°C for 60 minutes, and thus, the non-conductive film 3 was formed.
  • the cathode plate 1 was prepared as with Example 1, except that the height L1 of the protrusion 2a of the metal plate 2 was 500 ⁇ m.
  • the height L2 of the substantially vertical section 2d was measured by the laser displacement meter, and thus, was 200 ⁇ m on average
  • the height L3 of the inclined section 2e was 300 ⁇ m on average
  • the length L4 of the inclined section 2e was 650 ⁇ m on average.
  • the cathode plate 1 was prepared as with Example 1, except that the height L1 of the protrusion 2a of the metal plate 2 was 60 ⁇ m.
  • the height L2 of the substantially vertical section 2d was measured by the laser displacement meter, and thus, was 45 ⁇ m on average
  • the height L3 of the inclined section 2e was 15 ⁇ m on average
  • the length L4 of the inclined section 2e was 20 ⁇ m on average.
  • the cathode plate 1 was prepared as with Example 1, except that the height L1 of the protrusion 2a of the metal plate 2 was 200 ⁇ m.
  • the height L2 of the substantially vertical section 2d was measured by the laser displacement meter, and thus, was 90 ⁇ m on average
  • the height L3 of the inclined section 2e was 110 ⁇ m on average
  • the length L4 of the inclined section 2e was 240 ⁇ m on average.
  • the cathode plate 1 was prepared as with Example 1, except that the disk-shaped protrusion was formed by using a radius end mill drill.
  • the height L2 of the substantially vertical section 2d was measured by the laser displacement meter, and thus, was 100 ⁇ m on average
  • the height L3 of the inclined section 2e was 200 ⁇ m on average
  • the length L4 of the inclined section 2e was 220 ⁇ m on average.
  • the cathode plate 11 of the related art as illustrated in Fig. 5 and Fig. 6 was prepared. Specifically, a thermosetting epoxy resin was applied onto the flat plate-shaped metal plate 12 of stainless steel (a cold rolling material) having a size of 200 mm ⁇ 100 mm ⁇ 4 mm by a screen printing method while leaving the (18) conductive sections 12a having a diameter of 14 mm, and was cured by being heated at 150°C for 60 minutes, and thus, the non-conductive film 13 was formed, and the cathode plate 11 was prepared.
  • stainless steel a cold rolling material
  • the cathode plate 1 was prepared as with Example 1, except that the height L1 of the protrusion 2a of the metal plate 2 was 40 ⁇ m.
  • the height L2 of the substantially vertical section 2d was measured by the laser displacement meter, and thus, was 30 ⁇ m on average
  • the height L3 of the inclined section 2e was 10 ⁇ m on average
  • the length L4 of the inclined section 2e was 50 ⁇ m on average.
  • the cathode plate 1 was prepared as with Example 4, except that the metal plate 2 of stainless steel (a hot rolling material) having a size of 200 mm ⁇ 100 mm ⁇ 4 mm was used.
  • the height L2 of the substantially vertical section 2d was measured by the laser displacement meter, and thus, a part thereof was approximately 20 ⁇ m, the height L3 of the inclined section 2e was 180 ⁇ m on average, and the length L4 of the inclined section 2e was 300 ⁇ m on average.
  • Such a portion in which the height L2 of the substantially vertical section 2d is low is formed by a concave section of surface roughness that is formed in the manufacturing step of the hot rolling material.
  • the cathode plate 1 was prepared as with Example 4, except that the disk-shaped protrusion 2a was formed by using a flat end mill drill.
  • the height L2 of the substantially vertical section 2d was measured by the laser displacement meter, and thus, was 200 ⁇ m, and there was no inclined section.
  • the metal plate was subjected to the wet etching, and protrusions of which the height L1 was 2000 ⁇ m were formed.
  • the warpage of the metal plate was large, and it was difficult to form the non-conductive film by screen printing.
  • the electric nickel was manufactured by an electrolysis treatment, by using the cathode plate prepared in each of the examples and each of the comparative examples. Specifically, the cathode plate, and an anode plate of electric nickel having a size of 200 mm ⁇ 100 mm ⁇ 10 mm were immersed in an electrolysis bath containing a nickel chloride electrolysis solution to face each other. Then, nickel was electrodeposited on the surface of the cathode plate, in a condition of an initial current density of 710 A/m 2 and an electrolysis time for 3 days. The electric nickel precipitated on the cathode plate was peeled off after the electrolysis, and thus, small mass-shaped electric nickel for plating was obtained.
  • the number of times that the cathode plate used in the electrolysis treatment can be directly repeatedly used was evaluated.
  • the loss of the non-conductive film spreads, the adjacent protrusions, and the nickels electrodeposited on the conductive section are joined to each to each other, and thus, electric nickel having desired shape may not be obtained. Therefore, in a case where the non-conductive film was lost over greater than or equal to 1 mm from the boundary with respect to the protrusion in a flat section direction, the use was stopped, and the number of repeating times up to that time point was evaluated.
  • the electrodeposition and the peeling of nickel were repeated up to 20 times.
  • the non-conductive film of the cathode plate of which the number of repeating times was evaluated was peeled off by a waterjet, and peeling properties of the non-conductive film were evaluated. Specifically, a rotary nozzle of which a hole diameter was 0.4 mm and the number of holes was 3 was used as the waterjet, and the non-conductive film was peeled off at a hydraulic pressure of 200 MPa, the quantity of water of 10 L/minute, and an effective width of 30 mm, while moving the nozzle at 2 m/minute.
  • the non-conductive film 3 when the non-conductive film 3 was peeled off by the waterjet, the non-conductive film 3 was capable of being excellently peeled off without generating a peeling residue or the like.
  • Comparative Example 1 in which the non-conductive film 13 was formed on the flat plate-shaped metal plate 12, the non-conductive film 14 was lost, and thus, was not capable of being sufficiently repeatedly used.
  • Comparative Example 2 in which the height L1 of the protrusion 2a was low, the non-conductive film 3 was lost, and thus, was not capable of being sufficiently repeatedly used.
  • Comparative Example 3 the non-conductive film 3 is lost from a portion in which the height L2 of the substantially vertical section 2d was as low as 20 ⁇ m, in the shape of the side face of the protrusion 2a, and thus, was not capable of being sufficiently repeatedly used.
  • Comparative Example 4 there was no inclined section in the shape of the side face of the protrusion 2a, and thus, when the non-conductive film 3 was peeled off by the waterjet, a peeling residue was generated on the corner of the side face of the protrusion 2a that was formed at an approximately right angle. Further, in Comparative Example 5, the height L1 of the protrusion 2a was excessively high, and thus, warpage of the metal plate 2 was large, it was difficult to perform coating with respect to the non-conductive film, and thus, it was not possible to configure the cathode plate.

Landscapes

  • Chemical & Material Sciences (AREA)
  • Organic Chemistry (AREA)
  • Engineering & Computer Science (AREA)
  • Chemical Kinetics & Catalysis (AREA)
  • Materials Engineering (AREA)
  • Metallurgy (AREA)
  • Electrochemistry (AREA)
  • General Chemical & Material Sciences (AREA)
  • Mechanical Engineering (AREA)
  • Crystallography & Structural Chemistry (AREA)
  • Electrolytic Production Of Metals (AREA)
  • Milling Processes (AREA)
  • ing And Chemical Polishing (AREA)
EP18809926.1A 2017-05-29 2018-03-29 Cathode plate for metal electrodeposition and manufacturing method for same Active EP3633074B1 (en)

Applications Claiming Priority (2)

Application Number Priority Date Filing Date Title
JP2017105796A JP6500937B2 (ja) 2017-05-29 2017-05-29 金属電着用陰極板及びその製造方法
PCT/JP2018/013187 WO2018220979A1 (ja) 2017-05-29 2018-03-29 金属電着用陰極板及びその製造方法

Publications (3)

Publication Number Publication Date
EP3633074A1 EP3633074A1 (en) 2020-04-08
EP3633074A4 EP3633074A4 (en) 2021-03-10
EP3633074B1 true EP3633074B1 (en) 2022-10-05

Family

ID=64454726

Family Applications (1)

Application Number Title Priority Date Filing Date
EP18809926.1A Active EP3633074B1 (en) 2017-05-29 2018-03-29 Cathode plate for metal electrodeposition and manufacturing method for same

Country Status (5)

Country Link
EP (1) EP3633074B1 (enExample)
JP (1) JP6500937B2 (enExample)
CN (1) CN110546310B (enExample)
CA (1) CA3064525C (enExample)
WO (1) WO2018220979A1 (enExample)

Families Citing this family (6)

* Cited by examiner, † Cited by third party
Publication number Priority date Publication date Assignee Title
JP7188219B2 (ja) * 2019-03-25 2022-12-13 住友金属鉱山株式会社 金属電着用の陰極板
JP7188216B2 (ja) * 2019-03-25 2022-12-13 住友金属鉱山株式会社 金属電着用の陰極板の製造方法
JP7238524B2 (ja) * 2019-03-25 2023-03-14 住友金属鉱山株式会社 金属電着用の陰極板
JP7188218B2 (ja) * 2019-03-25 2022-12-13 住友金属鉱山株式会社 金属電着用の陰極板
JP7188217B2 (ja) * 2019-03-25 2022-12-13 住友金属鉱山株式会社 金属電着用の陰極板の製造方法
JP2021095594A (ja) * 2019-12-13 2021-06-24 住友金属鉱山株式会社 ボタン型電気ニッケルの製造方法

Family Cites Families (9)

* Cited by examiner, † Cited by third party
Publication number Priority date Publication date Assignee Title
US3668081A (en) * 1971-03-17 1972-06-06 Int Nickel Co Production of electrolytic metal
GB1573449A (en) * 1976-04-01 1980-08-20 Falconbridge Nickel Mines Ltd Reusable electrolysis cathode
US4040915A (en) * 1976-06-15 1977-08-09 The International Nickel Company, Inc. Method for producing regular electronickel or S nickel rounds from electroplating baths giving highly stressed deposits
JPS6038678Y2 (ja) * 1981-05-15 1985-11-19 住友金属鉱山株式会社 金属電着用母板
JPH10317197A (ja) * 1997-05-14 1998-12-02 Sumitomo Metal Mining Co Ltd メッキ用電気ニッケル、その製造用陰極板及び製造方法
JP2004502036A (ja) * 2000-06-30 2004-01-22 ハネウェル・インターナショナル・インコーポレーテッド 金属を加工処理するための方法及び装置、並びに加工処理して製造された金属
US20110233055A1 (en) * 2008-09-09 2011-09-29 Steelmore Holdingd Pty Ltd cathode and a method of forming a cathode
KR101664540B1 (ko) * 2014-04-02 2016-10-25 오씨아이 주식회사 전해 도금용 전극 및 이를 포함하는 전해 도금 장치
US10676831B2 (en) * 2014-07-15 2020-06-09 De Nora Permelec Ltd Electrolysis cathode and method for producing electrolysis cathode

Also Published As

Publication number Publication date
CN110546310A (zh) 2019-12-06
CN110546310B (zh) 2020-09-15
CA3064525C (en) 2020-03-24
JP2018199857A (ja) 2018-12-20
WO2018220979A1 (ja) 2018-12-06
CA3064525A1 (en) 2018-12-06
EP3633074A1 (en) 2020-04-08
JP6500937B2 (ja) 2019-04-17
EP3633074A4 (en) 2021-03-10

Similar Documents

Publication Publication Date Title
EP3633074B1 (en) Cathode plate for metal electrodeposition and manufacturing method for same
CN102149855B (zh) 电铸方法
EP3489395A1 (en) Metal electrodeposition cathode plate and production method therefor
KR20130036017A (ko) 반도체소자 탑재용 기판 및 그 제조 방법
US3695927A (en) Electrodeposition process for producing perforated foils with raised portions at the edges of the holes
JP6638589B2 (ja) 金属電着用陰極板及びその製造方法
KR101282327B1 (ko) 미세 금속 패턴을 가지는 필름 제조 방법
JP7188217B2 (ja) 金属電着用の陰極板の製造方法
JP7188216B2 (ja) 金属電着用の陰極板の製造方法
US20230357943A1 (en) Master plate and manufacturing method of metal formed article
JP7188218B2 (ja) 金属電着用の陰極板
JP7238524B2 (ja) 金属電着用の陰極板
JP6737035B2 (ja) 金属電着用陰極板及びその製造方法
JP7188219B2 (ja) 金属電着用の陰極板
US8012329B2 (en) Dimensional control in electroforms
JP2019108592A (ja) ボタン型電気ニッケルの製造用母板、その製造方法、及びそれを用いたボタン型電気ニッケルの製造方法
CN113416924B (zh) 遮罩、遮罩的制造方法及用于制造遮罩的母模
JP2018012867A (ja) 金属電着用陰極板及びその製造方法
CN203256357U (zh) 新型的轮毂电镀仿形阳极
JP6760191B2 (ja) 特殊形状電着物の製造方法
TW202120328A (zh) 孔洞結構及其製作方法以及包含孔洞結構之異材質接合結構及其製作方法
JP2003082491A (ja) 微細電鋳用金型とその製造方法
JPH11284317A (ja) 曲面体表面における金属パターン形成方法
KR20180123786A (ko) 수직성장 전주가공물과 그 제작 방법

Legal Events

Date Code Title Description
STAA Information on the status of an ep patent application or granted ep patent

Free format text: STATUS: THE INTERNATIONAL PUBLICATION HAS BEEN MADE

PUAI Public reference made under article 153(3) epc to a published international application that has entered the european phase

Free format text: ORIGINAL CODE: 0009012

STAA Information on the status of an ep patent application or granted ep patent

Free format text: STATUS: REQUEST FOR EXAMINATION WAS MADE

17P Request for examination filed

Effective date: 20191218

AK Designated contracting states

Kind code of ref document: A1

Designated state(s): AL AT BE BG CH CY CZ DE DK EE ES FI FR GB GR HR HU IE IS IT LI LT LU LV MC MK MT NL NO PL PT RO RS SE SI SK SM TR

AX Request for extension of the european patent

Extension state: BA ME

DAV Request for validation of the european patent (deleted)
DAX Request for extension of the european patent (deleted)
A4 Supplementary search report drawn up and despatched

Effective date: 20210208

RIC1 Information provided on ipc code assigned before grant

Ipc: C25C 7/02 20060101AFI20210202BHEP

Ipc: C25D 17/12 20060101ALI20210202BHEP

Ipc: C25D 1/20 20060101ALI20210202BHEP

Ipc: C23F 1/02 20060101ALI20210202BHEP

Ipc: C25D 17/16 20060101ALI20210202BHEP

Ipc: C25C 1/08 20060101ALI20210202BHEP

Ipc: C25D 1/00 20060101ALI20210202BHEP

STAA Information on the status of an ep patent application or granted ep patent

Free format text: STATUS: EXAMINATION IS IN PROGRESS

17Q First examination report despatched

Effective date: 20211104

RIC1 Information provided on ipc code assigned before grant

Ipc: C23F 1/04 20060101ALI20220524BHEP

Ipc: C25D 17/16 20060101ALI20220524BHEP

Ipc: C25D 1/20 20060101ALI20220524BHEP

Ipc: C25D 1/00 20060101ALI20220524BHEP

Ipc: C25D 17/12 20060101ALI20220524BHEP

Ipc: C25C 1/08 20060101ALI20220524BHEP

Ipc: C23F 1/02 20060101ALI20220524BHEP

Ipc: C25C 7/02 20060101AFI20220524BHEP

GRAP Despatch of communication of intention to grant a patent

Free format text: ORIGINAL CODE: EPIDOSNIGR1

STAA Information on the status of an ep patent application or granted ep patent

Free format text: STATUS: GRANT OF PATENT IS INTENDED

INTG Intention to grant announced

Effective date: 20220704

GRAS Grant fee paid

Free format text: ORIGINAL CODE: EPIDOSNIGR3

GRAA (expected) grant

Free format text: ORIGINAL CODE: 0009210

STAA Information on the status of an ep patent application or granted ep patent

Free format text: STATUS: THE PATENT HAS BEEN GRANTED

AK Designated contracting states

Kind code of ref document: B1

Designated state(s): AL AT BE BG CH CY CZ DE DK EE ES FI FR GB GR HR HU IE IS IT LI LT LU LV MC MK MT NL NO PL PT RO RS SE SI SK SM TR

REG Reference to a national code

Ref country code: GB

Ref legal event code: FG4D

REG Reference to a national code

Ref country code: CH

Ref legal event code: EP

REG Reference to a national code

Ref country code: AT

Ref legal event code: REF

Ref document number: 1522807

Country of ref document: AT

Kind code of ref document: T

Effective date: 20221015

REG Reference to a national code

Ref country code: IE

Ref legal event code: FG4D

REG Reference to a national code

Ref country code: DE

Ref legal event code: R096

Ref document number: 602018041478

Country of ref document: DE

REG Reference to a national code

Ref country code: NO

Ref legal event code: T2

Effective date: 20221005

REG Reference to a national code

Ref country code: LT

Ref legal event code: MG9D

REG Reference to a national code

Ref country code: NL

Ref legal event code: MP

Effective date: 20221005

REG Reference to a national code

Ref country code: AT

Ref legal event code: MK05

Ref document number: 1522807

Country of ref document: AT

Kind code of ref document: T

Effective date: 20221005

PG25 Lapsed in a contracting state [announced via postgrant information from national office to epo]

Ref country code: NL

Free format text: LAPSE BECAUSE OF FAILURE TO SUBMIT A TRANSLATION OF THE DESCRIPTION OR TO PAY THE FEE WITHIN THE PRESCRIBED TIME-LIMIT

Effective date: 20221005

PG25 Lapsed in a contracting state [announced via postgrant information from national office to epo]

Ref country code: SE

Free format text: LAPSE BECAUSE OF FAILURE TO SUBMIT A TRANSLATION OF THE DESCRIPTION OR TO PAY THE FEE WITHIN THE PRESCRIBED TIME-LIMIT

Effective date: 20221005

Ref country code: PT

Free format text: LAPSE BECAUSE OF FAILURE TO SUBMIT A TRANSLATION OF THE DESCRIPTION OR TO PAY THE FEE WITHIN THE PRESCRIBED TIME-LIMIT

Effective date: 20230206

Ref country code: LT

Free format text: LAPSE BECAUSE OF FAILURE TO SUBMIT A TRANSLATION OF THE DESCRIPTION OR TO PAY THE FEE WITHIN THE PRESCRIBED TIME-LIMIT

Effective date: 20221005

Ref country code: FI

Free format text: LAPSE BECAUSE OF FAILURE TO SUBMIT A TRANSLATION OF THE DESCRIPTION OR TO PAY THE FEE WITHIN THE PRESCRIBED TIME-LIMIT

Effective date: 20221005

Ref country code: ES

Free format text: LAPSE BECAUSE OF FAILURE TO SUBMIT A TRANSLATION OF THE DESCRIPTION OR TO PAY THE FEE WITHIN THE PRESCRIBED TIME-LIMIT

Effective date: 20221005

Ref country code: AT

Free format text: LAPSE BECAUSE OF FAILURE TO SUBMIT A TRANSLATION OF THE DESCRIPTION OR TO PAY THE FEE WITHIN THE PRESCRIBED TIME-LIMIT

Effective date: 20221005

PG25 Lapsed in a contracting state [announced via postgrant information from national office to epo]

Ref country code: RS

Free format text: LAPSE BECAUSE OF FAILURE TO SUBMIT A TRANSLATION OF THE DESCRIPTION OR TO PAY THE FEE WITHIN THE PRESCRIBED TIME-LIMIT

Effective date: 20221005

Ref country code: PL

Free format text: LAPSE BECAUSE OF FAILURE TO SUBMIT A TRANSLATION OF THE DESCRIPTION OR TO PAY THE FEE WITHIN THE PRESCRIBED TIME-LIMIT

Effective date: 20221005

Ref country code: LV

Free format text: LAPSE BECAUSE OF FAILURE TO SUBMIT A TRANSLATION OF THE DESCRIPTION OR TO PAY THE FEE WITHIN THE PRESCRIBED TIME-LIMIT

Effective date: 20221005

Ref country code: IS

Free format text: LAPSE BECAUSE OF FAILURE TO SUBMIT A TRANSLATION OF THE DESCRIPTION OR TO PAY THE FEE WITHIN THE PRESCRIBED TIME-LIMIT

Effective date: 20230205

Ref country code: HR

Free format text: LAPSE BECAUSE OF FAILURE TO SUBMIT A TRANSLATION OF THE DESCRIPTION OR TO PAY THE FEE WITHIN THE PRESCRIBED TIME-LIMIT

Effective date: 20221005

Ref country code: GR

Free format text: LAPSE BECAUSE OF FAILURE TO SUBMIT A TRANSLATION OF THE DESCRIPTION OR TO PAY THE FEE WITHIN THE PRESCRIBED TIME-LIMIT

Effective date: 20230106

REG Reference to a national code

Ref country code: DE

Ref legal event code: R097

Ref document number: 602018041478

Country of ref document: DE

PG25 Lapsed in a contracting state [announced via postgrant information from national office to epo]

Ref country code: SM

Free format text: LAPSE BECAUSE OF FAILURE TO SUBMIT A TRANSLATION OF THE DESCRIPTION OR TO PAY THE FEE WITHIN THE PRESCRIBED TIME-LIMIT

Effective date: 20221005

Ref country code: RO

Free format text: LAPSE BECAUSE OF FAILURE TO SUBMIT A TRANSLATION OF THE DESCRIPTION OR TO PAY THE FEE WITHIN THE PRESCRIBED TIME-LIMIT

Effective date: 20221005

Ref country code: EE

Free format text: LAPSE BECAUSE OF FAILURE TO SUBMIT A TRANSLATION OF THE DESCRIPTION OR TO PAY THE FEE WITHIN THE PRESCRIBED TIME-LIMIT

Effective date: 20221005

Ref country code: DK

Free format text: LAPSE BECAUSE OF FAILURE TO SUBMIT A TRANSLATION OF THE DESCRIPTION OR TO PAY THE FEE WITHIN THE PRESCRIBED TIME-LIMIT

Effective date: 20221005

Ref country code: CZ

Free format text: LAPSE BECAUSE OF FAILURE TO SUBMIT A TRANSLATION OF THE DESCRIPTION OR TO PAY THE FEE WITHIN THE PRESCRIBED TIME-LIMIT

Effective date: 20221005

PLBE No opposition filed within time limit

Free format text: ORIGINAL CODE: 0009261

STAA Information on the status of an ep patent application or granted ep patent

Free format text: STATUS: NO OPPOSITION FILED WITHIN TIME LIMIT

PG25 Lapsed in a contracting state [announced via postgrant information from national office to epo]

Ref country code: SK

Free format text: LAPSE BECAUSE OF FAILURE TO SUBMIT A TRANSLATION OF THE DESCRIPTION OR TO PAY THE FEE WITHIN THE PRESCRIBED TIME-LIMIT

Effective date: 20221005

Ref country code: AL

Free format text: LAPSE BECAUSE OF FAILURE TO SUBMIT A TRANSLATION OF THE DESCRIPTION OR TO PAY THE FEE WITHIN THE PRESCRIBED TIME-LIMIT

Effective date: 20221005

26N No opposition filed

Effective date: 20230706

REG Reference to a national code

Ref country code: DE

Ref legal event code: R119

Ref document number: 602018041478

Country of ref document: DE

PG25 Lapsed in a contracting state [announced via postgrant information from national office to epo]

Ref country code: MC

Free format text: LAPSE BECAUSE OF FAILURE TO SUBMIT A TRANSLATION OF THE DESCRIPTION OR TO PAY THE FEE WITHIN THE PRESCRIBED TIME-LIMIT

Effective date: 20221005

REG Reference to a national code

Ref country code: CH

Ref legal event code: PL

GBPC Gb: european patent ceased through non-payment of renewal fee

Effective date: 20230329

PG25 Lapsed in a contracting state [announced via postgrant information from national office to epo]

Ref country code: SI

Free format text: LAPSE BECAUSE OF FAILURE TO SUBMIT A TRANSLATION OF THE DESCRIPTION OR TO PAY THE FEE WITHIN THE PRESCRIBED TIME-LIMIT

Effective date: 20221005

REG Reference to a national code

Ref country code: BE

Ref legal event code: MM

Effective date: 20230331

PG25 Lapsed in a contracting state [announced via postgrant information from national office to epo]

Ref country code: LU

Free format text: LAPSE BECAUSE OF NON-PAYMENT OF DUE FEES

Effective date: 20230329

REG Reference to a national code

Ref country code: IE

Ref legal event code: MM4A

PG25 Lapsed in a contracting state [announced via postgrant information from national office to epo]

Ref country code: GB

Free format text: LAPSE BECAUSE OF NON-PAYMENT OF DUE FEES

Effective date: 20230329

PG25 Lapsed in a contracting state [announced via postgrant information from national office to epo]

Ref country code: LI

Free format text: LAPSE BECAUSE OF NON-PAYMENT OF DUE FEES

Effective date: 20230331

Ref country code: IE

Free format text: LAPSE BECAUSE OF NON-PAYMENT OF DUE FEES

Effective date: 20230329

Ref country code: GB

Free format text: LAPSE BECAUSE OF NON-PAYMENT OF DUE FEES

Effective date: 20230329

Ref country code: FR

Free format text: LAPSE BECAUSE OF NON-PAYMENT OF DUE FEES

Effective date: 20230331

Ref country code: DE

Free format text: LAPSE BECAUSE OF NON-PAYMENT OF DUE FEES

Effective date: 20231003

Ref country code: CH

Free format text: LAPSE BECAUSE OF NON-PAYMENT OF DUE FEES

Effective date: 20230331

PG25 Lapsed in a contracting state [announced via postgrant information from national office to epo]

Ref country code: BE

Free format text: LAPSE BECAUSE OF NON-PAYMENT OF DUE FEES

Effective date: 20230331

PG25 Lapsed in a contracting state [announced via postgrant information from national office to epo]

Ref country code: IT

Free format text: LAPSE BECAUSE OF FAILURE TO SUBMIT A TRANSLATION OF THE DESCRIPTION OR TO PAY THE FEE WITHIN THE PRESCRIBED TIME-LIMIT

Effective date: 20221005

PG25 Lapsed in a contracting state [announced via postgrant information from national office to epo]

Ref country code: BG

Free format text: LAPSE BECAUSE OF FAILURE TO SUBMIT A TRANSLATION OF THE DESCRIPTION OR TO PAY THE FEE WITHIN THE PRESCRIBED TIME-LIMIT

Effective date: 20221005

PG25 Lapsed in a contracting state [announced via postgrant information from national office to epo]

Ref country code: BG

Free format text: LAPSE BECAUSE OF FAILURE TO SUBMIT A TRANSLATION OF THE DESCRIPTION OR TO PAY THE FEE WITHIN THE PRESCRIBED TIME-LIMIT

Effective date: 20221005

PGFP Annual fee paid to national office [announced via postgrant information from national office to epo]

Ref country code: NO

Payment date: 20250312

Year of fee payment: 8

PG25 Lapsed in a contracting state [announced via postgrant information from national office to epo]

Ref country code: CY

Free format text: LAPSE BECAUSE OF FAILURE TO SUBMIT A TRANSLATION OF THE DESCRIPTION OR TO PAY THE FEE WITHIN THE PRESCRIBED TIME-LIMIT; INVALID AB INITIO

Effective date: 20180329

PG25 Lapsed in a contracting state [announced via postgrant information from national office to epo]

Ref country code: HU

Free format text: LAPSE BECAUSE OF FAILURE TO SUBMIT A TRANSLATION OF THE DESCRIPTION OR TO PAY THE FEE WITHIN THE PRESCRIBED TIME-LIMIT; INVALID AB INITIO

Effective date: 20180329

PG25 Lapsed in a contracting state [announced via postgrant information from national office to epo]

Ref country code: TR

Free format text: LAPSE BECAUSE OF FAILURE TO SUBMIT A TRANSLATION OF THE DESCRIPTION OR TO PAY THE FEE WITHIN THE PRESCRIBED TIME-LIMIT

Effective date: 20221005