EP3550119B1 - Verbrennungsmotor mit einem entlüftungssystem - Google Patents

Verbrennungsmotor mit einem entlüftungssystem Download PDF

Info

Publication number
EP3550119B1
EP3550119B1 EP19164618.1A EP19164618A EP3550119B1 EP 3550119 B1 EP3550119 B1 EP 3550119B1 EP 19164618 A EP19164618 A EP 19164618A EP 3550119 B1 EP3550119 B1 EP 3550119B1
Authority
EP
European Patent Office
Prior art keywords
venting
combustion engine
run
line
ventilation
Prior art date
Legal status (The legal status is an assumption and is not a legal conclusion. Google has not performed a legal analysis and makes no representation as to the accuracy of the status listed.)
Active
Application number
EP19164618.1A
Other languages
English (en)
French (fr)
Other versions
EP3550119A1 (de
Inventor
Joris Walch
Current Assignee (The listed assignees may be inaccurate. Google has not performed a legal analysis and makes no representation or warranty as to the accuracy of the list.)
Liebherr Machines Bulle SA
Original Assignee
Liebherr Machines Bulle SA
Priority date (The priority date is an assumption and is not a legal conclusion. Google has not performed a legal analysis and makes no representation as to the accuracy of the date listed.)
Filing date
Publication date
Application filed by Liebherr Machines Bulle SA filed Critical Liebherr Machines Bulle SA
Publication of EP3550119A1 publication Critical patent/EP3550119A1/de
Application granted granted Critical
Publication of EP3550119B1 publication Critical patent/EP3550119B1/de
Active legal-status Critical Current
Anticipated expiration legal-status Critical

Links

Images

Classifications

    • FMECHANICAL ENGINEERING; LIGHTING; HEATING; WEAPONS; BLASTING
    • F01MACHINES OR ENGINES IN GENERAL; ENGINE PLANTS IN GENERAL; STEAM ENGINES
    • F01PCOOLING OF MACHINES OR ENGINES IN GENERAL; COOLING OF INTERNAL-COMBUSTION ENGINES
    • F01P11/00Component parts, details, or accessories not provided for in, or of interest apart from, groups F01P1/00 - F01P9/00
    • F01P11/02Liquid-coolant filling, overflow, venting, or draining devices
    • F01P11/028Deaeration devices
    • FMECHANICAL ENGINEERING; LIGHTING; HEATING; WEAPONS; BLASTING
    • F01MACHINES OR ENGINES IN GENERAL; ENGINE PLANTS IN GENERAL; STEAM ENGINES
    • F01PCOOLING OF MACHINES OR ENGINES IN GENERAL; COOLING OF INTERNAL-COMBUSTION ENGINES
    • F01P11/00Component parts, details, or accessories not provided for in, or of interest apart from, groups F01P1/00 - F01P9/00
    • F01P11/02Liquid-coolant filling, overflow, venting, or draining devices
    • F01P11/0285Venting devices
    • FMECHANICAL ENGINEERING; LIGHTING; HEATING; WEAPONS; BLASTING
    • F01MACHINES OR ENGINES IN GENERAL; ENGINE PLANTS IN GENERAL; STEAM ENGINES
    • F01PCOOLING OF MACHINES OR ENGINES IN GENERAL; COOLING OF INTERNAL-COMBUSTION ENGINES
    • F01P11/00Component parts, details, or accessories not provided for in, or of interest apart from, groups F01P1/00 - F01P9/00
    • F01P11/04Arrangements of liquid pipes or hoses

Definitions

  • the present invention relates to an internal combustion engine with a venting system for venting the cooling system of a plurality of separate cylinder heads of the internal combustion engine or for venting a plurality of areas of the cooling system assigned to the individual cylinders of a connected cylinder head bank of the internal combustion engine, with a vent line, which vent openings the cooling system with connects a tank and/or the environment, the vent line having a first branch which connects at least two vent openings in series.
  • the internal combustion engine can be an engine with a plurality of separate cylinder heads 1 .
  • the cylinder heads each have a cooling system which must be vented via a vent opening 9 arranged on the cylinder head.
  • a ventilation system is also from the U.S. 3,646,919 A known.
  • pamphlet WO 2004/076022 A1 also shows a ventilation system for the cylinder heads of an internal combustion engine, all the ventilation openings of the cylinders being arranged in series in one branch of the ventilation system.
  • the cooler is vented with a second, parallel line.
  • pamphlet JP 01142212A shows an internal combustion engine with a common cylinder head bank for all cylinders.
  • a ventilation opening for the cooling system is provided at a front end and at a rear end of the cylinder head bank.
  • the ventilation openings are each connected to a branch of the ventilation line via valves, the two branches being brought together and connected to a third branch which leads to the tank. This is intended to ensure ventilation even when the internal combustion engine is arranged in an inclined position.
  • pamphlets FR 2 388 133 A1 , EP 2 789 824 A1 , U.S. 3,646,919 A and U.S. 2,841,127 A show other cooling systems for combustion engines.
  • the inventors of the present invention have recognized that with a ventilation system according to U.S. 3,646,919 A proper quick venting is problematic.
  • the present invention comprises an internal combustion engine with a ventilation system for venting the cooling system of a plurality of separate cylinder heads of the internal combustion engine or for venting a plurality of areas of the cooling system assigned to the individual cylinders of a connected cylinder head bank of the internal combustion engine, with a ventilation line which ventilation openings the cooling system with a tank and/or the environment, the vent line having a first branch which connects at least two vent openings in series.
  • the invention is characterized in that the ventilation line has at least one second line, which is arranged parallel to the first line in the ventilation line and connects at least two ventilation openings in series. This means that the first and the second line are not connected in series, but the air flows in the first and the second line run separately from one another. The air streams from the first and the second line are then preferably brought together at one point in the ventilation system.
  • the second parallel branch of the ventilation line enables improved ventilation of the cooling system of the cylinder heads, in particular improved quick ventilation, as is necessary when the cooling system of the cylinder heads is filled for the first time.
  • the inventors of the present invention have recognized that in the case of a ventilation line with only one branch, which connects all cylinder heads in series, a flow reversal can occur in the area of those ventilation openings which, viewed in the direction of flow, are at the beginning of the ventilation line, see area 3 in Fig. 1b , which shows through the arrows the direction of flow within the ventilation system according to the prior art.
  • the large amount of air that flows downstream through the ventilation openings arranged there into the ventilation line pushes so hard backwards that no air escapes from individual ventilation openings at the beginning of the ventilation line, and sometimes even air is pushed into the respective component or area via the ventilation openings.
  • a considerably lower bleed or filling speed would have been necessary.
  • the two parallel strands of the ventilation line enable a significantly improved rapid ventilation of the cylinder heads, since there is no longer a flow reversal and air flows out equally from all ventilation openings.
  • the second branch of the ventilation line also connects at least two ventilation openings in series, i.e. at least two ventilation openings are also arranged one behind the other in the second branch.
  • the first leg and the second leg each connect at least three vents in series.
  • the ventilation line further comprises at least one third line, which is connected to the first and the second line and connects them together with the tank and/or the environment.
  • the first and second legs are therefore joined at a point in the vent line and the air from the first and second legs flows from this point together via the third leg to the tank or atmosphere.
  • the third leg does not necessarily have to be in the form of a separate tubular element from the first and second legs.
  • the first branch can open into the second branch, which from this point forms the third branch, or vice versa.
  • the three strands are preferably formed by separate tubular elements which are connected to one another.
  • no ventilation openings are arranged in the third line, i.e. it only serves to evacuate the air from the ventilation openings, which are arranged in the first and in the second line.
  • the first and second legs preferably each have a first end communicating with a first vent opening in that leg and a second end, the second ends of the first and second legs communicating with each other.
  • the strands are preferably designed in such a way that air can flow from the first vent opening in only one direction through the respective strand to a subsequent vent opening or to the second end, i.e. the first end is closed except for the connection with the first vent opening.
  • the first and the second parallel branch of the ventilation line are connected to the third branch in the area of a ventilation opening. This results in a particularly simple structure.
  • connection of at least one of the strands to the ventilation opening can simultaneously serve to connect the strands to one another and to the third strand.
  • a connector element is provided, which serves to connect the three strands to one another and to connect to the ventilation opening.
  • the ventilation line is an internal ventilation line which runs, for example, within a cylinder head bank for the internal connection of the ventilation openings of the respective cylinder head areas.
  • the vent line is an external vent line which is connected via Connector elements is connected to the ventilation openings of the internal combustion engine.
  • the ventilation line can consist of one or more tube elements which are connected to the ventilation openings via connector elements.
  • the strands particularly preferably consist of tubular elements which are connected not only to the ventilation openings but also to one another through the connector elements.
  • At least one connector element is designed as a connector screw, which has an axial bore that is in fluid communication with the vent opening, and at least one radial bore that is connected to the axial bore, the connection with a branch of the ventilation line via a clamp, which encompasses the circumference of the connector screw in the area of the radial bore, and to which the ventilation line is connected. All connector elements are preferably designed as such connector screws.
  • the connector screw or connector screws can be screwed to ventilation openings provided in the housing of the internal combustion engine.
  • At least one connector element has at least two radial bores that are spaced apart in the axial direction and that each interact with a clamp.
  • two tube sections can be connected one above the other in the axial direction with the connector screw.
  • a first clamp is preferably associated with the first parallel strand and a second clamp is associated with the second parallel strand in order to connect them via the connector screw.
  • one of the two clamps has a further connection for connection to the third branch of the ventilation line.
  • the connection of the first, the second and the third line is therefore made via two clamps.
  • the connector element is used to connect to the last vent opening in the flow direction of the first and second line, which is arranged in both lines by the connector element.
  • At least one connector element is designed as a connector screw, which has an axial bore which is in fluid communication with the vent opening, and at least one radial bore which is connected to the axial bore, the connection being made with a Line of the vent line via a clamp, which includes the circumference of the connector screw in the radial bore, and to which all three strands of the vent line are connected.
  • annular space is formed between an inner surface of the clamp and an outer surface of the connector screw, which also connects the ventilation line connected to the clamp to the radial bore in the connector screw if it is not in the same radial angular position on the Connector screw is arranged as the radial bore, and / or which connects several connected to the clamp strands of the vent line with each other.
  • the annular space is preferably formed by a corresponding recess or a correspondingly curved shape in an inner surface of the clamp.
  • the vents are arranged in a row along the length of the engine, with the first and second runs each connecting a group of vents in series, the first and second runs having the same flow direction with respect to those arranged in a row have ventilation openings.
  • the connection of the vent openings within the strands is therefore in the same direction as would be the case with only a single continuous strand.
  • the ventilation openings can be the ventilation openings of the cylinder heads of a cylinder bank.
  • the first line preferably has a first section, which connects the first group of ventilation openings to one another, and a second section, which serves to connect the first section to the second and/or third line.
  • the second section can be routed past the second group of ventilation openings.
  • the second section is in connection with this and the third line in the region of the last ventilation opening of the second line in the direction of flow.
  • a fixing element which fixes the first and/or the second line in a region between two ventilation openings on the housing of the internal combustion engine.
  • the fixing element preferably fixes the second section of the first strand to the housing of the internal combustion engine, since this is longer than the other sections. Furthermore, the fixing element can fix the first and the second line together on the housing of the internal combustion engine.
  • the ventilation line does not include any further branches apart from the first, second and third branch.
  • the ventilation line can also have further strands which are connected to the first, second and/or third strand in a tree-shaped and/or star-shaped manner.
  • the ventilation system preferably connects the cooling system of the cylinder heads of the internal combustion engine to the tank and/or the environment permanently and/or without interposed valves.
  • the venting system is used to vent areas of the cooling system of a one-piece cylinder head bank of the internal combustion engine that are associated with the individual cylinders.
  • the internal combustion engine has a separate cylinder head with at least one ventilation opening for each cylinder.
  • the ventilation line is preferably designed as an external ventilation line which connects the ventilation openings to the tank and/or the environment.
  • all cylinder heads of a cylinder bank are connected to the tank and/or the environment via the first and the second line of the ventilation line. If a further cylinder bank is provided, it can have a further ventilation system according to the invention.
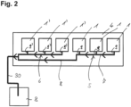
  • FIG. 2 shows a schematic representation of an embodiment of the internal combustion engine 4 according to the invention with a ventilation system according to the invention.
  • the internal combustion engine 4 comprises a plurality of components or areas 1 and 1', each of which has a ventilation opening 9 and 9', respectively. Furthermore, a ventilation line is provided, which connects the ventilation openings 9 and 9' to a tank 8.
  • the tank 8 can be an expansion tank. Alternatively or additionally, the ventilation line could also connect the ventilation openings 9 and 9' to the environment.
  • the ventilation line has two parallel branches 5 and 6, with the first branch 5 serially connecting the ventilation openings 9 of a first subgroup of components and/or areas 1, and the second branch 6 connecting the ventilation openings 9' of a second subgroup of components or areas 1 ' serially connected. Furthermore, the ventilation line has a third branch 30, which is connected in series with the first branch 5 and the second branch 6 and connects them together with the tank 8 or the environment.
  • the components and/or areas 1 or 1′ or their ventilation openings 9 or 9′ on the internal combustion engine 4 are arranged in a row.
  • the first branch 5 and the second branch 6 connect the ventilation openings 9 and 9′ to the tank 8 or the environment in such a way that the same direction of flow relative to the internal combustion engine is present in both branches.
  • the first strand 5 therefore has a first area 7, which connects the ventilation openings 9 to one another in series, and a second partial area 8, which geometrically bypasses the ventilation openings 9' of the second group of components and/or areas runs largely parallel to the second strand 6.
  • connection between the first and the second strand can be made at one end of the components and/or regions of the internal combustion engine 9 and 9′ arranged in a row.
  • the ventilation system according to the invention can therefore be attached to the internal combustion engine in the same way as a ventilation system according to the prior art, and in particular the same configuration of the third line 30 can be used.
  • the first and the second strand unite in the area of the last vent opening 9' of the second subgroup of components and/or areas 1', or upstream of this. From there, the air from all ventilation openings flows together through the third line to the tank 8 or to the environment.
  • the components and/or areas 1 and 1′ of the internal combustion engine are separate cylinder heads of a cylinder bank of the internal combustion engine. These each have a cooling system with its own ventilation opening, since with separate cylinder heads a central ventilation opening cannot be used for all cylinder heads.
  • venting system now allows the engine to be filled quickly, since all cylinder heads are now vented quickly in the same way.
  • the components and/or areas 1 and 1′ are also the areas of the cooling system assigned to the individual cylinders of a continuous, in particular one-piece cylinder head bank of an internal combustion engine. Even with such a connected bank of cylinder heads, the individual cylinder heads or their cooling areas can each have separate ventilation openings, which can be better ventilated via a ventilation system according to the invention.
  • the ventilation system according to the invention can also be designed as an internal line system or partially internal line system of the cylinder head bank.
  • the ventilation system is preferably designed as an external ventilation system, i.e. equipped with external ventilation lines which are connected to the ventilation openings of the components and/or areas via connector elements.
  • the ventilation system according to the invention can be used both in in-line engines and in V-engines.
  • the ventilation system is preferably designed in such a way that all the cylinder heads of a cylinder bank are vented via the first and the second line.
  • both banks of cylinders preferably each have a ventilation system according to the invention with a first and a second parallel line. If necessary, the third strands can be brought together again. However, they can also be routed separately to a tank and/or the environment.
  • the embodiment shown is an external ventilation system with external ventilation lines, which are connected via connector elements 10 to 13 to the ventilation openings, which are preferably provided in the housing of the internal combustion engine.
  • the ventilation system is used to ventilate the cylinder heads of a cylinder bank.
  • the individual strands of the ventilation line consist of pipe sections which connect the ventilation openings to one another and to the tank and/or the environment.
  • the connector elements 10 to 13 are used to connect the pipe sections to one another and to the ventilation openings.
  • the connector element 11 via which the second line 6 is connected to the last vent opening viewed in the direction of flow, is also used to connect the first line 5 and the third line 30.
  • the first line 5 and the second line 6 therefore unite in the area of the last vent opening to the common third line 30 of the vent line.
  • the connector elements are designed as connector screws 10 and 11 with associated clamps 12 and 13, it being possible for the connector screws to be screwed into the housing of the internal combustion engine or the corresponding component. These have a thread 17 for this purpose.
  • the fluidic contacting of the ventilation openings takes place through an axial bore 18.
  • This is in fluid communication with at least one radial bore 15.
  • the connector screw is encompassed by a clip 12 or 13, which serves to connect the radial bore 15 to the pipe sections of the ventilation line.
  • the clamps 12 and 13 each have at least one connecting piece 21 for connection to a pipe section of the ventilation line, in particular a pipe sleeve.
  • the clamps each have an annular space 20 which is formed between the peripheral wall of the connector screw and the inner wall of the respective clamp and thus surrounds the connector screw in the form of a ring.
  • This configuration has the advantage that the fluidic contact between the respective pipe section and the radial bore 15 is independent of the radial position of the connection area 21 with the pipe section relative to the radial direction of the bore 15 is possible. Furthermore, the ring-shaped area 20 allows two pipe sections to be connected to one another.
  • the clamps 13 each have a connection area 21 for connection to a pipe section at two different angular positions. Therefore, clamps 13 with two connecting areas 21 are used within the individual strands, which at the same time serve to connect two pipe sections, which are arranged in series within the strand, and the respective ventilation opening.
  • the connection to the first vent opening in the direction of flow takes place in each line via a rapid 12 with only one connecting element 21 for the pipe section leading from this vent opening to the next vent opening.
  • sealing washers 16 are used, one of which is arranged above and below the clamp and thus between the head of the connector screw and the clamp and between the clamp and the housing for one seal.
  • the sealing disks can be metal disks with an integrated sealing arrangement.
  • Such a connector screw with a clamp is in figure 5 shown.
  • the connector screw 11 which is used to connect the two parallel strands 5 and 6 to the common third strand 30, is in 6 shown.
  • the clamps and the connector screw correspond in structure to the in figure 5 shown configuration.
  • the connector screw 11 has a radial bore 15 on two axial planes, with a first radial bore interacting with a first clamp 12 and a second radial bore interacting with a further clamp 13 .
  • Two clamps are therefore arranged one above the other on the connector screw in the axial direction.
  • the clamp 13 is arranged in the first line and is also used for the connection to the third line 30.
  • the second clamp 12, on the other hand, is arranged in the second line 6 and therefore only has a connection area to this line.
  • a fixing element 14 is also provided in the exemplary embodiment, which fixes this second area 8 to the housing of the internal combustion engine.
  • the fixing element 14 is designed in such a way that it fixes both the second area 8 of the first strand 5 and a tube section of the second strand 6 to the housing.
  • the fixing element 14 is designed in such a way that it fixes both the second area 8 of the first strand 5 and a tube section of the second strand 6 to the housing.

Landscapes

  • Engineering & Computer Science (AREA)
  • Chemical & Material Sciences (AREA)
  • Combustion & Propulsion (AREA)
  • Mechanical Engineering (AREA)
  • General Engineering & Computer Science (AREA)
  • Cylinder Crankcases Of Internal Combustion Engines (AREA)
  • Lubrication Details And Ventilation Of Internal Combustion Engines (AREA)

Description

  • Die vorliegende Erfindung betrifft einen Verbrennungsmotor mit einem Entlüftungssystem zur Entlüftung des Kühlsystems einer Mehrzahl von separaten Zylinderköpfen des Verbrennungsmotors oder zur Entlüftung einer Mehrzahl von den einzelnen Zylindern zugeordneten Bereichen des Kühlsystems einer zusammenhängenden Zylinderkopfbank des Verbren-nungsmotors, mit einer Entlüftungsleitung, welche Entlüftungsöffnungen das Kühlsystems mit einem Tank und/oder der Umgebung verbindet, wobei die Entlüftungsleitung einen ersten Strang aufweist, welcher mindestens zwei Entlüftungsöffnungen seriell verbindet.
  • Wie in Fig. 1a schematisch dargestellt, kann es sich bei dem Verbrennungsmotor um einen Motor mit mehreren separaten Zylinderköpfen 1 handeln. Die Zylinderköpfe weisen in diesem Fall jeweils ein Kühlsystem auf, welches über eine am Zylinderkopf angeordnete Entlüftungsöffnung 9 entlüftet werden muss. Bei solchen Verbrennungsmotoren ist es bekannt, die Entlüftungsöffnungen 9 der Zylinder 1 einer Zylinderbank über eine Entlüftungsleitung 2 seriell mit dem Tank zu verbinden. Ein solches Entlüftungssystem ist auch aus der US 3 646 919 A bekannt.
  • Druckschrift WO 2004/076022 A1 zeigt ebenfalls ein Entlüftungssystem für die Zylinderköpfe eines Verbrennungsmotors, wobei alle Entlüftungsöffnungen der Zylinder seriell in einem Strang des Entlüftungssystems angeordnet sind. Mit einem zweiten, parallelen Strang erfolgt die Entlüftung des Kühlers.
  • Druckschrift JP 01142212 A zeigt dagegen einen Verbrennungsmotor mit einer gemeinsamen Zylinderkopfbank für alle Zylinder. Dabei ist an einem vorderen und einem hinteren Ende der Zylinderkopfbank jeweils eine Belüftungsöffnung für das Kühlsystem vorgesehen. Die Belüftungsöffnungen stehen über Ventile jeweils mit einem Strang der Belüftungsleitung in Verbindung, wobei die beiden Stränge zusammengeführt und mit einem dritten Strang verbunden sind, welcher zum Tank führt. Hierdurch soll eine Entlüftung auch dann sichergestellt werden, wenn der Verbrennungsmotor in einer geneigten Stellung angeordnet ist.
  • Aus der US 5 643 691 A und US 9 32 087 A sind weiterhin Entlüftungssysteme für Batterien bekannt.
  • Druckschriften FR 2 388 133 A1 , EP 2 789 824 A1 , US 3 646 919 A und US 2 841 127 A zeigen weitere Kühlsysteme für Verbrennungsmotoren.
  • Die Erfinder der vorliegenden Erfindung haben erkannt, dass mit einem Entlüftungssystem gemäß der US 3 646 919 A eine ordnungsgemäße Schnellentlüftung problematisch ist.
  • Aufgabe der vorliegenden Erfindung ist es daher, einen Verbrennungsmotor mit einem Entlüftungssystem zur Verfügung zu stellen, bis eine schnellere Entlüftung ermöglicht.
  • Erfindungsgemäß wird diese Aufgabe durch einen Verbrennungsmotor gemäß Anspruch 1 gelöst.
  • Bevorzugte Ausgestaltungen der vorliegenden Erfindung sind Gegenstand der Unteransprüche.
  • Die vorliegende Erfindung umfasst einen Verbrennungsmotor mit einem Entlüftungssystem zur Entlüftung des Kühlsystems einer Mehrzahl von separaten Zylinderköpfen des Verbrennungsmotors oder zur Entlüftung einer Mehrzahl von den einzelnen Zylindern zugeordneten Bereichen des Kühlsystems einer zusammenhängenden Zylinderkopfbank des Verbrennungsmotors, mit einer Entlüftungsleitung, welche Entlüftungsöffnungen das Kühlsystem mit einem Tank und/oder der Umgebung verbindet, wobei die Entlüftungsleitung einen ersten Strang aufweist, welcher mindestens zwei Entlüftungsöffnungen seriell verbindet. Die Erfindung ist dadurch gekennzeichnet, dass die Entlüftungsleitung mindestens einen zweiten Strang aufweist, welcher parallel zu dem ersten Strang in der Entlüftungsleitung angeordnet ist und mindestens zwei Entlüftungsöffnungen seriell verbindet. Dies bedeutet, dass der erste und der zweite Strang nicht in Serie geschaltet sind, sondern die Luftströme in dem ersten und dem zweiten Strang getrennt voneinander verlaufen. Bevorzugt werden die Luftströme aus dem ersten und dem zweiten Strang dann an einem Punkt des Entlüftungssystems zusammengeführt.
  • Durch den zweiten parallelen Strang der Entlüftungsleitung ist eine verbesserte Entlüftung des Kühlsystems der Zylinderköpfe möglich, insbesondere eine verbesserte Schnellentlüftung, wie sie beim erstmaligen Befüllen des Kühlsystems der Zylinderköpfe notwendig ist.
  • Die Erfinder der vorliegenden Erfindung haben erkannt, dass es bei einer Entlüftungsleitung mit nur einem Strang, welche alle Zylinderköpfe seriell verbindet, im Bereich jener Entlüftungsöffnungen, welche in Strömungsrichtung gesehen am Anfang der Entlüftungsleitung stehen, zu einer Strömungsumkehr kommen kann, siehe den Bereich 3 in Fig. 1b, welche durch die Pfeile die Strömungsrichtung innerhalb des Entlüftungssystems gemäß dem Stand der Technik zeigt. Die viele Luft, welche stromabwärts durch die dort angeordneten Entlüftungsöffnungen in die Entlüftungsleitung zufließt, drückt so stark nach hinten, dass aus einzelnen Entlüftungsöffnungen am Anfang der Entlüftungsleitung keine Luft entweichen und teilweise sogar Luft über die Entlüftungsöffnungen in die jeweilige Komponente oder Bereich hineingedrückt wird. Um den Verbrennungsmotor dennoch ordentlich zu entlüften, wäre nach dem Stand der Technik daher eine erheblich niedrigere Entlüftungs- bzw. Füllgeschwindigkeit notwendig gewesen.
  • Durch die zwei parallelen Stränge der Entlüftungsleitung ist überraschenderweise eine erheblich verbesserte Schnellentlüftung der Zylinderköpfe möglich, da es nunmehr nicht mehr zu einer Strömungsumkehr kommt und aus allen Entlüftungsöffnungen gleichermaßen Luft abfließt.
  • Gemäß der vorliegenden Erfindung verbindet auch der zweite Strang der Entlüftungsleitung mindestens zwei Entlüftungsöffnungen seriell, d.h. es sind auch in dem zweiten Strang mindestens zwei Entlüftungsöffnungen hintereinander angeordnet.
  • Bevorzugt verbinden der erste Strang und der zweite Strang jeweils mindestens drei Entlüftungsöffnungen in Serie.
  • In einer möglichen Ausführungsform der vorliegenden Erfindung umfasst die Entlüftungsleitung weiterhin mindestens einen dritten Strang, welcher mit dem ersten und dem zweiten Strang verbunden ist und diese gemeinsam mit dem Tank und/oder der Umgebung verbindet. Der erste und der zweite Strang werden daher an einem Punkt der Entlüftungsleitung zusammengeführt, und die Luft aus dem ersten und zweiten Strang fließt von diesem Punkt aus gemeinsam über den dritten Strang weiter zum Tank oder zur Umgebung.
  • Der dritte Strang muss nicht notwendigerweise als ein vom ersten und zweiten Strang separates Rohrelement ausgeführt sein. In einer möglichen Ausführungsform kann der erste in den zweiten Strang münden, welche ab dieser Stelle den dritten Strang bildet, oder umgekehrt. Bevorzugt werden die drei Stränge jedoch durch separate Rohrelemente gebildet, welche miteinander in Verbindung stehen.
  • Bevorzugt sind in dem dritten Strang keine Entlüftungsöffnungen angeordnet, d.h. er dient nur zur Abführung der Luft aus den Entlüftungsöffnungen, welche im ersten und im zweiten Strang angeordnet sind.
  • Der erste und der zweite Strang weisen bevorzugt jeweils ein erstes Ende auf, welches mit einer in Strömungsrichtung ersten Entlüftungsöffnung in diesem Strang in Verbindung steht, und ein zweites Ende, wobei die zweiten Enden des ersten und des zweiten Strangs miteinander in Verbindung stehen. Die Stränge sind dabei bevorzugt so ausgeführt, dass Luft von der ersten Entlüftungsöffnung nur in eine Richtung durch den jeweiligen Strang zu einer nachfolgenden Entlüftungsöffnung oder zu dem zweiten Ende abfließen kann, d.h. das erste Ende ist bis auf die Verbindung mit der ersten Entlüftungsöffnung geschlossen.
  • In einer möglichen Ausführungsform der vorliegenden Erfindung stehen der erste und der zweite parallele Strang der Entlüftungsleitung im Bereich einer Entlüftungsöffnung mit dem dritten Strang in Verbindung. Hierdurch ergibt sich ein besonders einfacher Aufbau.
  • Insbesondere kann die Verbindung mindestens eines der Stränge mit der Entlüftungsöffnung gleichzeitig der Verbindung der Stränge untereinander und mit dem dritten Strang dienen. In einer bevorzugten Ausgestaltung ist ein Konnektorelement vorgesehen, welches der Verbindung der drei Stränge untereinander und der Verbindung mit der Entlüftungsöffnung dient.
  • In einer möglichen Ausführungsform der vorliegenden Erfindung handelt es sich bei der Entlüftungsleitung um eine interne Entlüftungsleitung, welche beispielsweise innerhalb einer Zylinderkopfbank zur internen Verbindung der Entlüftungsöffnungen der jeweiligen Zylinderkopfbereiche verläuft.
  • In einer bevorzugten Ausführungsform der vorliegenden Erfindung handelt es sich bei der Entlüftungsleitung jedoch um eine externe Entlüftungsleitung, welche über Konnektorelemente mit den Entlüftungsöffnungen des Verbrennungsmotors in Verbindung steht. Insbesondere kann die Entlüftungsleitung aus einem oder mehreren Rohrelementen bestehen, welche über Konnektorelemente mit den Entlüftungsöffnungen in Verbindung stehen. Besonders bevorzugt bestehen die Stränge dabei aus Rohrelementen, welche durch die Konnektorelemente nicht nur mit den Entlüftungsöffnungen, sondern auch untereinander in Verbindung stehen.
  • In einer möglichen Ausgestaltung der vorliegenden Erfindung ist mindestens ein Konnektorelement als eine Konnektorschraube ausgeführt ist, welche eine axiale Bohrung aufweist, welche mit der Entlüftungsöffnung fluidisch in Verbindung steht, sowie mindestens eine radiale Bohrung, welche mit der axialen Bohrung verbunden ist, wobei die Verbindung mit einem Strang der Entlüftungsleitung über eine Schelle erfolgt, welche den Umfang der Konnektorschraube im Bereich der radialen Bohrung umfasst, und an welcher die Entlüftungsleitung angeschlossen ist. Bevorzugt sind alle Konnektorelemente als solche Konnektorschrauben ausgeführt. Die Konnektorschraube oder Konnektorschrauben können mit im Gehäuse des Verbrennungsmotors vorgesehenen Entlüftungsöffnungen verschraubt sein.
  • In einer möglichen Ausgestaltung der vorliegenden Erfindung weist mindestens ein Konnektorelement mindestens zwei in axialer Richtung beabstandete radiale Bohrungen auf, welche jeweils mit einer Schelle zusammenwirken. Hierdurch können zwei Rohrabschnitte in axialer Richtung übereinander mit der Konnektorschraube verbunden werden.
  • Bevorzugt ist eine erste Schelle dem ersten parallelen Strang und eine zweite Schelle dem zweiten parallelen Strang zugeordnet, um diese über die Konnektorschraube zu verbinden.
  • In einer möglichen Ausgestaltung der vorliegenden Erfindung weist eine der beiden Schellen einen weiteren Anschluss zum Anschluss an den dritten Strang der Entlüftungsleitung auf. Die Verbindung des ersten, des zweiten und des dritten Strangs erfolgt daher über zwei Schellen.
  • Weiterhin dient das Konnektorelement der Verbindung mit der in Strömungsrichtung letzten Entlüftungsöffnung des ersten und des zweiten Strangs, welche durch das Konnektorelement in beiden Strängen angeordnet ist.
  • In einer möglichen Ausgestaltung der vorliegenden Erfindung ist mindestens ein Konnektorelement als eine Konnektorschraube ausgeführt, welche eine axiale Bohrung aufweist, welche mit der Entlüftungsöffnung fluidisch in Verbindung steht, sowie mindestens eine radiale Bohrung, welche mit der axialen Bohrung verbunden ist, wobei die Verbindung mit einem Strang der Entlüftungsleitung über eine Schelle erfolgt, welche den Umfang der Konnektorschraube im Bereich der radialen Bohrung umfasst, und an welcher alle drei Stränge der Entlüftungsleitung angeschlossen sind.
  • In einer möglichen Ausgestaltung der vorliegenden Erfindung ist zwischen einer Innenfläche der Schelle und einer Außenfläche der Konnektorschraube ein Ringraum gebildet, welcher die an die Schelle angeschlossene Entlüftungsleitung auch dann mit der radialen Bohrung in der Konnektorschraube verbindet, wenn diese nicht in der gleichen radialen Winkelstellung an der Konnektorschraube angeordnet ist wie die radiale Bohrung, und/oder welcher mehrere an die Schelle angeschlossene Stränge der Entlüftungsleitung miteinander verbindet. Bevorzugt wird der Ringraum durch eine entsprechende Ausnehmung bzw. eine entsprechend gekrümmte Form in einer Innenfläche der Schelle gebildet.
  • In einer möglichen Ausgestaltung der vorliegenden Erfindung sind die Entlüftungsöffnungen entlang des Motors in einer Reihe angeordnet, wobei der erste und der zweite Strang jeweils eine Gruppe von Entlüftungsöffnungen seriell miteinander verbinden, wobei der erste und der zweite Strang die gleiche Strömungsrichtung bezüglich der in einer Reihe angeordneten Entlüftungsöffnungen aufweisen. Die Verbindung der Entlüftungsöffnungen innerhalb der Stränge erfolgt daher in der gleichen Richtung, welche bei nur einem einzigen zusammenhängenden Strang vorliegen würde. Insbesondere kann es sich in diesem Fall bei den Entlüftungsöffnungen um die Entlüftungsöffnungen der Zylinderköpfe einer Zylinderbank handeln.
  • Bevorzugt weist der erste Strang hierfür einen ersten Abschnitt auf, welcher die erste Gruppe von Entlüftungsöffnungen miteinander verbindet, und einen zweiten Abschnitt, welcher der Verbindung des ersten Abschnitts mit dem zweiten und/oder dritten Strang dient. Insbesondere kann der zweite Abschnitt an der zweiten Gruppe von Entlüftungsöffnungen vorbeigeführt sein. Besonders bevorzugt steht der zweite Abschnitt im Bereich der in Strömungsrichtung letzten Entlüftungsöffnung des zweiten Stranges mit diesem und dem dritten Strang in Verbindung.
  • In einer möglichen Ausgestaltung der vorliegenden Erfindung ist ein Fixierungselement vorgesehen, welches den ersten und/oder den zweiten Strang in einem Bereich zwischen zwei Belüftungsöffnungen am Gehäuse des Verbrennungsmotors fixiert. Bevorzugt fixiert das Fixierungselement den zweiten Abschnitt des ersten Strangs am Gehäuse des Verbrennungsmotors, da dieser länger ist als die übrigen Teilabschnitte. Weiterhin kann das Fixierelement den ersten und den zweiten Strang gemeinsam am Gehäuse des Verbrennungsmotors fixieren.
  • In einer möglichen Ausgestaltung der vorliegenden Erfindung umfasst die Entlüftungsleitung neben dem ersten, zweiten und dritten Strang keine weiteren Stränge.
  • In einer alternativen Ausgestaltung der vorliegenden Erfindung kann die Entlüftungsleitung jedoch auch weitere Stränge aufweisen, welche mit dem ersten, zweiten und/oder dritten Strang baumförmig und/oder sternförmig in Verbindung stehen.
  • Bevorzugt verbindet das Entlüftungssystem das Kühlsystem der Zylinderköpfe des Verbrennungsmotors permanent und/oder ohne zwischengeschaltete Ventile mit dem Tank und/oder der Umgebung.
  • In einer möglichen Ausgestaltung der vorliegenden Erfindung dient das Entlüftungssystem der Entlüftung von den einzelnen Zylindern zugeordneten Bereichen des Kühlungssystems einer einstückigen Zylinderkopfbank des Verbrennungsmotors.
  • In einer möglichen Ausgestaltung der vorliegenden Erfindung weist der Verbrennungsmotor für jeden Zylinder einen separaten Zylinderkopf mit mindestens einer Entlüftungsöffnung auf. Bevorzugt ist die Entlüftungsleitung in diesem Fall als eine externe Entlüftungsleitung ausgeführt, welche die Entlüftungsöffnungen mit dem Tank und/oder der Umgebung verbindet.
  • In einer möglichen Ausgestaltung der vorliegenden Erfindung stehen alle Zylinderköpfe einer Zylinderbank über den ersten und den zweiten Strang der Entlüftungsleitung mit dem Tank und/oder der Umgebung in Verbindung. Ist eine weitere Zylinderbank vorgesehen, so kann diese ein weiteres erfindungsgemäßes Entlüftungssystem aufweisen.
  • Die vorliegende Erfindung wird nun anhand von Figuren und Ausführungsbeispielen näher dargestellt.
  • Dabei zeigen:
  • Fig. 1a:
    Ein Entlüftungssystem gemäß dem Stand der Technik,
    Fig. 1b:
    den Strömungsverlauf innerhalb des in Fig. 1a gezeigten Entlüftungssystems gemäß dem Stand der Technik,
    Fig. 2:
    ein Ausführungsbeispiel eines erfindungsgemäßen Verbrennungsmotors mit einem Ausführungsbeispiel eines erfindungsgemäßen Entlüftungssystems in einer schematischen Darstellung,
    Fig. 3:
    ein konkretes Ausführungsbeispiel eines erfindungsgemäßen Entlüftungssystems,
    Fig. 4:
    die Bestandteile des Entlüftungssystems sowie deren Verbindung untereinander und mit den Entlüftungsöffnungen eines Verbrennungsmotors bei dem in Fig. 3 gezeigten Ausführungsbeispiel,
    Fig. 5:
    ein Konnektorelement zur Verbindung eines erfindungsgemäßen Entlüftungssystems mit einer Entlüftungsöffnung des Verbrennungsmotors und
    Fig. 6:
    ein weiteres Konnektorelement zur Verbindung eines ersten und zweiten Stranges eines erfindungsgemäßen Entlüftungssystems untereinander und mit einer Entlüftungsöffnung des Verbrennungsmotors.
  • Fig. 2 zeigt in einer schematischen Darstellung ein Ausführungsbeispiel des erfindungsgemäßen Verbrennungsmotors 4 mit einem erfindungsgemäßen Entlüftungssystem.
  • Der Verbrennungsmotor 4 weist eine Mehrzahl von Komponenten oder Bereichen 1 und 1' auf, welche jeweils eine Entlüftungsöffnung 9 bzw. 9' aufweisen. Weiterhin ist eine Entlüftungsleitung vorgesehen, welche die Entlüftungsöffnungen 9 und 9' mit einem Tank 8 verbindet. Bei dem Tank 8 kann es sich um einen Expansionstank handeln. Alternativ oder zusätzlich könnte die Entlüftungsleitung die Entlüftungsöffnungen 9 und 9' auch mit der Umgebung verbinden.
  • Erfindungsgemäß weist die Entlüftungsleitung zwei parallele Stränge 5 und 6, wobei der erste Strang 5 die Entlüftungsöffnungen 9 einer ersten Untergruppe von Komponenten und/oder Bereichen 1 seriell miteinander verbindet, und der zweite Strang 6 die Entlüftungsöffnungen 9' einer zweiten Untergruppe von Komponenten oder Bereichen 1' seriell miteinander verbindet. Weiterhin weist die Entlüftungsleitung einen dritten Strang 30 auf, welcher mit dem ersten Strang 5 und dem zweiten Strang 6 seriell verbunden ist und diese gemeinsam mit dem Tank 8 bzw. der Umgebung verbindet.
  • Wie aus Fig. 2 ersichtlich, in welcher jeweils die Strömungsrichtung in der Entlüftungsleitung durch Pfeile wiedergegeben ist, sorgt die Unterteilung der Entlüftungsleitung in zwei parallele Teilstränge dafür, dass sämtliche Komponenten und/oder Bereiche des Verbrennungsmotors sicher und schnell entlüftet werden können. Dies hat insbesondere bei einer initialen Entlüftung der Komponenten und/oder Bereiche des Verbrennungsmotors den Vorteil, dass diese erheblich schneller erfolgen kann als gemäß dem Stand der Technik.
  • Wie ebenfalls aus Fig. 2 ersichtlich, sind die Komponenten und/oder Bereiche 1 bzw. 1' bzw. deren Entlüftungsöffnungen 9 bzw. 9' am Verbrennungsmotor 4 in einer Reihe angeordnet. Der erste Strang 5 und der zweite Strang 6 verbinden die Entlüftungsöffnungen 9 und 9' dabei so mit dem Tank 8 bzw. der Umgebung, dass in beiden Strängen die gleiche Strömungsrichtung relativ zum Verbrennungsmotor vorliegt. Um beide Stränge zusammen zu führen, weist der erste Strang 5 daher einen ersten Bereich 7 auf, welcher die Entlüftungsöffnungen 9 seriell miteinander verbindet, sowie einen zweiten Teilbereich 8, welcher an den Entlüftungsöffnungen 9' der zweiten Gruppe von Komponenten und/oder Bereichen vorbei geometrisch weitgehend parallel zu dem zweiten Strang 6 verläuft. Die Verbindung zwischen dem ersten und dem zweiten Strang kann hierdurch an einem Ende der in einer Reihe angeordneten Komponenten und/oder Bereichen des Verbrennungsmotors 9 und 9' erfolgen. Das erfindungsgemäße Entlüftungssystem kann daher in gleicher Weise am Verbrennungsmotor angebaut werden wie ein Entlüftungssystem gemäß dem Stand der Technik, und insbesondere die gleiche Ausgestaltung des dritten Stranges 30 einsetzen.
  • Luft strömt daher bei einem Entlüften der Komponenten und/oder Bereichen 1 und 1' aus dem in Fig. 2 ganz rechts dargestellten, in Strömungsrichtung ersten Entlüftungsöffnung 9 durch einen ersten Unterabschnitt des ersten Stranges 5 in Richtung auf eine Stelle des ersten Stranges, an welcher dieser mit der darauffolgenden Entlüftungsöffnung 9 in Verbindung steht. Von hier aus strömt nun die Luft aus der ersten und der zweiten Entlüftungsöffnung gemeinsam weiter. An dem Punkt, an welchem der erste Strang 5 mit der dritten Entlüftungsöffnung 9 in Verbindung steht, strömt auch die Luft aus dieser zu, so dass in dem zweiten Abschnitt 8 des ersten Stranges 5 die Luft aus den ersten drei Entlüftungsöffnungen strömt. In gleicher Weise strömt die Luft aus der zweiten Untergruppe von Komponenten und/oder Bereichen 1' über die jeweiligen Entlüftungsöffnungen 9' durch die Leitungsabschnitte des zweiten Stranges 6. Der erste und der zweite Strang vereinigen sich im Bereich der letzten Entlüftungsöffnung 9' der zweiten Untergruppe von Komponenten und/oder Bereichen 1', oder stromaufwärts hierzu. Die Luft aus allen Entlüftungsöffnungen strömt von dort ab gemeinsam durch den dritten Strang zum Tank 8 oder zur Umgebung.
  • Bei den Komponenten und/oder Bereichen 1 und 1' des Verbrennungsmotors handelt es sich in einer ersten Ausgestaltung der vorliegenden Erfindung um separate Zylinderköpfe einer Zylinderbank des Verbrennungsmotors. Diese weisen jeweils ein Kühlsystem mit einer eigenen Entlüftungsöffnung auf, da bei getrennten Zylinderköpfen eine zentrale Entlüftungsöffnung für sämtliche Zylinderköpfe nicht eingesetzt werden kann.
  • Insbesondere bei der ersten Füllung des Kühlsystems muss sichergestellt werden, dass die gesamte Luft aus dem Kühlsystem entweichen kann. Das erfindungsgemäße Entlüftungssystem erlaubt nun eine schnelle Füllung des Motors, da nunmehr sämtliche Zylinderköpfe in gleicher Weise schnell entlüftet werden.
  • In alternativen Ausgestaltungen der vorliegenden Erfindung handelt es sich bei den Komponenten und/oder Bereichen 1 und 1' jedoch auch um die den einzelnen Zylindern zugeordneten Bereiche des Kühlungssystems einer zusammenhängenden, insbesondere einstückigen Zylinderkopfbank eines Verbrennungsmotors. Auch bei einer solchen zusammenhängenden Zylinderkopfbank können die einzelnen Zylinderköpfe bzw. deren Kühlbereiche jeweils separate Entlüftungsöffnungen aufweisen, welche über ein erfindungsgemäßes Entlüftungssystem besser entlüftet werden können.
  • Im Falle einer zusammenhängenden Zylinderkopfbank kann das erfindungsgemäße Entlüftungssystem auch als ein internes Leitungssystem oder teilweise internes Leitungssystem der Zylinderkopfbank ausgeführt sein.
  • Bevorzugt ist das Entlüftungssystem jedoch als ein externes Entlüftungssystem ausgeführt, d.h. mit externen Entlüftungsleitungen ausgestattet, welche über Konnektorelemente mit den Entlüftungsöffnungen der Komponenten und/oder Bereiche in Verbindung stehen.
  • Das erfindungsgemäße Entlüftungssystem kann sowohl bei Reihen- als auch bei V-Motoren zum Einsatz kommen. Beim Reihenmotor ist das Entlüftungssystem bevorzugt so ausgestaltet, dass über den ersten und den zweiten Strang sämtliche Zylinderköpfe einer Zylinderbank entlüftet werden. Bei V-Motoren weisen bevorzugt beide Zylinderbänke jeweils ein erfindungsgemäßes Entlüftungssystem mit einem ersten und einem zweiten parallelen Strang auf. Gegebenenfalls können die dritten Stränge dabei noch einmal zusammengeführt werden. Sie können jedoch auch separat zu einem Tank und/oder der Umgebung geführt sein.
  • Es sind jedoch auch komplexere Ausgestaltungen des Entlüftungssystems mit einer Baum- und/oder Sternstruktur denkbar, bei welcher daher mehr als zwei parallele Stränge und/oder verzweigtere Strukturen zum Einsatz kommen.
  • Fig. 3 zeigt nun ein konkretes Ausführungsbeispiel eines erfindungsgemäßen Entlüftungssystems, welches dem in Fig. 2 gezeigte Aufbau entspricht. Sämtliche Erläuterungen, welche im Hinblick auf Fig. 2 gegebenen wurden, gelten daher in gleicher Weise auch für das Ausführungsbeispiel in Fig. 3. Weiterhin wurden hier auch die gleichen Bezugszeichen verwendet.
  • Bei dem in Fig. 3 dargestellten Ausführungsbeispiel handelt es sich um ein externes Entlüftungssystem mit externen Entlüftungsleitungen, welche über Konnektorelemente 10 bis 13 mit den Entlüftungsöffnungen verbunden werden, welche bevorzugt im Gehäuse des Verbrennungsmotors vorgesehen sind. Das Entlüftungssystem dient der Entlüftung von Zylinderköpfen einer Zylinderbank.
  • Wie aus Fig. 3 ersichtlich, bestehen die einzelnen Stränge der Entlüftungsleitung aus Rohrabschnitten, welche die Entlüftungsöffnungen untereinander und mit dem Tank und/oder der Umgebung verbinden. Die Konnektorelemente 10 bis 13 dienen der Verbindung der Rohrabschnitte untereinander und mit den Entlüftungsöffnungen.
  • Bei dem in Fig. 3 gezeigten Ausführungsbeispiel dient das Konnektorelement 11, über welches der zweite Strang 6 mit der in Strömungsrichtung gesehen letzten Entlüftungsöffnung in Verbindung steht, gleichzeitig der Verbindung mit dem ersten Strang 5 und dem dritten Strang 30. Der erste Strang 5 und der zweite Strang 6 vereinigen sich daher im Bereich der letzten Entlüftungsöffnung zu dem gemeinsamen dritten Strang 30 der Entlüftungsleitung.
  • Die konkret im Ausführungsbeispiel gewählte Verbindung der Rohrabschnitte untereinander und mit den Entlüftungsöffnungen wird nun anhand der Fig. 4 bis 6 näher dargestellt.
  • Die Konnektorelemente sind als Konnektorschrauben 10 und 11 mit zugehörigen Schellen 12 und 13 ausgebildet, wobei die Konnektorschrauben in das Gehäuse des Verbrennungsmotors bzw. der entsprechenden Komponente eingeschraubt werden können. Hierfür weisen diese ein Gewinde 17 auf. Die fluidische Kontaktierung der Entlüftungsöffnungen erfolgt durch eine axiale Bohrung 18. Diese steht mit mindestens einer radialen Bohrung 15 fluidisch in Verbindung. Im Bereich der radialen Bohrung 15 wird die Konnketorschraube durch eine Schelle 12 oder 13 umgriffen, welche der Verbindung der radialen Bohrung 15 mit den Rohrabschnitten der Entlüftungsleitung dient. Hierfür weisen die Schellen 12 bzw. 13 jeweils mindestens ein Verbindungsstück 21 zur Verbindung mit einem Rohrabschnitt der Entlüftungsleitung auf, insbesondere einer Rohrmuffe.
  • Die Schellen weisen jeweils einen Ringraum 20 auf, welcher zwischen der Umfangswand der Konnektorschraube und der Innenwand der jeweiligen Schelle ausgebildet ist und damit die Konnektorschraube ringförmig umgibt. Diese Ausgestaltung hat den Vorteil, dass die fluidische Kontaktierung zwischen dem jeweiligen Rohrabschnitt und der radialen Bohrung 15 unabhängig von der radialen Position des Verbindungsbereiches 21 mit dem Rohrabschnitt relativ zur radialen Richtung der Bohrung 15 möglich ist. Weiterhin erlaubt der ringförmige Bereich 20 die Konnektierung zweier Rohrabschnitte untereinander.
  • Die Schellen 13 weisen hierfür an zwei unterschiedlichen Winkelpositionen jeweils einen Verbindungsbereich 21 zur Verbindung mit einem Rohrabschnitt auf. Innerhalb der einzelnen Stränge werden daher Schellen 13 mit zwei Verbindungsbereichen 21 eingesetzt, welche gleichzeitig der Verbindung zweier Rohrabschnitte, welche seriell innerhalb des Stranges angeordnet sind, und der jeweiligen Entlüftungsöffnung dienen. Die Verbindung mit der in Strömungsrichtung ersten Entlüftungsöffnung erfolgt in jedem Strang dagegen über eine Schnelle 12 mit nur einem Verbindungselement 21 für den von dieser Entlüftungsöffnung zur nächsten Entlüftungsöffnung geführten Rohrabschnitt.
  • Zur Abdichtung zwischen der Konnektorschraube, der Schelle und dem Gehäuse des Verbrennungsmotors werden zwei Dichtscheiben 16 eingesetzt, von welchen jeweils eine auf oberhalb und unterhalb der Schelle angeordnet ist und damit zwischen dem Kopf der Konnektorschraube und der Schelle sowie zwischen der Schelle und dem Gehäuse für eine Dichtung sorgt. Bei den Dichtungsscheiben kann es sich um Metallscheiben mit einer integrierten Dichtanordnung handeln.
  • Die Konnektorschrauben 10, welche innerhalb der jeweiligen Stränge 5 und 6 zum Einsatz kommen, weisen jeweils nur in einer axialen Position eine radiale Öffnung 15 auf und wirken nur mit einer Schelle zusammen. Eine solche Konnektorschraube mit einer Schelle ist in Fig. 5 dargestellt.
  • Die Konnektorschraube 11, welche zur Verbindung der beiden parallelen Stränge 5 und 6 mit dem gemeinsamen dritten Strang 30 dient, ist dagegen in Fig. 6 dargestellt. Die Schellen sowie die Konnektorschraube entsprechen im Aufbau der in Fig. 5 dargestellten Ausgestaltung.
  • Die Konnektorschraube 11 weist jedoch auf zwei axialen Ebenen eine radiale Bohrung 15 auf, wobei eine erste radiale Bohrung mit einer ersten Schelle 12 und eine zweite radiale Bohrung mit einer weiteren Schelle 13 zusammenwirkt. Es werden daher in axialer Richtung zwei Schellen übereinander an der Konnektorschraube angeordnet. Die Schelle 13 ist im Ausführungsbeispiel in dem ersten Strang angeordnet und dient gleichzeitig der Verbindung mit dem dritten Strang 30. Die zweite Schelle 12 ist dagegen im zweiten Strang 6 angeordnet und weist daher nur einen Verbindungsbereich zu diesem Strang auf.
  • Da der zweite Bereich 8 des ersten Stranges 5, welcher an den durch den zweiten Strang 6 in Serie verbunden Entlüftungsöffnungen vorbeigeführt wird, relativ lang ist, ist im Ausführungsbeispiel weiterhin ein Fixierungselement 14 vorgesehen, welches diesen zweiten Bereich 8 am Gehäuse des Verbrennungsmotors fixiert. Das Fixierungselement 14 ist im Ausführungsbeispiel so ausgestaltet, dass es sowohl den zweiten Bereich 8 des ersten Stranges 5 als auch einen Rohrabschnitt des zweiten Stranges 6 am Gehäuse fixiert.
  • Alternativ zu der im Ausführungsbeispiel dargestellten Verbindung des ersten und des zweiten Stranges mit dem dritten Strang über zwei axial übereinander angeordnete Schellen wäre es ebenfalls denkbar, eine einzige Schelle mit drei Verbindungsabschnitten für die drei Stränge vorzusehen. ches diesen zweiten Bereich 8 am Gehäuse des Verbrennungsmotors fixiert. Das Fixierungselement 14 ist im Ausführungsbeispiel so ausgestaltet, dass es sowohl den zweiten Bereich 8 des ersten Stranges 5 als auch einen Rohrabschnitt des zweiten Stranges 6 am Gehäuse fixiert.
  • Alternativ zu der im Ausführungsbeispiel dargestellten Verbindung des ersten und des zweiten Stranges mit dem dritten Strang über zwei axial übereinander angeordnete Schellen wäre es ebenfalls denkbar, eine einzige Schelle mit drei Verbindungsabschnitten für die drei Stränge vorzusehen.

Claims (13)

  1. Verbrennungsmotor mit einem Entlüftungssystem zur Entlüftung des Kühlsystems einer Mehrzahl von separaten Zylinderköpfen (1, 1') des Verbrennungsmotors (4) oder zur Entlüftung einer Mehrzahl von den einzelnen Zylindern zugeordneten Bereichen des Kühlsystems einer zusammenhängenden Zylinderkopfbank des Verbrennungsmotors, mit einer Entlüftungsleitung, welche Entlüftungsöffnungen (9) des Kühlsystems mit einem Tank (28) und/oder der Umgebung verbindet, wobei die Entlüftungsleitung einen ersten Strang (5) aufweist, welcher mindestens zwei Entlüftungsöffnungen (9) seriell verbindet, dadurch gekennzeichnet,
    dass die Entlüftungsleitung mindestens einen zweiten Strang (6) aufweist, welcher parallel zu dem ersten Strang (5) in der Entlüftungsleitung angeordnet ist und mindestens zwei Entlüftungsöffnungen (9') seriell verbindet.
  2. Verbrennungsmotor nach Anspruch 1, wobei die Entlüftungsleitung mindestens einen dritten Strang (30) aufweist, welcher mit dem ersten und dem zweiten Strang (5,6) verbunden ist und diese gemeinsam mit dem Tank (28) und/oder der Umgebung verbindet.
  3. Verbrennungsmotor nach Anspruch 2, wobei der erste und der zweite parallele Strang (5,6) der Entlüftungsleitung im Bereich einer Entlüftungsöffnung mit dem dritten Strang (30) in Verbindung stehen, insbesondere durch ein Konnektorelement (11), welches der Verbindung der drei Stränge untereinander und der Verbindung mit der Entlüftungsöffnung dient.
  4. Verbrennungsmotor nach einem der vorangegangenen Ansprüche, wobei die Entlüftungsleitung eine externe Entlüftungsleitung ist, welche über Konnektorelemente (10, 11) mit den Entlüftungsöffnungen in Verbindung steht, wobei bevorzugt mindestens ein Konnektorelement (10, 11) als eine Konnektorschraube ausgeführt ist, welche eine axiale Bohrung (18) aufweist, welche mit der Entlüftungsöffnung fluidisch in Verbindung steht, sowie mindestens eine radiale Bohrung (15), welche mit der axialen Bohrung verbunden ist, wobei die Verbindung mit einem Strang der Entlüftungsleitung über eine Schelle (12) erfolgt, welche den Umfang der Konnektorschraube im Bereich der radialen Bohrung (15) umfasst, und an welcher die Entlüftungsleitung angeschlossen ist.
  5. Verbrennungsmotor nach Anspruch 4, wobei mindestens ein Konnektorelement (11) mindestens zwei in axialer Richtung beabstandete radiale Bohrungen (15) aufweist, welche jeweils mit einer Schelle (12, 13) zusammenwirken, wobei bevorzugt eine erste Schelle (13) dem ersten parallelen Strang (5) und eine zweite Schelle (12) dem zweiten parallelen Strang (6) zugeordnet ist, um diese über die Konnektorschraube (11) zu verbinden, wobei weiter bevorzugt eine der beiden Schellen einen weiteren Anschluss zum Anschluss an den dritten Strang (30) der Entlüftungsleitung aufweist, und/oder wobei eine Schelle mit den drei Strängen der Entlüftungsleitung in Verbindung steht.
  6. Verbrennungsmotor nach Anspruch 4 oder 5, wobei zwischen einer Innenfläche der Schelle (12, 13) und einer Außenfläche der Konnektorschraube (11) ein Ringraum (20) gebildet ist, welcher die an die Schelle angeschlossene Entlüftungsleitung (5, 6, 30) auch dann mit der radialen Bohrung (15) in der Konnektorschraube verbindet, wenn diese nicht in der gleichen radialen Winkelstellung an der Konnektorschraube angeordnet ist wie die radiale Bohrung (15), und/oder welcher mehrere an die Schelle (13) angeschlossene Stränge (5, 30) der Entlüftungsleitung miteinander verbindet.
  7. Verbrennungsmotor nach einem der vorangegangenen Ansprüche, wobei die Entlüftungsöffnungen (9,9') entlang des Motors (4) in einer Reihe angeordnet sind, wobei der erste und der zweite Strang (5,6) jeweils eine Gruppe von Entlüftungsöffnungen (9,9') seriell miteinander verbinden, wobei der erste und der zweite Strang (5,6) die gleiche Strömungsrichtung bezüglich der in einer Reihe angeordneten Entlüftungsöffnungen (9,9') aufweisen, wobei bevorzugt der erste Strang (5) einen ersten Abschnitt (7) aufweist, welcher die erste Gruppe von Entlüftungsöffnungen (9) miteinander verbindet, und einen zweiten Abschnitt (8), welcher der Verbindung des ersten Abschnitts (7) mit dem zweiten und/oder dritten Strang (6, 30) dient, wobei der zweite Abschnitt (8) bevorzugt an der zweiten Gruppe von Entlüftungsöffnungen (9') vorbei geführt ist, und weiter bevorzugt im Bereich der in Strömungsrichtung letzten Entlüftungsöffnung (9') des zweiten Stranges (6) mit diesem und dem dritten Strang (30) in Verbindung steht.
  8. Verbrennungsmotor nach einem der vorangegangenen Ansprüche, mit einem Fixierungselement (14), welches den ersten und/oder den zweiten Strang (5,6) in einem Bereich zwischen zwei Belüftungsöffnungen am Gehäuse des Verbrennungsmotors fixiert, wobei das Fixierungselement (14) bevorzugt den zweiten Abschnitt (8) des ersten Strangs (5) am Gehäuse des Verbrennungsmotors fixiert und/oder den ersten und den zweiten Strang (5,6) gemeinsam am Gehäuse des Verbrennungsmotors fixiert.
  9. Verbrennungsmotor nach einem der vorangegangenen Ansprüche, mit weiteren Strängen der Entlüftungsleitung, welche mit dem ersten, zweiten und/oder dritten Strang (5,6,30) baumförmig und/oder sternförmig in Verbindung stehen.
  10. Verbrennungsmotor nach einem der vorangegangenen Ansprüche, wobei das Entlüftungssystem das Kühlsystem permanent und/oder ohne zwischengeschaltete Ventile mit dem Tank und/oder der Umgebung verbindet.
  11. Verbrennungsmotor nach einem der vorangegangenen Ansprüche, wobei das Entlüftungssystem der Entlüftung von den einzelnen Zylindern zugeordneten Bereichen des Kühlungssystems einer einstückigen Zylinderkopfbank des Verbrennungsmotors dient.
  12. Verbrennungsmotor nach einem der Ansprüche 1 bis 10, wobei der Verbrennungsmotor für jeden Zylinder einen separaten Zylinderkopf (1, 1') mit mindestens einer Entlüftungsöffnung aufweist.
  13. Verbrennungsmotor nach Anspruch 11 oder 12, wobei alle Zylinderköpfe (1, 1') einer Zylinderbank über den ersten und den zweiten Strang (5,6) der Entlüftungsleitung mit dem Tank und/oder der Umgebung in Verbindung stehen.
EP19164618.1A 2018-04-05 2019-03-22 Verbrennungsmotor mit einem entlüftungssystem Active EP3550119B1 (de)

Applications Claiming Priority (1)

Application Number Priority Date Filing Date Title
CH00444/18A CH714873A1 (de) 2018-04-05 2018-04-05 Verbrennungsmotor mit einem Entlüftungssystem.

Publications (2)

Publication Number Publication Date
EP3550119A1 EP3550119A1 (de) 2019-10-09
EP3550119B1 true EP3550119B1 (de) 2023-04-26

Family

ID=65904336

Family Applications (1)

Application Number Title Priority Date Filing Date
EP19164618.1A Active EP3550119B1 (de) 2018-04-05 2019-03-22 Verbrennungsmotor mit einem entlüftungssystem

Country Status (2)

Country Link
EP (1) EP3550119B1 (de)
CH (1) CH714873A1 (de)

Family Cites Families (9)

* Cited by examiner, † Cited by third party
Publication number Priority date Publication date Assignee Title
US2841127A (en) * 1955-02-16 1958-07-01 White Motor Co Cooling system
DE1937146A1 (de) * 1969-07-22 1971-02-04 Daimler Benz Ag Kuehlwasserfuehrung bei Hubkolbenbrennkraftmaschinen
FR2388133A1 (fr) * 1977-04-19 1978-11-17 Renault Perfectionnement aux circuits de refroidissement de moteurs a combustion interne
DE19948160B4 (de) * 1999-10-07 2010-07-15 Wilhelm Kuhn Kühlvorrichtung für eine flüssigkeitsgekühlte Brennkraftmaschine eines Kraftfahrzeuges
SE524916C2 (sv) * 2003-02-27 2004-10-19 Scania Cv Abp Anordning för att separera gas från ett vätskeformigt medium
GB0426647D0 (en) * 2004-12-04 2005-01-05 Ford Global Tech Llc An engine cooling system
DE102006019880A1 (de) * 2006-04-28 2007-10-31 Audi Ag Motorgehäusedeckel eines Verbrennungsmotors mit Entlüftungssystem
DE102007027719B4 (de) * 2007-06-15 2015-05-13 Audi Ag Brennkraftmaschine mit einem Heizungskreislauf und einem Kühlkreislauf
FR3004489B1 (fr) * 2013-04-11 2017-04-28 Bontaz Centre R & D Dispositif de refroidissement pour moteur a combustion interne a encombrement reduit et procede de fabrication d'un tel dispositif

Also Published As

Publication number Publication date
CH714873A1 (de) 2019-10-15
EP3550119A1 (de) 2019-10-09

Similar Documents

Publication Publication Date Title
DE102017207797B4 (de) Klima-service-gerät für eine fahrzeugklimaanlage
EP1852295A1 (de) Abgasanlage
EP1676989B1 (de) Verbrennungsmotor mit einer Kolbenkühlvorrichtung
EP3498359B1 (de) Filterelement und zugehörige filtereinrichtung
DE69405846T2 (de) Lenksäuleneinheit, insbesondere für ein Kraftfahrzeug
EP3550119B1 (de) Verbrennungsmotor mit einem entlüftungssystem
EP3514434A1 (de) Rohrschelle
DE10247958A1 (de) Kraftstoff-Einspritzvorrichtung für eine Brennkraftmaschine
DE102022105548A1 (de) Luftleitvorrichtung einer Kraftfahrzeugkarosserie eines Kraftfahrzeugs
DE102013011106A1 (de) Abgasturbolader
DE102004056295B4 (de) Ölversorgungsvorrichtung für ein Flugzeugtriebwerk
DE10141407A1 (de) Vorrichtung zum Halten eines Leitungsbündels bei einem Roboter
DE102014018623A1 (de) Verbindungsanordnung eines Abgaskrümmers an einem Turbinengehäuse
EP3123034B1 (de) Verbindungsanordnung einer kolbenstange
DE102012020243B4 (de) Trägergehäuse für eine Abgasturbolader-Anordnung, Abgasturbolader-Anordnung und Verbrennungsmotor
DE102010054231A1 (de) Anordnung eines Druckbehälters an einem Fahrzeug
EP1719925B1 (de) Befestigungssystem für längliche, quersteife Verbindungselemente
EP3101318B1 (de) Ventilmodul
EP2776723B1 (de) Axialverbindung
DE102018112448A1 (de) Werkzeug zur Halterung der Hochdruckwelle eines Flugzeugtriebwerks
DE102021131269A1 (de) Monolithische Klemmvorrichtung
DE102016001705A1 (de) Fixierelement und Schraubverbindung
DE102016014214A1 (de) Montagewerkzeug
DE202023106491U1 (de) Hebelanbindung einer Leitschaufelverstellung für eine Strömungsmaschine
DE102016215455A1 (de) Temperierbare Leitung insbesondere für ein Reduktionsmittel einer Abgasnachbehandlungsvorrichtung einer Kfz-Brennkraftmaschine

Legal Events

Date Code Title Description
PUAI Public reference made under article 153(3) epc to a published international application that has entered the european phase

Free format text: ORIGINAL CODE: 0009012

STAA Information on the status of an ep patent application or granted ep patent

Free format text: STATUS: THE APPLICATION HAS BEEN PUBLISHED

AK Designated contracting states

Kind code of ref document: A1

Designated state(s): AL AT BE BG CH CY CZ DE DK EE ES FI FR GB GR HR HU IE IS IT LI LT LU LV MC MK MT NL NO PL PT RO RS SE SI SK SM TR

AX Request for extension of the european patent

Extension state: BA ME

STAA Information on the status of an ep patent application or granted ep patent

Free format text: STATUS: REQUEST FOR EXAMINATION WAS MADE

17P Request for examination filed

Effective date: 20200324

RAP1 Party data changed (applicant data changed or rights of an application transferred)

Owner name: LIEBHERR MACHINES BULLE SA

STAA Information on the status of an ep patent application or granted ep patent

Free format text: STATUS: EXAMINATION IS IN PROGRESS

17Q First examination report despatched

Effective date: 20210805

GRAP Despatch of communication of intention to grant a patent

Free format text: ORIGINAL CODE: EPIDOSNIGR1

STAA Information on the status of an ep patent application or granted ep patent

Free format text: STATUS: GRANT OF PATENT IS INTENDED

INTG Intention to grant announced

Effective date: 20230215

GRAS Grant fee paid

Free format text: ORIGINAL CODE: EPIDOSNIGR3

GRAA (expected) grant

Free format text: ORIGINAL CODE: 0009210

STAA Information on the status of an ep patent application or granted ep patent

Free format text: STATUS: THE PATENT HAS BEEN GRANTED

AK Designated contracting states

Kind code of ref document: B1

Designated state(s): AL AT BE BG CH CY CZ DE DK EE ES FI FR GB GR HR HU IE IS IT LI LT LU LV MC MK MT NL NO PL PT RO RS SE SI SK SM TR

REG Reference to a national code

Ref country code: GB

Ref legal event code: FG4D

Free format text: NOT ENGLISH

REG Reference to a national code

Ref country code: CH

Ref legal event code: EP

REG Reference to a national code

Ref country code: DE

Ref legal event code: R096

Ref document number: 502019007534

Country of ref document: DE

REG Reference to a national code

Ref country code: AT

Ref legal event code: REF

Ref document number: 1562969

Country of ref document: AT

Kind code of ref document: T

Effective date: 20230515

REG Reference to a national code

Ref country code: IE

Ref legal event code: FG4D

Free format text: LANGUAGE OF EP DOCUMENT: GERMAN

REG Reference to a national code

Ref country code: SE

Ref legal event code: TRGR

REG Reference to a national code

Ref country code: LT

Ref legal event code: MG9D

REG Reference to a national code

Ref country code: NL

Ref legal event code: MP

Effective date: 20230426

PG25 Lapsed in a contracting state [announced via postgrant information from national office to epo]

Ref country code: NL

Free format text: LAPSE BECAUSE OF FAILURE TO SUBMIT A TRANSLATION OF THE DESCRIPTION OR TO PAY THE FEE WITHIN THE PRESCRIBED TIME-LIMIT

Effective date: 20230426

PG25 Lapsed in a contracting state [announced via postgrant information from national office to epo]

Ref country code: PT

Free format text: LAPSE BECAUSE OF FAILURE TO SUBMIT A TRANSLATION OF THE DESCRIPTION OR TO PAY THE FEE WITHIN THE PRESCRIBED TIME-LIMIT

Effective date: 20230828

Ref country code: NO

Free format text: LAPSE BECAUSE OF FAILURE TO SUBMIT A TRANSLATION OF THE DESCRIPTION OR TO PAY THE FEE WITHIN THE PRESCRIBED TIME-LIMIT

Effective date: 20230726

Ref country code: ES

Free format text: LAPSE BECAUSE OF FAILURE TO SUBMIT A TRANSLATION OF THE DESCRIPTION OR TO PAY THE FEE WITHIN THE PRESCRIBED TIME-LIMIT

Effective date: 20230426

PG25 Lapsed in a contracting state [announced via postgrant information from national office to epo]

Ref country code: RS

Free format text: LAPSE BECAUSE OF FAILURE TO SUBMIT A TRANSLATION OF THE DESCRIPTION OR TO PAY THE FEE WITHIN THE PRESCRIBED TIME-LIMIT

Effective date: 20230426

Ref country code: PL

Free format text: LAPSE BECAUSE OF FAILURE TO SUBMIT A TRANSLATION OF THE DESCRIPTION OR TO PAY THE FEE WITHIN THE PRESCRIBED TIME-LIMIT

Effective date: 20230426

Ref country code: LV

Free format text: LAPSE BECAUSE OF FAILURE TO SUBMIT A TRANSLATION OF THE DESCRIPTION OR TO PAY THE FEE WITHIN THE PRESCRIBED TIME-LIMIT

Effective date: 20230426

Ref country code: LT

Free format text: LAPSE BECAUSE OF FAILURE TO SUBMIT A TRANSLATION OF THE DESCRIPTION OR TO PAY THE FEE WITHIN THE PRESCRIBED TIME-LIMIT

Effective date: 20230426

Ref country code: IS

Free format text: LAPSE BECAUSE OF FAILURE TO SUBMIT A TRANSLATION OF THE DESCRIPTION OR TO PAY THE FEE WITHIN THE PRESCRIBED TIME-LIMIT

Effective date: 20230826

Ref country code: HR

Free format text: LAPSE BECAUSE OF FAILURE TO SUBMIT A TRANSLATION OF THE DESCRIPTION OR TO PAY THE FEE WITHIN THE PRESCRIBED TIME-LIMIT

Effective date: 20230426

Ref country code: GR

Free format text: LAPSE BECAUSE OF FAILURE TO SUBMIT A TRANSLATION OF THE DESCRIPTION OR TO PAY THE FEE WITHIN THE PRESCRIBED TIME-LIMIT

Effective date: 20230727

PG25 Lapsed in a contracting state [announced via postgrant information from national office to epo]

Ref country code: FI

Free format text: LAPSE BECAUSE OF FAILURE TO SUBMIT A TRANSLATION OF THE DESCRIPTION OR TO PAY THE FEE WITHIN THE PRESCRIBED TIME-LIMIT

Effective date: 20230426

PG25 Lapsed in a contracting state [announced via postgrant information from national office to epo]

Ref country code: SK

Free format text: LAPSE BECAUSE OF FAILURE TO SUBMIT A TRANSLATION OF THE DESCRIPTION OR TO PAY THE FEE WITHIN THE PRESCRIBED TIME-LIMIT

Effective date: 20230426

REG Reference to a national code

Ref country code: DE

Ref legal event code: R097

Ref document number: 502019007534

Country of ref document: DE

PG25 Lapsed in a contracting state [announced via postgrant information from national office to epo]

Ref country code: SM

Free format text: LAPSE BECAUSE OF FAILURE TO SUBMIT A TRANSLATION OF THE DESCRIPTION OR TO PAY THE FEE WITHIN THE PRESCRIBED TIME-LIMIT

Effective date: 20230426

Ref country code: SK

Free format text: LAPSE BECAUSE OF FAILURE TO SUBMIT A TRANSLATION OF THE DESCRIPTION OR TO PAY THE FEE WITHIN THE PRESCRIBED TIME-LIMIT

Effective date: 20230426

Ref country code: RO

Free format text: LAPSE BECAUSE OF FAILURE TO SUBMIT A TRANSLATION OF THE DESCRIPTION OR TO PAY THE FEE WITHIN THE PRESCRIBED TIME-LIMIT

Effective date: 20230426

Ref country code: EE

Free format text: LAPSE BECAUSE OF FAILURE TO SUBMIT A TRANSLATION OF THE DESCRIPTION OR TO PAY THE FEE WITHIN THE PRESCRIBED TIME-LIMIT

Effective date: 20230426

Ref country code: DK

Free format text: LAPSE BECAUSE OF FAILURE TO SUBMIT A TRANSLATION OF THE DESCRIPTION OR TO PAY THE FEE WITHIN THE PRESCRIBED TIME-LIMIT

Effective date: 20230426

Ref country code: CZ

Free format text: LAPSE BECAUSE OF FAILURE TO SUBMIT A TRANSLATION OF THE DESCRIPTION OR TO PAY THE FEE WITHIN THE PRESCRIBED TIME-LIMIT

Effective date: 20230426

PLBE No opposition filed within time limit

Free format text: ORIGINAL CODE: 0009261

STAA Information on the status of an ep patent application or granted ep patent

Free format text: STATUS: NO OPPOSITION FILED WITHIN TIME LIMIT

26N No opposition filed

Effective date: 20240129

PG25 Lapsed in a contracting state [announced via postgrant information from national office to epo]

Ref country code: SI

Free format text: LAPSE BECAUSE OF FAILURE TO SUBMIT A TRANSLATION OF THE DESCRIPTION OR TO PAY THE FEE WITHIN THE PRESCRIBED TIME-LIMIT

Effective date: 20230426

PG25 Lapsed in a contracting state [announced via postgrant information from national office to epo]

Ref country code: SI

Free format text: LAPSE BECAUSE OF FAILURE TO SUBMIT A TRANSLATION OF THE DESCRIPTION OR TO PAY THE FEE WITHIN THE PRESCRIBED TIME-LIMIT

Effective date: 20230426

REG Reference to a national code

Ref country code: CH

Ref legal event code: PL

PG25 Lapsed in a contracting state [announced via postgrant information from national office to epo]

Ref country code: BG

Free format text: LAPSE BECAUSE OF FAILURE TO SUBMIT A TRANSLATION OF THE DESCRIPTION OR TO PAY THE FEE WITHIN THE PRESCRIBED TIME-LIMIT

Effective date: 20230426

PG25 Lapsed in a contracting state [announced via postgrant information from national office to epo]

Ref country code: LU

Free format text: LAPSE BECAUSE OF NON-PAYMENT OF DUE FEES

Effective date: 20240322

PG25 Lapsed in a contracting state [announced via postgrant information from national office to epo]

Ref country code: MC

Free format text: LAPSE BECAUSE OF FAILURE TO SUBMIT A TRANSLATION OF THE DESCRIPTION OR TO PAY THE FEE WITHIN THE PRESCRIBED TIME-LIMIT

Effective date: 20230426

PG25 Lapsed in a contracting state [announced via postgrant information from national office to epo]

Ref country code: MC

Free format text: LAPSE BECAUSE OF FAILURE TO SUBMIT A TRANSLATION OF THE DESCRIPTION OR TO PAY THE FEE WITHIN THE PRESCRIBED TIME-LIMIT

Effective date: 20230426

Ref country code: LU

Free format text: LAPSE BECAUSE OF NON-PAYMENT OF DUE FEES

Effective date: 20240322

Ref country code: BG

Free format text: LAPSE BECAUSE OF FAILURE TO SUBMIT A TRANSLATION OF THE DESCRIPTION OR TO PAY THE FEE WITHIN THE PRESCRIBED TIME-LIMIT

Effective date: 20230426

REG Reference to a national code

Ref country code: BE

Ref legal event code: MM

Effective date: 20240331

PG25 Lapsed in a contracting state [announced via postgrant information from national office to epo]

Ref country code: BE

Free format text: LAPSE BECAUSE OF NON-PAYMENT OF DUE FEES

Effective date: 20240331

PG25 Lapsed in a contracting state [announced via postgrant information from national office to epo]

Ref country code: IE

Free format text: LAPSE BECAUSE OF NON-PAYMENT OF DUE FEES

Effective date: 20240322

PG25 Lapsed in a contracting state [announced via postgrant information from national office to epo]

Ref country code: IE

Free format text: LAPSE BECAUSE OF NON-PAYMENT OF DUE FEES

Effective date: 20240322

Ref country code: BE

Free format text: LAPSE BECAUSE OF NON-PAYMENT OF DUE FEES

Effective date: 20240331

Ref country code: CH

Free format text: LAPSE BECAUSE OF NON-PAYMENT OF DUE FEES

Effective date: 20240331

PGFP Annual fee paid to national office [announced via postgrant information from national office to epo]

Ref country code: SE

Payment date: 20250307

Year of fee payment: 7

PGFP Annual fee paid to national office [announced via postgrant information from national office to epo]

Ref country code: DE

Payment date: 20250331

Year of fee payment: 7

PGFP Annual fee paid to national office [announced via postgrant information from national office to epo]

Ref country code: FR

Payment date: 20250326

Year of fee payment: 7

PGFP Annual fee paid to national office [announced via postgrant information from national office to epo]

Ref country code: GB

Payment date: 20250322

Year of fee payment: 7

PGFP Annual fee paid to national office [announced via postgrant information from national office to epo]

Ref country code: TR

Payment date: 20250317

Year of fee payment: 7

REG Reference to a national code

Ref country code: AT

Ref legal event code: MM01

Ref document number: 1562969

Country of ref document: AT

Kind code of ref document: T

Effective date: 20240322

PGFP Annual fee paid to national office [announced via postgrant information from national office to epo]

Ref country code: IT

Payment date: 20250327

Year of fee payment: 7

PG25 Lapsed in a contracting state [announced via postgrant information from national office to epo]

Ref country code: AT

Free format text: LAPSE BECAUSE OF NON-PAYMENT OF DUE FEES

Effective date: 20240322

PG25 Lapsed in a contracting state [announced via postgrant information from national office to epo]

Ref country code: CY

Free format text: LAPSE BECAUSE OF FAILURE TO SUBMIT A TRANSLATION OF THE DESCRIPTION OR TO PAY THE FEE WITHIN THE PRESCRIBED TIME-LIMIT; INVALID AB INITIO

Effective date: 20190322

PG25 Lapsed in a contracting state [announced via postgrant information from national office to epo]

Ref country code: HU

Free format text: LAPSE BECAUSE OF FAILURE TO SUBMIT A TRANSLATION OF THE DESCRIPTION OR TO PAY THE FEE WITHIN THE PRESCRIBED TIME-LIMIT; INVALID AB INITIO

Effective date: 20190322