EP3450666B1 - Slide hinge and cabinet - Google Patents

Slide hinge and cabinet Download PDF

Info

Publication number
EP3450666B1
EP3450666B1 EP18189307.4A EP18189307A EP3450666B1 EP 3450666 B1 EP3450666 B1 EP 3450666B1 EP 18189307 A EP18189307 A EP 18189307A EP 3450666 B1 EP3450666 B1 EP 3450666B1
Authority
EP
European Patent Office
Prior art keywords
portions
case
coupling
attaching
locking
Prior art date
Legal status (The legal status is an assumption and is not a legal conclusion. Google has not performed a legal analysis and makes no representation as to the accuracy of the status listed.)
Active
Application number
EP18189307.4A
Other languages
German (de)
English (en)
French (fr)
Other versions
EP3450666A1 (en
Inventor
Hideya Tajima
Current Assignee (The listed assignees may be inaccurate. Google has not performed a legal analysis and makes no representation or warranty as to the accuracy of the list.)
Kem Hongkong Ltd
Original Assignee
Kem Hongkong Ltd
Priority date (The priority date is an assumption and is not a legal conclusion. Google has not performed a legal analysis and makes no representation as to the accuracy of the date listed.)
Filing date
Publication date
Application filed by Kem Hongkong Ltd filed Critical Kem Hongkong Ltd
Publication of EP3450666A1 publication Critical patent/EP3450666A1/en
Application granted granted Critical
Publication of EP3450666B1 publication Critical patent/EP3450666B1/en
Active legal-status Critical Current
Anticipated expiration legal-status Critical

Links

Images

Classifications

    • EFIXED CONSTRUCTIONS
    • E05LOCKS; KEYS; WINDOW OR DOOR FITTINGS; SAFES
    • E05DHINGES OR SUSPENSION DEVICES FOR DOORS, WINDOWS OR WINGS
    • E05D5/00Construction of single parts, e.g. the parts for attachment
    • E05D5/02Parts for attachment, e.g. flaps
    • E05D5/0276Parts for attachment, e.g. flaps for attachment to cabinets or furniture, the hinge having two or more pins
    • EFIXED CONSTRUCTIONS
    • E05LOCKS; KEYS; WINDOW OR DOOR FITTINGS; SAFES
    • E05DHINGES OR SUSPENSION DEVICES FOR DOORS, WINDOWS OR WINGS
    • E05D3/00Hinges with pins
    • E05D3/06Hinges with pins with two or more pins
    • E05D3/14Hinges with pins with two or more pins with four parallel pins and two arms
    • E05D3/142Hinges with pins with two or more pins with four parallel pins and two arms with at least one of the hinge parts having a cup-shaped fixing part, e.g. for attachment to cabinets or furniture
    • EFIXED CONSTRUCTIONS
    • E05LOCKS; KEYS; WINDOW OR DOOR FITTINGS; SAFES
    • E05DHINGES OR SUSPENSION DEVICES FOR DOORS, WINDOWS OR WINGS
    • E05D9/00Flaps or sleeves specially designed for making from particular material, e.g. hoop-iron, sheet metal, plastics
    • E05D9/005Flaps or sleeves specially designed for making from particular material, e.g. hoop-iron, sheet metal, plastics from plastics
    • EFIXED CONSTRUCTIONS
    • E05LOCKS; KEYS; WINDOW OR DOOR FITTINGS; SAFES
    • E05YINDEXING SCHEME ASSOCIATED WITH SUBCLASSES E05D AND E05F, RELATING TO CONSTRUCTION ELEMENTS, ELECTRIC CONTROL, POWER SUPPLY, POWER SIGNAL OR TRANSMISSION, USER INTERFACES, MOUNTING OR COUPLING, DETAILS, ACCESSORIES, AUXILIARY OPERATIONS NOT OTHERWISE PROVIDED FOR, APPLICATION THEREOF
    • E05Y2600/00Mounting or coupling arrangements for elements provided for in this subclass
    • E05Y2600/40Mounting location; Visibility of the elements
    • E05Y2600/46Mounting location; Visibility of the elements in or on the wing
    • EFIXED CONSTRUCTIONS
    • E05LOCKS; KEYS; WINDOW OR DOOR FITTINGS; SAFES
    • E05YINDEXING SCHEME ASSOCIATED WITH SUBCLASSES E05D AND E05F, RELATING TO CONSTRUCTION ELEMENTS, ELECTRIC CONTROL, POWER SUPPLY, POWER SIGNAL OR TRANSMISSION, USER INTERFACES, MOUNTING OR COUPLING, DETAILS, ACCESSORIES, AUXILIARY OPERATIONS NOT OTHERWISE PROVIDED FOR, APPLICATION THEREOF
    • E05Y2600/00Mounting or coupling arrangements for elements provided for in this subclass
    • E05Y2600/50Mounting methods; Positioning
    • E05Y2600/502Clamping
    • EFIXED CONSTRUCTIONS
    • E05LOCKS; KEYS; WINDOW OR DOOR FITTINGS; SAFES
    • E05YINDEXING SCHEME ASSOCIATED WITH SUBCLASSES E05D AND E05F, RELATING TO CONSTRUCTION ELEMENTS, ELECTRIC CONTROL, POWER SUPPLY, POWER SIGNAL OR TRANSMISSION, USER INTERFACES, MOUNTING OR COUPLING, DETAILS, ACCESSORIES, AUXILIARY OPERATIONS NOT OTHERWISE PROVIDED FOR, APPLICATION THEREOF
    • E05Y2600/00Mounting or coupling arrangements for elements provided for in this subclass
    • E05Y2600/50Mounting methods; Positioning
    • E05Y2600/504Expansion
    • EFIXED CONSTRUCTIONS
    • E05LOCKS; KEYS; WINDOW OR DOOR FITTINGS; SAFES
    • E05YINDEXING SCHEME ASSOCIATED WITH SUBCLASSES E05D AND E05F, RELATING TO CONSTRUCTION ELEMENTS, ELECTRIC CONTROL, POWER SUPPLY, POWER SIGNAL OR TRANSMISSION, USER INTERFACES, MOUNTING OR COUPLING, DETAILS, ACCESSORIES, AUXILIARY OPERATIONS NOT OTHERWISE PROVIDED FOR, APPLICATION THEREOF
    • E05Y2800/00Details, accessories and auxiliary operations not otherwise provided for
    • E05Y2800/67Materials; Strength alteration thereof
    • E05Y2800/682Strength alteration by reinforcing, e.g. by applying ribs
    • EFIXED CONSTRUCTIONS
    • E05LOCKS; KEYS; WINDOW OR DOOR FITTINGS; SAFES
    • E05YINDEXING SCHEME ASSOCIATED WITH SUBCLASSES E05D AND E05F, RELATING TO CONSTRUCTION ELEMENTS, ELECTRIC CONTROL, POWER SUPPLY, POWER SIGNAL OR TRANSMISSION, USER INTERFACES, MOUNTING OR COUPLING, DETAILS, ACCESSORIES, AUXILIARY OPERATIONS NOT OTHERWISE PROVIDED FOR, APPLICATION THEREOF
    • E05Y2900/00Application of doors, windows, wings or fittings thereof
    • E05Y2900/20Application of doors, windows, wings or fittings thereof for furniture, e.g. cabinets

Definitions

  • the invention relates to a slide hinge also referred to as a concealed hinge which is used for opening and closing a door in furniture such as cabinets intended for use in common households or offices; the invention also relates to a cabinet using such a slide hinge.
  • the furniture as above described, and in particular cabinet commonly uses a slide hinge structured as described in Japanese Laid-Open Patent Application No. 2003-367 or Japanese Utility Model Registration No. 3090408 .
  • the publicly known slide hinge of this sort basically comprises a slide hinge main body attached to a cabinet main body so as to be adjustable relative to the latter in a slidable manner, a coupling case housed in attaching holes provided on the door side and fixed into the hole using attaching screws, and a coupling piece for coupling the coupling case to the hinge main body.
  • a conventional slide hinge as above described includes a coupling case attached to a door of wooden solid material, attaching screws well fasten the coupling case onto the door, so that the door will not easily escape from the coupling case; in recent years however, a different type of doors is increasingly used, wherein the door comprises a core, e.g. honeycomb cardboard, on which attaching screws do not work well, and thin dressing boards stuck onto the both surfaces of the core.
  • a core e.g. honeycomb cardboard
  • the slide hinge according to the previous application has an excellent structure in that the coupling case of the slide hinge can be attached to a honeycomb board in a single operation with no use of attaching screws, etc., but in case of the coupling case and the attaching means made of synthetic resin, there is still a fear in terms of strength, thus it is necessary to use an expensive resin material or a case of thick material, so that the product as a whole is expensive or the coupling case is greater in size. Therefore, countermeasures are required to such a situation.
  • US 2014/096343 A1 discloses a slide hinge comprising a slide hinge main body, a coupling case of synthetic resin, and a coupling piece for openably and closably connecting said slide hinge main body and said coupling case via a hinge pin, wherein an attaching means is provided which is composed of a pair of attaching case portions continuously provided integrally with both side portions of the coupling case, and of diameter enlarging means provided in each of the attaching case portions.
  • a further slide hinge is known, e.g., from US 4 270 240 A .
  • An object of the invention is therefore to provide a slide hinge configured such that a coupling case can be attached to a honeycomb board in a single operation, wherein a fear of problems in terms of strength is eliminated, even if a coupling case composed of the coupling case and the attaching means are made of synthetic resin, as well as a cabinet using such a slide hinge.
  • the invention provides a slide hinge according to claim 1.
  • a slide hinge comprises a slide hinge main body attached to a cabinet main body, a coupling case inserted into and fixed to an attaching hole provided on a door, and a coupling piece for openably and closably coupling the cabinet main body and the coupling case via a hinge pin, wherein, in inserting and fixing the coupling case to an attaching hole provided on the side of the door made up of honeycomb cardboard, on which screws do not work, attaching case portions also made up of synthetic resin are connected with both sides of the coupling piece, diameter enlarging means are provided in the attaching case portions, and a reinforcing frame body is provided by inserting the hinge pin into the coupling case; in this manner, the coupling case can be firmly fixed to the attaching hole with no use of attaching screws and nails, so that a risk of escape following attachment is eliminated; furthermore, the strength of the coupling case can be enhanced by the reinforcing frame body, as well as
  • stopper means of each of locking plates move together with a rotation of operating plates to stop the rotation of the operating plates; in this manner, the rotation of pressurizing portions can be stopped when each claw portion of each of locking pieces bites into a circumferential wall of the connecting hole, so that it is possible to prevent the pressurizing portions from excessively rotating.
  • the invention is constructed as in claim 5, it has the operation and effect that the claw portion of the locking piece is not an obstacle to mounting the attaching case portion to the connecting hole.
  • the invention is constructed as in claim 6, it has the operation and effect that the strength of a coupling case can be enhanced by a reinforcing frame body, as well as a durability of a slide hinge, in a simple structure.
  • any of the above-mentioned inventions is applicable to a cabinet comprising the coupling case of the slide hinge attached on a cabinet main body using a board, wherein the board is made up of thin dressing boards being stuck onto the both surfaces of the honeycomb cardboard core.
  • the honeycomb door can be easily and firmly attached to the cabinet main body.
  • attaching means 6a, 6b are provided on a coupling case 5 side of a slide hinge 1, wherein the attaching means 6a, 6b and the coupling case 5 are both made of synthetic resin, and a third hinge pin 7c and a fourth hinge pin 7d are inserted through the coupling case 5 to attach a reinforcing frame body thereto; in this manner, these best modes ensure that the coupling case 5 can be fixed to a door 2b side or to a cabinet main body 2a side even without using attaching screws, so that a reinforcing effect of the coupling case can be enhanced, as well as its durability.
  • FIG. 1 illustrates an example of a cabinet 2 to which a slide hinge 1 according to the invention is attached.
  • the slide hinge 1 according to the invention is also commonly referred to as concealed hinge and attached between a door 2b side and a cabinet main body 2a side of the cabinet 2. As shown in FIGS.
  • the slide hinge 1 comprises a slide hinge main body 3 attached to the cabinet main body 2a side; a first coupling piece 4a and a second coupling piece 4b being a pair, wherein their respective one end portions are rotatably coupled to the slide hinge main body 3 via hinge pins 7a, 7b; a coupling case 5 of synthetic resin inserted into and fixed to an attaching hole 2c provided on a door 2b side, wherein respective other end portions of the first coupling piece 4a and the second coupling piece 4b are also rotatably coupled to the coupling case via a third hinge pin 7c and a fourth hinge pin 7d; attaching means 6a, 6b provided so as to be connected with the coupling case 5 in connecting holes 2d, 2e provided on the door 2b side in communication with the attaching hole 2c at its upper and lower positions; and a reinforcing frame body 10 attached to the coupling case 5 side by inserting the third hinge pin 7c and the fourth hinge pin 7d therein.
  • the coupling case 5 is inserted into and fixed to the attaching hole 2c in a single operation using the attaching means 6a, 6b, so that it is possible that the coupling case 5 is attached, with no use of nails and attaching screws, etc., to a door 2b, on which such nails and attaching screws do not work, the durability of the coupling case 5 is enhanced by the reinforcing frame body 10.
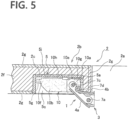
  • FIGS. 2 to 5 show a state of a slide hinge 1 attached to a cabinet 2, and especially as shown in FIG. 2 , a slide hinge main body 3 is detachably attached to a catch 11 (though detailed explanation is not made here) attached to a cabinet main body 2a side, and the coupling case 5 can be attached to the attaching hole 2c provided on the door 2b side, as well as to connecting holes 2d, 2e in a single operation via the attaching means 6a, 6b.
  • the coupling case 5 is housed in the attaching hole 2c provided on the door 2b side, and the attaching means 6a, 6b connected with the coupling case 5 are inserted into the connecting holes 2d, 2e provided in communication with the attaching hole 2c at its upper and lower positions, and thus the attaching means 6a, 6b are fixed to the connecting holes 2d, 2e in a single operation; in this manner, the coupling case 5 is fixed to the door 2b in a single operation.
  • the slide hinge main body 3 is shown as the one attachable and detachable in a single operation to the catch 11, but it can be also constructed so as to be attachable to the cabinet main body 2a side using attaching screws not shown.
  • the catch 11 is a known art, so no explanation is made on its structure, as well as operation and effect in the following embodiments.
  • the door 2b according to the embodiment is made up of thin dressing plywood boards 2g, 2g, 2g stuck on outer surfaces of a honeycomb cardboard core 2f; however, needless to say, the door 2b is not limited thereto, but also applicable as a door made up of other materials on which nails and attaching screws do not work.
  • the slide hinge main body 3 is a pressed metallic piece, elongated and having the shape of U in cross section. Respective one end portions of the first coupling piece 4a and the second coupling piece 4b, both made of metal are rotatably coupled to a tip portion of the slide hinge main body 3 via the first hinge pin 7a and the second hinge pin 7b.
  • the coupling case 5 is a moulded piece made of synthetic resin having a shape substantially of cup which comprises a bottom plate 5i, wherein a housing concave portion 5c is provided on its central portion for housing the first coupling piece 4a, the second coupling piece 4b and the tip portion side of the slide hinge main body 3, while the door 2b is closed relative to the cabinet main body 2a, as well as a coupling portion 5a for coupling the first coupling piece 4a and the second coupling piece 4b via the third hinge pin 7c; furthermore, the fourth hinge pin 7d and a coupling piece housing groove portion 5b slightly narrower than the housing concave portion 5c is provided on the coupling portion 5a.
  • coupling holes 5d, 5e have their respective openings facing the coupling piece housing groove portion 5b, and other end portions of the first coupling piece 4a and the second coupling piece 4b are coupled to the coupling holes 5d, 5e via one hinge pin, that is the third hinge pin 7c and other hinge pin, that is the fourth hinge pin 7d, both folded in the shape of U.
  • one hinge pin that is the third hinge pin 7c and other hinge pin, that is the fourth hinge pin 7d
  • the reinforcing frame body 10 made of stainless steel such as SUS and having substantially the shape of U is attached to the housing concave portion 5c and the coupling piece housing groove portion 5b, with the third hinge pin 7c and the fourth hinge pin 7d as mentioned above being inserted into hinge pin coupling holes 10c, 10d provided on a base portion 10a of the reinforcing frame body.
  • the reinforcing frame body 10 has substantially the shape of U and comprises a curved and narrow base portion 10a and a pair of slightly wider fixing portions 10b, 10b provided in connection with and in parallel to the base portion 10a; the hinge pin coupling holes 10c, 10d are provided on the base portion 10a, and a pair of first locking pieces 10e, 10e are provided on the base portion 10a of the fixing portions 10b, 10b; a pair of second locking pieces 10f, 10f are provided on their respective free end sides so as to protrude in a horizontal direction. Furthermore, locking holes 5g, 5g (only one is shown in FIG. 6 ) and locking holes 5h, 5h (shown in FIG.
  • the attaching means 6a, 6b are composed of a pair of attaching case portions 8, 9 connected with an upper and lower portions of the coupling case 5 over partition walls 5f, 5f, and diameter enlarging means 12, 13 mounted on the attaching case portions 8, 9.
  • the attaching case portions 8, 9 are both made of synthetic resin, that is the same material as the coupling case 5; each of them comprises three insertion holes 8a, 9a; 8a, 9a; 8a, 9a on its circumferential wall, and a locking hole 5h, 5h is provided on the side of the partition wall 5f, 5f between the coupling case 5 and the attaching case portions.
  • each of locking holes 8c, 9c; 8c, 9c for locking a locking piece 18b, 19b of a cap 18, 19 inwardly are provided so as to protrude from each upper end edge of the attaching case portion 8, 9, and each bearing hole 8e, 9e is provided on a central portion in an axial direction of its each bottom plate 8d, 9d.
  • An arc-shaped first guide hole 8f, 9f is provided to respectively surround each bearing hole 8e, 9e, and a projecting portion 8i, 9i is provided on one side on the central portion of the first guide hole 8f, 9f.
  • the projecting portions 8i, 9i can be also provided on the side of the second guide holes 14g, 15g, either separately or one over the other.
  • the housing concave portion 8g, 9g provided on the attaching case portions 8, 9 for housing the diameter enlarging means 12, 13 comprises a flat portion 8h, 9h on the side of a partition wall 5f, 5f as seen from a plane.
  • the diameter enlarging means 12, 13 are respectively composed of a pair of locking plates 14, 15, a pair of operating plates 16, 17, and a pair of caps 18, 19.
  • Each locking plate 14, 15 is e.g. moulded of synthetic resin having mechanical strength such as ABS, has a disc shape in a plan view, and especially as shown in FIG. 8 , comprises a bearing hole 14b, 15b on an upper surface side of a central portion of its bottom plate portion 14a, 15a; furthermore, a boss portion 14c, 15c inserted into a bearing hole 8e, 9e provided on each attaching case portion 8, 9 is provided on a lower surface side, having an axis centre common with the bearing hole 14b, 15b.
  • a locking piece 14e, 15e; 14e, 15e; 14e, 15e comprising each claw portion 14d, 15d; 14d, 15d; 14d, 15d, respectively erected at predetermined intervals and provided on respective tips is provided so as to protrude upward from an outer circumference of the bottom plate portion 14a, 15a; a second guide hole 14g, 15g in the arc shape is provided on a protruding piece 14f, 15f protruding in a direction of an identical plane from the bottom plate portion 14a, 15a; thus, when each locking plate 14, 15 is mounted in each attaching case portion 8, 9, each protruding piece 14f, 15f abuts against each flat portion 8h, 9h to prevent each locking plate 14, 15 from rotating, and each second guide hole 14g, 15g overlaps each first guide hole 8f, 9f.
  • a locking piece 14e, 15e; 14e, 15e; 14e, 15e is moulded so as to fall inward, so that each claw portion 14d, 15d; 14d, 15d; 14d, 15d does not protrude outward from each insertion hole 8a, 9a; 8a, 9a; 8a, 9a of the attaching case portion 8, 9, but is housed inside to have elasticity.
  • Each operating plate 16, 17 is preferably made of synthetic resin, and as shown in FIGS. 12 and 13 , comprises a plurality of pressurizing portions 16a, 17a; 16a, 17a; 16a, 17a provided so as to radially protrude from its outer circumference; an insertion hole 16c, 17c into which e.g. wrench is inserted is provided on a disc-shaped tool mounting portion 16b, 17b, and further a stopper piece 16e, 17e for passing through the second guide hole 14g, 15g provided on each locking plate 14, 15 and the first guide hole 8f, 9f provided on each attaching case portion 8, 9 is also provided downward from one side portion of the insertion hole.
  • an axis portion 16d, 17d inserted into the bearing hole 14b, 15b provided on each locking plate 14, 15, having an axis centre in common with the tool mounting portion 16b, 17b, is also provided on a lower surface side.
  • Each stopper piece 16e, 17e has its inner portion shaped to be a cavity 16g, 17g, so that it is structured so as to exhibit resistance to some degree, when it slides through the first guide hole 8f, 9f and the second guide hole 14g, 15g and abuts against the projecting portion 8i, 9i, as well as to deform to allow for its own passage.
  • Each cap 18, 19 is also preferably made of synthetic resin, and in this embodiment, as shown in FIGS. 3 , 6 and 10 , it has substantially a disc shape; a bearing hole 18a, 19a is provided on its central portion in an axial direction; although not all is shown on each cap 18, 19, but as is apparent from comparison between the caps 18, 19 as they are shown, a locking piece 18b, 19b (only one is shown) inserted into and locked by the locking hole 8b, 9b provided on the attaching case portion 8, 9 is provided on one side on its circumference; furthermore, a pair of locking concave portions 18c, 19c; 18c, 19c locked by the locking pieces 8c, 9c; 8c, 9c provided on the attaching case portion 8, 9 are provided, each having an interval of 120 degrees from the locking piece 18b, 19b, on its outer circumference.
  • a bearing hole 8e, 9e is provided on a central portion on the bottom plate 8d, 9d of each attaching case portion 8, 9.
  • a boss portion 14c, 15c provided with a bearing hole 14b, 15b for housing the axis portion 16d, 17d of the operating plate 16, 17 is provided in the centre of its bottom plate 14a, 15a, and the boss portion 14c, 15c is inserted into and borne by the bearing hole 8e, 9e provided on a central portion on the bottom plate 8d, 9d of each attaching case portions 8, 9.
  • six notches 14i, 15i are provided on a peripheral portion of the bottom portion 14a, 15a of the locking plate 14, 15, so as to sandwich base portions of respective locking pieces 14e, 15e; 14e, 15e; 14e, 15e.
  • a triangle mark g, h and a circle mark i are respectively provided in vicinity of the tool mounting portion 16b, 17b of each operating plate 16, 17 and of the bearing hole 18a, 19a of each cap 18, 19.
  • Each operating plate 16, 17 comprises the axis portion 16d, 17d extending downward from the tool mounting portion 16b, 17b; the tool mounting portion 16b, 17b is borne by the bearing hole 18a, 19a of each cap 18, 19, and a small diameter pivotally supporting portion 16f, 17f is inserted into and borne by the bearing hole 14b, 15b of each locking plate 14, 15, which assures a stable rotation movement with no axis deviation during rotation of the operating plate.
  • the boss portion 14c, 15c of the locking plate 14, 15 is borne by the bearing hole 8e, 9e of each attaching case portion 8, 9; in this manner, it is possible that the claw portion 14d, 15d; 14d, 15d; 14d, 15d protrudes equally outward from each attaching case portions 8, 9 through each insertion hole 8a, 9a; 8a, 9a; 8a, 9a at the time of enlarging diameter, so that it has an advantage of stable attached state.
  • each locking plate 14, 15 is inserted into the housing concave portion 8g, 9g, so as to align the straight portion 14h, 15h provided on the protruding piece 14f, 15f of the bottom plate portion 14a, 15a with the flat portion 8h, 9h of the housing concave portion 8g, 9g of each attaching case portion 8, 9.
  • the boss portion 14c, 15c provided on the bottom plate portion 14a, 15a is fitted into the bearing hole 8e, 9e provided in the attaching case portion 8, 9, and thus mounted and fixed to it, without rotating neither to the right nor to the left.
  • each operating plate 16, 17 is inserted into each locking piece 14e, 15e of the locking plate 14, 15 so as to align its pressurizing portion 16a, 17a between each locking piece 14e, 15e, as well as such that each stopper piece 16e, 17e can be inserted into the second guide hole 14g, 15g, so that the boss portion of the locking plate 14, 15 is inserted and housed into the bearing hole 14b, 15b provided on the locking plate.
  • each cap 18, 19 is pushed downward, while its locking piece 18b, 19b is engaged with the locking hole 8b, 9b and its bearing hole 18a, 19a is aligned with the tool mounting portion 16b, 17b, so that each locking concave portion 18c, 19c; 18c, 19c is locked by the locking piece 8c, 9c; 8c, 9c to be mounted in each attaching case portion 8, 9.
  • This is the procedure of installing the diameter enlarging means 12, 13. In this state, as shown in FIGS.
  • each claw portion 14d, 15d; 14d, 15d; 14d, 15d of each locking plate 14, 15 does not protrude outward from the insertion hole 8a, 9a; 8a, 9a; 8a, 9a of the attaching case portion 8, 9; in this manner, the invention has an advantage that it has neat appearance, and that it is easy to insert the coupling case 5 and the attaching case portion 8, 9 into the attaching hole 2c and the connecting holes 2d, 2e provided on the door 2b of the cabinet 2 of Embodiment 1, at its attachment.
  • the invention has an advantage that the attaching case portion 8, 9 can be easily detached from the attaching hole 2c and the connecting holes 2d, 2e, together with the coupling case 5.
  • each claw portion 14d, 15d; 14d, 15d; 14d, 15d is structured to be fitted into the insertion hole 8a, 9a; 8a, 9a; 8a, 9a, not to protrude outward from the insertion hole; in this manner, its insertion position is stable.
  • the stopper piece 16e, 17e of the operating plate 16, 17 is inserted into the second guide hole 14g, 15g and the first guide hole 8f, 9f, as one overlaps the other, in order that it is placed toward their start-end portion.
  • each pressurizing portion 16a, 17a; 16a, 17a; 16a, 17a is placed between respective claw portions 14d, 15d; 14d, 15d; 14d, 15d.
  • the cap 18, 19 is placed on the top of the attaching case portion 8, 9 and locked thereto as described above, then the assembly is completed.
  • the triangle mark g, g provided on each tool mounting portion 16b, 17b of the operating plate 16, 17 points to the circle mark i, i provided on the cap 18, 19 at the time of completion of assembly.
  • the slide hinge main body 3 is pushed into the catch 11 attached to the cabinet main body 2a, so that the slide hinge can be attached to the cabinet in a single operation.
  • the attaching piece not shown of known structure is provided on the slide hinge main body 3, and that this attaching piece is attached via the attaching screw.
  • the attaching case portion 8, 9 constituting the coupling case 5 and the attaching means 6a, 6b is inserted into the attaching hole 2c and the connecting holes 2d, 2e provided on the door 2b.
  • a state of the attaching case portion 8, 9 as inserted into the connecting holes 2d or 2e is shown in cross section in FIG. 5 .
  • each pressurizing portion 16a, 17a; 16a, 17a; 16a, 17a pushes outward each claw portion 14d, 15d; 14d, 15d; 14d, 15d of each locking piece 14e, 15e; 14e, 15e; 14e, 15e of the locking plate 14, 15, so that the claw portion 14d, 15d; 14d, 15d; 14d, 15d protrudes outward through each insertion hole 8a, 9a; 8a, 9a; 8a, 9a of each attaching case portion 8, 9, and they bites into the circumferential wall of the connecting holes 2d or 2e of the
  • the stopper means 20, 21 is provided for preventing the operating plate 16, 17 from excessively rotating at the time of rotating the operating plate 16, 17.
  • the stopper means 20, 21 are composed of the stopper piece 16e, 17e provided on the operating plate 16, 17, the second guide hole 14g, 15g provided on each locking piece 14e, 15e and the first guide hole 8f, 9f provided on each attaching case portion 8, 9, wherein the stopper piece 16e, 17e is fitted into the second guide hole and the first guide hole; when the stopper piece 16e, 17e moves from respective start-end portions to respective terminal end portions of the first guide hole 8f, 9f and the second guide hole 14g, 15g to stop at the terminal end portions, the claw portion 14d, 15d; 14d, 15d; 14d, 15d protrudes most outward, to bite into the circumferential wall of the connecting holes 2d, 2e, as shown in FIG.
  • the stopper means 20, 21 is structured by providing projecting portions on the pressurizing portions 16a, 17a; 16a, 17a; 16a, 17a of the operating plate 16, 17, at the positions where the operating plate 16, 17 abuts against each locking piece 14e, 15e; 14e, 15e; 14e, 15e, when it is rotated at a predetermined angle.
  • the stopper means is structured as described above, its structure is simplified, and the costs are reduced.
  • the invention is constructed as described in the foregoing, it is suitably used as a slide hinge made e.g. of a core of honeycomb cardboard and applicable to cabinets intended for use in common households or offices, as well as a cabinet using such a slide hinge.

Landscapes

  • Engineering & Computer Science (AREA)
  • Mechanical Engineering (AREA)
  • Hinges (AREA)
  • Cabinets, Racks, Or The Like Of Rigid Construction (AREA)
EP18189307.4A 2017-08-29 2018-08-16 Slide hinge and cabinet Active EP3450666B1 (en)

Applications Claiming Priority (1)

Application Number Priority Date Filing Date Title
JP2017164880A JP7244892B2 (ja) 2017-08-29 2017-08-29 スライドヒンジ並びにキャビネット

Publications (2)

Publication Number Publication Date
EP3450666A1 EP3450666A1 (en) 2019-03-06
EP3450666B1 true EP3450666B1 (en) 2024-01-17

Family

ID=63294076

Family Applications (1)

Application Number Title Priority Date Filing Date
EP18189307.4A Active EP3450666B1 (en) 2017-08-29 2018-08-16 Slide hinge and cabinet

Country Status (2)

Country Link
EP (1) EP3450666B1 (enExample)
JP (1) JP7244892B2 (enExample)

Families Citing this family (2)

* Cited by examiner, † Cited by third party
Publication number Priority date Publication date Assignee Title
AT519915B1 (de) * 2017-05-11 2020-11-15 Blum Gmbh Julius Dübel zum Befestigen von Beschlagteilen
WO2021173090A1 (de) * 2020-02-27 2021-09-02 Samet Kalip Ve Madeni̇ Eşya San Ti̇c. A.Ş Scharnier

Family Cites Families (7)

* Cited by examiner, † Cited by third party
Publication number Priority date Publication date Assignee Title
DE7725760U1 (de) 1977-08-19 1978-02-23 Fa. Richard Heinze, 4900 Herford Beschlag, insbesondere scharniertopf fuer moebelscharniere
JPS5819364Y2 (ja) * 1981-10-08 1983-04-21 テクトロニックス・インコ−ポレイテッド 留め具
JP2003000367A (ja) 2001-06-26 2003-01-07 Sekisui Chem Co Ltd カウンター付き流し台
JP3090408U (ja) 2002-05-31 2002-12-13 福隆尖端科技股▲分▼有限公司 自動閉扉式スライド蝶番
JP4291037B2 (ja) 2003-05-07 2009-07-08 スガツネ工業株式会社 スライドヒンジ
JP6168940B2 (ja) * 2012-10-04 2017-07-26 加藤電機株式会社 スライドヒンジ
DE102014113714A1 (de) 2014-09-23 2016-03-24 Samet Kalip Ve Maden Esya San. Ve Tic. A.S. Möbelscharnier

Also Published As

Publication number Publication date
EP3450666A1 (en) 2019-03-06
JP7244892B2 (ja) 2023-03-23
JP2019044342A (ja) 2019-03-22

Similar Documents

Publication Publication Date Title
US8938857B2 (en) Slide hinge
US8276241B2 (en) Hinge
US5040268A (en) Case hinge
US6200062B1 (en) Furniture combination with connector device
EP3379010B1 (en) Slide hinge and cabinet using the same
EP3450666B1 (en) Slide hinge and cabinet
US6434791B1 (en) Hinges
US6257631B1 (en) Draw latch
US4549831A (en) Set of joining hardware
JPH04265386A (ja) ヒンジ枠
US20190098997A1 (en) Mechanism to prevent sliding for cabinet drawers
US20040251697A1 (en) Latch assembly with adjustable backset
US4126863A (en) Two piece portable radio cabinet hinged about antenna
US20050226684A1 (en) Furniture assembly device
EP0548489B1 (de) Türflugelwandung aus dünnwandigem Metallblech mit Scharniergehäuse
CN108643775B (zh) 一种开门限位件
CN209509913U (zh) 一种具有门体开启角度限位功能的保险箱
US7350838B2 (en) Catch or locking element
CN223151868U (zh) 开合设备的装置主体以及开合设备
KR101932155B1 (ko) 도어의 전면 개방이 가능한 캐비닛
JP6494542B2 (ja) 折戸
JP3865480B2 (ja) 組立式保管庫
JP2015206202A (ja) 引戸用鎌錠
KR200313887Y1 (ko) 판스프링을 이용한 경첩
CN210118011U (zh) 门的安全锁定装置

Legal Events

Date Code Title Description
PUAI Public reference made under article 153(3) epc to a published international application that has entered the european phase

Free format text: ORIGINAL CODE: 0009012

STAA Information on the status of an ep patent application or granted ep patent

Free format text: STATUS: THE APPLICATION HAS BEEN PUBLISHED

AK Designated contracting states

Kind code of ref document: A1

Designated state(s): AL AT BE BG CH CY CZ DE DK EE ES FI FR GB GR HR HU IE IS IT LI LT LU LV MC MK MT NL NO PL PT RO RS SE SI SK SM TR

AX Request for extension of the european patent

Extension state: BA ME

STAA Information on the status of an ep patent application or granted ep patent

Free format text: STATUS: REQUEST FOR EXAMINATION WAS MADE

17P Request for examination filed

Effective date: 20190906

RBV Designated contracting states (corrected)

Designated state(s): AL AT BE BG CH CY CZ DE DK EE ES FI FR GB GR HR HU IE IS IT LI LT LU LV MC MK MT NL NO PL PT RO RS SE SI SK SM TR

STAA Information on the status of an ep patent application or granted ep patent

Free format text: STATUS: EXAMINATION IS IN PROGRESS

17Q First examination report despatched

Effective date: 20220601

P01 Opt-out of the competence of the unified patent court (upc) registered

Effective date: 20230530

GRAP Despatch of communication of intention to grant a patent

Free format text: ORIGINAL CODE: EPIDOSNIGR1

STAA Information on the status of an ep patent application or granted ep patent

Free format text: STATUS: GRANT OF PATENT IS INTENDED

RIC1 Information provided on ipc code assigned before grant

Ipc: E05D 9/00 20060101ALN20230706BHEP

Ipc: E05D 3/14 20060101ALN20230706BHEP

Ipc: E05D 5/02 20060101AFI20230706BHEP

INTG Intention to grant announced

Effective date: 20230809

GRAS Grant fee paid

Free format text: ORIGINAL CODE: EPIDOSNIGR3

GRAA (expected) grant

Free format text: ORIGINAL CODE: 0009210

STAA Information on the status of an ep patent application or granted ep patent

Free format text: STATUS: THE PATENT HAS BEEN GRANTED

AK Designated contracting states

Kind code of ref document: B1

Designated state(s): AL AT BE BG CH CY CZ DE DK EE ES FI FR GB GR HR HU IE IS IT LI LT LU LV MC MK MT NL NO PL PT RO RS SE SI SK SM TR

REG Reference to a national code

Ref country code: GB

Ref legal event code: FG4D

REG Reference to a national code

Ref country code: CH

Ref legal event code: EP

REG Reference to a national code

Ref country code: DE

Ref legal event code: R096

Ref document number: 602018064190

Country of ref document: DE

REG Reference to a national code

Ref country code: IE

Ref legal event code: FG4D

REG Reference to a national code

Ref country code: LT

Ref legal event code: MG9D

REG Reference to a national code

Ref country code: NL

Ref legal event code: MP

Effective date: 20240117

PG25 Lapsed in a contracting state [announced via postgrant information from national office to epo]

Ref country code: NL

Free format text: LAPSE BECAUSE OF FAILURE TO SUBMIT A TRANSLATION OF THE DESCRIPTION OR TO PAY THE FEE WITHIN THE PRESCRIBED TIME-LIMIT

Effective date: 20240117

PG25 Lapsed in a contracting state [announced via postgrant information from national office to epo]

Ref country code: NL

Free format text: LAPSE BECAUSE OF FAILURE TO SUBMIT A TRANSLATION OF THE DESCRIPTION OR TO PAY THE FEE WITHIN THE PRESCRIBED TIME-LIMIT

Effective date: 20240117

PG25 Lapsed in a contracting state [announced via postgrant information from national office to epo]

Ref country code: IS

Free format text: LAPSE BECAUSE OF FAILURE TO SUBMIT A TRANSLATION OF THE DESCRIPTION OR TO PAY THE FEE WITHIN THE PRESCRIBED TIME-LIMIT

Effective date: 20240517

PG25 Lapsed in a contracting state [announced via postgrant information from national office to epo]

Ref country code: LT

Free format text: LAPSE BECAUSE OF FAILURE TO SUBMIT A TRANSLATION OF THE DESCRIPTION OR TO PAY THE FEE WITHIN THE PRESCRIBED TIME-LIMIT

Effective date: 20240117

PG25 Lapsed in a contracting state [announced via postgrant information from national office to epo]

Ref country code: GR

Free format text: LAPSE BECAUSE OF FAILURE TO SUBMIT A TRANSLATION OF THE DESCRIPTION OR TO PAY THE FEE WITHIN THE PRESCRIBED TIME-LIMIT

Effective date: 20240418

PG25 Lapsed in a contracting state [announced via postgrant information from national office to epo]

Ref country code: HR

Free format text: LAPSE BECAUSE OF FAILURE TO SUBMIT A TRANSLATION OF THE DESCRIPTION OR TO PAY THE FEE WITHIN THE PRESCRIBED TIME-LIMIT

Effective date: 20240117

Ref country code: RS

Free format text: LAPSE BECAUSE OF FAILURE TO SUBMIT A TRANSLATION OF THE DESCRIPTION OR TO PAY THE FEE WITHIN THE PRESCRIBED TIME-LIMIT

Effective date: 20240417

PG25 Lapsed in a contracting state [announced via postgrant information from national office to epo]

Ref country code: ES

Free format text: LAPSE BECAUSE OF FAILURE TO SUBMIT A TRANSLATION OF THE DESCRIPTION OR TO PAY THE FEE WITHIN THE PRESCRIBED TIME-LIMIT

Effective date: 20240117

PG25 Lapsed in a contracting state [announced via postgrant information from national office to epo]

Ref country code: RS

Free format text: LAPSE BECAUSE OF FAILURE TO SUBMIT A TRANSLATION OF THE DESCRIPTION OR TO PAY THE FEE WITHIN THE PRESCRIBED TIME-LIMIT

Effective date: 20240417

Ref country code: NO

Free format text: LAPSE BECAUSE OF FAILURE TO SUBMIT A TRANSLATION OF THE DESCRIPTION OR TO PAY THE FEE WITHIN THE PRESCRIBED TIME-LIMIT

Effective date: 20240417

Ref country code: LT

Free format text: LAPSE BECAUSE OF FAILURE TO SUBMIT A TRANSLATION OF THE DESCRIPTION OR TO PAY THE FEE WITHIN THE PRESCRIBED TIME-LIMIT

Effective date: 20240117

Ref country code: IS

Free format text: LAPSE BECAUSE OF FAILURE TO SUBMIT A TRANSLATION OF THE DESCRIPTION OR TO PAY THE FEE WITHIN THE PRESCRIBED TIME-LIMIT

Effective date: 20240517

Ref country code: HR

Free format text: LAPSE BECAUSE OF FAILURE TO SUBMIT A TRANSLATION OF THE DESCRIPTION OR TO PAY THE FEE WITHIN THE PRESCRIBED TIME-LIMIT

Effective date: 20240117

Ref country code: GR

Free format text: LAPSE BECAUSE OF FAILURE TO SUBMIT A TRANSLATION OF THE DESCRIPTION OR TO PAY THE FEE WITHIN THE PRESCRIBED TIME-LIMIT

Effective date: 20240418

Ref country code: FI

Free format text: LAPSE BECAUSE OF FAILURE TO SUBMIT A TRANSLATION OF THE DESCRIPTION OR TO PAY THE FEE WITHIN THE PRESCRIBED TIME-LIMIT

Effective date: 20240117

Ref country code: ES

Free format text: LAPSE BECAUSE OF FAILURE TO SUBMIT A TRANSLATION OF THE DESCRIPTION OR TO PAY THE FEE WITHIN THE PRESCRIBED TIME-LIMIT

Effective date: 20240117

Ref country code: BG

Free format text: LAPSE BECAUSE OF FAILURE TO SUBMIT A TRANSLATION OF THE DESCRIPTION OR TO PAY THE FEE WITHIN THE PRESCRIBED TIME-LIMIT

Effective date: 20240117

PG25 Lapsed in a contracting state [announced via postgrant information from national office to epo]

Ref country code: PL

Free format text: LAPSE BECAUSE OF FAILURE TO SUBMIT A TRANSLATION OF THE DESCRIPTION OR TO PAY THE FEE WITHIN THE PRESCRIBED TIME-LIMIT

Effective date: 20240117

Ref country code: PT

Free format text: LAPSE BECAUSE OF FAILURE TO SUBMIT A TRANSLATION OF THE DESCRIPTION OR TO PAY THE FEE WITHIN THE PRESCRIBED TIME-LIMIT

Effective date: 20240517

PG25 Lapsed in a contracting state [announced via postgrant information from national office to epo]

Ref country code: SE

Free format text: LAPSE BECAUSE OF FAILURE TO SUBMIT A TRANSLATION OF THE DESCRIPTION OR TO PAY THE FEE WITHIN THE PRESCRIBED TIME-LIMIT

Effective date: 20240117

Ref country code: PT

Free format text: LAPSE BECAUSE OF FAILURE TO SUBMIT A TRANSLATION OF THE DESCRIPTION OR TO PAY THE FEE WITHIN THE PRESCRIBED TIME-LIMIT

Effective date: 20240517

Ref country code: PL

Free format text: LAPSE BECAUSE OF FAILURE TO SUBMIT A TRANSLATION OF THE DESCRIPTION OR TO PAY THE FEE WITHIN THE PRESCRIBED TIME-LIMIT

Effective date: 20240117

Ref country code: LV

Free format text: LAPSE BECAUSE OF FAILURE TO SUBMIT A TRANSLATION OF THE DESCRIPTION OR TO PAY THE FEE WITHIN THE PRESCRIBED TIME-LIMIT

Effective date: 20240117

PG25 Lapsed in a contracting state [announced via postgrant information from national office to epo]

Ref country code: DK

Free format text: LAPSE BECAUSE OF FAILURE TO SUBMIT A TRANSLATION OF THE DESCRIPTION OR TO PAY THE FEE WITHIN THE PRESCRIBED TIME-LIMIT

Effective date: 20240117

PG25 Lapsed in a contracting state [announced via postgrant information from national office to epo]

Ref country code: SM

Free format text: LAPSE BECAUSE OF FAILURE TO SUBMIT A TRANSLATION OF THE DESCRIPTION OR TO PAY THE FEE WITHIN THE PRESCRIBED TIME-LIMIT

Effective date: 20240117

REG Reference to a national code

Ref country code: DE

Ref legal event code: R097

Ref document number: 602018064190

Country of ref document: DE

PG25 Lapsed in a contracting state [announced via postgrant information from national office to epo]

Ref country code: EE

Free format text: LAPSE BECAUSE OF FAILURE TO SUBMIT A TRANSLATION OF THE DESCRIPTION OR TO PAY THE FEE WITHIN THE PRESCRIBED TIME-LIMIT

Effective date: 20240117

Ref country code: CZ

Free format text: LAPSE BECAUSE OF FAILURE TO SUBMIT A TRANSLATION OF THE DESCRIPTION OR TO PAY THE FEE WITHIN THE PRESCRIBED TIME-LIMIT

Effective date: 20240117

PG25 Lapsed in a contracting state [announced via postgrant information from national office to epo]

Ref country code: SK

Free format text: LAPSE BECAUSE OF FAILURE TO SUBMIT A TRANSLATION OF THE DESCRIPTION OR TO PAY THE FEE WITHIN THE PRESCRIBED TIME-LIMIT

Effective date: 20240117

PG25 Lapsed in a contracting state [announced via postgrant information from national office to epo]

Ref country code: SM

Free format text: LAPSE BECAUSE OF FAILURE TO SUBMIT A TRANSLATION OF THE DESCRIPTION OR TO PAY THE FEE WITHIN THE PRESCRIBED TIME-LIMIT

Effective date: 20240117

Ref country code: SK

Free format text: LAPSE BECAUSE OF FAILURE TO SUBMIT A TRANSLATION OF THE DESCRIPTION OR TO PAY THE FEE WITHIN THE PRESCRIBED TIME-LIMIT

Effective date: 20240117

Ref country code: RO

Free format text: LAPSE BECAUSE OF FAILURE TO SUBMIT A TRANSLATION OF THE DESCRIPTION OR TO PAY THE FEE WITHIN THE PRESCRIBED TIME-LIMIT

Effective date: 20240117

Ref country code: EE

Free format text: LAPSE BECAUSE OF FAILURE TO SUBMIT A TRANSLATION OF THE DESCRIPTION OR TO PAY THE FEE WITHIN THE PRESCRIBED TIME-LIMIT

Effective date: 20240117

Ref country code: DK

Free format text: LAPSE BECAUSE OF FAILURE TO SUBMIT A TRANSLATION OF THE DESCRIPTION OR TO PAY THE FEE WITHIN THE PRESCRIBED TIME-LIMIT

Effective date: 20240117

Ref country code: CZ

Free format text: LAPSE BECAUSE OF FAILURE TO SUBMIT A TRANSLATION OF THE DESCRIPTION OR TO PAY THE FEE WITHIN THE PRESCRIBED TIME-LIMIT

Effective date: 20240117

REG Reference to a national code

Ref country code: AT

Ref legal event code: UEP

Ref document number: 1650637

Country of ref document: AT

Kind code of ref document: T

Effective date: 20240117

PLBE No opposition filed within time limit

Free format text: ORIGINAL CODE: 0009261

STAA Information on the status of an ep patent application or granted ep patent

Free format text: STATUS: NO OPPOSITION FILED WITHIN TIME LIMIT

PG25 Lapsed in a contracting state [announced via postgrant information from national office to epo]

Ref country code: IT

Free format text: LAPSE BECAUSE OF FAILURE TO SUBMIT A TRANSLATION OF THE DESCRIPTION OR TO PAY THE FEE WITHIN THE PRESCRIBED TIME-LIMIT

Effective date: 20240117

26N No opposition filed

Effective date: 20241018

PG25 Lapsed in a contracting state [announced via postgrant information from national office to epo]

Ref country code: IT

Free format text: LAPSE BECAUSE OF FAILURE TO SUBMIT A TRANSLATION OF THE DESCRIPTION OR TO PAY THE FEE WITHIN THE PRESCRIBED TIME-LIMIT

Effective date: 20240117

REG Reference to a national code

Ref country code: CH

Ref legal event code: PL

PG25 Lapsed in a contracting state [announced via postgrant information from national office to epo]

Ref country code: LU

Free format text: LAPSE BECAUSE OF NON-PAYMENT OF DUE FEES

Effective date: 20240816

GBPC Gb: european patent ceased through non-payment of renewal fee

Effective date: 20240816

PG25 Lapsed in a contracting state [announced via postgrant information from national office to epo]

Ref country code: SI

Free format text: LAPSE BECAUSE OF FAILURE TO SUBMIT A TRANSLATION OF THE DESCRIPTION OR TO PAY THE FEE WITHIN THE PRESCRIBED TIME-LIMIT

Effective date: 20240117

Ref country code: MC

Free format text: LAPSE BECAUSE OF FAILURE TO SUBMIT A TRANSLATION OF THE DESCRIPTION OR TO PAY THE FEE WITHIN THE PRESCRIBED TIME-LIMIT

Effective date: 20240117

Ref country code: CH

Free format text: LAPSE BECAUSE OF NON-PAYMENT OF DUE FEES

Effective date: 20240831

REG Reference to a national code

Ref country code: BE

Ref legal event code: MM

Effective date: 20240831

PG25 Lapsed in a contracting state [announced via postgrant information from national office to epo]

Ref country code: GB

Free format text: LAPSE BECAUSE OF NON-PAYMENT OF DUE FEES

Effective date: 20240816

PG25 Lapsed in a contracting state [announced via postgrant information from national office to epo]

Ref country code: BE

Free format text: LAPSE BECAUSE OF NON-PAYMENT OF DUE FEES

Effective date: 20240831

PG25 Lapsed in a contracting state [announced via postgrant information from national office to epo]

Ref country code: FR

Free format text: LAPSE BECAUSE OF NON-PAYMENT OF DUE FEES

Effective date: 20240831

PG25 Lapsed in a contracting state [announced via postgrant information from national office to epo]

Ref country code: IE

Free format text: LAPSE BECAUSE OF NON-PAYMENT OF DUE FEES

Effective date: 20240816

PGFP Annual fee paid to national office [announced via postgrant information from national office to epo]

Ref country code: DE

Payment date: 20250725

Year of fee payment: 8

PGFP Annual fee paid to national office [announced via postgrant information from national office to epo]

Ref country code: AT

Payment date: 20250819

Year of fee payment: 8