EP3296177B1 - Zugangssteuersystem für eine zugangsvorrichtung eines fahrzeugs - Google Patents
Zugangssteuersystem für eine zugangsvorrichtung eines fahrzeugs Download PDFInfo
- Publication number
- EP3296177B1 EP3296177B1 EP16189524.8A EP16189524A EP3296177B1 EP 3296177 B1 EP3296177 B1 EP 3296177B1 EP 16189524 A EP16189524 A EP 16189524A EP 3296177 B1 EP3296177 B1 EP 3296177B1
- Authority
- EP
- European Patent Office
- Prior art keywords
- vehicle
- control system
- reflection surface
- access control
- access
- Prior art date
- Legal status (The legal status is an assumption and is not a legal conclusion. Google has not performed a legal analysis and makes no representation as to the accuracy of the status listed.)
- Active
Links
- 238000001514 detection method Methods 0.000 claims description 33
- 238000012545 processing Methods 0.000 claims description 10
- 238000000034 method Methods 0.000 claims description 6
- 239000003086 colorant Substances 0.000 claims description 2
- 230000000694 effects Effects 0.000 description 3
- 238000004891 communication Methods 0.000 description 2
- 238000013461 design Methods 0.000 description 2
- 238000005259 measurement Methods 0.000 description 2
- 238000013459 approach Methods 0.000 description 1
- 238000010276 construction Methods 0.000 description 1
- 238000006073 displacement reaction Methods 0.000 description 1
- 238000005516 engineering process Methods 0.000 description 1
- 239000013307 optical fiber Substances 0.000 description 1
Images
Classifications
-
- B—PERFORMING OPERATIONS; TRANSPORTING
- B61—RAILWAYS
- B61D—BODY DETAILS OR KINDS OF RAILWAY VEHICLES
- B61D19/00—Door arrangements specially adapted for rail vehicles
Definitions
- the invention relates to an access control system for an access device of a vehicle with the features of the preamble of claim 1 and a method for controlling an access device of a vehicle with the features of the preamble of claim 15.
- buttons were provided in the interior and exterior of the vehicle, by actuating them - at least when the door was released - the door could be opened. In this way, passengers were allowed to board and disembark.
- the disadvantage of this approach is that the distributed arrangement of the buttons required extensive cabling.
- the mechanical design of the buttons also meant that there was always a certain risk of failure or damage.
- the disclosure document DE 10 2014 113 567 A1 discloses a door system for a vehicle used in public transport, in which a passenger compartment in the area of the door opening is scanned without contact and three-dimensionally by a laser scanner unit.
- a "virtual button" is provided which neither requires a corresponding mechanical touch device nor cabling to this touch device.
- the laser scanner unit provided here can also be arranged centrally at a suitable location, in particular also in the area of the door control.
- the conventional electromechanical buttons also regularly had the function of displaying the current release or locking status of the corresponding vehicle door, e.g. B. by a correspondingly colored indicator light. In this way, the passengers can see whether it is currently possible to open the vehicle door or not. An opening is not possible, for example, if the vehicle has not yet reached the prescribed stopping position has reached. The provision of such a display prevents frustration, which can occur if the door is not opened despite actuation of the button and the reason for the passenger is not readily apparent. Such a differently illuminating display device conventionally requires appropriate cabling.
- the DE 20 2005 011 480 U1 From the prior art describes a body part such as a vehicle door, which is movably mounted on the body of a vehicle, with an anti-trap device arranged in the area of the closing gap formed with the body, with a transmitter that emits a beam or a signal and with a reflector that reflects the beam or receives the signal Recipient.
- the DE 10 2014 113 569 A1 from the prior art describes a door system for a vehicle used in public transport with at least one door opening and a door that closes the door opening.
- This is characterized by a sensor unit which scans a passenger compartment in the area of the door opening in three dimensions without contact and at least one communication element for context-based communication with passengers based on measurement results from the sensor unit.
- the EP 1 011 184 A1 Prior art describes a sequential safety system in conjunction with a movable lock slide plate driven by an electric motor, the safety system including means that uses the optical fiber derived signal to stop or reverse the direction of travel of the movable plate when the signal changes.
- the object of the invention is to further develop and improve the known control of a vehicle door in such a way that the need for cabling - especially in moving parts - as well as for other distributed electrical or mechanical devices is reduced or completely avoided and ease of use is improved.
- This object is achieved for an access control system for an access device of a vehicle having the features of the preamble of claim 1 by the features of the characterizing part of claim 1.
- this object is achieved by the features of the characterizing part of claim 15.
- What is essential for the invention is the knowledge that not only can the user movement to control the access device be detected without contact, but the status of the access device can also be communicated to the user in a manner that also does not require a line.
- a reflective surface can be illuminated for this purpose, which from the user's point of view has the same effect as a lighting device at the point of the reflective surface.
- the access control system is for an access device of a vehicle and comprises a sensor arrangement for contactless detection of a user movement in a detection area.
- This detection area is located in the area of the access device.
- the detection area is that area for which the sensor arrangement is set up to detect the user movement.
- the user movement can in particular be a hand movement by the user. In particular, such a user movement can be detected as soon as a hand of the user is moved into the detection area.
- the detection area is in the area of the access device can mean that the distance between the detection area and the access device is less than 3 m, preferably less than 2 m and in particular less than 1 m or even less than 50 cm.
- the vehicle is a vehicle for public transport, in particular a rail vehicle for transporting people or a bus for transporting people.
- the access control system further comprises a locking arrangement for actuating the access device and comprises a processing device for controlling the locking arrangement based on a user movement detected by the sensor arrangement. This can mean, in particular, to actuate the locking arrangement for actuating the access device in response to a detected user movement.
- a locking arrangement for an access device is known per se from the prior art.
- the control of the locking arrangement can also depend on a current state and in particular on whether such an actuation of the access device is currently enabled.
- the access control system is characterized in that the access control system has a reflective surface arranged in the area of the access device for reflecting light and a projection device for emitting a cone of light in the visible range onto the reflective surface and that the reflective surface is arranged essentially at the detection area.
- the light cone can essentially also have the shape of a cylinder, so that no substantial incline of a cone is required.
- the fact that the reflection surface is arranged essentially on the detection area can also mean that the distance between the reflection surface and the detection area is at most 20 cm, preferably at most 10 cm and in particular at most 5 cm.
- the reflection surface can also be arranged in the detection area or directly adjacent to the detection area, so that the distance between the reflection surface and the detection area would be zero.
- the access device can be any device that enables or facilitates access to the vehicle.
- the access device can be a sliding step or a step.
- a preferred embodiment of the access control system is characterized in that the access device has a vehicle door and that the locking arrangement is designed to close and open the vehicle door. Accordingly, it can preferably be the vehicle door of the vehicle for public transport and more preferably a vehicle door for a passenger compartment of the vehicle for public transport.
- the vehicle door comprises a door leaf which is set up to close and release a door opening next to a vehicle wall of the vehicle when the vehicle door is closed and opened.
- a door leaf is preferably mounted so as to be movable relative to the vehicle wall.
- the reflection surface is also preferably arranged in the area of the door leaf or in the area of the vehicle wall.
- the reflection surface is formed by a surface of the door leaf or by a surface of the vehicle wall.
- the projection device is set up to emit a colored light cone onto the reflection surface.
- a colored light cone is to be understood here according to the usual meaning as a light cone with a non-white color.
- the projection device is preferably set up to emit a light cone that is essentially limited to the reflection surface. In other words, the cone of light is essentially limited to the reflection surface.
- the projection device is set up to emit a cone of light onto the reflection surface when the vehicle door is closed. In other words, in the case of a variable-position reflection surface, the position of the reflection surface when the vehicle door is closed is decisive.
- a preferred embodiment of the access control system is characterized in that the access control system comprises an operating body, the reflection surface being formed by a surface of the operating body.
- the operating body can be any physical structure.
- the access control system has a flat support wall on which the operating body is arranged in such a way that the surface forming the reflection surface is offset from the wall surface of the support wall. In this way, the operating body can also be easily identified haptically for the user.
- a wall of the door leaf or a wall of the vehicle wall forms the support wall. Accordingly, it is preferred that the operating body is fastened and / or arranged on the door leaf or on the vehicle wall.
- the operating body is essentially rigid for actuation by the user. This means in particular that the operating body does not deform when it is touched or actuated by the user. This enables a particularly simple construction of the operating body. This preferably has the effect that the operating body is essentially stationary upon actuation and remains undeformed. In addition to the lack of deformation, there is also no movement or displacement of the operating body when the operating body is touched or actuated.
- the reflection surface is arranged in an interior of the vehicle.
- it can be a passenger compartment of the vehicle.
- the carrier wall then preferably forms an inner surface of the vehicle.
- the reflection surface is arranged outside the interior of the vehicle and in particular outside the passenger compartment of the vehicle. It is then preferred that the carrier wall forms an outer surface of the vehicle.
- a preferred embodiment of the access control system is characterized in that, in relation to a transverse direction of the vehicle, the projection device is essentially above the vehicle door, in particular essentially above the door opening.
- the projection device emits the light cone in a cross-sectional projection essentially vertically downwards.
- the cross-sectional plane is here preferably defined by the longitudinal direction of the vehicle and thus perpendicular to it.
- the course of the light cone can have a component in the longitudinal direction of the vehicle, which then, however, does not play a role in the question of the vertical course at hand.
- Another preferred embodiment of the access control system is characterized in that the processing device for controlling the locking arrangement is also set up based on a current access locking status and that the projection device is set up to emit light in different colors based on the current access locking status.
- This access locking state can on the one hand mean a different mechanical configuration depending on the access locking state.
- the access locking state can, however, also be implemented purely electrically or in terms of information technology, for example as an internal state of the preferably electronic processing device. Through this behavior or this nature of the projection device, this current locking state, which is relevant for the behavior of the processing device and thus the locking arrangement, can be communicated to an operator in a manner which is of the type of conventional pushbutton devices from the field of public vehicles Passenger traffic corresponds.
- the current access locking state can be a locked state of the access device or an unlocked state of the access device.
- there can be several sub-states of the locked state or the unlocked state so that, as a result, there can also be several types of the locked state and the unlocked state.
- the current access locking state is based on the detected user movement Locking arrangement opens the vehicle door.
- the locking arrangement leaves the vehicle door closed. This corresponds to the conventional behavior of the vehicle door upon actuation by the user.
- a preferred embodiment of the access control system is characterized in that the reflection surface is set up for diffuse scattering of incident light. This improves the visibility of the reflection effect. It can also be the case that the reflection surface has a multiplicity of reflection areas, each reflection area being set up to reflect the light differently. In this way, symbols or characters can be reproduced on the reflection surface. In particular, each reflection area can be set up to reflect the light in a different color.
- the projection device is set up to illuminate a different reflection area with the light cone, for example based on the current access locking state. In this way, even without changing the color of the light cone, a reflection by the reflection surface can be achieved in a different color in each case.
- the detection area comprises a near area adjacent to the reflection surface. In this way it is achieved that for the user the touching or actuation of the reflective surface apparently triggers the actuation of the locking arrangement and the actuation of the access device. It is further preferred here that the detection area consists essentially of the near area.
- the near area in front of the reflection surface essentially comprises a near volume and is preferably formed from this.
- This near volume is preferably formed by a preferably substantially constant maximum distance from the reflection surface. In other words, corresponds to that defined by this distance and correspondingly by the Volume limited by the reflection surface - i.e. the near volume - essentially the near area. In this way, the appearance of a mechanical actuation of the reflective surface for the user becomes particularly deceptively real.
- a preferred embodiment of the access control system is characterized in that the sensor arrangement is set up to detect the user movement, preferably in the detection area, by laser distance measurement. This involves the principle known per se from the prior art, which is also referred to as laser scanning. In particular, it can be the case here that the sensor arrangement - in a manner also known per se from the prior art - is set up to detect the user movement based on a detected point cloud.
- the method according to the invention is used to control an access device of a public transport vehicle, with a sensor arrangement detecting a user movement in a detection area in the area of the access device in a contactless manner and with a processing device controlling a locking arrangement for actuating the access device based on the user movement detected by the sensor arrangement.
- the method according to the invention is characterized in that a projection device emits a cone of light in the visible range onto a reflection surface, which reflection surface reflects light incident on it and that the reflection surface is arranged essentially in the detection area.
- Preferred embodiments of the method according to the invention result from the features, properties and details of preferred embodiments of the access control system according to the invention.
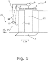
- the access control system shown is set up for an access device 1 of a vehicle, the access device 1 being a vehicle door 2 of a rail vehicle, of which only an interior 2a is shown here.
- the access control system comprises a sensor arrangement 3, which is specifically a laser scanner. This sensor arrangement 3 detects a movement and especially a hand movement of a user in a spatial detection area 4 in a contactless manner.
- the access control system also comprises a processing device 6 which controls the locking arrangement 5 and which receives a signal from the sensor arrangement 3 when the latter has detected a user movement.
- the access control system comprises an operating body 7 which is formed by a disk-like projection and the circular and curved front surface of which forms a reflection surface 8 for the diffuse scattering of incident light.
- the control body 7 is rigid and immobile and is in the Fig. 2 shown enlarged.
- the reflection surface 8 has only one reflection area.
- the reflection surface 8 could have several reflection areas each with different reflection properties.
- the access control system further comprises a projection device 9, which is a light emitter and which emits a light cone 10 onto the reflection surface 8, the light of the light cone 10 being reflected by the reflection surface 8.
- the light cone 10 is colored and in this particular case shown green, since in the Fig. 1 state shown the access device 1 is unlocked.
- the projection device 9 can also change the color of the light cone 10 and thus, for example, also emit a red light cone 10.
- the light cone 10 runs in a cross-sectional projection substantially vertically downwards, the schematic representation of the Figure 2b for illustration purposes deviates somewhat more from this vertical course.
- the cylindrical detection area 4 is formed by a volume in front of the reflection surface 8, which is essentially defined by a maximum distance profile, which distance is constant in the present case, in front of the reflection surface 8.
- This volume adjoins the reflection surface 8 and can also be referred to as the near area 4a. Touching the reflection surface 8 is thus detected as a user movement by the sensor arrangement 3.
- a current access locking state of the access device 1 is held in the processing device 6, which in the present case is an unlocked state, as stated above. In this unlocked state, the detection of a user movement causes the vehicle door 2 to be opened - as shown - by the locking arrangement 5.
- the access device 1 can also assume a locked state as an access locked state, for example while the vehicle is traveling.
- the projection device 9 then emits a red cone of light 10 and a user movement detected by the sensor arrangement 3 does not trigger the vehicle door 2 to be opened.
- the vehicle door 2 has a door leaf 11 with which a door opening 12 can be optionally closed or released. It can also be seen that the projection device 9 is arranged essentially above the door opening 12 in relation to a transverse direction 12a of the vehicle - that is, in accordance with a transverse view of the vehicle.
- This door opening 12 is located next to a vehicle wall 13, on which vehicle wall 13 the operating body 7 is arranged.
- the vehicle wall 13 forms a flat support wall 14, from which that surface of the operating body 7 which forms the reflection surface 8 is offset.
- the carrier wall 14 itself in turn forms an inner surface 14a of the vehicle.
- an arrangement of the operating body 7 on the door leaf 11 would also be conceivable, either on an inside of the door leaf 11 or on an outside of the door leaf 11. It would also be conceivable to arrange the operating body 7 with the reflection surface 8 on an outer surface of the vehicle, which outer surface is formed by the outer side of the vehicle wall 13.
Landscapes
- Engineering & Computer Science (AREA)
- Mechanical Engineering (AREA)
- Lock And Its Accessories (AREA)
- Power-Operated Mechanisms For Wings (AREA)
Description
- Die Erfindung betrifft ein Zugangssteuersystem für eine Zugangsvorrichtung eines Fahrzeugs mit den Merkmalen des Oberbegriffs von Anspruch 1 sowie ein Verfahren zum Steuern einer Zugangsvorrichtung eines Fahrzeugs mit den Merkmalen des Oberbegriffs von Anspruch 15.
- Das Betätigen von Zugangsvorrichtungen bei Fahrzeugen, zu welchen Zugangsvorrichtungen in erster Linie Fahrzeugtüren zählen, wird mithilfe einer Sensorik gesteuert, welche entsprechende Benutzerbewegungen oder Benutzerbetätigungen erfasst, worauf eine Betätigung bzw. Öffnung der Zugangsvorrichtung veranlasst wird. Insbesondere bei Fahrzeugen des öffentlichen Personenverkehrs wurden in der Vergangenheit jeweils mehrere Taster im Innen- wie im Außenraum des Fahrzeugs vorgesehen, durch deren Betätigung - jedenfalls bei freigegebener Tür - das Öffnen der Tür bewirkt werden konnte. Auf diese Weise wurde Passagieren der Ein- und Ausstieg erlaubt. Nachteilig an diesem Ansatz ist, dass durch die verteilte Anordnung der Taster eine ausgedehnte Verkabelung erforderlich war. Ebenso war durch die mechanische Ausgestaltung der Taster stets ein gewisses Risiko an Ausfällen oder Beschädigungen gegeben.
- Die Offenlegungsschrift
DE 10 2014 113 567 A1 offenbart ein Türsystem für ein Fahrzeug des öffentlichen Personenverkehrs, bei dem ein Fahrgastraum im Bereich der Türöffnung berührungslos und dreidimensional durch eine Laserscannereinheit abgetastet wird. Auf diese Weise wird ein "virtueller Taster" bereitgestellt, der weder eine entsprechende mechanische Tastvorrichtung noch eine Verkabelung zu dieser Tastvorrichtung erfordert. Vielmehr lässt sich auch die hier vorgesehene Laserscannereinheit an geeigneter Stelle zentral anordnen, und zwar insbesondere auch im Bereich der Türsteuerung. - Allerdings haben die herkömmlichen elektromechanischen Taster regelmäßig auch die Funktion gehabt, den aktuellen Freigabe- oder Verriegelungszustand der entsprechenden Fahrzeugtür anzuzeigen, z. B. durch eine entsprechend farbige Leuchtanzeige. Auf diese Weise können die Fahrgäste erkennen, ob eine Öffnung der Fahrzeugtür aktuell möglich ist oder nicht. Nicht möglich ist eine Öffnung beispielsweise dann, wenn das Fahrzeug noch nicht die vorgeschriebene Halteposition erreicht hat. Das Vorsehen einer solchen Anzeige verhindert Frust der dann eintreten kann, wenn trotz Betätigung des Tasters keine Öffnung der Tür erfolgt und der Grund für den Fahrgast nicht ohne weiteres erkennbar ist. Eine solche unterschiedlich leuchtende Anzeigevorrichtung setzt herkömmlicherweise eine entsprechende Verkabelung voraus.
- Die
DE 20 2005 011 480 U1 aus dem Stand der Technik beschreibt ein an der Karosserie eines Fahrzeugs beweglich gelagertes Karosserieteil wie eine Fahrzeugtür mit einer im Bereich des mit der Karosserie gebildeten Schließspalts angeordneten Einklemmschutzvorrichtung mit einem einen Strahl oder ein Signal emittierenden Sender und mit einem den Strahl reflektierenden Reflektor oder das Signal aufnehmenden Empfänger. - Die
DE 10 2014 113 569 A1 aus dem Stand der Technik beschreibt ein Türsystem für ein Fahrzeug des öffentlichen Personenverkehrs mit mindestens einer Türöffnung und einer die Türöffnung verschließenden Tür. Dieses ist durch eine Sensoreinheit, die einen Fahrgastraum im Bereich der Türöffnung dreidimensional berührungslos abtastet und zumindest ein Kommunikationselement für eine kontextbasierte Kommunikation mit Fahrgästen auf Basis von Messergebnissen der Sensoreinheit gekennzeichnet. - Die
EP 1 011 184 A1 aus dem Stand der Technik beschreibt ein sequentielles Sicherheitssystem in Verbindung mit einer beweglichen Schließgleitplatte, die von einem Elektromotor angetrieben wird, wobei das Sicherheitssystem ein Einrichtung aufweist, die das von einer optischen Faser abgeleitete Signal verwendet, um die Verschiebungsrichtung der beweglichen Platte zu stoppen oder umzukehren wenn sich das Signal ändert. - Die
US 4 621 452 A aus dem Stand der Technik, welche als nächstkommend angesehen wird, zeigt eine Schiebetür mit einem Sicherheitslichtstrahl, der sich mit und vor einer sich schließenden Tür bewegt. Die Unterbrechung des Sicherheitslichtstrahls durch ein Objekt in dem Weg der schließenden Tür aktiviert eine Türsteuerung, um das Schließen der Tür zu stoppen oder umzukehren. Ein stationärer Sender projiziert einen gepulsten Infrarotstrahl auf einen konvexen Spiegel, der an der Tür angebracht ist. Der Spiegel reflektiert den projizierten Strahl vor der sich schließenden Tür in einer Richtung quer zur Schließrichtung. - Ausgehend von diesem Stand der Technik besteht die Aufgabe der Erfindung darin, die bekannte Steuerung einer Fahrzeugtür dahingehend weiterzuentwickeln und zu verbessern, dass der Bedarf für Verkabelungen - insbesondere in beweglichen Teilen - sowie für sonstige verteilte elektrische oder mechanische Vorrichtungen verringert oder komplett vermieden und der Bedienkomfort verbessert wird.
- Diese Aufgabe wird für ein Zugangssteuersystem für eine Zugangsvorrichtung eines Fahrzeugs mit den Merkmalen des Oberbegriffs von Anspruch 1 durch die Merkmale des kennzeichnenden Teils von Anspruch 1 gelöst. Für ein Verfahren zum Steuern einer Zugangsvorrichtung eines Fahrzeugs mit den Merkmalen des Oberbegriffs von Anspruch 15 wird diese Aufgabe durch die Merkmale des kennzeichnenden Teils von Anspruch 15 gelöst. Wesentlich für die Erfindung ist die Erkenntnis, dass nicht nur die Erfassung der Benutzerbewegung zur Ansteuerung der Zugangsvorrichtung berührungslos erfolgen kann, sondern dem Benutzer auch der Zustand der Zugangsvorrichtung auf eine Art und Weise kommuniziert werden kann, welche ebenfalls ohne das Vorsehen einer Leitung auskommt. Speziell kann hierzu eine Reflexionsoberfläche angestrahlt werden, was aus Sicht des Benutzers dieselbe Wirkung hat wie eine Leuchtvorrichtung an der Stelle der Reflexionsoberfläche. Analog zur Erfassung der Benutzerbewegung erfolgt also auch die Übertragung einer Zustandsinformation "berührungslos". Durch die räumliche Nähe zwischen dem Erfassungsbereich und der Reflexionsoberfläche ist der Zusammenhang zwischen der möglichen Betätigung und der Zustandsanzeige für den Benutzer intuitiv erkennbar. Das erfindungsgemäße Zugangssteuersystem ist für eine Zugangsvorrichtung eines Fahrzeugs und umfasst eine Sensoranordnung zur berührungslosen Erfassung einer Benutzerbewegung in einem Erfassungsbereich. Dieser Erfassungsbereich befindet sich im Bereich der Zugangsvorrichtung. Der Erfassungsbereich ist derjenige Bereich, für den die Sensoranordnung zur Erfassung der Benutzerbewegung eingerichtet ist. Bei der Benutzerbewegung kann es sich insbesondere um eine Handbewegung des Benutzers handeln. Speziell kann eine solche Benutzerbewegung erfasst werden, sobald eine Hand des Benutzers in den Erfassungsbereich bewegt wird. Eine Benutzerbewegung außerhalb des Erfassungsbereichs wird entweder gar nicht von der Sensoranordnung registriert oder als außerhalb des vorgeschriebenen Erfassungsbereichs erfolgende Benutzerbewegung verworfen. Dass der Erfassungsbereich sich im Bereich der Zugangsvorrichtung befindet kann bedeuten, dass der Abstand zwischen dem Erfassungsbereich und der Zugangsvorrichtung weniger als 3 m, vorzugsweise weniger als 2 m und insbesondere weniger als 1 m oder gar weniger als 50 cm beträgt. Erfindungsgemäß handelt es sich bei dem Fahrzeug um ein Fahrzeug des öffentlichen Personenverkehrs, insbesondere um ein Schienenfahrzeug zur Personenbeförderung oder um einen Bus zur Personenbeförderung.
- Das erfindungsgemäße Zugangssteuersystem umfasst ferner eine Schließanordnung zum Betätigen der Zugangsvorrichtung und umfasst eine Verarbeitungsvorrichtung zum Ansteuern der Schließanordnung basierend auf einer von der Sensoranordnung erfassten Benutzerbewegung. Dies kann insbesondere bedeuten, auf eine erfasste Benutzerbewegung hin die Schließanordnung zum Betätigen der Zugangsvorrichtung anzusteuern. Eine solche Schließanordnung für eine Zugangsvorrichtung ist an sich aus dem Stand der Technik bekannt. Dabei kann die Ansteuerung der Schließanordnung auch von einem aktuellen Zustand abhängen und insbesondere davon abhängen, ob eine solche Betätigung der Zugangsvorrichtung aktuell freigegeben ist.
- Das erfindungsgemäße Zugangssteuersystem ist dadurch gekennzeichnet, dass das Zugangssteuersystem eine im Bereich der Zugangsvorrichtung angeordnete Reflexionsoberfläche zum Reflektieren von Licht und eine Projektionsvorrichtung zum Ausstrahlen eines Lichtkegels im sichtbaren Bereich auf die Reflexionsoberfläche aufweist und dass die Reflexionsoberfläche im Wesentlichen am Erfassungsbereich angeordnet ist. Der Lichtkegel kann im Wesentlichen auch die Form eines Zylinders haben, sodass also keine wesentliche Steigung eines Kegels erforderlich ist. Dass die Reflexionsoberfläche im Wesentlichen am Erfassungsbereich angeordnet ist kann auch bedeuten, dass der Abstand zwischen der Reflexionsoberfläche und dem Erfassungsbereich höchstens 20 cm, vorzugsweise höchstens 10 cm und insbesondere höchstens 5 cm beträgt. Die Reflexionsoberfläche kann auch im Erfassungsbereich oder unmittelbar angrenzend an den Erfassungsbereich angeordnet sein, sodass der Abstand zwischen der Reflexionsoberfläche und dem Erfassungsbereich 0 betragen würde.
- Grundsätzlich kann es sich bei der Zugangsvorrichtung um eine beliebige Vorrichtung handeln, welche den Zugang zu dem Fahrzeug ermöglicht oder erleichtert. Insbesondere kann es sich bei der Zugangsvorrichtung um einen Schiebetritt oder um eine Trittstufe handeln. Eine bevorzugte Ausführungsform des Zugangssteuersystems ist dadurch gekennzeichnet, dass die Zugangsvorrichtung eine Fahrzeugtür aufweist und dass die Schließanordnung zum Schließen und Öffnen der Fahrzeugtür eingerichtet ist. Entsprechend kann es sich bevorzugt um die Fahrzeugtür des Fahrzeugs des öffentlichen Personenverkehrs und weiter bevorzugt um eine Fahrzeugtür für einen Fahrgastraum des Fahrzeugs des öffentlichen Personenverkehrs handeln.
- Eine weitere bevorzugte Ausführungsform des Zugangssteuersystems ist dadurch gekennzeichnet, dass die Fahrzeugtür einen Türflügel umfasst, welcher zum Verschließen und Freigeben einer Türöffnung neben einer Fahrzeugwand des Fahrzeugs bei Schließen und Öffnen der Fahrzeugtür eingerichtet ist. Ein solcher Türflügel ist vorzugsweise beweglich zur Fahrzeugwand gelagert. Ebenso vorzugsweise ist die Reflexionsoberfläche im Bereich des Türflügels oder im Bereich der Fahrzeugwand angeordnet. Insbesondere kann es auch sein, dass die Reflexionsoberfläche durch eine Oberfläche des Türflügels oder durch eine Oberfläche der Fahrzeugwand gebildet ist. Indem auf diese Weise ein herkömmlicher Taster an dem Türflügel ersetzt wird, kann die entsprechende Verkabelung an dem Türflügel, welche durch die Beweglichkeit des Türflügels aufwändig in der Bereitstellung ist, vorteilhafterweise entfallen.
- Gemäß einer bevorzugten Ausführungsform des Zugangssteuersystems ist vorgesehen, dass die Projektionsvorrichtung zum Ausstrahlen eines farbigen Lichtkegels auf die Reflexionsoberfläche eingerichtet ist. Unter einem farbigen Lichtkegel ist hier gemäß der üblichen Bedeutung ein Lichtkegel mit einer nichtweißen Farbe zu verstehen. Vorzugsweise ist die Projektionsvorrichtung zum Ausstrahlen eines im Wesentlichen auf die Reflexionsoberfläche begrenzten Lichtkegels eingerichtet. Anders ausgedrückt ist der Lichtkegel im Wesentlichen auf die Reflexionsoberfläche begrenzt. Insbesondere kann es sein, dass die Projektionsvorrichtung zum Ausstrahlen eines Lichtkegels auf die Reflexionsoberfläche bei geschlossener Fahrzeugtür eingerichtet ist. Mit anderen Worten ist bei einer positionsveränderlichen Reflexionsoberfläche die Position der Reflexionsoberfläche bei geschlossener Fahrzeugtür maßgeblich.
- Eine bevorzugte Ausführungsform des Zugangssteuersystems ist dadurch gekennzeichnet, dass das Zugangssteuersystem einen Bedienkörper umfasst, wobei die Reflexionsoberfläche durch eine Oberfläche des Bedienkörpers gebildet ist. Prinzipiell kann es sich bei dem Bedienkörper um eine beliebige körperliche Struktur handeln. Insbesondere kann es sein, dass das Zugangssteuersystem eine flächige Trägerwand aufweist, auf der der Bedienkörper derart angeordnet ist, dass die die Reflexionsoberfläche bildende Oberfläche von der Wandfläche der Trägerwand abgesetzt ist. Auf diese Weise ist der Bedienkörper für den Benutzer auch haptisch leicht zu identifizieren. Hier ist es bevorzugt, dass eine Wand des Türflügels oder eine Wand der Fahrzeugwand die Trägerwand bildet. Entsprechend ist es bevorzugt, dass der Bedienkörper an dem Türflügel oder an der Fahrzeugwand befestigt und/oder angeordnet ist.
- Eine weitere bevorzugte Ausführungsform des Zugangssteuersystems ist dadurch gekennzeichnet, dass der Bedienkörper für eine Betätigung des Benutzers im Wesentlichen starr ist. Das bedeutet insbesondere, dass der Bedienkörper sich auf eine Berührung oder Betätigung durch den Benutzer nicht verformt. Dies ermöglicht eine besonders einfache Konstruktion des Bedienkörpers. Vorzugsweise bewirkt dies, dass der Bedienkörper auf die Betätigung im Wesentlichen feststeht und unverformt bleibt. Neben der fehlenden Verformung findet also auf eine Berührung oder Betätigung des Bedienkörpers auch keine Bewegung oder Verschiebung des Bedienkörpers statt.
- Gemäß einer bevorzugten Ausführungsform des Zugangssteuersystems ist vorgesehen, dass die Reflexionsoberfläche in einem Innenraum des Fahrzeugs angeordnet ist. Insbesondere kann es sich um einen Fahrgastinnenraum des Fahrzeugs handeln. Vorzugsweise bildet dann die Trägerwand eine Innenfläche des Fahrzeugs. Alternativ kann es sein, dass die Reflexionsoberfläche außerhalb des Innenraums des Fahrzeugs und insbesondere außerhalb des Fahrgastinnenraums des Fahrzeugs angeordnet ist. Bevorzugt ist es dann, dass die Trägerwand eine Außenfläche des Fahrzeugs bildet.
- Eine bevorzugte Ausführungsform des Zugangssteuersystems ist dadurch gekennzeichnet, dass die Projektionsvorrichtung bezogen auf eine Querrichtung des Fahrzeugs im Wesentlichen oberhalb der Fahrzeugtür, insbesondere im Wesentlichen oberhalb der Türöffnung, angeordnet ist. Dies erlaubt eine sehr kompakte Bauweise des Zugangssteuersystems insgesamt mit einem Minimum an Verkabelungsbedarf. Hier ist es weiter bevorzugt, dass die Projektionsvorrichtung den Lichtkegel in einer Querschnittsprojektion im Wesentlichen senkrecht nach unten ausstrahlt. Die Querschnittsebene ist hier vorzugsweise durch die Längsrichtung des Fahrzeugs definiert und somit zu dieser senkrecht. Mit anderen Worten kann der Verlauf des Lichtkegels eine Komponente in Längsrichtung des Fahrzeugs aufweisen, welche dann aber für die vorliegende Frage des senkrechten Verlaufs keine Rolle spielt.
- Eine weitere bevorzugte Ausführungsform des Zugangssteuersystems ist dadurch gekennzeichnet, dass die Verarbeitungsvorrichtung zum Ansteuern der Schließanordnung auch basierend auf einem aktuellen Zugangsverriegelungszustand eingerichtet ist und dass die Projektionsvorrichtung dazu eingerichtet ist, basierend auf dem aktuellen Zugangsverriegelungszustand Licht in unterschiedlicher Farbe auszustrahlen. Dieser Zugangsverriegelungszustand kann einerseits eine jeweils andere mechanische Konfiguration in Abhängigkeit des Zugangsverriegelungszustands bedeuten. Der Zugangsverriegelungszustand kann aber auch rein elektrisch oder informationstechnisch realisiert sein, so etwa als interner Zustand der bevorzugt elektronischen Verarbeitungsvorrichtung. Durch dieses Verhalten bzw. diese Beschaffenheit der Projektionsvorrichtung kann dieser aktuelle Verriegelungszustand, welcher für das Verhalten der Verarbeitungsvorrichtung und damit der Schließanordnung relevant ist, einem Bediener auf eine Art und Weise kommuniziert werden, welcher der Art der herkömmlichen Tastervorrichtungen aus dem Bereich der Fahrzeuge des öffentlichen Personenverkehrs entspricht.
- Gemäß einer bevorzugten Ausführungsform des Zugangssteuersystems ist vorgesehen, dass der aktuelle Zugangsverriegelungszustand ein verriegelter Zustand der Zugangsvorrichtung oder ein entriegelter Zustand der Zugangsvorrichtung sein kann. Neben diesen beiden Zugangsverriegelungszuständen kann es auch noch weitere Zugangsverriegelungszustände geben. Ebenso kann es mehrere Unterzustände des verriegelten Zustands oder des entriegelten Zustands geben, sodass es im Ergebnis auch mehrere Arten des verriegelten Zustands und des entriegelten Zustands geben kann. Hier ist es weiter bevorzugt, dass bei geschlossener Fahrzeugtür und einem entriegelten Zustand der Fahrzeugtür als aktuellem Zugangsverriegelungszustand auf die erfasste Benutzerbewegung die Schließanordnung die Fahrzeugtür öffnet. Insbesondere kann es weiter sein, dass bei geschlossener Fahrzeugtür und einem verriegelten Zustand der Fahrzeugtür als aktuellem Zugangsverriegelungszustand auf die erfasste Benutzerbewegung die Schließanordnung die Fahrzeugtür geschlossen lässt. Dies entspricht dem herkömmlichen Verhalten der Fahrzeugtür auf eine Betätigung durch den Benutzer.
- Eine bevorzugte Ausführungsform des Zugangssteuersystems ist dadurch gekennzeichnet, dass die Reflexionsoberfläche zur diffusen Streuung von einfallendem Licht eingerichtet ist. Dies verbessert die Sichtbarkeit der Reflexionswirkung. Es kann ebenfalls sein, dass die Reflexionsoberfläche eine Vielzahl von Reflexionsbereichen aufweist, wobei jeder Reflexionsbereich dazu eingerichtet ist, das Licht unterschiedlich zu reflektieren. Auf diese Weise können Symbole oder Schriftzeichen auf der Reflexionsoberfläche wiedergegeben werden. Speziell kann jeder Reflexionsbereich dazu eingerichtet sein, das Licht in einer unterschiedlichen Farbe zu reflektieren. Hier ist es weiter bevorzugt, dass die Projektionsvorrichtung dazu eingerichtet ist, beispielsweise basierend auf dem aktuellen Zugangsverriegelungszustand einen unterschiedlichen Reflexionsbereich mit dem Lichtkegel anzustrahlen. Auf diese Weise kann auch ohne Änderung der Farbe des Lichtkegels eine Reflexion durch die Reflexionsoberfläche in einer jeweils unterschiedlichen Farbe erreicht werden.
- Eine weitere bevorzugte Ausführungsform des Zugangssteuersystems ist dadurch gekennzeichnet, dass der Erfassungsbereich einen Nahbereich angrenzend an die Reflexionsoberfläche umfasst. Auf diese Weise wird erreicht, dass für den Benutzer scheinbar die Berührung oder Betätigung der Reflexionsoberfläche die Ansteuerung der Schließanordnung und die Betätigung der Zugangsvorrichtung auslöst. Hier ist es weiter bevorzugt, dass der Erfassungsbereich im Wesentlichen aus dem Nahbereich besteht.
- Gemäß einer bevorzugten Ausführungsform des Zugangssteuersystems ist vorgesehen, dass der Nahbereich vor der Reflexionsoberfläche im Wesentlichen ein Nahvolumen umfasst und vorzugsweise aus diesem gebildet wird. Vorzugsweise wird dieses Nahvolumen durch einen vorzugsweise im Wesentlichen konstanten maximalen Abstand zu der Reflexionsoberfläche gebildet wird. Mit anderen Worten entspricht das durch diesen Abstand definierte und entsprechend durch die Reflexionsoberfläche begrenzte Volumen - also das Nahvolumen - im Wesentlichen dem Nahbereich. Auf diese Weise wird der Anschein einer mechanischen Betätigung der Reflexionsoberfläche für den Benutzer besonders täuschend echt.
- Eine bevorzugte Ausführungsform des Zugangssteuersystems ist dadurch gekennzeichnet, dass die Sensoranordnung dazu eingerichtet ist, durch Laserentfernungsmessung die Benutzerbewegung vorzugsweise in dem Erfassungsbereich zu erfassen. Es handelt sich dabei um das an sich aus dem Stand der Technik bekannte Prinzip, welches auch als Laserscanning bezeichnet wird. Hier kann es insbesondere sein, dass die Sensoranordnung - in ebenfalls an sich aus dem Stand der Technik bekannter Weise - dazu eingerichtet ist, die Benutzerbewegung basierend auf einer detektierten Punktwolke zu erfassen.
- Das erfindungsgemäße Verfahren dient zum Steuern einer Zugangsvorrichtung eines Fahrzeugs des öffentlichen Personenverkehrs, wobei eine Sensoranordnung eine Benutzerbewegung in einem Erfassungsbereich im Bereich der Zugangsvorrichtung berührungslos erfasst und wobei eine Verarbeitungsvorrichtung eine Schließanordnung zum Betätigen der Zugangsvorrichtung basierend auf der von der Sensoranordnung erfassten Benutzerbewegung ansteuert. Das erfindungsgemäße Verfahren ist dadurch gekennzeichnet, dass eine Projektionsvorrichtung einen Lichtkegel im sichtbaren Bereich auf eine Reflexionsoberfläche ausstrahlt, welche Reflexionsoberfläche auf sie einfallendes Licht reflektiert und dass die Reflexionsoberfläche im Wesentlichen im Erfassungsbereich angeordnet ist.
- Bevorzugte Ausführungsformen des erfindungsgemäßen Verfahrens ergeben sich aus den Merkmalen, Eigenschaften und Einzelheiten bevorzugter Ausführungsformen des erfindungsgemäßen Zugangssteuersystems.
- Weitere vorteilhafte und bevorzugte Ausgestaltungen ergeben sich aus der nachfolgenden Beschreibung mit Bezug auf die Figuren. In der lediglich ein Ausführungsbeispiel wiedergebenden Zeichnung zeigt
- Fig. 1
- eine schematische Darstellung eines Ausführungsbeispiels eines erfindungsgemäßen Zugangssteuersystems für eine Fahrgasttür eines Schienenfahrzeugs,
- Fig. 2a
- eine schematische und vergrößerte Perspektivansicht des Bedienkörpers des Zugangssteuersystems der
Fig. 1 und - Fig. 2b
- eine schematische Queransicht auf Teile des Zugangssteuersystems der
Fig. 1 . - Das in der
Fig. 1 dargestellte Zugangssteuersystem ist eingerichtet für eine Zugangsvorrichtung 1 eines Fahrzeugs, wobei es sich bei der Zugangsvorrichtung 1 um eine Fahrzeugtür 2 eines Schienenfahrzeugs handelt, von dem hier lediglich ein Innenraum 2a dargestellt wird. Das Zugangssteuersystem umfasst eine Sensoranordnung 3, bei welcher es sich speziell um einen Laserscanner handelt. Diese Sensoranordnung 3 erfasst berührungslos eine Bewegung und speziell eine Handbewegung eines Benutzers in einem räumlichen Erfassungsbereich 4. Das Zugangssteuersystem umfasst eine Schließanordnung 5, welche in an sich bekannter Weise dem mechanischen Verriegeln, dem mechanischen Entriegeln sowie dem Öffnen und Schließen der Fahrzeugtür 2 dient. Ebenso umfasst das Zugangssteuersystem eine Verarbeitungsvorrichtung 6, welche die Schließanordnung 5 ansteuert und welche ein Signal von der Sensoranordnung 3 erhält, wenn diese eine Benutzerbewegung erfasst hat. - Das Zugangssteuersystem umfasst einen Bedienkörper 7, welcher durch einen scheibenartigen Vorsprung gebildet wird und dessen kreisförmige und gewölbte Vorderfläche eine Reflexionsoberfläche 8 zur diffusen Streuung von einfallendem Licht bildet. Der Bedienkörper 7 ist starr und unbeweglich und wird in der
Fig. 2 vergrößert dargestellt. Vorliegend weist die Reflexionsoberfläche 8 nur einen Reflexionsbereich auf. Alternativ könnte die Reflexionsoberfläche 8 mehrere Reflexionsbereiche mit jeweils unterschiedlichen Reflexionseigenschaften aufweisen. - Ferner umfasst das Zugangssteuersystem eine Projektionsvorrichtung 9, bei welcher es sich um einen Lichtstrahler handelt und welche einen Lichtkegel 10 auf die Reflexionsoberfläche 8 ausstrahlt, wobei das Licht des Lichtkegels 10 von der Reflexionsoberfläche 8 reflektiert wird. Der Lichtkegel 10 ist farbig und in diesem speziellen dargestellten Fall grün, da im in der
Fig. 1 dargestellten Zustand die Zugangsvorrichtung 1 entriegelt ist. Die Projektionsvorrichtung 9 kann die Farbe des Lichtkegels 10 auch verändern und so beispielsweise auch einen roten Lichtkegel 10 ausstrahlen. Der Lichtkegel 10 verläuft in einer Querschnittsprojektion im Wesentlichen senkrecht nach unten, wobei die schematische Darstellung derFig. 2b zu Illustrationszwecken etwas stärker von diesem senkrechten Verlauf abweicht. - Erkennbar wird der zylinderförmige Erfassungsbereich 4 durch ein Volumen vor der Reflexionsoberfläche 8 gebildet, welches im Wesentlichen durch einen maximalen Abstandsverlauf, welcher Abstand vorliegend konstant ist, vor der Reflexionsoberfläche 8 definiert ist. Dieses Volumen grenzt an die Reflexionsoberfläche 8 an und kann auch als Nahbereich 4a bezeichnet werden. Eine Berührung der Reflexionsoberfläche 8 wird somit als Benutzerbewegung durch die Sensoranordnung 3 erfasst. In der Verarbeitungsvorrichtung 6 wird ein aktueller Zugangsverriegelungszustand der Zugangsvorrichtung 1 vorgehalten, welcher vorliegend wie oben festgestellt ein entriegelter Zustand ist. In diesem entriegelten Zustand bewirkt das Erfassen einer Benutzerbewegung das Öffnen der Fahrzeugtür 2 - wie dargestellt - durch die Schließanordnung 5.
- Die Zugangsvorrichtung 1 kann auch einen verriegelten Zustand als Zugangsverriegelungszustand einnehmen, beispielsweise während einer Fahrt des Fahrzeugs. Dann strahlt die Projektionsvorrichtung 9 einen roten Lichtkegel 10 aus und eine von der Sensoranordnung 3 erfasste Benutzerbewegung löst kein Öffnen der Fahrzeugtür 2 aus.
- Wie wiederum in der
Fig. 1 und in derFig. 2b zu erkennen ist, weist die Fahrzeugtür 2 einen Türflügel 11 auf, mit welchem eine Türöffnung 12 wahlweise verschlossen oder freigegeben werden kann. Ebenso erkennbar ist es, dass die Projektionsvorrichtung 9 bezogen auf eine Querrichtung 12a des Fahrzeugs - also entsprechend einer Queransicht des Fahrzeugs - im Wesentlichen oberhalb der Türöffnung 12 angeordnet ist. - Diese Türöffnung 12 befindet sich neben einer Fahrzeugwand 13, auf welcher Fahrzeugwand 13 der Bedienkörper 7 angeordnet ist. Die Fahrzeugwand 13 bildet eine flächige Trägerwand 14, von welcher die diejenige Oberfläche des Bedienkörpers 7 abgesetzt ist, welche die Reflexionsoberfläche 8 bildet. Die Trägerwand 14 selbst wiederum bildet eine Innenfläche 14a des Fahrzeugs. Alternativ wäre auch eine Anordnung des Bedienkörpers 7 auf dem Türflügel 11 denkbar, und zwar entweder auf einer Innenseite des Türflügels 11 oder auf einer Außenseite des Türflügels 11. Ebenso wäre es denkbar, den Bedienkörper 7 mit der Reflexionsoberfläche 8 an einer Außenfläche des Fahrzeugs anzuordnen, welche Außenfläche durch die äußere Seite der Fahrzeugwand 13 gebildet wird.
Claims (15)
- Zugangssteuersystem für eine Zugangsvorrichtung (1) eines Fahrzeugs des öffentlichen Personenverkehrs, umfassend eine Sensoranordnung (3) zur berührungslosen Erfassung einer Benutzerbewegung in einem Erfassungsbereich (4) im Bereich der Zugangsvorrichtung (1), umfassend eine Schließanordnung (5) zum Betätigen der Zugangsvorrichtung (1) und umfassend eine Verarbeitungsvorrichtung (6) zum Ansteuern der Schließanordnung (5) basierend auf einer von der Sensoranordnung (3) erfassten Benutzerbewegung, wobei das Zugangssteuersystem eine im Bereich der Zugangsvorrichtung (1) angeordnete Reflexionsoberfläche (8) zum Reflektieren von Licht aufweist und wobei die Reflexionsoberfläche (8) im Wesentlichen am Erfassungsbereich (4) angeordnet ist, dadurch gekennzeichnet, dass das Zugangssteuersystem eine Projektionsvorrichtung (9) zum Ausstrahlen eines Lichtkegels (10) im sichtbaren Bereich auf die Reflexionsoberfläche (8) aufweist.
- Zugangssteuersystem nach Anspruch 1, dadurch gekennzeichnet, dass die Zugangsvorrichtung (1) eine Fahrzeugtür (2) des Fahrzeugs des öffentlichen Personenverkehrs aufweist und dass die Schließanordnung (5) zum Schließen und Öffnen der Fahrzeugtür (2) eingerichtet ist.
- Zugangssteuersystem nach Anspruch 2, dadurch gekennzeichnet, dass die Fahrzeugtür (2) einen Türflügel (11) umfasst, welcher zum Verschließen und Freigeben einer Türöffnung (12) neben einer Fahrzeugwand (13) des Fahrzeugs bei Schließen und Öffnen der Fahrzeugtür (2) eingerichtet ist, vorzugsweise, dass die Reflexionsoberfläche (8) im Bereich des Türflügels (11) oder im Bereich der Fahrzeugwand (13) angeordnet ist, insbesondere, dass die Reflexionsoberfläche (8) durch eine Oberfläche des Türflügels (11) oder durch eine Oberfläche der Fahrzeugwand (13) gebildet ist.
- Zugangssteuersystem nach einem der Ansprüche 1 bis 3, dadurch gekennzeichnet, dass die Projektionsvorrichtung (9) zum Ausstrahlen eines farbigen Lichtkegels (10) auf die Reflexionsoberfläche eingerichtet ist, vorzugsweise, dass die Projektionsvorrichtung (9) zum Ausstrahlen eines im Wesentlichen auf die Reflexionsoberfläche (8) begrenzten Lichtkegels (10) eingerichtet ist, insbesondere, dass die Projektionsvorrichtung (9) zum Ausstrahlen eines Lichtkegels (10) auf die Reflexionsoberfläche (8) bei geschlossener Fahrzeugtür (2) eingerichtet ist.
- Zugangssteuersystem nach einem der Ansprüche 1 bis 4, dadurch gekennzeichnet, dass das Zugangssteuersystem einen Bedienkörper (7) umfasst, wobei die Reflexionsoberfläche (8) durch eine Oberfläche des Bedienkörpers (7) gebildet ist, insbesondere, dass das Zugangssteuersystem eine flächige Trägerwand (14) aufweist, auf der der Bedienkörper (7) derart angeordnet ist, dass die die Reflexionsoberfläche (8) bildende Oberfläche von der Wandfläche der Trägerwand (14) abgesetzt ist, vorzugsweise, dass eine Wand des Türflügels (11) oder eine Wand der Fahrzeugwand (13) die Trägerwand (14) bildet.
- Zugangssteuersystem nach Anspruch 5, dadurch gekennzeichnet, dass der Bedienkörper (7) für eine Betätigung des Benutzers im Wesentlichen starr ist, vorzugsweise, sodass der Bedienkörper (7) auf die Betätigung im Wesentlichen feststehend und unverformt bleibt.
- Zugangssteuersystem nach einem der Ansprüche 1 bis 6, dadurch gekennzeichnet, dass die Reflexionsoberfläche (8) in einem Innenraum (2a) des Fahrzeugs angeordnet ist, vorzugsweise, dass die Trägerwand (14) eine Innenfläche (14a) des Fahrzeugs bildet.
- Zugangssteuersystem nach einem der Ansprüche 1 bis 7, dadurch gekennzeichnet, dass die Projektionsvorrichtung (9) bezogen auf eine Querrichtung (12a) des Fahrzeugs im Wesentlichen oberhalb der Fahrzeugtür (2), insbesondere im Wesentlichen oberhalb der Türöffnung (12), angeordnet ist, vorzugsweise, dass die Projektionsvorrichtung (9) den Lichtkegel (10) in einer Querschnittsprojektion im Wesentlichen senkrecht nach unten ausstrahlt.
- Zugangssteuersystem nach einem der Ansprüche 1 bis 8, dadurch gekennzeichnet, dass die Verarbeitungsvorrichtung (6) zum Ansteuern der Schließanordnung (5) auch basierend auf einem aktuellen Zugangsverriegelungszustand eingerichtet ist und dass die Projektionsvorrichtung (9) dazu eingerichtet ist, basierend auf dem aktuellen Zugangsverriegelungszustand Licht in unterschiedlicher Farbe auszustrahlen.
- Zugangssteuersystem nach Anspruch 9, dadurch gekennzeichnet, dass der aktuelle Zugangsverriegelungszustand ein verriegelter Zustand der Zugangsvorrichtung (1) oder ein entriegelter Zustand der Zugangsvorrichtung (1) sein kann, vorzugsweise, dass bei geschlossener Fahrzeugtür (2) und einem entriegelten Zustand der Fahrzeugtür (2) als aktuellem Türzustand auf die erfasste Benutzerbewegung die Schließanordnung (5) die Fahrzeugtür (2) öffnet, insbesondere, dass bei geschlossener Fahrzeugtür (2) und einem verriegelten Zustand der Fahrzeugtür (2) als aktuellem Türzustand auf die erfasste Benutzerbewegung die Schließanordnung (5) die Fahrzeugtür (2) geschlossen lässt.
- Zugangssteuersystem nach einem der Ansprüche 1 bis 10, dadurch gekennzeichnet, dass die Reflexionsoberfläche (8) zur diffusen Streuung von einfallendem Licht eingerichtet ist, vorzugsweise, dass die Reflexionsoberfläche (8) eine Vielzahl von Reflexionsbereichen aufweist, wobei jeder Reflexionsbereich dazu eingerichtet ist, das Licht unterschiedlich zu reflektieren.
- Zugangssteuersystem nach einem der Ansprüche 1 bis 11, dadurch gekennzeichnet, dass der Erfassungsbereich (4) einen Nahbereich (4a) angrenzend an die Reflexionsoberfläche (8) umfasst, vorzugsweise, dass der Erfassungsbereich (4) im Wesentlichen aus dem Nahbereich (4a) besteht.
- Zugangssteuersystem nach Anspruch 12, dadurch gekennzeichnet, dass der Nahbereich (4a) vor der Reflexionsoberfläche (8) im Wesentlichen ein Nahvolumen umfasst, welches durch einen vorzugsweise im Wesentlichen konstanten maximalen Abstand zu der Reflexionsoberfläche (8) gebildet wird.
- Zugangssteuersystem nach einem der Ansprüche 1 bis 13, dadurch gekennzeichnet, dass die Sensoranordnung (3) dazu eingerichtet ist, durch Laserentfernungsmessung die Benutzerbewegung vorzugsweise in dem Erfassungsbereich (4) zu erfassen, insbesondere, dass die Sensoranordnung (3) dazu eingerichtet, die Benutzerbewegung basierend auf einer detektierten Punktwolke zu erfassen.
- Verfahren zum Steuern einer Zugangsvorrichtung (1) eines Fahrzeugs des öffentlichen Personenverkehrs, wobei eine Sensoranordnung (3) eine Benutzerbewegung in einem Erfassungsbereich (4) im Bereich der Zugangsvorrichtung (1) berührungslos erfasst, wobei eine Verarbeitungsvorrichtung (6) eine Schließanordnung (5) zum Betätigen der Zugangsvorrichtung (1) basierend auf der von der Sensoranordnung (3) erfassten Benutzerbewegung ansteuert und wobei eine Reflexionsoberfläche (8) im Wesentlichen am Erfassungsbereich (4) angeordnet ist, welche Reflexionsoberfläche (8) auf sie einfallendes Licht reflektiert, dadurch gekennzeichnet, dass eine Projektionsvorrichtung (9) einen Lichtkegel (10) im sichtbaren Bereich auf die Reflexionsoberfläche (8) ausstrahlt.
Priority Applications (3)
| Application Number | Priority Date | Filing Date | Title |
|---|---|---|---|
| ES16189524T ES2890661T3 (es) | 2016-09-19 | 2016-09-19 | Sistema de control de acceso para un dispositivo de acceso de un vehículo |
| PL16189524T PL3296177T3 (pl) | 2016-09-19 | 2016-09-19 | System kontroli dostępu do urządzenia dostępowego w pojeździe |
| EP16189524.8A EP3296177B1 (de) | 2016-09-19 | 2016-09-19 | Zugangssteuersystem für eine zugangsvorrichtung eines fahrzeugs |
Applications Claiming Priority (1)
| Application Number | Priority Date | Filing Date | Title |
|---|---|---|---|
| EP16189524.8A EP3296177B1 (de) | 2016-09-19 | 2016-09-19 | Zugangssteuersystem für eine zugangsvorrichtung eines fahrzeugs |
Publications (2)
| Publication Number | Publication Date |
|---|---|
| EP3296177A1 EP3296177A1 (de) | 2018-03-21 |
| EP3296177B1 true EP3296177B1 (de) | 2021-08-11 |
Family
ID=56979400
Family Applications (1)
| Application Number | Title | Priority Date | Filing Date |
|---|---|---|---|
| EP16189524.8A Active EP3296177B1 (de) | 2016-09-19 | 2016-09-19 | Zugangssteuersystem für eine zugangsvorrichtung eines fahrzeugs |
Country Status (3)
| Country | Link |
|---|---|
| EP (1) | EP3296177B1 (de) |
| ES (1) | ES2890661T3 (de) |
| PL (1) | PL3296177T3 (de) |
Families Citing this family (1)
| Publication number | Priority date | Publication date | Assignee | Title |
|---|---|---|---|---|
| PL3882104T3 (pl) * | 2020-03-19 | 2024-11-04 | Knorr-Bremse Gesellschaft Mit Beschränkter Haftung | Jednostka przyciskowa do systemu wejściowego z co najmniej jednymi drzwiami do pojazdu szynowego oraz system wejściowy z co najmniej jednymi drzwiami i jednostką przyciskową |
Family Cites Families (10)
| Publication number | Priority date | Publication date | Assignee | Title |
|---|---|---|---|---|
| US4621452A (en) * | 1985-01-18 | 1986-11-11 | Deeg Wyman L | Powered sliding door safety system |
| US5955854A (en) * | 1992-09-29 | 1999-09-21 | Prospects Corporation | Power driven venting of a vehicle |
| WO1995025380A1 (en) * | 1994-03-17 | 1995-09-21 | Prospects Corporation | Power driven venting of a vehicle |
| DE19723974A1 (de) * | 1997-06-06 | 1998-12-17 | Draexlmaier Lisa Gmbh | Verfahren zum Verhindern des Einklemmens eines Fremdkörpers und Einklemmschutzsystem |
| EP1011184A1 (de) * | 1998-12-15 | 2000-06-21 | Talltec Technologies Holdings S.A. | Sicherheitsvorrichtung für einen elektromotorischen Fensterheber und Verfahren zur Ausführung dieser Vorrichtung |
| DE102005002357A1 (de) * | 2005-01-10 | 2006-07-27 | Siemens Ag | System zur Überwachung des Bereichs zwischen Zug und Plattformkante |
| DE202005011480U1 (de) * | 2005-07-21 | 2006-12-14 | Brose Fahrzeugteile Gmbh & Co. Kommanditgesellschaft, Coburg | Karosserieteil |
| DE102007001178A1 (de) * | 2007-01-05 | 2008-07-10 | Siemens Ag | Berührungsloser Einklemmschutz |
| DE102014113569B4 (de) * | 2014-09-19 | 2018-05-03 | Gebr. Bode Gmbh & Co. Kg | Türsystem mit Sensoreinheit und Kommunikationselement |
| DE102014113567B4 (de) | 2014-09-19 | 2023-01-12 | Bode - Die Tür Gmbh | Türsystem mit Sensoreinheit zur berührungslosen Fahrgastraumüberwachung |
-
2016
- 2016-09-19 PL PL16189524T patent/PL3296177T3/pl unknown
- 2016-09-19 ES ES16189524T patent/ES2890661T3/es active Active
- 2016-09-19 EP EP16189524.8A patent/EP3296177B1/de active Active
Also Published As
| Publication number | Publication date |
|---|---|
| ES2890661T3 (es) | 2022-01-21 |
| EP3296177A1 (de) | 2018-03-21 |
| PL3296177T3 (pl) | 2022-01-03 |
Similar Documents
| Publication | Publication Date | Title |
|---|---|---|
| DE102014113569B4 (de) | Türsystem mit Sensoreinheit und Kommunikationselement | |
| DE102013009673A1 (de) | Kollisionsschutzverfahren und Kollisionsschutzvorrichtung für ein verstellbares Fahrzeugteil | |
| DE102016216415B4 (de) | Verfahren zum Steuern einer Anzeigevorrichtung für ein Kraftfahrzeug und Kraftfahrzeug mit einer Anzeigevorrichtung | |
| DE102014113567B4 (de) | Türsystem mit Sensoreinheit zur berührungslosen Fahrgastraumüberwachung | |
| DE102016211494A1 (de) | Steuerungseinrichtung für ein Kraftfahrzeug | |
| DE102011112684A1 (de) | Kraftfahrzeug mit einer Heckklappe | |
| DE102010056171A1 (de) | Verfahren zum automatischen Betätigen eines Schließelements eines Fahrzeugs sowie entsprechende Vorrichtung und Fahrzeug | |
| EP2437962A1 (de) | Verfahren und vorrichtung zur betätigung eines schliesselements eines fahrzeugs | |
| EP3708757A1 (de) | Montagemodul für ein kraftfahrzeug mit einem optischen sensorsystem und einer notbetätigung | |
| DE102014113572A1 (de) | Türsystem mit Sensoreinheit zur Zustiegshilfenüberwachung | |
| DE102014222410B4 (de) | Zugangssystem für ein Fahrzeug | |
| DE102014012193A1 (de) | Berührungslose Kraftfahrzeugbedienung | |
| WO2021004570A1 (de) | Aufstellvorrichtung für ein kraftfahrzeug | |
| EP3121362B1 (de) | Tor, insbesondere garagentor | |
| DE102007043477B4 (de) | Kraftfahrzeug mit einer fremdkraftbetriebenen Heckklappe | |
| EP3296177B1 (de) | Zugangssteuersystem für eine zugangsvorrichtung eines fahrzeugs | |
| DE102011013766A1 (de) | Vorrichtung und ein Verfahren zur Erfassung von Objekten im Schwenkbereich einer Fahrzeugtür | |
| EP3135846B1 (de) | Antriebssystem mit sensoreinheit zur antriebsregelung | |
| DE102012010504A1 (de) | Betätigungssystem für eine Tür- oder Klappenanordnung eines Kraftfahrzeugs | |
| DE102015212129B4 (de) | Tür für ein öffentliches Verkehrsmittel mit berührungslosem Schalter | |
| DE102022104046A1 (de) | Fahrzeugtür für einen Kraftwagen sowie Verfahren zum Betreiben einer solchen Fahrzeugtür | |
| DE102015122984A1 (de) | Rückfahrkameraeinrichtung für Kraftfahrzeuge | |
| EP2974938B1 (de) | Vorrichtung und verfahren zur positionierung einer hilfseinrichtung sowie schienenfahrzeug | |
| EP1273494B1 (de) | Fahrzeuginnenraum-Überwachungseinrichtung | |
| DE4109288C2 (de) | Drucktaster mit einem von innen beleuchtbaren Stößelkopf |
Legal Events
| Date | Code | Title | Description |
|---|---|---|---|
| PUAI | Public reference made under article 153(3) epc to a published international application that has entered the european phase |
Free format text: ORIGINAL CODE: 0009012 |
|
| STAA | Information on the status of an ep patent application or granted ep patent |
Free format text: STATUS: THE APPLICATION HAS BEEN PUBLISHED |
|
| AK | Designated contracting states |
Kind code of ref document: A1 Designated state(s): AL AT BE BG CH CY CZ DE DK EE ES FI FR GB GR HR HU IE IS IT LI LT LU LV MC MK MT NL NO PL PT RO RS SE SI SK SM TR |
|
| AX | Request for extension of the european patent |
Extension state: BA ME |
|
| STAA | Information on the status of an ep patent application or granted ep patent |
Free format text: STATUS: REQUEST FOR EXAMINATION WAS MADE |
|
| 17P | Request for examination filed |
Effective date: 20180921 |
|
| RBV | Designated contracting states (corrected) |
Designated state(s): AL AT BE BG CH CY CZ DE DK EE ES FI FR GB GR HR HU IE IS IT LI LT LU LV MC MK MT NL NO PL PT RO RS SE SI SK SM TR |
|
| GRAP | Despatch of communication of intention to grant a patent |
Free format text: ORIGINAL CODE: EPIDOSNIGR1 |
|
| STAA | Information on the status of an ep patent application or granted ep patent |
Free format text: STATUS: GRANT OF PATENT IS INTENDED |
|
| INTG | Intention to grant announced |
Effective date: 20210322 |
|
| GRAS | Grant fee paid |
Free format text: ORIGINAL CODE: EPIDOSNIGR3 |
|
| GRAA | (expected) grant |
Free format text: ORIGINAL CODE: 0009210 |
|
| STAA | Information on the status of an ep patent application or granted ep patent |
Free format text: STATUS: THE PATENT HAS BEEN GRANTED |
|
| AK | Designated contracting states |
Kind code of ref document: B1 Designated state(s): AL AT BE BG CH CY CZ DE DK EE ES FI FR GB GR HR HU IE IS IT LI LT LU LV MC MK MT NL NO PL PT RO RS SE SI SK SM TR |
|
| REG | Reference to a national code |
Ref country code: CH Ref legal event code: EP |
|
| REG | Reference to a national code |
Ref country code: DE Ref legal event code: R096 Ref document number: 502016013585 Country of ref document: DE |
|
| REG | Reference to a national code |
Ref country code: IE Ref legal event code: FG4D Free format text: LANGUAGE OF EP DOCUMENT: GERMAN Ref country code: AT Ref legal event code: REF Ref document number: 1419116 Country of ref document: AT Kind code of ref document: T Effective date: 20210915 |
|
| REG | Reference to a national code |
Ref country code: NL Ref legal event code: FP |
|
| REG | Reference to a national code |
Ref country code: LT Ref legal event code: MG9D |
|
| REG | Reference to a national code |
Ref country code: ES Ref legal event code: FG2A Ref document number: 2890661 Country of ref document: ES Kind code of ref document: T3 Effective date: 20220121 |
|
| PG25 | Lapsed in a contracting state [announced via postgrant information from national office to epo] |
Ref country code: RS Free format text: LAPSE BECAUSE OF FAILURE TO SUBMIT A TRANSLATION OF THE DESCRIPTION OR TO PAY THE FEE WITHIN THE PRESCRIBED TIME-LIMIT Effective date: 20210811 Ref country code: SE Free format text: LAPSE BECAUSE OF FAILURE TO SUBMIT A TRANSLATION OF THE DESCRIPTION OR TO PAY THE FEE WITHIN THE PRESCRIBED TIME-LIMIT Effective date: 20210811 Ref country code: HR Free format text: LAPSE BECAUSE OF FAILURE TO SUBMIT A TRANSLATION OF THE DESCRIPTION OR TO PAY THE FEE WITHIN THE PRESCRIBED TIME-LIMIT Effective date: 20210811 Ref country code: PT Free format text: LAPSE BECAUSE OF FAILURE TO SUBMIT A TRANSLATION OF THE DESCRIPTION OR TO PAY THE FEE WITHIN THE PRESCRIBED TIME-LIMIT Effective date: 20211213 Ref country code: NO Free format text: LAPSE BECAUSE OF FAILURE TO SUBMIT A TRANSLATION OF THE DESCRIPTION OR TO PAY THE FEE WITHIN THE PRESCRIBED TIME-LIMIT Effective date: 20211111 Ref country code: FI Free format text: LAPSE BECAUSE OF FAILURE TO SUBMIT A TRANSLATION OF THE DESCRIPTION OR TO PAY THE FEE WITHIN THE PRESCRIBED TIME-LIMIT Effective date: 20210811 Ref country code: LT Free format text: LAPSE BECAUSE OF FAILURE TO SUBMIT A TRANSLATION OF THE DESCRIPTION OR TO PAY THE FEE WITHIN THE PRESCRIBED TIME-LIMIT Effective date: 20210811 Ref country code: BG Free format text: LAPSE BECAUSE OF FAILURE TO SUBMIT A TRANSLATION OF THE DESCRIPTION OR TO PAY THE FEE WITHIN THE PRESCRIBED TIME-LIMIT Effective date: 20211111 |
|
| REG | Reference to a national code |
Ref country code: DE Ref legal event code: R081 Ref document number: 502016013585 Country of ref document: DE Owner name: BODE - DIE TUER GMBH, DE Free format text: FORMER OWNER: GEBR. BODE GMBH & CO. KG, 34123 KASSEL, DE |
|
| PG25 | Lapsed in a contracting state [announced via postgrant information from national office to epo] |
Ref country code: LV Free format text: LAPSE BECAUSE OF FAILURE TO SUBMIT A TRANSLATION OF THE DESCRIPTION OR TO PAY THE FEE WITHIN THE PRESCRIBED TIME-LIMIT Effective date: 20210811 Ref country code: GR Free format text: LAPSE BECAUSE OF FAILURE TO SUBMIT A TRANSLATION OF THE DESCRIPTION OR TO PAY THE FEE WITHIN THE PRESCRIBED TIME-LIMIT Effective date: 20211112 |
|
| PG25 | Lapsed in a contracting state [announced via postgrant information from national office to epo] |
Ref country code: DK Free format text: LAPSE BECAUSE OF FAILURE TO SUBMIT A TRANSLATION OF THE DESCRIPTION OR TO PAY THE FEE WITHIN THE PRESCRIBED TIME-LIMIT Effective date: 20210811 |
|
| REG | Reference to a national code |
Ref country code: DE Ref legal event code: R097 Ref document number: 502016013585 Country of ref document: DE |
|
| REG | Reference to a national code |
Ref country code: BE Ref legal event code: MM Effective date: 20210930 |
|
| PG25 | Lapsed in a contracting state [announced via postgrant information from national office to epo] |
Ref country code: SM Free format text: LAPSE BECAUSE OF FAILURE TO SUBMIT A TRANSLATION OF THE DESCRIPTION OR TO PAY THE FEE WITHIN THE PRESCRIBED TIME-LIMIT Effective date: 20210811 Ref country code: SK Free format text: LAPSE BECAUSE OF FAILURE TO SUBMIT A TRANSLATION OF THE DESCRIPTION OR TO PAY THE FEE WITHIN THE PRESCRIBED TIME-LIMIT Effective date: 20210811 Ref country code: RO Free format text: LAPSE BECAUSE OF FAILURE TO SUBMIT A TRANSLATION OF THE DESCRIPTION OR TO PAY THE FEE WITHIN THE PRESCRIBED TIME-LIMIT Effective date: 20210811 Ref country code: MC Free format text: LAPSE BECAUSE OF FAILURE TO SUBMIT A TRANSLATION OF THE DESCRIPTION OR TO PAY THE FEE WITHIN THE PRESCRIBED TIME-LIMIT Effective date: 20210811 Ref country code: EE Free format text: LAPSE BECAUSE OF FAILURE TO SUBMIT A TRANSLATION OF THE DESCRIPTION OR TO PAY THE FEE WITHIN THE PRESCRIBED TIME-LIMIT Effective date: 20210811 Ref country code: AL Free format text: LAPSE BECAUSE OF FAILURE TO SUBMIT A TRANSLATION OF THE DESCRIPTION OR TO PAY THE FEE WITHIN THE PRESCRIBED TIME-LIMIT Effective date: 20210811 |
|
| PLBE | No opposition filed within time limit |
Free format text: ORIGINAL CODE: 0009261 |
|
| STAA | Information on the status of an ep patent application or granted ep patent |
Free format text: STATUS: NO OPPOSITION FILED WITHIN TIME LIMIT |
|
| 26N | No opposition filed |
Effective date: 20220512 |
|
| PG25 | Lapsed in a contracting state [announced via postgrant information from national office to epo] |
Ref country code: LU Free format text: LAPSE BECAUSE OF NON-PAYMENT OF DUE FEES Effective date: 20210919 Ref country code: IE Free format text: LAPSE BECAUSE OF NON-PAYMENT OF DUE FEES Effective date: 20210919 Ref country code: BE Free format text: LAPSE BECAUSE OF NON-PAYMENT OF DUE FEES Effective date: 20210930 |
|
| PG25 | Lapsed in a contracting state [announced via postgrant information from national office to epo] |
Ref country code: SI Free format text: LAPSE BECAUSE OF FAILURE TO SUBMIT A TRANSLATION OF THE DESCRIPTION OR TO PAY THE FEE WITHIN THE PRESCRIBED TIME-LIMIT Effective date: 20210811 |
|
| PG25 | Lapsed in a contracting state [announced via postgrant information from national office to epo] |
Ref country code: HU Free format text: LAPSE BECAUSE OF FAILURE TO SUBMIT A TRANSLATION OF THE DESCRIPTION OR TO PAY THE FEE WITHIN THE PRESCRIBED TIME-LIMIT; INVALID AB INITIO Effective date: 20160919 |
|
| PG25 | Lapsed in a contracting state [announced via postgrant information from national office to epo] |
Ref country code: CY Free format text: LAPSE BECAUSE OF FAILURE TO SUBMIT A TRANSLATION OF THE DESCRIPTION OR TO PAY THE FEE WITHIN THE PRESCRIBED TIME-LIMIT Effective date: 20210811 |
|
| PG25 | Lapsed in a contracting state [announced via postgrant information from national office to epo] |
Ref country code: MK Free format text: LAPSE BECAUSE OF FAILURE TO SUBMIT A TRANSLATION OF THE DESCRIPTION OR TO PAY THE FEE WITHIN THE PRESCRIBED TIME-LIMIT Effective date: 20210811 |
|
| PG25 | Lapsed in a contracting state [announced via postgrant information from national office to epo] |
Ref country code: MT Free format text: LAPSE BECAUSE OF FAILURE TO SUBMIT A TRANSLATION OF THE DESCRIPTION OR TO PAY THE FEE WITHIN THE PRESCRIBED TIME-LIMIT Effective date: 20210811 |
|
| PGFP | Annual fee paid to national office [announced via postgrant information from national office to epo] |
Ref country code: DE Payment date: 20240919 Year of fee payment: 9 |
|
| PGFP | Annual fee paid to national office [announced via postgrant information from national office to epo] |
Ref country code: GB Payment date: 20240923 Year of fee payment: 9 |
|
| PGFP | Annual fee paid to national office [announced via postgrant information from national office to epo] |
Ref country code: FR Payment date: 20240924 Year of fee payment: 9 |
|
| PGFP | Annual fee paid to national office [announced via postgrant information from national office to epo] |
Ref country code: NL Payment date: 20240920 Year of fee payment: 9 |
|
| PGFP | Annual fee paid to national office [announced via postgrant information from national office to epo] |
Ref country code: CZ Payment date: 20240910 Year of fee payment: 9 |
|
| PGFP | Annual fee paid to national office [announced via postgrant information from national office to epo] |
Ref country code: AT Payment date: 20240918 Year of fee payment: 9 |
|
| PGFP | Annual fee paid to national office [announced via postgrant information from national office to epo] |
Ref country code: PL Payment date: 20240910 Year of fee payment: 9 |
|
| PGFP | Annual fee paid to national office [announced via postgrant information from national office to epo] |
Ref country code: TR Payment date: 20240911 Year of fee payment: 9 |
|
| PGFP | Annual fee paid to national office [announced via postgrant information from national office to epo] |
Ref country code: IT Payment date: 20240930 Year of fee payment: 9 Ref country code: ES Payment date: 20241018 Year of fee payment: 9 |
|
| PGFP | Annual fee paid to national office [announced via postgrant information from national office to epo] |
Ref country code: CH Payment date: 20241001 Year of fee payment: 9 |