EP3198201B1 - Verfahren zum befestigen einer auszugsführung an einem seitengitter - Google Patents

Verfahren zum befestigen einer auszugsführung an einem seitengitter Download PDF

Info

Publication number
EP3198201B1
EP3198201B1 EP15763272.0A EP15763272A EP3198201B1 EP 3198201 B1 EP3198201 B1 EP 3198201B1 EP 15763272 A EP15763272 A EP 15763272A EP 3198201 B1 EP3198201 B1 EP 3198201B1
Authority
EP
European Patent Office
Prior art keywords
rod
quick
pull
clamp
holding section
Prior art date
Legal status (The legal status is an assumption and is not a legal conclusion. Google has not performed a legal analysis and makes no representation as to the accuracy of the status listed.)
Active
Application number
EP15763272.0A
Other languages
English (en)
French (fr)
Other versions
EP3198201A1 (de
Inventor
Daniel Rehage
Daniel Reidt
Edgar Frobieter
Kathrin Homburg
Current Assignee (The listed assignees may be inaccurate. Google has not performed a legal analysis and makes no representation or warranty as to the accuracy of the list.)
Paul Hettich GmbH and Co KG
Original Assignee
Paul Hettich GmbH and Co KG
Priority date (The priority date is an assumption and is not a legal conclusion. Google has not performed a legal analysis and makes no representation as to the accuracy of the date listed.)
Filing date
Publication date
Application filed by Paul Hettich GmbH and Co KG filed Critical Paul Hettich GmbH and Co KG
Publication of EP3198201A1 publication Critical patent/EP3198201A1/de
Application granted granted Critical
Publication of EP3198201B1 publication Critical patent/EP3198201B1/de
Active legal-status Critical Current
Anticipated expiration legal-status Critical

Links

Images

Classifications

    • AHUMAN NECESSITIES
    • A47FURNITURE; DOMESTIC ARTICLES OR APPLIANCES; COFFEE MILLS; SPICE MILLS; SUCTION CLEANERS IN GENERAL
    • A47BTABLES; DESKS; OFFICE FURNITURE; CABINETS; DRAWERS; GENERAL DETAILS OF FURNITURE
    • A47B88/00Drawers for tables, cabinets or like furniture; Guides for drawers
    • A47B88/40Sliding drawers; Slides or guides therefor
    • A47B88/423Fastening devices for slides or guides
    • A47B88/43Fastening devices for slides or guides at cabinet side
    • AHUMAN NECESSITIES
    • A47FURNITURE; DOMESTIC ARTICLES OR APPLIANCES; COFFEE MILLS; SPICE MILLS; SUCTION CLEANERS IN GENERAL
    • A47BTABLES; DESKS; OFFICE FURNITURE; CABINETS; DRAWERS; GENERAL DETAILS OF FURNITURE
    • A47B88/00Drawers for tables, cabinets or like furniture; Guides for drawers
    • A47B88/40Sliding drawers; Slides or guides therefor
    • AHUMAN NECESSITIES
    • A47FURNITURE; DOMESTIC ARTICLES OR APPLIANCES; COFFEE MILLS; SPICE MILLS; SUCTION CLEANERS IN GENERAL
    • A47BTABLES; DESKS; OFFICE FURNITURE; CABINETS; DRAWERS; GENERAL DETAILS OF FURNITURE
    • A47B88/00Drawers for tables, cabinets or like furniture; Guides for drawers
    • A47B88/50Safety devices or the like for drawers
    • A47B88/57Safety devices or the like for drawers preventing complete withdrawal of the drawer
    • AHUMAN NECESSITIES
    • A47FURNITURE; DOMESTIC ARTICLES OR APPLIANCES; COFFEE MILLS; SPICE MILLS; SUCTION CLEANERS IN GENERAL
    • A47LDOMESTIC WASHING OR CLEANING; SUCTION CLEANERS IN GENERAL
    • A47L15/00Washing or rinsing machines for crockery or tableware
    • A47L15/42Details
    • A47L15/50Racks ; Baskets
    • A47L15/507Arrangements for extracting racks, e.g. roller supports
    • FMECHANICAL ENGINEERING; LIGHTING; HEATING; WEAPONS; BLASTING
    • F24HEATING; RANGES; VENTILATING
    • F24CDOMESTIC STOVES OR RANGES ; DETAILS OF DOMESTIC STOVES OR RANGES, OF GENERAL APPLICATION
    • F24C15/00Details
    • F24C15/16Shelves, racks or trays inside ovens; Supports therefor
    • F24C15/168Shelves, racks or trays inside ovens; Supports therefor with telescopic rail systems
    • AHUMAN NECESSITIES
    • A47FURNITURE; DOMESTIC ARTICLES OR APPLIANCES; COFFEE MILLS; SPICE MILLS; SUCTION CLEANERS IN GENERAL
    • A47BTABLES; DESKS; OFFICE FURNITURE; CABINETS; DRAWERS; GENERAL DETAILS OF FURNITURE
    • A47B2210/00General construction of drawers, guides and guide devices
    • A47B2210/17Drawers used in connection with household appliances

Definitions

  • the invention relates to a method for fastening a pull-out guide to a side rail for a piece of furniture or a household appliance, in particular a cooking appliance, the side rail having at least one horizontal bar with a bent end section for receiving carriers, and at least two quick-fastening elements being mounted on the pull-out guide , of which at least one has at least one clip-like holding section and a further holding section.
  • Such side rails can be found, for example, in household appliances such as Cooking appliances and in particular ovens. They can also be used in other household appliances such as dishwashers or in furniture such as Shelves are used.
  • two opposing side rails are provided in the interior of such a piece of furniture or equipment, each of which has at least one essentially horizontally extending rod.
  • Carriers e.g. shelves or food carriers such as e.g. Baking trays to be inserted.
  • the pull-out guides make it easier to pull out and remove a food support, for example, without the risk of the food support tipping over.
  • a quick fastening element for fixing a pull-out guide to a side rail in which clamp-like holding sections are provided which at least partially encompass the rod of the side rail.
  • a latching element is preferably provided which engages behind a section of the rod of the side rail in order to fix the quick fastening element and thus the pull-out guide on the rod.
  • the quick-fastening element is pushed onto the rod, the latching element deforms elastically in order to then rebound and fix the quick-fastening element on the rod.
  • a simple and problem-free assembly of the pull-out guide on the side rail is advantageous in the described quick fastening element.
  • the connection created is generally not free of play, which can result in the rattling of the pull-out guide when in use.
  • the quick fastening elements are only fastened to longitudinal extension sections of a side rail, that is to say sections which run in the direction of the pull-out guide.
  • the publication DE 20 2009 003047 U1 describes a quick fastener in the form of a downwardly open U-shaped rail, on the top of which the pull-out guide is mounted.
  • the U-shaped rail has horizontal sections at a rear end with which it is pushed onto a rear bent end section of a horizontal rod of the side rail.
  • vertical incisions are made in the U-shaped rail, which, when the rail is pivoted downward around its rear end, engage around a front bent end section of the horizontal bar.
  • a tab punched out in the middle of the rail is then bent open and engages under the longitudinal extension portion of the bar to prevent the rail from being lifted.
  • This solution requires a fixed distance between the bent end sections, which in turn prevents universal use of the pull-out guides on side rails with different dimensions.
  • a method according to the invention of the type mentioned at the outset comprises the steps of pushing the at least two quick fastening elements onto a horizontally extending rod of the side rail, so that the at least one clamp-like holding section at least partially encompasses the rod in its horizontal longitudinal extension section and the further clamp-like holding section the bent end section of the rod engages at least partially, and the subsequent crimping with plastic deformation of at least a part of the at least one clamp-like holding section of the quick fastening element with the rod of the side rail.
  • the plastic deformation can create a connection between the quick fastening element and the rod of the side rail, possibly in addition to a previous locking under elastic deformation, by means of which the pull-out guide is fastened to the side rail without play and without degrees of freedom. This ensures smooth use of the pull-out guide.
  • the crimping presupposes a plastic deformability of at least parts of the quick fastening element.
  • crimping can be done with almost any material combination of the side rail and the quick fastening element.
  • crimping is also suitable for those material combinations in which a material connection such as welding would not be possible.
  • Side rails of cooking appliances are often chrome-plated, for example, and the quick-fastening elements are made of stainless steel sheet, so that welding the side rail to a subsequent quick-fastening element is not an option as a fastening method.
  • the crimping can be done quickly and easily with an appropriate tool, in the simplest case with pliers.
  • the pull-out guide or the pull-out guides can be attached to the side rail at the factory. Because of the simple mounting method by crimping, however, it can also be provided to fasten the pull-out guides on delivery or assembly of the device on site at the end customer's side rail, which gives the customer, for example, the option of individually selecting the height at which the pull-out guide is to be fixed.
  • the at least one quick fastening element has at least one clamp-like holding section which at least partially encompasses the horizontal rod, a positive connection is formed.
  • the at least one clamp-like holding section preferably has an essentially U-shaped profile with an upper leg and a lower leg, at least one of the legs being deformed such that the horizontal rod is at least partially encompassed in a form-fitting manner.
  • Such a quick fastening element with a clip-like holding section can be produced in a material-saving and cost-saving manner as a simple stamped / bent part. Its free lower leg can be easily deformed for crimping.
  • the pull-out guide With the clip-like holding section, the pull-out guide can initially be simply pushed onto the side rail rod and holds there, for example, with a clamp.
  • a latching element can be formed on the at least one clamp-like holding section, which causes the quick-fastening element to latch when it is pushed onto the rods.
  • the latching element can be designed as a resilient latching tongue, the free end of which rests on the rod.
  • the pull-out guide is even better provisionally fixed by the latching than by a pure clamping.
  • one of the clip-like holding sections of the quick fastening element engages around the rod at least partially in a form-fitting manner on a longitudinal extension section of the rod. More preferably, one or another of the clamp-like holding sections of the quick-fastening element at least partially engages around the rod at the bent end section.
  • each pull-out guide Because there are at least two quick fastening elements for each pull-out guide, it can be securely attached to the side rail in the front and can be realized in the rear area of the pull-out guide.
  • the further clamp-like holding section is also preferably plastically deformed.
  • fastening to only one rod section is not secure against rotation.
  • Fastening to one longitudinal and one transverse section that is to say to two differently oriented sections, creates a fastening which is secure against twisting and tilting.
  • FIG. 1 an oven 1 is shown as an example of a cooking appliance in a perspective schematic representation.
  • a door 2 is opened to allow an insight into an interior 3 of the oven 1.
  • a grid-like side part 5, hereinafter also called a side grill 5, is arranged on opposite sides.
  • the side rail 5 extends from a front side 4 of the oven in the direction of its rear side and has vertically extending posts 6 and at least one, in the present case a plurality of horizontally extending rods 7.
  • the horizontal bars 7 each have an essentially right-angled end section 8 on both sides.
  • the rods 7 are each fixed to this angled end section 8 on at least one of the posts 6, in particular welded to them.
  • two of the horizontal bars 7 are arranged parallel to each other at a small distance from each other, so that a food support with its side edge can be inserted between two adjacent bars 7.
  • the number of horizontal bars 7 and / or posts 6 may differ from the example shown here in configurations of the side rail 5. It is further noted that a comparable side rail, to which at least one pull-out guide is attached according to the application, can also be used in other household appliances and / or furniture.
  • a pull-out guide 10 is fastened to one of the rods 7 here by way of example and has a guide rail 14 and a running rail 11 which can be pulled out forwards relative to the guide rail 14.
  • the running rail 11 is delimited in the front area by a cover plate 12.
  • a stop bolt 13 is arranged in the rear region of the running rail 11.
  • a food support can be placed on the running rail 11 between the cover plate 12 and the stop pin 13 and can be comfortably pulled out by means of the pull-out guide 10.
  • the pull-out guide 10 is fixed to the corresponding horizontal rod 7 of the side rail 5 with the aid of two quick fastening elements 20.
  • the quick fasteners 20 are related to those described below Figures 2a . 2 B and 3a . 3b presented in more detail. On the basis of these figures, a method according to the application is also defined the pull-out guides 10 on the rod 7 explained by means of the quick fastening elements 20.
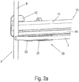
  • Figure 2a is a section of the side rail 5 and the pull-out guide 10 shown in a perspective view.
  • the Figure 2a is an oblique view of the back of the side rail 5, that is, the side that is on the wall of the in Figure 1 shown interior 1 is present.
  • Figure 2b shows a sectional view through the side rail 5 and the pull-out guide 10, the section being carried out perpendicular to the horizontally extending longitudinal section of the horizontal rod 7 with a viewing direction along the longitudinal extension of the rod 7.
  • the pull-out guide 10 is pushed onto the rod 7 with the aid of two quick fastening elements 20, a front and a rear quick fastening element 20.
  • the pull-out guide 10 and the quick fastening elements 20 are connected to one another via a support section 15 of the guide rail 14 of the pull-out guide 10, in particular in a spot welding process.
  • the quick fastening elements 20 each have a clamp-like holding section 21 which at least partially encompasses the rod 7 in its longitudinal extension section.
  • the clip-like holding section 21 has the shape of a lying U-shaped profile with an upper leg 22, which is connected to the supporting section 15, and a lower leg 23.
  • a latching element 24 is arranged on the lower leg 23 that resiliently is issued above in the direction of the upper leg 22. If the fastening element is pushed horizontally onto the rod 7, the latching element 24 initially deflects downwards, in order to then rebound upwards after being pushed all the way open, and thus engage behind the rod 7.
  • a further clamp-like holding section 25 is formed on the quick fastening element 20.
  • This further holding section 25 also has a U-shaped profile, but its orientation is rotated by 90 ° with respect to the U-shaped profile of the bracket-like holding section 21.
  • the U-shaped profile of the further holding section 25 also engages around the bent end section 8 of the rod 7 at least partially and thus prevents the quick fastening element from being displaced in the direction of the longitudinal extension of the rod 7.
  • both the front and the rear of the fastening elements 20 have the further clamp-like holding section 25.
  • only one of the two fastening elements 20, either the front or the rear have both the clip-like holding section 21 and the further clip-like holding section 25.
  • the pull-out guide 10 is in the position shown in FIGS Figures 2a and 2 B shown assembly state already set on the rod 7 that an unintentional falling is prevented. If both fastening elements have the further clamp-shaped holding section 25, the pull-out guide 10 is also fixed in the longitudinal direction in both directions (forwards and backwards).
  • FIGs 3a and 3b show in the same way as that Figures 2a and 2 B the side rail 5 with the fully assembled pull-out guide 10 after using an assembly method according to the invention.
  • bracket-like holder sections 21, and optionally the other bracket-like holding sections 25, plastically deformed such that there is a positive connection between the bracket-like holding sections 21, 25 and the corresponding sections of the rods 7. Due to the plastic deformation, the bracket-like holding sections 21, 25 are attached to the rod 7 without play, which means tolerances in the diameter of the bars 7, the distance between the bent end sections 8 and the distance between the fastening elements 20 and the size of the U-shaped profiles of the bracket-like holding sections 21, 25 are balanced. A rattling or similar actuation noises resulting from the not play-free fastening are switched off.
  • the plastic deformation can preferably take place by means of a suitable embossing tool, for example a pair of pliers. It is particularly advantageous to use a special pair of pliers whose jaws are adapted in terms of their orientation and size to the shape of the fastening element 20 and the size available between the fastening element 20 and the guide rail 14. After the fastening elements 20 have been plugged and locked onto the corresponding rod 7, crimping (stamping) can be carried out in a simple manner even with a side rail 5 that is already in the interior 1 of the device (cf. Fig.1 ) is arranged.
  • the locking element 24 designed as a spring tongue rests with its free end on the upper leg 22 in the exemplary embodiment after crimping has taken place. After crimping, the locking element 24 is located at least above half the diameter of the rod 7. In this way, a structure is created which cannot be removed from the rod 7 even with a large force acting on the pull-out guide.
  • the pull-out guide 10 with its fastening elements 20 is first clipped onto the corresponding rod in a latching manner (compare the mounting state of the 2a . 2 B ).
  • this does not have a latching element 24, so that there is no interim latching after the fastening elements 20 have been plugged onto the rod 7.
  • the fastening elements 20 can be clamped on the rod 7 in the meantime.
  • the final determination will then be comparable to that Figures 3a and 3b due to the plastic deformation of parts of the clamp-like holding sections 21, 25, in particular of a free lower leg (cf. leg 23 in Figures 3a . 3b ) performed.

Landscapes

  • Engineering & Computer Science (AREA)
  • Chemical & Material Sciences (AREA)
  • Combustion & Propulsion (AREA)
  • Mechanical Engineering (AREA)
  • General Engineering & Computer Science (AREA)
  • Connection Of Plates (AREA)
  • Drawers Of Furniture (AREA)

Description

  • Die Erfindung betrifft ein Verfahren zum Befestigen einer Auszugsführung an einem Seitengitter für ein Möbel oder ein Haushaltsgerät, insbesondere ein Gargerät, wobei das Seitengitter mindestens eine horizontale Stange mit einem abgebogenen Endabschnitt zur Aufnahme von Trägern aufweist, und wobei an der Auszugsführung mindestens zwei Schnellbefestigungselemente montiert sind, von denen mindestens eines mindestens einen klammerartigen Halteabschnitt und einen weiteren Halteabschnitt aufweist.
  • Derartige Seitengitter finden sich beispielsweise in Haushaltsgeräten wie z.B. Gargeräten und insbesondere Backöfen. Sie können auch in weiteren Haushaltsgeräten wie Geschirrspülern oder auch in Möbeln wie z.B. Regalen eingesetzt werden. Üblicherweise sind im Innenraum eines derartigen Möbels oder Geräts zwei sich gegenüberliegende Seitengitter vorgesehen, die mindestens je eine im Wesentlichen horizontal verlaufende Stange aufweisen. Auf zwei sich gegenüberliegende Stangen gleicher Höhe können Träger, beispielsweise Regalböden oder Gargutträger wie z.B. Backbleche, eingeschoben werden. Zudem ist bekannt, an zumindest einer der Stangen des Seitengitters eine Auszugsführung festzulegen, auf die beispielsweise der Gargutträger aufgelegt werden kann. Die Auszugsführungen ermöglichen ein leichteres Herausziehen und Entnehmen beispielsweise eines Gargutträgers, ohne dass die Gefahr eines Abkippens des Gargutträgers besteht.
  • Aus der Druckschrift DE 20 2005 020 458 U1 ist ein Schnellbefestigungselement zur Festlegung einer Auszugsführung an einem Seitengitter bekannt, bei dem klammerartige Halteabschnitte vorgesehen sind, die die Stange des Seitengitters zumindest teilweise umgreifen. Bevorzugt ist ein Rastelement vorhanden, das einen Abschnitt der Stange des Seitengitters hintergreift, um das Schnellbefestigungselement und damit die Auszugsführung an der Stange festzulegen. Beim Aufschieben des Schnellbefestigungselements auf die Stange verformt sich das Rastelement elastisch, um dann wieder auszufedern und das Schnellbefestigungselement an der Stange festzulegen. Vorteilhaft an dem beschriebenen Schnellbefestigungselement ist eine einfache und problemlose Montage der Auszugsführung an dem Seitengitter. Aufgrund von unvermeidbaren Toleranzen in dem Durchmesser der Stangen des Seitengitters und der Abmessungen der Schnellbefestigungselemente ist die geschaffene Verbindung jedoch im Allgemeinen nicht spielfrei, was in einem Klappern der Auszugsführung beim Benutzen resultieren kann.
  • Auch die Druckschriften DE 200 10 037 U1 , DE 20 2008 000 887 U1 und DE 20 2009 003047 U1 betreffen Schnellbefestigungselemente für Auszugsführungen.
  • Gemäß der Druckschrift DE 200 10 037 U1 werden die Schnellbefestigungselemente nur an Längserstreckungsabschnitten eines Seitengitters, also Abschnitten, die in Richtung der Auszugsführung verlaufen, befestigt. Bei einer solchen Ausgestaltung besteht die Schwierigkeit, auf die Auszugsführung wirkende Kippmomente, die eine Verdrehung um die Längserstreckungsabschnitte des Seitengitters bewirken können, aufzunehmen.
  • Bei der Druckschrift DE 20 2008 000 887 U1 werden senkrechte Gitterstäbe des Seitengitters zur Befestigung genutzt, indem die senkrechten Gitterstäbe von Haken des Schnellbefestigungselementes umgriffen werden. In dem Zusammenhang ist beschrieben, dass die Haken zudem verbogen werden können, um sie mit der Stange zu vercrimpen. Nachteilig an der Befestigung an den senkrechten Gitterstäben ist, dass der Abstand der Schnellbefestigungselemente an der Auszugsführung genau dem Abstand der Gitterstäbe entsprechen muss. Ein universeller Einsatz der Auszugsführungen an Seitengittern mit unterschiedlichen Abmessungen ist dadurch nicht gegeben.
  • Die Druckschrift DE 20 2009 003047 U1 beschreibt ein Schnellbefestigungselement in Form einer nach unten offenen u-förmigen Schiene, auf deren Oberseite die Auszugsführung montiert ist. Die u-förmige Schiene weist an einem hinteren Ende horizontale Abschnitte auf, mit denen sie auf einen hinteren abgebogenen Endabschnitt einer horizontalen Stange des Seitengitters aufgeschoben wird. Am vorderen Ende sind vertikale Einschnitte in die u-förmige Schiene eingebracht, die bei einem Verschwenken der Schiene nach unten um ihr hinteres Ende einen vorderen abgebogenen Endabschnitt der horizontalen Stange umgreifen. Eine in der Mitte der Schiene ausgestanzte Lasche wird dann aufgebogen und greift unter den Längserstreckungsabschnitt der Stange, um zu verhindern, dass die Schiene angehoben werden kann. Diese Lösung verlangt einen festen Abstand der abgebogenen Endabschnitte, was wiederum einem universeller Einsatz der Auszugsführungen an Seitengittern mit unterschiedlichen Abmessungen entgegensteht.
  • Es ist eine Aufgabe der vorliegenden Erfindung, ein Verfahren zum Befestigen einer Auszugsführung an einem Seitengitter zu schaffen, das schnell und einfach mit einer Vielzahl von Materialien bzw. Materialkombinationen von Seitengitter und Befestigungselement der Auszugsführung durchgeführt werden kann und zu einer spielfreien Befestigung führt.
  • Diese Aufgabe wird gelöst durch ein Verfahren mit den Merkmalen des unabhängigen Anspruchs. Vorteilhafte Ausgestaltungen und Weiterbildungen sind in den abhängigen Ansprüchen angegeben.
  • Ein erfindungsgemäßes Verfahren der eingangs genannten Art umfasst die Schritte des Aufschiebens der mindestens zwei Schnellbefestigungselemente auf eine horizontal verlaufende Stange des Seitengitters, so dass der mindestens eine klammerartige Halteabschnitt die Stange in ihrem horizontalen Längserstreckungsabschnitt zumindest teilweise umgreift und der weitere klammerartige Halteabschnitt den abgebogenen Endabschnitt der Stange zumindest teilweise umgreift, und des anschließenden Vercrimpens unter plastischer Verformung von zumindest einem Teil des mindestens einen klammerartigen Halteabschnitts des Schnellbefestigungselements mit der Stange des Seitengitters.
  • Durch die plastische Verformung kann - gegebenenfalls zusätzlich zu einem zuvor erfolgten Verrasten unter elastischer Verformung - eine Verbindung zwischen dem Schnellbefestigungselement und der Stange des Seitengitters geschaffen werden, durch die die Auszugsführung spielfrei und ohne Freiheitsgrade an dem Seitengitter befestigt ist. Dieses gewährleistet ein laufruhiges Benutzen der Auszugsführung.
  • Das Vercrimpen setzt eine plastische Verformbarkeit von zumindest Teilen des Schnellbefestigungselements voraus. Von dieser Voraussetzung abgesehen, kann ein Vercrimpen jedoch bei nahezu jeder Materialkombination von Seitengitter und Schnellbefestigungselement erfolgen. Insbesondere ist ein Vercrimpen auch für solche Materialkombinationen geeignet, bei denen eine stoffschlüssige Befestigung wie beispielsweise ein Verschweißen nicht möglich wäre. Seitengitter von Gargeräten sind beispielsweise häufig verchromt und die Schnellbefestigungselemente aus Edelstahlblech gefertigt, sodass ein Verschweißen des Seitengitters mit einem nachträglichen aufgesetzten Schnellbefestigungselement als Befestigungsmethode nicht in Frage kommt.
  • Das Vercrimpen kann mit einem entsprechenden Werkzeug, im einfachsten Fall mit einer Zange, schnell und einfach erfolgen. Das Befestigen der Auszugsführung oder der Auszugsführungen an dem Seitengitter kann bereits werksseitig vorgenommen werden. Aufgrund der einfachen Befestigungsart durch das Vercrimpen kann jedoch auch vorgesehen sein, die Auszugsführungen bei Lieferung oder Montage des Geräts vor Ort beim Endkunden am Seitengitter zu befestigen, wodurch der Kunde beispielsweise die Möglichkeit hat, die Höhe, in der die Auszugsführung festgelegt werden soll, individuell auszuwählen.
  • Dadurch, dass das mindestens eine Schnellbefestigungselement mindestens einen klammerartigen Halteabschnitt aufweist, der die horizontale Stange zumindest teilweise umgreift, ist ein Formschluss gebildet. Bevorzugt weist der mindestens eine klammerartige Halteabschnitt ein im Wesentlichen u-förmiges Profil mit einem oberen Schenkel und einem unteren Schenkel auf, wobei zumindest einer der Schenkel so verformt ist, dass die horizontale Stange formschlüssig zumindest teilweise umgriffen ist. Ein derartiges Schnellbefestigungselement mit klammerartigem Halteabschnitt kann material- und kostensparend als einfaches Stanz- / Biegeteil hergestellt werden. Sein freier unterer Schenkel kann zum Vercrimpen leicht verformt werden. Mit dem klammerartigen Halteabschnitt kann die Auszugsführung zudem zunächst einfach auf die Stange des Seitengitters aufgeschoben werden und hält dort zum Beispiel klemmend. Danach kann das Vercrimpen bequem durchgeführt werden, ohne dass die Auszugsführung dabei gesondert fixiert werden muss. In einer Weiterbildung kann ein Rastelement an dem mindestens einen klammerartigen Halteabschnitt ausgebildet sein, das eine Verrastung des Schnellbefestigungselements bei einem Aufschieben auf die Stangen bewirkt. Beispielsweise kann das Rastelement als eine federnde Rastzunge ausgebildet sein, deren freies Ende an der Stange anliegt. Durch die Verrastung wird die Auszugsführung noch besser vorläufig fixiert als durch eine reine Klemmung.
  • In einer vorteilhaften Ausgestaltung umgreift einer der klammerartigen Halteabschnitte des Schnellbefestigungselements die Stange zumindest teilweise an einem Längserstreckungsabschnitt der Stange formschlüssig. Weiter bevorzugt umgreift einer bzw. ein weiterer der klammerartigen Halteabschnitte des Schnellbefestigungselements die Stange an dem abgebogenen Endabschnitt zumindest teilweise formschlüssig.
  • Dadurch, dass mindestens zwei Schnellbefestigungselemente für jede Auszugsführung vorhanden sind, kann eine sichere Befestigung am Seitengitter im vorderen und im hinteren Bereich des Auszugsführung realisiert werden. Bevorzugt wird auch der weiteren klammerartigen Halteabschnitt plastisch verformt. Bei einer im Querschnitt runden Stange des Seitengitters ist eine Befestigung an nur einem Stangenabschnitt nicht verdrehsicher. Durch das Befestigen an einem Längs- und einem Querabschnitt, also an zwei unterschiedlich orientierten Abschnitten, wird eine verdreh- und verkippsichere Befestigung geschaffen.
  • Die Erfindung wird nachfolgend anhand von Ausführungsbeispielen mithilfe von Figuren näher erläutert. Die Figuren zeigen:
  • Fig.1
    eine perspektivische Ansicht eines Innenraums eines Haushaltsgeräts mit einem Seitengitter der Auszugsführung;
    Fig. 2a,2b
    unterschiedliche perspektivische Ansichten eines Seitengitters mit einer Auszugsführung, die mithilfe von Schnellbefestigungselementen auf eine Stange des Seitengitters aufgeschoben ist; und
    Fig. 3a, 3b
    das Seitengitter mit Auszugsführung in perspektivischen Ansichten analog zu den Figuren 2a und 2b mit vercrimpten Schnellbefestigungselementen.
  • In Figur 1 ist ein Backofen 1 als Bespiel eines Gargeräts in einer perspektivischen schematischen Darstellung gezeigt. Eine Tür 2 ist geöffnet, um Einblick in einen Innenraum 3 des Backofens 1 zu gewähren.
  • Im Innenraum 3 des Backofens 1 ist an gegenüberliegenden Seiten jeweils ein gitterartiges Seitenteil 5, nachfolgend auch Seitengitter 5 genannt, angeordnet. Das Seitengitter 5 erstreckt sich von einer Vorderseite 4 des Backofens in Richtung seiner Rückseite und weist senkrecht verlaufende Pfosten 6 und mindestens eine, vorliegend eine Mehrzahl von horizontal verlaufenden Stangen 7 auf. Die horizontalen Stangen 7 weisen an beiden Seiten jeweils einen im Wesentlichen rechtwinklig abgebogenen Endabschnitt 8 auf. Die Stangen 7 sind mit diesem abgewinkelten Endabschnitt 8 jeweils an mindestens einem der Pfosten 6 festgelegt, insbesondere mit diesen verschweißt.
  • In dem dargestellten Ausführungsbeispiel sind jeweils zwei der horizontalen Stangen 7 mit geringem Abstand voneinander parallel angeordnet, sodass ein Gargutträger mit seiner Seitenkante zwischen jeweils zwei benachbarte Stangen 7 eingeschoben werden kann. Es versteht sich, dass die Anzahl der horizontalen Stangen 7 und /oder der Pfosten 6 bei Ausgestaltungen des Seitengitters 5 von dem hier dargestellten Beispiel abweichen kann. Es wird weiter angemerkt, dass ein vergleichbares Seitengitter, an dem mindestens eine Auszugsführung anmeldungsgemäß befestigt ist, auch in anderen Haushaltsgeräten und/oder Möbeln eingesetzt werden kann.
  • An hier beispielhaft einer der Stangen 7 ist eine Auszugsführung 10 befestigt, die eine Führungsschiene 14 und eine relativ zur Führungsschiene 14 nach vorn ausziehbare Laufschiene 11 aufweist. Die Laufschiene 11 ist im vorderen Bereich von einer Abdeckplatte 12 begrenzt. Im hinteren Bereich der Laufschiene 11 ist ein Stoppbolzen 13 angeordnet. Auf die Laufschiene 11 kann ein Gargutträger zwischen Abdeckplatte 12 und Stoppbolzen 13 aufgelegt werden, der mittels der Auszugsführung 10 bequem ausgezogen werden kann.
  • Die Auszugsführung 10 ist mit Hilfe von zwei Schnellbefestigungselementen 20 an der entsprechenden horizontalen Stange 7 des Seitengitters 5 festgelegt. Die Schnellbefestigungselemente 20 sind im Zusammenhang mit den nachfolgend beschriebenen Figuren 2a, 2b und 3a, 3b detaillierter dargestellt. Anhand dieser Figuren wird auch ein anmeldungsgemäßes Verfahren zum Festlegen der Auszugsführungen 10 an der Stange 7 mittels der Schnellbefestigungselemente 20 erläutert.
  • In Figur 2a ist ein Ausschnitt des Seitengitters 5 sowie der Auszugsführung 10 in einer perspektivischen Darstellung wiedergegeben. Die Figur 2a ist eine Schrägansicht auf die Rückseite des Seitengitters 5, also auf die Seite, die an der Wandung des in Figur 1 dargestellten Innenraums 1 anliegt. Figur 2b gibt eine Schnittdarstellung durch das Seitengitter 5 und die Auszugsführung 10 wieder, wobei der Schnitt senkrecht zu dem horizontal verlaufenden Längsabschnitt der horizontalen Stange 7 mit Blickrichtung entlang der Längserstreckung der Stange 7 ausgeführt ist.
  • In dem in den Figuren 2a und 2b dargestellten Montagestadium ist die Auszugsführung 10 mithilfe von zwei Schnellbefestigungselementen 20, einem vorderen und einem hinteren Schnellbefestigungselement 20, auf die Stange 7 aufgeschoben. Die Auszugsführung 10 und die Schnellbefestigungselemente 20 sind dabei über einen Tragabschnitt 15 der Führungsschiene 14 der Auszugsführung 10 miteinander verbunden, insbesondere in einem Punktschweißverfahren. Die Schnellbefestigungselemente 20 weisen jeweils einen klammerartigen Halteabschnitt 21 auf, der die Stange 7 in seinem Längserstreckungsabschnitt zumindest teilweise umgreift. Der klammerartige Halteabschnitt 21 weist im vorliegenden Ausführungsbeispiel die Form eines liegenden u-förmigen Profils auf mit einem oberen Schenkel 22, der mit dem Tragabschnitt 15 verbunden ist und einen unteren Schenkel 23. An den unteren Schenkel 23 ist ein Rastelement 24 angeordnet, dass federnd nach oben in Richtung des oberen Schenkels 22 ausgestellt ist. Wird das Befestigungselement horizontal auf die Stange 7 aufgeschoben, weicht das Rastelement 24 zunächst nach unten aus, um dann nach vollständigem Aufschieben nach oben auszufedern und so die Stange 7 zu hintergreifen.
  • An dem Schnellbefestigungselement 20 ist ein weiterer klammerartiger Halteabschnitt 25 ausgebildet. Dieser weitere Halteabschnitt 25 weist ebenfalls ein u-förmiges Profil auf, das in seiner Ausrichtung jedoch um 90° gegenüber dem u-förmigen Profil des klammerartigen Halteabschnitts 21 verdreht ist. Das u-förmige Profil des weiteren Halteabschnitts 25 umgreift den abgebogenen Endabschnitt 8 der Stange 7 ebenfalls zumindest teilweise und verhindert so ein Verschieben des Schnellbefestigungselements in Richtung der Längserstreckung der Stange 7.
  • Es kann vorgesehen sein, dass sowohl das vordere, als auch das hintere der Befestigungselemente 20 den weiteren klammerartigen Halteabschnitt 25 aufweisen. Es ist jedoch auch denkbar, dass nur eines der beiden Befestigungselemente 20, entweder das vordere oder das hintere sowohl den klammerartigen Halteabschnitt 21 als auch den weiteren klammerartigen Halteabschnitt 25 aufweisen. Durch das Aufschieben der Befestigungselemente 20 und das Verrasten mithilfe des Rastelements 24 ist die Auszugsführung 10 in dem in den Figuren 2a und 2b dargestellten Montagezustand bereits so an der Stange 7 festgelegt, dass ein unbeabsichtigtes Herunterfallen unterbunden ist. Wenn beide Befestigungselemente den weiteren klammerförmigen Halteabschnitt 25 aufweisen, ist die Auszugsführung 10 auch in Längserstreckungsrichtung in beiden Richtungen (nach vorne und nach hinten) festgelegt.
  • Aufgrund von Materialtoleranzen im Durchmesser der Stange 7 und aufgrund von Fertigungstoleranzen beim Ausbilden der u-förmigen klammerartigen Halteabschnitte 21 bzw. 25 sowie Toleranzen, die den Abstand der beiden Befestigungselemente 20 in Längserstreckungsrichtung der Stangen 7 betreffen, ist der in Figur 2a und 2b dargestellte Montagezustand der Auszugsführung 10 an den Stangen 7 jedoch nicht spielfrei, was in einem Klappern beim Betätigen der Auszugsführung 10 resultieren kann.
  • Die Figuren 3a und 3b zeigen in gleicher Art wie die Figuren 2a und 2b das Seitengitter 5 mit endmontierter Auszugsführung 10 nach Anwendung eines erfindungsgemäßen Montageverfahrens.
  • Bei dem erfindungsgemäßen Montageverfahren werden ausgehend von dem in den Figuren 2a und 2b gezeigten Montagestadium die klammerartigen Halterabschnitte 21, sowie gegebenenfalls die weiteren klammerartigen Halteabschnitte 25, so plastisch verformt, dass ein Formschluss zwischen den klammerartigen Halteabschnitten 21, 25 und den entsprechenden Abschnitten der Stangen 7 besteht. Durch die plastische Verformung sind die klammerartigen Halteabschnitte 21, 25 spielfrei an der Stange 7 befestigt, wodurch Toleranzen in dem Durchmesser der Stangen 7, dem Abstand der abgebogenen Endabschnitte 8 sowie dem Abstand der Befestigungselemente 20 sowie der Größe der u-förmigen Profile der klammerartigen Halteabschnitte 21, 25 ausgeglichen sind. Ein sich aus der nicht spielfreien Befestigung zuvor ergebendes Klappern oder ähnliche Betätigungsgeräusche sind abgestellt.
  • Die plastische Verformung kann bevorzugt mittels eines geeigneten Prägewerkzeugs erfolgen, beispielsweise einer Zange. Besonders vorteilhaft ist die Verwendung einer speziellen Zange, deren Backen im Hinblick auf ihre Ausrichtung und Größe an die Form des Befestigungselements 20 und die zur Verfügung stehenden Größe zwischen Befestigungselement 20 und Führungsschiene 14 angepasst ist. Nach Aufstecken und Verrasten der Befestigungselemente 20 auf die entsprechende Stange 7 kann ein Vercrimpen (Verprägen) auf einfache Weise sogar bei einem Seitengitter 5 vorgenommen werden, dass bereits in dem Innenraum 1 des Geräts (vergleiche Fig.1) angeordnet ist.
  • Wie in Figur 3b gut erkennbar ist, liegt das als Federzunge ausgebildete Rastelement 24 im Ausführungsbeispiel nach erfolgtem Vercrimpen mit seinem freien Ende am oberen Schenkel 22 an. Das Rastelement 24 befindet sich nach dem Vercrimpen zumindest oberhalb des halben Durchmessers der Stange 7. Auf diese Weise wird eine Struktur geschaffen, die auch bei großer auf die Auszugsführung einwirkender Kraft nicht von der Stange 7 abgezogen werden kann.
  • Im dargestellten Ausführungsbeispiel ist die Auszugsführung 10 mit ihren Befestigungselementen 20 zunächst rastend auf die entsprechende Stange aufgeclipst (Vergleiche Montagezustand der Fig.2a, 2b). Bei einer alternativen Ausgestaltung des Befestigungselements 20 weist dieses kein Rastelement 24 auf, sodass ein zwischenzeitliches Verrasten nach Aufstecken der Befestigungselemente 20 auf die Stange 7 nicht erfolgt. Gleichwohl kann durch die Geometrie und Dimensionierung der klammerartigen Halteabschnitte 21 und gegebenenfalls des weiteren klammerartigen Halteabschnitts 25 eine zwischenzeitliche klemmende Befestigung der Befestigungselemente 20 auf der Stange 7 erfolgen. Die endgültige Festlegung wird dann vergleichbar zu den Figuren 3a und 3b durch die plastische Verformung von Teilen der klammerartigen Halteabschnitte 21, 25, insbesondere eines freien unteren Schenkels (vgl. Schenkel 23 in Figuren 3a, 3b) vorgenommen.
  • Bezugszeichenliste
  • 1
    Backofen
    2
    Tür
    3
    Innenraum
    4
    Vorderseite
    5
    Seitengitter
    6
    Pfosten
    7
    Stange
    8
    abgebogener Endabschnitt
    10
    Auszugsführung
    11
    Laufschiene
    12
    Abdeckplatte
    13
    Stoppbolzen
    14
    Führungsschiene
    15
    Tragabschnitt
    20
    Schnellbefestigungselement
    21
    klammerartiger Halteabschnitt
    22
    oberer Schenkel
    23
    unterer Schenkel
    24
    Rastelement
    25
    weiterer klammerartiger Halteabschnitt

Claims (5)

  1. Verfahren zum Befestigen einer Auszugsführung (10) an einem Seitengitter (5) für ein Möbel oder ein Haushaltsgerät, wobei das Seitengitter (5) mindestens eine horizontale Stange (7) mit einem abgebogenen Endabschnitt (8) zur Aufnahme von Trägern aufweist, und wobei an der Auszugsführung (10) mindestens zwei Schnellbefestigungselemente (20) montiert sind, von denen mindestens eines mindestens einen klammerartigen Halteabschnitt (21) und einen weiteren klammerartigen Halteabschnitt (25) aufweist, mit den Schritten:
    - Aufschieben der mindestens zwei Schnellbefestigungselemente (20) auf eine horizontal verlaufende Stange (7) des Seitengitters (5), so dass der mindestens eine klammerartige Halteabschnitt (21) die Stange (7) in ihrem horizontalen Längserstreckungsabschnitt zumindest teilweise umgreift und der weitere klammerartige Halteabschnitt (25) den abgebogenen Endabschnitt (8) der Stange (7) zumindest teilweise umgreift, und
    - Vercrimpen von zumindest einem Teil des mindestens einen klammerartigen Halteabschnitts (21) des Schnellbefestigungselements (20) mit der Stange (7) durch plastisches Verformen von zumindest dem Abschnitt des Schnellbefestigungselements (20).
  2. Verfahren nach Anspruch 1, bei dem der mindestens eine klammerartige Halteabschnitt (21, 25) ein im Wesentlichen u-förmiges Profil mit einem oberen Schenkel (22) und einem unteren Schenkel (23) aufweist, wobei zumindest einer der Schenkel (22, 23) so verformt wird, dass die horizontale Stange (7) zumindest teilweise umgriffen wird.
  3. Verfahren nach Anspruch 1 oder 2, wobei ein Rastelement (24) an dem mindestens einen klammerartigen Halteabschnitt (21) ausgebildet ist, so dass das Schnellbefestigungselement (20) bei dem Aufschieben auf die Stange (7) mit dieser verrastet.
  4. Verfahren nach Anspruch 3, wobei das Rastelement (24) als eine federnde Rastzunge ausgebildet ist, deren freies Ende die Stange (7) hintergreift.
  5. Verfahren nach einem der Ansprüche 1 bis 4, bei dem auch der weitere klammerartige Halteabschnitt (25) des Schnellbefestigungselements (20) mit der Stange (7) durch plastisches Verformen vercrimpt wird.
EP15763272.0A 2014-09-23 2015-09-07 Verfahren zum befestigen einer auszugsführung an einem seitengitter Active EP3198201B1 (de)

Applications Claiming Priority (3)

Application Number Priority Date Filing Date Title
DE102014113778 2014-09-23
DE102015110754.6A DE102015110754A1 (de) 2014-09-23 2015-07-03 Seitengitter für ein Möbel oder ein Haushaltsgerät und Verfahren zum Befestigen einer Auszugsführung an einem Seitengitter
PCT/EP2015/070381 WO2016045951A1 (de) 2014-09-23 2015-09-07 Seitengitter für ein möbel oder ein haushaltsgerät und verfahren zum befestigen einer auszugsführung an einem seitengitter

Publications (2)

Publication Number Publication Date
EP3198201A1 EP3198201A1 (de) 2017-08-02
EP3198201B1 true EP3198201B1 (de) 2020-01-01

Family

ID=55444874

Family Applications (1)

Application Number Title Priority Date Filing Date
EP15763272.0A Active EP3198201B1 (de) 2014-09-23 2015-09-07 Verfahren zum befestigen einer auszugsführung an einem seitengitter

Country Status (6)

Country Link
US (1) US20170303685A1 (de)
EP (1) EP3198201B1 (de)
KR (1) KR20170087859A (de)
CN (1) CN106793872A (de)
DE (1) DE102015110754A1 (de)
WO (1) WO2016045951A1 (de)

Families Citing this family (15)

* Cited by examiner, † Cited by third party
Publication number Priority date Publication date Assignee Title
DE102016118267A1 (de) 2016-09-27 2018-03-29 Paul Hettich Gmbh & Co. Kg Haltewinkel, Befestigungssystem und Haushaltsgerät
US11435090B2 (en) 2017-08-15 2022-09-06 Paul Hettich Gmbh & Co. Kg Fastening system and method for installing a fastening system having a pullout guide and a side grid
DE102017118544A1 (de) 2017-08-15 2019-02-21 Paul Hettich Gmbh & Co. Kg Befestigungssystem und Verfahren zur Montage eines Befestigungssystems mit einer Auszugsführung und einem Seitengitter
CN108451200A (zh) * 2018-02-12 2018-08-28 广东库博精密科技有限公司 一种适用于家具的宽度可调式导轨
CN108720379B (zh) * 2018-05-25 2021-04-23 海尔智家股份有限公司 抽屉滑轨组件及制冷设备
DE102018116219A1 (de) * 2018-07-04 2020-01-09 Paul Hettich Gmbh & Co. Kg Führungsvorrichtung für einen Gargutträger
US11284771B2 (en) * 2018-08-31 2022-03-29 Hydroflex Group GmbH Wetting device for flat mops
CN218074142U (zh) * 2019-03-04 2022-12-20 世客思株式会社 固定组件
US11712114B2 (en) 2019-06-21 2023-08-01 Segos Co., Ltd. Fixing assembly
WO2021080526A1 (en) * 2019-10-24 2021-04-29 Samet Kalip Ve Madeni̇ Eşya San Ti̇c. A.Ş Fastening element for a guide rail
US10993602B1 (en) * 2020-04-24 2021-05-04 Jonathan Sims Adjustable dishwasher rack
US20230037625A1 (en) * 2021-08-09 2023-02-09 Segos Co., Ltd. Fixing Means
US12372247B2 (en) 2023-04-26 2025-07-29 Sharkninja Operating Llc Systems and methods for cooking pizza
US12035845B1 (en) 2023-04-26 2024-07-16 Sharkninja Operating Llc Systems and methods for cooking pizza
USD1104596S1 (en) 2023-05-31 2025-12-09 Sharkninja Operating Llc Cooking device

Citations (3)

* Cited by examiner, † Cited by third party
Publication number Priority date Publication date Assignee Title
DE202005020458U1 (de) * 2005-12-29 2007-05-16 Paul Hettich Gmbh & Co. Kg Schnellbefestigungselement
DE202009003047U1 (de) * 2009-03-06 2010-07-22 Paul Hettich Gmbh & Co. Kg Befestigungsanordnung
DE202009005177U1 (de) * 2009-08-25 2011-02-03 Paul Hettich Gmbh & Co. Kg Führungsschiene mit einer Schnellbefestigungsvorrichtung

Family Cites Families (4)

* Cited by examiner, † Cited by third party
Publication number Priority date Publication date Assignee Title
ATE303517T1 (de) * 2000-05-26 2005-09-15 Hettich Paul Gmbh & Co Schnellbefestigungselement
DE20010037U1 (de) * 2000-05-26 2000-08-24 Paul Hettich Gmbh & Co., 32278 Kirchlengern Schnellbefestigungselement
DE202008000887U1 (de) * 2008-01-21 2008-03-27 Accuride International Gmbh Montagesystem
DE102012011844A1 (de) * 2012-06-14 2013-12-19 Laag S.R.L. Trägergitter für ein Gerät

Patent Citations (3)

* Cited by examiner, † Cited by third party
Publication number Priority date Publication date Assignee Title
DE202005020458U1 (de) * 2005-12-29 2007-05-16 Paul Hettich Gmbh & Co. Kg Schnellbefestigungselement
DE202009003047U1 (de) * 2009-03-06 2010-07-22 Paul Hettich Gmbh & Co. Kg Befestigungsanordnung
DE202009005177U1 (de) * 2009-08-25 2011-02-03 Paul Hettich Gmbh & Co. Kg Führungsschiene mit einer Schnellbefestigungsvorrichtung

Also Published As

Publication number Publication date
KR20170087859A (ko) 2017-07-31
CN106793872A (zh) 2017-05-31
EP3198201A1 (de) 2017-08-02
WO2016045951A1 (de) 2016-03-31
US20170303685A1 (en) 2017-10-26
DE102015110754A1 (de) 2016-03-24

Similar Documents

Publication Publication Date Title
EP3198201B1 (de) Verfahren zum befestigen einer auszugsführung an einem seitengitter
EP2403379B1 (de) Befestigungsanordnung
EP1982122B1 (de) Führungsschiene mit einer schnellbefestigung
EP2403380B1 (de) Schnellbefestigungseinrichtung
EP2470835B1 (de) Führungsschiene mit einer schnellbefestigungsvorrichtung
EP2592968B1 (de) Verbindungseinrichtung und seitengitter zur fixierung einer auszugsführung an dem seitengitter
WO2010102949A1 (de) Auszugsvorrichtung
DE202008000887U1 (de) Montagesystem
WO2011077332A1 (de) Haltevorrichtung für einen träger eines heizkörpers eines kochfelds sowie kochfeld, insbesondere induktionskochfeld
DE20010037U1 (de) Schnellbefestigungselement
EP2487422B1 (de) Schienenmontagesystem
EP2790549B1 (de) Seitengitter
WO2013087375A1 (de) Befestigungselement und seitengitter
EP1788313A2 (de) Auszugsvorrichtung für ein Haushaltsgerät
EP3312518B1 (de) Fluidverteiler-montageanordnung
EP2592283A1 (de) Steckverbinder für ein Möbel
DE202005013789U1 (de) Schnellbefestigungssystem
EP3425283B1 (de) Befestigungsanordnung zum befestigen eines abstützteils eines gargutträgers, insbesondere für ein gargerät
DE102022113764A1 (de) Schnellbefestigungssystem für einen Teleskopauszug
DE102016125098A1 (de) Einhängegestell für ein Gargerät sowie Gargerät
WO2024141259A1 (de) Führungseinrichtung
DE202015100718U1 (de) System zur Montage einer Teleskopschiene in einem Backofen
EP4467881A1 (de) Befestigungselement für ein haushaltsgerät, insbesondere für ein gargerät, haushaltsgerät sowie halteanordnung
EP2520846B1 (de) Trägerelement für ein Hausgerät, Anordnung mit einem derartigen Trägerelement als auch Hausgerät mit einer entsprechenden Anordnung
WO2025008252A1 (de) Führungsvorrichtung

Legal Events

Date Code Title Description
STAA Information on the status of an ep patent application or granted ep patent

Free format text: STATUS: THE INTERNATIONAL PUBLICATION HAS BEEN MADE

PUAI Public reference made under article 153(3) epc to a published international application that has entered the european phase

Free format text: ORIGINAL CODE: 0009012

STAA Information on the status of an ep patent application or granted ep patent

Free format text: STATUS: REQUEST FOR EXAMINATION WAS MADE

17P Request for examination filed

Effective date: 20170404

AK Designated contracting states

Kind code of ref document: A1

Designated state(s): AL AT BE BG CH CY CZ DE DK EE ES FI FR GB GR HR HU IE IS IT LI LT LU LV MC MK MT NL NO PL PT RO RS SE SI SK SM TR

AX Request for extension of the european patent

Extension state: BA ME

DAV Request for validation of the european patent (deleted)
DAX Request for extension of the european patent (deleted)
STAA Information on the status of an ep patent application or granted ep patent

Free format text: STATUS: EXAMINATION IS IN PROGRESS

17Q First examination report despatched

Effective date: 20180719

GRAP Despatch of communication of intention to grant a patent

Free format text: ORIGINAL CODE: EPIDOSNIGR1

STAA Information on the status of an ep patent application or granted ep patent

Free format text: STATUS: GRANT OF PATENT IS INTENDED

RIC1 Information provided on ipc code assigned before grant

Ipc: F24C 15/16 20060101AFI20190717BHEP

INTG Intention to grant announced

Effective date: 20190808

GRAS Grant fee paid

Free format text: ORIGINAL CODE: EPIDOSNIGR3

GRAA (expected) grant

Free format text: ORIGINAL CODE: 0009210

STAA Information on the status of an ep patent application or granted ep patent

Free format text: STATUS: THE PATENT HAS BEEN GRANTED

AK Designated contracting states

Kind code of ref document: B1

Designated state(s): AL AT BE BG CH CY CZ DE DK EE ES FI FR GB GR HR HU IE IS IT LI LT LU LV MC MK MT NL NO PL PT RO RS SE SI SK SM TR

REG Reference to a national code

Ref country code: GB

Ref legal event code: FG4D

Free format text: NOT ENGLISH

REG Reference to a national code

Ref country code: CH

Ref legal event code: EP

Ref country code: AT

Ref legal event code: REF

Ref document number: 1220230

Country of ref document: AT

Kind code of ref document: T

Effective date: 20200115

REG Reference to a national code

Ref country code: IE

Ref legal event code: FG4D

Free format text: LANGUAGE OF EP DOCUMENT: GERMAN

REG Reference to a national code

Ref country code: DE

Ref legal event code: R096

Ref document number: 502015011406

Country of ref document: DE

REG Reference to a national code

Ref country code: NL

Ref legal event code: MP

Effective date: 20200101

REG Reference to a national code

Ref country code: LT

Ref legal event code: MG4D

PG25 Lapsed in a contracting state [announced via postgrant information from national office to epo]

Ref country code: PT

Free format text: LAPSE BECAUSE OF FAILURE TO SUBMIT A TRANSLATION OF THE DESCRIPTION OR TO PAY THE FEE WITHIN THE PRESCRIBED TIME-LIMIT

Effective date: 20200527

Ref country code: FI

Free format text: LAPSE BECAUSE OF FAILURE TO SUBMIT A TRANSLATION OF THE DESCRIPTION OR TO PAY THE FEE WITHIN THE PRESCRIBED TIME-LIMIT

Effective date: 20200101

Ref country code: CZ

Free format text: LAPSE BECAUSE OF FAILURE TO SUBMIT A TRANSLATION OF THE DESCRIPTION OR TO PAY THE FEE WITHIN THE PRESCRIBED TIME-LIMIT

Effective date: 20200101

Ref country code: NO

Free format text: LAPSE BECAUSE OF FAILURE TO SUBMIT A TRANSLATION OF THE DESCRIPTION OR TO PAY THE FEE WITHIN THE PRESCRIBED TIME-LIMIT

Effective date: 20200401

Ref country code: NL

Free format text: LAPSE BECAUSE OF FAILURE TO SUBMIT A TRANSLATION OF THE DESCRIPTION OR TO PAY THE FEE WITHIN THE PRESCRIBED TIME-LIMIT

Effective date: 20200101

Ref country code: RS

Free format text: LAPSE BECAUSE OF FAILURE TO SUBMIT A TRANSLATION OF THE DESCRIPTION OR TO PAY THE FEE WITHIN THE PRESCRIBED TIME-LIMIT

Effective date: 20200101

Ref country code: LT

Free format text: LAPSE BECAUSE OF FAILURE TO SUBMIT A TRANSLATION OF THE DESCRIPTION OR TO PAY THE FEE WITHIN THE PRESCRIBED TIME-LIMIT

Effective date: 20200101

PG25 Lapsed in a contracting state [announced via postgrant information from national office to epo]

Ref country code: BG

Free format text: LAPSE BECAUSE OF FAILURE TO SUBMIT A TRANSLATION OF THE DESCRIPTION OR TO PAY THE FEE WITHIN THE PRESCRIBED TIME-LIMIT

Effective date: 20200401

Ref country code: HR

Free format text: LAPSE BECAUSE OF FAILURE TO SUBMIT A TRANSLATION OF THE DESCRIPTION OR TO PAY THE FEE WITHIN THE PRESCRIBED TIME-LIMIT

Effective date: 20200101

Ref country code: SE

Free format text: LAPSE BECAUSE OF FAILURE TO SUBMIT A TRANSLATION OF THE DESCRIPTION OR TO PAY THE FEE WITHIN THE PRESCRIBED TIME-LIMIT

Effective date: 20200101

Ref country code: LV

Free format text: LAPSE BECAUSE OF FAILURE TO SUBMIT A TRANSLATION OF THE DESCRIPTION OR TO PAY THE FEE WITHIN THE PRESCRIBED TIME-LIMIT

Effective date: 20200101

Ref country code: IS

Free format text: LAPSE BECAUSE OF FAILURE TO SUBMIT A TRANSLATION OF THE DESCRIPTION OR TO PAY THE FEE WITHIN THE PRESCRIBED TIME-LIMIT

Effective date: 20200501

Ref country code: GR

Free format text: LAPSE BECAUSE OF FAILURE TO SUBMIT A TRANSLATION OF THE DESCRIPTION OR TO PAY THE FEE WITHIN THE PRESCRIBED TIME-LIMIT

Effective date: 20200402

REG Reference to a national code

Ref country code: DE

Ref legal event code: R097

Ref document number: 502015011406

Country of ref document: DE

PG25 Lapsed in a contracting state [announced via postgrant information from national office to epo]

Ref country code: ES

Free format text: LAPSE BECAUSE OF FAILURE TO SUBMIT A TRANSLATION OF THE DESCRIPTION OR TO PAY THE FEE WITHIN THE PRESCRIBED TIME-LIMIT

Effective date: 20200101

Ref country code: SM

Free format text: LAPSE BECAUSE OF FAILURE TO SUBMIT A TRANSLATION OF THE DESCRIPTION OR TO PAY THE FEE WITHIN THE PRESCRIBED TIME-LIMIT

Effective date: 20200101

Ref country code: SK

Free format text: LAPSE BECAUSE OF FAILURE TO SUBMIT A TRANSLATION OF THE DESCRIPTION OR TO PAY THE FEE WITHIN THE PRESCRIBED TIME-LIMIT

Effective date: 20200101

Ref country code: RO

Free format text: LAPSE BECAUSE OF FAILURE TO SUBMIT A TRANSLATION OF THE DESCRIPTION OR TO PAY THE FEE WITHIN THE PRESCRIBED TIME-LIMIT

Effective date: 20200101

Ref country code: EE

Free format text: LAPSE BECAUSE OF FAILURE TO SUBMIT A TRANSLATION OF THE DESCRIPTION OR TO PAY THE FEE WITHIN THE PRESCRIBED TIME-LIMIT

Effective date: 20200101

Ref country code: DK

Free format text: LAPSE BECAUSE OF FAILURE TO SUBMIT A TRANSLATION OF THE DESCRIPTION OR TO PAY THE FEE WITHIN THE PRESCRIBED TIME-LIMIT

Effective date: 20200101

PLBE No opposition filed within time limit

Free format text: ORIGINAL CODE: 0009261

STAA Information on the status of an ep patent application or granted ep patent

Free format text: STATUS: NO OPPOSITION FILED WITHIN TIME LIMIT

26N No opposition filed

Effective date: 20201002

PG25 Lapsed in a contracting state [announced via postgrant information from national office to epo]

Ref country code: IT

Free format text: LAPSE BECAUSE OF FAILURE TO SUBMIT A TRANSLATION OF THE DESCRIPTION OR TO PAY THE FEE WITHIN THE PRESCRIBED TIME-LIMIT

Effective date: 20200101

PG25 Lapsed in a contracting state [announced via postgrant information from national office to epo]

Ref country code: PL

Free format text: LAPSE BECAUSE OF FAILURE TO SUBMIT A TRANSLATION OF THE DESCRIPTION OR TO PAY THE FEE WITHIN THE PRESCRIBED TIME-LIMIT

Effective date: 20200101

Ref country code: SI

Free format text: LAPSE BECAUSE OF FAILURE TO SUBMIT A TRANSLATION OF THE DESCRIPTION OR TO PAY THE FEE WITHIN THE PRESCRIBED TIME-LIMIT

Effective date: 20200101

PG25 Lapsed in a contracting state [announced via postgrant information from national office to epo]

Ref country code: MC

Free format text: LAPSE BECAUSE OF FAILURE TO SUBMIT A TRANSLATION OF THE DESCRIPTION OR TO PAY THE FEE WITHIN THE PRESCRIBED TIME-LIMIT

Effective date: 20200101

REG Reference to a national code

Ref country code: CH

Ref legal event code: PL

GBPC Gb: european patent ceased through non-payment of renewal fee

Effective date: 20200907

REG Reference to a national code

Ref country code: BE

Ref legal event code: MM

Effective date: 20200930

PG25 Lapsed in a contracting state [announced via postgrant information from national office to epo]

Ref country code: LU

Free format text: LAPSE BECAUSE OF NON-PAYMENT OF DUE FEES

Effective date: 20200907

PG25 Lapsed in a contracting state [announced via postgrant information from national office to epo]

Ref country code: FR

Free format text: LAPSE BECAUSE OF NON-PAYMENT OF DUE FEES

Effective date: 20200930

PG25 Lapsed in a contracting state [announced via postgrant information from national office to epo]

Ref country code: BE

Free format text: LAPSE BECAUSE OF NON-PAYMENT OF DUE FEES

Effective date: 20200930

Ref country code: CH

Free format text: LAPSE BECAUSE OF NON-PAYMENT OF DUE FEES

Effective date: 20200930

Ref country code: IE

Free format text: LAPSE BECAUSE OF NON-PAYMENT OF DUE FEES

Effective date: 20200907

Ref country code: GB

Free format text: LAPSE BECAUSE OF NON-PAYMENT OF DUE FEES

Effective date: 20200907

Ref country code: LI

Free format text: LAPSE BECAUSE OF NON-PAYMENT OF DUE FEES

Effective date: 20200930

REG Reference to a national code

Ref country code: AT

Ref legal event code: MM01

Ref document number: 1220230

Country of ref document: AT

Kind code of ref document: T

Effective date: 20200907

PG25 Lapsed in a contracting state [announced via postgrant information from national office to epo]

Ref country code: AT

Free format text: LAPSE BECAUSE OF NON-PAYMENT OF DUE FEES

Effective date: 20200907

PG25 Lapsed in a contracting state [announced via postgrant information from national office to epo]

Ref country code: TR

Free format text: LAPSE BECAUSE OF FAILURE TO SUBMIT A TRANSLATION OF THE DESCRIPTION OR TO PAY THE FEE WITHIN THE PRESCRIBED TIME-LIMIT

Effective date: 20200101

Ref country code: MT

Free format text: LAPSE BECAUSE OF FAILURE TO SUBMIT A TRANSLATION OF THE DESCRIPTION OR TO PAY THE FEE WITHIN THE PRESCRIBED TIME-LIMIT

Effective date: 20200101

Ref country code: CY

Free format text: LAPSE BECAUSE OF FAILURE TO SUBMIT A TRANSLATION OF THE DESCRIPTION OR TO PAY THE FEE WITHIN THE PRESCRIBED TIME-LIMIT

Effective date: 20200101

PG25 Lapsed in a contracting state [announced via postgrant information from national office to epo]

Ref country code: MK

Free format text: LAPSE BECAUSE OF FAILURE TO SUBMIT A TRANSLATION OF THE DESCRIPTION OR TO PAY THE FEE WITHIN THE PRESCRIBED TIME-LIMIT

Effective date: 20200101

Ref country code: AL

Free format text: LAPSE BECAUSE OF FAILURE TO SUBMIT A TRANSLATION OF THE DESCRIPTION OR TO PAY THE FEE WITHIN THE PRESCRIBED TIME-LIMIT

Effective date: 20200101

P01 Opt-out of the competence of the unified patent court (upc) registered

Effective date: 20230428

PGFP Annual fee paid to national office [announced via postgrant information from national office to epo]

Ref country code: DE

Payment date: 20250919

Year of fee payment: 11