EP3164530B1 - Ensemble anodique - Google Patents
Ensemble anodique Download PDFInfo
- Publication number
- EP3164530B1 EP3164530B1 EP15814208.3A EP15814208A EP3164530B1 EP 3164530 B1 EP3164530 B1 EP 3164530B1 EP 15814208 A EP15814208 A EP 15814208A EP 3164530 B1 EP3164530 B1 EP 3164530B1
- Authority
- EP
- European Patent Office
- Prior art keywords
- anode
- electrical connecting
- thermally insulating
- connecting element
- anode assembly
- Prior art date
- Legal status (The legal status is an assumption and is not a legal conclusion. Google has not performed a legal analysis and makes no representation as to the accuracy of the status listed.)
- Active
Links
Images
Classifications
-
- C—CHEMISTRY; METALLURGY
- C25—ELECTROLYTIC OR ELECTROPHORETIC PROCESSES; APPARATUS THEREFOR
- C25C—PROCESSES FOR THE ELECTROLYTIC PRODUCTION, RECOVERY OR REFINING OF METALS; APPARATUS THEREFOR
- C25C3/00—Electrolytic production, recovery or refining of metals by electrolysis of melts
- C25C3/06—Electrolytic production, recovery or refining of metals by electrolysis of melts of aluminium
- C25C3/08—Cell construction, e.g. bottoms, walls, cathodes
- C25C3/12—Anodes
-
- C—CHEMISTRY; METALLURGY
- C25—ELECTROLYTIC OR ELECTROPHORETIC PROCESSES; APPARATUS THEREFOR
- C25C—PROCESSES FOR THE ELECTROLYTIC PRODUCTION, RECOVERY OR REFINING OF METALS; APPARATUS THEREFOR
- C25C3/00—Electrolytic production, recovery or refining of metals by electrolysis of melts
- C25C3/06—Electrolytic production, recovery or refining of metals by electrolysis of melts of aluminium
- C25C3/08—Cell construction, e.g. bottoms, walls, cathodes
- C25C3/085—Cell construction, e.g. bottoms, walls, cathodes characterised by its non electrically conducting heat insulating parts
-
- C—CHEMISTRY; METALLURGY
- C25—ELECTROLYTIC OR ELECTROPHORETIC PROCESSES; APPARATUS THEREFOR
- C25C—PROCESSES FOR THE ELECTROLYTIC PRODUCTION, RECOVERY OR REFINING OF METALS; APPARATUS THEREFOR
- C25C3/00—Electrolytic production, recovery or refining of metals by electrolysis of melts
- C25C3/06—Electrolytic production, recovery or refining of metals by electrolysis of melts of aluminium
- C25C3/16—Electric current supply devices, e.g. bus bars
Definitions
- the present invention relates to an anode assembly comprising an anode support and an anode for the production of aluminum.
- Aluminum is conventionally produced in aluminum smelters, by electrolysis, according to the Hall-Héroult process.
- an electrolysis cell comprising a box and an inner lining of refractory material.
- the electrolytic cell also comprises cathode blocks arranged at the bottom of the box, traversed by conductive bars for collecting the electrolysis current and leading it to a subsequent electrolysis cell.
- the electrolysis cell also comprises at least one anode block suspended on an anode support, such as a cross member, the anode block being partially immersed in an electrolytic bath, above the cathode blocks.
- a liquid aluminum sheet, covering the cathode blocks, is formed as and when the reaction.
- the flow of current is from the anode carrier to the cathode via the anode block and the electrolytic bath at a temperature of about 970 ° C wherein the alumina is dissolved.
- This electrolysis current has an intensity of up to several hundreds of thousands of amperes.
- the suspension of the anode block is then carried out by an intermediate element, capable of carrying this strong current, of resisting these very high temperatures but which is also capable of supporting the weight of the anode, such as a log made of steel.
- the point reduction of the cross-section of the log made it possible to obtain a significant drop in temperature: from 650 ° C. to 320 ° C. for a reduction of the section over a log length of about 10 cm.
- the log may be formed of two portions having different cross sections, and may be machined or formed of separate elements welded to reduce the loss of thermal energy by conduction.
- this section reduction decreases the electrical conductance and therefore increases the power consumption.
- this solution has a significant financial cost because it requires machining at least a portion from a log available under the general shape of a standard cylinder. This machining step is also time consuming and contributes to a consequent loss of material.
- the invention aims to provide a device for limiting heat losses without affecting its electrical conductance while limiting costs.
- an anode assembly for the production of aluminum comprising an anode, an anode support, and an electrical connection element comprising a sealing portion and an out-sealing portion for electrically connecting the support of anode at the anode, wherein the anode comprises a recess in which is housed the sealing portion of the electrical connecting member and wherein a seal formed of an electrically conductive material retains the electrical connecting member, anode assembly comprising at least one thermally insulating element arranged between two facing walls belonging to the out-sealing portion of the electrical connection element and / or the anode support to reduce the heat transfer between the anode and the anode support when producing aluminum.
- the sealing ensures an electrical conduction function while allowing mechanical attachment between the electrical connection element and the anode. Sealing typically extends along the side wall of the sealing portion of the electrical connecting member. This lateral contact between the seal and the electrical connection element allows a very good electrical conduction, but also a very good thermal conductivity between the anode and the electrical connection element.
- the two walls facing each other are electrically and mechanically connected by means of a bead of electrically conductive material, plus particularly a weld seam.
- the bead of electrically conductive material provides mechanical strength and electrical conduction in the area where the two walls are separated by the thermally insulating element.
- the electrical connection element extends in an extension direction between the anode and the anode support and at least one thermally insulating element extends in a plane transverse to the direction of extension. .
- the thermal transfer along a cross-section of the electrical connection element is significantly reduced because the heat losses by radiation between the surfaces between which the thermally insulating element is interposed are prevented.
- At least one thermally insulating element is arranged between a wall of the electrical connection element and a wall of the anode support.
- This configuration with a thermally insulating element interposed between the electrical connection element and the anode support is particularly advantageous in that the radiative heat flux and conduction between the electrical connection element and the anode support is limited.
- the presence of a thermal insulation at this interface is thus very simple to implement and very effective in limiting energy losses.
- the anode assembly comprises a bead of electrically conductive material, more particularly a weld bead, arranged to electrically and mechanically connect the electrical connection element and the anode support.
- the electrical connection element provides mechanical support for the anode while promoting electrical conduction between the anode support and the anode.
- the out-sealing portion of the electrical connection element delimits a housing in which is disposed at least one thermally insulating element.
- the thermally insulating element prevents heat losses by radiation between opposite walls of the housing.
- the housing is formed by a notch in the electrical connection element. This notch may in particular be machined in the electrical connection element.
- the notch opens out laterally of the out-sealing portion of the electrical connection element so that the thermally insulating element is easily introduced into the electrical connection element.
- This variant is thus very simple to put into practice.
- the out-sealing portion of the electrical connection element comprises a first portion and a second portion, the first and second portions being separated by at least one thermally insulating element.
- conductive heat transfer is limited on the cross-section of the out-seal portion of the electrical connecting member between the first and second portions.
- a complementary bead of electrically conductive material is arranged to cover at least a portion of said at least one thermally insulating element and to electrically and mechanically connect the first portion and the second portion.
- the mechanical strength and the electrical conduction between the anode support and the anode thus remains very satisfactory, for a reduction of the important heat transfer.
- the thermally insulating element is further protected by this enclosure in the housing.
- the anode assembly further comprises a thermally insulating element disposed at the interface between the electrical connection element and the anode support.
- a thermally insulating element disposed at the interface between the electrical connection element and the anode support.
- the first portion disposed on the side of the anode support has a reduced cross section relative to that of the second portion disposed on the side of the anode and an electrical conduction member is arranged to electrically connect the second portion and the anode support.
- an electrical conduction member is arranged to electrically connect the second portion and the anode support.
- the electrical connection element comprises a substantially cylindrical shape, such as a steel log.
- the steel makes it possible to withstand the corrosive environment in the electrolysis cell, at very high temperatures and is sufficiently resistant to support the anode.
- At least one thermally insulating element comprises a plate form, formed in particular of a sintered powder, a film or a fiber felt comprising at least one refractory material.
- the sintered powder has the advantage of being easily shaped and is adaptable to be disposed in any geometric configuration of the anode assembly.
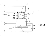
- the anode assembly 100 comprises an anode 3, typically of carbon, and an anode support 4 for the production of aluminum by electrolysis according to the Hall-Héroult method.
- the anode 3 is suspended from the anode support 4 by an electrical connection element 1 comprising a sealing portion 21 ensuring the attachment to the anode 3 and the electrical conduction to the anode 3, and an out-seal portion 22 ensuring the mechanical suspension of the anode 3.
- the anode 3 comprises in its upper part a recess 7 in which the sealing portion 21 of the electrical connecting element 1 is housed and fixed by a seal 8 of an electrically conductive material, cast iron for example.
- the sealing portion 21 is therefore the lower part of the electrical connection element 1 which is caught in the seal 8, in contrast to the out-seal portion 22 which extends above the seal 8.
- any other material suitable for sealing 8 may be used, especially sticky carbon paste.
- This seal 8 covers all the surfaces of the recess 7 and the sealing portion 21 of the electrical connecting element 1 housed in the recess 7.
- the seal 8 may otherwise extend along the side walls of the the sealing portion 21 and not on the underside.
- the anode assembly also comprises a bead 9 of electrically conductive material, arranged to provide the electrical and mechanical connection between the anode support 4 and the electrical connection element 1, more particularly in the upper part of the out-seal portion 22 of the electrical connecting element 1.
- the electrical connecting element 1 is typically made of steel and has a cylinder shape.
- the bead 9 may be formed by a cupro-type copper-based weld disposed laterally at the interface between the electrical connection element 1 and the anode support 4.
- the figure 1 also illustrates in the out-seal portion 22 a thermally insulating element 6 which extends in a plane transverse to the direction of extension of the electrical connecting element 1 between the anode 3 and the anode support 4.
- the electrical connection element 1 comprises a housing 5, formed of a notch opening laterally and in which is disposed a thermally insulator 6.
- This thermally insulating element 6 may consist of any suitable refractory materials, such as sintered powder, film or fiber felt, comprising at least one refractory material.
- the out-seal portion 22 of the electrical connection element 1 comprises a first portion 11 and a second portion 12 distinct from the first portion 11 and between which a thermally insulating member 6 is disposed.
- the heat transfer by conduction is thus significantly reduced by the fact that the entire cross section of the electrical connecting element 1 is covered by the thermally insulating element 6.
- the electrical conduction is then provided by a complementary bead 13 of an electrically conductive material disposed laterally to the thermally insulating element 6 so as to electrically and mechanically connect the first portion 11 and the second portion 12.
- the embodiment illustrated in figure 3 differs from the two previous embodiments, in particular in that the thermally insulating element 6 is disposed at the interface between the electrical connection element 1 and the anode support 4.
- the cord 9 is arranged laterally to the insulating element 6 to provide an electrical and mechanical connection between the out-sealing portion 22 of the electrical connecting element 1 and the anode support 4.
- the out-seal portion 22 of the electrical connection element 1 comprises a first portion 11 disposed on the side of the anode support 4 and a second portion 12 disposed on the side of the anode 3.
- the cross section of the first portion 11 is reduced compared to that of the second portion 12 to limit heat transfer.
- the anode assembly comprises a thermally insulating element 6 disposed between the electrical connection element 1 and the anode support 4 and further comprises a thermally insulating element 6 disposed between the first portion 11 and the second portion 12.
- An electrical conduction member 14, such as a copper plate, is arranged to provide an electrical connection between the second portion 12 and the anode support 4 and rests against a portion of the first portion 11.
- the thermal transfer is very limited by the presence of the two thermally insulating elements 6 and the reduced cross section of the first portion 11. Moreover, the electrical connection is provided by the cord 9 and the complementary bead 13 as well as the highly conductive copper plate. The section of the copper plate being reduced, the thermal conduction thereby remains very limited.
- the present invention provides an anode assembly 100 to effectively reduce the heat loss between the anode 3 and the anode carrier 4 by reducing heat transfer while also ensuring the maintenance of a very good electrical conduction.
Landscapes
- Chemical & Material Sciences (AREA)
- Engineering & Computer Science (AREA)
- Chemical Kinetics & Catalysis (AREA)
- Electrochemistry (AREA)
- Materials Engineering (AREA)
- Metallurgy (AREA)
- Organic Chemistry (AREA)
- Electrolytic Production Of Metals (AREA)
- Connection Of Batteries Or Terminals (AREA)
- Secondary Cells (AREA)
- Microwave Tubes (AREA)
Applications Claiming Priority (2)
| Application Number | Priority Date | Filing Date | Title |
|---|---|---|---|
| FR1401517 | 2014-07-04 | ||
| PCT/IB2015/001109 WO2016001741A1 (fr) | 2014-07-04 | 2015-07-01 | Ensemble anodique |
Publications (3)
| Publication Number | Publication Date |
|---|---|
| EP3164530A1 EP3164530A1 (fr) | 2017-05-10 |
| EP3164530A4 EP3164530A4 (fr) | 2018-01-17 |
| EP3164530B1 true EP3164530B1 (fr) | 2019-04-24 |
Family
ID=51483482
Family Applications (1)
| Application Number | Title | Priority Date | Filing Date |
|---|---|---|---|
| EP15814208.3A Active EP3164530B1 (fr) | 2014-07-04 | 2015-07-01 | Ensemble anodique |
Country Status (10)
| Country | Link |
|---|---|
| US (1) | US10443140B2 (es) |
| EP (1) | EP3164530B1 (es) |
| CN (1) | CN106471160B (es) |
| AR (1) | AR101928A1 (es) |
| AU (1) | AU2015282392B2 (es) |
| BR (1) | BR112016028617B1 (es) |
| CA (1) | CA2952166C (es) |
| DK (1) | DK179336B1 (es) |
| EA (1) | EA037127B1 (es) |
| WO (1) | WO2016001741A1 (es) |
Family Cites Families (10)
| Publication number | Priority date | Publication date | Assignee | Title |
|---|---|---|---|---|
| GB962599A (en) * | 1961-08-03 | 1964-07-01 | Montedison Spa | Electrolytic furnace for aluminium production |
| US3509030A (en) * | 1967-12-15 | 1970-04-28 | Alcan Res & Dev | Casing liner |
| DE3009098C2 (de) * | 1979-12-21 | 1983-02-24 | Schweizerische Aluminium AG, 3965 Chippis | Verfahren zur Führung des Stromes zwischen Elektrolyseöfen |
| FR2527229A1 (fr) * | 1982-05-18 | 1983-11-25 | Aluminium Grece | Procede de calorifugeage des anodes precuites dans les cuves d'electrolyse pour la production d'aluminium |
| FR2565258B1 (fr) | 1984-05-29 | 1986-08-29 | Pechiney Aluminium | Anode carbonee a rondins partiellement retrecis destinee aux cuves pour la production d'aluminium par electrolyse |
| AUPQ218899A0 (en) * | 1999-08-13 | 1999-09-02 | Jakovac, Vjekoslav | Anode assembly comprising separation of electrical and mechanical functions of the assembly |
| FR2900938B1 (fr) * | 2006-05-15 | 2008-06-20 | Ecl Soc Par Actions Simplifiee | Procede de fabrication d'anodes pour la production d'aluminium par electrolyse ignee, lesdites anodes et leur utilisation |
| EP2006419A1 (en) * | 2007-06-22 | 2008-12-24 | Sgl Carbon Ag | Reduced voltage drop anode assembly for aluminium electrolysis cell |
| CN101709485B (zh) * | 2009-12-18 | 2012-07-04 | 中国铝业股份有限公司 | 一种采用惰性阳极生产原铝的铝电解槽 |
| WO2012100340A1 (en) * | 2011-01-28 | 2012-08-02 | UNIVERSITé LAVAL | Anode and connector for a hall-heroult industrial cell |
-
2015
- 2015-07-01 CA CA2952166A patent/CA2952166C/fr active Active
- 2015-07-01 CN CN201580034611.0A patent/CN106471160B/zh active Active
- 2015-07-01 WO PCT/IB2015/001109 patent/WO2016001741A1/fr not_active Ceased
- 2015-07-01 EP EP15814208.3A patent/EP3164530B1/fr active Active
- 2015-07-01 EA EA201790130A patent/EA037127B1/ru not_active IP Right Cessation
- 2015-07-01 AU AU2015282392A patent/AU2015282392B2/en active Active
- 2015-07-01 US US15/323,904 patent/US10443140B2/en active Active
- 2015-07-01 BR BR112016028617-0A patent/BR112016028617B1/pt active IP Right Grant
- 2015-07-03 AR ARP150102144A patent/AR101928A1/es active IP Right Grant
-
2016
- 2016-12-08 DK DKPA201670975A patent/DK179336B1/en active
Non-Patent Citations (1)
| Title |
|---|
| None * |
Also Published As
| Publication number | Publication date |
|---|---|
| EP3164530A4 (fr) | 2018-01-17 |
| EA037127B1 (ru) | 2021-02-09 |
| US20170167039A1 (en) | 2017-06-15 |
| CA2952166A1 (fr) | 2016-01-07 |
| BR112016028617A2 (pt) | 2017-08-22 |
| AU2015282392B2 (en) | 2019-03-14 |
| US10443140B2 (en) | 2019-10-15 |
| CA2952166C (fr) | 2022-07-26 |
| DK179336B1 (en) | 2018-05-14 |
| EP3164530A1 (fr) | 2017-05-10 |
| CN106471160A (zh) | 2017-03-01 |
| AU2015282392A1 (en) | 2017-01-05 |
| WO2016001741A1 (fr) | 2016-01-07 |
| AR101928A1 (es) | 2017-01-25 |
| DK201670975A1 (en) | 2017-01-09 |
| EA201790130A1 (ru) | 2017-06-30 |
| CN106471160B (zh) | 2018-10-16 |
| BR112016028617B1 (pt) | 2021-11-03 |
Similar Documents
| Publication | Publication Date | Title |
|---|---|---|
| EP3030696B1 (fr) | Dispositif d' electrolyse et ensemble anodique destines a la production d'aluminium, cellule d' electrolyse et installation comportant un tel dispositif | |
| EP0167461A1 (fr) | Anode carbonée à rondins partiellement rétrécis destinée aux cuves pour la production d'aluminium par électrolyse | |
| CA2935439A1 (fr) | Cuve d'electrolyse comportant un dispositif de levage d'ensembles anodiques | |
| EP3164530B1 (fr) | Ensemble anodique | |
| CA1214752A (fr) | Barre cathodique comportant une semelle metallique, pour cuves d'electrolyse hall-heroult | |
| CA2935676A1 (fr) | Cuve d'electrolyse comportant un ensemble anodique contenu dans une enceinte de confinement | |
| EP0169152A1 (fr) | Bloc cathodique modulaire et cathode à faible chute de tension pour cuves d'électrolyse hall-héroult | |
| EP3030694A1 (fr) | Cuve d'electrolyse destinee a la production d'aluminium et usine d'electrolyse comprenant cette cuve | |
| FR3012473A1 (fr) | Dispositif d'etancheite pour capot de cellule d'electrolyse | |
| FR2546183A1 (fr) | Ecran sous-cathodique comportant des zones deformables, pour les cuves d'electrolyse hall-heroult | |
| FR2961828A1 (fr) | Dispositif permettant d'extraire des cales de court-circuitage lors de la mise en circuit d'une cellule d'electrolyse pour la production d'aluminium | |
| FR2925531A1 (fr) | Dispositif de support pour electrodes dans une installation d'electrolyses | |
| FR2546184A1 (fr) | Barre cathodique comportant une semelle metallique pour cuves d'electrolyse hall-heroult | |
| CA3122500A1 (fr) | Ensemble anodique et cuve d'electrolyse comprenant cet ensemble anodique | |
| EP3099845A1 (fr) | Ensemble anodique et procede de fabrication associe | |
| FR3078714A1 (fr) | Assemblage cathodique pour cuve d’electrolyse | |
| FR3016892A1 (fr) | Dispositif de prechauffage d'un ensemble anodique. | |
| FR2971794A1 (fr) | Dispositif de protection cathodique et procede d'installation associe | |
| EP4433629A1 (fr) | Système de revêtement intérieur pour cuve d'électrolyse | |
| EP3099842B1 (fr) | Caisson de cuve d'électrolyse | |
| WO2012172196A1 (fr) | Cuve d'électrolyse destinée à être utilisée pour produire de l'aluminium | |
| WO2020124209A1 (fr) | Ensemble anodique et procede de fabrication associe |
Legal Events
| Date | Code | Title | Description |
|---|---|---|---|
| STAA | Information on the status of an ep patent application or granted ep patent |
Free format text: STATUS: THE INTERNATIONAL PUBLICATION HAS BEEN MADE |
|
| PUAI | Public reference made under article 153(3) epc to a published international application that has entered the european phase |
Free format text: ORIGINAL CODE: 0009012 |
|
| STAA | Information on the status of an ep patent application or granted ep patent |
Free format text: STATUS: REQUEST FOR EXAMINATION WAS MADE |
|
| 17P | Request for examination filed |
Effective date: 20161207 |
|
| AK | Designated contracting states |
Kind code of ref document: A1 Designated state(s): AL AT BE BG CH CY CZ DE DK EE ES FI FR GB GR HR HU IE IS IT LI LT LU LV MC MK MT NL NO PL PT RO RS SE SI SK SM TR |
|
| AX | Request for extension of the european patent |
Extension state: BA ME |
|
| DAV | Request for validation of the european patent (deleted) | ||
| RAX | Requested extension states of the european patent have changed |
Extension state: BA Payment date: 20161207 |
|
| A4 | Supplementary search report drawn up and despatched |
Effective date: 20171218 |
|
| RIC1 | Information provided on ipc code assigned before grant |
Ipc: C25C 3/08 20060101ALI20171212BHEP Ipc: C25C 3/12 20060101ALI20171212BHEP Ipc: C25C 3/16 20060101AFI20171212BHEP |
|
| REG | Reference to a national code |
Ref country code: DE Ref legal event code: R079 Ref document number: 602015029025 Country of ref document: DE Free format text: PREVIOUS MAIN CLASS: C25C0003120000 Ipc: C25C0003160000 |
|
| GRAP | Despatch of communication of intention to grant a patent |
Free format text: ORIGINAL CODE: EPIDOSNIGR1 |
|
| STAA | Information on the status of an ep patent application or granted ep patent |
Free format text: STATUS: GRANT OF PATENT IS INTENDED |
|
| RIC1 | Information provided on ipc code assigned before grant |
Ipc: C25C 3/08 20060101ALI20181018BHEP Ipc: C25C 3/12 20060101ALI20181018BHEP Ipc: C25C 3/16 20060101AFI20181018BHEP |
|
| INTG | Intention to grant announced |
Effective date: 20181116 |
|
| GRAS | Grant fee paid |
Free format text: ORIGINAL CODE: EPIDOSNIGR3 |
|
| GRAA | (expected) grant |
Free format text: ORIGINAL CODE: 0009210 |
|
| STAA | Information on the status of an ep patent application or granted ep patent |
Free format text: STATUS: THE PATENT HAS BEEN GRANTED |
|
| AK | Designated contracting states |
Kind code of ref document: B1 Designated state(s): AL AT BE BG CH CY CZ DE DK EE ES FI FR GB GR HR HU IE IS IT LI LT LU LV MC MK MT NL NO PL PT RO RS SE SI SK SM TR |
|
| AX | Request for extension of the european patent |
Extension state: BA |
|
| REG | Reference to a national code |
Ref country code: GB Ref legal event code: FG4D Free format text: NOT ENGLISH |
|
| REG | Reference to a national code |
Ref country code: CH Ref legal event code: EP |
|
| REG | Reference to a national code |
Ref country code: AT Ref legal event code: REF Ref document number: 1124265 Country of ref document: AT Kind code of ref document: T Effective date: 20190515 Ref country code: IE Ref legal event code: FG4D Free format text: LANGUAGE OF EP DOCUMENT: FRENCH |
|
| REG | Reference to a national code |
Ref country code: DE Ref legal event code: R096 Ref document number: 602015029025 Country of ref document: DE |
|
| REG | Reference to a national code |
Ref country code: NL Ref legal event code: MP Effective date: 20190424 |
|
| REG | Reference to a national code |
Ref country code: LT Ref legal event code: MG4D |
|
| REG | Reference to a national code |
Ref country code: NO Ref legal event code: T2 Effective date: 20190424 |
|
| PG25 | Lapsed in a contracting state [announced via postgrant information from national office to epo] |
Ref country code: NL Free format text: LAPSE BECAUSE OF FAILURE TO SUBMIT A TRANSLATION OF THE DESCRIPTION OR TO PAY THE FEE WITHIN THE PRESCRIBED TIME-LIMIT Effective date: 20190424 |
|
| PG25 | Lapsed in a contracting state [announced via postgrant information from national office to epo] |
Ref country code: HR Free format text: LAPSE BECAUSE OF FAILURE TO SUBMIT A TRANSLATION OF THE DESCRIPTION OR TO PAY THE FEE WITHIN THE PRESCRIBED TIME-LIMIT Effective date: 20190424 Ref country code: LT Free format text: LAPSE BECAUSE OF FAILURE TO SUBMIT A TRANSLATION OF THE DESCRIPTION OR TO PAY THE FEE WITHIN THE PRESCRIBED TIME-LIMIT Effective date: 20190424 Ref country code: AL Free format text: LAPSE BECAUSE OF FAILURE TO SUBMIT A TRANSLATION OF THE DESCRIPTION OR TO PAY THE FEE WITHIN THE PRESCRIBED TIME-LIMIT Effective date: 20190424 Ref country code: ES Free format text: LAPSE BECAUSE OF FAILURE TO SUBMIT A TRANSLATION OF THE DESCRIPTION OR TO PAY THE FEE WITHIN THE PRESCRIBED TIME-LIMIT Effective date: 20190424 Ref country code: PT Free format text: LAPSE BECAUSE OF FAILURE TO SUBMIT A TRANSLATION OF THE DESCRIPTION OR TO PAY THE FEE WITHIN THE PRESCRIBED TIME-LIMIT Effective date: 20190824 Ref country code: SE Free format text: LAPSE BECAUSE OF FAILURE TO SUBMIT A TRANSLATION OF THE DESCRIPTION OR TO PAY THE FEE WITHIN THE PRESCRIBED TIME-LIMIT Effective date: 20190424 Ref country code: FI Free format text: LAPSE BECAUSE OF FAILURE TO SUBMIT A TRANSLATION OF THE DESCRIPTION OR TO PAY THE FEE WITHIN THE PRESCRIBED TIME-LIMIT Effective date: 20190424 |
|
| PG25 | Lapsed in a contracting state [announced via postgrant information from national office to epo] |
Ref country code: RS Free format text: LAPSE BECAUSE OF FAILURE TO SUBMIT A TRANSLATION OF THE DESCRIPTION OR TO PAY THE FEE WITHIN THE PRESCRIBED TIME-LIMIT Effective date: 20190424 Ref country code: BG Free format text: LAPSE BECAUSE OF FAILURE TO SUBMIT A TRANSLATION OF THE DESCRIPTION OR TO PAY THE FEE WITHIN THE PRESCRIBED TIME-LIMIT Effective date: 20190724 Ref country code: LV Free format text: LAPSE BECAUSE OF FAILURE TO SUBMIT A TRANSLATION OF THE DESCRIPTION OR TO PAY THE FEE WITHIN THE PRESCRIBED TIME-LIMIT Effective date: 20190424 Ref country code: GR Free format text: LAPSE BECAUSE OF FAILURE TO SUBMIT A TRANSLATION OF THE DESCRIPTION OR TO PAY THE FEE WITHIN THE PRESCRIBED TIME-LIMIT Effective date: 20190725 Ref country code: PL Free format text: LAPSE BECAUSE OF FAILURE TO SUBMIT A TRANSLATION OF THE DESCRIPTION OR TO PAY THE FEE WITHIN THE PRESCRIBED TIME-LIMIT Effective date: 20190424 |
|
| REG | Reference to a national code |
Ref country code: AT Ref legal event code: MK05 Ref document number: 1124265 Country of ref document: AT Kind code of ref document: T Effective date: 20190424 |
|
| REG | Reference to a national code |
Ref country code: DE Ref legal event code: R097 Ref document number: 602015029025 Country of ref document: DE |
|
| PG25 | Lapsed in a contracting state [announced via postgrant information from national office to epo] |
Ref country code: SK Free format text: LAPSE BECAUSE OF FAILURE TO SUBMIT A TRANSLATION OF THE DESCRIPTION OR TO PAY THE FEE WITHIN THE PRESCRIBED TIME-LIMIT Effective date: 20190424 Ref country code: EE Free format text: LAPSE BECAUSE OF FAILURE TO SUBMIT A TRANSLATION OF THE DESCRIPTION OR TO PAY THE FEE WITHIN THE PRESCRIBED TIME-LIMIT Effective date: 20190424 Ref country code: AT Free format text: LAPSE BECAUSE OF FAILURE TO SUBMIT A TRANSLATION OF THE DESCRIPTION OR TO PAY THE FEE WITHIN THE PRESCRIBED TIME-LIMIT Effective date: 20190424 Ref country code: DK Free format text: LAPSE BECAUSE OF FAILURE TO SUBMIT A TRANSLATION OF THE DESCRIPTION OR TO PAY THE FEE WITHIN THE PRESCRIBED TIME-LIMIT Effective date: 20190424 Ref country code: RO Free format text: LAPSE BECAUSE OF FAILURE TO SUBMIT A TRANSLATION OF THE DESCRIPTION OR TO PAY THE FEE WITHIN THE PRESCRIBED TIME-LIMIT Effective date: 20190424 Ref country code: CZ Free format text: LAPSE BECAUSE OF FAILURE TO SUBMIT A TRANSLATION OF THE DESCRIPTION OR TO PAY THE FEE WITHIN THE PRESCRIBED TIME-LIMIT Effective date: 20190424 |
|
| PG25 | Lapsed in a contracting state [announced via postgrant information from national office to epo] |
Ref country code: MC Free format text: LAPSE BECAUSE OF FAILURE TO SUBMIT A TRANSLATION OF THE DESCRIPTION OR TO PAY THE FEE WITHIN THE PRESCRIBED TIME-LIMIT Effective date: 20190424 Ref country code: SM Free format text: LAPSE BECAUSE OF FAILURE TO SUBMIT A TRANSLATION OF THE DESCRIPTION OR TO PAY THE FEE WITHIN THE PRESCRIBED TIME-LIMIT Effective date: 20190424 Ref country code: IT Free format text: LAPSE BECAUSE OF FAILURE TO SUBMIT A TRANSLATION OF THE DESCRIPTION OR TO PAY THE FEE WITHIN THE PRESCRIBED TIME-LIMIT Effective date: 20190424 |
|
| PLBE | No opposition filed within time limit |
Free format text: ORIGINAL CODE: 0009261 |
|
| REG | Reference to a national code |
Ref country code: CH Ref legal event code: PL |
|
| STAA | Information on the status of an ep patent application or granted ep patent |
Free format text: STATUS: NO OPPOSITION FILED WITHIN TIME LIMIT |
|
| GBPC | Gb: european patent ceased through non-payment of renewal fee |
Effective date: 20190724 |
|
| PG25 | Lapsed in a contracting state [announced via postgrant information from national office to epo] |
Ref country code: TR Free format text: LAPSE BECAUSE OF FAILURE TO SUBMIT A TRANSLATION OF THE DESCRIPTION OR TO PAY THE FEE WITHIN THE PRESCRIBED TIME-LIMIT Effective date: 20190424 |
|
| 26N | No opposition filed |
Effective date: 20200127 |
|
| REG | Reference to a national code |
Ref country code: BE Ref legal event code: MM Effective date: 20190731 |
|
| PG25 | Lapsed in a contracting state [announced via postgrant information from national office to epo] |
Ref country code: GB Free format text: LAPSE BECAUSE OF NON-PAYMENT OF DUE FEES Effective date: 20190724 |
|
| PG25 | Lapsed in a contracting state [announced via postgrant information from national office to epo] |
Ref country code: BE Free format text: LAPSE BECAUSE OF NON-PAYMENT OF DUE FEES Effective date: 20190731 Ref country code: LU Free format text: LAPSE BECAUSE OF NON-PAYMENT OF DUE FEES Effective date: 20190701 Ref country code: CH Free format text: LAPSE BECAUSE OF NON-PAYMENT OF DUE FEES Effective date: 20190731 Ref country code: LI Free format text: LAPSE BECAUSE OF NON-PAYMENT OF DUE FEES Effective date: 20190731 Ref country code: SI Free format text: LAPSE BECAUSE OF FAILURE TO SUBMIT A TRANSLATION OF THE DESCRIPTION OR TO PAY THE FEE WITHIN THE PRESCRIBED TIME-LIMIT Effective date: 20190424 |
|
| PG25 | Lapsed in a contracting state [announced via postgrant information from national office to epo] |
Ref country code: IE Free format text: LAPSE BECAUSE OF NON-PAYMENT OF DUE FEES Effective date: 20190701 |
|
| PG25 | Lapsed in a contracting state [announced via postgrant information from national office to epo] |
Ref country code: CY Free format text: LAPSE BECAUSE OF FAILURE TO SUBMIT A TRANSLATION OF THE DESCRIPTION OR TO PAY THE FEE WITHIN THE PRESCRIBED TIME-LIMIT Effective date: 20190424 |
|
| PG25 | Lapsed in a contracting state [announced via postgrant information from national office to epo] |
Ref country code: MT Free format text: LAPSE BECAUSE OF FAILURE TO SUBMIT A TRANSLATION OF THE DESCRIPTION OR TO PAY THE FEE WITHIN THE PRESCRIBED TIME-LIMIT Effective date: 20190424 Ref country code: HU Free format text: LAPSE BECAUSE OF FAILURE TO SUBMIT A TRANSLATION OF THE DESCRIPTION OR TO PAY THE FEE WITHIN THE PRESCRIBED TIME-LIMIT; INVALID AB INITIO Effective date: 20150701 |
|
| PG25 | Lapsed in a contracting state [announced via postgrant information from national office to epo] |
Ref country code: MK Free format text: LAPSE BECAUSE OF FAILURE TO SUBMIT A TRANSLATION OF THE DESCRIPTION OR TO PAY THE FEE WITHIN THE PRESCRIBED TIME-LIMIT Effective date: 20190424 |
|
| PGFP | Annual fee paid to national office [announced via postgrant information from national office to epo] |
Ref country code: IS Payment date: 20250626 Year of fee payment: 11 |
|
| PGFP | Annual fee paid to national office [announced via postgrant information from national office to epo] |
Ref country code: FR Payment date: 20250623 Year of fee payment: 11 |
|
| PGFP | Annual fee paid to national office [announced via postgrant information from national office to epo] |
Ref country code: DE Payment date: 20250618 Year of fee payment: 11 |
|
| PGFP | Annual fee paid to national office [announced via postgrant information from national office to epo] |
Ref country code: NO Payment date: 20250709 Year of fee payment: 11 |