EP3067470B2 - Hochkantrüttler und baumaschine mit einem hochkantrüttler - Google Patents

Hochkantrüttler und baumaschine mit einem hochkantrüttler Download PDF

Info

Publication number
EP3067470B2
EP3067470B2 EP16159103.7A EP16159103A EP3067470B2 EP 3067470 B2 EP3067470 B2 EP 3067470B2 EP 16159103 A EP16159103 A EP 16159103A EP 3067470 B2 EP3067470 B2 EP 3067470B2
Authority
EP
European Patent Office
Prior art keywords
upright
vibrator
exciter cell
cell
yoke
Prior art date
Legal status (The legal status is an assumption and is not a legal conclusion. Google has not performed a legal analysis and makes no representation as to the accuracy of the status listed.)
Active
Application number
EP16159103.7A
Other languages
English (en)
French (fr)
Other versions
EP3067470A1 (de
EP3067470B1 (de
Inventor
Steffen Schweizer
Oliver Holland-Cunz
Current Assignee (The listed assignees may be inaccurate. Google has not performed a legal analysis and makes no representation or warranty as to the accuracy of the list.)
Liebherr Werk Nenzing GmbH
Original Assignee
Liebherr Werk Nenzing GmbH
Priority date (The priority date is an assumption and is not a legal conclusion. Google has not performed a legal analysis and makes no representation as to the accuracy of the date listed.)
Filing date
Publication date
Family has litigation
First worldwide family litigation filed litigation Critical https://patents.darts-ip.com/?family=55532147&utm_source=google_patent&utm_medium=platform_link&utm_campaign=public_patent_search&patent=EP3067470(B2) "Global patent litigation dataset” by Darts-ip is licensed under a Creative Commons Attribution 4.0 International License.
Application filed by Liebherr Werk Nenzing GmbH filed Critical Liebherr Werk Nenzing GmbH
Publication of EP3067470A1 publication Critical patent/EP3067470A1/de
Application granted granted Critical
Publication of EP3067470B1 publication Critical patent/EP3067470B1/de
Publication of EP3067470B2 publication Critical patent/EP3067470B2/de
Active legal-status Critical Current
Anticipated expiration legal-status Critical

Links

Images

Classifications

    • EFIXED CONSTRUCTIONS
    • E02HYDRAULIC ENGINEERING; FOUNDATIONS; SOIL SHIFTING
    • E02DFOUNDATIONS; EXCAVATIONS; EMBANKMENTS; UNDERGROUND OR UNDERWATER STRUCTURES
    • E02D7/00Methods or apparatus for placing sheet pile bulkheads, piles, mouldpipes, or other moulds
    • E02D7/18Placing by vibrating
    • EFIXED CONSTRUCTIONS
    • E02HYDRAULIC ENGINEERING; FOUNDATIONS; SOIL SHIFTING
    • E02DFOUNDATIONS; EXCAVATIONS; EMBANKMENTS; UNDERGROUND OR UNDERWATER STRUCTURES
    • E02D11/00Methods or apparatus specially adapted for both placing and removing sheet pile bulkheads, piles, or mould-pipes
    • EFIXED CONSTRUCTIONS
    • E02HYDRAULIC ENGINEERING; FOUNDATIONS; SOIL SHIFTING
    • E02DFOUNDATIONS; EXCAVATIONS; EMBANKMENTS; UNDERGROUND OR UNDERWATER STRUCTURES
    • E02D3/00Improving or preserving soil or rock, e.g. preserving permafrost soil
    • E02D3/02Improving by compacting
    • E02D3/046Improving by compacting by tamping or vibrating, e.g. with auxiliary watering of the soil
    • E02D3/074Vibrating apparatus operating with systems involving rotary unbalanced masses
    • EFIXED CONSTRUCTIONS
    • E02HYDRAULIC ENGINEERING; FOUNDATIONS; SOIL SHIFTING
    • E02DFOUNDATIONS; EXCAVATIONS; EMBANKMENTS; UNDERGROUND OR UNDERWATER STRUCTURES
    • E02D7/00Methods or apparatus for placing sheet pile bulkheads, piles, mouldpipes, or other moulds
    • E02D7/02Placing by driving
    • E02D7/06Power-driven drivers
    • E02D7/14Components for drivers inasmuch as not specially for a specific driver construction
    • E02D7/16Scaffolds or supports for drivers

Definitions

  • edge vibrator or edge vibrator, which is characterized by a relatively compact design.
  • the edge vibrator is used in particular in places that are difficult to access.
  • the excitation cell is usually mounted in a drawing yoke in a way that is decoupled from vibrations.
  • the vibration decoupling is achieved by using suitable bearing components that are installed as bearings or suspension points between the drawing yoke and the excitation cell and are intended to absorb a large proportion of the vibrations.
  • the bearing components are usually distributed between the moving components, but a special systematic arrangement has not yet been investigated.
  • the symmetrical arrangement ensures that the excitation cell is evenly supported within the drawing yoke, so that undesirable movements are avoided as far as possible.
  • the number of bearing components for the front and rear of the vibrator can be the same.
  • the bearing components can be attached at appropriate points on the front and rear.
  • the arrangement is, for example, symmetrical to the ram axis or central axis of the excitation cell or the vibrating part.
  • the vibrator is ideally suited for leader-guided operation on a construction machine, whereby the draw yoke in this case has one or more guide elements to guide the vibrator at an adjustable height on the leader.
  • the vibrator is designed as an upright vibrator and can be designed for high or normal frequency operation.
  • an arrangement with several elastic bearing components is provided at the upper and lower areas of the excitation cell.
  • the upper and lower areas refer to an area along the ramming axis.
  • the excitation cell has a substantially rectangular cross-section, with two elastic bearing components being provided at the front and rear of the upper and lower areas of the excitation cell.
  • the invention does not exclude the provision of further bearing components, for example in the central region, but these are not absolutely necessary for sufficient suppression of the relative movements transverse to the ram axis.
  • one or more sliding guides are provided according to the invention, which are preferably arranged between the drawing yoke and the excitation cell. It is conceivable that the one or more sliding guides are rigidly attached to the excitation cell as well as to the drawing yoke.
  • the sliding guides are mounted by screwing, gluing, riveting, etc. Preferably, all sliding guides are either firmly connected to the excitation cell or alternatively firmly connected to the drawing yoke. In addition, it is conceivable to firmly connect some of the sliding guides to the excitation cell while the remaining part is firmly mounted to the drawing yoke.
  • the one or more sliding guides are attached to the side surfaces between the drawing yoke and the excitation cell, for example, one sliding guide per side surface is located on the upper and lower area of the side surface as seen in the ramming direction. It is particularly preferred if at least one, preferably all of the sliding guides are located on the center plane of the vibrating component of the excitation cell. This places the sliding guide on the ramming plane of the moving mass and an even load is applied to all of the sliding guides.
  • the wear phenomena that occur on the one or more sliding guides should be reduced. This is achieved by a tribologically optimized geometry of the sliding guides used or a tribologically optimized geometry of the contact surface between the sliding partners of the sliding guide.
  • the contact and the associated friction force can be noticeably reduced by a convex contour of the contact surface of at least one sliding partner of the sliding guide. This not only has a positive effect on the energy transfer, but also reduces contact-related wear phenomena on the sliding guides.
  • the tribologically optimized geometries of the sliding surfaces allow prevailing contact forces to be evenly distributed across all bearings or guides used.
  • the sliding guides used are at least partially made of technical ceramics.
  • at least one sliding partner of at least one sliding guide consists of technical ceramics or includes them.
  • Technical ceramics are a very hard, wear-resistant material, which can effectively reduce the operational wear of the sliding guides and increase the durability of the vibrator.
  • the sliding part of the vibrator for example the drawing yoke, is usually made of steel, so that a very hard and wear-resistant sliding partner slides on the steel counter-body with little wear.
  • the invention also includes a construction machine with at least one vibrator according to the present invention or an advantageous embodiment of the invention. It is conceivable that the construction machine has at least one leader in order to accommodate the vibrator so that it can be moved in the ramming direction. It is conceivable that the construction machine a rope excavator with a corresponding leader.
  • Figure 1 shows a side view of the vertical vibrator according to the invention, as it is used in particular in civil engineering for the installation of vibro-filled columns or sheet pile walls.
  • the vibrator can be suitable for normal frequency or high frequency vibration for vibrating in the steel profiles.
  • the illustration shows the pulling yoke 10, on the back of which a guide rail 11 is formed.
  • the pulling yoke 10 can be attached vertically to a leader of a suitable construction machine as an attachment tool.
  • the exciter cell 20 protrudes from the lower end of the pulling yoke 10.
  • the vibrator clamp which is usually attached to the protruding underside of the exciter cell 20 for clamping a steel profile to be vibrated in.
  • one or more excitation cell shafts are mounted, preferably aligned parallel to one another, each of which is rotatably mounted and comprises eccentrically mounted unbalanced masses, which generate the desired vibration movement through the rotation of the excitation shafts.
  • An integrated drive preferably of a hydraulic type, is provided for the rotation movement.
  • vibration in the direction of the ramming axis is particularly desirable, which can be seen, for example, in the sectional views of the Figures 3,4 marked with the reference symbol A.
  • the ramming axis A extends parallel to the leader in the assembly and operating position of the vibrator.
  • the undesirable transverse accelerations and transverse forces transverse to the ramming axis are to be reduced by supporting the excitation cell 20 within the pulling yoke 10 via a symmetrical arrangement of elastomer bearings 30.
  • These bearings 30 serve as bearing points and attachment points for the excitation cell 20 within the pulling yoke 10.
  • these cuboid-shaped elastomer bearings 30 are arranged symmetrically to the ramming axis A, whereby the undesirable transverse forces and transverse movements can be optimally dampened. This results in an almost optimal vibration decoupling of the excitation cell 20 within the drawing yoke 10.
  • Symmetrical mounting of the excitation cell 20 here explicitly refers to the double-symmetrical suspension of the excitation cell 20 in the drawing yoke 10. This means that the excitation cell 20 is mounted symmetrically in relation to two cutting planes along the ramming axis in a vibration-damping manner. One of these cutting planes is the ramming plane and the other cutting plane is a plane rotated by 90° to the ramming plane around the ramming axis.
  • the bearing concept provides for the excitation cell 20 to be mounted at the top and bottom of the drawing yoke 10. This special arrangement of the bearing serves to reduce the vibrations that do not run along the ramming axis. This is necessary in order to achieve as single-axis a movement as possible of the excitation cell 20 along the ramming axis in the drawing yoke 10.
  • sliding guides 40 are available for the vibration movement of the excitation cell 20 in the direction of the ramming axis A, with two sliding guides 40 being firmly connected to the excitation cell 20 on each side surface of the excitation cell 20.
  • the sliding guides 40 are located on the center plane or ramming plane. Since the drawing yoke 10 is usually a steel construction and the sliding guides slide along this steel construction, a very hard and wear-resistant material must be selected for the sliding guides 40. For this reason, the sliding guides 40 are made of technical ceramic.
  • the sliding guides 40 are provided with a tribologically optimized geometry in order to reduce the contact surface between the sliding guide 40 and the drawing yoke 10 sliding along it to a minimum.
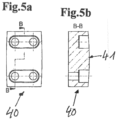
  • a surface contour of the sliding guide 40 is provided with the Figure 5b
  • the surface 41 represents the sliding partner of the guide, which runs along the Drawing yoke 10 slides.
  • Figure 5a shows a top view of the sliding guide 40 mounted on the excitation cell 20, while Figure 5b shows a sectional view through the sliding guide along the cutting axis BB.
  • the fixed mounting on the excitation cell 20 is carried out by means of screwing.
  • the core idea of the invention is to reduce the relative movements of the excitation cell 20 in the transverse direction to the ramming axis A by symmetrically attaching the elastomer bearings 30. This reduces transverse accelerations and transverse forces, which reduces the load on the sliding guide 40 and makes the energy saved available for the regular, vertical movement.
  • an optimized geometric shape 41 of the sliding guide 40 reduces the contact area between the bodies 10, 20 moving relative to one another, which reduces the friction that occurs and the energy dissipated as a result.
  • the sliding guides 40 are placed on the ramming plane.
  • wear is to be reduced by using technical ceramics for a sliding partner of the sliding guide 40. This significantly increases the service life of the sliding guides 40.

Landscapes

  • Engineering & Computer Science (AREA)
  • Structural Engineering (AREA)
  • Life Sciences & Earth Sciences (AREA)
  • Civil Engineering (AREA)
  • General Life Sciences & Earth Sciences (AREA)
  • Mining & Mineral Resources (AREA)
  • Paleontology (AREA)
  • General Engineering & Computer Science (AREA)
  • Soil Sciences (AREA)
  • Environmental & Geological Engineering (AREA)
  • Agronomy & Crop Science (AREA)
  • Placing Or Removing Of Piles Or Sheet Piles, Or Accessories Thereof (AREA)
  • Apparatuses For Generation Of Mechanical Vibrations (AREA)

Description

  • Die Erfindung betrifft einen Rüttler, insbesondere Hochkantrüttler, als Anbaugerät für eine Baumaschine bestehend aus einem Ziehjoch zur geführten Lagerung des Rüttlers an einer Baumaschine und einer innerhalb des Ziehjochs gelagerten Erregerzelle zur Erzeugung der notwendigen Vibrationen für die Rammarbeit.
  • Solche Rüttler können im Bauwesen, insbesondere im Spezialtiefbau, beispielsweise für Rammgeräte verwendet werden, um gerichtete Vibrationen zu erzeugen, mittels derer beispielsweise Spundwände in den Boden gerammt oder Rüttelstopfsäulen in den Boden eingebracht werden sollen. Die Erregerzelle zur Erzeugung der notwendigen Vibrationen ist dazu an bzw. in einem Ziehjoch befestigt, das mit einer passenden Spezialtiefbaumaschine, wie beispielsweise Rammgeräten, oder Seilbaggern, verbunden ist. Oftmals sind die Rüttler höhenverstellbar an einem entsprechenden Schienensystem der Maschine gelagert.
  • EP2 444 553 A1 offenbart eine Vorrichtung zum Rammen und Ziehen von Spundbohlen u.ä. in den bzw. aus dem Boden, umfassend einen Mäkler, an dem eine Erregerzelle geführt ist, die an ein Vorschubsystem gekoppelt ist, über das sie vertikal linear bewegbar ist. Die Erregerzelle ist starr mit wenigstens einem Führungselement verbunden, wobei das wenigstens eine Führungselement ausschließlich an dem Mäkler geführt und elastisch mit dem Vorschubsystem verbunden ist.
  • Eine Vibrationsramme für den Grabenverbau, mit einem eine statische Auflast bildenden Joch, einem Vibrator, am Joch paarweise befestigten Schwingungsdämpfern und fest mit dem Vibrator verbundenen, zwischen den Schwingungsdämpfern jeden Paares angeordneten Halterungen, wobei die Halterungen als Gleitkörper ausgebildet sind, die in Arbeitsrichtung in Führungen beweglich gehalten sind, die ihrerseits fest mit den Schwingungsdämpfern verbunden sind, lehrt DE 85 07 086 U1 .
  • Verfahren und Vorrichtung zum Rammen und Ziehen von Pfählen, die eine zwischen einem Gehäuse und der Vibrationseinheit montierte Vibrations- /Zuglastdämpferanordnung beinhaltet, die Scherschwingungsdämpfer beinhaltet, die zwischen dem Gehäuse und der Vibrationseinheit verbunden sind und in Kombination mit mindestens einem Kompressionsschwingungsdämpfer arbeiten, der so positioniert ist, dass er zwischen ersten und zweiten Kompressionsplatten komprimiert wird, wenn die Zugbelastung ein vorgegebenes Niveau erreicht sind in US 7 080 958 B1 offenbart.
  • Eine Vorrichtung und ein Verfahren zur unterirdischen Lagerung von Untergrund-Leitungen wird in US 2011/008111 A1 offenbart, einschließlich einer Ramme, die konfiguriert ist, um sich mit einem gelenkigen Ausleger eines Baggers oder einer anderen Einheit von Positioniermaschinen zu verbinden, um einen Abschnitt einer gekrümmten Spundwand unter eine Leitung einzuführen. In einer exemplarischen Ausführungsform weist die Ramme einen Kopfabschnitt und einen Körperabschnitt auf. Der Kopfabschnitt der Ramme ist mit dem Bagger verbunden und der Karosserieabschnitt der Ramme ist sowohl im Verhältnis zum Kopfabschnitt der Ramme als auch zum Bagger beweglich, so dass die Ramme einen Abschnitt der gekrümmten Spundwand zur Einführung in unterirdisches Material unter einer unterirdischen Leitung richtig ausrichten kann.
  • Eine mögliche Bauform des gattungsgemäßen Rüttlers ist ein Hochkantvibrator bzw. Hochkantrüttler, der sich durch eine vergleichsweise kompakte Bauform auszeichnet. Der Hochkantrüttler kommt insbesondere an schwer zugänglichen Stellen zum Einsatz.
  • Die Erregerzelle wird üblicherweise schwingungsentkoppelt in einem Ziehjoch gelagert. Die Schwingungsentkopplung wird durch Einsatz geeigneter Lagerkomponenten erreicht, die als Lager bzw. Aufhängepunkte zwischen dem Ziehjoch und der Erregerzelle angebracht sind und einen Großteil der Vibrationen aufnehmen sollen. Die Lagerkomponenten sind üblicherweise verteilt zwischen den beweglichen Bauteilen angeordnet, eine besondere Systematik der Anordnung wurde bisher jedoch nicht untersucht.
  • Da für den regulären Einsatz nur die Vibrationen in Z-Richtung, d.h. in Rammrichtung benötigt werden, sollen davon abweichende Bewegungen möglichst vermieden bzw. ab einem gewissen Punkt verhindert werden. Dazu werden konventionelle Kunststoffgleitführungen verwendet. Um die benötigte Bewegung in Rammrichtung nicht zu behindern, muss stets ein gewisses Spiel und damit eine geringe Bewegungsfreiheit auch in die übrigen Richtungen erhalten bleiben, da ansonsten durch den Kontakt mit der eingesetzten Kunststoffgleitführung die resultierende Reib- und Bremskraft zu hoch wird und Rammenergie verloren geht. Zudem treten an den eingesetzten Gleitlagern deutliche Verschleißerscheinungen über die Jahre auf, was die Haltbarkeit des Rüttlers spürbar beeinträchtigt.
  • Gesucht wird daher nach einer optimierten Lagerung der Erregerzelle innerhalb des Ziehjochs, die die vorstehend genannten Nachteile zu überwinden weiß.
  • Gelöst wird diese Aufgabe durch einen Hochkantrüttler gemäß den Merkmalen des An-spruchs 1. Vorteilhafte Ausgestaltungen des Rüttlers sind Gegenstand der sich an den unabhängigen Anspruch anschließenden abhängigen Ansprüche.
  • Ausgehend von dem gattungsgemäßen Rüttler mit einer innerhalb eines Ziehjochs schwingungsentkoppelt gelagerten Erregerzelle wird erfindungsgemäß vorgeschlagen, zur schwingungsentkoppelten Lagerung der Erregerzelle innerhalb des Ziehjochs eine symmetrische Anordnung von elastischen Lagerkomponenten vorzusehen. Die Lagerkomponenten bilden die Lager- bzw. Aufhängepunkte der Erregerzelle innerhalb des Ziehjochs. Dadurch lassen sich unerwünschte Relativbewegungen der Erregerzelle, d.h. Bewegungen quer zur Rammachse, auf ein Minimum reduzieren.
  • Bekannt aus dem Stand der Technik waren bisher lediglich unsymmetrische Anordnungen von etwaigen Lagerkomponenten. Diese konnten bisher die durch Vibrationen hervorgerufenen Querkräfte nicht ausreichend abfangen, weshalb zusätzlich zur Bewegung in Rammrichtung Bewegungen in andere Richtungen auftraten und zu erhöhtem Verschleiß und unerwünschten Energieverlusten der Vibrationsbewegung führten.
  • Die symmetrische Anordnung sorgt für eine gleichmäßige Lagerung der Erregerzelle innerhalb des Ziehjochs, sodass die unerwünschten Bewegungen weitestgehend vermieden werden. Vorzugsweise kann die Anzahl an Lagerkomponenten für die Vorder- und Rückseite des Rüttlers gleich gewählt sein. Ferner können die die Lagerkomponenten an entsprechenden Stellen an der Vorder- und Rückseite befestigt sein. Die Anordnung ist beispielsweise symmetrisch zur Rammachse bzw. Mittelachse der Erregerzelle bzw. des vibrierenden Teils.
  • Der Rüttler ist idealerweise für den mäklergeführten Betrieb an einer Baumaschine geeignet, wobei das Ziehjoch in diesem Fall über ein oder mehrere Führungselemente verfügt, um den Rüttler höhenverstellbar am Mäkler zu führen. Der Rüttler ist als Hochkantrüttler ausgestaltet und kann für den Hoch- oder Normalfrequenz-betrieb ausgelegt sein.
  • Erfindungsgemäß ist eine Anordnung mit mehreren elastischen Lagerkomponenten am oberen sowie am unteren Bereich der Erregerzelle vorgesehen. Der obere und untere Bereich bezieht sich hierbei auf einen Bereich entlang der Rammachse. Erfindungsgemäß weist die Erregerzelle einen im Wesentlichen rechteckigen Querschnitt auf, wobei jeweils zwei elastische Lagerkomponenten an der Vorder- und Rückseite des oberen und unteren Bereichs der Erregerzelle vorgesehen sind.
  • Die Erfindung schließt nicht aus, dass weitere Lagerkomponenten, beispielsweise im Mittelbereich vorgesehen sind, diese sind jedoch für eine ausreichende Unterdrückung der Relativbewegungen quer zur Rammachse nicht zwingend notwendig.
  • Die elastischen Lagerkomponenten können beispielsweise aus einem Elastomer bestehen bzw. dieses zumindest teilweise umfassen. Geeignet sind jedoch auch andere elastische Komponenten, die eine ausreichende Dämpfung der Relativbewegungen ermöglichen und sich dennoch durch eine hohe Haltbarkeit auszeichnen.
  • Zur Führung der Relativbewegung der Erregerzelle in Rammrichtung sind erfindungsgemäß ein oder mehrerer Gleitführungen vorgesehen, die vorzugsweise zwischen Ziehjoch und Erregerzelle angeordnet sind. Vorstellbar ist sowohl eine starre Befestigung der ein oder mehreren Gleitführungen an der Erregerzelle als auch am Ziehjoch. Die Montage der Gleitführung erfolgt durch Verschraubung, Verklebung, Vernietung, etc. Bevorzugt sind alle Gleitführungen entweder fest mit der Erregerzelle oder alternativ fest mit dem Ziehjoch verbunden, darüber hinaus ist es vorstellbar, einen Teil der Gleitführungen fest mit der Erregerzelle zu verbinden während der verbleibende Teil fest am Ziehjoch montiert ist.
  • Gemäß einer bevorzugten Ausgestaltung sind die ein oder mehreren Gleitführungen an den Seitenflächen zwischen Ziehjoch und Erregerzelle befestigt, beispielsweise sitzt pro Seitenfläche jeweils eine Gleitführung am in Rammrichtung gesehen oberen und unteren Bereich der Seitenfläche. Besonders bevorzugt ist es, wenn zumindest eine, vorzugsweise alle Gleitführungen auf der Mittelebene der vibrierenden Komponente der Erregerzelle liegen. Dadurch wird die Gleitführung auf die Rammebene der bewegten Masse gelegt und es stellt sich eine gleichmäßige Belastung aller Gleitführungen ein.
  • In einer weiterhin bevorzugten Ausführungsform sollen die auftretenden Verschleißerscheinungen auf die ein oder mehreren Gleitführungen reduziert werden. Geschafft wird dies durch eine tribologisch optimierte Geometrie der eingesetzten Gleitführungen bzw. eine tribologisch optimierte Geometrie der Kontaktfläche zwischen den Gleitpartnern der Gleitführung. Durch eine konvexe Kontur der Kontaktfläche wenigstens eines Gleitpartners der Gleitführung kann der Kontakt und die damit verbundene Reibkraft spürbar reduziert werden. Dies wirkt sich nicht nur positiv auf die Energieübertragung aus, sondern verringert ebenfalls kontaktbedingte Verschleißerscheinungen an den Gleitführungen. Zudem lassen sich durch tribologisch optimierte Geometrien der Gleitflächen vorherrschende Kontaktkräfte gleichmäßig auf alle eingesetzten Lager bzw. Führungen verteilen.
  • Als eine zusätzliche Maßnahme kann vorgesehen sein, dass die eingesetzten Gleitführungen zumindest teilweise aus technischer Keramik gefertigt sind. Insbesondere besteht wenigstens ein Gleitpartner wenigstens einer Gleitführung aus technischer Keramik bzw. umfasst diese. Technische Keramik ist ein sehr harter verschleißbeständiger Werkstoff, wodurch der betriebsbedingte Verschleiß der Gleitführungen effektiv verringert und die Haltbarkeit des Rüttlers erhöht werden kann. Der gleitende Teil des Rüttlers, beispielsweise das Ziehjoch, ist in der Regel aus Stahl gefertigt, sodass ein sehr harter und verschleißbeständiger Gleitpartner auf dem Stahlgegenkörper verschleißarm gleitet.
  • Neben dem erfindungsgemäßen Rüttler umfasst die Erfindung ebenfalls eine Baumaschine mit wenigstens einem Rüttler gemäß der vorliegenden Erfindung bzw. einer vorteilhaften Ausgestaltung der Erfindung. Denkbar ist es, dass die Baumaschine wenigstens einen Mäkler aufweist, um den Rüttler in Rammrichtung verschiebbar aufzunehmen. Denkbar ist als Baumaschine ein Seilbagger mit einem entsprechenden Mäkler.
  • Weitere Vorteile und Eigenschaften der Erfindung sollen im Folgenden anhand eines in den Zeichnungen dargestellten Ausführungsbeispiels näher erläutert werden. Es zeigen:
  • Figur 1:
    eine Seitenansicht des erfindungsgemäßen Hochkantrüttlers;
    Figur 2:
    eine Vorderansicht des erfindungsgemäßen Hochkantrüttlers;
    Figur 3:
    eine Schnittdarstellung des Hochkantrüttlers;
    Figur 4:
    eine Querschnittsdarstellung des erfindungsgemäßen Rüttlers quer zur Rammachse und
    Figur 5:
    eine skizzierte Darstellung der erfindungsgemäßen Geometrie einer eingesetzten Gleitführung.
  • Figur 1 zeigt eine Seitendarstellung des erfindungsgemäßen Hochkantrüttlers, wie er insbesondere im Tiefbau zur Einbringung von Rüttelstopfsäulen oder Spundwänden Verwendung findet. Der Rüttler kann je nach Anwendung für die normalfrequente oder hochfrequente Vibration zum Einvibrieren (Einrütteln) der Stahlprofile geeignet sein.
  • Die Darstellung zeigt das Ziehjoch 10, an dessen Rückseite eine Führungsschiene 11 ausgebildet ist. Mithilfe der Führungsschiene 11 lässt sich das Ziehjoch 10 vertikal verschieblich an einem Mäkler einer geeigneten Baumaschine als Anbauwerkzeug anbringen. Am unteren Ende des Ziehjochs 10 ragt die Erregerzelle 20 hervor. Nicht dargestellt ist die üblicherweise an der herausragenden Unterseite der Erregerzelle 20 angebrachte Rüttlerklemmzange zur klemmenden Aufnahme eines einzuvibrierenden Stahlprofils. Auf der Oberseite 12 des Ziehjochs 10 bzw. der Erregerzelle 20 befinden sich Anschlussstellen, um eine hydraulische Energieversorgung der Erregerzelle 20 durch das Trägergerät bereitzustellen.
  • Im Innenraum der kastenförmigen Erregerzelle 20 sind ein oder mehrere, vorzugsweise parallel zueinander ausgerichtete Erregerzellenwellen montiert, die jeweils drehbar gelagert sind und exzentrisch angebrachte Unwuchtmassen umfassen, die durch die Rotation der Erregerwellen die gewünschte Vibrationsbewegung erzeugen. Für die Rotationsbewegung ist ein integrierter Antrieb, vorzugsweise hydraulischer Art, vorgesehen. Wünschenswert ist in diesem Zusammenhang insbesondere eine Vibration in Richtung der Rammachse, die beispielsweise in den Schnittdarstellungen der Figuren 3,4 mit dem Bezugszeichen A gekennzeichnet ist.
  • Die Rammachse A erstreckt sich in der Montage- und Betriebsposition des Rüttlers parallel zum Mäkler. Die unerwünschten Querbeschleunigungen und Querkräfte quer zur Rammachse sollen dadurch reduziert werden, indem die Erregerzelle 20 innerhalb des Ziehjochs 10 über eine symmetrische Anordnung von Elastomerlagerungen 30 gelagert wird. Diese Lagerungen 30 dienen als Lagerstellen und Anhängepunkte der Erregerzelle 20 innerhalb des Ziehjochs 10. Wie dies der Schnittdarstellung der Figur 3 zu entnehmen ist, sind diese quaderförmigen Elastomerlager 30 symmetrisch zur Rammachse A angeordnet, wodurch die unerwünschten Querkräfte und Querbewegungen optimal gedämpft werden können. Es entsteht somit eine nahezu optimale Schwingungsentkopplung der Erregerzelle 20 innerhalb des Ziehjochs 10.
  • Unter symmetrischer Lagerung der Erregerzelle 20 ist hier explizit die doppelsymmetrische Aufhängung der Erregerzelle 20 im Ziehjoch 10 gemeint. Das bedeutet, die Erregerzelle 20 ist symmetrisch bezogen auf zwei Schnittebenen entlang der Rammachse schwingungsdämpfend gelagert. Dabei ist eine dieser Schnittebenen die Rammebene und die andere Schnittebene ist eine um 90 °- Grad zur Rammebene um die Rammachse gedrehte Ebene.
  • Außerdem sieht das Lagerungskonzept eine Lagerung der Erregerzelle 20 unten und oben am Ziehjoch 10 vor. Diese spezielle Anordnung der Lagerung dient zur Reduzierung der Schwingungen, die nicht entlang der Rammachse verlaufen. Dies ist nötig, um eine möglichst einachsige Bewegung der Erregerzelle 20 entlang der Rammachse im Ziehjoch 10 zu erreichen.
  • Die Konstruktion der Figur 3 zeigt hierbei im Detail, dass sowohl im oberen als auch im unteren Bereich der Erregerzelle 20 jeweils vier Elastomerlagerungen 30 vorgesehen sind. Zwei davon sind auf der Vorderseite 13 und zwei gegenüberliegend auf der Rückseite 14 des Rüttlers vorgesehen. Deutlich wird dies auch aus der Schnittdarstellung der Figur 4. Die Erregerzelle 20 wird sowohl in ihrem oberen als auch in ihrem unteren Bereich gleichmäßig und symmetrisch gegenüber dem Ziehjoch 10 gelagert.
  • Für die Vibrationsbewegung der Erregerzelle 20 in Richtung der Rammachse A stehen mehrere Gleitführungen 40 zur Verfügung, wobei auf jeder Seitenfläche der Erregerzelle 20 jeweils zwei Gleitführungen 40 fest mit der Erregerzelle 20 verbunden sind. Zudem liegen die Gleitführungen 40 auf der Mittelebene bzw. Rammebene. Da das Ziehjoch 10 üblicherweise ein Stahlkonstrukt ist und die Gleitführungen auf dieser Stahlkonstruktion entlanggleiten, muss ein sehr harter und verschleißbeständiger Werkstoff für die Gleitführungen 40 gewählt werden. Aus diesem Grund sind die Gleitführungen 40 aus technischer Keramik gefertigt.
  • Weiterhin werden die Gleitführungen 40 mit einer tribologisch optimierten Geometrie versehen, um dadurch die Kontaktfläche zwischen Gleitführung 40 und dem entlanggleitenden Ziehjoch 10 auf ein Minimum zu reduzieren. Beispielhaft wird dazu eine Oberflächenkontur der Gleitführung 40 mit der in Figur 5b dargestellten konvexen Oberfläche 41 eingesetzt. Die Oberfläche 41 stellt den Gleitpartner der Führung dar, der entlang dem Ziehjoch 10 gleitet. Figur 5a zeigt eine Draufsicht auf die an der Erregerzelle 20 montierte Gleitführung 40, während Figur 5b eine Schnittdarstellung durch die Gleitführung entlang der Schnittachse B-B wiedergibt. Die feste Montage an der Erregerzelle 20 erfolgt mittels Verschraubung.
  • Zusammenfassend liegt der Kerngedanke der Erfindung in der Reduzierung der auftretenden Relativbewegungen der Erregerzelle 20 in Querrichtung zur Rammachse A mittels symmetrischer Anbringung der Elastomerlagerungen 30. Dadurch lassen sich Querbeschleunigungen und Querkräfte reduzieren, was die Belastung auf die Gleitführung 40 reduziert und die dadurch gesparte Energie für die reguläre, senkrechte Bewegung bereitstellt. In einem zweiten Schritt wird durch eine optimierte geometrische Form 41 der Gleitführung 40 die Kontaktfläche zwischen den zueinander relativ bewegten Körpern 10, 20 reduziert, was die auftretende Reibung und die dadurch dissipierte Energie senkt. Um die auftretenden Kontaktkräfte in der Gleitführung 40 zu reduzieren und um sie gleichmäßig auf alle vier Gleitführungen 40 zu verteilen, werden die Gleitführungen 40 auf die Rammebene gelegt. Als letzte Maßnahme soll durch die Verwendung von technischer Keramik für einen Gleitpartner der Gleitführung 40 der Verschleiß gesenkt werden. Dadurch lässt sich die Standzeit der Gleitführungen 40 deutlich erhöhen.

Claims (8)

  1. Hochkantrüttler, welcher vertikal verschieblich an einem Mäkler einer Baumaschine anbringbar ist, umfassend ein Ziehjoch (10) zur Lagerung des Hochkantrüttlers an dem Mäkler der Baumaschine und eine am Ziehjoch (10) gelagerte Erregerzelle (20) zur Erzeugung der Vibrationen, wobei zur schwingungsentkoppelten Lagerung der Erregerzelle (20) am Ziehjoch (10) eine zur Rammachse (A) der Erregerzelle (22) symmetrische Anordnung von elastischen Lagerkomponenten (30) vorgesehen ist, um Relativbewegungen der Erregerzelle (20) quer zur Rammachse (A) zu verringern, wobei die Erregerzelle (20) an ihrem in Rammrichtung (A) gesehen unteren und oberen Ende durch mindestens eine Lagerkomponente (30) gegenüber dem Ziehjoch (10) gelagert ist,
    dadurch gekennzeichnet,
    dass wenigstens eine Gleitführung (40) zur gleitenden Führung der Erregerzelle (20) in Vibrations- bzw. Rammrichtung (A) vorgesehen ist und dass die Erregerzelle (20) einen im Wesentlichen rechteckigen Querschnitt aufweist und jeweils zwei elastische Lagerkomponenten (30) an der Vorder- und Rückseite des oberen und unteren Bereichs der Erregerzelle (20) vorgesehen sind, welche die Lagerpunkte der Erregerzelle (20) innerhalb des Ziehjochs (10) bilden.
  2. Hochkantrüttler nach Anspruch 1, dadurch gekennzeichnet, dass die elastischen Lagerkomponenten (30) aus einem Elastomer besteht bzw. ein Elastomer umfasst.
  3. Hochkantrüttler nach einem der vorhergehenden Ansprüche, dadurch gekennzeichnet, dass jeweils zwei Gleitführungen (40) pro Seitenfläche des Hochkantrüttlers, insbesondere jeweils eine Gleitführung (40) am oberen und unteren Bereich zwischen Erregerzelle (20) und Ziehjoch (10) montiert ist.
  4. Hochkantrüttler nach einem der vorhergehenden Ansprüche, dadurch gekennzeichnet, dass ein oder mehrere, bevorzugt alle Gleitführungen (40) auf der Mittelebene der bewegten Masse der Erregerzelle (20) liegen oder symmetrisch zur Mittelebene angeordnet sind.
  5. Hochkantrüttler nach einem der vorhergehenden Ansprüche, dadurch gekennzeichnet, dass die ein oder mehreren Gleitführungen (40) eine tribologisch optimierte Geometrie aufweisen.
  6. Hochkantrüttler nach Anspruch 5, dadurch gekennzeichnet, dass die ein oder mehreren Gleitführungen (40) wenigstens eine konvexe Kontaktfläche umfassen, die mit dem geführten Teil in Kontakt steht, d.h. mit dem Ziehjoch (10) und/oder der Erregerzelle (20).
  7. Hochkantrüttler nach einem der vorhergehenden Ansprüche, dadurch gekennzeichnet, dass wenigstens ein Gleitpartner der ein oder mehreren Gleitführungen (40) zumindest teilweise aus technischer Keramik besteht oder diese umfasst.
  8. Baumaschine mit einem Hochkantrüttler gemäß einem der vorhergehenden Ansprüche.
EP16159103.7A 2015-03-10 2016-03-08 Hochkantrüttler und baumaschine mit einem hochkantrüttler Active EP3067470B2 (de)

Applications Claiming Priority (1)

Application Number Priority Date Filing Date Title
DE202015001862.9U DE202015001862U1 (de) 2015-03-10 2015-03-10 Rüttler als Anbaugerät für eine Baumaschine

Publications (3)

Publication Number Publication Date
EP3067470A1 EP3067470A1 (de) 2016-09-14
EP3067470B1 EP3067470B1 (de) 2020-12-09
EP3067470B2 true EP3067470B2 (de) 2024-11-27

Family

ID=55532147

Family Applications (1)

Application Number Title Priority Date Filing Date
EP16159103.7A Active EP3067470B2 (de) 2015-03-10 2016-03-08 Hochkantrüttler und baumaschine mit einem hochkantrüttler

Country Status (2)

Country Link
EP (1) EP3067470B2 (de)
DE (1) DE202015001862U1 (de)

Families Citing this family (3)

* Cited by examiner, † Cited by third party
Publication number Priority date Publication date Assignee Title
CN113323039A (zh) * 2021-06-15 2021-08-31 温州超泽天硕智能科技有限公司 一种自平衡桩基检测装置
KR20230002160A (ko) * 2022-12-09 2023-01-05 (주) 대동이엔지 정밀 수직시공 시스템을 가진 파일 드라이버
EP4675047A1 (de) * 2024-07-03 2026-01-07 ABI Anlagentechnik-Baumaschinen-Industriebedarf Maschinenfabrik und Vertriebsgesellschaft mbH Schwingungserreger für eine vibrationsramme

Family Cites Families (6)

* Cited by examiner, † Cited by third party
Publication number Priority date Publication date Assignee Title
FR2527667A1 (fr) * 1982-05-27 1983-12-02 Procedes Tech Const Dispositif amovible de traction supplementaire pour appareil de foncage et/ou arrachage par vibration
DE8507086U1 (de) * 1985-03-12 1985-04-25 Krings International GmbH & Co KG, 5138 Heinsberg Vibrationsramme für den Grabenverbau
US7080958B1 (en) * 2005-04-27 2006-07-25 International Construction Equipment, Inc. Vibratory pile driver/extractor with two-stage vibration/tension load suppressor
US8342778B2 (en) * 2009-04-16 2013-01-01 Hercules Machinery Corporation Method and apparatus for facilitating the subterranean support of underground conduits having a fixed insertion axis
US8096733B2 (en) * 2009-07-10 2012-01-17 Hercules Machinery Corporation Apparatus for inserting sheet pile having an independently adjustable insertion axis and method for using the same
EP2444553B1 (de) * 2010-10-20 2012-12-05 ABI Anlagentechnik-Baumaschinen-Industriebedarf Maschinenfabrik und Vertriebsgesellschaft mbH Ramm- und Ziehvorrichtung

Non-Patent Citations (1)

* Cited by examiner, † Cited by third party
Title
Vorbenutzung "Speedram 7500/1"

Also Published As

Publication number Publication date
EP3067470A1 (de) 2016-09-14
DE202015001862U1 (de) 2016-06-13
EP3067470B1 (de) 2020-12-09

Similar Documents

Publication Publication Date Title
EP2741068B1 (de) Prüfstand für ein Rotorblatt, Anordnung mit einem derartigen Prüfstand und Verfahren zum Betreiben eines derartigen Prüfstands
EP0116164B1 (de) Vibrationsramme
DE3433797A1 (de) Elastisches lager mit hydraulischer daempfung
WO2011127611A2 (de) Anordnung zur bereitstellung einer pulsierenden druckkraft
EP3067470B2 (de) Hochkantrüttler und baumaschine mit einem hochkantrüttler
DE10355172B3 (de) Verdichtervorrichtung eines Baggers
DE102012025649A1 (de) Prüfstand für ein Rotorblatt, Anordnung mit einem derartigen Prüfstand und Verfahren zum Betreiben eines derartigen Prüfstands
DE10057295A1 (de) Vibrationen oder Schwingungen dämpfender Körper
DE102004042369A1 (de) Bodenbearbeitungsgerät und Verfahren zum Einbringen eines Arbeitselementes in den Boden
EP1936037B1 (de) Anbauverdichter
DE102016105950A1 (de) Bodenverdichtungsvorrichtung mit entkoppeltem Führungshandgriff
EP4279659A1 (de) Schlitzwandgerät und verfahren zum erstellen eines schlitzes im boden
DE102007023963B4 (de) Vorrichtung für einen Schwingungserreger
DE102012220163A1 (de) Schwenkeinrichtung zum Aufnehmen eines Prüfstandes
EP2530205B1 (de) Verfahren zum senkrechten Verlegen eines Rohres und Schlagvorrichtung dazu
DE102005058485A1 (de) Vibrationsplatte mit Stabilisationseinrichtung
DE102014016400A1 (de) Vibrationsrammanordnung mit integriertem Antriebsaggregat
DE102005024367B4 (de) Seismische Quelle und Verfahren zur Erzeugung seismischer Scherwellen
EP4098803A1 (de) Rüttelstopflanze und verfahren zum rüsten eines mäklers mit einer rüttelstopflanze
EP4467723B1 (de) Einbringvorrichtung zum einbringen eines gründungselementes
EP3237687B1 (de) Schwingungsdämpfer für ein kupplungsgelenk eines tiefenrüttlers
DE69201124T2 (de) Elastische Aufhängungsvorrichtung mit verschiedenen Steifheiten zur Lagerung eines Geräts.
DE10115107A1 (de) Tiefenrüttler
DE102004014722B3 (de) Seismische Quelle und Verfahren zur Erzeugung seismischer Schwingungen
DE102021107024A1 (de) Lageranordnung

Legal Events

Date Code Title Description
PUAI Public reference made under article 153(3) epc to a published international application that has entered the european phase

Free format text: ORIGINAL CODE: 0009012

17P Request for examination filed

Effective date: 20160718

AK Designated contracting states

Kind code of ref document: A1

Designated state(s): AL AT BE BG CH CY CZ DE DK EE ES FI FR GB GR HR HU IE IS IT LI LT LU LV MC MK MT NL NO PL PT RO RS SE SI SK SM TR

AX Request for extension of the european patent

Extension state: BA ME

STAA Information on the status of an ep patent application or granted ep patent

Free format text: STATUS: EXAMINATION IS IN PROGRESS

17Q First examination report despatched

Effective date: 20180727

REG Reference to a national code

Ref country code: DE

Ref legal event code: R079

Ref document number: 502016011892

Country of ref document: DE

Free format text: PREVIOUS MAIN CLASS: E02D0007180000

Ipc: E02D0003074000

GRAP Despatch of communication of intention to grant a patent

Free format text: ORIGINAL CODE: EPIDOSNIGR1

STAA Information on the status of an ep patent application or granted ep patent

Free format text: STATUS: GRANT OF PATENT IS INTENDED

RIC1 Information provided on ipc code assigned before grant

Ipc: E02D 3/074 20060101AFI20200615BHEP

INTG Intention to grant announced

Effective date: 20200703

GRAS Grant fee paid

Free format text: ORIGINAL CODE: EPIDOSNIGR3

GRAA (expected) grant

Free format text: ORIGINAL CODE: 0009210

STAA Information on the status of an ep patent application or granted ep patent

Free format text: STATUS: THE PATENT HAS BEEN GRANTED

AK Designated contracting states

Kind code of ref document: B1

Designated state(s): AL AT BE BG CH CY CZ DE DK EE ES FI FR GB GR HR HU IE IS IT LI LT LU LV MC MK MT NL NO PL PT RO RS SE SI SK SM TR

REG Reference to a national code

Ref country code: GB

Ref legal event code: FG4D

Free format text: NOT ENGLISH

REG Reference to a national code

Ref country code: AT

Ref legal event code: REF

Ref document number: 1343583

Country of ref document: AT

Kind code of ref document: T

Effective date: 20201215

Ref country code: CH

Ref legal event code: EP

REG Reference to a national code

Ref country code: DE

Ref legal event code: R096

Ref document number: 502016011892

Country of ref document: DE

REG Reference to a national code

Ref country code: IE

Ref legal event code: FG4D

Free format text: LANGUAGE OF EP DOCUMENT: GERMAN

REG Reference to a national code

Ref country code: NL

Ref legal event code: FP

PG25 Lapsed in a contracting state [announced via postgrant information from national office to epo]

Ref country code: RS

Free format text: LAPSE BECAUSE OF FAILURE TO SUBMIT A TRANSLATION OF THE DESCRIPTION OR TO PAY THE FEE WITHIN THE PRESCRIBED TIME-LIMIT

Effective date: 20201209

Ref country code: FI

Free format text: LAPSE BECAUSE OF FAILURE TO SUBMIT A TRANSLATION OF THE DESCRIPTION OR TO PAY THE FEE WITHIN THE PRESCRIBED TIME-LIMIT

Effective date: 20201209

Ref country code: NO

Free format text: LAPSE BECAUSE OF FAILURE TO SUBMIT A TRANSLATION OF THE DESCRIPTION OR TO PAY THE FEE WITHIN THE PRESCRIBED TIME-LIMIT

Effective date: 20210309

Ref country code: GR

Free format text: LAPSE BECAUSE OF FAILURE TO SUBMIT A TRANSLATION OF THE DESCRIPTION OR TO PAY THE FEE WITHIN THE PRESCRIBED TIME-LIMIT

Effective date: 20210310

PG25 Lapsed in a contracting state [announced via postgrant information from national office to epo]

Ref country code: BG

Free format text: LAPSE BECAUSE OF FAILURE TO SUBMIT A TRANSLATION OF THE DESCRIPTION OR TO PAY THE FEE WITHIN THE PRESCRIBED TIME-LIMIT

Effective date: 20210309

Ref country code: SE

Free format text: LAPSE BECAUSE OF FAILURE TO SUBMIT A TRANSLATION OF THE DESCRIPTION OR TO PAY THE FEE WITHIN THE PRESCRIBED TIME-LIMIT

Effective date: 20201209

Ref country code: LV

Free format text: LAPSE BECAUSE OF FAILURE TO SUBMIT A TRANSLATION OF THE DESCRIPTION OR TO PAY THE FEE WITHIN THE PRESCRIBED TIME-LIMIT

Effective date: 20201209

PG25 Lapsed in a contracting state [announced via postgrant information from national office to epo]

Ref country code: HR

Free format text: LAPSE BECAUSE OF FAILURE TO SUBMIT A TRANSLATION OF THE DESCRIPTION OR TO PAY THE FEE WITHIN THE PRESCRIBED TIME-LIMIT

Effective date: 20201209

REG Reference to a national code

Ref country code: LT

Ref legal event code: MG9D

PG25 Lapsed in a contracting state [announced via postgrant information from national office to epo]

Ref country code: PT

Free format text: LAPSE BECAUSE OF FAILURE TO SUBMIT A TRANSLATION OF THE DESCRIPTION OR TO PAY THE FEE WITHIN THE PRESCRIBED TIME-LIMIT

Effective date: 20210409

Ref country code: SK

Free format text: LAPSE BECAUSE OF FAILURE TO SUBMIT A TRANSLATION OF THE DESCRIPTION OR TO PAY THE FEE WITHIN THE PRESCRIBED TIME-LIMIT

Effective date: 20201209

Ref country code: RO

Free format text: LAPSE BECAUSE OF FAILURE TO SUBMIT A TRANSLATION OF THE DESCRIPTION OR TO PAY THE FEE WITHIN THE PRESCRIBED TIME-LIMIT

Effective date: 20201209

Ref country code: CZ

Free format text: LAPSE BECAUSE OF FAILURE TO SUBMIT A TRANSLATION OF THE DESCRIPTION OR TO PAY THE FEE WITHIN THE PRESCRIBED TIME-LIMIT

Effective date: 20201209

Ref country code: EE

Free format text: LAPSE BECAUSE OF FAILURE TO SUBMIT A TRANSLATION OF THE DESCRIPTION OR TO PAY THE FEE WITHIN THE PRESCRIBED TIME-LIMIT

Effective date: 20201209

Ref country code: SM

Free format text: LAPSE BECAUSE OF FAILURE TO SUBMIT A TRANSLATION OF THE DESCRIPTION OR TO PAY THE FEE WITHIN THE PRESCRIBED TIME-LIMIT

Effective date: 20201209

Ref country code: LT

Free format text: LAPSE BECAUSE OF FAILURE TO SUBMIT A TRANSLATION OF THE DESCRIPTION OR TO PAY THE FEE WITHIN THE PRESCRIBED TIME-LIMIT

Effective date: 20201209

REG Reference to a national code

Ref country code: DE

Ref legal event code: R026

Ref document number: 502016011892

Country of ref document: DE

PLBI Opposition filed

Free format text: ORIGINAL CODE: 0009260

PG25 Lapsed in a contracting state [announced via postgrant information from national office to epo]

Ref country code: PL

Free format text: LAPSE BECAUSE OF FAILURE TO SUBMIT A TRANSLATION OF THE DESCRIPTION OR TO PAY THE FEE WITHIN THE PRESCRIBED TIME-LIMIT

Effective date: 20201209

26 Opposition filed

Opponent name: ABI ANLAGENTECHNIK-BAUMASCHINEN-INDUSTRIEBEDARF MASCHINENFABRIK UND VERTRIEBSGESELLSCHAFT MBH

Effective date: 20210730

PLAX Notice of opposition and request to file observation + time limit sent

Free format text: ORIGINAL CODE: EPIDOSNOBS2

PG25 Lapsed in a contracting state [announced via postgrant information from national office to epo]

Ref country code: IS

Free format text: LAPSE BECAUSE OF FAILURE TO SUBMIT A TRANSLATION OF THE DESCRIPTION OR TO PAY THE FEE WITHIN THE PRESCRIBED TIME-LIMIT

Effective date: 20210409

PG25 Lapsed in a contracting state [announced via postgrant information from national office to epo]

Ref country code: MC

Free format text: LAPSE BECAUSE OF FAILURE TO SUBMIT A TRANSLATION OF THE DESCRIPTION OR TO PAY THE FEE WITHIN THE PRESCRIBED TIME-LIMIT

Effective date: 20201209

Ref country code: AL

Free format text: LAPSE BECAUSE OF FAILURE TO SUBMIT A TRANSLATION OF THE DESCRIPTION OR TO PAY THE FEE WITHIN THE PRESCRIBED TIME-LIMIT

Effective date: 20201209

Ref country code: IT

Free format text: LAPSE BECAUSE OF FAILURE TO SUBMIT A TRANSLATION OF THE DESCRIPTION OR TO PAY THE FEE WITHIN THE PRESCRIBED TIME-LIMIT

Effective date: 20201209

REG Reference to a national code

Ref country code: CH

Ref legal event code: PL

GBPC Gb: european patent ceased through non-payment of renewal fee

Effective date: 20210309

PG25 Lapsed in a contracting state [announced via postgrant information from national office to epo]

Ref country code: ES

Free format text: LAPSE BECAUSE OF FAILURE TO SUBMIT A TRANSLATION OF THE DESCRIPTION OR TO PAY THE FEE WITHIN THE PRESCRIBED TIME-LIMIT

Effective date: 20201209

Ref country code: DK

Free format text: LAPSE BECAUSE OF FAILURE TO SUBMIT A TRANSLATION OF THE DESCRIPTION OR TO PAY THE FEE WITHIN THE PRESCRIBED TIME-LIMIT

Effective date: 20201209

Ref country code: SI

Free format text: LAPSE BECAUSE OF FAILURE TO SUBMIT A TRANSLATION OF THE DESCRIPTION OR TO PAY THE FEE WITHIN THE PRESCRIBED TIME-LIMIT

Effective date: 20201209

REG Reference to a national code

Ref country code: BE

Ref legal event code: MM

Effective date: 20210331

PLBB Reply of patent proprietor to notice(s) of opposition received

Free format text: ORIGINAL CODE: EPIDOSNOBS3

PG25 Lapsed in a contracting state [announced via postgrant information from national office to epo]

Ref country code: IE

Free format text: LAPSE BECAUSE OF NON-PAYMENT OF DUE FEES

Effective date: 20210308

Ref country code: GB

Free format text: LAPSE BECAUSE OF NON-PAYMENT OF DUE FEES

Effective date: 20210309

Ref country code: LU

Free format text: LAPSE BECAUSE OF NON-PAYMENT OF DUE FEES

Effective date: 20210308

Ref country code: LI

Free format text: LAPSE BECAUSE OF NON-PAYMENT OF DUE FEES

Effective date: 20210331

Ref country code: CH

Free format text: LAPSE BECAUSE OF NON-PAYMENT OF DUE FEES

Effective date: 20210331

PG25 Lapsed in a contracting state [announced via postgrant information from national office to epo]

Ref country code: IS

Free format text: LAPSE BECAUSE OF FAILURE TO SUBMIT A TRANSLATION OF THE DESCRIPTION OR TO PAY THE FEE WITHIN THE PRESCRIBED TIME-LIMIT

Effective date: 20210409

PG25 Lapsed in a contracting state [announced via postgrant information from national office to epo]

Ref country code: BE

Free format text: LAPSE BECAUSE OF NON-PAYMENT OF DUE FEES

Effective date: 20210331

PG25 Lapsed in a contracting state [announced via postgrant information from national office to epo]

Ref country code: HU

Free format text: LAPSE BECAUSE OF FAILURE TO SUBMIT A TRANSLATION OF THE DESCRIPTION OR TO PAY THE FEE WITHIN THE PRESCRIBED TIME-LIMIT; INVALID AB INITIO

Effective date: 20160308

PG25 Lapsed in a contracting state [announced via postgrant information from national office to epo]

Ref country code: CY

Free format text: LAPSE BECAUSE OF FAILURE TO SUBMIT A TRANSLATION OF THE DESCRIPTION OR TO PAY THE FEE WITHIN THE PRESCRIBED TIME-LIMIT

Effective date: 20201209

P01 Opt-out of the competence of the unified patent court (upc) registered

Effective date: 20230630

PG25 Lapsed in a contracting state [announced via postgrant information from national office to epo]

Ref country code: MK

Free format text: LAPSE BECAUSE OF FAILURE TO SUBMIT A TRANSLATION OF THE DESCRIPTION OR TO PAY THE FEE WITHIN THE PRESCRIBED TIME-LIMIT

Effective date: 20201209

PG25 Lapsed in a contracting state [announced via postgrant information from national office to epo]

Ref country code: TR

Free format text: LAPSE BECAUSE OF FAILURE TO SUBMIT A TRANSLATION OF THE DESCRIPTION OR TO PAY THE FEE WITHIN THE PRESCRIBED TIME-LIMIT

Effective date: 20201209

REG Reference to a national code

Ref country code: CH

Ref legal event code: PK

Free format text: TITEL

PG25 Lapsed in a contracting state [announced via postgrant information from national office to epo]

Ref country code: MT

Free format text: LAPSE BECAUSE OF FAILURE TO SUBMIT A TRANSLATION OF THE DESCRIPTION OR TO PAY THE FEE WITHIN THE PRESCRIBED TIME-LIMIT

Effective date: 20201209

PUAH Patent maintained in amended form

Free format text: ORIGINAL CODE: 0009272

STAA Information on the status of an ep patent application or granted ep patent

Free format text: STATUS: PATENT MAINTAINED AS AMENDED

27A Patent maintained in amended form

Effective date: 20241127

AK Designated contracting states

Kind code of ref document: B2

Designated state(s): AL AT BE BG CH CY CZ DE DK EE ES FI FR GB GR HR HU IE IS IT LI LT LU LV MC MK MT NL NO PL PT RO RS SE SI SK SM TR

REG Reference to a national code

Ref country code: DE

Ref legal event code: R102

Ref document number: 502016011892

Country of ref document: DE

REG Reference to a national code

Ref country code: NL

Ref legal event code: FP

PGFP Annual fee paid to national office [announced via postgrant information from national office to epo]

Ref country code: DE

Payment date: 20250331

Year of fee payment: 10

PGFP Annual fee paid to national office [announced via postgrant information from national office to epo]

Ref country code: NL

Payment date: 20250326

Year of fee payment: 10

PGFP Annual fee paid to national office [announced via postgrant information from national office to epo]

Ref country code: AT

Payment date: 20250321

Year of fee payment: 10

PGFP Annual fee paid to national office [announced via postgrant information from national office to epo]

Ref country code: FR

Payment date: 20250326

Year of fee payment: 10