EP2951809B2 - Gargerät mit transparentem display - Google Patents

Gargerät mit transparentem display Download PDF

Info

Publication number
EP2951809B2
EP2951809B2 EP14710819.5A EP14710819A EP2951809B2 EP 2951809 B2 EP2951809 B2 EP 2951809B2 EP 14710819 A EP14710819 A EP 14710819A EP 2951809 B2 EP2951809 B2 EP 2951809B2
Authority
EP
European Patent Office
Prior art keywords
cooking
display
cooking appliance
appliance according
transparent
Prior art date
Legal status (The legal status is an assumption and is not a legal conclusion. Google has not performed a legal analysis and makes no representation as to the accuracy of the status listed.)
Active
Application number
EP14710819.5A
Other languages
English (en)
French (fr)
Other versions
EP2951809A1 (de
EP2951809B1 (de
Inventor
Dirk Engelhardt
Kurt Rudolf JAKOBI
Torsten Müller
Dirk Ruhe
Oliver WOYDT
Current Assignee (The listed assignees may be inaccurate. Google has not performed a legal analysis and makes no representation or warranty as to the accuracy of the list.)
MKN Maschinenfabrik Kurt Neubauer GmbH and Co KG
Original Assignee
MKN Maschinenfabrik Kurt Neubauer GmbH and Co KG
Priority date (The priority date is an assumption and is not a legal conclusion. Google has not performed a legal analysis and makes no representation as to the accuracy of the date listed.)
Filing date
Publication date
Family has litigation
First worldwide family litigation filed litigation Critical https://patents.darts-ip.com/?family=50289629&utm_source=google_patent&utm_medium=platform_link&utm_campaign=public_patent_search&patent=EP2951809(B2) "Global patent litigation dataset” by Darts-ip is licensed under a Creative Commons Attribution 4.0 International License.
Application filed by MKN Maschinenfabrik Kurt Neubauer GmbH and Co KG filed Critical MKN Maschinenfabrik Kurt Neubauer GmbH and Co KG
Priority to EP14710819.5A priority Critical patent/EP2951809B2/de
Publication of EP2951809A1 publication Critical patent/EP2951809A1/de
Application granted granted Critical
Publication of EP2951809B1 publication Critical patent/EP2951809B1/de
Publication of EP2951809B2 publication Critical patent/EP2951809B2/de
Active legal-status Critical Current
Anticipated expiration legal-status Critical

Links

Images

Classifications

    • FMECHANICAL ENGINEERING; LIGHTING; HEATING; WEAPONS; BLASTING
    • F24HEATING; RANGES; VENTILATING
    • F24CDOMESTIC STOVES OR RANGES ; DETAILS OF DOMESTIC STOVES OR RANGES, OF GENERAL APPLICATION
    • F24C7/00Stoves or ranges heated by electric energy
    • F24C7/08Arrangement or mounting of control or safety devices
    • GPHYSICS
    • G09EDUCATION; CRYPTOGRAPHY; DISPLAY; ADVERTISING; SEALS
    • G09FDISPLAYING; ADVERTISING; SIGNS; LABELS OR NAME-PLATES; SEALS
    • G09F9/00Indicating arrangements for variable information in which the information is built-up on a support by selection or combination of individual elements
    • G09F9/30Indicating arrangements for variable information in which the information is built-up on a support by selection or combination of individual elements in which the desired character or characters are formed by combining individual elements
    • G09F9/33Indicating arrangements for variable information in which the information is built-up on a support by selection or combination of individual elements in which the desired character or characters are formed by combining individual elements being semiconductor devices, e.g. diodes
    • GPHYSICS
    • G09EDUCATION; CRYPTOGRAPHY; DISPLAY; ADVERTISING; SEALS
    • G09FDISPLAYING; ADVERTISING; SIGNS; LABELS OR NAME-PLATES; SEALS
    • G09F23/00Advertising on or in specific articles, e.g. ashtrays, letter-boxes
    • G09F23/0058Advertising on or in specific articles, e.g. ashtrays, letter-boxes on electrical household appliances, e.g. on a dishwasher, a washing machine or a refrigerator
    • GPHYSICS
    • G09EDUCATION; CRYPTOGRAPHY; DISPLAY; ADVERTISING; SEALS
    • G09FDISPLAYING; ADVERTISING; SIGNS; LABELS OR NAME-PLATES; SEALS
    • G09F9/00Indicating arrangements for variable information in which the information is built-up on a support by selection or combination of individual elements
    • G09F9/30Indicating arrangements for variable information in which the information is built-up on a support by selection or combination of individual elements in which the desired character or characters are formed by combining individual elements
    • G09F9/35Indicating arrangements for variable information in which the information is built-up on a support by selection or combination of individual elements in which the desired character or characters are formed by combining individual elements being liquid crystals

Definitions

  • the present invention relates to a cooking appliance with a transparent display, according to the preamble of claim 1.
  • a cooking appliance in particular a steamer or combination steamer, has a front side which has a cooking chamber door for opening and closing the cooking chamber behind it and at least one wider side post in which the operating elements, such as rotary knobs, but also screens and touchscreens, are housed. Due to the limited front surface available in the side post, the flat display and control elements such as screens or touchscreens can only have a limited area of their own.
  • a cooking appliance with a housing, a cooking chamber door for opening and closing a cooking chamber of the cooking appliance, and a viewing opening in the cooking chamber door is also known, with part of the viewing opening being able to assume the states transparent and opaque, with one part of the viewing opening has a transparent display that is able to display information.
  • the present invention is therefore based on the object of proposing a cooking appliance which overcomes the disadvantages of the prior art and creates a display on which information can be displayed unhindered and in such a size that it can be easily recognized from a greater distance from the cooking appliance. There is still the possibility of being able to see the inside of the cooking appliance from the outside if necessary.
  • the cooking appliance is characterized in that at least part of the viewing opening has a transparent display which is able to display information.
  • additional information can advantageously be displayed by the larger display and it is possible to create an improved spatial assignment of the information to the respective cooking space areas.
  • the cooking appliance is further characterized by the fact that the transparent display shows the different insertion levels of the cooking space at least partially covered and suitable for displaying the information on the different insertion levels spatially assigned to them.
  • At least part of the viewing opening can assume the state of semi-transparent, i.e. the information shown on the display appears in front of the transparent viewing surface, comparable to an on-screen display, whereby the view into the cooking chamber is correspondingly slightly restricted.
  • the viewing opening whose transparency can be adjusted, has a transparent, touch-sensitive input field, in particular a touchscreen.
  • input can also be made directly and, for example, the input field in the side frame of the cooking appliance can be omitted.
  • the side frame can be reduced in size, i.e. can be made narrower or the cooking chamber door can be made wider. The technical room is then moved to the back or to the bottom or top. Due to the size of the display, it is also possible to provide significantly more information and input fields.
  • the viewing opening is illuminated. This makes the information shown on the display particularly easy to see.
  • the viewing opening is illuminated from the cooking space and/or from the edge area of the cooking space door.
  • the display can be designed up to the size of the entire viewing opening and neither the display nor the view into the cooking space is disturbed by lighting devices.
  • the transparent display is connected to a control and an input device and is suitable for displaying the data from the input device on the area of the viewing opening whose transparency can be adjusted.
  • the present invention also includes classic input options such as input using selector switches or device-fixed touch panels/touchscreens, or input using additional devices such as PDA, tablet PC, smartphone and smartwatch.
  • the input device is advantageously a relatively small touchpad which is arranged in a side area of the front of the cooking appliance or in the door frame of the cooking chamber door of the cooking appliance.
  • the touchpad can be of a similar size to a smartphone, the usability of which is increasingly familiar to the broadest segments of the population and thus makes the cooking appliance easier to use.
  • the transparent display can be used to display content or information from any sources, in particular advertising information, the device owner's layout, such as the name of the restaurant or information from a computer or notebook, as a large second monitor.
  • the device owner's layout such as the name of the restaurant or information from a computer or notebook
  • special offers or special goods can be advertised extensively on the cooking appliance according to the invention, which is located behind the meat counter on the cooking chamber door.
  • the cooking appliance according to the invention can be equipped with network interfaces and connections for external storage media such as USB memory, SD memory cards, etc.
  • information can be transmitted to the cooking device.
  • a restaurant's daily menu can be displayed.
  • Adapting the layout of the cooking appliances, especially the operating elements, for OEM partners and customers requires component variation, for example through a film in the area of the control panel. This individualization can be supported with a large display area that provides an area for this customer-specific data, if necessary. Even the component variation is eliminated.
  • the cooking appliance has a sensor for presence detection and the transparent display shows information depending on presence detection.
  • the display without a recognized user on the cooking device could, for example, be as shown in the Fig. 22b or 22c look. The remaining time and the food being cooked can be read even from a greater distance. If the user steps in front of the cooking appliance, the view into the cooking space could be revealed, cf. Fig. 22a and could if necessary. Control elements are displayed.
  • the area of the transparent display intended for input can be moved in position, in particular in height, which means ergonomic operability is achieved because the input height can be adapted to the body size of the operator.
  • the transparent display as a whole or in these areas can be switched to an opaque state. This lack of transparency primarily affects cleaning processes in the cooking space.
  • the present invention offers a variety of options for displaying information, which ensures quick and reliable recognition of individual work processes and processes.
  • safety instructions can be displayed over a large area, which increases the safety of the cooking appliance and its operation.
  • a safety notice can be displayed over a large area of the entire door, for example: "Cleaning active. Do not open the door! in writing if necessary. displayed with corresponding symbols.
  • Areas of the cooking space that are not occupied by food can be advantageously highlighted and other suitable food items to be cooked in this area can be pointed out on the display, which, for example, suit the cooking climate prevailing in the cooking space, which leads to an optimization of the utilization of the cooking appliance.
  • control surface of the transparent display is spatially assigned to an associated cooking space, which significantly increases its ergonomics.
  • the cooking of the food on a shelf level can therefore be directly influenced and controlled.
  • An input similar to that of Fig. 21 is possible. Peas and beans are selected. With a fully touch-operated display, tapping the third shelf from the bottom opens a selection of suitable food items to be cooked and by selecting carrots, for example, they are assigned directly to the shelf.
  • the display and/or control input of several cooking appliances can take place on one display of a cooking appliance.
  • This allows the advantage of operating several cooking appliances stacked on top of each other, for example on the upper display, which is easier to reach, compared to that cooking appliance which stands on the floor and allows you to save on operating the cooking appliance, which is harder to reach.
  • two ovens or combi steamers can be arranged one above the other and connected. The upper one is equipped with a display door and touchscreen, whereas the lower one can be omitted from the touchscreen. Operation is then carried out via the upper touchscreen, while both are displayed.
  • An operating section can be arranged in any area of the display area.
  • the touchscreen can advantageously be arranged on the hinge side of the cooking chamber door.
  • the viewing opening is advantageously formed by a multi-layer plate-shaped structure. This enables a safe and flexible construction of the viewing opening with display and, if necessary. Touch screen.
  • the multilayer plate-shaped structure has an outer glass pane, an inner glass pane facing the cooking space and a film layer forming the display, which is located on the inside of the outer glass pane.
  • a further touchscreen film layer is provided, which is arranged between the display film layer and the outer glass pane, the touchscreen film layer being touch-sensitive and preferably formed from a capacitive film layer.
  • a first free space is provided between the film layer and the inner glass pane, which is filled with air or vacuum, or is cooled by means of air or gas flowing through. This ensures operational safety of the display and if necessary. arranged touchscreens increased or ensured.
  • Effective lighting is advantageously created in that at least one side lighting is provided, which radiates from the frame area of the cooking chamber door into the first free space and illuminates the film layer of the display.
  • the lighting is designed in the form of an LED light strip or an LED light strip.
  • a front view of a cooking appliance 1 is shown in a relatively large design.
  • the cooking appliance 1 conventionally has a housing 2 on which a cooking appliance door or cooking space door 3 is movably articulated and serves to close a cooking space 4 arranged inside the cooking appliance 1.
  • the cooking chamber door 3 is opened and closed by operating a handle 7 and pivoting the cooking chamber door accordingly.
  • a side post 5 to the left of the cooking chamber door 3 which covers a so-called technical room in which various elements of the cooking appliance are arranged in a manner known per se, such as liquid supply, electrical control, fan drive, etc.
  • the cooking appliance 1 is based on four cooking appliance feet 6.
  • a viewing opening 9 is provided in the cooking chamber door 3, which is usually formed from a transparent glass pane.
  • the side post 5 there is also an input or control panel 8 arranged, which is designed as a small touchscreen, whereby a corresponding display on a display 11 can be caused by appropriate touch, for example with a finger 10.
  • the display 11 is in the exemplary embodiment according to Fig. 1 arranged in the height range of the input or control panel 8 and covers part of the viewing opening 9.
  • a display By moving the finger 10 in the direction of the arrow 12, a display, shown only symbolically as a circle, is moved according to the arrow 16.
  • a display shown only symbolically as a circle, is moved according to the arrow 16.
  • the display of the display and control panel 8 is shown enlarged on the display 11.
  • Fig. 2 is a cooking appliance 1 comparable to that of Fig. 1 shown.
  • One difference is the significantly smaller input or control panel 18, which is enlarged Fig. 3 is shown.
  • the reason for this is that there is no display because this only takes place via the display 11. Only a correspondingly smaller area is required for pure input.
  • a display 14 on the display is moved from left to right according to arrow 16.
  • a particularly ergonomic way of operating the cooking appliance is created, which ensures that the cooking appliance is easy to use.
  • the enlarged view in Fig. 3 of the control panel 18 shows that this preferably corresponds to a mouse control panel of a laptop, with a touch control panel 50, a left mouse button 51 and a right mouse button 53.
  • the cooking appliance 1 can also have a design according to Fig. 4a have, with a significantly slimmer side post 5 and if necessary. a wider cooking chamber door 3 with a wider viewing opening 9 and consequently also a wider display 11.
  • the control panel 18 is inserted into the door frame 29 of the cooking compartment door and the cooking compartment door completely covers the front of the cooking appliance 1.
  • FIG. 5 an embodiment of a cooking appliance 1 according to the invention is shown in a perspective view, with a cooking chamber door 3 which also covers almost the entire front area of the cooking appliance 1 and a corresponding one large viewing opening 9, which is completely occupied by a display 11.
  • the side post 5 is correspondingly slim in the housing 2.
  • the cooking appliance 1 stands with its feet 6 on a base 45.
  • Fig. 5 As can be seen, there are two time information on the display 11 and menu displays in the upper area and otherwise the display 11 is transparent and allows a clear view of the shelf levels arranged behind it in the cooking chamber 4.
  • the technical room is at least partially located at the back of the cooking appliance.
  • a cooking appliance 1 according to the invention is shown with the cooking space door 3 open.
  • insert strips 13 arranged one above the other which have a corresponding counterpart on the other side of the cooking chamber and are used to accommodate inserts filled with food to be cooked and thus create insert levels arranged one above the other.
  • a drain 15 offset to the left and a heat exchanger 17 arranged under the cooking appliance are indicated schematically.
  • a compartment or drawer 21 for electronics is also provided in the base 19. In this way, a very compact design of the cooking appliance 1 can be achieved.
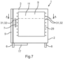
  • Fig. 7 is the cooking device of Fig. 6 shown with the cooking compartment door closed. Schematically is in Fig. 7 A plurality of lighting devices 31 and 32 are provided on the edge of the viewing opening 9 and in the frame of the cooking chamber door 3, these being better illustrated in the alternative embodiments Fig. 8a-c and 9a-c can be seen, which is a sectional view along line AA from Fig. 7 represent.
  • a major problem when arranging a display and control panel on or in the viewing opening 9 of the cooking appliance door is the temperature prevailing in the cooking chamber during cooking, which is the permissible operating temperature of conventional displays and touch screens.
  • the present invention proposes a multi-layer transparent cooking appliance viewing opening 9, which can have the following structure.
  • Fig. 8a a first embodiment of the cooking space door 3 is shown in section.
  • the inner free space 37 is filled with air or vacuum. Alternatively, it can also be cooled using cooling air.
  • a further cutting disk 35 may be provided in the free space 37, which divides it and forms a separate free space 27.
  • the plate-shaped structure 22 forming the viewing opening 9 is accommodated in a door frame 29.
  • a lighting 31 on the vertical inside of the door frame 29 which shines into the free space 37 and thus illuminates the display 11.
  • Correspondingly directed light can also penetrate into the cooking space 4.
  • the lighting 31 can be designed, for example, in the form of LED strips.
  • Fig. 8a show the 8b and 8c only “double glazing” in which the middle separating pane 35 is missing. While the third embodiment of Fig. 8c the same lighting as that of Fig. 8a shows, the second embodiment of the cooking chamber door 3 has lighting 32, which is formed from a double strand of LED lights. Of course, other embodiments of lighting are possible.
  • Fig. 9a-c differ from those of Fig. 8a-c only in that, in addition to the display film layer 23, a touchscreen film layer 24 is provided, which is arranged between the display film layer 23 and the outer glass pane 25.
  • the touchscreen film layer can extend over the entire viewing opening 9 or only in partial areas thereof, as shown, for example, by the input field 41.
  • the touchscreen film layer 24 is designed as a capacitive touch-sensitive layer and reacts when the outer glass pane 25 is touched.
  • a display and control panel 41 can be moved in the vertical direction within the display 11 in order to assume the optimal height for the operator.
  • the size of the control panel is subject to the device design, for example only half the width of the viewing opening 9 or its entire width.
  • the embodiment of the cooking device 1 in Fig. 11 shows a schematic arrangement of three display and control panels 41 on the field of view 9, which are assigned to the respective insertion level.
  • the upper display field shows the time of 22 minutes and 40 seconds as the remaining cooking time for the food on this shelf
  • the middle level shows the time of 13 minutes and 20 seconds
  • the lower level shows the time of 7 minutes and 41 seconds.
  • the operator recognizes that a slot level below the top slot level is still unoccupied. Due to the size of the display fields, the remaining cooking times according to this example arrangement can be of Fig. 11 can be easily recognized from a large distance, which the cook can use, for example, to prepare additional dishes in a timely manner at another cooking point, such as a gas stove, to match the remaining cooking times.
  • Fig. 12 shows schematically the arrangement of a proximity sensor 43, which, for example, automatically lights up the display when an operator approaches.
  • the viewing opening 9 can be made opaque by controlling the display 11, ie it becomes non-transparent. This is in Fig. 13 shown.
  • FIG. 14 Another way to use the display 11 is shown Fig. 14 . Additional customer-specific information can be provided on the display. In another alternative according to Fig. 15 It is possible to use a corresponding display to indicate which shelf level should be used for the upcoming cooking step.
  • Fig. 16 An alternative is shown to have the product, which is located behind it in the corresponding shelf level in the cooking chamber, shown with a logo on the display.
  • the Fig. 17a to 17d show schematically the view of a cooking appliance 1 or the cooking appliance door 3.
  • the door has a surrounding frame and the display 11 corresponds to the entire viewing area 9.
  • an input field 41 is provided, for example as a touchscreen.
  • Fig. 17a the food “roast” is selected in the control panel 41. In Fig. 17b this is dragged to the lowest shelf level. In Fig. 17c The food “vegetables” to be cooked is selected and added Fig.17d the vegetables are placed on the second level from the bottom. In this way, the cooking space can be occupied successively.
  • Fig. 18a to 18d The entire display area cannot be operated by touch, but a diagram of the cooking space can be found within the control element are displayed.
  • level 6 is activated and the food "roast" is selected (see Fig. 18a ). After confirming this selection, "Frying” will be displayed in the correct layer (see Fig. 18b ). “Vegetables” is then selected in the touch area for level 5 (see Fig. 18c ) and, after confirmation, displayed in the real position in the cooking space.
  • the cooking appliance 1 is connected to another cooking appliance 1' and the selection and distribution of the food to be cooked and/or cooking programs can take place from an operating area.
  • the cooking appliance is given 1 in Fig. 19a the cooking chamber 1 and the cooking chamber 2 are displayed.
  • Fig. 19b It is decided by entering on the control panel 41 that the roast is to be placed in the cooking chamber 2 of the cooking appliance 1 '.
  • the selection of vegetables accordingly Fig. 19c takes place as in Fig. 19d shown by selecting the cooking chamber 1 using the display and control panel 41.
  • Fig. 20a a relatively large person is shown on the cooking appliance 1 according to the invention and the display and control panel 41 is located in the upper area of the visible surface 9 of the cooking appliance door 3, which closes the cooking space 4.
  • a person 47 has a good view of the high position of the display and control panel 41 due to their height.
  • an adjustment can be made to the height of a second person 49 who is smaller than the person 47, and the display and control panel 41 can be moved downwards accordingly, as shown in Fig. 10 shown.
  • Fig. 21 It is stated that suggestions for additional items to be cooked, for example two slots of additional vegetables, can be suggested by the cooking appliance and displayed accordingly to match the cooking chamber climate for the items to be cooked (beans and peas).
  • FIG. 22a to 22c Other possible displays are shown as examples: transparent with a small display according to display and control panel 41, in Fig. 22 Display across the entire field of vision with the warming statement “Fresh rolls in 2.00 minutes” or as per Fig. 22c The product rolls can be displayed with the information that fresh rolls will be available in two minutes.
  • the view into the cooking space can be made possible abruptly, in steps or through increasing transparency and can have a signaling effect.
  • baked goods are finished in the cooking device in an area visible to the customer.
  • the cooking device control changes the status of the viewing opening from opaque to transparent and allows a view of the finished baked goods. This can be done, for example, according to Fig. 22b done in such a way that the display "Fresh bread rolls in 2 minutes" is connected to an opaque display, and when the two minutes have expired, the display becomes transparent again.
  • the present invention thus creates a cooking appliance that has a significantly enlarged display on which a variety of information can also be displayed on an enlarged scale, which can be easily grasped even from a greater distance by the operator, the cook or even the customer in the store can be. If the display also has a touchscreen function, at least in some areas, this creates convenient options for operation and device control that were not previously available in prior art devices.

Landscapes

  • Engineering & Computer Science (AREA)
  • Physics & Mathematics (AREA)
  • General Physics & Mathematics (AREA)
  • Theoretical Computer Science (AREA)
  • Chemical & Material Sciences (AREA)
  • Combustion & Propulsion (AREA)
  • Mechanical Engineering (AREA)
  • General Engineering & Computer Science (AREA)
  • Crystallography & Structural Chemistry (AREA)
  • Electric Ovens (AREA)
  • Induction Heating Cooking Devices (AREA)

Description

  • Die vorliegende Erfindung betrifft ein Gargerät mit transparentem Display, nach dem Oberbegriff des Anspruchs 1.
  • Auf dem Gebiet von Gargeräten besteht der fortwährende Wunsch, die Bedienfreundlichkeit der Gargeräte stets weiter zu erhöhen. Dieser Wunsch rührt einerseits daher, dass in der Hektik eines Küchenbetriebs, insbesondere größerer Restaurantbetriebe mit vielen Gästen, oder im Großküchenbetrieb, eine schnelle und zielsichere Bedienung der eingesetzten Gargeräte sichergestellt sein soll. Zum anderen kommen auch immer mehr ungelernte Kräfte zum Einsatz, für die eine einfache und übersichtliche Bedienmöglichkeit ausschlaggebend für eine korrekte Bedienung ist.
  • Herkömmlicherweise weist ein Gargerät, insbesondere ein Dampfgargerät oder Kombidämpfer eine Vorderseite auf, die eine Garraumtür zum Öffnen und Verschließen des dahinter liegenden Garraums sowie wenigstens einen breiteren Seitenpfosten aufweist, in den die Bedienelemente, wie beispielsweise Drehknöpfe, aber auch Bildschirme und Touchscreens untergebracht sind. Aufgrund der im Seitenpfosten nur begrenzt zur Verfügung stehenden Frontfläche können die flächigen Anzeige- und Bedienelemente wie Bildschirme oder Touchscreens nur eine begrenzte eigene Fläche aufweisen.
  • Aus der EP 1 891 499 B1 ist ein Haushaltsgerät mit einer versteckbaren Benutzerschnittstelle bekannt, bei dem eine Öffnung in der Frontseite des Geräts mit einer Platte besetzt ist, deren Durchsichtigkeit von undurchsichtig bis zu durchsichtig einstellbar ist, wodurch das Innere des Geräts von außen erkennbar wird. Zudem kann eine Aktion, die von dem Benutzer des Geräts auf dessen virtueller Benutzeroberfläche ausgeführt wird, erfasst werden. Die Anzeige der Informationen erfolgt gemäß diesem Stand der Technik mittels einer Projektion von der Rückseite des Gargeräts auf die Frontseite, was einen großen Aufwand bedeutet und darüber hinaus den Nachteil hat, dass der Projektionsstrahl durch im Garraum besetzte Einschubebenen an seinem Fortgang zur Frontseite behindert wird.
  • Aus der EP 2 182 503 A1 ist weiterhin ein Gargerät mit einem Gehäuse, einer Garraumtür zum Öffnen und Schließen eines Garraums des Gargeräts, und einer Sichtöffnung in der Garraumtür bekannt, wobei ein Teil der Sichtöffnung in der Lage ist, die Zustände durchsichtig und undurchsichtig anzunehmen, wobei der eine Teil der Sichtöffnung ein transparentes Display aufweist, welches in der Lage ist, Informationen darzustellen.
  • Der vorliegenden Erfindung liegt deshalb die Aufgabe zugrunde, ein Gargerät vorzuschlagen, das die Nachteile des Standes der Technik überwindet und eine Anzeige schafft, auf der Informationen ungehindert und in einer solchen Größe darstellbar sind, dass sie von einer größeren Entfernung vom Gargerät problemlos erkennbar sind, wobei weiterhin die Möglichkeit besteht, bei Bedarf von außen das Innere des Gargerätes einsehen zu können.
  • Diese Aufgabe wird durch die Merkmale des Anspruchs 1 gelöst.
  • Erfindungsgemäß zeichnet sich das Gargerät dadurch aus, dass dass der zumindest eine Teil der Sichtöffnung ein transparentes Display aufweist, welches in der Lage ist, Informationen darzustellen.
  • Dadurch wird erreicht, dass ein erheblich größerer Bereich zur Anzeige von Informationen geschaffen wird, als mit den herkömmlichen Anzeige- und/oder Bedienfeldern im Seitenrahmen der Gargeräte, so dass für den Benutzer bzw. Koch notwendige Informationen aus sehr viel größerer Distanz erkennbar werden und er sich mit gro-βem Abstand vom Gargerät über den Zustand bzw. den Ablauf der Garprogramme der einzelnen Gargüter ständig informieren kann, beispielsweise über die Anzeige der Restgarzeit einzelner Gargüter.
  • Darüber hinaus können vorteilhafterweise zusätzliche Informationen durch die grö-ßere Anzeige dargestellt werden und es ist möglich, eine verbesserte räumliche Zuordnung der Informationen zu den jeweiligen Garraumbereichen zu schaffen.
  • Erfindungsgemäß zeichnet sich das Gargerät weiterhin dadurch aus, dass das transparente Display die verschiedenen Einschubebenen des Garraums zumindest teilweise überdeckt und geeignet ist, die Informationen zu den verschiedenen Einschubebenen diesen räumlich zugeordnet darzustellen.
  • Dies hat den großen Vorteil, dass eine exakte Zuordnung der Anzeige zu dem entsprechenden Gargut ermöglicht wird und Informationen über die entsprechende Gargutebene entsprechend am richtigen Ort angezeigt werden können, wodurch Verwechslungen weitestgehend vermieden werden können. Große Gargeräte können eine Vielzahl von Einschubebenen aufweisen, so dass es in der Hektik des Küchenbetriebs, insbesondere bei ungelernten Kräften, schnell zu einer Verwechslung kommen kann, wodurch der Küchenbetrieb eine entsprechende Störung erfährt. Vorteilhafterweise wird somit eine direkte Zuordnung von Informationen zu den entsprechenden Einschubebenen ermöglicht.
  • Vorteilhafterweise kann zumindest ein Teil der Sichtöffnung den Zustand halbtransparent annehmen, d.h., dass die am Display dargestellten Informationen vor der transparenten Sichtfläche erscheinen, vergleichbar wie bei einem On Screen Display, wodurch der Blick in den Garraum entsprechend gering eingeschränkt erhalten bleibt.
  • Weiterhin ist vorteilhaft, dass zumindest ein Teil der in seiner Durchsichtigkeit einstellbaren Sichtöffnung ein durchsichtiges berührungsempfindliches Eingabefeld, insbesondere einen Touchscreen, aufweist. Damit wird erreicht, dass neben einer Anzeige auch direkt die Eingabe erfolgen kann und beispielsweise das Eingabefeld im Seitenrahmen des Gargeräts entfallen kann. Dies bringt den Vorteil mit sich, dass der Seitenrahmen verkleinert werden kann, d.h. schmäler ausgeführt werden kann bzw. die Garraumtür breiter ausgebildet werden kann. Dabei wird dann der "Technikraum verlegt und zwar an die Rückseite oder nach unten oder oben. Aufgrund der Größe des Displays ist es auch möglich, erheblich mehr Informationen und Eingabefelder vorzusehen.
  • Weiterhin ist vorteilhaft, dass die Sichtöffnung beleuchtet wird. Dadurch erfolgt eine besonders gute Erkennbarkeit der auf dem Diplay dargestellten Informationen.
  • Weiterhin ist vorteilhaft, dass die Beleuchtung der Sichtöffnung aus dem Garraum und/oder aus dem Randbereich der Garraumtür erfolgt. Damit kann das Display bis zur Größe der gesamten Sichtöffnung ausgebildet werden und wird weder das Display noch die Durchsicht in den Garraum durch Beleuchtungseinrichtungen gestört. Im Garraum befindliche Einbauten oder Gargüter beeinträchtigen bei einem derartigem Aufbau nicht die Hintergrundbeleuchtung des transparenten Displays.
  • Weiterhin ist vorteilhaft, dass das transparente Display mit einer Steuerung und einer Eingabeeinrichtung verbunden ist und geeignet ist, die Daten von der Eingabeeinrichtung auf dem in seiner Durchsichtigkeit einstellbaren Bereich der Sichtöffnung darzustellen.
  • Die vorliegende Erfindung umfasst auch klassische Eingabemöglichkeiten wie z.B. die Eingabe durch Wahlschalter oder gerätefeste Touchpanel/Touchscreens, oder die Eingabe mit Zusatzgeräten wie z.B. PDA, Tablet-PC, Smartphone und Smartwatch.
  • Vorteilhafterweise ist die Eingabeeinrichtung ein relativ kleines Touchpad, das in einem Seitenbereich der Frontseite des Gargeräts oder im Türrahmen der Garraumtür des Gargeräts angeordnet ist. Beispielsweise kann das Touchpad eine ähnliche Größe aufweisen wie ein Smartphone, dessen Bedienbarkeit zunehmend breitesten Bevölkerungsschichten geläufig ist und somit zu einer leichteren Bedienbarkeit des Gargeräts führt.
  • Weiterhin ist vorteilhaft, dass mittels des transparenten Displays Inhalte bzw. Informationen aus beliebigen Quellen, insbesondere Werbeinformationen, Layout des Geräteinhabers, wie beispielsweise Name des Restaurants oder Informationen eines Computers oder Notebooks als großer Zweitmonitor darzustellen. Beispielsweise können in einem Supermarkt auf dem erfindungsgemäßen Gargerät, das hinter der Fleischtheke steht auf der Garraumtür großflächig für Sonderangebote oder spezielle Waren geworben werden. So kann das erfindungsgemäße Gargerät mit Netzwerkschnittstellen und Anschlüssen für externe Speichermedien wie z.B. USB-Speicher, SD-Speicherkarten usw. ausgestattet sein. Demzufolge lassen sich Informationen an das Gargerät übertragen. In Kombination mit der vorliegenden Erfindung kann beispielsweise die Tageskarte eines Restaurants dargestellt werden.
  • Eine effektive Steuerung mit kleinen Endgeräten wie Smartphone oder Smartwatch wird durch einen zusätzlichen Monitor erleichtert.
  • Die Anpassung des Layouts der Gargeräte, insbesondere der Bedienelemente, für OEM-Partner und Kunden erfordert eine Bauteilvariation z.B. durch eine Folie im Bereich des Bedienfeldes. Mit einer großen Anzeigefläche, die einen Bereich für diese kundenspezifischen Daten bereitstellt, kann diese Individualisierung unterstützt werden, ggfls. sogar die Bauteilvariation entfallen.
  • Weiterhin ist vorteilhaft, dass das Gargerät über einen Sensor zur Anwesenheitserkennung verfügt und das transparente Display Informationen in Abhängigkeit von einer Anwesenheitserkennung anzeigt. Die Anzeige ohne erkannten Benutzer am Gargerät könnte z.B. wie in den Fig. 22b oder 22c aussehen. Auch aus größerer Entfernung sind die Restzeit und das Gargut abzulesen. Tritt der Benutzer vor das Gargerät könnte die Sicht in den Garraum freigegeben werden, vgl. Fig. 22a und könnten ggfls. Steuerungselemente eingeblendet werden.
  • Weiterhin ist vorteilhaft, dass der zur Eingabe vorgesehene Bereich des transparenten Displays in seiner Lage verschiebbar ist, insbesondere höhenverschiebbar ist, wodurch eine ergonomische Bedienbarkeit erreicht wird, weil die Eingabenhöhe an die Körpergröße der Bedienungsperson angepasst werden kann.
  • Weiterhin ist vorteilhaft, dass bei Vorgängen, in denen der Garraum bzw. Bereiche hiervon nicht einsehbar seien soll bzw. sollen, das transparente Display gesamt oder in diesen Bereichen in einen undurchsichtigen Zustand umschaltbar ist. Diese Intransparenz betrifft vor allem Reinigungsvorgänge des Garraums.
  • Andererseits kann auch gewählt werden, dass in dem Moment, in dem ein Gargut einer Einschubebene fertig gegart ist, das Display im Bereich dieser Einschubebene von nicht transparent auf transparent springt, so dass die Bedienungsperson bzw. der Koch gleich erkennen kann, dass diese Einschubebene fertig gegart ist und nunmehr weiter verarbeitet bzw. serviert werden kann. Vorteilhafterweise schafft die vorliegende Erfindung eine Vielzahl von Möglichkeiten der Informationsanzeige, die ein schnelles und sicheres Erkennen der einzelnen Arbeitsvorgänge und Abläufe gewährleistet.
  • Weiterhin ist vorteilhaft, dass Sicherheitshinweise großflächig dargestellt werden können, was die Sicherheit des Gargeräts und dessen Betrieb erhöht. So kann während der Reinigung großflächig auf der gesamten Tür ein Sicherheitshinweis z.B.: "Reinigung aktiv. Tür nicht öffnen!" schriftbildlich ggfls. mit entsprechenden Symbolen eingeblendet werden.
  • Mit Vorteil können nicht mit Gargut belegte Bereiche des Garraums hervorgehoben werden und am Display auf weitere passende Gargüter in diesem Bereich hingewiesen werden, welche beispielsweise zu dem im Garraum herrschenden Garklima passen, was zu einer Optimierung der Auslastung des Gargeräts führt.
  • Weiterhin ist mit großem Vorteil die Bedienfläche des transparenten Displays räumlich einem hier zugehörigen Garraum zugeordnet, was deren Ergonomie deutlich weiter erhöht. Das Garen des Garguts einer Einschubebene kann dadurch unmittelbar beeinflusst und gesteuert werden. Eine Eingabe ähnlich zu jener von Fig. 21 ist möglich. Erbsen und Bohnen sind ausgewählt. Bei einem vollständig touchbedienbarem Display öffnet sich durch Antippen des dritten Einschubs von unten eine Auswahl mit dazu passenden Gargütern und durch Auswählen von z.B. Karotten werden diese direkt dem Einschub zugewiesen.
  • Weiterhin ist vorteilhaft, dass Informationen zu ablaufenden Garprogrammen und Verbraucherhinweise großflächig dargestellt werden. Dies betrifft einerseits Gargeräte, die an Verkaufsstellen unmittelbar von den Kunden eingesehen werden können. Aber auch bei im internen Betrieb verwendeten Gargeräten ergeben sich Vorteile der schnellen Erkennbarkeit.
  • Mit besonderem Vorteil kann die Anzeige und/oder Steuerungseingabe von mehreren Gargeräten auf einem Display eines Gargerätes erfolgen. Damit wird der Vorteil einer Bedienung mehrerer übereinander gestapelter Gargeräte beispielsweise an dem oberen besser zu erreichenden Display ermöglicht, gegenüber jenem Gargerät, das auf dem Boden steht und ermöglicht die Einsparung der Bedienung auf dem schlechter zu erreichenden Gargerät. Beispielsweise können zwei Backöfen oder Kombidämpfer übereinander angeordnet und verbunden sein. Der obere ist mit Displaytür und Touchscreen ausgerüstet, wohingegen beim unteren der Touchscreen eingespart werden kann. Die Bedienung erfolgt dann über den oberen Touchscreen, während auf beiden angezeigt wird.
  • Aufgrund der Größe des Displays können auch große Bedienelemente (Touchscreentasten) gebildet werden. Größere Bedienelemente können in der Regel schneller und leichter bedient werden, weil deren Treffsicherheit deutlich höher ist als auf kleinen Eingabeflächen beispielsweise in der Größenordnung von Smartphones.
  • Ein Bedienabschnitt kann in jedem Bereich der Displayfläche angeordnet sein. Für eine reduzierte Belastung durch mechanische Stöße und Schwingungen kann der Touchscreen vorteilhafterweise an der Scharnierseite der Garraumtür angeordnet sein.
  • Mit Vorteil ist die Sichtöffnung von einer mehrschichtigen plattenförmigen Struktur gebildet. Dies ermöglicht einen sicheren und flexiblen Aufbau der Sichtöffnung mit Display und ggfls. Touchscreen.
  • Dabei ist vorteilhaft, dass die mehrschichtige plattenförmige Struktur eine äußere Glasscheibe, eine innere, zum Garraum gerichtete Glasscheibe und eine das Display bildende Folienschicht aufweist, die sich an der Innenseite der äußeren Glasscheibe befindet.
  • Vorteilhafterweise ist eine weitere Touchscreen-Folienschicht vorgesehen ist, die zwischen der Display-Folienschicht und der äußeren Glasscheibe angeordnet ist, wobei die Touchscreen-Folienschicht berührungsempfindlich und vorzugsweise aus einer kapazitiven Folienschicht gebildet ist.
  • Weiterhin ist vorteilhaft, dass zwischen der Folienschicht und der inneren Glasscheibe ein erster Freiraum vorgesehen ist, der mit Luft oder Vakuum gefüllt ist, oder mittels durchströmender Luft oder Gas gekühlt wird. Damit wird die Betriebssicherheit des Displays und des ggfls. angeordneten Touchscreens erhöht bzw. sichergestellt.
  • Mit Vorteil wird eine wirksame Beleuchtung dadurch geschaffen, dass zumindest eine seitliche Beleuchtung vorgesehen ist, die vom Rahmenbereich der Garraumtür in den ersten Freiraum strahlt und die Folienschicht des Displays beleuchtet.
  • Dabei ist besonders vorteilhaft, wenn die Beleuchtung in Form einer LED-Lichtleiste oder eines LED-Lichtbandes ausgebildet ist.
  • Weitere Einzelheiten, Merkmale und Vorteile der vorliegenden Erfindung ergeben sich aus der nachfolgenden Beschreibung unter Bezugnahme auf die Zeichnungen. Darin zeigt:
  • Fig. 1
    eine Frontansicht eines Gargeräts in einer relativ großen Bauform mit einem in der Sichtöffnung der Garraumtür angeordneten transparentem Display und einer Eingabeeinrichtung mit Eingabefeld im Seitenpfosten des Gargeräts;
    Fig. 2
    eine ähnliche Ansicht eines Gargeräts wie in Fig. 1, jedoch mit einem deutlich reduzierten Eingabefeld im Seitenpfosten des Gargeräts;
    Fig. 3
    in vergrößertem Maßstab das Eingabefeld von Fig. 2;
    Fig. 4a
    eine schematische Darstellung einer alternativen Ausführungsform des Gargeräts zu jener von Fig. 2 mit einem schmalen Seitenpfosten;
    Fig. 4b
    eine schematische Darstellung einer weiteren alternativen Ausführungsform des Gargeräts der Fig. 1 bis 4a mit einem Eingabefeld im Bereich des Türrahmens der Garraumtür;
    Fig. 5
    eine perspektivische fotografische Darstellung einer Ausführungsform der vorliegenden Erfindung eines Gargeräts mit einem transparentem Display über die gesamte Fläche der Sichtöffnung;
    Fig. 6
    eine schematische perspektivische Ansicht einer weiteren alternativen Ausführungsform des Gargeräts von Fig. 5 der vorliegenden Erfindung mit angedeuteten Einschubebenen im Garraum;
    Fig. 7.
    eine Ansicht von vorne auf das Gargerät von Fig. 6 mit geschlossener Garraumtür;
    Fig. 8a
    eine Schnittansicht einer ersten Ausführungsform einer Garraumtür entlang der Linie A-A von Fig. 7 mit einer Display-Folienschicht;
    Fig. 8b
    eine Schnittansicht einer zweiten Ausführungsform einer Garraumtür entlang der Linie A-A von Fig. 7 mit einer Display-Folienschicht;
    Fig. 8c
    eine Schnittansicht einer dritten Ausführungsform einer Garraumtür entlang der Linie A-A von Fig. 7 mit einer Display-Folienschicht;
    Fig. 9a
    eine Schnittansicht der ersten Ausführungsform einer Garraumtür von Fig. 8a, jedoch zusätzlich mit einer Touchscreen-Folienschicht;
    Fig.9b
    eine Schnittansicht der zweiten Ausführungsform einer Garraumtür von Fig. 8b, jedoch zusätzlich mit einer Touchscreen-Folienschicht;
    Fig.9c
    eine Schnittansicht der dritten Ausführungsform einer Garraumtür von Fig. 8c, jedoch zusätzlich mit einer Touchscreen-Folienschicht;
    Fig. 10
    eine weitere Ausführungsform eines Gargeräts mit höhenverschiebbarem Eingabefeld;
    Fig. 11
    eine weitere Ausführungsform des Gargeräts der vorliegenden Erfindung mit einem Display, das Informationen zu einzelnen Einschubebenen anzeigt;
    Fig. 12
    schematisch die Anordnung eines Näherungssensors bei einem Annähern einer schematisch dargestellten Bedienungsperson an das erfindungsgemäße Gargerät;
    Fig. 13
    schematisch eine Ausführungsform des erfindungsgemäßen Gargeräts mit auf Intransparenz bzw. Undurchsichtigkeit umgeschaltetem Display, beispielsweise bei einem Reinigungsvorgang;
    Fig. 14
    schematisch eine Ausführungsform des erfindungsgemäßen Gargeräts mit der Möglichkeit einer kundenspezifischen Anzeige einschließlich der Möglichkeit auch andere Geräte anzuzeigen;
    Fig. 15
    schematisch eine Ausführungsform des erfindungsgemäßen Gargeräts mit einer Anzeige, welche Einschubebene als nächste zu bestücken ist;
    Fig. 16
    schematisch eine Ausführungsform des erfindungsgemäßen Gargeräts, in der auf der Sichtöffnung ein Logo anzeigt, beispielsweise ein Produktlogo, zugeordnet zur entsprechenden Einschubebene;
    Fig. 17a-d
    eine Ausführungsform des erfinderischen Gargeräts mit einem Beispiel der Anzeige auf der Gargerätetür und Bedienung schematisch mit einer Mehrzahl von Anzeigefeldern und einem Touch-Bedienelement;
    Fig. 18a-d
    eine weitere Ausführungsform der vorliegenden Erfindung des erfinderischen Gargeräts mit einem weiteren Beispiel der Anzeige auf der Gargerätetür und Bedienung schematisch mit einer Mehrzahl von Anzeigefeldern und einem Touch-Bedienelement;
    Fig. 19a-d
    eine weitere Ausführungsform der vorliegenden Erfindung mit übereinander angeordneten Gargeräten und der Bedienung beider Gargeräte mittels des oberen Geräts;
    Fig. 20a, b
    die Höhenverstellbarkeit der Anzeige bei einem erfindungsgemäßen Gargerät in Abhängigkeit von der Größe der Bedienungsperson;
    Fig. 21
    die Anzeige von weiteren Vorschlägen passend zum aktuellen Gargut; und
    Fig. 22a-c
    weitere Möglichkeiten von Anzeigen von Produkten und darauf bezogene Informationen.
  • In den Figuren sind gleiche Elemente mit den gleichen Bezugsziffern bezeichnet. Die verschiedenen Ausführungsformen der Gärgeräte vorliegender Erfindung und deren Elemente werden alle mit denselben Bezugsziffern bezeichnet.
  • In Fig. 1 ist in Frontansicht ein Gargerät 1 in relativ großer Bauform dargestellt. Das Gargerät 1 weist herkömmlicherweise ein Gehäuse 2 auf, an dem eine Gargerätetür bzw. Garraumtür 3 beweglich angelenkt ist und zum Schlie-ßen eines im Inneren des Gargeräts 1 angeordneten Garraums 4 dient. Das Öffnen und Schließen der Garraumtür 3 erfolgt durch Betätigen eines Handgriffs 7 und einem entsprechenden Verschwenken der Garraumtür. Wie aus Fig. 1 ersichtlich, befindet sich links neben der Garraumtür 3 ein Seitenpfosten 5, der einen sogenannten Technikraum bedeckt, in dem verschiedene Elemente des Gargeräts in an sich bekannter Weise angeordnet sind, wie Flüssigkeitszufuhr, elektrische Steuerung, Lüfterantrieb, etc. Das Gargerät 1 stützt sich auf vier Gargerätfüßen 6 ab.
  • In der Garraumtür 3 ist eine Sichtöffnung 9 vorgesehen, die in der Regel aus einer transparenten Glasscheibe gebildet ist. Im Seitenpfosten 5 ist weiterhin ein Eingabe- bzw. Bedienfeld 8 angeordnet, das als kleiner Touchscreen ausgebildet ist, wobei durch entsprechende Berührung, beispielsweise mit einem Finger 10 eine entsprechende Anzeige auf einem Display 11 hervorgerufen werden kann. Das Display 11 ist im Ausführungsbeispiel gemäß Fig. 1 im Höhenbereich des Eingabe- bzw. Bedienfelds 8 angeordnet und bedeckt einen Teil der Sichtöffnung 9.
  • Durch Bewegen des Fingers 10 in Richtung des Pfeiles 12 wird eine Anzeige, nur sinnbildlich als Kreis dargestellt, gemäß Pfeil 16 verschoben. Im Ausführungsbeispiel gemäß Fig. 1 wird die Anzeige des Anzeige- und Bedienfelds 8 vergrößert am Display 11 dargestellt.
  • In Fig. 2 ist ein Gargerät 1 vergleichbar zu jenem von Fig. 1 dargestellt. Ein Unterschied ist das deutlich kleinere Eingabe- bzw. Bedienfeld 18, welches vergrößert in Fig. 3 dargestellt ist. Der Grund dafür ist, dass auf eine Anzeige verzichtet wird, weil diese nur noch über das Display 11 erfolgt. Für die reine Eingabe wird nur eine entsprechend kleinere Fläche benötigt. Mittels einer Wischbewegung des Fingers 10 gemäß Pfeil 12 wird eine Anzeige 14 auf dem Display gemäß Pfeil 16 von links nach rechts bewegt. Mit Hilfe dieser Möglichkeit wird eine besonders ergonomische Art der Bedienung des Gargeräts geschaffen, welche die leichte Bedienbarkeit des Gargeräts gewährleistet.
  • Die vergrößerte Darstellung in Fig. 3 des Bedienfelds 18 zeigt, dass dieses vorzugsweise einem Maus-Bedienfeld eines Laptops entspricht, mit einem Touch-Bedienfeld 50, einer linken Maustaste 51 und einer rechten Maustaste 53.
  • Aufgrund des geringen Platzbedarfs des Bedienfelds 18 kann das Gargerät 1 auch eine Bauform gemäß Fig. 4a aufweisen, mit einem erheblich schlankeren Seitenpfosten 5 und ggfls. einer breiteren Garraumtür 3 mit einer breiteren Sichtöffnung 9 und folglich auch einem breiteren Display 11.
  • Gemäß Ausführungsform des in Fig. 4b gezeigten Gargeräts 1, ist das Bedienfeld 18 in den Türrahmen 29 der Garraumtür eingesetzt und die Garraumtür bedeckt vollständig die Frontseite des Gargeräts 1.
  • In Fig. 5 ist in perspektivischer Ansicht eine Ausführungsform eines erfindungsgemäßen Gargeräts 1 dargestellt, mit einer ebenfalls nahezu den gesamten Frontbereich des Gargeräts 1 überdeckender Garraumtür 3 und einer entsprechend großen Sichtöffnung 9, die komplett von einem Display 11 besetzt ist. Der Seitenpfosten 5 ist entsprechend schlank in dem Gehäuse 2 ausgebildet. Das Gargerät 1 steht in diesem Ausführungsbeispiel mit seinen Füßen 6 auf einem Untersatz 45.
  • Wie aus Fig. 5 ersichtlich, sind auf dem Display 11 zwei Zeitangaben und im oberen Bereich Menüanzeigen angegeben und ansonsten ist das Display 11 transparent und lässt den Blick frei auf die dahinter angeordneten Einschubebenen im Garraum 4.
  • Bei den Ausführungsformen der Fig. 4a, 4b und 5 befindet sich aus Platzgründen der Technikraum beispielsweise zumindest teilweise auf der Rückseite des Gargeräts.
  • In Fig. 6 ist ein erfindungsgemäßes Gargerät 1 mit geöffneter Garraumtür 3 dargestellt. In Fig. 6 sieht man im geöffneten Garraum 4 schematisch angedeutet übereinander angeordnete Einschubleisten 13, welche ein entsprechendes Gegenstück auf der anderen Garraumseite haben und zur Aufnahme von Einschüben besetzt mit Gargut dienen und somit übereinander angeordnete Einschubebenen schaffen.
  • Weiterhin sind schematisch ein nach links versetzter Abfluss 15 und ein unter dem Gargerät angeordneter Wärmetauscher 17 angedeutet. Im Boden 19 ist weiterhin ein Fach bzw. eine Schublade 21 für Elektronik vorgesehen. Auf diese Weise kann eine sehr kompakte Bauweise des Gargeräts 1 erreicht werden.
  • In Fig. 7 ist das Gargerät von Fig. 6 mit geschlossener Garraumtür dargestellt. Schematisch ist in Fig. 7 am Rande der Sichtöffnung 9 und im Rahmen der Garraumtür 3 eine Mehrzahl von Beleuchtungseinrichtungen 31 bzw. 32 vorgesehen, wobei diese besser in den alternative Ausführungsformen darstellenden Fig. 8a-c und 9a-c zu sehen sind, die eine Schnittansicht entlang der Linie A-A von Fig. 7 darstellen.
  • Ein wesentliches Problem bei der Anordnung eines Anzeige- und Bedienfeldes an bzw. in der Sichtöffnung 9 der Gargerätetür ist die während des Garens im Garraum herrschende Temperatur, die die zulässige Betriebstemperatur üblicher Displays und Touchscreens übersteigt. Aus diesem Grund schlägt die vorliegende Erfindung eine mehrschichtige transparente Gargerätesichtöffnung 9 vor, die folgenden Aufbau haben kann.
  • In Fig. 8a ist einer erste Ausführungsform der Garaumtür 3 im Schnitt dargestellt. Eine äußere plattenförmige Glasscheibe 25 und eine innnere, zum Garraum 4 zeigende Glasscheibe 33 begrenzen einen inneren Freiraum 37. Der innere Freiraum 37 ist mit Luft oder Vakuum gefüllt. Alternativ kann er auch mittels Kühlluft gekühlt werden. An der Innenseite der plattenförmigen Glasscheibe 25 befindet sich eine Folienschicht 23, die das Display 11 bildet. Mit dieser Ausführungsform wird der Vorteil erreicht, dass die ebene äußere Glasscheibe eine plane Fläche bietet, die gut und schnell gereinigt werden kann und relativ unempfindlich bei oft rauhem Küchenbetrieb ist.
  • Zur Erhöhung der Wärmedämmung kann gemäß Ausführungsform von Fig. 8a eine weitere Trennscheibe 35 in dem Freiraum 37 vorgesehen sein, die diesen unterteilt und einen getrennten Freiraum 27 bildet. Die die Sichtöffnung 9 bildende plattenförmige Struktur 22 ist in einem Türrahmen 29 aufgenommen. Wie aus Fig. 8a ersichtlich, befindet sich an den vertikalen Innenseiten des Türrahmens 29 eine Beleuchtung 31, di in den Freiraum 37 leuchtet und damit das Display 11 beleuchtet. Entsprechend gerichtetes Licht kann auch in den Garraum 4 dringen. Die Beleuchtung 31 kann beispielsweise in Form von LED-Bändern ausgebildet sein.
  • Anstelle einer "Dreifachverglasung" gemäß Fig. 8a, zeigen die Fig. 8b und 8c nur eine "Zweifachverglasung", bei der die mittlere Trennscheibe 35 fehlt. Während die dritte Ausführungsform von Fig. 8c eine gleiche Beleuchtung wie jene von Fig. 8a zeigt, weist die zweite Ausführungsform der Garraumtür 3 eine Beleuchtung 32, die aus einem Doppelstrang von LED-Leuchten gebildet ist. Selbstverständlich sind andere Ausführungsformen der Beleuchtung möglich.
  • Die drei Ausführungsformen der Fig. 9a-c unterscheiden sich von jenen der Fig. 8a-c nur dadurch, dass zusätzlich zur Display-Folienschicht 23 eine Touchscreen-Folienschicht 24 vorgesehen ist, die zwischen der Display-Folienschicht 23 und der äußeren Glasscheibe 25 angeordnet ist. Die Touchscreen-Folienschicht kann sich über die gesamte Sichtöffnung 9 erstrecken oder nur in Teilbereichen davon, wie beispielsweise durch das Eingabefeld 41 dargestellt.
  • Die Touchscreen-Folienschicht 24 ist als kapazitive berührungsempfindliche Schicht ausgebildet und reagiert bei Berührung der äußeren Glasscheibe 25.
  • In Fig. 10 ist schematisch eine Ausführungsform angegeben, in der ein Anzeige- und Bedienfeld 41 in vertikaler Richtung innerhalb des Displays 11 verschoben werden kann, um die optimale Höhe für die Bedienungsperson anzunehmen. Die Größe des Bedienfeldes ist den Geräteauslegungen vorbehalten, beispielsweise nur die halbe Breite der Sichtöffnung 9 oder deren gesamte Breite.
  • Die Ausführungsform des Gargeräts 1 in Fig. 11 zeigt eine schematische Anordnung von drei Anzeige- und Bedienfeldern 41 an dem Sichtfeld 9, welche der jeweiligen Einschubebene zugeordnet sind. So zeigt das obere Anzeigefeld die Zeitangabe von 22 Minuten und 40 Sekunden als verbleibende Restgarzeit für das Gargut dieses Einschubs an, die mittlere Ebene zeigt die Zeit von 13 Minuten und 20 Sekunden und die untere Ebene zeigt die Zeit von 7 Minuten und 41 Sekunden an. Weiterhin erkennt die Bedienungsperson, dass noch eine Einschubebene unterhalb der obersten Einschubebene unbesetzt ist. aufgrund der Größe der Anzeigefelder können die Restgarzeiten gemäß diesem Anordnungsbeispiel von Fig. 11 auf eine große Distanz ohne Weiteres erkannt werden, wonach sich beispielsweise der Koch richten kann, um beispielsweise weitere Speisen rechtzeitig an einer anderen Kochstelle, wie beispielsweise einem Gasherd zu den Restgarzeiten passend zubereiten kann.
  • Im rechten Feld des jeweiligen Anzeigefelds 41 könnte beispielsweise piktogrammartig oder fotografisch das entsprechende Gargut angezeigt werden, was die Zuordnung noch weiter erleichtert, insbesondere bei großen Gargeräten mit einer Vielzahl von Einschubebenen. Fig. 12 zeigt schematisch die Anordnung eines Näherungssensors 43, welcher beispielsweise bei einem sich Nähern einer Bedienungsperson automatisch die Anzeige aufleuchten lässt.
  • Ist das Gerät in bestimmten Betriebspositionen wie beispielsweise dem Reinigungsvorgang, kann durch das Ansteuern des Displays 11 die Sichtöffnung 9 blickdicht gemacht werden, d. h. sie wird intransparent. Dies ist in Fig. 13 dargestellt.
  • Eine weitere Möglichkeit der Verwendung des Displays 11 zeigt die Fig. 14. Auf der Anzeige können weitere kundenspezifische Angaben gemacht werden. In einer weiteren Alternative gemäß Fig. 15 ist die Möglichkeit gegeben, durch eine entsprechende Anzeige anzugeben, welche Einschubebene für den bevorstehenden Garschritt zu verwenden ist.
  • In Fig. 16 ist eine Alternative dargestellt, das Produkt, das sich dahinter in der entsprechenden Einschubebene im Garraum befindet, durch ein Logo am Display anzeigen zu lassen.
  • Zum Anschluss der in der Gargerätetür eingesetzten Elemente, wie Beleuchtung und Anzeige- und Bedienfeld (Display und Touchscreen) ist eine entsprechende Daten- und Energieübertragung erforderlich. Hierzu verwendete Kabel (nicht dargestellt) müssen der mechanischen und thermischen Dauerbelastung gewachsen sein.
  • Nachfolgend sind weitere alternative Ausführungsformen der vorliegenden Erfindung beschrieben.
  • Die Fig. 17a bis 17d zeigen schematisch die Ansicht von vom auf ein Gargerät 1 respektive auf die Gargerätetür 3. Die Tür hat einen umlaufenden Rahmen und das Display 11 entspricht der gesamten Sichtfläche 9. Zusätzlich ist ein Eingabefeld 41 beispielsweise als Touchscreen vorgesehen.
  • In Fig. 17a wird im Bedienfeld 41 das Gargut "Braten" ausgewählt. In Fig. 17b wird dieser auf die unterste Einschubebene gezogen. In Fig. 17c wird das Gargut "Gemüse" ausgewählt und in Fig.17d wird das Gemüse auf die zweite Ebene von unten platziert. So kann sukzessive der Garraum belegt werden.
  • Ist gemäß Fig. 18a bis 18d nicht die gesamte Displayfläche mittels Berührung (Touch) bedienbar, kann innerhalb des Bedienelements ein Schema des Garraumes angezeigt werden. In diesem Schema des Garraumes, der sechs Einschubebenen aufweisen kann, wird beispielsweise Ebene 6 aktiviert und das Gargut "Braten" ausgewählt (siehe Fig. 18a). Nach der Bestätigung dieser Auswahl wird in der richtigen Ebene "Braten" angezeigt (siehe Fig. 18b). Daraufhin wird für Ebene 5 "Gemüse" im Touchbereich ausgewählt (siehe Fig. 18c) und nach Bestätigung an der echten Position im Garraum dargestellt.
  • In den Fig. 19a bis 19d ist das Gargerät 1 mit einem weiteren Gargerät 1' verbunden und die Auswahl und Verteilung der Gargüter und/oder Garprogramme kann aus einem Bedienbereich erfolgen. Beispielsweise wird dem Gargerät 1 in Fig. 19a der Garraum 1 und der Garraum 2 angezeigt. In Fig. 19b wird entschieden mittels Eingabe am Bedienfeld 41, dass der Braten in den Garraum 2 des Gargeräts 1' anzuordnen ist. Die Auswahl des Gemüses gemäß Fig. 19c erfolgt, wie in Fig. 19d gezeigt, durch Auswahl des Garraums 1 mittels des Anzeige- und Bedienfelds 41.
  • Es wird nunmehr Bezug genommen auf die Fig. 20a und 20b. In Fig. 20a ist eine relativ große Person an dem erfindungsgemäßen Gargerät 1 dargestellt und das Anzeige- und Bedienfeld 41 befindet sich im oberen Bereich der Sichtfläche 9 der Gargerätetür 3, die den Garraum 4 verschließt. Eine Person 47 hat guten Blick auf die hohe Position des Anzeige- und Bedienfeldes 41 aufgrund ihrer Körpergröße.
  • Gemäß der vorliegenden Erfindung kann eine Anpassung an die Körpergröße einer zweiten Person 49 erfolgen, welche kleiner ist als die Person 47, und das Anzeige- und Bedienfeld 41 kann entsprechend nach unten verschoben werden, wie in Fig. 10 dargestellt.
  • In Fig. 21 ist angegeben, dass Vorschläge für weitere Gargüter, beispielsweise zwei Einschübe weiteres Gemüse passend zu dem Garraumklima für das Gargut Bohnen und Erbsen seitens des Gargeräts vorgeschlagen und entsprechend angezeigt werden kann.
  • In den Fig. 22a bis 22c sind beispielhaft weitere mögliche Anzeigen dargestellt: transparent mit kleiner Anzeige gemäß Anzeige- und Bedienfeld 41, in Fig. 22 Anzeige über das gesamte Sichtfeld mit der wärmenden Aussage "Frische Brötchen in 2.00 Minuten" oder gemäß Fig. 22c kann die Ware Brötchen angezeigt werden, mit dem Hinweis, dass frische Brötchen in zwei Minuten zur Verfügung stehen.
  • Gemäß der vorliegenden Erfindung kann der Blick in den Garraum abrupt, in Schritten oder durch ansteigende Transparenz ermöglicht werden und eine Signalwirkung ausüben. Beispielsweise werden in einem vom Kunden einsehbaren Bereich Backwaren im Gargerät fertiggestellt. Mit Ablauf der Garzeit endet die Gargerätesteuerung den Zustand der Sichtöffnung von undurchsichtig zu transparent und ermöglicht den Blick auf die fertig zubereiteten Backwaren. Dies kann beispielsweise gemäß Fig. 22b so erfolgen, dass die Anzeige "Frische Brötchen in 2 Minuten" verbunden wird mit einem undurchsichtigen Display, und wenn die zwei Minuten abgelaufen sind, das Display wieder transparent wird.
  • Mit der vorliegenden Erfindung wird somit ein Gargerät geschaffen, das ein erheblich vergrößertes Display aufweist, auf welchem eine Vielzahl von Informationen auch in vergrößertem Maßstab angezeigt werden können, welche auch von größerer Entfernung von der Bedienungsperson, dem Koch oder auch dem Kunden im Laden leicht erfasst werden können. Weist das Display zusätzlich zumindest in Teilbereichen eine Touchscreen Funktion auf, so ergeben sich entsprechend komfortable Möglichkeiten der Bedienung und Gerätesteuerung, wie sie bei den Geräten des Standes der Technik bisher nicht vorhanden waren.
  • Bezugszeichenliste
    • 1 - Gargerät
    • 2 - Gehäuse
    • 3 - Gargeräte- bzw. Garraumtür
    • 4 - Garraum
    • 5 - Seitenpfosten
    • 6 - Gargerätfuß
    • 7 - Handgriff
    • 8 - Eingabe- bzw. Bedienfeld
    • 9 - Sichtöffnung/Glasscheibe
    • 10 - Finger
    • 11 - Display
    • 12 - Pfeil
    • 13 - Einschub
    • 14 - Anzeige
    • 15 - Abfluss
    • 16 - Pfeil
    • 17 - Wärmetauscher
    • 18 - Bedienfeld
    • 19 - Boden
    • 21 - Schublade
    • 22 - mehrschichtige plattenförmige Struktur
    • 23 - Display-Folienschicht
    • 24 - Touchscreen-Folienschicht
    • 25 - äußere Glasscheibe
    • 27 - Freiraum
    • 29 - Gerätetürrahmen
    • 31 - Beleuchtung
    • 32 - Beleuchtung
    • 33 - innere Glasscheibe
    • 35 - Zwischenscheibe
    • 37 - Freiraum
    • 41 - Anzeige- und Bedienfeld
    • 43 - Näherungssensor
    • 45 - Untersatz
    • 47 - große Person
    • 49 - kleine Person
    • 50 - Touch-Bedienfeld
    • 51 - linke Maustaste
    • 53 - rechte Maustaste

Claims (15)

  1. Gargerät (1) mit einem Gehäuse (2), einer Gargeräte- bzw. Garraumtür (3) zum Öffnen und Schließen eines Garraums (4) des Gargeräts (1), und zumindest einer Sichtöffnung (9) in der Garraumtür (3), wobei zumindest ein Teil der Sichtöffnung in der Lage ist, die Zustände durchsichtig und undurchsichtig anzunehmen, wobei der zumindest eine Teil der Sichtöffnung (9) ein transparentes Display (11) aufweist, welches in der Lage ist, Informationen darzustellen,
    dadurch gekennzeichnet,
    dass das transparente Display (11) die verschiedenen Einschubebenen des Garraums zumindest teilweise überdeckt und geeignet und ausgebildet ist, die Informationen zu den verschiedenen Einschubebenen diesen räumlich zugeordnet darzustellen.
  2. Gargerät nach Anspruch 1, dadurch gekennzeichnet, dass zumindest ein Teil der Sichtöffnung den Zustand halbtransparent annehmen kann.
  3. Gargerät nach Anspruch 1 oder 2, dadurch gekennzeichnet, dass zumindest ein Teil der in ihrer Durchsichtigkeit einstellbaren Sichtöffnung (9) ein durchsichtiges berührungsempfindliches Eingabefeld (41), insbesondere einen Touchscreen, aufweist.
  4. Gargerät nach einem der Ansprüche 1 bis 3, dadurch gekennzeichnet, dass die Sichtöffnung (9) beleuchtet ist, und dass die Beleuchtung der Sichtöffnung (9) aus dem Garraum (4) und/oder aus einem Rahmenbereich (29) der Garraumtür (3) erfolgt.
  5. Gargerät nach einem der Ansprüche 1 bis 4, dadurch gekennzeichnet, dass das transparente Display (11) mit einer Steuerung und einer Eingabeeinrichtung (8) verbunden ist und geeignet ist, die Daten von der Eingabeeinrichtung (8) auf dem in seiner Durchsichtigkeit einstellbaren Bereich der Sichtöffnung (9) darzustellen.
  6. Gargerät nach Anspruch 5, dadurch gekennzeichnet, dass die Eingabeeinrichtung (8) ein relativ kleines Touchpad ist, das in einem Seitenbereich bzw. einem Seitenposten (5) der Frontseite des Gargerätes oder im Türrahmen (29) der Garraumtür (3) der Gargerätes (1) angeordnet ist.
  7. Gargerät nach einem der Ansprüche 1 bis 6, dadurch gekennzeichnet, dass mittels des transparenten Displays (11) als großer Monitor Inhalte bzw. Informationen aus beliebigen Quellen, insbesondere Werbeinformationen, Layout des Geräteinhabers, wie beispielsweise Name des Restaurants oder Informationen eines Computers oder Notebooks oder Sicherheitshinweise großflächig darstellbar sind.
  8. Gargerät nach einem der Ansprüche 3 bis 7, dadurch gekennzeichnet, dass der zur Eingabe vorgesehene Bereich (41) des transparenten Displays (11) in seiner Lage verschiebbar, insbesondere höhenverschiebbar ist.
  9. Gargerät nach einem der Ansprüche 1 bis 8, dadurch gekennzeichnet, dass bei Vorgängen, in denen der Garraum bzw. Bereiche hiervon nicht einsehbar sein soll bzw. sollen, das transparente Display (11) gesamt oder in diesen Bereichen in einen undurchsichtigen Zustand umschaltbar ist.
  10. Gargerät nach einem der Ansprüche 1 bis 9, dadurch gekennzeichnet, dass nicht mit Gargut belegte Bereiche des Garraums (4) nicht transparent dargestellt bzw. ausgeblendet werden.
  11. Gargerät nach einem der Ansprüche 1 bis 9, dadurch gekennzeichnet, dass nicht mit Gargut belegte Bereiche des Garraums (4) hervorgehoben werden und am Display (11) auf weitere passende Gargüter in diesen Bereichen hingewiesen wird.
  12. Gargerät nach einem der Ansprüche 1 bis 11, dadurch gekennzeichnet, dass der zur Eingabe vorgesehene Bereich (41) des transparenten Displays (11) räumlich einem ihm zugehörigen Garraumbereich zugeordnet ist.
  13. Gargerät nach einem der Ansprüche 1 bis 12, dadurch gekennzeichnet, dass die Anzeige und/oder die Steuerungseingabe von mehreren Gargeräten auf einem Display eines Gargerätes erfolgt.
  14. Gargerät nach einem der Ansprüche 1 bis 13, dadurch gekennzeichnet, dass die Sichtöffnung (9) von einer mehrschichtigen plattenförmigen Struktur (22) gebildet ist,
    dass die mehrschichtige plattenförmige Struktur eine äußere Glasscheibe (25), eine innere, zum Garraum (4) gerichtete Glasscheibe (33) und eine das Display (11) bildende Folienschicht (23) aufweist, die sich an der Innenseite der äußeren Glasscheibe (25) befindet,
    dass zwischen der Display-Folienschicht (23) und der inneren Glasscheibe (33) ein erster Freiraum (37) vorgesehen ist, der mit Luft oder Vakuum gefüllt ist, oder mittels durchströmender Luft oder Gas gekühlt wird, und
    dass zumindest eine seitliche Beleuchtung (31, 32) vorgesehen ist, die vom Rahmenbereich (29) der Garraumtür (3) in den ersten Freiraum (37) strahlt und die Display-Folienschicht (23) des Displays (11) beleuchtet.
  15. Gargerät nach einem der Ansprüche 1 bis 14, dadurch gekennzeichnet, dass die Beleuchtung (31, 32)in Form einer LED-Lichtleiste oder eines LED-Lichtbandes ausgebildet ist.
EP14710819.5A 2013-01-30 2014-01-30 Gargerät mit transparentem display Active EP2951809B2 (de)

Priority Applications (1)

Application Number Priority Date Filing Date Title
EP14710819.5A EP2951809B2 (de) 2013-01-30 2014-01-30 Gargerät mit transparentem display

Applications Claiming Priority (3)

Application Number Priority Date Filing Date Title
EP13153343 2013-01-30
PCT/EP2014/051841 WO2014118295A1 (de) 2013-01-30 2014-01-30 Gargerät mit transparentem display
EP14710819.5A EP2951809B2 (de) 2013-01-30 2014-01-30 Gargerät mit transparentem display

Publications (3)

Publication Number Publication Date
EP2951809A1 EP2951809A1 (de) 2015-12-09
EP2951809B1 EP2951809B1 (de) 2017-08-02
EP2951809B2 true EP2951809B2 (de) 2024-01-10

Family

ID=50289629

Family Applications (1)

Application Number Title Priority Date Filing Date
EP14710819.5A Active EP2951809B2 (de) 2013-01-30 2014-01-30 Gargerät mit transparentem display

Country Status (2)

Country Link
EP (1) EP2951809B2 (de)
WO (1) WO2014118295A1 (de)

Families Citing this family (10)

* Cited by examiner, † Cited by third party
Publication number Priority date Publication date Assignee Title
EP3034948B1 (de) 2014-12-19 2020-05-27 Electrolux Appliances Aktiebolag Ofentür und Ofen mit einer Ofentür
EP3256786B1 (de) * 2015-02-10 2020-04-08 Electrolux Appliances Aktiebolag Ofentür und ofen mit einer ofentür
ITUB20155043A1 (it) * 2015-10-19 2017-04-19 Piron S R L Forno per la cottura di prodotti alimentari
DE102016225680A1 (de) * 2016-12-20 2018-06-21 Convotherm-Elektrogeräte Gmbh Verfahren zum Betrieb eines Gargeräts, insbesondere eines gewerblichen Gargeräts
DE102017203511A1 (de) 2017-03-03 2018-10-04 Convotherm-Elektrogeräte Gmbh Verfahren und Vorrichtung zur gezielten Informationsvermittlung an Gargeräte nutzende Kunden und/oder Gargeräte eines Gargeräte-Herstellers
CN108797008B (zh) * 2017-04-26 2021-03-23 青岛胶南海尔洗衣机有限公司 一种互动投影洗衣机及控制方法
US11118295B2 (en) 2017-11-16 2021-09-14 Whirlpool Corporation Laundry treating appliance having a user interface within a door assembly
US11287140B2 (en) * 2019-01-04 2022-03-29 Whirlpool Corporation Cooking appliance with an imaging device
US11022322B2 (en) * 2019-01-04 2021-06-01 Whirlpool Corporation Cooking appliance with an imaging device
DE202019100108U1 (de) * 2019-01-10 2020-04-15 MKN Maschinenfabrik Kurt Neubauer GmbH & Co. KG Kombidämpfer mit wenigstens zwei Gareinheiten und einer Dunstabzugshaube

Family Cites Families (14)

* Cited by examiner, † Cited by third party
Publication number Priority date Publication date Assignee Title
US3898977A (en) 1974-01-28 1975-08-12 White Westinghouse Corp Liquid crystal door window shutter arrangement for self-cleaning cooking oven
JP2002039538A (ja) 2000-04-18 2002-02-06 Agere Systems Guardian Corp 機器用ドア
DE20103517U1 (de) * 2001-02-28 2001-05-10 Rational Ag Gargerät mit funktionalisierter Gargerätetür
JP2003125904A (ja) 2001-10-24 2003-05-07 Denso Corp 表示機能付きショーケース
DE102004036212A1 (de) 2004-07-26 2006-03-30 BSH Bosch und Siemens Hausgeräte GmbH Haushaltsgerätevorbereitung
WO2006021936A1 (en) 2004-08-27 2006-03-02 Arcelik Anonim Sirketi A household appliance
PL1891499T3 (pl) 2005-06-03 2012-05-31 Electrolux Ab Urządzenie gospodarstwa domowego wyposażone w chowany interfejs użytkownika
KR101318358B1 (ko) 2006-12-18 2013-10-15 엘지전자 주식회사 공기조화기
DE202008000135U1 (de) 2007-07-24 2008-03-13 Bauer, Robert Vorrichtung zum Herstellen von Speisen oder Backwaren
DE102007061522A1 (de) 2007-12-20 2009-06-25 BSH Bosch und Siemens Hausgeräte GmbH Haushaltsgerät
WO2009138359A2 (de) 2008-05-13 2009-11-19 BSH Bosch und Siemens Hausgeräte GmbH Haushaltsgerät mit bilderfassungsvorrichtung
EP2182503A1 (de) * 2008-11-04 2010-05-05 Electrolux Home Products N.V. Haushaltsgerät
DE102010015774A1 (de) 2010-04-21 2011-10-27 Liebherr-Hausgeräte Ochsenhausen GmbH Kühl- und/oder Gefriergerät
KR101843337B1 (ko) * 2010-10-28 2018-03-30 삼성전자주식회사 디스플레이 모듈 및 디스플레이 시스템

Also Published As

Publication number Publication date
EP2951809A1 (de) 2015-12-09
WO2014118295A1 (de) 2014-08-07
EP2951809B1 (de) 2017-08-02

Similar Documents

Publication Publication Date Title
EP2951809B2 (de) Gargerät mit transparentem display
EP2391851B1 (de) Verfahren zur auswahl und anordnung von programm-repräsentanten und gargerät hierfür
DE102008064119B4 (de) Bordküche für ein Flugzeug
EP2211116B1 (de) Verfahren zur Visualisierung von Programmen und Gargerät hierfür
EP2211114B1 (de) Verfahren zur Anordnung von Programmen
EP2211115B1 (de) Verfahren zur Anordnung von Programmen
DE102010060295A1 (de) Programmgesteuertes Haushaltsgerät mit einer Bedien- und Anzeigeeinrichtung
DE102011051796A1 (de) Waschgut-behandlungsgerät mit ausgabelade
DE102008021246A1 (de) Anzeige- und/oder Bedieneinrichtung, Gargerät damit und Verfahren dazu
EP3601912A1 (de) Haushaltskältegerät mit einer gerätekomponente mit von oben greifbarer mulde in einer schrägen streifenfläche
DE102008032449B4 (de) Verfahren zum Verändern wenigstens einer Anzeige eines Bedienmenüs eines Gargeräts
DE10236212A1 (de) Kühlschrank
DE102008032451C5 (de) Anzeigeverfahren und Gargerät hierfür
DE102008032450B4 (de) Anzeigeverfahren und Gargerät hierfür
EP1690271A1 (de) Elektrogerät mit benutzerführung
EP2702922A2 (de) Verfahren zum Bedienen eines Haushaltsgeräts sowie Haushaltsgerät mit ergonomischer Bedienvorrichtung
EP4415598B1 (de) Verfahren und haushaltgerät zum präsentieren einer geräteinformation
DE102010037388B4 (de) Verfahren zum Führen eines Garprozesses
DE102018116092A1 (de) Gargerät-Steuerungseinheit für ein Gargerät sowie Gargerät und Steuerungsverfahren
DE102008032452A1 (de) Anzeigeverfahren und Gargerät hierfür
DE102008032447B4 (de) Anzeigeverfahren für ein Gargerät
EP3505026B1 (de) Verfahren zum anzeigen eines bedienmenüs und ansteuern eines gargeräts
BE1030351B1 (de) Haushaltsgerät, vorzugsweise Küchengerät, besonders vorzugsweise Kochfeld
EP3050482B1 (de) Haushaltsgerät
DE19810438A1 (de) Herd mit vier Kochzonen und einem Back- und Bratofen

Legal Events

Date Code Title Description
PUAI Public reference made under article 153(3) epc to a published international application that has entered the european phase

Free format text: ORIGINAL CODE: 0009012

17P Request for examination filed

Effective date: 20150810

AK Designated contracting states

Kind code of ref document: A1

Designated state(s): AL AT BE BG CH CY CZ DE DK EE ES FI FR GB GR HR HU IE IS IT LI LT LU LV MC MK MT NL NO PL PT RO RS SE SI SK SM TR

AX Request for extension of the european patent

Extension state: BA ME

DAX Request for extension of the european patent (deleted)
REG Reference to a national code

Ref country code: DE

Ref legal event code: R079

Ref document number: 502014004796

Country of ref document: DE

Free format text: PREVIOUS MAIN CLASS: G09F0009350000

Ipc: F24C0007080000

GRAP Despatch of communication of intention to grant a patent

Free format text: ORIGINAL CODE: EPIDOSNIGR1

STAA Information on the status of an ep patent application or granted ep patent

Free format text: STATUS: GRANT OF PATENT IS INTENDED

RIC1 Information provided on ipc code assigned before grant

Ipc: G09F 23/00 20060101ALI20170314BHEP

Ipc: G09F 9/35 20060101ALI20170314BHEP

Ipc: G09F 9/33 20060101ALI20170314BHEP

Ipc: F24C 7/08 20060101AFI20170314BHEP

INTG Intention to grant announced

Effective date: 20170410

GRAS Grant fee paid

Free format text: ORIGINAL CODE: EPIDOSNIGR3

GRAA (expected) grant

Free format text: ORIGINAL CODE: 0009210

STAA Information on the status of an ep patent application or granted ep patent

Free format text: STATUS: THE PATENT HAS BEEN GRANTED

AK Designated contracting states

Kind code of ref document: B1

Designated state(s): AL AT BE BG CH CY CZ DE DK EE ES FI FR GB GR HR HU IE IS IT LI LT LU LV MC MK MT NL NO PL PT RO RS SE SI SK SM TR

REG Reference to a national code

Ref country code: AT

Ref legal event code: REF

Ref document number: 914899

Country of ref document: AT

Kind code of ref document: T

Effective date: 20170815

Ref country code: CH

Ref legal event code: EP

REG Reference to a national code

Ref country code: IE

Ref legal event code: FG4D

Free format text: LANGUAGE OF EP DOCUMENT: GERMAN

REG Reference to a national code

Ref country code: DE

Ref legal event code: R096

Ref document number: 502014004796

Country of ref document: DE

REG Reference to a national code

Ref country code: NL

Ref legal event code: MP

Effective date: 20170802

REG Reference to a national code

Ref country code: LT

Ref legal event code: MG4D

REG Reference to a national code

Ref country code: FR

Ref legal event code: PLFP

Year of fee payment: 5

PG25 Lapsed in a contracting state [announced via postgrant information from national office to epo]

Ref country code: HR

Free format text: LAPSE BECAUSE OF FAILURE TO SUBMIT A TRANSLATION OF THE DESCRIPTION OR TO PAY THE FEE WITHIN THE PRESCRIBED TIME-LIMIT

Effective date: 20170802

Ref country code: NL

Free format text: LAPSE BECAUSE OF FAILURE TO SUBMIT A TRANSLATION OF THE DESCRIPTION OR TO PAY THE FEE WITHIN THE PRESCRIBED TIME-LIMIT

Effective date: 20170802

Ref country code: SE

Free format text: LAPSE BECAUSE OF FAILURE TO SUBMIT A TRANSLATION OF THE DESCRIPTION OR TO PAY THE FEE WITHIN THE PRESCRIBED TIME-LIMIT

Effective date: 20170802

Ref country code: LT

Free format text: LAPSE BECAUSE OF FAILURE TO SUBMIT A TRANSLATION OF THE DESCRIPTION OR TO PAY THE FEE WITHIN THE PRESCRIBED TIME-LIMIT

Effective date: 20170802

Ref country code: FI

Free format text: LAPSE BECAUSE OF FAILURE TO SUBMIT A TRANSLATION OF THE DESCRIPTION OR TO PAY THE FEE WITHIN THE PRESCRIBED TIME-LIMIT

Effective date: 20170802

Ref country code: NO

Free format text: LAPSE BECAUSE OF FAILURE TO SUBMIT A TRANSLATION OF THE DESCRIPTION OR TO PAY THE FEE WITHIN THE PRESCRIBED TIME-LIMIT

Effective date: 20171102

PG25 Lapsed in a contracting state [announced via postgrant information from national office to epo]

Ref country code: ES

Free format text: LAPSE BECAUSE OF FAILURE TO SUBMIT A TRANSLATION OF THE DESCRIPTION OR TO PAY THE FEE WITHIN THE PRESCRIBED TIME-LIMIT

Effective date: 20170802

Ref country code: PL

Free format text: LAPSE BECAUSE OF FAILURE TO SUBMIT A TRANSLATION OF THE DESCRIPTION OR TO PAY THE FEE WITHIN THE PRESCRIBED TIME-LIMIT

Effective date: 20170802

Ref country code: BG

Free format text: LAPSE BECAUSE OF FAILURE TO SUBMIT A TRANSLATION OF THE DESCRIPTION OR TO PAY THE FEE WITHIN THE PRESCRIBED TIME-LIMIT

Effective date: 20171102

Ref country code: RS

Free format text: LAPSE BECAUSE OF FAILURE TO SUBMIT A TRANSLATION OF THE DESCRIPTION OR TO PAY THE FEE WITHIN THE PRESCRIBED TIME-LIMIT

Effective date: 20170802

Ref country code: GR

Free format text: LAPSE BECAUSE OF FAILURE TO SUBMIT A TRANSLATION OF THE DESCRIPTION OR TO PAY THE FEE WITHIN THE PRESCRIBED TIME-LIMIT

Effective date: 20171103

Ref country code: IS

Free format text: LAPSE BECAUSE OF FAILURE TO SUBMIT A TRANSLATION OF THE DESCRIPTION OR TO PAY THE FEE WITHIN THE PRESCRIBED TIME-LIMIT

Effective date: 20171202

Ref country code: LV

Free format text: LAPSE BECAUSE OF FAILURE TO SUBMIT A TRANSLATION OF THE DESCRIPTION OR TO PAY THE FEE WITHIN THE PRESCRIBED TIME-LIMIT

Effective date: 20170802

PG25 Lapsed in a contracting state [announced via postgrant information from national office to epo]

Ref country code: DK

Free format text: LAPSE BECAUSE OF FAILURE TO SUBMIT A TRANSLATION OF THE DESCRIPTION OR TO PAY THE FEE WITHIN THE PRESCRIBED TIME-LIMIT

Effective date: 20170802

Ref country code: CZ

Free format text: LAPSE BECAUSE OF FAILURE TO SUBMIT A TRANSLATION OF THE DESCRIPTION OR TO PAY THE FEE WITHIN THE PRESCRIBED TIME-LIMIT

Effective date: 20170802

Ref country code: RO

Free format text: LAPSE BECAUSE OF FAILURE TO SUBMIT A TRANSLATION OF THE DESCRIPTION OR TO PAY THE FEE WITHIN THE PRESCRIBED TIME-LIMIT

Effective date: 20170802

REG Reference to a national code

Ref country code: DE

Ref legal event code: R026

Ref document number: 502014004796

Country of ref document: DE

PLBI Opposition filed

Free format text: ORIGINAL CODE: 0009260

PLAX Notice of opposition and request to file observation + time limit sent

Free format text: ORIGINAL CODE: EPIDOSNOBS2

PG25 Lapsed in a contracting state [announced via postgrant information from national office to epo]

Ref country code: EE

Free format text: LAPSE BECAUSE OF FAILURE TO SUBMIT A TRANSLATION OF THE DESCRIPTION OR TO PAY THE FEE WITHIN THE PRESCRIBED TIME-LIMIT

Effective date: 20170802

Ref country code: SK

Free format text: LAPSE BECAUSE OF FAILURE TO SUBMIT A TRANSLATION OF THE DESCRIPTION OR TO PAY THE FEE WITHIN THE PRESCRIBED TIME-LIMIT

Effective date: 20170802

Ref country code: SM

Free format text: LAPSE BECAUSE OF FAILURE TO SUBMIT A TRANSLATION OF THE DESCRIPTION OR TO PAY THE FEE WITHIN THE PRESCRIBED TIME-LIMIT

Effective date: 20170802

26 Opposition filed

Opponent name: RATIONAL AG

Effective date: 20180502

PG25 Lapsed in a contracting state [announced via postgrant information from national office to epo]

Ref country code: SI

Free format text: LAPSE BECAUSE OF FAILURE TO SUBMIT A TRANSLATION OF THE DESCRIPTION OR TO PAY THE FEE WITHIN THE PRESCRIBED TIME-LIMIT

Effective date: 20170802

PG25 Lapsed in a contracting state [announced via postgrant information from national office to epo]

Ref country code: MT

Free format text: LAPSE BECAUSE OF FAILURE TO SUBMIT A TRANSLATION OF THE DESCRIPTION OR TO PAY THE FEE WITHIN THE PRESCRIBED TIME-LIMIT

Effective date: 20170802

PLBB Reply of patent proprietor to notice(s) of opposition received

Free format text: ORIGINAL CODE: EPIDOSNOBS3

PG25 Lapsed in a contracting state [announced via postgrant information from national office to epo]

Ref country code: LU

Free format text: LAPSE BECAUSE OF NON-PAYMENT OF DUE FEES

Effective date: 20180130

REG Reference to a national code

Ref country code: IE

Ref legal event code: MM4A

REG Reference to a national code

Ref country code: BE

Ref legal event code: MM

Effective date: 20180131

PG25 Lapsed in a contracting state [announced via postgrant information from national office to epo]

Ref country code: BE

Free format text: LAPSE BECAUSE OF NON-PAYMENT OF DUE FEES

Effective date: 20180131

PG25 Lapsed in a contracting state [announced via postgrant information from national office to epo]

Ref country code: IE

Free format text: LAPSE BECAUSE OF NON-PAYMENT OF DUE FEES

Effective date: 20180130

PG25 Lapsed in a contracting state [announced via postgrant information from national office to epo]

Ref country code: MC

Free format text: LAPSE BECAUSE OF FAILURE TO SUBMIT A TRANSLATION OF THE DESCRIPTION OR TO PAY THE FEE WITHIN THE PRESCRIBED TIME-LIMIT

Effective date: 20170802

PLCK Communication despatched that opposition was rejected

Free format text: ORIGINAL CODE: EPIDOSNREJ1

REG Reference to a national code

Ref country code: AT

Ref legal event code: MM01

Ref document number: 914899

Country of ref document: AT

Kind code of ref document: T

Effective date: 20190130

PG25 Lapsed in a contracting state [announced via postgrant information from national office to epo]

Ref country code: TR

Free format text: LAPSE BECAUSE OF FAILURE TO SUBMIT A TRANSLATION OF THE DESCRIPTION OR TO PAY THE FEE WITHIN THE PRESCRIBED TIME-LIMIT

Effective date: 20170802

APBM Appeal reference recorded

Free format text: ORIGINAL CODE: EPIDOSNREFNO

APBP Date of receipt of notice of appeal recorded

Free format text: ORIGINAL CODE: EPIDOSNNOA2O

APAH Appeal reference modified

Free format text: ORIGINAL CODE: EPIDOSCREFNO

PG25 Lapsed in a contracting state [announced via postgrant information from national office to epo]

Ref country code: AT

Free format text: LAPSE BECAUSE OF NON-PAYMENT OF DUE FEES

Effective date: 20190130

PGFP Annual fee paid to national office [announced via postgrant information from national office to epo]

Ref country code: GB

Payment date: 20200128

Year of fee payment: 7

PG25 Lapsed in a contracting state [announced via postgrant information from national office to epo]

Ref country code: PT

Free format text: LAPSE BECAUSE OF FAILURE TO SUBMIT A TRANSLATION OF THE DESCRIPTION OR TO PAY THE FEE WITHIN THE PRESCRIBED TIME-LIMIT

Effective date: 20170802

PGFP Annual fee paid to national office [announced via postgrant information from national office to epo]

Ref country code: CH

Payment date: 20200122

Year of fee payment: 7

PG25 Lapsed in a contracting state [announced via postgrant information from national office to epo]

Ref country code: HU

Free format text: LAPSE BECAUSE OF FAILURE TO SUBMIT A TRANSLATION OF THE DESCRIPTION OR TO PAY THE FEE WITHIN THE PRESCRIBED TIME-LIMIT; INVALID AB INITIO

Effective date: 20140130

Ref country code: MK

Free format text: LAPSE BECAUSE OF NON-PAYMENT OF DUE FEES

Effective date: 20170802

Ref country code: CY

Free format text: LAPSE BECAUSE OF FAILURE TO SUBMIT A TRANSLATION OF THE DESCRIPTION OR TO PAY THE FEE WITHIN THE PRESCRIBED TIME-LIMIT

Effective date: 20170802

PGFP Annual fee paid to national office [announced via postgrant information from national office to epo]

Ref country code: FR

Payment date: 20200128

Year of fee payment: 7

PG25 Lapsed in a contracting state [announced via postgrant information from national office to epo]

Ref country code: AL

Free format text: LAPSE BECAUSE OF FAILURE TO SUBMIT A TRANSLATION OF THE DESCRIPTION OR TO PAY THE FEE WITHIN THE PRESCRIBED TIME-LIMIT

Effective date: 20170802

APBQ Date of receipt of statement of grounds of appeal recorded

Free format text: ORIGINAL CODE: EPIDOSNNOA3O

REG Reference to a national code

Ref country code: CH

Ref legal event code: PL

GBPC Gb: european patent ceased through non-payment of renewal fee

Effective date: 20210130

PG25 Lapsed in a contracting state [announced via postgrant information from national office to epo]

Ref country code: FR

Free format text: LAPSE BECAUSE OF NON-PAYMENT OF DUE FEES

Effective date: 20210131

PG25 Lapsed in a contracting state [announced via postgrant information from national office to epo]

Ref country code: LI

Free format text: LAPSE BECAUSE OF NON-PAYMENT OF DUE FEES

Effective date: 20210131

Ref country code: CH

Free format text: LAPSE BECAUSE OF NON-PAYMENT OF DUE FEES

Effective date: 20210131

Ref country code: GB

Free format text: LAPSE BECAUSE OF NON-PAYMENT OF DUE FEES

Effective date: 20210130

APBU Appeal procedure closed

Free format text: ORIGINAL CODE: EPIDOSNNOA9O

PUAH Patent maintained in amended form

Free format text: ORIGINAL CODE: 0009272

STAA Information on the status of an ep patent application or granted ep patent

Free format text: STATUS: PATENT MAINTAINED AS AMENDED

27A Patent maintained in amended form

Effective date: 20240110

AK Designated contracting states

Kind code of ref document: B2

Designated state(s): AL AT BE BG CH CY CZ DE DK EE ES FI FR GB GR HR HU IE IS IT LI LT LU LV MC MK MT NL NO PL PT RO RS SE SI SK SM TR

REG Reference to a national code

Ref country code: DE

Ref legal event code: R102

Ref document number: 502014004796

Country of ref document: DE

PGFP Annual fee paid to national office [announced via postgrant information from national office to epo]

Ref country code: DE

Payment date: 20250130

Year of fee payment: 12

PGFP Annual fee paid to national office [announced via postgrant information from national office to epo]

Ref country code: IT

Payment date: 20250129

Year of fee payment: 12