EP2918924A1 - Klimaanlage - Google Patents

Klimaanlage Download PDF

Info

Publication number
EP2918924A1
EP2918924A1 EP13842440.3A EP13842440A EP2918924A1 EP 2918924 A1 EP2918924 A1 EP 2918924A1 EP 13842440 A EP13842440 A EP 13842440A EP 2918924 A1 EP2918924 A1 EP 2918924A1
Authority
EP
European Patent Office
Prior art keywords
level
difference
height
portions
difference portions
Prior art date
Legal status (The legal status is an assumption and is not a legal conclusion. Google has not performed a legal analysis and makes no representation as to the accuracy of the status listed.)
Granted
Application number
EP13842440.3A
Other languages
English (en)
French (fr)
Other versions
EP2918924A4 (de
EP2918924B1 (de
Inventor
Masafumi UDA
Satoshi Nakai
Current Assignee (The listed assignees may be inaccurate. Google has not performed a legal analysis and makes no representation or warranty as to the accuracy of the list.)
Daikin Industries Ltd
Original Assignee
Daikin Industries Ltd
Priority date (The priority date is an assumption and is not a legal conclusion. Google has not performed a legal analysis and makes no representation as to the accuracy of the date listed.)
Filing date
Publication date
Application filed by Daikin Industries Ltd filed Critical Daikin Industries Ltd
Publication of EP2918924A1 publication Critical patent/EP2918924A1/de
Publication of EP2918924A4 publication Critical patent/EP2918924A4/de
Application granted granted Critical
Publication of EP2918924B1 publication Critical patent/EP2918924B1/de
Active legal-status Critical Current
Anticipated expiration legal-status Critical

Links

Images

Classifications

    • FMECHANICAL ENGINEERING; LIGHTING; HEATING; WEAPONS; BLASTING
    • F04POSITIVE - DISPLACEMENT MACHINES FOR LIQUIDS; PUMPS FOR LIQUIDS OR ELASTIC FLUIDS
    • F04DNON-POSITIVE-DISPLACEMENT PUMPS
    • F04D17/00Radial-flow pumps, e.g. centrifugal pumps; Helico-centrifugal pumps
    • F04D17/02Radial-flow pumps, e.g. centrifugal pumps; Helico-centrifugal pumps having non-centrifugal stages, e.g. centripetal
    • F04D17/04Radial-flow pumps, e.g. centrifugal pumps; Helico-centrifugal pumps having non-centrifugal stages, e.g. centripetal of transverse-flow type
    • FMECHANICAL ENGINEERING; LIGHTING; HEATING; WEAPONS; BLASTING
    • F04POSITIVE - DISPLACEMENT MACHINES FOR LIQUIDS; PUMPS FOR LIQUIDS OR ELASTIC FLUIDS
    • F04DNON-POSITIVE-DISPLACEMENT PUMPS
    • F04D29/00Details, component parts, or accessories
    • F04D29/40Casings; Connections of working fluid
    • F04D29/42Casings; Connections of working fluid for radial or helico-centrifugal pumps
    • F04D29/4206Casings; Connections of working fluid for radial or helico-centrifugal pumps especially adapted for elastic fluid pumps
    • F04D29/422Discharge tongues
    • FMECHANICAL ENGINEERING; LIGHTING; HEATING; WEAPONS; BLASTING
    • F04POSITIVE - DISPLACEMENT MACHINES FOR LIQUIDS; PUMPS FOR LIQUIDS OR ELASTIC FLUIDS
    • F04DNON-POSITIVE-DISPLACEMENT PUMPS
    • F04D29/00Details, component parts, or accessories
    • F04D29/40Casings; Connections of working fluid
    • F04D29/42Casings; Connections of working fluid for radial or helico-centrifugal pumps
    • F04D29/44Fluid-guiding means, e.g. diffusers
    • F04D29/441Fluid-guiding means, e.g. diffusers especially adapted for elastic fluid pumps
    • FMECHANICAL ENGINEERING; LIGHTING; HEATING; WEAPONS; BLASTING
    • F04POSITIVE - DISPLACEMENT MACHINES FOR LIQUIDS; PUMPS FOR LIQUIDS OR ELASTIC FLUIDS
    • F04DNON-POSITIVE-DISPLACEMENT PUMPS
    • F04D29/00Details, component parts, or accessories
    • F04D29/66Combating cavitation, whirls, noise, vibration or the like; Balancing
    • F04D29/661Combating cavitation, whirls, noise, vibration or the like; Balancing especially adapted for elastic fluid pumps
    • F04D29/663Sound attenuation
    • FMECHANICAL ENGINEERING; LIGHTING; HEATING; WEAPONS; BLASTING
    • F04POSITIVE - DISPLACEMENT MACHINES FOR LIQUIDS; PUMPS FOR LIQUIDS OR ELASTIC FLUIDS
    • F04DNON-POSITIVE-DISPLACEMENT PUMPS
    • F04D29/00Details, component parts, or accessories
    • F04D29/66Combating cavitation, whirls, noise, vibration or the like; Balancing
    • F04D29/661Combating cavitation, whirls, noise, vibration or the like; Balancing especially adapted for elastic fluid pumps
    • F04D29/663Sound attenuation
    • F04D29/665Sound attenuation by means of resonance chambers or interference
    • FMECHANICAL ENGINEERING; LIGHTING; HEATING; WEAPONS; BLASTING
    • F04POSITIVE - DISPLACEMENT MACHINES FOR LIQUIDS; PUMPS FOR LIQUIDS OR ELASTIC FLUIDS
    • F04DNON-POSITIVE-DISPLACEMENT PUMPS
    • F04D29/00Details, component parts, or accessories
    • F04D29/66Combating cavitation, whirls, noise, vibration or the like; Balancing
    • F04D29/661Combating cavitation, whirls, noise, vibration or the like; Balancing especially adapted for elastic fluid pumps
    • F04D29/667Combating cavitation, whirls, noise, vibration or the like; Balancing especially adapted for elastic fluid pumps by influencing the flow pattern, e.g. suppression of turbulence
    • FMECHANICAL ENGINEERING; LIGHTING; HEATING; WEAPONS; BLASTING
    • F24HEATING; RANGES; VENTILATING
    • F24FAIR-CONDITIONING; AIR-HUMIDIFICATION; VENTILATION; USE OF AIR CURRENTS FOR SCREENING
    • F24F1/00Room units for air-conditioning, e.g. separate or self-contained units or units receiving primary air from a central station
    • F24F1/0007Indoor units, e.g. fan coil units
    • F24F1/0018Indoor units, e.g. fan coil units characterised by fans
    • F24F1/0025Cross-flow or tangential fans
    • FMECHANICAL ENGINEERING; LIGHTING; HEATING; WEAPONS; BLASTING
    • F24HEATING; RANGES; VENTILATING
    • F24FAIR-CONDITIONING; AIR-HUMIDIFICATION; VENTILATION; USE OF AIR CURRENTS FOR SCREENING
    • F24F1/00Room units for air-conditioning, e.g. separate or self-contained units or units receiving primary air from a central station
    • F24F1/0007Indoor units, e.g. fan coil units
    • F24F1/0043Indoor units, e.g. fan coil units characterised by mounting arrangements
    • F24F1/0047Indoor units, e.g. fan coil units characterised by mounting arrangements mounted in the ceiling or at the ceiling
    • FMECHANICAL ENGINEERING; LIGHTING; HEATING; WEAPONS; BLASTING
    • F24HEATING; RANGES; VENTILATING
    • F24FAIR-CONDITIONING; AIR-HUMIDIFICATION; VENTILATION; USE OF AIR CURRENTS FOR SCREENING
    • F24F13/00Details common to, or for air-conditioning, air-humidification, ventilation or use of air currents for screening
    • F24F13/24Means for preventing or suppressing noise
    • FMECHANICAL ENGINEERING; LIGHTING; HEATING; WEAPONS; BLASTING
    • F04POSITIVE - DISPLACEMENT MACHINES FOR LIQUIDS; PUMPS FOR LIQUIDS OR ELASTIC FLUIDS
    • F04DNON-POSITIVE-DISPLACEMENT PUMPS
    • F04D29/00Details, component parts, or accessories
    • F04D29/26Rotors specially for elastic fluids
    • F04D29/28Rotors specially for elastic fluids for centrifugal or helico-centrifugal pumps for radial-flow or helico-centrifugal pumps
    • F04D29/281Rotors specially for elastic fluids for centrifugal or helico-centrifugal pumps for radial-flow or helico-centrifugal pumps for fans or blowers
    • F04D29/282Rotors specially for elastic fluids for centrifugal or helico-centrifugal pumps for radial-flow or helico-centrifugal pumps for fans or blowers the leading edge of each vane being substantially parallel to the rotation axis
    • F04D29/283Rotors specially for elastic fluids for centrifugal or helico-centrifugal pumps for radial-flow or helico-centrifugal pumps for fans or blowers the leading edge of each vane being substantially parallel to the rotation axis rotors of the squirrel-cage type

Definitions

  • the present invention relates to an air conditioner including a cross flow fan.
  • a cross flow fan is a blower which extends in the axial direction and includes a plurality of vanes lined up in the rotational direction.
  • a front tongue portion (stabilizer) and a rear tongue portion (rear guider) are provided to oppose the outer periphery of the fan, respectively.
  • These tongue portions form an air passage on the blow-out side of the fan.
  • Each tongue portion is closest to the fan at and around the leading end. Between the leading end portion of each tongue portion and the fan, a vortex airflow is generated.
  • wind noise NZ noise
  • Patent Document 1 teaches that level-difference portions are provided at the leading end of the front tongue portion (stabilizer) to vary the height of the leading end along the axial direction.
  • the front tongue portion is closest to the fan at the leading end.
  • Each level-difference portion extends in a direction orthogonal to the axial direction, and the leading end of a part between neighboring level-difference portions is deviated from the axial direction of the fan in the rotational direction.
  • Patent Document 1 Japanese Unexamined Patent Publication No. 2-203129
  • the airflow changes its direction toward that level-difference portion 91a and climbs over the level-difference portion 91a.
  • the air flows into a bended portion of the vortex airflow in a concentrated manner, with the result that the vortex airflow is disturbed and the wind noise increases.
  • An object of the present invention is therefore to provide an air conditioner in which wind noise is suppressed by restraining the disturbance of a vortex airflow.
  • an air conditioner includes: a cross flow fan; and a stabilizer and a rear guider which are provided on respective sides of an outer periphery of the cross flow fan to form an air passage, at a leading end portion of at least one of the stabilizer and the rear guider, level-difference portions being formed to be lined up in an axial direction, the level-difference portions including first level-difference portions each of which decreases in height in the axial direction toward a central part of the fan and second level-difference portions each of which increases in height in the axial direction toward the central part of the fan, a variation in height of at least one of the first level-difference portions within a predetermined length in the axial direction being equal to a first predetermined value which is smaller than a variation in height of each of the second level-difference portions.
  • At least one of the first level-difference portions each of which decreases in height in the axial direction toward the central part of the fan, which are provided at the leading end portion of at least one of the stabilizer and the rear guider, is small in the variation in height within the predetermined length in the axial direction. It is therefore possible to restrain the airflow sucked into the fan from changing its direction toward each of the first level-difference portions and climbing over each of the first level-difference portions. As such, the flowing of the air in a concentrated manner into the bended portion of the vortex airflow generated between each of the first level-difference portions and the fan is restrained, and hence the disturbance of the vortex airflow is restrained. As a result, the wind noise is suppressed.
  • the variation in height of at least one of the first level-difference portions within the predetermined length in the axial direction is small, the degree of bending of the bended portion of the vortex airflow generated between each of the first level-difference portions and the fan is gentle, and hence the bended portion of the vortex airflow is less disturbed.
  • the vane of the fan passes the end portions in the axial direction of each level-difference portion at different timings and the vane does not pass the part between the level-difference portions at once as the height the part between the level-difference portions is gradually changed in the axial direction.
  • the wind noise is suppressed by differentiating the timings of the generation of the wind noise in this way.
  • each second level-difference portion increases toward the central part of the fan, the airflow sucked into the fan does not change its direction toward each second level-difference portion. On this account, it is unnecessary to reduce the above-described variation of each second level-difference portion.
  • the variations of all level-difference portions are reduced, the length in the axial direction of the part between neighboring level-difference portions becomes short, and hence the continuous generation of the wind noise becomes less effectively done.
  • the variations of the level-difference portions are not reduced, the continuous generation of the wind noise (i.e., generation of wind noise in a spread manner) is maintained to be effective.
  • the air conditioner of the first aspect is arranged such that, in the at least one of the first level-difference portions in which the variation in height is equal to the first predetermined value, the degree of inclination of an edge portion which extends linearly or in a curved manner from a highest point is more gentle than the degree of inclination of an edge portion of each of the second level-difference portions which edge portion extends linearly or in a curved manner from a highest point.
  • the inclination of the edge portion of the first level-difference portion in which the variation in height is equal to the first predetermined value, which edge portion extends from the highest point linearly or in a curved manner is gentle. This arrangement restrains the airflow sucked into the fan from changing its direction toward the edge portions of that first level-difference portion.
  • the air conditioner of the second aspect is arranged such that the at least one of the first level-difference portions in which the variation in height is equal to the first predetermined value extends from the highest point to a lowest point linearly or in a curved manner.
  • the first level-difference portion in which the variation in height is equal to the first predetermined value extends from the highest point linearly or in a curved manner, this first level-difference portion can be easily formed. Furthermore, when the first level-difference portion extends linearly, because the inclination of the first level-difference portion is constant and gentle across the entirety thereof in the axial direction, the airflow climbing over the first level-difference portion is reduced across the entirety in the axial direction thereof.
  • the air conditioner of the first aspect is arranged such that the height of the at least one of the first level-difference portions in which the variation in height is equal to the first predetermined value changes in stages, and an edge portion of the at least one of the first level-difference portions in which the variation in height is equal to the first predetermined value, which edge portion extends from the highest point linearly or in a curved manner is shorter than an edge portion of each of the second level-difference portions which edge portion extends from the highest point linearly or in a curved manner, and an inclination angle of the edge portion of the at least one of the first level-difference portions is identical with an inclination angle of the edge portion of each of the second level-difference portions.
  • the edge portion of the first level-difference portion in which the variation in height is equal to the first predetermined value, which edge portion extends from the highest point is identical with the edge portion extending from the highest point of the second level-difference portion in terms of the inclination angle but is shorter than the edge portion extending from the highest point of the second level-difference portion. This restrains the airflow sucked into the fan from changing its direction toward around the edge portion of that first level-difference portion.
  • the inclination of the first level-difference portion is adjustable irrespective of the length in the axial direction of the first level-difference portion.
  • the air conditioner of any one of the first to fourth aspects is arranged such that the at least one of the first level-difference portions in which the variation in height is equal to the first predetermined value is positioned to be farthest in the axial direction from the central part of the cross flow fan, among the level-difference portions.
  • the air conditioner of any one of the first to fifth aspects is arranged such that at least one of the stabilizer and the rear guider includes two or more first level-difference portions in which the variation in height is equal to the first predetermined value, and among the two or more first level-difference portions, the variation in height of one first level-difference portion which is farther in the axial direction from the central part of the fan than the other level-difference portion is smaller than the variation in height of the other level-difference portion.
  • the air conditioner of any one of the first to sixth aspects is arranged such that the first level-difference portions are provided only on one side in the axial direction of the central part of the fan, whereas the second level-difference portions are provided only on the other side in the axial direction of the central part of the fan, and the height of a part between neighboring ones of the level-difference portions gradually changes in the axial direction.
  • the air conditioner of any one of the first to sixth aspects is arranged such that the first level-difference portions and the second level-difference portions are alternately provided in the axial direction, and the height of a part between two neighboring ones of the level-difference portions is constant in the axial direction.
  • the stabilizer or the rear guider can be easily formed.
  • the air conditioner of any one of the first to eighth aspects is arranged such that the length in the axial direction of the at least one of the first level-difference portions in which the variation in height is equal to the first predetermined value is not less than 5% and not more than 30% of the interval between highest points of two neighboring ones of the level-difference portions.
  • the disturbance of the vortex airflow at the bended portion is restrained while the effect of continuous generation of wind noise is maintained, as the length in the axial direction of the first level-difference portion in which the variation in height is equal to the first predetermined value is arranged to be 5% to 30% of the interval between the highest points of the neighboring two level-difference portions.
  • the variation in height of at least one of the first level-difference portions within the predetermined length in the axial direction is small, the degree of bending of the bended portion of the vortex airflow generated between each of the first level-difference portions and the fan is gentle, and hence the bended portion of the vortex airflow is less disturbed.
  • the vane of the fan passes the end portions in the axial direction of each level-difference portion at different timings and the vane does not pass the part between the level-difference portions at once as the height the part between the level-difference portions is continuously changed in the axial direction.
  • the wind noise is suppressed by differentiating the timings of the generation of the wind noise in this way.
  • each second level-difference portion increases toward the central part of the fan, the airflow sucked into the fan does not change its direction toward each second level-difference portion. On this account, it is unnecessary to reduce the above-described variation of each second level-difference portion.
  • the variations of all level-difference portions are reduced, the length in the axial direction of the part between neighboring level-difference portions becomes short, and hence the continuous generation of the wind noise becomes less effectively done.
  • the variations of the level-difference portions are not reduced, the continuous generation of the wind noise (i.e., generation of wind noise in a spread manner) is maintained to be effective.
  • the inclination of the edge portion of the first level-difference portion in which the variation in height is equal to the first predetermined value, which edge portion extends from the highest point linearly or in a curved manner is gentle. This arrangement restrains the airflow sucked into the fan from changing its direction toward the edge portions of that first level-difference portion.
  • the first level-difference portion in which the variation in height is equal to the first predetermined value extends from the highest point linearly or in a curved manner, this first level-difference portion can be easily formed.
  • the first level-difference portion extends linearly, because the inclination of the first level-difference portion is constant and gentle across the entirety thereof in the axial direction, the airflow climbing over the first level-difference portion is reduced across the entirety in the axial direction thereof.
  • the edge portion of the first level-difference portion in which the variation in height is equal to the first predetermined value, which edge portion extends from the highest point is identical with the edge portion extending from the highest point of the second level-difference portion in terms of the inclination angle but is shorter than the edge portion extending from the highest point of the second level-difference portion. This restrains the airflow sucked into the fan from changing its direction toward around the edge portion of that first level-difference portion.
  • the inclination of the first level-difference portion is adjustable irrespective of the length in the axial direction of the first level-difference portion.
  • the suppression of the disturbance of the vortex airflow is ensured by reducing the variation in height of the first level-difference portion which is farthest from the central part of the fan.
  • the disturbance of the vortex airflow at the bended portion is restrained while the effect of continuous generation of wind noise is maintained, by reducing the variation in height of the first level-difference portion in accordance with the distance from the central part in the axial direction of the fan.
  • the vane because the height of the part between neighboring ones of the level-difference portions gradually changes in the axial direction, the vane does not pass across that part between neighboring ones of the level-difference portions at once. For this reason, when the vane passes across the part between the level-difference portions, wind noise is continuously generated, and hence the wind noise is suppressed.
  • the stabilizer or the rear guider can be easily formed.
  • the disturbance of the vortex airflow at the bended portion is restrained while the effect of continuous generation of wind noise is maintained, as the length in the axial direction of the first level-difference portion in which the variation in height is equal to the first predetermined value is arranged to be 5% to 30% of the interval between the highest points of the neighboring two level-difference portions.
  • an indoor unit 1 of an air conditioner of the present embodiment is as a whole narrow and long in one direction in shape, and is attached to a wall of a room so that the length of the air conditioner is horizontal.
  • the indoor unit 1 and an unillustrated outdoor unit constitute the air conditioner which cools or warms the room.
  • frontward a direction of protrusion from the wall to which the indoor unit 1 is attached
  • backward the direction opposite to the frontward
  • left-right direction in FIG. 1 will be simply referred to as “left-right direction”.
  • the indoor unit 1 includes a casing 2 and internal devices stored in the casing 2 such as a heat exchanger 3, a cross flow fan 10, a filter 4, and an electronic component box (not illustrated).
  • a heat exchanger 3 Through the upper surface of the casing 2 is formed an inlet port 2a, whereas through the lower surface of the casing 2 is formed an outlet port 2b.
  • a horizontal flap 5 is provided for adjusting the wind direction in the up-down direction and for opening and closing the outlet port 2b.
  • the cross flow fan 10 (hereinafter, this will be simply referred to as a fan 10) is disposed so that its axial direction is in parallel to the left-right direction. This fan 10 rotates in the direction indicated by the arrow in FIG. 2 .
  • a front guider 30 and a rear guider (rear tongue portion) 20 are provided, respectively, to form an air passage.
  • a substantial upper half of the front guider 30 is constituted by a stabilizer (front tongue portion) 32.
  • the heat exchanger 3 is disposed to surround the front side and the upper side of the fan 10. In an air conditioning operation, the fan 10 is driven so that indoor air is sucked through the inlet port 2a, and the sucked air is heated or cooled in the heat exchanger 3 and is then blown out through the outlet port 2b.
  • the fan 10 is constituted by a plurality of (six in the present embodiment) vane wheels 12 lined up in the axial direction (left-right direction) and an end plate 11.
  • the end plate 11 constitutes the right end portion of the fan 10. From a central portion of the right surface of the end plate 11, a boss portion 11a protrudes to be connected with the rotational axis of a motor (not illustrated) for driving the fan 10.
  • each of the right five vane wheels 12A is made up of vanes 15 lined up in the circumferential direction and a substantially annular supporting plate 13 connected to the left ends of the vanes.
  • the vanes 15 and the supporting plate 13 are integrally formed.
  • the right end of each vane 15 of each vane wheel 12A is joined by welding or the like with the neighboring end plate 11 or the supporting plate 13 of the neighboring vane wheel 12A.
  • the leftmost vane wheel 12B among the six vane wheels 12 is made up of vanes 15 lined up in the circumferential direction and a substantially disc-shaped end plate 14 which is connected to the left ends of the vanes 15.
  • the vanes 15 and the end plate 14 are integrally formed.
  • the right end of each vane 15 of the vane wheel 12B is joined by welding or the like with the supporting plate 13 of the neighboring vane wheel 12A.
  • a shaft (not illustrated) which is rotatably supported by a bearing attached to the casing 2 protrudes.
  • the vanes 15 of each vane wheel 12 extends in the axial direction (left-right direction), and each of which is disposed as a forward-swept wing with a predetermined blade angle.
  • the lengths of the vanes 15 of each of the five vane wheels 12A are identical in the axial direction and is substantially twice as long as the lengths of the vanes 15 of the vane wheel 12B in the axial direction.
  • the vanes 15 of each vane wheel 12 are lined up in the circumferential direction at irregular intervals.
  • the intervals of the vanes 15 are identical between the six vane wheels 12.
  • the vanes 15 may be lined up at regular intervals.
  • vanes 15 of one vane wheel 12 and the vanes 15 of the neighboring vane wheel 12 are deviated from one another in the circumferential direction.
  • vanes 15 of any given vane wheel 12 are deviated from the vanes 15 of the vane wheel 12 immediately to the left of the any given vane wheel 12 each for an angle ⁇ in the rotational direction (indicated by the arrow in FIG. 4 ).
  • each vane 15 is deviated from the corresponding vane 15 of the neighboring vane wheel 12 for the angle ⁇ in the rotational direction.
  • the rear guider 20 is provided to the back of the fan 10, and the lower edge of the rear guider 20 is connected to the outlet port 2b (see FIG. 2 ).
  • the length in the left-right direction of the rear guider 20 is substantially identical with the length in the left-right direction of the fan 10, and the rear guider 20 opposes substantially the entirety of the fan 10 in the left-right direction.
  • the upper edge of the rear guider 20 is slightly higher in position than the upper end of the fan 10.
  • a part which is not the upper and lower end portions is a curved surface 21 which is substantially arc-shaped.
  • the distance (shortest distance) between the curved surface 21 and the outer periphery of the fan 10 decreases upward.
  • the rear guider 20 includes a protruding portion 22 at a part above the curved surface 21 (i.e., to the leading end side of the curved surface 21).
  • the protruding portion 22 is substantially arc-shaped and bulges in the direction away from the fan 10 in cross section taken at the line orthogonal to the left-right direction. As shown in FIG. 9 , the distance (shortest distance) between each protruding portion 22 and the outer periphery of the fan 10 increases upward.
  • the rear guider 20 is closest to the fan 10 at a border 20a (hereinafter, closest position 20a) between the lower edge of each protruding portion 22 and the upper edge of the curved surface 21.
  • the protruding portion 22 is constituted by six twisted portions 23 lined up in the left-right direction, five connecting portions 24 each of which is provided between two neighboring twisted portions 23, two inclination alleviation portions 25, and plural rib portions 26 (see FIG. 7 and FIG. 9 ).
  • Each of the six twisted portions 23 is positioned to oppose the vane wheel 12.
  • the right five twisted portions 23A are identical with one another in length in the left-right direction, and are identical with the vanes 15 of the vane wheels 12A in length in the left-right direction.
  • the length of the leftmost twisted portion 23B is substantially identical with the length in the left-right direction of each of the vanes 15 of the vane wheel 12B.
  • Each of the twisted portions 23 is substantially arc-shaped in cross section in the direction orthogonal to the left-right direction. As shown in FIG. 11 , in the circumferential direction of the fan 10, each twisted portion 23 is deviated from the axial direction of the fan 10 gradually from the left edge to the right edge. On this account, the shape of each twisted portion 23 is substantially uniform across any cross section orthogonal to the left-right direction. Furthermore, the height of the leading end (front upper edge) of each twisted portion 23 gradually changes in the left-right direction.
  • the heights of the twisted portion 23, the connecting portion 24, the inclination alleviation portion 25, and each of later-mentioned level-difference portions 28a to 28e are not heights in the up-down direction but heights along the direction in which the protruding portion 22 protrudes (i.e., substantially frontward and upward in the present embodiment). Furthermore, the highest ends of the six twisted portions 23 are at the same height and the lowest ends of the six twisted portions 23 are at the same height (see FIGs. 6 and 7 ).
  • each twisted portion 23 is deviated for an angle ⁇ 1 in the direction opposite to the rotational direction (indicated by the arrow in FIG. 8 ) of the fan 10.
  • the angles ⁇ 1 of the deviation of the six twisted portions 23 are identical with one another.
  • the left edge of one twisted portion 23 is deviated from the right edge of the twisted portion 23 neighboring to the left of that twisted portion 23 for an angle ⁇ 1 in the rotational direction (indicated by the arrow in FIG. 9 ) of the fan 10.
  • the angle ⁇ 1 is identical with the angle ⁇ 1.
  • each of the five connecting portions 24 connects end portions of two neighboring twisted portions 23, which end portions oppose each other in the left-right direction, with each other.
  • Each connecting portion 24 is substantially arc-shaped in cross section in the direction orthogonal to the left-right direction, and is substantially as thick as each twisted portion 23.
  • the leading end (front upper edge) of each connecting portion 24 linearly extends to decrease in height rightward.
  • Each of the five connecting portions 24 is positioned to oppose the supporting plate 13 of the fan 10 (see FIGs. 6 and 7 ).
  • the two inclination alleviation portions 25 are connected to the leading ends of the two left connecting portions 24 among the five connecting portions 24, respectively. These two inclination alleviation portions 25 are identical in shape. Each inclination alleviation portion 25 extends substantially frontward from the connecting portion 24 and the front upper edge of the left end portion of the twisted portion 23 which is to the right of that connecting portion 24. The inclination alleviation portion 25 is substantially triangular in shape when viewed from above. The leading end (front edge) of the inclination alleviation portion 25 substantially linearly extends and connects the left edge of the leading end of the connecting portion 24 with the leading end of the twisted portion 23. As shown in FIG.
  • the height of the leading end (front edge) of the inclination alleviation portion 25 decreases rightward.
  • the length in the left-right direction of the inclination alleviation portion 25 is preferably 5% to 30% of the total length of the twisted portion 23 and the connecting portion 24 in the left-right direction.
  • the inclination alleviation portion 25 is substantially triangular in cross section in the direction orthogonal to the axial direction.
  • the rear face of the inclination alleviation portion 25 extends substantially upward from the upper surface of the twisted portion 23 or the connecting portion 24, and the upper surface of the inclination alleviation portion 25 extends substantially frontward from the upper edge of the rear face of the inclination alleviation portion 25.
  • the front edge of the inclination alleviation portion 25 is substantially as thick as the twisted portion 23 and the connecting portion 24.
  • each rib portion 26 extend backward from the rear face of the inclination alleviation portion 25.
  • each rib portion 26 is provided to protrude from the rear face (which is on the side opposite to the fan 10) of the twisted portion 23 or the connecting portion 24.
  • the height in the up-down direction of the front edge of the rib portion 26 is substantially identical with the height in the up-down direction of the upper edge of the rear face of the inclination alleviation portion 25.
  • the thickness of the rib portion 26 decreases backward.
  • each of the inclination alleviation portion 25 and the rib portion 26 is swollen in shape as compared to its surrounding (the twisted portion 23 and the connecting portion 24). This swollen part is termed a swollen portion 27.
  • the range of the swollen portion 27 when viewed from above is identical with the range occupied by the inclination alleviation portion 25 and the rib portions 26.
  • the height of the swollen portion 27 in a direction D (see FIG. 9 ) which is substantially orthogonal to the surface of the protruding portion 22 which surface is opposite to the fan 10 is termed swelling height.
  • the highest position 27a of the swelling height of the swollen portion 27 corresponds to the right edge of the connecting portion 24, in the upper edge of the rear face of the inclination alleviation portion 25.
  • the swelling height of a part of the swollen portion 27 which part is to the right of the apex 27a decreases rightward, whereas the swelling height of a part of the swollen portion 27 which part is to the left of the apex 27a rapidly decreases leftward.
  • each of the level-difference portions 28a to 28e is formed at the leading end of the protruding portion 22 to be lined up in the left-right direction.
  • the height of each of the level-difference portions 28a to 28e decreases rightward.
  • the level-difference portions 28a to 28c are provided to the left of a central part M in the axial direction of the fan 10 (see FIG. 6 and FIG. 7 ), whereas the level-difference portions 28d and 28e are provided to the right of the central part M in the axial direction of the fan 10.
  • Each of the level-difference portions 28a and 28b is the leading end of the inclination alleviation portion 25, whereas each of the level-difference portions 28c to 28e is the leading end of the connecting portion 24.
  • the highest points (left edges) of the five level-difference portions 28a to 28e are identical in height.
  • the lowest points (right edges) of the level-difference portions 28c to 28e which are the leading ends of the connecting portions 24 are identical in height.
  • the lowest points (right edges) of the level-difference portions 28a and 28b which are the leading ends of the inclination alleviation portions 25 are identical in height and are higher than the lowest points of the level-difference portions 28c to 28e.
  • an inclination angle of each of the level-difference portions 28a and 28b with respect to the axial direction is termed an angle ⁇ 1
  • an inclination angle of each of the level-difference portions 28c to 28e with respect to the axial direction is termed an angle ⁇ 2.
  • the angle ⁇ 1 is smaller than the angle ⁇ 2.
  • the inclination of each of the level-difference portions 28a and 28b is more gentle than the inclination of each of the level-difference portions 28c to 28e.
  • a variation in height within a predetermined length W in the left-right direction from the highest point of each of the level-difference portions 28a and 28b is referred to as ⁇ H1.
  • a variation in height within the predetermined length W in the left-right direction from the highest point of each of the level-difference portions 28c to 28e is referred to as ⁇ H2.
  • the variation ⁇ H1 is smaller than the variation ⁇ H2.
  • the variation in height within the predetermined length W in the left-right direction (axial direction) is an index for a comparison between inclinations of level-difference portions.
  • the length W is not limited to the length shown in FIG. 12 .
  • the length W is only required to be shorter than the length in the left-right direction of each of the level-difference portions 28a and 28b. Furthermore, in the present embodiment, the starting point of the length W in the left-right direction is the highest point of each level-difference portion. The starting point, however, may not be the highest point of the level-difference portion.
  • the front guider 30 is provided to the front of the fan 10, and the lower edge of the front guider 30 is connected to the outlet port 2b (see FIG. 2 ).
  • the front guider 30 is made up of the stabilizer 32 provided to oppose the fan 10 and a front wall portion 31 which extends from the lower edge of the stabilizer 32 to the outlet port 2b.
  • the length in the left-right direction of the stabilizer 32 is substantially identical with the length in the left-right direction of the fan 10, and the stabilizer 32 opposes substantially the entirety in the left-right direction of the fan 10. Furthermore, as shown in FIG. 2 and FIG. 6 , the upper edge of the stabilizer 32 is lower in position than the center of the fan 10.
  • the stabilizer 32 As shown in FIG. 14 , in the surface of the stabilizer 32 which surface opposes the fan 10, a part which is not the upper and lower end portions is a curved surface 33 which is substantially arc-shaped. The distance (shortest distance) between the curved surface 33 and the outer periphery of the fan 10 decreases upward. Furthermore, the stabilizer 32 includes a bending surface 34 which is bended substantially frontward from the lower edge of the curved surface 33. The lower edge of the bending surface 34 is connected to the front wall portion 31.
  • the stabilizer 32 includes a flat end face 35 which extends downward and frontward from the upper edge of the curved surface 33 and a convex portion 36 which is provided to the front of the end face 35 and protrudes upward from the end face 35.
  • the convex portion 36 and the end face 35 constitute the upper end portion of the rear guider 20.
  • the cross sectional shape of the convex portion 36 in the direction orthogonal to the left-right direction is substantially triangular.
  • the stabilizer 32 is closest to the outer periphery of the fan 10 at an upper edge 32a (hereinafter, closest position 32a) of the curved surface 33.
  • the stabilizer 32 (including the convex portion 36, the end face 35, the curved surface 33, and the bending surface 34) is made up of six twisted portions 37 lined up in the left-right direction and five connecting portions 38 each of which is provided between two neighboring twisted portions 37.
  • Each of the six twisted portions 23 is positioned to oppose the vane wheel 12.
  • the right five twisted portions 23A are identical with one another in length in the left-right direction, and are identical with the vanes 15 of the vane wheels 12A in length in the left-right direction.
  • the length of the leftmost twisted portion 23B is substantially identical with the length in the left-right direction of each of the vanes 15 of the vane wheel 12B.
  • each twisted portion 37 is deviated from the axial direction of the fan 10 gradually from the left edge to the right edge.
  • the shape of each twisted portion 37 is substantially uniform across any cross section orthogonal to the left-right direction.
  • the height of the leading end (upper edge) of each twisted portion 37 gradually changes in the left-right direction.
  • the highest ends of the six twisted portions 37 are at the same height and the lowest ends of the six twisted portions 23 are at the same height (see FIG. 6 ).
  • each twisted portion 37 is deviated for an angle ⁇ 2 in the direction opposite to the rotational direction (indicated by the arrow in FIG. 11 ) of the fan 10.
  • the angles ⁇ 2 of the deviation of the six twisted portions 37 are identical with one another.
  • the left edge of one twisted portion 37 is deviated from the right edge of the twisted portion 37 neighboring to the left of that twisted portion 37 for an angle ⁇ 2 in the direction of the rotational direction (indicated by the arrow in FIG. 10 ) of the fan 10.
  • the angle ⁇ 2 is identical with the angle ⁇ 2.
  • each of the five connecting portions 38 connects the end portions of two neighboring twisted portions 37 which end portions oppose each other in the left-right direction.
  • Each of the connecting portions 38 is positioned to oppose the supporting plate 13 of the fan 10. Because the end portions of two neighboring twisted portions 37 which end portions oppose each other in the left-right direction are different in height, five level-difference portions are formed at the leading end of the stabilizer 32 to be lined up in the left-right direction.
  • FIG. 15 the center C of the vortex airflow is indicated by a chain line.
  • the vortex airflow is bended in an area formed by the edges in the axial direction of each of the level-difference portions 28a to 28e and the fan 10.
  • each of the level-difference portions 28a and 28b is smaller than the inclination angle ⁇ 2 of each of the other level-difference portions 28c to 28e, as shown in FIG. 15 , a change in the direction of the airflow toward each of the level-difference portions 28a and 28b is restrained around each of the level-difference portions 28a and 28b. Because the flowing of the air into the bended portion of the vortex airflow in a concentrated manner is restrained, the disturbance of the vortex airflow is restrained. Furthermore, because the inclination angle of each of the level-difference portions 28a and 28b is small, the degree of bending of the bended portion of the vortex airflow is gentle, and hence the vortex airflow is less disturbed.
  • the swollen portion 27 which is swollen away from the fan 10 as compared to the twisted portion and the connecting portion 24 is formed around each of the level-difference portions 28a and 28b. For this reason, the change in the direction of the airflow toward each of the level-difference portions 28a and 28b is further restrained, and the amount of airflow passing around the swollen portion 27 is reduced. On this account, the airflow climbing over each of the level-difference portions 28a and 28b is reduced, and the flowing of the air into the bended portion of the vortex airflow in a concentrated manner is further restrained.
  • the vortex airflow (indicated by the arrow in FIG. 8 (b) ) is generated between the leading end portion of the stabilizer 32 and the fan 10, and the wind noise is generated as the vortex airflow and the vane 15 interfere with each other when the vane 15 passes the vortex airflow. Because the twisted portion 37 of the stabilizer 32 is gradually deviated from the left-right direction in the circumferential direction, wind noise is continuously generated when the vane 15 passes across one twisted portion 37.
  • the wind noise is suppressed by differentiating the timings of the generation of the wind noise in this way.
  • the air conditioner of the present embodiment has the following characteristics.
  • the vane 15 does not pass across that part between neighboring ones of the level-difference portions 28a to 28e at once. For this reason, when the vane 15 passes across the part between neighboring ones of the level-difference portions 28a to 28e, wind noise is continuously generated, and hence the wind noise is suppressed.
  • each of the level-difference portions (second level-difference portions) 28d and 28e increases toward the central part M in the axial direction of the fan 10, the airflow sucked into the fan 10 does not change its direction toward each of the level-difference portions 28d and 28e.
  • the variations of all the level-difference portions 28a to 28e are reduced, the length in the axial direction of the part between neighboring level-difference portions becomes short, and hence the continuous generation of the wind noise becomes less effectively done.
  • the variations of the level-difference portions 28d and 28e are not reduced, the continuous generation of the wind noise is maintained to be effective.
  • the suppression of the disturbance of the vortex airflow is further ensured in such a way that the variation in height ⁇ H1 within the predetermined length W in the axial direction of the level-difference portion 28a which is closest to the end portion in the axial direction of the fan 10 is reduced.
  • the variation in height of the level-difference portion 28c which decreases in height toward the central part M in the axial direction of the fan 10 is not reduced.
  • the level-difference portion 28c is close to the central part M in the axial direction of the fan 10
  • the direction of the airflow around the level-difference portion 28c is substantially orthogonal to the axial direction, and hence the airflow rarely changes its direction toward the level-difference portion 28c.
  • the variation in height of the level-difference portion 28c is not reduced, the deterioration in the effect of continuous generation of the wind noise is restrained.
  • each of the level-difference portions 28a and 28b linearly extends from the highest point to the lowest point, these level-difference portions 28a and 28b can be easily formed. Moreover, because the inclination of each of the level-difference portions 28a and 28b is constant and gentle across the entirety of each of them in the axial direction, the airflow climbing over each of the level-difference portions 28a and 28b is reduced across the entirety in the axial direction of each of the level-difference portions 28a and 28b.
  • each of the level-difference portions 28a and 28b is arranged to be 5% to 30% of the total length in the left-right direction of the twisted portion 23 and the connecting portion 24 (i.e. , the distance between the highest points of neighboring two level-difference portions), the disturbance of the vortex airflow at the bended portion is restrained while the effect of continuous generation of wind noise is maintained.
  • the swollen portion 27 which is swollen away from the fan 10 is provided in the vicinity of each of the level-difference portions 28a and 28b, the airflow sucked into the fan 10 is less likely to climb over the swollen portion 27. This further restrains the flowing of the air in a concentrated manner into the bended portion of the vortex airflow generated between each of the level-difference portions 28a and 28b and the fan 10.
  • a connecting portion 24 may not be provided and end portions of two neighboring twisted portions 23 which end portions oppose each other in the axial direction may be directly connected with each other as shown in FIG. 16 .
  • a level-difference portion for which no inclination alleviation portion is provided e.g., a level-difference portion 128e shown in FIG. 16
  • each of the level-difference portions 28a and 28b may be different from the shape described in the embodiment above.
  • a level-difference portion may extend in a curved manner from the highest point to the lowest point, as in a level-difference portion 128a which is indicated by the thick line in FIG. 16(a) .
  • the height of a level-difference portion may change in stages as in level-difference portions 228a to 628a and 828a which are indicated by the thick lines in FIG. 16 (b) to FIG. 16(f) and FIG. 17(b) .
  • the inclination of the level-difference portion is adjustable irrespective of the length in the axial direction of the level-difference portion.
  • the edge portion which extends linearly or in a curved manner from the highest point is gentle in inclination as compared to the level-difference portion (second level-difference portion) 128e which increases in height toward the central part in the axial direction of the fan (i.e., the variation in height within the predetermined length in the axial direction is small).
  • This arrangement restrains the airflow sucked into the fan 10 from changing its direction toward each of the above-described edge portions of the level-difference portions 228a and 828a.
  • the predetermined length in the axial direction is, for example, shorter than the length in the axial direction of each of the level-difference portions 228a and 828a from the highest point of each of the level-difference portions 228a, 828a, and 128e.
  • the inclination angle of the edge portion which extends linearly or in a curved manner from the highest point is identical with the inclination angle of the level-difference portion (second level-difference portion) 128e which increases in height toward the central part in the axial direction of the fan, and this edge portion is shorter than the edge portion which extends linearly from the highest point of the level-difference portion 128e.
  • This arrangement restrains the airflow sucked into the fan 10 from changing its direction toward around the edge portion of each of the level-difference portion 328a to 628a.
  • the predetermined length in the axial direction is, for example, longer than the length in the axial direction of the edge portion of each of the level-difference portions 328a to 628a from the highest point of each of the level-difference portions 328a to 628a and 128e.
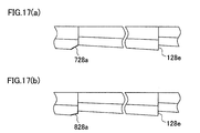
  • the height of the highest points of the level-difference portions 28a and 28b may be different from the height of the highest point of the level-difference portion (second level-difference portion) 128e, as in level-difference portions 728a and 828a indicated by the thick lines in FIG. 17(a) and FIG. 17(b) .
  • the two level-difference portions 28a and 28b are identical in the variation in height ⁇ H1 within the predetermined length W in the axial direction, these portions may be different in the variation.
  • the variation in height of the level-difference portion 28a which is farther from the central part M in the axial direction of the fan 10 is preferably arranged to be smaller than the variation in height of the level-difference portion 28b.
  • the level-difference portions 28a and 28b among the three level-difference portions 28a to 28c each of which decreases in height toward the central part M in the axial direction of the fan 10 are smaller than the level-difference portions 28d and 27e which increase in height toward the central part M in the axial direction of the fan 10, in terms of the variation in height in the predetermined length in the axial direction.
  • all of the three level-difference portions 28a to 28c may be smaller than the level-difference portions 28d and 28e in terms of the variation in height.
  • the variation in height of the level-difference portion 28a which is farther from the central part M in the axial direction of the fan 10 is preferably arranged to be smaller than the variation in height of the level-difference portion 28b.
  • the present invention is not limited to this arrangement.
  • the number of the level-difference portions may be different from the number of the supporting plates 13.
  • the level-difference portions may not be disposed to oppose the respective supporting plates 13.
  • a part between neighboring ones of level-difference portions 928a to 928e and 929a to 929e may be constant in height in the axial direction, as in a rear guider 920 shown in FIG. 18 and FIG. 19 , for example.
  • the rear guider 920 is easily formed in this case.
  • a protruding portion 922 of the rear guider 920 is arc-shaped in cross section in the direction orthogonal to the axial direction and, high portions and low portions are alternately lined up in the axial direction.
  • the level-difference portions 928a to 928e each of which decreases in height toward one end in the axial direction of the fan 10
  • the level-difference portions 929a to 929e each of which increases in height toward the one end in the axial direction of the fan 10 are alternately lined up in the axial direction.
  • level-difference portions first level-difference portions
  • 928a to 928c and 929c to 929e each of which decreases in height toward the central part M in the axial direction of the fan 10
  • four level-difference portions 928a, 928b, 929d, and 929e which are close to the ends in the axial direction of the fan 10 are smaller than the level-difference portions (second level-difference portions) 928d, 928e, 929a, and 929b each of which increases in height toward the central part M in the axial direction of the fan 10, in terms of the variation in height within a predetermined length in the axial direction.
  • the predetermined length in the axial direction is, for example, shorter than the length in the axial direction of each of the level-difference portions 928a, 928b, 929d, and 929e from the highest point of each of the level-difference portions 928a to 928e and 929a to 929e.
  • a swollen portion 927 is formed in the vicinity of each of the level-difference portions 928a, 928b, 929d, and 929e.
  • the swelling height of this swollen portion 927 decreases toward the central part M in the axial direction of the fan 10.
  • the shape of the swollen portion 27 is not limited to the shape described in the embodiment above, and is only required to be swollen away from the fan 10 as compared to the surrounding of the swollen portion 27.
  • the swelling height of the swollen portion 27 which is farther from the central part M in the axial direction of the fan 10 is preferably arranged to be higher than the swelling height of the other swollen portion 27.
  • the swollen portion 27 is provided in the vicinity of each of the level-difference portions 28a and 28b, no swollen portion 27 may be provided in the vicinity of one or both of the two level-difference portions 28a and 28b.
  • the surface on the side opposite to the fan 10 of one or both of the two inclination alleviation portions 25 may not be swollen as compared to the twisted portion 23 and the connecting portion 24.
  • the swollen portion 27 is provided in the vicinity of only one of the level-difference portions 28a and 28b, to restrain the disturbance of the vortex airflow, the swollen portion 27 is preferably provided in the vicinity of the level-difference portion 28a which is farther from the central part M in the axial direction of the fan 10.
  • the range of the formation of the swollen portion 27 is not limited to this.
  • the swollen portion may be differently formed as long as the swollen portion is formed in the vicinity of a level-difference portion which decreases in height toward the central part M in the axial direction of the fan 10 and in a part where the amount air flowing into the bended portion of the vortex airflow can be reduced.
  • the swollen portion may be formed only in the vicinity of the lowest point of the level-difference portion, or only in the vicinity of the highest point of the level-difference portion.
  • the level-difference portions provided at the leading end of the stabilizer 32 are identical with one another in inclination, the level-difference portions of the stabilizer 32 may be different from one another in inclination as in the rear guider 20 (i.e., they may be different from one another in the variation in height in the predetermined length in the axial direction).
  • the variation in height of at least one of the level-difference portions each of which decreases in height toward the central part M in the axial direction of the fan 10 is arranged to be smaller than the variation in height of the level-difference portions each of which increases in height toward the central part M in the axial direction of the fan 10.
  • the level-difference portions are different from each other in inclination only in one of the rear guider 20 and the stabilizer 32.
  • a swollen portion may be provided in the vicinity of a level-difference portion of the stabilizer 32, as in the rear guider 20.
  • a swollen portion which is swollen away from the fan 10 as compared to the surrounding is provided in the vicinity of at least one of the level-difference portions each of which decreases in height toward the central part M in the axial direction of the fan 10.
  • a swollen portion may be provided in only one of the rear guider 20 and the stabilizer 32.
  • the present invention may be applicable to other purposes.
  • the present invention may be employed in a floor-mounted indoor unit which is arranged to suck indoor air from a lower part of the indoor unit and blow out the air from an upper part of the indoor unit.
  • the present invention makes it possible to suppress wind noise by restraining the disturbance of a vortex airflow.

Landscapes

  • Engineering & Computer Science (AREA)
  • Mechanical Engineering (AREA)
  • General Engineering & Computer Science (AREA)
  • Chemical & Material Sciences (AREA)
  • Combustion & Propulsion (AREA)
  • Air-Conditioning Room Units, And Self-Contained Units In General (AREA)
  • Structures Of Non-Positive Displacement Pumps (AREA)
EP13842440.3A 2012-09-28 2013-08-20 Klimaanlage Active EP2918924B1 (de)

Applications Claiming Priority (2)

Application Number Priority Date Filing Date Title
JP2012215535A JP5403131B1 (ja) 2012-09-28 2012-09-28 空気調和機
PCT/JP2013/072147 WO2014050364A1 (ja) 2012-09-28 2013-08-20 空気調和機

Publications (3)

Publication Number Publication Date
EP2918924A1 true EP2918924A1 (de) 2015-09-16
EP2918924A4 EP2918924A4 (de) 2016-10-12
EP2918924B1 EP2918924B1 (de) 2018-06-06

Family

ID=50112424

Family Applications (1)

Application Number Title Priority Date Filing Date
EP13842440.3A Active EP2918924B1 (de) 2012-09-28 2013-08-20 Klimaanlage

Country Status (6)

Country Link
EP (1) EP2918924B1 (de)
JP (1) JP5403131B1 (de)
CN (1) CN104685299B (de)
ES (1) ES2676211T3 (de)
TR (1) TR201809557T4 (de)
WO (1) WO2014050364A1 (de)

Cited By (2)

* Cited by examiner, † Cited by third party
Publication number Priority date Publication date Assignee Title
EP3527908A4 (de) * 2016-11-21 2020-05-27 Daikin Industries, Ltd. Inneneinheit für klimatisierungsvorrichtung
US12270403B2 (en) 2021-03-31 2025-04-08 Fujitsu General Limited Blower and indoor unit

Families Citing this family (3)

* Cited by examiner, † Cited by third party
Publication number Priority date Publication date Assignee Title
CN106949094B (zh) * 2017-05-18 2019-02-05 安徽朗迪叶轮机械有限公司 一种长度可调的贯流风叶
CN107490064B (zh) * 2017-08-25 2023-11-07 格力电器(武汉)有限公司 室内机和空调系统
CN108412807B (zh) * 2018-04-03 2023-08-15 珠海格力节能环保制冷技术研究中心有限公司 蜗壳、风机组件和空调器

Family Cites Families (9)

* Cited by examiner, † Cited by third party
Publication number Priority date Publication date Assignee Title
JPS533450Y2 (de) * 1973-06-18 1978-01-28
JPS62131994A (ja) * 1985-12-02 1987-06-15 Matsushita Electric Ind Co Ltd 横断流送風装置
JPH071093B2 (ja) 1989-02-01 1995-01-11 松下電器産業株式会社 空気調和機
JP3918207B2 (ja) * 1995-08-02 2007-05-23 株式会社日立製作所 空気調和機
JPH0979601A (ja) * 1995-09-13 1997-03-28 Matsushita Electric Ind Co Ltd 横断流送風機
JPH11294376A (ja) * 1998-04-08 1999-10-26 Calsonic Corp 送風装置
JP2002061867A (ja) * 2000-08-22 2002-02-28 Hitachi Ltd 空気調和機
JP2002286244A (ja) * 2001-03-26 2002-10-03 Mitsubishi Heavy Ind Ltd 空気調和機
MY134061A (en) * 2001-05-10 2007-11-30 Matsushita Electric Industrial Co Ltd Cross-flow fan and air conditioner using the same

Cited By (3)

* Cited by examiner, † Cited by third party
Publication number Priority date Publication date Assignee Title
EP3527908A4 (de) * 2016-11-21 2020-05-27 Daikin Industries, Ltd. Inneneinheit für klimatisierungsvorrichtung
US11306924B2 (en) 2016-11-21 2022-04-19 Daikin Industries, Ltd. Indoor unit for air conditioning device
US12270403B2 (en) 2021-03-31 2025-04-08 Fujitsu General Limited Blower and indoor unit

Also Published As

Publication number Publication date
EP2918924A4 (de) 2016-10-12
JP5403131B1 (ja) 2014-01-29
TR201809557T4 (tr) 2018-07-23
CN104685299B (zh) 2016-04-27
ES2676211T3 (es) 2018-07-17
WO2014050364A1 (ja) 2014-04-03
JP2014070756A (ja) 2014-04-21
CN104685299A (zh) 2015-06-03
EP2918924B1 (de) 2018-06-06

Similar Documents

Publication Publication Date Title
EP2902632B1 (de) Klimaanlage
EP2957773B1 (de) Klimaanlage
US9267511B2 (en) Turbofan and indoor unit of air-conditioning apparatus including the same
EP2918924B1 (de) Klimaanlage
CN105579712B (zh) 离心送风机以及具备该离心送风机的空调机
US9995504B2 (en) Air conditioner having air outlet louver with varying curvature
EP3018362A1 (de) Luftgebläse und ausseneinheit
JP6078945B2 (ja) 遠心送風機
EP2902716B1 (de) Klimaanlage
JP2014126282A (ja) 天井設置型室内機
BR102012013045A2 (pt) conjunto de ventilador axial
JP5995683B2 (ja) エアーカーテン装置
JP2016014368A (ja) 空気調和機
JP4994433B2 (ja) シロッコファン及びこのシロッコファンを用いた空気調和機の室内機
JP7120360B1 (ja) 送風機および室内機
JP2016003829A (ja) 空気調和機
JP2015230114A (ja) 空気調和機

Legal Events

Date Code Title Description
PUAI Public reference made under article 153(3) epc to a published international application that has entered the european phase

Free format text: ORIGINAL CODE: 0009012

17P Request for examination filed

Effective date: 20150423

AK Designated contracting states

Kind code of ref document: A1

Designated state(s): AL AT BE BG CH CY CZ DE DK EE ES FI FR GB GR HR HU IE IS IT LI LT LU LV MC MK MT NL NO PL PT RO RS SE SI SK SM TR

AX Request for extension of the european patent

Extension state: BA ME

DAX Request for extension of the european patent (deleted)
RA4 Supplementary search report drawn up and despatched (corrected)

Effective date: 20160914

RIC1 Information provided on ipc code assigned before grant

Ipc: F24F 13/24 20060101ALI20160908BHEP

Ipc: F04D 29/44 20060101ALI20160908BHEP

Ipc: F04D 29/66 20060101ALI20160908BHEP

Ipc: F04D 29/42 20060101ALI20160908BHEP

Ipc: F04D 17/04 20060101ALI20160908BHEP

Ipc: F24F 1/00 20110101AFI20160908BHEP

STAA Information on the status of an ep patent application or granted ep patent

Free format text: STATUS: EXAMINATION IS IN PROGRESS

17Q First examination report despatched

Effective date: 20170705

REG Reference to a national code

Ref country code: DE

Ref legal event code: R079

Ref document number: 602013038678

Country of ref document: DE

Free format text: PREVIOUS MAIN CLASS: F24F0001000000

Ipc: F04D0017040000

GRAP Despatch of communication of intention to grant a patent

Free format text: ORIGINAL CODE: EPIDOSNIGR1

STAA Information on the status of an ep patent application or granted ep patent

Free format text: STATUS: GRANT OF PATENT IS INTENDED

RIC1 Information provided on ipc code assigned before grant

Ipc: F04D 29/42 20060101ALI20180118BHEP

Ipc: F24F 13/24 20060101ALI20180118BHEP

Ipc: F04D 29/44 20060101ALI20180118BHEP

Ipc: F04D 17/04 20060101AFI20180118BHEP

Ipc: F24F 1/00 20110101ALI20180118BHEP

Ipc: F04D 29/28 20060101ALN20180118BHEP

Ipc: F04D 29/66 20060101ALI20180118BHEP

INTG Intention to grant announced

Effective date: 20180208

GRAS Grant fee paid

Free format text: ORIGINAL CODE: EPIDOSNIGR3

GRAA (expected) grant

Free format text: ORIGINAL CODE: 0009210

STAA Information on the status of an ep patent application or granted ep patent

Free format text: STATUS: THE PATENT HAS BEEN GRANTED

AK Designated contracting states

Kind code of ref document: B1

Designated state(s): AL AT BE BG CH CY CZ DE DK EE ES FI FR GB GR HR HU IE IS IT LI LT LU LV MC MK MT NL NO PL PT RO RS SE SI SK SM TR

REG Reference to a national code

Ref country code: GB

Ref legal event code: FG4D

REG Reference to a national code

Ref country code: CH

Ref legal event code: EP

Ref country code: AT

Ref legal event code: REF

Ref document number: 1006395

Country of ref document: AT

Kind code of ref document: T

Effective date: 20180615

REG Reference to a national code

Ref country code: IE

Ref legal event code: FG4D

REG Reference to a national code

Ref country code: DE

Ref legal event code: R096

Ref document number: 602013038678

Country of ref document: DE

REG Reference to a national code

Ref country code: ES

Ref legal event code: FG2A

Ref document number: 2676211

Country of ref document: ES

Kind code of ref document: T3

Effective date: 20180717

REG Reference to a national code

Ref country code: FR

Ref legal event code: PLFP

Year of fee payment: 6

REG Reference to a national code

Ref country code: NL

Ref legal event code: MP

Effective date: 20180606

REG Reference to a national code

Ref country code: LT

Ref legal event code: MG4D

PG25 Lapsed in a contracting state [announced via postgrant information from national office to epo]

Ref country code: FI

Free format text: LAPSE BECAUSE OF FAILURE TO SUBMIT A TRANSLATION OF THE DESCRIPTION OR TO PAY THE FEE WITHIN THE PRESCRIBED TIME-LIMIT

Effective date: 20180606

Ref country code: NO

Free format text: LAPSE BECAUSE OF FAILURE TO SUBMIT A TRANSLATION OF THE DESCRIPTION OR TO PAY THE FEE WITHIN THE PRESCRIBED TIME-LIMIT

Effective date: 20180906

Ref country code: BG

Free format text: LAPSE BECAUSE OF FAILURE TO SUBMIT A TRANSLATION OF THE DESCRIPTION OR TO PAY THE FEE WITHIN THE PRESCRIBED TIME-LIMIT

Effective date: 20180906

Ref country code: LT

Free format text: LAPSE BECAUSE OF FAILURE TO SUBMIT A TRANSLATION OF THE DESCRIPTION OR TO PAY THE FEE WITHIN THE PRESCRIBED TIME-LIMIT

Effective date: 20180606

Ref country code: CY

Free format text: LAPSE BECAUSE OF FAILURE TO SUBMIT A TRANSLATION OF THE DESCRIPTION OR TO PAY THE FEE WITHIN THE PRESCRIBED TIME-LIMIT

Effective date: 20180606

Ref country code: SE

Free format text: LAPSE BECAUSE OF FAILURE TO SUBMIT A TRANSLATION OF THE DESCRIPTION OR TO PAY THE FEE WITHIN THE PRESCRIBED TIME-LIMIT

Effective date: 20180606

PG25 Lapsed in a contracting state [announced via postgrant information from national office to epo]

Ref country code: LV

Free format text: LAPSE BECAUSE OF FAILURE TO SUBMIT A TRANSLATION OF THE DESCRIPTION OR TO PAY THE FEE WITHIN THE PRESCRIBED TIME-LIMIT

Effective date: 20180606

Ref country code: HR

Free format text: LAPSE BECAUSE OF FAILURE TO SUBMIT A TRANSLATION OF THE DESCRIPTION OR TO PAY THE FEE WITHIN THE PRESCRIBED TIME-LIMIT

Effective date: 20180606

Ref country code: RS

Free format text: LAPSE BECAUSE OF FAILURE TO SUBMIT A TRANSLATION OF THE DESCRIPTION OR TO PAY THE FEE WITHIN THE PRESCRIBED TIME-LIMIT

Effective date: 20180606

Ref country code: GR

Free format text: LAPSE BECAUSE OF FAILURE TO SUBMIT A TRANSLATION OF THE DESCRIPTION OR TO PAY THE FEE WITHIN THE PRESCRIBED TIME-LIMIT

Effective date: 20180907

REG Reference to a national code

Ref country code: AT

Ref legal event code: MK05

Ref document number: 1006395

Country of ref document: AT

Kind code of ref document: T

Effective date: 20180606

PG25 Lapsed in a contracting state [announced via postgrant information from national office to epo]

Ref country code: NL

Free format text: LAPSE BECAUSE OF FAILURE TO SUBMIT A TRANSLATION OF THE DESCRIPTION OR TO PAY THE FEE WITHIN THE PRESCRIBED TIME-LIMIT

Effective date: 20180606

PG25 Lapsed in a contracting state [announced via postgrant information from national office to epo]

Ref country code: PL

Free format text: LAPSE BECAUSE OF FAILURE TO SUBMIT A TRANSLATION OF THE DESCRIPTION OR TO PAY THE FEE WITHIN THE PRESCRIBED TIME-LIMIT

Effective date: 20180606

Ref country code: IS

Free format text: LAPSE BECAUSE OF FAILURE TO SUBMIT A TRANSLATION OF THE DESCRIPTION OR TO PAY THE FEE WITHIN THE PRESCRIBED TIME-LIMIT

Effective date: 20181006

Ref country code: SK

Free format text: LAPSE BECAUSE OF FAILURE TO SUBMIT A TRANSLATION OF THE DESCRIPTION OR TO PAY THE FEE WITHIN THE PRESCRIBED TIME-LIMIT

Effective date: 20180606

Ref country code: RO

Free format text: LAPSE BECAUSE OF FAILURE TO SUBMIT A TRANSLATION OF THE DESCRIPTION OR TO PAY THE FEE WITHIN THE PRESCRIBED TIME-LIMIT

Effective date: 20180606

Ref country code: CZ

Free format text: LAPSE BECAUSE OF FAILURE TO SUBMIT A TRANSLATION OF THE DESCRIPTION OR TO PAY THE FEE WITHIN THE PRESCRIBED TIME-LIMIT

Effective date: 20180606

Ref country code: AT

Free format text: LAPSE BECAUSE OF FAILURE TO SUBMIT A TRANSLATION OF THE DESCRIPTION OR TO PAY THE FEE WITHIN THE PRESCRIBED TIME-LIMIT

Effective date: 20180606

Ref country code: EE

Free format text: LAPSE BECAUSE OF FAILURE TO SUBMIT A TRANSLATION OF THE DESCRIPTION OR TO PAY THE FEE WITHIN THE PRESCRIBED TIME-LIMIT

Effective date: 20180606

PG25 Lapsed in a contracting state [announced via postgrant information from national office to epo]

Ref country code: SM

Free format text: LAPSE BECAUSE OF FAILURE TO SUBMIT A TRANSLATION OF THE DESCRIPTION OR TO PAY THE FEE WITHIN THE PRESCRIBED TIME-LIMIT

Effective date: 20180606

REG Reference to a national code

Ref country code: DE

Ref legal event code: R097

Ref document number: 602013038678

Country of ref document: DE

PG25 Lapsed in a contracting state [announced via postgrant information from national office to epo]

Ref country code: MC

Free format text: LAPSE BECAUSE OF FAILURE TO SUBMIT A TRANSLATION OF THE DESCRIPTION OR TO PAY THE FEE WITHIN THE PRESCRIBED TIME-LIMIT

Effective date: 20180606

REG Reference to a national code

Ref country code: CH

Ref legal event code: PL

PLBE No opposition filed within time limit

Free format text: ORIGINAL CODE: 0009261

STAA Information on the status of an ep patent application or granted ep patent

Free format text: STATUS: NO OPPOSITION FILED WITHIN TIME LIMIT

PG25 Lapsed in a contracting state [announced via postgrant information from national office to epo]

Ref country code: LI

Free format text: LAPSE BECAUSE OF NON-PAYMENT OF DUE FEES

Effective date: 20180831

Ref country code: CH

Free format text: LAPSE BECAUSE OF NON-PAYMENT OF DUE FEES

Effective date: 20180831

Ref country code: LU

Free format text: LAPSE BECAUSE OF NON-PAYMENT OF DUE FEES

Effective date: 20180820

REG Reference to a national code

Ref country code: BE

Ref legal event code: MM

Effective date: 20180831

26N No opposition filed

Effective date: 20190307

GBPC Gb: european patent ceased through non-payment of renewal fee

Effective date: 20180906

REG Reference to a national code

Ref country code: IE

Ref legal event code: MM4A

PG25 Lapsed in a contracting state [announced via postgrant information from national office to epo]

Ref country code: SI

Free format text: LAPSE BECAUSE OF FAILURE TO SUBMIT A TRANSLATION OF THE DESCRIPTION OR TO PAY THE FEE WITHIN THE PRESCRIBED TIME-LIMIT

Effective date: 20180606

Ref country code: DK

Free format text: LAPSE BECAUSE OF FAILURE TO SUBMIT A TRANSLATION OF THE DESCRIPTION OR TO PAY THE FEE WITHIN THE PRESCRIBED TIME-LIMIT

Effective date: 20180606

PG25 Lapsed in a contracting state [announced via postgrant information from national office to epo]

Ref country code: IE

Free format text: LAPSE BECAUSE OF NON-PAYMENT OF DUE FEES

Effective date: 20180820

PG25 Lapsed in a contracting state [announced via postgrant information from national office to epo]

Ref country code: BE

Free format text: LAPSE BECAUSE OF NON-PAYMENT OF DUE FEES

Effective date: 20180831

PG25 Lapsed in a contracting state [announced via postgrant information from national office to epo]

Ref country code: GB

Free format text: LAPSE BECAUSE OF NON-PAYMENT OF DUE FEES

Effective date: 20180906

PG25 Lapsed in a contracting state [announced via postgrant information from national office to epo]

Ref country code: AL

Free format text: LAPSE BECAUSE OF FAILURE TO SUBMIT A TRANSLATION OF THE DESCRIPTION OR TO PAY THE FEE WITHIN THE PRESCRIBED TIME-LIMIT

Effective date: 20180606

PG25 Lapsed in a contracting state [announced via postgrant information from national office to epo]

Ref country code: MT

Free format text: LAPSE BECAUSE OF NON-PAYMENT OF DUE FEES

Effective date: 20180820

PG25 Lapsed in a contracting state [announced via postgrant information from national office to epo]

Ref country code: PT

Free format text: LAPSE BECAUSE OF FAILURE TO SUBMIT A TRANSLATION OF THE DESCRIPTION OR TO PAY THE FEE WITHIN THE PRESCRIBED TIME-LIMIT

Effective date: 20180606

PG25 Lapsed in a contracting state [announced via postgrant information from national office to epo]

Ref country code: HU

Free format text: LAPSE BECAUSE OF FAILURE TO SUBMIT A TRANSLATION OF THE DESCRIPTION OR TO PAY THE FEE WITHIN THE PRESCRIBED TIME-LIMIT; INVALID AB INITIO

Effective date: 20130820

Ref country code: MK

Free format text: LAPSE BECAUSE OF NON-PAYMENT OF DUE FEES

Effective date: 20180606

P01 Opt-out of the competence of the unified patent court (upc) registered

Effective date: 20230525

PGFP Annual fee paid to national office [announced via postgrant information from national office to epo]

Ref country code: TR

Payment date: 20230818

Year of fee payment: 11

Ref country code: IT

Payment date: 20230711

Year of fee payment: 11

Ref country code: ES

Payment date: 20230901

Year of fee payment: 11

PGFP Annual fee paid to national office [announced via postgrant information from national office to epo]

Ref country code: DE

Payment date: 20230627

Year of fee payment: 11

Ref country code: FR

Payment date: 20230703

Year of fee payment: 11

REG Reference to a national code

Ref country code: DE

Ref legal event code: R119

Ref document number: 602013038678

Country of ref document: DE

PG25 Lapsed in a contracting state [announced via postgrant information from national office to epo]

Ref country code: DE

Free format text: LAPSE BECAUSE OF NON-PAYMENT OF DUE FEES

Effective date: 20250301

PG25 Lapsed in a contracting state [announced via postgrant information from national office to epo]

Ref country code: IT

Free format text: LAPSE BECAUSE OF NON-PAYMENT OF DUE FEES

Effective date: 20240820

PG25 Lapsed in a contracting state [announced via postgrant information from national office to epo]

Ref country code: FR

Free format text: LAPSE BECAUSE OF NON-PAYMENT OF DUE FEES

Effective date: 20240831

REG Reference to a national code

Ref country code: ES

Ref legal event code: FD2A

Effective date: 20251001

PG25 Lapsed in a contracting state [announced via postgrant information from national office to epo]

Ref country code: ES

Free format text: LAPSE BECAUSE OF NON-PAYMENT OF DUE FEES

Effective date: 20240821