EP2918849B1 - Compressor - Google Patents

Compressor Download PDF

Info

Publication number
EP2918849B1
EP2918849B1 EP13862737.7A EP13862737A EP2918849B1 EP 2918849 B1 EP2918849 B1 EP 2918849B1 EP 13862737 A EP13862737 A EP 13862737A EP 2918849 B1 EP2918849 B1 EP 2918849B1
Authority
EP
European Patent Office
Prior art keywords
radial direction
leading edge
respect
impeller
main blades
Prior art date
Legal status (The legal status is an assumption and is not a legal conclusion. Google has not performed a legal analysis and makes no representation as to the accuracy of the status listed.)
Active
Application number
EP13862737.7A
Other languages
German (de)
English (en)
French (fr)
Other versions
EP2918849A4 (en
EP2918849A1 (en
Inventor
Isao Tomita
Koichi Sugimoto
Current Assignee (The listed assignees may be inaccurate. Google has not performed a legal analysis and makes no representation or warranty as to the accuracy of the list.)
Mitsubishi Heavy Industries Ltd
Original Assignee
Mitsubishi Heavy Industries Ltd
Priority date (The priority date is an assumption and is not a legal conclusion. Google has not performed a legal analysis and makes no representation as to the accuracy of the date listed.)
Filing date
Publication date
Application filed by Mitsubishi Heavy Industries Ltd filed Critical Mitsubishi Heavy Industries Ltd
Publication of EP2918849A1 publication Critical patent/EP2918849A1/en
Publication of EP2918849A4 publication Critical patent/EP2918849A4/en
Application granted granted Critical
Publication of EP2918849B1 publication Critical patent/EP2918849B1/en
Active legal-status Critical Current
Anticipated expiration legal-status Critical

Links

Images

Classifications

    • FMECHANICAL ENGINEERING; LIGHTING; HEATING; WEAPONS; BLASTING
    • F04POSITIVE - DISPLACEMENT MACHINES FOR LIQUIDS; PUMPS FOR LIQUIDS OR ELASTIC FLUIDS
    • F04DNON-POSITIVE-DISPLACEMENT PUMPS
    • F04D29/00Details, component parts, or accessories
    • F04D29/26Rotors specially for elastic fluids
    • F04D29/28Rotors specially for elastic fluids for centrifugal or helico-centrifugal pumps for radial-flow or helico-centrifugal pumps
    • F04D29/30Vanes
    • FMECHANICAL ENGINEERING; LIGHTING; HEATING; WEAPONS; BLASTING
    • F04POSITIVE - DISPLACEMENT MACHINES FOR LIQUIDS; PUMPS FOR LIQUIDS OR ELASTIC FLUIDS
    • F04DNON-POSITIVE-DISPLACEMENT PUMPS
    • F04D21/00Pump involving supersonic speed of pumped fluids
    • FMECHANICAL ENGINEERING; LIGHTING; HEATING; WEAPONS; BLASTING
    • F04POSITIVE - DISPLACEMENT MACHINES FOR LIQUIDS; PUMPS FOR LIQUIDS OR ELASTIC FLUIDS
    • F04DNON-POSITIVE-DISPLACEMENT PUMPS
    • F04D29/00Details, component parts, or accessories
    • F04D29/26Rotors specially for elastic fluids
    • F04D29/28Rotors specially for elastic fluids for centrifugal or helico-centrifugal pumps for radial-flow or helico-centrifugal pumps
    • F04D29/284Rotors specially for elastic fluids for centrifugal or helico-centrifugal pumps for radial-flow or helico-centrifugal pumps for compressors
    • FMECHANICAL ENGINEERING; LIGHTING; HEATING; WEAPONS; BLASTING
    • F05INDEXING SCHEMES RELATING TO ENGINES OR PUMPS IN VARIOUS SUBCLASSES OF CLASSES F01-F04
    • F05DINDEXING SCHEME FOR ASPECTS RELATING TO NON-POSITIVE-DISPLACEMENT MACHINES OR ENGINES, GAS-TURBINES OR JET-PROPULSION PLANTS
    • F05D2240/00Components
    • F05D2240/20Rotors
    • F05D2240/30Characteristics of rotor blades, i.e. of any element transforming dynamic fluid energy to or from rotational energy and being attached to a rotor
    • F05D2240/303Characteristics of rotor blades, i.e. of any element transforming dynamic fluid energy to or from rotational energy and being attached to a rotor related to the leading edge of a rotor blade

Definitions

  • the present disclosure relates to compressors such as centrifugal compressors and mixed flow compressors.
  • centrifugal compressors each of which compresses a gas that flows in from an axial direction and discharges the gas in a radial direction
  • mixed flow compressors each of which compresses a gas that flows in from an axial direction and discharges the gas in a direction that is diagonal with respect to the axial direction
  • a centrifugal compressor including a main blade that is curved in an arch form in a direction reverse to a rotation direction in an axial view of an impeller for enabling performance improvement of the compressor is disclosed by the present inventor.
  • Patent Document 1 JPA2004-44473
  • EP 1 788 255 discloses a compressor impeller having a wheel disc and blades with a leading edge and a trailing edge that are arranged in a circumferential direction.
  • a partial area of a surface of the blades is a dual curved partial area, whose generatrix is formed as curved lines, where the partial area is curved perpendicular to the generatrix.
  • a transfer of the dual curved partial area is continuous to a standard surface partial area.
  • the blades have a hub edge and an outer edge, where the partial areas abut at the outer edge and the hub edge, respectively.
  • the present inventor found out that the centrifugal compressor described in Patent Document 1 has a problem in which, as described later, a shock wave is developed during high-speed operation of an impeller caused by a leading edge shape of a main blade, and performance may be degraded in a high-speed rotation region.
  • the present invention was made in view of the above-described conventional problem, and aims at providing a compressor capable of improving performance in a high-speed rotation region by devising a leading edge shape of a main blade to suppress the development of a shock wave generated during high-speed operation
  • All embodiments of the present invention comprise a compressor that is configured to compress a gas that flows in from an axial direction and discharge the gas in a radial direction or in a direction that is diagonal with respect to the axial direction comprising:
  • a leading edge of each of the main blades when the impeller is viewed from the axial direction, at a position that is at least 50% of the blade length, is inclined to a rotation direction side with respect to the first radial direction outward in the first radial direction. Therefore, as described later, a shock wave generated during high-speed operation of the impeller may be suppressed and performance of the compressor in a high-speed rotation region may be improved.
  • a maximum inclination angle in a range of 40% to 80% of the blade length is in a range of 3 to 20 degrees with respect to the first radial direction.
  • a shock wave generated during high-speed operation of the impeller may be effectively suppressed and performance of the compressor in a high-speed rotation region may be improved.
  • a leading edge of each of the main blades when the impeller is viewed from the axial direction, at an end part inside in the first radial direction, is inclined to a rotation direction side with respect to the first radial direction inward in the first radial direction.
  • a connection length between a main blade and a hub may be secured long, and stress concentration at a root part of the main blade may be relaxed.
  • a leading edge of each of the main blades when the impeller is viewed from the axial direction, at an end part outside in the first radial direction, is inclined to a direction opposite to a rotation direction with respect to the first radial direction outward in the first radial direction.
  • a leading edge of each of the main blades when the impeller is viewed from a meridional plane direction, at a position that is at least 50% of a blade height extending to a shroud side of the compressor housing, is inclined to an upstream side with respect to an axis orthogonal direction toward the shroud side.
  • a leading edge of each of the main blades in a range of 40% to 80% of the blade height, is continuously inclined to an upstream side with respect to an axis orthogonal direction toward the shroud side.
  • a maximum inclination angle in the range of 40% to 80% of the blade height is in a range of 10 to 30 degrees with respect to an axis orthogonal direction.
  • a leading edge of each of the main blades when the impeller is viewed from a meridional plane direction, at an end part of a hub side, is inclined to an upstream side with respect to an axis orthogonal direction toward the hub side.
  • a connection length between a main blade and a hub may be secured long, and stress concentration at a root part of the main blade may be relaxed.
  • a leading edge of each of the main blades when the impeller is viewed from a meridional plane direction, at an end part on the shroud side, is inclined to a lower stream side with respect to an axis orthogonal direction toward the shroud side.
  • a leading edge of each of the main blades when the impeller is viewed from the axial direction, at a position that is at least 50% of the blade length, is inclined to a rotation direction side with respect to the first radial direction outward in the first radial direction. Therefore, a compressor capable of suppressing development of a shock wave generated during high-speed operation and improving performance in a high-speed rotation region may be provided.
  • Fig. 1 is a view illustrating a compressor associated with one embodiment.
  • Fig. 2 is a perspective view illustrating an impeller of a compressor associated with one embodiment.
  • a compressor 1 is configured as a centrifugal compressor 1 that compresses a gas that flows in an axial direction of the compressor and discharge the gas in a radial direction.
  • the centrifugal compressor 1 includes: a rotary shaft 2; an impeller 3 provided at a one end part of the rotary shaft 2; and a compressor housing 6 that rotatably accommodates the impeller 3.
  • the rotary shaft is rotatably supported by an unillustrated bearing and is rotatably configured about a center line CL as a center.
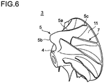
  • the impeller 3 includes: a conical hub fixed at one end part of the rotary shaft 2; and a plurality of main blades 5 provided by being protruded from a surface of the hub 4.
  • the impeller 3, as illustrated in Fig. 2 may include splitter blades 7 that are formed between the neighboring main blades 5, 5 and are shorter than the main blades 5 in the axial direction. Between the main blades 5 and the splitter blades 7 (when there are no splitter blades 7, between the neighboring main blades 5, 5), flow path 11 through which a gas flows are formed.
  • the compressor housing 6, as illustrated in Fig. 1 includes: an inlet flow path 12 that introduces a gas in the axial direction; a diffuser flow path 14 through which a compressed gas is discharged by the impeller 3; and a scroll flow path 16 through which the compressed gas is guided to an outside of the housing.
  • the impeller 3 is so formed that a blade tip 5a of each of the main blades 5 follows an inner circumferential shape of a shroud part 18, and is rotatably accommodated in the compressor housing 6. By the impeller 3 being rotated in high speed, a gas flowing in from leading edges 5b flows through the flow path 11 and is accelerated, and flows out from trailing edges 5c to the diffuser flow path 14.
  • Fig. 3 is a partially enlarged view illustrating an impeller of a compressor associated with one embodiment, (a) is a meridional plane view viewed from a meridional plane direction, and (b) is a plan view viewed from an axial direction.
  • a leading edge 5b of each of the main blades 5, as illustrated in Fig. 3 (a) is extended in a direction orthogonal to a center line CL in a meridional plane view.
  • a leading edge 5b of each of the main blades 5, in a plan view is inclined to a rotation direction R side with respect to a first radial direction r outward in the first radial direction in a neighborhood of a center part of the leading edge 5b.
  • a planar shape, when a leading edge 5b of each of the main blades 5 is viewed from the axial direction, is described in detail with reference to Fig. 4 .
  • Fig. 4 is an explanatory drawing illustrating a planar shape of a leading edge of a main blade.
  • a planar shape of the leading edge 5b when a blade length of the leading edge 5b extending to an outside in the first radial direction is denoted as L, is such that a most backward point P1 is formed at a position of 0.2 L outward in the first radial direction.
  • a most forward point P2 is formed at a position of 0.8 L outward in the first radial direction.
  • the leading edge 5b In a range of 20 to 80% (0.2 to 0.8 L) of the blade length L, the leading edge 5b is inclined at a maximum inclination angle ⁇ 1 to the rotation direction R side with respect to the first radial direction r outward in the first radial direction.
  • Fig. 5 is an explanatory drawing for explaining an effect when a leading edge of a main blade is made to be inclined to a rotation direction side with respect to the first radial direction outward in the first radial direction, (a) illustrates a case where the leading edge is parallel to the first radial direction (reference example), and (b) illustrates a case where the leading edge is inclined with respect to the first radial direction (embodiment example).
  • An arrow V in the figure represents a gas flow direction, and a length of the arrow V means a magnitude of flow velocity.
  • a leading edge 5b of each of the main blades 5 is inclined to the rotation direction R side with respect to the first radial direction outward in the first radial direction in a range of at least 40% to 80% of the blade length L.
  • the maximum inclination angle ⁇ 1 in a range of 40% to 80% of the blade length L is in a range of 3 to 20 degrees with respect to the first radial direction, the shock wave generated during high-speed operation of the impeller 3 may be effectively suppressed.
  • a connection length between the main blades 5 and the hub 4 may be secured long.
  • overhung may be relaxed and stress concentration at a root part of the main blades 5 may be relaxed.
  • Fig. 6 is a perspective view illustrating an impeller of a compressor associated with one embodiment.
  • Fig. 7 is a partially enlarged view illustrating an impeller of a compressor associated with one embodiment, (a) is a meridional plane view viewed from a meridional plane direction, and (b) is a plan view viewed from an axial direction.
  • Fig. 8 is an explanatory drawing illustrating a meridional shape of a leading edge of a main blade.
  • the impeller 3 associated with the present embodiment is basically similar to the above-described embodiment, and the same reference numerals are assigned to the same configuration and detailed descriptions may be omitted.
  • a planar shape of a leading edge 5b of each of the main blades 5 has a shape similar to the above-described embodiment and, as illustrated in Fig. 7 (a) , the leading edge 5b in a meridional plane view at a neighborhood of the center part is inclined to an upstream side with respect to an axial orthogonal direction p toward the shroud side.
  • a most backward point P1 is formed at a position of 0.2 H toward the shroud side.
  • the most forward point P2 is formed at a position of 0.8 H toward the shroud side.
  • a range of the blade height H of 20 to 80% (0.2 to 0.8 H) is inclined at a maximum inclination angle ⁇ 2 to the upstream side with respect to the axial orthogonal direction p toward the shroud side.
  • Fig. 9 is an explanatory drawing for explaining an effect when a leading edge of a main blade is made to be inclined to an upstream side with respect to the axial orthogonal direction toward the shroud side, and is corresponding to Fig. 5 of the above-described embodiment.
  • Fig. 9 (a) illustrates a case where the leading edge is parallel to the axial orthogonal direction, and (b) illustrates a case where the leading edge is inclined with respect to the axial orthogonal direction.
  • a leading edge 5b of each of the main blades 5 is inclined to the upstream side with respect to the axial orthogonal direction toward the shroud side in a range of at least 40% to 80% of the blade height H.
  • the maximum inclination angle ⁇ 2 in a range of 40% to 80% of the blade height H is in a range of 10 to 30 degrees with respect to the first radial direction, the shock wave generated during high-speed operation of the impeller 3 may be effectively suppressed.
  • a leading edge 5b of each of the main blades 5, when the impeller 3 is viewed from the meridional plane direction, at an end part of the hub side (for instance, as illustrated in Fig. 8 , in a range of 0.0 to 0.2 H), is inclined to the upstream side with respect to the axial orthogonal direction to the hub side.
  • a connection length between the main blades 5 and the hub 4 may be secured long.
  • overhung may be relaxed and stress concentration at a root part of the main blades 5 may be relaxed.
  • the present invention is not limited to the embodiments, and it goes without saying that various improvements and deformations may be performed within a range not deviating from the gist of the present invention as defined in the appended claims.
  • the compressor 1 may be configured as a mixed flow compressor that compresses a gas flowing in the axial direction and discharges the gas in a direction that is diagonal with respect to the axial direction.
  • a compressor of at least one embodiment of the present invention is suitably used as a compressor of a turbocharger used for an engine of an automobile or a ship, for instance.

Landscapes

  • Engineering & Computer Science (AREA)
  • Mechanical Engineering (AREA)
  • General Engineering & Computer Science (AREA)
  • Structures Of Non-Positive Displacement Pumps (AREA)
EP13862737.7A 2012-12-13 2013-09-06 Compressor Active EP2918849B1 (en)

Applications Claiming Priority (2)

Application Number Priority Date Filing Date Title
JP2012272526A JP5606515B2 (ja) 2012-12-13 2012-12-13 圧縮機
PCT/JP2013/074030 WO2014091804A1 (ja) 2012-12-13 2013-09-06 圧縮機

Publications (3)

Publication Number Publication Date
EP2918849A1 EP2918849A1 (en) 2015-09-16
EP2918849A4 EP2918849A4 (en) 2015-11-25
EP2918849B1 true EP2918849B1 (en) 2017-11-01

Family

ID=50934103

Family Applications (1)

Application Number Title Priority Date Filing Date
EP13862737.7A Active EP2918849B1 (en) 2012-12-13 2013-09-06 Compressor

Country Status (5)

Country Link
EP (1) EP2918849B1 (enExample)
JP (1) JP5606515B2 (enExample)
KR (1) KR101765405B1 (enExample)
CN (1) CN104854350B (enExample)
WO (1) WO2014091804A1 (enExample)

Cited By (1)

* Cited by examiner, † Cited by third party
Publication number Priority date Publication date Assignee Title
DE102022127147A1 (de) * 2022-10-17 2024-04-18 Man Energy Solutions Se Verdichter und Turbolader

Families Citing this family (14)

* Cited by examiner, † Cited by third party
Publication number Priority date Publication date Assignee Title
JP6745331B2 (ja) * 2016-03-30 2020-08-26 三菱重工エンジン&ターボチャージャ株式会社 回転機械、ターボチャージャ
ITUA20164221A1 (it) * 2016-06-09 2017-12-09 Fieni Giovanni S R L Gruppo di ventilazione per atomizzazione ed irrorazione
DE102016220133A1 (de) * 2016-10-14 2018-04-19 Bosch Mahle Turbo Systems Gmbh & Co. Kg Laufrad für einen Abgasturbolader und Abgasturbolader mit einem solchen Laufrad
FR3062431B1 (fr) * 2017-01-27 2021-01-01 Safran Helicopter Engines Pale de rouet pour turbomachine, comprenant une ailerette a son sommet et au bord d'attaque
US11525457B2 (en) 2017-10-11 2022-12-13 Mitsubishi Heavy Industries Engine & Turbocharger, Ltd. Impeller for centrifugal turbomachine and centrifugal turbomachine
CN107989823B (zh) * 2017-12-26 2023-12-01 北京伯肯节能科技股份有限公司 叶轮、离心压缩机及燃料电池系统
JP6740271B2 (ja) 2018-03-05 2020-08-12 三菱重工業株式会社 羽根車及びこの羽根車を備えた遠心圧縮機
CN109404334A (zh) * 2018-12-27 2019-03-01 泛仕达机电股份有限公司 一种斜流风轮及包括该斜流风轮的低噪声斜流风机
CN112032103B (zh) * 2019-06-03 2022-08-26 日本电产株式会社 叶轮、送风装置以及吸尘器
CN110939602B (zh) * 2019-12-30 2025-03-21 天津北方天力增压技术有限公司 一种具有进气前缘后掠弯曲特征的增压器压气机叶轮
CN113565793B (zh) * 2020-04-29 2024-09-13 青岛海尔空调电子有限公司 压缩机叶轮及压缩机
CN115163554B (zh) * 2022-08-25 2025-11-21 珠海格力电器股份有限公司 离心叶轮、离心压缩机、空调室外机和空调器
JP2024158726A (ja) 2023-04-28 2024-11-08 三星電子株式会社 インペラ、送風機、及び掃除機
EP4617504A1 (en) 2023-04-28 2025-09-17 Samsung Electronics Co., Ltd. Impeller and cleaner employing same

Family Cites Families (10)

* Cited by examiner, † Cited by third party
Publication number Priority date Publication date Assignee Title
JPS6360097U (enExample) * 1986-10-06 1988-04-21
US6588485B1 (en) * 2002-05-10 2003-07-08 Borgwarner, Inc. Hybrid method for manufacturing titanium compressor wheel
JP4115180B2 (ja) 2002-07-11 2008-07-09 三菱重工業株式会社 羽根車および遠心圧縮機
EP1788255A1 (de) * 2005-11-16 2007-05-23 Siemens Aktiengesellschaft Radialverdichter-Laufrad
US20080229742A1 (en) * 2007-03-21 2008-09-25 Philippe Renaud Extended Leading-Edge Compressor Wheel
JP5076999B2 (ja) * 2008-03-21 2012-11-21 株式会社Ihi 遠心圧縮機
US9689263B2 (en) * 2009-10-27 2017-06-27 General Electric Company Droplet catcher for centrifugal compressor
US8668446B2 (en) * 2010-08-31 2014-03-11 General Electric Company Supersonic compressor rotor and method of assembling same
GB2486019B (en) * 2010-12-02 2013-02-20 Dyson Technology Ltd A fan
DE102012004388A1 (de) * 2012-03-03 2013-09-05 Daimler Ag Verdichterrad für einen Verdichter, insbesondere einen Radialverdichter

Non-Patent Citations (1)

* Cited by examiner, † Cited by third party
Title
None *

Cited By (2)

* Cited by examiner, † Cited by third party
Publication number Priority date Publication date Assignee Title
DE102022127147A1 (de) * 2022-10-17 2024-04-18 Man Energy Solutions Se Verdichter und Turbolader
DE102022127147B4 (de) 2022-10-17 2024-06-27 Man Energy Solutions Se Verdichter und Turbolader

Also Published As

Publication number Publication date
CN104854350A (zh) 2015-08-19
JP2014118833A (ja) 2014-06-30
EP2918849A4 (en) 2015-11-25
CN104854350B (zh) 2019-10-01
KR20150079892A (ko) 2015-07-08
WO2014091804A1 (ja) 2014-06-19
KR101765405B1 (ko) 2017-08-07
EP2918849A1 (en) 2015-09-16
JP5606515B2 (ja) 2014-10-15

Similar Documents

Publication Publication Date Title
EP2918849B1 (en) Compressor
JP6109197B2 (ja) ラジアルタービン動翼
EP1741935A1 (en) Centrifugal compressor and method of manufacturing impeller
CN105308272B (zh) 半径流入式轴流涡轮机以及涡轮增压器
US20160305448A1 (en) Cooling fan module and system
KR20180101459A (ko) 방해받지 않는 출구를 구비하는 엔진 냉각 팬 캐스팅 셔라우드
US9816523B2 (en) Centrifugal compressor
CN108779708A (zh) 旋转机械叶片、增压器及旋转机械叶片和增压器的流场的形成方法
WO2018181343A1 (ja) 遠心圧縮機
WO2011070636A1 (ja) タービンおよびタービン動翼
JP2017193985A (ja) タービンインペラ
US20190048878A1 (en) Compressor impeller and turbocharger
JP2010001874A (ja) タービンインペラ、ラジアルタービン及び過給機
JP2007224866A (ja) 遠心圧縮機
US10844863B2 (en) Centrifugal rotary machine
CN110234888B (zh) 压缩机的涡旋形状以及增压器
JP6019701B2 (ja) 過給機
CN111356843B (zh) 多级离心压缩机、壳体以及回流翼片
JP2012107629A (ja) 遠心圧縮機のディフューザおよびこれを備えた遠心圧縮機
JP5308077B2 (ja) タービンおよびタービン動翼
EP3456937B1 (en) Turbocharger
JP7438240B2 (ja) 遠心圧縮機の羽根車、遠心圧縮機及びターボチャージャ
JP5736650B2 (ja) 軸流圧縮機及びガスタービンエンジン

Legal Events

Date Code Title Description
PUAI Public reference made under article 153(3) epc to a published international application that has entered the european phase

Free format text: ORIGINAL CODE: 0009012

17P Request for examination filed

Effective date: 20150608

AK Designated contracting states

Kind code of ref document: A1

Designated state(s): AL AT BE BG CH CY CZ DE DK EE ES FI FR GB GR HR HU IE IS IT LI LT LU LV MC MK MT NL NO PL PT RO RS SE SI SK SM TR

AX Request for extension of the european patent

Extension state: BA ME

RA4 Supplementary search report drawn up and despatched (corrected)

Effective date: 20151027

RIC1 Information provided on ipc code assigned before grant

Ipc: F04D 29/30 20060101AFI20151021BHEP

Ipc: F04D 21/00 20060101ALI20151021BHEP

Ipc: F04D 29/28 20060101ALI20151021BHEP

DAX Request for extension of the european patent (deleted)
GRAP Despatch of communication of intention to grant a patent

Free format text: ORIGINAL CODE: EPIDOSNIGR1

INTG Intention to grant announced

Effective date: 20170516

GRAS Grant fee paid

Free format text: ORIGINAL CODE: EPIDOSNIGR3

GRAA (expected) grant

Free format text: ORIGINAL CODE: 0009210

AK Designated contracting states

Kind code of ref document: B1

Designated state(s): AL AT BE BG CH CY CZ DE DK EE ES FI FR GB GR HR HU IE IS IT LI LT LU LV MC MK MT NL NO PL PT RO RS SE SI SK SM TR

REG Reference to a national code

Ref country code: GB

Ref legal event code: FG4D

REG Reference to a national code

Ref country code: AT

Ref legal event code: REF

Ref document number: 942320

Country of ref document: AT

Kind code of ref document: T

Effective date: 20171115

Ref country code: CH

Ref legal event code: EP

REG Reference to a national code

Ref country code: IE

Ref legal event code: FG4D

REG Reference to a national code

Ref country code: NL

Ref legal event code: FP

REG Reference to a national code

Ref country code: DE

Ref legal event code: R096

Ref document number: 602013028940

Country of ref document: DE

REG Reference to a national code

Ref country code: LT

Ref legal event code: MG4D

REG Reference to a national code

Ref country code: AT

Ref legal event code: MK05

Ref document number: 942320

Country of ref document: AT

Kind code of ref document: T

Effective date: 20171101

PG25 Lapsed in a contracting state [announced via postgrant information from national office to epo]

Ref country code: ES

Free format text: LAPSE BECAUSE OF FAILURE TO SUBMIT A TRANSLATION OF THE DESCRIPTION OR TO PAY THE FEE WITHIN THE PRESCRIBED TIME-LIMIT

Effective date: 20171101

Ref country code: NO

Free format text: LAPSE BECAUSE OF FAILURE TO SUBMIT A TRANSLATION OF THE DESCRIPTION OR TO PAY THE FEE WITHIN THE PRESCRIBED TIME-LIMIT

Effective date: 20180201

Ref country code: FI

Free format text: LAPSE BECAUSE OF FAILURE TO SUBMIT A TRANSLATION OF THE DESCRIPTION OR TO PAY THE FEE WITHIN THE PRESCRIBED TIME-LIMIT

Effective date: 20171101

Ref country code: LT

Free format text: LAPSE BECAUSE OF FAILURE TO SUBMIT A TRANSLATION OF THE DESCRIPTION OR TO PAY THE FEE WITHIN THE PRESCRIBED TIME-LIMIT

Effective date: 20171101

Ref country code: SE

Free format text: LAPSE BECAUSE OF FAILURE TO SUBMIT A TRANSLATION OF THE DESCRIPTION OR TO PAY THE FEE WITHIN THE PRESCRIBED TIME-LIMIT

Effective date: 20171101

PG25 Lapsed in a contracting state [announced via postgrant information from national office to epo]

Ref country code: IS

Free format text: LAPSE BECAUSE OF FAILURE TO SUBMIT A TRANSLATION OF THE DESCRIPTION OR TO PAY THE FEE WITHIN THE PRESCRIBED TIME-LIMIT

Effective date: 20180301

Ref country code: LV

Free format text: LAPSE BECAUSE OF FAILURE TO SUBMIT A TRANSLATION OF THE DESCRIPTION OR TO PAY THE FEE WITHIN THE PRESCRIBED TIME-LIMIT

Effective date: 20171101

Ref country code: HR

Free format text: LAPSE BECAUSE OF FAILURE TO SUBMIT A TRANSLATION OF THE DESCRIPTION OR TO PAY THE FEE WITHIN THE PRESCRIBED TIME-LIMIT

Effective date: 20171101

Ref country code: AT

Free format text: LAPSE BECAUSE OF FAILURE TO SUBMIT A TRANSLATION OF THE DESCRIPTION OR TO PAY THE FEE WITHIN THE PRESCRIBED TIME-LIMIT

Effective date: 20171101

Ref country code: BG

Free format text: LAPSE BECAUSE OF FAILURE TO SUBMIT A TRANSLATION OF THE DESCRIPTION OR TO PAY THE FEE WITHIN THE PRESCRIBED TIME-LIMIT

Effective date: 20180201

Ref country code: RS

Free format text: LAPSE BECAUSE OF FAILURE TO SUBMIT A TRANSLATION OF THE DESCRIPTION OR TO PAY THE FEE WITHIN THE PRESCRIBED TIME-LIMIT

Effective date: 20171101

Ref country code: GR

Free format text: LAPSE BECAUSE OF FAILURE TO SUBMIT A TRANSLATION OF THE DESCRIPTION OR TO PAY THE FEE WITHIN THE PRESCRIBED TIME-LIMIT

Effective date: 20180202

PG25 Lapsed in a contracting state [announced via postgrant information from national office to epo]

Ref country code: DK

Free format text: LAPSE BECAUSE OF FAILURE TO SUBMIT A TRANSLATION OF THE DESCRIPTION OR TO PAY THE FEE WITHIN THE PRESCRIBED TIME-LIMIT

Effective date: 20171101

Ref country code: CY

Free format text: LAPSE BECAUSE OF FAILURE TO SUBMIT A TRANSLATION OF THE DESCRIPTION OR TO PAY THE FEE WITHIN THE PRESCRIBED TIME-LIMIT

Effective date: 20171101

Ref country code: EE

Free format text: LAPSE BECAUSE OF FAILURE TO SUBMIT A TRANSLATION OF THE DESCRIPTION OR TO PAY THE FEE WITHIN THE PRESCRIBED TIME-LIMIT

Effective date: 20171101

Ref country code: SK

Free format text: LAPSE BECAUSE OF FAILURE TO SUBMIT A TRANSLATION OF THE DESCRIPTION OR TO PAY THE FEE WITHIN THE PRESCRIBED TIME-LIMIT

Effective date: 20171101

Ref country code: CZ

Free format text: LAPSE BECAUSE OF FAILURE TO SUBMIT A TRANSLATION OF THE DESCRIPTION OR TO PAY THE FEE WITHIN THE PRESCRIBED TIME-LIMIT

Effective date: 20171101

REG Reference to a national code

Ref country code: DE

Ref legal event code: R097

Ref document number: 602013028940

Country of ref document: DE

PG25 Lapsed in a contracting state [announced via postgrant information from national office to epo]

Ref country code: SM

Free format text: LAPSE BECAUSE OF FAILURE TO SUBMIT A TRANSLATION OF THE DESCRIPTION OR TO PAY THE FEE WITHIN THE PRESCRIBED TIME-LIMIT

Effective date: 20171101

Ref country code: IT

Free format text: LAPSE BECAUSE OF FAILURE TO SUBMIT A TRANSLATION OF THE DESCRIPTION OR TO PAY THE FEE WITHIN THE PRESCRIBED TIME-LIMIT

Effective date: 20171101

Ref country code: PL

Free format text: LAPSE BECAUSE OF FAILURE TO SUBMIT A TRANSLATION OF THE DESCRIPTION OR TO PAY THE FEE WITHIN THE PRESCRIBED TIME-LIMIT

Effective date: 20171101

Ref country code: RO

Free format text: LAPSE BECAUSE OF FAILURE TO SUBMIT A TRANSLATION OF THE DESCRIPTION OR TO PAY THE FEE WITHIN THE PRESCRIBED TIME-LIMIT

Effective date: 20171101

PLBE No opposition filed within time limit

Free format text: ORIGINAL CODE: 0009261

STAA Information on the status of an ep patent application or granted ep patent

Free format text: STATUS: NO OPPOSITION FILED WITHIN TIME LIMIT

REG Reference to a national code

Ref country code: FR

Ref legal event code: PLFP

Year of fee payment: 6

26N No opposition filed

Effective date: 20180802

PG25 Lapsed in a contracting state [announced via postgrant information from national office to epo]

Ref country code: SI

Free format text: LAPSE BECAUSE OF FAILURE TO SUBMIT A TRANSLATION OF THE DESCRIPTION OR TO PAY THE FEE WITHIN THE PRESCRIBED TIME-LIMIT

Effective date: 20171101

PG25 Lapsed in a contracting state [announced via postgrant information from national office to epo]

Ref country code: MC

Free format text: LAPSE BECAUSE OF FAILURE TO SUBMIT A TRANSLATION OF THE DESCRIPTION OR TO PAY THE FEE WITHIN THE PRESCRIBED TIME-LIMIT

Effective date: 20171101

REG Reference to a national code

Ref country code: CH

Ref legal event code: PL

REG Reference to a national code

Ref country code: BE

Ref legal event code: MM

Effective date: 20180930

REG Reference to a national code

Ref country code: IE

Ref legal event code: MM4A

PG25 Lapsed in a contracting state [announced via postgrant information from national office to epo]

Ref country code: LU

Free format text: LAPSE BECAUSE OF NON-PAYMENT OF DUE FEES

Effective date: 20180906

PG25 Lapsed in a contracting state [announced via postgrant information from national office to epo]

Ref country code: IE

Free format text: LAPSE BECAUSE OF NON-PAYMENT OF DUE FEES

Effective date: 20180906

PG25 Lapsed in a contracting state [announced via postgrant information from national office to epo]

Ref country code: BE

Free format text: LAPSE BECAUSE OF NON-PAYMENT OF DUE FEES

Effective date: 20180930

Ref country code: LI

Free format text: LAPSE BECAUSE OF NON-PAYMENT OF DUE FEES

Effective date: 20180930

Ref country code: CH

Free format text: LAPSE BECAUSE OF NON-PAYMENT OF DUE FEES

Effective date: 20180930

PG25 Lapsed in a contracting state [announced via postgrant information from national office to epo]

Ref country code: MT

Free format text: LAPSE BECAUSE OF NON-PAYMENT OF DUE FEES

Effective date: 20180906

PG25 Lapsed in a contracting state [announced via postgrant information from national office to epo]

Ref country code: TR

Free format text: LAPSE BECAUSE OF FAILURE TO SUBMIT A TRANSLATION OF THE DESCRIPTION OR TO PAY THE FEE WITHIN THE PRESCRIBED TIME-LIMIT

Effective date: 20171101

PG25 Lapsed in a contracting state [announced via postgrant information from national office to epo]

Ref country code: PT

Free format text: LAPSE BECAUSE OF FAILURE TO SUBMIT A TRANSLATION OF THE DESCRIPTION OR TO PAY THE FEE WITHIN THE PRESCRIBED TIME-LIMIT

Effective date: 20171101

PG25 Lapsed in a contracting state [announced via postgrant information from national office to epo]

Ref country code: HU

Free format text: LAPSE BECAUSE OF FAILURE TO SUBMIT A TRANSLATION OF THE DESCRIPTION OR TO PAY THE FEE WITHIN THE PRESCRIBED TIME-LIMIT; INVALID AB INITIO

Effective date: 20130906

Ref country code: MK

Free format text: LAPSE BECAUSE OF NON-PAYMENT OF DUE FEES

Effective date: 20171101

PG25 Lapsed in a contracting state [announced via postgrant information from national office to epo]

Ref country code: AL

Free format text: LAPSE BECAUSE OF FAILURE TO SUBMIT A TRANSLATION OF THE DESCRIPTION OR TO PAY THE FEE WITHIN THE PRESCRIBED TIME-LIMIT

Effective date: 20171101

PGFP Annual fee paid to national office [announced via postgrant information from national office to epo]

Ref country code: NL

Payment date: 20250814

Year of fee payment: 13

PGFP Annual fee paid to national office [announced via postgrant information from national office to epo]

Ref country code: DE

Payment date: 20250730

Year of fee payment: 13

PGFP Annual fee paid to national office [announced via postgrant information from national office to epo]

Ref country code: GB

Payment date: 20250731

Year of fee payment: 13

PGFP Annual fee paid to national office [announced via postgrant information from national office to epo]

Ref country code: FR

Payment date: 20250808

Year of fee payment: 13