EP2906891B1 - Werkstückträger - Google Patents
Werkstückträger Download PDFInfo
- Publication number
- EP2906891B1 EP2906891B1 EP13779775.9A EP13779775A EP2906891B1 EP 2906891 B1 EP2906891 B1 EP 2906891B1 EP 13779775 A EP13779775 A EP 13779775A EP 2906891 B1 EP2906891 B1 EP 2906891B1
- Authority
- EP
- European Patent Office
- Prior art keywords
- cfc
- latching
- workpiece support
- support according
- latched
- Prior art date
- Legal status (The legal status is an assumption and is not a legal conclusion. Google has not performed a legal analysis and makes no representation as to the accuracy of the status listed.)
- Not-in-force
Links
Images
Classifications
-
- F—MECHANICAL ENGINEERING; LIGHTING; HEATING; WEAPONS; BLASTING
- F27—FURNACES; KILNS; OVENS; RETORTS
- F27D—DETAILS OR ACCESSORIES OF FURNACES, KILNS, OVENS OR RETORTS, IN SO FAR AS THEY ARE OF KINDS OCCURRING IN MORE THAN ONE KIND OF FURNACE
- F27D5/00—Supports, screens or the like for the charge within the furnace
- F27D5/0006—Composite supporting structures
-
- C—CHEMISTRY; METALLURGY
- C21—METALLURGY OF IRON
- C21D—MODIFYING THE PHYSICAL STRUCTURE OF FERROUS METALS; GENERAL DEVICES FOR HEAT TREATMENT OF FERROUS OR NON-FERROUS METALS OR ALLOYS; MAKING METAL MALLEABLE, e.g. BY DECARBURISATION OR TEMPERING
- C21D9/00—Heat treatment, e.g. annealing, hardening, quenching or tempering, adapted for particular articles; Furnaces therefor
- C21D9/0006—Details, accessories not peculiar to any of the following furnaces
- C21D9/0025—Supports; Baskets; Containers; Covers
Definitions
- the present invention relates to a workpiece carrier comprising at least two component elements, which are each composed of a carbon fiber reinforced carbon (CFC).
- CFC carbon fiber reinforced carbon
- CFC workpiece carriers are used to support or hold workpieces in high temperature environments.
- charging racks are used as a carrier, wherein the heat treatment to be subjected to workpieces are placed on a support surface of the charging frame in the simplest case.
- workpiece carriers made of CFC are characterized in particular by increased temperature resistance and better dimensional stability.
- the assembly of a workpiece carrier of a plurality of component elements is advantageous in terms of manufacturing costs and flexibility. In particular, this makes it possible to build complex frames, which are tuned to the respective workpiece type and quantity.
- the individual component elements can be plugged together, for example by means of frictional connection elements.
- a workpiece carrier for hardened material which is composed of four frame-like assembled CFC strips is, for example, in DE 295 12 569 U1 disclosed.
- At least two of the at least two CFC component elements are locked together.
- a latch engage at least two corresponding locking teeth form fit into each other and hold the two CFC component elements in a defined detent position, but under force overcoming the positive connection is possible in at least one direction. That is, when mating and possibly when pulling apart the component elements mentioned gear elements can slide past each other.
- a snap connection or click connection reaching the detent position is often audible and / or tactile perceptible (“clicking" or "snapping").
- the two CFC components are therefore not only plugged together and thereby frictionally connected, but there is also a positive connection due to the latching, which increases the stability of the overall component and prevents unwanted loosening or loosening of the individual components.
- An elaborate gluing is not required here. Due to the increase in the load-bearing capacity of the connection caused by the positive connection, material can be saved in the design of the component elements, as a result of which the production costs decrease.
- the latching of the at least two CFC component elements can preferably be achieved by overcoming a latching resistor.
- the workpiece carrier can then be easily disassembled if necessary.
- the force to be exerted on one of the two CFC component elements to overcome the detent resistance is at least 10 N.
- An adapted detent resistance on the one hand ensures sufficiently high security against unintentional release of the detent connection and on the other hand facilitates easy assembly and disassembly of the workpiece carrier , If a subsequent dismantling of the workpiece carrier is not considered, the detent resistance can also so be interpreted large that a non-destructive release of the locking is practically impossible.
- the workpiece carrier can also comprise at least three CFC component elements, wherein each of the at least three CFC component elements is latched with at least one further of the at least three CFC component elements.
- a workpiece carrier may comprise two CFC component elements designed as longitudinal members, which are arranged parallel to one another and overlapped by at least one CFC component element designed as a cross member, the cross member being latched at each end to one of the longitudinal members. In this way, in particular the construction of a rust- or lattice-like workpiece carrier is possible, which is suitable for supporting a plurality of different workpieces.
- a bearing surface for a workpiece can be formed on at least one of the at least two CFC component elements and preferably on each of the at least two CFC component elements.
- special fixing elements such as recesses or stirrups, to be provided on the CFC component elements that overlap the workpiece to be held.
- a locking projection may be provided on at least one of the at least two CFC component elements latched to each other, which latching projection is provided in a CFC component element locked to another of the at least two mutually latched components Locking engagement engages.
- the latching protrusion may be any area of material that protrudes from a base surface of the CFC component element, such as a flat wall. Depending on the application, such a locking projection may be tooth-shaped, hump-like or nose-shaped.
- the latching projection is configured in the manner of a ramp in order to provide a ramp for easier latching.
- the latching projection could be designed as a separate component element. However, it is preferred if the latching projection is formed directly on the associated CFC component element.
- the latching projection by a distance between 0.05 mm and 1.5 mm, preferably between 0.1 mm and 0.7 mm and particularly preferably between 0.2 mm and 0.4 mm relative to the base surface of associated CFC component element protrudes.
- Such distances have proved to be particularly favorable in that on the one hand a secure locking connection is ensured and on the other hand, a slight engagement or clicking one CFC component element in the other CFC component element is possible.
- both a latching projection and a latching receptacle are provided on each of the at least two mutually latched CFC component elements, the latching projections and the latching receptacles of two mutually latched CFC component elements being mutually engaged.
- the at least two CFC component elements can be plugged together for latching along an insertion direction, wherein the latching projection and the latching receptacle of each of the at least two CFC component elements are arranged one behind the other with respect to the insertion direction.
- the latching projection of one CFC component element thus automatically enters the latching receptacle of the other CFC component element and vice versa, so that a particularly simple latching is possible.
- At least one of the at least two interlocked CFC component elements may have a groove for receiving a male portion of the respective other CFC component element, wherein the latching projection projects from a side wall of the groove.
- the male portion may be any portion of the respective CFC component member whose width is matched to the width of the groove.
- the groove then serves as a guide for the CFC component element to be inserted and on the other hand provides the locking projection serving for latching.
- the at least two mutually locked CFC component elements are plate-like and each have at least one groove, wherein the grooves mutually engage.
- Such CFC component elements are relatively easy to produce and are particularly suitable for the construction of grid-like charging racks.
- the groove may in particular have a rectangular cross-section. This allows a particularly simple production.
- a further embodiment of the invention provides that at least one of the at least two interconnected CFC component elements, and preferably each of the at least two interconnected CFC component elements, has at least three spaced-apart grooves for receiving an insertion portion of another CFC component element.
- the grooves may have a rounded cross section, wherein the radius of curvature of the rounding is at least 0.1 mm and preferably at least 0.3 mm.
- At least one side wall of the groove may be formed a ramp-like locking projection and an adjacent thereto groove.
- the groove facilitates the snapping or clicking the locking projection into the associated locking receptacle.
- the at least two CFC component elements are each composed of a carbon fiber-reinforced carbon which comprises carbonized and / or graphitized polyacrylonitrile fibers. With such fibers particularly good results were achieved.
- the at least two CFC component elements are each composed of a carbon reinforced with carbon fibers, carbon fibers and / or drawn fibers.
- the at least two CFC component elements are each composed of a carbon fiber reinforced carbon comprising carbon fibers having an average diameter of between 5 ⁇ m and 10 ⁇ m.
- a particularly favorable value has been found to be an average diameter of the carbon fibers of about 7 ⁇ m.
- the at least two CFC component elements are each composed of a carbon fiber-reinforced carbon which is at least 30% by volume, preferably at least 50% by volume and more preferably at least 70 vol .-% of carbon fibers.
- the at least two CFC component elements have a temperature resistance of at least 1,500 ° C., and preferably of at least 2,500 ° C.
- the workpiece carrier can be composed exclusively of, preferably identical, CFC component elements. This allows a particularly cost-effective production.
- the workpiece carrier has a size (BxLxH) of at least 50 mm ⁇ 50 mm ⁇ 10 mm, preferably of at least 100 mm ⁇ 100 mm ⁇ 10 mm and particularly preferably of at least 300 mm ⁇ 300 mm ⁇ 20 mm, for example of 1200 mm x 1,200 mm x 50 mm, on.
- Workpiece carrier of this Size are commonly used as charging racks when curing or sintering components.
- Another object of the present invention is the use of a previously described workpiece carrier as a charging rack in a high temperature environment.
- plate-shaped component member 11 is made entirely of a carbon fiber reinforced carbon (CFC) and is used to construct a workpiece carrier such as a Chargiergestells.
- CFC carbon fiber reinforced carbon
- the carbon fiber reinforced carbon comprises carbonized and / or graphitized polyacrylonitrile continuous filaments embedded in a matrix of carbon in a proportion of at least 80% by volume.
- the fibers have an average diameter of about 7 microns.
- the CFC component element 11 is configured in the form of an elongate strip and has a longitudinal axis L.
- Four grooves 13 of rectangular cross-section are formed along the longitudinal axis L spaced apart in the CFC component element 11.
- the width B of each groove corresponds to that in the Fig. 1 not apparent thickness of the plate-shaped CFC component element 11.
- the CFC component element 11 has four rectangular recesses 15, which are each adjacent to a groove 13 and whose width corresponds to the width B of the grooves 13.
- each groove 13 has two opposing side walls 17, wherein in each of the side walls 17 are two mutually parallel and transverse to the longitudinal axis L spaced apart grooves 19 are formed. Between the two grooves 19 of a side wall 17 is in each case a slightly rounded Rastbuckel 20, which protrudes relative to the surface of the side wall 17 by about 0.35 mm.
- the recesses 15 and the Rastbuckel 20 can each two according to the Fig. 1 designed CFC component elements 11 are locked together, as will be explained in more detail below.
- the two CFC component elements 11 to be joined are initially arranged in a fundamentally known manner such that their longitudinal axes L run at right angles to one another and an upper-side groove 13 of one CFC component element 11 opposes a lower-side groove 13 of the other CFC component element 11.
- the two CFC component elements 11 are then brought together along an insertion direction E pointing transversely to the two longitudinal axes L, wherein the grooves 13 mutually intermesh.
- the locking resistance can be adjusted relatively accurately to an application-related default value.
- three or more CFC component elements 11 can be easily frame or lattice-like workpiece carrier in the manner described, in which the narrow sides 23 of the CFC component elements 11 form respective bearing surfaces 25 for workpieces.
- Such workpiece carriers are particularly suitable as charging racks in hardening or sintering furnaces. The fact that the associated component elements 11 are made exclusively of CFC, a sufficient temperature resistance and dimensional stability is guaranteed.
- Assembling a workpiece carrier by latching the CFC component elements 11 is simple and requires no special knowledge. It can therefore also be performed by a respective end customer, while the manufacturer of the workpiece carrier provides only a set of CFC component elements 11 for individual mating as a kit.
- a particular advantage of the illustrated system is that there are no undercuts, which require the consideration of different plug-in directions and the maintenance of a particular order during assembly during assembly. There are also no gluing or separate fasteners such as pins or pins necessary because the stability of the CFC component assembly is ensured by the latches.
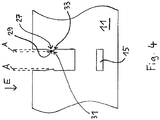
- Fig. 3 shows an alternative embodiment of a CFC component element 11 according to the invention, wherein instead of a Rastbuckels here a locking lug 27 is provided with a ramp portion 29 and a shoulder 31.
- the approach shoulder 31 is followed by a single groove 19.
- the ramp portion 29 of the locking lug 27 forms a ramp for the insertion portion 21 of the other CFC component element 11, thus facilitating the mating of the two CFC component elements 11.
- the shoulder 31 provides for this in comparison to the embodiment according to the Fig. 1 and 2 increased locking resistance.
- FIG. 4 Another embodiment of the invention is in Fig. 4 shown.
- a detent 27 is provided, but no groove in the side wall 17 of the groove 13 is formed.
- the shoulder 31 runs here rather in a rounding 33.
- the distance A by which the latching nose 27 protrudes from the side wall 17, highlighted by dashed lines.
- the latch Compared to a purely frictional nesting of the CFC component elements 11, the latch not only allows greater stability, but also a simplified assembly.
Landscapes
- Engineering & Computer Science (AREA)
- Chemical & Material Sciences (AREA)
- Mechanical Engineering (AREA)
- General Engineering & Computer Science (AREA)
- Crystallography & Structural Chemistry (AREA)
- Thermal Sciences (AREA)
- Physics & Mathematics (AREA)
- Materials Engineering (AREA)
- Metallurgy (AREA)
- Organic Chemistry (AREA)
- Jigs For Machine Tools (AREA)
- Furnace Charging Or Discharging (AREA)
- Powder Metallurgy (AREA)
- Connection Of Plates (AREA)
Description
- Die vorliegende Erfindung betrifft einen Werkstückträger umfassend wenigstens zwei Bauteilelemente, welche jeweils aus einem carbonfaserverstärkten Kohlenstoff (CFC) zusammengesetzt sind.
- Werkstückträger aus CFC werden zum Stützen oder Halten von Werkstücken in Hochtemperaturumgebungen benutzt. Beispielsweise werden beim Härten oder Sintern von Werkstücken in Industrieöfen sogenannte Chargiergestelle als Träger verwendet, wobei die der Wärmebehandlung zu unterziehenden Werkstücke im einfachsten Fall auf eine Auflagefläche des Chargiergestells aufgelegt werden. Gegenüber Werkstückträgern aus Stahl zeichnen sich Werkstückträger aus CFC insbesondere durch eine erhöhte Temperaturbeständigkeit und eine bessere Formstabilität aus.
- Das Zusammensetzen eines Werkstückträgers aus mehreren Bauteilelementen ist hinsichtlich der Herstellungskosten sowie der Flexibilität vorteilhaft. Insbesondere ist es dadurch möglich, komplexe Gestelle aufzubauen, welche auf die jeweilige Werkstückart- und -menge abgestimmt sind. Die einzelnen Bauteilelemente können beispielsweise mittels reibschlüssiger Verbindungselemente zusammengesteckt werden. Ein Werkstückträger für Härtegut, welcher aus vier rahmenartig zusammengesteckten CFC-Leisten aufgebaut ist, ist beispielsweise in der
DE 295 12 569 U1 offenbart. - Bei solchen Werkstückträgern aus zusammengesteckten CFC-Bauteilelementen besteht jedoch das Problem, dass die betreffenden reibschlüssigen Verbindungselemente, wie Führungsrippen und -nuten, mit relativ hoher Genauigkeit gefertigt werden müssen, um eine unerwünscht lockere Verbindung einerseits und ein Verklemmen der Bauteilelemente beim Zusammenstecken andererseits zu verhindern. Dies ist mit einem hohen Herstellungsaufwand verbunden. Weiterhin kann es aufgrund der hohen Temperaturen und der starken Temperaturunterschiede während eines Härt- oder Sinterprozesses zu einem Lösen der reibschlüssigen Verbindung und in der Folge zu einer unerwünschten Verformung des gesamten Werkstückträgers kommen. Um ein solches unerwünschtes Lösen zweier verbundener Bauteilelemente zu verhindern, können diese miteinander verklebt werden, was jedoch wiederum mit einem erhöhten Herstellungsaufwand einhergeht.
- In der
DE 20 2010 015 436 U1 werden miteinander verrastete CFC-Bauteile zu einem Werkstoffträger zusammengesetzt. - Es ist daher eine Aufgabe der vorliegenden Erfindung, Werkstückträger der vorstehend genannten Art mit einfachen Mitteln derart weiterzubilden, dass ein unerwünschtes Lösen der einzelnen Bauteilelemente sicher verhindert wird.
- Die Lösung der Aufgabe erfolgt durch einen Werkstückträger mit den Merkmalen des Anspruchs 1.
- Erfindungsgemäß sind wenigstens zwei der wenigstens zwei CFC-Bauteilelemente miteinander verrastet. Bei einer solchen Verrastung greifen wenigstens zwei entsprechende Rastverzahnungselemente formschlüssig ineinander und halten die beiden CFC-Bauteilelemente in einer definierten Raststellung fest, wobei jedoch unter Kraftaufwand ein Überwinden des Formschlusses zumindest in einer Richtung möglich ist. D.h. beim Zusammenstecken und gegebenenfalls beim Auseinanderziehen der Bauteilelemente können die erwähnten Verzahnungselemente aneinander vorbeigleiten. Bei einer solchen Rastverbindung bzw. Klickverbindung ist das Erreichen der Raststellung häufig akustisch und/oder taktil wahrnehmbar ("Einklicken" oder "Einschnappen").
- Die beiden CFC-Bauteile sind also nicht nur zusammengesteckt und hierdurch reibschlüssig verbunden, sondern es besteht aufgrund der Verrastung auch eine formschlüssige Verbindung, welche die Stabilität des Gesamtbauteils erhöht und ein unerwünschtes Lockern oder Lösen der Einzelbauteile verhindert. Ein aufwändiges Verkleben ist hierbei nicht erforderlich. Aufgrund der durch den Formschluss bewirkten Erhöhung der Belastbarkeit der Verbindung kann bei der Auslegung der Bauteilelemente Material eingespart werden, wodurch die Herstellungskosten sinken.
- Feste formschlüssige Verbindungen in Form von Hinterschneidungen oder Verstiftungen erfordern häufig ein kompliziertes Zusammensetzen der Bauteilelemente aus verschiedenen Richtungen und in einer genau vorgegebenen Reihenfolge. Demgegenüber ist ein Verrasten zweier Bauteilelemente besonders schnell und einfach möglich. An eine Rastverbindung sind außerdem nur vergleichweise geringe Maßhaltigkeitsanforderungen zu stellen. Somit ist es insbesondere möglich, Bausätze für Werkstückträger anzubieten, mittels welchen Endkunden individuelle Werkstückträger in Abhängigkeit von der jeweiligen Anwendung durch einfaches einklickendes Zusammenstecken der Einzelteile herstellen können.
- Vorzugsweise ist die Verrastung der wenigstens zwei CFC-Bauteilelemente unter Überwindung eines Rastwiderstands lösbar. Der Werkstückträger kann dann bei Bedarf leicht zerlegt werden.
- Gemäß einer Ausführungsform der Erfindung beträgt die auf eines der zwei CFC-Bauteilelemente zur Überwindung des Rastwiderstands mindestens auszuübende Kraft wenigstens 10 N. Ein angepasster Rastwiderstand gewährleistet einerseits eine ausreichend hohe Sicherheit gegen ein unbeabsichtigtes Lösen der Rastverbindung und ermöglicht andererseits ein leichtes Zusammenbauen und Auseinanderbauen des Werkstückträgers. Sofern ein nachträgliches Zerlegen des Werkstückträgers nicht in Erwägung gezogen wird, kann der Rastwiderstand auch so groß ausgelegt werden, dass ein zerstörungsfreies Lösen der Verrastung praktisch nicht möglich ist.
- Der Werkstückträger kann gemäß einer Ausgestaltung der Erfindung auch wenigstens drei CFC-Bauteilelemente umfassen, wobei jedes der wenigstens drei CFC-Bauteilelemente mit wenigstens einem weiteren der wenigstens drei CFC-Bauteilelemente verrastet ist. Dies ermöglicht den Aufbau vergleichsweise komplexer Werkstückträger, wobei die einzelnen Bauteilelemente durch die gegenseitige Verrastung sicher zusammengehalten werden. Beispielsweise kann ein Werkstückträger zwei als Längsträger ausgestaltete CFC-Bauteilelemente umfassen, die parallel zueinander angeordnet sind und durch wenigstens ein als Querträger ausgebildetes CFC-Bauteilelement übergriffen werden, wobei der Querträger an beiden Enden jeweils mit einem der Längsträger verrastet ist. Auf diese Weise ist insbesondere der Aufbau eines rost- oder gitterartigen Werkstückträgers möglich, welcher zum Stützen einer Vielzahl von unterschiedlichen Werkstücken geeignet ist.
- Um ein einfaches und zuverlässiges Halten von Werkstücken zu ermöglichen, kann an wenigstens einem der wenigstens zwei CFC-Bauteilelemente und bevorzugt an jedem der wenigstens zwei CFC-Bauteilelemente eine Auflagefläche für ein Werkstück ausgebildet sein. Sofern es die Anwendung erfordert, können jedoch auch spezielle, das zu haltende Werkstück übergreifende Fixierelemente wie Aussparungen oder Bügel an den CFC-Bauteilelementen vorgesehen sein. Ebenso kann es bei bestimmten Anwendungen vorteilhaft sein, separate Auflage- oder Halteelemente - beispielsweise aus Keramik - vorzusehen, die mit den CFC-Bauteilelementen verbunden sind.
- An wenigstens einem der wenigstens zwei miteinander verrasteten CFC-Bauteilelemente kann ein Rastvorsprung vorgesehen sein, welcher in eine an einem anderen der wenigstens zwei miteinander verrasteten CFC-Bauteilelemente vorgesehene Rastaufnahme eingreift. Bei dem Rastvorsprung kann es sich um einen beliebigen Materialbereich handeln, der gegenüber einer Basisfläche des CFC-Bauteilelements, wie z.B. einer ebenen Wand, vorsteht. Je nach Anwendungsvorgabe kann ein solcher Rastvorsprung zahnartig, buckelartig oder nasenartig geformt sein. Bevorzugt ist der Rastvorsprung rampenartig ausgestaltet, um eine Auflaufschräge zum leichteren Herbeiführen der Verrastung bereitzustellen. Grundsätzlich könnte der Rastvorsprung als separates Bauteilelement ausgeführt sein. Bevorzugt ist es jedoch, wenn der Rastvorsprung direkt an das zugehörige CFC-Bauteilelement angeformt ist.
- Es kann vorgesehen sein, dass der Rastvorsprung um einen Abstand zwischen 0,05 mm und 1,5 mm, bevorzugt zwischen 0,1 mm und 0,7 mm und besonders bevorzugt zwischen 0,2 mm und 0,4 mm gegenüber der Basisfläche des zugehörigen CFC-Bauteilelements vorsteht. Derartige Abstände haben sich dahingehend als besonders günstig erwiesen, dass einerseits eine sichere Rastverbindung gewährleistet ist und andererseits ein leichtes Einrasten oder Einklicken des einen CFC-Bauteilelements in das andere CFC-Bauteilelement möglich ist.
- Gemäß der Erfindung ist an jedem der wenigstens zwei miteinander verrasteten CFC-Bauteilelemente sowohl ein Rastvorsprung als auch eine Rastaufnahme vorgesehen, wobei die Rastvorsprünge und die Rastaufnahmen jeweils zweier miteinander verrasteter CFC-Bauteilelemente wechselseitig in Eingriff stehen. Hierdurch wird die Konstruktion des Werkstückträgers vereinfacht. Insbesondere muss beim Zusammenbau nicht darauf geachtet werden, dass eine ausreichende Anzahl an CFC-Bauteilelementen mit Rastvorsprung sowie an CFC-Bauteilelementen mit Rastaufnahme zur Verfügung steht, da stets für jeden Rastvorsprung eine Rastaufnahme bereitsteht. Auf diese Weise ist der Aufbau unterschiedlicher Werkstückträger aus einem beschränkten Satz von Grundelementen im Sinne eines Baukastensystems möglich.
- Ein weiterer Aspekt der Erfindung sieht vor, dass die wenigstens zwei CFC-Bauteilelemente zum Verrasten entlang einer Einsteckrichtung zusammensteckbar sind, wobei der Rastvorsprung und die Rastaufnahme jedes der wenigstens zwei CFC-Bauteilelemente bezüglich der Einsteckrichtung hintereinander angeordnet sind. Beim Zusammenführen der CFC-Bauteilelemente entlang der Einsteckrichtung gelangt somit der Rastvorsprung des einen CFC-Bauteilelements automatisch in die Rastaufnahme des anderen CFC-Bauteilelements und umgekehrt, sodass ein besonders einfaches Einrasten möglich ist.
- Wenigstens eines der wenigstens zwei miteinander verrasteten CFC-Bauteilelemente kann eine Nut zum Aufnehmen eines Einsteckabschnitts des jeweils anderen CFC-Bauteilelements aufweisen, wobei der Rastvorsprung von einer Seitenwand der Nut absteht. Der Einsteckabschnitt kann ein beliebiger Bereich des betreffenden CFC-Bauteilelements sein, dessen Breite an die Breite der Nut angepasst ist. Die Nut dient dann einerseits als Führung für das einzusteckende CFC-Bauteilelement und stellt andererseits den zum Verrasten dienenden Rastvorsprung bereit.
- Es können auch von zwei einander gegenüberliegenden Seitenwänden der Nut jeweilige Rastvorsprünge abstehen. Dadurch kann die Stabilität der Rastverbindung erhöht werden.
- Gemäß einer konkreten Ausgestaltung der Erfindung sind die wenigstens zwei miteinander verrasteten CFC-Bauteilelemente plattenartig ausgebildet und weisen jeweils wenigstens eine Nut auf, wobei die Nuten wechselseitig ineinandergreifen. Solche CFC-Bauteilelemente sind relativ leicht herstellbar und eignen sich insbesondere zum Aufbau gitterartiger Chargiergestelle.
- Die Nut kann insbesondere einen rechteckigen Querschnitt aufweisen. Dies ermöglicht eine besonders einfache Herstellung.
- Eine weitere Ausführungsform der Erfindung sieht vor, dass wenigstens eines der wenigstens zwei miteinander verrasteten CFC-Bauteilelemente und vorzugsweise jedes der wenigstens zwei miteinander verrasteten CFC-Bauteilelemente wenigstens drei voneinander beabstandete Nuten zum Aufnehmen eines Einsteckabschnitts eines anderen CFC-Bauteilelements aufweist. Hierdurch kann die Flexibilität beim Aufbau eines anwendungsbezogenen Werkstückträgers weiter gesteigert werden.
- Es kann vorgesehen sein, dass in wenigstens einer Seitenwand der Nut zwei parallele und zueinander beabstandete Rillen ausgebildet sind, zwischen denen sich der, insbesondere plateau- oder buckelartige, Rastvorsprung erstreckt. Eine derartige Ausgestaltung des Rastvorsprungs hat sich hinsichtlich einer leichten Verrastbarkeit als vorteilhaft herausgestellt.
- Die Rillen können einen abgerundeten Querschnitt aufweisen, wobei der Krümmungsradius der Rundung wenigstens 0,1 mm und bevorzugt wenigstens 0,3 mm beträgt.
- Weiterhin kann in wenigstens einer Seitenwand der Nut ein rampenartiger Rastvorsprung und eine zu diesem benachbarte Rille ausgebildet sein. Die Rille erleichtert das Einrasten oder Einklicken des Rastvorsprungs in die zugehörige Rastaufnahme.
- Vorzugsweise sind die wenigstens zwei CFC-Bauteilelemente jeweils aus einem carbonfaserverstärkten Kohlenstoff zusammengesetzt, welcher carbonisierte und/oder graphitierte Poylacrylnitrilfasern umfasst. Mit derartigen Fasern wurden besonders gute Ergebnisse erzielt.
- Ferner ist es bevorzugt, dass die wenigstens zwei CFC-Bauteilelemente jeweils aus einem mit Carbonendlosfasern, Carbonschnittfasern und/oder streckgerissenen Fasern verstärkten Kohlenstoff zusammengesetzt sind.
- Hinsichtlich der Faserdicke ist es bevorzugt, dass die wenigstens zwei CFC-Bauteilelemente jeweils aus einem carbonfaserverstärkten Kohlenstoff zusammengesetzt sind, welcher Carbonfasern mit einem durchschnittlichen Durchmesser zwischen 5 µm und 10 µm umfasst. Als besonders günstiger Wert hat sich ein durchschnittlicher Durchmesser der Carbonfasern von etwa 7 µm erwiesen.
- In Bezug auf den Faseranteil der CFC-Bauteilelemente hat es sich als vorteilhaft erwiesen, dass die wenigstens zwei CFC-Bauteilelemente jeweils aus einem carbonfaserverstärkten Kohlenstoff zusammengesetzt sind, der wenigstens 30 Vol.-%, bevorzugt wenigstens 50 Vol.-% und besonders bevorzugt wenigstens 70 Vol.-% an Carbonfasern umfasst.
- Um einen sicheren Einsatz des Werkstückträgers beim Härten oder Sintern zu gewährleisten, ist es bevorzugt, dass die wenigstens zwei CFC-Bauteilelemente eine Temperaturbeständigkeit von wenigstens 1.500°C und bevorzugt von wenigstens 2.500°C aufweisen.
- Der Werkstückträger kann ausschließlich aus, vorzugsweise gleichartigen, CFC-Bauteilelementen zusammengesetzt sein. Dies ermöglicht eine besonders kostengünstige Herstellung.
- Vorzugsweise weist der Werkstückträger eine Größe (BxLxH) von wenigstens 50 mm x 50 mm x 10 mm, bevorzugt von wenigstens 100 mm x 100 mm x 10 mm und besonders bevorzugt von wenigstens 300 mm x 300 mm x 20 mm, wie beispielsweise von 1.200 mm x 1.200 mm x 50 mm, auf. Werkstückträger von dieser Größe werden üblicherweise als Chargiergestelle beim Härten oder Sintern von Bauteilen verwendet.
- Ein weiterer Gegenstand der vorliegenden Erfindung ist die Verwendung eines zuvor beschriebenen Werkstückträgers als Chargiergestell in einer Hochtemperaturumgebung.
- Nachfolgend wird die Erfindung anhand von diese erläuternden, diese aber nicht einschränkenden Beispielen unter Bezugnahme auf die Zeichnungen weiter beschrieben.
- Fig. 1
- ist eine Draufsicht auf ein CFC-Bauteilelement für einen Werkstückträger gemäß einer ersten Ausführungsform der Erfindung.
- Fig. 2
- ist eine vergrößerte Teilansicht des Werkstückträgers gemäß
Fig. 1 . - Fig. 3
- ist eine Teilansicht eines CFC-Bauteilelements für einen Werkstückträger gemäß einer zweiten Ausführungsform der Erfindung.
- Fig. 4
- ist eine Teilansicht eines CFC-Bauteilelements für einen Werkstückträger gemäß einer dritten Ausführungsform der Erfindung.
- Das in der
Fig. 1 gezeigte plattenförmige Bauteilelement 11 ist vollständig aus einem carbonfaserverstärkten Kohlenstoff (CFC) gefertigt und dient zum Aufbau eines Werkstückträgers wie z.B. eines Chargiergestells. Der carbonfaserverstärkte Kohlenstoff umfasst Endlosfasern aus carbonisiertem und/oder graphitiertem Polyacrylnitril, welche in einem Anteil von wenigstens 80 Vol.-% in eine Matrix aus Kohlenstoff eingebettet sind. Vorzugsweise weisen die Fasern einen durchschnittlichen Durchmesser von etwa 7 µm auf. - Wie dargestellt ist das CFC-Bauteilelement 11 in Form einer länglichen Leiste ausgestaltet und weist eine Längsachse L auf. Vier Nuten 13 mit rechteckigem Querschnitt sind entlang der Längsachse L zueinander beabstandet in dem CFC-Bauteilelement 11 ausgebildet. Die Breite B jeder Nut entspricht der in der
Fig. 1 nicht ersichtlichen Dicke des plattenförmigen CFC-Bauteilelements 11. Weiterhin weist das CFC-Bauteilelement 11 vier rechteckige Aussparungen 15 auf, welche jeweils benachbart zu einer Nut 13 angeordnet sind und deren Breite der Breite B der Nuten 13 entspricht. - Wie insbesondere aus der vergrößerten Darstellung gemäß der
Fig. 2 hervorgeht, weist jede Nut 13 zwei einander gegenüberliegende Seitenwände 17 auf, wobei in jeder der Seitenwände 17 zwei zueinander parallele und quer zu der Längsachse L zueinander beabstandete Rillen 19 ausgebildet sind. Zwischen den beiden Rillen 19 einer Seitenwand 17 befindet sich jeweils ein leicht abgerundeter Rastbuckel 20, welcher gegenüber der Oberfläche der Seitenwand 17 um etwa 0,35 mm vorsteht. - Unter Verwendung der Nuten 13, der Aussparungen 15 und der Rastbuckel 20 können jeweils zwei gemäß der
Fig. 1 gestaltete CFC-Bauteilelemente 11 miteinander verrastet werden, wie nachfolgend näher ausgeführt wird. Hierbei werden die beiden zu verbindenden CFC-Bauteilelemente 11 zunächst in grundsätzlich bekannter Weise derart angeordnet, dass ihre Längsachsen L rechtwinklig zueinander verlaufen und eine oberseitige Nut 13 des einen CFC-Bauteilelements 11 einer unterseitigen Nut 13 des anderen CFC-Bauteilelements 11 gegenüberliegt. Die beiden CFC-Bauteilelemente 11 werden dann entlang einer quer zu den beiden Längsachsen L weisenden Einsteckrichtung E zusammengeführt, wobei die Nuten 13 wechselseitig ineinandergreifen. Der in Richtung der Längsachse L gesehen seitlich neben der Nut 13 befindliche Bereich eines CFC-Bauteilelements 11 bildet dabei einen Einsteckabschnitt 21, welcher durch die Nut 13 des anderen CFC-Bauteilelements 11 geführt ist und beim Zusammenstecken unter elastischer Deformation des Rastbuckels 20 an diesem vorbeigleitet. Sobald die Aussparungen 15 bei den Rastbuckeln 20 angelangt sind, rasten die unter Vorspannung stehenden Rastbuckel 20 in die Aussparungen 15 ein, wodurch die beiden CFC-Bauteilelemente 11 miteinander verrastet sind. Ein Lösen der CFC-Bauteilelemente 11 voneinander entgegen der Einsteckrichtung E ist nur mit einem erhöhten Kraftaufwand unter Überwindung eines Rastwiderstandes möglich. Durch die Formgebung und die Größe des Rastbuckels 20 sowie durch die Materialauswahl lässt sich der Rastwiderstand relativ exakt an einen anwendungsbedingten Vorgabewert anpassen. Unter Verwendung von drei oder mehr CFC-Bauteilelementen 11 lassen sich auf die beschriebene Art und Weise leicht rahmen- oder gitterartige Werkstückträger aufbauen, bei welchen die Schmalseiten 23 der CFC-Bauteilelemente 11 jeweilige Auflageflächen 25 für Werkstücke bilden. Derartige Werkstückträger sind insbesondere als Chargiergestelle in Härte- oder Sinteröfen geeignet. Dadurch dass die zugehörigen Bauteilelemente 11 ausschließlich aus CFC gefertigt sind, ist eine ausreichende Temperaturbeständigkeit und Formstabilität gewährleistet. - Das Zusammenbauen eines Werkstückträgers durch Verrasten der CFC-Bauteilelemente 11 ist einfach und erfordert keine besonderen Kenntnisse. Es kann daher auch von einem jeweiligen Endkunden durchgeführt werden, während der Hersteller der Werkstückträger lediglich einen Satz von CFC-Bauteilelementen 11 zum individuellen Zusammenstecken als Bausatz bereitstellt. Ein besonderer Vorteil des dargestellten Systems besteht darin, dass keine Hinterschneidungen vorliegen, welche bei der Montage das Berücksichtigen unterschiedlicher Einsteckrichtungen und das Einhalten einer bestimmten Reihenfolge beim Zusammensetzen erfordern. Es sind auch weder Verklebungen noch separate Befestigungselemente wie Zapfen oder Stifte notwendig, da die Stabilität des CFC-Bauteilelement-Verbunds durch die Verrastungen gewährleistet ist.
-
Fig. 3 zeigt eine alternative Ausgestaltung eines erfindungsgemäßen CFC-Bauteilelements 11, wobei anstelle eines Rastbuckels hier eine Rastnase 27 mit einem Rampenabschnitt 29 und einer Ansatzschulter 31 vorgesehen ist. An die Ansatzschulter 31 schließt sich eine einzelne Rille 19 an. Der Rampenabschnitt 29 der Rastnase 27 bildet eine Auflaufschräge für den Einsteckabschnitt 21 des anderen CFC-Bauteilelements 11 und erleichtert so das Zusammenstecken der beiden CFC-Bauteilelemente 11. Die Ansatzschulter 31 sorgt hierbei für einen im Vergleich zu der Ausführungsform gemäß derFig. 1 und2 erhöhten Rastwiderstand. - Eine weitere Ausführungsform der Erfindung ist in der
Fig. 4 dargestellt. Zum Einrasten in die Aussparung 15 ist hier ähnlich wie bei der Ausführungsform gemäß derFig. 3 eine Rastnase 27 vorgesehen, wobei jedoch keine Rille in der Seitenwand 17 der Nut 13 ausgebildet ist. Die Ansatzschulter 31 läuft hier vielmehr in einer Rundung 33 aus. In derFig. 4 ist der Abstand A, um welchen die Rastnase 27 gegenüber der Seitenwand 17 vorsteht, durch gestrichelte Linien hervorgehoben. - Im Vergleich zu einem rein reibschlüssigen Ineinanderstecken der CFC-Bauteilelemente 11 ermöglicht die Verrastung nicht nur eine höhere Stabilität, sondern auch einen vereinfachten Zusammenbau.
-
- 11
- Bauteilelement
- 13
- Nut
- 15
- Aussparung/Rastaufnahme
- 17
- Seitenwand/Basisfläche
- 19
- Rille
- 20
- Rastbuckel/Rastvorsprung
- 21
- Einsteckabschnitt
- 23
- Schmalseite
- 25
- Auflagefläche
- 27
- Rastnase/Rastvorsprung
- 29
- Rampenabschnitt
- 31
- Ansatzschulter
- 33
- Rundung
- L
- Längsachse
- B
- Breite
- E
- Einsteckrichtung
- A
- Abstand
Claims (13)
- Werkstückträger umfassend wenigstens zwei Bauteilelemente (11), welche jeweils aus einem carbonfaserverstärkten Kohlenstoff (CFC) zusammengesetzt sind, wobei wenigstens zwei der wenigstens zwei CFC-Bauteilelemente (11) miteinander verrastet sind,
dadurch gekennzeichnet, dass
an jedem der wenigstens zwei miteinander verrasteten CFC-Bauteilelemente (11) sowohl ein Rastvorsprung (20, 27) als auch eine Rastaufnahme (15) vorgesehen ist, wobei die Rastvorsprünge (20, 27) und die Rastaufnahmen (15) jeweils zweier miteinander verrasteter CFC-Bauteilelemente (11) wechselseitig in Eingriff stehen. - Werkstückträger nach Anspruch 1,
dadurch gekennzeichnet, dass
die Verrastung der wenigstens zwei CFC-Bauteilelemente (11) unter Überwindung eines Rastwiderstands lösbar ist. - Werkstückträger nach Anspruch 1 oder 2,
dadurch gekennzeichnet, dass
der Werkstückträger wenigstens drei CFC-Bauteilelemente (11) umfasst, wobei jedes der wenigstens drei CFC-Bauteilelemente (11) mit wenigstens einem weiteren der wenigstens drei CFC-Bauteilelemente (11) verrastet ist. - Werkstückträger nach zumindest einem der vorstehenden Ansprüche,
dadurch gekennzeichnet, dass
der Rastvorsprung (27) rampenartig ausgestaltet ist. - Werkstückträger nach zumindest einem der vorstehenden Ansprüche,
dadurch gekennzeichnet, dass
der Rastvorsprung (20, 27) um einen Abstand (A) zwischen 0,05 mm und 1,5 mm, bevorzugt zwischen 0,1 mm und 0,7 mm und besonders bevorzugt zwischen 0,2 mm und 0,4 mm gegenüber der Basisfläche (17) des zugehörigen CFC-Bauteilelements (11) vorsteht. - Werkstückträger nach zumindest einem der vorstehenden Ansprüche,
dadurch gekennzeichnet, dass die wenigstens zwei CFC-Bauteilelemente (11) zum Verrasten entlang einer Einsteckrichtung (E) zusammensteckbar sind, wobei der Rastvorsprung (20, 27) und die Rastaufnahme (15) jedes der wenigstens zwei CFC-Bauteilelemente (11) bezüglich der Einsteckrichtung (E) hintereinander angeordnet sind. - Werkstückträger nach zumindest einem der vorstehenden Ansprüche, dadurch gekennzeichnet, dass wenigstens eines der wenigstens zwei miteinander verrasteten CFC-Bauteilelemente (11) eine Nut (13) zum Aufnehmen eines Einsteckabschnitts (21) des jeweils anderen CFC-Bauteilelements (11) aufweist, wobei der Rastvorsprung (20, 27) von der Seitenwand (17) der Nut (13) absteht.
- Werkstückträger nach Anspruch 7,
dadurch gekennzeichnet, dass von zwei einander gegenüberliegenden Seitenwänden (17) der Nut (13) jeweilige Rastvorsprünge (20, 27) abstehen. - Werkstückträger nach Anspruch 7 oder 8,
dadurch gekennzeichnet, dass die wenigstens zwei miteinander verrasteten CFC-Bauteilelemente (11) plattenartig ausgebildet sind und jeweils wenigstens eine Nut (13) aufweisen, wobei die Nuten (13) wechselseitig ineinandergreifen. - Werkstückträger nach zumindest einem der Ansprüche 7 bis 9,
dadurch gekennzeichnet, dass wenigstens eines der wenigstens zwei miteinander verrasteten CFC-Bauteilelemente (11) und vorzugsweise jedes der wenigstens zwei miteinander verrasteten CFC-Bauteilelemente (11) wenigstens drei voneinander beabstandete Nuten (13) zum Aufnehmen eines Einsteckabschnitts (21) eines anderen CFC-Bauteilelements (11) aufweist. - Werkstückträger nach zumindest einem der Ansprüche 7 bis 10,
dadurch gekennzeichnet, dass in wenigstens einer Seitenwand (17) der Nut (13) zwei parallele und zueinander beabstandete Rillen (19) ausgebildet sind, zwischen denen sich der, insbesondere plateau- oder buckelartige, Rastvorsprung (20) erstreckt. - Werkstückträger nach zumindest einem der Ansprüche 7 bis 11,
dadurch gekennzeichnet, dass in wenigstens einer Seitenwand (17) der Nut (13) ein rampenartiger Rastvorsprung (27) und eine zu diesem benachbarte Rille (19) ausgebildet ist. - Verwendung eines Werkstückträgers gemäß einem der vorstehenden Ansprüche als Chargiergestell in einer Hochtemperaturumgebung.
Priority Applications (2)
| Application Number | Priority Date | Filing Date | Title |
|---|---|---|---|
| SI201330527A SI2906891T1 (sl) | 2012-10-10 | 2013-10-09 | Nosilec za obdelovance |
| PL13779775T PL2906891T3 (pl) | 2012-10-10 | 2013-10-09 | Wspornik dla przedmiotu obrabianego |
Applications Claiming Priority (2)
| Application Number | Priority Date | Filing Date | Title |
|---|---|---|---|
| DE102012218491.0A DE102012218491A1 (de) | 2012-10-10 | 2012-10-10 | Werkstückträger |
| PCT/EP2013/071090 WO2014057002A1 (de) | 2012-10-10 | 2013-10-09 | Werkstückträger |
Publications (2)
| Publication Number | Publication Date |
|---|---|
| EP2906891A1 EP2906891A1 (de) | 2015-08-19 |
| EP2906891B1 true EP2906891B1 (de) | 2016-12-14 |
Family
ID=49448120
Family Applications (1)
| Application Number | Title | Priority Date | Filing Date |
|---|---|---|---|
| EP13779775.9A Not-in-force EP2906891B1 (de) | 2012-10-10 | 2013-10-09 | Werkstückträger |
Country Status (11)
| Country | Link |
|---|---|
| US (1) | US20150211799A1 (de) |
| EP (1) | EP2906891B1 (de) |
| DE (1) | DE102012218491A1 (de) |
| DK (1) | DK2906891T3 (de) |
| ES (1) | ES2617736T3 (de) |
| HU (1) | HUE033202T2 (de) |
| LT (1) | LT2906891T (de) |
| PL (1) | PL2906891T3 (de) |
| PT (1) | PT2906891T (de) |
| SI (1) | SI2906891T1 (de) |
| WO (1) | WO2014057002A1 (de) |
Cited By (1)
| Publication number | Priority date | Publication date | Assignee | Title |
|---|---|---|---|---|
| DE102019203594A1 (de) * | 2019-03-15 | 2020-09-17 | Sgl Carbon Se | Chargiergestell |
Families Citing this family (2)
| Publication number | Priority date | Publication date | Assignee | Title |
|---|---|---|---|---|
| US20170321964A1 (en) * | 2016-05-03 | 2017-11-09 | Saint-Gobain Ceramics & Plastics, Inc. | High temperature ceramic support rack |
| DE102018101994B4 (de) * | 2018-01-30 | 2025-06-05 | Ald Vacuum Technologies Gmbh | Vorrichtung zur Abstützung metallischer Werkstücke und Verfahren zur thermochemischen Behandlung |
Family Cites Families (13)
| Publication number | Priority date | Publication date | Assignee | Title |
|---|---|---|---|---|
| US652126A (en) * | 1899-03-14 | 1900-06-19 | Elmer R Lionberger | Egg-case filler. |
| US1443283A (en) * | 1920-04-17 | 1923-01-23 | Russell Company | Box cell case |
| DE8119990U1 (de) * | 1981-07-09 | 1981-12-24 | Friedrich, Uwe W., 4444 Bad Bentheim | Zusammenklappbarer Transportkasten |
| DE9404102U1 (de) * | 1994-03-11 | 1995-07-13 | Pies, Gerrit, 42699 Solingen | Verbindung eines Profilstabs mit einer daran zu befestigenden Profilleiste |
| DE29512569U1 (de) | 1995-08-04 | 1995-11-30 | Schunk Kohlenstofftechnik GmbH, 35452 Heuchelheim | Träger für Härtegut |
| DE19651408C2 (de) * | 1996-12-11 | 2001-04-19 | Fraunhofer Ges Forschung | Werkstückträger zum Wärmebehandeln von Werkstücken und Verwendung des Werkstückträgers |
| JP2000169910A (ja) * | 1998-12-02 | 2000-06-20 | Akio Shinba | 熱処理用治具 |
| CA2409061A1 (en) * | 2002-10-21 | 2004-04-21 | Corrugated Partitions Inc. | Carton divider |
| KR20060020675A (ko) * | 2003-06-13 | 2006-03-06 | 슝크 코렌슈토프테크닉 게엠베하 | 구조재용 지지체 및 그의 제조 방법 |
| DE20319600U1 (de) * | 2003-12-17 | 2004-03-18 | Sgl Carbon Ag | Werkstückträger aus faserverstärkter Keramik zum Wärmebehandeln von Werkstücken |
| DE102004017566A1 (de) * | 2004-04-07 | 2005-11-03 | Fraunhofer-Gesellschaft zur Förderung der angewandten Forschung e.V. | Werkstückträger zum Wärmebehandeln von Werkstücken |
| DE102009037293B4 (de) * | 2009-08-14 | 2013-05-23 | Gtd Graphit Technologie Gmbh | Verbesserter Werkstückträger |
| DE202010015436U1 (de) * | 2010-11-16 | 2011-01-27 | Sgl Carbon Se | Verriegelungselement, CFC-Bauteil und Halterungseinrichtung |
-
2012
- 2012-10-10 DE DE102012218491.0A patent/DE102012218491A1/de not_active Ceased
-
2013
- 2013-10-09 ES ES13779775.9T patent/ES2617736T3/es active Active
- 2013-10-09 PT PT137797759T patent/PT2906891T/pt unknown
- 2013-10-09 HU HUE13779775A patent/HUE033202T2/en unknown
- 2013-10-09 LT LTEP13779775.9T patent/LT2906891T/lt unknown
- 2013-10-09 EP EP13779775.9A patent/EP2906891B1/de not_active Not-in-force
- 2013-10-09 DK DK13779775.9T patent/DK2906891T3/en active
- 2013-10-09 PL PL13779775T patent/PL2906891T3/pl unknown
- 2013-10-09 SI SI201330527A patent/SI2906891T1/sl unknown
- 2013-10-09 WO PCT/EP2013/071090 patent/WO2014057002A1/de not_active Ceased
-
2015
- 2015-04-10 US US14/683,353 patent/US20150211799A1/en not_active Abandoned
Cited By (1)
| Publication number | Priority date | Publication date | Assignee | Title |
|---|---|---|---|---|
| DE102019203594A1 (de) * | 2019-03-15 | 2020-09-17 | Sgl Carbon Se | Chargiergestell |
Also Published As
| Publication number | Publication date |
|---|---|
| HUE033202T2 (en) | 2017-11-28 |
| WO2014057002A1 (de) | 2014-04-17 |
| ES2617736T3 (es) | 2017-06-19 |
| PT2906891T (pt) | 2017-03-10 |
| PL2906891T3 (pl) | 2017-08-31 |
| SI2906891T1 (sl) | 2017-06-30 |
| DE102012218491A1 (de) | 2014-04-10 |
| US20150211799A1 (en) | 2015-07-30 |
| LT2906891T (lt) | 2017-05-25 |
| DK2906891T3 (en) | 2017-03-13 |
| EP2906891A1 (de) | 2015-08-19 |
Similar Documents
| Publication | Publication Date | Title |
|---|---|---|
| EP2810829B1 (de) | Befestigungsclip | |
| EP3718176B1 (de) | Ver- und entriegelbarer steckverbinder | |
| DE102009024983A1 (de) | Verbindungsbaugruppe | |
| DE102007018254A1 (de) | Vorrichtung zum Befestigen von Ladegut in einem Transportmittel | |
| EP2677184B1 (de) | Segment eines wälzlagerkäfigs | |
| EP2906891B1 (de) | Werkstückträger | |
| DE202007013238U1 (de) | Befestigungshülse zum Aufstecken auf einen Gewindebolzen | |
| DE202015100360U1 (de) | Kabelhalter und Kabelhaltersystem | |
| EP2133717B1 (de) | Gehäuse für Lichtwellenleiter-Ferrule | |
| DE102012101117A1 (de) | Stangenschloss mit zusätzlicher Stangenstabilisierung | |
| DE112012003007T5 (de) | Verbinder | |
| EP4405606B1 (de) | Steckverbinder mit vormontagesicherung | |
| DE102015004158A1 (de) | Rastverbindungsvorrichtung zur lösbaren Befestigung eines Verkleidungsteils in einem Fahrzeuginnenraum | |
| EP2663708B1 (de) | Laufrollenträger für eine schiebetür | |
| EP3161331B1 (de) | Verbindungsanordnung | |
| DE102010026100A1 (de) | Schnellkupplung für Fluidleitungen | |
| DE102011006030B4 (de) | Segment eines Wälzlagerkäfigs | |
| DE112019004011T5 (de) | Montagesystem für ein Kastenprofil | |
| EP1587195B1 (de) | Kabelkanalsystem | |
| EP3035461A1 (de) | Kabelführungsvorrichtung sowie verfahren zur herstellung einer solchen kabelführungsvorrichtung | |
| DE102016201263A1 (de) | Befestigungssystem | |
| DE102005024061A1 (de) | Zerstörungsfrei wiederlösbare Befestigungsmethode aus Kraft-, Formschluss | |
| DE102010042629A1 (de) | Halteelement eines Beschlagteils eines Treibstangenbeschlages | |
| EP2754762A1 (de) | Entwässerungs- und/oder Flüssigkeitsspeichervorrichtung zum Einbau ins Erdreich | |
| DE102008007135A1 (de) | Befestigungselement |
Legal Events
| Date | Code | Title | Description |
|---|---|---|---|
| PUAI | Public reference made under article 153(3) epc to a published international application that has entered the european phase |
Free format text: ORIGINAL CODE: 0009012 |
|
| 17P | Request for examination filed |
Effective date: 20150511 |
|
| AK | Designated contracting states |
Kind code of ref document: A1 Designated state(s): AL AT BE BG CH CY CZ DE DK EE ES FI FR GB GR HR HU IE IS IT LI LT LU LV MC MK MT NL NO PL PT RO RS SE SI SK SM TR |
|
| AX | Request for extension of the european patent |
Extension state: BA ME |
|
| DAX | Request for extension of the european patent (deleted) | ||
| GRAP | Despatch of communication of intention to grant a patent |
Free format text: ORIGINAL CODE: EPIDOSNIGR1 |
|
| INTG | Intention to grant announced |
Effective date: 20160623 |
|
| INTG | Intention to grant announced |
Effective date: 20160627 |
|
| GRAS | Grant fee paid |
Free format text: ORIGINAL CODE: EPIDOSNIGR3 |
|
| GRAA | (expected) grant |
Free format text: ORIGINAL CODE: 0009210 |
|
| AK | Designated contracting states |
Kind code of ref document: B1 Designated state(s): AL AT BE BG CH CY CZ DE DK EE ES FI FR GB GR HR HU IE IS IT LI LT LU LV MC MK MT NL NO PL PT RO RS SE SI SK SM TR |
|
| REG | Reference to a national code |
Ref country code: GB Ref legal event code: FG4D Free format text: NOT ENGLISH |
|
| REG | Reference to a national code |
Ref country code: CH Ref legal event code: EP |
|
| REG | Reference to a national code |
Ref country code: IE Ref legal event code: FG4D Free format text: LANGUAGE OF EP DOCUMENT: GERMAN |
|
| REG | Reference to a national code |
Ref country code: AT Ref legal event code: REF Ref document number: 853973 Country of ref document: AT Kind code of ref document: T Effective date: 20170115 |
|
| REG | Reference to a national code |
Ref country code: DE Ref legal event code: R096 Ref document number: 502013005770 Country of ref document: DE |
|
| PG25 | Lapsed in a contracting state [announced via postgrant information from national office to epo] |
Ref country code: LV Free format text: LAPSE BECAUSE OF FAILURE TO SUBMIT A TRANSLATION OF THE DESCRIPTION OR TO PAY THE FEE WITHIN THE PRESCRIBED TIME-LIMIT Effective date: 20161214 |
|
| REG | Reference to a national code |
Ref country code: PT Ref legal event code: SC4A Ref document number: 2906891 Country of ref document: PT Date of ref document: 20170310 Kind code of ref document: T Free format text: AVAILABILITY OF NATIONAL TRANSLATION Effective date: 20170303 |
|
| REG | Reference to a national code |
Ref country code: DK Ref legal event code: T3 Effective date: 20170309 |
|
| REG | Reference to a national code |
Ref country code: SE Ref legal event code: TRGR |
|
| REG | Reference to a national code |
Ref country code: NL Ref legal event code: FP |
|
| REG | Reference to a national code |
Ref country code: EE Ref legal event code: FG4A Ref document number: E013405 Country of ref document: EE Effective date: 20170303 |
|
| REG | Reference to a national code |
Ref country code: NO Ref legal event code: T2 Effective date: 20161214 |
|
| PG25 | Lapsed in a contracting state [announced via postgrant information from national office to epo] |
Ref country code: GR Free format text: LAPSE BECAUSE OF FAILURE TO SUBMIT A TRANSLATION OF THE DESCRIPTION OR TO PAY THE FEE WITHIN THE PRESCRIBED TIME-LIMIT Effective date: 20170315 |
|
| PG25 | Lapsed in a contracting state [announced via postgrant information from national office to epo] |
Ref country code: RS Free format text: LAPSE BECAUSE OF FAILURE TO SUBMIT A TRANSLATION OF THE DESCRIPTION OR TO PAY THE FEE WITHIN THE PRESCRIBED TIME-LIMIT Effective date: 20161214 Ref country code: HR Free format text: LAPSE BECAUSE OF FAILURE TO SUBMIT A TRANSLATION OF THE DESCRIPTION OR TO PAY THE FEE WITHIN THE PRESCRIBED TIME-LIMIT Effective date: 20161214 |
|
| REG | Reference to a national code |
Ref country code: ES Ref legal event code: FG2A Ref document number: 2617736 Country of ref document: ES Kind code of ref document: T3 Effective date: 20170619 |
|
| PG25 | Lapsed in a contracting state [announced via postgrant information from national office to epo] |
Ref country code: RO Free format text: LAPSE BECAUSE OF FAILURE TO SUBMIT A TRANSLATION OF THE DESCRIPTION OR TO PAY THE FEE WITHIN THE PRESCRIBED TIME-LIMIT Effective date: 20161214 |
|
| PG25 | Lapsed in a contracting state [announced via postgrant information from national office to epo] |
Ref country code: SM Free format text: LAPSE BECAUSE OF FAILURE TO SUBMIT A TRANSLATION OF THE DESCRIPTION OR TO PAY THE FEE WITHIN THE PRESCRIBED TIME-LIMIT Effective date: 20161214 Ref country code: BG Free format text: LAPSE BECAUSE OF FAILURE TO SUBMIT A TRANSLATION OF THE DESCRIPTION OR TO PAY THE FEE WITHIN THE PRESCRIBED TIME-LIMIT Effective date: 20170314 |
|
| REG | Reference to a national code |
Ref country code: DE Ref legal event code: R097 Ref document number: 502013005770 Country of ref document: DE |
|
| PLBE | No opposition filed within time limit |
Free format text: ORIGINAL CODE: 0009261 |
|
| STAA | Information on the status of an ep patent application or granted ep patent |
Free format text: STATUS: NO OPPOSITION FILED WITHIN TIME LIMIT |
|
| REG | Reference to a national code |
Ref country code: FR Ref legal event code: PLFP Year of fee payment: 5 |
|
| 26N | No opposition filed |
Effective date: 20170915 |
|
| REG | Reference to a national code |
Ref country code: HU Ref legal event code: AG4A Ref document number: E033202 Country of ref document: HU |
|
| PG25 | Lapsed in a contracting state [announced via postgrant information from national office to epo] |
Ref country code: MC Free format text: LAPSE BECAUSE OF FAILURE TO SUBMIT A TRANSLATION OF THE DESCRIPTION OR TO PAY THE FEE WITHIN THE PRESCRIBED TIME-LIMIT Effective date: 20161214 |
|
| PG25 | Lapsed in a contracting state [announced via postgrant information from national office to epo] |
Ref country code: LU Free format text: LAPSE BECAUSE OF NON-PAYMENT OF DUE FEES Effective date: 20171009 |
|
| PG25 | Lapsed in a contracting state [announced via postgrant information from national office to epo] |
Ref country code: MT Free format text: LAPSE BECAUSE OF FAILURE TO SUBMIT A TRANSLATION OF THE DESCRIPTION OR TO PAY THE FEE WITHIN THE PRESCRIBED TIME-LIMIT Effective date: 20161214 |
|
| REG | Reference to a national code |
Ref country code: FR Ref legal event code: PLFP Year of fee payment: 6 |
|
| PG25 | Lapsed in a contracting state [announced via postgrant information from national office to epo] |
Ref country code: CY Free format text: LAPSE BECAUSE OF FAILURE TO SUBMIT A TRANSLATION OF THE DESCRIPTION OR TO PAY THE FEE WITHIN THE PRESCRIBED TIME-LIMIT Effective date: 20161214 |
|
| PGFP | Annual fee paid to national office [announced via postgrant information from national office to epo] |
Ref country code: CZ Payment date: 20190927 Year of fee payment: 7 Ref country code: LT Payment date: 20190927 Year of fee payment: 7 |
|
| PG25 | Lapsed in a contracting state [announced via postgrant information from national office to epo] |
Ref country code: MK Free format text: LAPSE BECAUSE OF FAILURE TO SUBMIT A TRANSLATION OF THE DESCRIPTION OR TO PAY THE FEE WITHIN THE PRESCRIBED TIME-LIMIT Effective date: 20161214 |
|
| PGFP | Annual fee paid to national office [announced via postgrant information from national office to epo] |
Ref country code: IE Payment date: 20191021 Year of fee payment: 7 Ref country code: NO Payment date: 20191022 Year of fee payment: 7 Ref country code: NL Payment date: 20191022 Year of fee payment: 7 Ref country code: PT Payment date: 20191003 Year of fee payment: 7 Ref country code: HU Payment date: 20190925 Year of fee payment: 7 Ref country code: SE Payment date: 20191023 Year of fee payment: 7 Ref country code: FI Payment date: 20191022 Year of fee payment: 7 |
|
| PGFP | Annual fee paid to national office [announced via postgrant information from national office to epo] |
Ref country code: SI Payment date: 20190927 Year of fee payment: 7 Ref country code: EE Payment date: 20191021 Year of fee payment: 7 Ref country code: LV Payment date: 20191024 Year of fee payment: 7 Ref country code: IS Payment date: 20191017 Year of fee payment: 7 Ref country code: DK Payment date: 20191022 Year of fee payment: 7 Ref country code: BE Payment date: 20191022 Year of fee payment: 7 Ref country code: PL Payment date: 20191001 Year of fee payment: 7 |
|
| PG25 | Lapsed in a contracting state [announced via postgrant information from national office to epo] |
Ref country code: TR Free format text: LAPSE BECAUSE OF FAILURE TO SUBMIT A TRANSLATION OF THE DESCRIPTION OR TO PAY THE FEE WITHIN THE PRESCRIBED TIME-LIMIT Effective date: 20161214 |
|
| PGFP | Annual fee paid to national office [announced via postgrant information from national office to epo] |
Ref country code: AT Payment date: 20191018 Year of fee payment: 7 Ref country code: CH Payment date: 20191023 Year of fee payment: 7 |
|
| PG25 | Lapsed in a contracting state [announced via postgrant information from national office to epo] |
Ref country code: AL Free format text: LAPSE BECAUSE OF FAILURE TO SUBMIT A TRANSLATION OF THE DESCRIPTION OR TO PAY THE FEE WITHIN THE PRESCRIBED TIME-LIMIT Effective date: 20161214 |
|
| PG25 | Lapsed in a contracting state [announced via postgrant information from national office to epo] |
Ref country code: CZ Free format text: LAPSE BECAUSE OF NON-PAYMENT OF DUE FEES Effective date: 20201009 |
|
| REG | Reference to a national code |
Ref country code: EE Ref legal event code: MM4A Ref document number: E013405 Country of ref document: EE Effective date: 20201031 |
|
| REG | Reference to a national code |
Ref country code: NO Ref legal event code: MMEP Ref country code: DK Ref legal event code: EBP Effective date: 20201031 |
|
| REG | Reference to a national code |
Ref country code: CH Ref legal event code: PL Ref country code: FI Ref legal event code: MAE |
|
| REG | Reference to a national code |
Ref country code: SE Ref legal event code: EUG |
|
| REG | Reference to a national code |
Ref country code: NL Ref legal event code: MM Effective date: 20201101 |
|
| REG | Reference to a national code |
Ref country code: AT Ref legal event code: MM01 Ref document number: 853973 Country of ref document: AT Kind code of ref document: T Effective date: 20201009 |
|
| REG | Reference to a national code |
Ref country code: BE Ref legal event code: MM Effective date: 20201031 |
|
| PG25 | Lapsed in a contracting state [announced via postgrant information from national office to epo] |
Ref country code: NL Free format text: LAPSE BECAUSE OF NON-PAYMENT OF DUE FEES Effective date: 20201101 Ref country code: NO Free format text: LAPSE BECAUSE OF NON-PAYMENT OF DUE FEES Effective date: 20201031 Ref country code: EE Free format text: LAPSE BECAUSE OF NON-PAYMENT OF DUE FEES Effective date: 20201031 Ref country code: PT Free format text: LAPSE BECAUSE OF NON-PAYMENT OF DUE FEES Effective date: 20210409 Ref country code: FI Free format text: LAPSE BECAUSE OF NON-PAYMENT OF DUE FEES Effective date: 20201009 |
|
| REG | Reference to a national code |
Ref country code: LT Ref legal event code: MM4D Effective date: 20201009 |
|
| PG25 | Lapsed in a contracting state [announced via postgrant information from national office to epo] |
Ref country code: LV Free format text: LAPSE BECAUSE OF NON-PAYMENT OF DUE FEES Effective date: 20201009 Ref country code: BE Free format text: LAPSE BECAUSE OF NON-PAYMENT OF DUE FEES Effective date: 20201031 Ref country code: AT Free format text: LAPSE BECAUSE OF NON-PAYMENT OF DUE FEES Effective date: 20201009 Ref country code: CH Free format text: LAPSE BECAUSE OF NON-PAYMENT OF DUE FEES Effective date: 20201031 Ref country code: SE Free format text: LAPSE BECAUSE OF NON-PAYMENT OF DUE FEES Effective date: 20201010 Ref country code: SI Free format text: LAPSE BECAUSE OF NON-PAYMENT OF DUE FEES Effective date: 20201010 Ref country code: HU Free format text: LAPSE BECAUSE OF NON-PAYMENT OF DUE FEES Effective date: 20201010 Ref country code: LI Free format text: LAPSE BECAUSE OF NON-PAYMENT OF DUE FEES Effective date: 20201031 |
|
| REG | Reference to a national code |
Ref country code: SI Ref legal event code: KO00 Effective date: 20210811 |
|
| PG25 | Lapsed in a contracting state [announced via postgrant information from national office to epo] |
Ref country code: LT Free format text: LAPSE BECAUSE OF NON-PAYMENT OF DUE FEES Effective date: 20201009 Ref country code: IE Free format text: LAPSE BECAUSE OF NON-PAYMENT OF DUE FEES Effective date: 20201009 |
|
| PG25 | Lapsed in a contracting state [announced via postgrant information from national office to epo] |
Ref country code: DK Free format text: LAPSE BECAUSE OF NON-PAYMENT OF DUE FEES Effective date: 20201031 |
|
| PG25 | Lapsed in a contracting state [announced via postgrant information from national office to epo] |
Ref country code: PL Free format text: LAPSE BECAUSE OF NON-PAYMENT OF DUE FEES Effective date: 20201009 |
|
| PGFP | Annual fee paid to national office [announced via postgrant information from national office to epo] |
Ref country code: SK Payment date: 20231002 Year of fee payment: 11 |
|
| PGFP | Annual fee paid to national office [announced via postgrant information from national office to epo] |
Ref country code: GB Payment date: 20231025 Year of fee payment: 11 |
|
| PGFP | Annual fee paid to national office [announced via postgrant information from national office to epo] |
Ref country code: ES Payment date: 20231117 Year of fee payment: 11 |
|
| PGFP | Annual fee paid to national office [announced via postgrant information from national office to epo] |
Ref country code: IT Payment date: 20231031 Year of fee payment: 11 Ref country code: FR Payment date: 20231023 Year of fee payment: 11 Ref country code: DE Payment date: 20231018 Year of fee payment: 11 |
|
| P01 | Opt-out of the competence of the unified patent court (upc) registered |
Free format text: CASE NUMBER: APP_37195/2024 Effective date: 20240621 |
|
| REG | Reference to a national code |
Ref country code: DE Ref legal event code: R119 Ref document number: 502013005770 Country of ref document: DE |
|
| REG | Reference to a national code |
Ref country code: SK Ref legal event code: MM4A Ref document number: E 23576 Country of ref document: SK Effective date: 20241009 |
|
| GBPC | Gb: european patent ceased through non-payment of renewal fee |
Effective date: 20241009 |
|
| PG25 | Lapsed in a contracting state [announced via postgrant information from national office to epo] |
Ref country code: DE Free format text: LAPSE BECAUSE OF NON-PAYMENT OF DUE FEES Effective date: 20250501 |
|
| PG25 | Lapsed in a contracting state [announced via postgrant information from national office to epo] |
Ref country code: GB Free format text: LAPSE BECAUSE OF NON-PAYMENT OF DUE FEES Effective date: 20241009 |
|
| PG25 | Lapsed in a contracting state [announced via postgrant information from national office to epo] |
Ref country code: FR Free format text: LAPSE BECAUSE OF NON-PAYMENT OF DUE FEES Effective date: 20241031 |
|
| PG25 | Lapsed in a contracting state [announced via postgrant information from national office to epo] |
Ref country code: SK Free format text: LAPSE BECAUSE OF NON-PAYMENT OF DUE FEES Effective date: 20241009 |
|
| PG25 | Lapsed in a contracting state [announced via postgrant information from national office to epo] |
Ref country code: IT Free format text: LAPSE BECAUSE OF NON-PAYMENT OF DUE FEES Effective date: 20241009 |
|
| PG25 | Lapsed in a contracting state [announced via postgrant information from national office to epo] |
Ref country code: IS Free format text: LAPSE BECAUSE OF NON-PAYMENT OF DUE FEES Effective date: 20210512 |
|
| REG | Reference to a national code |
Ref country code: ES Ref legal event code: FD2A Effective date: 20251128 |
|
| PG25 | Lapsed in a contracting state [announced via postgrant information from national office to epo] |
Ref country code: ES Free format text: LAPSE BECAUSE OF NON-PAYMENT OF DUE FEES Effective date: 20241010 |